Информационная система
«Ёшкин Кот»

XXXecatmenu

Изменение № 1 ГОСТ 25001-81 Заготовки теплообменников из алюминия. Технические условия

Постановлением Государственного комитета СССР по стандартам от 20.12.83 № 6382 срок введения установлен

с 01.08.84

Пункт 2.9. Заменить слова: «1 января 1984 г.» на «1 июля 1985 г.»

Пункт 3.2. Второй абзац после слов «от партии» изложить в новой редакции: «Допускается химический анализ проводить от расплавленного металла каждой плавки».

Пункт 4.6 изложить в новой редакции: «4.6. Контроль величины колебания объема каналов проводят по методу, указанному в обязательном приложении 4.

Контроль герметичности проводят по технической документации, утвержденной в установленном порядке».

Стандарт дополнить приложением - 4:

«ПРИЛОЖЕНИЕ 4

Обязательное

Метод измерения внутреннего объема канала

Метод предназначен для контроля величины колебаний объема каналов теплообменников и основан на измерении избыточного давления в каналах при заполнении их мерным количеством воздуха.

1. Сущность метода

Метод измерения внутреннего объема каналов базируется на законе Бойля-Мариотта, согласно которому произведение объема газа на его давление при изотермическом процессе остается неизменным.

2. Аппаратура

Рабочий цилиндр с внутренним объемом от 300 до (500 ± 5) см3.

Емкость с калиброванным внутренним объемом: 100, 150, 175, 200, 225, 250, 300, 400, 450, 500 см3.

Манометр образцовый пружинный МО-250-6´0,25 по ГОСТ 6521-72.

3. Проведение испытаний

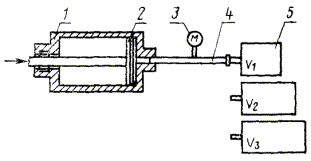
Перед измерением внутренних объемов каналов испытываемых теплообменников проводят градуировку рабочего цилиндра (1) для данной температуры окружающего воздуха. Для этого емкости (5) с калиброванными внутренними объемами У1, У2, У3 соединяют поочередно с рабочим цилиндром через манометр (3) и передвигают поршень (2) в крайнее правое положение.

Устанавливают зависимость величины градуированных объемов от давления для конкретной температуры окружающей среды в виде графика или таблица.

1 - рабочий цилиндр; 2 - поршень; 3 - манометр; 4 - соединительная трубка; 5 - емкости с калиброванным внутренним объемом

Контроль внутреннего объема каналов теплообменника проводят путем подачи воздуха из рабочего цилиндра в каналы теплообменника. Величину давления на манометре сопоставляют с данными таблицы или графика и определяют внутренний объем каналов, который сравнивают с номинальным значением. Ошибка измерения внутреннего объема каналов не должна превышать 1 % и складываться из суммы погрешности измерительного прибора и колебаний температуры окружающей среды».

(ИУС № 4 1984 г.)

 

 



© 2013 Ёшкин Кот :-)