Информационная система
«Ёшкин Кот»

XXXecatmenu

Правила учета отпуска тепловой энергии

ПР 34-70-010-85

(утв. Главным техническим управлением по эксплуатации энергосистем
Минэнерго СССР 22 июля 1985 г., Главгосэнергонадзором 31 июля 1985 г.)

Срок действия установлен

с 1 января 1986 г. до 1 января 1996 г.

1. Общие положения

1.1. Настоящие Правила определяют порядок учета тепловой энергии, отпускаемой энергоснабжающей организацией потребителям, в количественных и качественных показателях, которые являются основанием для коммерческих взаиморасчетов между ними.

1.2. Под энергоснабжающей организацией понимаются организации, на балансе которых находятся эксплуатируемые ими источники теплоты и тепловые сети, имеющие границу ответственности с потребителями.

Энергоснабжающей организацией являются:

В системе Минэнерго СССР, при реализации тепловой энергии непосредственно или через энергонадзоры:

- предприятия тепловых сетей (ПТС);

- электростанции, имеющие цех тепловых сетей;

- электростанции, отпускающие тепловую энергию непосредственно в тепловые сети потребителей.

В системе Минкоммунхоза:

- предприятия тепловых сетей и объединенных котельных (ПОК).

В системе других министерств и ведомств:

- предприятия, отпускающие тепловую энергию от своих тепловых сетей или непосредственно от своих источников теплоты;

- отделы или цеха предприятий, эксплуатирующих находящиеся у них на балансе тепловые сети и имеющие границу ответственности непосредственно с источником теплоты.

Государственный энергетический надзор осуществляют предприятия "Энергонадзора" энергосистем в соответствии с положением "О государственном энергетическом надзоре в СССР", утвержденном Постановлением Совета Министров СССР от 4 ноября 1983 г. № 1058.

1.3. Учет отпуска тепловой энергии от источников теплоты и тепловых сетей потребителям организуется в целях:

- осуществления хозрасчетных (финансовых) отношений между энергоснабжающими организациями и потребителями тепловой энергии;

- контроля за тепловым и гидравлическим режимами работы системы теплоснабжения;

- контроля за рациональным использованием тепловой энергии;

- снижения потерь тепловой энергии через изоляцию трубопроводов и с утечкой теплоносителя;

- составления и анализа отчетных энергобалансов энергоснабжающих предприятий;

- организации системы материального поощрения работников предприятий за рациональное использование и экономию тепловой энергии;

- определения повышенной платы за нарушение лимитов и режимов теплопотребления;

- планирования учета и анализа энергетической составляющей себестоимости различных видов продукции;

- начисления надбавок и скидок с тарифа за тепловую энергию при возврате конденсата.

1.4. Руководители энергоснабжающих организаций и потребители обязаны постоянно анализировать материалы учета отпуска и потребления тепловой энергии в целях разработки и осуществления мероприятий, направленных на снижение потерь тепловой энергии и утечки теплоносителя, на экономию топлива и тепловой энергии, а также на снижение удельных затрат электроэнергии при передаче тепловой энергии.

1.5. Эксплуатационные службы энергоснабжающих организаций обязаны постоянно анализировать материалы учета отпуска и потребления тепловой энергии в целях контроля за тепловым и гидравлическим режимами работы системы теплоснабжения.

1.6. В настоящих Правилах использованы рекомендации "Общих положений о порядке учета и контроля расхода топлива, электрической и тепловой энергии для промышленных, транспортных, сельскохозяйственных и коммунально-бытовых предприятий и организаций" (М.: Управиздат Мосгорисполкома, 1981), утвержденные Государственным комитетом СССР по науке и технике, Госпланом СССР, Госстандартом, и согласованы с Госстроем СССР и ЦСУ СССР.

В соответствии с задачами коммерческого учета, определенными Общими положениями, в настоящих Правилах коммерческий учет отпуска тепловой энергии предусматривается общим, без разделения его по видам теплопотребления.

При организации внутрипроизводственного учета необходимо руководствоваться соответствующими указаниями Общих положений.

1.7. Системы теплопотребления всех потребителей тепловой энергии должны быть обеспечены необходимыми приборами для расчетов за тепловую энергию с энергоснабжающей организацией. Приборы учета для расчетов за тепловую энергию должны устанавливаться в соответствии с требованиями, изложенными в настоящих Правилах.

1.8. Основой учета отпуска и потребления тепловой энергии должен быть узел учета расхода тепловой энергии и контроля параметров теплоносителя, оборудованный самопишущими регистрирующими расходомерами и приборами для измерения и регистрации температуры и давления и теплосчетчиками.

В первую очередь должны устанавливаться приборы учета: теплосчетчики, регистрирующие самопишущие приборы расхода и температуры.

1.9. По способу учета тепловой энергии потребители подразделяются на три группы, классификация которых приведена в разд. 3 настоящих Правил.

У потребителей I группы учет отпуска тепловой энергии производится приборным способом, у потребителей II группы - приборно-расчетным способом, у потребителей III группы - расчетным способом. У потребителей II и III групп расчет производится по данным водяного и теплового балансов системы теплоснабжения. Учет отпуска тепловой энергии приборно-расчетным и расчетным способами допускается в порядке исключения.

1.10. Для потребителей I группы учета установка приборов учета и контроля в объеме, оговоренном настоящими Правилами, является обязательной.

1.11. Для жилых, общественных и коммунально-бытовых потребителей II группы учета допускается установка на тепловых пунктах суммирующих водомеров для фиксации расходов сетевой воды.

При отсутствии на тепловом пункте потребителя II группы любого из оговоренных Правилами водомеров этот потребитель переходит в группу потребителей с временно отсутствующими приборами учета (III группа).

1.12. Установка приборов учета и отбор параметров должны выполняться в соответствии с "Правилами измерения расхода газов и жидкостей стандартными сужающими устройствами" РД 50-213-80 (М.: Изд-во стандартов, 1980).

1.13. При организации учета отпуска тепловой энергии жилым, общественным и коммунально-бытовым потребителям, при наличии технической возможности могут устраиваться объединенные квартальные узлы учета, общие для нескольких потребителей. Такие узлы должны отвечать требованиям, установленным для потребителей I группы.

1.14. Основывать коммерческий учет отпуска тепловой энергии на основании данных записи показывающих приборов не допускается.

1.15. Непроизводительная утечка сетевой воды в системе теплоснабжения распределяется между энергоснабжающей организацией и потребителем пропорционально объему тепловых сетей и местных систем теплопотребления в соответствии с их балансовой принадлежностью. Производительная утечка - потери сетевой воды из тепловых сетей и местных систем теплопотребления во время ремонта, опрессовки, испытаний, промывки и заполнения новых систем - определяется на основании соответствующих актов.

1.16. При использовании в системе учета отпуска тепловой энергии ЭВМ алгоритм расчета должен соответствовать принципиальным положениям настоящих Правил.

1.17. При выполнении расчетов, связанных с учетом отпуска и потребления тепловой энергии, допускается пользоваться только теми справочными данными о теплофизических свойствах теплоносителей, которые аттестованы Госстандартом.

1.18. Терминология, определения в настоящих Правилах приняты в соответствии с ГОСТ 19.431-74, ГОСТ 8.417-81.

В настоящих Правилах в соответствии с ГОСТ 8.417-81 в основу положена Международная система единиц измерения СИ, за исключением единицы измерения температуры, в качестве которой принят градус Цельсия (°C), допускаемый ГОСТ к применению наравне с единицами СИ, а также единиц времени и массы, в качестве которых приняты соответственно час и тонна.

Учитывая, что на источниках теплоты и в предприятиях тепловых сетей измерительные приборы в настоящее время градуированы в технических единицах, в Правилах наряду с единицами измерения, основанными на системе СИ, приведены в скобках принимавшиеся до сих пор единицы в технической системе.

Соотношения между единицами измерения в системе СИ и технической системе приведены в "Перечне единиц физических величин, устанавливаемых СТ СЭВ 1052-78 и подлежащих применению на энергопредприятиях системы Минэнерго СССР" (М.: СПО Союзтехэнерго, 1980). Справочные данные приведены в Приложении 1.

Условные графические обозначения выполнены в соответствии с ГОСТ 21.403-80, ГОСТ 2.780-68, ГОСТ 2.782-68, ОСТ 36-27-77.

2. Учет отпуска тепловой энергии от источников теплоты

2.1. Организация учета

2.1.1. Под источниками теплоты понимаются теплоэлектроцентрали (ТЭЦ), государственные районные электростанции (ГРЭС), атомные электростанции и станции теплоснабжения (АЭС, АТЭЦ и АСТ), передвижные и плавучие электростанции, паровые и водогрейные котельные, передвижные котельные и другие теплогенерирующие установки.

2.1.2. Фактическое значение суточного отпуска тепловой энергии определяется производственно-техническим отделом (группой учета) источника теплоты на основании показаний приборов по каждой магистрали.

После обработки диаграмм данные об отпуске тепловой энергии по каждой магистрали вносятся в ведомость учета суточного отпуска тепловой энергии (форма П2.1 приложения 2). Затем эти данные должны быть сообщены в энергоснабжающую организацию, где они заносятся в ведомость (форма П2.2) учета суточного отпуска тепловой энергии энергоснабжающей организацией.

2.1.3. Данные ведомости учета суточного отпуска тепловой энергии являются основанием для расчета месячного отпуска тепловой энергии. Расчет месячного отпуска тепловой энергии должен быть оформлен двусторонним актом (форма П2.3). Акт подписывается представителями источника теплоты и энергоснабжающей организации.

2.1.4. При наличии отходящей от источника теплоты магистрали, находящейся на балансе отдельного потребителя, учет отпуска тепловой энергии по ней производится по приборам учета, установленным на источнике теплоты. На тепловом пункте этого потребителя устанавливаются приборы для контроля параметров теплоносителя. Данные об отпуске тепловой энергии по каждой такой магистрали должны быть выделены в акте в разделе "Отпуск тепловой энергии отдельным абонентам непосредственно с коллектора источника теплоты", пункт "Е" акта (форма П2.3).

2.1.5. Два раза в год представитель источника теплоты совместно с представителями энергоснабжающей организации и Энергонадзора обязаны производить эксплуатационную проверку контрольно-измерительных приборов и схем их включения, а также точности учета отпуска тепловой энергии в целях своевременного обнаружения неисправности приборов учета. Такая проверка должна производиться и в том случае, если ее потребует энергоснабжающая организация или энергонадзор.

Результаты периодической проверки приборов учета должны быть отражены в двустороннем акте, составленном представителями источника теплоты, энергоснабжающей организации или энергонадзора.

2.1.6. Установка, замена, проверка приборов учета отпуска тепловой энергии и датчиков к ним (сужающих устройств, термометров сопротивления и т.д.) на источнике теплоты производятся персоналом источника теплоты в присутствии представителя энергоснабжающей организации.

2.1.7. Центральный тепловой пункт потребителей промышленной площадки источника теплоты должен быть оборудован приборами учета в соответствии с указаниями разд. 3.2 настоящих Правил как центральный тепловой пункт промышленного предприятия.

Центральный тепловой пункт жилого поселка источника теплоты должен оборудоваться приборами учета в соответствии с указаниями разд. 3.3 как городской центральный тепловой пункт.

2.2. Учет тепловой энергии, отпускаемой по водяным тепловым сетям

2.2.1. Каждая водяная магистраль, отходящая от источника теплоты, независимо от диаметра трубопроводов, протяженности и значения подключенной нагрузки, должна быть оборудована:

- регистрирующими самопишущими расходомерами на подающем и обратном трубопроводах для измерения и регистрации расходов сетевой воды в обоих трубопроводах;

- регистрирующими самопишущими средствами измерения и регистрации температуры сетевой воды на подающем и обратном трубопроводах;

- регистрирующими самопищущими манометрами на подающем и обратном трубопроводах для измерения и регистрации давления в обоих трубопроводах.

Водоподогревательная установка источника теплоты должна быть оборудована сумматорами количества тепловой энергии (теплосчетчиками) с обязательным учетом температуры холодной воды.

На источнике теплоты должны быть установлены регистрирующие и самопишущие средства для измерения и регистрации температуры воды в источнике холодного водоснабжения.

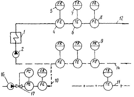
2.2.2. В случае, если в схеме выводных коллекторов водоподогревательной установки источника теплоты имеются общие участки на подающем и обратном трубопроводах, по которым транспортируется весь поток нагретой воды, отходящей от источника теплоты перед поступлением ее в магистрали и возвращающейся от них, теплосчетчики допускается устанавливать на этих участках (рис. 2.1). Теплосчетчики должны устанавливаться на подающем и обратном трубопроводах.

Рис. 2.1. Схема установки в полном объеме приборов учета количества тепловой
энергии, отпускаемой в водяные тепловые сети от источника теплоты, имеющего
общий участок до выводных коллекторов:

1 - водоподогреватель; 2 - сетевой насос; 3 - теплосчетчик; 4 - датчик расхода;
5 - регистрирующий расходомер; 6 - датчик температуры; 7 - регистрирующее и
самопишущее средство измерения температуры; 8 - датчик давления; 9 - регистрирующий
манометр; 10 - подпиточный трубопровод; 11 - трубопровод холодного водоснабжения;
12, 13 - подающие трубопроводы тепловой сети; 14, 15 - обратные трубопроводы тепловой сети

2.2.3. В том случае, когда общего участка не имеется, теплосчетчики должны устанавливаться на каждой магистрали, отходящей от источника теплоты на подающем и обратном трубопроводах (рис. 2.2).

Отпуск тепловой энергии за отчетный период определяется как сумма расходов тепловой энергии по магистралям, определенных по показаниям теплосчетчиков.

Рис. 2.2. Схема установки в полном объеме приборов учета количества тепловой
энергии, отпускаемой в водяные тепловые сети от источника теплоты, не имеющего
общего участка до выводных коллекторов

Обозначения см. рис. 2.1

2.2.4. Приборы учета, установленные на обратном трубопроводе магистралей, должны находиться до места присоединения подпитки (по ходу воды в обратном трубопроводе).

2.2.5. На подпиточном трубопроводе должен быть установлен регистрирующий самопишущий расходомер для измерения и регистрации расхода подпиточной воды. На трубопроводе подпитки сырой воды также должен быть установлен регистрирующий самопишущий расходомер.

2.2.6. При отсутствии теплосчетчиков и наличии нескольких магистралей, отходящих от общих коллекторов (рис. 2.3), отпуск тепловой энергии по каждой магистрали определяется по показаниям самопищущих регистрирующих приборов по формуле

где c - удельная теплоемкость, кДж/(кг∙°С) [ккал/(кг∙°С)].

Здесь и далее c = 4,1868 кДж/(кг∙°С) = 1,0 ккал/(кг∙°С);

G1, G2 - количество воды по показаниям регистрирующих расходомеров* соответственно в подающем и обратном трубопроводах за соответствующий отчетный период, т;

t1, t2 - средние температуры сетевой воды за соответствующий отчетный период по показаниям регистрирующих и самопишущих средств измерения температуры в подающем и обратном трубопроводах, °C;

tх.в - средняя за отчетный период температура холодной воды в источнике холодного водоснабжения, °C.

Рис. 2.3. Схема установки приборов учета количества тепловой
энергии, отпускаемой от источника теплоты в водяные тепловые сети при отсутствии
теплосчетчиков и наличии нескольких магистралей, отходящих от источников теплоты:

16 - подпиточный насос; 17 - регулятор давления.
Остальные обозначения см. рис. 2.1

______________

* Здесь и далее имеется в виду действительное (фактическое) количество воды (а далее - пара и конденсата), определенное с учетом поправочных множителей, принятых в соответствии с "Правилами измерения расхода газов и жидкостей стандартными сужающими устройствами" РД 50-213-80 (М.: Изд-во стандартов, 1980).

2.2.7. При отсутствии теплосчетчиков на водоподогревательной установке и наличии только одной магистрали, отходящей от источника теплоты (рис. 2.4), фактический отпуск тепловой энергии по этой магистрали определяется по показаниям самопишущих регистрирующих приборов по формуле

где Gп - количество воды по показаниям регистрирующего расходомера в подпиточном трубопроводе за отчетный период, т.

При неисправном расходомере на подающем трубопроводе отпуск тепловой энергии определяется по формуле

При неисправном расходомере на обратном трубопроводе отпуск тепловой энергии определяется по формуле

При неисправном расходомере, установленном на подпиточном трубопроводе, отпуск тепловой энергии определяется по формуле (2.1).

Условные обозначения в формулах (2.2), (2.3), (2.4) те же, что и в формулах (2.1) и (2.2).

Рис. 2.4. Схема установки приборов учета количества тепловой
энергии от источника теплоты в водяные тепловые сети при отсутствии
теплосчетчиков и наличии одной магистрали, отходящей от источника теплоты

Обозначения см. рис. 2.1, 2.3

2.3. Учет тепловой энергии, отпускаемой по паровым тепловым сетям

2.3.1. Каждая паровая магистраль, отходящая от источника теплоты независимо от диаметра трубопроводов, протяженности и значения подключенной нагрузки, должна быть оборудована:

- регистрирующими самопишущими расходомерами на паропроводе и конденсатопроводе для измерения и регистрации расходов пара и конденсата;

- регистрирующими и самопищущими средствами измерения температуры на паропроводе и конденсатопроводе для измерения и регистрации температуры пара и конденсата;

- регистрирующими самопишущими манометрами на паропроводе и конденсатопроводе для измерения и регистрации давлений пара и конденсата;

- теплосчетчиками, устанавливаемыми на паропроводах** и на конденсатопроводах, с обязательным учетом температуры холодной воды;

- регистрирующим самопишущим средством измерения и регистрации температуры холодной воды.

______________

** Установка теплосчетчика для пара предусматривается после освоения промышленностью их серийного выпуска. До этого отпуск теплоты должен определяться в соответствии с указаниями п. 2.3.4.

2.3.2. В случае, если в схеме источника теплоты имеются общие участки паропровода и конденсатопровода, по которым транспортируется весь поток пара перед поступлением его в магистрали и весь поток конденсата, поступающий из отдельных конденсатопроводов, теплосчетчики допускается устанавливать на этих участках (рис. 2.5). Это положение относится к тем случаям, когда дросселирование давления пара по отдельным магистралям, отходящим от общего коллектора, не производится или производится с помощью редукционной установки (РУ).

Рис. 2.5. Схема установки в полном объеме приборов учета количества
тепловой энергии, отпускаемой в паровые тепловые сети от источника
теплоты, имеющего общий участок до выводных коллекторов:

18 - редукционная установка; 19 - бак сбора конденсата;
20, 21 - подающие паропроводы; 22, 23 - конденсатопроводы
Остальные обозначения см. рис. 2.1

2.3.3. В случае, когда общих участков не имеется или они имеются, но дросселирование на отдельных магистралях производится с помощью редукционно-охладительных установок (РОУ), теплосчетчики должны устанавливаться на каждой магистрали. При этом они устанавливается после РОУ по ходу пара (рис. 2.6).

Рис. 2.6. Схема установки в полном объеме приборов учета количества
тепловой энергии, отпускаемой в паровые тепловые сети от источника теплоты,
не имеющего общего участка до выводных коллекторов:

24 - редукционно-охладительная установка
Остальные обозначения см. рис. 2.1, 2.5

Отпуск тепловой энергии с паром за отчетный период определяется как сумма расходов тепловой энергии по магистралям, определенных по показаниям теплосчетчиков.

2.3.4. При отсутствии в узле учета и контроля теплосчетчиков отпуск тепловой энергии определяется по показаниям регистрирующих самопишущих приборов (рис. 2.7).

Для коммерческих расчетов определяется раздельно количество тепловой энергии, отпущенное с паром и возвращенное с конденсатом.

Отпуск тепловой энергии с паром за отчетный период определяется по формуле

Qп = D(iп - ctх.в)10-3 ГДж (Гкал),

(2.5)

где D - количество отпущенного пара за отчетный период по показаниям регистрирующего расходомера, т;

iп - среднее теплосодержание пара за отчетный период, кДж/кг (ккал/кг).

Количество тепловой энергии, возвращенное с конденсатом, определяется по формуле

Qк = Gкc(tк - tх.в)10-3 ГДж (Гкал),

(2.6)

где Gк - количество возвращенного за отчетный период конденсата по показаниям регистрирующего расходомера, т;

tк - средняя температура возвращаемого конденсата за отчетный период, °C.

Количество отпущенной за сутки тепловой энергии, характеризующее плановый, лимитный или договорный отпуск, а также участвующее в тепловом балансе источника теплоты, определяется по формуле

Q = [Diп - cGкtк - (D - Gк)ctх.в] 10-3 ГДж (Гкал).

(2.7)

Рис. 2.7. Схема установки приборов учета количества
тепловой энергии, отпускаемой от источника теплоты в паровые
тепловые сети при отсутствии теплосчетчиков:

Обозначения см. рис. 2.1, 2.5

3. Учет тепловой энергии, полученной потребителями тепловой сети

3.1. Организация учета

3.1.1. Потребители тепловой энергии, подключенные к водяным, тепловым сетям по методу учета потребляемой тепловой энергии, подразделяются на три группы.

К I группе учета относятся жилые, общественные и коммунально-бытовые потребители тепловой энергии, суммарная расчетная тепловая нагрузка которых (на отопление, вентиляцию и горячее водоснабжение) или расчетная нагрузка одного из видов теплопотребления не менее 2,33 МВт (2 Гкал/ч), а также следующие потребители тепловой энергии, независимо от значения их расчетной тепловой нагрузки;

- промышленные предприятия;

- центральные или квартальные тепловые пункты (ЦТП) жилых или административных районов и учебных комплексов;

- контрольно-распределительные пункты (КРП);

- спортивные комплексы (стадионы, плавательные бассейны и т.п.).

Ко II группе учета относятся городские потребители тепловой энергии, суммарная расчетная нагрузка которых ниже 2,33 МВт (2 Гкал/ч), не перечисленные в составе I группы учета.

К III группе потребителей (с временным отсутствием приборов учета) относятся:

- потребители тепловой энергии, системы теплопотребления которых подключены к тепловой сети по временной схеме на срок до 6 мес.;

- потребители I и II групп, оборудованные приборами учета при неисправности и выводе в ремонт этих приборов на срок, превышающий 15 сут.

3.1.2. Потребители тепловой энергии, подключенные к паровым тепловым сетям, подразделяются на три группы учета.

К I группе учета относятся все постоянные промышленные потребители независимо от значения тепловой нагрузки и другие потребители с расчетной нагрузкой не менее 2,33 МВт (2 Гкал/ч).

Ко II группе относятся постоянные потребители тепловой энергии, не относящиеся к I группе, с расчетной нагрузкой от 0,58 МВт (0,5 Гкал/ч) до 2,33 МВт (2 Гкал/ч).

К III группе учета относятся потребители пара с тепловой нагрузкой менее 0,58 МВт (0,5 Гкал/ч), а также временные потребители со сроком теплоиспользования менее 3 мес. Кроме того, к III группе учета временно причисляются потребители тепловой энергии, у которых оказались неисправными приборы учета.

3.1.3. Потребители, тепловые пункты которых к моменту начала теплопользования не укомплектованы необходимыми приборами учета, временно, с особого разрешения руководителя энергоснабжающей организации, причисляются к III группе учета. При этом в разрешении должен быть точно оговорен срок оборудования теплового узла приборами учета.

3.1.4. В соответствии с требованиями "Правил пользования электрической и тепловой энергией" (М.: Энергоиздат, 1982) приборами учета тепловой энергии должны быть оборудованы системы теплопотребления всех потребителей на границе раздела тепловых сетей энергоснабжения организации и потребителя. Кроме того, в соответствии с требованием "Правил технической эксплуатации теплоиспользующих установок и тепловых сетей" (М.: Энергия, 1973) тепловой пункт, подключенный к водяной тепловой сети, должен быть оборудован водомером на обводе основной задвижки обратного или подающего трубопровода для контроля плотности.

При подключении теплового пункта представитель района энергоснабжающей организации должен в присутствии ответственного представителя потребителя произвести технический осмотр приборов и о результатах осмотра составить акт (форма П2.5).

При осмотре необходимо обращать внимание на:

1) соответствие приборов, составляющих комплекты расходомеров или теплосчетчиков, включая средства измерений давления и температуры, проекту, согласованному с энергоснабжающей организацией;

2) соответствие приборов расчетным параметрам теплоносителя (расходу, давлению, температуре);

3) соответствие монтажа средств измерений и комплектующих изделий, составляющих комплект расходомера переменного перепада, требованиям "Правил измерения расхода газов и жидкостей стандартными сужающими устройствами" РД 50213-80 (М.: Изд-во стандартов, 1980) и заводских инструкций по эксплуатации и технических описаний (под комплектующими изделиями понимается трубопровод до и после сужающих устройств, камеры, фланцевые соединения, уравнительные и разделительные сосуды, продувочные вентили, импульсные линии и др.);

4) соответствие сужающих устройств (в виде диафрагм) требованиям ГОСТ 14321-73 и ГОСТ 14322-77, а вварных сужающих устройств - требованиям действующих НТД на данные устройства (ОСТ 108.839.06-82, ОСТ 108.839.07-82, ОСТ 108.839.09-82 и др.);

5) соответствие уравнительных и разделительных сосудов требованиям ОСТ 25.1160-84;

6) соответствие монтажа скоростных водомеров требованиям заводских инструкций по эксплуатации;

7) соответствие установки средств измерения давления и температуры требованиям действующих нормативно-технических документов на данные средства измерения (заводские инструкции по эксплуатации, технические описания, технические условия на монтаж и др.);

8) наличие паспортов на расходомеры переменного перепада, скоростные водомеры и другие средства измерений (давлений и температуры), наличие проверенных в органах Госстандарта расчетов сужающих устройств;

9) соответствие защитной арматуры типу и размеру используемого термометра сопротивления и допустимость применения выбранного типа защитной арматуры при расчетной скорости потока теплоносителя, имеющей место в трубопроводе; соответствие длины рабочей (погружаемой) части термометра сопротивления диаметру трубопровода, на котором он устанавливается (при внутреннем диаметре трубопровода до 100 - 150 мм для установки термометра сопротивления обязательно применение расширителя трубопровода);

10) наличие актов на выполнение скрытых работ по монтажу сужающих устройств к расходомерам переменного перепада и к дифманометрам-расходомерам, входящим в комплекты теплосчетчиков (форма П2.10);

11) наличие клейма государственной поверки или свидетельства о государственной поверке.

3.1.5. Один раз в месяц в соответствии с утвержденным графиком представитель энергоснабжающей организации в присутствии представителя потребителя тепловой энергии должен произвести технический осмотр приборов учета тепловой энергии на тепловом пункте потребителя. Во время осмотра самопишущих приборов и теплосчетчиков проверяется:

1) сохранность пломб государственной поверки;

2) отсутствие засоров в соединительных и импульсных линиях, а также плотность этих линий и всех сальниковых и фланцевых соединений арматуры и приборов;

3) правильность установки указывавшей стрелки прибора и отметчика (пера) пишущего устройства на ноль при снятии импульса (для самопишущих приборов);

4) точность работы интеграторов (суммирующих счетчиков) и идентичность записи отметчиков самопищущих приборов и показаний контрольных показывающих приборов (для самопишущих приборов);

5) соответствие показаний теплосчетчиков данным, полученным на основании показаний самопишущих приборов.

Непосредственно после технического осмотра представитель энергоснабжающей организации должен произвести снятие показаний с суммирующих приборов учета (теплосчетчиков и водомеров).

Кроме того, представитель должен произвести выборочную проверку расчетов, выполненных персоналом каждого потребителя при обработке диаграмм самопищущих приборов, и сличить итоговые данные этих расчетов с записями в журнале теплового пункта и в ведомости учета суточного отпуска тепловой энергии.

3.1.6. Ответственность за состояние и сохранность контрольно-измерительных приборов, по которым производится учет теплопотребления, несет потребитель тепловой энергии. Он же обязан принимать меры к предотвращению их порчи или поломки.

При обнаружении повреждения прибора или в случае возникновения сомнения в правильности его показаний потребитель обязан немедленно известить об этом энергоснабжающую организацию.

3.1.7. Диаграммы самопишущих приборов учета расхода тепловой энергии, установленных на тепловых пунктах потребителей, должны сниматься и обрабатываться персоналом потребителя.

Результаты обработки диаграмм и расчета теплопотребления персонал должен заносить в журнал учета потребления тепловой энергии (формы П2.6 или П2.7) и в установленные сроки и время передавать по телефону в группу учета тепловой энергии энергоснабжающей организации.

В группе учета данные телефонных докладов потребителей заносятся в ведомости учета расхода тепловой энергии потребителями за текущий месяц (форма П2.8).

Диаграммы самопишущих приборов учета передается в группу учета энергоснабжающей организации и хранятся в ней в виде месячных подшивок в течение одного года.

3.1.8. Расчет месячного отпуска тепловой энергии потребителям для коммерческого учета производится группой учета энергоснабжающей организации на основании записей в ведомостях учета расхода тепловой энергии.

Группы учета ПТС для правильного составления отчета о расходе тепловой энергии должны еженедельно составлять балансы расходов сетевой воды, пара, возвращаемого конденсата по данным ТЭЦ и суммарно по потребителям.

3.1.9. При выводе в ремонт приборов учета отпуска тепловой энергии на срок, не превышающий половину расчетного периода (15 дн.), теплопотребление, независимо от вида потребителя (промышленный или городской), определяется в соответствии с п. 3.2.1.5 настоящих Правил.

При неисправности приборов в течение более 15 сут. значение теплопотребления определяется как при временном отсутствии приборов учета и рассчитывается в соответствии с указаниями разд. 5 настоящих Правил.

3.1.10. В том случае, когда источник теплоты и потребители имеет различные источники холодного водоснабжения с различной температурой воды, при расчете отпуска тепловой энергии потребителю температура холодной воды должна приниматься по данным источника теплоты. В том случае, когда узлы учета таких потребителей оборудованы теплосчетчиками, температуру холодной воды допускается принимать по данным источника холодного водоснабжения потребителя.

3.2. Учет тепловой энергии, отпускаемой промышленным предприятиям (потребители I группы учета)

3.2.1. Потребители, подключенные к водяной тепловой сети

3.2.1.1. Центральные тепловые пункты промышленных потребителей тепловой энергии в открытых и закрытых системах теплоснабжения должны быть оборудованы (рис. 3.1):

- регистрирующими самопишущими расходомерами на подающем и обратном трубопроводах для измерения и регистрации расходов сетевой воды в обоих трубопроводах;

- регистрирующими самопишущими средствами измерения температуры на подающем и обратном трубопроводах для измерения и регистрации температур сетевой воды в обоих трубопроводах;

- регистрирующими самопишущими манометрами на подающем и обратном трубопроводах для измерения и регистрации давления в обоих трубопроводах;

- теплосчетчиками на подающем и обратом трубопроводах с обязательным учетом температуры холодной воды;

- при отсутствии теплосчетчиков - регистрирующий самопишущими средствами измерения температуры для измерения и регистрации температуры холодной воды у потребителей, имеющих тот же источник холодного водоснабжения, что и источник теплоты (см. рис. 3.2).

Рис. 3.1. Схема установки в полном объеме приборов учета количества тепловой
энергии на центральном тепловом пункте промышленного предприятия
(потребитель I группы учета) в водяной открытой и закрытой системе теплоснабжения

Обозначения см. рис. 2.1

3.2.1.2. Центральные тепловые пункты промышленных потребителей тепловой энергии в закрытых системах теплоснабжения, ранее оборудованные одним расходомером или теплосчетчиком, установленным на подающем или обратном трубопроводе, должны быть доукомплектованы приборами учета отпуска тепловой энергии до объема, оговоренного в п. 3.2.1.1.

Рис. 3.2. Схеме установки самопишущих регистрирующих приборов
учета количества тепловой энергии на центральном тепловом пункте
промышленного предприятия (потребитель I группы учета) при отсутствии
теплосчетчиков в водяной открытой и закрытой системе теплоснабжения

Обозначения см. рис. 2.1

3.2.1.3. Фактический отпуск тепловой энергии за отчетный период потребителю, узел учета которого оборудован двумя теплосчетчиками (на подающем и обратном трубопроводах), определяется по разности показаний теплосчетчиков в конце и в начале отчетного периода.

Для потребителя в закрытой системе теплоснабжения, узел учета которого ранее был оборудован одним теплосчетчиком, установленным на подающем или обратном трубопроводах временно, до момента укомплектования его приборами учета в полном объеме, оговоренном в п. 3.2.1.1, допускается определять фактический отпуск тепловой энергии за отчетный период по формуле

QI = QIтс + ΔQIут + ΔQIут.пр ГДж (Гкал),

(3.1)

где QIтс - отпуск тепловой энергии за отчетный период, определенный по разнице показаний теплосчетчика в конце и в начале отчетного периода, ГДж (Гкал);

ΔQIут - потери тепловой энергии с непроизводительной утечкой за отчетный период из тепловой сети, расположенной за узлом учета данного потребителя I группы, и присоединенных к ней местных систем теплопотребления, ГДж (Гкал), определяются по формулам:

- для теплосчетчика, установленного на подающем трубопроводе,

ΔQIут = Gпутc(t2ср - tх.в)10-3 ГДж (Гкал),

(3.2 а)

- для теплосчетчика, установленного на обратном трубопроводе,

ΔQIут = Gпутc(t1ср - tх.в)10-3 ГДж (Гкал),

(3.2 б)

t1ср - средняя за отчетный период температура воды в подающем трубопроводе на узле учета данного потребителя I группы по показаниям приборов, °C;

t2ср - средняя за отчетный период температура воды в обратном трубопроводе на узле учета данного потребителя I группы по показаниям приборов, °C;

Gпут - часть общей непроизводительной утечки по системе теплоснабжения за отчетный период, отнесенная к данному потребителю в соответствии с объемом тепловых сетей и местных систем теплопотребления, расположенных за его узлом учета, т. Объемы тепловых сетей и местных систем теплопотребления могут определяться по табл. П1.2 и П1.3.

ΔQIут.пр - потери тепловой энергии с производительной утечкой у данного потребителя I группы, ГДж (Гкал). Определяется по актам. Форма одного из актов (на наполнение) приведена в приложении 2 (форма П2.9).

3.2.1.4. При отсутствии теплосчетчиков отпуск тепловой энергии за отчетный период для тепловых пунктов с двумя расходомерами, установленными на подающем и обратном трубопроводах, определяется по формуле

QI = c[GI1(t1ср - tх.в) - GI2 (t2ср - tх.в)]10-3 ГДж (Гкал),

(3.3)

Для тепловых пунктов с ранее установленным одним расходомером на подающем или обратном трубопроводах временно, до момента укомплектования его приборами учета в полном объеме, оговоренном в п. 3.2.1.1, допускается определять отпуск тепловой энергии по показаниям самопищущих регистрирующих приборов по формуле

QI = c GI1(tI1 - tI2)10-3 + ΔQIут + ΔQIут.пр ГДж (Гкал),

(3.4)

В формулах (3.3) и (3.4) значение ΔQIут определяется по формулам (3.2 а) или (3.2 б) в зависимости от места установки расходомера. Значение ΔQIут.пр определяется по актам.

GI1, GI2 - количество воды за отчетный период соответственно по подающему и обратному трубопроводам в узле учета по показаниям приборов, т.

3.2.1.5. При выводе приборов учета в ремонт из-за неисправности, если время отвлечения приборов не превышало половину расчетного периода (15 дн.), значение теплопотребления за каждые сутки после прекращения работы приборов принимается равным среднесуточному расходу тепловой энергии Qср за последние 3 сут., предшествовавших отключению приборов.

С учетом поправки на изменение температуры наружного воздуха в период после отключения приборов расход тепловой энергии следует определять по формуле

(3.5)

где QIср - среднесуточный расход тепловой энергии за 3 сут., предшествовавших моменту прекращения работы приборов, учета, ГДж (Гкал);

tвн - расчетная температура воздуха внутри помещений, °C;

 - фактическая температура наружного воздуха после прекращения работы приборов, °C;

 - средняя температуре наружного воздуха за 3 сут. до прекращения работы приборов, °C.

3.2.1.6. При организации на предприятии внутрипроизводственного учета потребления тепловой энергии установку приборов учета следует предусматривать только для объектов (цехов, участков, агрегатов) с годовым теплопотреблением выше 8374 ГДж (2000 Гкал).

3.2.2. Потребители, подключенные к паровой тепловой сети

3.2.2.1. Центральные тепловые пункты всех промышленных предприятий, потребляющих тепловую энергию в виде пара, должны быть оборудованы (рис. 3.3):

- регистрирующими самопишущими расходомерами на общем паропроводе и на общем конденсатопроводе, для измерения и регистрации расходов пара и конденсата;

- регистрирующими самопишущими средствами измерения температуры на общих паропроводе и конденсатопроводе для измерения и регистрации температуры пара и конденсата;

- регистрирующими самопишущими манометрами на общих паропроводе и конденсатопроводе для измерения и регистрации давления пара и конденсата;

- теплосчетчиками на общих паропроводе и конденсатопроводе с обязательным учетом температуры холодной воды;

- при отсутствии теплосчетчиков - регистрирующими самопишущими средствами измерения температуры для измерения и регистрации температуры холодной воды.

Рис. 3.3. Схема установки приборов учета количества тепловой энергии
на центральном тепловом пункте промышленного предприятия
(потребитель I группы учета) в паровой системе теплоснабжения:

25 - конденсатный насос; 26 - конденсатоотводчик
Остальные обозначения см. рис. 2.1, 2.5

3.2.2.2. При отсутствии на вводе теплосчетчиков отпуск тепловой энергии данному потребителю определяется по показаниям регистрирующих самопищущих приборов.

Количество отпущенной тепловой энергии определяется по формулам (2.5), (2.6) и (2.7) с подстановкой значений соответствующих величин, измеренных на узле учета потребителя I группы.

3.2.2.3. В случаях, когда пар к потребителю доходит в увлажненном состоянии, при определении его расхода к суммарным показаниям расходомера необходимо ввести поправочный коэффициент на влажность, значение которого определяется с помощью влагомера. При отсутствии влагомера значение поправочного коэффициента на влажность определяется расчетным или экспериментальным путем представителями энергоснабжающей организации и потребителя теплоты или специализированной организацией и фиксируется двусторонним актом.

3.2.2.4. При поступлений потребителю увлажненного пара его теплосодержание определяется выражением

iвл = χr + i′ кДж/кг (ккал/кг),

(3.6)

где χ - степень сухости пара;

r - скрытая теплота парообразования, кДж/кг (ккал/кг);

i′ - энтальпия кипящей воды, кДж/кг (ккал/кг).

3.2.2.5. При потреблении одним абонентом пара различных параметров пар каждого параметра должен учитываться отдельно. Учет конденсата пара различных параметров не требуется. При необходимости количество конденсата пара каждого параметра принимается в доле от всего возвращенного конденсата, соответствующей отношению расхода пара данного параметра к суммарному массовому расходу пара всех параметров.

3.2.2.6. Потребители пара сверх учтенного значения теплопотребления должны оплачивать стоимость тепловой энергии, израсходованной на прогрев и продувку паропроводов, связанные с перерывами потребления пара, и стоимость потерь тепловой энергии с утечкой конденсата. Значение указанного дополнительного расхода тепловой энергии на эти цели определяется энергоснабжающей организацией на основании расчета и фиксируется двусторонним актом между представителями энергоснабжающей организации и потребителями тепловой энергии.

3.3. Учет тепловой энергии, отпускаемой жилым, общественным и коммунально-бытовым потребителям (потребители I и II групп учета)

3.3.1. Потребители, подключенные к водяной тепловой сети

3.3.1.1. Учет тепловой энергии у городских потребителей I группы производится так же, как на промышленных предприятиях.

3.3.1.2. Тепловые пункты городских потребителей I группы в открытой и закрытой системах теплоснабжения должны быть оснащены приборами учета в соответствии с требованиями п. 3.2.1.1 и 3.2.1.2 (рис. 3.4 и 3.5). Отпуск тепловой энергии определяется в соответствии с указаниями пп. 3.2.1.3, 3.2.1.4 и 3.2.1.5.

Рис. 3.4. Схема установки в полной объеме приборов учета количества тепловой
энергии на центральном тепловом пункте городского потребителя (потребитель I
группы учета) в водяной открытой и закрытой системе теплоснабжения

Обозначения см. рис. 2.1

Рис. 3.5. Схема установки самопишущих регистрирующих приборов
учета количества тепловой энергии на центральном тепловом пункте
городского потребителя (потребитель I группы учета) при отсутствии
теплосчетчиков в водяной открытой и закрытой системе теплоснабжения

Обозначения см. рис. 2.1

3.3.1.3. На тепловых пунктах потребителей II группы учета допускается базировать учет количества тепловой энергии на показаниях суммирующих водомеров (водосчетчиков). Снятие показаний водомеров у каждого потребителя должно производиться в одни и те же календарные числа месяца.

После освоения промышленностью серийного выпуска теплосчетчиков и установки их в соответствии с заводскими инструкциями учет отпуска тепловой энергии у потребителей II группы должен базироваться на показаниях теплосчетчиков.

3.3.1.4. В закрытой системе теплоснабжения на тепловом пункте потребителей II группы учета устанавливается один водомер, регистрирующий общий расход теплоносителя на отопление, вентиляцию и горячее водоснабжение. Водомер устанавливается на общем обратном трубопроводе теплового пункта (рис. 3.6).

Рис. 3.6. Схема установки водомера на тепловом пункте потребителя
II группы учета в закрытой системе теплоснабжения:

27 - водомер; 28 - регулятор температуры; 29 - трубопровод горячего
водоснабжения; 30 - II ступень подогревателя горячего водоснабжения;
31 - I ступень подогревателя горячего водоснабжения; 32 - задвижка

Остальные обозначения см. рис. 2.1

Отпуск тепловой энергии данному потребителю II группы, общий на отопление, вентиляцию и горячее водоснабжение, определяется по формуле

(3.7)

где GIIзакр - количество сетевой воды у данного потребителя II группы учета, общее на отопление, вентиляцию и горячее водоснабжение, измеренное прибором, установленным на обратном трубопроводе за отчетный период, т;

 - суммарное количество сетевой воды у всех потребителей II группы учета, общее на отопление, вентиляцию и горячее водоснабжение, измеренное приборами, установленными на обратных трубопроводах за отчетный период, т;

 - суммарный отпуск тепловой энергии всем потребителям II группы учета, общий на отопление, вентиляцию и горячее водоснабжение за отчетный период, ГДж (Гкал):

(3.8)

где  - суммарное количество сетевой воды у всех потребителей II и III групп учета, общее на отопление, вентиляцию и горячее водоснабжение за отчетный период, т:

(3.9)

где G1 - количество сетевой воды по подающему трубопроводу источника теплоты за отчетный период, измеренное прибором, т;

 - общая (производительная и непроизводительная) утечка сетевой воды, определяемая по расходу подпиточной воды в системе теплоснабжения за отчетный период на источнике теплоты, измеренному прибором;

 - суммарное количество сетевой воды у всех потребителей I группы учета на отопление, вентиляцию и горячее водоснабжение за отчетный период, измеренное приборами на обратных трубопроводах узлов учета, т.

Если у какого-либо потребителя I группы временно имеется только один расходомер на подающей линии, то из его показаний должна быть вычтена непроизводительная утечка , определенная в соответствии с пояснениями к формулам (3.2 а) и (3.2 б), а также производительная утечка по актам;

 - суммарный общий отпуск тепловой энергии потребителям II и III групп учета на отопление, вентиляцию и горячее водоснабжение за отчетный период, ГДж (Гкал):

(3.10)

где Q - отпуск тепловой энергии от источника теплоты за отчетный период, измеренный приборами, ГДж (Гкал);

 - потери тепловой энергии во всех тепловых сетях за отчетный период, учитывающие потери тепловой энергии через изоляцию трубопроводов тепловых сетей и с утечкой из тепловых сетей и местных систем теплопотребления, ГДж (Гкал).

Определяются по формуле (6.1);

 - суммарный общий отпуск тепловой энергии на отопление, вентиляцию и горячее водоснабжение потребителям I группы учета, определенный по приборам, ГДж (Гкал);

 - потери тепловой энергии с общей (производительной и непроизводительной) утечкой у всех потребителей I группы, ГДж (Гкал). Непроизводительные потери могут быть определены по формуле (5.3) с подстановкой значения утечки, определяемого как разность показаний расходомеров на подающем и обратном трубопроводах узла учета потребителя I группы, за вычетом производительных утечек по актам и средних за отчетный период температур воды в подающем и обратном трубопроводах на узле учета и холодной воды. Производительные утечки определяются по актам;

 - потери тепловой энергии с утечкой из местной системы теплопотребления данного потребителя II группы учета за отчетный период, ГДж (Гкал):

(3.11)

где  - температура сетевой воды в подающем трубопроводе источника теплоты, средняя за отчетный период, измеренная прибором, °C;

 - потери тепловой энергии с производительной утечкой у данного потребителя II группы, ГДж (Гкал). Определяется по актам.

3.3.1.5. В открытой системе теплоснабжения на тепловых пунктах потребителей II группы учета, имеющих систему горячего водоснабжения и систему циркуляции, устанавливаются три прибора, регистрирующих расход теплоносителя (рис. 3.7);

1) водомер на общем обратном трубопроводе теплового пункта для регистрации расхода воды, возвращаемой от теплового пункта в тепловую сеть;

2) водомер на подающем трубопроводе системы горячего водоснабжения после точки смешения воды, отбираемой из подающего и обратного трубопроводов;

3) водомер на циркуляционном трубопроводе.

Рис. 3.7. Схема установки водомеров на тепловом пункте потребителя
II группы учета в открытой системе теплоснабжения:

33 - обратный клапан; 34 - циркуляционный
трубопровод горячего водоснабжения

Остальные обозначения см. рис. 2.1, 3.6

Отпуск тепловой энергии данному потребителю II группы общий на отопление, вентиляцию и горячее водоснабжение за отчетный период, определяется по формуле

(3.12)

где QIIоткр - общее количество сетевой воды на отопление, вентиляцию и горячее водоснабжение у данного потребителя II группы учета за отчетный период, т:

(3.13)

 - количество сетевой воды за отчетный период, измеренное прибором, установленным на общем обратном трубопроводе теплового пункта, т;

 - количество сетевой воды за отчетный период, измеренное прибором, установленным на подающем трубопроводе системы горячего водоснабжения, т;

 - количество циркуляционной воды за отчетный период, измеренное прибором, установленным на циркуляционном трубопроводе, т;

 - суммарное общее количество сетевой воды на отопление, вентиляцию и горячее водоснабжение у всех потребителей II группы учета за отчетный период, т. Представляет сумму общих расходов отдельных потребителей, определенных по формуле (3.13);

 - суммарный общий отпуск тепловой энергии на отопление, вентиляцию и горячее водоснабжение всем потребителям II группы учета, ГДж (Гкал):

(3.14)

 - суммарное количество сетевой воды у всех потребителей II и III групп учета за отчетный период, общее на отопление, вентиляцию и горячее водоснабжение, т:

(3.15)

 - утечка сетевой воды, определяемая по формуле (6.4) с учетом производительной утечки, определяемой по актам;

 - суммарное количество сетевой воды у всех потребителей I группы учета на отопление, вентиляцию и горячее водоснабжение за отчетный период, измеренное приборами на подающих трубопроводах узлов учета, т;

 - непроизводительная и производительная утечка сетевой воды у всех потребителей I группы, т. Производительная утечка определяется по актам. Непроизводительная - по формуле (6.4), в которую подставляются объемы сетей и систем, расположенных за узлом учета данного потребителя;

 - суммарный отпуск тепловой энергии потребителям II и III группы учета, общий на отопление, вентиляцию и горячее водоснабжение за отчетный период, ГДж (Гкал):

(3.16)

 - потери тепловой энергии с утечкой у всех потребителей I группы с учетом потерь с производительной утечкой по актам, ГДж (Гкал).

Потери тепла с непроизводительной утечкой у потребителей I группы могут быть определены по формуле (6.3) с подстановкой в нее средних температур на узлах учета потребителей I группы. Значение потерь тепловой энергии с непроизводительной утечкой  у данного потребителя II группы определяется по формуле (3.11), а с производительной утечкой  по актам.

Пример расчета отпуска тепловой энергии потребителям II и III групп учета приведен в приложении 4.

3.3.1.6. В закрытой и открытой системах теплоснабжения на тепловых пунктах потребителей II группы, не имеющих системы горячего водоснабжения, устанавливается один водомер на общем обратном трубопроводе, фиксирующий общий расход воды на отопление и вентиляцию.

3.3.1.7. Тепловые пункты потребителей тепловой энергии I группы учета с независимым присоединением системы отопления как в открытой, так и в закрытой системах теплоснабжения должны быть оборудованы приборами учета отпуска тепловой энергии в соответствии с указаниями п. 3.2.1.1; при отсутствии теплосчетчиков отпуск тепловой энергии для указанных потребителей определяется на основании показаний регистрирующих самопищущих приборов по формуле (3.3).

На тепловых пунктах потребителей тепловой энергии II группы учета с независимым присоединением системы отопления должны быть установлены в закрытой системе теплоснабжения (см. рис. 3.8):

- водомер на общем обратном трубопроводе теплового пункта;

- водомер на подпиточном трубопроводе, соединяющем обратные трубопроводы первого и второго контуров.

Рис. 3.8. Схема установки водомеров на тепловом пункте потребителя
II группы учета с независимым присоединением системы отопления
в закрытой системе теплоснабжения:

35 - отопительный водоподогреватель; 36 - циркуляционный
насос системы отопления

Остальные обозначения см. рис. 2.1, 3.6

Отпуск тепловой энергии за отчетный период такому потребителю определяется по формуле (3.9) со следующим изменением: при определении значения входящей в формулу (3.9) величины  по формуле (3.11) в формулу (3.11) вместо  подставляется значение расхода воды за отчетный период по показаниям водомера на подпиточном трубопроводе второго контура.

В открытой системе теплоснабжения (рис. 3.9):

- водомер на общем обратном трубопроводе теплового пункта;

- водомер на подающем трубопроводе горячего водоснабжения после точки смешения воды, отбираемой из подающего и обратного трубопроводов;

- водомер на циркуляционном трубопроводе;

- водомер на подпиточном трубопроводе, соединяющем обратные трубопроводы первого и второго контуров.

Рис. 3.9. Схема установки водомеров на тепловом пункте потребителя
II группы учета с независимым присоединением системы отопления
в открытой системе теплоснабжения:

Обозначения см. рис. 2.1, 3.6 - 3.8

Отпуск тепловой энергии за отчетный период определяется по формуле (3.12) со следующим изменением: при определении значения входящей в формулу (3.12) величины  по формуле (3.11) в формулу (3.11) вместо  подставляется значение расхода воды за отчетный период по показаниям водомера на подпиточном трубопроводе второго контура.

3.3.2. Потребители, подключенные к паровой тепловой сети

3.3.2.1. Тепловые пункты городских паровых потребителей I группы учета должны быть оборудованы узлом учета расхода тепловой энергии и контроля параметров теплоносителя в соответствии с указаниями п. 3.2.2.1 настоящих Правил.

Расход тепловой энергии у таких потребителей определяется по формулам (2.5, 2.6, 2.7) с подстановкой значений соответствующих величин, измеренных на узле учета потребителя I группы.

3.3.2.2. Тепловые пункты паровых городских потребителей II группы учета могут быть оборудованы самопишущими расходомерами на общем паропроводе и на общем конденсатопроводе (рис. 3.10). Отпуск тепловой энергии таким потребителям определяется по формулам (2.5, 2.6, 2.7).

При этом энтальпия пара и температура конденсата принимаются соответствующими показаниям самопищущих приборов, измеряющих температуру и давление на коллекторах источника теплоты.

Рис. 3.10. Схема установки приборов учета на тепловом вводе потребителя
II группы учета в паровой системе теплоснабжения

Обозначения см. рис. 2.1, 2.5, 3.3

3.3.2.3. Городские потребители пара оплачивают дополнительный расход тепловой энергии на прогрев и продувку паропроводов так же, как и промышленные потребители (см. п. 3.2.2)

4. Нормирование точности и выбор средств измерений количества тепловой энергии в водяных системах теплоснабжения

4.1. Нормирование точности измерения количества тепловой энергии

4.1.1. При организации учета необходимо использовать схемы и средства измерений, которые обеспечивают требуемую для данного объекта норму точности измерения количества тепловой энергии.

4.1.2. Нормой точности измерения количества тепловой энергии является интервал, в котором с вероятностью ρ = 0,95 находится суммарная погрешность измерения***, ГДж по формуле

(4.1)

где Q - количество тепловой энергии, отпущенной (потребленной) за отчетный период, ГДж; он

σн - оценка среднего квадратического отклонения результата измерения количества тепловой энергии, определяющего норму точности измерения, %.

При измерении количества тепловой энергии в горячей воде должны применяться средства и схемы измерения с оценкой среднего квадратического отклонения результата измерения в пределах, соответствующих формуле***

(4.2)

где Ц - себестоимость тепловой энергии, руб./ГДж;

Qг - количество тепловой энергии, отпускаемой (потребляемой) за год, ГДж;

σ - оценка среднего квадратического отклонения результата измерений количества тепловой энергии, %.

______________

*** "Нормативный материал по метрологическому обеспечению измерения количества тепловой энергии, отпускаемой электростанциями и предприятиями тепловых сетей с горячей водой" (М.: СПО Союзтехэнерго, 1981).

4.1.3. Оценка среднего квадратического отклонения результата измерения количества тепловой энергии производится по следующим выражениям***:

4.1.3.1. При учете приборами, раздельно фиксирующими расход и температуру воды с последующей ручной обработкой результатов измерений:

(4.3)

где σQ - оценка среднего квадратического отклонения результата измерения количества тепловой энергии, %;

σG, σt - оценки средних квадратических отклонений результатов измерений расхода и температуры воды соответственно, %;

σ - оценка средней квадратической методической погрешности измерения теплового потока, %.

4.1.3.2. При учете приборами с автоматическим вычислением и интегрированием количества тепловой энергии:

(4.4)

где σG - оценка среднего квадратического отклонения результата измерения расхода воды, %. Для расходомеров переменного перепада давления σG определяется по РД 50-213-80 "Правила измерения расхода газов и жидкостей стандартными сужающими устройствами" (М.: Издательство стандартов, 1982); для других типов расходомеров - в соответствии с нормативной документацией на эти расходомеры;

σt - оценка среднего квадратического отклонения результата измерения температуры воды, %:

(4.5)

σt1, σt2 - оценки средних квадратических погрешностей, вызванных отклонением характеристик преобразователей температуры, установленных в подающем и обратном трубопроводах соответственно, от номинальных статических характеристик преобразования, определенных нормативно-техническими документами на преобразователи;

σв.и - оценка средней квадратической погрешности вычисления и интегрирования количества тепловой энергии, %.

4.1.4. Суммарная погрешность измерения количества тепловой энергии при использовании существующих и перспективных комплектов приборов не должна превышать нормируемую для данного объекта.

4.1.5. Для учета количества тепловой энергии могут использоваться как автономные комплекты приборов (на локальных объектах), так и информационно-измерительные системы учета энергии (ИИСЭ), где каждый из комплектов является счетчиком-датчиком количества тепловой энергии. Применение ИИСЭ рекомендуется на предприятиях с числом точек учета не менее 5 или при наличии незадействованных электрических каналов ИИСЭ.

4.1.6. При организации учета количества тепловой энергии преимущественное применение должны иметь автоматизированные средства - теплосчетчики или системы, позволяющие получить более высокую точность измерений и обеспечивающие оперативность получения и отображения информации о количестве тепловой энергии.

4.1.7. Допускается применение других отечественных или зарубежных средств и систем учета количества тепловой энергии, основанных на применении современных средств аналоговой и микропроцессорной техники при возможности их аттестации в качестве коммерческих приборов на основе предварительного технико-экономического обоснования.

4.1.8. Применяемые схемы, средства и методы измерения количества тепловой энергии должны обеспечить следующие значения 2σн, используемые при расчете нормы точности по формуле (4.1):

1) для источников теплоты в открытых и закрытых системах теплоснабжения, для тепломагистралей, контрольно-распределительных пунктов (КРП), центральных тепловых пунктов (ЦТП), промышленных и городских потребителей I группы учета в открытых и закрытых системах теплоснабжения при измерении количества теплоносителя на подающем и обратном трубопроводах ±3,5 %. В закрытой системе теплоснабжения (при временном измерении количества теплоносителя на одном трубопроводе) значение 2σн не должно превышать ±2,5 %;

2) для потребителей II группы учета (при измерении количества теплоносителя несколькими приборами) ±5,5 %; для потребителей II группы учета (при измерении количества теллоносителя на одном трубопроводе) ±4,0 %.

4.1.9. При невозможности достижения на современных серийно выпускаемых средствах значений 2σн в пределах, указанных в п. 4.1.8, допускается временно применять методы, средства и схемы измерения количества тепловой энергии, обеспечивающие:

- для узлов учета, оборудованных на однотрубных тепломагистралях в открытой системе теплоснабжения, 2σн = ±2,0 %;

- для узлов учета, оборудованных на тепломагистралях в закрытых системах теплоснабжения, 2σн = ±4,0 %;

- для узлов учета, оборудованных на тепломагистралях в открытых системах теплоснабжения, для источников теплоты в закрытых и открытых системах теплоснабжения, а также для потребителей I и II групп в открытых и закрытых системах теплоснабжения - на основе расчетов по формулам (4.3) или (4.4).

4.2. Выбор средств измерения количества тепловой энергии

4.2.1. Количество устанавливаемых комплектов теплосчетчиков определяется типом объекта измерения.

4.2.2. На источниках теплоты, тепломагистралях, КРП, ЦТП промышленных и городских потребителей в закрытых и открытых системах устанавливается 2 комплекта теплосчетчиков:

1) с измерением расхода сетевой воды в подающем трубопроводе и температур в подающем трубопроводе и холодной (водопроводной) воды;

2) с измерением расхода сетевой воды в обратном трубопроводе и температур в обратном трубопроводе и холодной (водопроводной) воды.

4.2.3. Рабочие диапазоны теплосчетчиков по температурам теплоносителя должны находиться в приведенных ниже пределах.

При установке двух комплектов теплосчетчиков (на подающем и обратном трубопроводах):

- температура воды в подающем трубопроводе t1 = 60 ÷ 150 °C;

- температура воды в обратном трубопроводе t2 = 30 ÷ 70 °C;

- температура холодной (водопроводной) воды tх.в =5 ÷ 25 °C.

4.2.4. Номенклатура рекомендуемых средств измерений, входящих в комплекты теплосчетчиков и обеспечивающих указанную в п. 4.1.8 точность измерений, приведена в табл. П3.1 (не приводится). Кроме приведенных допускается применять другие средства измерений, включающие вновь освоенные промышленностью средства измерений, которые обеспечивают реализацию схем и установленную точность измерения в соответствии с настоящими Правилами.

4.2.5. При организации учета теплосчетчиками должна быть предусмотрена возможность подключения контрольных приборов для записи текущих значений параметров - расходов и температур воды - с помощью вторичных самопишущих приборов.

В случае установки в комплектах теплосчетчиков указанных самопишущих приборов дополнительные самопишущие приборы для контроля параметров теплоносителя не устанавливаются.

4.2.6. До установки теплосчетчиков при организации учета на проектируемых, строящихся и реконструируемых объектах с помощью самопишущих регистрирующих приборов необходимо применять расходомеры, имеющие унифицированный выходной сигнал, для возможности последующего их включения в комплекты теплосчетчиков.

4.2.7. Номенклатура рекомендуемых для использования самопишущих регистрирующих приборов для учета количества тепловой энергии приведена в табл. П3.2.

Кроме приведенных в табл. П3.2 могут применяться и другие, вновь освоенные промышленностью приборы, которые удовлетворяют требованиям настоящих Правил.

4.2.8. На действующих объектах, оборудованных приборами устаревших конструкций, которые используются для учета количества тепловой энергии, в период реконструкции должна производиться замена приборов учета в соответствии с требованиями настоящих Правил.

4.2.9. При выборе средств измерений необходимо строго соблюдать их соответствие пределам измерения параметров, регламентированных нормативно-технической документацией на них.

4.2.10. Установка и включение комплектов приборов учета в работу должны производиться в строгом соответствии с инструкциями по эксплуатации.

4.3. Предел измерений и обработка показаний самопищущих приборов учета

4.3.1. Измерение расходов дифманометрами-расходомерами должно производиться в соответствии с РД 50-213-80. При применении других расходомеров измерение расходов должно производиться в соответствии с НТД на эти расходомеры. Температура воды должна измеряться в соответствии с НТД.

Расходомеры должны рассчитываться на расчетный расход теплоносителей, равный максимальному часовому расходу с коэффициентом 1,25.

Подбирать расходомеры надо таким образом, чтобы стандартное значение верхнего предела измерения дифманометра было ближайшим к значению расчетного расхода.

Минимальный расход теплоносителя, учитываемый расходомером, не должен быть меньше 30 % диапазона, на который рассчитана его шкала.

В случаях, когда по условиям эксплуатации расход оказывается меньше 30 % максимального значения шкалы прибора, учет должен производиться по дополнительным приборам. В этом случае к одному сужающему устройству подключаются два дифманометра, пределы измерений и предельный номинальный перепад которых должны соответствовать п. 12.1.5 РД 50-213-80.

Находящиеся в эксплуатации расходомеры, у которых вследствие роста нагрузки значение измеряемого расхода выходит за пределы шкалы прибора, должны быть заменены.

4.3.2. Верхний предел шкалы регистрирующих и показывающих термометров должен быть равен максимальной температуре теплоносителя.

4.3.3. Верхний предел шкалы самопишущих манометров должен соответствовать полуторакратному рабочему давлению теплоносителя.

4.3.4. Водомеры подбираются по расчетному расходу воды, исходя из допустимого минимума расхода для каждого условного диаметра водомера в соответствии с нижеприведенными данными:

Условный диаметр, мм ...

10,0

15,0

20,0

25,0

32,0

40,0

50,0

30,0

100,0

150,0

Расчетный расход воды, т/ч …

0,2

0,4

0,6

1,2

1,6

3,6

12,0

30,0

75,0

120,0

Минимальный расход воды, т/ч …

0,05

0,2

0,4

0,6

1,0

1,2

3,0

8,0

15,0

25,0

4.3.5. При учете отпуска теплоты регистрирующими приборами суточный расход тепловой энергии по трубопроводу, на котором установлены приборы, определяется как сумма ее часовых расходов.

Расход тепловой энергии может определяться планиметрированием суточных диаграмм.

4.3.6. Определение параметров потока по результатам планиметрирования круговых диаграмм с помощью корневых или пропорциональных планиметров должно производиться в соответствии с указаниями РД 50-213-80.

Метод планиметрирования ленточных диаграмм с помощью полюсного планиметра приведен в справочном пособии "Измерение и учет расхода газа" (М.: Недра, 1979).

Поправка на изменение характеристики шкалы времени диаграмм самопишущих приборов при их планиметрировании определяется по методу, приведенному в приложении 5.

4.3.7. Расчет действительного (фактического) расхода теплоносителя должен производиться в соответствии с указаниями РД 50-213-80 и "Опечатками и уточнениями в РД 50-213-80. Методический материал по применению РД 50-213-80" (Казань, Татарский ЦНТИ, 1983).

4.3.8. Для каждого расходомера должен быть построен график или составлена таблица поправочных множителей.

4.3.9. Расход тепловой энергии на основании показаний теплосчетчика за отчетный период определяется как разность показаний счетчика в конце и начале отчетного периода.

4.3.10. При определении значений отпуска или потребления тепловой энергии по показаниям приборов следует учитывать необходимые поправочные коэффициенты в соответствии с паспортными данными и проверочными свидетельствами каждого отдельного прибора.

4.3.11. Контрольно-измерительные приборы, как отдельные, так и входящие в комплект, используемые для учета отпуска и потребления тепловой энергии, должны ежегодно проверяться в органах Государственного комитета СССР по стандартам и иметь клеймо или свидетельство государственной поверки за соответствующий год. Отсутствие клейма или свидетельства лишает законной силы учет тепловой энергии, производимый по этим приборам.

Поверку приборов учета производить в сроки, установленные территориальными органами Госстандарта.

5. Определение расхода тепловой энергии у потребителей при временном отсутствии приборов учета (потребители III группы учета)

5.1. Потребители, подключенные к водяной тепловой сети

5.1.1. В закрытой системе теплоснабжения отпуск тепловой энергии за отчетный период данному потребителю III группы учета определяется по формуле

(5.1)

где  - расчетный часовой расход сетевой воды, общий на отопление, вентиляцию и горячее водоснабжение у данного потребителя III группы учета, т/ч. Принимается на основании данных договора на отпуск тепловой энергии в горячей воде;

 - суммарный расчетный часовой расход сетевой воды, общий на отопление, вентиляцию и горячее водоснабжение у всех потребителей III группы учета, т/ч. Определяется как сумма расходов у каждого потребителя;

 - суммарный отпуск тепловой энергии потребителя III группы учета за отчетный период, общий на отопление, вентиляцию и горячее водоснабжение, ГДж (Гкал):

(5.2)

 - потери тепловой энергии с непроизводительной утечкой из местной системы теплопотребления данного потребителя III группы за отчетный период, ГДж (Гкал):

(5.3)

 - потери тепловой энергии с производительной утечкой, ГДж (Гкал). Принимаются по актам.

5.1.2. В открытой системе теплоснабжения отпуск тепловой энергии за отчетный период данному потребителю III группы учета, общий на отопление, вентиляцию и горячее водоснабжение, определяется по формуле

(5.4)

где  - расчетный часовой расход сетевой воды, общий на отопление, вентиляцию и горячее водоснабжение у данного потребителя III группы учета, т/ч. Принимается на основании данных "Договора на отпуск тепловой энергии в горячей воде";

 - суммарный расчетный часовой расход сетевой воды, общий на отопление, вентиляцию и горячее водоснабжение у всех потребителей III группы учета, т/ч;

 - суммарный отпуск тепловой энергии всем потребителям III группы учета за отчетный период, общий на отопление, вентиляцию и горячее водоснабжение, ГДж (Гкал):

(5.5)

5.2. Потребители, подключенные к паровой тепловой сети

5.2.1. Отпуск тепловой энергии паром для технологических цепей потребителям III группы определяется на основании часовой расчетной технологической нагрузки, установленной в договоре, и продолжительности работы системы за отчетный период.

5.2.2. Расчетная технологическая нагрузка определяется на основании максимальной часовой нагрузки, обусловленной в договоре.

5.2.3. Потребитель при необходимости может произвести уменьшение или увеличение обусловленной договором максимальной часовой нагрузки. Потребитель подает об этом заявление энергоснабжающей организации за месяц до намечаемого срока изменения максимальной нагрузки. Заявленное потребителем изменение принимается в расчет при условии, если оно будет длиться не менее 3 мес.

5.2.4. Отпуск тепловой энергии паром на отопление  и вентиляцию  потребителям III группы за отчетный период определяется по формулам, ГДж (Гкал):

(5.6)

 

(5.7)

где Qо.п.р; Qвпр - расчетные расходы тепловой энергии на отопление и вентиляцию, ГДж/ч (Гкал/ч);

n - продолжительность отчетного периода, ч;

tвн - расчетная температура внутри отапливаемого помещения;

;  - средняя за отчетный период и расчетная для проектирования отопления температуры наружного воздуха, °C.

5.2.5. Потребители пара III группы сверх расчетного значения теплопотребления оплачивают тепловую энергию, израсходованную на прогрев и продувку паропроводов (см. п. 3.2.2.6).

6. Учет тепловых потерь в тепловых сетях при транспорте тепловой энергии

6.1. Эксплуатационные нормативные тепловые потери

6.1.1. Эксплуатационные нормативные тепловые потери должны определяться на основании "Методических указаний по определению тепловых потерь в водяных и паровых тепловых сетях". МУ 34-70-080-84 (М.: СПО Союзтехэнерго, 1985).

В настоящем разделе приводятся способы пересчета эксплуатационных нормативных тепловых потерь на фактические, средние за отчетный период условия работы тепловых сетей.

6.1.2. Ответственность за тепловые потери определяется балансовой принадлежностью тепловых сетей.

6.2. Тепловые потери в водяных тепловых сетях

6.2.1. Тепловые потери в водяных тепловых сетях  за отчетный период определяются как сумма потерь тепловой энергии с непроизводительной утечкой воды из сети , с производительной  и потерь тепловой энергии через изоляцию в трубопроводах тепловой сети :

(6.1)

Значение производительной утечки  определяется по соответствующим актам.

6.2.2. В закрытой системе теплоснабжения потери тепловой энергии с непроизводительной утечкой воды определяются по формуле

(6.2)

где C - удельная теплоемкость, кДж/(кг∙°С) [ккал/(кг∙°С)];

 - количество подпиточной воды за отчетный период по показаниям приборов, установленных на подпиточных трубопроводах источника теплоты, т, за вычетом потерь воды с производительной утечкой (по актам);

,  - фактические температуры в подающем и обратном трубопроводах источника теплоты, средние за отчетный период, °C;

tх.в - средняя за отчетный период температура холодной воды в источнике водоснабжения, °C.

6.2.3. В открытой системе теплоснабжения потери тепловой энергии с непроизводительной утечкой воды определяются по формуле

(6.3)

где C - удельная теплоемкость воды, кДж/(кг∙°С) [ккал/(кг∙°С)];

, , tх.в - приведены в условных обозначениях к формуле (6.2);

Gут - непроизводительная утечка воды из сети и систем теплопотребления, т:

Gут = 2,5∙10-6Vγn т,

(6.4)

где V - объем тепловой сети и присоединенных к ней местных систем, м3;

γ - плотность воды при , кг/м3;

n - продолжительность работы в отчетном периоде, ч.

6.2.4. Потери тепловой энергии через изоляцию в трубопроводах водяной тепловой сети за отчетный период определяются по формуле

(6.5)

 

где  - средние за отчетный период потери тепловой энергии через изоляцию, суммарные для подающего и обратного трубопроводов подземной и для подающего и обратного трубопроводов надземной прокладок, определяемые путем пересчета среднегодовых нормативных потерь в соответствующих трубопроводах [, МВт (Гкал/ч)], установленных на основании данных тепловых испытаний сети, на фактические условия работы (средние за отчетный период температуры воды в подающем и обратном трубопроводах сети и окружающей среды), по формулам:

(6.6)

 

(6.7 а)

 

(6.7 б)

,  - среднегодовая температура воды в подающем и обратном трубопроводе, °C;

tср,  - средняя за отчетный период температура грунта и наружного воздуха, °C;

tсг,  - среднегодовая температура наружного воздуха и грунта, °C.

6.3. Тепловые потери в паровых тепловых сетях

6.3.1. Нормативные среднегодовые тепловые потери через изоляцию паропровода определяются на основании испытаний при эксплуатационном расходе пара с пересчетом на среднегодовую температуру окружающей среды:

(6.8)

где Dи - количество израсходованного пара за время испытаний при его эксплуатационном расходе, т;

iн, iк - среднее теплосодержание пара в начале и конце паропровода, определяется по параметрам пара во время испытаний, кДж/кг (ккал/кг);

tп - средняя температура пара во время испытаний, °C;

tсг, tи - температура окружающей среды среднегодовая и во время испытаний, °C;

Т - длительность испытаний, ч.

6.3.2. Нормативные среднегодовые потери тепловой энергии в конденсатопроводе  определяются испытаниями по перепаду температуры в начале и конце участка при расчетном расходе конденсата с пересчетом на среднегодовые температуры окружающей среды:

(6.9)

где  - температура конденсата в начале и конце конденсатопровода, °C.

6.3.3. Нормативные потери тепловой энергии за отчетный период определяются как сумма нормативных потерь в паропроводе и конденсатопроводе, полученных пересчетом их среднегодовых значений на фактические условия работы в данном отчетном периоде, по формуле

(6.10)

 

Заместитель начальника

Д.Я. Шамараков

Главный инженер

Ю.В. Копытов

Приложение 1

Справочные данные

1. Соотношения между единицами измерения в системе СИ и технической системе определяются по табл. П1.1.

Таблица П1.1

Величина

Размерность

Единица измерения

Коэффициент перевода применяемой единицы измерения в СИ (единицу)

Рекомендованные десятичные, кратные и дольные единицы от единиц СИ

Единицы, допускаемые к применению наравне с единицами СИ

Единицы измерения, обязательные для применения в энергетике

применяемая в настоящее время

в системе СИ

Длина, линейный размер

L

м

м

 

км; см; мм;

-

км; м; см; мм; мкм; нм

см

 

10-2 м

мкм; мм

 

 

Масса

М

т

 

1000 кг

г; мг; мкг

т

т; кг; г; мг; мкг

кг

кг

-

 

 

 

г

 

10-3 кг

 

 

 

мг

 

10-6 кг

 

 

 

мкг

 

10-9 кг

 

 

 

Время

Т

с

с

 

кс; мс; мкс; нс

мин.; ч; сут.

мкс; нс; с; мин.; ч; сут.

 

мин.

 

60 с

 

 

 

 

ч

 

3600 с

 

 

 

Температура

t

°С

К

°C + 273,15

мк; кК; мК; мкК

°C;

К; °C

t = Т - Т0, где

Т0 = 273,15

Давление

L-1 MT-2

кгс/см2

Па

9,807∙104 Па

ГПа; МПа; кПа; мПа;

-

ГПа; МПа; кПа; Па; мПа;

10,132 Па

мкм Па

мкПа

атм

9,807 Па

 

 

мм вод. ст.

1,333∙102 Па

 

 

мм рт. ст.

105 Па

 

 

бар

 

 

 

Расход массовый

MT-1

кг/ч

кг/с

2,78∙10-4 кг/с

-

-

кг/ч; т/ч; кг/с

т/ч

0,278 кг/с

Энергия, количество теплоты, энтальпия

L2 MT-2

кгс∙м

Дж

9,807 Дж

ТДж; ГДж;

-

ТДж; ГДж; МДж; кДж; МДж

4,187 Дж

МДж; кДж;

 

 

кал

4,187∙10-3 Дж

мДж

-

 

ккал

Удельное количество теплоты, теплота сгорания топлива

L2 T-2

ккал/кг

Дж/кг

4,187∙103 Дж

кДж/кг

 

МДж/кг; кДж/кг; Дж/кг

кал/г

4,187∙103 Дж

МДж/кг

 

Тепловой поток

MT-3 L2

кал/с

Вт

4,186 Вт

-

-

Вт

ккал/ч

(ватт)

1,163 Вт

 

 

 

Удельная теплоемкость

L2 Т-2

кал/(г∙°С)

Дж/(кг∙К)

4,187∙103 Дж/(кг∙К)

кДж/(кг∙К)

-

кДж/(кг∙К)

t-1

ккал/(кг∙°С)

 

4,187∙103 Дж/(кг∙К)

 

 

Дж/(кг∙К)

2. Объем наружных тепловых сетей, м3, определяется по формуле:

Vc = 2∑lfтр,

где l - длина участка труб данного диаметра, м;

fтр - площадь поперечного сечения трубы, принимается по табл. П1.2.

Таблица П1.2

Dн мм

Dвн мм

δ мм

fтр м2

Dн мм

Dвн мм

δ мм

fтр м2

48

41

3,5

0,001320

478

462

8,0

0,1676

57

50

3,5

0,001963

478

460

9,0

0,1663

76

69

3,5

0,003739

478

458

10,0

0,1647

89

81

4,0

0,005153

529

515

7,0

0,2083

108

100

4,0

0,007854

529

509

10,0

0,2035

133

125

4,0

0,012210

630

612

9,0

0,2942

159

150

4,5

0,01767

630

610

10,0

0,2942

219

203

8,0

0,03236

720

700

10,0

0,3849

273

257

8,0

0,05190

820

796

12,0

0,4976

273

255

9,0

0,05107

920

896

12,0

0,6305

325

309

8,0

0,07499

920

894

13,0

0,6277

325

307

9,0

0,07402

1020

994

13,0

0,7760

325

305

10,0

0,07306

1020

992

14,0

0,7729

377

357

10,0

0,1001

1220

1196

12,0

1,1240

426

412

7,0

0,1333

1420

1392

14,0

1,530

426

410

8,0

0,1320

1420

1394

13,0

1,525

3. Объем внутренней системы теплопотребления, м3, определяется по формуле

Vсист = QVуд,

где Q - расчетная тепловая нагрузка системы теплопотребления, ГДж/ч (Гкал/ч);

Vуд - удельный объем воды в системе на 1 ГДж/ч или на 1 Гкал/ч, принимается по табл. П1.3.

Таблица П1.3

Характеристика теплопотребляющей системы

Удельный объем воды Vуд, м3∙ч/ГДж (м3∙ч/Гкал) при перепаде температур воды в системе, °С

95 - 70

110 - 70

130 - 70

140 - 70

150 - 70

180 - 70

Система отопления, оборудованная радиаторами высотой 500 мм

4,66

4,20

3,61

3,49

3,18

2,65

(19,5)

(17,6)

(15,1)

(14,6)

(13,3)

(11,1)

Система отопления, оборудованная радиаторами высотой 1000 мм

7,40

6,74

5,78

5,54

5,16

4,35

(31,0)

(28,2)

(24,2)

(23,2)

(21,6)

(18,2)

Система отопления, оборудованная плинтусными конвекторами

1,34

1,19

1,03

0,98

0,88

0,76

(5,6)

(5,0)

(4,3)

(4,1)

(3,7)

(3,2)

Система отопления промышленных зданий, оборудования:

 

 

 

 

 

 

ребристыми трубами

3,39

2,99

2,58

2,48

2,2

1,91

(14,2)

(12,5)

(10,8)

(10,4)

(9,2)

(8,0)

регистрами из гладких труб

8,84

7,64

6,45

6,21

5,73

5,25

(37,0)

(32,0)

(27,0)

(26,0)

(24,0)

(22,0)

Отопительно-вентиляционная система, оборудованная калориферами

2,03

1,79

1,55

1,43

1,31

1,05

(8,5)

(7,5)

(6,5)

(6,0)

(5,5)

(4,4)

4. Условные обозначения

Подающий трубопровод

Обратный трубопровод

Подпиточный трубопровод

Трубопровод горячего водоснабжения

Трубопровод холодного водоснабжения

Пар

Конденсат

Линия связи

Водоподогреватель

Сетевой насос

Подпиточный насос

Регулятор давления

Регулятор температуры

Датчик расхода

Датчик температуры

Датчик давления

Теплосчетчик

Расходомер регистрирующий

Регистрирующее и самопишущее средство измерения температуры

Манометр регистрирующий

Редукционно-охладительная установка

Конденсатоотводчик

Водомер

Измеряемые величины:

F - Расход;

P - Давление;

Q - Количество тепловой энергии;

T - Температура.

Буквенные обозначения, отражающие функциональные признаки прибора:

E - Первичное преобразование (чувствительный элемент);

C - Регулирование, управление;

R - Регистрация;

q - Интегрирование, суммирование во времени.

Приложение 4

Пример расчета отпуска тепловой энергии потребителям II и III групп учета, подключенных к водяной тепловой сети

Таблица П4.1

Наименование исходных данных

Обозначение и величина

1.

Система теплоснабжения

Открытая

2.

Регулирование отпуска тепловой энергии

Качественное, по температурному графику 150 - 70 °C

3.

Расчетная температура наружного воздуха

tн.в = -26 °C

4.

Количество часов в отчетном периоде

п = 30∙24 = 720 ч

5.

Средняя температура наружного воздуха за отчетный период

6.

Средняя температура воды за отчетный период на источнике теплоты:

 

 

в подающем трубопроводе

 

в обратном трубопроводе

 

в источнике холодного водоснабжения

tх.в = 5 °C

7.

Расчетная среднегодовая температура воды в сети по утвержденному графику:

 

 

в подающем трубопроводе

 

в обратном трубопроводе

8.

Среднегодовая температура наружного воздуха

9.

Среднегодовая температура грунта на глубине заложения подземных трубопроводов сети

10.

Средняя температура грунта за отчетный период

11.

Нормативные среднегодовые потери тепловой энергии через изоляцию трубопроводами:

 

подземной прокладки

надземной прокладки

 

12.

Отпуск тепловой энергии от источника теплоты за отчетный период

Q = 1384641 ГДж (330700 Гкал)

13.

Количество воды в подающем трубопроводе за отчетный период, зафиксированное прибором на подающем трубопроводе источника теплоты

G1 = 4944760 т

14.

Объем тепловой сети и присоединенных к ней местных систем

V = 28333 м3

15.

Плотность воды при

γ = 960 кг/м3

 

 

16.

Суммарный отпуск тепловой энергии за отчетный период всем потребителям I группы учета, зафиксированный приборами на тепловых пунктах этих потребителей

17.

Суммарное количество воды по подающему трубопроводу за отчетный период у всех потребителей I группы учета, зафиксированное приборами на тепловых пунктах этих потребителей

18.

Суммарное общее количество сетевой воды на отопление, вентиляцию и горячее водоснабжение у всех потребителей II группы учета за отчетный период, измеренное приборами на тепловых пунктах этих потребителей

19.

Суммарный общий расчетный расход воды на отопление, вентиляцию и горячее водоснабжение, у всех потребителей III группы учета

20.

Количество воды, измеренное прибором, установленным на общем обратном трубопроводе теплового пункта данного потребителя II группы учета за отчетный период

21.

Количество воды, измеренное прибором, установленным на подающем трубопроводе горячего водоснабжения данного потребителя II группы учета за отчетный период

22.

Количество циркуляционной воды, измеренное прибором, установленным на циркуляционном трубопроводе данного потребителя II группы за отчетный период

23.

Расчетный общий часовой расход воды на отопление, вентиляцию и горячее водоснабжение данного потребителя III группы

24.

Объем местной системы теплопотребления данного потребителя II группы

VII = 38 м3

25.

Объем местной системы теплопотребления данного потребителя III группы

VIII = 12 м3

26.

Производительной утечки в тепловых сетях в местных системах теплопотребления за отчетный период не имелось

 

27.

Суммарные потери тепловой энергии с непроизводительной утечкой за отчетный период у всех потребителей I группы учета

28.

Суммарная непроизводительная утечка за отчетный период у всех потребителей I группы учета

Таблица П4.2

Расчет отпуска тепловой энергии потребителям II и III групп учета, подключенных к водяной тепловой сети

Искомая величина

Номер формулы

Расчет

1. Утечка воды из сети и систем теплопотребления

6.4

2. Потери тепловой энергии с утечкой

6.3

Потери тепловой энергии через изоляцию трубопроводов

 

 

6.6

6.7 а

6.7 б

6.5

4. Тепловые потери за отчетный период

6.1

5. Суммарный отпуск тепловой энергии потребителям II и III групп учета, общий на отопление, вентиляцию и горячее водоснабжение за отчетный период

3.16

6. Суммарное количество сетевой воды у всех потребителей II и III групп учета за отчетный период, общее на отопление, вентиляцию и горячее водоснабжение

3.15

7. Суммарный общий отпуск тепловой энергии на отопление, вентиляцию и горячее водоснабжение всем потребителям II группы учета

3.14

8. Общее количество сетевой воды на отопление, вентиляцию и горячее водоснабжение у данного потребителя II группы за отчетный период GIIоткр

3.13

GIIоткр = 11520 + 3460 - 1300 = 13680 т

9. Доля непроизводительной утечки за отчетный период данного потребителя II группы от общей утечки по системе теплоснабжения, соответствующая объему его системы теплопотребления

Пояснения к формулам 3.2 а и 3.2 б

10. Потери тепловой энергии с утечкой из местной системы теплопотребления данного потребителя II группы за отчетный период

3.11

11. Отпуск тепловой энергии данному потребителю II группы учета, общий на отопление, вентиляцию и горячее водоснабжение за отчетный период QIIоткр

3.12

12. Суммарный отпуск тепловой энергии всем потребителям III группы учета за отчетный период, общий на отопление, вентиляцию и горячее водоснабжение

5.5

13 Доля непроизводительной утечки данного потребителя III группы за отчетный период

Пояснения к формулам 3.2 а и 3.2 б

14. Потери тепловой энергии с утечкой из местной системы теплопотребления данного потребителя III группы за отчетный период

5.3

15 Отпуск тепловой энергии за отчетный период данному потребителю III группы учета, общий на отопление, вентиляцию и горячее водоснабжение QIIIоткр

5.5

Приложение 5

Метод определения значения поправки (поправочного множителя) на изменение характеристики шкалы времени диаграмм самопишущих приборов при их планиметрировании*

Погрешность шкалы времени ленточных диаграмм определяется следующими составляющими, которые действуют одновременно и постоянно:

- изменение скорости продвижения диаграмм самопишущих приборов из-за отклонения частоты переменного тока электропитания синхронных двигателей, осуществляющих привод механизмов продвижения диаграмм данных приборов, от номинального значения (50 Гц);

- погрешность скорости продвижения диаграмм самопишущих приборов, которая определяется классом механизмов привода диаграмм самопишущих приборов;

- изменение линейных размеров (в машинном направлении) ленточных диаграмм, имеющее место при изменении влажности воздуха.

Для определения значений всех составляющих указанной погрешности (тем самым и значения поправки) предложен метод, основанный на измерении линейных размеров линии записи и шкалы времени планиметрируемой диаграммы, с последующим использованием результатов измерений для расчета поправочного множителя, на который необходимо умножить результаты планиметрирования.

Порядок проведения операций по предлагаемому методу:

1. Измеряется длина записи контролируемого параметра на планиметрируемой диаграмме (A1).

2. Измеряется расстояние между отметками шкалы времени диаграммы, эквивалентное времени 12 ч (A2).

Средства измерений к пп. 1 и 2: штангенциркуль с ценой деления 0,1 мм или металлическая линейка по ГОСТ 427-75.

3. Рассчитывается поправочный множитель, учитывающий все составляющие погрешности шкалы времени планиметрируемой диаграммы (K), на которой необходимо умножить результат планиметрирования:

(П5.1)

где A1 - расчетное значение расстояния между отметками времени, которое проставляется на диаграмме при ее установке и снятии, мм;

ΔT - отрезок времени, ограниченный указанными отметками времени, ч;

A2 - расчетное значение расстояния между отметками шкалы диаграммы, ограничивающего время 12 ч; при скорости продвижения диаграммы V = 20 мм/ч данное расстояние равно 240 мм.

Пример определения поправочного множителя, отражающего все составляющие погрешности шкалы времени диаграмм самопишущего прибора

Исходные данные:

1. Отметки времени установки и снятия диаграммы:

- дата установки - 13.06.85 00 ч 00 мин;

- дата снятия - 14.06.85 00 ч 12 мин.

2. Скорость продвижения диаграммы V = 20 мм/ч.

Операции по определению поправочного множителя:

1. Измерение длины записи контролируемого параметра на планиметрируемой диаграмме (А1).

Средство измерения - любое, обеспечивающее измерение длины записи с достаточной точностью (для обычной суточной записи, равной 480 мм, достаточная точность достигается при применении металлической линейки по ГОСТ 427-75).

В данном примере А1 =479 мм.

2. Измерение расстояния между любыми отметками шкалы времени диаграммы (А2). В примере принято расстояние между отметками времени, ограничивающими период, равный 12 ч (данное значение выбрано для обеспечения возможности измерения с помощью двустороннего штангенциркуля с пределом 0 - 250 мм).

В данном примере А2 = 239,7 мм.

3. Расчет поправочного множителя (K) производится по формуле (П5.1):

_____________

* Метод предложен К.О. Дерен (Литовглавэнерго).

СОДЕРЖАНИЕ

1. Общие положения. 1

2. Учет отпуска тепловой энергии от источников теплоты.. 3

2.1. Организация учета. 3

2.2. Учет тепловой энергии, отпускаемой по водяным тепловым сетям.. 4

2.3. Учет тепловой энергии, отпускаемой по паровым тепловым сетям.. 7

3. Учет тепловой энергии, полученной потребителями тепловой сети. 10

3.1. Организация учета. 10

3.2. Учет тепловой энергии, отпускаемой промышленным предприятиям (потребители I группы учета) 13

3.3. Учет тепловой энергии, отпускаемой жилым, общественным и коммунально-бытовым потребителям (потребители I и II групп учета) 17

4. Нормирование точности и выбор средств измерений количества тепловой энергии в водяных системах теплоснабжения. 24

4.1. Нормирование точности измерения количества тепловой энергии. 24

4.2. Выбор средств измерения количества тепловой энергии. 26

4.3. Предел измерений и обработка показаний самопищущих приборов учета. 27

5. Определение расхода тепловой энергии у потребителей при временном отсутствии приборов учета (потребители III группы учета) 28

5.1. Потребители, подключенные к водяной тепловой сети. 28

5.2. Потребители, подключенные к паровой тепловой сети. 29

6. Учет тепловых потерь в тепловых сетях при транспорте тепловой энергии. 30

6.1. Эксплуатационные нормативные тепловые потери. 30

6.2. Тепловые потери в водяных тепловых сетях. 30

6.3. Тепловые потери в паровых тепловых сетях. 31

Приложение 1. Справочные данные. 32

Приложение 4. Пример расчета отпуска тепловой энергии потребителям II и III групп учета, подключенных к водяной тепловой сети. 35

Приложение 5. Метод определения значения поправки (поправочного множителя) на изменение характеристики шкалы времени диаграмм самопишущих приборов при их планиметрировании*. 38

 

 



© 2013 Ёшкин Кот :-)