Информационная система
«Ёшкин Кот»

XXXecatmenu

ГОСУДАРСТВЕННЫЙ ИСПЫТАТЕЛЬНЫЙ ЦЕНТР
ПО БАШЕННЫМ КРАНАМ
СКТБ БАШЕННОГО КРАНОСТРОЕНИЯ
(ГИЦ по башенным кранам СКТБ БК)

Утверждаю

Руководитель ГИЦ по башенным

кранам СКТБ

______________ А.И. Инденбаум

____________________ 1991 г.

ТИПОВАЯ МЕТОДИКА
ПРОВЕДЕНИЯ ИСПЫТАНИЙ НА БЕЗОТКАЗНОСТЬ
БАШЕННЫХ КРАНОВ (на примере КБМ-401С)

МИ 107-91 ГИЦ СКТБ БК

СОГЛАСОВАНО:

 

Главный специалист отдела

Главный метролог

 

испытаний и экспериментальных

ПО «Строймаш»

 

исследований башенных кранов СКТБ БК

__________ М.Ю. Коваленко

 

___________ Р.Г. Прикащиков

Москва 1991 г.

СОДЕРЖАНИЕ

ОБЩИЕ СВЕДЕНИЯ

Настоящая методика распространяется на башенный кран КБМ-401С и устанавливает требования, методы, порядок и последовательность испытаний крана на безотказность, направленных на подтверждение значения наработки на отказ, установленной в ГОСТ 13556-85, ГОСТ 27003-86 и нормативных документах на кран (ТУ, КУ).

Испытания выполняет испытательное подразделение завода при методической помощи ГИЦа СКТБ БК.

Для испытаний заводом-изготовителем выделяется башенный кран с комплектом инструмента и запасных частей, предусмотренной технической документацией на кран.

Испытания выполняются машинистом, имеющим стаж работы не менее 3-х лет на башенных кранах данного типа.

1. МЕСТО И УСЛОВИЯ ПРОВЕДЕНИЯ ИСПЫТАНИЙ

1.1. Испытательная площадка должна быть аттестована в соответствии с ГОСТ 24555-81.

1.2. Крановые пути испытательной площадки должны иметь прямолинейный и криволинейный участки пути. Прямолинейный участок имеет длину не менее 30 м. Криволинейный участок с углом поворота 90º должны иметь минимальный радиус закругления внутреннего рельса в соответствии с характеристикой крана с моментом менее 200 тм равный 7 м. За криволинейным участком должен следовать прямолинейный участок длиной не менее 10 м.

1.3. Крановые пути испытательной площадки должны быть уложены и заземлены в соответствии с эксплуатационной документацией и СНиП 3.08.01-85; на концах рельсов установлены безударные тупиковые упоры и линейки для концевых выключателей механизма передвижения крана.

1.4. Размеры и расположение площадки, где могут проводиться испытания, должны быть выбраны с учетом безопасности проведения испытаний. Площадка ограждается от доступа на нее посторонних лиц.

1.5. При проведении испытаний отклонение напряжения в сети от номинального не должно превышать плюс 10, минус 5 %. На зажимах аппаратов во всех режимах - плюс 10, минус 15 %.

1.6. Испытания разрешается проводить при скорости ветра не более 50 % от расчетной скорости ветра рабочего состояния, указанной в документации на кран (10 м/с на уровне анемометра, 8 м/с на высоте 10 м).

1.7. Техническое обслуживание испытываемого образца крана в период испытаний, а также замена деталей и узлов должны выполняться в соответствии с указаниями эксплуатационной документации на кран с учетом сезона испытаний, при этом должна производиться регистрация фактических затрат людских и материальных ресурсов.

2. МЕТОДЫ ИСПЫТАНИЙ

2.1. Метод испытаний - многократное выполнение краном условных циклов, имитирующих работу крана в реальных условиях эксплуатации с совмещением работы не менее 2-х механизмов.

2.2. В процессе испытаний крана выполняется наработка по 8 видам условных циклов (рис. 1 - 9). Каждый цикл включает перемещение груза с одного из исходных участков (точки расположения грузов - 1 - 8) на соответствующий участок (точки расположения грузов - 11 - 88) и обратно и состоит из подъема груза на высоту 20 м, поворота на 150º, передвижения крана на прямолинейном участке на 10 м, либо полного прохождения криволинейного участка, изменения вылета на 6 - 9 м, опускания грузов и установки его на участке в одну из соответствующих точек - 11 - 88) с ослаблением строп. После чего груз в обратной последовательности перемещается на исходный участок, опускается в одну из соответствующих точек - 1 - 8 до ослабления строп. При этом продолжительность цикла составляет примерно 7 - 8 минут.

2.3. Испытания выполняются с наклонной и горизонтальной стрелой, как на прямолинейной, так и на криволинейной части кранового пути. При этом 50 % времени работы выполняются с грузами, соответствующими грузоподъемности крана при наибольшем вылете (40 % времени с горизонтальной стрелой, 10 % - с наклонной стрелой) и 50 % - с грузами равными максимальной грузоподъемности (40 % времени с горизонтальной стрелой, 10 % - с наклонной стрелой).

2.4. Порядок и последовательность проведения испытаний с различными грузами и вылетом приведен в таблице 1.

2.5. В процессе испытаний выполняется контроль показателей безотказности работы крана в соответствии с таблицей 2. При этом показатели крана считаются подтвержденными, если: кран отработал 322 часа при отсутствии отказов, либо 509 часов - при одном отказе (если первый отказ произошел не ранее, чем через Т0/2 часов), либо 689 часов - при двух отказах (если время до первого отказа не менее Т0/2 часов, до второго - не менее Т0 часов и т.д.).

ЦИКЛ № 1

Крановый путь - прямолинейный

Стрела крана - горизонтальная

Груз - 6 т

Вылет - 25 м (исходная позиция)

Рис. 1

I - место расположения крана и стрелы в исходной позиции.
II - место расположения крана и стрелы в противоположной крайней позиции.
1 и 11 - точки расположения груза на участках и центры этих участков.

ЦИКЛ № 2

Крановый путь - криволинейный

Стрела крана - горизонтальная

Груз - 6 т

Вылет - 25 м (исходная позиция)

Рис. 2

III - место расположения крана и стрелы в исходной позиции.
IV - место расположения крана и стрелы в противоположной крайней позиции.
2 и 22 - точки расположения груза на участках и центры этих участков.

ЦИКЛ № 3

Крановый путь - прямолинейный

Стрела крана - горизонтальная

Груз - 10 т

Вылет - 16 м (исходная позиция)

Рис. 3

I - место расположения крана и стрелы в исходной позиции.
II - место расположения крана и стрелы в противоположной крайней позиции.
3 и 33 - точки расположения груза на участках и центры этих участков.

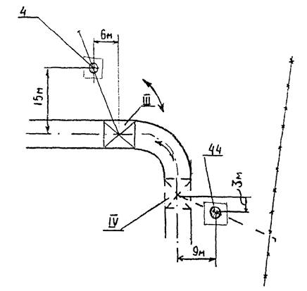
ЦИКЛ № 2

Крановый путь - криволинейный

Стрела крана - горизонтальная

Груз - 10 т

Вылет - 16 м (исходная позиция)

Рис. 4

III - место расположения крана и стрелы в исходной позиции.
IV - место расположения крана и стрелы в противоположной крайней позиции.
4 и 44 - точки расположения груза на участках и центры этих участков.

ЦИКЛ № 5

Крановый путь - прямолинейный

Стрела крана - наклонная

Груз - 6 т

Вылет - 22 м (исходная позиция)

Рис. 5

I - место расположения крана и стрелы в исходной позиции.
II - место расположения крана и стрелы в противоположной крайней позиции.
5 и 55 - точки расположения груза на участках и центры этих участков.

ЦИКЛ № 6

Крановый путь - криволинейный

Стрела крана - наклонная

Груз - 6 т

Вылет - 22 м (исходная позиция)

Рис. 6

III - место расположения крана и стрелы в исходной позиции.
IV - место расположения крана и стрелы в противоположной крайней позиции.
6 и 66 - точки расположения груза на участках и центры этих участков.

ЦИКЛ № 7

Крановый путь - прямолинейный

Стрела крана - наклонная

Груз - 10 т

Вылет - 15 м (исходная позиция)

Рис. 7

I - место расположения крана и стрелы в исходной позиции.
II - место расположения крана и стрелы в противоположной крайней позиции.
7 и 77 - точки расположения груза на участках и центры этих участков.

ЦИКЛ № 8

Крановый путь - криволинейный

Стрела крана - наклонная

Груз - 10 т

Вылет - 15 м (исходная позиция)

Рис. 8

III - место расположения крана и стрелы в исходной позиции.
IV - место расположения крана и стрелы в противоположной крайней позиции.
8 и 88 - точки расположения груза на участках и центры этих участков.

ПРОГРАММА ИСПЫТАНИЙ

Таблица 1

Условный

цикл

Положение стрелы

Участок кранового пути

Масса груза, т

Вылет исходной позиции, м

Продолжительность работы крана в сменах

1.

Горизонт.

Прямолинейный

6

25

9

2.

Криволинейный

1

3.

Прямолинейный

10

16

9

4.

Криволинейный

1

5.

Наклонная

Прямолинейный

6

22

2

6.

Криволинейный

0,5

7.

Прямолинейный

10

15

2

8.

Криволинейный

0,5

1.

Горизонт.

Прямолинейный

6

25

9

2.

Криволинейный

1

3.

Прямолинейный

10

16

9

4.

Криволинейный

1

5.

Наклонная

Прямолинейный

6

22

2

6.

Криволинейный

0,5

7.

Прямолинейный

10

15

2

8.

Криволинейный

0,5

Таблица 2

План контроля при испытаниях на безотказность Т0 = 200 ч., α = β = 0,2

Фактическое число отказов при испытаниях

Наработка крана tri до t-го отказа, ч

при положительном исходе, не менее

при отрицательном исходе, менее

0

322

-

1

509

Т0/2

2

689

200 + (tri - Т0/2)

3

862

300 + (tri - Т0/2)

4

907

400 + (tri - Т0/2)

5

-

513 + (tri - Т0/2)

Примечание:

1. Расчет составлен по ОСТ 22-27.1677-87

2. Критерии отказов - по п. 3.10 ОСТ 22-1677-87

3. Не учитываются при испытаниям отказы, причины которых устраняются при доводке крана (с помощью специальных стендов) или которые устраняются комплектом инструмента, поставляемого с краном.

4. Приняты следующие обозначения:

Т0 - средняя наработка на отказ, ч.,

α - риск изготовителя,

β - риск потребителя.

3. ПОРЯДОК ПРОВЕДЕНИЯ ИСПЫТАНИЙ

3.1. Подготовка к испытаниям.

Перед началом испытаний производится:

3.1.1. Разметка участков установки и взятия груза. Схема размещения участков приведена на рис. 9. Участки размечаются в виде ровных прямолинейных площадок размерами 2×3 м. Всего подготавливается 16 участков.

Для облегчения ориентации при опускании груза на соответствующие точки на участках рекомендуется промаркировать точки различным цветом, причем исходную и конечную точки в каждом виде цикла маркировать одним цветам. При этом близко расположенные друг от друга точки разных циклов (тт. 3, 4, 8, 7; 77 и 33; 11 и 55) следует маркировать контрастными цветами.

3.1.2. Подготовка выбора испытательных грузов, которые должны обеспечивать возможность испытания при двух вылетах: максимальном и соответствующем максимальной грузоподъемности (при горизонтальной и наклонной стреле).

Все грузы должны быть промаркированы, иметь подписи с указанием фактической массы и аттестованы в соответствии с ГОСТ 24555-81.

3.1.3. Установка двух счетчиков мото-часов на механизмы поворота и передвижения.

3.1.4. Подготовка журнала отказов в соответствии с Приложением.

3.2. Испытания крана.

3.2.1. Перед началом испытаний выполняются пробные перемещения груза в течение 10 циклов работы крана, в которых машинист отрабатывает типовые циклы перемещения груза и определяет время остановки после опускания груза, (из условия обеспечения ПВ двигателей не более 40 ... 50 % при средней продолжительности цикла, равной примерно 7 ... 8 мин). В дальнейшем время может уточняться по наблюдению за нагревом корпуса электродвигателей, температура которого не должна превышать 80 ºС.

3.2.2. В процессе испытаний выполняется осмотр состояния кранового пути, крана и его узлов. Особое внимание уделяется состоянию ребер ходовых колес, зубчатых зацеплений редукторов, механизмов и т.д. в соответствии с требованиями технической документации на кран.

3.2.3. В процессе испытаний ежедневно ведется журнал испытаний по форме, приведенной в приложении. В нем указываются ежедневно время начала и конца испытаний, наработка механизмов поворота и передвижения за смену по показаниям счетчика мото-часов, сведения о выявленных отказах, включая место их обнаружения, описание отказа, предполагаемая причина, способ и время устранения отказа, а также делается отметка о проведении техобслуживания, его объеме и времени.

3.3. При появлении отказа определяется время наработки крана tr к моменту появления отказа, которое вычисляется по формуле:

tr = Kφ(xtφ(x),

(1)

где Kφ(x) - относительный коэффициент работы механизмов поворота и передвижения крана, который определяется по формуле:

(2)

где: tц - время цикла, среднее, включающее и время, мин;

tφ(x) - время работы механизмов поворота (передвижения) в цикле, мин., определяется отдельно для каждого механизма.

При этом в формулу 1 подставляется значение наибольшего коэффициента: Kφ или Kx. Значение коэффициентов уточняется один раз в 10 смен.

По полученному значению времени наработки крана tr осуществляется контроль за испытаниями и в соответствии с таблицей 2 делается вывод о продолжении испытания.

Испытания считаются законченными при появлении количества отказов, превышающих заданные в таблице 2 или при подтверждении показателя наработки на отказ.

СХЕМА
расположения участков и размещение на них грузов (координат Ц.Т.)

Рис. 9

I и III - Место расположений крана в исходной позиции.
II и IV - Место расположения крана в противоположной крайней позиции.

3.4. После окончания испытаний производится осмотр крана, его узлов и механизмов для определения его технического состояния.

4. ОФОРМЛЕНИЕ РЕЗУЛЬТАТОВ ИСПЫТАНИЙ

После окончания испытаний оформляется протокол испытаний, в котором приводятся обобщенные данные по испытаниям, материалы по отказам, имевших место при испытаниях, причины их появления, меры принятые для их устранения. Кроме того даются данные по контролю наработки на отказ и, при необходимости, данные замеров величин износов, замеров элементов узлов крана. На основании полученных результатов испытаний делается вывод о работоспособности механизмов и узлов крана при циклическом нагружении за период, соответствующий наработке крана на отказ.

К протоколу испытаний прикладывается оформленный Журнал испытаний.


Приложение

ЖУРНАЛ испытаний башенного крана на безотказность

Дата проведения испытаний

Время начала испытаний

Время окончания испытаний

Отметка о проведении техобслуживания, его объем и время

Сведения об отказах при испытаниях

Фамилия и подпись проводившего испытания и его замечания

Наработка механизма

Время появления отказа

Наименование узла, детали в которой произошел отказ

Описание отказа

Предполагаемая причина отказа

Время и способ устранения отказа

поворот

передвижение

начало

конец

начало

конец


 



© 2013 Ёшкин Кот :-)