Информационная система
«Ёшкин Кот»

XXXecatmenu

ФЕДЕРАЛЬНОЕ АГЕНТСТВО ПО ТЕХНИЧЕСКОМУ РЕГУЛИРОВАНИЮ И МЕТРОЛОГИИ ФЕДЕРАЛЬНОЕ ГОСУДАРСТВЕННОЕ УНИТАРНОЕ ПРЕДПРИЯТИЕ «ВСЕРОССИЙСКИЙ НАУЧНО-ИССЛЕДОВАТЕЛЬСКИЙ ИНСТИТУТ РАСХОДОМЕТРИИ»

(ФГУП «ВНИИР»)

ГОСУДАРСТВЕННЫЙ НАУЧНЫЙ МЕТРОЛОГИЧЕСКИЙ ЦЕНТР

УТВЕРЖДАЮ

зам. директора ФГУП ВНИИР

_____________ В.А. Фафурин

«13» 04 2009 г.

РЕКОМЕНДАЦИЯ

Государственная система обеспечения единства измерений

ТЕПЛОИЗОЛЯЦИЯ ИЗМЕРИТЕЛЬНЫХ ТРУБОПРОВОДОВ
ПРИ ИЗМЕРЕНИИ РАСХОДА И КОЛИЧЕСТВА

МИ 3214-2009

ПРЕДИСЛОВИЕ

1. РАЗРАБОТАНА Обществом с ограниченной ответственностью «Отраслевой метрологический центр Газметрология» (ООО «ОМЦ Газметрология»)

ИСПОЛНИТЕЛИ: Личко А.А. к.т.н. (рук. темы)

РАЗРАБОТАНА Федеральным государственным унитарным предприятием Всероссийским научно-исследовательским институтом расходометрии (ФГУП ВНИИР)

ИСПОЛНИТЕЛИ: Фафурин В.А. д.т.н., Ганиев Р.И., Николаев Н.А., Тырышкин Р.А., Яценко И.А.

2. УТВЕРЖДЕНА ФГУП «ВНИИР» 13.04.2009 г.

3. ЗАРЕГИСТРИРОВАНА ФГУП «ВНИИМС» 24.07.2009 г.

4. ВВЕДЕНА ВПЕРВЫЕ

Введение

При измерении расхода и количества жидкостей и газов необходима информация о значении температуры среды в корпусе первичного преобразователя расхода. При размещении преобразователя температуры вне корпуса преобразователя расхода, на некотором расстоянии от него, среда за время прохождения расстояния от корпуса до места установки преобразователя температуры охлаждается или нагревается, в зависимости от того, теплее или холоднее он окружающего воздуха. В результате температура среды в месте расположения преобразователя температуры несколько отличается от температуры в месте расположения первичного преобразователя расхода.

Другая составляющая погрешности измерений температуры обусловлена наличием теплообмена корпуса термометра и защитной гильзы со стенкой измерительного трубопровода за счет теплопроводности и излучения.

Следствием появления дополнительной погрешности измерений температуры является дополнительная погрешность определения расхода и количества.

Данные рекомендации дают возможность получить ответ на вопрос о необходимости теплоизолирования трубопровода и рассчитать толщину изоляции, обеспечивающую нормированную погрешность измерений расхода, с учетом разности температур среды и окружающего воздуха, скорости потока измеряемой среды, скорости ветра, наличия влаги на наружной поверхности трубопровода (вследствие атмосферных осадков или образования конденсата).

Методика расчета, представленная в данной рекомендации, может быть использована для узлов измерений расхода и количества с помощью стандартных сужающих устройств и осредняющих напорных трубок, а также турбинных, ультразвуковых, вихревых, камерных (ротационных, мембранных и др.) преобразователей расхода. В случае измерений расхода и количества с помощью стандартной диафрагмы, при размещении преобразователя температуры после нее, методика учитывает положения рекомендации МИ 3130-2008 [1].

Одна и та же теплоизоляционная конструкция должна ограничивать значение дополнительной погрешности в заданных пределах в различных условиях эксплуатации узла измерений. Поэтому расчет толщины изоляции и дополнительной погрешности предусмотрен для самых неблагоприятных условий измерений расхода и количества.

1. Область применения

Настоящая рекомендация устанавливает методику расчета дополнительной погрешности измерений расхода и количества жидкостей и газов, обусловленной теплообменом измеряемой среды с окружающим воздухом, и, при необходимости, толщины теплоизоляции участков наибольшего влияния теплообмена.

2. Нормативные ссылки

ГОСТ 2939-63 Газы. Условия для определения объема

ГОСТ 30319.1-96 Газ природный. Методы расчета физических свойств. Определение физических свойств природного газа, его компонентов и продуктов переработки

ГОСТ 30319.2-96 Газ природный. Методы расчета физических свойств. Определение коэффициента сжимаемости

ГОСТ 30319.3-96 Газ природный. Методы расчета физических свойств. Определение физических свойств по уравнению состояния

ГОСТ 21.405-93 Система проектной документации для строительства. Правила выполнения рабочей документации тепловой изоляции оборудования и трубопроводов.

Примечание - При пользовании настоящими рекомендациями целесообразно проверить действие ссылочных стандартов по соответствующим указателям, составленным на 1 января текущего года, и информационным указателям, опубликованным в текущем году. Если ссылочный документ заменен (изменен), то при пользовании настоящими рекомендациями следует руководствоваться замененным (измененным) стандартом. Если ссылочный документ отменен без замены, то положение, в котором дана ссылка на него, применяется в части, не затрагивающей эту ссылку.

3. Термины, определения, обозначения и сокращения

3.1. Термины и определения

В настоящих рекомендациях применены следующие термины с соответствующими определениями:

3.1.1. измерительный трубопровод: Участок трубопровода, геометрические характеристики которого, а также размещение на нем средств измерений и вспомогательного оборудования регламентировано нормативными документами, устанавливающими требования к выполнению измерений расхода и количества.

3.1.2. термоприемник: Термометр или первичный преобразователь температуры с защитной гильзой (при ее наличии).

3.1.3. участок наибольшего влияния теплообмена: Участок измерительного трубопровода, где теплообмен потока среды в трубопроводе с окружающим воздухом оказывает наибольшее влияние на погрешность измерений расхода и количества.

Примечание - Участок наибольшего влияния теплообмена включает в себя преобразователи расхода и температуры, участок между ними, а также участки длиной, равной одному условному проходу измерительного трубопровода, прилегающие к преобразователям расхода и температуры.

3.1.4. наружная поверхность: Наружная поверхность трубопровода или слоя теплоизоляции, которая находится в непосредственном контакте с воздухом.

3.1.5. сухая наружная поверхность: Наружная поверхность при отсутствии атмосферных осадков или конденсата паров воды окружающего воздуха.

3.1.6. влажная наружная поверхность: Наружная поверхность при наличии атмосферных осадков или конденсата паров воды окружающего воздуха.

3.2. Условные обозначения

Основные условные обозначения, применяемые в настоящей рекомендации, приведены в таблице 1.

Таблица 1

Условное обозначение

Наименование величины

Единица физической величины

А

Коэффициент дополнительного теплообмена через опоры трубопровода

1

ср

Изобарная удельная теплоемкость

Дж/(кгК)

d

Диаметр отверстия диафрагмы

м

dT

Наружный диаметр термоприемника

м

D

Внутренний диаметр измерительного трубопровода

м

DИТ

Наружный диаметр измерительного трубопровода

м

DN

Условный проход измерительного трубопровода

м

g

Ускорение свободного падения

м/с2

Gr

Число Грасгофа

1

K

Коэффициент теплопередачи

Вт/(мК)

KСЖ

Коэффициент сжимаемости газа

1

LT

Глубина погружения термоприемника в измерительный трубопровод

м

LTЧ

Длина чувствительного элемента термометра

м

p

Абсолютное давление

Па

Pr

Число Прандтля

1

q

Объемный расход при рабочих условиях

м3

Re

Число Рейнольдса

1

Shu

Число Шухова

1

t

Температура

°С

T

Абсолютная (термодинамическая) температура: Т= 273,15 + t

К

и

Скорость среды

м/с

X

Координата вдоль трубопровода, отсчитываемая от места размещения преобразователя расхода в направлении потока среды

м

Средняя линейная плотность теплового потока

Вт/м

W

Тепловой поток

Вт

α

Коэффициент теплоотдачи

Вт/(м2К)

β

Относительный диаметр отверстия диафрагмы

1

βV

Температурный коэффициент объемного расширения

1/К

δ

Относительная погрешность результата измерений

%

Δp

Перепад давления на диафрагме

Па

εН

Коэффициент теплового излучения наружной поверхности

1

εТ

Коэффициент теплового излучения наружной поверхности термоприемника

1

η

Коэффициент интенсификации теплообмена

1

λ

Теплопроводность

Вт/(мК)

μ

Динамическая вязкость среды

Пас

ρ

Плотность среды

кг/м3

σ

Толщина теплоизоляции

м

σТ

Толщина стенки термоприемника

м

φ

Относительная влажность воздуха

1

χ

Показатель адиабаты газа

1

Примечание - Остальные обозначения указаны непосредственно в тексте.

Знак « ¯ » (знак черточка над обозначением величины) означает среднее значение величины, либо значение величины, рассчитанное при средних значениях аргументов.

Индексы, входящие в условные обозначения величин, относят к обозначениям параметров:

в - окружающего воздуха;

вн - внутренней поверхности измерительного трубопровода;

г - измеряемой среды (газа);

гп - газа в месте размещения первичного преобразователя расхода;

гт - газа в месте размещения термоприемника;

и - излучения;

из - изоляции;

ит - стенки измерительного трубопровода;

н - наружной поверхности трубопровода;

р - температуры, регистрируемой преобразователем температуры;

с - при стандартных условиях по ГОСТ 2939;

т - термоприемника.

Остальные индексы поясняются непосредственно в тексте.

3.3. Сокращения

В настоящих рекомендациях использованы следующие сокращения:

ИТ - измерительный трубопровод;

НД - нормативная документация;

ПР - преобразователь расхода (расходомер и/или счетчик);

СУ - сужающее устройство;

УНВ - участок наибольшего влияния теплообмена.

4. Общие положения

4.1. Этапы определения необходимости теплоизоляции и достаточности ее толщины

Процедура определения необходимости теплоизоляции и достаточности ее толщины включает следующие этапы:

- установление предела допускаемой относительной дополнительной погрешности измерений температуры, обусловленной разностью температуры среды и окружающего воздуха;

- расчет погрешности, обусловленной теплообменом стенки ИТ;

- расчет погрешности, обусловленной теплообменом термоприемника;

- расчет результирующих абсолютной и относительной дополнительных погрешностей, обусловленных разностью температуры среды и окружающего воздуха;

- установление необходимости теплоизоляции;

- определение толщины теплоизоляции (в случае ее необходимости).

4.2. Условие, определяющее необходимость теплоизоляции и достаточность ее толщины

4.2.1. Условие, определяющее возможность использования ИТ без теплоизоляции, а также достаточность толщины рассматриваемой теплоизоляции, которым руководствуются при проведении расчета, имеет следующий вид:

(4.1)

где δТ - результирующая относительная дополнительная погрешность измерений температуры, обусловленная разностью температуры среды и окружающего воздуха;

 - предел допускаемой относительной дополнительной погрешности измерений температуры, обусловленной разностью температуры газа и окружающего воздуха.

4.2.2. Значение  при измерениях расхода и количества газа с помощью СУ и осредняющих напорных трубок на коммерческих узлах измерений принимают равным 0,3 %.

При измерениях расхода и количества газа с помощью СУ и осредняющих напорных трубок на технологических узлах измерений значение  вычисляют по формуле:

(4.2)

при измерениях с помощью турбинных, ультразвуковых, вихревых и ротационных ПР - по формуле:

(4.3)

где  - предел допускаемой относительной погрешности измерений расхода;

 - относительная погрешность измерений расхода без учета составляющей погрешности, обусловленной разницей температуры среды и окружающего воздуха.

4.2.3. Результирующая относительная дополнительная погрешность измерений температуры, обусловленная разностью температуры среды и окружающего воздуха, определяется по формуле:

(4.4)

где Тгп - температура среды в месте расположения первичного преобразователя расхода или, в случае применения СУ, - температура среды непосредственно перед ним, К;

ΔТ - результирующая абсолютная дополнительная погрешность измерений температуры среды, обусловленная разностью температуры среды и окружающего воздуха, К.

При расчете значения абсолютной дополнительной погрешности измерений температуры среды ΔТ учитывают следующие составляющие:

- обусловленную теплообменом термоприемника, ΔТТ (см. 5.1);

- обусловленную теплообменом стенки ИТ, ΔТх (см. 6.1).

4.3. Указания по определению физических параметров

Физические свойства среды могут быть определены путем прямых измерений или косвенным методом на основе данных, аттестованных в качестве стандартных справочных данных.

Перечень нормативной документации, рекомендуемой для выполнения расчета используемых физических величин для природного газа, приведен в таблице 2.

Таблица 2

Наименование величины

Нормативный документ

Плотность газа (ρГ)

ГОСТ 30319.2

Вязкость газа (μГ)

ГОСТ 30319.1 или ГОСТ 30319.3

Теплоемкость газа ()

ГОСТ 30319.3

Теплопроводность газа (λГ)

ГСССД 195-2001 [2]

Показатель адиабаты газа (χ)

ГОСТ 30319.1 или ГОСТ 30319.3

5. Расчет абсолютной погрешности измерений температуры, обусловленной теплообменом термоприемника

5.1. Составляющую абсолютной погрешности измерений температуры среды, обусловленную теплообменом термоприемника, представляющую разность температуры среды (Тр), регистрируемой преобразователем температуры, и температуры среды (Тгп) в месте расположения термоприемника

(5.1)

рассчитывают по формуле*

__________

*При разработке раздела использованы работы [3], [4].

(5.2)

где  - абсолютная погрешность измерений температуры, обусловленная теплопроводностью термоприемника;

, - абсолютная погрешность измерений температуры среды, обусловленная теплообменом между термоприемником и стенкой ИТ за счет излучения.

5.2. Значение  вычисляют по формуле

(5.3)

где Lт - глубина погружения термоприемника в ИТ;

Lтч- длина чувствительного элемента термометра (если чувствительный элемент сосредоточен на конце термометра, Lтч = 0), м.

Коэффициент b определяют по формуле

(5.4)

где αт - коэффициент теплоотдачи термоприемника, Вт/(м2К);

λт - теплопроводность материала термоприемника, Вт/(мК).

Коэффициент αТ определяют по одной из следующих формул:

 

при 103 < Reт ≤ 2105

(5.6)

 

при 2105 < Reт ≤ 2106

(5.7)

где  - число Рейнольдса, характеризующее обтекание термоприемника потоком среды;

ηψ - поправочный коэффициент, учитывающий влияние наклона термоприемника при его установке под углом к потоку отличным от 90°.

Значения величин ρг, μг, , λг входящих в формулы (5.5) - (5.7) определяют при рабочих условиях в соответствии с требованиями НД, приведенными в таблице 2 [см. (4.3)]. Коэффициент ηψ определяют по формуле [5]

(5.8)

где ψ - угол наклона термоприемника относительно горизонтали (ψ = 90° - соответствует вертикальному расположению термоприемника), ° (градус).

5.3. Значение ΔТти определяют по формуле

(5.9)

где С = 5,6710-8 Вт/(м2К4) - постоянная Стефана - Больцмана;

εт - коэффициент теплового излучения наружной поверхности термоприемника (см. приложение А).

6. Расчет погрешности, обусловленной теплообменом стенки измерительного трубопровода

6.1. Методы расчета погрешности, обусловленной теплообменом стенки измерительного трубопровода

6.1.1. Составляющую абсолютной погрешности измерений температуры среды, обусловленную теплообменом стенки ИТ, представляющую разность температуры среды (ТТГ), в месте расположения термоприемника и температуры среды в месте расположения ПР (ТГП)

ΔТх = Тгт - Тгп,

(6.1)

рассчитывают в зависимости от места установки термоприемника относительно ПР и типа ПР.

6.1.2. При использовании турбинных, ультразвуковых, вихревых, камерных ПР, и осредняющих напорных трубок, независимо от расположения термоприемника, а также при использовании СУ в случае расположения термоприемника перед СУ ΔТх определяют по формуле [6]:

где Тгт - температура среды в месте расположения термоприемника, К;

Тв - температура окружающего воздуха, К;

 - число Шухова;

хт - координата положения термоприемника относительно ПР, м;

K - коэффициент теплопередачи, Вт/(мК).

6.1.3. При использовании СУ и установки термоприемника после него ΔТх определяют в соответствии с алгоритмом, изложенным в разделе 9. Расчетная область условно поделена на три участка: с возвратными течениями до диафрагмы, после диафрагмы, и с развитым турбулентным течением. На участках с возвратными течениями до и после диафрагмы методика учитывает положения рекомендации МИ 3130-2008 [1].

На участке с развитым турбулентным течением расчет ΔТх выполняют по формуле (6.2).

6.2. Формулы для расчета коэффициента теплопередачи

6.2.1. Коэффициент теплопередачи определяют по формуле

(6.3)

где А - коэффициент дополнительного теплообмена, зависящий от вида крепления ИТ;

αвн* - коэффициент теплоотдачи, определяющий теплообмен между внутренней поверхностью ИТ и измеряемой средой с учетом интенсификации теплообмена, вызванной искажением кинематической структуры потока в ПР, Вт/(м2К);

αн - коэффициент теплоотдачи, определяющий теплообмен между наружной поверхностью ИТ и воздухом, Вт/(м2К);

λит - теплопроводность материала стенки ИТ, Вт/(мК);

λиз - теплопроводность материала теплоизоляции, Вт/(мК).

Значения λИТ углеродистой и нержавеющей сталей принимают равными, соответственно, 47 Вт/(мК) и 17 Вт/(мК).

6.2.2. Значения коэффициента дополнительного теплообмена А в зависимости от вида крепления ИТ на УНВ приведены в таблице 3.

Таблица 3

Коэффициент дополнительного теплообмена СП 41-103-2000 [7] в зависимости от вида крепления ИТ на УНВ

Вид крепления УНВ

Коэффициент^

Подвесные опоры

1,05

Опоры

D < 150 мм

1,20

D ≥ 150 мм

1,15

Отсутствие подвесок или опор на УНВ

1,00

6.2.3. Величину коэффициента теплоотдачи  определяют по формуле

 ηαвн,

(6.4)

где η - коэффициент интенсификации теплообмена, вызванной искажением кинематической структуры потока в ПР;

αвн - коэффициент теплоотдачи, определяющий теплообмен между внутренней поверхностью ИТ и измеряемой средой при его равномерном течении, Вт/(м2К).

Значения коэффициента η при использовании наиболее распространенных типов ПР приведены в таблице 4.

Таблица 4

Преобразователь расхода

Коэффициент η при установке термоприемника

перед ПР

после ПР

с диафрагмой

1

*

с соплами ИСА 1932

1,5

с эллипсными соплами

с соплами Вентури

врезной турбинный

врезной вихревой

ротационный

с трубами Вентури

1,2

с осредняющей трубкой

1

ультразвуковой

_____________

*Интенсификация теплообмена после диафрагмы учитывается методом, изложенным в разделе 9.

6.2.4. Коэффициент αвн рассчитывают по формуле

αвн = 0,021Re0,8Pr0,43λт/D,

(6.5)

где  число Рейнольдса;

 число Прандтля;

 скорость потока среды в ИТ, м/с.

6.2.5. Коэффициент теплоотдачи αн в случае сухой наружной поверхности определяют по формуле

где (αнк - коэффициент теплоотдачи, определяющий теплообмен между наружной поверхностью ИТ и воздухом, обусловленной конвекцией и теплопроводностью, Вт/(м2 К);

αни - коэффициент теплоотдачи, определяющий теплообмен между наружной поверхностью ИТ и воздухом, обусловленной излучением, Вт/(м2К).

Формулы для расчета αнк, и αни приведены в 6.2.6 и 6.2.9.

В случае влажной наружной поверхности трубопровода коэффициент теплоотдачи αн определяют по формуле МИ 2451-98 [8]

(6.7)

где с - коэффициент, зависящий от ориентации ИТ;

L - характерный размер ИТ, м;

rк - плотность воды, кг/м3;

λк - коэффициент теплопроводности воды, Вт/(мК);

μк, - динамическая вязкость воды, Пас;

tн - температура наружной поверхности ИТ, °С;

t*н - температура конденсата, °С;

рнп - давление насыщенных водяных паров при температуре tв, МПа;

ра - атмосферное давление, МПа.

Коэффициент с для горизонтального трубопровода принимают равным 0,72, для вертикального -1,15.

Для горизонтального трубопровода L = DИТ = 2s, для вертикального - L = h, где h - расстояние от нижнего края вертикального участка трубопровода до ПР, м.

При расчетах по формуле (6.7) допускается принимать:

rк = 1000 кг/м3;

λк = 0,58 Вт/(мК);

μк = 0,001 Пас.

Давление рнп определяется в соответствии с МИ 2451-98 [8].

Температура конденсата и условие его наличия на наружной поверхности ИТ приводится в 6.2.11.

6.2.6. Коэффициент теплоотдачи αнк вычисляют по следующим формулам:

- при естественной конвекции (в помещении) и горизонтальном положении ИТ при 103 < GrPrв < 109

(6.8)

при GrPrв > 109

(6.9)

- при естественной конвекции (в помещении) и вертикальном положении ИТ при 103 < GrPrв < 109

(6.10)

при GrPrB ≥ 109

(6.11)

- при наличии ветра (на открытом воздухе) и любом положении ИТ при 5 < Reн ≤ 103 [9]

(6.12)

при 103 < Reн ≤ 2105

(6.13)

при 2105 < ReH ≤ 2105

(6.14)

где Dн = DИТ + 2σ - диаметр наружной поверхности трубопровода;

βV = 1/Tв;

rв = 353,085/Тв*;

μв, = (32,694 + 0,5065 Tв)10-7;

;

λв = (1,667 + 0,0816 Тв)10-3;

ив - расчетная скорость ветра (определяют согласно 6.2.8), м/с.

___________

*Формулы для ρв, μв,  и λв получены аппроксимацией данных справочника [10].

6.2.7. Расчетную температуру воздуха tв определяют по СНиП 23-01-99 [11]: для холодного периода года - по столбцу 2 таблицы 1, для теплого - по столбцу 4 таблицы 2. Для пунктов, не указанных в СНиП 23-01-99 [11], tв либо принимается на основании данных метеорологических станций, либо берется для теплого периода на 2 °С выше, а для холодного периода - на 2 °С ниже, чем в ближайшем из указанных в СНиП 23-01-99 [11] населенных пунктов.

6.2.8. Скорость ив и для холодного и для теплого периодов года берется по данным, приведенным в столбце 19 таблицы 1 СНиП 23-01-99 [11]. Для пунктов, не указанных в СНиП 23-01-99 [11], скорость ив либо принимается на основании данных метеорологических станций, либо берется на 1 м/с больше, чем в ближайшем из указанных в СНиП 23-01-99 [11] населенном пункте.

6.2.9. Коэффициент теплоотдачи излучением αни вычисляют по следующим формулам: при размещении ИТ на открытом воздухе

(6.15)

при размещении ИТ в помещении

(6.16)

где εн - коэффициент теплового излучения наружной поверхности ИТ на УНВ (см. приложение А);

Тн - температура наружной поверхности ИТ, К;

Тмп = 220 К - среднеэффективная температура мирового пространства [12].

6.2.10. Необходимую для проведения расчетов связь температур tвн и tн с другими параметрами дают следующие выражения [9]:

(6.17)

 

(6.18)

6.2.11. Условие наличия конденсата на поверхности ИТ имеет следующий вид

0 ≤ tнt*н

(6.19)

где tн - температура наружной поверхности ИТ [см. формулу (6.18)];

tн* - точка росы (температура наружной поверхности ИТ, при охлаждении ниже которой на поверхности образуется конденсат).

Температуру определяют по формуле [13]

(6.20)

где a1 = 237,7 °C;

a2 = 17,27;

tв - температура окружающего воздуха, °C;

φ - относительная влажность окружающего воздуха в долях (0 < φ < 1,0).

Формула (6.20) может быть использована при выполнении следующих условий:

0 °С < tв < 60 °С;

0,01 < φ < 1,0;

0 °С < t*н < 50 °С.

При наличии влаги на наружной поверхности ИТ в случае, когда tв ≤ 0 полагают, что t*н = 0.

Относительную влажность воздуха при размещении ИТ в помещении принимают равной 0,7. При размещении ИТ вне помещений относительную влажность воздуха определяют по СНиП 23-01-99 [11].

6.2.12. Номера формул, по которым проводят вычисления коэффициентов теплоотдачи αн, приведены в таблице 5 в зависимости от места размещения ИТ и условий эксплуатации узла измерений.

Таблица 5

Номера формул для расчета αн, αнк, αни при различных условиях эксплуатации

Параметр

Условие эксплуатации или номер формулы для расчета параметра при размещении ИТ:

на открытом воздухе

под навесом

в помещении

Температура

tв

≥ 0

< 0

*

*

tн

*

≥ 0

< 0

< 0

0 ≤ tн t*н

< 0

> t*н

Коэффициент теплоотдачи

αн

(6.12) - (6.14)

(6.12) - (6.14)

(6.8) - (6.11)

(6.8) - (6.11)

αнк

**

(6.15)

(6.16)

**

(6.16)

αни

(6.7)

(6.6)

(6.7)

(6.6)

___________

* - параметр может принимать любое возможное значение (не требует проверки);

** - параметр не рассчитывается.

7. Расчет результирующей дополнительной погрешности и определение толщины теплоизоляции

7.1. Расчет толщины теплоизоляции и дополнительной погрешности предусмотрен для самых неблагоприятных условий (с точки зрения возрастания дополнительной погрешности) эксплуатации узла измерений. Все расчеты проводят при максимальной разнице температур воздуха и среды |Тв - Тг| и минимальных значениях расхода.

Значения Тв определяется согласно разделу 6.2.7, Тг, - согласно проектной документации узла измерений.

7.2. Результирующую дополнительную погрешность  ΔТ определяют следующим образом:

- при размещении термоприемника перед ПР погрешность ΔТ принимают равной большей из погрешностей ΔТх и ΔТТ,:

- при размещении термоприемника после ПР результирующую дополнительную погрешность ΔТ определяют по формуле:

ΔТ = ΔТх + ΔТт.

(7.1)

Взаимосвязь температур и погрешностей, используемых в рекомендациях, иллюстрируется на рисунке 1.

Тв - температура окружающего воздуха; Тр - температура, регистрируемая преобразователем температуры; Тгп - температура среды в месте размещения первичного преобразователя расхода; Тт - температура среды в месте размещения термоприемника; ΔТт - погрешность, обусловленная теплообменом термоприемника; ΔТх - погрешность, обусловленная теплообменом стенки ИТ

Рисунок 1. Изменение температуры среды вдоль трубопровода при Тв < Тгт, хт < 0

7.3. Проводят расчеты результирующей относительной дополнительной погрешности измерений температуры, обусловленной разностью температуры среды и окружающего воздуха δТ в отсутствии теплоизоляции.

Проверяют выполнение условия (4.1). Если условие выполняется, то изоляция УНВ не требуется.

В противном случае проверяют выполнение условия

(7.2)

где  - предел допускаемой относительной дополнительной погрешности измерений температуры, обусловленной разностью температуры среды и окружающего воздуха [см. формулы (4.2) и (4.3)], %.

Если условие (7.2) выполняется, то теплоизолируют только термоприемник. Теплоизоляция термоприемника производится согласно разделу 8.

Если условие (7.2) не выполняется, то необходима теплоизоляция УНВ, включая термоприемник. Необходимую минимальную толщину теплоизоляции следует определять согласно 7.4. УНВ теплоизолируют в соответствии с требованиями раздела 8.

7.4. Расчет толщины слоя теплоизоляции рекомендуется проводить путем последовательного дискретного увеличения толщины слоя с шагом 1 мм и расчета соответствующей ей погрешности δТ.

При этом наружный диаметр Dн определяют по формуле

Dн = DИТ + i2 мм,

(7.3)

где i - номер очередного шага увеличения толщины слоя изоляции и вычисления погрешности δТ.

После каждого шага вычисления погрешности δТ проверяют выполнение условия (4.1). Вычисления заканчивают при выполнении условия (4.1). Минимальную необходимую толщину слоя теплоизоляции (σmin) определяют по формуле

σmin = N1 мм

(7.4)

где N - номер шага, при котором начинает выполняться условие (4.1).

При выборе толщины теплоизоляции должно быть выполнено требование

σ ≥ σmin

(7.5)

8. Требования к оснащению измерительных трубопроводов тепловой изоляцией

8.1. Материалы и конструкция теплоизоляции должны удовлетворять требованиям СНиП 41-03 (разделы 4 и 5) [14].

8.2. Совместно с прямолинейными участками ИТ теплоизолируют фланцевые соединения, люки, расположенные на УНВ, и выступающую часть термоприемника.

Тепловая изоляция элементов, к которым систематически требуется доступ, должна быть съемной.

Пример теплоизоляционной конструкции УНВ представлен на рисунке 2, а термоприемника на рисунке 3.

Рисунок 2. Пример теплоизоляционной конструкции УНВ

Рисунок 3. Пример теплоизоляционной конструкции термоприемника

8.3. Рабочую документацию тепловой изоляции выполняют в соответствии с ГОСТ 21.405.

8.4. Нанесение изоляционных покрытий, контроль качества работ, транспортировку и хранение изоляционных материалов и изолированных труб выполняют в соответствии с требованиями ВСН 008-88 [15].

8.5. При подготовке и выполнении работ с тепловой изоляцией должны выполняться требования СНиП 12-04-2002 [16] по обеспечению безопасности работ.

9. Расчет результирующей относительной дополнительной погрешности измерений температуры среды при размещении термоприемника после стандартной диафрагмы

9.1. Основные положения

Алгоритм расчета применим как в отсутствие, так и при наличии теплоизоляции. При отсутствии теплоизоляции значение δТ принимают равной нулю.

Конечным результатом выполнения расчета является определение относительной дополнительной погрешности измерений температуры среды δТ при размещении термоприемника после стандартной диафрагмы.

Для проведения расчетов, как показано на рисунке 3, область УНВ условно поделена на три участка:

- «0» - между сечениями 0-0 и 1-1 с возвратными течениями до диафрагмы;

- «1» - между сечениями 1-1 и 2-2 с возвратными течениями после диафрагмы;

- «2» - между сечениями 2-2 и 3-3 с развитым турбулентным течением.

Тг0, Тг1, Тг2 и Тг3 - температура среды в сечениях 0-0, 1-1, 2-2 и 3-3 соответственно;

Тн0, Тн1, Тн2 и Тн3 - температура на наружной поверхности ИТ в сечениях 0-0, 1-1, 2-2 и 3-3 соответственно;

Твн - температура внутренней поверхности стенки ИТ в сечении 3-3;

 и  - осредненные значения температуры среды на участках 0 и 1 соответственно;
,  осредненные значения температуры наружной поверхности ИТ на участках 0 и 1 соответственно;

Тр - температура чувствительного элемента термоприемника

Рисунок 3. Распределение температуры в УНВ при измерении расхода среды с помощью стандартной диафрагмы в случае Тв < Тгт, хт < 0

На каждом из участков применяются различные зависимости для расчета коэффициента теплоотдачи α*н .

Для удобства изложения алгоритма для температуры среды в месте расположения ПР наряду с Тгп применено обозначение Тг0, а для температуры среды в месте расположения термоприемника наряду с Тгт - обозначение Тг3.

9.2. Формулы для расчета погрешности, обусловленной теплообменом стенки измерительного трубопровода

9.2.1. Абсолютную погрешность, обусловленную теплообменом стенки ИТ с воздухом определяют по формуле:

(9.1)

где ΔTxi - абсолютная погрешность, обусловленная теплообменом стенки ИТ с воздухом на i-м участке.

Связь погрешности ΔTxi с температурами среды на границах i-го участка выражается формулой

ΔTxi = Tгi+1 - Tгi

(9.2)

где ΔTxi - температура среды в сечении j-j (j = 0, 1, 2, 3).

9.2.2. Формулы, применяемые на участках «0» и «1»

Погрешность ΔTxi определяется в итерационном процессе по формуле

(9.3)

где Wi - поток тепла, выделяемого по всей длине i-го участка (i = 0, 1);

игi - скорость потока среды в сечении j-j (j = 0, 1, 2).

Скорость игj вычисляют по формуле

(9.4)

где ρгj - плотность среды в сечении j-j:

dj - одно из следующих значений диаметра: d0 = d2 = D, d1 = d.

Плотность среды  в сечении j-j рассчитывают по формулам:

rг0 = ρг;

(9.5)

 

(9.6)

 

ρг2 = ρг;

(9.7)

Тепловой поток между средой и воздухом на i-м участке определяют по формуле

(9.8)

где  - средняя линейная плотность теплового потока среды в сечении j-j:

li - длина i-го участка.

Длину участка «0» l0 принимают равной 0,01 D.

Длину участка «1» определяют в соответствии с МИ 3130-2008 [1] по формуле

l1 = 4(D - d)

(9.9)

Среднюю линейную плотность теплового потока между среды и воздухом на i-м участке вычисляют по формуле

(9.10)

где Ki - коэффициент теплопередачи на i-м участке.

 - средняя температура среды на i-м участке.

Температура среды , на i-м участке вычисляют по формуле

(9.11)

Коэффициент теплопередачи на участках определяют по формуле

(9.12)

где - - коэффициент теплоотдачи, определяющий теплообмен между внутренней поверхностью ИТ и среды на i-м участке с учетом интенсификации теплообмена, вызванной искажением кинематической структуры потока в ПР;

 - коэффициент теплоотдачи, определяющий теплообмен между наружной поверхностью ИТ и воздухом на i-м участке, рассчитываемый (см. 6.2.5) при температуре .

При расчете коэффициента теплоотдачи  его составляющие  и  [см. формулы (6.6) и (6.7)] определяют при температуре  с учетом условий, указанных в таблице 5.

Температуру  ( наружной поверхности i-то участка, уточняют на каждом шаге итерационного процесса по формуле

(9.13)

На i-м участке коэффициент теплоотдачи  находят в соответствии с МИ 3130-2008 [1] по формуле

(9.14)

где число Рейнольдса определяют по формуле

(9.15)

9.2.3. Формулы, применяемые на участке «2»

Абсолютную погрешность, обусловленную теплообменом стенки ИТ с воздухом на участке «2» определяют по формуле

(9.16)

где  число Шухова, рассчитываемое по длине участка (l2).

Коэффициент теплопередачи K на участке «2» вычисляют по формуле (6.3), руководствуясь следующими положениями:

а) коэффициент теплоотдачи на участке α*вн определяют по формулам (6.4) и (6.5) при коэффициенте интенсификации η = η2, где η2 рассчитывают в соответствии с МИ 3130-2008 [1] по формуле

(9.17)

где l2 = хт, - l1, - l0 - длина участка.

б) коэффициенты αнi, αнкi и αниi определяют по формулам (6.6) - (6.16) при температуре Тн с учетом условий указанных в таблице 5. Температуру наружной поверхности Тн, уточняют на каждом шаге итерационного процесса по формуле (6.18).

Приложение А
(рекомендуемое)

Коэффициенты теплового излучения

В таблице А приведены коэффициенты теплового излучения ряда материалов.

Таблица А

Металл

Коэффициент теплового излучения (степень черноты) ε

Алюминий

0,05 - 0,07

Асбестовая бумага

0,94

Асбестовая ткань

0,9

Асбестовый картон

0,96

Краска алюминиевая

0,27 - 0,31

Краска бронзовая

0,5 - 0,55

Краска масляная, различных цветов

0,90 - 0,96

Лак светлый

0,82

Рубероид

0,91

Сталь нержавеющая

0,66

Сталь окисленная

0,74 - 0,96

Сталь оцинкованная новая

0,27

Толь

0,91

Приложение Б
(справочное)

Блок-схема алгоритма расчета результирующей дополнительной погрешности и толщины теплоизоляции

Б.1. Комментарии к схеме алгоритма

Б.1.1. При описании алгоритма применены следующие сокращения:

ТУ - Тип узла;

РИТ - Размещение ИТ;

ПИТ - Положение ИТ;

КРИТ - Способ крепления ИТ;

ТПР - Тип ПР;

УТП - Установка термоприемника.

Б.1.2. В алгоритме применяются следующие исходные параметры конфигурации узла измерения, которые указывают на его тип и конструктивные особенности:

- Тип узла (ТУ):

1 - коммерческий;

2 - технологический.

- Размещение ИТ (РИТ):

1 - на воздухе;

2 - в помещении.

- Положение ИТ (ПИТ):

1 - горизонтальное;

2 - вертикальное.

- Способ крепления ИТ (КРИТ):

1 - без подвесок или опор;

2 - опоры;

3 - подвески.

- Тип ПР (ТПР):

1 - диафрагма;

2 - стандартное сопло;

3 - усредняющие напорные трубки;

4 - турбинный;

5 - ультразвуковой;

6 - вихревой;

7 - ротационный;

8 - сопло ИСА 1932;

9 - эллипсное сопло;

10 - сопло Вентури;

11 - труба Вентури.

- Установка термоприемника (УТП):

1 - перед ПР;

2 - за ПР.

Присвоение значений параметров конфигурации рекомендуется проводить из раскрывающихся списков.

Кроме исходных параметров, при расчете определяется условный параметр наличия влаги на наружной поверхности трубопровода (НВП). Этот параметр указывает на состояние наружной поверхности трубопровода на УНВ и определяет необходимость учета влаги по формуле (6.7). Параметр определяется из таблицы 5 и может принимать значения:

0 - сухая поверхность трубопровода;

1 - влажная поверхность трубопровода.

Б.1.3. Полный перечень исходных данных, используемых при проведении расчетов, с примером присвоения вводимым параметрам конкретных значений приведен в Приложении В.

Б.1.4. При описании блок-схемы алгоритма приведены ссылки:

- на пункты рекомендаций - в круглых скобках, например, (6.2.6);

- на исходный параметр - в квадратных скобках, например, [3.1] - ссылка на строку с номером 3.1 таблицы В Приложения В;

- на формулы рекомендаций - в фигурных скобках, например, {6.2} - ссылка на формулу (6.2).

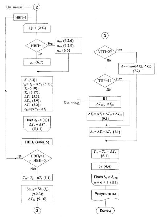
Б.2. Блок-схема

 

Приложение В
(справочное)

Пример исходных данных

Таблица В

Пример ввода значений исходных параметров

№ п/п

Наименование параметра

Исходное значение

tв ≥ 0

tв < 0

1

2

3

4

1

Общие сведения

1.1

Тип узла (ТУ)

коммерческий

1.2

Размещение ИТ (РИТ)

на воздухе

1.3

Положение ИТ (ПИТ)

горизонтальное

1.4

Способ крепления ИТ (КРИТ)

опоры

1.5

Тип ПР (ТПР)

диафрагма

1.6

Установка термоприемника (УТП)

после ПР

2

Нормирующие показатели

2.1

Погрешность δqпп, %

1

2.2

Погрешность δq0, %

0,8

3

Параметры потока

3.1

Минимальный расход газа при стандартных условиях (qст), м3

20

20

3.2

Расчетная температура газа (tг), °С

-5

10

3.3

Абсолютное давление в ИТ (р), МПа

4,9

4,9

3.4

Перепад давления на диафрагме, Кпа

3,62

3,765

4

Параметры газа

4.1

Плотность газа при стандартных условиях (ρс), кг/м3

0,687

0,687

4.2

Коэффициент сжимаемости газа при рабочих условиях (Kсж)

0,8997

0,8997

4.3

Теплопроводность газа при рабочих условиях (λг), Вт/(мК)

0,0312

0,0302

4.4

Изобарная теплоемкость газа при рабочих условиях (), Дж/(кгК)

2200

2060

4.5

Динамическая вязкость газа при рабочих условиях (μг,106), Пас

12,88

12,88

4.6

Показатель адиабаты (χ)

1,3

1,3

5

Параметры воздуха

5.1

Температура воздуха (tв), °С

35

-35

5.2

Относительная влажность воздуха (φ), %

75

5.3

Скорость ветра (ив), м/с

4,6

4,6

6

Параметры измерительного трубопровода

6.1

Внутренний диаметр ИТ (D), мм

382,27

6.2

Наружный диаметр ИТ (DИТ), мм

412,07

6.3

Координата положения термоприемника относительно ПР (хт), м

4,5

6.4

Теплопроводность ИТ (λИТ), Вт/(мК)

47,00

6.5

Теплопроводность изоляции (λиз), Вт/(мК)

0,05

6.6

Коэффициент теплового излучения наружной поверхности ИТ (εИТ)

0,8

6.7

Коэффициент теплового излучения поверхности изоляции (εиз)

0,07

6.8

Расстояние от нижнего края ИТ до термоприемника (h), м

-

-

6.9

Относительный диаметр отверстия диафрагмы β

0,5886

7

Параметры термоприемника

7.1

Теплопроводность термоприемника (λт), Вт/(мК)

17,5

7.2

Коэффициент теплового излучения термоприемника (εт)

0,66

7.3

Наружный диаметр гильзы термометра (dт),мм

24

7.4

Толщина гильзы термометра (σт), мм

6

7.5

Глубина погружения термоприемника (Lт), мм

150

7.6

Длина чувствительного элемента термометра (Lтч). мм

20

7.7

Угол наклона термоприемника (ψ), град

90

Библиография

[1]

Рекомендация по метрологии МИ 3130-2008

Определение действительного значения температуры в сечении сужающего устройства

[2]

ГСССД 195-2001

Метан жидкий и газообразный. Термодинамические свойства, коэффициенты динамической вязкости и теплопроводности при температурах 91 ... 700 К и давлениях 0,1 ... 100 МПа

[3]

Петунин А.Н. Измерение параметров газового потока. - М.: Машиностроение, 1974

[4]

Чистяков С.Ф., Радун Д.В. Теплотехнические измерения и приборы. - М.: Высшая школа, 1972

[5]

Луканин В.Н. и др. Теплотехника. - М.: Высшая школа, 2008

[6]

Гужов А.И. и др. Сбор, транспорт и хранение природных углеводородных газов. - М.: Недра, 1978

[7]

Свод правил по проектированию и строительству СП 41-103-2000

Проектирование тепловой изоляции оборудования и трубопроводов

[8]

Рекомендация по метрологии МИ 2451-98

Государственная система обеспечения единства измерений. Паровые системы теплоснабжения. Уравнения измерений тепловой энергии и количества теплоносителя.

[9]

Исаченко В.П. и др. Теплопередача. - М.: Энергоиздат, 1981.

[10]

Варгафтик Н.Б. Справочник по Наука, 1972 теплофизическим свойствам газов и жидкостей. - М.:

[11]

СНиП 23-01-99

Строительная климатология

[12]

Михеев М.А. Основы теплопередачи. -M.-Л.: Госэнергоиздат, 1956

[13]

«МЕТ4 and МЕТ4А calculation of dew point». Paroscientific, Inc. 4500 148th Ave. N.E. Redmond, WA 98052 (2007-09-13)

[14]

СНиП 41-03-2003

Тепловая изоляция оборудования и трубопроводов

[15]

Ведомственные строительные нормы ВСН 008-88

Строительство магистральных и промысловых трубопроводов. Противокоррозионная и тепловая изоляция

[16]

Строительные нормы и правила РФ СНиП 12-04-2002

Безопасность труда в строительстве. Часть 2. Строительное производство

СОДЕРЖАНИЕ

1. Область применения. 2

2. Нормативные ссылки. 2

3. Термины, определения, обозначения и сокращения. 2

4. Общие положения. 4

5. Расчет абсолютной погрешности измерений температуры, обусловленной теплообменом термоприемника. 5

6. Расчет погрешности, обусловленной теплообменом стенки измерительного трубопровода. 7

7. Расчет результирующей дополнительной погрешности и определение толщины теплоизоляции. 11

8. Требования к оснащению измерительных трубопроводов тепловой изоляцией. 13

9. Расчет результирующей относительной дополнительной погрешности измерений температуры среды при размещении термоприемника после стандартной диафрагмы.. 14

Приложение А. (рекомендуемое) Коэффициенты теплового излучения. 16

Приложение Б. (справочное) Блок-схема алгоритма расчета результирующей дополнительной погрешности и толщины теплоизоляции. 17

Приложение В. (справочное) Пример исходных данных. 19

Библиография. 20

 



© 2013 Ёшкин Кот :-)