Информационная система
«Ёшкин Кот»

XXXecatmenu

МИНИСТЕРСТВО ЭНЕРГЕТИКИ И ЭЛЕКТРИФИКАЦИИ СССР
Главное производственно-техническое управление по строительству
Всесоюзный институт по проектированию организации
энергетического строительства
"ОРГЭНЕРГСТРОЙ"

ТИПОВЫЕ ТЕХНОЛОГИЧЕСКИЕ КАРТЫ
(сборник)

К-5-20

МОНТАЖ ПРОВОДОВ И ГРОЗОЗАЩИТНЫХ ТРОСОВ
ВЛ 500 кВ В ГОРНЫХ УСЛОВИЯХ

Москва 1982

Типовые технологические карты (сборник) К-5-20 разработаны Отделом организации и механизации строительства линий электропередачи (ЭМ-20) института "ОРГЭНЕРГОСТРОИ"

Составители: Войнилович Н.А., Коган Е.Н., Полубков В.А., Смирнова Е.Г.

Карты разработаны в 1979 году, утверждены ГПТУ по строительству Минэнерго СССР, протокол № 391 от 12.12.79 г.

Сборник технологических карт на монтаж проводов и грозозащитных тросов в горных условиях разработан применительно к BЛ 500 кВ, сооружаемым на стальных опорах (промежуточных с оттяжками ПБ и анкерно-угловых трехстоечных свободностоящих У, УГ) при подъеме сталеалюминиевых проводов сечением 400 - 500 мм2 по три в фазе.

СОДЕРЖАНИЕ

Раздел I

Раскатка проводов и грозозащитных тросов

I. ОБЩАЯ ЧАСТЬ

1.1. Раздел I сборника К-5-20 состоит из четырех технологических карт К-5-20-1, К-5-20-2, К-5-20-3 и К-5-20-4 на раскатку проводов и грозозащитных тросов ВЛ 500 кВ в горных условиях с длиной анк. пролета до 1 км.

1.2. Технологические карта разработаны применительно к BЛ 500 кВ, сооружаемым на стальных опорах-промежуточных с оттяжками (ПБ) и анкерно-угловых трехстоечных свободностоящих (У, УГ), при подвеске сталеалюминиевых проводов сечением 400 ÷ 500 мм2 по три в фазе.

1.3. Выбор способа раскатки зависит от местных условий.

При возможности прохождения тяговых механизмов вдоль трассы рекомендуется вести работы согласно карте К-5-20-1. На участках недоступных для механизмов, раскатка осуществляется с помощью тяговых лебедок на полную длину пролета между смежными опорами по карте К-5-20-2, разработанной для коротких пролетов. Если длина пролета превышает предельную канатоемкость лебедки, следует вести работы в соответствии с картой К-5-20-3. Для сложных пролетов А-А, где недопустимо волочение проводов по земле, разработана карта К-5-20-4, предусматривающая раскатку под тяжением без применения специальных механизмов.

1.4. Раскатку выполняет специализированное звено из состава комплексной бригады по монтажу проводов и грозозащитных тросов.

1.5. При привязке карт к объекту необходимо в зависимости от конкретных условий строительства уточнить технологическую последовательность и объемы работ, потребность в трудовых и материально-технических ресурсах.

1.6. До начала раскатки проводов и грозозащитных тросов должны быть выполнены следующие работы, не учитываемые настоящими технологическими картами:

- установка, выверка, полное закрепление и заземление всех опор;

- переустройство пересечений, предусмотренных проектом, по согласованию с их владельцами;

- расчистка створа ВЛ от леса, кустарника, валунов и других предметов, мешающих производству работ; профилирование трассы;

- комплектование арматуры и изоляторов с отбраковкой согласно техническим условиям;

- развозка по пикетам барабанов с проводом и грозозащитным тросом, арматуры и изоляторов в соответствии с проектом производства работ.

1.7. После выбора способа раскатки следует тщательно обследовать намеченные пути движения проводов по земле с целью определения мест установки защит для предохранения их от повреждений. Конструкции защит представлены на рис. 1-1 и 1-2.

1.8. Раскаточные устройства для барабанов с проводом должны быть установлены на расстоянии 15 - 20 м от граничных опор участка в сторону монтируемого пролета.

Барабаны располагаются на устройствах так, чтобы при раскатке они вращались против стрелки, нанесенной заводом на барабане, а провод сходил с его верха.

1.9. Для уменьшения соприкосновения проводов с землей по мере раскатки их следует поднимать в роликах на промежуточные опоры (рис. 1-3 и 1-4). В зависимости от способа последующей перекладки (поверху или с опусканием на землю) раскаточные ролики крепятся непосредственно к траверсе или к гирлянде изоляторов.

1.10. Опрессовка соединительных зажимов в процессе раскатки выполняется моторным прессом в соответствии с типовыми технологическими картами К-5-19.

При обнаружении на проводах дефектов их устранение и установка ремонтных муфт должны производиться до подъема на опоры.

1.11. При раскатке проводов и грозозащитных тросов необходимо строго соблюдать правила техники безопасности, изложенные в основных нормативных документах (см. приложение I).

Особое внимание следует обратить на следующие требования, связанные со спецификой горных условий:

- при выборе и обследовании путей движения рабочих и механизмов должны быть выделены и обозначены предупредительными знаками лавиноопасные участки, места возможных камнепадов, осыпей и обвалов;

- раскатку следует осуществлять, как правило, в направлении от нижних отметок к верхним; при обратном направлении раскатки раскаточные устройства должны быть оборудованы надежными тормозными приспособлениями;

- последние 10 - 12 витков провода или троса следует раскатывать с барабана вручную, предварительно заякорив раскатанный участок;

- на крутых склонах и мелких осыпях запрещается вести работы во время дождя и после него без тщательной проверки откосов мастером или прорабом;

- работа тягового трактора на косогорах с поперечным уклоном более 7° не разрешается, раскатку трактором допускается вести при продольной крутизне до 16°, при использовании в качестве тягового средства бульдозера разрешается работа на подъемах с уклоном до 25°.

Рис. 1-1. Приспособление для защиты провода от повреждений при раскатке.

Рис. 1-2. Защита деревянная

1 - бревно Ø 150 мм, 2 - канат Ø 11 мм; 3 - зажим; 4 - клин деревянный

Рис. 1-3. Подъем грозозащитных тросов в раскаточных роликах
на промежуточные опоры

1 - Трактор Т-100М с лебедкой Л-8; 2 - Ролик-коуш; 3 - Раскаточный ролик М1Р-7; 4 - Скоба СК-12-1А;
5 - Промзвено; 6 - Канат капроновый Ø 19,1 мм,
l = 80 м; 7 - Универсальный строп Ø 17,0 мм, l = 1,5 м

Рис. 1-4. Подъем проводов в раскаточных роликах
на промежуточные опоры

1 - Трактор Т-100М с лебедкой Л-8; 2 - Монтажный блок; 3 - Промзвено ПТМ-12-2; 4 - Коромысло;
5 - Звено ПРС-12-1; 6 - Звено СКТ-12-1; 7 - Скоба СК-12-1А; 8 - Раскаточный блок М1Р-7;
9 - Такелажный трос Ø 17,0
l = 80 м

ТЕХНОЛОГИЧЕСКАЯ КАРТА

ВЛ 500 кВ

РАСКАТКА СТАЛЕАЛЮМИНИЕВЫХ ПРОВОДОВ СЕЧЕНИЕМ
400 ÷ 500 мм2 И ГРОЗОЗАЩИТНЫХ ТРОСОВ ХОДОМ
ТЯГОВОГО МЕХАНИЗМА (ТТК)

K-5-20-1

1. ОБЛАСТЬ ПРИМЕНЕНИЯ

1.1. Технологическая карта К-5-20-1 является руководством по раскатке сталеалюминиевых проводов сечением 400 ÷ 500 мм2 и грозозащитных тросов ВЛ 500 кВ в горных условиях, позволяющих прохождение тягового механизма по трассе.

1.2. В состав работ, рассматриваемых картой, входят:

- установка барабанов с проводами и тросом на раскаточные устройства;

- крепление концов проводов и троса к тяговому механизму;

- раскатка проводов и грозозащитного троса тяговым механизмом;

- подъем и крепление гирлянд и раскаточных роликов с проводом.

2. ОРГАНИЗАЦИЯ И ТЕХНОЛОГИЯ РАСКАТКИ

2.1. До начала раскатки проводов и грозозащитных тросов должны быть выполнены работы, предусмотренные в п. 1.6 "Общей части".

2.2. Раскатка производится специализированным звеном рабочих с помощью трактора Т-100М или аналогичного тягового механизма.

Техническая характеристика трактора Т-100М

Тяговое усилие

9500 кГс

Масса машины

11400 кг

Колея

1880 мм

Удельное давление на грунт

0,48 кг/см2

2.3. Технологическая последовательность производства работ:

а) в соответствии с указаниями п. 1.7 и 1.8 "Общей части" разместить защиты, установить и подготовить к раскатке барабаны с проводом и тросом; собрать поддерживающие гирлянды изоляторов;

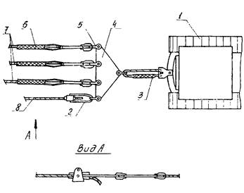
б) присоединить провода и грозозащитный трос х тяговому механизму (рис. 1-5);

в) ходом тягового механизма раскатать последовательно провода крайних фаз и грозозащитные тросы на 30 ÷ 40 м за первую промежуточную опору (рис. 1-6);

г) ходом тягового механизма раскатать провода средней фазы до первой промежуточной опоры;

д) установить защиты на оттяжках опоры и при помощи вспомогательного троса протащить провода средней фазы за промежуточную опору;

е) поднять провода и грозозащитные тросы в раскаточных роликах (с гирляндами или без них) на промежуточную опору согласно п. 1.9 и рис. 1-3 и 1-4 "Общей части";

ж) продолжить раскатку до граничной опоры анкерного участка с подъемом на последующие промежуточные опоры и опрессовкой соединительных зажимов;

и) заякорить раскатанные провода и грозозащитные тросы за фундаменты анкерной опоры при помощи монтажных зажимов.

2.4. На отдельных коротких участках монтируемого пролета, где какие-либо препятствия или крутой рельеф вынуждают тяговый механизм совершать объезд, раскатка выполняется с применением вспомогательного синтетического или стального троса, протягиваемого через недоступный участок вручную.

2.5. Состав звена по раскатке проводов и грозозащитных тросов

Профессия

Разряд

Кол-во человек

Электролинейщик

5

1

- " -

4

2

- " -

3

5

Машинист

5

1

Итого

 

9

2.6. Калькуляция трудовых затрат составлена на раскатку девяти сталеалюминиевых проводов сечением 400 ÷ 500 мм2 и двух грозозащитных тросов ходом тягового механизма с неподвижных раскаточных устройств на 1 км ВЛ 500 кВ. Продолжительность рабочей смены принята 8,2 часа.

Калькуляция трудовых затрат

Основание

Наименование работ

Единица измерения

Объем работ

Норма времени на единицу измерения, чел.-час

Затраты труда на весь объем работ, чел.-дн.

1

2

3

4

5

6

1. ЕНиР, § 23-3-21 табл. 1, строка 24, п. "б"

Сборка изоляторов в двухцепные гирлянды для промежуточных опор из 32-х изоляторов ПС-12А (в среднем 3 опоры на 1 км ВЛ)

гирлянда

9

3,2

3,5

2. ЕНиР, § 23-3-21 табл. 2, строка 3

Присоединение защитных колец к поддерживающим гирляндам изоляторов (два кольца на гирлянду)

кольцо

18

0,75

1,6

3. ЕНиР, § 43-3-22, табл. 2, строка 1 "в" и 2 "в" табл. 3, cтp. 1 - 2

Раскатка проводов (3 фазы - 9 проводов) и грозозащитных тросов (2 цепи по 1-му тросу)

 

 

 

 

провода

Электролинейщик

1 км ВЛ

1

9,6×3×1,85

6,5

 

Машинист

 

 

1,4×3×1,85

1,00

трос

Электролинейщик

1 км ВЛ

1

2,3×2×1,85

0,5

 

Машинист

 

 

0,58×2×1,85

0,2

4. ЕНиР, § 23-3-22 табл. 2 строки 7 и 8 К = 1,4 табл. 3, строки 3 и 4, К = 2

Подъем проводов и грозоза щитных тросов на промеж. опоры в раскаточных роликах с гирляндами или без них. (в среднем 3 оп. на 1 км BЛ)

 

 

 

 

провода

Электролинейщик

опора

3

3,6×1,4

1,9

 

Машинист

 

 

0,57×1,4

0,3

трос

Электролинейщик

опора

3

0,86×2

0,6

 

Машинист

опора

 

0,21×2

0,2

5. ЕНиР, § 23-3-26 строка 6 п. "а"

Соединение проводов и грозозащитных тросов моторным прессом (из расчета 3 соединителя на 1 км BЛ для проводов и 1 соединитель для троса)

 

 

 

 

 

провод

соединитель

3

3,2

1,2

 

трос

 

1

1,35

0,2

 

Итого

км ВЛ

1

-

18,8

3. ТЕХНИКО-ЭКОНОМИЧЕСКИЕ ПОКАЗАТЕЛИ НА 1 км ВЛ

Трудоемкость, чел.-дн.

18,8

Работа механизмов, маш.-смен

2,1

Численность звена, чел.

9

Производительность звена за смену, км ВЛ

0,48

Продолжительность раскатки, смен

2,1

4. МАТЕРИАЛЬНО-ТЕХНИЧЕСКИЕ РЕСУРСЫ

4.1. Потребность в основных машинах, приспособлениях и оборудовании

Наименование

ГОСТ, марка, № чертежа

Един. изм.

К-во

Примечание

1

2

3

4

5

Трактор

T-100M

шт.

1

 

Моторный пресс

ПО-100М

"

1

 

Ручной пресс

МИ-227А

"

1

 

Такелажный трос Ø 17,0 мм, l = 80 м

3079-69

"

1

для подъема гирлянд на промежут. опору

Строп Ø 17,0 мм l = 1,5 м

"

"

2

 

Синтетический капроновой канат Ø 19,1 мм, l = 400 м

10293-67

"

1

 

Коромысло

 

"

9

для подвески блоков

Коромысло

 

"

1

для раскатки

Скоба

CК-16-1A

"

46

 

Раскаточные устройства

НИС № 4 Энергостройтруд черт. СРБТ-1300

"

4

 

Ролик-коуш

черт. ОЭС 656.36.00.000.ВО

"

1

 

Клиновый зажим

МК-2

"

2

 

Монтажный чулок

СЧ-3

шт.

3

 

Строп Ø 17,0 мм l = 15 м

3079-69

"

1

 

Раскаточный ролик

М1Р-7

"

27

 

Монтажный блок

Q = 7,5 т.с.

"

1

Для подъема поддерживающих гирлянд

Примечание. В таблице не учтен ручной инструмент, а также бригадный инвентарь по технике безопасности, предусмотренный табелем средств малой механизации.

4.2. Потребность в эксплуатационных материалах

Наименование

Един. измерения

Норма на час работы механизма

Расход на 1 км ВЛ

Дизельное топливо

кг

8,4

144,6

Дизельная смазка

"

0,43

7,4

Рис. 1-5. Крепление проводов и грозозащитного троса к трактору

1 - Трактор; 2 - Монтажный клиновой зажим МК-2; 3 - Универсальный строп Ø 17,0 мм, l = 1,5 м;
4 - Коромысло; 5 - Скоба СК-16-1А; 6 - Монтажный чулок СЧ-3; 7 - Провод; 8 - Грозозащитный трос.

Рис 1-6. Раскатка проводов с неподвижных раскаточных устройств ходом тягового механизма

1 - Пустые барабаны; 2 - Барабан с проводом; 3 - Трактор, 4 - Раскаточные ролики;
5 - Монтажный блок; 6 - Такелажный трос Ø 17,0 мм,
l = 80 м; 7 - Строп Ø 17,0 мм, l = 15 м;
8 - Защита деревянная или каток; 9 - Защита на оттяжках опоры

Приложение I

Перечень основных нормативных документов по технике безопасности

СНиП III-А.II-70, М. изд-во литературы по строительству, 1970 Правила устройства и безопасной эксплуатации грузоподъемных кранов (утверждены Госгортехнадзором РСФСР).

Правила техники безопасности при строительстве воздушных линий электропередачи 1971 г.

Правила техники безопасности при строительных и монтажных работах на действующих вблизи действующих линий электропередачи 1968. г.

Инструктивные указания по безопасной организации переправ на реках и водоемах 1967 г.

Инструкция по безопасной организации и производству совмещенных и особо опасных работ на стройках Минэнерго СССР 1975 г.

Единые правила безопасности при взрывных работах 1968 г.

Табель средств малой механизации для механизированных колонн по строительству линий электропередачи 35 кВ и выше, Оргэнергострой, М., 1974 г.

Приложение II

Перечень использованной литературе

Руководство по разработке типовых технологических карт в строительстве, М., Стройиздат, 1976.

Бошнякович А.Д. Механический расчет проводов и тросов линий электропередачи, Ленинградское отд. Энергия, 1971.

Виноградов Д.Е. Строительство линий электропередачи 35 - 500 кВ в тяжелых условиях, Ленинградское отд. Энергия, 1974.

Давидян Д.Б. Монтаж проводов на высокогорных линиях электропередачи в Армении, "Энергетическое строительство", 1967.

Дмитриев Э.В. Монтаж проводов на переходе ВЛ 220 кВ через р. Енисей в летний период под тяжением проводов, Экспресс-информация Информэнерго, 1969.

Глазунов А.А. Основы механической части воздушных линий электропередачи, Л. Государственное энергетическое издательство 1956

Зильберман Р.И. и др. Справочник по строительству линий электропередачи, М., Л. Энергия, 1966.

Кессельман Л.М. Способы монтажа проводов на горных линиях электропередачи, Энергетическое строительство, 1968, № 10.

Французов Я.Л. Монтаж подвесных канатных дорог. М., Стройиздат, 1975.

Типовые технологические карта (сборник) К-У-10, Оргэнергострой, М., 1973.

Типовые технологические карты (сборник) К-У-19, Оргэнергострой, М., 1978.

 

 

 



© 2013 Ёшкин Кот :-)