Информационная система
«Ёшкин Кот»

XXXecatmenu

ФГБОУ ВПО
«Уральский государственный лесотехнический университет»

Общество с ограниченной ответственностью
«ДОКТОР БЕТОН»

СТАНДАРТ ОРГАНИЗАЦИИ
СТО ДОКТОР БЕТОН 68686983-003-2011*

СМЕСИ СУХИЕ СТРОИТЕЛЬНЫЕ
марки «ДОКТОР БЕТОН®»
для гидроизоляции и ремонта
бетонных конструкций.

Технологии устройства
и методы оценки качества

Екатеринбург

2013

Сведения о документе

1 РАЗРАБОТАН канд. техн. наук, проф. УГЛТУ Побединским В.В., канд. техн. наук, проф. зам. ген. директора ЦНИИПромзданий Гликиным С.М., канд. техн. наук, руководителем отдела кровель и гидроизоляции ЦНИИПромзданий Ворониным А.М., директором ООО «ДОКТОР БЕТОН» Шуняевым А.В., техническим директором ООО «ДОКТОР БЕТОН» Шафиковым Р.Р.

2 ВНЕСЕН ООО «ДОКТОР БЕТОН»

3 ПРИНЯТ И ВВЕДЕН В ДЕЙСТВИЕ приказом ООО «ДОКТОР БЕТОН» № 2-НТД от 18 февраля 2013 г.

4 СВЕДЕНИЯ О РАНЕЕ ИЗДАННЫХ ДОКУМЕНТАХ издание 2-е сокращенное.

Предисловие

Цели, основные принципы, порядок разработки настоящего стандарта предприятия установлен межгосударственными стандартами ГОСТ 1.0-2004, ГОСТ 1.4-2004.

В настоящем стандарте учтены положения межгосударственных стандартов ГОСТ 4.212-80, ГОСТ 4.233-86, ГОСТ 24211-2003, ГОСТ 31189-2003, ГОСТ 31357-2007, СНиП 12-01-2004 и других нормативных документов.

СОДЕРЖАНИЕ

1 Область применения. 3

2 Нормативные ссылки. 3

3 Термины и определения. 3

4 Общие положения. 3

5 Выполнение гидроизоляционных и ремонтных работ. 4

5.1 Общая схема технологического процесса. 4

5.2 Организационные мероприятия. 4

5.2.1 Обеспечение рабочих условий. 5

5.2.2 Оснащение оборудованием.. 6

5.3 Подготовительные операции. 6

5.3.1 Подготовка элементов конструкций. 7

5.3.2 Подготовка поверхности основания под гидроизоляцию.. 10

5.3.3 Подготовка материалов. 13

5.4 Выполнение гидроизоляции. 15

5.4.1 Общие указания. 15

5.4.2 Нанесение составов кистью.. 16

5.4.3 Нанесение составов напылением.. 16

5.5 Заключительные операции. 18

5.6 Режимы отвердения покрытий. 19

5.7 Защитные покрытия, декоративная отделка. 19

5.8 Гидроизоляция элементов конструкций. 20

5.8.1 Ликвидация протечек и ремонт трещин. 20

5.8.2 Гидроизоляция стыков конструкций. 22

5.8.3 Гидроизоляция сопряжений. 23

5.8.4 Гидроизоляция проходов труб. 23

5.8.5 Гидроизоляция стен от капиллярного увлажнения. 23

5.8.6 Гидроизоляция кирпичных стен. 24

5.8.7 Крепление закладных металлических деталей. 24

5.8.8 Ремонт поверхностных дефектов. 24

5.8.9 Устройство толстослойных покрытий. 24

6 Контроль качества работ. 25

6.1 Общие положения. 25

6.2 Входной контроль. 26

6.3 Оперативный контроль. 26

6.4 Операционный контроль. 27

6.5 Инспекционный контроль. 28

6.6 Приемочный контроль. 29

6.7 Документальное сопровождение контроля качества. 30

7 Охрана труда при использовании сухих смесей. 31

7.1 Обеспечение правил техники безопасности. 31

7.2 Обеспечение экологической безопасности. 31

8 Указания по применению материалов. 32

Приложение А (обязательное). Нормативные ссылочные документы.. 32

Приложение Б (рекомендуемое). Использование ручного инструмента и пневмораспылителей. 33

 

Группа Ж 13

СТАНДАРТ ОРГАНИЗАЦИИ ООО «ДОКТОР БЕТОН»

СТО ДОКТОР БЕТОН 68686983-003-2011*

СМЕСИ СУХИЕ СТРОИТЕЛЬНЫЕ
марки «ДОКТОР БЕТОН®» для гидроизоляции и ремонта
бетонных конструкций.

Технологии выполнения и методы оценки качества

Dry building mixtures trade mark «ДОКТОР БЕТОН®» for waterproofing and repair concrete construction.
Technologies execution and methods estimation of quality

Дата введения 2013-02-18

1 Область применения

1.1 Положения настоящего стандарта распространяются на технологию выполнения гидроизоляции сборных, монолитных бетонных и железобетонных строительных конструкций, технологию поверхностного и конструкционного ремонта, а также восстановления водонепроницаемости и ремонта старых конструкций с использованием гидроизоляционно-ремонтных сухих смесей «ДОКТОР БЕТОН®» по СТО ДОКТОР БЕТОН 68686983-001-2011*, СТО ДОКТОР БЕТОН 68686983-002-2011* и определяют:

- технологические приемы и последовательность операций выполнения гидроизоляции и ремонта;

- рекомендации по применению материалов с учетом их особенностей;

- основные методы оценки качества работ по гидроизоляции и ремонту.

1.2 СТО ДОКТОР БЕТОН 68686983-003-2011* в соответствии с законом № 184-ФЗ предназначен для применения любыми физическими и юридическими лицами.

1.3 Положения настоящего стандарта являются обязательными при выполнении гидроизоляции и ремонта с использованием сухих смесей «ДОКТОР БЕТОН®» по СТО ДОКТОР БЕТОН 68686983-001-2011* и СТО ДОКТОР БЕТОН 68686983-002-2011*.

1.4 Настоящий стандарт может быть использован для целей сертификации, а также при разработке нормативных и методических документов в области строительства с целью обеспечения единого понимания определений, названий, характеристик и назначения сухих смесей.

2 Нормативные ссылки

В настоящем стандарте использованы нормативные ссылки в соответствии с приложением А.

3 Термины и определения

В настоящем стандарте применены термины по ГОСТ 4.233, ГОСТ 31189, ГОСТ 31357.

4 Общие положения

4.1 При выполнении гидроизоляции и/или ремонтных работ, кроме настоящего стандарта, необходимо соблюдать положения следующих нормативных документов:

- СТО ДОКТОР БЕТОН 68686983-001-2011*;

- СТО ДОКТОР БЕТОН 68686983-002-2011*;

- СТО ДОКТОР БЕТОН 68686983-004-2013;

- СТО ДОКТОР БЕТОН 68686983-005-2013;

- СНиП 3.04.03-85;

- СНиП 3.03.01-87;

- СНиП 2.03.11-85;

- СНиП 52-01-2003;

- ГОСТ 28013;

- СП 82-101.

При выполнении работ необходимо соблюдать требования охраны труда в соответствии с положениями СНиП 12-03-2002, СНиП 12-04-2002.

5 Выполнение гидроизоляционных и ремонтных работ

5.1 Общая схема технологического процесса

5.1.1 Технологическая схема выполнения гидроизоляционных и ремонтных работ с применением сухих смесей «ДОКТОР БЕТОН®» приведена на рисунке 1.

Рисунок 1

5.1.2 После завершения каждого этапа работ осуществляется контроль качества их выполнения в соответствии с п. 6.4.3 и документальным оформлением по п. 6.7.

5.2 Организационные мероприятия

1. В соответствии с рекомендациями СНиП 12-01-2004 организация работ по гидроизоляции и ремонту с применением сухих смесей разделяется на два этапа - подготовительный и основной.

2. Работы следует производить по утвержденному проекту производства работ (ППР), в котором наряду с общими требованиями должны быть предусмотрены технологическая последовательность, методы выполнения операций и методы оценки качества.

3. В случаях, когда в составе проектной документации не разрабатывается ППР, следует определить порядок приемки и перечень контрольных процедур оценки соответствия гидроизоляции законченного строительством объекта.

4. Работы следует организовать в виде непрерывного скоординированного процесса. Организационные мероприятия заключаются:

- в подготовке рабочих мест с обеспечением рабочих условий, указании схем и очередности выполнения операций технологического процесса в соответствии с проектом производства работ;

- подготовке оборудования;

- обеспечении запасов материалов:

□ подготовке складирования материалов;

□ подготовке и обеспечении хранения в соответствии с требованиями п. 13 СТО ДОКТОР БЕТОН 68686983-001-2011*;

- организации контроля качества работ.

5. Рабочее место должно быть освобождено от посторонних, мешающих устройству гидроизоляции предметов, огнеопасных материалов, проветриваемое и обеспечено оборудованием в соответствии с проектом организации строительства. Исправность оборудования должна быть подтверждена актами очередной проверки.

6. Следует обеспечить достаточный запас материала. При этом непосредственно на рабочем месте запас материалов не должен превышать сменной потребности. Задержки при подготовке и перемешивании составов могут приводить к появлению дефектов в работе. Необходимо обеспечить согласованность и скорость выполнения всех действий при работе с уже приготовленными материалами для исключения непредвиденных простоев, приводящих к спешке, особенно при высокой окружающей температуре, когда время схватывания смеси сокращается.

5.2.1 Обеспечение рабочих условий

5.2.1.1 При выполнении гидроизоляционных работ в период атмосферных осадков рабочее место должно быть защищено от непогоды навесами, а при низких температурах - тентовыми конструкциями из негорючих материалов. Без защиты от осадков рабочего места гидроизоляционные работы производить не допускается.

5.2.1.2 При работе с сухими смесями учитываются климатические условия и регламентируются температурные режимы на следующих этапах:

а) при подготовке материалов:

- подготовку материалов в холодное время года следует выполнять в теплом помещении и обеспечивать их температуру в заданных пределах до завершения сроков отвердения;

б) в процессе непосредственной укладки смесей:

- работы проводятся при температуре воздуха не ниже +5 °С, измеряемой вблизи наружных стен на высоте 0,5 м от уровня изолируемой поверхности (пола);

- при наружных работах среднесуточная температура воздуха должна быть не ниже +10 °С;

- температура основания под гидроизоляцию должна быть в пределах от +5 до +35 °С; наибольшее качество будет достигаться при равенстве температур основания и наносимого состава;

- при наружных работах не допускать попадания осадков на поверхность свежеуложенных сухих смесей;

в) при уходе за свежеуложенными покрытиями и обеспечении режимов отвердения:

- за нормальные условия принимаются следующие режимы набора марочной прочности свежеуложенных сухих смесей в течение 28 сут.:

□ температура воздуха 15 - 20 °С;

□ относительная влажность около 95 %.

Указанные режимы поддерживаются в течение периода, равного периоду приобретения бетоном не менее 50 % проектной прочности (7 сут.) или в течение периода, указанного в технической документации на материалы. При пониженной или повышенной температуре прочность составов из сухих смесей нарастает, соответственно, прогрессивно медленнее или быстрее, чем при нормальной;

- прямой солнечный свет (при работах снаружи, а также внутри помещений), попадающий через окна, прозрачные крыши, может быть причиной неравномерного схватывания или локального интенсивного обезвоживания смесей, поэтому следует закрывать рабочую площадь от солнца;

- для исключения неравномерного отвердения сухих смесей необходимо исключить сквозняки или резкие перепады температур над поверхностью.

5.2.1.3 Способы обеспечения рабочих условий при различных температурных и климатических условиях (организация обогрева; сроки, порядок снятия опалубки и испытание эксплуатационными нагрузками конструкций; обогрев стыкуемых поверхностей в изолируемых стыках, швах; продолжительность и температурно-влажностный режим отвердения составов и др.) должны быть указаны в ППР.

5.2.2 Оснащение оборудованием

5.2.2.1 Для гидроизоляционных и ремонтных работ применяется общестроительный ручной инструмент и следующее основное механизированное и ручное оборудование:

а) для подготовки, очистки поверхностей бетонных конструкций в качестве основания под гидроизоляцию:

- водоструйные установки высокого давления;

- отбойные молотки;

- водопескоструйные установки;

- фрезеровальные установки;

- щеточные установки;

- шлифовальные машинки;

- штраборезы;

- перфораторы;

- молотки для выполнения насечки;

б) для подготовки материалов:

- бетоно- и растворосмесители, миксеры;

- перфораторы с лопастными насадками;

в) для нанесения материалов:

- пневмораспылители;

- торкрет-пушки, машины для штукатурного нанесения;

- правила, терки;

г) для ухода за свежеуложенными покрытиями:

- распылители воды;

- распылители полимерных защитных пленок.

5.2.2.2 Нанесение составов может выполняться вручную кистью или шпателем. При больших объемах могут быть механизированы все работы - от дозировки компонентов до набрызга. В этом случае применяются агрегаты воздушного нанесения (пневмораспылители), предназначенные для работы с составами большой вязкости. Основные правила работы с воздушным агрегатом приведены в приложении Б.

5.3 Подготовительные операции

Подготовка конструкций для гидроизоляционных и ремонтных работ с применением сухих смесей включает:

- местное водопонижение или водоотвод для устранения протечек грунтовых вод через бетонные конструкции на весь период производства гидроизоляционных работ; в случае невозможности таких мероприятий протечки на подготавливаемой под гидроизоляцию поверхности должны быть ликвидированы с помощью быстротвердеющего материала по п. 5.8.1;

- подготовка элементов конструкций:

□ стыков, швов (выполнение штрабы, удаление непрочных участков, очистка от загрязнений, промывка);

□ трещин (в зависимости от ширины раскрытия промывка, выполнение штрабы);

□ пропусков трубопроводов;

□ сколов, выбоин, отверстий;

□ ремонт и/или подготовка арматуры для антикоррозионной защиты;

□ примыканий покрытий гидроизоляции;

- подготовка поверхностей конструкций для нанесения гидроизоляционных покрытий;

- подготовка материалов.

5.3.1 Подготовка элементов конструкций

а) Стыки, швы

5.3.1.1 Вдоль стыков конструкций выполняется паз (штраба) прямоугольного или трапециевидного (с расширением вглубь бетона) сечения размерами примерно 20×30 мм.

5.3.1.2 При ремонтных работах следует удалить из стыка старый раствор до прочного основания.

5.3.1.3 Продуть и промыть штрабу (более эффективно - горячей водой) от любых загрязнений, ослабляющих сцепление раствора с поверхностью.

5.3.1.4 Поверхностные повреждения бетонных конструкций в месте устройства стыков (трещины, раковины, сколы) должны быть отремонтированы ремонтным составом марки «ДОКТОР БЕТОН® - D222» по п. 5.4.2.9, а при наличии протечек - сверхбыстротвердеющим материалом марки «ДОКТОР БЕТОН® - F112».

5.3.1.5 Подготовленные пазы (штрабы) для укладки смеси марки «ДОКТОР БЕТОН® - В122» покрывают одним слоем состава проникающего действия марки «ДОКТОР БЕТОН® - А111» по п. 1.1 таблицы 3.

5.3.1.6 Через 3 сут. покрытие из состава марки «ДОКТОР БЕТОН® - А111» удаляется с помощью водоструйной установки высокого давления или металлическими щетками и скребками, другим механическим способом.

б) Неактивные трещины и места локальных протечек

5.3.1.7 В зависимости от размеров трещин предусмотрена следующая подготовка перед выполнением гидроизоляции:

- промывка трещин (швов) по всей длине при помощи водоструйной установки высокого давления (порядка 15 - 20 МПа).

- вдоль трещин (швов) по всей длине выполняется штраба шириной 5 - 20 мм в зависимости от величины раскрытия трещины.

- пазы выполняют прямоугольного или трапециевидного сечения с глубиной на 20 - 50 % больше ширины.

- отверстия в местах локальных протечек выполняют цилиндрической или по возможности конусообразной формы (рисунок 2).

- в случае отсутствия фильтрации воды подготовленное отверстие покрывается одним слоем состава проникающего действия «ДОКТОР БЕТОН® - А111» по п. 1.1 таблицы 3.

- через 3 сут. покрытие марки «ДОКТОР БЕТОН® - А111» удаляется с помощью водоструйной установки высокого давления металлическими щетками, скребками или другим механическим способом.

а - одинарное отверстие; б - двойное отверстие; 1 - ремонтируемая конструкция;
2 - место протечки; 3 - отверстие под состав «ДОКТОР БЕТОН®»

Рисунок 2 - Варианты подготовки отверстий для ремонта локальных протечек

в) Активные трещины

5.3.1.8 Для гидроизоляции активных трещин или подвижных швов используется эластичный материал марки «ДОКТОР БЕТОН® - С113», определяющий методы ремонта.

5.3.1.9 Для активных трещин предусмотрены два метода ремонта:

1) обеспечение конструктивными решениями неподвижности трещины по п. 5.8.1.15;

2) формирование композитной системы «поверхности конструкций, образующих шов (разделенных трещиной) - герметизирующий эластичный материал», обеспечивающей взаимное перемещение частей конструкции с сохранением герметичности по п.п. 5.8.1.13, 5.8.1.15.

г) Сколы, пробоины

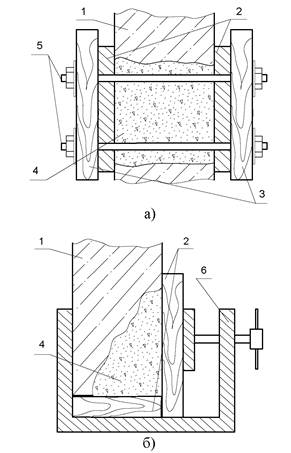
5.3.1.10 Опалубка для ремонта должна быть влагонепроницаемой конструкции. Деревянная опалубка для исключения впитывания влаги из состава должна быть предварительно увлажнена водой или закрыта пленкой. Из древесных материалов используется влагостойкая фанера. При использовании для опалубки деревянных досок толщиной более 30 мм рекомендуется использовать доску шпунтованную. Примеры установки опалубки при ремонте дефектов показаны на рисунке 3. Непосредственно перед ремонтом больших сколов, пробоин ремонтными составами, бетонами на основе составов марок «ДОКТОР БЕТОН® - С212, Е131, D222» необходимо проверить правильность установки приметаемой при ремонте опалубки.

а - сквозная пробоина; б - скол угловой зоны; 1 - ремонтируемая железобетонная конструкция;
2 - опалубка; 3 - брусок; 4 - ремонтный состав (бетон «ДОКТОР БЕТОН® - D222, Е131»);
5 - шпилька; 6 - струбцина

Рисунок 3 - Ремонт крупных дефектов

д) Ремонт арматуры

5.3.1.11 Оголенная арматура при коррозии более 30 % должна быть отремонтирована (заменена новой). При этом следует учитывать особенности железобетонной конструкции, допустимость сварки. Пример ремонта составами марки «ДОКТОР БЕТОН®» конструкции с установкой арматуры показан на рисунке 4.

d* - не менее 20 мм при d > 10 мм и не менее 10 мм при d < 10 мм; 1 - бетонная конструкция;
2 - ремонтный состав («ДОКТОР БETOH® - D222, Е131, С212»); 3 - сверхбыстротвердеющий состав
(«ДОКТОР БЕТОН® - F112»); 4 - анкер диаметром da; 5 - арматура диаметром d

Рисунок 4 - Ремонт с установкой арматуры

5.3.1.12 При подготовке к ремонту участка с оголенной арматурой она должна быть освобождена снизу от слоя бетона на глубину в соответствии с рисунком 4.

5.3.1.13 Анкер для монтажа арматуры закрепляется сверхбыстротвердеющим составом марки «ДОКТОР БETOH® - F112» по п. 5.4.2.8 на глубину не менее 20 диаметров анкера.

5.3.1.14 Арматура должна быть покрыта ремонтным составом толщиной (расстоянием до основной поверхности конструкции) не менее 20 мм.

е) Подготовка металлических элементов под антикоррозионное покрытие

5.3.1.15 Подготовка металлических поверхностей в построечных условиях, заключающаяся в их очистке и обезжиривании, должна выполняться в следующей последовательности:

- устраняют неровности, наплывы, окислы сварочные швы, раковины, неметаллические включения, закругляют острые края;

- очищают от ржавчины, пыли;

- обрабатывают преобразователем ржавчины (при обосновании);

- промывают водой;

- обезжиривают растворителями.

5.3.1.16 Поверхности стальных строительных конструкций, трубопроводов и оборудования следует очищать, применяя ручные или механические металлические щетки и скребки, пескоструйные установки.

5.3.1.17 В зависимости от вида и степени коррозии возможно применение преобразователей ржавчины при соответствующем обосновании.

5.3.1.18 Степень очистки и шероховатость подготовленной под гидроизоляционное покрытие поверхности должна соответствовать требованиям СНиП 3.04.03-85.

5.3.1.19 После удаления ржавчины металлическую поверхность следует очистить от пыли, при необходимости промыть водой и обезжирить растворителями.

5.3.2 Подготовка поверхности основания под гидроизоляцию

5.3.2.1 Подготовленные основания для нанесения гидроизоляционных покрытий должны соответствовать следующим требованиям:

- поверхности оснований под покрытия составами марок «ДОКТОР БЕТОН® - А111, D222, Е131, С212, С112, F112, В122» по трещиностойкости конструкций должны соответствовать не ниже II категории, под состав «ДОКТОР БЕТОН® - С113» допускаются основания III категории;

- для обеспечения проникновения химических соединений из составов проникающего действия в бетон его поверхность должна иметь открытую пористую структуру, оцениваемую визуально;

- поверхность основания должна быть шероховатой; гладкие шлифованные поверхности с заполированными порами рекомендуется обработать раствором соляной кислоты по п. 4 таблицы 1 или другими составами химической очистки, обеспечивающими открытие пористой структуры и получение шероховатой поверхности;

- основание под покрытие из составов проникающего действия должно быть только из цементосодержащих материалов марки не менее M150 (класса В10);

- поверхность конструкций должна быть очищена от любых загрязнений, пыли и промыта водой (для устранения загрязнений более эффективна горячая вода);

- жесткие составы должны предусматриваться для конструкций с прочностью на сжатие не менее 15 МПа;

- поверхность конструкций под гидроизоляцию должна быть увлажнена до полного насыщения влагой (до прекращения впитывания);

- на поверхности оснований перед укладкой гидроизоляции не должно быть свободной влаги;

- на поверхности не должно быть мест открытой фильтрации влаги (кроме случаев ремонта быстротвердеющими составами);

- на поверхности оснований не должно быть цементного «молочка» (наличие «молочка» может показать образование пыли при скоблении контролируемой поверхности острым ножом);

- на поверхности не должно быть дефектов (трещин более допустимой ширины раскрытия, сколов и др.);

- подготовленная бетонная поверхность не должна иметь выступающей арматуры (металлические элементы должны быть не менее чем на 2 см ниже защищаемой поверхности бетона), раковин, наплывов, сколов угловых зон и др.;

- закладные изделия должны быть жестко закреплены в конструкции;

- наружные углы конструкций должны быть закруглены радиусом не менее 10 мм, а внутренние иметь переходный бортик (в виде плинтуса) под углом 45° или штрабу для укладки гидроизоляционного состава «ДОКТОР БЕТОН®»;

- материалы оснований должны быть совместимы с материалами гидроизоляционных или ремонтных покрытий.

5.3.2.2 При подготовке оснований под гидроизоляцию применяются методы механической очистки (пескоструйной, дробеструйной, водоструйной, фрезерование, шлифование) и химической обработки (кислотными составами с последующей нейтрализацией щелочными материалами). Механическая очистка с помощью фрез и шлифования менее предпочтительна, так как затирает микропоры и снижает эффективность смесей проникающего действия. При этом гладкая поверхность снижает адгезию сухих смесей с основанием. Рационально совмещать пескоструйную обработку бетонных поверхностей с последующим устранением продуктов очистки водой под давлением.

5.3.2.3 Удаление с поверхности основания масел, нефтепродуктов, жиров возможно жесткими щетками с использованием моющих средств или растворов щелочей (например каустиковой соды) и последующей промывкой горячей водой. При глубокой пропитке поверхности маслами загрязненный слой бетона удаляется механически. В случаях пропитки на всю толщину участок бетона удаляется полностью и заменяется ремонтной массой с добавкой «ДОКТОР БЕТОН® - Е131». При невозможности полного удаления снимается слой в несколько сантиметров, затем производится установка арматурного каркаса, закрепленного на анкерах в основной слой бетона, и место ремонта заливается бетоном с добавкой «ДОКТОР БЕТОН® - Е131».

5.3.2.4 Для объектов нового строительства период с момента укладки бетонных оснований (растворов) к моменту нанесения материалов «ДОКТОР БЕТОН®» должен быть не менее 14 сут.

5.3.2.5 Для подготовки основания под гидроизоляцию следует удалить участки слабого бетона, отремонтировать разрушенные поверхности, при необходимости устроить новую стяжку.

5.3.2.6 При подготовке поверхности из кирпича следует расшить все швы кладки на глубину около 1 см, очистить их от пыли и мусора.

5.3.2.7 Трещины должны быть отремонтированы в соответствии с п. 5.4.2.1.

5.3.2.8 Для насыщения влагой оснований под гидроизоляцию поверхность рекомендуется на протяжении около суток проливать водой до полного насыщения, не допуская его высыхания, а затем примерно за 10 мин до нанесения составов подготовленную поверхность увлажнить водой, избегая образования на поверхности свободной влаги. Особое внимание следует уделять сопряжениям, угловым зонам конструкций.

5.3.2.9 При поверхностном ремонте конструкций выделить дефектный участок по краям штрабой на глубину около 10 мм. Удалить участки слабого бетона (раствора). Сделать поверхность для нанесения состава шероховатой. Для увеличения адгезии может выполняться насечка отбойным молотком или вручную молотком с конусным квадратного сечения острием (квадрат со стороной 2 - 3 мм). В случае протечек воды на обрабатываемой поверхности течи следует ликвидировать сверхбыстротвердеющим материалом марки «ДОКТОР БЕТОН® - F112».

5.3.2.10 Допустимый интервал между подготовкой поверхности (очисткой) и нанесением покрытия не регламентируется. При значительном перерыве следует обратить внимание на обеспечение открытой пористой структуры поверхности и ее водонасыщение. Соблюдать необходимо временной интервал между нанесением слоев гидроизоляции, а также интервал между нанесением последнего слоя гидроизоляции и началом эксплуатации.

5.3.2.11 Последовательность операций по подготовке поверхности для нанесения составов «ДОКТОР БЕТОН®» приведен в таблице 1.

Таблица 1

№ п.п

Наименование операции

Оборудование и способ выполнения операции

1

2

3

1

Оценка состояния поверхностей конструкции из «старого» бетона

Визуально или при помощи приборов типа склерометра. Бетонные поверхности должны быть прочными, без загрязнений, с открытой пористой структурой и обладать впитывающей способностью для свободного проникновения в бетон химических компонентов. (Поверхность бетона может быть подвергнута пескоструйной и водоструйной обработке)

2

Разметка места ремонта

Мелом, насечкой или штрабой кромки дефектного участка твердосплавным инструментом на глубину около 10 мм

3

Очистка поверхности для нанесения составов от любых загрязнений

Дрели с насадкой-щеткой со стальным ворсом. Если очистка щеткой недостаточно эффективна, используются абразивные инструменты, пескоструйные аппараты. Для удаления жира и грязи с поверхностей используются растворители (толуол, ксилол, ацетон и др.). Загрязнения маслами, битумом и другими веществами при невозможности механической очистки очищаются химическим путем

4

Химическая очистка поверхности конструкции:

Протравливание водным раствором соляной кислоты. (Пыль, грязь или цементное «молочко» удаляются кислотой без предварительной подготовки)

 

1. Нанесение кислоты на поверхность

Из емкости, установленной на специальной тележке с расходом около 0,3 л/м2

 

2. Выдержка для химической реакции

3 - 5 мин. (До прекращения реакции и образования пены)

 

3. Промывка поверхности водой

Монитором водоструйной установки. (До полного удаления остатков кислоты)

 

4. Проверка наличия остатков кислоты

Лакмусовой бумагой (или фенолфталеином), которая прикладывается к влажной поверхности. (Бумага в кислой среде краснеет)

 

5. Контроль качества очистки

Должны отсутствовать любые загрязнения. При значительных загрязнениях, если первая обработка не обеспечила требуемого качества очистки, операция повторяется

5

Промывка поверхности

Чистой водой. При наличии кислой среды нейтрализовать щелочным раствором или 4 - 5 % раствором кальцинированной соды, вновь промыть и высушить. (До нейтральной реакции)

6

Удаление непрочных участков поверхности бетонных конструкций; участков, покрытых цементным «молочком»

По периметру ремонтируемой площади с отступом на 3 - 5 см от видимой границы повреждений до прочного бетона. На обрабатываемой поверхности не допускается наличие структурных повреждений и видимых трещин с размерами более 0,3 мм. (Бетонные и штукатурные поверхности должны быть прочными, с открытой капиллярной структурой. Поверхность должна обладать впитывающей способностью, для того чтобы химические компоненты свободно проникали в бетон)

7

Придание поверхностям шероховатости или выполнение насечек (пазов)

Металлической щеткой, специальными молотками насечки 2 - 3 мм. (Для обеспечения наибольшей адгезии и площади сцепления)

8

Удаление пыли, строительного мусора

Поверхность конструкции обдувают сжатым воздухом от компрессора. (При выполнении требований п. 7)

9

Промывка поверхности водой

Установки водоструйные высокого давления

10

Увлажнение поверхности

Обильно до насыщения (вся поверхность должна быть матововлажной), при этом исключать скопления свободной воды. Используются водоструйные установки высокого давления с расходом в зависимости от впитывающей способности более 0,5 л/м2 поверхности. (Поверхность должна периодически увлажняться около двух суток, а за 10 мин перед нанесением сухой смеси снова смачиваться)

5.3.3 Подготовка материалов

5.3.3.1 Приготовление составов «ДОКТОР БЕТОН®» путем затворения водой (сухая смесь марки «ДОКТОР БЕТОН® - С113» затворяется водным раствором эластификатора) осуществляется непосредственно на строительной площадке.

5.3.3.2 Общее правило подготовки сухих смесей предусматривает замешивание в два приема с технологической паузой, что связано с замедленным растворением полимеров. Первый прием в зависимости от марки продолжается от 2 до 5 мин. Затем смесь отстаивается 5 - 10 мин. В это время вода проникает в частицы водорастворимых полимеров, а вокруг частиц редиспергируемых полимеров формируется адсорбционный слой. Затем производится второе перемешивание (2 - 3 мин). Перемешивание обеспечивает однородность консистенции. Перед непосредственным нанесением рекомендуется выдержать приготовленный раствор в течение 5 - 10 мин.

5.3.3.3 При пониженных температурах для качественного перемешивания может потребоваться больше времени (до 20 %).

5.3.3.4 Сверхбыстротвердеющий состав марки «ДОКТОР БЕТОН® - F112» замешивается в один прием.

5.3.3.5 Вода для затворения должна быть по ГОСТ 23732 температурой 20 ± 5 °С. Для сверхбыстротвердеющего состава марки «ДОКТОР БЕТОН® - F112» температура воды должна быть не ниже 20 °С, при этом ее изменение от +20 до +50 °С позволяет в небольших пределах управлять временем схватывания смеси.

5.3.3.6 Не допускается добавлять воду в дальнейшем процессе и более указанного в документации объема. Избыточное количество воды может вызвать усадочные трещины. Также не добавлять цемент, песок и другие компоненты.

5.3.3.7 Последовательность операций по приготовлению составов «ДОКТОР БЕТОН®» приведена в таблице 2.

Таблица 2

Наименование операции, оборудование

Требование, параметр

1

2

3

1

«ДОКТОР БЕТОН® - А111»

1.1

Определение объема замеса

Количество раствора должно быть не более необходимого для использования в течение 30 мин с момента смешения с водой. (С учетом п. 5.1 СТО ДОКТОР БЕТОН 68686983-002—2011)

1.2

Подготовка воды для замешивания в емкости или в бетоносмесителе

Емкость для замешивания должна быть с высокими краями

1.3

Отмерить и подготовить компоненты

В пропорции 0,56 л воды на 1 кг сухой смеси. (14 л воды на мешок смеси весом 25 кг)

1.4

Засыпать сухую смесь в емкость с водой или в бетоносмеситель

Сухая смесь засыпается в воду постепенно, при непрерывном размешивании. Не рекомендуется высыпать сразу все расчетное количество для недопущения образования неоднородного смешения

1.5

Первое перемешивание раствора в растворосмесителе или электродрелью со спиральной насадкой

До получения однородной подвижной консистенции, 2 - 3 мин

1.6

Выдержка технологической паузы

5 мин

1.7

Второе перемешивание

2 - 3 мин

2

«ДОКТОР БЕТОН®» - В122»

2.1

Определение объема замеса

Количество раствора должно быть не более необходимого для использования в течение 30 мин с момента смешения с водой. (С учетом п. 5.1 СТО ДОКТОР БЕТОН 68686983-002-2011)

2.2

Подготовка воды для замешивания в емкости или в растворосмесителе

Емкость для замешивания должна быть с высокими краями

2.3

Отмерить и подготовить компоненты

Вода из расчета 0,11 - 0,12 л/кг сухой смеси. (2,75 - 3,0 л воды на мешок смеси весом 25 кг)

2.4

Засыпать сухую смесь в емкость с водой

Сухая смесь засыпается в воду постепенно, при непрерывном размешивании

2.5

Первое перемешивание раствора в бетоносмесителе или электродрелью со спиральной насадкой

До получения однородной тестообразной консистенции, 2 - 3 мин

2.6

Выдержка технологической паузы

5 мин

2.7

Второе перемешивание

2 - 3 мин

3

«ДОКТОР БЕТОН® - D222»

3.1

Определение объема замеса

Количество раствора должно быть не более необходимого для использования в течение 30 мин с момента смешения с водой. (С учетом п. 5.1 СТО ДОКТОР БЕТОН 68686983-002-2011)

3.2

Подготовка воды для замешивания в емкости или в растворосмесителе

Емкость для замешивания должна быть с высокими краями

3.3

Отмерить и подготовить компоненты

Вода из расчета 0,12 - 0,13 л/кг сухой смеси

3.4

Засыпать сухую смесь в емкость с водой или растворосмеситель

Сухая смесь засыпается и одновременно перемешивается в течение 3 - 5 мин

3.5

Первое перемешивание раствора в бетоносмесителе или электродрелью со спиральной насадкой

До получения однородной тестообразной консистенции, 2 - 3 мин

3.6

Выдержка технологической паузы

5 мин

3.7

Второе перемешивание

2 - 3 мин

4

«ДОКТОР БЕТОН® - Е131»

4.1

Определение объема замеса

Количество раствора должно быть не более необходимого для использования в течение 2 ч с момента смешения с водой. (С учетом п. 5.1 СТО ДОКТОР БЕТОН 68686983-002-2011)

4.2

Введение добавки в зависимости от способа:

 

4.2.1 В виде порошка при дозировании сухих компонентов

Количество воды для затворения бетонной или растворной смеси следует уменьшить на 20 % по сравнению с исходной рецептурой. (Снижения подвижности бетона или раствора при этом не происходит)

 

4.2.2 В виде водного раствора добавки при дозировании воды для затворения бетонной смеси:

1. Водный раствор добавки готовится в соотношении (по массе): 1 кг добавки на 1 л воды (1:1).

 

4.2.2.1 Расчетное количество воды вливается в сухую смесь добавки (не наоборот)

2. В расчетный объем воды для затворения бетонной смеси включается объем воды, потраченной на затворение добавки

 

4.2.2.2 Перемешивание раствора электродрелью с насадкой

3. Перемешивание раствора в течение 2 мин

4.3

Первое перемешивание бетонной смеси с добавкой в бетоносмесителе или электродрелью со спиральной насадкой

До получения однородной тестообразной консистенции, 5 - 7 мин

4.4

Выдержка технологической паузы

10 мин

4.5

Второе перемешивание

3 - 5 мин. Водный раствор добавки должен быть использован для затворения не позднее чем через 5 мин

5

«ДОКТОР БЕТОН® - С212»

5.1

Определение объема замеса

Количество раствора должно быть не более необходимого для использования в течение 0,5 ч с момента затворения водой. (С учетом п. 5.1 СТО ДОКТОР БЕТОН 68686983-002-2011)

5.2

Подготовка воды для замешивания в емкости или в бетоносмесителе

Емкость для замешивания должна быть с высокими краями

 

Отмерить и подготовить компоненты

Вода из расчета 0,12 л/кг сухой смеси. (3,0 л воды на мешок смеси весом 25 кг)

5.3

Засыпать сухую смесь в емкость с водой или в бетоносмеситель

Сухая смесь засыпается в воду постепенно, при непрерывном размешивании

5.4

Первое перемешивание раствора в бетоносмесителе или электродрелью со спиральной насадкой

До получения однородной тестообразной консистенции. 2 - 3 мин

5.5

Выдержка технологической паузы

10 мин

5.6

Второе перемешивание

2 - 3 мин

6

«ДОКТОР БЕТОН® - С112»

6.1

Определение объема замеса

Количество раствора должно быть не более необходимого для использования в течение 0,5 ч с момента смешения с водой. (С учетом п. 5.1 СТО ДОКТОР БЕТОН 68686983-001-2012)

6.2

Подготовка воды для замешивания в емкости или в бетоносмесителе

Емкость для замешивания должна быть с высокими краями

6.3

Отмерить и подготовить компоненты

Вода из расчета 0,2 л/кг сухой смеси (5,0 л воды на мешок смеси весом 25 кг)

6.4

Засыпать сухую смесь в емкость с водой или в бетоносмеситель

Сухая смесь засыпается в воду постепенно, при непрерывном размешивании

6.5

Первое перемешивание раствора в бетоносмесителе или электродрелью со спиральной насадкой

До получения однородной тестообразной консистенции. 3 мин

6.6

Выдержка технологической паузы

10 мин

6.7

Второе перемешивание

2 - 3 мин

7

«ДОКТОР БЕТОН® - F112»

7.1

Определение объема замеса

Количество раствора должно быть не более необходимого для использования в течение 2 мин с момента смешения с водой. (С учетом п. 5.1 СТО ДОКТОР БЕТОН 68686983-002-2011)

7.2

Отмерить и подготовить компоненты

Из расчета 0,2 л/кг сухой смеси

7.3

Подготовка объема воды

Температура воды для затворения смеси должна быть от 20 до 50 °С. (Оптимальная 20 °С, повышение температуры воды ускоряет схватывание раствора, понижение - замедляет)

7.4

Засыпать сухую смесь в емкость с водой и перемешать

Сухая смесь засыпается и одновременно перемешивается руками (в защитных перчатках) в течение 1 мин

7.5

Перемешивание раствора вручную

1 мин

8

«ДОКТОР БЕТОН® - С113»

8.1

Определение объема замеса

Количество раствора должно быть не более необходимого для использования в течение 0,5 ч с момента смешения с эластификатором. (С учетом п. 5.1 СТО ДОКТОР БЕТОН 68686983-002-2012)

8.2

Подготовка компонентов раствора (определение количества эластификатора и сухой смеси)

Из расчета 0,8 л жидкого компонента (эластификатора) на 1 кг сухой смеси (20 л эластификатора на мешок сухой смеси весом 25 кг)

8.3

Засыпка сухой смеси в емкость с эластификатором

Сухая смесь засыпается в эластификатор постепенно, при непрерывном размешивании

8.4

Первое перемешивание раствора в растворосмесителе или перфоратором со спиральной насадкой

До получения однородной тестообразной консистенции. 5 - 7 мин

8.5

Выдержка технологической паузы

5 - 10 мин

8.6

Второе перемешивание

2 - 3 мин

5.4 Выполнение гидроизоляции

5.4.1 Общие указания

5.4.1.1 При устройстве гидроизоляции следует руководствоваться указаниями:

а) гидроизоляция поверхностей выполняется после устройства гидроизоляции элементов конструкции;

б) гидроизоляционный покровный слой или ремонтный состав марки «ДОКТОР БЕТОН®» следует наносить только на подготовленную в соответствии с п. 5.3.2 поверхность; нельзя наносить составы на гипсовую штукатурку или поверхности, не указанные в настоящем стандарте;

в) перед нанесением материала очищенную поверхность необходимо увлажнять водой до полного насыщения;

г) гидроизоляционное покрытие должно быть многослойным (не менее двух слоев);

д) гидроизоляция и/или ремонт больших площадей, объемов может быть выполнена мелкозернистым бетоном с добавкой марки «ДОКТОР БЕТОН® - Е131»;

е) покрытия большой толщины до 100 мм и выше могут быть получены как многослойной укладкой составов марки «ДОКТОР БЕТОН® - С212», так и бетоном (раствором) с комплексной добавкой марки «ДОКТОР БЕТОН® - Е131»;

ж) в процессе укладки при снижении подвижности смеси не допускается добавление воды, в этом случае рекомендуется периодическое перемешивание состава для поддержания пластичности;

и) нельзя использовать материал с признаками отвердения.

При укладке раствора «ДОКТОР БЕТОН® - D222, С212» на поверхность, сильно впитывающую воду (газобетон, пенобетон, кирпич и т.д.), в качестве грунтовки может использоваться дисперсия латекса в воде. Грунтовочный состав может наноситься вручную жесткой кистью или воздушным распылением.

5.4.1.2 Состав марки «ДОКТОР БЕТОН® - A111» наносится ручным или механическим способом. Толщину первого слоя рекомендуется обеспечивать около 1,2 мм, второго - 0,8 мм путем подбора расхода по п. 1 таблицы 3 и визуальным контролем. Второй слой наносится через 5 - 6 ч после первого. При работе кистью выдержки между нанесением слоев допускаются в пределах 1,5 - 2 ч.

5.4.1.3 Последовательность выполнения гидроизоляционных и ремонтных покрытий из составов, приготовленных в соответствии с требованиями по таблице 2, на основаниях, подготовленных по таблице 1, приведена в таблице 3.

5.4.2 Нанесение составов кистью

Нанесение кистью предусмотрено для тонкослойных покрытий марки «ДОКТОР БЕТОН® - А111, С112, С113». Второй слой не должен вызывать смещения первого слоя. При нанесении второго слоя кистью следует делать мазки в направлении, перпендикулярном первому нанесению. В случае снижения подвижности при нанесении состава «ДОКТОР БЕТОН®» допускается незначительно увлажнять обрабатываемую поверхность напылением, но без добавления воды в смесь. Расход при ручном нанесении, как правило, до 10 - 15 % выше, чем при механизированном напылении.

5.4.3 Нанесение составов напылением

5.4.3.1 Использование напыления составов позволяет добиться более качественного заполнения поверхностных пор и неровностей, что обеспечивает более высокую адгезию.

5.4.3.2 Для уменьшения потерь материала и повышения качества покрытий следует учитывать основные правила работы с воздушным агрегатом:

- давление воздуха, устанавливаемого регулятором пневмораспылителя, для составов марки «ДОКТОР БЕТОН® - А111, С112» должно быть 0,3 - 0,35 МПа и 0,2 - 0,6 МПа в случае для набрызга толстослойных покрытий из состава марок «ДОКТОР БЕТОН® - D222, С212»;

- пистолет-распылитель должен располагаться перпендикулярно обрабатываемой поверхности на расстоянии около 1 м при работе составов марки «ДОКТОР БЕТОН® - А111, С112», а при торкретировании толстослойных покрытий материалом марок «ДОКТОР БЕТОН® - D222, С212» - на расстоянии не более 10 см при первом проходе и до 15 - 20 см при последующих;

- для распыления применяются насадки к пистолету-распылителю для абразивных смесей с выходным диаметром сопла 4 - 6 мм для составов марок «ДОКТОР БЕТОН® - А111, С112» и насадкой на форсунку диаметром 14 - 16 мм при работе с составом марок «ДОКТОР БЕТОН® - D222, С212».

Таблица 3 - Последовательность выполнения гидроизоляционных и ремонтных покрытий

№ п.п

Наименование операции, применяемое оборудование

Требование, параметр

1

2

3

1

Нанесение покрытий из состава марки «ДОКТОР БЕТОН® - А111»

1.1

Ручное нанесение

1.1.1. Нанесение первого слоя раствора щеткой с нейлоновой щетиной и длиной ворса 50 - 100 мм

Слой покрытия должен быть равномерным и непрерывным толщиной около 1,2 мм. Контроль толщины по расходу. (Не размазывается аналогично краске, а наносится только в одном направлений)

1.1.2. Технологическая выдержка

2 - 4 ч

1.1.3. Нанесение второго слоя

На еще влажный первый слой. Общая толщина покрытия 2 мм. Второй слой наносится в направлении, противоположном или перпендикулярном нанесению первого слоя

1.2

Механизированное

напыление (торкретирование)

1.2.1. Нанесение раствора с помощью агрегатов воздушного нанесения (пневмораспылителей)

Правила работы с пневмораспылителем:

- давление воздуха пневмораспылителя должно быть 0,3 - 0,35 МПа;

- пистолет-распылитель располагают перпендикулярно обрабатываемой поверхности на расстоянии около 1 м;

- для распыления следует применять насадки к пистолету-распылителю для абразивных смесей с выходным соплом диаметром 4 - 6 мм;

- толщина одного слоя при напылении составляет 1 мм

1.2.2. Выполнение операций в последовательности по п.п. 1.1.1 - 1.1.3.

Допускаются шероховатости, наплывы, увеличивающие общую толщину не более чем на 3 мм. (Свеженанесенный слой может быть затерт круговыми движениями щеткой для обеспечения равномерного покрытия)

1.3

Нанесение сухой посыпкой

1.3.1. Укладка сухой смеси на подготовленную поверхность

Порошок сухой смеси марки «ДОКТОР БЕТОН® - А111» равномерно рассыпается на свежеуложенную бетонную смесь из расчета 1,5 кг/м2

1.3.2. Затирка поверхности с помощью затирочной машины

Для обеспечения скольжения затирочной машины и предотвращения быстрого высыхания нанесенного слоя, а также для улучшения проникающей способности сухой смеси в процессе затирки рекомендуется незначительно увлажнять материал распыляемой водой

2

Покрытия с применением добавки марки «ДОКТОР БЕТОН - Е131»

2.1

Укладка бетона (раствора)

В соответствии с проектом и требованиями к технологиям укладки бетонов (растворов)

3

Нанесение покрытий из состава марки «ДОКТОР БETOH® - D222, С212»

3.1

Ручное нанесение

3.1.1. Нанесение первого слоя раствора шпателем, мастерком

Слой покрытия должен быть равномерным и непрерывным толщиной от 6 до 20 мм (в зависимости от проекта). При нанесении «ДОКТОР БЕТОН® - С212» на вертикальные или потолочные поверхности слоем более 10 мм и более 20 мм на другие поверхности рекомендуется использование армирующей сетки

3.1.2. Технологическая выдержка (при многослойной укладке покрытий общей толщиной более 20 мм)

120 мин

 

3.1.3. Нанесение следующего слоя по п. 1.1.1.

Общая толщина покрытия должна быть не более 60 мм

 

3.1.4. Заглаживание поверхности теркой или мастерком

В первой фазе отвердения покрытия при необходимости для придания ему нужного вида. (Для лучшего сцепления с последующим отделочным слоем не ранее 30 мин после нанесения покрытия на его поверхности зубчатым шпателем в горизонтальном направлении допускается выполнять бороздки глубиной не более 1 мм)

3.2

Механизированное напыление (торкретирование)

3.2.1. Нанесение раствора с помощью агрегатов воздушного нанесения (пневмораспылителей)

Правила работы с пневмораспылителем:

- давление воздуха пневмораспылителя должно быть 0,2 - 0,6 МПа;

- пистолет-распылитель располагают перпендикулярно обрабатываемой поверхности на расстоянии не более 10 см при первом проходе и до 15 - 20 см при последующих;

- для распыления следует применять к пистолету-распылителю насадку на форсунку диаметром 14 - 16 мм;

- толщина одного слоя при напылении составляет не более 20 мм

 

3.2.2. Выполнение операций в последовательности по п.п. 1.1.1 - 1.1.3.

Допускаются шероховатости, наплывы, увеличивающие общую толщину слоя не более 5 мм

4

Нанесение покрытий из состава марки «ДОКТОР БЕТОН® - С 112»

4.1

В соответствии с п.п. 1.1, 1.2

Общая толщина покрытия составляет 3 мм. При ручном нанесении допускаются отдельные наплывы с общей толщиной слоя не более 4 мм

5

Нанесение покрытий из состава марки «ДОКТОР БЕТОН® - С113»

5.1

Ручное нанесение

5.1.1. Нанесение первого слоя раствора щеткой с нейлоновой щетиной и длиной ворса около 50 мм

Слой покрытия должен быть равномерный непрерывный толщиной около 2 мм. (Не размазывается аналогично краске, а наносится только в одном направлении)

 

5.1.2. Технологическая выдержка

4 - 6 ч.

В нормальных условиях (при температуре 20 °С и относительной влажности воздуха около 70 %)

 

5.1.3. Нанесение второго слоя

На затвердевший первый слой. Общая толщина покрытия 4 мм. Второй слой наносится в направлении, противопо­ложном или перпендикулярном нанесению первого слоя

5.2

Механизированное напыление

5.2.1. Нанесение раствора с помощью агрегатов воздушного нанесения (пневмораспылителей)

В соответствии с п. 1.2

 

5.2.2. Выполнение операций в последовательности по п.п. 5.1.2, 5.1.3.

Допускаются неровности, наплывы, увеличивающие общую толщину слоя не более чем на 5 мм

5.5 Заключительные операции

5.5.1 После окончания работ инструмент и оборудование немедленно промывают водой. При задержке очистки более 2 ч (из состава марки «ДОКТОР БЕТОН® - F112» более 5 мин) отвердевший раствор можно удалить только механическим способом.

5.5.2 После выполнения работ вскрытую упаковку с неиспользованным составом помещают в полиэтиленовый пакет или пересыпают в герметичную тару для защиты материала от насыщения влагой из окружающего воздуха.

5.5.3 Использованная упаковка, остатки материалов, неутилизируемый строительный мусор должны быть собраны в специально отведенных местах.

5.6 Режимы отвердения покрытий

5.6.1 Уход за покрытиями из сухих смесей марки «ДОКТОР БЕТОН®» следует начинать сразу после окончания укладки составов путем обеспечения температурно-влажностных условий и осуществлять на протяжении не менее 7 сут.

5.6.2 При относительной влажности воздуха менее 95 % следует предотвращать высыхание обработанных поверхностей, выдерживая их под слоем воды или постоянно увлажняя распыляемой водой. Увлажнение обработанных поверхностей следует выполнять на протяжении не менее 7 сут. Рекомендуется укладка на поверхность влагоемких материалов (опил 4 - 5 см, мешковина, брезент, геотекстиль и т.п.) с их увлажнением и укрытием полиэтиленовой пленкой. Обработанные поверхности не должны испытывать механических воздействий в период набора прочности.

5.6.3 Температурно-влажностные режимы следует соблюдать, предусматривая увлажнение материалов в период набора прочности в соответствии с таблицей 4, а параметры окружающего воздуха обеспечивать в соответствии с п. 5.2.1. Дополнительно следует учитывать требования технической документации на материалы, в которых может приводиться влажность воздуха и время сушки каждого слоя, температура поверхности, условия окружающей среды.

Таблица 4 - Режимы отвердения покрытий из составов марки «ДОКТОР БЕТОН®»

Марка

Режимы отвердения. Мероприятия по уходу

«ДОКТОР БЕТОН® - A111, В122, D222, С212, С112»

Увлажнение (предотвращение высыхания) с момента не ранее 24 ч после укладки и на протяжении не менее 7 сут. Выдержка под слоем воды, увлажнение распыляемой водой, укрытие поверхности влагоудерживающими материалами и полиэтиленовой пленкой

«ДОКТОР БЕТОН® - F112»

Поверхность материала не требует специального ухода

«ДОКТОР БЕТОН® - Е131»

В соответствии с нормами для бетонов (растворов)

«ДОКТОР БЕТОН® - С113»

Время начала эксплуатации гидроизоляционного покрытия зависит от температуры и относительной влажности воздуха. При температуре 20 °С и относительной влажности не ниже 90 % покрытие может непосредственно контактировать с напорной водой через 3 сут. Период отвердения покрытия при пониженных температурах увеличивается до 7 - 14 сут.

5.7 Защитные покрытия, декоративная отделка

5.7.1 Покрытия из материалов «ДОКТОР БЕТОН®» диффузионно проницаемы (кроме марки «ДОКТОР БЕТОН® - С113», имеющего большее сопротивление паропроницанию) для паровоздушной среды и следует учитывать, что при использовании их для гидроизоляции наружных поверхностей стен зданий нанесение на поверхность смесей «ДОКТОР БЕТОН®» защитных, отделочных паронепроницаемых материалов может приводить к неблагоприятным термовлажностным режимам ограждающих конструкций.

5.7.2 При отвердении покрытий, как только состав схватился, для придания ему нужного вида возможно заглаживание поверхности теркой или мастерком.

5.7.3 Обратную засыпку грунтом заглубленных конструкций следует проводить не ранее чем через 3 сут. после окончания влажностной обработки покрытия из составов «ДОКТОР БЕТОН®».

5.7.4 Резервуарные сооружения, обработанные материалом, можно заполнять водой через 7 сут. после окончания влажностной обработки покрытия.

5.7.5 Для состава марки «ДОКТОР БЕТОН® - F112» при использовании его для ликвидации протечек должен быть предусмотрен защитный слой из «ДОКТОР БЕТОН® - В122».

5.7.6 Отделочные материалы на органической основе (окрасочные, битумные, гидрофобизирующие, эпоксидные и др.) рекомендуется наносить не ранее чем через 28 сут. после нанесения составов «ДОКТОР БЕТОН® - A111, B122, D222, E131, C212, C112, C113», отделочные материалы на минеральной основе - не ранее чем через 14 сут. после нанесения материала. Керамическая плитка может наклеиваться любыми предназначенными для этих целей клеевыми средствами.

5.7.7 Покрытие из материала марки «ДОКТОР БЕТОН® - А111» перед нанесением отделочных материалов следует удалить не ранее чем через 28 сут. путем пескоструйной, водоструйной обработки высокого давления или механическим способом (металлическими щетками, скребками и др.).

5.7.8 Для лучшего сцепления с последующим отделочным слоем не ранее 30 мин после нанесения покрытия из составов марки «ДОКТОР БЕТОН® - D222, E131, C212» на его поверхности зубчатым шпателем в горизонтальном направлении допускается выполнять бороздки глубиной не более 1 мм.

5.8 Гидроизоляция элементов конструкций

5.8.1 Ликвидация протечек и ремонт трещин

а) Ликвидация локальных протечек

5.8.1.1 Приготавливают необходимое количество состава марки «ДОКТОР БЕТОН® - F112» по п. 5.3.3 и придают ему руками нужную форму.

5.8.1.2 Заполняют отверстие (углубление) на 2/3 объема (см. рисунок 5) составом и прижимают (по возможности с усилием) шпателем или рукой, удерживая в таком положении не менее 5 мин.

1 - ремонтируемая конструкция; 2 - место протечки; 3 - состав марки
«ДОКТОР БЕТОН® - F112»; 4 - состав «ДОКТОР БЕТОН® - В122 или D222»;
5 - состав марки «ДОКТОР БЕТОН® - А111»

Рисунок 5 - Ликвидация локальной протечки

5.8.1.3 Не ранее 1 ч после нанесения состава «ДОКТОР БЕТОН® - F112» оставшаяся часть объема ремонтируемого места заполняется материалом марки «ДОКТОР БЕТОН® - В122».

5.8.1.4 По окончании работ ремонтируемое место покрывают составом проникающего действия марки «ДОКТОР БЕТОН® - А111» по п. 1 таблицы 3.

б) Ликвидация безнапорных протечек через трещины и стыки

5.8.1.5 Подготовленную по п. 8 таблицы 2 небольшую порцию смеси «ДОКТОР БЕТОН® - F112» вдавить в полость течи и обеспечить прижим с усилием от руки (в защитной перчатке) в течение 5 мин. Процедура повторяется до тех пор, пока вся полость (трещина) не будет заполнена гидроизоляционным составом и полностью прекратится просачивание воды.

5.8.1.6 Процесс ликвидации протечек воды через длинные вертикальные трещины следует выполнять сверху вниз в несколько приемов с перерывами между укладкой порций составов не более 5 мин.

5.8.1.7 Заполнять полость трещины следует на глубину не более 2/3. Оставшаяся часть заполняется составом марки «ДОКТОР БЕТОН® - В122» с предварительной обработкой паза одним слоем состава проникающего действия и удаления его через 3 сут. После завершения гидроизоляции течи на место ремонта следует нанести состав проникающего действия марки «ДОКТОР БЕТОН® - А111».

в) Ликвидация напорных протечек через трещины и стыки

5.8.1.8 Ликвидация напорных течей выполняется путем постепенного уменьшения размера протечки следующими методами:

1) локальную трещину шириной до 30 мм герметизируют одной порцией смеси;

2) для напорной течи в виде трещины или стыка с шириной от 20 до 30 мм используется дренажная трубка диаметром около 20 мм, не имеющая адгезии к составу (из резинового шланга, пластика). Трубка закрепляется порциями материала марки «ДОКТОР БЕТОН® - F112» с целью устройства организованного дренажа. Трещина (стык) порциями герметизируется до дренажной трубки. Через 1 ч дренажная трубка удаляется, а отверстие герметизируется порцией сверхбыстротвердеющего материала марки «ДОКТОР БЕТОН® - F112»;

3) для ремонта и герметизации полостей шириной до 100 мм используется метод колец. В полость помещают кольцо с диаметром меньше размеров полости. Далее зазор вокруг кольца заполняют раствором марки «ДОКТОР БЕТОН® - F112». Через 10 мин кольцо вынимают и в уменьшенное отверстие вставляется новое кольцо меньшего диаметра, и снова зазор заполняют составом марки «ДОКТОР БЕТОН® - F112». Такая операция повторяется до тех пор, пока не останется отверстие диаметром 20 - 30 мм, которое можно закрыть одной порцией материала. Диаметр каждого следующего кольца должен отличаться от предыдущего не более чем на 20 - 40 мм.

5.8.1.9 Полости протечек не заполняют на 1/3 глубины (15 - 20 мм). Через 1 ч после укладки материала марки «ДОКТОР БЕТОН® - F112» в свободную часть объема трещины, полости или отверстия укладывают состав марки «ДОКТОР БЕТОН® - В122».

5.8.1.10 По завершении операций место ремонта покрывают составом проникающего действия марки «ДОКТОР БЕТОН® - А111» по п. 1 таблицы 3.

г) Ремонт трещин

5.8.1.11 При выборе метода ремонта трещин необходимо учитывать:

- подвижность (активность) трещин;

- ширину раскрытия трещины;

- степень агрессивности среды эксплуатации конструкций;

- температуру ремонтируемых поверхностей и воздуха;

- параметры ремонтных материалов (совместимость, соответствие условиям, вязкость (для инъектируемых материалов), тиксотропность и др.

5.8.1.12 Ремонт трещин при ширине раскрытия до 0,3 мм выполняют путем затирки составом марки «ДОКТОР БЕТОН® - А111» (рисунок 6, а). С этой целью подготовленная поверхность покрывается последовательно двумя слоями «ДОКТОР БЕТОН® - А111» по п. 1 таблицы 3.

5.8.1.13 Ремонт трещин при ширине раскрытия от 0,3 до 2,0 мм выполняют путем покрытия составом марки «ДОКТОР БЕТОН® - С113» по п. 6 таблицы 3 (см. рисунок 6, б) или методом инъектирования составом марки «ДОКТОР БЕТОН® - А111». При гидроизоляции составом марки «ДОКТОР БЕТОН® - С113» (см. рисунок 6) поверхности в местах активных трещин рекомендуется армировать полимерной щелочестойкой сеткой массой не менее 40 - 50 г/м2. Для этого сетка укладывается на свежеуложенный слой «ДОКТОР БЕТОН® - С113», утапливается валиком или шпателем и покрывается вторым слоем материала так, чтобы скрылись и зафиксировались в составе ячейки сетки. В данном случае расход материала марки «ДОКТОР БЕТОН® - С112» увеличивается в среднем на 1,5 кг/м2.

5.8.1.14 Ремонт трещин при ширине раскрытия от 2 до 5 мм выполняется с предварительной подготовкой (расшивкой) по п. 5.3.1 заполнением составом марки «ДОКТОР БЕТОН® - С112» и покрытием составом проникающего действия марки «ДОКТОР БЕТОН® - А111» (см. рисунок 6, в);

5.8.1.15 Ремонт трещин при ширине раскрытия более 10 мм выполняют с предварительной подготовкой (расшивкой) по п. 5.3.1, установкой эластичного заполнителя из вспененного полиэтилена (типа «Вилатерм»), заполнением составом марки «ДОКТОР БЕТОН® - С113» и покрытием места ремонта составом проникающего действия марки «ДОКТОР БЕТОН® - А111» (см. рисунок 6, г). Пример конструктивного обеспечения неподвижности активных трещин показан на рисунок 6, д.

а - с шириной раскрытия до 0,3 мм; б - с шириной раскрытия от 0,3 до 2,0 мм; в - с шириной
раскрытия от 2,0 до 5,0 мм; г - с шириной раскрытия более 5 мм; д - обеспечение неподвижности
трещины; 1 - ремонтируемая конструкция; 2 - вспененный полиэтилен («Вилатерм»); 3 - трещина;
4 - эластичный герметик («ДОКТОР БЕТОН® - С113»); 5 - штраба; 6 - арматура; 7 - состав марки
«ДОКТОР БЕТОН® - В122»

Рисунок 6 - Гидроизоляция активных трещин

5.8.2 Гидроизоляция стыков конструкций

5.8.2.1 Стыки следует подготовить в соответствии с п. 5.3.1. Штрабу покрывают раствором марки «ДОКТОР БЕТОН® - А111» по п. 1 таблицы 3, через 3 сут. зачищают и заполняют раствором марки «ДОКТОР БЕТОН® - В122» вручную (с помощью шпателя, мастерка) или механизированным способом. После нанесения удаляют излишки материала с поверхности и заглаживают, используя мастерок или терку.

5.8.2.2 По окончании работ ремонтируемое место покрывают составом проникающего действия марки «ДОКТОР БЕТОН® - А111» по п. 1 таблицы 3.

5.8.2.3 Весь комплекс работ по устройству изоляции стыков следует ежесменно фиксировать в журнале и составлять акты освидетельствования скрытых работ в соответствии с п. 6.7.

5.8.3 Гидроизоляция сопряжений

Для устройства большинства видов гидроизоляции в местах сопряжений взаимно перпендикулярных поверхностей должны быть выполнены скосы под углом 45° или галтели. При гидроизоляции из сухих смесей это требование обеспечивает устройство стыков со штрабой. Независимо от материалов и способа дальнейшей гидроизоляции на сопрягаемых частях слой из состава марки «ДОКТОР БЕТОН® - А111», которым предварительно обрабатывается штраба, должен быть уложен на 5 см больше в каждую сторону от сопряжения.

5.8.4 Гидроизоляция проходов труб

5.8.4.1 Конструктивное решение гидроизоляции различается для подвижных проходов труб и неподвижных. По показателю теплостойкости материалов учитывается их пригодность для эксплуатационных температур труб.

5.8.4.2 Для неподвижных проходов трубопроводов используется жесткий состав марки «ДОКТОР БЕТОН® - В122» с выполнением штрабы и гидроизоляции по методу гидроизоляции стыков по п. 5.8.2.

5.8.4.3 Для подвижных проходов используется материал марки «ДОКТОР БЕТОН® - С113».

5.8.5 Гидроизоляция стен от капиллярного увлажнения

5.8.5.1 В конструкции фундамента (рисунок 7) с одной или двух сторон (в зависимости от толщины стены) под углом 30° - 45° в шахматном порядке следует пробурить отверстия (шпуры) диаметром 20 - 25 мм. Расстояние между отверстиями по горизонтали 200 - 300 мм, по вертикали 150 - 200 мм, глубиной не менее 2/3 толщины стены. Бурение первых 100 мм следует выполнять на безударных режимах инструмента. Отверстия промыть водой и заполнить под давлением до 0,5 МПа цементно-песчаным раствором марки не менее M150 (класса В10) на мелком заполнителе (фракцией не более 0,63 мм).

а - выполнение гидроизоляции; б - расположение отверстий; 1 - кирпичная стена; 2 - отверстие;
3 - фундамент; 4 - состав «ДОКТОР БЕТОН® - А111»; 5 - состав «ДОКТОР БЕТОН® - В122»

Рисунок 7 - Устройство гидроизоляции от капиллярного увлажнения

5.8.5.2 После того как раствор схватился (через 5 - 8 час), шпуры повторно разбурить, очистить и заполнить на 2/3 под давлением до 0,5 МПа раствором марки «ДОКТОР БЕТОН® - А111».

5.8.5.3 Через 4 - 5 час после заливки растворной смесью марки «ДОКТОР БЕТОН® - А111» оставшуюся часть шпуров заполнить составом марки «ДОКТОР БЕТОН® - В122».

5.8.5.4 После завершения работ место ремонта покрывается составом проникающего действия марки «ДОКТОР БЕТОН® - А111» по п. 1 таблицы 3.

5.8.6 Гидроизоляция кирпичных стен

Поверхность кирпичной стены подготавливается по п. 5.3.2. Гидроизоляция может быть выполнена в следующих вариантах.

1. Выполняют штукатурный слой из состава марки «ДОКТОР БЕТОН® - D222, С212» по п. 3 таблицы 3. При толщине гидроизоляционного слоя свыше 10 мм для исключения отслоения или оползания слоя из материала марки «ДОКТОР БЕТОН® - С212» рекомендуется использовать металлическую сетку.

2. При помощи дюбелей устанавливают штукатурную сетку на расстоянии от стены 10 - 15 мм. Поверхность оштукатуривают цементно-песчаным раствором марки не ниже M150 (класса В10) с добавкой состава «ДОКТОР БЕТОН® - Е131» по п. 2 таблицы 3 слоем толщиной не менее 40 мм.

3. При помощи дюбелей устанавливают штукатурную сетку на расстоянии от стены 10 - 15 мм. Поверхность оштукатуривают цементно-песчаным раствором марки не ниже M150 (класса В10) слоем толщиной не менее 40 мм. На штукатурный слой не ранее чем через 14 сут. наносят покрытие из материала проникающего действия марки «ДОКТОР БЕТОН® - А111».

5.8.7 Крепление закладных металлических деталей

Подготавливают отверстие диаметром на 10 - 20 мм больше закрепляемой детали. Очищают и увлажняют поверхность отверстия водой. Заполняют отверстие раствором «ДОКТОР БЕТОН® - F122». Немедленно вставляют закрепляемую деталь, выдерживают 5 мин до полного схватывания. Через 30 мин затвердевший материал должен иметь прочность на сжатие не менее 1 МПа, а через 1 ч - не менее 3 МПа.

5.8.8 Ремонт поверхностных дефектов

5.8.8.1 В зависимости от характера дефекта и толщины покрытия ремонт выполняют растворной сухой смесью марки «ДОКТОР БЕТОН® - D222» или бетоном с применением добавки марки «ДОКТОР БЕТОН® - Е131».

5.8.8.2 Ремонтируемые участки с поверхностными дефектами должны быть выполнены, как показано на рисунке 8.

5.8.9 Устройство толстослойных покрытий

5.8.9.1 Для получения толстослойных покрытий предназначены смеси сухие марки «ДОКТОР БЕТОН® - D222, С212, Е131».

5.8.9.2 Толстослойное покрытие может быть выполнено путем послойной укладки составов марки «ДОКТОР БЕТОН® - D222, С212» (с выдержкой между укладкой последующих слоев 120 мин) либо бетона с добавкой марки «ДОКТОР БЕТОН® - Е131».

а - правильно; б - неправильно;
1 - ремонтируемое основание; 2 - раствор сухой смеси; 3 - арматура диаметром d;
не менее 2d или не менее 20 мм при d > 10 мм и не менее 10 мм при d < 10 мм

Рисунок 8 - Исполнение ремонтируемых сухими смесями участков
с поверхностными дефектами

5.8.9.3 При нанесении состава марки «ДОКТОР БЕТОН® - С212» на вертикальные или потолочные поверхности слоем более 10 мм для предотвращения оползания материала рекомендуется использовать армирующие сетки в зависимости от толщины слоя, мм:

- до 10 - без сетки;

- от 10 до 40 - по штукатурной металлической сетке;

- от 40 до 60 - по обезжиренной сетке «рабица» с размерами ячеек не более 50 мм.

5.8.9.4 Состав марки «ДОКТОР БЕТОН® - D222» является тиксотропным, поэтому на вертикальных и потолочных поверхностях покрытия толщиной до 20 мм из этого материала могут выполняться без армирования, а при больших толщинах - по п. 5.8.9.2.

5.8.10 Защита от коррозии металлических поверхностей

5.8.10.1 Конструктивные решения антикоррозионных покрытий устанавливаются проектом в зависимости от назначения строительных конструкций, условий эксплуатации и должны соответствовать требованиям СНиП 2.03.11-85 и СНиП 3.04.03-85.

5.8.10.2 Антикоррозионная защита должна выполняться в такой технологической последовательности:

- подготовка защищаемой поверхности под гидроизоляционное покрытие;

- подготовка материалов;

- нанесение грунтовки, обеспечивающей сцепление последующих слоев защитных покрытий с защищаемой поверхностью;

- нанесение защитного покрытия;

- отвердение покрытия.

3. Если ремонтируемая конструкция эксплуатируется в агрессивных к бетону и стали средах, рекомендуется обработать арматуру материалом марки «ДОКТОР БЕТОН® - С113».

6 Контроль качества работ

6.1 Общие положения

6.1.1 В соответствии с установленным законодательством принципом единства методов испытаний и измерений для контроля качества сухих смесей используются стандартные методы, а организацию производственного контроля качества гидроизоляционных работ надлежит осуществлять в соответствии с положениями СНиП 12-01-2004.

6.1.2 Контрольные испытания и измерения должны выполняться квалифицированным персоналом службы технического надзора, которая при необходимости формируется застройщиком, обеспечивающим ее проектной и нормативной документацией, а также контрольно-измерительным оборудованием и инструментами.

6.1.3 Контроль качества выполнения гидроизоляционных и ремонтных работ представляет собой процесс на всех этапах строительного производства, включающий следующие виды контроля:

- входной;

- оперативный;

- операционный (технологический);

- инспекционный;

- приемочный контроль следующих видов:

□ промежуточный;

□ приемосдаточный законченного строительства.

6.1.4 Оперативный контроль относится к непрерывному контролю, другие виды являются периодическими видами контроля.

6.1.5 Результаты контроля качества должны фиксироваться по п. 6.7.

6.2 Входной контроль

6.2.1 Входной контроль заключается в проверке соответствия поступающих на объект материалов, а также технической документации действующим нормативным документам. Контроль выполняется преимущественно регистрационным методом (по документам путем анализа представленных данных), а при необходимости - измерительным методом.

6.2.2 При входном контроле у всех поступающих на объект материалов следует проверять целостность упаковки и срок хранения от даты выпуска. При повреждении упаковки применение материалов для гидроизоляционных и ремонтных работ не допускается. При истечении гарантийного срока хранения использование материалов допускается после дополнительных испытаний, подтвердивших соответствие материала требованиям стандарта СТО ДОКТОР БЕТОН 68686983-002-2011*.

6.3 Оперативный контроль

6.3.1 Оперативный контроль осуществляется технической службой строительной организации для предотвращения возможных нарушений технологии путем непрерывного технического надзора за соблюдением соответствия выполняемого процесса проекту производства строительных работ.

6.3.2 Как на подготовительном, так и основном этапе строительства контролируется соблюдение требований к складированию и хранению материалов в соответствии с п. 13 СТО ДОКТОР БЕТОН 68686983-001-2011*. При выявлении возможных нарушений исполнитель работ обязан немедленно их устранить. В случае фактических отклонений от правил вопрос о возможности дальнейшего применения материалов без ущерба качеству строительства должен решаться исполнителем работ с привлечением при необходимости представителей проектировщика и надзорных органов. Принятое решение должно быть документировано.

6.3.3 Оперативный контроль при выполнении каждой операции технологического процесса заключается в проверке соответствия регламентированных показателей требованиям нормативно-технических документов (таблица 5).

Таблица 5 - Показатели для выполнения оперативного контроля

Наименование показателя

Требования НТД

1 Требования к складированию и хранению материалов

По п. 13 СТО ДОКТОР БЕТОН 68686983-001-2011

2 Климатические условия и температура окружающей среды, материалов и обрабатываемой поверхности

Раздел 5.2.1 настоящего стандарта

3 Температура воды для затворения

По п.п. 5.2.1, 6.3.4

4 Температура растворных свежеприготовленных смесей

По п. 6.3.4

5 Точность, очередность дозирования и время перемешивания

По п. 5.1 СТО ДОКТОР БЕТОН 68686983-002-2011*

6 Подвижность, цвет, однородность (отсутствие неразмешанных включений) смеси при перемешивании

Визуальный осмотр

7 Правильность нанесения составов

По п. 5.4

8 Продолжительность времени использования раствора

По п. 5.1 СТО ДОКТОР БЕТОН 68686983-002-2011*

9 Толщина отдельных слоев и общая толщина наносимого покрытия

По п. 6.4.4

10 Соблюдение режимов отвердения свежеуложенных покрытий

По п. 5.6

11 Соблюдение норм охраны труда

Раздел 7

6.3.4 Температуру растворных свежеприготовленных смесей в соответствии с ГОСТ 28013 измеряют термометром, погружая его в смесь на глубину не менее 5 см.

6.3.5 При выполнении гидроизоляционных работ осуществляют постоянный контроль температурных условий с фиксацией их в журнале. Температура воздуха в помещениях при обогреве замеряется регулярно, не реже трех раз в смену, как правило, в 9, 13 и 17 ч. Контроль температуры воздуха следует производить в 5 - 6 точках вблизи наружных стен на расстоянии 0,5 м от пола. За среднесуточную температуру принимается среднее арифметическое значение от частных замеров.

6.3.6 В процессе оперативного контроля при выявлении возможных отклонений от заданных параметров, нормативных требований немедленно принимаются меры по обеспечению требований проекта производства работ, действующих норм и настоящего стандарта.

6.4 Операционный контроль

6.4.1 Операционный контроль осуществляется с целью проверки соответствия качественных показателей сухих смесей положениям СТО ДОКТОР БЕТОН 68686983-001-2011* после завершения определенных технологических операций, а также документированных результатов входного контроля и правильности ведения исполнительной документации. Осуществляется измерительным методом или визуальным осмотром. При операционном контроле проверяется:

- качество подготовки изолируемых поверхностей по следующим показателям:

□ степень отвердения основания из свежего бетона (раствора);

□ отсутствие раковин и трещин (кроме поверхностей под ремонтные покрытия), непрочных участков - осмотром и простукиванием;

□ ровность (под гидроизоляционные покрытия) - наложением на поверхность рейки в различных направлениях с замером просветов линейкой;

□ правильность выполнения закруглений внутренних и внешних углов в местах сопряжения поверхностей - визуальным осмотром, замерами или наложением шаблона;

□ чистота поверхностей - по отсутствию строительного мусора и загрязнений;

- качество гидроизоляционных покрытий по следующим показателям:

□ непрерывность слоя - визуальным осмотром;

□ толщина толстослойных покрытий (в процессе укладки - по «маячкам», а после укладки, до отвердения - проволочным щупом диаметром 1 - 1,5 мм с делениями);

□ отсутствие видимых механических повреждений и других дефектов;

□ ровность - в соответствии с требованиями проекта;

□ отсутствие признаков расслоения материала (отсутствие цементного «молочка») -визуальным осмотром;

□ прочность сцепления слоя гидроизоляции с основанием - по ГОСТ 31356;

□ отсутствие отслаивания от бетонной поверхности - простукиванием покрытия легким деревянным молотком;

□ отсутствие оползаний покрытий - визуальным осмотром;

□ отсутствие протечек воды - визуальным осмотром;

- соответствие технологических характеристик состава сухой смеси или обработанного бетона (для составов проникающего действия) проектным требованиям - в соответствии с требованиями п. 5.1 СТО ДОКТОР БЕТОН 68686983-002-2011*.

6.4.2 Особого внимания требуют элементы гидроизоляции, сопряжения гидроизоляционного покрытия с элементами конструкций.

6.4.3 Дефекты в любом слое покрытия, которые могут привести к снижению защитных свойств покрытия, или дефекты, ухудшающие внешний вид, должны быть устранены (отремонтированы) перед нанесением следующего слоя. Укладка конструктивных слоев гидроизоляции допускается после освидетельствования правильности выполнения соответствующего нижележащего слоя с составлением акта освидетельствования скрытых работ. В случае необходимости выполняется более глубокая проверка качества работ и материалов в соответствии с п. 5.1 СТО ДОКТОР БЕТОН 68686983-002-2011*.

6.4.4 Контроль качественных показателей гидроизоляционных покрытий выполняется в соответствии с данными таблицы 6.

6.5 Инспекционный контроль

6.5.1 Инспекционный контроль предназначен для проверки качества и соответствия требованиям НТД ранее выполненных видов производственного контроля и может проводиться на любой стадии строительства (летучий контроль). Инспекционный контроль, как правило, назначается заказчиком, перечень проверяемых показателей определяется выборочно.

6.5.2 Места вынужденных вскрытий должны быть заделаны материалами той же марки и усилены дополнительным слоем, перекрывающим места вскрытия не менее чем на 50 мм от кромок.

Таблица 6 - Контроль качества гидроизоляционных покрытий

Наименование показателя качества

Методы проверки

Требования и допустимые отклонения

1

2

3

Подготовка изолируемых поверхностей под гидроизоляцию

1. Степень отвердения основания из свежего бетона (раствора)

Визуальный осмотр

Не менее 14 сут. после укладки бетона (раствора)

2. Отсутствие трещин и раковин (кроме поверхностей под ремонтные покрытия), непрочных участков

Визуальный осмотр и про­стукивание

Трещины не допускаются

3. Ровность (под гидроизоляционные покрытия)

Наложение на поверхность рейки в различных направлениях с замером просветов линейкой

В соответствии с требованиями к конструкциям и материалам

4. Правильность выполнения закруглений внутренних и внешних углов в местах сопряжения поверхностей

Визуальный осмотр. Замеры линейкой или наложением шаблона

Наружные углы должны иметь закругление или скос не менее 10 мм, внутренние - закругление радиусом не менее 5 см или поверхность в виде плинтуса под углом 45°

5. Чистота поверхностей

Визуальный осмотр

Не должно быть загрязнений, пыли, продуктов очистки

Элементы гидроизоляции

1. Полнота заполнения, герметичность гидроизоляции стыков, швов, трещин

Визуально. Металлическим щупом с делениями

Не допускаются пустоты, трещины, сколы, посторонние включения, фильтрация воды

2. Прочность уложенного в стыки или швы раствора сухой смеси

По п. 5.1 СТО ДОКТОР БЕТОН 52304465-002-2011*

Серии образцов (не менее трех образцов на группу стыков, бетонируемых в течение конкретной смены), изготовленных на месте укладки

Гидроизоляционные покрытия

1. Внешний вид

Визуальный осмотр

Не допускаются механические повреждения, посторонние включения, фильтрация воды, оползания, наплывы

2. Непрерывность

Визуальный осмотр

На поверхности основания не допускается пропущенных участков покрытия

3. Сцепление с защищаемой поверхностью

Визуальный осмотр, простукивание деревянным молотком, по ГОСТ 31356

На поверхности не допускается отслаивание покрытия (в случае отслоения дефект устранить повторным нанесением состава «ДОКТОР БЕТОН®»)

4. Ровность гидроизоляционного покрытия

Двухметровой рейкой и замером просветов

Отклонение поверхности от плоскости не должно превышать требований проекта

5. Ровность облицовочного или отделочного покрытия

Двухметровой рейкой и замером просветов

В соответствии с требованиями проекта и требованиями к облицовочным или отделочным покрытиям

6. Физико-механические параметры материала покрытий

В соответствии с п. 5.1 СТО ДОКТОР БЕТОН 68686983-002-2011*

7. Толщина покрытий для марок, мм:

-

«ДОКТОР БЕТОН® - А111» (общая в два слоя), не менее

Визуально. По расходу при укладке

2 мм

При ручном нанесении допускаются отдельные наплывы с общей толщиной слоя не более 3 мм

«ДОКТОР БЕТОН® - D222»:

Визуально. Металлическим щупом с делениями

6

- одного слоя, не более

- общая, не более

20

«ДОКТОР БЕТОН® - С212»:

20

- одного слоя, не более

- общая, не более

60

«ДОКТОР БЕТОН® - С112»:

3 мм

- общая, не более

При ручном нанесении допускаются отдельные наплывы с общей толщиной слоя не более 4 мм

«ДОКТОР БЕТОН® - С113»:

2

- одного слоя, не менее

- общая, не менее

4

6.6 Приемочный контроль

6.6.1 Приемочный контроль, выполняемый по завершении строительства объекта или его этапов, осуществляется технической службой заказчика с представителями исполнителей в целях проверки и заключительной оценки соответствия выполненных работ требованиям законодательства, проектной и нормативной документации путем сплошной проверки.

6.6.2 До приемки законченного строительством объекта (части объекта) надлежит выявить и устранить все дефекты в гидроизоляции. До устранения выявленных недостатков и оформления соответствующих актов выполнение последующих работ недопустимо.

6.6.3 При окончательной приемке гидроизолированных конструкций должны быть предъявлены документы в соответствии с п. 6.7.

6.6.4 Приемка гидроизоляции производится до устройства на ней защитного или отделочного слоя.

6.6.5 Соответствие выполненных работ проекту, настоящему стандарту и нормативным документам проверяется при следующих видах приемочного контроля:

а) промежуточная приемка - по мере окончания работ на отдельных участках;

б) заключительный приемо-сдаточный контроль - объекта завершенного строительства.

6.6.6 Предельные отклонения фактических параметров гидроизоляции конструкций не должны превышать при приемке значений, приведенных в таблице 6.

6.6.7 Контроль при промежуточной приемке возлагается на представителя заказчика. При разногласиях между заказчиком и подрядчиком должна создаваться комиссия из представителей участников строительного процесса - заказчика, подрядчика, проектировщика, специалистов строительной лаборатории и др.

6.6.8 В случае проведения контроля качества по образцам все места взятия пробных образцов из конструкций необходимо отремонтировать и гидроизолировать дополнительно. Места обязательного контроля должны быть указаны в проекте.

6.6.9 Допускается при соответствующем обосновании назначать требования к объемам и методам контроля, отличающиеся от предусмотренных настоящим стандартом.

6.7 Документальное сопровождение контроля качества

6.7.1 Документация контроля качества должна содержать:

- журналы гидроизоляционных работ;

- акты освидетельствования скрытых работ;

- акты промежуточной приемки (если предусмотрены);

- акты испытаний гидроизоляции конструкций (если испытания предусмотрены);

- сертификаты, паспорта и необходимые заключения, удостоверяющие качество примененных для гидроизоляции материалов;

- образцы гидроизоляционных материалов и готового покрытия для сопоставления с требованиями проекта, настоящего стандарта и положениями действующих норм;

- при приемочном контроле должна быть представлена исполнительная документация с внесенными (при их наличии) отступлениями, допущенными и согласованными в соответствующем порядке.

6.7.2 Результаты всех видов контроля качества гидроизоляционных и ремонтных работ с использованием сухих смесей «ДОКТОР БЕТОН®» должны быть зафиксированы в общих или специальных журналах производства работ или других документах, предусмотренных в данной организации действующей системой управления качеством.

6.7.3 Для оперативного контроля качества специальной документации не предусматривается, замечания могут быть внесены в журнал производства работ.

6.7.4 После устранения всех дефектов необходимо по установленной форме составлять акт освидетельствования скрытых работ, разрешающий выполнять последующие работы.

6.7.5 Оформление актов освидетельствования скрытых работ в случаях, когда дальнейшие работы должны начинаться после длительного перерыва, следует осуществлять непосредственно перед производством последующих работ. Если эти работы планируются с перерывом более 6 мес после завершения поэтапной приемки, перед возобновлением работ процедуру проверки следует выполнить повторно с оформлением соответствующих актов.

6.7.6 Результаты приемочного контроля гидроизоляционных работ по завершении приемки законченного строительством объекта надлежит оформлять актом, которым подрядчик сдает, а заказчик принимает объект согласно договору между ними.

7 Охрана труда при использовании сухих смесей

7.1 Обеспечение правил техники безопасности

7.1.1 Выполнение работ по гидроизоляции и ремонту бетонных конструкций с применением материалов «ДОКТОР БЕТОН®» должно быть в соответствии с требованиями СНиП 12-03-2001, СНиП 12-04-2003.

7.1.2 К работе по гидроизоляции и ремонту бетонных конструкций допускаются лица не моложе 18 лет, прошедшие профессиональную подготовку, медицинское освидетельствование и инструктаж по технике безопасности.

7.1.3 Приспособления, предназначенные для обеспечения безопасности работающих и удобства выполнения работ, должны соответствовать требованиям действующих стандартов и технических условий.

7.1.4 За соблюдение правил техники безопасности при производстве гидроизоляционных и ремонтных работ следит ответственное лицо предприятия, выполняющего работы.

7.1.5 Использование механизмов, приспособлений, инвентаря и инструментов должно быть в соответствии с инструкциями по их эксплуатации.

7.1.6 На рабочих местах должен быть расположен противопожарный инвентарь.

7.1.7 При использовании соляной кислоты в процессе подготовки к работе не допускать ее попадания на открытые участки тела. В случае попаданий на кожу кислоту следует тщательно смыть большим количеством воды.

7.1.8 Рабочую зону необходимо оградить, оборудовать соответствующими знаками, указателями, с наступлением темноты - сигнальными лампами красного цвета в соответствии с требованиями ГОСТ Р 12.4.026.

7.1.9 При работе с сухими смесями все работающие должны быть обеспечены средствами защиты: комбинезонами из плотной ткани, ботинками на резиновой подошве, резиновыми перчатками или рукавицами, защитными очками, респираторами (в соответствии с требованиями ГОСТ 12.4.041) или марлевыми повязками для защиты лица.

7.1.10 При попадании составов «ДОКТОР БЕТОН®» на кожу и в глаза немедленно промыть их большим количеством воды. Если раздражение не проходит, необходимо обратиться за медицинской помощью.

7.1.11 При выполнении операций с частыми соприкосновениями с мокрыми и холодными растворами рабочие места оборудуются устройствами для обогрева рук.

7.2 Обеспечение экологической безопасности

7.2.1 При проведении ремонтных и гидроизоляционных работ с применением материалов «ДОКТОР БЕТОН®» следует осуществлять мероприятия по охране окружающей среды в соответствии с требованиями СанПиН 2.2.3.1385-03.

7.2.2 Территория стройплощадки после окончания работ по ремонту бетонных конструкций должна быть очищена от строительного мусора с вывозом его в специально отведенные места. Не допускается сжигать отходы, загрязняющие окружающую среду.

7.2.3 Слив воды от промывки бетоносмесителей и другого оборудования следует производить в специально предусмотренные места.

7.2.4 Проводить уборку помещений сжатым воздухом не допускается.

7.2.5 Освобождающаяся упаковка сухих смесей регулярно удаляется в специально отведенные для этой цели места.

7.2.6 Отделения приготовления сухих смесей следует располагать в изолированных помещениях.

7.2.7 Следует определить места временного хранения неутилизированных отходов, чтобы исключить загрязнение окружающей среды.

8 Указания по применению материалов

Применение смесей «ДОКТОР БЕТОН®» в строительстве необходимо осуществлять в соответствии с положениями следующих стандартов:

- СТО ДОКТОР БЕТОН 68686983-001-2011*;

- СТО ДОКТОР БЕТОН 68686983-002-2011*;

- СТО ДОКТОР БЕТОН 68686983-004-2013;

- СТО ДОКТОР БЕТОН 68686983-005-2013

- ГОСТ 28013;

- СП 82-101.

Приложение А

(обязательное)

Нормативные ссылочные документы

Обозначение документа

Название

Раздел

184-ФЗ

Закон о техническом регулировании

Предисловие, 1

ГОСТ 1.0-2004

Стандартизация в Российской Федерации. Основные положения

Предисловие, 1

ГОСТ 1.4-2004

Стандартизация в Российской Федерации. Стандарты организаций. Общие положения

Предисловие, 1

ГОСТ 4.233-86

Система показателей качества продукции. Строительство. Растворы строительные. Номенклатура показателей

3

ГОСТ 12.1.005-88*

Общие санитарно-гигиенические требования к воздуху рабочей зоны

11

ГОСТ 12.1.007-76*

ССБТ. Вредные вещества. Классификация и общие требования безопасности

11

ГОСТ 12.4.021-75*

ССБТ. Системы вентиляции. Общие требования

11

ГОСТ Р 12.4.026-2001

Цвета сигнальные, знаки безопасности и разметка сигнальная. Назначение и правила применения. Общие технические требования и характеристики. Методы испытаний

7.1

ГОСТ 12.4.041-2001

ССБТ. Средства индивидуальной защиты органов дыхания фильтрующие. Общие технические требования

7.1

ГОСТ 23732-79

Вода для бетонов и растворов. Технические условия

6, 10

ГОСТ 28013-98*

Растворы строительные. Общие технические условия

6.3, 8

ГОСТ 31189-2003

Смеси сухие строительные. Классификация

4

ГОСТ 31356-2007

Смеси сухие строительные на цементном вяжущем. Методы испытаний

Предисловие,

8, 10, 14, 6

ГОСТ 31357-2003

Смеси сухие строительные на цементном вяжущем. Общие технические условия

4

СНиП 2.03.11-85

Защита строительных конструкций от коррозии. Издание 2003

4, 10

СНиП 3.03.01-87

Изоляционные и отделочные покрытия

4

СНиП 3.04.03-85

Защита строительных конструкций и сооружений от коррозии

1, 4

СНиП 12-01-2004

Организация строительства

Предисловие, 5.2, 6.1

СНиП 12-03-2001

Безопасность в строительстве. Часть 1

4, 7.1

СНиП 12-04-2003

Безопасность в строительстве. Часть 2

4, 7.1

СНиП 52-01-2003

Бетонные и железобетонные конструкции. Основные положения

4

СанПиН 2.2.3.1385-03

Гигиенические требования к предприятиям производства строительных материалов и конструкций

7.2

СП 82-101-98

Приготовление и применение растворов строительных

8

Приложение Б

(рекомендуемое)

Использование ручного инструмента и пневмораспылителей

1 Высокое качество смешивания, производительность работ обеспечивают специальные гравитационные бетоносмесители мощностью не менее 2,2 кВт. Широко распространены винтовые смесительные насадки на дрели. Следует учитывать, что при недостаточной мощности дрели инструмент не обеспечит вращения лопастей с нужной скоростью, и при отсутствии запасного инструмента это может привести к потере материала с ограниченным сроком использования.

2 Смесительная насадка должна быть такой длины, чтобы перемешать материал по всей глубине, не допуская менее интенсивных зон перемешивания на дне и стенках смесительной емкости. Как показала практика, наиболее качественное перемешивание высоковязких материалов получается, когда насадки обеспечивают движение жидкости в направлении «сверху - вниз - в сторону - вверх». Длина штока насадки должна быть примерно в два раза больше глубины емкости.

3 Применение различных видов перемешивающих насадок (самодельных, из подручных средств) чаще всего приводит к снижению качества перемешивания.

4 Подготовку бетонных поверхностей можно выполнять, используя перфоратор, игольчатый пистолет или водопескоструйную установку.

5 Комплект оборудования для выполнения работ по ремонту бетонных конструкций может включать: легкие алюминиевые разравниватели бетонной смеси; различной формы гладилки, затирки для оформления поверхности в местах примыкания к вертикальным поверхностям; щетки волосяные, позволяющие придать поверхности покрытия определенный вид.

Ключевые слова: материалы марки «ДОКТОР БЕТОН», сухие строительные смеси, гидроизоляция, методы ремонта, методы контроля качества

 

Руководители разработки:

 

 

 

 

 

Директор ООО «ДОКТОР БЕТОН»

_____________

подпись

А.В. Шуняев

 

 

 

Технический директор
ООО «ДОКТОР БЕТОН»

_____________

подпись

Р.Р. Шафиков

 

 

 

Исполнители:

 

 

 

 

 

профессор кафедры сервиса и технической
эксплуатации транспортных и
технологических машин УГЛТУ
кандидат техн. наук

_____________

подпись

В.В. Побединский

 

 

 

Согласовано:

 

 

 

 

 

Зам. генерального директора
ОАО «ЦНИИПромзданий»
кандидат техн. наук, профессор,
Заслуженный строитель России

_____________

подпись

С.М. Гликин

 

 

 

Руководитель отдела
кровель и гидроизоляции
ОАО «ЦНИИПромзданий»
кандидат техн. наук,
Почетный строитель России

_____________

подпись

А.М. Воронин

 

 



© 2013 Ёшкин Кот :-)