Информационная система
«Ёшкин Кот»

XXXecatmenu

ФЕДЕРАЛЬНОЕ АГЕНТСТВО
ПО
ТЕХНИЧЕСКОМУ РЕГУЛИРОВАНИЮ И МЕТРОЛОГИИ

НАЦИОНАЛЬНЫЙ
СТАНДАРТ
РОССИЙСКОЙ
ФЕДЕРАЦИИ

ГОСТ Р ЕН
1434-2-2011

ТЕПЛОСЧЕТЧИКИ

Часть 2

Требования к конструкции

EN 1434-2:2007

Heat meters - Part 2: Constructional requirements

(IDT)

Москва

Стандартинформ

2013

Предисловие

Цели и принципы стандартизации в Российской Федерации установлены Федеральным законом от 27 декабря 2002 г. № 184-ФЗ «О техническом регулировании», а правила применения национальных стандартов Российской Федерации - ГОСТ Р 1.0-2004 «Стандартизация в Российской Федерации. Основные положения»

Сведения о стандарте

1 ПОДГОТОВЛЕН Федеральным бюджетным учреждением «Государственный региональный центр стандартизации, метрологии и испытаний в Томской области» (ФБУ «Томский ЦСМ») на основе собственного аутентичного перевода на русский язык европейского регионального стандарта, указанного в пункте 4

2 ВНЕСЕН Управлением метрологии Федерального агентства по техническому регулированию и метрологии

3 УТВЕРЖДЕН И ВВЕДЕН В ДЕЙСТВИЕ Приказом Федерального агентства по техническому регулированию и метрологии от 13 декабря 2011 г. № 1110-ст

4 Настоящий стандарт идентичен европейскому региональному стандарту ЕН 1434-2:2007 «Теплосчетчики. Часть 2. Требования к конструкции». (EN 1434-2:2007 «Heat meters. Part 2. Constructional requirements»)

При применении настоящего стандарта рекомендуется использовать вместо ссылочных международных стандартов соответствующие им национальные стандарты Российской Федерации, сведения о которых приведены в дополнительном приложении ДА

5 ВЗАМЕН ГОСТ Р ЕН 1434-2-2006

Информация об изменениях к настоящему стандарту публикуется в ежегодно издаваемом информационном указателе «Национальные стандарты», а текст изменений и поправок - в ежемесячно издаваемых информационных указателях «Национальные стандарты». В случае пересмотра (замены) или отмены настоящего стандарта соответствующее уведомление будет опубликовано в ежемесячно издаваемом информационном указателе «Национальные стандарты». Соответствующая информация, уведомление и тексты размещаются также в информационной системе общего пользования - на официальном сайте Федерального агентства по техническому регулированию и метрологии в сети Интернет

СОДЕРЖАНИЕ

1 Область применения. 4

2 Нормативные ссылки. 5

3 Комплект датчиков температуры.. 5

3.1 Общие положения. 5

3.2 Конструкция. 6

3.2.1 Общие положения. 6

3.2.2 Материал защитного корпуса и гильзы датчиков температуры.. 6

3.2.3 Размеры прямо устанавливаемых коротких датчиков - тип DS. 6

3.2.4 Размеры прямо устанавливаемых длинных датчиков - тип DL.. 6

3.2.5 Размеры длинных датчиков, устанавливаемых в гильзах, - тип PL.. 7

3.2.6 Размеры гильз датчиков температуры.. 7

3.2.7 Требования к конструкции короткого датчика и его установке в трубопровод. 8

3.2.8 Требования к конструкции длинного датчика и его установке в трубопровод. 8

3.3 Платиновый датчик температуры.. 9

3.3.1 Параметры двухпроводного датчика температуры.. 9

3.3.2 Характеристики сопротивления. 9

3.3.3 Кабели сигнала. 9

3.3.4 Двухпроводные датчики температуры.. 10

3.3.5 Четырехпроводные датчики температуры.. 10

3.3.6 Время реакции. 10

3.4 Другие датчики температуры.. 10

4 Датчики расхода. 10

4.1 Максимально допустимое рабочее давление. 10

4.2 Размеры.. 11

4.3 Выходной тестовый сигнал. 12

4.4 Регулировочное устройство. 12

5 Вычислители. 12

5.1 Размеры вычислителей для бытового применения. 12

5.2 Разъемы. Технические данные и идентификация. 12

5.2.1 Общие положения. 12

5.2.2 Разъемы для кабелей сигнала. 13

5.2.3 Разъемы для подключения к источнику питания. 14

5.3 Батареи. 14

5.4 Динамические характеристики. 14

5.5 Выходной тестовый сигнал. 14

5.6 24-часовое прерывание напряжения питания. 14

6 Единый теплосчетчик. 15

7 Интерфейсы между составными элементами теплосчетчика. 15

7.1 Определение интерфейсов импульсных устройств. 15

7.1.1 Общие положения. 15

7.1.2 Электрическое подключение. 15

7.1.3 Классификация импульсных выходных устройств. 15

7.1.4 Временные и электрические параметры импульсных выходных устройств (отличные от тестовых сигналов) 16

7.1.5 Классификация импульсных входных устройств. 16

7.1.6 Временные и электрические параметры импульсных входных устройств. 17

7.1.7 Совместимость. 17

8 Маркировка и опломбирование. 17

8.1 Маркировка. 17

8.1.1 Общие положения. 17

8.1.2 Комплект датчиков температуры.. 17

8.1.3 Гильзы.. 18

8.1.4 Датчик расхода. 18

8.1.5 Вычислитель. 18

8.1.6 Единый теплосчетчик. 18

8.2 Места для маркировки. 19

8.3 Опломбирование. 19

Приложение А (справочное) Примеры датчиков температуры.. 19

Приложение В (обязательное) Входные и выходные тестовые сигналы.. 26

Приложение С (справочное) Низковольтное питание теплосчетчиков и их составных элементов. 28

Приложение ZA (справочное) Сведения о соответствии между европейским региональным стандартом ЕН 1434-2:2007 и основополагающими требованиями Директивы ЕС 2004/22/ЕС, MID.. 29

Приложение ДА (справочное) Сведения о соответствии ссылочных международных стандартов ссылочным национальным стандартам Российской Федерации. 29

Библиография. 30

Введение

к национальным стандартам Российской Федерации ГОСТ Р ЕН 1434-1-2011 -
ГОСТ Р ЕН 1434-6-2011
под общим заголовком «Теплосчетчики»

Целью национальных стандартов Российской Федерации под общим заголовком «Теплосчетчики» является прямое применение в Российской Федерации европейского стандарта ЕН 1434 под общим заголовком «Теплосчетчики» как основы для изготовления и поставки объекта стандартизации по договорам (контрактам), в том числе на экспорт.

ГОСТ Р ЕН 1434-1 - ГОСТ Р ЕН 1434-6 представляют собой полные идентичные тексты следующих европейских стандартов:

ЕН 1434-1:2007 «Теплосчетчики. Часть 1. Общие требования»;

ЕН 1434-2:2007 «Теплосчетчики. Часть 2. Требования к конструкции»;

ЕН 1434-3:2009 «Теплосчетчики. Часть 3. Обмен данными и интерфейсы»;

ЕН 1434-4:2007 «Теплосчетчики. Часть 4. Испытания в целях утверждения типа»;

ЕН 1434-5:2007 «Теплосчетчики. Часть 5. Первичная поверка»;

ЕН 1434-6:2007 «Теплосчетчики. Часть 6. Установка, ввод в эксплуатацию, контроль, техническое обслуживание».

ГОСТ Р ЕН 1434 соответствует международным рекомендациям Международной организации по законодательной метрологии (МОЗМ) MP 75:2002 «Счетчики тепла».

При производстве и метрологическом контроле теплосчетчиков в Российской Федерации учитывают следующие дополнительные требования:

- требования безопасности (электробезопасности, пожаробезопасности) теплосчетчиков и требования к питающей сети должны соответствовать нормативным документам, действующим на территории Российской Федерации;

- детали, соприкасающиеся с водой, должны быть выполнены из материалов, допущенных к применению Министерством здравоохранения и социального развития Российской Федерации;

- порядок организации и проведения испытаний в целях утверждения типа и поверки теплосчетчиков должны соответствовать нормативным документам, действующим на территории Российской Федерации.

К терминам и понятиям, применяемым в ГОСТ Р ЕН 1434, адекватным, но отличным по написанию от применяемых в нормативных документах, действующих на территории Российской Федерации, в тексте стандарта в виде сносок даны пояснения.

Введение

к европейскому стандарту ЕН 1434-2:2007 «Теплосчетчики. Часть 2.
Требования
к конструкции»

Настоящий европейский стандарт разработан Техническим комитетом Европейского комитета по стандартизации СЕН/ТК 176 «Теплосчетчики», секретариат которого находится в подчинении Организации по стандартизации Дании.

Настоящий стандарт предназначен для применения в статусе национальных стандартов путем опубликования идентичного текста или признания стандарта до августа 2007 года, а возможно - противопоставления национальным стандартам до августа 2007 года.

Настоящий стандарт принят взамен ЕН 1434-2:1997.

Европейские стандарты под общим заголовком «Теплосчетчики» включают в себя также следующие части:

Часть 1 - Общие требования.

Часть 3 - Обмен данными и интерфейсы.

Часть 4 - Испытания в целях утверждения типа.

Часть 5 - Первичная поверка.

Часть 6 - Установка, ввод в эксплуатацию, контроль, техническое обслуживание.

В соответствии с внутренними правилами Европейского комитета по стандартизации в области электротехники СЕНЕЛЕК (CENELEC) и Европейского комитета по стандартизации СЕН (CEN) настоящий европейский стандарт должен быть принят в качестве национального стандарта национальными организациями по стандартизации нижеперечисленных стран: Австрии, Бельгии, Болгарии, Кипра, Чехии, Дании, Эстонии, Финляндии, Франции, Германии, Греции, Венгрии, Исландии, Ирландии, Италии, Латвии, Литвы, Люксембурга, Мальты, Нидерландов, Норвегии, Польши, Португалии, Румынии, Словакии, Словении, Испании, Швеции, Швейцарии и Великобритании.

ГОСТ Р ЕН 1434-2-2011

НАЦИОНАЛЬНЫЙ СТАНДАРТ РОССИЙСКОЙ ФЕДЕРАЦИИ

ТЕПЛОСЧЕТЧИКИ

Часть 2

Требования к конструкции

Heat meters. Part 2. Constructional requirements

Дата введения - 2013-03-01

1 Область применения

Настоящий стандарт устанавливает требования к конструкции и распространяется на теплосчетчики, предназначенные для измерений тепловой энергии, поглощаемой или отдаваемой жидкостью, называемой теплоносящей жидкостью (теплоноситель). Данные теплосчетчики отражают количество тепла в стандартных единицах измерения.

Настоящий стандарт не устанавливает требования электробезопасности.

Настоящий стандарт не устанавливает требования безопасности, связанные с давлением.

Настоящий стандарт не распространяется на теплосчетчики с датчиками температуры, установленными на поверхности трубопроводов.

2 Нормативные ссылки

При использовании настоящего стандарта нижеследующие ссылочные документы являются обязательными. Для датированных ссылок возможно использование только указанного издания. Для недатированных ссылок возможно использование ссылочного документа (включая все существующие поправки) в последнем издании*.

________

* Определения терминов «датированная ссылка на стандарт» и «недатированная ссылка на стандарт» - по РМГ 50-2002.

В настоящем стандарте использованы нормативные ссылки на следующие стандарты:

ЕН 1434-1:2007 Теплосчетчики. Часть 1. Общие требования (EN 1434-1:2007, Heat meters; Part 1: General requirements)

прЕН 1434-3 Теплосчетчики. Часть 3. Обмен данными и интерфейсы (prEN 1434-3, Heat meters; Part 3: Data exchange and interfaces)

EH 60751:1995 Промышленные платиновые термометры сопротивления (МЭК 60751:1983 + А1: 1986) (EN 60751:1995, Industrial platinum resistance thermometer sensors (IEC 60751:1983 + A1:1986)

EH 60947-5-6 Аппаратура коммутационная и механизмы управления низковольтные. Часть 5-6. Устройства и коммутационные элементы цепей управления. Интерфейс постоянного тока для бесконтактных датчиков и переключающих усилителей (NAMUR) (МЭК 60947-5-6:1999) (EN 60947-5-6, Low-voltage switchgear and controlgear - Part 5-6: Control circuit devices and switching elements, DC interface for proximity sensors and switching amplifiers (NAMUR) (IEC 60947-5-6:1999)

EH ИСО 228-1 Резьбы трубные с герметизацией соединений вне резьбы. Часть 1. Размеры, допуски и обозначения (МЭК 228-1:2000) (EN ISO 228-1, Pipe threads where pressure tight joints are not made on the threads - Part 1: Dimensions, tolerances and designation (ISO 228-1:2000)

ИСО 4903 Информационные технологии. Передача данных. 15-полюсный соединитель интерфейса ООД/АПД и распределение номеров контактов (ISO 4903, Information technology; data communication; 15-pole DTE/DCE interface connector and contact number assignments)

ИСО 7005-1 Фланцы металлические. Часть 1. Стальные фланцы (ISO 7005-1, Metallic flanges; part 1: steel flanges)

ИСО 7005-2 Фланцы металлические. Часть 2. Фланцы из литейного чугуна (ISO 7005-2, Metallic flanges; part 2: cast iron flanges)

ИСО 7005-3 Фланцы металлические. Часть 3. Фланцы из медных сплавов и композиционных материалов (ISO 7005-3, Metallic flanges; part 3: copper alloy and composite flanges)

3 Комплект датчиков температуры

3.1 Общие положения

Комплект датчиков температуры должен состоять из специально подобранных в пару платиновых термопреобразователей сопротивления.

Допускается применение термопреобразователей сопротивления других типов, если составной элемент состоит из конструктивно неразъемных датчиков температуры и вычислителя.

Значение максимально допустимого рабочего давления должно быть установлено поставщиком.

Если допуски на размеры не определены, их значения должны соответствовать указанным в таблице 1.

Таблица 1 - Допуски

Размер, мм

От 0,5 до 3

От 3 до 6

От 6 до 30

От 30 до 120

От 120 до 400

Допуск, мм

±0,2

±0,3

±1

±1,5

±2,5

3.2 Конструкция

3.2.1 Общие положения

Для труб размерами не более DN 250 установлены три типа датчиков температуры:

- прямо устанавливаемые короткие датчики - тип DS;

- прямо устанавливаемые длинные датчики - тип DL;

- длинные датчики, устанавливаемые в гильзе, - тип PL.

Конструкции типов PL и DL могут представлять собой датчики с головкой либо иметь постоянно подключенные кабели сигнала. Конструкции типа DS могут иметь постоянно подключенные кабели сигнала.

3.2.2 Материал защитного корпуса и гильзы датчиков температуры

Гильза и защитный корпус прямо устанавливаемого датчика должны быть изготовлены из прочного и устойчивого к коррозии материала с соответствующей теплопроводностью.

Приоритетно используемым материалом является сплав Х6 Cr Ni Mo Ti 17 12 2, описанный в EH 10088-3.

3.2.3 Размеры прямо устанавливаемых коротких датчиков - тип DS

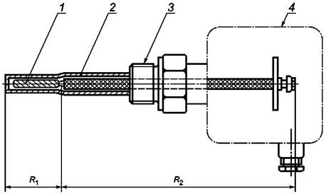
Размеры должны соответствовать указанным на рисунке 1.

1 - термочувствительный элемент; 2 - защитный корпус; 3 - уплотнительное кольцо

Рисунок 1 - Датчик температуры - тип DS

Справочная информация приведена на рисунке А.1 (приложение А).

Условная глубина погружения должна составлять 20 мм либо менее, если это установлено поставщиком.

3.2.4 Размеры прямо устанавливаемых длинных датчиков - тип DL

Размеры должны соответствовать указанным на рисунке 2.

Резьба G1/2В - в соответствии с ЕН ИСО 228-1

А < 30 мм или А £ 50 мм для РТ 1000

Предпочтительные длины

В, мм

С, мм

85

105

120

140

210

230

1 - термочувствительный элемент; 2 - защитный корпус; 3 - поверхность уплотнителя;
4 - контур головки датчика; 5 - контур постоянно присоединенного кабеля сигнала;
6 - вход для кабеля сигнала (диаметр не более 9 мм)

Рисунок 2 - Датчик температуры - тип DL (с головкой или кабелем)

Справочная информация приведена на рисунках А.2 и А.3 (приложение А).

Условная глубина погружения должна составлять 50 % длины В либо менее, если это установлено поставщиком.

3.2.5 Размеры длинных датчиков, устанавливаемых в гильзах, - тип PL

Размеры должны соответствовать указанным на рисунке 3.

Дополнительная информация приведена на рисунках А.4 и А.5 (приложение А).

Условная глубина погружения должна составлять 50 % длины В либо менее, если это установлено поставщиком.

3.2.6 Размеры гильз датчиков температуры

Гильзы предназначены для использования только с датчиками типа PL. Датчики типа PL должны иметь конструкцию, предусматривающую возможность установки через стенку трубы, к которой с внешней стороны припаян или приварен штуцер (см. рисунки А.6а и А.6b приложения А), и быть взаимозаменяемыми с длинными датчиками других типов, соответствующими установленной глубине монтажа. Размеры должны соответствовать указанным на рисунке 4.

_______

1) Допуск соответствует с11 по ИСО 286-2, значения округлены до двух десятичных разрядов. А < 30 мм или А £ 50 мм для РТ1000

Предпочтительные длины

В (только для датчика с головкой), мм

105

140

230

1 - термочувствительный элемент; 2 - контур головки датчика;
3 - контур постоянно присоединенного кабеля сигнала;
4 - вход для кабеля сигнала (диаметр не более 9 мм)

Рисунок 3 - Датчик температуры - тип PL (с головкой или кабелем)

________

1) Допуск соответствует НИ по ИСО 286-2, значения округлены до двух десятичных разрядов.

Резьба G 1/2 В - в соответствии с ЕН ИСО 228-1

Предпочтительные длины

С, мм

D, мм

85

£100

120

£135

210

£225

1 - поверхность уплотнения; 2 - зажимной винт с местом для пломбы

Рисунок 4 - Гильза датчика температуры

3.2.7 Требования к конструкции короткого датчика и его установке в трубопровод

Датчик должен быть установлен перпендикулярно к потоку, при этом термочувствительный элемент должен доходить, по крайней мере, до центра трубы.

При внутренних давлениях до PN 16 датчик должен иметь конструкцию, соответствующую фитингу данной трубы (см. рисунок А.7 приложения А).

3.2.8 Требования к конструкции длинного датчика и его установке в трубопровод

Датчик должен быть установлен таким образом, чтобы термочувствительный элемент доходил, по крайней мере, до центра трубы.

Датчик должен иметь конструкцию, предусматривающую следующие типы установки (для внутренних давлений до PN 16):

a) в трубе диаметром не более DN 50 наконечник направлен против движения потока (см. рисунок А.8, тип установки датчика В приложения А) и применен штуцер (см. рисунок А.6b приложения А);

b) в трубе диаметром не более DN 50 наконечник направлен под углом 45° к направлению, противоположному потоку (см. рисунок А.8, тип установки датчика С приложения А), и применен штуцер (см. рисунок А.6b приложения А);

c) в трубе диаметром от DN 65 до DN 250 наконечник направлен перпендикулярно к направлению движения потока (см. рисунок А.8, тип установки датчика D приложения А) и применен штуцер (см. рисунок А.6а приложения А).

3.3 Платиновый датчик температуры

3.3.1 Параметры двухпроводного датчика температуры

1 - термочувствительный элемент; 2 - защитный корпус; 3 - резьба для монтажа; 4 - кабель сигнала;
R1 - сопротивление термочувствительного элемента; R2 - сопротивление внутреннего провода и разъемов;
R3 - сопротивление кабеля сигнала

Рисунок 5 - Датчик температуры с постоянно присоединенным кабелем

1 - термочувствительный элемент; 2 - защитный корпус; 3 - резьба для монтажа;
4 - соединительная головка;
R1 - сопротивление термочувствительного элемента;
R2 - сопротивление внутреннего провода и разъемов

Рисунок 6 - Датчик температуры с соединительной головкой

3.3.2 Характеристики сопротивления

При поверке датчиков температуры должна быть обеспечена прослеживаемость к национальным эталонам. Промежуточные показания датчика температуры теплосчетчика получают методом интерполяции в соответствии с ЕН 60751 по формуле

R1 = R0(1 + At + Bt2),                                                     (1)

где R1 - сопротивление при температуре t, Ом (исключая сопротивление кабелей сигнала - см. рисунки 5 и 6);

R0 - сопротивление при температуре 0 °С, Ом (базовая величина, исключая сопротивление кабеля);

А - коэффициент, равный 3,9083 10-3 °С-1;

В - коэффициент, равный 5,775 10-7 °С-2.

Примечание - Принято, что национальные стандарты соответствуют МТШ-90 (Международной температурной шкале 1990 года).

3.3.3 Кабели сигнала

В качестве кабелей сигнала используются многожильные, а для датчиков с соединительными головками - одножильные кабели. Концы многожильных кабелей должны быть тщательно изолированы (например, изоляция конца кабеля с помощью гильз). Покрывать припоем концы кабеля не допускается во избежание сращивания.

Соединение кабелей сигналов датчика температуры с вычислителем пайкой допускается, только если датчики не подлежат замене.

Экранированные кабели датчика температуры не должны иметь контакта между экраном и защитным корпусом.

3.3.4 Двухпроводные датчики температуры

Длина и площадь поперечного сечения кабелей сигнала, относящихся к парным датчикам сопротивления отдельных элементов, должны быть одинаковыми.

Длина кабеля сигнала, поставляемого производителем, должна быть неизменной. Длина должна соответствовать значениям, приведенным в таблице 2.

Таблица 2 - Максимальные длины кабелей для платиновых датчиков температуры Pt 100

Площадь сечения провода, мм2

Максимальная длина для Pt 100, м

0,22

2,5

0,50

5,0

0,75

7,5

1,50

15,0

Для датчиков с высокими значениями сопротивлений предельные значения увеличиваются пропорционально.

Примечание - Значения, указанные в таблице 2, получены следующим образом.

Принято, что разность значений температур кабелей не превышает одной трети разности температур прямого и обратного потоков в трубах.

Затем рассчитывают максимально допустимую длину кабеля для каждого значения площади сечения кабеля, принимая, что полученное значение погрешности не должно превышать 0,2 максимально допускаемой погрешности комплекта датчиков температуры с учетом значения разности сопротивлений, создаваемой разностью температур прямого и обратного проводов.

Влиянием длины кабеля сигналов пренебрегают, если полное сопротивление кабелей датчика температуры Pt 100 не превышает 0,2 Ом.

3.3.5 Четырехпроводные датчики температуры

Если требования к длине кабеля, установленные в 3.3.4, невыполнимы, следует использовать четырехпроводные датчики.

Соединители должны быть помечены таким образом, чтобы их нельзя было перепутать.

Для датчиков с соединительной головкой рекомендуется использование кабелей с площадью сечения 0,5 мм2, а для датчиков с кабелем сигналов - не менее 0,14 мм2.

3.3.6 Время реакции

Поставщик должен установить значение времени реакции датчика температуры t0,5 в соответствии с подразделом 4.1 ЕН 1434-1, используя метод испытаний, установленный в подпункте 4.3.3.3 ЕН 60751.

3.4 Другие датчики температуры

Допускается использование датчиков температуры других типов при условии их испытания в составе вычислителя.

4 Датчики расхода

4.1 Максимально допустимое рабочее давление

Значение максимально допустимого рабочего давления должно быть установлено производителем.

4.2 Размеры

Датчики расхода классифицируют в зависимости от размера резьбы концевого соединения либо номинального диаметра фланца. Для каждого датчика расхода установлены соответствующее постоянное значение расхода qp и совокупность значений длин, приведенных в таблицах 3 и 4.

В таблице 3 приведены значения размеров резьбовых и/или фланцевых соединений и общей длины.

При значениях, превышающих DN 250, размеры датчиков расхода не установлены стандартом.

Для получения необходимого значения общей длины можно использовать адаптеры.

Значения длин, большие или меньшие предпочтительных значений, могут быть приняты при qр ³ 10 м3/ч.

Допуски на значения длин должны составлять для длины:

- до 300 мм:  мм;

- от 350 до 600 мм:  мм.

Таблица 3 - Размеры

qр, м3

Предпочтительное значение

Допустимое значение

Допустимое значение

Общая длина, мм

Резьбовые соединения

Фланцевые соединения DN

Общая длина, мм

Резьбовые соединения

Фланцевые соединения DN

Общая длина, мм

Резьбовые соединения

0,6

110

G3/4B

15

190

G1В

20

-

-

1,0

130

G3/4B

15

190

G1В

20

110

G3/4B

1,5

165

G3/4B

15

190

G1В

20

110

G3/4B

2,5

190

G1В

20

-

-

-

130

G1В

3,5

260

G11/4В

25

-

-

-

-

-

6,0

260

G11/2В

32

260

G11/4В

25

-

-

10

300

G2B

40

-

-

-

-

-

15

300

-

50

270

-

50

-

-

25

300

-

65

-

-

-

-

-

40

350

-

80

300

-

80

-

-

60

350

-

100

360

-

100

-

-

100

350

-

125

-

-

-

-

-

150

500

-

150

-

-

-

-

-

250

500

-

200

-

-

-

-

-

400

600

-

250

-

-

-

-

-

Резьбовые соединения

Размеры концевых резьбовых соединений приведены в таблице 4. Резьба должна соответствовать требованиям ЕН ИСО 228-1. На рисунке 7 представлены пояснения размеров а и b.

Таблица 4 - Резьбовые соединения

Размеры в миллиметрах

Резьба

а

b

G3/4B

10

12

G1В

12

14

G11/4В

12

16

G11/2В

13

18

G2B

13

20

Рисунок 7 - Эскиз размеров а и b, указанных в таблице 4

Фланцевые соединения

Концевые фланцевые соединения должны соответствовать требованиям ИСО 7005-1, ИСО 7005-2 и ИСО 7005-3 для показаний номинального давления датчиком расхода.

4.3 Выходной тестовый сигнал

В соответствии с приложением В для проведения испытания необходимо использовать импульсы высокого разрешения от адаптера или информацию от последовательного интерфейса в соответствии с ЕН 1434-3. Разрешение тестовых сигналов должно быть таким, чтобы при значении qi (определенном в подразделе 5.3 ЕН 1434-1) погрешность измерений, обусловленная количеством импульсов, не превышала 0,8 %, а время испытания не должно превышать 1 ч при qp £ 10 м3/ч и 1,5 ч при qp ³ 10 м3/ч.

Номинальное соотношение между воспроизводимым сигналом и измеряемой величиной должно быть установлено поставщиком.

Спецификация выходных тестовых сигналов приведена в приложении В.

4.4 Регулировочное устройство

Датчик расхода может быть снабжен специальным устройством, предназначенным для корректировки соотношения между измеренным и истинным значениями.

5 Вычислители

5.1 Размеры вычислителей для бытового применения

Размеры вычислителей, предназначенных для установки на стенах, не должны превышать указанных на рисунке 8.

При больших размерах корпуса вычислителя расстояния между крепежными отверстиями должны соответствовать указанным на рисунке 8. При малых размерах корпуса необходимо использовать пластину-адаптер.

5.2 Разъемы. Технические данные и идентификация

5.2.1 Общие положения

Установленные номера контактов следует применять для идентификации разъемов. Ненужные разъемы могут быть пропущены. Экранированный кабель может быть прикреплен к корпусу разъема в целях заземления. Если используемый кабель не обладает высокой стойкостью к растяжению, экран кабеля может быть прикреплен к корпусу разъема для предотвращения повреждения кабеля при вытягивании.

Рисунок 8 - Максимальные размеры, мм

5.2.2 Разъемы для кабелей сигнала

Разъемы должны соответствовать следующим требованиям:

a) максимальная площадь поперечного сечения контактов: 1,5 мм2;

b) расстояние между контактами разъема: 5 мм;

c) разъемы должны подходить для многожильных проводов;

d) для двухпроводного датчика Pt 100 сопротивление между разъемом и проводом должно быть не более 5 мОм. Изменение сопротивления контакта должно быть менее 5 мОм.

Нумерация контактов должна соответствовать таблице 5.

Таблица 5 - Нумерация контактов

Номер контакта

Описание сигнала

Обозначение сигнала

1

Датчик высокой температуры/связан с № 5*

2

Датчик высокой температуры/связан с № 6*

3

Датчик низкой температуры/связан с № 7*

4

Датчик низкой температуры/связан с № 8*

5

Датчик высокой температуры

6

Датчик высокой температуры

7

Датчик низкой температуры

8

Датчик низкой температуры

9

Датчик расхода, положительное напряжение питания

10

Вход сигнала датчика расхода

11

Вход эталонного сигнала датчика расхода

12

Выход эталонного сигнала датчика расхода

-U

13

Выход тестового сигнала с высоким разрешением

СН

14

Вход импульсного тестового сигнала расхода

CI

15

Вход тестового сигнала объема с высоким разрешением

CT

16

Выход дистанционных импульсов счета

СЕ

17

Выход эталонных дистанционных импульсов счета

18

Выход уровня дистанционных импульсов счета

CV

19

Выход эталонного уровня дистанционных импульсов счета

20

CL 0 - четырехпроводной интерфейс

RX+/RTX+

21

CL 0 - четырехпроводной интерфейс

RX-/RTX-

22

CL 0 - четырехпроводной интерфейс

ТХ+

23

CL 0 - четырехпроводной интерфейс

ТХ-

24

Интерфейс M-BUS

25

Интерфейс M-BUS

* Используют только для четырехпроводных датчиков температуры.

Правила нумерации разъемов:

a) если разъемов несколько, и они электрически соединены друг с другом (например, соединение экрана кабеля датчика температуры), то они могут иметь один и тот же номер;

b) разъемы и их номера могут быть пропущены, если соответствующие сигналы отсутствуют;

c) для сигналов, отличных от описанных, используются разъемы с номерами 50 и более.

5.2.3 Разъемы для подключения к источнику питания

Необходимо предусмотреть два или три разъема, приспособленных для многожильного кабеля поперечным сечением менее 2,5 мм2 (см. таблицу 6). Допускается также применение жестко закрепленных кабелей.

Таблица 6 - Нумерация и обозначение контактов питания

Номер контакта

Обозначение

26

«Земля»

27

N

28

L

Если необходимо обозначение полярности, то N и L можно заменить на стандартные символы источника питания.

5.3 Батареи

Если в теплосчетчике применяют взаимозаменяемые батареи, они должны быть заменены без повреждения знака поверки. Срок службы батарей должен быть установлен поставщиком.

5.4 Динамические характеристики

Поставщик должен пояснить, каким образом значения температуры и монтаж взаимосвязаны с показаниями датчиков расхода и времени.

5.5 Выходной тестовый сигнал

Для испытаний необходим энергетический сигнал с высоким разрешением. Разрешение должно быть достаточно высоким, для того чтобы при испытании при нижнем значении разности температур и/или расхода дополнительная погрешность, обусловленная разрешением сигнала, была незначительной. Номинальное соотношение между сигналом с высоким разрешением и значением энергии должно быть установлено производителем.

Сигнал, как указано выше, должен поступать либо непосредственно к разъему вычислителя, либо к разъему тестового адаптера, как указано в приложении В.

Тестовый сигнал может быть или импульсным с определенным значением импульсов (приращения энергии), или с выводом данных, специально определенным, или с дисплеем соответственно высокого разрешения.

Наименования выходов импульсов, используемых для выходных соединений, указаны в приложении В.

5.6 24-часовое прерывание напряжения питания

В случае прерывания напряжения питания вычислитель должен обеспечивать сохранение измеренных значений не менее 24 ч, при этом допускается изменение не более одного разряда показаний измеренного значения.

6 Единый теплосчетчик

Требования, указанные в разделах 3 - 5, следует применять при необходимости.

Должен быть обеспечен выходной тестовый сигнал с высоким разрешением, обеспечивающий в течение 2 ч погрешность считывания, не превышающую 0,5 %.

Подключение приборов, регистрирующих выходной тестовый сигнал, не должно влиять на точность теплосчетчика.

К тому же для проведения испытаний дисплей должен быть снабжен шкалой с высоким разрешением, в соответствии с установленными требованиями.

Принимают, что погрешность считывания не должна превышать половины наименьшего интервала шкалы для каждого показания теплосчетчика или, в случае цифровой индикации, не должна превышать 0,99 наименьшего значимого разряда.

Обозначения выходных импульсов на выходных соединениях приведены в приложении В.

7 Интерфейсы между составными элементами теплосчетчика

Виды сигналов для связи между вычислителем, датчиками температуры и датчиком расхода должны быть четко описаны поставщиком.

Описание должно включать в себя всю необходимую информацию, например, тип сигнала, значения напряжения и тока, ограничения по минимальной и максимальной частоте и цикл нагрузки и т.д.

7.1 Определение интерфейсов импульсных устройств

7.1.1 Общие положения

Использование данных технических характеристик необходимо для определения совместимости различных входных и выходных устройств.

7.1.2 Электрическое подключение

Для электрического подключения импульсного устройства предусмотрены две клеммы. Обе клеммы должны быть изолированы от земли (например, трубопроводы или корпус). Сопротивление изоляции должно быть не менее 100 МОм и должно быть измерено при нормальных условиях при напряжении постоянного тока 100 В.

Подключение, которое по мере необходимости может быть заземлено, должно соответствовать требованиям электромагнитной совместимости.

7.1.3 Классификация импульсных выходных устройств

Класс ОА: электромеханический переключатель.

Стандартными элементами конструкции класса ОА являются лепестковый герметизированный контакт и электронный переключатель.

Состояние включения определяется замкнутым переключателем, состояние выключения - разомкнутым переключателем.

Характерным признаком электромеханического переключателя является вибрация механических контактов.

Класс ОВ: пассивное электронное падение тока с длительными импульсами; большая сила тока.

Стандартным примером пассивного электронного падения тока класса ОВ является «открытый коллектор» с транзистором Дарлингтона. Элементы класса ОВ заменяют стандартные модели элементов класса ОА посредством электронного полупроводника. В этих элементах отсутствует вибрация, и они требуют вспомогательного электропитания, а также электронного сигнала управления для включения и выключения источника тока.

Класс ОС: пассивное электронное падение тока с длительными импульсами; небольшая сила тока.

Стандартным примером пассивного электронного падения тока класса ОС является также «открытый коллектор» или элементы с «открытой дренажной системой». В этих элементах отсутствует вибрация, и они требуют вспомогательного электропитания, а также электронного сигнала управления для включения и выключения источника тока. У этих элементов более низкое значение падения напряжения по сравнению с элементами класса ОВ.

Класс OD: пассивное электронное падение тока с короткими импульсами; небольшая сила тока.

Отличием класса OD от класса ОС является более короткая длительность импульсов.

Класс ОЕ: пассивное электронное падение тока с короткими импульсами; большая сила тока.

Источник электронного падения тока должен соответствовать ЕН 60947-5-6 (Namur). Отличительной чертой от класса OD является более высокий уровень тока и напряжения. Это позволяет отслеживать короткие замыкания и порывы соединительного кабеля.

7.1.4 Временные и электрические параметры импульсных выходных устройств (отличные от тестовых сигналов)

Временные и электрические параметры указаны в таблице 7.

Таблица 7 - Временные и электрические параметры

Параметр

Класс ОА

Класс ОВ

Класс ОС

Класс OD

Пример

Лепестковый герметизированный контакт и электронный переключатель

(Дарлингтон) открытый коллектор

Открытый коллектор

Открытый коллектор или в активном режиме

Перемена полярности

Возможна

Невозможна

Невозможна

Невозможна

Длительность импульсов

³100 мс

³30 мс

³100 мс

³0,1 мс

Пауза импульсов

³100 мс

³100 мс

³100 мс

³0,1 мс

Продолжительность вибрации

³1 мс

-

-

-

Максимальное входное напряжение

30 В

30 В

6 В

6 В

Максимальный входной ток

27 мА

27 мА

0,1 мА

0,1 мА

Падение напряжения в состоянии включения

£2,0 В при 27 мА

£2,0 В при 27 мА

£0,3 В при 0,1 мА

£0,3 В при 0,1 мА

Сопротивление в состоянии выключения

£6 Мом

£6 Мом

£6 Мом

£6 МОм

7.1.5 Классификация импульсных входных устройств

Класс IA:

Как правило, применяют электрические реле или электромеханические счетчики, управляемые катушкой возбуждения. Эти элементы используют вместе с импульсными выходными устройствами классов ОА и ОВ при фиксированном напряжении (установленные значения напряжения постоянного тока 3, 12 и 24 В).

Класс IB:

Стандартным примером является вход микроконтроллера CMOS с фильтром нижних частот для защиты от вибрирующих частей импульсного сигнала, а также для подавления вибрации этих частей.

В качестве источника тока в импульсных выходных устройствах класса ОС для стабилизации входа CMOS используют нагрузочное сопротивление.

Класс IС:

Устройства класса IС аналогичны устройствам класса IB. При этом установлен более короткий интервал времени для фильтра нижних частот. Входные элементы класса IС не могут быть использованы вместе с вибрирующими выходными сигналами.

Класс ID:

Входное устройство должно соответствовать ЕН 60947-5-6 (Namur). По параметрам высокого уровня тока и напряжения схоже с классом IB. Пороги переключения определяются как уровни тока.

При дополнительном отслеживании входных сигналов в случае коротких замыканий или размыкания цепей устройство блокируется автоматически.

Класс IE:

Входное устройство должно соответствовать ЕН 60947-5-6 (Namur). По параметрам скорости сигналов схоже с классом ID. Входные элементы класса IE не могут быть использованы вместе с вибрирующими выходными сигналами.

При дополнительном отслеживании входных сигналов в случае коротких замыканий или размыкания цепей устройство блокируется автоматически.

7.1.6 Временные и электрические параметры импульсных входных устройств

Временные и электрические параметры указаны в таблице 8.

Таблица 8 - Временные и электрические параметры импульсных входных устройств

Параметр

Класс IA

Класс IB

Класс IС

Класс ID

Класс IE

Напряжение питания

£30 В

£6 В

£6 В

От 7 до 9 В

От 7 до 9 В

Ток источника питания

£27 мА

£0,1 мА

£0,1 мА

От 7 до 16 мА

От 7 до 16 мА

Высокий порог входного уровня

U ³ 8 B

U ³ 2 B

U ³ 2 B

I £ 1,2 мА

I £ 1,2 мА

Низкий порог входного уровня

U £ 3 B

U £ 0,5 В

U £ 0,5 В

I ³ 2,1 мА

I ³ 2,1 мА

Конечное сопротивление

-

От 50 кОм до 2 Мом

От 50 кОм до 2 Мом

От 562 Ом до 1 кОм

От 562 Ом до 1 кОм

Длительность импульсов

³30 мс

³100 мс

³0,1 мс

³2 мс

³0,04 мс

Частота импульсов

£5 Гц

£5 Гц

£5 кГц

£200 Гц

£12,5 кГц

7.1.7 Совместимость

В таблице 9 указаны способы совместного использования различных входных и выходных устройств.

Таблица 9 - Совместимость

Выходное устройство

Входное устройство

Класс IA

Класс IB

Класс IС

Класс ID

Класс IE

Класс ОА

Да

Да

Нет

Да

Нет

Класс ОВ

Да

Нет

Нет

Да

Да

Класс ОС

Нет

Да

Да

Нет

Нет

Класс OD

Нет

Нет

Да

Нет

Нет

Класс ОЕ

Нет

Нет

Нет

Нет

Да

8 Маркировка и опломбирование

8.1 Маркировка

8.1.1 Общие положения

Если отсутствует возможность нанесения полной информации о диапазонах измерений и других ограничениях на маркировочную панель, предупреждающий знак  наносится сразу же после неполной информации.

8.1.2 Комплект датчиков температуры

На соединительной головке или отдельной защитной идентификационной пластине разборчиво и несмываемыми символами должна быть нанесена следующая информация:

a) наименование поставщика или его торговая марка;

b) тип, включая тип датчика (например, Pt 100), год выпуска и серийный номер;

c) диапазон температуры (Qmin и Qmax). Совокупность дополнительных ограничений для температурного интервала охлаждения может быть установлена для теплосчетчиков и низкотемпературных теплосчетчиков;

d) диапазон разности температур (DQmin и DQmax). Совокупность дополнительных ограничений для температурного интервала охлаждения может быть установлена для теплосчетчиков и низкотемпературных теплосчетчиков;

e) максимально допустимое рабочее давление;

f) при необходимости идентификация датчиков температуры прямого и обратного потоков.

8.1.3 Гильзы

В соответствии с настоящим стандартом гильзы должны иметь маркировку «ЕН 1434».

8.1.4 Датчик расхода

На датчике или защитной идентификационной пластине разборчиво и несмываемыми символами должна быть нанесена следующая информация:

а) наименование поставщика или его торговая марка;

d) тип, год выпуска, серийный номер;

c) коэффициент счетчика;

d) диапазон температуры (Qmin и Qmax) (совокупность дополнительных ограничений для температурного интервала охлаждения может быть установлена для теплосчетчиков и низкотемпературных теплосчетчиков);

e) диапазон значений расхода (qi, qp и qs). В зависимости от ориентации при монтаже и типа жидкости qi и qs могут иметь различные значения;

f) одна или две стрелки, указывающие направление потока;

g) максимально допустимое рабочее давление PS, в барах (Па);

h) номинальное давление PN;

i) класс точности (в зависимости от ориентации при монтаже и типа жидкости может различаться);

j) класс по условиям окружающей среды;

k) вид теплоносителя, если это не вода;

l) уровни напряжения внешнего питания.

8.1.5 Вычислитель

На корпусе или защитной идентификационной пластине разборчиво и несмываемыми буквами должна быть нанесена следующая информация:

a) наименование поставщика или его торговая марка;

b) тип, год выпуска, серийный номер;

c) тип датчиков температуры (например, Pt 100, Pt 500);

d) диапазон температуры (Qmin и Qmax) (совокупность дополнительных ограничений для температурного интервала охлаждения может быть установлена для теплосчетчиков и низкотемпературных теплосчетчиков);

е) диапазон разности температур (DQmin и DQmax) (совокупность дополнительных ограничений для температурного интервала охлаждения может быть установлена для теплосчетчиков и низкотемпературных теплосчетчиков);

f) коэффициент датчика расхода;

g) место установки датчика расхода: в прямом или обратном потоке;

h) класс по условиям окружающей среды;

i) вид теплоносителя, если это не вода;

j) уровни напряжения внешнего питания.

8.1.6 Единый теплосчетчик

Следующая информация должна быть нанесена разборчиво и несмываемыми буквами:

a) наименование поставщика или его торговая марка;

b) тип, год выпуска, серийный номер;

c) диапазон температуры (Qmin и Qmax). Совокупность дополнительных ограничений для температурного интервала охлаждения может быть установлена для теплосчетчиков и низкотемпературных теплосчетчиков;

d) диапазон разности температур (DQmin и DQmax). Совокупность дополнительных ограничений для температурного интервала охлаждения может быть установлена для теплосчетчиков и низкотемпературных теплосчетчиков;

e) диапазон значений расхода (qi, qp и qs). В зависимости от ориентации при монтаже и типа жидкости qi и qs могут иметь различные значения;

f) место установки счетчика: в прямом или обратном потоке;

g) одна или более стрелок, указывающих направление потока;

h) максимально допустимое рабочее давление PS, в барах (Па);

i) номинальное давление PN;

j) класс точности (в зависимости от ориентации при монтаже и типа жидкости может различаться);

k) класс по условиям окружающей среды;

l) вид теплоносителя, если это не вода;

m) уровни напряжения внешнего питания.

8.2 Места для маркировки

На теплосчетчике и каждом его составном элементе, если теплосчетчик комбинированный, должны быть предусмотрены места для нанесения клейма (например, установленного законодательством).

Все составные элементы теплосчетчика, которые могут быть отделены после поверки и испытаний, должны иметь места для нанесения клейма.

Клейма должны быть четко видны после сборки.

8.3 Опломбирование

Места расположения пломб должны соответствовать требованиям подраздела 6.4 ЕН 1434-1.

Приложение А
(справочное)

Примеры датчиков температуры

В настоящем приложении приведены примеры конструкции и установки датчиков температуры.

Рисунок А.1 - Датчик температуры, прямая установка, короткий, тип DS - кабель.

Рисунок А.2 - Датчик температуры, прямая установка, длинный, тип DL - головка.

Рисунок А.3 - Датчик температуры, прямая установка, длинный, тип DL - кабель.

Рисунок А.4 - Датчик температуры, установка в гильзе, тип PL - головка.

Рисунок А.5 - Датчик температуры, установка в гильзе, тип PL - кабель.

Рисунок А.6 - Штуцер и уплотнительное кольцо датчика температуры.

Рисунок А.7 - Фитинги с резьбой G1/2В, G3/4В и G1В.

Рисунок А.8 - Рекомендации по установке.

Примечание - Все размеры рисунков в настоящем приложении даны в миллиметрах. Все резьбы (например, G1/2В) указаны в соответствии с ИСО 228-1.

1 - соединительный кабель; 2 - место для опломбирования (пример);
3 - идентификационная пластина (пример); 4 - зажимная гайка;
5 - уплотнительное кольцо (материал: например, медь или ПТФЭ); 6 - защитный корпус;
7 - термочувствительный элемент

Рисунок А.1 - Датчик температуры, прямая установка, короткий, тип DS - кабель

________

1) Предпочтительный размер.

1 - головка; 2 - вход для кабеля сигнала; 3 - зажимная гайка; 4 - место для опломбирования;
5 - поверхность уплотнения;
6 - защитный корпус датчика; 7 - термочувствительный элемент

Рисунок А.2 - Датчик температуры, прямая установка, длинный, тип DL - головка

________

1) Предпочтительный размер.

1 - соединительный кабель; 2 - место для опломбирования (пример);
3 - идентификационная пластина (пример); 4 - зажимная гайка; 5 - поверхность уплотнения;
6 - защитный корпус датчика; 7 - термочувствительный элемент

Рисунок А.3 - Датчик температуры, прямая установка, длинный, тип DL - кабель

________

1) Для данной длины возможно применение допуска в диаметре.

2) Допуск с11 по ИСО 286-2, значения округлены до двух десятичных разрядов.

1 - головка; 2 - вход для кабеля сигнала; 3 - место для опломбирования;
4 - защитный корпус;
5 - термочувствительный элемент

Рисунок А.4 - Датчик температуры, установка в гильзе, тип PL - головка

________

1) Для данной длины возможно применение допуска в диаметре.

2) Допуск с11 по ИСО 286-2, значения округлены до двух десятичных разрядов.

1 - соединительный кабель; 2 - место для опломбирования (пример);
3 - идентификационная пластина (пример);
4 - защитный корпус; 5 - термочувствительный элемент

Рисунок А.5 - Датчик температуры, установка в гильзе, тип PL - кабель

На рисунке А.6, а изображен установочный штуцер для использования с перпендикулярно установленным датчиком (см. рисунок А.8, D):

1 - канавка под уплотнительное кольцо; 2 - медное уплотнительное кольцо для использования обоих типов штуцера

На рисунке А.6, b изображен установочный штуцер для использования с датчиком, установленным в колено трубы, или сдатчиком, установленным под углом (см. рисунки А.8, В и А.8, С). На рисунке А.6, b используются размеры, отличные от рисунка А.6, а.

Рисунок А.6 - Штуцер и уплотнительное кольцо датчика температуры

Размер резьбового соединения А

Диаметр выходного отверстия B, мм

G1/2В

18,5

G3/4B

24

G1В

30,5

Примечание - Допуски на механически обработанные размеры ±0,5 мм.

Фитинги для использования сдатчиками типа DS (см. рисунок А.8, тип установки А).

1 - место для пломбы

Рисунок А.7 - Фитинги с резьбой размерами G1/2В, G3/4В и G1В

Тип установки датчика

Размер трубы

Рекомендации по установке

А

Установка в резьбовом фитинге

DN 15

DN 20

DN 25

В

В изгибе

£ DN 50

С

Угловая установка

£ DN 50

D

Перпендикулярная установка

От DN 65 до DN 250

Рисунок А.8 - Рекомендации по установке

Приложение В
(обязательное)

Входные и выходные тестовые сигналы

В настоящем приложении представлены спецификации входных и выходных сигналов испытуемого оборудования (EUT) по ЕН 1434-1, при этом испытания проводят с помощью импульсов с высоким разрешением, как описано в 4.3, 5.5 и разделе 6 настоящего стандарта.

Для испытаний по данному методу входные и выходные сигналы датчика и (или) вычислителя должны соответствовать таблице В.1, для получения которых по мере необходимости используют дополнительный прибор (адаптер), поставляемый поставщиком, с входными и выходными сигналами в соответствии с таблицей В.2.

Входные и выходные сигналы должны обеспечивать быстрые и точные испытания без ухудшения функционирования теплосчетчика путем подключения его к испытательному оборудованию с входными и выходными сигналами согласно таблице В.2, в котором сигналы принимают как опорный сигнал UR (см. таблицу В.1).

Рисунок В.1 - Схема обмена сигналами

Таблица В.1 - Входные и выходные тестовые сигналы для испытуемого оборудования

Обозначение сигнала

Описание сигнала

Функция

+U

Вход

Положительное напряжение питания

Питание адаптера

-U

Вход

Отрицательное напряжение питания

Стандарт для всех сигналов

UR

Выход

Стандартный уровень

Уровень сетевого напряжения, применяемый для испытуемого оборудования (EUT)

Датчик расхода

FH

Выход

Импульсы объема с высоким разрешением

Выходной тестовый сигнал датчика расхода

FO

Выход

Выходной сигнал объема

Например, от контактного механизма

Вычислитель

СН

Выход

Импульс энергии с высоким разрешением

Выходной тестовый сигнал вычислителя

СЕ

Выход

Импульсы счетчика энергии

Например, от счетчика энергии

CV

Выход

Импульс счетчика объема

Например, от счетчика объема

СI*

Вход

Сигнал запуска для цикла счета

Имитируемые импульсы от контактного механизма

CT*

Вход

Входной тестовый сигнал для пропорциональных импульсов объема

Имитируемые импульсы, например FH от датчика расхода

CS

Выход

Сигнал статуса

Состояние «Актив» - идут измерения

* Из двух сигналов CI и СТ в наличии должен быть только один.

Примечание - Сигналы, обозначения которых подчеркнуты, являются обязательными.

Таблица В.2 - Электрические и механические спецификации для стандартного испытательного оборудования

Обозначение сигнала

№ контакта адаптера

Электрическая спецификация

Примечание

+U

7 + 8

(8 ± 0,5) В - макс. нагрузка 125 мА

Напряжение питания для адаптера

-U

1 + 2

-

UR

6

1 В < UR < 12 В - макс. нагрузка 0,1 мА

-

FH

3

f £ 10 кГц

ТН ³ 50 мкс

f - частота, Гц

ТН - время при «высоком» уровне, с

FO

4

f £ 5 Гц

ТН ³ 1 мс

СН

15

f £ 2 МГц

ТН ³ 200 нс

СЕ

11

ТН ³ 30 мс

CV

12

ТН ³ 30 мс

CI

13

f £ 1 Гц

ТН/ТL = 1 ± 0,1

TL - время при «низком» уровне, с

СТ

14

f £ 10 кГц

ТН/ТL = 1 ± 0,1

CS

10

f £ 5 Гц

ТН ³ 1 мс

-

Примечания

1 Все сигналы CMOS уровня более 0,6 UR считают логическими единицами, уровня ниже 0,4 UR - логическими нулями.

2 Все входы испытательного оборудования должны иметь полное сопротивление не менее 100 кОм.

3 Все выходы испытательного оборудования должны выдерживать минимальную нагрузку 10 кОм.

4 Соединитель между адаптером и испытательным оборудованием с 15-контактным Sub-D-разъемом должен соответствовать ИСО 4903.

Приложение С
(справочное)

Низковольтное питание теплосчетчиков и их составных элементов

С.1 Источник удаленного питания

С.1.1 Напряжение (постоянного или переменного тока)

Рекомендуемое номинальное напряжение: 24 В.

Диапазон допустимых значений напряжения постоянного тока: от 18 до 41 В.

Если линии удаленного электроснабжения используют также для передачи данных (например, M-Bus, см. ЕН 1434-3), эти значения при передаче данных должны быть сохранены.

Диапазон допустимых значений при напряжении переменного тока: ±30 %.

С.1.2 Устанавливаемые значения тока

Предельное значение....................................................... устанавливается поставщиком;

Среднее значение при долговременной эксплуатации.. устанавливается поставщиком;

Общее количество энергии............................................. устанавливается поставщиком.

С.1.3 Требования к проводам

Максимальная длина провода... более 10 м - ограничено только при падении напряжения;

Заземленный провод.................. требование обычно устанавливается поставщиком;

Скрученный провод................... требование обычно устанавливается поставщиком.

С.2 Локальные внешние источники постоянного тока

С.2.1 Напряжение

Рекомендуемые номинальные значения напряжения: 6,0; 3,6; 3,0 В.

С.2.2 Другие данные

Таблица С.1 - Нормированные уровни параметров при внешнем источнике питания

Номинальное напряжение

6,0 В

3,6 В

3,0 В

Максимальное среднее значение силы тока

100 мА

10/20/50/100/200 мкА

10/20/50/100/200 мкА

Диапазон допустимых значений при средней силе тока

От 5,4 до 6,6 В

От 3,4 до 3,8 В

От 2,8 до 3,3 В

Предельное значение силы тока

100 мА

10 мА

5 мА

Минимальное напряжение при максимальной силе тока

5,4 В

3,2 В

2,7 В

С.3 Технические характеристики источника питания

Поставщик должен предоставить спецификации, содержащие следующую информацию:

- наименование поставщика;

- наименование типа;

- система внешнего или удаленного напряжения питания;

- номинальные уровни напряжения;

- сила тока (предельное и среднее значения при долговременной эксплуатации);

- общее количество энергии (при питании от батарей);

- требования к проводам (максимальная длина провода и требования к заземленным или скрученным проводам).

Приложение ZA
(справочное)

Сведения о соответствии между европейским региональным стандартом ЕН
1434-2:2007 и основополагающими требованиями Директивы ЕС 2004/22/ЕС,
MID

Европейский региональный стандарт ЕН 1434-2:2007 подготовлен в соответствии с предписанием, выдвинутым Европейской комиссией к Европейскому комитету по стандартизации (CEN) об обеспечении соответствия основополагающим требованиям Директивы 2004/22/ЕС «О средствах измерений» (далее - Директива).

После публикации стандарта ЕН 1434-2:2007 в официальном издании Европейского экономического сообщества в рамках Директивы и принятия в качестве национального стандарта по крайней мере одним государством - членом сообщества соблюдение всех нормативных положений частей 1, 2, 4 и 5 стандарта в пределах области его применения подразумевает презумпцию соответствия основным требованиям Директивы и связанных с ней нормативных актов Европейской ассоциации свободной торговли.

ВНИМАНИЕ - К продукту(ам), входящим в область применения настоящего стандарта, могут предъявляться другие требования, в том числе требования на соответствие другим директивам ЕС.

Примечание - Соответствующие приложения включены в ЕН 1434-1, ЕН 1434-4 и ЕН 1434-5.

Приложение ДА
(справочное)

Сведения о соответствии ссылочных международных стандартов ссылочным
национальным стандартам Российской Федерации

Таблица ДА.1

Обозначение ссылочного международного стандарта

Степень соответствия

Обозначение и наименование соответствующего национального стандарта

ЕН 1434-1:2007

IDT

ГОСТ Р ЕН 1434-1-2011 «Теплосчетчики. Часть 1. Общие требования»

ЕН 1434-3

IDT

ГОСТ Р ЕН 1434-3-2011 «Теплосчетчики. Часть 3. Обмен данными и интерфейсы»

ЕН 60751

-

*

ЕН 60947-5-6

-

*

ЕН ИСО 228-1:2003

-

*

ИСО 4903:1989

MOD

ГОСТ Р 34.30-93 «Информационная технология. Передача данных. Интерфейс между оконечным оборудованием и аппаратурой окончания канала данных и распределение номеров контактов соединений. Общие требования»

ИСО 7005-1:2011

-

*

ИСО 7005-2:1988

-

*

ИСО 7005-3:1988

-

*

* Соответствующий национальный стандарт отсутствует. До его утверждения рекомендуется использовать перевод на русский язык данного международного стандарта. Перевод данного международного стандарта находится в Федеральном информационном фонде технических регламентов и стандартов.

Примечание - В настоящей таблице использованы следующие условные обозначения степени соответствия стандартов:

- IDТ - идентичные стандарты;

- MOD - модифицированные стандарты.

Библиография

[1] EN 10088-3

Stainless steels - Part 3: Technical delivery conditions for semi-finished products, bars, rods, wire, sections and bright products of corrosion resisting steels for general purposes

[2] ISO 286-2

ISO system of limits and fits - Part 2: Tables of standard tolerance grades and limit deviations for holes and shafts

 

Ключевые слова: метрология, теплосчетчики, утверждение образца, технические условия на оборудование, испытания, испытания для определения рабочих характеристик, испытания на воздействие окружающей среды, измерения, электромагнитные помехи

 

 



© 2013 Ёшкин Кот :-)