Информационная система
«Ёшкин Кот»

XXXecatmenu

МЕЖГОСУДАРСТВЕННЫЙ СОВЕТ ПО СТАНДАРТИЗАЦИИ, МЕТРОЛОГИИ И СЕРТИФИКАЦИИ
(МГС)

INTERSTATE COUNCIL FOR STANDARDIZATION, METROLOGY AND CERTIFICATION
(ISC)

МЕЖГОСУДАРСТВЕННЫЙ
стандарт

ГОСТ
IEC 60745-1-
2011

Машины ручные электрические

БЕЗОПАСНОСТЬ И МЕТОДЫ ИСПЫТАНИЙ

Часть 1

Общие требования

(IEC 60745-1:2003, IDT)

Москва

Стандартинформ

2013

Предисловие

Цели, основные принципы и основной порядок проведения работ по межгосударственной стандартизации установлены в ГОСТ 1.0-92 «Межгосударственная система стандартизации. Основные положения» и ГОСТ 1.2-2009 «Межгосударственная система стандартизации. Стандарты межгосударственные, правила, рекомендации по межгосударственной стандартизации. Правила разработки, принятия, обновления и отмены»

Сведения о стандарте

1 ПОДГОТОВЛЕН Федеральным государственным унитарным предприятием «Всероссийский научно-исследовательский институт стандартизации и сертификации в машиностроении» (ВНИИНМАШ)

2 ВНЕСЕН Федеральным агентством по техническому регулированию и метрологии

3 ПРИНЯТ Межгосударственным советом по стандартизации, метрологии и сертификации (протокол от 29 ноября 2011 г. № 40)

За принятие проголосовали:

Краткое наименование страны
по MK (ИСО 3166) 004-97

Код страны
по МК (ИСО 3166) 004-97

Сокращенное наименование
национального органа по стандартизации

Беларусь

BY

Госстандарт Республики Беларусь

Казахстан

KZ

Госстандарт Республики Казахстан

Кыргызстан

KG

Кыргызстандарт

Российская Федерация

RU

Росстандарт

Таджикистан

TJ

Таджикстандарт

4 Приказом Федерального агентства по техническому регулированию и метрологии от 13 декабря 2011 г. № 1143-ст межгосударственный стандарт ГОСТ IEC 61029-1-2011 введен в действие в качестве национального стандарта Российской Федерации с 1 января 2013 г.

5 Настоящий стандарт идентичен международному стандарту IEC 60745-1:2003 Hand-held motor-operated electric tools. Safety. Part 1: General requirements (Ручные электрические инструменты с приводом от электродвигателя. Безопасность. Часть 1. Общие требования).

Сведения о соответствии межгосударственных стандартов ссылочным международным стандартам приведены в дополнительном приложении ДА. Степень соответствия - идентичная (IDT). Стандарт подготовлен на основе применения ГОСТ Р МЭК 60745-1 -2005

6 ВВЕДЕН ВПЕРВЫЕ

Информация о введении в действие (прекращении действия) настоящего стандарта публикуется в указателе «Национальные стандарты».

Информация об изменениях к настоящему стандарту публикуется в указателе «Национальные стандарты», а текст этих изменений - в информационных указателях «Национальные стандарты». В случае пересмотра или отмены настоящего стандарта соответствующая информация будет опубликована в информационном указателе «Национальные стандарты»

Содержание

1 Область применения. 4

2 Нормативные ссылки. 4

3 Термины и определения. 7

4 Общие требования. 11

5 Общие условия испытаний. 11

6 В стадии рассмотрения. 13

7 Классификация. 13

8 Маркировка и инструкции. 13

9 Защита от контакта с токоведущими частями. 20

10 Пуск. 21

11 Потребляемая мощность и ток. 21

12 Нагрев. 21

13 Ток утечки. 25

14 Влагостойкость. 26

15 Электрическая прочность. 28

16 Защита от перегрузки трансформаторов и соединенных с ними цепей. 29

17 Надежность. 30

18 Ненормальный режим работы.. 30

19 Механическая безопасность. 33

20 Механическая прочность. 34

21 Конструкция. 35

22 Внутренняя проводка. 42

23 Комплектующие изделия. 43

24 Присоединение к источнику питания и внешние гибкие шнуры.. 45

25 Зажимы для внешних проводов. 51

26 Заземление. 53

27 Винты и соединения. 55

28 Пути утечки тока, воздушные зазоры и расстояния по изоляции. 57

29 Теплостойкость, огнестойкость и стойкость к образованию токопроводящих мостиков (трекингостойкость) 60

30 Коррозионная стойкость. 61

31 Радиация, токсичность и подобные опасности. 62

Приложение А (обязательное) Измерение путей утечки тока и воздушных зазоров. 68

Приложение В (обязательное) Двигатели, не изолированные от сети питания и имеющие основную изоляцию, не рассчитанную на номинальное напряжение машины.. 72

Приложение С (обязательное) Электрическая схема для измерения токов утечки. 73

Приложение D (обязательное) Испытание горением.. 74

Приложение Е (обязательное) Испытание раскаленной проволокой. 74

Приложение F (обязательное) Испытание игольчатым пламенем.. 75

Приложение G (обязательное) Испытание на образование токопроводящих мостиков. 76

Приложение Н В стадии рассмотрения. 76

Приложение I (обязательное) Выключатели. 76

Приложение J (справочное) Порядок проведения испытаний по разделу 29. 77

Приложение К (обязательное) Батарейные машины и аккумуляторы.. 78

Приложение L (обязательное) Батарейные машины и аккумуляторы, предусмотренные для подсоединения к сети или неизолированным источникам питания. 87

Приложение ДА (справочное) Сведения о соответствии межгосударственных стандартов ссылочным международным стандартам.. 95

Библиография. 96

 

Введение

Настоящий стандарт относится к комплексу стандартов, устанавливающих требования безопасности ручных электрических машин. Кроме настоящего стандарта, в указанный комплекс входят стандарты, устанавливающие частные требования к ручным электрическим машинам конкретных видов.

Настоящий стандарт содержит нормы, правила и методы испытаний, являющиеся общими для всех ручных электрических машин.

При отсутствии стандарта на ручную электрическую машину конкретного вида допускается распространять действие настоящего стандарта (насколько это применимо) на ручную электрическую машину данного конкретного вида.

В настоящем стандарте использованы следующие шрифтовые выделения:

- требования к методам испытаний - курсив;

- примененные термины - полужирный шрифт.

Номера разделов, пунктов, таблиц и рисунков, в том числе и дополнительных пунктов, имеющихся в приложениях В, К, L настоящего стандарта, соответствуют приведенным в IEC 60745-1:2003. Стандарты, относящиеся к небезопасным аспектам ручных машин:

- IEC, изданные ТК 59, на методы испытаний;

- CISPR 11 [1] и CISPR 14 [2], [3] на подавление радиопомех;

- IEC 61000-3-2 [4] и IEC 61000-3-3 [5] на электромагнитную совместимость.

ГОСТ IЕС 60745-1-2011

МЕЖГОСУДАРСТВЕННЫЙ СТАНДАРТ

Машины ручные электрические

БЕЗОПАСНОСТЬ И МЕТОДЫ ИСПЫТАНИЙ

Часть 1

Общие требования

Hand-held motor-operated electric tools. Safety and test methods. Part 1. General requirements

Дата введения - 2013-01-01

1 Область применения

1.1 Настоящий стандарт распространяется на ручные электрические машины с электрическим и электромагнитным приводами с номинальным напряжением питания до 250 В для однофазного переменного или постоянного тока и 440 В - для трехфазного тока (далее - машины).

Под действие настоящего стандарта подпадают:

- машины, которые можно установить на опору и использовать как стационарные без каких-либо изменений в самой машине;

- машины со встроенными нагревательными элементами, однако такие машины должны также соответствовать требованиям IEC 60335-1 в пределах их применимости.

Требования к двигателям, не изолированным от сети питания и имеющим основную изоляцию, которая не рассчитана на номинальное напряжение машины, приведены в приложении В.

Требования к батарейным (аккумуляторным) машинам и аккумуляторам приведены в приложениях К и L.

Для машин, используемых на судах и других транспортных средствах, в том числе самолетах, может возникнуть необходимость в дополнительных требованиях, а для машин, используемых в странах с тропическим климатом, - в специальных требованиях.

1.2 Настоящий стандарт не распространяется на ручные машины:

- предназначенные для использования в местах с особыми условиями среды, например в коррозионной или взрывоопасной атмосфере (пыль, пар или газ);

- пригодные для обработки и приготовления пищи, корма;

- предназначенные для медицинских целей (IEC 60601) [6];

- тепловые (с подогревом), требования к которым установлены IEC 60335-2-45 [7].

2 Нормативные ссылки

Для документов, содержащих обозначение даты их принятия, действительным является приведенное в настоящем разделе издание. Для документов без указания даты действительным является последнее издание документа (со всеми поправками и дополнениями).

В настоящем стандарте использованы нормативные ссылки на следующие стандарты:

IEC 60061-1:1969 Lamp caps and holders together with gauges for the control of interchangeability and safety. Part 1. Lamp caps (Цоколи и патроны ламповые, а также калибры для проверки их взаимозаменяемости и безопасности. Часть 1. Цоколи ламповые)

IEC 60065:1998 Audio, video and similar electronic apparatus - Safety requirements (Аудио-, видеоаппаратура и аналогичная электронная аппаратура. Требования техники безопасности)

IEC 60068-2-75:1997 Environmental testing - Part 2: Tests - Test Eh: Hammer tests (Испытания на воздействие внешних факторов. Часть 2-75. Испытания. Испытание Eh: ударные испытания)

IEC 60085:1984 Thermal evaluation and classification of electrical insulation (Системы электрической изоляции. Оценка нагревостойкости и классификация)

IEC 60112:1979 Recommended method for determining the comparative tracking index of solid insulating materials under moist conditions (Материалы электроизоляционые твердые. Методы определения сравнительного и контрольного индексов трекингостойкости во влажной среде)

IEC 60127 (все части) Miniature fuses (Предохранители плавкие миниатюрные)

IEC 60227 (все части) Polyvinyl chloride insulated cables of rated voltages up to and including 450/750 V (Кабели с поливинилхлоридной изоляцией на номинальное напряжение до 450/750 В включительно)

IEC 60245 (все части) Rubber insulated cables of rated voltages up to and including 450/750 V (Кабели с резиновой изоляцией на номинальное напряжение до 450/750 В включительно)

IEC 60309 (все части) Plugs, socket-outlets and couplers for industrial purposes (Вилки штепсельные, розетки и соединительные устройства промышленного назначения)

IEC 60320 (все части) Appliance couplers for household and similar general purposes (Соединители электроприборов бытового и аналогичного общего назначения)

IEC 60335-1:2001 Household and similar electrical appliances - Safety - Part 1: General requirements (Бытовые и аналогичные электрические приборы. Безопасность. Часть 1. Общие требования)

IEC 60335-2-29 Household and similar electrical appliances - Safety - Part 2-29: Particular requirements for battery chargers (Бытовые и аналогичные электрические приборы. Безопасность. Часть 2-29. Частные требования к зарядным устройствам аккумуляторных батарей)

IEC 60384-14:1993 Fixed capacitors for use in electronic equipment; part 14: sectional specification: fixed capacitors for electromagnetic interference suppression and connection to the supply mains (Конденсаторы постоянной емкости для электронной аппаратуры. Часть 14. Групповые технические условия на конденсаторы постоянной емкости для подавления электромагнитных помех и соединения с питающими магистралями)

IEC 60417:2002 Graphical symbols for use on equipment (Графические обозначения для использования на оборудовании)

IEC 60529:1989 Degrees of protection provided by enclosures (IP code) (Защита оболочками (код IP). Классификация степеней)

IEC 60695-2-2:1991 Fire hazard testing; part 2: test method; section 2: needle-flame test (Испытание на пожароопасность. Часть 2. Методы испытаний. Раздел 2. Испытание игольчатым пламенем)

IEC 60695-2-10:2000 Fire hazard testing. Part 2-10. Glowing/hot-wire based test methods. Glow-wire apparatus and common test procedure (Испытание на пожароопасность. Часть 2-10. Испытание раскаленной проволокой. Оборудование и общие методы испытаний)

IEC 60695-2-11:2000 Fire hazard testing. Part 2-11. Glowing/hot-wire based test methods. Glow-wire flammability test method for end-products (Испытание на пожароопасность. Часть 2-11. Основные методы испытаний раскаленной проволокой. Метод испытания раскаленной проволокой на огнеопасность конечного продукта)

IEC 60695-2-12:2000 Fire hazard testing. Part 2-12. Glowing/hot-wire based test methods. Glow-wire flammability test method for materials (Испытание на пожароопасность. Часть 2-12. Основные методы испытаний раскаленной проволокой на огнестойкость материалов)

IEC 60695-2-13:2000 Fire hazard testing. Part 2-13. Glowing/hot-wire based test methods. Glow-wire ignitability test method for materials (Испытание горением. Часть 2-13. Основные методы испытаний раскаленной проволокой материалов до воспламенения)

IEC 60707:1999 Flammability of solid non-metallic materials when exposed to flame sources - List of test methods (Материалы твердые неметаллические. Перечень методов определения воспламеняемости под воздействием источника зажигания)

IEC 60730-1:1999 Automatic electrical controls for household and similar use - Part 1: General requirements (Автоматические электрические управляющие устройства бытового и аналогичного назначения. Часть 1. Общие требования)

IEC 60760:1989 Flat, quick-connect terminations (Наконечники плоские быстросочленяемые)

IEC 60884 (все части) Plugs and socket-outlets for household and similar purposes (Вилки и розетки бытового и аналогичного назначения)

IEC 60998-2-1:2002 Connecting devices for low-voltage circuits for household and similar purposes - Part 2-1: Particular requirements for connecting devices as separate entities with screw-type clamping units (Устройства соединительные для низковольтных цепей бытового и аналогичного назначения. Часть 2-1. Частные требования к соединительным устройствам как отдельным элементам с винтовыми зажимами)

IEC60998-2-2:1991 Connecting devices for lowvoltage circuits for household and similar purposes; part 2-2: particular requirements for connecting devices as separate entities with screwless-type clamping units (Устройства соединительные для низковольтных цепей бытового и аналогичного назначения. Часть 2-2. Частные требования к соединительным устройствам как отдельным элементам с невинтовыми зажимами)

IEC 60999-1:1999 Connecting devices. Electrical copper conductors. Safety requirements for screwtype and screwless-type clamping units. Part 1. General requirements and particular requirements for clamping units for conductors from 0,2 mm2 up to 35 mm2 (included) (Устройства соединительные. Электрические медные проводники. Требования безопасности к винтовым и безвинтовым зажимам. Часть 1. Общие и частные требования к зажимам для проводов сечением от 0,2 до 35 мм2 (включительно))

IEC 61058-1:2000 Switches for appliances. Part 1. General requirements (Выключатели для электроприборов. Часть 1. Общие требования)

IEC 61558-1:1997 Safety of power transformers, power supply units and similar- Part 1: General requirements and tests (Трансформаторы силовые, блоки питания и аналогичные изделия. Часть 1. Общие требования и методы испытаний)

IEC 61558-2-6:1997 Safety of power transformers, power supply units and similar- Part 2-6: Particular requirements for safety isolating transformers for general use (Безопасность силовых преобразователей источников питания и аналогичных устройств. Часть 2-6. Частные требования безопасности изолирующих трансформаторов общего применения)

ISO 1463:1982 Metallic and oxide coatings; Measurement of coating thickness; Microscopical method (Покрытия металлические и оксидные. Измерение толщины покрытия. Микроскопический анализ)

ISO 2178:1982 Non-magnetic coatings on magnetic substrates; Measurement of coating thickness; Magnetic method (Покрытия немагнитные на магнитных подложках. Измерение толщины покрытия. Магнитный метод)

3 Термины и определения

В настоящем стандарте применены следующие термины с соответствующими определениями:

3.1.1 Под терминами «напряжение» и «ток» понимают их среднеквадратичные значения, если нет других толкований.

3.1.2 В выражениях «с применением инструмента» и «требует применения инструмента», используемых в настоящем стандарте, термин «инструмент» обозначает отвертку, монету или другой предмет, который можно использовать для отвинчивания или завинчивания винта или подобного крепежного соединения.

3.2.1 номинальное напряжение (rated voltage): Напряжение, указанное изготовителем для этой машины, или напряжение между фазами (линейное) - при трехфазном питании.

3.2.2 диапазон номинального напряжения (rated voltage range): Диапазон напряжений, указанный изготовителем для машины и заданный нижним и верхним пределами.

3.2.3 рабочее напряжение (working voltage): Максимальное напряжение, приложенное к рассматриваемой части, когда машина работает при номинальном напряжении и при нормальной нагрузке.

3.2.4 номинальная потребляемая мощность (rated input): Потребляемая мощность, указанная изготовителем машины и выражаемая в ваттах.

3.2.5 диапазон номинальной потребляемой мощности (rated input range): Диапазон мощности, указанный изготовителем машины, заданный верхним и нижним пределами и выражаемый в ваттах.

3.2.6 номинальный ток (rated current): Ток, указанный на машине изготовителем. Номинальный ток, не указанный на машине, определяют измерением при работе машины при номинальном напряжении и нормальной нагрузке.

3.2.7 номинальная частота (rated frequency): Частота, указанная изготовителем машины.

3.2.8 диапазон номинальной частоты (rated frequency range): Диапазон частоты, указанный на машине изготовителем, заданный нижним и верхним пределами.

3.2.9 нормальная нагрузка (normal load): Нагрузка, приложенная к машине при номинальном напряжении или верхнем пределе диапазона номинальных напряжений до достижения номинальной потребляемой мощности или номинального тока с учетом указаний о кратковременном или повторно-кратковременном режиме работы, причем нагревательные элементы (если они имеются) при отсутствии каких-либо указаний в стандартах на машины конкретных видов должны работать как при нормальных условиях.

3.2.9.1 потребляемая мощность и ток холостого хода (no load input/current): Максимально достигнутые потребляемая мощность и ток, когда машина работает при номинальном напряжении и номинальной частоте без приложения внешней нагрузки.

3.2.10 номинальная скорость на холостом ходу (rated no-load speed): Скорость на холостом ходу при номинальном напряжении или верхнем пределе диапазона номинальных напряжений, указанная изготовителем машины.

3.2.11 нормальное применение (normal use): Применение машины согласно назначению и инструкции изготовителя.

3.3.1 съемный шнур (detachable cord): Гибкий шнур или кабель для питания или других целей, присоединяемый к машине с помощью штепсельного соединения.

3.3.2 шнур питания (supply cord): Гибкий кабель или шнур для питания, соединенный с машиной.

3.3.3 крепление типа X (type X attachment): Способ крепления, при котором шнур или кабель питания может быть легко заменен без использования специального инструмента.

3.3.4 крепление типа Y (type Y attachment): Способ крепления, при котором шнур или кабель питания может быть заменен только изготовителем машины или его ремонтной службой.

3.3.5 крепление типа Z (type Z attachment): Способ крепления, при котором шнур или кабель питания не может быть заменен без повреждения машины.

3.4.1 основная изоляция (basic insulation): Изоляция частей, находящихся под напряжением и обеспечивающая основную защиту от поражения электрическим током, при этом она не обязательно включает в себя изоляцию, применяемую только для функциональных целей.

3.4.2 дополнительная изоляция (supplementary insulation): Независимая изоляция, предусмотренная как дополнение к основной изоляции для обеспечения защиты от поражения электрическим током в случае повреждения основной изоляции.

3.4.3 двойная изоляция (double insulation): Изоляция, включающая в себя как основную, так и дополнительную изоляцию.

3.4.4 усиленная изоляция (reinforced insulation): Изоляция частей, находящихся под напряжением, обеспечивающая такую же степень защиты от поражения электрическим током, как и двойная изоляция.

Примечание - Примерами усиленной изоляции являются один или несколько слоев, которые не могут быть испытаны отдельно как основная или дополнительная изоляция.

3.4.5 машина класса I (class I tool): Машина, в которой защита от поражения электрическим током обеспечена не только основной изоляцией, но и дополнительными мерами безопасности - соединением доступных токопроводящих частей с защитным заземляющим проводом сети таким образом, что они не могут оказаться под напряжением в случае повреждения основной изоляции.

Примечания

1 Эти меры предосторожности предусматривают использование защитного (заземляющего) провода в шнуре или кабеле питания.

2 Машины класса I могут иметь части с двойной или усиленной изоляцией или части, работающие при безопасном сверхнизком напряжении.

3.4.6 машина класса II (class II tool): Машина, в которой защита от поражения электрическим током обеспечена не только основной изоляцией, но и двойной или усиленной изоляцией и которая не имеет защитного заземляющего провода или защитного контакта заземления.

3.4.7 конструкция класса II (class II construction): Часть машины, в которой защита от поражения электрическим током обеспечена двойной или усиленной изоляцией.

3.4.8 машина класса III (class III tool): Машина, в которой защита от поражения электрическим током обеспечена ее питанием безопасным сверхнизким напряжением и в которой не возникает напряжение большее, чем безопасное сверхнизкое напряжение.

3.4.9 конструкция класса III (class III construction): Часть машины, в которой защита от поражения электрическим током обеспечена питанием безопасным сверхнизким напряжением и в которой не возникают напряжения большие, чем безопасное сверхнизкое напряжение.

3.4.10 пути утечки (creepage distance): Кратчайшее расстояние между двумя токопроводящими частями или между токопроводящей частью и граничной поверхностью машины, измеренное по поверхности изоляционного материала.

Примечания

1 Граничной поверхностью машины является внешняя поверхность корпуса, которая определяется металлической фольгой, прижимаемой к доступным изоляционным поверхностям.

2 Примеры путей утечки приведены в приложении А.

3.4.11 воздушный зазор (clearance): Кратчайшее расстояние между двумя токопроводящими частями или между токопроводящеи частью и наружной граничной поверхностью машины, измеренное по воздуху.

Примечание - Примеры воздушных зазоров приведены в приложении А.

3.4.12 нормальные условия работы изоляционных материалов (normal duty conditions of insulating material): Условия, при которых практически нет каких-либо отложений на электропроводных материалах и длительных электрических напряжений (нагрузок) или имеются незначительные отложения (загрязнения) на электропроводных материалах и кратковременные электрические нагрузки.

3.4.13 тяжелые условия работы изоляционных материалов (severe duty conditions of insulating material): Условия, при которых имеются незначительные отложения на электропроводных материалах и длительные электрические нагрузки или значительные отложения на электропроводных материалах и кратковременные электрические нагрузки.

3.4.14 сверхтяжелые условия работы изоляционных материалов (extra-severe duty conditions of insulating material): Условия, при которых имеются значительные отложения на электропроводных материалах и длительные электрические нагрузки или чрезмерные отложения на электропроводных материалах и кратковременные электрические нагрузки.

3.5.1 сверхнизкое напряжение (extra-low voltage): Напряжение, получаемое от встроенного в машину источника и при работе машины на ее номинальном напряжении не превышающее 50 В между проводниками и между проводниками и землей.

3.5.2 безопасное сверхнизкое напряжение (safety extra-low voltage): Напряжение, не превышающее 42 В между проводниками и между проводниками и землей при напряжении холостого хода, не превышающем 50 В. Безопасное сверхнизкое напряжение, получаемое от сети, должно поступать через безопасный разделительный трансформатор или преобразователь с раздельными обмотками, изоляция которого соответствует требованиям к двойной или усиленной изоляции.

3.5.3 безопасный изолирующий трансформатор (safety isolating transformer): Трансформатор, входная обмотка которого электрически отделена от выходной обмотки изоляцией, эквивалентной, по крайней мере, двойной или усиленной изоляции, предназначенный для питания распределительной цепи машины или другого оборудования безопасным сверхнизким напряжением.

3.6.1 ручная машина (далее - машина) [(hand-held tool (in this standard abbreviated to «tool»)]: Машина с электрическим или электромагнитным приводом, являющимся неотъемлемой частью, предназначенная для выполнения технологических операций. Она может быть перенесенной к месту применения, а во время работы - удерживаемой в руках или подвешиваемой, или устанавливаемой на опору.

Примечание - Ручная машина может быть снабжена гибким валом, а ее привод может быть стационарным или переносным. К ручным машинам относят также машины, поддерживаемые руками (например, бетоноломы, ударные трамбовки).

3.6.2 заменяемая машина (exchange type tool): Машина, которую невозможно ремонтировать или которую ремонтируют только в ремонтных мастерских изготовителя.

3.7.1 несъемная часть (non-detachable part): Часть, которая может быть снята или открыта только с помощью инструмента или которая может выдержать испытание по 21.22.

3.7.2 съемная часть (detachable part): Часть, которая может быть снята или открыта без помощи инструмента или которую изготовитель рекомендует снять в соответствии с инструкцией, даже если для ее снятия потребуется инструмент.

3.8.1 терморегулятор (thermostat): Термочувствительное устройство, рабочая температура которого может быть либо установленной, либо регулируемой и которое при нормальной эксплуатации поддерживает температуру контролируемой части в определенных пределах путем автоматического размыкания и замыкания цепи.

3.8.2 термоограничитель (temperature limiter): Термочувствительное устройство, рабочая температура которого может быть либо установленной, либо регулируемой и которое при нормальной эксплуатации срабатывает путем размыкания или замыкания цепи, когда температура контролируемой части достигает заданной.

Термоограничитель не срабатывает в обратном направлении во время нормального цикла работы.

3.8.3 термовыключатель (thermal cut-out): Устройство, которое при ненормальной работе ограничивает температуру контролируемой части путем автоматического размыкания цепи или уменьшения значения тока и которое сконструировано так, что его уставка не может быть изменена потребителем.

3.8.4 термовыключатель с самовозвратом (self-resetting thermal cut-out): Термовыключатель, который автоматически возобновляет подачу тока после того, как соответствующая часть машины будет достаточно охлаждена.

3.8.5 термовыключатель без самовозврата (non-self-resetting thermal cut-out): Термовыключатель, который возобновляет подачу тока после ручного действия или замены детали.

3.8.6 защитное устройство (protective device): Устройство, срабатывание которого предотвращает опасную ситуацию в условиях ненормальной работы.

3.8.7 термозвено (thermal link): Термовыключатель, который срабатывает только однажды и затем требует частичной или полной замены.

3.9.1 полное отключение (all-pole disconnection): Отключение всех питающих проводов (кроме заземляющего провода) одним действием.

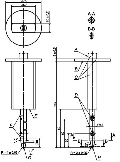
3.9.2 доступная часть (accessible part): Часть или поверхность, к которой можно прикоснуться стандартным испытательным пальцем, показанным на рисунке 1, включая доступные металлические части, находящиеся в электрической связи с любой проводящей частью.

3.9.3 токоведущая часть (live part): Любой проводник или токопроводящая деталь, предназначенный(ая) для пропускания тока при обычном применении, включая нейтральный провод, но обычно это не PEN-провод.

Примечание - PEN-провод - защитный заземляющий нейтральный провод, выполняющий комбинированные функции как защитного, так и нейтрального провода.

3.10.1 электронный элемент (electronic component): Часть, в которой проводимость обеспечена, в основном, электронами, движущимися в вакууме, газе или полупроводнике.

3.10.2 электронная цепь (electronic circuit): Цепь, которая оснащена не менее чем одним электронным элементом.

3.10.3 защитный импеданс (protective impedance): Импеданс, включенный между активными токоведущими частями и доступными для прикосновения токопроводящими частями, позволяющий ограничить значение тока до безопасного.

3.11.1 номинальная продолжительность работы (rated operating time): Продолжительность работы, указанная изготовителем машины.

3.11.2 кратковременный режим работы (short-time operation): Режим работы, характеризуемый нормальной нагрузкой в течение определенного периода времени, начиная с холодного состояния машины, причем интервалы между периодами работы являются достаточно продолжительными, чтобы машина могла охладиться до температуры окружающего воздуха.

3.11.3 повторно-кратковременный режим работы (intermittent operation): Режим работы, характеризуемый последовательным чередованием одинаковых циклов, каждый из которых включает в себя период работы при нормальной нагрузке и период отдыха, при котором машина функционирует на холостом ходу или выключается.

3.11.4 сервисное обслуживание (routine servicing): Периодическое обслуживание, во время которого требуется разборка машины согласно инструкции по применению и рекомендациям сервисного центра.

3.11.5 техническое обслуживание (user maintenance): Любые работы, относящиеся к техническому обслуживанию и перечисленные в инструкции по применению машины или отмеченные на ней изготовителем машины указания для исполнения.

3.12.1 принадлежности (accessory): Устройства, которые могут быть присоединены к выходному механизму машины.

3.12.2 приспособление (attachment): Устройство, которое присоединяют к корпусу или другим элементам машины и которое при необходимости может быть соединено с механизмом машины для нормального ее применения в соответствии с требованиями настоящего стандарта.

4 Общие требования

Машины должны быть сконструированы и изготовлены таким образом, чтобы при нормальной эксплуатации они работали безопасно для людей и окружающей среды даже в случае неправильного обращения с машиной.

В основном этот принцип достигают выполнением соответствующих требований настоящего стандарта, а проверку осуществляют проведением всех соответствующих испытаний.

5 Общие условия испытаний

5.1 Испытания, проводимые в соответствии с настоящим стандартом, являются типовыми.

5.2 Если нет других указаний, испытания проводят на одном образце, который должен выдержать все предусмотренные испытания. Однако испытания по разделам 23 - 27 и 29 могут быть проведены на отдельных образцах.

Дополнительные образцы могут потребоваться, например, если машина рассчитана на различные напряжения питания или если должны быть проведены испытания по 12.6; в этом случае потребуются три образца двигателей. Испытания комплектующих изделий могут потребовать дополнительных образцов этих комплектующих изделий, которые, при необходимости, должны быть поставлены вместе с машиной. Необходимо избегать накопления напряжений при последовательных испытаниях электронных цепей, что также может потребовать замены комплектующих изделий или использования дополнительных образцов. Число дополнительных образцов должно быть по возможности минимальным, что определяется оценкой соответствующих электронных цепей.

5.3 При отсутствии других указаний испытания проводят в порядке следования пунктов настоящего стандарта. Если из конструкции машины очевидно, что определенное испытание неприемлемо, то это испытание не проводят.

Примечание - Перед началом испытаний машина должна быть подключена к сети при номинальном напряжении или нижнем пределе диапазона номинальных напряжений для установления ее исправности.

5.4 Машины или их подвижные части испытывают в наиболее неблагоприятных положениях, возможных при нормальной эксплуатации.

5.5 Машины, снабженные управляющими или переключающими устройствами, уставка которых может быть изменена потребителем, испытывают при самых неблагоприятных уставках этих устройств. Электронные устройства регулирования скорости устанавливают на максимальную скорость.

Если средства регулирования управляющего устройства доступны без использования инструмента, то настоящий пункт применяют независимо от того, может ли уставка быть изменена вручную или с помощью инструмента. Если средства регулирования недоступны без помощи инструмента или если не предусмотрено изменение уставки потребителем, то настоящий пункт не применяют. Соответствующее пломбирование рассматривают как способ предотвращения изменения уставки потребителем.

5.6 Испытания проводят в местах, защищенных от сквозняков, и обычно при температуре окружающей среды (20 ± 5) °С.

Если температура какой-либо части ограничивается устройством, чувствительным к температуре, или на нее влияет перепад температур в помещении, то в сомнительных случаях температуру окружающей среды поддерживают в пределах (23 ± 2) °С.

5.7.1 Машины, предназначенные для работы только на переменном токе, испытывают переменным током при номинальной частоте, если она указана, а машины, предназначенные для работы как на переменном, так и на постоянном токе, испытывают при наиболее неблагоприятном роде тока.

Машины, предназначенные для работы на переменном токе, на которых не указана номинальная частота тока или указан диапазон частот от 50 до 60 Гц, испытывают при частоте 50 или 60 Гц в зависимости от того, при какой частоте создаются наиболее неблагоприятные условия.

5.7.2 Машины, предназначенные для работы при более чем одном номинальном напряжении, испытывают при наиболее неблагоприятном напряжении.

Если указано, что напряжение питания равно номинальному, умноженному на коэффициент, то напряжение питания для машин, маркированных диапазоном номинальных напряжений, должно равняться:

-верхнему пределу диапазона номинальных напряжений, умноженному на коэффициент, если он больше 1;

-нижнему пределу диапазона номинальных напряжений, умноженному на коэффициент, если он меньше 1.

Если коэффициент не указан, напряжение питания должно равняться наиболее неблагоприятному в пределах диапазона номинальных напряжений.

Для машин, предназначенных для работы более чем на одном номинальном напряжении или диапазоне номинальных напряжений, может возникнуть необходимость провести несколько испытаний при минимальном, среднем и максимальном значениях номинального напряжения или диапазона номинальных напряжений, чтобы установить наиболее неблагоприятное напряжение.

5.7.3 Если для машин, маркированных значениями диапазона номинальных напряжений и номинальной потребляемой мощности, соответствующей среднему значению диапазона номинальных напряжений, указано, что потребляемая мощность равна номинальной потребляемой мощности, умноженной на коэффициент, то значение потребляемой мощности равно:

-значению мощности, рассчитанному по верхнему пределу диапазона номинальных напряжений, умноженному на коэффициент, если он больше 1;

- значению мощности, рассчитанному по нижнему пределу диапазона номинальных напряжений, умноженному на коэффициент, если он меньше 1.

Если коэффициент не указан, потребляемая мощность должна соответствовать потребляемой мощности, относящейся к наиболее неблагоприятному номинальному напряжению внутри диапазона.

5.8 Если сменные приспособления и насадки поставляет к машине изготовитель, то машины испытывают с такими приспособлениями или насадками, которые дают самые неблагоприятные результаты.

5.9 Если нет других указаний, машины испытывают с соответствующим шнуром, присоединенным к машине.

5.10 Если машины класса I имеют доступные металлические части, которые не присоединены к заземляющему зажиму или контакту и не отделены от токоведущих частей промежуточной металлической заземленной частью, то такие части испытывают на соответствие требованиям, установленным для конструкций класса II.

Если машины класса I имеют доступные неметаллические части, то такие части проверяют на соответствие требованиям, установленным для конструкций класса II, если эти части не отделены от токоведущих частей промежуточной заземленной металлической частью.

5.11 Если машины классов I и II имеют части, работающие при безопасном сверхнизком напряжении, то такие части испытывают в соответствии с требованиями для машин класса III.

5.12 При испытании электронных цепей источник питания не должен подвергаться таким внешним помехам, которые могут оказать влияние на результаты испытаний.

5.13 Если при нормальной эксплуатации нагревательный элемент не может функционировать при неработающем двигателе, то элемент испытывают при работающем двигателе. Если нагревательный элемент может функционировать при неработающем двигателе, то его испытывают при работающем или неработающем двигателе в зависимости от того, что является наиболее неблагоприятным. Нагревательные элементы, встроенные в машину, подключают к отдельному источнику питания, если нет других указаний.

5.14 Сменные приспособления или насадки к машине, выполняющие функции в соответствии с требованиями, установленными стандартом на машину конкретного вида, испытывают в соответствии с требованиями этого стандарта. Остальные принадлежности испытывают в соответствии с инструкцией изготовителя. При отсутствии такой инструкции машину испытывают при непрерывном режиме работы с нагрузкой, соответствующей номинальной потребляемой мощности или номинальному току.

5.15 Если нагрузку производят тормозным моментом, то его прилагают таким образом, чтобы избежать дополнительных напряжений (например, бокового нажима). Дополнительные нагрузки, необходимые для нормальной работы машины, должны быть учтены.

Если для создания нагрузки необходим режим торможения, то торможение должно быть постоянным и должна быть гарантия невлияния пускового тока на результаты испытаний.

Допускается выходные средства для обеспечения нагружения изменять путем соединения их с тормозным устройством.

5.16 Машины, предназначенные для работы при безопасном сверхнизком напряжении, испытывают вместе с безопасным изолирующим трансформатором, входящим в комплект поставки.

6 В стадии рассмотрения

7 Классификация

7.1 По типу защиты от поражения электрическим током машины подразделяют на классы: I, II, III. Соответствие требованию проверяют осмотром и соответствующим испытанием.

7.2 Машины должны иметь соответствующую степень защиты от опасного проникновения воды согласно IEC 60529. Если степень защиты иная, чем степень IPX0, необходимо руководствоваться соответствующими стандартами на машины конкретных видов.

Соответствие этому требованию проверяют осмотром и соответствующим испытанием.

8 Маркировка и инструкции

8.1 На машине должны быть указаны следующие данные:

- номинальное(ые) напряжение(я) или диапазон(ы) номинальных напряжений в вольтах. Машины, имеющие соединение «звезда - треугольник», должны иметь четкую маркировку двух номинальных напряжений (например, 230D/400Y);

- условное обозначение рода тока, если не указана номинальная частота;

- номинальная потребляемая мощность в ваттах или номинальный ток в амперах. Указываемые на машине номинальную потребляемую мощность или номинальный ток определяют

как общую потребляемую (одновременно от сети) мощность или общий ток. Если машина имеет переменно действующие комплектующие изделия, которые могут быть выбраны устройством управления, номинальная потребляемая мощность и номинальный ток должны соответствовать наибольшей возможной нагрузке;

- наименование или торговая марка, или условный знак изготовителя или иного лица, ответственного за размещение машины на рынке;

- обозначение модели или типа;

-условное обозначение класса II (только для машин класса II);

- IP индекс, соответствующий степени защиты от доступа воды, кроме IPX0. Первую цифру индекса IP нет необходимости указывать на машине;

- адрес изготовителя или обозначение страны;

- мандатный знак, показывающий соответствие с законодательством посредством ссылки на этот стандарт.

Соответствие требованию проверяют осмотром.

Допускаются дополнительные маркировки при условии, что они не вызовут путаницы. Если комплектующие изделия маркированы отдельно, то маркировка машины и маркировка комплектующих изделий должна быть такой, чтобы не могло быть сомнений относительно маркировки самой машины.

8.2 На машинах, работающих в кратковременном или повторно-кратковременном режиме, маркировка должна включать в себя номинальную продолжительность работы или номинальную продолжительность работы и номинальное время перерыва, если продолжительность работы не ограничена конструкцией машины.

Маркировка кратковременного или повторно-кратковременного режима работы должна соответствовать условиям нормальной эксплуатации.

Маркировка повторно-кратковременного режима работы должна включать в себя номинальную продолжительность работы, указанную перед номинальным временем перерыва, причем эти обозначения должны быть разделены наклонной чертой.

Соответствие требованию проверяют осмотром.

8.3 Маркировка машин, предназначенных для работы без настройки внутри диапазона номинальных значений (напряжения, частоты тока и т. д.), должна отличаться от маркировки машин, которые предназначены для работы с настройкой и без нее при различных значениях напряжения, частоты тока и т. д.

Нижний и верхний пределы диапазона номинальных значений должны быть отделены дефисом (-). Различные значения номинальных величин должны быть разделены наклонной чертой (/).

Примеры

1 115-230 В: Машина рассчитана на любое значение в пределах маркированного диапазона.

2 115/230 В: Машина рассчитана только на маркированные значения напряжения.

Соответствие проверяют осмотром.

8.4 Если машина может быть отрегулирована на различные номинальные напряжения, то напряжение, на которое машину регулируют, должно быть ясно различимо.

К машинам с соединением «звезда - треугольник» это требование не относится.

Для машин, не требующих частых изменений уставки напряжения, это требование считают выполненным, если номинальное напряжение, на которое регулируют машину, можно определить из схемы проводки, прикрепленной к машине. Схема проводки может находиться на внутренней стороне крышки, которую надо снять, чтобы присоединить питающие проводники. Схема проводки не должна находиться на этикетке, которая свободно прикреплена к машине.

Соответствие проверяют осмотром.

8.5 Для машин, маркированных несколькими номинальными напряжениями или несколькими диапазонами номинальных напряжений, номинальная потребляемая мощность должна быть указана для каждого из этих напряжений или диапазонов напряжений.

Верхний и нижний пределы номинальной потребляемой мощности должны быть обозначены на машине так, чтобы было видно соотношение между потребляемой мощностью и напряжением, кроме случая, при котором разность пределов диапазонов номинальных напряжений не превышает 10 % среднего значения диапазона. В этом случае обозначение номинальной потребляемой мощности допускается относить к среднему значению диапазона.

Соответствие проверяют осмотром.

8.6 Используемые в маркировке условные обозначения должны быть следующими (русские, в скобках- международные):

В (V)

- вольт

А (А )

- ампер

Гц (Hz)

- герц

Bт(W)

- ватт

кВт(кW)

- киловатт

Ф(F)

- фарад

мФ(mF)

- микрофарад

л (l)

- литр

г(g)

- грамм

кг (kg)

- килограмм

бар (bar)

- бар

Па (Ра)

- паскаль

ч (h)

- час

мин (min)

- минута

с (s)

- секунда

no

- обороты холостого хода

.../мин (.../min) или ... мин-1 (min-1)

- число оборотов или возвратно-поступательных движений в минуту;

 или d.c.

- постоянный ток;

 или а.с

- переменный ток;

- двухфазный переменный ток;

- двухфазный переменный ток с нейтралью;

- трехфазный переменный ток;

- трехфазный переменный ток с нейтралью;

- номинальный ток, соответствующий плавкой вставке в амперах;

- миниатюрная плавкая вставка с выдержкой времени, где х - условное обозначение характеристики время/ток (IEC 60127);

- защитное заземление;

- машина класса II;

IPXX

- число, символ.

Если первая цифра символа IP отсутствует, то отсутствующую цифру заменяют буквой X, например IPX5.

Условное обозначение рода тока следует помещать за обозначением номинального напряжения.

Размеры условного обозначения машин класса II должны быть такими, чтобы сторона наружного квадрата была примерно в два раза больше стороны внутреннего квадрата. Длина стороны наружного квадрата должна быть не менее 5 мм, кроме случая, когда наибольший размер машины не превышает 15 см, тогда размеры обозначения допускается уменьшить, но сторона наружного квадрата не должна быть менее 3 мм.

При использовании других единиц эти единицы и их условные обозначения должны соответствовать Международной системе единиц СИ.

Допускаются дополнительные условные обозначения, если они не вызовут путаницы.

Соответствие требованиям проверяют осмотром и измерением.

8.7 Машины, присоединяемые к более чем двум питающим проводам, должны быть снабжены схемой соединений, прикрепленной к машине, если не является очевидным правильный способ присоединения.

Правильный способ присоединения очевиден, если зажимы для присоединения питающих проводов обозначены стрелками, направленными в сторону зажимов. Заземляющий провод не является питающим проводом. Для машин с соединением «звезда - треугольник» схема соединений должна показывать порядок соединения обмоток.

Соответствие проверяют осмотром.

8.8 Используют следующие обозначения контактных зажимов для подключения к сети питания (это не относится к машинам, имеющим шнур питания с креплением типа Z):

- зажимы, предназначенные только для нейтрального провода, следует обозначать буквой «N»;

- зажимы заземления следует обозначать условным знаком .

Эти обозначения не должны быть нанесены на винтах, шайбах и других частях, которые могут быть сняты при присоединении проводов.

Соответствие проверяют осмотром.

8.9 Выключатели, функционирование которых может вызвать опасность, должны быть маркированы или расположены так, чтобы было ясно, для управления какой частью машины они предназначены, кроме случаев, когда в этом нет явной необходимости. Обозначения, используемые для этой цели, должны быть понятны без знания языка или национальных стандартов.

Соответствие проверяют осмотром.

8.10 Машины, которые могут вызвать опасность при неожиданном пуске, должны иметь обозначение положения «выключено» сетевого выключателя, если это положение не является очевидным. При необходимости это положение обозначают знаком «О», как предписано IEC 60417.

Знак «О» не следует использовать для каких-либо других обозначений.

Положение подвижных контактов сетевого выключателя должно соответствовать обозначениям разных положений его управляющего органа.

Примечание - Знак «О» может быть использован, например, на клавишах устройств цифрового программного управления.

Соответствие проверяют осмотром.

8.11 Устройства, предназначенные для регулирования вовремя работы (далее - регулирующие устройства), должны быть снабжены обозначениями направления регулирования для увеличения или уменьшения значения регулируемого параметра. Обозначения «+» и «-» считают достаточными.

Требование не распространяется на регулирующие устройства, снабженные управляющим органом, если его положение «полностью включено» противоположно положению «выключено».

Если для обозначения различных положений используют цифры, то положение «выключено» должно быть обозначено знаком «О», а положения, соответствующие большей полезной, потребляемой мощности, скорости и т. п., должны быть обозначены цифрами большего достоинства. Обозначения различных положений органа управления регулирующего устройства не следует наносить на самом устройстве.

Соответствие проверяют осмотром.

8.12 Инструкции по применению и безопасности должны быть приложены к машине и упакованы так, чтобы потребитель обнаружил их при извлечении машины из упаковки. Инструкция по безопасности должна быть отделена от инструкции по применению. Инструкции должны быть написаны на официальном языке (языках) той страны, в которую будет поставлена машина.

Инструкции должны быть четкими и конкретными и должны включать в себя наименование и адрес изготовителя или поставщика и пояснения используемых символов или их обозначений.

Инструкции должны содержать следующую информацию:

8.12.1 Основные инструкции безопасности

Правила безопасности, излагаемые в этом пункте как на русском или английском языке, так и на любом другом официальном языке, должны быть четкими.

Предупреждающие сведения в инструкции должны быть выделены шрифтом в соответствии со шрифтовыми выделениями настоящего стандарта и стандарта на машины конкретного вида, любые другие предупреждения - по форме, принятой изготовителем.

ОСНОВНЫЕ ПРАВИЛА БЕЗОПАСНОСТИ

ВНИМАНИЕ! За разделом «отказы» следуют меры безопасности, направленные на защиту от поражения электрическим током, поражения огнем и других серьезных опасностей.

СОБЛЮДАЙТЕ ЭТИ ИНСТРУКЦИИ

1) Рабочее помещение

a) Содержите рабочее помещение (место) в чистоте и достаточно освещенным. Беспорядок и темнота приводят к несчастным случаям.

b) Не работайте электрической ручной машиной во взрывоопасной среде, в которой имеются огнеопасные жидкости, газы и пыль. При работе машиной могут возникнуть искры, что при наличии пыли, испарений, газов может привести к воспламенению и задымлению.

c) Не допускайте при работе машиной присутствия детей и посторонних лиц. Отвлечение внимания в процессе работы может быть причиной потери вашего контроля.

2) Электробезопасность

a) Электрические ручные машины должны иметь штепсельный разъем. Запрещается использовать нестандартную вилку и иные способы соединения с источником питания.

b) Не допускайте контакта тела с заземлением и заземленными поверхностями, такими как трубы, радиаторы, батареи и т. п.

c) Запрещается работать машиной в условиях, не защищенных от дождя, во влажных и сырых помещениях. Влага, проникнув в машину, будет увеличивать опасность поражения электрическим током.

d) Не допускайте небрежного отношения к питающему кабелю (шнуру); не используйте его для переноса машины и для отключения из сети питания машины. Оберегайте питающий шнур от тепла, масел, острых кромок (предметов), движущихся частей машины.

Повреждение или запутывание питающего шнура увеличивает опасность поражения электрическим током.

3) Безопасность оператора

a) Не теряйте бдительности, контролируйте ваши действия и используйте чувство разума при работе машиной. Не работайте машиной до полной усталости или под влиянием наркотиков, алкоголя или будучи на лечении. Минута (момент) невнимательности в процессе работы машиной может быть результатом серьезной травмы.

b) Используйте индивидуальные средства защиты (очки для глаз, маску от пыли, прочный головной убор, наушники от шума, нескользящую обувь).

c) Не допускайте случайного запуска машины. Перед включением в сеть убедитесь, что выключатель находится в положении «выключено». Не переносите машину, включенную в сеть, не сняв палец с курка выключателя, так как это может привести к случайному нажатию на курок выключателя.

d) Не включайте машину, не убрав регулировочный ключ или ключ патрона машины.

e) Не перенапрягайтесь, сохраняйте устойчивость и равновесие во всех случаях. Это позволяет лучше управлять машиной в неожиданных ситуациях.

f) Одежда работающего машиной не должна быть свободной, изношенной или быть с ювелирными украшениями, так как они могут быть причиной травмы. При наличии длинных волос используйте головной убор.

g) При наличии устройств для сбора пыли убедитесь, что они подсоединены и правильно используются.

4) Применение ручной машины и обращение с ней

a) Не перегружайте машину. Правильно ее используйте согласно назначению, она будет работать лучше и безопаснее в том режиме, для которого предназначена.

b) Не работайте машиной, если выключатель не обеспечивает ее включение или выключение. Машина с неисправным органом управления, таким как выключатель, опасна и должна подлежать ремонту.

c) Отсоединяйте штепсельную вилку от сети или аккумуляторную батарею от машины до выполнения настройки, изменения принадлежностей и т. п. Такие принудительные меры безопасности снижают опасность при случайном запуске машины.

d) Не допускайте детей и посторонних лиц в зону работы машиной.

e) Содержите машину в исправном состоянии. Прежде чем использовать машину, проверьте ограждающие устройства и другие детали, которые могут быть повреждены. Контролируйте легкость хода движущихся деталей. В случае поломки они должны быть заменены службой сервиса.

f) Обеспечьте должное состояние режущего инструмента. Для лучшей работы и безопасного применения режущий инструмент должен быть острым и исправным.

g) Используйте машину вместе с режущим инструментом и принадлежностями в соответствии с инструкциями.

5) Сервисное обслуживание

Машина, подлежащая ремонту, должна быть отремонтирована квалифицированным персоналом с использованием для замены подлинных запасных частей. Только в этом случае можно быть уверенным, что безопасность машины обеспечена.

8.12.2 Дополнительная информация, которая должна быть учтена

a) Инструкции для установки машины при ее применении:

1) Установка или фиксация машины в устойчивом положении, аналогичном положению машины, закрепленной на опоре.

2) Монтаж.

3) Присоединение к источнику питания, укладка кабеля, защита от перегрузки, присоединение к разъему и элементам заземления.

4) Иллюстрированное описание функций машины.

5) Условия окружающей среды, ограничивающие использование машины.

6) Перечень содержимого.

b) Инструкции по эксплуатации:

1) Установка и испытание.

2) Замена рабочего инструмента.

3) Зажимные приспособления для работы.

4) Предельные размеры обрабатываемой детали.

5) Общие инструкции по применению машины.

c) Ремонт и обслуживание:

1) Периодичность чистки, ремонта и смазки.

2) Обслуживание изготовителем или посредником, перечень адресов.

3) Перечень деталей, заменяемых потребителем.

4) Специальный инструмент, который может быть востребован.

5) Для машин с креплением шнура (кабеля) питания типа X, имеющим специально подготовленный шнур: при повреждении его следует заменить специально подготовленным шнуром через сервисную организацию.

6) Для машин с креплением шнура питания типа V: его замену, если потребуется, в целях безопасности должен осуществить изготовитель или агент изготовителя.

7) Для машин с креплением шнура питания типа Z: шнур замене не подлежит, а машина не подлежит дальнейшему использованию.

8.13 Маркировка, соответствующая стандарту, должна быть четкой и надежной.

Соответствие этому требованию проверяют осмотром и протиркой маркировки вручную в течение 15 с куском ткани, смоченным в бензине.

После проведения всех испытаний согласно настоящему стандарту маркировка должна быть ясно различима и не должна быть легкоудаляемой и коробиться. Маркировка должна учитывать условия нормальной эксплуатации машины. Так, например, маркировку, нанесенную с использованием краски или эмалевого покрытия, в отличие от стекловидной эмали, не считают надежной.

Бензин, используемый при испытаниях прочности маркировки, представляет собой алифатический раствор гексана с максимальным содержанием ароматических соединений 0,1 % (объемная доля), каурибутанола значением 29; начальная точка кипения около 65 °С, точка испарения около 69 °С и удельная масса примерно 0,689 кг/л.

8.14 Маркировки, указанные в 8.1 - 8.5, должны быть размещены на основной части машины. Маркировки, указанные в 8.1 - 8.3 и 8.5, должны быть совмещены.

Маркировки на машине должны быть четко различимы с внешней стороны машины, но если это необходимо, после снятия крышки. Должна быть предусмотрена возможность снимать или открывать эту крышку без помощи инструмента.

Указания по использованию выключателей и устройств управления должны быть приведены на (или около) этих комплектующих изделиях (изделий), они не должны быть на частях, которые могут быть размещены или перемещены так, что маркировка введет в заблуждение.

Соответствие этому требованию проверяют осмотром.

8.15 Если проверка на соответствие требованию стандарта предусматривает замену тепловой защиты или плавкой вставки, то номер или другой способ обозначения этого узла должен быть маркирован на нем или на таком месте, где маркировка четко видна даже после повреждения этого узла. Данное требование относится также к случаю, когда машина подвергается разборке, необходимой для замены этого узла.

Это требование не относится к узлам, которые можно заменить только вместе с деталью машины. Соответствие требованию проверяют осмотром.

9 Защита от контакта с токоведущими частями

Машины должны быть сконструированы и закрыты так, чтобы была обеспечена достаточная защита от случайного контакта с токоведущими частями.

Соответствие требованию проверяют осмотром и испытанием по 9.2 - 9.4 в зависимости от применимости.

9.1 Доступную часть не считают токоведущей, если:

- часть питается безопасным сверхнизким напряжением при условии, что:

для переменного тока пиковое напряжение не превышает 42 В;

для постоянного тока напряжение не превышает 42 В;

- часть отделена от токоведущих частей защитным импедансом.

При наличии защитного импеданса ток между этой частью и источником питания не должен превышать 2 мА для постоянного тока и пиковое значение не должно превышать 0,7 мА для переменного тока и, кроме того:

- для напряжений с пиковым значением более 42 и до 450 В включительно емкость не превышает 0,1 мкФ;

- для напряжений с пиковым значением более 450 В и до 15 кВ включительно разряд не превышает 45 мкКл.

Соответствие требованию проверяют измерением при работе машины при номинальном напряжении. Напряжения и токи измеряют между соответствующими частями и каждым полюсом источника питания. Значения величин, характеризующих разряд, измеряют непосредственно после прекращения подачи питания.

9.2 Требование 9.1 распространяется на все положения машины, работающей в условиях нормальной эксплуатации, и даже после удаления съемных деталей.

Лампы, размещенные за съемной крышкой, не снимают, если машина может быть изолирована от источника питания с помощью штепсельной вилки или выключателя всех полюсов. Однако должна быть обеспечена защита от случайного прикосновения к частям цоколей ламп, находящихся под напряжением, при установке или удалении ламп, размещенных за съемной крышкой.

Эти исключения возможны при использовании предохранителей винтового типа и миниатюрных выключателей винтового типа, которые доступны для удаления без помощи инструмента.

Испытательный палец (рисунок 1) прикладывают без заметного усилия во всех возможных положениях.

Испытательный палец вводят через отверстие на глубину, как только позволяют его размеры, и затем его вращают или размещают под углом. Так повторяют после ввода пальца в любое из возможных положений.

Если размеры отверстия не позволяют пройти пальцу, то к нему прилагают в прямом направлении усилие до 20 Н, и это испытание повторяют пальцем в изогнутом положении.

Не допускается возможности прикасания испытательным пальцем к токоведущим частям или к токоведущим частям, защищенным только лаком, эмалью, обычной бумагой, хлопчатобумажной пряжей, оксидной пленкой, бусинами и заливочным компаундом.

Лак, эмаль, обычная бумага, хлопчатобумажная пряжа, оксидная пленка, бусины и заливочный компаунд, за исключением самотвердеющих смол, не считают соответствующими требованиям защиты от прикосновения с токоведущими частями.

9.3 Отверстия в машинах класса II и конструкциях класса II, за исключением отверстий, которые открывают доступ к цоколям ламп или к частям в приборных розетках находящихся под напряжением машин класса I, проверяют испытательным щупом (рисунок 2), который прикладывают без заметного усилия. Не допускается возможности прикасания испытательным щупом к токоведущим частям.

9.4 Машины класса II и конструкции класса II должны быть сконструированы и закрыты так, чтобы была обеспечена необходимая защита от случайного контакта с частями, находящимися под напряжением, а металлические части были отделены от токоведущих частей только основной изоляцией.

Части, которые не отделены от токоведущих частей двойной или усиленной изоляцией, не должны быть доступны.

Соответствие требованию проверяют осмотром и приложением испытательного пальца (рисунок 1).

Это требование распространяется на все положения машины, которые могут иметь место при нормальной эксплуатации и, в том числе, после удаления съемных частей.

10 Пуск

10.1 Двигатели должны быть способными запускаться при всех нормальных значениях напряжения, возможных при эксплуатации.

Соответствие этому требованию проверяют десятикратным включением машины на холостом ходу при напряжении, соответствующем 0,85 номинального напряжения, при этом регулирующие устройства, если они имеются, устанавливают как при нормальной нагрузке.

Во всех случаях машина должна работать безопасно и нормально.

10.2 Центробежные и другие автоматические пусковые устройства должны работать надежно и без вибрации контактов.

Машины, снабженные центробежными или другими автоматическими пусковыми устройствами, включают дополнительно 10 раз при напряжении, составляющем 1,1 номинального напряжения. Интервалы между последовательными пусками должны быть достаточными, чтобы избежать недопустимого нагрева.

Во всех случаях машина должна работать безопасно и нормально.

10.3 Устройства защиты от перегрузки не должны срабатывать при нормальных условиях пуска. Проверку проводят испытанием по 10.1 и 10.2.

11 Потребляемая мощность и ток

11.1 Номинальная потребляемая мощность или номинальный потребляемый ток должна (должен) составлять не менее 110 % потребляемой мощности или потребляемого тока, измеренной (измеренного) на холостом ходу.

Для машин, маркированных на один или более диапазон номинального напряжения, испытания проводят как при верхнем, так и нижнем значениях диапазона напряжения. Если не указана маркировка или номинальная потребляемая мощность соответствует среднему значению соответствующего диапазона напряжения, то испытания проводят при напряжении, равном среднему значению этого диапазона.

Соответствие требованию проверяют измерением потребляемой мощности или тока после их стабилизации, при этом все цепи, которые могут работать одновременно, должны быть включены.

12 Нагрев

12.1 Машины не должны чрезмерно нагреваться при нормальной нагрузке.

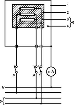
Соответствие требованию проверяют определением превышения температуры различных частей при условиях, указанных в 12.2 - 12.5, следующим непосредственно за испытаниями по разделу 13 работающей машины при указанных ниже условиях:

Однофазные и трехфазные машины испытывают как однофазные машины: S1 рисунка 3 в позиции «включено».

Трехфазные машины, не предназначенные для работы как однофазные машины, испытывают при: а, b и с рисунка 4 в позиции «включено».

Для машин с нагревательными элементами измерения повторяют с каждым выключателем a, b и с, при этом один должен быть открыт, а два других выключателя должны быть закрыты.

12.2 Машина работает в помещении, свободном от посторонних источников движущихся потоков воздуха при нормальной нагрузке до состояния теплового равновесия. При сохранении неизменным крутящего момента устанавливают напряжение, равное 0,94 номинального напряжения или 1,06 номинального напряжения, или среднее значение диапазона номинального напряжения в зависимости от того, какое значение из них наиболее неблагоприятное.

Нагревательные элементы, если они имеются, должны работать в условиях, указанных в разделе 11 IEC 60335-1, когда машина работает при напряжении, равном 1,06 номинального напряжения.

12.3 Превышение температуры, за исключением превышения температуры обмоток, определяют тонкопроволочными термопарами, выбранными и расположенными таким образом, чтобы они оказывали минимальное воздействие на температуру испытуемой детали.

Превышение температуры электрической изоляции, за исключением превышения температуры обмоток, определяют на поверхности изоляции в местах, где повреждение может привести к короткому замыканию, контакту между токоведущими частями и доступными металлическими частями, образованию токопроводящих мостиков на изоляции или уменьшению значений путей утечки или воздушных зазоров по сравнению со значениями, указанными в 28.1.

Превышение температуры обмоток определяют методом сопротивления, кроме случая, когда обмотки неоднородные или затруднительно выполнить соединения, требуемые для измерения сопротивления. В этом случае измерение проводят с помощью термопар. При этом превышение температуры определяют тонкопроволочными термопарами, выбранными и расположенным таким образом, чтобы они оказывали минимальное воздействие на температуру испытуемой детали.

При определении превышения температуры рукояток, кнопок, ручек и т. п. необходимо учитывать все детали, к которым при нормальной эксплуатации прикасаются руками, а если они изготовлены из изоляционных материалов, то и части, которые соприкасаются с горячим металлом.

Примечание 1 - Если для установки термопар необходимо разобрать машину, то после повторной сборки необходимо убедиться, что машина собрана правильно, и вновь измерить потребляемую мощность.

Примечание 2 - Точка разветвления жил многожильного шнура является примером места, где следует располагать термопары.

12.4 Машина должна работать:

- в течение номинальной продолжительности - для машин с кратковременным режимом работы;

- последовательными рабочими циклами до установившегося состояния - для машин с повторно-кратковременным режимом работы, причем периоды работы и перерыва должны быть равны номинальной продолжительности работы и времени перерыва;

- до установившегося состояния при непрерывном режиме работы.

12.5 Во время испытаний защитные устройства не должны срабатывать. Превышение температуры не должно быть больше указанного в таблице 1, за исключением указанного в 12.6.

Заливочная масса, если она имеется, не должна вытекать.

Таблица 1 - Максимальный уровень превышения температуры

Части

Превышение температуры, °С

Обмотки1), если изоляция обмоток выполнена из материала согласно IEC 60085:

 

- класса А

75 (65)

- класса Е

90 (80)

- класса В

95 (85)

- класса F

115

- класса Н

140

- класса 200

160

- класса 220

180

- класса 250

210

Штыри приборных вводов:

 

- для горячих условий

95

- для холодных условий

40

Выключатели, термоограничители (окружающая среда)2):

 

- без маркировки (Т)

30

- с маркировкой (Т)

Т-25

Резиновая или поливинилхлоридная изоляция внутренних и наружных проводов, включая шнуры питания:

 

- без температурного индекса3)

50

- с температурным индексом (Т)

Т-25

Оболочка шнура, используемая в качестве дополнительной изоляции

35

Резина, кроме синтетической, применяемая для сальников и других деталей, повреждение которых может повлиять на безопасность:

 

- при использовании в качестве дополнительной или усиленной изоляции

40

- в других случаях

50

Патроны серий Е14 и В15:

 

- металлические или керамические

130

- изоляционного типа, кроме керамических

90

- с маркировкой (Т)

Т-25

Материал, используемый в качестве изоляции, кроме изоляции проводов и обмоток4);

 

- пропитанная или лакированная ткань, бумага или прессованный картон

70

- слоистые материалы, пропитанные:

 

меламинформальдегидной; фенолформальдегидной или фенолфурфурольными смолами

85 (175)

карбамидформальдегидной смолой

65 (150)

- печатные платы, пропитанные эпоксидной смолой

120

- прессованные материалы из:

 

фенолформальдегида с наполнителем из целлюлозы

85 (175)

фенолформальдегида с минеральным наполнителем

100 (200)

меламинформальдегида

75 (175)

карбамидформальдегида

65 (150)

- полиэстер, армированный стекловолокном

110

- силиконовый каучук

145

- политетрафторэтилен

265

- слюда и плотноспекаемый керамический материал, если они используются как дополнительная или усиленная изоляция

400

- термопластичные материалы5)

-

Древесина, в общем6)

65

Наружные поверхности конденсаторов7):

 

- с маркировкой максимальной рабочей температуры (Т)

Т-25

- без маркировки максимальной рабочей температуры:

 

небольшие керамические конденсаторы для подавления теле- и радиопомех

50

конденсаторы, соответствующие IEC 60384-14 или 14.2 IEC 60065

50

другие конденсаторы7)

20

Внешний кожух машин без нагревательных элементов, кроме рукояток, которые при нормальной эксплуатации держат в руке

60

Рукоятки, кнопки, ручки и т. п., которые длительно держат в руках при нормальной эксплуатации:

 

- из металла

30

- из фарфора или стекловидного материала

40

- из прессованного материала, резины или древесины

50

Рукоятки, кнопки, ручки и т. п., которые кратковременно находятся в руках при нормальной эксплуатации (например, выключатели):

 

- из металла

35

- из фарфора или стекловидного материала

45

- из прессованного материала, резины или древесины

60

Части, соприкасающиеся с маслом, имеющим точку воспламенения t °С

t-50

1) С учетом того, что средняя температура обмоток универсальных двигателей, реле, соленоидов и т. п. обычно выше температуры в точках обмоток, где расположены термопары, значения превышения температуры, приведенные без скобок, применяют при использовании метода сопротивления, а значения, приведенные в скобках, - при использовании термопар. Для обмоток катушек вибраторов и двигателей переменного тока в обоих случаях применимы значения превышения температуры, приведенные без скобок.

Для двигателей, сконструированных таким образом, что отсутствует циркуляция воздуха между внутренним и внешним пространством двигателя, но не закрытых до такой степени, что их можно считать герметичными, предельные превышения температуры можно увеличить на 5 °С.

2) «Т» означает максимальную рабочую температуру.

Окружающая среда выключателей, терморегуляторов и границы температуры означают температуру воздуха в наиболее нагретой точке на расстоянии 5 мм от наружной поверхности выключателя и относящейся к нему детали.

Для целей этого испытания выключатели и терморегуляторы, имеющие индивидуальную маркировку номинальных данных, допускается считать не имеющими маркировки максимальной рабочей температуры, если на это есть указание изготовителя машины.

3) Этот предел применим к кабелям, шнурам и проводам, соответствующим требованиям относящихся к ним стандартов IEC, а в других случаях он может быть иным.

4) Значения в скобках применяют, если материал, используемый для ручек, кнопок, рукояток и т. п., соприкасается с нагретым металлом.

5) Не имеется специальных ограничений для термопластичных материалов, которые должны выдерживать испытания по 29.1. Для этой цели должно быть определено превышение температуры.

6) Указанный предел касается повреждения древесины и не учитывает ухудшения свойств поверхностной отделки.

7) Не имеется ограничения для превышения температуры конденсаторов, которые замыкают накоротко при испытаниях по 18.10.

Другие материалы (при использовании) не должны подвергаться воздействию температур, превышающих их теплостойкость, определенную при испытаниях этих материалов на старение. Значение превышения температуры обмотки Dt, °С, рассчитывают по формуле

где R1 - сопротивление обмотки в начале испытания, Ом;

R2 - сопротивление обмотки в конце испытания, Ом;

k - 234 °С для медной обмотки и 225 °С для алюминиевой обмотки;

t1 - температура воздуха помещения в начале испытания, °С;

t2 - температура воздуха помещения в конце испытания, °С.

В начале испытания температура обмотки должна быть равна температуре помещения. Рекомендуется измерить сопротивление обмотки в конце испытания как можно скорее после отключения машины, а затем через короткие интервалы времени для того, чтобы построить кривую зависимости сопротивления от времени для экстраполяции значения сопротивления на момент отключения.

12.6 Если обмотки классифицированы согласно IEC 60085 и значение превышения температуры не более указанного в таблице 1, то нет необходимости в последующем испытании. Три дополнительных образца подвергают следующим испытаниям:

a) Определяют превышение температуры обмоток испытанием по 12.2.

b) Затем образцы разбирают, насколько это возможно, без повреждения какой-либо детали. Обмотки выдерживают в течение 10 сут [240 ч в нагревательной камере, температура в которой на (80 ± 1) °С выше превышения температуры, установленного при испытании по перечислению а)].

c) После такой обработки образцы собирают и проверяют на отсутствие межвитковых замыканий.

d) Непосредственно после этого образцы подвергают испытаниям по разделам 13 и 15.

e) Затем образцы подвергают влажной обработке, как указано в 14.3.

f) После этой обработки образцы снова подвергают испытаниям по разделам 13 и 15. Неисправности, которые могут появиться в изоляции, не подвергшейся чрезмерному нагреву при испытании по перечислению а), не учитывают и устраняют, если это необходимо для завершения испытаний по данному пункту.

13 Ток утечки

13.1 Ток утечки не должен быть чрезмерно большим.

Соответствие проверяют испытанием при напряжении питания, равном 1,06 номинального напряжения.

Испытание на соответствие тока утечки проводят при переменном токе, за исключением машин, рассчитанных на постоянный ток; в этом случае испытания не проводят.

Для проведения испытаний защитный импеданс отключают от токоведущих частей.

Рекомендуется подавать питание на машину через разделительный трансформатор, в противном случае машина должна быть изолирована от земли.

13.2 Ток утечки измеряют с помощью цепи, описанной в приложении С, между любым полюсом источника питания и:

- доступными металлическими частями и металлической фольгой площадью не более 20×10 см, контактирующей с доступными поверхностями изоляционного материала, соединенными вместе. Металлическая фольга должна занимать возможно большую площадь на испытуемой поверхности без превышения указанных размеров. Если площадь фольги меньше испытуемой поверхности, фольгу передвигают таким образом, чтобы можно было испытать все части поверхности. Металлическая фольга не должна влиять на отвод тепла.

Трехфазные машины, предназначенные для работы также от однофазной сети, испытывают как однофазные машины с тремя параллельно соединенными секциями. Для однофазных машин и трехфазных, испытуемых как однофазные машины, ток утечки измеряют, пользуясь переключателем, (рисунок 3), при каждом из положений 1 и2и выключателем S1 во включенном положении.

Для трехфазных машин, не предназначенных для работы от однофазной сети, ток утечки измеряют в соответствии с рисунком 4 при выключателях a, b и с во включенном положении. Для машин, подключаемых в соединении «звезда», нейтральный провод не подключают.

Ток утечки, измеренный в течение 5 с после приложения испытательного напряжения к доступным металлическим частям и металлической фольге, не должен превышать для машин классов:

I - 0,75мА;

II - 0,25 мА;

III - 0,5 мА.

Если в машину, которая имеет однополюсный выключатель, встроен один или более конденсатор, измерения повторяют с выключателем, установленным в положение «выключено».

Для машин с нагревательными элементами полный ток утечки должен быть в пределах, указанных для нагревательных элементов в разделе 16 IEC 60335-1, или как для двигателей ручных машин в зависимости от того, что больше, но оба предела не следует суммировать.

14 Влагостойкость

14.1 Кожух машин должен обеспечивать степень защиты от влаги в соответствии с классификацией машины.

Соответствие требованию проверяют соответствующей обработкой, указанной в 14.1.2, при положениях машины согласно 14.1.1.

14.1.1 Машина не должна быть подсоединена к источнику питания.

Во время испытаний машину постоянно поворачивают в наиболее неблагоприятные положения.

Машины с креплением шнура типа X оснащают наиболее легким гибким шнуром с наименьшей площадью поперечного сечения, указанной в 25.2; другие машины испытывают как в состоянии поставки.

Электрические элементы, включая съемные элементы, крышки и другие части, которые могут быть удалены без применения инструмента, снимают и, при необходимости, подвергают влажной обработке вместе с основной частью машины.

14.1.2 Машины, кроме исполнения IРХ0, подвергают испытаниям по следующим пунктам IEC 60529:

- машины со степенью защиты:

IPX1 - по 14.2.1;

IPX2 - по 14.2.2;

IPX3 - по 14.2.3;

IPX4 - по 14.2.4;

IPX5 - по 14.2.5;

IPX6 - по 14.2.6;

IPX7 - по 14.2.7.

Машины со степенью защиты IPX7 для испытания погружают в воду, содержащую 1 % NaCl.

Непосредственно после такой обработки машина должна выдержать испытание на электрическую прочность изоляции по разделу 15, и осмотр должен показать отсутствие следов воды на изоляции, что может повлечь за собой уменьшение значений путей утечки и воздушных зазоров по сравнению со значениями, указанными в 28.1.

Машины, которые при нормальном применении не подвергаются воздействию влаги, перед испытаниями по 14.3 должны находиться в нормальной атмосфере испытательного помещения в течение 24 ч.

14.2 Машины, которые при нормальном применении подвергаются воздействию влаги, должны быть сконструированы так, чтобы это воздействие не влияло на электрическую прочность изоляции.

Соответствие этому требованию проверяют следующим испытанием.

Машины, имеющие приборный ввод, снабжают соответствующим соединителем; машины с креплением шнура типа X оснащают самым легким из допустимых типов гибких шнуров наименьшего поперечного сечения по 25.2; другие машины испытывают в состоянии поставки.

Электрические элементы, крышки и другие детали, которые можно снять без помощи инструмента, снимают, за исключением тех, которые выдерживают испытания по 21.23.

Бачок для жидкости машины наполняют доверху водой, содержащей примерно 1 % NaCI, а затем добавляют постепенно в течение 1 мин воду в количестве, равном 15 % вместимости бачка или 0,25 л в зависимости от того, что больше.

Непосредственно после такой обработки машина должна выдержать испытание на электрическую прочность изоляции по разделу 15, и осмотр должен показать отсутствие следов воды на изоляции, что может повлечь за собой уменьшение значений путей утечки и воздушных зазоров по сравнению со значениями, указанными в 28.1.

Перед испытанием по 14.3 машину оставляют в обычной атмосфере испытательного помещения на 24 ч.

14.3 Машины должны быть стойкими к воздействию влаги, которое может иметь место при нормальной эксплуатации.

Соответствие требованию проверяют следующей влажной обработкой.

Отверстия для вводов кабелей, если имеются, оставляют открытыми; если имеются заглушённые отверстия, то одно из них открывают.

Электрические элементы, крышки и другие части, которые могут быть удалены без применения инструмента, удаляют и, если необходимо, подвергают испытанию на влажность или влажной обработке вместе с основной частью.

Влажную обработку проводят в камере влажности при относительной влажности воздуха (93 ± 2) %, полученной, например, если разместить в камере влажности насыщенный раствор сернокислого натрия Na24, или азотнокислого калия KNО3 в воде, имеющий достаточно большую поверхность соприкасания с воздухом. Температуру воздуха во всех местах, где можно поместить образец, поддерживают в пределах 1 °С (1 К) для любого соответствующего значения температуры t между 20 °С и 30 °С. Для достижения требуемых условий необходимо обеспечить постоянную циркуляцию воздуха внутри камеры, при этом обычно используют камеру с тепловой изоляцией.

Перед помещением в камеру влажности образец выдерживают при температуре между t и (t + 4) °С. Считают, что температура машины может быть доведена до указанной температуры путем выдерживания ее при этой температуре в течение по меньшей мере (или менее) 4 ч перед влажной обработкой.

Машину выдерживают в камере влажности в течение 48 ч.

Непосредственно после этого испытания машина должна выдержать испытание по разделу 13 при номинальном напряжении или среднем значении диапазона номинального напряжения при положении выключателя машины «включено» и при следующих условиях:

Однофазные и трехфазные машины испытывают как однофазные машины: выключатель S1 на рисунке 3 - в положении «выключено».

Для трехфазных машин, непригодных для однофазного питания: выключатель а на рисунке 4 - в положении «включено», а выключатели b и с- в положении «выключено».

Затем машина должна выдержать испытания по разделу 15 в камере влажности или в помещении, в котором температуру машины доводят (или приводят) до указанной температуры, после установки в нее ранее удаленных съемных частей.

Предельные значения тока утечки, указанные при испытании по разделу 13, удваивают, если все устройства управления имеют положение «выключено» во всех полюсах.

Предельные значения также удваивают, если:

- машина не имеет устройств управления, кроме термовыключателей, или

- все терморегуляторы и регуляторы мощности не имеют положения «выключено», или

- машина имеет помехоподавляющий фильтр; в этом случае значение тока утечки при отключенном фильтре не должно превышать указанных предельных значений.

Однако для машин класса II значение 0,25 мА удваивают, только если все устройства управления имеют положение «выключено».

15 Электрическая прочность

15.1 Электрическая прочность изоляции должна быть достаточной. Соответствие требованию проверяется испытанием по 15.2.

До проведения испытаний защитный импеданс отсоединяют от токоведущих деталей. Испытания проводят при комнатной температуре на машинах, не подсоединенных к источнику питания.

15.2 Изоляцию подвергают в течение 1 мин воздействию напряжения практически синусоидальной формы с частотой 50 или 60 Гц.

Значение испытательного напряжения и точки его приложения приведены в таблице 2 при отсутствии других указаний.

Доступные части из изоляционного материала покрывают металлической фольгой.

Таблица 2 - Испытательные напряжения

В вольтах

Точки приложения напряжения

Машины класса III
и конструкции
класса III

Машины класса II
и конструкции
класса II

Другие машины

1 Между токоведущими частями и доступными частями, которые отделены от токоведущих частей:

 

 

 

- только основной изоляцией

500

-

1250

- усиленной изоляцией

-

3750

3750

2 Для частей с двойной изоляцией между металлическими частями, отделенными от токоведущих частей только основной изоляцией, и:

 

 

 

- токоведущими частями

-

1250

1250

- доступными деталями

-

2500

2500

3 Между металлическими кожухами или крышками, покрытыми изоляционным материалом и металлической фольгой, соприкасающейся с внутренней стороной изоляционного покрытия, если расстояние между токоведущими частями и этими металлическими кожухами или крышками, измеренное через покрытие, меньше требуемого воздушного зазора, указанного в 28.1

 

2500

1250

4 Между металлической фольгой, контактирующей с ручками, рукоятками, захватами и т. п. и их осями, если эти оси могут оказаться под напряжением в случае повреждения изоляции

 

2500

2500

5 Между доступными частями и внутренним диаметром ограждения шнура, обернутого металлической фольгой

-

2500

1250

6 Между точкой соединения обмотки и конденсатора, если между этой точкой и любым из зажимов для внешних проводов возникает резонансное напряжение U, и:

 

 

 

- доступными частями1)

-

-

2U+1000

- металлическими частями, отделенными от токоведущих частей только основной изоляцией

-

2U+1000

-

1) Испытание между точкой соединения обмотки и конденсатора и металлическими или доступными частями проводят только тогда, когда на изоляцию в нормальных условиях эксплуатации воздействует резонансное напряжение. Другие части отсоединяют, а конденсатор замыкают накоротко.

Первоначально прилагают не более половины испытательного напряжения, значение которого затем быстро повышают до полного.

При испытании не должно быть перекрытия или пробоя изоляции.

Высоковольтный трансформатор, используемый для испытаний, должен иметь такую конструкцию, чтобы при закороченных зажимах после регулировки значения выходного напряжения до достижения соответствующего испытательного значения выходной ток составлял не менее 200 мА.

Реле максимального тока не должно срабатывать при выходном токе менее 100 мА.

Следует обеспечить измерение среднеквадратичного значения испытательного напряжения с точностью ±3 %.

Металлическая фольга должна быть расположена так, чтобы по ее краям или на краях изоляции не возникали перекрытия.

Для конструкций класса II, имеющих как усиленную, так и двойную изоляцию, необходимо следить за тем, чтобы напряжение, подводимое к усиленной изоляции, не перегружало основную или дополнительную изоляцию.

В случаях, когда основная и дополнительная изоляции не могут быть испытаны раздельно, двойную изоляцию подвергают испытанию напряжением, указанным для усиленной изоляции.

При испытании изоляционных барьеров металлическая фольга может быть прижата к изоляции мешком с песком такого размера, чтобы давление составляло около 5 кПа (0,5 Н/см2); испытание может быть ограничено местами (зонами), в которых изоляция ослаблена, например под изоляцией, где имеются острые металлические кромки.

Если практически возможно, изоляционную облицовку (футеровку) испытывают отдельно. Для машин с встроенными нагревательными элементами испытательные напряжения, указанные в IEC 60335-1, прилагают к нагревательным элементам, но не к другим частям машины.

16 Защита от перегрузки трансформаторов и соединенных с ними цепей

16.1 Машины, которые содержат цепи, питающиеся от трансформатора, должны быть сконструированы так, чтобы в случае короткого замыкания, которое может возникнуть при нормальной эксплуатации, не происходил чрезмерный нагрев трансформатора или связанных с ним цепей.

Примерами коротких замыканий, которые могут произойти при нормальной эксплуатации, являются короткие замыкания оголенных или недостаточно изолированных проводов доступных цепей с безопасным сверхнизким напряжением и внутренние короткие замыкания в лампах накаливания.

Повреждение изоляции, соответствующей требованиям, указанным для основной изоляции машин класса I или конструкций класса II, рассматривают как повреждение, которое может иметь место при нормальной эксплуатации.

Соответствие требованию проверяют созданием наиболее неблагоприятного режима короткого замыкания или перегрузки, который может возникнуть при нормальной эксплуатации, при этом машина должна работать при напряжении, равном 1,06 или 0,94 номинального напряжения в зависимости от того, какое из них является более неблагоприятным.

Превышение температуры изоляции проводов в цепях безопасного сверхнизкого напряжения не должно превосходить более чем на 15 °С соответствующее значение, указанное в таблице 1.

Температура обмотки трансформаторов не должна превышать значения, указанного для обмоток в 18.9, кроме трансформаторов, которые соответствуют требованиям IEC 61558-1.

Примечание - Защита обмоток трансформатора может быть обеспечена полным собственным сопротивлением обмоток (т. е. импедансом) или использованием плавких предохранителей устройств автоматического управления, термовыключателей или подобных устройств, встроенных в трансформатор или расположенных внутри него, при условии, что эти устройства доступны только с помощью инструмента.

17 Надежность

17.1 Машины должны быть сконструированы так, чтобы при продолжительном нормальном использовании не возникали электрические или механические неисправности, нарушающие соответствие настоящему стандарту.

Кроме того, устройства защиты от перегрузок не должны срабатывать в нормальных эксплуатационных условиях.

Соответствие этому требованию проверяют испытанием по 17.2, а для машин, снабженных центробежным или другим пусковым выключателем, - также испытаниями по 17.3.

Непосредственно после этих испытаний машина должна выдержать испытание на электрическую прочность изоляции по разделу 15, причем испытательные напряжения должны быть снижены до 75 % указанных значений. Соединения не должны ослабляться и не должно наблюдаться ухудшения свойств, влияющих на безопасность при нормальном использовании.

17.2 Машина должна работать в повторно-кратковременном режиме на холостом ходу 24 ч при напряжении питания, составляющем 1,1 номинального, а затем 24 ч при напряжении питания, соответствующем 0,9 номинального напряжения.

Допускается включение и отключение машины проводить другим выключателем, отличным от встроенного в машину.

Каждый рабочий цикл включает в себя период работы 100 с и перерыв 20 с, причем продолжительность перерыва входит в указанное рабочее время.

Рабочий период для машин с кратковременным или повторно-кратковременным режимом работы равен продолжительности работы, ограниченной конструкцией машин; при отсутствии таких ограничений он должен соответствовать предписаниям, указанным в стандартах на машины конкретных видов, или маркировке машин в зависимости от того, что является наиболее неблагоприятным.

Во время испытания машину устанавливают в трех различных положениях, в каждом из которых при каждом испытательном напряжении продолжительность работы составляет около 8 ч.

В ходе этого испытания допускается замена угольных щеток, а машину смазывают как в условиях нормальной эксплуатации.

Если превышение температуры любой части машины больше превышения температуры, измеренного во время испытаний по 12.1, то предусматривают принудительное охлаждение или периоды отдыха, которые не включают в указанное время работы.

Во время этого испытания устройства защиты от перегрузок не должны срабатывать.

Примечание - Для предотвращения чрезмерного скопления угольной пыли в одном месте положение машины меняют. Как правило, выбирают следующие три положения: горизонтальное, вертикальное вверх и вертикальное вниз.

17.3 Машины, снабженные центробежным или другим автоматическим пусковым выключателем, включают при нормальной нагрузке 10000 раз при напряжении, составляющем 0,9 номинального, при этом рабочий цикл должен соответствовать требованиям 17.2.

18 Ненормальный режим работы

18.1 Машины должны быть сконструированы так, чтобы возможность их возгорания и механического повреждения, влияющих на безопасность, или опасность поражения электрическим током в результате ненормальной работы была сведена к минимуму.

Плавкие предохранители, тепловые выключатели, устройства защиты от перегрузок или аналогичные им, встроенные в машину, можно использовать для обеспечения необходимой защиты. Соответствие требованию проверяют испытаниями по 18.2 - 18.9.

18.2 Машины с нагревательными элементами подвергают испытаниям по 18.3 и 18.4. Кроме того, машины оснащенные устройствами, ограничивающими температуру в процессе испытаний по разделу 12, если на них не распространяются требования стандартов на машины конкретных видов, подвергают испытаниям по 18.5, а где это применимо, - испытаниям по 18.6.

Каждый раз имитируют только одно ненормальное условие. Если к одной и той же машине применимо более чем одно испытание, то это испытание выполняют последовательно.

Если нет других указаний, испытания проводят до срабатывания выключателя без самовозврата или до достижения установившегося состояния. Если во время испытаний нагревательный элемент или преднамеренно ослабленная часть постоянно разрывает цепь, то данное испытание повторяют на втором образце. Испытание второго образца должно быть в пределах вышеизложенного, если нет других указаний. Результат этого испытания должен быть удовлетворительным.

Преднамеренно ослабленная часть - часть, предназначенная для разрушения в условиях ненормальной работы, для предотвращения возникновения условий, которые могут повлиять на соответствие требованиям настоящего стандарта. Такой частью может быть заменяемый элемент, например резистор, конденсатор или термозвено, или часть элемента, которая должна быть заменена, как, например, недоступный тепловой выключатель без самовозврата, встроенный в двигатель.

18.3 Машины с нагревательными элементами испытывают в условиях, указанных в разделе 12, но с ограниченным теплорассеянием. Напряжение питания, определенное перед испытанием, должно быть таким, чтобы обеспечивалась потребляемая мощность, равная 0,85 номинальной потребляемой мощности при нормальной работе при достижении установившегося состояния. Это напряжение поддерживают в течение всего испытания.

До проведения испытания по 18.4 машина должна остыть примерно до комнатной температуры.

18.4 Испытание по 18.3 повторяют, но при этом напряжение питания, значение которого определяют перед испытанием, должно быть таким, чтобы потребляемая мощность составила 1,24 номинальной потребляемой мощности при нормальной работе и достижении установившегося состояния. Это напряжение поддерживают в течение всего испытания.

18.5 Машину испытывают в условиях, указанных в разделе 12, при нормальной работе, при напряжении питания, при котором потребляемая мощность составляет 1,15 номинальной потребляемой мощности, но с каким-либо регулирующим устройством, ограничивающим температуру в течение испытаний по разделу 12, которое должно быть замкнуто накоротко.

Если машина оснащена несколькими регулирующими устройствами, то их замыкают накоротко поочередно.

18.6 Если при испытаниях по 18.5 отключают все полюса машин класса I с встроенными нагревательными элементами с трубчатой оболочкой, но не предназначенных для постоянного подключения к стационарной проводке, то испытания по 18.5 повторяют, при этом устройства регулирования ограничения температуры во время испытания по разделу 12 не замыкают накоротко, а один конец нагревательного элемента подсоединяют к земле. Испытание машины повторяют, изменив полярность источника питания и подключив к земле другой конец нагревательного элемента.

18.7 Испытания машин, предназначенных для резания, проводят без пильных дисков, абразивных кругов и т. п.

Машины с встроенным коллекторным двигателем должны работать при напряжении, равном 1,3 номинального напряжения или верхнего предела диапазона напряжения, в течение 1 мин на холостом ходу.

После испытаний по 18.2 - 18.7не должна быть нарушена безопасность машины, в частности обмотки и соединения не должны быть ослаблены. После проведения этих испытаний машину не следует использовать в дальнейшем.

18.8 Следующие категории машин, имеющие асинхронный двигатель и характеризуемые тем, что они:

a) имеют пусковой момент меньше крутящего момента при полной нагрузке или

b) запускаются вручную, или

c) имеют движущиеся части, которые склонны к заклиниванию и которые можно остановить рукой с включенным при этом двигателем, -

включают в холодном состоянии на номинальное напряжение или на верхний предел диапазона номинальных напряжений, заблокировав движущиеся части в течение:

-30 с - для машин, удерживаемых в руках во время работы;

- 5 мин - для машин, не предназначенных для работы без надзора.

По истечении указанного периода испытания или в момент срабатывания плавких предохранителей, тепловых выключателей, защитных устройств двигателя и т. п. значение температуры обмоток не должно превышать значений, указанных в таблице 3.

18.9 Пуск машин, имеющих асинхронный двигатель, должен быть проведен в холодном состоянии:

- в течение 30 с при поддерживаемом вручную непрерывном включении или нагружении;

- в течение 5 мин - в других случаях.

При этом одна фаза должна быть отключена, а крутящий момент должен соответствовать тому, что имеет место при нормальной нагрузке.

По истечении указанного периода испытания или в момент срабатывания плавких предохранителей, тепловых выключателей, защитных устройств двигателя и т. п. значение температуры обмоток не должно превышать значений, указанных в таблице 3.

Таблица 3 - Максимальная температура обмоток

Защита обмоток

Предельная температура, °С

Класс изоляции

А

Е

В

F

Н

200

220

250

Защита внутренним импедансом (или полным собственным сопротивлением)

150

165

175

190

210

230

250

280

Защита защитными устройствами, срабатывающими во время испытаний

200

215

225

240

260

280

300

330

18.10 Машины с встроенными электронными устройствами должны быть сконструированы так, чтобы в случае отказа электронного устройства не создавалось никакой опасности.

Соответствие этому требованию проверяют включением машины в течение 1 мин на напряжение, равное номинальному напряжению или среднему значению диапазона напряжения на холостом ходу с короткозамкнутым электронным устройством.

Это испытание затем повторяют с разомкнутым электронным устройством.

Во время испытаний в машине не должно быть повреждений из-за возникновения огня, механических неисправностей, влияющих на ослабление безопасности и защиты от поражения электрическим током.

Если машина содержит устройство для ограничения скорости, а электронное устройство выйдет из строя, считают, что машина выдержала испытание, если указанное устройство для ограничения скорости работает во время испытаний.

18.11 Переключатели или другие устройства реверсирования двигателя должны выдерживать нагрузки, возникающие при изменении направления его вращения без остановки, если такое изменение возможно при нормальной эксплуатации

Соответствие требованию проверяют следующим испытанием.

Машина должна работать при напряжении, равном номинальному напряжению или верхнему пределу диапазона номинальных напряжений; устройство для изменения направления вращения должно находиться в таком положении, чтобы ротор вращался в одном направлении с максимальной скоростью.

Затем изменяют направление вращения без установки этого устройства в промежуточном положении «выключено».

Указанную последовательность срабатывания выполняют 25 раз.

После этого испытания переключатели не должны иметь электрических или механических повреждений.

18.12 Машина класса I с использованием конструкции класса II (см. 5.10) или машина класса II должна быть работоспособна в условиях экстремальных перегрузок без повреждения защиты от поражения электрическим током.

Соответствие требованию проверяют следующим испытанием на отдельном образце.

Образец подсоединяют к сети мощностью не менее 12 кВт. Машина работает в течение 15мин под нагрузкой током, составляющим 160 % его значения при нормальной нагрузке, или до того, как в машине разомкнутся электрические цепи, или до появления пламени. Если при испытании нагрузкой током, составляющим 160 % его значения при нормальной нагрузке, ничего не произойдет, машину застопоривают в течение 15 мин или до того, пока не разомкнутся электрические цепи в машине, или пока не появится пламя.

В случае появления пламени его немедленно гасят огнетушителем с СО2. Ток утечки между деталями, находящимися под напряжением, и доступными деталями, измеренный в соответствии с разделом 13, должен как в процессе, так и после испытаний стабилизироваться. Ток утечки не должен превышать 2 мА.

После этого испытания машину охлаждают до комнатной температуры и испытывают на электрическую прочность по разделу 15 с приложением испытательного напряжения между токоведущими частями и доступными деталями, как указано ниже:

- если машина по истечении 15 мин не работает, то испытание на электрическую прочность проводят напряжением 1500 В;

- если машина по истечении 15 мин работает, то испытание на электрическую прочность проводят напряжением 2500 В.

19 Механическая безопасность

19.1 Движущиеся и другие опасные части машины должны быть, насколько это совместимо с применением и работой машины, расположены и закрыты так, чтобы при нормальной эксплуатации была обеспечена достаточная защита от травм.

Защитные кожухи, крышки, ограждения и т. п. должны иметь надлежащую механическую прочность, чтобы соответствовать своему назначению. Не должно быть возможным их удаление без помощи инструмента.

Ограждение, служащее для защиты рабочего элемента, должно иметь доступное средство точной регулировки для ограничения доступа к опасным частям.

Применение ограждения и его регулировки не должны создавать дополнительной опасности, связанной, например, с ограничением или снижением обзора оператора, передачей тепла или быть причиной других упомянутых опасностей.

Все рабочие элементы, включая специальные устройства или насадки, служащие частью машин, должны быть ограждены таким образом, чтобы при нормальной эксплуатации не создавалось опасности их вылета, или они не должны быть ослабленными или находиться вне машины при нормальной работе.

Примечание 1 - Опасность такого рода может быть вызвана вибрацией, изменением направления движения и электрическим торможением.

Соответствие требованию проверяют осмотром, испытанием по разделу 20 и испытанием стандартным испытательным пальцем, показанным на рисунке 1. Испытательный палец не должен касаться движущихся частей, представляющих собой опасность.

Примечание 2 - В некоторых случаях, обусловленных в соответствующих стандартах на машины конкретных видов, используют жесткий испытательный палец таких же размеров, как испытательный палец, показанный на рисунке 1, но без шарнирного соединения.

19.2 Доступные части машины, до которых приходится дотрагиваться в процессе нормальной эксплуатации, не должны иметь острых кромок, зазубрин, заусенцев и т. п.

Соответствие требованию проверяют осмотром.

19.3 Движущиеся детали должны быть недосягаемы после удаления принадлежностей пылесборника.

Соответствие этому требованию проверяют испытанием стандартным пальцем, показанным на рисунке 1. После удаления съемных принадлежностей не должно быть возможным прикосновение к опасным движущимся деталям испытательным пальцем через отверстие пылесборника.

19.4 Машины должны иметь достаточно удобную для обхватывания поверхность, обеспечивающую безопасность обслуживания в процессе эксплуатации.

Соответствие требованию проверяют осмотром.

19.5 Машины должны быть разработаны и изготовлены так, чтобы была возможность, при необходимости, выполнить визуальный контроль наличия контакта режущей части машины с обрабатываемым материалом.

Соответствие требованию проверяют осмотром.

20 Механическая прочность

20.1 Машины должны обладать достаточной механической прочностью и быть сконструированы таким образом, чтобы они выдерживали небрежное отношение, которое возможно при нормальном использовании.

Соответствие требованию проверяют испытаниями по 20.2, 20.3 и 20.4.

В ходе этих испытаний машина должна выдержать испытание на электрическую прочность изоляции, как указано в разделе 15, и не получить никаких повреждений, нарушающих соответствие настоящему стандарту, в частности токоведущие части не должны стать доступными, как указано в разделе 9.

Повреждение покрытий, небольшие вдавливания, не вызывающие уменьшения значений путей утечки и воздушных зазоров по сравнению со значениями по 28.1, а также небольшие сколы, не оказывающие неблагоприятного влияния на защиту от поражения электрическим током или проникновения воды, не принимают во внимание.

Все это не должно мешать срабатыванию механических предохранительных устройств.

Трещины, невидимые невооруженным глазом, и поверхностные трещины в прессованных материалах, армированных стекловолокном, не принимают во внимание.

Если поверх внутреннего кожуха имеется еще декоративный кожух и если внутренний кожух выдерживает испытание после удаления декоративного кожуха, то разрушение декоративного кожуха в расчет не принимают.

20.2 На машину воздействуют ударами с помощью пружинного устройства для ударных испытаний, согласно разделу 5 IEC 60068-2-75.

Пружину ударника настраивают таким образом, чтобы ударник наносил удар с энергией, указанной в таблице 4.

Таблица 4 - Энергия удара

Испытуемые детали

Энергия удара, Нм

Колпачки щеток

0,5 ± 0,05

Другие детали

1,0 ± 0,05

В каждую точку корпуса, которая может оказаться ослабленной, наносят по три удара. Если необходимо, удары наносят по защитным устройствам, рукояткам, рычагам, ручкам и т. п.

20.3 Машина должна выдержать испытание трехкратным падением на бетонную поверхность с высоты 1 м. Образец должен занимать различные положения при падении.

20.4 Щеткодержатели и их крышки должны обладать достаточной механической прочностью.

Соответствие данному требованию контролируют осмотром, а в случае возникновения сомнений- десятикратным снятием и обратной установкой щеток на место, при этом крутящий момент при затяжке крышки должен соответствовать указанному в таблице 5.

Таблица 5 - Испытательный крутящий момент

Ширина лезвия испытательной отвертки, мм

Крутящий момент при затяжке, Нм

Ширина лезвия испытательной отвертки, мм

Крутящий момент при затяжке, Нм

До 2,8 включ.

0,4

Св. 4,1 до 4,7 включ.

0,9

Св. 2,8 до 3,0 включ.

0,5

Св. 4,7 до 5,3 включ.

1,0

Св. 3,0 до 4,1 включ.

0,6

Св. 5,3 до 6,0 включ.

1,25

После этого испытания щеткодержатель не должен иметь повреждений, влияющих на его дальнейшее использование, резьба, при наличии, не должна быть повреждена и крышка не должна иметь трещин.

Ширина лезвия испытательной отвертки должна быть возможно большей, но не больше длины шлица в крышке. Если, однако, диаметр резьбы меньше длины шлица, ширина лезвия должна быть не больше диаметра резьбы. Крутящий момент при затяжке нельзя прилагать рывками.

21 Конструкция

21.1 Машины, которые можно устанавливать на различные напряжения или скорости вращения, должны иметь такую конструкцию, чтобы не происходило случайного изменения уставки, если это может привести к возникновению опасности.

Соответствие этому требованию проверяют осмотром и ручным опробованием.

21.2 Машины должны быть сконструированы так, чтобы случайное изменение уставки не было возможным.

Соответствие требованию проверяют ручным опробованием.

21.3 Не должно быть возможным удаление деталей, которые обеспечивают требуемую степень защиты против попадания влаги, без помощи инструмента.

Соответствие требованию проверяют ручным опробованием.

21.4 Если рукоятки, ручки и т. п. используют для обозначения положения выключателей или подобных устройств, то должна быть исключена возможность их закрепления в неправильном положении, если такое закрепление может представлять собой опасность.

Соответствие требованию проверяют осмотром и ручным опробованием.

21.5 Замена гибкого кабеля или шнура, требующая смещения выключателя, который одновременно служит в качестве клеммы для внешних проводов, должна быть возможна без чрезмерной механической нагрузки на внутреннюю проводку; после установки на место выключателя и перед повторной сборкой машины должна быть обеспечена проверка правильности размещения внутренней проводки.

Соответствие требованию проверяют осмотром и ручным опробованием.

21.6 Древесину, хлопок, шелк, обычную бумагу и подобные волокнистые и гигроскопичные материалы не следует использовать для изоляции без пропитки.

Изоляционный материал считают пропитанным, если промежутки между волокнами материала практически заполнены подходящим изоляционным составом. Соответствие требованию проверяют осмотром.

21.7 Асбест не должен быть использован в конструкции машин. Соответствие требованию проверяют осмотром.

21.8 Приводные ремни не могут обеспечить электрическую изоляцию.

К машинам, содержащим специальную конструкцию приводного ремня, это требование не относится.

Соответствие требованию проверяют осмотром.

21.9 Изоляционные барьеры машин класса II и детали этих машин, которые используют в качестве дополнительной или усиленной изоляции и которые могут быть случайно не установлены при повторной сборке после текущего обслуживания, должны быть:

- либо закреплены таким образом, чтобы их нельзя было снять без серьезного повреждения;

- либо сконструированы так, чтобы их нельзя было установить в неправильное положение и чтобы в случае, если их забыли установить, машина стала неработоспособной или очевидно недоукомплектованной.

Соответствие требованию проверяют осмотром и ручным опробованием.

Текущее обслуживание предусматривает замену питающих шнуров и выключателей.

Данное требование считают выполненным, если изоляционный барьер закреплен таким образом, что его можно снять, только разбив или разрезав.

Допускается крепление заклепками при условии, что их не нужно удалять при замене щеток, конденсаторов, выключателей, несъемных гибких кабелей и шнуров и т. п.

Крепление на клею допускается только в случае, если механические свойства соединения равнопрочны с барьером.

Надлежащая внутренняя облицовка из изоляционного материала или надлежащее внутреннее изоляционное покрытие на металлических корпусных деталях считают изоляционным барьером при условии, что такое покрытие нельзя легко удалить соскабливанием.

Для машин класса II трубку на изолированном внутреннем проводнике, кроме жилы внешнего гибкого кабеля или шнура, считают достаточным изоляционным барьером, если ее можно удалить, только разорвав или разрезав, или если она зажата с обоих концов.

Обычное лакокрасочное покрытие внутри металлических корпусных деталей, ткань с лаковым покрытием, бумагу на гибкой смоляной основе или подобные материалы не считают изоляционным барьером.

21.10 Внутри машины оболочка гибкого кабеля или шнура должна быть использована только как дополнительная изоляция в местах, где она не подвергается чрезмерному механическому или тепловому воздействию.

Соответствие требованию проверяют осмотром.

21.11 Любой монтажный зазор шириной более 3 мм в дополнительной изоляции не должен совпадать с подобным зазором в основной изоляции, а любой подобный зазор в усиленной изоляции не должен открывать прямого доступа к токоведущим частям.

Соответствие требованию проверяют осмотром и измерением.

21.12 Машины класса I должны быть сконструированы так, чтобы в случае ослабления или выпадения какого-либо провода, винта, гайки, шайбы, пружины или подобной детали они не могли бы занять положение, при котором доступные металлические части окажутся под напряжением.

Машины класса II или конструкции класса II должны быть сконструированы так, чтобы в случае ослабления или выпадения какой-либо из указанных выше деталей они не могли бы занять положение, при котором пути утечки или воздушные зазоры через дополнительную или усиленную изоляцию уменьшились бы более чем на 50 % значений, указанных в 28.1.

Машины класса II или конструкции класса II, кроме исполнения в изолирующем корпусе, должны быть снабжены изоляционными барьерами между доступными металлическими деталями и деталями электродвигателя и прочими токоведущими частями.

Для машин класса I это требование может быть выполнено применением изоляционных барьеров либо надлежащим креплением деталей и обеспечением достаточно больших путей утечки и воздушных зазоров.

Не следует исходить из возможности одновременного ослабления или выпадения двух независимых деталей. Для электрических соединений пружинные шайбы не считают средством, достаточным для предотвращения ослабления деталей.

Считают, что провода могут отделиться от зажимов или паяных соединений, если они не закреплены около зажима или паяного соединения независимо от вида зажима или пайки.

Считают, что короткие жесткие провода не могут отделиться от зажима, если они остаются на месте при ослаблении винта зажима.

Соответствие требованию проверяют осмотром, измерением и ручным испытанием.

21.13 Дополнительная или усиленная изоляция должна быть сконструирована или защищена таким образом, чтобы ее качество не ухудшалось при осаждении грязи или пыли, образующейся при износе деталей внутри машины, до такой степени, при которой значения путей утечки и воздушных зазоров становятся меньше значений, указанных в 28.1.

Не полностью спекшиеся керамические материалы или им подобные, а также отдельные изолирующие бусы не должны быть использованы как дополнительная или усиленная изоляция.

Детали из натуральной или синтетической резины, используемые в качестве дополнительной изоляции, должны быть стойкими к старению или должны быть расположены так и иметь такие размеры, чтобы значения путей утечки не становились ниже указанных в 28.1 даже при появлении трещин.

Изоляционный материал, в который помещены нагревательные элементы, выполняет функции основной изоляции и не должен быть использован как усиленная изоляция.

Соответствие требованию проверяют осмотром, измерением, а для деталей из каучука следующим испытанием.

Детали из каучука (резины) подвергают старению при температуре (100 ± 2) °С в течение 70 ч. По завершении этого испытания образцы проверяют, при этом не должно быть трещин, видимых невооруженным глазом.

Примечание - В сомнительных случаях для материалов, кроме резины, могут быть проведены специальные испытания.

21.14 Машины должны быть сконструированы так, чтобы внутренняя проводка, обмотки, коллекторы, контактные кольца и т. п., а также изоляция в целом не подвергались воздействию масла, смазки и подобных веществ.

Если конструкция предполагает воздействие на изоляцию жидких или пластичных смазок или подобных веществ, например в редукторах, то жидкая или пластичная смазка или подобные вещества должны обладать достаточными изоляционными свойствами, соответствующими требованиям настоящего стандарта, и не должны ослаблять прочность изоляции.

Соответствие требованию проверяют осмотром и испытаниями согласно настоящему стандарту.

21.15 Доступ к щеткам без помощи инструмента должен быть невозможен.

Резьбовые колпачки щеткодержателей должны быть сконструированы так, чтобы при затяжке происходило стягивание двух поверхностей.

Щеткодержатели, удерживающие щетки в нужном положении с помощью запирающего устройства, должны быть сконструированы так, чтобы запирание не зависело от натяжения пружины щетки, если ослабление запирающего устройства может привести к тому, что доступные металлические части окажутся под напряжением.

Резьбовые колпачки щеткодержателей, доступные с внешней стороны машины, должны быть изготовлены из изоляционного материала или покрыты изоляционным материалом соответствующей электрической и механической прочности; они не должны выступать за наружную поверхность машины.

Соответствие требованию проверяют осмотром и ручным испытанием, а свойства изоляционных материалов проверяют испытаниями:

- по 20.2 и 20.4 для резьбовых колпачков щеткодержателей, доступных с внешней стороны машины;

- указанными для дополнительной изоляции машин класса I и класса III;

- указанными для усиленной изоляции машин класса II.

21.16 Машины с подачей воды либо должны быть класса III, либо должны быть рассчитаны на эксплуатацию с изолирующим трансформатором на номинальное выходное напряжение не более 115 В.

Соответствие требованию проверяют осмотром.

21.17 Выключатели и кнопки запуска на устройствах управления без самовозврата должны быть расположены так, чтобы их случайное включение было невозможно.

Соответствие требованию проверяют осмотром и следующим испытанием. Машину подключают к источнику питания, помещают в любое возможное положение и медленно тянут по горизонтальной поверхности.

При этом не должно происходить непреднамеренного срабатывания.

21.18 Машины, кроме машин, имеющих гибкий вал, должны быть снабжены сетевым выключателем, который пользователь может выключить, не отпуская рукоятку машины. Если выключатель имеет блокирующее устройство (например, фиксирующую кнопку) и оно блокируется на включенной машине, то требование 21.18 считают выполненным при условии, что выключатель деблокируется автоматически при нажатии на пусковой курок или другой пусковой элемент.

Соответствие требованию проверяют осмотром и ручным испытанием.

21.18.1 Для машин, где продолжительность включения может создавать опасность, выключатель не должен иметь какого-либо блокирующего устройства и оно не должно оставаться во включенном положении, при этом блокирующее устройство также не должно оставаться во включенном положении, когда курок выключателя освобожден (т. е. отжат). Также машины должны соответствовать требованиям стандарта на машины конкретного вида.

21.18.2 В случаях, где опасность связана с непреднамеренным включением машины, выключатель должен иметь блокирующее устройство, которое срабатывает при выключенном положении машины.

21.19 Машины должны быть сконструированы так, чтобы замена винтов, предназначенных для замены снаружи во время текущего обслуживания, на винты большей длины не влияла на защиту от поражения электрическим током.

Соответствие требованию проверяют вводом более длинных винтов без ощутимого усилия, после чего значения путей утечки и воздушных зазоров между токоведущими частями и доступными металлическими деталями не должны быть ниже значений, указанных в 28.1.

21.20 Если машина маркирована первыми цифрами в IP-системе, то согласно IEC 60529 должны быть выполнены соответствующие маркировке требования.

Соответствие требованию проверяют проведением соответствующих испытаний.

21.21 Машины должны быть сконструированы так, чтобы при нормальной эксплуатации не было опасности поражения электрическим током заряженных конденсаторов при касании штырей вилки кабеля. Конденсаторы номинальной емкостью, менее или равной 0,1 мФ, не считают опасными в отношении поражения электрическим током.

Соответствие требованию контролируют следующими десятикратными испытаниями.

Машина работает при номинальном напряжении.

Затем выключатель машины, если он имеется, переводят в выключенное положение и машину отсоединяют от сети с помощью штепсельного разъема (вилки).

Через 1 с после отсоединения напряжение между штырями вилки измеряют прибором, не оказывающим существенного влияния на значение измеряемого параметра.

Это напряжение не должно превышать 34 В.

21.22 Несъемные части, которые обеспечивают необходимую степень защиты от поражения электрическим током, влаги или контакта с движущимися частями, должны быть закреплены надежным образом и должны выдерживать механические нагрузки, возможные при нормальной эксплуатации.

Защелкивающие устройства, используемые для крепления несъемных деталей, должны иметь очевидную запирающую позицию. Фиксирующие свойства защелкивающих устройств, используемые для частей, которые, вероятно, снимают при техническом обслуживании, не должны ухудшаться.

Соответствие требованию проверяют следующим испытанием.

Детали (части), которые, вероятно, снимают при техническом обслуживании, разбирают и собирают 10 раз перед проведением испытания.

Техническое обслуживание включает в себя замену шнура питания.

Машина находится при комнатной температуре. Однако когда на результат испытания может повлиять температура, испытания проводят сразу после того, как машина проработала в условиях, указанных в разделе 12.

Испытанию подвергают все части, которые, вероятно, будут снимать, независимо от того, зафиксированы ли они винтами, заклепками и т. п.

Силу прилагают в течение 10 с в наиболее неблагоприятном направлении без рывков к тем поверхностям крышки или части, которые, вероятно, ослабятся. Значение силы указано ниже:

- толкающая сила - 50 Н;

- растягивающая сила:

a) если форма части такова, что кончики

пальцев не могут легко соскользнуть, - 50 Н;

b) если захватываемая часть выступает

в направлении перемещения менее чем на 10 мм - 30 Н.

Толкающую силу прилагают с помощью жесткого испытательного пальца, аналогичного по размерам стандартному испытательному пальцу, показанному на рисунке 1.

Растягивающую силу прилагают с помощью любого подходящего средства (например, присоски) таким образом, чтобы оно не влияло на результат испытаний.

При испытании по перечислению а) или b), касающемся растягивающей силы, испытательный подпружиненный палец (рисунок 7) вводят в любое отверстие или место соединения с усилием 10 Н. Затем испытательный подпружиненный палец смещают вбок с усилием 10 Н, причем его не следует разворачивать или использовать как рычаг.

Если форма части такова, что осевое растягивающее усилие маловероятно, растягивающую силу не прилагают, но испытательный подпружиненный палец (см. рисунок 7) вводят в любое отверстие или место соединения с усилием 10 Н и затем тянут в течение 10 с с помощью петли с усилием 30 Не направлении смещения.

Если крышка или часть машины будет подвергаться скручивающему усилию, то во время приложения растягивающей или толкающей силы создают крутящий момент, указанный ниже:

- для основного размера крышки или части машины до 50 мм включительно - 2 · Нм;

- для основного размера крышки или части машины свыше 50 мм - 4 · Нм.

Указанный крутящий момент также применяют, когда испытательный подпружиненный палец тянут петлей.

Если захватываемая часть выступает менее чем на 10 мм, вышеуказанный крутящий момент снижают до 50 % установленного значения.

Части машины не должны быть сняты, и они должны оставаться в заблокированном состоянии.

21.23 Рукоятки, ручки, захваты, рычаги и т. п. должны быть надежно закреплены так, чтобы они не ослаблялись при нормальной эксплуатации, если такое ослабление может привести к опасности.

Соответствие требованию проверяют осмотром, испытанием вручную и попыткой снять рукоятку, ручку, захват или рычаг приложением осевого растягивающего или толкающего усилия 30 Н.

21.24 Крючки и подобные устройства для гибких шнуров должны быть гладкими и хорошо закругленными.

Соответствие требованию проверяют осмотром.

21.25 Токопроводящие и другие детали, коррозия которых может привести к опасности, должны быть устойчивы к коррозии при нормальных условиях эксплуатации. Нержавеющую сталь и подобные коррозионностойкие сплавы и плакированную сталь считают удовлетворяющими настоящим требованиям.

Соответствие требованию проверяют подтверждением того, что эти детали после испытания по разделу 18 не имеют следов коррозии.

Примечание - Причинами случаев коррозии могут быть несовместимость материалов и влияние нагрева.

21.26 Прямой контакт между токоведущими частями и термоизоляцией должен быть эффективно предотвращен применением некоррозионного, негигроскопичного и нелегковоспламеняющегося изоляционного материала, такого как стекловата.

Соответствие требованию проверяют осмотром, испытаниями по разделам 16 и 17, а при необходимости, - химическими испытаниями или испытаниями на воспламеняемость.

Примечание - Непропитанная шлаковая вата является примером коррозионной термоизоляции.

21.27 Машины, кроме машин класса II, имеющие части, работающие при безопасном сверхнизком напряжении, для обеспечения необходимой степени защиты от поражения электрическим током должны быть сконструированы так, чтобы изоляция между деталями, работающими при безопасном сверхнизком напряжении, и другими токоведущими деталями соответствовала требованиям, предъявляемым к двойной или усиленной изоляции.

Соответствие требованию проверяют испытаниями, указанными для двойной или усиленной изоляции.

21.28 Детали, отделенные защитным импедансом, должны соответствовать требованиям для двойной или усиленной изоляции.

Соответствие требованию проверяют испытаниями, предписанными для двойной или усиленной изоляции.

21.29 В стадии разработки.

21.30 Оси рабочих кнопок, ручек, рычагов и т. п. не должны быть токоведущими, если только ось недоступна, когда кнопку, ручку, рычаг и т. п. удаляют.

Соответствие требованию проверяют осмотром и с помощью испытательного пальца по 9.2 после удаления кнопки, ручки, рычага и т. п., даже если для этого необходим инструмент.

21.31 В конструкциях, кроме класса III, ручки, рукоятки и кнопки, которые берут в руки или нажимают при нормальной эксплуатации, не должны стать токоведущими при повреждении изоляции. Если эти ручки, рукоятки, кнопки металлические или если их оси и крепежные детали могут стать токоведущими при повреждении основной изоляции, то они должны быть соответствующим образом покрыты изоляционным материалом или их доступные части должны быть отделены от их осей или крепежных деталей изоляцией.

Такое покрытие или изоляционный материал должен соответствовать требованиям к испытанию электрической прочности изоляции по разделу 15, таблица 2, пункт 4.

Соответствие требованию проверяют осмотром и, при необходимости, испытаниями, указанными для проверки изоляции.

21.32 Для машин, кроме машин класса III, ручки, которые при нормальной эксплуатации непрерывно держат в руке, должны быть сконструированы так, чтобы при их захвате во время нормальной эксплуатации было маловероятным прикасание руки оператора к металлическим частям, которые не отделены от токоведущих частей двойной или усиленной изоляцией.

Соответствие требованию проверяют осмотром.

21.33 Для машин класса II конденсаторы не должны быть соединены с доступными металлическими частями, а их кожухи (если они металлические) должны быть отделены от доступных металлических частей дополнительной изоляцией.

Это требование не относится к конденсаторам, соответствующим требованиям для защитного импеданса по 9.1 и 21.36.

Соответствие требованию проверяют осмотром и проведением испытаний, указанных для дополнительной изоляции.

21.34 Конденсаторы не следует подключать между контактами термовыключателя. Соответствие проверяют осмотром.

21.35 Патроны ламп должны быть использованы только для подключения ламп. Соответствие требованию проверяют осмотром.

21.36 Защитный импеданс должен состоять не менее чем из двух отдельных компонентов, изменение полного сопротивления которых в течение срока службы машины маловероятно. Если один из компонентов замыкается накоротко или размыкается, не должно быть превышения значений величин, указанных в 9.1.

Сопротивления (резисторы), соответствующие 14.1 IEC 60065, и конденсаторы, соответствующие 14.2 IEC 60065, считают отвечающими требованиям настоящего пункта.

Соответствие требованиям проверяют осмотром и измерением.

21.37 Входные вентиляционные окна не должны допускать попадания в машину посторонних тел, нарушающих безопасность.

Соответствие требованию проверяют следующим испытанием.

Не должно быть возможным протолкнуть стальной шарик диаметром 6 мм через входные окна, за исключением тех, которые примыкают к вентилятору, или смежных с ним.

22 Внутренняя проводка

2.1 Каналы должны быть гладкими и свободными от острых кромок.

Провода должны быть защищены таким образом, чтобы они не касались заусенцев, охлаждающих ребер и т. п., что могло бы вызвать повреждение изоляции проводов.

Отверстия в металле, через которые проходят изолированные провода, должны быть снабжены втулками или (при отсутствии в стандарте на машины конкретных видов иных требований) должны иметь гладкие, хорошо закругленные края. Края радиусом 1,5 мм считают достаточно скругленными.

Провода должны быть надежно защищены от соприкосновения с движущимися частями.

Соответствие требованию проверяют осмотром.

22.2. Внутренняя проводка и электрические соединения между различными частями машины должны быть надежно защищены или закрыты.

Соответствие требованию проверяют осмотром.

22.3 Внутренняя проводка должна быть либо достаточно жесткой и хорошо закрепленной, либо изолированной так, чтобы при нормальной эксплуатации значения путей утечки и воздушных зазоров не становились ниже указанных в 28.1. Изоляция, при наличии, должна быть такой, чтобы ее нельзя было повредить при нормальном использовании.

Соответствие требованиям проверяют осмотром, измерением и ручным испытанием.

Для изолированной внутренней проводки изоляция должна быть электрически эквивалентной изоляции шнуров IEC 60227 или IEC 60245 или выдерживать следующую проверку испытанием на электрическую прочность.

Напряжение 2000 В прилагают в течение 15 мин между проводником и металлической фольгой, обернутой вокруг изоляции проводника. Не должно быть пробоя.

Если в качестве дополнительной изоляции на внутренней проводке использована трубка, она должна быть прочно закреплена. Трубку считают надежно закрепленной, если ее можно снять, только поломав или разрезав, или если она закреплена с обоих концов.

Соответствие требованию проверяют осмотром и ручным испытанием.

22.4 Провода, обозначенные комбинацией желтого и зеленого цветов, не должны быть присоединены к другим зажимам, кроме зажима для подсоединения заземляющего проводника.

Соответствие требованию проверяют осмотром.

22.5 Алюминиевые провода не должны быть использованы для внутренней проводки. Обмотки двигателей не считают внутренней проводкой.

Соответствие требованию проверяют осмотром.

22.6 Многопроволочные проводники не должны соединяться свинцово-оловянным припоем в местах, где они подвергаются контактному давлению, если зажимные устройства сконструированы так, что возможен плохой контакт из-за хладотекучести припоя.

Соединение прядей (проволочек) проводника свинцово-оловянным припоем допускается, если применяют пружинные контактные зажимы. Закрепление только зажимными винтами не считают достаточным. Допускается пропайка концов многопроволочного проводника.

Соответствие требованию проверяют осмотром.

23 Комплектующие изделия

23.1 Комплектующие изделия по безопасности должны соответствовать требованиям соответствующих стандартов настолько, насколько это целесообразно.

Если комплектующие изделия имеют маркировку рабочих характеристик, то условия использования их в машине должны соответствовать этой маркировке при отсутствии других указаний.

23.1.1 Конденсаторы во вспомогательной обмотке двигателя должны иметь маркировку их номинального напряжения и номинальной емкости.

23.1.2 Конденсаторы постоянной емкости для подавления радиопомех должны соответствовать требованиям IEC 60384-14.

23.1.3 Малые ламподержатели (патроны), аналогичные ламподержателям (патронам) серии Е10, должны соответствовать требованиям к ламподержателям Е10, но они не обязательно должны быть пригодны для ламп с цоколем Е10, соответствующим стандартному листу 7004-22 IEC 60061-1.

23.1.4 Изолирующие трансформаторы и безопасные изолирующие трансформаторы должны соответствовать требованиям IEC 61558-1.

23.1.5 Приборные соединители для машин исполнения IPX0 должны соответствовать IEC 60320, другие приборные соединители - IEC 60309.

Если применяют приборные соединители, не соответствующие указанным выше стандартам IEC, производитель должен информировать в инструкции по эксплуатации о том, что подсоединение к машине следует выполнять только через соединитель, указанный производителем.

23.1.6 Устройства автоматического регулирования, не соответствующие IEC 60730-1, должны быть испытаны на соответствие настоящему стандарту и дополнительно на соответствие 11.3.5 - 11.3.8 и разделу 17 IEC 60730-1. Эти устройства могут быть испытаны отдельно (вне машины).

Испытания согласно IEC 60730-1 проводят при условиях, возникающих в машине. При испытании по разделу 17 IEC 60730-1 число циклов работы составляет:

- для терморегуляторов - 10000;

- для термоограничителей - 1000;

- для тепловых выключателей (или термовыключателей)

с самовозвратом - 300;

- для термовыключателей без самовозврата

с ручным пуском - 10.

Устройства автоматического регулирования, которые выполнены согласно требованиям IEC 60730-1 и которые применяют в соответствии с их маркировкой, считают отвечающими требованиям настоящего стандарта (для устройств автоматического регулирования термин «маркировка» включает в себя документацию и декларацию, как указано в разделе 7 IEC 60730-1).

Испытаниям по разделу 17 IEC 60730-1 не подвергают устройства автоматического регулирования, которые срабатывают при испытаниях по разделу 12, если машина соответствует требованиям настоящего стандарта при закорачивании этих устройств.

Особое исключение относится к испытанию термостатов и термоограничителей, которые приведены в сноске2) таблицы 1 раздела 12.

23.1.7 Испытание комплектующих изделий, которые должны соответствовать требованиям других стандартов, обычно проводят отдельно по соответствующему стандарту.

Если комплектующее изделие имеет маркировку и используется согласно маркировке, то его испытывают в соответствии с указанной маркировкой; число образцов для испытания выбирают исходя из требований стандарта.

В частности, комплектующие изделия, не упомянутые в таблице 1 раздела 12, испытывают как часть машины.

23.1.8 Если стандарт на определенное комплектующее изделие отсутствует или если комплектующее не имеет маркировки или используется не в соответствии с маркировкой, то комплектующее изделие испытывают в соответствии с условиями его эксплуатации в машине. Число образцов выбирают обычно как предписано соответствующим стандартом.

23.1.9 Для конденсаторов, включаемых последовательно с обмоткой электродвигателя, проверяют, что когда машина работает при напряжении, равном 1,1 номинального, и при минимальной нагрузке, напряжение, приложенное к конденсатору, не должно более чем в 1,1 раза превышать номинальное напряжение конденсатора.

23.1.10 Сетевые выключатели должны обладать достаточной отключающей способностью и должны быть рассчитаны на 50000 циклов срабатывания.

Соответствие требованию проверяют осмотром и следующим испытанием.

Сетевые выключатели испытывают вместе с машиной при номинальном напряжении или при верхнем пределе диапазона номинального напряжения машины.

Затем электродвигатель застопоривают, а выключатель включают 50 раз, причем каждый период положения «включено» должен длиться не более 0,5 с, а каждый период положения «выключено» - не менее 10 с.

Если при нормальной эксплуатации электронное устройство управления отключает ток до размыкания сетевых контактов, число циклов сокращают до пяти при закороченном электронном устройстве.

После этого испытания выключатель не должен иметь электрических или механических повреждений.

Сетевые выключатели, маркированные индивидуальными номинальными данными, испытывают в соответствии с IEC 61058-1.

23.1.11 Выключатели, которые не были испытаны отдельно и не было установлено их соответствие требованиям IEC 61058-1 при условиях, возникающих в машине, должны соответствовать приложению 1.

Испытания по 17.2.4.4 IEC 61058-1 предусматривают наработку в течение 50000 циклов срабатывания.

Выключатели, предназначенные для работы (включения) без нагрузки и которые могут работать только при применении инструмента, подвергают испытаниям по разделу 17 IEC 61058-1. Этим испытаниям подвергают также выключатели, включаемые вручную, в которых имеется блокировка, препятствующая включению под нагрузкой. Однако выключатели, не имеющие блокировки, подвергают испытаниям по 17.2.4.4 в течение 100 рабочих циклов.

Испытания по 17.2.4.4 IEC 61058-1 не проводят, если машина соответствует требованиям настоящего стандарта при закороченном выключателе.

23.2 Машины не должны иметь:

выключателей или устройств автоматического регулирования в гибких шнурах;

устройств, которые приводят к срабатыванию защитных устройств в фиксированной проводке в случае повреждений в машине;

-тепловых выключателей (термовыключателей), которые могут быть возвращены в исходное состояние посредством пайки.

Соответствие требованию проверяют осмотром.

23.3 Устройства защиты от перегрузок должны быть без самовозврата. Соответствие требованию проверяют осмотром.

23.4 Штепсельные вилки и розетки, используемые для присоединения нагревательных элементов, и штепсельные вилки и розетки для цепей сверхнизкого напряжения не должны быть взаимозаменяемы со штепсельными соединителями, перечисленными в IEC 60884, или с соединителями и приборными вводами, соответствующими IEC 60320.

Соответствие требованию проверяют осмотром.

23.5 Электродвигатели, подключаемые к сети питания и имеющую основную изоляцию, не рассчитанную на номинальное напряжение машины, должны соответствовать требованиям приложения В.

Соответствие требованию проверяют испытаниями по приложению В.

24 Присоединение к источнику питания и внешние гибкие шнуры

24.1 Машины должны быть снабжены одним из следующих средств присоединения к сети питания:

- шнуром питания, оснащенным вилкой;

- приборным вводом, имеющим по крайней мере туже степень защиты от влаги, что и машина, и снабженным блокирующим устройством, предотвращающим непреднамеренное отключение или отсоединение;

- шнуром питания, не превышающим 0,5 м и закрепленным в одну линию с соединителем (кабельным соединителем) и с его дублером (ответной частью). Соединитель в линии должен иметь по крайней мере ту же степень защиты от влаги, что и машина.

Соответствие требованию проверяют осмотром, а для блокирующего устройства - испытанием на растяжение по 24.14.

24.2 Способы крепления шнуров питания машин должны соответствовать одному из следующих типов:

- крепление типа X;

- крепление типа V;

- крепление типа Z (если это допускается соответствующим стандартом на машины конкретного вида).

Шнуры питания с креплением типа X или креплением типа V могут быть или обычными гибкими шнурами, или специальными шнурами, или только рекомендуемыми изготовителем или его служебным представителем. Специальный шнур может также входить в часть машины (или являться частью машины).

Соответствие требованию проверяют осмотром и, при необходимости, ручным испытанием.

24.3 Штепсельные вилки не должны быть снабжены более чем одним шнуром питания. Соответствие требованию проверяют осмотром.

24.4 Шнуры питания не должны быть легче, чем:

- гибкий шнур в обычной прочной резиновой оболочке (кодовое обозначение 53 IEC 60245);

- гибкий шнур в обычной поливинилхлоридной оболочке (кодовое обозначение 53 IEC 60227).

Гибкие шнуры с поливинилхлоридной изоляцией не должны быть использованы в машинах, имеющих наружные металлические части, превышение температуры которых при испытании по разделу 12 превосходит 75 °С.

Соответствие требованию проверяют осмотром и измерением.

Если шнуры питания однофазных машин, рассчитанных на номинальный ток не более 16 А, снабжены штепсельными вилками, то вилка должна соответствовать требованиям IEC 60884 или IEC 60309.

Если установлены вилки, соответствующие требованиям IEC 60309, то на них должны распространяться следующие стандартные листы указанного выше стандарта:

- машины класса I - лист 2 - I;

- машины класса II - лист 2;

- машины класса III - лист 2 - I.

Корпус штепсельной вилки должен быть изготовлен или иметь покрытие из резины, поливинилхлорида или материала, обладающего не меньшей механической прочностью.

Шнуры питания однофазных машин, имеющих номинальный ток, превышающий 16 А, но не более 63 А, и многофазных машин с номинальным током, не превышающим 63 А, должны быть снабжены штепсельными вилками, соответствующими требованиям IEC 60309, и на них должны распространяться следующие стандартные листы указанного выше стандарта:

- машины класса I - лист 2 - III в соответствии стоком;

- машины класса II - лист 2;

- машины класса III - лист 2 - III.

Двухполюсные штепсельные вилки, приборные вводы и соединители для шнуров (кабелей) и розеток должны соответствовать стандартному листу 2 применительно к машинам класса II.

24.5 Номинальное поперечное сечение жил шнуров питания должно быть не менее указанного в таблице 6.

Таблица 6 - Минимальное поперечное сечение шнуров питания

Номинальный ток машины, А

Номинальное поперечное сечение, мм2

До 6 включ.

0,75

Св. 6 до 10 включ.

1

Св. 10 до 16 включ.

1,5

Св. 16 до 25 включ.

2,5

Св. 25 до 32 включ.

4

Св. 32 до 40 включ.

6

Св. 40 до 63 включ.

10

Соответствие требованию проверяют измерением.

24.6 Шнур питания машин класса I должен иметь желто-зеленую жилу, которая должна быть присоединена к внутреннему зажиму заземления машины и к контакту заземления штепсельной вилки.

Соответствие требованию проверяют осмотром.

24.7 Жилы шнуров питания не следует скреплять пайкой припоем, содержащим олово и свинец в тех местах, где на них действует контактное давление, если зажимные устройства не сконструированы так, что не возникает опасность плохого контакта в результате хладотекучести припоя.

Соответствие требованию проверяют осмотром.

Требование считают выполненным при использовании пружинных зажимов. Закрепление только зажимными винтами не считают достаточным.

24.8 Для всех типов креплений изоляция шнура питания не должна быть повреждена при креплении шнура к части корпуса.

Соответствие требованию проверяют осмотром.

24.9 Вводные отверстия должны быть снабжены такими втулками (трубками) или должны быть сконструированы так, чтобы защитная оболочка шнура питания могла быть введена без риска повреждения.

Соответствие требованию проверяют осмотром и ручным испытанием.

24.10 Входные трубки (втулки) должны:

- иметь такую форму, чтобы было предотвращено повреждение шнура питания;

- быть надежно закреплены;

- быть сняты только с помощью инструмента.

Соответствие требованию проверяют осмотром и ручным испытанием.

24.11 Во входных отверстиях изоляция между проводом шнура питания и корпусом машины, если этот корпус изготовлен из металла, должна состоять из изоляции провода и дополнительно по крайней мере двух отдельных изоляций.

Отдельная изоляция должна состоять из:

- оболочки шнура питания, которая, по крайней мере, эквивалентна оболочке шнура, соответствующего IEC 60227 или IEC 60245, или

- обкладки (футеровки) или втулки (трубки) из изоляционного материала, удовлетворяющей требованиям к дополнительной изоляции.

Соответствие требованию проверяют осмотром.

24.12 Защитные устройства шнура должны обладать достаточной механической прочностью и должны сохранять это свойство при длительной нормальной эксплуатации.

Соответствие требованию проверяют следующим испытанием.

Часть машины, имеющей кабельный ввод, снабженный защитным устройством шнура и гибким кабелем или шнуром, закрепляют в качающем элементе рамы устройства аналогично показанному на рисунке 9. Образец устанавливают так, чтобы ось качания являлась касательной к наружной поверхности детали образца, в которой закреплено защитное устройство шнура, а в среднем положении качающего элемента ось кабеля или шнура в месте выхода из защитного устройства должна быть вертикальной.

Груз массой, равной массе машины, но не менее 2 и более 6 кг, прикрепляют к кабелю или шнуру.

Качающую раму приводят в возвратно-поступательное движение в пределах угла 90° (по 45° с каждой стороны от вертикали) с числом изгибов 20000 и скоростью изгибов 60 раз в минуту. После 10000 изгибов образец поворачивают на 90° относительно центральной оси защитного устройства шнура. Изгибом считают одно движение в одну или другую сторону.

После испытания защитное устройство шнура не должно быть ослаблено и ни защитное устройство, ни гибкий кабель или шнур не должны иметь никаких повреждений, нарушающих соответствие требованиям настоящего стандарта, за исключением того, что не более 10 % числа проволок (или стренг) в каждой жиле могут быть разорваны.

Непосредственно после этого испытания устройство крепления шнура и винты зажимов ослабляют без удаления проводников гибкого кабеля или шнура. Однако если защитное устройство шнура зажато под устройством крепления шнура, то устройство крепления шнура не ослабляют.

Затем машину поднимают за защитное устройство шнура без рывков приблизительно на 500 мм в течение 1 си вновь кладут на опору.

Эту операцию повторяют 10 раз.

В процессе этого испытания защитное устройство шнура не должно выходить из своего положения.

24.13 Гибкие кабели или шнуры машин должны быть защищены от чрезмерного изгиба в местах, где шнур или кабель проходит через входное отверстие машины, с помощью защитного устройства из изоляционного материала. Эти защитные устройства не должны составлять единое целое с сетевым кабелем или шнуром крепления типа X.

Защитные устройства должны быть сконструированы и надежно закреплены - так, чтобы они выступали из входного отверстия машины на расстояние, равное не менее пятикратного диаметра кабеля или шнура, поставляемого с машиной.

Соответствие требованию проверяют осмотром, измерением и следующим испытанием.

Машину снабжают защитным устройством шнура или кабеля и гибким кабелем или шнуром длиной приблизительно на 100 мм больше длины защитного устройства.

Машину устанавливают так, чтобы ось защитного устройства в том месте, где от него отходит кабель или шнур, была направлена вверх под углом 45° к горизонтальной поверхности, когда кабель или шнур свободен от механических напряжений.

К свободному концу кабеля или шнура прикрепляют массу, равную 10D2 г, где D равно предельному диаметру, мм, гибкого кабеля или шнура, поставляемого вместе с машиной.

Если защитное устройство шнура чувствительно к воздействию температуры, то его испытывают при температуре (23 ± 2) °С.

Непосредственно после того как масса приложена, радиус кривизны кабеля или шнура в любом месте не должен быть менее 1,5 D.

24.14 Машины, снабженные шнуром питания, должны иметь крепление шнура, выполненное так, чтобы оно разгружало проводники от напряжений, в том числе от скручивания, в месте присоединения шнура внутри машины, а также защищало изоляцию проводов от истирания.

Не допускается возможности проталкивания шнура внутрь машины до такой степени, что это может вызвать повреждение шнура или внутренних частей машины.

Соответствие требованию проверяют осмотром, испытанием вручную и следующим испытанием.

Шнур подвергают 25 натяжениям с усилием, указанным в таблице 7.

Натяжения проводят в наиболее неблагоприятном направлении без рывков, при этом каждое натяжение должно длиться 1 с.

Непосредственно после этого шнур, кроме шнуров с автоматической намоткой на катушку, подвергают кручению крутящим моментом, значение которого указано в таблице 7, в течение 1 мин.

Таблица 7 - Сила натяжения и крутящий момент

Масса машины, кг

Сила натяжения, Н

Крутящий момент, Нм

До 1 включ.

30

0,1

Св. 1 до 4 включ.

60

0,25

Св.4

100

0,35

Во время испытания шнур не должен быть поврежден.

После испытания шнур не должен быть смещен в продольном направлении более чем на 2 мм, а провода не должны быть смещены в зажимах более чем на 1 мм. В местах соединения не должно быть заметного натяжения.

Значения путей утечки и воздушных зазоров не должны быть меньше значений, указанных в 28.1.

Для измерения продольного смещения перед началом испытания делают отметку на кабеле или шнуре в натянутом состоянии на расстоянии приблизительно 2 см от устройства крепления.

После испытаний измеряют смещение отметки на кабеле или шнуре относительно устройства крепления в натянутом состоянии шнура (или кабеля).

24.15 Устройства для крепления шнура должны быть либо расположены так, чтобы были доступны только с помощью инструмента, либо сконструированы так, чтобы можно было установить шнур только с помощью инструмента.

Соответствие требованию проверяют осмотром.

24.16 Для крепления типа X узел крепления шнура должен быть сконструирован и расположен так, чтобы:

- замена шнура была легко осуществима;

- было ясно, как достигается разгрузка шнура от натяжения и предотвращения скручивания;

- подходил для различных типов шнура, которые могут быть присоединены, если только не используется специально подготовленный шнур;

- шнур не мог прикоснуться к зажимным винтам для крепления шнура, если эти винты доступны и если они не отделены от доступных металлических частей дополнительной изоляцией;

- шнур не был зажат металлическим винтом, который непосредственно воздействует (опирается) на шнур;

- по крайней мере одна часть крепления шнура была надежно закреплена на машине, если она не является частью специально подготовленного шнура;

- если при замене питающего шнура необходимо отвернуть какие-либо винты, то эти винты не служили для крепления других частей машины, кроме случаев, когда отсутствие или неправильная установка этих частей делает машину неработоспособной или явно некомплектной, или когда части, закрепляемые этими винтами, не могут быть сняты без применения инструмента при замене шнура;

- при наличии лабиринтов и если эти лабиринты невозможно обойти, то испытания по 24.14 не были бы выполнены;

- сальники не были использованы в качестве устройств крепления шнура питания;

-для машин класса I крепление шнура было выполнено из изоляционного материала или снабжено изоляционной прокладкой, если при повреждении изоляции шнура доступные металлические части могут оказаться под напряжением;

- для машин класса II крепление шнура было выполнено из изоляционного материала, а если оно выполнено из металла, то было бы изолировано от доступных металлических частей изоляцией, соответствующей требованиям к дополнительной изоляции.

Если для крепления типа X узел крепления (разгрузки) шнура содержит один или более зажимной элемент, давление к которому приложено посредством гаек, навинченных на шпильки, которые надежно закреплены в машине, то считают, что крепление шнура имеет одну часть, которая надежно прикреплена к машине, даже если зажимные элементы могут быть сняты со шпилек.

Если давление к зажимным элементам приложено посредством одного или более винта, находящегося в соединении либо с отдельными гайками, либо с резьбой в части, которая составляет единое целое с машиной, то считают, что такое крепление шнура не имеет ни одной части, которая надежно прикреплена к машине. Данное требование не применяют, когда один из зажимных элементов сам прикреплен к машине или поверхность машины выполнена из изоляционного материала и имеет такую форму, что очевидно, что эта поверхность является одним из зажимных элементов.

Соответствие требованию проверяют осмотром и испытанием по 24.14 при следующих условиях.

Сначала испытания проводят с наиболее легким из допустимых типов шнура с наименьшей площадью поперечного сечения, указанной в 25.2, а затем с ближайшим более тяжелым типом шнура с наибольшей установленной площадью поперечного сечения, кроме случаев, когда машина предназначена для установки шнура только одного типа.

Машины, для которых используется специально подготовленный шнур, испытывают с поставляемым шнуром.

Провода вводят в зажимы, зажимные винты затягивают настолько, чтобы провода не могли легко изменить свое положение. Крепление шнура, как обычно, обеспечивают зажимными винтами, при этом их затягивают крутящим моментом, равным 2/3 крутящего момента, указанного в 27.1.

Винты из изоляционного материала, которые опираются непосредственно на шнур, затягивают крутящим моментом, равным 2/3 крутящего момента, указанного в колонке I таблицы 9, причем длину шлица в головке принимают равной номинальному диаметру винта.

24.17 Для крепления типов Y и Z узел крепления шнура должен быть выполнен соответствующим образом.

Соответствие требованию проверяют испытанием по 24.14, которое проводят с поставляемым вместе с машиной шнуром.

24.18 Для крепления типа X не допускаются такие технологические приемы, как завязывание шнура узлом или связывание концов бечевкой.

Соответствие требованию проверяют осмотром.

24.19 Для крепления типов Y и Z изолированные жилы шнура питания должны быть изолированы от доступных металлических частей изоляцией, соответствующей требованиям к основной изоляции для машин класса I и требованиям к дополнительной изоляции для машин класса II. Эта изоляция должна включать в себя:

- изоляционные прокладки, установленные на креплении шнура;

- втулку или уплотнительное кольцо, установленное на шнуре;

- для машин класса I - оболочки на опрессованном шнуре.

Соответствие требованию проверяют осмотром.

24.20 Пространство для подсоединения гибкого кабеля или шнура питания, прикрепляемого внутри машины креплением типа X, должно быть таким, чтобы:

- до установки крышки была обеспечена проверка правильности соединения и расположения проводников;

- любые крышки можно было установить без риска повреждений проводников или их изоляции;

- неизолированный конец провода в случае выпадения из зажима не мог касаться доступных металлических частей, если только шнур не снабжен окончаниями, исключающими выскальзывание провода.

Соответствие требованию проверяют осмотром и, для крепления типа X, испытанием путем установки гибкого кабеля или шнура наибольшего сечения, указанного в 25.2, и следующими дополнительными испытаниями.

Для колонковых зажимов в случае, когда проводники не закреплены отдельно на расстоянии от зажима, не превышающем 30 мм, а также других винтовых зажимов; при этом зажимные винты или гайки ослабляют. Не вынимая проводник из отведенного ему пространства, к проводнику прилагают силу 2Нв любом направлении вблизи зажима, винта или шпильки. После этого неизолированный конец проводника не должен касаться доступных металлических деталей или любой соединенной с ним металлической детали.

Для колонковых зажимов в случае, когда проводники закреплены отдельно на расстоянии от зажима, не превышающем 30 мм, считают, что машина удовлетворяет требованию к тому, что неизолированный конец проводника не должен касаться доступных металлических деталей.

24.21 Штепсельный разъем должен быть:

- расположен и защищен так, чтобы токоведущие части не были доступными при сочленении или расчленении штепсельного разъема;

- таким, чтобы присоединение не было затруднено;

- расположен так, чтобы после введения штепсельного разъема машина на него не опиралась в любом положении на плоской поверхности, возможном при нормальной эксплуатации.

Соответствие требованиям проверяют осмотром и, относительно первого требования настоящего пункта, испытанием с помощью стандартного испытательного пальца, показанного на рисунке 1, для других штепсельных разъемов - по IEC 60320.

Машины, снабженные штепсельными разъемами, соответствующими требованиям IEC 60320, считают удовлетворяющими первому требованию настоящего пункта.

25 Зажимы для внешних проводов

25.1 Машины скреплением кабеля или шнура типа X, кроме снабженных специально подготовленным шнуром, должны иметь зажимы, в которых соединение осуществляется с помощью винтов, гаек или других в равной мере эффективных устройств. Винтовые зажимные устройства согласно IEC 60998-2-1 и безвинтовые зажимные устройства согласно IEC 60998-2-2, как и зажимные устройства согласно IEC 60999-1, считают полностью надежными устройствами.

Винты и гайки не должны служить для крепления других элементов, за исключением тех, которые могут быть использованы для зажима внутренних проводов, если они расположены так, что их смещение при подсоединении проводов питания маловероятно.

Соответствие требованию проверяют осмотром.

Для машин с креплением кабеля или шнура типа X допускается применять для соединения внешних проводов паяные соединения при условии, что проводник расположен или закреплен таким образом, что удерживание проводника на месте обеспечивается не только одной пайкой, а также когда предусмотрены барьеры, благодаря которым при обрыве или отрыве постоянного соединения значения путей утечки и воздушных зазоров между токоведущими частями и другими металлическими деталями не могут стать менее 50 % значений, указанных в 28.1.

В креплениях типов Y и Z для присоединения внешних проводов могут быть использованы соединения пайкой, сваркой, обжимные и т. п. Кроме того, для машин класса II провод должен быть расположен или закреплен так, чтобы фиксация его в определенном положении зависела не только от пайки, сварки или обжима. Однако если перегородки выполнены так, что при отсоединении провода в месте пайки или сварки или выскальзывании его из обжимного соединения значения путей утечки и воздушных зазоров между токоведущими частями и другими металлическими частями не могут стать менее 50 % значений, указанных в 28.1, допускается использовать только пайку, сварку или обжим.

Не предполагается одновременное ослабление двух независимых креплений.

Провода, присоединенные только пайкой, не считают достаточно закрепленными, если их не зафиксировали вблизи зажима средством, независимым от пайки. Однако закрепление перед местом пайки рассматривают как подходящий способ поддерживания проводов (кроме многожильного шнура) в необходимом положении при условии, что отверстие, через которое проходит провод, не является чрезмерно большим.

Зажимы комплектующего изделия (например, выключателя), встроенного в машину, могут быть использованы как зажимы для внешних проводов при условии, что они удовлетворяют требованиям настоящего пункта.

Провода, присоединенные к зажиму другими средствами, не считают достаточно закрепленными, если рядом с зажимом нет дополнительного крепления. В случае многожильных проводников это дополнительное крепление должно прижимать как изоляцию провода, так и сам провод.

Соответствие этому требованию проверяют осмотром и измерением.

25.2 Зажимы для крепления типа X, кроме тех, которые оборудованы специально подготовленным шнуром, должны допускать присоединение проводов с номинальным поперечным сечением в соответствии с таблицей 8. Однако если машина предназначена для крепления шнура только одного типа, то в этом случае зажимы должны быть пригодны для подсоединения этого шнура.

Таблица 8 - Номинальное поперечное сечение проводов

Номинальный ток машины, А

Номинальная площадь поперечного сечения гибких кабелей и шнуров, мм2

До 6 включ.

0,75 - 1

Св. 6 до 10 включ.

1 - 1,5

Св. 10 до 16 включ.

1,5 - 2,5

Св. 16 до 25 включ.

2,5 - 4

Св. 25 до 32 включ.

4 - 6

Св. 32 до 40 включ.

6 - 10

Св. 40 до 63 включ.

10 - 16

Соответствие требованию проверяют осмотром, измерением и установкой кабелей или шнуров с наименьшим и наибольшим из указанных сечением.

Зажимы для шнура питания должны соответствовать своему назначению.

Соответствие требованию проверяют осмотром и натяжением соединения с силой 5 Н.

После испытания соединения не должны иметь повреждений, нарушающих соответствие требованиям настоящего стандарта.

25.3 Для машин с креплением шнура типа X зажимы должны быть закреплены так, чтобы во время затягивания или ослабления зажимного устройства зажим не ослабевал, внутренняя проводка не подвергалась механическим напряжением (например, натяжению), а значения путей утечки и воздушных зазоров не становились меньше значений, указанных в 28.1.

Соответствие требованию проверяют осмотром и испытанием по 8.6 IEC 60999-1 путем приложения крутящего момента, равного 2/3 установленного момента по указанному стандарту.

Предотвратить зажимы от ослабления можно, закрепив их двумя винтами, в том числе одним винтом в углублении так, чтобы не было заметного смещения, или другими подходящими способами.

Требование фиксации зажимов не исключает установки зажимов питания на выключателях или подобных устройствах в гнезде, если после подсоединения питающего кабеля и после обратной установки выключателя или подобного устройства в гнездо осмотр может подтвердить, что эти комплектующие изделия и питающий кабель после повторной сборки машины занимают правильное положение.

Покрытие зажима заливочной массой без других фиксирующих средств считают недостаточной защитой от ослабления крепления. Допускается использование самотвердеющей смолы для фиксации зажимов, которые при нормальной эксплуатации не подвергают кручению.

25.4 Для машин с присоединением шнура крепления типа X зажимы должны быть сконструированы таким образом, чтобы они зажимали провод между металлическими поверхностями с достаточным контактным давлением, но без повреждения провода.

Соответствие требованию проверяют осмотром зажимов и проводов после испытаний по 25.3.

25.5 Для машин с присоединением шнура крепления типа X, кроме использующих специально подготовленный шнур, зажимы не должны требовать специальной подготовки провода для надежного соединения и должны быть сконструированы и расположены так, чтобы провод не мог выскользнуть при затягивании зажимных винтов и гаек.

Соответствие требованию проверяют осмотром зажимов и проводов после испытания по 25.3.

Специальная подготовка провода - это пайка жил, применение кабельных наконечников, образование петель и т. п. Допускаются придание формы проводу перед его введением в зажим и закручивание многожильного провода для упрочнения его конца.

Провода считают поврежденными, если на них обнаружены глубокие или острые вмятины.

25.6 Зажимы колонкового типа должны быть расположены так, чтобы конец провода, введенного в отверстие, был виден или мог проходить за пределы отверстия с резьбой на расстояние, равное по крайней мере половине номинального диаметра винта, или на расстояние 2,5 мм в зависимости от того, что больше.

Соответствие требованию проверяют осмотром и измерением.

25.7 Для креплений типа X контактные зажимы должны быть ясно видимыми и доступными после разборки машины. Все зажимы должны быть расположены или за крышкой, или за кожухом.

Соответствие требованию проверяют осмотром.

25.8 Контактные зажимы не должны быть доступными без помощи инструмента, даже если их токоведущие части недоступны.

Соответствие требованию проверяют осмотром и испытанием вручную.

25.9 Контактные зажимы крепления типа X должны быть расположены или защищены так, чтобы если при присоединении к зажиму многожильного провода одна из его проволок осталась свободной, не возникла опасность случайного контакта между токоведущими частями и доступными металлическими частями, а для машин класса II - между токоведущими частями и металлическими частями, отделенными от доступных металлических частей только дополнительной изоляцией.

Соответствие требованию проверяют следующим испытанием.

С конца гибкого провода, имеющего номинальное поперечное сечение, указанное в 24.5, удаляют изоляцию на длине 8 мм.

Одну проволоку многожильного провода оставляют свободной, а остальные проволоки вводят в зажим и зажимают в нем.

Свободную проволоку отгибают назад без разрыва изоляции в любом возможном направлении, но без резких изгибов вокруг барьеров.

Свободная проволока проводника, соединенного с находящимся под напряжением зажимом, не должна касаться ни одной металлической детали, которая доступна или соединена с доступной металлической деталью, или для машин класса II- с любой металлической деталью, отделенной от доступных металлических деталей только дополнительной изоляцией. Свободная проволока проводника, соединенного с заземляющим зажимом, не должна касаться ни одной токоведущей детали.

26 Заземление

26.1 Доступные металлические детали машин класса I, которые могут оказаться под напряжением в случае нарушения изоляции, должны быть постоянно и надежно соединены с заземляющим зажимом в машине или с заземляющим контактом штепсельного разъема.

Нечетные проводники от экранирующих поверхностей печатных схем не должны быть использованы в качестве полной защиты при заземлении цепей.

Зажимы заземления и контакты заземления не должны быть соединены с зажимом для нейтрального провода.

Машины класса II и машины класса III не должны иметь устройств для защитного заземления.

Если доступные металлические части отделены от частей, находящихся под напряжением, металлическими частями, соединенными с защитным зажимом или с контактом заземления, то в соответствии с требованиями настоящего пункта их не считают частями, которые могут попасть под напряжение при повреждении изоляции.

Доступные металлические части, отделенные от частей, находящихся под напряжением, двойной или усиленной изоляцией, не считают частями, которые могут попасть под напряжение при повреждении изоляции.

Металлические части под декоративным кожухом, не выдерживающие испытание по разделу 20, считают доступными металлическими частями.

Соответствие требованию проверяют осмотром.

26.2 Зажимные устройства зажимов заземления должны быть в достаточной степени зафиксированы от случайного ослабления, и ослабление этих устройств не должно быть возможным без помощи инструмента. Винтовые зажимы, соответствующие разделу 25, или безвинтовые зажимы согласно IEC 60998-2-2 считают удовлетворяющими требованиям настоящего пункта.

Для специально подготовленного шнура зажимы, соответствующие IEC 60760, считают удовлетворяющими требованиям настоящего пункта.

Соответствие требованию проверяют осмотром, ручным испытанием и для безвинтовых зажимов испытаниями, указанными в IEC 60998-2-2.

26.3 Если съемные части имеют заземление, то заземление должно предшествовать соединению с токоведущими частями при установке съемной части на место и, напротив, при снятии ее рассоединение токоведущих частей должно предшествовать разрыву цепи заземления.

Для машин с сетевыми шнурами питания расположение зажимов или длина проводов между креплением шнура и зажимами должно (должна) быть таким (такой), чтобы токоведущие провода натянулись раньше, чем заземляющий провод, если шнур выскользнет из своего крепления.

Соответствие требованию проверяют осмотром и ручным испытанием.

26.4 Все части зажима заземления, предназначенные для подсоединения внешних проводов, должны быть такими, чтобы не возникала опасность коррозии из-за контакта между этими частями и медью провода заземления или другим металлом, находящимся в контакте с этими частями.

Части, которые могут проводить ток при повреждении изоляции, за исключением части металлической рамы или кожуха, должны быть с металлическим покрытием или без него и иметь достаточную стойкость к коррозии. Если такие части изготовлены из стали, то эти части должны иметь существенную площадь с гальваническим покрытием толщиной не менее 5 мкм.

Части из металла с покрытием и без покрытия, которые предназначены только для обеспечения или передачи контактного давления, должны иметь достаточную защиту от коррозии.

Примеры частей, которые могут проводить ток в случае повреждения изоляции, и частей, которые предназначены только для обеспечения или передачи контактного давления, приведены на рисунке 8.

Если корпус зажима заземления является частью рамы или кожуха, выполненных из алюминия или алюминиевых сплавов, то должны быть приняты меры во избежание коррозии в результате контакта между медью и алюминием или его сплавами.

Части из медных сплавов, содержащих не менее 58 % меди, предназначенные для работы в холодных условиях, и не менее 50 %, если предназначены для работы в других условиях, и части из нержавеющей стали, содержащей не менее 13 % хрома, считают достаточно стойкими к коррозии. Части, подвергнутые обработке, такой как хромирование, обычно не считают достаточно защищенными от коррозии, но они могут быть использованы для обеспечения и передачи контактного давления.

Соответствующая поверхность стальных частей, в частности, определяется прохождением через них тока. При определении таких поверхностей следует принимать во внимание отношение толщины покрытия к форме такой части. В случае сомнений толщину покрытия измеряют, как указано в ИСО 2178 или ИС01463.

Соответствие требованию проверяют осмотром, измерением, ручным испытанием и испытанием по 30.1.

26.5 Соединения между зажимом заземления и контактом заземления и частями, которые должны быть присоединены к ним, должны иметь малое сопротивление.

Соответствие требованию проверяют следующим испытанием.

Ток, равный 1,5 номинального тока машины или 25 А в зависимости от того, что больше, получаемый от источника постоянного или переменного тока, напряжение холостого хода которого не превышает 12 В, пропускают поочередно между зажимом заземления или контактом заземления и каждой из доступных металлических частей.

Измеряют падение напряжения между заземляющим зажимом или контактом заземления и доступной металлической деталью и по этому падению напряжения и току рассчитывают сопротивление.

Сопротивление в любом случае не должно превышать 0,1 Ом.

В случае сомнения испытание проводят до достижения установившегося состояния.

В измеренном сопротивлении сопротивление гибкого шнура не учитывают.

Обращают внимание на то, чтобы переходное сопротивление между наконечником измерительного щупа и испытуемой металлической частью не оказывало влияния на результаты испытания.

27 Винты и соединения

27.1 Крепежные и электрические соединения, повреждение которых может привести к нарушению соответствия требованиям настоящего стандарта, должны выдерживать механические нагрузки, возникающие при нормальной эксплуатации.

Винты, используемые для этой цели, не должны быть изготовлены из мягкого металла или металла, склонного к текучести, такого как алюминий или цинк.

Если такие винты изготовлены из изоляционного материала, то они должны иметь номинальный диаметр не менее 3 мм и не должны быть использованы для электрических соединений.

Винты, передающие электрическое контактное давление, должны ввинчиваться в металл.

Винты не должны быть изготовлены из изоляционного материала, если их замена металлическими винтами может повредить дополнительную или усиленную изоляцию.

Винты, которые могут быть удалены при замене питающего шнура, соединенного креплением типа X, или при проведении текущего ремонта потребителем, не должны быть изготовлены из изоляционного материала, если их замена металлическими винтами может повредить основную изоляцию.

Примечание - Соединения заземляющих проводов считают электрическими соединениями.

Соответствие требованию проверяют осмотром и следующим испытанием.

Винты или гайки затягивают и ослабляют:

- 10 раз - для винтов, завинчиваемых в резьбу из изоляционного материала;

- 5 раз - для гаек и других винтов.

Винты, завинчиваемые в резьбу из изоляционного материала, каждый раз полностью вывинчивают и завинчивают вновь.

При испытании винтов и гаек зажимов в зажим вводят гибкий проводник с наибольшей площадью поперечного сечения, указанной в 25.2.

Испытание проводят с помощью соответствующей испытательной отвертки, гаечного ключа или ключа с приложением крутящего момента, указанного в таблице 9, при этом для разных винтов выбирают следующие колонки таблицы:

- для металлических винтов без головок, если винты после

 затяжки не выступают из отверстия - I;

- для прочих металлических винтов и для гаек - II;

- для винтов из изоляционного материала:

с шестигранной головкой, расстояние между противоположными гранями которой превышает наружный диаметр резьбы, или

с цилиндрической головкой и с гнездом под ключ, расстояние между противоположными вершинами которого превышает наружный диаметр резьбы, или

с головкой, имеющей прямой или крестообразный шлиц, длина которого в 1,5 раза превышает наружный диаметр резьбы, - II;

- для других винтов из изоляционных материалов - III.

Таблица 9 - Крутящий момент для испытания винтов и гаек

Номинальный диаметр винта, мм

Крутящий момент, Нм

I

II

III

До 2,8 включ.

0,2

0,4

0,4

Св. 2,8 до 3,0 включ.

0,25

0,5

0,5

Св. 3,0 до 3,2 включ.

0,3

0,6

0,5

Св. 3,2 до 3,6 включ.

0,4

0,8

0,6

Св. 3,6 до 4,1 включ.

0,7

1,2

0,6

Св. 4,1 до 4,7 включ.

0,8

1,8

0,9

Св. 4,7 до 5,3 включ.

0,8

2,0

1,0

Св. 5,3 до 6,0 включ.

-

2,5

1,25

При каждом ослаблении винта или гайки проводник перемещается.

Во время испытаний не должно быть повреждений, ухудшающих дальнейшее использование крепежных (винтовых) или электрических соединений.

Форма лезвия испытательной отвертки должна соответствовать шлицу испытуемого винта. Винты и гайки не следует затягивать рывками.

27.2 Электрические соединения должны быть сконструированы так, чтобы контактное давление не передавалось через изоляционный материал, склонный к усадке или деформации, если металлические детали не обладают достаточной упругостью для компенсации любой возможной усадочной деформации изоляционного материала. Материалы из керамики не считают склонными к усадке и деформации.

Соответствие требованию проверяют осмотром.

27.3 Винты с крупной резьбой (для листового металла) не должны быть использованы для соединения токоведущих частей, если они не прижимают эти части плотно друг к другу и не снабжены необходимыми стопорными устройствами.

Самонарезающие винты не должны быть использованы для создания электрического соединения между токоведущими частями, если они не образуют полную резьбу стандартного крепежного винта. Такие винты нельзя применять также, если они будут завинчиваться или отвинчиваться потребителем, кроме случая, когда их резьба выполнена высадкой в штампе.

Самонарезающие винты и винты с крупной резьбой могут быть использованы для обеспечения непрерывности заземления при условии, что нет необходимости нарушать данное соединение (заземление) при нормальной эксплуатации и для каждого такого защитного соединения использованы не менее двух винтов.

Соответствие требованию проверяют осмотром.

27.4 Винты для механических соединений между различными частями машины не должны допускать ослабления соединения, если соединение является токопроводящим.

Это требование не относится к винтам в цепи заземления, если для соединения использованы не менее двух винтов и если имеется дополнительная цепь заземления.

Пружинные и им подобные шайбы могут обеспечить достаточную гарантию. Заливочные массы, размягчающиеся при нагревании, обеспечивают удовлетворительную фиксацию только для тех винтовых соединений, которые не подвергаются кручению при нормальной эксплуатации.

Заклепки, используемые для токопроводящих соединений, следует предохранять от ослабления, если эти соединения подвергают кручению при нормальной эксплуатации. Некруглую форму стержня заклепок или соответствующий паз считают достаточной защитой от ослабления.

Это предписание не означает, что требуется более одной заклепки для обеспечения непрерывности заземления.

Соответствие требованию проверяют осмотром и ручным испытанием.

28 Пути утечки тока, воздушные зазоры и расстояния по изоляции

28.1 Пути утечки тока и воздушные зазоры не должны быть менее указанных в таблице 10.

Таблица 10 - Минимальные пути утечки тока (П) и воздушные зазоры (В) (в миллиметрах)

Расстояние

Машины класса III

Машины других классов

Рабочее напряжение, В

£ 130

≥ 130 и £ 250

≥ 250 и £ 440

П

В

П

В

П

В

П

В

Между токоведущими частями различной полярности1):

 

 

 

 

 

 

 

 

- защищенными от скопления пыли2)

1,0

1,0

1,0

1,0

2,0

2,0

2,0

2,0

- не защищенными от скопления пыли

2,0

1,5

2,0

1,5

3,0

2,5

4,0

3,0

- если обмотки покрыты лаком или эмалью

1,0

1,0

1,5

1,5

2,0

2,0

3,0

3,0

- для резисторов с положительным температурным коэффициентом (ПТК), включая их соединительные провода, если они защищены от осаждения пыли2)

-

-

1,0

1,0

1,0

1,0

-

-

Между токоведущими и другими металлическими частями по основной изоляции:

 

 

- защищенной от скопления грязи (пыли)2):

 

 

 

 

 

 

 

 

из керамического материала, чистой слюды

 

 

 

 

 

 

 

 

и т. п.

1,0

1,0

1,0

1,0

2,53)

2,53)

-

-

из других материалов

1,5

1,0

1,5

1,0

3,0

2,53)

-

-

- не защищенной от скопления грязи (пыли)

2,0

1,5

2,0

1,5

4,0

3,0

-

-

- если токоведущими частями являются обмотки, покрытые лаком или эмалью

1,0

1,0

1,5

1,5

2,0

2,0

-

-

- на конце трубчатых нагревательных элементов с защитной оболочкой

-

-

1,0

1,0

1,04)

1,05)

 

 

Между токоведущими деталями (частями) и другими металлическими деталями через усиленную изоляцию:

-

-

6,0

6,0

6,0

6,0

-

-

- если токоведущими частями (деталями) являются обмотки, покрытые лаком и эмалью

- для других токоведущих деталей

8,0

8,0

8,0

8,0

Между металлическими деталями (частями), разделенными дополнительной изоляцией

-

-

4,0

4,0

4,0

4,0

-

-

1) Указанные значения не распространяются на воздушные зазоры между контактами терморегулирующих устройств, устройств защиты от перегрузки, микропереключателей и т. п. элементов или на воздушные зазоры между токоведущими элементами таких устройств, воздушные зазоры которых изменяются при перемещении контактов.

2) Обычно внутреннюю часть машины, имеющую пылезащитный кожух, считают защищенной от осаждения грязи (пыли) при условии, что при работе машины в ней самой не образуется пыль. В этом случае применение герметичного уплотнения не требуется.

3) Если части являются жесткими и зафиксированы заливкой или если конструкция исключает вероятность уменьшения расстояния из-за перекашивания или смещения частей (деталей), указанное значение может быть уменьшено до 2,0 мм.

4) Если защитная оболочка выполнена из керамики, чистой слюды и других подобных материалов, то их считают защищенными от осаждения пыли.

5)Если концы защищены от осаждения пыли.

Если между точкой, в которой соединены обмотка и конденсатор, и металлическими частями, отделенными от токоведущих частей только основной изоляцией, возникает резонансное напряжение, то значения путей утечки тока и воздушных зазоров должны быть не менее значений, соответствующих резонансному напряжению; в случае усиленной изоляции эти значения должны быть увеличены на 4 мм.

Соответствие требованию проверяют измерением.

Для машин, снабженных штепсельным разъемом, измерения проводят с соответствующим соединителем, вмонтированным в штепсельный разъем. Для машин с креплением шнура типа X измерения проводят с питающими проводами с наибольшей площадью поперечного сечения, указанной в 25.2, а также без проводов; для других машин измерения проводят на машинах в состоянии поставки.

Для машин, снабженных ремнями, измерения проводят при установленных на место ремнях, а устройствам, предназначенным для изменения натяжения ремня, придают наиболее неблагоприятное положение в пределах их диапазона регулирования, измерения проводят также при снятых ремнях.

Подвижные части устанавливают в наиболее неблагоприятное положение; гайки и винты с некруглой головкой затягивают так, чтобы они занимали наиболее неблагоприятное положение.

Воздушные зазоры между зажимами и доступными металлическими частями измеряют также при вывинченных, насколько возможно, винтах или гайках, значения воздушных зазоров должны быть при этом не менее 50 % значений, указанных в таблице 10.

Расстояние через щели или отверстия в наружных частях изоляционного материала измеряют до металлической фольги, соприкасающейся с доступной поверхностью. Фольгу вталкивают в углы и другие подобные места стандартным испытательным пальцем (рисунок 1), но не вдавливают в отверстия.

При необходимости во время измерения прилагают силу к любой точке оголенных проводов (кроме нагревательных элементов), к любой точке неизолированных металлических капиллярных трубок, терморегуляторов и аналогичных устройств и к наружной поверхности металлических кожухов, пытаясь уменьшить значения путей утечки и воздушных зазоров.

Силу прилагают с помощью стандартного испытательного пальца, показанного на рисунке 1; значение этой силы составляет:

2 Н - для оголенных проводов и неизолированных капиллярных трубок, терморегуляторов и аналогичных устройств;

30 Н- для кожухов.

Метод измерения путей утечки и воздушных зазоров приведен в приложении А.

При наличии промежуточной перегородки, которая состоит из двух частей, не склеенных между собой, путь утечки измеряют также через соединения этих частей.

При наличии промежуточной перегородки воздушный зазор измеряют через перегородку или, если перегородка состоит из двух частей с сопряженными поверхностями, не склеенными между собой, через соединения этих частей.

Для машин, имеющих части с двойной изоляцией в тех местах, где между основной и дополнительной изоляцией отсутствуют металлические части, измерение проводят так, как будто между основной и дополнительной изоляцией находится металлическая фольга.

При определении путей утечки тока и воздушных зазоров учитывают изолирующие покрытия металлических корпусов или крышек.

Средства, предназначенные для крепления машины к опоре, считают доступными.

Для проводящих схем (дорожек) на печатной плате, за исключением кромок, значения, указанные в таблице 10 между деталями различной полярности, могут быть уменьшены, если пиковое значение напряжения не превышает:

150 В - на 1 мм при минимальном расстоянии 0,2 мм, если имеется защита от осаждения пыли;

100 В - на 1 мм при минимальном расстоянии 0,5 мм, если нет защиты от осаждения пыли.

Если указанные пределы приближаются к более высоким значениям по сравнению с теми, что даны в таблице, то применяют табличные значения.

Для пиковых напряжений, превышающих 50 В, уменьшение путей утечки допускается только в том случае, если контрольный индекс трекингостойкости (КИТ) печатной платы, измеренный как указано в приложении G, более 175.

Эти расстояния могут быть еще уменьшены, если машина соответствует требованиям раздела 18 при поочередном закорачивании отдельных участков.

Пути утечки тока и воздушные зазоры внутри оптических соединений не измеряют в случае, если отдельные изоляции в достаточной степени герметизированы и если отсутствует воздух между отдельными слоями изоляционного материала.

Для токоведущих частей различной полярности, отделенных только основной изоляцией, допускаются меньшие значения путей утечки и воздушных зазоров, чем указанные в таблице 10, если выполняются требования раздела 18, при поочередном закорачивании этих путей утечки тока и воздушных зазоров.

28.2 Расстояние через изоляцию между металлическими частями при рабочих напряжениях до 250 В включительно не должно быть менее 1,0 мм, если эти части разделены дополнительной изоляцией, и не должно быть менее 2,0 мм, если эти части разделены усиленной изоляцией.

Это требование не распространяется на изоляцию, за исключением слюды и аналогичного пластинчатого материала, которая имеет форму тонкого листа и состоит:

- в случае дополнительной изоляции по крайней мере из двух слоев, когда каждый слой выдерживает испытание на электрическую прочность, установленную для дополнительной изоляции;

- в случае усиленной изоляции по крайней мере из трех слоев, когда любые два из них, приложенные друг к другу, выдерживают испытание на электрическую прочность, установленную для усиленной изоляции.

Испытательное напряжение прилагают между внешними поверхностями одного слоя или двух слоев в зависимости от конкретного случая.

Кроме того, это требование не распространяется на недоступную дополнительную и усиленную изоляцию, если выполняются следующие условия:

- максимальное превышение температуры, установленное при испытании по разделу 12, не более допустимого превышения, указанного в 12.5;

- изоляция после выдержки в течение 168 ч в печи при температуре на 50 °С более максимального превышения температуры, измеренного при испытании по разделу 12, выдерживает испытание на электрическую прочность изоляции по разделу 15 как при температуре, поддерживаемой в печи, так и при температуре, равной температуре в помещении.

Это требование не означает, что указанное расстояние через изоляцию должно быть образовано толщиной только твердого материала. Изоляция может состоять из твердого материала и одного или нескольких воздушных промежутков.

Соответствие требованию проверяют осмотром и измерением.

Для машин с двойной изоляцией в тех местах, где между основной и дополнительной изоляцией отсутствуют металлические части, измерения проводят так, как будто между основной и дополнительной изоляцией находится металлическая фольга.

Для оптических соединителей процедуру выдерживания проводят при температуре на 50 °С выше максимального превышения температуры, измеренного на оптическом соединителе при испытаниях по разделам 12 и 18, при работе оптических соединителей в наиболее неблагоприятных условиях, возникающих при этих испытаниях.

29 Теплостойкость, огнестойкость и стойкость к образованию токопроводящих мостиков (трекингостойкость)

Примечание - В приложении J указано, как выбирать и в какой последовательности проводить испытания по данному разделу.

29.1 Наружные части из неметаллических материалов, части из изоляционных материалов, удерживающие токоведущие части, включая соединения, и части из термопластичных материалов, используемых как дополнительная или усиленная изоляция, повреждение которых может привести к несоответствию машины требованиям настоящего стандарта, должны быть достаточно теплостойкими.

Соответствие требованию проверяют, подвергая соответствующие части воздействию давления шариком с помощью устройства, показанного на рисунке 5.

Перед началом испытаний образец (деталь или часть) выдерживают в течение 24 ч в атмосфере, имеющей температуру от 15°С до 35 °С и относительную влажность от 45 % до 75 %.

Деталь (или часть) устанавливают таким образом, чтобы ее верхняя поверхность была расположена горизонтально, и давят на эту поверхность с силой 20 Н сферической частью испытательного устройства. Деталь (или часть), подвергаемая испытанию, должна быть толщиной не менее 2,5 мм.

Требуемая толщина может быть получена использованием двух или нескольких секций испытуемой части.

Испытания проводят в термокамере при температуре (40 ± 2) °С плюс максимальное превышение температуры, достигнутое при испытании по разделу 12, но не менее:

- для наружных частей - (75 ± 2) °С;

- для частей, поддерживающих токоведущие части, - (125 ± 2) °С.

Перед началом испытания температуру испытательного устройства доводят до указанной выше температуры.

Через 1 ч испытательное устройство удаляют, а испытуемую часть охлаждают приблизительно до температуры помещения путем немедленного погружения ее на 10 с в холодную воду. Диаметр отпечатка не должен превышать 2 мм.

У сердечников обмоток испытанию подвергают только те части, которые служат подставкой или поддерживают в определенном положении зажимы.

При отсутствии других указаний части, работающие на безопасном сверхнизком напряжении, не превышающем 24 В, считают нетоковедущими частями.

Части из керамических материалов испытанию не подвергают.

29.2 Части из неметаллических материалов должны обладать достаточной сопротивляемостью к воспламенению и распространению огня.

Это требование не применяют к декоративным украшениям, кнопкам и другим частям, воспламенение которых маловероятно или по которым не может быть распространено пламя, возникшее внутри машины.

Соответствие проверяют следующим испытанием.

Отдельно отформованные образцы соответствующих частей подвергают испытанию горением согласно приложению D.

Однако вместо испытания горением проводят испытание раскаленной проволокой по приложению Е при температуре 550 °С на соответствующих частях машины, если:

- отсутствуют специально отформованные образцы;

- нет доказательств, что материал выдерживает испытание на горение;

- отдельно отформованные образцы не выдержали испытание горением.

29.3 Изоляционные материалы, через которые возможно образование токопроводящего мостика, должны быть трекингостойкими с учетом жесткости условий эксплуатации этих материалов. Токопроводящий мостик может образовываться:

- между токоведущими деталями различной полярности;

- между токоведущими и заземленными металлическими частями;

- через изоляционные материалы коллекторов и колпачки щеткодержателей.

Для частей из изоляционных материалов, работающих в жестких и сверхжестких условиях, соответствие требованию проверяют испытанием на образование токопроводящих мостиков согласно приложению G.

Части из изоляционных материалов, работающие в нормальных условиях, и части из керамических материалов испытанию не подвергают.

Части из изоляционных материалов, работающие в жестких условиях, испытывают при напряжении 175 В. Если материал не выдерживает это испытание, но нет другой опасности, кроме опасности возгорания, близлежащие части подвергают испытанию игольчатым пламенем согласно приложению F.

Части из изоляционных материалов, работающие в сверхжестких условиях, испытывают при напряжении 250 В. Если материал не выдержит это испытание, но выдержит при напряжении 175 В и не возникает никакой другой опасности, кроме опасности возгорания, окружающие части подвергают испытанию игольчатым пламенем по приложению F.

Испытанию игольчатым пламенем подвергают все части из неметаллических материалов, расположенные на расстоянии не более 50 мм от мест, где возможно образование токопроводящих мостиков.

Если же эти части защищены от токопроводящих мостиков отдельной перегородкой (барьером) или ограждением, то перегородку или ограждение также подвергают испытанию игольчатым пламенем.

30 Коррозионная стойкость

30.1 Части из черных металлов, коррозия которых может привести к нарушению безопасности машины, должны быть надлежащим образом защищены от коррозии.

Соответствие требованию проверяют следующим испытанием.

С испытуемых частей удаляют всю смазку погружением их в соответствующее обезжиривающее средство на 10 мин.

Затем части погружают на 10 мин в 10 %-й водный раствор хлористого аммония при температуре (20 ± 5) °С.

Без сушки, но после стряхивания капель части помещают на 10 мин в камеру влажности при температуре (20 ± 5) °С.

После того как части просушат в течение 10 мин в сушильном шкафу при температуре (100 ± 5) °С, на их поверхности не должно быть следов коррозии.

При использовании жидкостей, предусмотренных для проведения испытания, необходимо принять соответствующие меры предосторожности, предотвращающие вдыхание их паров.

Следы ржавчины на острых краях и желтоватую пленку, которую можно удалить протиркой, не принимают во внимание.

Для небольших спиральных пружин и для частей, подвергаемых истиранию, слой смазки может обеспечить достаточную защиту от коррозии. Такие части подвергают испытанию, только если есть сомнение относительно эффективности смазки. Испытание в этом случае проводят без предварительного удаления смазки.

31 Радиация, токсичность и подобные опасности

31.1 Машины не должны испускать вредные излучения или быть источником токсичности, а также подобных видов опасности.

Соответствие требованию проверяют испытанием.

Примечание - Методы испытаний, при необходимости, приводят в стандартах, устанавливающих дополнительные (частные) требования к машинам конкретных видов.

А - ручка; В - ограждение; С - изоляционный материал; D - соединения (шарниры); Е - упорная
поверхность;
F - фаски (на всех углах); G - сферическая часть; Н - цилиндрическая часть

Материал: металл, если не указано другое. Неуказанные допустимые отклонения:

- на угловые размеры: - 10°;

- на линейные размеры: до 25 мм включ.: -0,05 мм; св. 25 мм: ± 0,2 мм.

Оба соединения (D) должны допускать перемещение в одной плоскости и в одном направлении на 90° с допуском от 0° до + 10°.

Рисунок 1 - Стандартный испытательный палец

Рисунок 2 - Испытательный щуп

1 - доступная часть; 2 - недоступная металлическая часть; 3 - основная изоляция; 4 - дополнительная изоляция; 5 - усиленная изоляция; 6 - двойная изоляция;

1 - доступная часть; 2 - недоступная металлическая часть; 3 - основная изоляция; 4 - дополнительная изоляция; 5 - трехфазное питание; 6 - двойная изоляция;

Рисунок 3 - Схема измерения тока утечки при рабочей температуре для однофазных и трехфазных машин, пригодных для однофазного подключения

Рисунок 4 - Схема измерения тока утечки при рабочей температуре для трехфазного подключения

А - сферическая часть; В - испытуемый образец

Рисунок 5 - Испытательное устройство для вдавливания шарика

Допустимые конструкции

Часть машины выполнена из изоляционного материала и имеет
форму, являющуюся частью зажимного устройства шнура.
Один из крепежных элементов закреплен на машине

Недопустимые конструкции

Винты, проходящие через резьбовые отверстия в машине (винты, проходящие через
отверстия без резьбы в машине и закрепленные гайками), в одинаковой степени
неприемлемы

Рисунок 6 - Примеры конструктивных исполнений крепления шнура


A - изоляционный материал; В - диаметр пружины; С - петля

Рисунок 7 - Испытательный подпружиненный палец


А - токопроводящая часть, обеспечивающая непрерывность заземления;
В - часть, обеспечивающая или передающая контактное давление

Рисунок 8 - Примеры частей заземляющих зажимов

А - ось качания; В - качающая рама; С - противовес; D - образец;
Е - регулируемая несущая плита;
F - регулируемый кронштейн; G - груз

Рисунок 9 - Устройство для испытания на изгиб

Приложение А
(обязательное)

Измерение путей утечки тока и воздушных зазоров

А.1 Измерение путей утечки тока и воздушных зазоров

Способы измерений путей утечки и воздушных зазоров, которыми следует руководствоваться при испытании по 28.1, показаны на примерах 1 - 10 (см. рисунки А.1а - А.1d).

Эти примеры не учитывают различие между зазорами и пазами или между видами изоляции. Предложены следующие допущения:

- паз может иметь параллельные, сходящиеся и расходящиеся стенки;

-любой паз с расходящимися стенками, имеющий минимальную ширину более 0,25 мм, глубину более 1,5 мм и ширину по дну 1 мм или более, считают воздушным зазором, вдоль которого нет пути утечки (см. пример 8);

- любой внутренний угол менее 80° считают шунтированным (перекрытым) участком изоляционного материала шириной 1 мм (0,25 мм в местах, защищенных от осаждения грязи), помещенным в наиболее неблагоприятное положение (см. пример 3);

- если расстояние между верхними кромками паза равно 1 мм (в местах, защищенных от осаждения грязи - 0,25 мм) или более, то расстояние по воздуху между этими кромками не считают путем утечки (см. пример 2);

- пути утечки и воздушные зазоры, подлежащие измерению между частями, перемещающимися друг относительно друга, измеряют тогда, когда эти части находятся в самом неблагоприятном неподвижном положении;

- при расчете суммарного воздушного зазора любой воздушный зазор шириной менее 1 мм (0,25 мм для мест, защищенных от осаждения грязи) не учитывают.

Условие - Рассматриваемый путь включает в себя паз шириной 1 мм с параллельными или сходящимися стенками любой глубины.

Правило - Путь утечки и воздушный зазор измеряют поперек паза, как показано на рисунке.

Пример 1

Условие - Рассматриваемый путь включает в себя паз шириной 1 мм или более с параллельными стенками любой глубины.

Правило - Воздушным зазором считают расстояние по «визирной линии» (т. е. прямой). Путь утечки совпадает с контуром паза.

Пример 2

Условие - Рассматриваемый путь включает в себя V-образный паз шириной более 1 мм с внутренним углом менее 80°.

Правило - Воздушным зазором считают расстояние по «визирной линии» (т.е. прямой). Пути утечки совпадают с контуром паза, однако шунтируют дно паза отрезком длиной 1 мм (0,25 мм - в местах, защищенных от загрязнения).

Пример 3

Рисунок А.1а - Путь утечки и воздушный зазор для пазов с параллельными стенками и V-образной формы

Условие - Рассматриваемый путь включает в себя ребро.

Правило - Воздушным зазором считают наикратчайшее расстояние по воздуху через ребро. Путь утечки проходит по контуру ребра.

Пример 4

Условие - Рассматриваемый путь включает в себя несклеенное соединение с пазами шириной менее 1 мм (0,25 мм в местах, защищенных от оседания грязи) с каждой стороны.

Правило - Путь утечки и воздушный зазор равны расстоянию по «прицельной прямой», как показано на рисунке.

Пример 5

Условие - Рассматриваемый путь включает несклеенное соединение с пазами шириной 1 мм и более с каждой стороны.

Правило - Воздушным зазором считают длину «прицельной прямой». Путь утечки проходит по контурам пазов.

Пример 6

Рисунок А.1b - Путь утечки и воздушный зазор для ребра и несклеенного соединения с пазом

Условие - Рассматриваемый путь включает в себя несклеенное соединение, с одной стороны которого имеется паз шириной менее 1 мм, с другой - 1 мм и более.

Правило - Воздушный зазор и путь утечки измеряют как указано на рисунке.

Пример 7

Условие - Рассматриваемый путь включает в себя паз с расходящимися боковыми стенками глубиной 1,5 мм или более, шириной в самом узком месте более 0,25 мм и шириной у дна паза 1 мм и более.

Правило - Воздушным зазором считают длину «прицельной прямой». Путь утечки проходит по контуру паза. Для внутренних углов менее 80° применяют также пример 3.

Пример 8

Рисунок А.1с - Путь утечки и воздушный зазор для несклеенного соединения и паза
с расходящимися стенками

Зазор между головкой винта и стенкой впадины слишком мал, его не принимают во внимание.

Пример 9

Зазор между головкой винта и стенкой впадины достаточно велик, его принимают во внимание.

Пример 10

Рисунок A.1d - Путь утечки и воздушный зазор между стенкой и винтом

Приложение В
(обязательное)

Двигатели, не изолированные от сети питания и имеющие основную изоляцию,
не рассчитанную на номинальное напряжение машины

В.1 Область применения

В.1.1 Настоящее приложение распространяется на двигатели, рабочее напряжение которых не превышает 42 В и которые не изолированы от питающей сети и имеют основную изоляцию, не рассчитанную на номинальное напряжение машины.

При отсутствии каких-либо других указаний в настоящем приложении все разделы настоящего стандарта распространяются на эти двигатели.

В.9 Защита от контакта с токоведущими частями

В.9.1 Металлические части двигателя считают оголенными токоведущими частями.

В.12 Нагрев

Вместо превышения температуры обмоток определяют превышение температуры корпуса двигателя.

В.12.3 Превышение температуры корпуса двигателя в тех местах, где он контактирует с изоляционными материалами, не должно быть выше указанного в таблице 1 настоящего стандарта для соответствующего изоляционного материала.

В.15 Электрическая прочность

В.15.3 Изоляцию между токоведущими частями двигателя и другими его металлическими деталями (частями) этому испытанию не подвергают.

В.18 Ненормальная работа

В.18.1 Испытания по 18.4 не проводят.

Машины подвергают испытанию по 18.101.

В.18.101 Машина работает при номинальном напряжении и при имитации каждого из следующих дефектов:

- короткое замыкание зажимов двигателя, включая любой конденсатор, встроенный в цепь двигателя;

- размыкание цепи питания двигателя;

- размыкание цепи любого шунтирующего резистора во время работы двигателя.

За один раз воспроизводится только один дефект, а испытания проводят последовательно.

В.21 Конструкция

В.21.101 Для машин класса I с встроенным двигателем, питающимся от цепи выпрямителя, цепь постоянного тока должна быть изолирована от доступных частей машины двойной или усиленной изоляцией.

Соответствие требованию проверяют испытаниями, указанными для двойной и усиленной изоляции.

В.28 Пути утечки тока, воздушные зазоры и расстояние по изоляции

В.28.1 Значения, указанные в таблице 10, не распространяются на расстояния между токоведущими частями двигателя и другими металлическими частями.

А - короткое замыкание; В - размыкание цепи шунтирующего сопротивления;
С - размыкание цепи питания двигателя

Рисунок В.1 - Схема имитации неисправностей

Приложение С
(обязательное)

Электрическая схема для измерения токов утечки

Электрическая схема цепи (далее - цепь), применяемая для измерения токов утечки, приведена на рисунке С.1.

Цепь состоит из выпрямителя с германиевыми диодами D и измерителя М с подвижной катушкой, резисторов и конденсатора С для настройки параметров цепи, переключателя S с функцией «срабатывание до разрыва цепи» для выбора предела диапазона измерений прибора.

Германиевые диоды имеют более низкое падение напряжения по сравнению с диодами других типов, что позволяет получить более линейную шкалу; предпочтение при этом отдают диодам таких типов, в которых выводы кристаллов припаяны золотом. Номинальные данные диодов выбирают с учетом максимального диапазона измерительного прибора. Однако этот диапазон не должен превышать 25 мА, так как диоды, рассчитанные на больший ток, имеют более высокое падение напряжения.

Емкость может быть подобрана из конденсаторов со стандартными значениями емкостей, включаемых по последовательно-параллельной схеме.

Переключатель желательно установить так, чтобы он автоматически возвращался в положение, соответствующее максимальному диапазону измерений, для предотвращения неумышленного повреждения прибора.

Полное сопротивление измерительной цепи равно (1750 ± 250) Ом. Эта цепь должна быть шунтирована конденсатором таким образом, чтобы постоянная времени цепи составляла (225 ± 15) мкс. Цепь может иметь защиту от перегрузки по току, но этот способ защиты не должен оказывать отрицательного влияния на характеристики цепи.

Наиболее чувствительный диапазон измерительного прибора не должен превышать 1 мА; более высокие диапазоны получают путем шунтирования катушки измерителя М безындуктивными резисторами Rs и одновременной настройкой последовательно включенных резисторов Rv таким образом, чтобы полное сопротивление цепи R1 + Rv+ Rm было равно заданному. Сопротивление резистора Rm рассчитывают по падению напряжения на выпрямителе при токе 0,5 мА, а сопротивление резисторов Rv подбирают так, чтобы полное сопротивление цепи для каждого из диапазонов измерений было равно заданному.

Основными точками калибровки прибора при синусоидальном токе частотой 50 или 60 Гц являются: 0,25; 0,5; 0,75 мА.

Элементы: С - шунтирующий конденсатор; S - переключатель предела диапазона тока; D - цепь с германиевыми диодами; М - подвижная катушка измерителя; Rm - действующее значение сопротивления измерителя; Rv - последовательно включенный резистор; R1 - резистор постоянного сопротивления;
Rs - безындуктивный резистор

Рисунок С.1 - Электрическая схема измерения тока утечки

Приложение D
(обязательное)

Испытание горением

D.1 Испытание горением

Испытание горением проводят в соответствии с IEC 60707.

В настоящем стандарте использован метод воспламенения горизонтально расположенного материала - образца (метод FH по IEC 60707).

Для оценки результатов испытания материала используют категорию FH-3 IEC 60707, максимальная скорость распространения пламени составляет 40 мм/мин.

Если два и более образца не выдерживают испытание, материал бракуют.

Если только один образец не выдержал испытание, то испытывают новую партию из пяти образцов, все образцы которой должны выдержать испытание.

Приложение Е
(обязательное)

Испытание раскаленной проволокой

Испытание раскаленной проволокой проводят в соответствии с IEC 60695-2-10, IEC 60695-2-11, IEC 60695-2-12 и IEC 60695-2-13.

Согласно настоящему стандарту проводят следующее испытание.

5 Порядок проведения

Пункт 5.3 IEC 60695-2-10 заменить на следующий:

В тех случаях, когда горящие или раскаленные частицы, падающие с образца, могут попасть на наружную поверхность ниже машины, испытания проводят с использованием белой сосновой доски толщиной около 10 мм, покрытой одним слоем папиросной бумаги, которую располагают на расстоянии (200 ± 5) мм ниже места, где вершина (петли) раскаленной проволоки проникает в образец.

Если испытывают всю машину в сборе, то ее в нормальном эксплуатационном положении размещают над сосновой доской, покрытой одним слоем папиросной бумаги. Перед началом испытаний доску подвергают обработке, как указано в разделе 7 для испытуемого образца.

11 Наблюдения и измерения

Перечисление с) раздела 11 IEC 60695-2-11 не применяют.

Приложение F
(обязательное)

Испытание игольчатым пламенем

Испытание игольчатым пламенем проводят в соответствии с IEC 60695-2-2. Согласно настоящему стандарту, применяют следующие испытания.

4 Описание испытательного устройства

Шестой абзац 4.2 изложить в новой редакции:

В тех случаях, когда горящие или раскаленные частицы, падающие с образца, могут попасть на наружную поверхность ниже машины, испытание проводят с использованием белой сосновой доски толщиной около 10 мм, покрытой одним слоем папиросной бумаги, которую располагают на расстоянии (250 ± 5) мм ниже места, где испытательный нагревательный элемент проникает в образец. Если испытывают всю машину в сборе, то ее в нормальном эксплуатационном положении размещают над сосновой доской, покрытой одним слоем папиросной бумаги. Перед началом испытаний доску подвергают обработке так, как указано в разделе 6 для испытуемого образца.

5 Условия испытаний

Продолжительность воздействия пламенем при испытании составляет (30 ± 1) с.

8 Порядок проведения испытаний

8.4 В первом абзаце слова: «или от применения любого источника воспламенения» - не применять.

Заменить два последних абзаца на новые:

В начале испытания пламенем горелки воздействуют таким образом, чтобы с поверхностью образца контактировал самый кончик пламени.

В процессе воздействия пламени смещение горелки недопустимо. По истечении установленного времени пламя горелки сразу же отводят от образца. Примеры расположения горелки при испытании представлены на рисунке 1.

Заменить текст 8.5 на новый:

Испытание проводят на одном образце. Если образец не выдержит испытание, то испытание повторяют на двух новых образцах, которые должны выдержать испытание.

10 Оценка результатов испытаний

Дополнить абзацем:

Если при испытании используют слой папиросной бумаги, то не должно быть возгорания этой бумаги или прижигания сосновой доски. Незначительное изменение цвета белой сосновой доски во внимание не принимают.

Приложение G
(обязательное)

Испытание на образование токопроводящих мостиков

Испытание проводят согласно IEC 60112.

В соответствии с настоящим стандартом применяют следующие испытания.

3 Испытуемый образец

Последнее предложение первого абзаца не применяют.

5 Испытательная аппаратура

Примечание 4 к 5.3 не применяют, а испытание с использованием раствора А по 5.4 проводят.

8 Методика

Указанное в 6.1 напряжение приводят к 175 В или 250 В, как возможно.

Пункт 6.2 не применяют, а испытание на образование токопроводящих мостиков по 6.3 проводят пять раз.

Для последнего из упомянутых испытаний, примечания 2 и 3 также применяют.

Приложение Н
В стадии рассмотрения

Приложение I
(обязательное)

Выключатели

Выключатели, которые испытывают вместе с машиной, должны соответствовать требованиям настоящего стандарта, а также уточнениям, изложенным в соответствующих разделах IEC 61058-1, указанных ниже.

Испытания по IEC 61058-1 выполняют в условиях, возникающих в машине.

Если нет других указаний, испытания проводят на выключателе, встроенном в машину.

До начала испытаний проверяют работоспособность выключателей 20-кратным срабатыванием без нагрузки в машине.

8 Маркировка и документация

Выключатели, не требующие маркировки, кроме встроенных в машину, должны иметь обозначение наименования изготовителя или торговой марки, или типовых ссылок.

13 Механизм

Этот раздел без изменений.

Примечание - Испытания могут быть проведены на отдельном образце.

15 Электрическая прочность

Пункты 15.1 и 15.2 не применяют.

Пункт 15.3 применяют для полного и частичного отключений.

Данное испытание выполняют непосредственно после испытания на влагостойкость по 14.3 настоящего стандарта.

17 Надежность

Данный раздел без изменений.

20 Воздушные зазоры, пути утечки, сплошная изоляция и покрытие жестких сборок печатных плат

Данный раздел применяют для путей утечки и воздушных зазоров токоведущих частей только различной полярности, для изоляции, работающей в условиях эксплуатации, и для устройств с полным или частичным отключением.

Приложение J
(справочное)

Порядок проведения испытаний по разделу 29

Теплостойкость и огнестойкость

Трекингостойкость (стойкость к образованию токопроводяших мостиков)

Приложение К
(обязательное)

Батарейные машины и аккумуляторы

К.1 Область применения

Настоящее приложение относится к батарейным (аккумуляторным) машинам1) с электрическим или магнитным приводом и аккумуляторам к машинам подобного типа.

1) Применяемые термины «батарейные машины» и «аккумуляторные машины» равнозначны.

Настоящее приложение распространяется также на машины со встроенными, съемными и пристыкованными к ним аккумуляторами. Максимальное напряжение машин и аккумуляторов составляет 75 В постоянного тока.

Батарейные машины, охватываемые настоящим приложением, не относят к машинам класса I, класса II или класса III, и поэтому нет необходимости для них в применении основной, дополнительной или усиленной изоляции. Опасность поражения электрическим током возможна только между частями различной полярности.

Аккумуляторы для машин, на которые распространяется действие настоящего приложения и которые предназначены для зарядки от неизолированных зарядных устройств, следует оценивать в соответствии с настоящим приложением и настоящим стандартом. При оценке в части защиты от поражения электрическим током, а также путей утечки тока, воздушных зазоров и расстояний по изоляции аккумулятор следует рассматривать в комплекте с соответствующим зарядным устройством.

Если нет других указаний, все разделы настоящего стандарта относятся к настоящему приложению. Если какой-либо раздел должен быть сформулирован в настоящем приложении, то при замене в нем требований их излагают с учетом требований настоящего стандарта.

Для машин, соответствующих требованиям настоящего приложения, термин «сетевой выключатель», встречающийся в стандарте, следует понимать как основной выключатель батарейной машины.

Согласно настоящему приложению не допускается применять машины с использованием батарей обычного применения, устанавливаемых потребителем, как не отвечающие всем требованиям безопасности, которыми обладают изделия, именуемые аккумуляторами.

Это приложение не относится к зарядным устройствам, соответствующим IEC 60335-2-29.

К.2 Нормативные ссылки

Этот раздел применяют, за исключением: Дополнительная нормативная ссылка:

IEC 61558-2-6:1997 Трансформаторы силовые, блоки питания и аналогичная продукция. Безопасность. Часть 2-6. Частные требования к изолирующим трансформаторам общего назначения

К.3 Термины и определения

Согласно настоящему приложению применяют следующие термины с соответствующими определениями:

К.3.101 аккумулятор: Сборка, состоящая из одного или нескольких элементов, предназначенных для питания машины электрическим током.

К.3.101.1 съемный аккумулятор: Аккумулятор, заключенный в отдельный кожух от батарейного отсека машины и подлежащий удалению из машины для зарядки.

К.3.101.2 встроенный аккумулятор: Аккумулятор, размещаемый в батарейной машине и не удаляемый из нее при зарядке. Аккумулятор, который может быть удален из батарейной машины только для переработки или утилизации, считают встроенным аккумулятором.

К.3.101.3 отдельный аккумулятор: Аккумулятор, заключенный в отдельный кожух и с батарейной машиной соединяемый с помощью кабеля или шнура.

К.3.102 полностью заряженный аккумулятор: Аккумулятор, подвергнутый по крайней мере двум циклам разрядки-зарядки в интервале не менее 2 ч после каждого цикла в соответствии с инструкциями изготовителя.

К.3.103 неизолированный источник питания: Источник напряжения, в котором выходная обмотка не изолирована от сетевого напряжения посредством изолирующего трансформатора, как предписано IEC 61558-1 и IEC 61558-2-6.

К.3.104 опасное напряжение: Напряжение между частями, имеющее среднее значение, превышающее 60 В постоянного тока или 42,4 В пикового напряжения, когда пульсация пиковых импульсов превышает 10 % среднего значения напряжения.

К.3.105 сетевой выключатель: Выключатель, обеспечивающий основное подключение машины к сети.

К.5 Общие условия испытаний

К.5.7.1 Данный пункт не применяют.

К.5.7.2 Машины с несколькими номинальными напряжениями испытывают при наиболее неблагоприятном напряжении.

К.5.7.3 Данный пункт не применяют.

К.5.10 Данный пункт не применяют.

К.5.11 Данный пункт не применяют.

К.5.14 Данный пункт не применяют.

К.5.15 Данный пункт не применяют.

К.5.16 Данный пункт не применяют.

К.5.101 При отсутствии других указаний для каждого испытания следует использовать полностью заряженный аккумулятор.

К.5.102 При измерении напряжения любое наложение пульсации пикового значения, превышающее 10 % среднего значения, учитывают. Не учитывают переходные напряжения, такие как временное превышение номинального напряжения (например, сразу после отключения аккумулятора от зарядного устройства).

К.7 Классификация

Раздел не применяют.

К.8 Маркировка и инструкция

К.8.1 Аккумуляторные машины и съемные или отдельные аккумуляторы должны иметь маркировку, содержащую:

- номинальное(ые) напряжение(я) или диапазон(ны) номинального(ых) напряжения(й) в вольтах;

- знак рода тока;

- наименование или торговую марку, или обозначение марки производителя или ответственного продавца;

- указание модели или типа;

- адрес производителя или страны-изготовителя;

- любую мандатную (обязательную) марку, указывающую на соответствие законодательству в отношении настоящего стандарта.

Дополнительные маркировки не должны вызывать недоразумение. Соответствие требованию проверяют осмотром.

К.8.2 Пункт не применяют.

К.8.5 Пункт не применяют.

К.8.7 Пункт не применяют.

К.8.8 Пункт не применяют.

К.8.12 Данный пункт применяют, за исключением раздела 4 «Применение ручной машины и обращение с ней», который заменяют следующим:

4) Эксплуатация батарейной машины и обращение с ней:

a) До установки аккумулятора следует убедиться, что выключатель машины находится в положении «выключено».

Аккумулятор в машине должен быть установлен при исправном выключателе этой машины.

b) Зарядку аккумулятора выполняют только с зарядного устройства, указанного изготовителем. Зарядное устройство, предназначенное для аккумулятора конкретного типа, может быть пожароопасным

при использовании для аккумулятора другого типа.

c) Эксплуатация машин должна быть осуществлена только со специально предназначенными для них аккумуляторами.

Применение аккумуляторов других типов может быть причиной опасности травмирования и возгорания.

d) Неиспользуемый аккумулятор содержат вдали от металлических предметов, таких как ножницы для бумаги, монеты, ключи, гвозди, винты или другие мелкие металлические предметы, способные закоротить клеммы аккумулятора.

Одновременное закорачивание клемм аккумуляторной батареи может вызвать ожоги и возгорание.

e) При плохих условиях содержания жидкость может вытекать из аккумуляторной батареи, следует избегать контакта с ней. При случайном соприкосновении смыть струей воды. Если жидкость попала в глаза, необходимо воспользоваться медицинской помощью.

Жидкость, вытекшая из аккумулятора, может вызвать раздражение или ожоги.

5) Сервисное обслуживание:

а) Машину должен обслуживать квалифицированный персонал с использованием только идентичных заменяемых деталей.

Это является гарантией того, что безопасность при работе такой машины обеспечена.

К.9 Защита от поражения электрическим ударом

Примечание - Наименование этого раздела отлично от указанного в настоящем стандарте.

Батарейные машины и аккумуляторы должны быть сконструированы и защищены так, чтобы обеспечить надежную защиту от поражения электрическим ударом.

К.9.1 Этот пункт не применяют.

К.9.2 Не допускается иметь одновременно две доступные токопроводящие детали, напряжение между которыми представляет собой опасность, кроме случая, когда они оснащены защитным импедансом.

В случае применения защитного импеданса ток в короткозамкнутой цепи между этими деталями не должен превышать 2 мА постоянного тока или 0,7 мА пикового значения для переменного тока, а емкость непосредственно между этими деталями должна быть не более 0,1 мкФ.

Соответствие требованию проверяют приложением испытательного пальца (рисунок 1) к каждой из токопроводящих деталей.

Испытательный палец (рисунок 1) прикладывают без заметного усилия через отверстия на глубину, как только позволяют размеры, затем его вращают или размещают под углом после ввода в любое из возможных положений.

Если размеры отверстия не позволяют пройти испытательному пальцу, то к нему в прямом направлении прилагают усилие до 20 Н, и это испытание повторяют пальцем в изогнутом положении.

Наличие контакта с испытательным пальцем определяют со всеми съемными деталями, подлежащими удалению, и при любых возможных положениях, которые могут иметь место при работе машины в процессе нормальной эксплуатации.

Лампы, размещенные за съемной крышкой, не удаляют, используемая лампа может быть обесточена потребителем, аккумулятор отсоединяют или выключают.

К.9.3 Этот пункт не применяют.

К.9.4 Этот пункт не применяют.

К.10 Пуск

Этот раздел не применяют.

К.11 Потребляемая мощность и ток

Данный раздел не применяют.

К.12 Нагрев

К.12.1 Батарейные машины и аккумуляторы не должны быть нагреты до чрезмерно высоких температур.

Соответствие требованию проверяют определением превышения температуры различных частей при следующих условиях:

Машина работает на холостом ходу до достижения максимальной температуры или машина перестает работать из-за разрядки аккумулятора.

В процессе испытаний тепловые выключатели и реле перегрузки не должны срабатывать. Превышение температуры не должно быть более указанного в таблице К.1.

Таблица К.1 - Максимальное превышение температуры для батарейных машин

Части

Превышение температуры, °С

Внешний кожух, кроме рукояток, удерживаемых при нормальной эксплуатации

60

Ручки, кнопки, захваты и им подобные, которые при нормальной эксплуатации удерживают длительно:

- из металла

30

- из фарфора или стекловидных материалов

40

- из литьевых (формованных) материалов, резины или древесины

50

Ручки, кнопки, захваты и им подобные, которые при нормальной эксплуатации удерживают кратковременно (например, выключатели):

- из металла

35

- из фарфора или стекловидных материалов

45

- из литых материалов, резины или древесины

60

Части, в контакте с маслом, имеющим точку воспламенения t °С

t-50

К.12.2 - К.12.6 Данные пункты не применяют.

К.13 Ток утечки

Этот раздел не применяют.

К.14 Влагостойкость

Этот раздел не применяют.

К.15 Электрическая прочность

К.15.1 Материалы, обеспечивающие изоляцию от поражения электрическим током, должны быть достаточно прочными.

Соответствие требованию проверяют испытанием изоляционного материала в течение 1 мин напряжением 750 В практически синусоидальной формы частотой 50 или 60 Гц. При этом не исключают испытание материала, расположенного внутри машины, при условии гарантии того, что нерассматриваемые материалы не были подвергнуты испытанию напряжением.

Данное испытание применяют только к материалам, которые при наличии дефекта в изоляции могут подвергнуть потребителя риску поражения электрическим током от опасного напряжения. Это испытание не относится к материалам, которые предусмотрены только для физических барьеров, находящихся в контакте.

Так, например, если токоведущая деталь не изолирована, то расстояние в пределах 1 мм от поверхности материала, считают достаточным для выполнения этого требования.

К.15.2 Данный пункт не применяют.

К.16 Защита от перегрузки трансформаторов и соединенных с ними цепей

Данный раздел не применяют.

К.17 Надежность

Данный раздел не применяют.

К.18 Ненормальный режим работы

К.18.1 Все машины, работающие на аккумуляторах (т. е. с подзарядкой от сети), и сами аккумуляторы указанных машин должны быть сконструированы так, чтобы опасности воспламенения или поражения электрическим током в результате ненормальной работы машины можно было избежать, насколько это выполнимо.

Соответствие этому требованию проверяют следующими испытаниями.

Батарейную (аккумуляторную) машину и аккумулятор размещают на поверхности из древесины мягких пород, покрытой двумя слоями папиросной бумаги. Батарейную (аккумуляторную) машину и аккумулятор покрывают одним слоем непропитанной из 100 % хлопка медицинской марли. Испытание проводят до наступления отказа (выхода из строя) или до тех пор, пока температура испытуемого образца не достигнет комнатной температуры. Для каждого из перечисленных ниже повреждения может быть использован новый образец, при этом надежность защиты от поражения электрическим током (или электрическим ударом) определяют как в разделе К.9. Результатом испытаний батарейной машины и аккумулятора при любом из дефектных условий, приведенных ниже в перечислениях от а) до f), не должно быть обугливание или сгорание марли или папиросной бумаги.

Обугливание определяют как покрытие копотью марли (или почернение), вызванное воспламенением; обесцвечивание марли, вызванное дымом (горением), допускается.

Тепловые выключатели и тепловые перегрузочные устройства могут срабатывать в процессе вышеперечисленных испытаний. В этом случае то же самое испытание необходимо повторить более трех раз, используя три дополнительных образца. Сопротивление для условий, приведенных в перечислениях a), b), d), е) и f), не должно превышать 10 мОм.

a) Зажимы несъемного аккумулятора с обнаженными контактами закорачивают. Зажимы аккумулятора, которые могут быть в контакте с испытательным пальцем, показанным на рисунке 1, либо с испытательным щупом, показанным на рисунке 2, считают доступными (т.е. незащищенными). При замыкании накоротко зажимов аккумулятора средство замыкания не должно чрезмерно нагреваться, чтобы не вызвать обугливания или воспламенения папиросной бумаги или марли.

b) Зажимы двигателя закорачивают.

c) Ротор двигателя блокируют.

d) Шнур, предусмотренный между отдельно расположенными аккумулятором и батарейной машиной, должен быть закорочен в точке (месте), в которой возможно наибольшее неблагоприятное воздействие.

e) Шнур, предусмотренный между машиной и зарядным устройством, должен быть закорочен в точке (или месте), в которой возможно наибольшее неблагоприятное воздействие.

f) Для батарейных машин состояние короткого замыкания вводят между двумя любыми неизолированными частями различной полярности, с расстояниями (или промежутками), не соответствующими тем, что даны в разделе К.28.

К.18.2 - К.18.9 Эти пункты не применяют.

К.18.12 Данный пункт не применяют.

К.19 Механическая безопасность

К.19.101 Если машина маркирована направлением движения (вращения), то не должно быть возможным подсоединение к ней аккумулятора таким образом, чтобы это не соответствовало маркировке.

К.20 Механическая прочность

К.20.1 Батарейные машины и аккумуляторы должны обладать достаточной механической прочностью и должны быть сконструированы так, чтобы выдерживать небрежное обращение, возможное при нормальной эксплуатации.

Соответствие требованию проверяют испытаниями по 20.2 и 20.3.

В процессе испытаний батарейная машина и аккумулятор должны соответствовать требованиям разделов К.9, К.19 и либо К.18.1, перечисление f), либо К.28.1.

К.20.3 Батарейная машина с прикрепленным к ней аккумулятором должна выдержать трехкратное падение на бетонную поверхность с высоты 1 м. Этот образец машины должен быть размещен в различных положениях при падении для нанесения удара в разные точки.

Для батарейных машин с прикрепленными или отдельно устанавливаемыми аккумуляторами испытание повторяют более трех раз при неприкрепленном к машине аккумуляторе.

Дополнительно для закрепленных или для отдельно устанавливаемых аккумуляторов испытание повторяют более трех раз на отдельно устанавливаемом аккумуляторе.

Для каждой серии трехкратного падения могут быть использованы новые образцы.

К.20.4 Данный пункт не применяют.

К.21 Конструкция

К.21.5 Данный пункт не применяют.

К.21.6 Данный пункт не применяют.

К.21.8 - К.21.16 Эти пункты не применяют.

К.21.21 Этот пункт не применяют.

К.21.25 - К.21.34 Эти пункты не применяют.

К.21.101 Конструкция машины не должна допускать без затруднений использование аккумуляторов обычного применения (т. е. или первичных или перезаряжаемых).

Примечание - Примерами аккумуляторов обычного применения являются аккумуляторы серий АА, С, D и др.

К.22 Внутренняя проводка

К.22.3 Этот пункт применяют только для высоких напряжений.

К.22.4 Этот пункт не применяют.

К.23 Комплектующие изделия

К.23.1.10 Силовые выключатели должны обладать достаточной отключающей способностью.

Соответствие требованию проверяют испытанием выключателя - 50-разовым срабатыванием включения - отключения при застопоренном выходном механизме полностью заряженной батарейной машины.

Каждый период положения «включено» должен длиться не более 0,5 с, и каждый период положения «выключено» должен длиться не менее 10 с.

После этого испытания силовой выключатель не должен иметь электрических или механических повреждений.

Если в конце испытаний силовой выключатель правильно функционирует в положениях «включено» и «выключено», то считают, что он не имеет механических или электрических повреждений.

К.23.1.11 Силовые выключатели должны выдерживать без чрезмерного износа или другого вредного воздействия механические, электрические и тепловые нагрузки, возможные при нормальной эксплуатации.

Соответствие требованию проверяют испытанием выключателя без нагрузки на срабатывание 6000 циклов с включением и отключением тока полностью заряженной аккумуляторной машины. Выключатель должен работать при постоянной скорости 30 срабатываний в минуту. В течение испытаний выключатель должен исправно работать. После испытания не должно быть определяемых визуально следов чрезмерного износа, несоответствия между положением работающих элементов и движущихся контактов, ослабления электрических или механических соединений, просачивания компаунда.

К.23.5 Данный пункт не применяют.

К.24 Присоединение к источнику питания и внешние гибкие шнуры

Данный раздел не применяют, за исключением следующего:

К.24.101 Для батарейных машин с отдельным аккумулятором внешний гибкий кабель или шнур должен иметь такие крепления, чтобы проводники не испытывали напряжений (усилий), в том числе скручиваний, в местах подсоединения к машине и были защищены от истирания.

Соответствие требованию проверяют осмотром.

К.25 Зажимы для внешних проводов

Этот раздел не применяют.

К.26 Заземление

Этот раздел не применяют.

К.27 Винты и соединения

К.27.1 Этот пункт применяют, за исключением следующего:

Шестой абзац и примечание к нему со ссылкой к соединениям с землей не применяют.

К.28 Пути утечки тока, воздушные зазоры и расстояния по изоляции

К.28.1 Значения путей утечки и воздушных зазоров должны быть не менее значений в миллиметрах, указанных в таблице К.2.

Указанные воздушные зазоры не относятся к воздушным зазорам между контактами терморегулирующих устройств, устройств защиты от перегрузки, микропереключателей и т.п. или к воздушным зазорам между токоведущими элементами таких устройств, у которых воздушные зазоры изменяются при перемещении контактов. Пути утечки и воздушные зазоры также не относятся к конструкции элементов батареи или соединениям между элементами в аккумуляторе. Значения, указанные в таблице К.2, не распространяются на точки пересечения обмоток двигателя.

Для частей, между которыми имеется опасное напряжение, сумма полных расстояний, измеренных между каждой из таких частей и ближайшей к ним доступной поверхностью, должна быть не менее 1,5 мм относительно воздушного зазора и не менее 2 мм относительно путей утечки.

Примечание - Рисунок К.1 дает пояснение к методу измерения.

Соответствие требованию проверяют измерением.

Методы измерений путей утечки и воздушных зазоров приведены в приложении А.

Для частей различной полярности воздушный зазор и пути утечки, меньшие чем те, которые даны в таблице К.2, считают допустимыми, если замкнутые накоротко две части не являются результатом пуска машины.

Примечание - Опасность огня из-за расстояний ниже требуемых обусловлена предписаниями 18.1.

Таблица К.2 - Минимальные пути утечки и воздушные зазоры между деталями различной полярности

(в миллиметрах)

£ 15В

³ 15 В и £ 32 В

³ 32В

Путь утечки

Воздушный зазор

Путь утечки

Воздушный зазор

Путь утечки

Воздушный зазор

-

0,8

-

1,5

2,0

1,5

Расстояния через щели или отверстия в наружных частях изоляционного материала измеряют до металлической фольги, соприкасающейся с доступной поверхностью. Фольгу вталкивают в углы и другие подобные места испытательным стандартным пальцем (рисунок 1), но не вдавливают в отверстия.

Общее расстояние, измеренное между частями, работающими при опасном напряжении, и доступными поверхностями, определяют как сумму расстояний от каждой части (детали) к доступной поверхности. Значения расстояний должны подлежать суммированию для определения общей величины. См. рисунок К.1.

В целях данного определения одно из расстояний (или путей) должно быть равно 1 мм или более. См. приложение А, случаи 1 - 10.

При необходимости во время измерений прилагают силу к любой точке оголенных проводов и к наружной поверхности металлических кожухов, пытаясь уменьшить пути утечки и воздушные зазоры.

Сила, которую прилагают с помощью испытательного пальца, имеющего кончик, как показано на рисунке 1, составляет:

2 Н - для оголенных проводов;

30 Н - для кожухов.

При наличии промежуточной перегородки (барьера), которая состоит из двух частей, не склеенных вместе, путь утечки измеряют также через соединение этих частей (т. е. через стык).

При наличии промежуточной перегородки (барьера) воздушный зазор измеряют через барьер или, если он состоит из двух частей с сопряженными поверхностями, не склеенными вместе, - через стык (т. е. узел их соединения).

При определении путей утечки и воздушных зазоров учитывают изолирующие покрытия металлических корпусов или крышек.

Средства (механизмы), предназначенные для крепления машины к опоре, считают доступными.

К.28.2 Данный пункт не применяют.

К.29 Теплостойкость, огнестойкость и стойкость к образованию токопроводящих мостиков (трекингостойкость)

К.29.1 Наружные части из неметаллических материалов, повреждение которых может привести к несоответствию машины или аккумулятора требованиям настоящего приложения, должны быть достаточно теплостойкими.

Соответствие требованию проверяют, подвергая соответствующие части воздействию давления шариком с помощью испытательного устройства, показанного на рисунке 5.

Перед началом испытания образец выдерживают в течение 24 ч в атмосфере, имеющей температуру от 15 °С до 35 °С и относительную влажность от 45 % до 75 %.

Деталь (или часть) устанавливают таким образом, чтобы ее верхняя поверхность была расположена горизонтально, и давят на эту поверхность с силой 20 Н сферической частью испытательного устройства. Деталь (или часть), подвергаемая испытанию, должна быть толщиной не менее 2,5 мм. Требуемая толщина может быть получена использованием двух или нескольких фрагментов испытуемой детали.

Испытания проводят в термокамере при температуре (40 ± 2) °С плюс максимальное превышение температуры, достигнутое при испытании по К.12, которое должно быть не менее (75 ± 2) °С для наружных частей.

Перед началом испытания температуру испытательного устройства доводят до указанной выше температуры.

Через 1 ч испытательное устройство удаляют, а деталь охлаждают приблизительно до температуры помещения путем немедленного погружения ее на 10 с в холодную воду. Диаметр отпечатка не должен превышать 2 мм. Части из керамических материалов испытанию не подвергают.

К.29.2 Этот пункт распространяется только на наружные кожухи (корпуса) токоведущих деталей машин или аккумуляторов.

К.29.3 Данный пункт не применяют.

Размер а - расстояние от положительного оголенного проводника детали до наружной поверхности натянутой фольги, установленной через расщелины (или отверстия и т. п.); размер b - расстояние от отрицательного оголенного проводника детали (или части) до наружной поверхности натянутой (обтянутой) фольги, установленной через расщелины (или отверстия, щели и т. п.); а + b - общая сумма значений, установленных в К.28.1

Рисунок К.1 - Измерение воздушных зазоров

Приложение L
(обязательное)

Батарейные машины и аккумуляторы, предусмотренные
для подсоединения к сети или неизолированным источникам питания

L.1 Область применения

Настоящее приложение относится к питаемым от аккумуляторов батарейным (аккумуляторным) машинам1) с электрическим или магнитным приводом и аккумуляторам для таких машин, которые также работают при непосредственной зарядке от сети или неизолированных источников напряжения, включая машины, снабженные встроенными зарядными устройствами. Данное приложение распространяется также на машины со встроенными, съемными и отдельными аккумуляторами. Максимальное номинальное напряжение для машин составляет 250 В однофазного переменного или постоянного тока сетевых источников и 75 В постоянного тока от батарейных источников питания.

1) Применяемые термины «батарейные машины» и «аккумуляторные машины» равнозначны.

Аккумуляторы для машин, на которые распространяется настоящее приложение, предназначенные для зарядки от неизолированных зарядных устройств, оценивают в соответствии с настоящим приложением и настоящим стандартом. При оценке аккумулятора в части защиты от поражения электрическим током, путей утечки, воздушных зазоров и расстояний по изоляции аккумулятор следует рассматривать комплектно с соответствующим зарядным устройством.

Если нет других указаний, все разделы настоящего стандарта относятся к настоящему приложению. Если раздел должен быть сформулирован в настоящем приложении, то при замене в нем требований их излагают с учетом требований настоящего стандарта.

Для машин, на которые распространяется настоящее приложение, термин «сетевой выключатель», встречающийся в стандарте, следует понимать как силовой (основной) выключатель батарейной машины.

Настоящее приложение не следует применять к рассматриваемым машинам, в которых используются батареи обычного применения, устанавливаемые потребителем, и это приложение не должно быть достаточным для обеспечения полной безопасности.

Настоящее приложение не относится к зарядным устройствам по IEC 60335-2-29.

L.2 Нормативные ссылки

Этот раздел применяют, за исключением: Дополнительная нормативная ссылка:

IEC 61558-2-6:1997 Трансформаторы силовые, блоки питания и аналогичная продукция. Безопасность. Часть 2-6. Частные требования к изолирующим трансформаторам общего назначения

L.3 Термины и определения

Согласно настоящему приложению применяют следующие термины с соответствующими определениями:

L.3.101 аккумулятор: Сборка, состоящая из одного или нескольких элементов, предназначенных для питания машины электрическим током.

L.3.101.1 съемный аккумулятор: Аккумулятор, заключенный в отдельный кожух от батарейного отсека машины и удаляемый из машины для зарядки.

L.3.101.2 встроенный аккумулятор: Аккумулятор, размещаемый в батарейной машине и не удаляемый из нее при зарядке. Аккумулятор, который может быть удален из батарейной машины только для переработки и утилизации, считают встроенным аккумулятором.

L.3.101.3 отдельный аккумулятор: Аккумулятор, заключенный в отдельный кожух и с батарейной машиной соединяемый с помощью кабеля или шнура.

L.3.102 полностью заряженный аккумулятор: Аккумулятор, подвергнутый по крайней мере двум циклам разрядки - зарядки в интервале не менее 2 ч после каждого цикла в соответствии с инструкциями изготовителя.

L.3.103 неизолированный источник питания: Источник напряжения, в котором выходная обмотка не изолирована от сетевого напряжения посредством изолирующего трансформатора, как предписано IEC 61558-1 и IEC 61558-2-6.

L.3.104 опасное напряжение: Напряжение между частями, имеющее среднее значение, превышающее 60 В постоянного тока или 42,4 В пикового напряжения, когда пульсация пиковых импульсов превышает 10 % среднего значения напряжения.

L.3.105 сетевой выключатель: Выключатель, обеспечивающий основное подключение машины к сети.

L.3.106 шнур для взаимного соединения: Наружный гибкий шнур, предусмотренный для комплектации машины и для цели, иной чем для соединения с источником питания.

Примечание - Дистанционное ручное подключающее устройство, наружное взаимосоединение между двумя частями (или деталями) машины и шнуром, соединяющим принадлежности машины или различные сигнализирующие цепи, являются примерами шнура для взаимного соединения.

L.5 Общие условия испытаний

L.5.101 При отсутствии других указаний для каждого испытания должен быть использован полностью заряженный аккумулятор.

L.5.102 При измерении напряжения любое наложение пульсации пикового значения, превышающее 10 % среднего значения, следует учитывать. Переходные напряжения, такие как временное превышение номинального напряжения, например сразу после отключения аккумулятора от зарядного устройств, не учитывают.

L.7 Классификация

L.7.1 Настоящий пункт в случае машин класса III в настоящем приложении не рассматривают.

L.8 Маркировка и инструкции

L.8.1 Первый абзац настоящего пункта заменяют следующим:

Неизолированные источники напряжения, которые могут быть использованы для питания машины, или машины, которые могут питаться непосредственно от сети, должны быть маркированы как указано ниже.

В случае, если машина питается непосредственно от сети, маркировка должна быть предусмотрена как для сетевого питания, так и для работы от батареи и должна содержать следующие сведения:

- номинальное(ые) напряжение(я) или диапазон(ы) номинального(ых) напряжения(й) в вольтах;

- знак рода тока;

- номинальную потребляемую мощность в ваттах или номинальный ток в амперах;

- наименование или торговую марку, или обозначение марки производителя или ответственного продавца;

- указание модели или типа;

- адрес производителя или страны-изготовителя;

- любую мандатную марку, указывающую на соответствие законодательству в отношении настоящего стандарта.

Соответствие требованию проверяют осмотром.

L.8.1.101 Маркировка машин, других чем те, которые могут питаться непосредственно от сети, а также от съемных или отдельных аккумуляторов, должна содержать следующие сведения:

- номинальное(ые) напряжение(я) или диапазон(ы) номинального(ых) напряжения(й) в вольтах;

- знак (символ) рода тока;

- наименование или торговую марку, или обозначение марки производителя или ответственного продавца;

- указание модели или типа;

- адрес производителя или страны-изготовителя;

- любую мандатную марку, указывающую на соответствие законодательству в отношении настоящего стандарта.

Дополнительные маркировки не должны вызывать недоразумение. Соответствие требованию проверяют осмотром.

L.8.12.1 Данный пункт применяют, за исключением раздела 4 «Применение ручной машины и обращение с ней», который заменяют следующим:

4) Эксплуатация батарейной машины и обращение с ней:

a) До установки аккумулятора следует убедиться, что выключатель машины находится в положении «выключено».

Установка аккумулятора в машину должна быть осуществлена при исправном выключателе этой машины.

b) Зарядку аккумулятора выполняют только с зарядного устройства, указанного изготовителем. Зарядное устройство, предназначенное для аккумулятора конкретного типа, может быть пожароопасным при использовании аккумулятора другого типа.

c) Эксплуатация машин должна быть осуществлена только со специально предназначенными для них аккумуляторами.

Применение аккумуляторов других типов может быть причиной опасности травмирования и возгорания.

d) Неиспользуемый аккумулятор следует содержать вдали от металлических предметов, таких как ножницы для бумаги, монеты, ключи, гвозди, винты или другие мелкие металлические предметы, способные закоротить клеммы аккумулятора.

Одновременное закорачивание клемм батареи может вызвать ожоги и возгорание.

e) При плохих условиях содержания жидкость может вытекать из батареи. Следует избегать контакта с ней, при случайном соприкосновении - смыть струей воды. Если жидкость попала в глаза, необходимо воспользоваться медицинской помощью.

Жидкость, вытекшая из батареи, может вызвать раздражение или ожоги.

5) Сервисное обслуживание:

а) Машину должен обслуживать квалифицированный персонал, используя только детали, аналогичные заменяемым.

Это является гарантией обеспечения безопасности при работе такой машиной.

L.9 Защита от поражения электрическим ударом

Примечание - Заголовок этого раздела отличен от заголовка в настоящем стандарте.

Требования 9.1 - 9.4 относятся ко всем условиям, изложенным в нижеприведенном дополнении:

Дополнение:

Машины, охваченные настоящим приложением, и их аккумуляторы, должны быть сконструированы и защищены так, чтобы обеспечить надлежащую защиту от поражения электрическим ударом (или током).

Настоящий раздел стандарта применяют к машинам, подсоединенным к сети или питаемым от неизолированного источника питания. Во время работы в этом состоянии аккумуляторы подсоединены к машине обычным образом. Машину также испытывают с удаленным аккумулятором, если такое удаление может быть выполнено без помощи инструмента.

L.9.1.101 Для аккумуляторов, которые могут быть отсоединены от машины, и машин, работающих от батареи, не должно быть возможности иметь две проводящие, одновременно доступные детали, если напряжение между ними является опасным, за исключением тех случаев, когда они оснащены защитным импедансом.

В случае применения защитного импеданса ток в короткозамкнутой цепи между этими деталями не должен превышать 2 мА постоянного тока или 0,7 мА пикового значения для переменного тока, а емкость непосредственно между этими деталями должна быть не более 0,1 мкФ.

Соответствие требованию в части доступности к ним проверяют приложением испытательного пальца (рисунок 1) к каждой из токопроводящих деталей.

Испытательный палец (рисунок 1) прикладывают без заметного усилия через отверстие на глубину, как только позволяют размеры, затем его вращают или размещают под углом после ввода в любое из возможных положений.

Если размеры отверстия не позволяют пройти испытательному пальцу, то к нему в прямом направлении прилагают силу до 20 Н, и это испытание повторяют с пальцем в изогнутом положении.

Наличие контакта с испытательным пальцем определяют со всеми съемными деталями, подлежащими удалению, и при любых положениях, какие могут иметь место при работе машины в процессе нормальной эксплуатации.

Лампы, размещенные за съемной крышкой, не удаляют, используемая лампа может быть обесточена пользователем, батарею отсоединяют или отключают.

L.10 Пуск

Настоящий раздел применяют только тогда, когда машина присоединена либо к сети, либо к неизолированному источнику питания.

L.11 Потребляемая мощность и ток

Настоящий раздел применяют только тогда, когда машина присоединена либо к сети, либо к неизолированному источнику питания.

В случае машин, аккумулятор которых может заряжаться во время работы до достижения требуемой характеристики, испытания проводят до тех пор, пока не закончит зарядку ранее разряженный аккумулятор.

L.12 Нагрев

Настоящий раздел применяют только тогда, когда машина присоединена или к сети, или к неизолированному источнику питания.

Машины, которые также могут заряжать аккумулятор до достижения требуемой характеристики, испытывают вместе с подсоединенным зарядным устройством при работе на холостом ходу до тех пор, пока машина не остановится из-за разрядки аккумулятора, или до достижения установившегося теплового состояния в зависимости оттого, какое из указанных состояний наступит первым. Испытание повторяют, допуская зарядку аккумулятора при неработающей машине.

L.13 Ток утечки

Настоящий раздел применяют только тогда, когда машина присоединена либо к сети, либо к неизолированному источнику питания.

L.14 Влагостойкость

Настоящий раздел применяют только тогда, когда машина присоединена либо к сети, либо к неизолированному источнику питания.

L.15 Электрическая прочность

Настоящий раздел применяют только тогда, когда машина присоединена либо к сети, либо к неизолированному источнику питания.

Следует обратить внимание на то, что преждевременная поломка электронных устройств не позволит применить испытательное напряжение при проверке изоляции. Если это случится, электронные устройства обходят стороной, что позволит продолжить испытание.

L.16 Защита от перегрузки трансформаторов и соединенных с ними цепей

Настоящий раздел применяют только тогда, когда машина присоединена либо к сети, либо к неизолированному источнику питания.

L.17 Надежность

Настоящий раздел относится к машинам, способным продолжительно работать, когда питание к ним подведено непосредственно от сети или от неизолированного источника питания. Машины, которые не способны продолжительно работать, должны работать от энергии батареи на протяжении всего испытания и должны быть проверены на электрическую прочность с подсоединенным зарядным устройством.

L.18 Ненормальный режим работы

Настоящий раздел применяют только тогда, когда машина присоединена либо к сети, либо к неизолированному источнику питания.

L.18.101 Все машины, работающие только от энергии батареи, и их аккумуляторы должны быть сконструированы так, чтобы опасности воспламенения или поражения электрическим током в результате ненормального режима работы можно было избежать, насколько практически это выполнимо.

Соответствие требованию проверяют следующими испытаниями.

Батарейную (аккумуляторную) машину и соответствующий аккумулятор размещают на поверхности из древесины мягких пород, покрытой двумя слоями папиросной бумаги; батарейную машину и аккумулятор покрывают одним слоем непропитанной из 100 % хлопка медицинской марли. Испытание необходимо проводить до повреждения или до тех пор, пока температура испытуемого образца снова не станет комнатной. Для каждого нижеперечисленного повреждения может быть использован новый образец. При этом надежность защиты от поражения электрическим ударом определяют по разделам L.9 и L.13. Результатом испытаний батарейной машины и аккумулятора не должно быть обугливание или сгорание марли или папиросной бумаги при любом из дефектных условий, приведенных ниже в перечислениях от а) до f).

Обугливание определяют как покрытие копотью марли (или ее почернение), вызванное воспламенением. Обесцвечивание марли, вызванное дымом (горением), допускается.

Тепловые выключатели и тепловые перегрузочные устройства могут работать в процессе вышеуказанных испытаний. В этом случае то же самое испытание необходимо повторить более трех раз, используя три дополнительных образца. Сопротивление для условий, приведенных в перечислениях a), b), d), е) и f), не должно превышать 10 мОм.

a) Контакты съемного аккумулятора с обнаженными контактами закорачивают. Зажимы, которые могут быть в контакте с испытательным пальцем, показанным на рисунке 1, или испытательным щупом, показанным на рисунке 2, считают доступными (т. е. не защищенными от прикосновения). При замыкании накоротко зажимов аккумулятора средство замыкания не должно быть чрезмерно нагрето, чтобы не вызвать обугливания или воспламенения марли или папиросной бумаги.

b) Зажимы (контакты) двигателя закорачивают.

c) Ротор двигателя блокируют.

d) Шнур, предусмотренный между отдельно расположенными аккумулятором и батарейной машиной, должен быть закорочен в точке, в которой возможно наибольшее неблагоприятное воздействие.

e) Шнур, предусмотренный между машиной и зарядным устройством, должен быть закорочен в точке, в которой возможно наибольшее неблагоприятное воздействие.

f) Для батарейных машин состояние короткого замыкания вводят между двумя любыми неизолированными частями различной полярности с расстояниями, не соответствующими тем, которые даны в L.28.101.

L.19 Механическая безопасность

L.19.101 Если машина маркирована направлением движения (вращения), то не должно быть возможным подсоединение к ней аккумулятора таким образом, чтобы это не соответствовало маркировке.

L.20 Механическая прочность

Настоящий раздел применяют только тогда, когда машина присоединена либо к сети, либо к неизолированному источнику питания.

L.20.101 Батарейные машины вместе с присоединенным аккумулятором и аккумуляторы должны обладать достаточной механической прочностью и должны быть сконструированы так, чтобы выдержать небрежное обращение, возможное при нормальной эксплуатации.

Батарейная машина с прикрепленным к ней аккумулятором должна выдержать трехкратное падение на бетонную поверхность с высоты 1 м. Этот образец машины должен быть размещен в различных положениях при падении для нанесения удара в разные точки.

Для батарейных машин с прикрепленными или отдельными аккумуляторами испытание повторяют более трех раз при не прикрепленном к машине аккумуляторе.

Дополнительно для прикрепленных или отдельных (вне машин) аккумуляторов испытание повторяют более трех раз на отдельно устанавливаемом аккумуляторе.

Для каждой серии трехкратного падения могут быть использованы новые образцы.

В процессе испытаний батарейная машина и аккумулятор должны соответствовать требованиям разделов L.9 и L.19, L.28.1 и либо L.18.101, перечисление f), либо L.28.101.

L.21 Конструкция

Настоящий раздел применяют только тогда, когда машина присоединена либо к сети, либо к неизолированному источнику питания.

L.22 Внутренняя проводка

Настоящий раздел применяют только тогда, когда машина присоединена либо к сети, либо к неизолированному источнику питания.

L.23 Комплектующие изделия

L.23.1.10 Данный пункт стандарта относится только к машинам, способным выполнять свои основные функции при подсоединении к сети или к неизолированному источнику питания с такими выключателями, которые управляют основными элементами машины.

L.23.1.10.101 Выключатели, иные чем имеющиеся в машинах, указанных в L.23.1.10, которые управляют основными элементами машины, должны обладать достаточной отключающей способностью.

Соответствие требованию проверяют испытанием выключателя 50-разовым срабатыванием «включение-выключение» при застопоренном выходном механизме и полностью заряженной батарейной машине; каждый период положения «включено» должен длиться не более 0,5 с, и каждый период положения «выключено» должен длиться не менее 10 с.

После этого испытания сетевой выключатель не должен иметь электрических или механических повреждений. Если в конце испытаний сетевой выключатель правильно функционирует в положениях «включено» и «выключено», то считают, что он не имеет механических или электрических повреждений.

L.23.1.11 Данный пункт стандарта относится только к машинам, способным выполнять свои основные функции при подсоединении к сети или к неизолированному источнику питания с такими выключателями, которые управляют основными элементами машины.

L.23.1.11.101 Выключатели, иные чем имеющиеся в машинах, указанных в L.23.1.11, которые управляют основными элементами машины, должны выдерживать без чрезмерного износа или другого вредного воздействия механические, электрические и тепловые нагрузки, возможные при нормальной эксплуатации.

Соответствие требованию проверяют испытанием выключателя без нагрузки на срабатывание 6000 циклов с включением и отключением тока полностью заряженной батарейной машины. Выключатель должен работать при постоянной скорости 30 срабатываний в минуту. В течение испытаний выключатель должен исправно работать. После испытания не должно быть визуально определенных следов чрезмерного износа, несоответствия между положением работающих элементов и движущихся контактов, ослабления электрических или механических соединений, просачивания компаунда.

L.24 Присоединение к источнику питания и внешние гибкие шнуры

L.24.1 Настоящий пункт также относится к гибким шнурам между неизолированным источником питания и машиной.

L.24.3 Настоящий пункт также относится к гибким шнурам между неизолированным источником питания и машиной.

L.24.4 Настоящий пункт относится, за исключением гибкого шнура, предусмотренного между неизолированным источником питания и машиной, к машине, которая не должна быть оснащена штепсельной вилкой, позволяющей прямое подсоединение к сети.

L.24.5 Настоящий пункт не относится к гибкому шнуру, предусмотренному между машиной и неизолированным источником питания.

L.24.21 Настоящий пункт относится, за исключением гибкого шнура между неизолированным источником и машиной, к машине, не укомплектованной штепсельным разъемом (приборным вводом), который позволяет непосредственное присоединение к сети.

L.24.101 Для батарейных машин с отдельными аккумуляторами наружный гибкий кабель или шнур должен иметь такие крепления, чтобы проводники не испытывали натяжения и скручивания в местах присоединения к машине и были защищены от истирания.

Соответствие требованию проверяют осмотром.

L.25 Зажимы для внешних проводов

Настоящий раздел не относится к шнурам, обеспечивающим взаимное присоединение.

L.26 Заземление

Настоящий раздел применяют только тогда, когда машина присоединена либо к сети, либо к неизолированному источнику питания.

L.28 Пути утечки, воздушные зазоры и расстояние по изоляции

Данный раздел стандарта применяют, за исключением следующего:

L.28.1 Дополнение:

Этот пункт применяют только тогда, когда машина присоединена либо к сети, либо к неизолированному источнику питания. При оценке этого состояния аккумулятор должен быть присоединен к машине. Машину также испытывают с удаленным аккумулятором, если такое удаление может быть выполнено без помощи инструмента.

L.28.101 Значения путей утечки и воздушных зазоров должны быть не менее значений в миллиметрах, указанных в таблице L.1. Указанные воздушные зазоры не относятся к воздушным зазорам между контактами терморегулирующих устройств, устройств защиты от перегрузки, микропереключателей и т. п. или к воздушным зазорам между токоведущими элементами таких устройств, у которых воздушные зазоры изменяются при перемещении контактов. Пути утечки и воздушные зазоры также не относятся к конструкции элементов батареи или соединениям между элементами в аккумуляторе. Значения, указанные в таблице L.1, не распространяются на точки пересечения обмоток двигателя.

Для частей, между которыми имеется опасное напряжение, сумма полных расстояний, измеренных между каждой из таких частей и ближайшей к ним доступной поверхностью, должна быть не менее 1,5 мм относительно воздушного зазора и не менее 2 мм относительно путей утечки.

Примечание - Рисунок L.1 дает пояснение к методу измерения.

Соответствие требованию проверяют измерением.

Методы измерений путей утечки и воздушных зазоров приведены в приложении А.

Для частей различной полярности воздушный зазор и пути утечки, меньшие чем те, которые даны в таблице L.1, считают допустимыми, если замкнутые накоротко две части не являются результатом пуска машины.

Примечание - Опасность огня из-за расстояний ниже требуемых обусловлена предписаниями 18.1.

Таблица L.1 - Минимальные пути утечки и воздушные зазоры между деталями различной полярности

(в миллиметрах)

£ 15В

³ 15 В и £ 32 В

³ 32В

Путь утечки

Воздушный зазор

Путь утечки

Воздушный зазор

Путь утечки

Воздушный зазор

-

0,8

-

1,5

2,0

1,5

Расстояния через щели или отверстия в наружных частях изоляционного материала измеряют до металлической фольги, соприкасающейся с доступной поверхностью. Фольгу вталкивают в углы и другие подобные места испытательным стандартным пальцем (рисунок 1), но не вдавливают в отверстия.

Общее расстояние, измеренное между частями, работающими при опасном напряжении, и доступными поверхностями, определяют как сумму расстояний от каждой части (детали) к доступной поверхности (см. рисунок L.1). В целях данного определения одно из расстояний (путей) должно быть 1 мм и более. См. приложение А, случаи 1 - 10.

При необходимости во время измерений прилагают силу к любой точке оголенных проводов и к наружной поверхности металлических кожухов, пытаясь уменьшить пути утечки и воздушные зазоры.

Значение силы, прилагаемой с помощью испытательного пальца, имеющего кончик, как показано на рисунке 1, составляет:

2 Н - для оголенных проводов;

30 Н - для кожухов.

При наличии промежуточной перегородки (барьера), состоящей из двух частей, не склеенных вместе, путь утечки измеряют также через соединение этих частей (т. е. через стык).

При наличии промежуточной перегородки (барьера) воздушный зазор измеряют через барьер или, если он состоит из двух частей с сопряженными поверхностями, не склеенными вместе, - через стык (т. е. узел их соединения).

При определении путей утечки и воздушных зазоров, учитывают изолирующие покрытия металлических корпусов или крышек.

Средства (механизмы), предназначенные для крепления машины к опоре, считают доступными.

L.29 Теплостойкость, огнестойкость и стойкость к образованию токопроводящих мостиков (трекингостойкость)

Этот раздел стандарта применяют, за исключением:

L.29.1 Дополнение:

Настоящий раздел применяют только тогда, когда машина питается либо от сети, либо от неизолированного источника питания.

В случае машин, аккумуляторы которых способны заряжаться до получения заданных характеристик во время нормальной работы, аккумулятор должен быть испытан (или оценен) с зарядным устройством, присоединенным к сети питания, и с этим аккумулятором при тех же условиях в зависимости от результата, полученного при наиболее неблагоприятной температуре для каждого из случаев.

Дополнительно машины, способные заряжать аккумулятор и одновременно выполнять заданную операцию, должны быть оценены только в аккумуляторном режиме работы, если это может создать температуры, являющиеся наиболее неблагоприятными. Согласно настоящему разделу часть, которая находится под напряжением только в аккумуляторном режиме работы, не обязательно считают пригодной.

Размер а - расстояние от положительного оголенного проводника детали до наружной поверхности натянутой фольги, установленной через расщелину (или отверстие); размер b - расстояние от отрицательного оголенного проводника детали (или части) до наружной поверхности натянутой (или обтянутой) фольги, установленной через расщелины (или отверстия, щели и т. п.); а + b - общая сумма значений, установленных в L.28.101

Рисунок L.1 - Измерение воздушных зазоров

Приложение ДА
(справочное)

Сведения о соответствии межгосударственных стандартов
ссылочным международным стандартам

Таблица ДА.1

Обозначение
международного стандарта

Степень
соответствия

Обозначение и наименование
межгосударственного
стандарта

ISO 1463:1982

IDT

ГОСТ 9.302-88 Единая система защиты от коррозии и старения. Покрытия металлические и неметаллические неорганические. Методы контроля

ISO 2178:1982

-

*

IEC 60065:1998

-

*

IEC 60127-1:1988

-

*

IEC 60127-2:1989

-

*

IEC 60127-3:1988

-

*

IEC 60127-4:1989

-

*

IEC 60127-5:1988

-

*

IEC 60227-1:1993

-

*

IEC 60227-2:1997

-

*

IEC 60227-3:1997

-

*

IEC 60227-4:1992

-

*

IEC 60227-5:1997

-

*

IEC 60227-6:1985

-

*

IEC 60245-1:1994

-

*

IEC 60245-2:1994

-

*

IEC 60245-3:1994

-

*

IEC 60245-4:1994

-

*

IEC 60245-6:1994

-

*

IEC 60245-7:1994

-

*

IEC 60245-8:1998

-

*

IEC 60309-1:1999

-

*

IEC 60309-2:1999

-

*

IEC 60320-1:1994

-

*

IEC 60320-2-2:1998

-

*

IEC 60320-2-3:1998

-

*

IEC 60335-1:2001

-

*

IEC 60227-6:1985

-

*

IEC 60335-1:2001

-

*

IEC 60384-14:1993

-

*

IEC 60529:1989

-

*

IEC 60707:1999

-

*

IEC 60730-1:1999

-

*

IEC 60884-1:1994

-

*

IEC 60884-2-1:1987

-

*

IEC 60884-2-2:1989

-

*

IEC 60884-2-4:1999

-

*

IEC 60884-2-5:1995

-

*

IEC 60884-2-6:1997

-

*

IEC 60998-2-1:2002

-

*

IEC 60998-2-2:1991

-

*

IEC 60999-1:1999

-

*

IEC 60061-1:1969

-

*

IEC 60068-2-75:1997

-

*

IEC 60085:1984

-

*

IEC 60112:1979

-

*

IEC 60127-6:1994

-

*

IEC 60227-5:1994

-

*

IEC 60320-2-1:2000

-

*

IEC 60335-2-29:2002

-

*

IEC 60417:2002

-

*

IEC 60695-2-2:1991

-

*

IEC 60695-2-10:2000

-

*

IEC 60695-2-11:2000

-

*

IEC 60695-2-12:2000

-

*

IEC 60695-2-13:2000

-

*

IEC 60760:1989

-

*

IEC 61058-1:2000

-

*

IEC 61558-1:1997

-

*

* Соответствующий межгосударственный стандарт отсутствует. До его утверждения рекомендуется использовать перевод на русский язык данного международного стандарта. Перевод данного международного стандарта находится в Федеральном информационном фонде технических регламентов и стандартов.

Примечание - В настоящей таблице использовано следующее условное обозначение степени соответствия стандарта:

- IDT - идентичный стандарт.

Библиография

[1]

CISPR 11:1999

Industrial, scientific and medical (ISM) radio-frequency equipment. Electromagnetic disturbance characteristics. Limits and methods of measurement (Индустриальные радиопомехи от промышленных, научных и медицинских высокочастотных устройств. Нормы и методы измерения)

[2]

CISPR 14-1:2000

Electromagnetic compatibility. Requirements for household appliances, electric tools and similar apparatus. Part 1. Emission (Электромагнитная совместимость. Требования к бытовой аппаратуре, электрическим инструментам и аналогичным устройствам. Часть 1. Помехоэмиссия)

[3]

CISPR 14-2:1997

Electromagnetic compatibility - Requirements for household appliances, electric tools and similar apparatus - Part 2: Immunity - Product family standard (Электромагнитная совместимость. Требования к бытовой аппаратуре, электрическим инструментам и аналогичным устройствам. Часть 2. Помехоустойчивость. Стандарт на семейство изделий)

[4]

IEC 61000-3-2:2000

Electromagnetic compatibility (EMC) - Part 3-2: Limits. Limits for harmonic current emissions (equipment input current 16 A per phase) (Электромагнитная совместимость (ЭМС). Часть 3-2. Нормы - нормы эмиссии гармонических составляющих тока (потребляемый ток оборудования £ 16 А в одной фазе))

[5]

IEC 61000-3-3:1994

Electromagnetic compatibility (EMC). Part 3. Limits; section 3. Limitation of voltage fluctuations and flicker in low-voltage supply systems for equipment with rated current 16 A (Электромагнитная совместимость (ЭМС). Часть 3. Нормы. Раздел 3. Ограничение колебаний напряжения и фликера в низковольтных системах электроснабжения для оборудования с номинальным потребляемым током £ 16 А)

[6]

IEC 60601 (все части)

Medical electrical equipments(Медицинские электрические инструменты)

[7]

IEC 60335-2-45:1996

Safety of household and similar electrical appliances - Part 2: Particular requirements for portable heating tools and similar appliances (Бытовые и аналогичные электрические приборы. Безопасность. Часть 2. Частные требования к портативным электронагревательным инструментам и аналогичным приборам)

 

Ключевые слова: машины ручные электрические, требования безопасности, методы испытаний

 

 



© 2013 Ёшкин Кот :-)