Design of fans working in potentially explosive atmospheres 

Информационная система
«Ёшкин Кот»

XXXecatmenu

ФЕДЕРАЛЬНОЕ АГЕНТСТВО
ПО ТЕХНИЧЕСКОМУ РЕГУЛИРОВАНИЮ И МЕТРОЛОГИИ

НАЦИОНАЛЬНЫЙ
СТАНДАРТ
РОССИЙСКОЙ
ФЕДЕРАЦИИ

ГОСТ Р
55026-
2012

(ЕН 14986:2007)

ПРОЕКТИРОВАНИЕ ВЕНТИЛЯТОРОВ
ДЛЯ РАБОТЫ В ПОТЕНЦИАЛЬНО
ВЗРЫВООПАСНЫХ СРЕДАХ

EN 14986:2007
Design of fans working in potentially explosive atmospheres
(MOD)

Москва
Стандартинформ
2013

Предисловие

Цели и принципы стандартизации в Российской Федерации установлены Федеральным законом от 27 декабря 2002 г. № 184-ФЗ «О техническом регулировании», а правила применения национальных стандартов Российской Федерации - ГОСТ 1.0-2004 «Стандартизация в Российской Федерации. Основные положения»

Сведения о стандарте

1 ПОДГОТОВЛЕН Автономной некоммерческой национальной организацией «Ех-стандарт» (АННО «Ех-стандарт») на основе собственного аутентичного перевода на русский язык стандарта, указанного в пункте 4

2 ВНЕСЕН Техническим комитетом по стандартизации ТК 403 «Оборудование для взрывоопасных сред (Ех-оборудование)»

3 УТВЕРЖДЕН И ВВЕДЕН В ДЕЙСТВИЕ Приказом Федерального агентства по техническому регулированию и метрологии от 17 сентября 2012 г. № 324-ст

4 Настоящий стандарт является модифицированным по отношению к европейскому региональному стандарту ЕН 14986:2007 «Проектирование вентиляторов для работы в потенциально взрывоопасных средах» (EN 14986:2007 «Design of fans working in potentially explosive atmospheres») путем изменения содержания отдельных структурных элементов и дополнений, внесенных непосредственно в текст стандарта и выделенных курсивом, объяснение которых приведено во введении к настоящему стандарту.

При применении настоящего стандарта рекомендуется использовать вместо ссылочных международных стандартов соответствующие им национальные стандарты Российской Федерации и межгосударственные стандарты, сведения о которых приведены в дополнительном приложении ДА

5 ВВЕДЕН ВПЕРВЫЕ

Информация об изменениях к настоящему стандарту публикуется в ежегодно издаваемом информационном указателе «Национальные стандарты», а текст изменений и поправок - в ежемесячно издаваемом информационном указателе «Национальные стандарты». В случае пересмотра (замены) или отмены настоящего стандарта соответствующее уведомление будет опубликовано в ежемесячно издаваемом информационном указателе «Национальные стандарты». Соответствующая информация, уведомление и тексты размещаются также в информационной системе общего пользования - на официальном сайте Федерального агентства по техническому регулированию и метрологии в сети Интернет

Содержание

1 Область применения. 4

2 Нормативные ссылки. 5

3 Термины и определения. 5

4 Требования ко всем вентиляторам.. 5

4.1 Общие требования. 5

4.2 Оценка опасности воспламенения. 6

4.3 Определение уровня взрывозащиты оборудования. 6

4.4 Значения температуры.. 7

4.5 Механические параметры конструкции. 8

4.6 Корпус. 9

4.7 Рабочие колеса. 9

4.8 Материалы для вращающихся и неподвижных частей вентиляторов. 9

4.9 Облицовка или продолжение лопасти. 12

4.10 Вибрация. 13

4.11 Заземляющие токоведущие части. 13

4.12 Электростатические разряды.. 13

4.13 Электрическое оборудование. 13

4.14 Предотвращение осаждений внутри вентиляторов. 14

4.15 Зазор между вращающимися компонентами и корпусом вентилятора. 14

4.16 Уплотнения валов. 14

4.17 Подшипники. 14

4.18 Системы передачи электроэнергии. 15

4.19 Сцепления и соединения. 15

4.20 Тормоза и тормозные системы.. 15

4.21 Устройства крепления рабочее колесо-вал. 15

4.22 Коррозия. 15

4.23 Огнестойкость. 15

4.24 Защита от посторонних частиц. 15

5 Дополнительные требования для вентиляторов уровня взрывозащиты оборудования Gb. 16

5.1 Общие требования. 16

5.2 Устройства крепления рабочее колесо-вал. 16

5.3 Вибрация. 16

6 Вентиляторы уровня взрывозащиты оборудования Ga для использования с перемещаемой газовой средой. 17

6.1 Общие требования для вентиляторов уровня взрывозащиты оборудования Ga (в отношении входных и выходных соединений) 17

6.2 Пламегасители. 17

6.3 Корпус. 17

7 Информация для потребителя. 18

7.1 Общие требования. 18

7.2 Сопроводительная документация. 18

7.3 Маркировка. 19

Приложение А (обязательное) Дополнительные требования для вентиляторов уровня  взрывозащиты оборудования Ga. 20

Приложение В (справочное) Перечень технических требований по безопасности и/или защитных средств. 22

Приложение С (справочное) Примеры типов вентиляторов с минимальными характеристиками воспламенения. 23

Приложение D (обязательное) Перечень основных опасностей. 27

Приложение ДА (справочное) Сведения о соответствии ссылочных национальных и межгосударственных стандартов  международным и европейским региональным стандартам, использованным  в качестве ссылочных в примененном европейском региональном стандарте. 30

Библиография. 31

Введение

Настоящий стандарт подготовлен в обеспечение Федерального закона «О промышленной безопасности опасных производственных объектов» и Федерального закона «О техническом регулировании».

Региональный стандарт ЕН 14986:2007, на основе которого разработан настоящий стандарт, был подготовлен в качестве гармонизированного стандарта с Директивой 94/9 ЕС.

Настоящий национальный стандарт полностью повторяет нумерацию и наименования пунктов ЕН 14986:2007.

Настоящий стандарт относится к стандарту типа С согласно определению ГОСТ Р ИСО 12100-1.

Если положения настоящего стандарта типа С отличаются от положения стандартов типа А или В, то приоритетом обладает стандарт типа С для машин, которые были сконструированы и построены в соответствии с положениями стандарта типа С.

Настоящий стандарт имеет следующие отличия от регионального стандарта ЕН 14986:2007:

- в соответствии с требованиями ГОСТ Р 1.5-2004 в связи с невведенностью ЕН 294, ЕН 1050, ЕН 12874:2001, ЕН 50281-1-1, ИСО 12499, ИСО 13349:1999 в качестве национального стандарта Российской Федерации эти документы перенесены из раздела нормативных ссылок в структурный элемент «Библиография», добавленный в стандарт. Остальные нормативные ссылки на региональные стандарты заменены соответственно на эквивалентные национальные стандарты, сведения о соответствии которых приведены в приложении ДА;

- категории оборудования и их обозначения заменены на уровни взрывозащиты оборудования и их обозначения в соответствии с требованиями ГОСТ Р МЭК 60079-0, ГОСТ 31438.1 и ГОСТ 31441.1;

- исключено справочное приложение ZA, информирующее о соответствии разделов регионального стандарта ЕН 14986:2007 европейским Директивам, что не является предметом национальной стандартизации.

Внесение указанных отклонений направлено на учет нормативно-правовых требований, установленных в Российской Федерации.

ГОСТ Р 55026-2012
(ЕН 14986:2007)

ПРОЕКТИРОВАНИЕ ВЕНТИЛЯТОРОВ ДЛЯ РАБОТЫ
В ПОТЕНЦИАЛЬНО ВЗРЫВООПАСНЫХ СРЕДАХ

Design of fans working in potentially explosive atmospheres

Дата введения - 2013-07-01

1 Область применения

1.1 Настоящий стандарт устанавливает требования к конструкции вентиляторов, относящихся к оборудованию группы II (подгруппы IIА, IIВ) с уровнями взрывозащиты оборудования Ga, Gb и Gc и группы III с уровнями взрывозащиты оборудования Db, Dc, предназначенных для использования в потенциально взрывоопасных средах.

Примечание - Условия эксплуатации для вентиляторов с различными уровнями взрывозащиты, применяемых в настоящем стандарте, определены в разделе 4.

1.2 Требования настоящего стандарта не распространяются на вентиляторы, относящиеся к оборудованию группы I (вентиляторы для шахт), охлаждающие вентиляторы или рабочие колеса вращающихся электрических машин и двигателей внутреннего сгорания.

Примечания

1 Требования для вентиляторов группы I приведены в стандарте ГОСТ Р ЕН 1710 [1].

2 Требования к электрическим частям указаны в ссылочных стандартах на электрооборудование.

1.3 Настоящий стандарт устанавливает требования к проектированию, конструированию, проведению испытаний и маркировке готовых узлов вентиляторов, предназначенных для использования в потенциально взрывоопасных средах в воздухе, содержащем газ, пар, туман и(или) части пыли. Подобные среды могут присутствовать внутри или снаружи (перемещаемой среды), а также внутри или снаружи вентилятора.

1.4 Требования настоящего стандарта распространяются на вентиляторы, работающие в диапазоне значений температур окружающей среды от минус 20 °С до плюс 60 °С, с диапазоном значений абсолютного давления от 0,8 до 1,1 бар, с максимальным объемным содержанием кислорода 21 % и значением аэродинамической энергии менее 25 кДж/кг.

Примечания

1 Требования настоящего стандарта также могут применяться при проектировании, конструировании, проведении испытаний и маркировке вентиляторов, предназначенных для использования в условиях, отличающихся от указанных выше. В этом случае оценка опасностей воспламенения, защита от воспламенения, дополнительные испытания (при необходимости), маркировка изготовителя, техническая документация и инструкции для потребителей должны показывать и идентифицировать соответствие оборудования для применения в условиях, с которыми вентиляторы могут взаимодействовать.

2 Настоящий стандарт не распространяется на внутренние вентиляторы электрических двигателей.

2 Нормативные ссылки

В настоящем стандарте использованы нормативные ссылки на следующие стандарты:

ГОСТ Р ИСО 12100-1-2007 Безопасность машин. Основные понятия, общие принципы конструирования. Часть 1. Основные термины, методология

ГОСТ Р ИСО 12100-2-2007 Безопасность машин. Основные понятия, общие принципы конструирования. Часть 2. Технические принципы

ГОСТР МЭК 60079-0-2011 Взрывоопасные среды. Часть 0. Оборудование. Общие требования ГОСТ 31438.1-2011 (EN 1127-1:2007) Взрывоопасные среды. Взрывозащита и предотвращение взрыва. Часть 1. Основополагающая концепция и методология

ГОСТ 31441.1-2011 (EN 13463-1:2001) Оборудование неэлектрическое, предназначенное для применения в потенциально взрывоопасных средах. Часть 1. Общие требования

ГОСТ 31441.5-2011 (EN 13463-5:2003) Оборудование неэлектрическое, предназначенное для применения в потенциально взрывоопасных средах. Часть 5. Защита конструкционной безопасностью «с»

ГОСТ 31441.6-2011 (EN 13463-6:2005) Оборудование неэлектрическое, предназначенное для применения в потенциально взрывоопасных средах. Часть 6. Защита контролем источника воспламенения «b»

ГОСТ 14254-96 (МЭК 529-89) Степени защиты, обеспечиваемые оболочками (код IP)

ГОСТ 31350-2007 (ИСО 14694:2003) Вибрация. Вентиляторы промышленные. Требования к производимой вибрации и качеству балансировки

Примечание - При использовании настоящего стандарта целесообразно проверить действие ссылочных стандартов в информационной системе общего пользования - на официальном сайте Федерального агентства по техническому регулированию и метрологии в сети Интернет или по ежегодно издаваемому информационному указателю «Национальные стандарты», который опубликован по состоянию на 1 января текущего года, и по соответствующим ежемесячно издаваемым информационным указателям, опубликованным в текущем году. Если ссылочный стандарт заменен (изменен), то при пользовании настоящим стандартом следует руководствоваться заменяющим (измененным) стандартом. Если ссылочный стандарт отменен без замены, то положение, в котором дана ссылка на него, применяется в части, не затрагивающей эту ссылку.

3 Термины и определения

В настоящем стандарте применены термины по ГОСТ 31438.1 и ГОСТ 31441.1, а также следующие термины с соответствующими определениями.

3.1 пламегаситель для наружного монтажа (externally mounted flame arrester): Пламегаситель, состоящий из корпуса и элементов гашения, который непосредственно устанавливается как отдельное устройство на вентилятор.

3.2 встроенный пламегаситель (integrated flame arrester): Пламегаситель - корпус и элементы гашения которого являются частью вентилятора.

3.3 диаметр точки контакта (contact diameter): Диаметр вращающейся части в точке контакта со стационарной частью.

4 Требования ко всем вентиляторам

4.1 Общие требования

Все вентиляторы, на которые распространяется область применения настоящего стандарта, должны соответствовать требованиям ГОСТ 31441.1, если не указано другое в настоящем стандарте.

Примечание - В настоящем стандарте рассмотрено только предотвращение воспламенения вентилятором взрывоопасной среды. Другие способы обеспечения безопасности необходимо будет применять при проектировании для обеспечения соответствия требованиям другим европейским директивам, например применение принципов ГОСТ Р ИСО 12100 для предотвращения механических опасностей (например, защита от предотвращения контакта персонала с вращающимися частями, острыми краями).

4.2 Оценка опасности воспламенения

4.2.1 Общие требования

Перечень опасностей, которые могут возникать, приведен в приложении D. Если есть вероятность возникновения дополнительных опасностей, необходимо провести оценку опасностей воспламенения согласно ГОСТ 31441.1.

При оценке опасности воспламенения и выборе уровня взрывозащиты вентиляторов, изготовленных в соответствии с требованиями настоящего стандарта, необходимо брать за основу следующие режимы эксплуатации.

4.2.2 Нормальный режим эксплуатации

Нормальным режимом эксплуатации считается режим, при котором вентилятор используют согласно назначению в пределах параметров конструкции. К нормальному режиму эксплуатации относится режим запуска и остановки (см. также ГОСТ Р ИСО 12100-1).

Для вентиляторов, изготовленных в соответствии с требованиями настоящего стандарта, повреждения (например, повреждение уплотнений, фланцевых уплотнений или утечки веществ при аварии), которые привели к ремонту или остановке, не являются нормальным режимом эксплуатации.

4.2.3 Ожидаемая неисправность

Ожидаемой неисправностью считаются нарушения или неисправности вентилятора, обычно происходящие на практике. Ожидаемая неисправность также возникает, если вентилятор или его компоненты не выполняют предназначенные функции.

Для вентиляторов, изготовленных в соответствии с требованиями настоящего стандарта, ожидаемая неисправность может возникать по множеству причин, включая:

a) изменение характеристик материалов или размеров деталей (например, изменение прочности или деформация);

b) нарушения или неисправность в системе электропитания или других устройствах;

c) эксплуатацию в течение долгого времени при незамеченном повреждении подшипника, которое приводит к возникновению контакта между лопастным колесом и корпусом;

d) ослабление рабочего колеса из-за вибрации, когда рабочее колесо закреплено на вале запрессовкой.

4.2.4 Редкая неисправность

Редкая неисправность - тип неисправности, происходящий только в редком случае. Две независимые ожидаемые неисправности, которые по отдельности не могут создать опасности воспламенения, но в совокупности способны создать такие опасности, рассматриваются как единичная редкая неисправность.

4.3 Определение уровня взрывозащиты оборудования

Вентиляторы могут иметь различные уровни взрывозащиты для внутренних и внешних частей. Уровень взрывозащиты вентиляторов, которые можно использовать для перемещения взрывоопасных смесей газа, пара, тумана или пыли и/или работы в их присутствии, определяют на основе вероятностной оценки возможности того, что данные вентиляторы могут стать активным источником воспламенения.

Вентиляторы с уровнем взрывозащиты оборудования Gc не должны становиться активным источником воспламенения в нормальном режиме эксплуатации согласно разделу 4.2.2.

Вентиляторы с уровнем взрывозащиты оборудования Gb не должны становиться активным источником воспламенения при ожидаемых неисправностях согласно разделу 4.2.3.

Вентиляторы с уровнем взрывозащиты оборудования Ga не должны становиться активным источником воспламенения при редких неисправностях согласно разделу 4.2.4.

Вентиляторы, особенно их уплотнения валов и гибкие соединения на впускном и выпускном отверстиях, могут не быть полностью газонепроницаемыми. Соединительные каналы могут не быть герметичными. Поэтому может происходить утечка взрывоопасной среды из внутренней полости вентилятора во внешнюю окружающую среду или из взрывоопасной среды, окружающей вентилятор, в корпус вентилятора через пути утечки. Изготовитель должен учитывать данные особенности при оценке опасности воспламенения и предоставить потребителю информацию о возможной степени утечки вентиляторов.

Если степень утечки неизвестна, изготовитель должен конструировать вентилятор так, чтобы уровни взрывозащиты внутренних и внешних частей не отличались более чем на один уровень.

Если вентилятор имеет открытое входное и/или выходное отверстия (методы установки А, В, С согласно ИСО 13349), внутренняя и наружная части вентилятора должны иметь одинаковый уровень взрывозащиты.

4.4 Значения температуры

4.4.1 Общие требования

Необходимо учитывать значения температуры потенциально нагретых поверхностей, температуры перемещаемой среды и/или окружающей среды. Особое внимание необходимо уделить увеличению температур, характерных для вентиляторов при нормальном и аварийном режимах эксплуатации из-за сжатия газа, трения и тепловыделяющих компонентов, например электродвигателей.

4.4.2 Максимальные значения температуры

Максимальная температура поверхности вентилятора характеризует самую горячую часть оборудования, которое может взаимодействовать со взрывоопасной средой, или максимальное значение температуры перемещаемой среды, которая может становиться источником воспламенения.

Максимальные значения температуры поверхности внутренних и наружных частей вентилятора, которые могут взаимодействовать со взрывоопасной средой, должны определяться в соответствии с требованиями ГОСТ 31441.1.

Максимальное значение температурного класса для внутренних частей вентилятора, указанное в маркировке, должно быть выше:

- максимального значения температуры, определенного в соответствии с требованиями ГОСТ 31441.1, включая соответствующие коэффициенты безопасности для различных уровней взрывозащиты, или

- максимального значения температуры перемещаемой среды в выходном отверстии с коэффициентом безопасности 20 % (значения температуры должны быть измерены в °С).

Данные значения температуры определяются с учетом самого высокого значения температуры, указанного в 4.4.3.

Примечание - Увеличенный коэффициент запаса 20 % был выбран из-за повышенной интенсивности воспламенения для более высоких температур газа.

Максимальная температура поверхности оборудования используется для маркировки оборудования определенной температурой, температурным классом оборудования или соответствующей взрывоопасной средой.

Пример - Параметры вентилятора: максимальная температура поверхности внутренней части, измеренная в соответствии с ГОСТ 31441.1 с соответствующим коэффициентом безопасности, должна быть 90 °С, температура перемещаемой среды на выходе должна быть 80 °С для температуры входного отверстия 60 °С.

С 20 %-ным коэффициентом безопасности максимальная температура на выходе должна быть 96 °С. Следовательно, максимальная допустимая температура, указанная в маркировке для внутренней части вентилятора, должна быть 96 °С.

4.4.3 Температура перемещаемой среды

Потребителю обычно известна только температура окружающей среды и температура на входе. Эти значения обычно выше температуры на выходе, в соответствии с которой определяют соответствие вентилятора предполагаемому назначению.

Необходимо учитывать возможность повышения температуры в нормальном режиме работы, а также при ожидаемых неисправностях.

При отсутствии подробной информации от заказчика об ожидаемых неисправностях, минимальном и максимальном потоке, повышении давления и плотности изготовитель вентиляторов должен обеспечить поддержание соответствующих температурных диапазонов между минус 10 % или плюс 20 % номинального потока газа, при максимальной и минимальной ожидаемой плотности. Обычно повышение давления происходит при минимальном потоке и максимальной плотности. Для вентиляторов с переменной скоростью расчеты должны проводиться при максимальной скорости вентилятора и/или при скорости, соответствующей максимальному нагреву двигателя. Данная скорость должна быть указана в информации для потребителя.

Инструкции изготовителя должны включать в себя указания на минимальную и максимальную скорости потока воздуха, которые необходимы для поддержания номинальных значений температуры (предельной температуры эксплуатации).

Изготовитель должен измерить или рассчитать максимальную температуру газа на выходе для температуры газа на входе 60 °С в пределах указанного диапазона потока газа или для номинального (расчетного) потока газа, увеличенного от 10 % до 20 %.

Максимальное значение температуры на входе, отличающееся от 60 °С, указывается изготовителем в маркировке вентилятора.

Примечание - Испытания показали, что при значениях температуры газа выше 60 °С опасность воспламенения значительно возрастает.

Электрические двигатели и другие компоненты, чувствительные к температуре, должны быть внимательно рассмотрены, поскольку их конструкция обычно рассчитана на максимальную температуру окружающей среды 40 °С.

4.5 Механические параметры конструкции

Вентиляторы, предназначенные для эксплуатации в потенциально взрывоопасных средах, должны иметь жесткую конструкцию. Корпус, поддерживающие конструкции, предохранительные решетки, устройства защиты и другие внешние части соответствуют требованиям, если наблюдается незначительная деформация после испытания на удар в наиболее повреждаемой точке, при которой двигающиеся части не взаимодействуют с корпусом. Испытания должны проводиться в соответствии с ГОСТ 31441.1.

Все рабочие колеса, подшипники, роликовые блоки, диски охлаждения и т. д. должны быть надежно закреплены в правильном положении.

Требование не распространяется на подшипники, являющиеся частью электрических двигателей, которые должны отвечать требованиям, указанным в ГОСТ Р МЭК 60079-0.

4.6 Корпус

4.6.1 Общие требования

Корпус вентилятора должен быть жесткой конструкции для соответствия требованиям к механическим параметрам согласно 4.5.

Для вентиляторов с приводным двигателем более 11 кВт необходим корпус, сваренный непрерывным швом, или литой корпус.

4.6.2 Газонепроницаемость

Если корпус не сварен непрерывным швом и не испытывался на утечки, изготовитель должен учитывать вероятность утечки в компоненты и оборудование, прилегающее к внешней части вентилятора.

Примечание - Если горючие вещества должны перемещаться или присутствуют снаружи, то изготовитель должен предоставить потребителю информацию о возможных утечках в конструкции вентилятора.

4.7 Рабочие колеса

Конструкция рабочих колес должна быть прочной и выдерживать пробное испытание как минимум при 1,15-кратной максимальной рабочей скорости вращения в течение не менее 60 с без возникновения риска воспламенения, то есть рабочее колесо не должно соприкасаться с корпусом.

Рабочее колесо, сваренное непрерывным швом или целиком отлитое, для которого средние рассчитанные первичные значения нагрузки составляют менее 2/3 установленных нагрузок, должно считаться соответствующим требованиям к твердой конструкции без проведения испытаний.

Рабочие колеса должны обеспечивать сохранение своих характеристик в пределах допуска в диапазоне значений расчетной температуры (согласно 4.15).

4.8 Материалы для вращающихся и неподвижных частей вентиляторов

4.8.1 Общие требования

Из-за возможного трения, возникающего при нормальном режиме эксплуатации, или из-за неисправностей, или даже редкой неисправности, потенциальные области соприкосновения между вращающимися элементами и неподвижными компонентами должны изготавливаться из материалов, при использовании которых минимально снижается риск воспламенения в результате фрикционного трения или соударении. Следует учитывать, что слои воспламеняемых или невоспламеняемых материалов могут вызвать увеличение опасности воспламенения (см. приложение С).

Допустимый воздушный зазор может сократиться по многим причинам, что в большинстве конструкций трудно измерить или контролировать. Поскольку за вентиляторами обычно не ведется постоянный контроль, соприкосновение между вращающимися и неподвижными частями может продолжаться в течение относительно длинных интервалов времени. Даже редкое или непродолжительное воздействие взрывоопасной среды будет представлять высокую степень опасности, которая должна быть снижена до минимума при выборе пар материалов.

Все сплавы должны содержать не более чем 15 % алюминия от массовой доли и должны иметь гомогенную структуру. Краски и покрытия должны содержать не более чем 10 % алюминия от массовой доли.

4.8.2 Допустимые пары материалов

При конструировании вентиляторов с защитой от воспламенения должна применяться одна из пар материалов, указанная для взрывоопасных групп газа IIA и IIВ в таблице 1 или для водорода в таблице 2 для различных уровней взрывозащиты.

Пары указаны для стационарной и вращающейся трущихся частей. Материал (1) или материал (2) может быть выбран для вращающейся части, подвергающейся достаточной механической нагрузке при работе в течение расчетного срока службы вентилятора.

Материалы, применяемые для вращающихся и неподвижных частей вентилятора и допустимые для вентиляторов уровня взрывозащиты оборудования Gb, также подходят для вентиляторов уровня взрывозащиты оборудования Ga. Однако для вентиляторов уровня взрывозащиты оборудования Ga требуется применение дополнительных защитных мер.

Примечание - Многие пары материалов в таблице 1 могут вызвать воспламенение чувствительных взрывоопасных сред, если в течение достаточно долгого времени присутствует высокий уровень трения. Указанные пары были выбраны по возрастающей степени опасности воспламенения для различных применений. Для обеспечения соответствующего уровня безопасности вентилятора необходимо применять другие конструктивные меры согласно требованиям настоящего стандарта.

Таблица 1 -Допустимые пары материалов для взрывоопасных групп газа IIА и IIВ

Номер

Материал (1)

Материал (2)

Уровень взрывозащиты
оборудования

Требования
(указаны
ниже)

Примечание

Gc

Gb и Ga

1

Свинцовая латунь CuZn39Pb или судостроительная латунь CuZn39Sn

Углеродистая или нержавеющая сталь или чугун

Да

Да

2а)

a, f

2

Медь

Углеродистая или нержавеющая сталь или чугун

Да

Да

2а)

-

3

Олово или свинец

Углеродистая или нержавеющая сталь или чугун

Да

Да

2а), 4

a, b

4

Алюминиевый сплав

Алюминиевый сплав

Да

Да

1, 2b)

с

5

Алюминиевый сплав

Судостроительная латунь CuZn39Sn

Да

Да

1, 2b)

с, f

6

Алюминиевый сплав

Свинцовая латунь CuZnPb3/CuZn39Pb

Да

Да

1, 2b)

a, с

7

Сплав на основе никеля

Сплав на основе никеля

Да

Да

3, 5

 

8

Нержавеющая сталь

Нержавеющая сталь

Да

Да

4, 5

 

9

Любой другой сплав стали или чугун

Любой другой сплав стали или чугун

Да

Да

5

 

10

Любой сплав стали

Латунь

Да

Нет

2, 5, 8

 

11

Пластмасса

Пластмасса

Да

Да

6

d

12

Пластмасса

Судостроительная латунь CuZn39Sn

Да

Да

2, 6

d

13

Пластмасса

Алюминиевый сплав

Да

Да

2, 6

с, d

14

Пластмасса

Сплав на основе никеля или сплав стали на основе никеля

Да

Да

3, 6

с, d

15

Пластмасса

Нержавеющая сталь

Да

Да

2, 6

a, d

16

Пластмасса

Любой сплав стали или чугун

Да

Да

6, 9

d

17

Пластмасса

Нержавеющая сталь

Да

Да

4, 6, 9

d

18

Резина или покрытый резиной металл

Любой сплав стали или чугун, или алюминиевый сплав

Да

Да

7, 9

с, е

19

Покрытый резиной металл

Покрытый резиной металл

Да

Да

7, 9

е

Примечания

а Использование сплавов, содержащих свинец, может быть запрещено или ограничено национальными или местными органами власти, если это не приемлемо с экологической точки зрения.

b Использование олова может быть единственной допустимой комбинацией в присутствии взрывоопасной пыли (смотрите ниже), чтобы соответствовать требованиям к температуре согласно ГОСТ 31438.1. Олово будет плавиться до того, как будут достигнуты опасные значения температуры нагретой поверхности. С другой стороны, низкое значение температуры плавления может представлять опасность воздействия на подслоенные материалы.

с Алюминиевые сплавы, содержащие примерно 12 % кремния, например силумин, соответствуют с точки зрения защиты от возникновения искр и коррозии, поскольку сплав является хрупким и ломается при взаимодействии и таким образом предотвращает возникновение трения.

d Если выбрана пластмасса, следует учитывать, что не все виды пластмассы допустимы к применению из-за низкой теплопроводности пластмасс, которая приводит к нагреву поверхностей. Использование пластмасс в рабочих колесах может быть ограничено из-за ее механических свойств (согласно 4.12).

е Резина может быть натуральной или синтетической. Минимальная толщина слоя резины должна быть в соответствии со значениями таблицы 3.

f Судостроительная латунь иногда имеет формулу CuZn38Sn1 или CuZn39Sn.

Требования в соответствии с таблицей 1:

1) Должны быть приняты меры по предотвращению оседания на поверхностях частиц или чешуек ржавчины, которые могут контактировать друг с другом.

2) а) Не допускается использовать краску, содержащую алюминий, из-за опасности возникновения искр при термитных реакциях (ГОСТ 31438.1);

b) не допускается использовать краску, содержащую оксид железа, из-за опасности возникновения искр при термитных реакциях (ГОСТ 31438.1).

3) Сплав на основе никеля должен содержать минимум 60 % никеля от массовой доли. Сплав на основе никеля или сплав стали на основе никеля должен содержать максимум 4 % магния, титана, циркония в сумме от массовой доли. Все сплавы должны иметь однородную структуру.

Примечание - Даже если сплавы являются неискрящими, они могут легко образовывать точки нагрева из-за трения и низкой теплопроводности.

4) Нержавеющая сталь должна быть аустенитной степени и немагнитной. При механической обработке магнитное поле не должно воздействовать на сталь.

5) Указанные пары могут вызвать воспламенение взрывоопасных сред при возникновении трения, что должно быть включено в техническую документацию, предоставляемую потребителю. Указанные пары могут применяться только, когда обеспечивается наличие зазоров между вращающимися и неподвижными частями после ввода в действие и во время эксплуатации. Для обеспечения необходимого зазора инструкции изготовителя должны включать в себя меры по техническому обслуживанию согласно 7.2.

Указанные пары должны быть ограничены вентиляторами, имеющими мощность двигателей 5,5 кВт и относительную скорость скольжения между неподвижными и вращающимися частями не выше 40 м/с, при условии обеспечения зазоров согласно 4.15 во всех возможных местах соприкосновения. При более высоких значениях мощности двигателя или относительной скорости скольжения должны быть приняты дополнительные меры контроля зазора (например, контроль за вибрацией согласно 4.10).

В данных парах материалов аустенитная сталь должна содержать не менее 16,5 % хрома от массовой доли (см. [32], [39]) для снижения до минимума вероятности возникновения механических искр из-за вибрации.

Примечание - Даже если данный сплав не приводит к возникновению искр, в случае вибрации он может легко привести к нагреву поверхностей из-за низкой теплопроводности.

6) Пластмассовые компоненты должны соответствовать требованиям ГОСТ 31441.1. В технической документации изготовитель должен предоставить подробную информацию о спецификации материалов, теплостойкости и электростатических свойствах. Пластмассовые материалы для вентиляторов уровня взрывозащиты оборудования Ga и Gb не должны воспламеняться при кратковременном воздействии пламени при проведении испытания согласно 4.23.

7) Если рабочее колесо покрыто резиной, то окружная скорость должна быть ограничена до 70 м/с.

8) Указанная комбинация может использоваться, только если латунь CuZn37 используется для неподвижной части.

9) В вентиляторах пластмасса или резина может использоваться для изготовления облицовки, колец или колодок с зажимами, или в качестве продолжения металлических частей (например, продолжение металлической лопасти), или для изготовления целикового рабочего колеса, корпуса или и того, и другого. Во всех случаях должны обеспечиваться минимальные зазоры согласно 4.15 между вращающимися и неподвижными частями.

Таблица 2 -Допустимые пары материалов для газовых смесей, содержащих водород

Номер

Материал 1

Материал 2

Требования
таблицы
1
(указаны выше)

Примечание
таблицы 1

1

Сталь или сплав стали

Олово или свинец

а, b

2

Никель или сплав никеля

Олово или свинец

3

а, b

3

Чугун

Олово или свинец

а, b

4

Алюминиевые сплавы

Олово или свинец

1, 2b

а, b, с

5

Любые из выше перечисленных материалов

Пластмасса или металл, покрытый резиной

6, 7

d, е

6

Стальные сплавы, сплавы на основе никеля, чугун

Мягкие сплавы латуни, медь, пластмасса или резина

1, 2, 3, 4, 6, 7

а, с, d

7

Алюминий или сплав алюминия

Мягкие сплавы латуни, медь, пластмасса или резина, алюминий или сплав алюминия

1, 2, 3, 4, 6, 7

а, с, d, е

8

Пластмасса

Пластмасса

6

d

4.9 Облицовка или продолжение лопасти

При применении облицовки или продолжений лопастей комбинация материалов должна соответствовать одной из пар, указанной в 4.8.2.

Если облицовка или продолжения лопастей используют для защиты от воспламенения, они должны иметь достаточную толщину или длину, которая выдерживает соударение или трение значительный период времени.

Минимальная толщина облицовки приведена в таблице 3.

Таблица 3 - Минимальная толщина облицовки

Мощность
двигателя, Р, кВт

Толщина для уровня взрывозащиты
оборудования
Gb, мм

Толщина для уровня взрывозащиты
оборудования
Gc, мм

Металлическая
накладка

Неметаллическая
накладка

Металлическая
накладка

Неметаллическая
накладка

Р ≤ 11

2

3

1

2

11< Р ≤ 90

3

5

2

4

90< Р ≤ 250

4

6

3

5

250 < Р

5

8

4

7

Продолжение лопастей должно иметь длину не менее 3 % соответствующего диаметра в точке контакта, но не должно быть менее 5 мм в осевом или радиальном направлении, и превышать 40 мм.

Для вентиляторов уровня взрывозащиты оборудования Gb и Ga, в которых используется резина или пластмасса в качестве продолжения лопасти на одной или обеих возможных контактных поверхностях, расстояния между вращающимися и неподвижными частями должно быть не менее 20 мм.

Облицовка должна надежно прилегать к основному материалу, например приварена, приклепана или вулканизирована с применением совместимых материалов. Между облицовкой и основным материалом не должно возникать гальванических реакций.

При применении пластмассы необходимо учитывать ее низкую теплопроводность, которая приводит к нагреву. Механические или электростатические искры могут зависеть от применяемого наполнителя. Применяемые пластмассовые материалы должны соответствовать требованиям 4.12.

Примечания

1 Для соответствия требованиям 4.12 смотрите 7.2, перечисление f.

2 Использование облицовки может обеспечить защиту только ограниченный промежуток времени.

4.10 Вибрация

Вращающаяся деталь должна иметь класс точности балансировки согласно требованиям ГОСТ 31350.

Законченный вентилятор должен отвечать требованиям к уровням вибрации в соответствии со своим размером и назначением (см. ГОСТ 31350, подразделы 8.3 и 8.4).

Изготовитель должен проинформировать потребителя о недопустимых скоростях вращения вентилятора. Если метод установки, например соединений входных и выходных трубопроводов, может повлиять на степень вибрации, изготовитель должен включить информацию по допустимому методу установки в информацию для потребителя.

Примечания

1 Устойчивый режим работы достигается за счет разности давления между рабочей точкой и точкой остановки или с помощью соответствующих методов контроля.

2 Эксплуатационные характеристики изготовителя основаны на испытаниях по [27] и [28], в которых определены требования к трубопроводу, гарантирующему равномерную скорость на входе вентилятора.

4.11 Заземляющие токоведущие части

Заземляющие токоведущие части должны соответствовать требованиям ГОСТ 31441.1.

Примечание - Обычно достаточно заземлять неподвижные части вентилятора. Если есть нарастание напряжения во вращающихся частях, достаточно заземлить через металлические подшипники качения для предотвращения воспламенения из-за электрических искр, но это может привести к преждевременной неисправности подшипника (см. приложение В).

4.12 Электростатические разряды

Конструкция вентиляторов должна исключать опасность воспламенения из-за электростатических разрядов.

Конструкция должна соответствовать требованиям ГОСТ 31441.1.

4.13 Электрическое оборудование

Все электрическое оборудование (то есть приводные двигатели и любое управляющее оборудование, поставляемое изготовителем вентилятора как часть вентилятора в сборе) должно соответствовать требованиям к уровню взрывозащиты оборудования согласно ГОСТ Р МЭК 60079-0 или [44] и соответствовать заданным условиям окружающей среды (значениям давления и температуры) в месте установки.

Должно обеспечиваться необходимое охлаждение приводных двигателей или, если двигатели не поставляются изготовителем вентиляторов, их устройства крепления. Не допускается блокировать вентиляционные отверстия. Не допускается превышать максимальное значение заданной температуры эксплуатации двигателя. Если для предотвращения превышения максимального значения температуры поверхности двигателя используют устройства тепловой защиты, то инструкции изготовителя вентиляторов должны содержать информацию для потребителя, каким образом устройства тепловой защиты должны быть соединены в схему управления.

4.14 Предотвращение осаждений внутри вентиляторов

Различные виды пыли, тумана и капель находятся во взвешенном состоянии в потоке воздуха. Даже небольшие количества примесей могут со временем образовывать слои горючего и негорючего материалов в вентиляторе и налипать на вращающиеся части. Даже нормальный воздух окружающей среды может содержать значительные воздушные частицы для образования слоев, которые могут увеличить опасность воспламенения.

Образование опасных слоев в корпусах вентилятора и на поверхности двигателей должно предотвращаться за счет соответствующей конструкции. Необходимо обеспечить легкий доступ к корпусу для проверки и чистки (см. ГОСТ 31438.1).

Конструкция рабочего колеса и корпуса должна снижать до минимума осаждение пыли в нормальных условиях. С этой точки зрения важно правильно выбрать соответствующую форму лопаток. Необходимо обеспечить соответствующие средства (например, легкодоступные двери для проверки), чтобы можно было легко осуществлять действия по проверке и очистке.

Вентиляторы уровня взрывозащиты Gb и Ga: если пыль способна образовать толстые слои, необходимо принять соответствующие меры (например, контроль за вибрацией, интервалы технического обслуживания) для устранения рисков, вызванных потенциальными скоплениями.

4.15 Зазор между вращающимися компонентами и корпусом вентилятора

Зазор между вращающимися компонентами и корпусом вентилятора является самой важной мерой безопасности по снижению опасности воспламенения вентиляторов. Минимальные значения зазоров между вращающимися частями (например, рабочим колесом) и неподвижными частями (например, корпусом вентилятора) должны быть равны по крайней мере 1 % соответствующих диаметров точки контакта (диаметр вращающейся части в точке, где она может контактировать с неподвижной частью) законченных компонентов, но должны быть не менее 2 мм в осевом и радиальном направлениях и не более 20 мм. Значение зазора может быть уменьшено до 10 % диаметра вала с минимальным значением 2 мм и максимальным значением 13 мм. Данные требования не распространяются на уплотнения вала.

Инструкции изготовителя должны содержать при необходимости соответствующие требования по проведению технического обслуживания для поддержания зазора.

Примечания

1 Минимальное значение зазора указано с учетом всех возможных допусков при изготовлении и монтаже.

2 Осевой зазор двигателя может быть ограничен, например с помощью волнистых шайб.

3 Зазор может изменяться при вращении, под воздействием температуры и вибрации, при натяжении приводного ремня.

4.16 Уплотнения валов

Уплотнения валов должны соответствовать требованиям ГОСТ 31441.5.

Если другие меры не применяются (например, продувка азотом), пары материалов, используемые для валов и уплотнений корпуса, должны соответствовать 4.8 и зазоры между валом и уплотнением корпуса должны соответствовать 4.15.

4.17 Подшипники

Подшипники должны соответствовать требованиям ГОСТ 31441.5.

4.18 Системы передачи электроэнергии

Системы передачи электроэнергии должны соответствовать требованиям ГОСТ 31441.5.

4.19 Сцепления и соединения

Сцепления и соединения должны соответствовать требованиям ГОСТ 31441.5.

4.20 Тормоза и тормозные системы

Тормоза и тормозные системы должны соответствовать требованиям ГОСТ 31441.5.

4.21 Устройства крепления рабочее колесо-вал

Устройства крепления рабочего колеса-вала должны иметь такую конструкцию, чтобы не было перемещения и соединение было надежно закреплено от ослабления. Ниже приведен пример соответствия данным требованиям.

Пример

Для двигателей мощностью свыше 15 кВт рекомендована принудительная блокировка, если рабочее колесо закреплено между фланцем (муфтой) на валу и устройством блокировки или валом с резьбой с блокирующим винтом и шайбой. В этом случае параллельный ключ должен быть также установлен между ступицей рабочего колеса и вала. Допускается использовать самостопорящуюся гайку на конце вала в сочетании с параллельным валом и каналом, вал должен соединять фланец (муфту), напротив которого будет располагаться рабочее колесо. Конусное соединение рабочего колеса с валом не рекомендовано для вентиляторов с мощностью двигателя 15 кВт. Вентиляторы уровня взрывозащиты оборудования Gc свыше 15 кВт необходимо дополнить втулкой на конце вала, установить в них закрывающую шайбу, удерживаемую установочным винтом во втулке, и заблокировать на месте стопорной шайбой.

4.22 Коррозия

Коррозия компонентов вентиляторов может в некоторых случаях привести к возникновению опасности воспламенения.

Материалы конструкции должны быть защищены от коррозии, воздействий окружающей среды и определенной перемещаемой среды с помощью соответствующей краски или других покрытий. Необходимо учитывать гальванические и другие химические реакции между материалами конструкции и газом. Вероятность того, что вентилятор будет подвергаться воздействию других коррозирующих химических элементов газа, должна учитываться изготовителем вентилятора и потребителем.

Если возможно присутствие частиц пыли, необходимо учитывать вероятность возникновения трения.

4.23 Огнестойкость

Материалы, используемые для рабочего колеса и корпуса вентилятора не должны воспламеняться при кратковременном воздействии (пропаном) пламенем газовой горелки Бунзена примерно 150 мм длиной в течение 30 с без дополнительной подачи воздуха. Компоненты могут быть только частично разрушены без возникновения самоподдерживающегося горения.

4.24 Защита от посторонних частиц

Вентилятор должен быть защищен от проникновения посторонних частиц не ниже IP20 в соответствии с ГОСТ 14254.

Если вентилятор сконструирован для установки и эксплуатации без дополнительных входных или выходных трубопроводов, должна быть установлена защита на входе/выходе, которая соответствует требованиям [45] и [41]. Если вентилятор сконструирован для эксплуатации с дополнительным входным или выходным трубопроводом, инструкции по применению должны информировать потребителя об опасности проникновения посторонних частиц.

5 Дополнительные требования для вентиляторов уровня взрывозащиты оборудования Gb

5.1 Общие требования

Все требования для вентиляторов уровня взрывозащиты оборудования Gc должны соответствовать требованиям к вентиляторам уровня взрывозащиты оборудования Gb с дополнительными требованиями и/или поправками, указанными ниже. Вентиляторы уровня взрывозащиты оборудования Gb для газа и пыли должны быть сконструированы таким образом, чтобы вращающиеся части были защищены от контакта с неподвижными частями даже в случае неисправности. Должен применяться соответствующий вид защиты от воспламенения:

а) конструкционной безопасностью «с» согласно ГОСТ 31441.1 и ГОСТ 31441.5 или

Примечание - Для вентиляторов уровня взрывозащиты оборудования Gb применяются требования 4.10;

b) контролем источника воспламенения «b» согласно ГОСТ 31441.1 и ГОСТ 31441.6.

Дополнительно должны применяться требования 5.2 и 5.3.

5.2 Устройства крепления рабочее колесо-вал

Устройства крепления рабочего колеса-вала должны иметь такую конструкцию, чтобы даже при ожидаемой неисправности не было перемещения и соединение было надежно закреплено от ослабления. Ниже приведен пример соответствия данным требованиям.

Пример

Для вентиляторов уровня взрывозащиты оборудования Gb с двигателями мощностью свыше 5,5 кВт рекомендована принудительная блокировка, если рабочее колесо закреплено между фланцем (муфтой) на валу и устройством блокировки или валом с резьбой с блокирующим винтом и шайбой. В этом случае параллельный ключ должен быть также установлен между ступицей рабочего колеса и вала. Конусное соединение рабочего колеса с валом вентилятора с двумя воздухозаборниками должно располагаться ассиметрично с помощью пружинного кольца или похожего средства для двигателей мощностью 5,5 кВт.

Примечание - Допускается использовать самостопорящуюся гайку на конце вала в сочетании с параллельным валом и каналом при условии, что вал должен соединять фланец (муфту), напротив которого будет располагаться рабочее колесо.

5.3 Вибрация

Необходимо соответствовать требованиям 4.10. Для внутренней части вентилятора уровня взрывозащиты оборудования Gb, нельзя допускать возникновение вибрации, которая может привести к контакту рабочего колеса и корпуса при ожидаемых неисправностях в соответствии с пунктом 4.2.3.

Примечание - Возникновение вибрации можно избежать за счет контроля вибрации.

Для внутренней части вентилятора уровня взрывозащиты оборудования Db обязателен контроль вибрации, поскольку присутствии пыли может вызвать нарушение баланса в рабочем колесе. Сигнальное устройство и уровни отключения должны соответствовать ГОСТ 31350. Изготовитель должен сообщить потребителю, какие части кривой характеристики вентилятора не должны использоваться.

Дополнительные требования по контролю источников воспламенения приведены в ГОСТ 31441.6.

6 Вентиляторы уровня взрывозащиты оборудования Ga
для использования с перемещаемой газовой средой

6.1 Общие требования для вентиляторов уровня взрывозащиты оборудования Ga
(в отношении входных и выходных соединений)

Для вентиляторов уровня взрывозащиты оборудования Ga необходимо проводить оценку опасности воспламенения согласно ГОСТ 31441.1.

Требования настоящего раздела применяют для вентиляторов уровня взрывозащиты оборудования Ga (в отношении входных и выходных соединений, взаимодействующих с переносимой средой). Такие вентиляторы должны иметь взрывоустойчивые корпуса, входные и выходные отверстия которых защищены пламегасителями. Если они взаимодействуют с перемещаемой средой, такие вентиляторы должны соответствовать требованиям к вентиляторам уровня взрывозащиты оборудования Gb, включая дополнения, указанные в настоящем разделе.

Требования к другим частям вентилятора зависят от уровня взрывозащиты оборудования, выбранного для данных частей.

6.2 Пламегасители

6.2.1 Общие требования

Вентиляторы должны быть снабжены встроенными или устанавливаемыми снаружи пламегасителями.

Конструкция и материалы пламегасителей должны соответствовать требованиям [43] (подразделы 5.1 - 5.4).

Пламегасители, устанавливаемые снаружи (специальный тип линейного пламегасителя), должны испытываться на давление и утечку в соответствии с требованиями [43].

Вентиляторы со встроенными пламегасителями должны испытываться на давление и утечку как целостное устройство с его встроенными компонентами пламегасителя в соответствии с требованиями [43].

Встроенные и устанавливаемые снаружи пламегасители должны испытываться на распространение пламени в соответствии с приложением А.

6.2.2 Стабилизированное горение в течение короткого времени

Внутренний пламегаситель должен быть испытан на горение в течение короткого времени в соответствии с [43] (пункт 6.3.4).

Датчики температуры должны быть установлены для измерения пламени на элементе пламегасителя и должны соответствовать требованиям [43] (пункт 6.3.4).

Если температура одного из датчиков температуры достигнет температуры, превышающей максимум на 30 К максимальную температуру эксплуатации внутреннего пламегасителя, система контроля должна в течение 30 с:

a) отключить двигатель вентилятора и

b) перекрыть подачу горючей среды (например, закрыть впускной клапан вентилятора, продуть, разбавить до необходимого уровня или продуть инертным газом).

Система контроля и управления должна предотвратить поступление потока взрывоопасной среды при горении в течение короткого времени.

6.3 Корпус

6.3.1 Общие требования

Корпус должен быть взрывоустойчивым. Взрывоустойчивость достигается за счет выполнения требований [5]. Это требование также выполняется, если на корпусе не присутствует постоянной деформации после испытаний на распространение пламени согласно приложению А.

6.3.2 Газонепроницаемость

Для проверки газонепроницаемости испытание на давление должно проводиться в соответствии с [46], категория Е, с выходными и входными отверстиями и уплотнениями вала, закрытыми заглушками. Не допускаются заметные утечки.

7 Информация для потребителя

7.1 Общие требования

В дополнение к информации в соответствии с ГОСТ 31441.1 необходимо указать:

a) информацию по соединению контролирующих устройств в контрольную цепь двигателя;

b) информацию о степенях утечки (при необходимости);

c) специальные точки подъема (при необходимости).

7.2 Сопроводительная документация

В дополнение к общим требованиям, указанным в 7.1, поставщик должен предоставить потребителю:

a) инструкции по отгрузке, в некоторых случаях включающие в себя рекомендации по специальным подъемным устройствам, разработанным для снижения до минимума деформации оборудования;

b) инструкции по хранению. Специальные инструкции, связанные с хранением оборудования;

c) руководство по установке и наладке вентилятора. Полная и подробная информация, включающая в себя все стадии, необходимые для правильной установки вентилятора. Поскольку вентилятор может быть установлен любым персоналом, руководство должно быть понятно изложено на национальном языке страны, в которой производится установка. Руководство должно включать в себя (при необходимости):

1) общую информацию по установке;

2) проверки перед установкой;

3) краткую методику установки;

4) методику установки;

5) проверки перед запуском;

6) проверки по вводу в действие;

7) таблицу рекомендованных значений усилия затяжки болтов;

8) информацию о субподрядчиках и инструкции;

9) минимальное и максимальное значения скоростей потока воздуха, которые необходимы для поддержания номинальных значений предельной температуры поверхности;

10) специальную информацию для обеспечения необходимого зазора для пар материалов в соответствии с таблицей 1 (требование номер 5).

Руководство должно включать в себя ряд форм, специально разработанных для концентрации внимания установщика на ключевых моментах. Данные формы должны составлять основу перечня вопросов для проверки системы качества. В соответствии с формами измерения группы установки и записанные размеры должны позволять проводить непосредственное сравнение с техническими условиями. Заказчик должен официально подписать данные формы и передать их поставщику вентилятора;

d) инструкция по эксплуатации и техническому обслуживанию. Полная и подробная информация, включающая в себя все стадии, необходимые для эксплуатации и технического обслуживания вентилятора. Инструкция должна быть понятно изложена на национальном языке страны, в которую поставляется вентилятор. Инструкция должна включать в себя (при необходимости):

1) рабочие характеристики;

2) подробное описание;

3) информацию по охране здоровья и безопасности;

4) информацию по эксплуатации вентилятора;

5) информацию по техническому обслуживанию, включая предупредительные и корректирующие действия;

6) обнаружение и устранение неисправностей;

7) информацию о субподрядчиках;

8) категорию применения вентиляторов (BV-1 и BV-5) в соответствии с ГОСТ 31350 с учетом уровня вибрации (согласно 4.10);

9) информацию о том, является ли корпус вентилятора практически герметичным;

10) специальную информацию для обеспечения необходимого зазора для пар материалов в соответствии с таблицей 1 (требование номер 5);

e) ограничения для частиц. Изготовитель вентилятора должен предоставить потребителю информацию о любых ограничениях по проникновению посторонних частиц;

f) контрольные проверки, обслуживание и очистку. В руководстве по эксплуатации и техническому обслуживанию должна содержаться информация для потребителя, что минимальные воспламеняющие свойства вентиляторов и их вспомогательных средств могут поддерживаться только при проведении контрольных проверок, обслуживания и очистки. Инструкция должна включать в себя:

1) информацию об интервалах между контрольными проверками, которые должны быть установлены в соответствии со специальными условиями эксплуатации. Например, время между проверками необходимо сократить, если вентилятор подвержен воздействию пылевой и коррозионной среды. Необходимо учитывать непредвиденные значения шума, температуры и вибрации. Из-за возникновения значительных проблем вентилятор должен быть изъят из эксплуатации и проверен;

2) перечень рекомендованных запасных частей с необходимой информацией по обслуживанию и рекомендованными интервалами (визуальной) проверки;

3) специальную информацию об изнашивании и разрыве компонентов (например, подшипников, ремней в приводах и гибких соединений). Необходимо проверять правильность натяжения в приводах для устранения проскальзывания или воздействия чрезмерной силы на части привода;

4) информацию о необходимости проверять лопасти вентилятора на повреждения, которые могут привести к разбалансировке движущихся частей;

5) информацию о необходимости проверять уплотнения, являющиеся частью корпуса, на повреждения и замены (при необходимости), если вентилятор имеет различные уровни взрывозащиты внутри и снаружи;

6) информацию о необходимости регулярно проверять установленные контрольные устройства (например, системы контроля температуры, вибрации и температуры подшипников или похожие системы), таким образом позволяя проводить проверки согласно плану потребителя при необходимости более частых проверок;

7) требования о проведении регулярной очистки с соответствующими интервалами для применения, где вероятны образования слоев пыли на поверхности на вентиляторе и его компонентах.

7.3 Маркировка

Маркировка должна соответствовать требованиям ГОСТ 31441.1.

В дополнение маркировочная табличка должна содержать следующую информацию о вентиляторе:

a) номинальные параметры (давление и температура корпуса) (при необходимости);

b) максимальную температуру на входе (при необходимости);

c) скорость согласно 4.4.3 для вентиляторов с переменной скоростью.

Приложение А
(обязательное)

Дополнительные требования для вентиляторов уровня
взрывозащиты оборудования
Ga

А.1 Общие требования

В дополнение к требованиям, предъявляемым к вентиляторам уровня взрывозащиты оборудования Gb, вентиляторы уровня взрывозащиты оборудования Ga должны соответствовать требованиям настоящего приложения.

Испытание давлением согласно А.2 является контрольным испытанием (которое проводится на всех изготавливаемых образцах). Испытание на распространение пламени согласно А.3 является типовым испытанием.

А.2 Испытание давлением

Вентиляторы со встроенными пламегасителями должны быть испытаны как единое оборудование с подсоединенными элементами пламегасителей.

Вентиляторы с внешними пламегасителями должны испытываться:

1) как единое оборудование с подсоединенным пламегасителем;

2) без пламегасителя. Внешний пламегаситель должен быть испытан в соответствии с [43] (подраздел 5.5).

Испытание может проводиться на корпусе с установленными компонентами рабочего колеса-вала или без них.

Все входные и выходные отверстия и все другие соединения и отверстия оболочки вентилятора должны быть закрыты заглушками или другим способом. Испытание давлением должно проводиться:

a) водой и другой подходящей жидкостью (испытание может проводиться газом при принятии дополнительных мер по обеспечению безопасности);

b) при максимальном испытательном давлении, равном не менее 10 × р0 не менее 3 мин (р0 - максимальное давление при эксплуатации, которое равно произведению значения максимального абсолютного давления во всасывающем сопле 1,1 бара на значение увеличения давления взрыва. При испытании не должно наблюдаться постоянных деформации и утечки.

А.3 Испытание на распространение пламени

Вентиляторы со встроенными или внешними пламегасителями должны быть испытаны согласно методике испытаний, указанной в настоящем разделе. Испытательное оборудование изображено на рисунке А.1.

1 - подача смеси; 2 - вывод смеси; 3 - гидравлический клапан; 4 - точки поджога; 5 - внутренний
пламегаситель; 6 - внешний пламегаситель; 7 - датчик воспламенения; 8 - датчик давления
(8а) рабочее давление и (8b) давление взрыва; 9 - испытываемое оборудование

Рисунок А.1 - Испытательное оборудование для испытания на распространение пламени

Номинальный диаметр трубопровода не должен быть больше диаметра соединения пламегасителя. Устройства поджига должны быть установлены на входном и выходном отверстиях вентилятора.

Испытания должны проводиться с испытательными смесями в соответствии с [43] (пункт 5.8.2).

Испытательное оборудование должно быть заполнено газовоздушной смесью.

Испытания должны проводиться при максимальной скорости вращения вентилятора, позволяющей смеси циркулировать при открытом гидравлическом клапане.

Испытательное оборудование должно быть заполнено газовоздушной смесью до тех пор, пока не будет достигнуто максимальное допустимое значение давления во всасывающем сопле вентилятора.

Затем необходимо остановить подачу смеси и произвести воспламенение смеси.

Необходимо проводить следующие испытания: каждые испытания проводятся два раза для каждого корпуса с воспламенением во всасывающем сопле и два раза - воспламенением в выходном сопле:

- гидравлический клапан полностью открыт, температура смеси соответствует температуре окружающей среды;

- гидравлический клапан закрыт (приблизительно на 80 %) так, что достигнуто повышение максимального допустимого давления в вентиляторе, но поддерживается достаточная скорость воздуха, температура смеси соответствует температуре окружающей среды;

- гидравлический клапан полностью открыт, температура смеси соответствует максимальной допустимой температуре во всасывающем сопле (обычно 60 °С), вентилятор разогрет так, что температурный режим в вентиляторе находится в установившемся режиме, максимальная температура газа - в выходном сопле;

- гидравлический клапан закрыт (приблизительно на 80 %) так, что достигнуто повышение максимального допустимого давления в вентиляторе, но поддерживается достаточная скорость воздуха, температура смеси соответствует температуре во всасывающем сопле (обычно 60 °С), вентилятор разогрет так, что температурный режим в вентиляторе находится в установившемся режиме, максимальная температура газа - во выходном сопле.

Не должно произойти распространения пламени во входных или выходных частях в каждом из 16 проводимых испытаний.

Приложение В
(справочное)

Перечень технических требований по безопасности и/или защитных средств

В.1 Общие положения

Перечни (В.2 - В.4) приведены для изготовителей для проверки соответствия со всеми соответствующими частями настоящего стандарта.

В.2 Все уровни взрывозащиты оборудования

a) предельные значения температуры, см. 4.4;

b) испытание на удар (движущихся частей, взаимодействующих с корпусом) согласно ГОСТ 31441.1,

c) непроницаемость корпуса, см. 4.6;

d) рабочие колеса, см. 4.7;

e) допустимые пары материалов, см. 4.8;

f) ограничение вибрации, см. 4.10;

g) предотвращение осаждений или образования слоев в корпусах вентиляторов и на поверхности двигателей, см. 4.14, и легкий доступ для проверки и очистки корпуса, см. ГОСТ 31438.1,

h) зазор между вращающимися компонентами и корпусом вентилятора, см. 4.15.

Примечание - При эксплуатации центробежных вентиляторов в конфигурации 3-6-7-11-14-17-18-19 [46] (таблицы 6 и 7) (рабочее колесо, установленное на вал, движущийся на подшипниках на каждой стороне корпуса), переносящих горячие газы, которые устанавливаются в холодных условиях, будет происходить движение колеса по оси от неподвижного подшипника к свободной опоре из-за растягивания вала;

i) уплотнения валов, см. 4.16;

j) подшипники, см. 4.17;

k) системы передачи электроэнергии, сцепления и соединения, тормоза и тормозные системы, см. 4.18, 4.19 и 4.20;

l) устройства крепления рабочее колесо - вал, см. 4.21;

m) ремни приводов, см. перечисление f, пункт 3;

n) коррозия, см. 4.22;

о) огнестойкость, см. 4.23;

р) защита от посторонних частиц, см. 4.24;

q) электрическая установка, см. [14];

r) двигатели и другое электрооборудование, включая достаточное охлаждение воздуха для двигателей и соответствующие вентиляционные отверстия (см. 4.13), в соответствии с уровнем взрывозащиты оборудования,

s) электростатические разряды, см. 4.12.

В.3 Уровень взрывозащиты оборудования Gb и Db для газа и пыли

a) документация, см. раздел 7;

b) корпуса, вал и подшипники, см. раздел 5;

с) двигатели приводов, см. 7.2 (перечисление f, пункт 3);

d) газонепроницаемость, см. 4.6.2.

В.4 Уровень взрывозащиты оборудования Ga для газа

В дополнение к В.2 и В.3:

a) пламегасители, см. 6.2 и приложение А;

b) корпуса, см. 6.3.

Приложение С
(справочное)

Примеры типов вентиляторов с минимальными характеристиками воспламенения

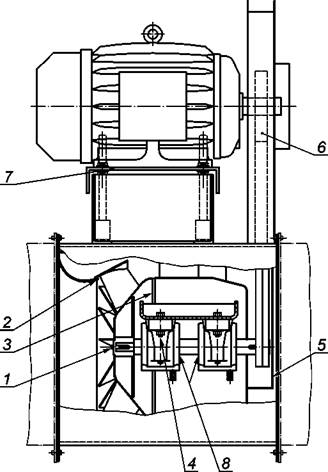
1 - верхняя часть лопасти; 2 - ступица рабочего зазора корпуса основы двигателя внутреннего
вентилятора. Потенциальная зона возникновения трения (искрения); 3 - эксплуатационный зазор
лопастей кронштейна опоры двигателя внутреннего вентилятора. Потенциальная зона возникновения
искрения; 4 - внутреннее кольцо корпуса рабочего колеса, защищающее от возникновения искрения и
показанное шире, чем размер осевых лопастей; 5 - соединение двигателя, расположенное на монтажном
фланце с крепежными деталями, затянутыми и механически заблокированными; 6 - корпус рабочего
колеса, защищенный затянутыми крепежными деталями и расположенными с несколькими штырьками

Рисунок С.1 - Осевой вентилятор с фиксированным шагом лопастей и впускным отверстием воздуховода
для уровней взрывозащиты оборудования Gb и Gc

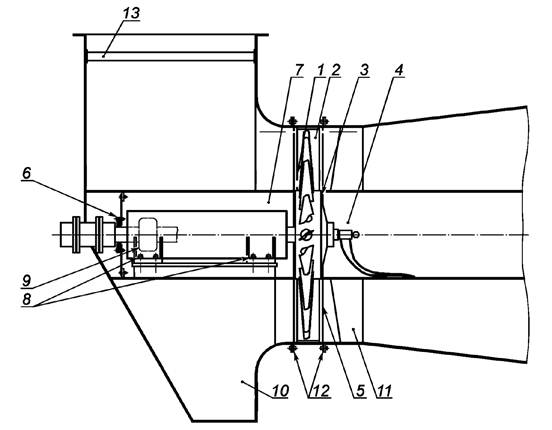
1 - ступица рабочего колеса к рабочему зазору осевого корпуса (впускная сторона); 2 - ступица
рабочего колеса к рабочему зазору осевого корпуса (нагнетательная сторона); 3 - кольцо, защищенное от
возникновения искрения, установленное внутри корпуса рабочего колеса; 4 - место вероятного
возникновения искрения (место нагрева) на вращающейся части на ступице рабочего колеса; 5 - место
вероятного возникновения искрения между лопастями и низходящими направляющими лопастями.
Необходимо соблюдать соответствующий зазор; 6 - место вероятного возникновения искрения (место
нагрева) между уплотнением вала и главного вала ротора вентилятора; 7 - место вероятного
возникновения искрения (место нагрева) между ступицей рабочего колеса и блока подшипника ротора;
8 - крепежные детали блока подшипника, затянутые и механически заблокированные. Кронштейн корпуса
вентилятора к цокольной поддерживающей корпус стене также должен быть снабжен штырями; 9 -
необходимы меры предосторожности на защите ротора или вкладыше подшипника для необходимого
контроля осевого положения ротора; 10 - место вероятного возникновения искрения между стойками
несущей опоры ротора и/или входной лопастью. Необходимо соблюдать соответствующий зазор;
11 - нисходящие направляющие лопасти; 12 - корпус рабочего колеса должен быть надежно прикреплен к
корпусам восходящего и нисходящего потоков затянутыми крепежными деталями. Чтобы предотвратить
перемещение и для правильного расположения, предусматриваются штырьки; 13 - любые ребра
восходящих пересекающихся воздуховодов должны быть достаточно жесткими, чтобы предотвратить
возникновение разрушающей вибрации из-за потока перемещаемой среды. Дополнительно необходимо
проверить соединение со стеной воздуховода на прочность соединения

Рисунок С.2 - Осевой вентилятор с переменным шагом впускного отверстия воздуховода

1 - рабочее колесо, жестко закрепленное на валу вентилятора; 2 - место вероятного возникновения
искрения между направляющим устройством впускного потока и рабочим колесом. На рисунке показана
медная верхняя часть, снижающая до минимума воспламенение на направляющем устройстве; 3 - место
вероятного возникновения искрения между рабочим колесом и центральным направляющим
устройством нисходящего потока. На рисунке показана планка, снижающая до минимума
воспламенение, установленная на неподвижный компонент; 4 - подшипники ротора с закрепленными
крепежными деталями. Крепежные детали механически заблокированы и (при необходимости)
используются штыри для предотвращения смещения ротора. Если невозможно установить штыри из-за
ограниченного пространства, необходимо уделить особое внимание зазору для болтов в корпусе
подшипников и опоре; 5 - корпус конвейерной ленты должен быть изготовлен из материала с
минимальными характеристиками воспламенения (например, медь) или покрыт материалом,
предотвращающим возникновение искрения; 6 - ограждение ременного привода должно быть
изготовлено или покрыто материалом, предотвращающим возникновение искрения; 7 - скобы двигателя
должны быть зафиксированы затянутыми крепежными деталями с функцией механической блокировки.
Если возможно, двигатель закрепляется на штыри в положение для ограничения возможного движения;
8 - необходимо уделить внимание характеристикам, снижающим опасность воспламенения на
уплотнениях вала подшипника

Рисунок С.3 - Вентилятор с ременным приводом, расположенный в трубопроводе,
для смешенного потока сред

1 - место вероятного возникновения искрения между направляющим устройством впускного потока
и рабочим колесом; 2 - соединение рабочего колеса; 3 - вал к зоне уплотнения корпуса; 4 - зона вала
подшипника; 5 - защитный кожух соединительной муфты с характеристиками предотвращения
искрения; 6 - зона вала двигателя; 7 - направляющая лопасть восходящего потока рабочего колеса;
8 - размер верхней части лопасти - характеристика для предотвращения искрения на направляющей
лопасти; например медная вставка; 9 - впускное кольцо рабочего колеса; 10 - боковая пластина или
кожух рабочего колеса; 11 - ступница рабочего колеса, прикрепленная к валу; 12 - ступница соединения
вала рабочего колеса; 13 - ступенька на валу для правильного расположения ступницы рабочего колеса;
14 - блокирующее устройство рабочего колеса; 15 - выходной корпус вентилятора; 16 - пластины на
уплотнении вала, изготовленные из неискрящего материала, например медь; 17 - крепежные детали
уплотнения, изготовленные из неискрящего материала; 18 - вал к элементам уплотнения корпуса,
изготовленные из неискрящего материала, например тонкий волокнистый материал уплотнения сосудов
под давлением, углеродистая сталь и т. д; 19 - достаточный рабочий зазор между боковой стенкой
корпуса и валом; 20 - ступица рабочего колеса; 21 - противоконтактная полоса, прикрепленная к
внутренней стенке корпуса в направлении крепежных болтов ступицы рабочего колеса; 22 - внутренняя
неискрящая полоса, расположенная в соответствии с внешним диаметром фланца приводной муфты (две
полосы необходимы с соединительной муфтой с разделительной прокладкой); 23 - неискрящие медные
концевые пластинки, установленные для обеспечения минимального расстояния в 3 мм от углеродистой стали

Рисунок С.4 - Центробежный вентилятор - схема расположения трубопроводов

1 - проход вала на вентиляторе; 2 - проход вала на двигатели; 3 - крышка, установленная на внешнюю сторону защиты
приводного ремня вентилятора; 4 - внутренние поверхности в приводных шкивах, покрытые материалом,
предотвращающим возникновение искрения, например медью

Рисунок С.5 - Стандартные защитные детали приводного ремня вентилятора

Приложение D
(обязательное)

Перечень основных опасностей

В настоящем приложении содержится перечень основных опасностей, опасных ситуаций и случаев в соответствии с требованиями настоящего стандарта, определенных на основе оценки опасности для данного типа машины, которые требуют выполнения действий по устранению и снижению риска. При проведении оценки риска разработчик, изготовитель или поставщик должен будет проверить, является ли данный перечень опасностей полным и пригодным для применения к конкретному вентилятору.

Согласно требованиям ГОСТ Р ИСО 12100 [42] и ГОСТ 31438.1 необходимо учесть:

a) оборудование должно соответствовать заданным параметрам механической и температурной нагрузки и способно выдерживать воздействие существующих или предполагаемых агрессивных веществ;

b) неправильное использование, которое можно ожидать;

c) возможна безопасная работа в течение предполагаемого срока службы;

d) предполагаемые условия перегрузки или отклонений от заданного назначения, которые могут привести к возникновению опасных ситуаций;

e) опасность воспламенения может значительно увеличиться при повышении температуры рабочей среды до более чем 60 °С, если содержание кислорода выше, чем объемная доля 21 %, или абсолютное давление выше 1,1 бара (в этих условиях перечень опасностей должен быть проверен и/или пересмотрен, поскольку может быть недостаточно перечисленных мер);

f) вентиляторы могут иметь различную конструкцию (например, осевые вентиляторы, вентиляторы для смешенных сред, центробежные вентиляторы, вентиляторы, монтируемые на крыше, или оконные вентиляторы). Они могут быть разного размера, способа отливки или сделаны из пластин различной толщины, с различной скоростью рабочего колеса, поглощаемой мощности, разностью давления с окружающей средой, конструкционным материалом, с прямым и непрямым приводом, различными двигателями, методами изготовления. Необходимо проверить, все ли опасности учтены или необходимо применение дополнительных методов защиты для конкретных вентиляторов.

Опасности согласно области применения настоящего стандарта перечислены в таблице D.1.

Примечание - Для других опасностей следует учитывать требования проекта [6].

Таблица D.1 - Определение опасностей и необходимые защитные меры

Номер

Потенциальный источник
воспламенения

Подраздел,
пункт, пункт
приложения

Применяемые меры для предотвращения
возникновения активного источника

1 Все уровни взрывозащиты оборудования

1.1

Повреждение при транспортировке

7.2

Инструкции изготовителя по транспортировке

1.2

Повреждение при хранении

7.2

Инструкции изготовителя по хранению

1.3

Общие воздействия окружающей среды

7.2

Инструкции изготовителя по установке:

a) значения температуры окружающей среды (примечание: возможно применение специальных требований к электрическим компонентам, если они подвержены воздействию температур свыше 40 °С);

b) влажность окружающей среды (примечание: специально для электрических компонентов);

c) загрязнение окружающей среды;

d) агрессивность окружающей среды

2 Уровни взрывозащиты оборудования Gc и Dc
(опасности и меры для достижения нормального уровня защиты)

2.1

Взрывоопасные среды с низким значением самовоспламенения из-за скоплений пыли, образующих облака или толстые слои

7.2

Инструкции изготовителя по проверке и очистке Ограничение количества пыли Обеспечение легкого проведения проверки

2.2

Уменьшение зазора между неподвижными и движущимися компонентами из-за липкой пыли или других неметаллических материалов

7.2

Инструкции по проведению технического обслуживания

2.3

Превышение значений температуры рабочей среды

4.4

Ограничение температуры на входе и температуры нагрева перемещаемого газа

2.4

Соприкосновение между неподвижными и движущимися компонентами, вызванное деформацией корпуса

4.5
4.6

Твердая конструкция корпуса и разделение трубопроводов упругими соединениями

2.5

Соприкосновение между неподвижными и движущимися компонентами, вызванное деформацией или неисправностью рабочего колеса

4.7

Жесткая конструкция рабочего колеса

2.6

Соприкосновение между неподвижными и движущимися компонентами, вызванное ослаблением креплений рабочих колес

4.21

Выбрать подходящее крепление рабочего колеса к валу

2.7

Соприкосновение между неподвижными и движущимися компонентами, вызванное предполагаемыми смещением и износом

4.15

Минимальный зазор

4.8

Соответствующие пары материалов

4.9

Соответствующая облицовка и размер верхней части лопасти

2.8

Соприкосновение между неподвижными и движущимися компонентами из-за скольжения валов в подшипниках

4.17

Фиксация вала в подшипнике

2.9

Повреждение подшипника

4.17

Технические характеристики подшипника

2.10

Трение уплотнения

4.16

Технические характеристики уплотнения вала

2.11

Потеря прочности материалов и уменьшение зазора из-за коррозии

4.22

Защита от коррозии

2.12

Электростатические разряды на ремнях

4.12

Требования к приводным ремням

2.13

Соприкосновение между неподвижными и движущимися частями вентилятора, вызванное предполагаемой потерей зазора из-за токов утечки по поверхности материалов

4.8.1

Пары материалов

2.14

Соприкосновение между неподвижными и движущимися компонентами, вызванное температурной деформацией

4.5

Жесткая конструкция корпуса

4.6

Соответствующие материалы

4.7

Жесткая конструкция рабочего колеса

4.8

Пары материалов

2.15

Механические повреждения и износ, недопустимый уровень вибрации

4.10

Контроль вибрации

4.14

Предотвращение возникновения слоев пыли

2.16

Взаимодействие с инородными частицами

4.24

Защита от инородных частиц

4.8.1

Пары материалов

2.17

Электрические компоненты

4.13

Электрическая установка

4.13

Электрическое оборудование

2.18

Воспламенение из-за электростатических разрядов

4.12

Электростатические разряды

2.19

Горение компонентов вентилятора и отравление дымом

4.23

Огнестойкость пластмасс

2.20

Различный электрический потенциал

4.11

Заземление токоведущих частей

3 Уровни взрывозащиты оборудования Gb и Db, Gc и Dc
(опасности и меры в дополнение к перечисленным для всех уровней взрывозащиты оборудования
и для
Gc и Dc (пункты 1 и 2) для достижения высокого уровня защиты)

3.1

Блуждающие токи

-

См. ГОСТ Р ЕН 1127-1, подпункт 6.7.4.4

3.2

Удары молнии

-

См. ГОСТ Р ЕН 1127-1, подпункт 6.4.8

3.3

Радиочастотные электромагнитные волны

-

См. ГОСТ Р ЕН 1127-1, подпункты 6.4.9 и 6.4.10

3.4

Ионизирующее излучение

-

См. ГОСТ Р ЕН 1127-1, подпункт 6.4.11

3.5

Ультразвуковые волны

-

См. ГОСТ Р ЕН 1127-1, подпункт 6.4.11

3.6

Адиабатическое сжатие и ударные волны

-

См. ГОСТ Р ЕН 1127-1, подпункт 6.4.13

3.7

Экзотерические реакции

-

См. ГОСТ Р ЕН 1127-1, подпункт 6.4.14

4 Уровень взрывозащиты оборудования Ga
(опасности и меры для достижения высокого уровня защиты. В дополнение к опасностям и мерам,
перечисленным для всех уровней взрывозащиты оборудования и для
Gc и Dc, Gb и Db (пункты 1, 2 и 3))

4.1

Внутреннее пламя или взрыв из-за редкого и маловероятного процесса воспламенения. Распространение пламени или взрыв внутри вентилятора во внешнюю окружающую среду

6.1, 6.3 и
А.1

Корпус достаточно прочный, чтобы удержать внутренний взрыв. Без гибких соединений с трубопроводами

4.2

Распространение пламени или взрыва внутри вентилятора во впускном и выпускном трубопроводах

6.2 и А.2

Пламегасители с функцией стабилизированного горения в течение короткого времени как встроенная часть вентилятора на входной и выходной сторонах вентилятора, способных удерживать пламя или взрыв

Приложение ДА
(справочное)

Сведения о соответствии ссылочных национальных и межгосударственных стандартов
международным и европейским региональным стандартам, использованным
в качестве ссылочных в примененном европейском региональном стандарте

Таблица ДА.1

Обозначение ссылочного
национального,
межгосударственного
стандарта

Степень
соответствия

Обозначение и наименование ссылочного регионального,
международного стандарта

ГОСТ 31438.1-2011
(ЕН 1127-1:2007)

MOD

ЕН 1127-1 «Взрывоопасные среды. Взрывозащита и предотвращение взрыва. Часть 1. Основополагающая концепция и методология»

ГОСТ 31441.2-2011
(ЕН 13463-1:2001)

MOD

ЕН 13463-1:2001 «Оборудование неэлектрическое, предназначенное для применения в потенциально взрывоопасных средах. Часть 1. Общие требования»

ГОСТ 31441.5-2011
(ЕН 13463-5:2003)

MOD

ЕН 13463-5 «Оборудование неэлектрическое, предназначенное для применения в потенциально взрывоопасных средах. Часть 5. Защита конструкционной безопасностью "с"»

ГОСТ 31441.6-2011
(ЕН 13463-6:2005)

MOD

ЕН 13463-6 «Оборудование неэлектрическое, предназначенное для применения в потенциально взрывоопасных средах. Часть 6. Защита контролем источника воспламенения "b"»

ГОСТ IEC 61241-0-2011

IDT

ЕН 50281-1-1 «Электрооборудование для работы в присутствии горючей пыли. Часть 1-1. Электрооборудование, защищенное оболочкой. Конструкция и испытания»

ГОСТ Р МЭК 60079-0-2011

MOD

ЕН 60079-0 «Взрывоопасные среды. Часть 0. Оборудование. Общие требования»

ГОСТ 14254-96

MOD

ЕН 60529 «Степени защиты, обеспечиваемые оболочками (код IP)»

ГОСТ Р ИСО 12100-1-2007

IDT

ЕН ИСО 12100-1 «Безопасность машин. Основные понятия, общие принципы конструирования. Часть 1. Основные термины, методология»

ГОСТ Р ИСО 12100-2-2007

IDT

ЕН ИСО 12100-2 «Безопасность машин. Основные понятия, общие принципы конструирования. Часть 2. Технические принципы»

ГОСТ 31350-2007

MOD

ИСО 14694:2003 «Вентиляторы промышленные. Технические требования к точности балансировки и уровню вибрации»

Примечание - В настоящей таблице использованы следующие условные обозначения степени соответствия стандартов:

IDT - идентичные стандарты;

MOD - модифицированные стандарты.

Библиография

[1]

ЕН 1710 Оборудование и компоненты, предназначенные для применения в потенциально взрывоопасных средах подземных выработок шахт и рудников (EN 1710, Equipment and components intended for use in potentially explosive atmospheres in underground mines)

[2]

EH 13463-2 Неэлектрическое оборудование, предназначенное для применения в потенциально взрывоопасных средах. Часть 2. Защита оболочкой с ограниченным пропуском газов «fr» (EN 13463-2, Non-electrical equipment for use in potentially explosive atmospheres - Part 2: Protection by flow restricting enclosure «fr»)

[3]

EH 13463-3 Неэлектрическое оборудование, предназначенное для применения в потенциально взрывоопасных средах. Часть 3. Защита взрывонепроницаемой оболочкой «d» (EN 13463-3, Non-electrical equipment for use in potentially explosive atmospheres - Part 3: Protection by flameproof enclosure «d»)

[4]

EH 13463-8 Неэлектрическое оборудование, предназначенное для применения в потенциально взрывоопасных средах. Часть 8. Защита жидкостным погружением «k» (EN 13463-8, Non-electrical equipment for potentially explosive atmospheres - Part 8: Protection by liquid immersion «к»)

[5]

EH 14460 Оборудование взрывостойкое (EN 14460, Explosion resistant equipment)

[6]

Проект EH 14461 Промышленные вентиляторы - Требования к безопасности (prEN 14461, Industrial fans - Safety requirements)

[7]

EH 50015 Электрооборудование для потенциально взрывоопасных сред - Масляное заполнение оболочки «о» (EN 50015, Electrical apparatus for potentially explosive atmospheres - Oil immersion «о»)

[8]

EH 50017 Электрооборудование для потенциально взрывоопасных сред - Кварцевое заполнение оболочки «q» (EN 50017, Electrical apparatus for potentially explosive atmospheres - Powder filling «q»)

[9]

EH 50020 Электрооборудование для потенциально взрывоопасных сред - Искробезопасная электрическая цепь «i» (EN 50020, Electrical apparatus for potentially explosive atmospheres - Intrinsic safety «i»)

[10]

Проект EH 50039 Электрооборудование для потенциально взрывоопасных сред - Искробезопасные электрические системы «i» - Системы группы II для газовых сред (prEN 50039 Electrical apparatus for potentially explosive atmospheres - Intrinsically safe electrical systems «i» - Group II systems for gas atmospheres)

[11]

EH 60079-1 Электрооборудование для потенциально взрывоопасных сред - Часть 1: Взрывонепроницаемая оболочка «d» (EN 60079-1, Electrical apparatus for potentially explosive atmospheres - Part 1: Flameproof enclosure «d» (IEC 60079-1:2003)

[12]

EH 60079-2 Электрооборудование для взрывоопасных газовых сред - Часть 2: Оболочки по давлением «р» (EN 60079-2, Electrical apparatus for explosive gas atmospheres - Part 2: Pressurized enclosures «р» (IEC 60079-2:2001)

[13]

EH 60079-7 Электрооборудование для взрывоопасных газовых сред- Часть 7: Повышенная защита «е» (EN 60079-7, Electrical apparatus for explosive gas atmospheres - Part 7: Increased safety «е» (IEC 60079-7:2001)

[14]

EH 60079-14 Электрооборудование для взрывоопасных газовых сред - Часть 14: Электроустановки во взрывоопасных зонах (кроме подземных выработок) (EN 60079-14 Electrical apparatus for explosive gas atmospheres - Part 14: Electrical installations in hazardous areas (other than mines) (IEC 60079-14:2002)

[15]

EH 60079-15 Электрооборудование для взрывоопасных газовых сред- Часть 15: Конструкция, испытания и маркировка электрооборудования с видом защиты «п» (EN 60079-15 Electrical apparatus for explosive gas atmospheres - Part 15: Construction, test and marking of type of protection «п» electrical apparatus (IEC 60079-15:2005)

[16]

EH 60079-18 Электрооборудование для взрывоопасных газовых сред - Часть 18: Конструкция, испытания и маркировка электрооборудования со взрывозащитой вида «герметизация компаундом ”т”» (EN 60079-18 Electrical apparatus for explosive gas atmospheres - Part 18: Construction, test and marking of type of protection encapsulation «т» electrical apparatus (IEC 60079-18:2004)

[17]

EH 60335-2-80 Приборы электрические бытового и аналогичного назначения. Безопасность. - Часть 2-80: Специальные требования к вентиляторам (EN 60335-2-80, Household and similar electrical appliances - Safety - Part 2-80: Particular requirements for fans (IEC 60335-2-80:2002)

[18]

EH 61241-14 Электрооборудование для применения в присутствии горючей пыли- Часть 14: Выбор и установка (EN 61241-14, Electrical apparatus for use in the presence of combustible dust- Part 14: Selection and installation (IEC 61241-14:2004)

[19]

EH ИСО 2409 Краски и лаки. Испытание методом решетчатого надреза (EN ISO 2409 Paints and varnishes - Cross-cut test (ISO 2409:1992)

[20]

EH ИСО/МЭК 17025 Общие требования к компетентности поверочных и испытательных лабораторий (EN ISO/IEC 17025 General requirements for the competence of testing and calibration laboratories (ISO/IEC 17025:2005)

[21]

Руководство CEN 414 Безопасность машин - Правила разработки проектов и презентации стандартов по безопасности (CEN Guide 414 Safety of machinery- Rules for the drafting and presentation of safety standards)

[22]

МЭК 60167 Материалы электроизоляционные твердые. Методы испытаний и определение сопротивления изоляции (IEC 60167, Methods of test for the determination of the insulation resistance of solid insulating materials)

[23]

ИСО 281 Подшипники качения. Динамическая грузоподъемность и номинальная долговечность (ISO 281, Rolling bearings - Dynamic load ratings and rating life)

[24]

ИCO 1813 Передачи ременные. Клиновые ремни, усиленные ребрами жесткости, соединенные клиновые ремни и клиновые ремни, включающие в себя ремни широкого сечения и шестигранные ремни. Электропроводимость антистатических ремней: характеристики и методы испытания (ISO 1813, Belt drives - V-ribbed belts, joined V-belts and V-belts including wide section belts and hexagonal belts - Electrical conductivity of antistatic belts: Characteristics and methods of test)

[25]

ИСО 1925 Вибрация механическая. Балансировка. Словарь (ISO 1925 Mechanical vibration - Balancing - Vocabulary)

[26]

ИСО 1940-1 Вибрация механическая. Требования к качеству балансировки роторов в устойчивом положении (жестких). Часть 1. Технические требования и проверка допусков на балансировку (ISO 1940-1, Mechanical vibration - Balance quality requirements for rotors in a constant (rigid) state - Part 1: Specification and verification of balance tolerances)

[27]

ИСО/DIS 5801 Вентиляторы промышленные. Эксплуатационные испытания с использованием стандартизованных воздуховодов (ISO/DIS 5801, Industrial fans - Performance testing using standardized airways)

[28]

ИСО 5802 Вентиляторы промышленные. Эксплуатационные испытания на месте (ISO 5802, Industrial fans - Performance testing in situ)

[29]

ИСО 9563 Передачи ременные. Электропроводимость антистатических бесконечных ремней синхронных передач. Характеристики и метод испытания (ISO 9563, Belt drives - Electrical conductivity of antistatic endless synchronous belts - Characteristics and test method)

[30]

ИСО 13351 Вентиляторы промышленные. Размеры (ISO 13351 Industrial fans - Dimensions)

[31]

ИСО 14695 Вентиляторы промышленные. Метод измерения вибрации вентилятора (ISO 14695, Industrial fans - Method of measurement of fan vibration)

[32]

EUROVENT 1/5 Рекомендации по конструкции искробезопасного вентилятора (EUROVENT 1/5, Prescriptions for spark resistant fan construction)

[33]

EUROVENT 1/8, Предотвращение взрывов в вентиляторах (EUROVENT 1/8, Prevention of explosions in fans)

[34]

EUROVENT 1/9, Руководство для герметичных вентиляторов (EUROVENT 1/9, Guidlines for gas tight fans)

[35]

EUROVENT 1/xyz Классы вентиляторов (EUROVENT 1/xyz, Classes of fans)

[36]

TRAC 201:1990 Разработчики ацетилена (TRAC 201:1990, Acetylene developers1)

__________

1 TRAC - Technical Rules Acetylene Installations and Carbide Storages (технические правила установок ацетилена и хранения карбидов).

[37]

Фонд ассоциации владельцев шахт Вестфалии - Оценка риска воспламенения из-за затачивания вентиляторов Westphalian Mine Owners Association Fund - Examination to the ignition risk by grinding by fans (1987)

[38]

Поллак/Мор - Исследования рисков взрыва при вращении вентиляторов (1987) (Pollak/Mohr- Untersuchungen zum Zundrisiko bei Reibvorgangen an Ventilatoren (1987)

[39]

Войтсбергер, Воспламенение взрывоопасных газовых и паровоздушных смесей искрами, возникающими в результате трения. Техника безопасности, Федеральный рабочий документ Ns 6/1955 (Voigtsberger, Zundfahigkeit von Schleiffunken gegenuber explosiblen Gas- und Dampf-Luft-Gemischen, Arbeitsschutz, Bundesarbeitsblatt Nr. 6/1955)

[40]

Грюневальд, Механически создаваемые искры как источники воспламенения. Технический контроль, Издательство Шпрингер ВДИ, 3/2001 (Grunewald, Die Zundquelle mechanisch erzeugter Funken, Technische Uberwachung, Springer VDI Verlag, 3/2001)

[41]

EH 294 Безопасность машин и механизмов. Установление расстояний, предотвращающих касание руками опасных зон (EN 294, Safety of machinery- Safety distance to prevent danger zones being reached by the upper limbs)

[42]

EH 1050 Безопасность машин. Оценка риска (EN 1050, Safety of machinery- Principles for risk assessment)

[43]

EH 12874:2001 Пламегасители. Требования к рабочим характеристикам, методы испытаний и пределы использования (EN 12874:2001, Flame arresters - Performance requirements, test methods and limits for use)

[44]

EH 50281-1-1 Электрооборудование для работы в присутствии горючей пыли. Часть 1-1. Электрооборудование, защищенное оболочкой. Конструкция и испытания (EN 50281-1-1, Electrical apparatus for use in the presence of combustible dust - Part 1-1: Electrical apparatus protected by enclosures - Construction and testing)

[45]

ИСО 12499 Вентиляторы промышленные. Механическая безопасность вентиляторов. Защитные устройства (ISO 12499, Industrial fans - Mechanical safety of fans - Guarding)

[46]

ИСО 13349:1999 Вентиляторы промышленные. Словарь и определение категорий (ISO 13349:1999, Industrial fans - Vocabulary and definitions of categories)

 

 

Ключевые слова: вентилятор для взрывоопасных сред, пламегаситель

 

 



© 2013 Ёшкин Кот :-)