Информационная система
«Ёшкин Кот»

XXXecatmenu

ОДМ 218.3.020-2012

ОТРАСЛЕВОЙ ДОРОЖНЫЙ МЕТОДИЧЕСКИЙ ДОКУМЕНТ

МЕТОДИЧЕСКИЕ РЕКОМЕНДАЦИИ ПО
ОБЕСПЕЧЕНИЮ УСТОЙЧИВОСТИ БИТУМОВ
ПРОТИВ СТАРЕНИЯ В ТЕХНОЛОГИЧЕСКИХ
ПРОЦЕССАХ ИЗГОТОВЛЕНИЯ И ПРИМЕНЕНИЯ
АСФАЛЬТОБЕТОННЫХ СМЕСЕЙ

ФЕДЕРАЛЬНОЕ ДОРОЖНОЕ АГЕНТСТВО
(РОСАВТОДОР)

Москва 2012

Предисловие

1 РАЗРАБОТАН ООО «Стройсервис», ЗАО «НОМБУС» с использованием результатов научных исследований ОАО «Омский СоюздорНИИ» и практических результатов ФКУ УПРДОР «Забайкалье».

2 ВНЕСЕН Управлением научно-технических исследований, информационного обеспечения и ценообразования, Управлением эксплуатации и сохранности автомобильных дорог Федерального дорожного агентства.

3 ИЗДАН на основании распоряжения Федерального дорожного агентства от 17.02.2012 № 47-р.

4 ИМЕЕТ РЕКОМЕНДАТЕЛЬНЫЙ ХАРАКТЕР.

5. ВВЕДЕН ВПЕРВЫЕ.

СОДЕРЖАНИЕ

1 Область применения. 2

2 Нормативные ссылки. 2

3 Термины и определения. 2

4 Рекомендации по оценке интенсивности старения битума в зависимости от продолжительности технологических процессов. 2

5 Оценка интенсивности старения битума в тонкой пленке (50 мкм) в зависимости от продолжительности технологических процессов. 3

6 Мероприятия по обеспечению устойчивости битумов. 11

Приложение А. Методика определения динамической вязкости битума. 16

Приложение Б. Методика определения группового состава битума с помощью анализатора тонкослойной хроматографии (TLC) с системой пламенной ионизации (FID) марки IATROSKAN MK-5. 17

Приложение В. Примеры расчета прогнозируемых значений динамической вязкости, глубины проникания иглы и группового состава битума нефтяного дорожного вязкого в процессе его старения в тонких пленках. 20

Приложение Г (справочное) Изменение групповых составов битумов нефтяных дорожных вязких в процессе их прогрева при постоянной температуре. 22

ОТРАСЛЕВОЙ ДОРОЖНЫЙ МЕТОДИЧЕСКИЙ ДОКУМЕНТ

Методические рекомендации по обеспечению устойчивости битумов
против старения в технологических процессах изготовления и
применения асфальтобетонных смесей

1 Область применения

Настоящий отраслевой дорожный методический документ (далее - методический документ) распространяется на битумы нефтяные дорожные вязкие, получаемые путем окисления тяжелых нефтяных остатков из западно-сибирских нефтей и по технологии компаундирования (смешения) окисленного битума высокой вязкости с более легкими нефтепродуктами, в части прогнозирования процессов их старения в составах асфальтобетонных смесей на технологических этапах приготовления и устройства асфальтобетонных покрытий и оснований автомобильных дорог.

В части методики определения динамической вязкости и группового состава настоящие рекомендации распространяются на окисленные, остаточные и компаундированные битумы.

2 Нормативные ссылки

В настоящем методическом документе использованы нормативные ссылки на следующие документы:

ГОСТ 9128-2009 Смеси асфальтобетонные дорожные, аэродромные и асфальтобетон. Технические условия

ГОСТ 11501-78 Битумы нефтяные. Метод определения глубины проникания иглы

ГОСТ 11955-82 Битумы нефтяные дорожные жидкие. Технические условия

ГОСТ 22245-90 Битумы нефтяные дорожные вязкие. Технические условия

ГОСТ 31015-2002 Смеси асфальтобетонные и асфальтобетон щебеночно-мастичные. Технические условия

3 Термины и определения

В настоящем методическом документе применены следующие термины с соответствующими определениями:

3.1 битумы нефтяные дорожные вязкие: Полутвердые нефтяные битумы, отвечающие требованиям государственного стандарта, распределяемые на марки по вязкости, определяемой пенетрометром, и по комплексу показателей.

3.2 вязкость: Свойство текучих тел (жидкостей и газов) оказывать сопротивление перемещению одной их части относительно другой.

3.3 групповой состав: Групповой химический состав битума, представленный асфальтенами, суммой смол, суммой ароматических углеводородов и суммой насыщенных углеводородов.

3.4 старение битума: Совокупность необратимых изменений структуры, физических и механических свойств битума, наблюдающихся при хранении, технологической переработке и эксплуатации.

4 Рекомендации по оценке интенсивности старения битума в зависимости от продолжительности технологических процессов

Интенсивность старения битумов рекомендуется определять:

- по изменению показателя динамической вязкости в процессе искусственного старения битума в пленке толщиной 50 мкм на минеральной подложке разного химико-минералогического состава, определяемого методом плоско-параллельного сдвига (приложение А);

- по результатам изменения группового состава в процессе искусственного старения битума в пленке толщиной 50 мкм, определяемого с помощью анализатора тонкослойной хроматографии (TLC) с системой пламенной ионизации (FID) марки IATROSKAN МК-5 (приложение Б).

5 Оценка интенсивности старения битума в тонкой пленке (50 мкм) в зависимости от продолжительности технологических процессов

5.1 Оценка интенсивности старения битума в тонкой пленке (50 мкм) по результатам оценки динамической вязкости и глубины проникания иглы в зависимости от продолжительности технологических процессов

5.1.1 Весь технологический процесс производства асфальтобетонной смеси и устройства асфальтобетонных покрытий состоит из m-этапов (хранения асфальтобетонной смеси в бункере-накопителе, транспортировки, ожидания разгрузки, укладки и уплотнения) на временных интервалах (tm, tm-1), m = 1, ..., n, to = 0. Коэффициенты интенсивности старения битума кт определяются для каждого технологического этапа, зависят от температуры и вида применяемого минерального материала (таблица 1).

Увеличение динамической вязкости η, Па ∙ с, на m-этапе вычисляется по формуле

                                             (1)

где Δtm - продолжительность технологического этапа, ч;

km-1 - коэффициент интенсивности старения битума в начале m-этапа;

km - коэффициент интенсивности старения битума в конце m-этапа.

Формула (1) может быть использована на технологическом этапе с постоянной температурой асфальтобетонной смеси. Например, при хранении в бункере-накопителе.

5.1.2 Изменение динамической вязкости η, Па ∙ с, на протяжении всего технологического процесса, где температура, а, следовательно, и коэффициенты интенсивности старения km изменяются, вычисляется по формуле

                                                 (2)

где η(0) - динамическая вязкость исходного битума (до старения), Па ∙ с, определяемая по формуле

                                                        (3)

П(0) - первоначальное значение глубины проникания иглы при температуре 25 °С, мм-1.

Практический пример определения динамической вязкости η, Па ∙ с, в процессе старения битума на технологических этапах приготовления асфальтобетонной смеси, ее временном хранении, транспортировки, укладки и уплотнении в покрытие приведен в приложении В.


Таблица 1 - Значения коэффициентов интенсивности старения битумов в зависимости от температуры и вида применяемой минеральной подложки каменного материала

Наименование материала минеральной подложки

Значения коэффициентов интенсивности старения k для битумов марок

БНД 40/60

БНД 60/90

БНД 90/130

БНД 130/200

БНД 200/300

Температура, °С

150

130

110

90

70

150

130

110

90

70

150

130

110

90

70

150

130

110

90

70

150

130

110

90

70

Осадочные горные породы

1,5

1,4

1,3

1,0

0,9

1,4

1,3

1,1

0,9

0,8

1,3

1,2

1,0

0,8

0,6

1,1

1,0

0,9

0,8

0,6

0,9

0,8

0,6

0,5

0,4

Изверженные горные породы

1,3

1,2

1,0

0,7

0,6

1,2

1,0

0,8

0,6

0,5

1,1

0,9

0,7

0,5

0,4

0,9

0,8

0,6

0,4

0,3

0,7

0,6

0,4

0,3

0,2


5.1.3 Для практического применения более приемлемо использование глубины проникания иглы, мм-1, определяемой при температуре 25 °С. В этом случае глубина проникания иглы на т-этапе вычисляется по формуле

                                              (4)

Формула (4) может быть использована на технологическом этапе с постоянной температурой асфальтобетонной смеси. Например, при хранении в бункере-накопителе.

В случае, когда технологический процесс состоит из нескольких m-этапов, имеющих свои временные промежутки и температурные режимы, для расчетов используется формула

                                            (5)

где П(t4) - ожидаемое значение показателя глубины проникания иглы для битума после устройства покрытия, мм-1;

П(0) - первоначальное значение глубины проникания иглы при температуре 25 °С (до старения битума), мм-1.

Пример практического расчета использования формулы (5) приведен в приложении В.

5.1.4 Для анализа и оценки интенсивности старения битумов в составе асфальтобетонных смесей по формуле (5) рассчитаны прогнозируемые показатели глубины проникания иглы во вновь устроенном асфальтобетонном покрытии. Результаты расчетов приведены в таблице 2.


Таблица 2 - Значения показателей глубины проникания иглы для битумов в зависимости от длительности технологических процессов производства асфальтобетонных смесей и строительства асфальтобетонных покрытий и оснований

Время хранения асфальтобетонной смеси в бункере-накопителе, ч

Время транспортировки, ч

Толщина слоя асфальтобетона, см

Температура наружного воздуха, °С

Вид минерального материала

Прогнозируемые показатели глубины проникания иглы, мм-1, для битумов нефтяных дорожных с условной вязкостью

40

60

90

130

200

300

1

2

3

4

5

6

7

8

9

10

11

0,5

4 - 5

5

Осадочные горные породы

30

44

68

102

175

263

10

29

43

66

99

172

258

25

27

40

63

95

170

254

8 - 10

5

29

43

60

100

162

261

10

28

42

58

97

171

256

25

27

40

56

94

170

254

1,0

4 - 5

5

26

39

59

90

171

256

10

25

37

57

88

168

252

25

24

36

56

85

165

248

8 - 10

5

25

38

59

88

170

254

10

24

37

57

86

167

250

25

24

35

56

84

164

246

0,5

0,5

4 - 5

5

26

38

60

90

160

240

10

25

37

58

87

158

236

25

23

35

56

85

155

232

8 - 10

5

25

37

58

88

159

238

10

24

36

57

86

156

238

25

23

35

55

84

156

234

1,0

4 - 5

5

22

33

52

80

156

234

10

21

32

51

77

154

231

25

20

31

49

75

152

227

8 - 10

5

22

32

45

78

155

233

10

21

31

44

76

153

229

25

20

30

42

74

150

226

1,0

0,5

4 - 5

5

22

33

52

79

147

221

10

21

32

50

77

144

216

25

20

30

48

75

142

213

8 - 10

5

21

32

51

78

145

217

10

20

31

51

76

143

214

25

19

30

50

74

141

211

1,0

4 - 5

5

19

29

46

70

143

214

10

18

28

44

68

141

211

25

17

26

43

66

138

207

8 - 10

5

19

28

45

69

141

211

10

18

27

44

67

140

210

25

17

26

43

66

138

207

0,5

4 - 5

5

Изверженные горные породы

31

49

75

113

185

277

10

30

47

73

111

183

275

25

28

46

71

109

182

273

8 - 10

5

30

48

73

112

184

275

10

29

47

72

110

184

275

25

29

46

70

109

182

273

1,0

4 - 5

5

27

44

68

107

179

268

10

26

43

67

106

177

266

25

25

42

65

104

175

263

8 - 10

5

27

44

67

106

177

266

10

26

43

66

105

177

266

25

26

42

65

96

175

263

0,5

0,5

4 - 5

5

27

43

67

104

175

263

10

26

43

65

102

174

260

25

25

41

64

101

172

259

8 - 10

5

26

43

66

103

175

263

10

25

42

65

102

174

261

25

24

41

63

101

172

259

1,0

4 - 5

5

24

40

61

99

170

252

10

23

39

60

97

170

252

25

22

39

58

96

167

250

8 - 10

5

23

38

60

98

168

252

10

22

38

59

97

167

250

25

21

37

58

96

168

252

1,0

0,5

4 - 5

5

24

39

60

96

167

250

10

23

38

59

95

168

252

25

22

37

59

93

167

250

8 - 10

5

23

38

58

96

167

250

10

22

38

57

94

165

248

25

21

37

55

93

165

248

1,0

1,5

4 - 5

5

21

36

54

92

161

242

10

20

35

53

90

160

240

25

19

34

53

88

159

238

8 - 10

5

20

35

54

90

160

240

10

20

35

54

89

160

240

25

19

34

52

88

159

238

Примечания

1 Время на осуществление технологических операций должно рассчитываться, исходя из условий остывания асфальтобетонной смеси до критических температур, и определяться различными известными способами.

2 В таблице приведены ориентировочные результаты расчетов, которые должны уточняться в зависимости от принятых технологических решений.


5.2 Оценка интенсивности старения битума в тонкой пленке (50 мкм) по результатам изменения группового состава битума

5.2.1 Математическая модель процесса изменения группового состава битума при термостатировании представляет собою систему линейных уравнений с постоянными коэффициентами

                                                         (6)

где А - числовая матрица размером 3×3;

у, у°, b - векторы длины 3.

Координаты вектора у описывают изменение процентного содержания смол у1, ароматических углеводородов у2 и насыщенных углеводородов у3 с течением времени. Процентное содержание асфальтенов находится по известному процентному содержанию других компонент. Вектор уi задает исходное состояние битума.

Решение системы имеет вид

                               (7)

где h1, h2, h3 - собственные векторы матрицы А, соответствующие собственным значениям λ1, λ2 и λ3;

 - вектор констант;

В - значение собственных векторов матрицы А;

уst - текущее состояние битума.

В таблицах 3 - 7 приведены числовые данные для решения системы (7).

Таблица 3 - Параметры модели для битума нефтяного дорожного вязкого марки БНД 40/60

Температура, °С

Значения параметров модели

B = [h1, h2, h3]

L = (λ1, λ2, λ3)

С = (с1, с2, с3)

yst

160

-0,00817

0,956512

0,005609

-0,22876

22,94429

51,51576

0,974379

-0,12607

0,000127

-0,49345

-17,4467

8,013381

0,224766

0,263043

0,999984

-0,73619

5,285943

7,036282

140

-0,03445

-0,99263

-0,98986

-0,15432

-19,7341

50,86009

-0,99903

0,110734

0,128661

-0,42921

-36,2088

10,00013

0,027334

-0,0492

0,060216

-0,39033

53,353

8,435114

120

-0,96859

0,00232

0,144931

-0,13823

20,05784

53,70755

0,248662

0,999992

-0,00313

-0,0797

17,47335

10,11673

0,001417

-0,00337

0,989437

-0,78275

2,413049

10,53282

100

0,000666

0,629426

-0,57871

-1,04454

11,25067

39,88018

1

0,777059

-0,58982

-0,45804

-7,50252

27,65414

-0,00056

-0,00145

0,563213

-0,33402

0,856028

12,40325

Таблица 4 - Параметры модели для битума нефтяного дорожного вязкого марки БНД 60/90

Температура, °С

Значения параметров модели

B = [h1, h2, h3]

L = (λ1, λ2, λ3)

С = (с1, с2, с3)

yst

160

-0,1848

0,277688

0,010499

-0,35414

-200,51

57,91186

0,850163

-0,8362

-0,00298

-0,36167

-237,979

11,24458

0,493023

-0,47293

0,99994

-0,48877

-11,6368

8,433591

140

-0,81684

-0,18336

-0,00221

-0,79541

19,38096

43,99595

0,575054

-0,10056

-0,99993

-0,03352

-3,17425

22,3846

0,045641

0,977888

0,01123

-0,46116

-5,96148

12,77644

120

-0,86708

-0,0013

-0,02422

-0,6077

16,54719

43,02087

0,492405

0,999677

-0,01652

-0,31478

8,857697

22,74021

0,075608

-0,02538

0,99957

-0,07177

-4,05724

13,51916

100

-0,91646

0,009848

0,002129

-0,26854

8,611421

36,76339

0,376183

0,007867

-1

-0,01327

-8,80039

25,04589

0,13632

0,999921

-0,0023

-0,10108

-11,5939

18,08907

Таблица 5 - Параметры модели для битума нефтяного дорожного вязкого марки БНД 90/130

Температура, °С

Значения параметров модели

B = [h1, h2, h3]

L = (λ1, λ2, λ3)

С = (с1, с2, с3)

yst

160

0,908168

-0,53036

-0,22737

-0,7671

-36,7789

52,09922

-0,39601

-0,84734

-0,25309

-0,41228

-18,3328

12,39946

-0,13568

0,027051

0,940343

-0,35725

-3,20715

7,041628

140

-0,9767

0,001185

0,000455

-1,16829

13,85646

42,69552

0,197716

0,000691

-1

-0,04596

-2,16935

20,16098

0,083418

0,999999

-0,00181

-0,35061

-20,4109

9,496597

120

0,924331

0,053046

0,018986

-0,23497

-20,3923

48,20888

-0,34473

0,066504

-0,9997

-0,11761

4,928517

11,14757

-0,16363

-0,99638

-0,01566

-0,14516

-24,8124

9,705135

100

-0,01298

-0,65344

-0,04099

-2,14363

-2,24515

39,35409

0,000819

0,742784

-0,99887

-0,3236

16,08461

24,61094

-0,99992

-0,1459

-0,02423

-0,12112

-6,76118

8,458027

Таблица 6 - Параметры модели для битума нефтяного дорожного вязкого марки БНД 130/200

Температура, °С

Значения параметров модели

B = [h1, h2, h3]

L = (λ1, λ2, λ3)

С = (с1, с2, с3)

yst

160

-0,90691

-0,14788

-0,00593

-0,49044

19,22879

48,10381

0,313914

0,968158

-0,01531

-0,29069

22,54385

13,09069

0,281013

-0,20199

0,999865

-0,21904

0,188839

12,26126

140

-0,84204

0,007545

0,001868

-0,2696

22,40006

46,25621

0,52011

0,002974

-1

-0,00883

-5,52466

17,07605

0,143041

0,999967

-0,00156

-0,16885

-12,2399

15,60128

120

-0,04214

0,178851

0,022781

-0,2637

20,80031

30,58992

0,998384

0,951137

0,03927

-0,202

-12,7503

32,48828

0,038135

-0,2517

0,998969

-0,09572

-4,52539

13,81833

100

-0,67042

0,005593

0,005703

-0,15376

3,340641

29,63006

0,515511

0,007933

-0,99974

-0,01936

-0,79439

29,42079

0,533651

0,999953

-0,02201

-0,06747

-9,81591

12,09561

Таблица 7 - Параметры модели для битума нефтяного дорожного вязкого марки БНД 200/300

Температура, °С

Значения параметров модели

B = [h1, h2, h3]

L = (λ1, λ2, λ3)

С = (с1, с2, с3)

yst

160

0,797098

-0,63173

0,526782

-0,54007

-29,5507

47,3267

-0,53663

-0,73742

0,315548

-0,28019

-23,7032

13,5788

-0,27688

-0,23904

0,789259

-0,193

-14,723

7,902403

140

0,015161

0,441663

-0,00686

-0,01496

-6,16538

46,54646

0,009448

0,855911

-0,99998

-0,1248

-35,7343

26,35387

0,99984

-0,26898

0,000922

-0,17565

-46,5609

6,725573

120

-0,97047

-0,00402

0,000922

-1,96685

0,75911

31,75542

0,035608

0,003305

-1

-0,17547

3,332014

25,60207

0,238588

0,999986

0,001888

-0,08538

-16,6299

6,648316

100

0,236247

-0,57808

-0,05876

-0,2602

-1,95092

38,29691

-0,10164

-0,79896

-0,99817

-0,01855

13,91099

32,87653

-0,96636

-0,1658

-0,01459

-0,07102

-20,3468

10,25439

5.2.2 Время продолжительности технологических процессов t можно выразить из формулы (4)

                                                        (8)

где t - суммарное время технологических процессов, ч;

П(0) - глубина проникания иглы при температуре 25 °С (до старения битума), мм-1;

П(t) - требуемая по проекту и дорожно-климатическим условиям или фактическая с учетом старения глубина проникания иглы при температуре 25 °С, мм-1;

k - коэффициент интенсивности старения битума, принимается по таблице 1 как для изверженных горных пород.

5.2.3 Определение групповых составов битумов нефтяных дорожных вязких и интенсивность их изменения в процессе изотермического прогрева можно определить графически по приложению Г (рисунки Г.1 - Г.5).

Пример практического использования формулы (7) для определения группового состава битума нефтяного дорожного вязкого после его старения в составе асфальтобетонной смеси приведен в приложении В.

6 Мероприятия по обеспечению устойчивости битумов

6.1 Для обеспечения требуемой марки битума в асфальтобетоне во вновь построенном дорожном покрытии необходимо, чтобы глубина проникания иглы при температуре 25 °С битума в рабочем котле асфальтосмесительной установки назначалась с учетом процессов старения.

Требуемая глубина проникания иглы при температуре 25 °С в зависимости от продолжительности технологических этапов и температурных режимов определяется по формуле

                                         (9)

где П(tm-1) - требуемая глубина проникания иглы при температуре 25 °С, мм-1;

П(tm) - глубина проникания иглы при температуре 25 °С (до старения битума), мм-1;

С помощью формулы (9) рассчитаем требуемую (начальную) глубину проникания иглы при температуре 25 °С битума в рабочем котле асфальтосмесительной установки для того, чтобы получить в конечном итоге битум с показателем глубины проникания иглы 103 мм-1. Исходные данные принимаются в соответствии с приложением В и данными таблицы В.1. В этом случае

Следовательно, чтобы иметь в асфальтобетонном слое покрытия после технологического процесса его устройства длительностью 2 ч битум с глубиной проникания иглы при температуре 25 °С, равной 103 мм-1, необходимо иметь его первоначальную глубину проникания иглы в рабочем котле асфальтосмесительной установки 151 мм-1.

В таблице 8 приведены рекомендуемые значения исходной глубины проникания иглы при температуре 25 °С битума в рабочем котле асфальтосмесительной установки в зависимости от продолжительности технологических процессов и свойств материалов, полученных расчетным способом с использованием формулы (9).


Таблица 8 - Требуемые значения показателей глубины проникания иглы для битумов в зависимости от длительности технологических процессов производства асфальтобетонных смесей и устройства асфальтобетонных покрытий

Время хранения асфальтобетонной смеси в бункере-накопителе, ч

Время транспортировки, ч

Толщина слоя асфальтобетона, см

Температура наружного воздуха, °С

Вид минерального материала

Требуемые значения показателя глубины проникания иглы для битума нефтяного дорожного вязкого при температуре 25 °С, мм-1, марки

40/60

60/90

90/130

130/200

200/300

1

2

3

4

5

6

7

8

9

10

-

0,5

4 - 5

5

Осадочные горные породы

54 - 79

79 - 115

115 - 159

159 - 228

228 - 300

10

56 - 82

82 - 119

119 - 161

161 - 232

232 - 300

25

59 - 85

85 - 123

123 - 166

166 - 236

236 - 300

8 - 10

5

55 - 80

80 - 117

117 - 160

160 - 230

230 - 300

10

57 - 83

83 - 121

121 - 164

164 - 234

234 - 300

25

59 - 86

86 - 124

124 - 168

168 - 236

236 - 300

1,0

4 - 5

5

62 - 90

90 - 130

130 - 172

172 - 234

234 - 300

10

64 - 93

93 - 133

133 - 174

174 - 238

238 - 300

25

68 - 97

97 - 138

138 - 178

178 - 242

242 - 300

8 - 10

5

64 - 92

92 - 132

132 - 173

173 - 236

236 - 300

10

66 - 94

94 - 135

135 - 176

176 - 240

240 - 300

25

68 - 97

97 - 139

139 - 179

179 - 244

244 - 300

0,5

0,5

4 - 5

5

63 - 91

91 - 131

131 - 174

174 - 250

250 - 300

10

65 - 94

94 - 134

134 - 179

179 - 254

254 - 300

25

68 - 98

98 - 140

140 - 185

185 - 258

258 - 300

8 - 10

5

64 - 92

92 - 133

133 - 177

177 - 252

252 - 300

10

66 - 95

95 - 136

136 - 181

181 - 254

254 - 300

25

69 - 98

98 - 140

140 - 185

185 - 256

256 - 300

1,0

4 - 5

5

72 - 103

103 - 147

147 - 898

189 - 256

256 - 300

10

74 - 106

106 - 151

151 - 192

192 - 260

260 - 300

25

78 - 111

111 - 157

157 - 198

198 - 264

264 - 300

8 - 10

5

74 - 105

105 - 158

158 - 191

191 - 258

258 - 300

10

76 - 108

108 - 154

154 - 195

195 - 262

262 - 300

25

79 - 112

112 - 159

159 - 199

199 - 266

266 - 300

1,0

0,5

4 - 5

5

72 - 104

104 - 148

148 - 194

194 - 272

272 - 300

10

75 - 107

107 - 152

152 - 198

198 - 278

278 - 300

25

78 - 110

110 - 158

158 - 203

203 - 282

282 - 300

8 - 10

5

74 - 106

106 - 150

150 - 196

196 - 276

276 - 300

10

76 - 109

109 - 154

154 - 200

200 - 280

280 - 300

25

79 - 112

112 - 159

159 - 204

204 - 284

284 - 300

1,0

4 - 5

5

84 - 118

118 - 167

167 - 209

209 - 280

280 - 300

10

87 - 121

121 - 171

171 - 213

213 - 284

284 - 300

25

91 - 127

127 - 177

177 - 218

218 - 290

218 - 300

8 - 10

5

86 - 120

120 - 169

169 - 212

212 - 284

284 - 300

10

88 - 124

124 - 174

174 - 215

215 - 286

286 - 300

25

92 - 128

128 - 178

178 - 220

220 - 290

290 - 300

-

0,5

4 - 5

5

Изверженные горные породы

52 - 74

74 - 110

110 - 150

150 - 216

216 - 300

10

53 - 76

76 - 112

112 - 152

152 - 218

218 - 300

25

55 - 79

79 - 114

114 - 155

155 - 220

220 - 300

8 - 10

5

52 - 76

76 - 111

111 - 151

151 - 218

218 - 300

10

54 - 77

77 - 113

113 - 153

153 - 219

210 - 300

25

56 - 79

79 - 115

115 - 155

155 - 220

220 - 300

1,0

4 - 5

5

58 - 82

82 - 120

120 - 159

159 - 224

224 - 300

10

60 - 83

83 - 122

122 - 160

160 - 226

226 - 300

25

62 - 86

86 - 125

125 - 163

163 - 228

228 - 300

8 - 10

5

59 - 83

83 - 121

121 - 160

160 - 226

226 - 300

10

60 - 85

85 - 122

122 - 161

161 - 226

226 - 300

25

62 - 86

86 - 125

125 - 164

164 - 228

228 - 300

0,5

0,5

4 - 5

5

59 - 83

83 - 122

122 - 163

163 - 228

228 - 300

10

60 - 85

85 - 124

124 - 165

165 - 230

230 - 300

25

63 - 88

88 - 127

127 - 168

168 - 232

232 - 300

8 - 10

5

60 - 84

84 - 123

123 - 164

164 - 228

228 - 300

10

62 - 86

86 - 125

125 - 166

166 - 230

230 - 300

25

63 - 88

88 - 128

128 - 168

168 - 232

232 - 300

1,0

4 - 5

5

66 - 91

91 - 132

132 - 172

172 - 236

236 - 300

10

68 - 94

94 - 135

135 - 174

174 - 238

238 - 300

25

70 - 96

96 - 139

139 - 177

177 - 240

240 - 300

8 - 10

5

67 - 92

92 - 134

134 - 173

173 - 238

238 - 300

10

69 - 94

94 - 137

137 - 174

174 - 238

238 - 300

25

71 - 97

97 - 140

140 - 177

177 - 240

240 - 300

1,0

0,5

4 - 5

5

67 - 92

92 - 135

135 - 176

176 - 238

238 - 300

10

69 - 95

95 - 138

138 - 178

178 - 240

240 - 300

25

72 - 98

98 - 141

141 - 182

182 - 244

244 - 300

8 - 10

5

68 - 94

94 - 137

137 - 177

177 - 240

240 - 300

10

70 - 96

96 - 139

139 - 179

179 - 242

242 - 300

25

72 - 98

98 - 142

142 - 182

182 - 242

242 - 300

1,0

4 - 5

5

75 - 101

101 - 148

148 - 186

186 - 248

248 - 300

10

77 - 103

103 - 154

154 - 189

189 - 250

250 - 300

25

80 - 106

106 - 149

149 - 191

191 - 252

252 - 300

8 - 10

5

76 - 103

103 - 149

149 - 187

187 - 250

250 - 300

10

78 - 104

104 - 151

151 - 190

190 - 250

250 - 300

25

80 - 107

107 - 155

155 - 192

192 - 252

252 - 300


При применении данных таблицы 8 или данных, рассчитанных по формуле (9), следует учитывать региональные условия эксплуатации асфальтобетонных покрытий. К нижнему рекомендуемому пределу показателя глубины проникания иглы относятся битумы, которые рекомендуется использовать в районах с жарким климатом, к верхнему пределу - с холодным климатом.

6.2 При отсутствии возможности получения битума с требуемой глубиной проникания иглы с нефтеперерабатывающих заводов необходимо его доведение непосредственно на месте производства работ путем разжижения исходного вяжущего тяжелыми нефтяными остатками. Например, битумным сырьем (гудроном), битумами нефтяными дорожными жидкими, соответствующими требованиям ГОСТ 11955-82 и другим нормативным документам.

Доведение битума до требуемой глубины проникания иглы осуществляется в специальных обогреваемых емкостях, оборудованных системами принудительного перемешивания, либо в рабочих емкостях асфальтосмесительных установок с обеспеченной циркуляцией.

Количество добавляемого тяжелого нефтяного остатка устанавливается лабораторным путем.

6.3 Выбор вида разжижителя можно осуществлять с учетом исходного группового состава и фактического, полученного расчетным способом по формуле (7) или по рисункам приложения Г.

Например, групповой состав битума марки БНД 90/130 представлен асфальтенами в количестве 19,02 %, смолами - 29,15 %; ароматическими углеводородами - 43,31 % и насыщенными углеводородами - 8,52 % (см. приложение Г, рисунок Г.3). После технологического цикла продолжительностью 2 ч и температуры выпуска асфальтобетонной смеси 150 °С групповой состав, определенный путем интерполяции показателей, полученных при температурах 140 - 160 °С, составил: асфальтены - 20,4 %, смолы - 44,5 %; ароматические углеводороды - 27,3 % и насыщенные углеводороды - 7,8 %. Сравнение полученных результатов позволяет сделать вывод, что наиболее приемлемым разжижителем может служить битумное сырье (гудрон).

6.4 Для снижения негативных процессов старения битумных вяжущих необходимо сократить время пребывания асфальтобетонной смеси в бункерах-накопителях асфальтосмесительной установки, а также время ожидания автомобилей-самосвалов при разгрузке асфальтобетонной смеси.

6.5 При приготовлении асфальтобетонных смесей битум, разогретый до рабочей температуры, в определенных пропорциях дозируется на высушенные и разогретые минеральные материалы. Время перемешивания смеси зависит от типа приготовляемой смеси и обычно составляет 30 - 60 с. Температура смешения должна быть достаточно высокой в рамках, установленных ГОСТ 9128-2009, для того, чтобы битум можно было быстро и равномерно распределить по поверхности минерального заполнителя. Чем выше температура смешения, тем большему окислению (старению) подвергнется битум, покрывающий заполнитель. Существуют верхние и нижние пределы температуры выпуска асфальтобетонных смесей, зависящие от марочной вязкости битума, которые определяются требованиями ГОСТ 9128-2009. Если выполняются выше приведенные условия, необходимо стремиться к нижнему установленному температурному пределу.

6.6 В случае укладки горячих асфальтобетонных смесей при пониженной температуре окружающей среды (весной ниже 5 °С, осенью -10 °С) или при необходимости их длительной транспортировки, температуру выпускаемой смеси, чтобы компенсировать эти два фактора, повышать нежелательно. Рекомендуется применение специальных модифицирующих добавок (присадок), позволяющих снизить регламентированные температурные интервалы уплотнения.

К веществам, обладающим данными свойствами, относятся парафины или жирные кислоты (Sasobit, Thiopave, TLA-X), комбинации химических добавок (Cecabase RT, Evotherm, Rediset WMX) и др. Количество вводимой добавки определяется лабораторным путем.

6.7 Для предотвращения процесса попадания воздуха в бункер-накопитель асфальтосмесительной установки необходимо сделать так, чтобы загрузочная и нижняя заслонки были плотно пригнаны и воздухонепроницаемы, а также обеспечить изоляцию корпуса. Если нижняя заслонка воздухопроницаема, то в бункере происходит «вытяжка» воздуха по принципу печной трубы: через загрузочную заслонку попадает воздух, окисляя смесь. Бункер должен быть максимально заполнен, насколько это возможно, для того, чтобы в его верхней части не оставалось места для воздуха. Кислород воздуха, оставшийся в верхней части не до предела заполненного бункера, реагирует с битумом верхнего слоя асфальтобетонной смеси. В результате этой реакции образуется диоксид углерода, который, будучи тяжелее воздуха, оседает на поверхности смеси, защищая ее от дальнейшего окисления. Рекомендуется производить дооснащение бункеров специальными приспособлениями для нагнетания внутрь не содержащих кислорода газов, в том числе образующихся в процессе горения в сушильном барабане. Эти газы защищают смесь от находящегося в бункере воздуха, а также создают избыточное давление, препятствующее поступлению кислорода воздуха.

6.8 Увеличение толщины битумной пленки приводит к значительному снижению процессов старения. В данном ракурсе предпочтительно применение в верхних слоях дорожной одежды щебеночно-мастичных асфальтобетонных смесей.

6.9 Рекомендуется использовать в качестве минеральных материалов при производстве асфальтобетонных смесей щебня изверженных горных пород.

6.10 Возможно применение предварительно активированных минеральных материалов, в том числе активированных минеральных порошков.

Приложение А

Методика определения динамической вязкости битума

А.1 Сущность метода определения динамической вязкости битума заключается в измерении деформации битумной пленки под действием прилагаемой нагрузки.

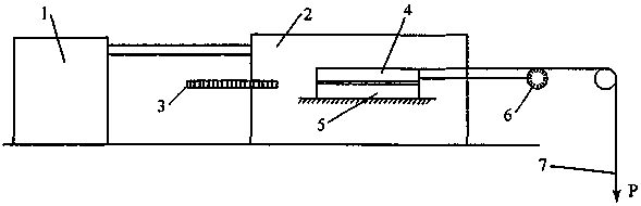
Для проведения испытаний используется прибор плоскопараллельного сдвига (рисунок А.1).

1 - ультратермостат; 2 - термокамера; 3 - термометр; 4 - подвижная пластина; 5 - жестко закрепленная пластина; 6 - индикатор часового типа; 7 - грузовая площадка

Рисунок А.1 - Схема прибора по определению динамической вязкости битума

А.2 Подготовка к испытаниям образца битума производится следующим образом. Битум, разогретый в зависимости от марочной вязкости до требуемой температуры, в заданном количестве, обеспечивающем толщину битумной пленки 50 мкм, наносится на одну из пластин, выполненную из минеральных материалов различного происхождения, установленную на строго горизонтальной поверхности, и распределяется по ее поверхности. Предварительно производится нагрев пластин до температуры, аналогичной температуре применяемого органического вяжущего, в соответствии с требованиями ГОСТ 9128-2009. Количество битума определяется взвешиванием с точностью до 0,001 г с таким расчетом, чтобы с учетом площади пластины и плотности битума получить пленку заданной толщины, эквивалентную средней толщине пленки на зернах минеральной части асфальтобетонной смеси. После этого пластины прижимают друг к другу и охлаждают до комнатной температуры. После остывания при комнатной температуре в течение 1 ч пластины помещают под нагрузку 20Н на 2 ч.

С помощью ультратермостата (см. рисунок А.1) путем непрерывной циркуляции горячей воды устанавливают и в дальнейшем поддерживают в термокамере температуру воздушной среды, равную (50 ± 0,5) °С. После достижения заданной температуры в камеру помещают пластины, где происходит их термостатирование в течение 1,5 ч и более.

Испытание производится следующим образом. На грузовую площадку устанавливают груз, берут начальный отсчет по индикатору и одновременно включают секундомер, фиксируя через определенные промежутки времени рост деформации ползучести верхней пластины относительно нижней. Первоначальную нагрузку выбирают таким образом, чтобы только началась, притом очень медленная, деформация течения. После нескольких отсчетов, когда скорость деформации стала постоянной, нагрузку увеличивают и производят те же операции. Максимальная нагрузка определяется возможностью точного взятия отсчетов по секундомеру и индикатору.

После определения начальной вязкости битума пластины разъединяют. Далее процедура повторяется только с одним различием, что перед испытанием битум в тонкой пленке термостатируется при заданной температуре и времени, которые соответствуют технологическим параметрам производства асфальтобетонных смесей и устройства асфальтобетонных покрытий.

А.3 Обработка результатов испытаний включает построение графиков в координатах «относительная деформация - напряжение сдвига» при различных значениях последнего показателя. На линейных участках этих графиков определяют скорость относительной деформации dε/dt по формуле

dε/dt = Δε/(l Δt),                                                  (A.1)

где Δε - приращение абсолютной деформации, мм, за время Δt, с;

l - размер пластины в плоскости сдвига, мм.

После этого, определив напряжение сдвига σ как частное определение нагрузки на площадь пластин, вычисляют значение вязкости η, Па ∙ с, по формуле

η = σ/(dε/dt).                                                      (A.2)

За величину вязкости принимают среднее арифметическое из двух параллельных определений, расхождение между ними не должно превышать 10 %.

Приложение Б

Методика определения группового состава битума с помощью анализатора тонкослойной хроматографии (TLC) с системой пламенной ионизации (FID) марки IATROSKAN MK-5

Б.1 Комплект оборудования к анализатору тонкослойной хроматографии (TLC) и системы пламенной ионизации (FID) марки IATROSKAN МК-5 (рисунок Б.1) представлен прибором для нанесения проб модели SES 3200/IS02, проявочными камерами TLS, набором кварцевых стержней (хромародов), сушильной камерой, кассетой для удерживания стержней SD-5. Оценка и обсчет полученных результатов производятся с помощью программного обеспечения SES - Chromstar.

1 - сканирующая рамка; 2 - коллектор-электрод; 3 - верхняя крышка; 4 - тепловентиляция; 5 - подъемная булавка; 6 - водородная горелка; 7 - клавиатура; 8 - дисплей; 9 - рабочие клавиши; 10 - панель управления водородом и воздухом; 11 - переключатель мощности

Рисунок Б.1 - Общий вид анализатора тонкослойной хроматографии (TLC) и системы пламенной ионизации (FID) марки IATROSKAN MK-5

Аттестация анализатора тонкослойной хроматографии проводится 1 раз в год.

Б.2 Методика определения компонентного состава битумов состоит из следующих основных операций.

Битумная проба предварительно растворяется в тетрогидрофуране в соотношении 20 мг/мл.

Полученный раствор с помощью прибора для нанесения проб модели SES 3200/IS02 наносится кратное число раз на ряд стержней (хромародов), покрытых SiO2, так, чтобы получить пятно не шире 2 - 3 мм. Кварцевые стержни (хромароды) в количестве 10 шт. располагаются в специальной удерживающей кассете.

Затем в течение 1 - 2,5 мин производится сушка стержней с нанесенными на них пробами в специальной сушильной камере при температуре 40 - 60 °С.

Для разделения битумной пробы приготавливаются три вида выделяющих растворителя:

- n-гептан;

- толуол/n-гептан (в процентных соотношениях 80/20);

- дихлорметан/метанол (в процентных соотношениях 95/5).

Каждый из приготовленных растворов объемом 70 мл заливается в определенную проявочную камеру. Проявочные камеры выполнены из стекла и имеют площадь поверхности 15×13 см и высоту 18 см. На задней стенке проявочной камеры помещается фильтровальная бумага размером 15×15 см, чтобы обеспечить насыщение объема газовой фазой.

Удерживающую кассету с расположенными в ней кварцевыми стержнями (хромародами) для обеспечения разделения битумной пробы последовательно помещают в каждую из проявочных камер. Время выдержки при применении растворителя n-гептан составляет 25 мин, толуол/n-гептан - 7 мин, дихлорметан/метанол - 2,5 мин. Между отдельными стадиями разделения стержни в течение 1 - 2,5 мин сушились в сушильном шкафу при температуре 40 - 60 °С.

В первой проявочной камере разделение пробы битума производится на высоту до 9 см, во второй - до 5 см и в последней - до 2,5 см.

Насыщенные фракции проявляются до 9 см в первой ванне, чтобы избежать превышения отметки 10 см, где начинает сканировать ионизационный детектор. Проявление 5 см во второй ванне ставит ароматику в такое положение, чтобы она не перекрывалась углеводородами и смолами, т. е. их пиками на хроматограмме.

Приготовленные таким образом стержни располагаются в сканирующей рамке анализатора тонкослойной хроматографии (см. рисунок Б.1).

Ионизационный детектор (FID) работает при расходе водорода 160 мл/мин и расходе воздуха 2 л/мин.

При проведении сканирования органические компоненты, выделенные из нанесенной пробы, ионизируются энергией водородного пламени. Полученные ионы имеют как отрицательные, так и положительные заряды. Водородная горелка имеет положительный полюс, а расположенный под ней электрод коллектора действует как отрицательный (рисунок Б.2). Благодаря этому отрицательные ионы текут к горелке, а положительные ионы - к электроду коллектора. Эти потоки ионов текут между горелкой и электродом коллектора пропорционально массе компонентов анализируемого вещества. Величина потока усиливается контуром и регистрируется аппаратом обработки данных (интегратором).

Интегратор производит нелинейную калибровку и распечатывает калибровочную кривую для ее дальнейшей оценки. Данная система позволяет установить режим автоматического расчета пиковых площадей, высот и затем вывести получаемые результаты с указанием числовых значений и времени задержки (прохождения процесса) на принтер (рисунок Б.3).

1 - коллектор-электрод; 2 - прутки; 3 -усилитель тока/напряжения; 4 - интегратор; 5 - контроллер сканирования; 6 - горелка

Рисунок Б.2 - Схема системы пламенной ионизации (FID)

Рисунок Б.3 - Хроматограмма группового состава битума

Б.3 Подготовка проб для испытания битума на старение в тонком слое (50 мкм) осуществляется следующим образом.

Определенное количество битума, обеспечивающее заданную толщину пленки (50 мкм), помещается на поверхность пластины, выполненной из минеральных материалов различного происхождения, или на поверхность пластины из стекла, установленных на строго горизонтальной поверхности. При щадящем нагреве битум распределяется равномерным заданным слоем. Далее испытуемый образец устанавливается на горизонтальную решетку сушильного шкафа, предварительно подогретого до температуры, устанавливаемой требованиями ГОСТ 9128-2009. В процессе испытаний осуществляется непрерывный контроль поддерживаемой температуры. По истечении заданного времени прогрева образцы вынимают из сушильного шкафа и охлаждают в эксикаторе до комнатной температуры. Затем битумную пленку смывают с подложки тетрагидрофураном до полной очистки. При этом количество растворителя определяется таким образом, чтобы получить 1 %-ный раствор пробы (по объему).

Приложение В

Примеры расчета прогнозируемых значений динамической вязкости, глубины проникания иглы и группового состава битума нефтяного дорожного вязкого в процессе его старения в тонких пленках

В.1 Рассмотрим конкретный пример расчета значения динамической вязкости битума нефтяного дорожного вязкого в процессе его старения в составе асфальтобетонной смеси. Для этого воспользуемся формулой (2) и нижеприведенными исходными данными.

Предположим, что технологический процесс производства асфальтобетонной смеси и устройства покрытия включает:

- выпуск горячей плотной асфальтобетонной смеси типа А на основе битума марки БНД 90/130 при первоначальном значении глубины проникания иглы при температуре битума 25 °С, равной 103 мм (в рабочей емкости асфальтосмесительной установки). В качестве горной породы минеральной составляющей асфальтобетона используется гранит. Время хранения в бункере-накопителе асфальтосмесительной установки составляет 0,5 ч при температуре 150 °С. В этом случае температура остается постоянной;

- транспортировку асфальтобетонной смеси в течение 0,5 ч, при этом скорость остывания смеси соответствует 20 °С/ч, т.е. температура снизилась со 150 °С до 140 °С;

- выгрузку асфальтобетонной смеси в приемный бункер асфальтоукладчика и ее распределение слоем по основанию. Температура снизилась со 140 °С до 130 °С. С учетом времени ожидания разгрузки, скорости движения асфальтоукладчика 3 м/мин и длины захватки 100 м время на укладку составляет 0,6 ч;

- уплотнение асфальтобетонной смеси отрядом моторных катков на захватке длиной 100 м. За этот временной промежуток температура изменилась от 130 °С до 70 °С, а время уплотнения (остывания до 70 °С) соответствовало 0,4 ч.

Для технологии производства, описанной выше, исходные данные со значениями коэффициентов интенсивности старения битумов на технологических этапах, применяемые в соответствии с таблицей 1, приведены в таблице В.1.

Таблица В.1 - Исходные данные для расчета

Наименование технологического этапа m

Горная порода минеральной части асфальтобетона

Продолжительность этапа Δtm, ч

Температура

Коэффициент интенсивности старения битума

в начале этапа Tm-1, °C

в конце этапа Тm, °С

в начале этапа km-l

в конце этапа km

Хранение

Изверженные горные породы

0,5

150

150

1,1

1,1

Транспортировка

0,5

150

140

1,1

1,0

Ожидание, выгрузка и укладка

0,6

140

130

1,0

0,9

Уплотнение

0,4

130

70

0,9

0,4

С учетом технологических режимов, приведенных в таблице В.1, динамическая вязкость в конце технологического процесса по формуле (2) будет равна

В.2 Рассмотрим конкретный пример расчета значения глубины проникания иглы при температуре 25 °С битума нефтяного дорожного вязкого в процессе его старения в составе асфальтобетонной смеси. Для этого воспользуемся формулой (5). Исходные данные принимаются в соответствии с п. В.1 данного приложения и сведениями таблицы В.1. В этом случае ожидаемое значение показателя глубины проникания иглы для битума после устройства покрытия составит

В.3 В качестве примера определим групповой состав битума марки БНД 90/130 при температуре 160 °С. В этом случае, используя формулу (7) и данные таблицы 5, получим

Подставляя в систему уравнений значение времени технологических процессов t, ч, определяемое по формуле (8), можно получить числовые показатели компонентов, что позволяет прогнозировать изменение группового состава битума в процессе изотермического прогрева при разных температурах и времени. А также определить фактический групповой состав битума в асфальтобетоне дорожного покрытия.

Приложение Г
(справочное)

Изменение групповых составов битумов нефтяных дорожных вязких в процессе их прогрева при постоянной температуре

1 - асфальтены; 2 - смолы; 3, 4 - соответственно ароматические и насыщенные углеводороды

Рисунок Г.1 - Изменение группового состава битума марки БНД 40/60 в тонкой пленке (50 мкм) в процессе ее термостатирования при температурах:

а - 160 °С; б - 140 °С; в - 120 °С; г - 100 °С

1 - асфальтены; 2 - смолы; 3, 4 - соответственно ароматические и насыщенные углеводороды

Рисунок Г.2 - Изменение группового состава битума марки БНД 60/90 в тонкой пленке (50 мкм) в процессе ее термостатирования при температурах:

а - 160 °С; б - 140 °С; в - 120 °С; г - 100 °С

1 - асфальтены; 2 - смолы; 3, 4 - соответственно ароматические и насыщенные углеводороды

Рисунок Г.3 - Изменение группового состава битума марки БНД 90/130 в тонкой пленке (50 мкм) в процессе ее термостатирования при температурах:

а - 160 °С; б - 140 °С; в - 120 °С; г - 100 °С

1 - асфальтены; 2 - смолы; 3, 4 - соответственно ароматические и насыщенные углеводороды

Рисунок Г.4 - Изменение группового состава битума марки БНД130/200 в тонкой пленке (50 мкм) в процессе ее термостатирования при температурах:

а - 160 °С; б - 140 °С; в - 120 °С; г - 100 °С

1 - асфальтены; 2 - смолы; 3, 4 - соответственно ароматические и насыщенные углеводороды

Рисунок Г.5 - Изменение группового состава битума марки БНД 200/300 в тонкой пленке (50 мкм) в процессе ее термостатирования при температурах:

а - 160 °С; б - 140 °С; в - 120 °С; г - 100 °С

Ключевые слова: старение битума, динамическая вязкость, групповой состав, глубина проникания иглы

Руководитель организации-разработчика
ООО «Стройсервис»

Генеральный директор __________________________ Я.А. Вагнер



© 2013 Ёшкин Кот :-)