Информационная система
«Ёшкин Кот»

XXXecatmenu

ФЕДЕРАЛЬНОЕ АГЕНТСТВО
ПО ТЕХНИЧЕСКОМУ РЕГУЛИРОВАНИЮ И МЕТРОЛОГИИ

НАЦИОНАЛЬНЫЙ
СТАНДАРТ
РОССИЙСКОЙ
ФЕДЕРАЦИИ

ГОСТ Р
54858-2011

КОНСТРУКЦИИ ФАСАДНЫЕ
СВЕТОПРОЗРАЧНЫЕ

Метод определения приведенного
сопротивления теплопередаче

ISO 15099 «Thermal performance of windows, doors and shading devices -
Detailed calculations»
(NEQ)
EN ISO 13947:2006 «Thermal performance of curtain walling -
Calculation of thermal transmittance»
(NEQ)

Москва
Стандартинформ
2012

Предисловие

Цели и принципы стандартизации в Российской Федерации установлены Федеральным законом от 27 декабря 2002 г. № 184-ФЗ «О техническом регулировании», а правила применения национальных стандартов Российской Федерации - ГОСТ Р 1.0-2004 «Стандартизация в Российской Федерации. Основные положения»

Сведения о стандарте

1. ПОДГОТОВЛЕН Учреждением Научно-исследовательский институт строительной физики Российской академии архитектуры и строительных наук (НИИСФ РААСН)

2. ВНЕСЕН Техническим комитетом по стандартизации ТК 465 «Строительство»

3. УТВЕРЖДЕН И ВВЕДЕН В ДЕЙСТВИЕ Приказом Федерального агентства по техническому регулированию и метрологии от 15 декабря 2011 г. № 1563-ст

4. В настоящем стандарте учтены основные нормативные положения следующих международного и европейского стандартов:

- ИСО 15099 «Теплотехнические свойства окон, дверей и солнцезащитных устройств. Процедуры подробного расчета» (ISO 15099 «Thermal performance of windows, doors and shading devices - Detailed calculations, NEQ»)

- EH ИСО 13947:2006 «Теплотехнические характеристики фасадных конструкций. Расчет теплопропускания « (EN ISO 13947:2006 «Thermal performance of curtain walling - Calculation of thermal transmittance, NEQ»)

5. ВВЕДЕН ВПЕРВЫЕ

Информация об изменениях к настоящему стандарту публикуется в ежегодно издаваемом информационном указателе «Национальные стандарты», а текст изменений и поправок - в ежемесячно издаваемых информационных указателях «Национальные стандарты». В случае пересмотра (замены) или отмены настоящего стандарта соответствующее уведомление будет опубликовано в ежемесячно издаваемом информационном указателе «Национальные стандарты». Соответствующая информация, уведомление и тексты размещаются также в информационной системе общего пользования - на официальном сайте Федерального агентства по техническому регулированию и метрологии в сети Интернет

СОДЕРЖАНИЕ

1. Область применения. 2

2. Нормативные ссылки. 3

3. Термины и определения. 3

4. Определение теплотехнических характеристик светопрозрачных ограждающих (фасадных) конструкций, оконных и дверных блоков. 4

5. Теплотехнические характеристики светопрозрачной области. 9

6. Свойства непрозрачных элементов конструкции (рамы) 11

7. Граничные условия. 19

8. Расчет теплотехнических характеристик фасадных конструкций. 21

Приложение А (справочное) Расчетные значения линейного коэффициента теплопередачи остекления в краевых зонах. 23

Приложение Б (рекомендуемое) Расчет конвективной составляющей теплообмена. 24

Приложение В (рекомендуемое) Расчет лучистой составляющей теплообмена. 26

Приложение Г (справочное) Типы светопрозрачных фасадных конструкций. 30

Библиография. 38

НАЦИОНАЛЬНЫЙ СТАНДАРТ РОССИЙСКОЙ ФЕДЕРАЦИИ

КОНСТРУКЦИИ ФАСАДНЫЕ СВЕТОПРОЗРАЧНЫЕ

Метод определения приведенного сопротивления теплопередаче

Translucent facade constructions. Method for determination of thermal transmission resistance

Дата введения - 2012-07-01

1. Область применения

Настоящий стандарт распространяется на светопрозрачные фасадные конструкции, а также на различные типы оконных и дверных блоков и устанавливает процедуры расчета их теплотехнических характеристик.

Установленные настоящим стандартом процедуры расчета теплотехнических характеристик предназначены для использования с помощью компьютерных программ на стадии проектирования строительных объектов, сопоставления различных вариантов конструкций и при анализе энергопотребления здания.

Отдельные разделы настоящего стандарта могут быть использованы для оценки применения различных ограждающих фасадных конструкций в зданиях.

Настоящий стандарт не предназначен для расчета теплотехнических характеристик светопрозрачных конструкций с целью их сертификации.

2. Нормативные ссылки

В настоящем стандарте использованы нормативные ссылки на следующие стандарты:

ГОСТ 26602.1-99 Блоки оконные и дверные. Методы определения сопротивления теплопередаче

ГОСТ 30494-96 Здания жилые и общественные. Параметры микроклимата в помещениях

ГОСТ 30971-2002 Швы монтажные узлов примыканий оконных блоков к стеновым проемам. Общие технические условия

ГОСТ 22233-2001 Профили прессованные из алюминиевых сплавов для светопрозрачных ограждающих конструкций. Технические условия

Примечание - При пользовании настоящим стандартом целесообразно проверить действие ссылочных стандартов в информационной системе общего пользования - на официальном сайте Федерального агентства по техническому регулированию и метрологии в сети Интернет или по ежегодно издаваемому информационному указателю «Национальные стандарты», который опубликован по состоянию на 1 января текущего года, и по соответствующим ежемесячно издаваемым информационным указателям, опубликованным в текущем году. Если ссылочный стандарт заменен (изменен), то при пользовании настоящим стандартом следует руководствоваться заменяющим (измененным) стандартом. Если ссылочный стандарт отменен без замены, то положение, в котором дана ссылка на него, применяется в части, не затрагивающей эту ссылку.

3. Термины и определения

В настоящем стандарте применены следующие термины с соответствующими определениями:

3.1 светопрозрачная ограждающая конструкция: Ограждающая конструкция, предназначенная для освещения естественным светом помещений зданий.

3.2 расчетные зоны светопрозрачной ограждающей конструкции: Участки конструкции (коробка, рама, створка, разделительные элементы: импосты, горбыльки, бруски переплета, центральные и краевые зоны остекления), являющиеся или принимаемые за однородные температурные зоны.

3.3 типоразмерный ряд: Ряд ограждающих конструкций, характеризующихся единым конструктивным решением и отличающихся габаритными размерами, архитектурным рисунком, а также относительной площадью и вариантами остекления.

3.4 навесной фасад: Конструкция, состоящая из вертикальных и горизонтальных профилей, заполнения или деталей, соединенных между собой и закрепленных на каркасе здания при помощи кронштейнов. Конструкция образует наружную оболочку здания, которая самостоятельно или в сочетании с каркасом здания выполняет функции наружной стены, но не участвует в восприятии нагрузок каркаса здания.

3.5 стоечно-ригельный фасад: Навесная фасадная конструкция, включающая стойки, ригели, кронштейны, анкерные крепления, прозрачные (непрозрачные) заполнения, другие элементы, изготовленные заранее и собираемые непосредственно на фасаде здания.

3.6 модульный (элементный фасад): Навесной фасад, состоящий из предварительно изготовленных, включая заполнение, модулей (элементов) высотой в один или несколько этажей и соединенных между собой.

3.7 двойной (двухслойный) фасад: Система, состоящая из наружного и внутреннего слоев остекления и воздушной прослойки. Наружный и внутренний слои остекления могут иметь в своем составе, как стекла, так и стеклопакеты. Оба слоя остекления могут быть снабжены открывающимися элементами. Одной из функций воздушной прослойки является расположение в ней систем солнцезащиты - поворачивающихся ламелей. Глубина воздушной прослойки и тип вентиляции в ней определяются исходя из климатических характеристик региона строительства, требуемых теплотехнических характеристик наружного ограждения и общих принципов проектирования здания, включая его инженерные системы.

3.8 фасад с рамным остеклением: Навесной фасад, состоящий из горизонтальных и вертикальных элементов, соединенных между собой в рамы, закрепленных на каркасе здания и оснащенных заполнениями. Фасад с рамным остеклением имеет визуальную разбивку по вертикали и горизонтали.

3.9 фасад со структурным остеклением: Конструкция навесного фасада, в которой профили не выступают за наружную плоскость заполнений, а вертикальные и горизонтальные швы герметизируются наружными герметиками и/или уплотнительными прокладками. Фиксация заполнений осуществляется путем их вклеивания на внутреннюю поверхность несущей конструкции при минимальном или отсутствующем механическом креплении.

3.10 фасад с полуструктурным остеклением: Разновидность фасада со структурным остеклением с видимыми рамными элементами крепления с наружной стороны в одном из направлений - вертикальном или горизонтальном.

3.11 теплый фасад: Тип конструкции навесного фасада с накладной или закатанной в профиль термоизоляционной вставкой, обеспечивающий защиту внутренних помещений от внешних воздействий отрицательной температуры, шума, воздуха и атмосферных осадков.

3.12 глухое остекление: Часть фасадной конструкции, жестко закрепленная в рамной коробке, не имеющая механизма открывания.

3.13 открывающийся элемент: Рамная конструкция, в т.ч. оконный или дверной блок, обеспечивающая функцию открывания в навесной фасадной конструкции здания.

3.14 светопрозрачное заполнение: Заполнение из прозрачного листового материала (стекла) и/ или стеклопакета.

3.15 непрозрачное заполнение: Заполнение из стекла, стеклопакета, листового облицовочного материала, однослойной или многослойной панели, изготовленной из непрозрачных материалов.

3.16 стойка: Вертикальный несущий элемент для крепления заполнений, который, как правило, воспринимает нагрузки от всей навесной фасадной конструкции и передает их через кронштейны на несущее основание.

3.17 ригель: Горизонтальный несущий элемент для крепления заполнения навесного фасада. Ригель может быть верхний, нижний и центральный.

3.18 кронштейн: Крепежное приспособление, рассчитанное для передачи на несущее основание всех действующих на навесной фасад нагрузок.

3.19 модуль (элемент): Отдельно собранный готовый рамный элемент с заполнением. Поле модуля может иметь светопрозрачное или непрозрачное заполнение; конструктивно и визуально разделено шпроссами, ригелями и стойками на более мелкие поля заполнения.

4. Определение теплотехнических характеристик светопрозрачных ограждающих (фасадных) конструкций, оконных и дверных блоков

Теплотехнические характеристики всей светопрозрачной конструкции рассчитывают путем объединения свойств всех компонентов системы, используя соответствующие площади проекций этих компонентов либо периметр прозрачной зоны конструкции. Свойства всей конструкции определяют на основе общей площади проекции всей конструкции. Площади проекций компонентов и периметр прозрачной зоны показаны на рисунке 1а.

Сопротивление теплопередаче R0 светопрозрачной конструкции вычисляют по формуле

                                       (1)

где Ut - коэффициент теплопередачи светопозрачной ограждающей конструкции;

S0 - площадь проекции светопозрачной ограждающей конструкции;

Sсв, Sнenp - площади проекций светопрозрачной и непрозрачной зон конструкции соответственно;

Rсв, Rнenp - сопротивления теплопередаче центральной части светопрозрачной и непрозрачной зон конструкции соответственно;

ψ - коэффициент линейной теплопередачи, который учитывает взаимодействие между рамой и остеклением или взаимодействие между рамой и непрозрачной панелью;

lψ - длина периметра светопрозрачной зоны.

Знак суммирования Σ, включенный в уравнение (1), используется для подсчета вкладов различных частей одного типа компонента. Например, несколько значений Sсв должны быть использованы для сложения вкладов различных значений.

Альтернативный метод использования краевых зон также применим для вычисления сопротивления теплопередаче конструкции R0. При использовании этого метода нет необходимости определять линейный коэффициент теплопередачи ψ. Вместо этого зону остекления Sсв разделяют на центральную зону остекления Sц, краевую зону остекления Sкp и сопротивление теплопередаче Rкр, которые используют для выражения теплопередачи через краевую зону остекления. Если в остеклении присутствуют разделительные элементы, то зону разделителя Sразд и сопротивление теплопередаче разделителя Rdjv вычисляют так же, как и соответствующую краевую зону остекления, примыкающую к разделителю, и сопротивление теплопередаче краевой зоны разделителя Rde. В качестве разделителя могут выступать стойки и ригели фасадной конструкции.

Общее сопротивление теплопередаче светопрозрачной ограждающей (фасадной конструкции) определяют по выражению (2):

                         (2)

где aв, aн - коэффициенты теплоотдачи у внутренней и наружной поверхностей, соответственно.

При отсутствии разделителя выражение (2) преобразуют в

                                  (2.1)

где Rнenp и Rкр определяются из следующих уравнений:

                                                     (3)

                                                  (3.1)

                                                       (4)

                                                    (4.1)

где Sкр и Sнenp - площади проекции зоны непрозрачной части (рамы) и края остекления соответственно, м2;

lкр и lнепр - длины проекции зоны непрозрачной части (рамы) и края остекления, выбираемые в диапазоне 63,5 - 100 мм соответственно (все размеры измеряют с внутренней стороны).

Величины Qкр и Qнenp тепловых потоков через зоны непрозрачной части (рамы) и краевой зоны остекления (внутренние поверхности) соответственно в (3.1) и (4.1), включая эффект остекления и дистанционной рамки, выражают в Вт/м.

Расчеты должны быть проведены для каждой комбинации непрозрачной части (рамы) и остеклений с различными дистанционными рамками.

Суммирование, включенное в выражение (2), используется для подсчета различных частей одного и того же типа компонента. Например, несколько частей S должны быть использованы, чтобы сложить вклады различных значений R, соответствующих нижней, верхней и боковым частям рамы.

Величина Sнenp может соответствовать подоконнику, верхней и боковым частям непрозрачных элементов конструкции и разделителям. Показанная на рисунке 1в ширина краевых зон остекления, примыкающих к раме и разделителю, равна 63,5 мм (2,5 дюйма). Сумма площадей всех компонентов равна площади проекции всей светопрозрачной конструкции.

Два приведенных выше различных подхода к определению приведенного сопротивления теплопередаче конструкции приводят к двум различным значениям сопротивления теплопередаче непрозрачной части (рамы) конструкции. Сравнение свойств непрозрачной части (рамы) для двух различных конструкций имеет смысл только в том случае, если используется одна и та же расчетная процедура.

Приведенное сопротивление теплопередаче светопрозрачной конструкции, рассчитанное различными методами, может различаться из-за различного подхода при учете теплопереноса в углах конструкции, так как трехмерные эффекты теплопередачи не учитываются. Эта разница более значима для конструкций меньших размеров. Выбор ширины краевой зоны lкр = 63,5 ÷ 150 мм должен быть сделан с учетом снижения различия между двумя альтернативными подходами и более точного учета физических процессов в краевой зоне типовых конструкций. При проведении расчетов нестандартных и уникальных конструкций допускается увеличивать (уменьшать) ширину краевой зоны при наличии соответствующего обоснования.

В целом процедура определения R0 согласно (1) моделирует процесс определения приведенного сопротивления теплопередаче, соответствующий проведению испытаний по ГОСТ 26602.1 с использованием приставной калориметрической камеры, а «альтернативная» процедура согласно (2) - испытаниям по ГОСТ 26602.1 с использованием климатической камеры.

При проведении расчетов допускается принимать значения Rсв, Rнепр, определяемые в ходе испытаний согласно ГОСТ 26602.1 с использованием приставной калориметрической камеры.

При проведении расчетов согласно «альтернативной» процедуре допускается принимать значения Rц, Rкр, Rнепр, Rdiv, Rde, определяемые в ходе испытаний согласно [1] с использованием климатической камеры.

При проведении процедур расчетов учитывают требования [1]: температура внутренней поверхности конструктивных элементов остекления зданий должна быть не ниже 3 °C, а непрозрачных элементов - не ниже температуры точки росы при расчетной температуре наружного воздуха в холодный период года. Влажность внутреннего воздуха принимают по ГОСТ 30494. Температуру точки росы принимают при расчетной температуре и относительной влажности внутреннего воздуха (например, при jв = 55 % и температуре внутреннего воздуха tв - 20 °C), равной tр = 10,7 °C.

Рисунок 1а - Схема, показывающая площади проекций и периметр прозрачной зоны

4.1. Сопротивление теплопередаче центральной зоны остекления

Сопротивление теплопередачи центральной части остекления может быть определено моделированием условий окружающей среды, включающих температурный перепад между внутренней и внешней средой. Без учета падающей солнечной радиации коэффициент теплопередачи Ug - есть величина, обратная сопротивлению теплопередаче

                                                              (5)

Величина Rц находится суммированием сопротивлений теплопередаче на внутренней и внешней граничных поверхностях термических сопротивлений газовых прослоек и слоев остекления (см. рисунок 2):

                                           (6)

где термическое сопротивление j-го слоя остекления:

                                                           (7)

где δст,j - толщина j-го слоя стекла;

λст,j - теплопроводность j-го слоя стекла.

Термическое сопротивление j-го слоя прослойки

                                                          (8)

где ti, ti-1 - температура поверхностей i-го слоя остекления соответственно;

qi - тепловой поток через i-ю воздушную прослойку.

При проведении расчетов допускается принимать значение Rц определяемое в ходе испытаний по ГОСТ 26602.1 с использованием климатической камеры.

4.2. Сопротивление и линейный коэффициент теплопередачи краевой зоны остекления

Для выражения результатов двумерного численного моделирования через сопротивление теплопередаче используют данные о тепловом потоке из внутренней среды через поверхности непрозрачной части конструкции (рамы) и зоны края остекления (в отсутствии солнечной радиации). Значения линейного коэффициента теплопередачи ψ и сопротивления теплопередаче непрозрачной части конструкции должны рассчитываться согласно следующим уравнениям:

                                                 (9)

где L2D - теплотехнический коэффициент связи, определяемый из реальной светопрозрачной конструкции, и

                                               (10)

где lp - длина внутренней стороны видимой части калибровочной теплоизоляционной панели (минимум 100 мм);

lнепр - длина проекции внутренней стороны сечения рамы;

lсв - длина проекции внутренней стороны остекления;

 - теплотехнический коэффициент связи, определяемый из системы непрозрачной части конструкции с установленной калибровочной теплоизоляционной панелью;

Up - коэффициент теплопередачи калибровочной теплоизоляционной панели.

Подробная процедура определения L2D и  приведена в [2].

Значения линейного коэффициента теплопередачи ψ приведены в приложении А.

C - центральная часть; E - краевая зона остекления; F - непрозрачная часть;
D - разделитель; DE - краевая зона остекления у разделителя

Рисунок 1в - Площади центральной зоны остекления, края остекления, разделителя,
края остекления у разделителя и рамы для типичной светопрозрачной конструкции

Рисунок 2 - Система нумерации слоев системы остекления

5. Теплотехнические характеристики светопрозрачной области

Плотность, теплопроводность, вязкость и теплоемкость смесей газов, заполняющих воздушные прослойки, могут быть рассчитаны как функции соответствующих свойств компонентов смеси.

Детальный алгоритм определения свойств газов и смесей газов, заполняющих воздушные прослойки, соотношения, позволяющие определить интенсивность конвективного теплопереноса через прослойки остекления, каждый из которых имеет отношение к одному значению или диапазону значений угла наклона 8, представлены в [3].

5.1. Конвективный коэффициент теплопередачи прослойки остекления

Конвективные коэффициенты теплопередачи в заполненных газом прослойках остекления выражаются через безразмерное число Нуссельта Nui

                                                      (11)

где dg,i - толщина прослойки (или расстояние между слоями остекления) i;

λg,i - теплопроводность заполняющего прослойку газа.

Значение Nui вычисляют, используя соотношения, основанные на результатах экспериментальных измерений теплопередачи через наклонные прослойки газа. Nui есть функция числа Релея Raj, отношения высоты прослойки h к ее ширине δg,i и угла наклона прослойки θ.

Возможно образование прогиба листов стекла для остеклений с большим отношением высоты к ширине. Прогиб может уменьшить или увеличить среднюю толщину прослойки δg,i. Он может возникнуть вследствие отклонений средней температуры прослойки, содержания влаги в ней, поглощения азота осушителем или изменения барометрического давления (вследствие подъема и/или погодных изменений), а также от условий изготовления.

Число Релея может быть выражено как безразмерное:

                                                   (12)

где ρ - плотность, кг/(м с);

d - толщина прослойки, м;

g - гравитационная постоянная, м2/с;

b - термический коэффициент расширения газа, Т-1;

Cp - теплоемкость, Дж/(кг К);

DT - градиент температур, °C;

µ - динамическая вязкость, кг/(м · с);

λ - теплопроводность среды, Вт/(м · °C).

Если рассматривать газ, заполняющий прослойку как идеальный газ, то коэффициент термического расширения газа b вычисляют как

                                                              (13)

где tm - средняя температура газа в прослойке, К.

Отношение высоты прослойки h к ее ширине δ вычисляют как

                                                         (14)

где h - расстояние между верхом и низом прослойки, которое обычно совпадает с высотой прозрачной зоны окна.

Соотношения, позволяющие определить интенсивность конвективного теплопереноса через прослойки остекления, каждый из которых имеет отношение к одному значению или диапазону значений угла наклона θ, представлены в [3]. Эти соотношения основаны на допущении, что прослойка нагревается с внутренней стороны. Если справедливо обратное, то при выполнении вычислений необходимо заменить θ на дополнительный угол (180° - θ).

5.2. Вертикальные воздушные прослойки

Nu = [Nu1, Nu2]max.                                                 (15)

Nu1 = 0,0673838 Ra1/3 5 · 104 < Ra.                                      (16)

Nu1 = 0,028154 Ra0,4134 104 < Ra £ 5 · 104.                               (17)

Nu1 = 1 + 1,7596678 · 10-10 Ra2,2984755 Ra £ 104.                            (18)

                                                (19)

5.3. Воздушные прослойки с углом наклона от 90° до 180°

Газовые прослойки в конструкциях, обращенных внешней стороной вниз, моделируют, используя соотношение

Nu = 1 + [Nuv - 1]sinθ,                                               (20)

где Nuv - число Нуссельта для вертикальной прослойки из выражения (16).

6. Свойства непрозрачных элементов конструкции (рамы)

6.1. Основные уравнения теплотехнического расчета

Определяющее уравнение должно быть разработано на основе баланса энергии, описывающего стационарную теплопередачу теплопроводностью. Определяющее уравнение должно быть дискретизировано, используя оценку потока энергии между двумя узлами или через поверхность любого контрольного объема, и расчет должен проводиться последовательным образом повсюду в расчетной схеме. Геометрия непрозрачных элементов конструкции (рамы) и краевой зоны остекления и соответствующие значения теплопроводности различных материалов λ должны быть заданы. Метод численного решения должен генерировать двумерные тепловые потоки и температурное поле, удовлетворяющее определяющему уравнению. В декартовых координатах это уравнение имеет вид:

                                                     (21)

Плотность теплового потока q должна удовлетворять закону сохранения на любой поверхности, разделяющей два материала, и задается выражением

                                                 (22)

где ex и ey - компоненты нормального вектора к поверхности.

На границе плотность теплового потока q равна

q = qc + qr,                                                            (23)

где qc - конвективная компонента плотности теплового потока;

qr - лучистая компонента плотности теплового потока.

6.2. Геометрия расчетной модели и сетка разбиения

6.2.1. Геометрия расчетной модели

Для расчета необходимы двумерное изображение или модель каждого узла непрозрачных элементов конструкции (рамы), створки и края. Размеры всех частей должны соответствовать номинальным размерам, указанным на чертежах производителя, с подтверждением, что эти чертежи являются действительным представлением светопрозрачной конструкции. Небольшие закругления и незначительные вариации толщины материала, вызванные допусками производства или требованиями усиления и крепежа, могут игнорироваться.

Усилительные и другие элементы оборудования, которые имеют значительную протяженность, сборочные винты и болты, проходящие от внутренней до наружной стороны, или тепловые мостики («мостики холода»), включая не полностью разорванные тепловые мостики, должны быть включены в модель. Эти элементы, являющиеся тепловыми мостиками, должны моделироваться трехмерными компьютерными программами, если последние доступны, в противном случае эти элементы должны моделироваться согласно процедуре, изложенной ниже:

Эффективная теплопроводность элемента, являющегося тепловым мостиком (например, болты, винты, и т.д.), определяется из выражения

λэфф = Fтм · λтм + (1 - Fтм) · λн,                                               (24)

где Fтм = s/d;

s - размер элемента - теплового мостика (например, размер головки болта);

d - расстояние между элементами - тепловыми мостиками;

λтм - теплопроводность материала теплового мостика;

λн - теплопроводность сечения без теплового мостика.

Для определения необходимости проведения вышеприведенной процедуры [вычислений по (24)] применяются следующие критерии:

а) если Fтм £ 1 %, то тепловой мостик игнорируется;

б) если 1 % < Fтм < 5 %, то процедура используется при условии λтм > 10λн;

в) если Fтм > 5 %, то процедура используется всегда.

Компоненты окна, которые сжимаются или деформируются по сравнению с их первоначальной формой при установке в окно (например, уплотнители), должны моделироваться в уплотненном или деформированном виде. Изменения размеров модели для целей согласования отдельных ее компонентов допускаются, только если это не оказывает значительного влияния на результат вычислений [2].

Части сечения профиля, которые заканчиваются вертикальными или горизонтальными линиями, должны быть представлены в модели подобными прямыми линиями с сохранением номинальной толщины и относительного положения этих частей. Наклонные линии должны быть представлены подобными наклонными линиями с сохранением номинальной толщины и относительного положения части сечения или серией горизонтальных и вертикальных линий, которые изображены на рисунке 3, позиции 1 - 4 (верхний ряд). Кривые линии должны быть представлены подобными кривыми линиями с сохранением номинальной толщины и относительного положения части сечения или серией горизонтальных и вертикальных линий, которые изображены на рисунке 3, позиции 1 - 6 (нижний ряд). Толщина представления в модели равна средней толщине с учетом допусков изготовления.

Все точки на линии в модели должны быть в пределах 5 мм от действительной линии/кривой. Среднее расстояние (для всех точек) между линией модели и действительной линии/кривой должно быть меньше чем 2,5 мм.

Для стенок и перемычек из теплопроводных материалов (материалы с теплопроводностью в 10 и более раз большей, чем теплопроводность окружающего материала) различие длины исходной и аппроксимирующей частей не должно быть более 5 %. Если это невозможно, то из условия равенства произведения толщины аппроксимирующей части на ее теплопроводность произведению толщины аппроксимирующей части на теплопроводность и на (cosy + siny), где y - угол наклона моделируемой части, находят новое значение теплопроводности для аппроксимирующей части. Результат не зависит от выбора вертикали или горизонтали для нахождения угла y.

Если наклонные элементы в модели представлены серией прямоугольников, то длина контакта между примыкающими прямоугольниками должна быть равна средней действительной толщине с учетом допусков на изготовление.

Некоторые конструкции светопрозрачных ограждающих конструкций имеют фланцы для увеличения надежности закрепления окна в проеме. Если эти фланцы покрывают другими материалами (например, кирпичом), то часть фланца, выступающую за пределы проема, при моделировании игнорируют.

В большинстве случаев внутренняя и наружная границы модели соответствуют границам сечения профиля. Это относится также к случаю, когда профиль содержит открытые внутренние или наружные полости (вентилируемые полости и выемки).

Рисунок 3 - Примеры приемлемых вариантов представления сечения

6.2.2. Сетка разбиения

Двумерная модель должна быть разбита на небольшие элементы (представлена в виде сетки), чтобы обеспечить точность представления тепловых потоков и распределения температур в расчетной области. Размеры элементов сетки должны быть такими, чтобы обеспечивалось следующее требование: коэффициент теплопередачи непрозрачных элементов конструкции (рамы) и краевой зоны остекления для каждого сечения, полученный решением определяющих уравнений двумерной теплопередачи, приведенных выше, должен отличаться не более чем на 1 % от коэффициента теплопередачи модели непрозрачных элементов конструкции (рамы) и краевой зоны остекления, полученного для идеальной (т.е. бесконечно мелкой) сетки. Допустимые схемы разбиения включают следующие требования:

а) для последовательной дискретизации определяющее уравнение теплопередачи решается для выбранной сетки. Сетка делается мельче либо равномерно по всей расчетной области, либо на участках большого изменения теплового потока, и таким образом определяется новый коэффициент теплопередачи. Проводят экстраполяцию коэффициента теплопередачи для сетки с бесконечно большим числом узлов. Сетку рассматривают как достаточно мелкую, если полученное значение коэффициента теплопередачи отличается не более чем на 1 % от экстраполированного значения коэффициента теплопередачи;

б) метод оценки нормы ошибки энергии [3] применяют таким образом, чтобы рассчитанное значение коэффициента теплопередачи непрозрачных элементов конструкции (рамы) и краевой зоны остекления отличалось не более чем на 1 % от значения коэффициента теплопередачи, определенного для идеальной сетки;

в) любые другие методы, имеющие обоснование в публикациях, применимы, если рассчитанное значение коэффициента теплопередачи непрозрачных элементов конструкции (рамы) и краевой зоны остекления отличается не более чем на 1 % от значения коэффициента теплопередачи, определенного для идеальной сетки.

6.3. Теплофизические характеристики материалов

Используют значения теплопроводности материалов из [4]. При отсутствии данных допустимо использовать значения теплопроводности материалов из [5]. Если ни один из этих источников не используется, то значения теплопроводности материалов определяются экспериментально по ГОСТ 7076 или по [6], [7].

Значения поверхностной эмиссионной способности материалов непрозрачных элементов конструкции используются из национальных стандартов. В противном случае должны использоваться значения поверхностной эмиссионной способности материалов из [5].

6.4. Эффективная теплопроводность воздушных прослоек

Воздушные прослойки рассматривают так, как если бы они содержали непрозрачный твердый материал с эффективной теплопроводностью. Эффективная теплопроводность воздушной прослойки должна рассчитываться с использованием результатов расчета прозрачной зоны остекления. Для i-й прослойки

                                                (25)

6.5. Эффективная теплопроводность невентилируемых воздушных прослоек непрозрачных элементов конструкции (полости рамы)

Полость непрозрачного элемента конструкции (рамы) рассматривают как содержащую непрозрачный твердый материал с эффективной теплопроводностью. Эффективную теплопроводность λэфф рассчитывают с учетом конвективной и радиационной составляющих теплопередачи и определяют следующим образом

λэфф = (aконв - aрад) · dн,                                                (26)

где λэфф - эффективная теплопроводность;

aконв - конвективный коэффициент теплопередачи;

aрад - радиационный коэффициент теплопередачи (hr = 0 для случая, когда используется детальная процедура расчета радиации);

d - толщина или ширина воздушной полости в направлении потока тепла.

Конвективный коэффициент теплопередачи aконв рассчитывают, используя число Нуссельта Nu, которое может быть определено из различных соотношений и зависит от отношения размеров полости, ориентации и направления теплового потока

                                                    (27)

Рассматривают три различных случая, отличающихся направлением теплового потока: вверх, вниз или горизонтально.

6.5.1. Эффективная теплопроводность невентилируемых воздушных прослоек при тепловом потоке, направленном вниз (см. рисунок 4)

Nu = 1,0                                                              (28)

Рисунок 4 - Тепловой поток в прямоугольной полости, направленный вниз

6.5.2. Эффективная теплопроводность невентилируемых воздушных прослоек при тепловом потоке, направленном вверх

Ситуация в этом случае существенно нестабильная, число Нуссельта зависит от отношения высоты полости к ее ширине Lv/Lh, где Lv и Lh есть наибольшие размеры полости в вертикальном и горизонтальном направлениях (см. рисунок 5).

а) для  конвекция ограничена трением о стенки и Nu = 1,0;

б) для  число Нуссельта рассчитывают согласно зависимости

        (29)

где k1 = 1,40; ; .

крит - критическое число Релея, которое находят методом наименьших квадратов из табулированных значений:

                                                   (30)

Ra - число Релея для воздушной полости:

                                            (31)

в) для  число Нуссельта:

                                 (32)

Рисунок 5 - Тепловой поток в прямоугольной полости, направленный вверх

6.5.3. Эффективная теплопроводность невентилируемых воздушных прослоек при горизонтальном тепловом потоке (см. рисунок 6)

В зависимости от отношения высоты полости к ее ширине Lv/Lh:

а) для  - число Нуссельта:

           (33)

где Ra - число Релея, определяемое по (31),

б) для  число Нуссельта рассчитывают как максимальное значение:

                                        (34)

                                               (35)

Nut = 0,0605Ra1/3;                                                       (36)

в) для  число Нуссельта находится линейной интерполяцией между значениями по перечислениям а) и б).

Рисунок 6 - Горизонтальный тепловой поток в прямоугольной полости

В боковых частях непрозрачного элемента конструкции (рамы) полости ориентированы вертикально, и поэтому высоту полости измеряют в направлении, перпендикулярном к плоскости сечения. Для этих полостей предполагается, что направление теплового потока всегда горизонтальное и , т.e. должны быть применены зависимости по формулам (34) - (36).

Температуры tx и tr неизвестны заранее, поэтому необходимо их оценить. Рекомендуемыми значениями являются tr = 10 °C и tx = 0 °C, однако, после расчета необходимо уточнить значения этих температур из полученного результата. Эту процедуру необходимо повторять, пока абсолютное значение разности |tr - tx| двух последовательных расчетов не станет меньше или равно 1 °C. Важно также проверить направление потока тепла после первого расчета и, если направление основной части теплового потока отличается от первоначально заданной, необходимо изменить направление потока тепла для последующего расчета.

Геометрия невентилируемой полости непрозрачного элемента конструкции (рамы) непрямоугольной формы должна быть преобразована в эквивалентную прямоугольную полость согласно [5] (см. рисунок 7). Для этих полостей должна использоваться следующая процедура при определении того, какая поверхность может считаться вертикальной или горизонтальной, эквивалентной прямоугольной полости (см. рисунок 8).

Если кратчайшее расстояние между двумя противоположными поверхностями меньшее 5 мм, полость рамы должна быть разделена на две в суженной части. Возможны следующие варианты:

а) любая поверхность, нормаль к которой находится между 315° и 45°, считается левой вертикальной поверхностью;

б) любая поверхность, нормаль к которой находится между 45° и 135°, считается нижней вертикальной поверхностью;

в) любая поверхность, нормаль к которой находится между 135° и 225°, считается правой вертикальной поверхностью;

г) любая поверхность, нормаль к которой находится между 225° и 315°, считается верхней вертикальной поверхностью.

Температуры эквивалентных вертикальной и горизонтальной поверхностей должны рассчитываться как среднее значение по поверхности согласно вариантам, приведенным выше. Направление теплового потока следует определять по разнице температур между вертикальной и горизонтальной поверхностями эквивалентной полости. При выборе (см. рисунок 9) необходимо использовать следующее правило:

а) тепловой поток считают горизонтальным, если абсолютное значение разницы температур между вертикальными поверхностями полости больше, чем между горизонтальными поверхностями полости;

б) тепловой поток считают вертикальным и направленным вверх, если абсолютное значение разницы температур между горизонтальными поверхностями полости больше, чем между вертикальными поверхностями полости, и разница температур между верхней горизонтальной и нижней горизонтальной поверхностями полости отрицательная;

в) тепловой поток считают вертикальным и направленным вниз, если абсолютное значение разницы температур между горизонтальными поверхностями полости больше, чем между вертикальными поверхностями полости, и разница температур между верхней горизонтальной и нижней горизонтальной поверхностями полости положительная.

6.5.4. Лучистая составляющая теплового потока

Лучистую составляющую коэффициента теплопередачи aл рассчитывают по формуле

                               (37)

где s - константа Стефана-Больцмана, равная 5,6693 · 108 Вт/(м2 · °C4).

                                                            (38)

Обозначения к формуле (37) даны в предположении горизонтального направления радиационного потока в полости. Если направление теплового потока вертикальное, то необходимо использовать обратное значение отношения Lh/Lv (т.е. Lv/Lh).

Примечание -  t £ 5 мм и

1 ÷ 12 - номера поверхностей соответственно

Рисунок 7 - Пример преобразования полости непрямоугольной формы

Рисунок 8 - Схема выбора ориентации поверхностей полости согласно направлению
нормали к ним; границы между направлениями задаются углами 45°, 135°, 225° и 315°

а) |tпр - tлев| ³ |tверх - tниз|

- горизонтальный тепловой поток;

б) |tпр - tлев| < |tверх - tниз| и tверх < tниз

- вертикальный тепловой поток, направленный вверх;

в) |tпр - tлев| < |tверх - tниз| и tверх > tниз

- вертикальный тепловой поток, направленный вниз

Рисунок 9 - Пример выбора направления теплового потока

6.6. Вентилируемые воздушные полости и выемки

6.6.1. Слабо вентилируемые полости и выемки малого сечения

Открытые выемки/каналы малого сечения (см. рисунок 10) или полости, соединенные с внешним или внутренним окружением щелью толщиной более 2 мм, но не превышающей 10 мм, должны рассматриваться как слабо вентилируемые воздушные полости. Эквивалентная теплопроводность таких полостей принимается в два раза большей, чем теплопроводность невентилируемых полостей того же размера согласно 6.5. В случаях, когда толщина щели меньшее или равна 2 мм, полость рассчитывают как полностью закрытую согласно 6.5.

Рисунок 10 - Примеры слабо вентилируемых полостей и выемок малого сечения

6.6.2. Хорошо вентилируемые полости и выемки большого сечения

В случаях, рассмотренных в 6.6 и 6.6.1, в особенности если ширина b выемки или щели, соединяющей полость с окружающей средой, превышает 10 мм, предполагается, что вся поверхность открыта для окружающей среды. Поэтому коэффициенты теплоотдачи наружной и внутренней поверхностей aн и aв должны рассчитываться в соответствии с методиками, изложенными в приложениях Б и В.

Для большой полости, соединенной одиночной щелью длиной, превышающей ширину в пять и более раз (см. рисунок 11), следует применять детальную модель лучистого теплообмена для определения лучистой составляющей коэффициента теплоотдачи поверхности согласно приложения В.

7. Граничные условия

Теплотехнические характеристики можно определить, используя стандартный расчетный метод, однако эти свойства зависят от граничных условий (т.е. окружающей среды), воздействующих на конструкцию.

Граничные условия состоят из:

а) температур внутреннего и наружного воздуха tн и tвн соответственно;

б) коэффициентов теплоотдачи внутренней и наружной поверхностей aв и aн соответственно.

Для проведения расчетов с целью сопоставления теплотехнических характеристик различных светопрозрачных ограждающих конструкций используют стандартные граничные условия. Сопоставление теплотехнических характеристик различных светопрозрачных ограждающих конструкций проводится при выборе для расчета одинаковых граничных условий.

Для оценки эксплуатационных характеристик конструкций, условий соблюдения требований [1], а также выпадения конденсата на внутренней поверхности конструкции в расчете принимают значения температуры наиболее холодной пятидневки в соответствии с [8] для региона строительства. При выполнении расчетов для зданий и помещений различного назначения рекомендуется корректировать внутренние граничные условия с учетом требований ГОСТ 30494 и [1], [4].

При проведении расчетов для высотных зданий необходимо учитывать изменение температуры воздуха в зависимости от высоты здания из расчета снижения температуры наружного воздуха tн на 1 °C на каждые 150 м. Изменения коэффициентов теплоотдачи наружной поверхности aн проводят согласно с методиками, изложенными в приложениях Б и В с учетом изменения скорости наружного ветра при изменении высоты здания по таблице 18 [4].

7.1. Стандартные граничные условия

Стандартные граничные условия для зимнего периода:

tвн = 20 °C;

tнap = -20 °C;

aв = 8 Вт/(м2 · °C);

aн = 23 Вт/(м2 · °C).

При выполнении расчетов для зданий и помещений различного назначения допускается корректировать внутренние граничные условия с учетом требований ГОСТ 30494 и [1], [4], наружные - с учетом требований ГОСТ 30494 и [1], [8].

7.2. Конвективная теплопередача

Конвективная теплопередача - это обмен энергией между поверхностью и движущейся жидкостью или газом. Когда тепло передается естественной конвекцией (т.е. конвекцией вследствие температурного градиента), скорость воздуха достаточно мала (т.е. менее 0,3 м/с). С другой стороны, теплопередача вынужденной и смешанной конвекцией происходит при скорости воздуха более 0,3 м/с. Точное определение конвективной теплопередачи на внутренних и внешних граничных поверхностях может быть получено измерением или компьютерным моделированием.

Конвективная теплопередача на внутренней поверхности преимущественно определяется естественной конвекцией и значительно реже - вынужденной или смешанной конвекцией. В стандартных граничных условиях предполагается естественная конвекция на внутренней поверхности. Плотность конвективного теплового потока qконв.в на внутренней поверхности определятся по формуле

qконв.в = aконв.в · (tв - tв),                                                (39)

где tв - температура внутренней поверхности светопрозрачной конструкции.

Процедура расчета конвективной составляющей теплообмена приведена в приложении Б.

7.3. Теплопередача излучением

Детальное описание процедуры расчета лучистого теплообмена приведено в приложении В.

7.4. Совместный конвективный и радиационный теплообмен

Тепловой поток через ограждающую конструкцию определяется зависимостью

q = a(t - t),                                                            (40)

где

a = aл + aк;                                                            (41)

t - температура поверхности;

t - температура окружающей среды.

Если граничные поверхности в модели представлены приближенным методом, используя правила по 6.2, то общий коэффициент теплообмена на поверхности aнов определяют из выражения

                                                    (42)

где F - площадь граничной поверхности.

8. Расчет теплотехнических характеристик фасадных конструкций

8.1. Классификация светопрозрачных фасадных конструкций

Светопрозрачные фасадные конструкции подразделяют:

а) по конструктивным особенностям на:

- витраж В,

- стоечно-ригельную систему СР,

- модульную систему М,

- комбинированную систему К,

- структурное остекление С,

- полуструктурную систему ПС,

- спайдерное остекление СО;

б) по теплотехническим характеристикам на:

- холодные X,

- теплые Т;

в) по способу отвода конденсата на:

- с использованием пластикового отлива,

- при помощи горизонтального лотка;

г) по классам на:

- по приведенному сопротивлению теплопередаче,

- по ветровой нагрузке,

- по водонепроницаемости,

- по воздухопроницаемости,

- по снижению воздушного шума;

д) по способу монтажа на:

- снаружи,

- изнутри.

Схемы основных конструктивных типов светопрозрачных фасадных конструкций приведены в приложении Г.

8.2. Методика расчета и выбор расчетных зон

Возможны два метода расчета теплотехнических характеристик светопрозрачных фасадных конструкций:

- метод оценки целого;

- метод оценки компонентов.

Типичный исходный элемент для расчетов можно разделить на площади с различными теплотехническими характеристиками (на глухую и открывающуюся светопрозрачные части, стойку, ригель, элементы остекления и непрозрачный элемент) (см. рисунок 11).

Фасадную конструкцию можно разделить на несколько элементов с помощью секущих плоскостей так, чтобы приведенное сопротивление теплопередаче (коэффициент теплопропускания) всего фасада рассчитывать как средневзвешенное по площади сопротивление теплопередаче (коэффициент теплопропускания) каждого элемента. Необходимые исходные данные (теплотехнические характеристики каждого элемента) получают путем теплотехнических испытаний либо двухмерного компьютерного моделирования.

Тепловые эффекты соединений с основной конструкцией и тепловые эффекты узлов крепления рассчитывают в соответствии с [2].

Сопротивление теплопередаче (теплопроводность) непрозрачной части конструкции (рамы) определяют в соответствии с разделом 4 настоящего стандарта либо расчетным путем по [5], [9], либо экспериментальным путем по ГОСТ 26602.1 или [10]. Сопротивление теплопередаче (теплопроводность) элементов остекления определяют в соответствии с разделом 4 настоящего стандарта либо расчетным путем по [11], либо экспериментальным путем в соответствии с ГОСТ 26602.1 или по [12], [13]. Теплотехническое взаимодействие непрозрачной части конструкции (рамы) и заполняющих светопозрачных и непрозрачных элементов определяют в соответствии с 4.2 и 4.3 настоящего стандарта.

Разделение фасада на однородные тепловые зоны следует проводить так, чтобы избежать каких-либо значительных расхождений в результатах расчетов для фасада, рассматриваемого как одно целое, и для теплового потока, проходящего через разделенный на зоны фасад. Надлежащее разделение фасада на несколько геометрических частей достигается подборкой подходящих секущих плоскостей.

1 - стойка; 2 - ригель; 3 - открывающийся элемент (створка и рама);
4 - светопрозрачный элемент; 5 - непрозрачный элемент

Рисунок 11 - Расчетные зоны элемента фасада

8.3. Оформление протокола по результатам теплотехнического расчета

По результатам теплотехнического расчета оформляют заключение или протокол, включающий в себя:

- исходные данные по рассчитываемой конструкции;

- чертежи, разрезы и геометрические размеры всех основных элементов;

- точную спецификацию используемых материалов с их теплотехническими характеристиками с указанием источника (справочные материалы, библиотека расчетной программы, данные испытаний и др.);

- точную спецификацию стеклопакетов и стеклоизделий (включая характеристики стекол, наличие и характеристики низкоэмиссионных покрытий, заполнения прослоек, материал и геометрические размеры дистанционной рамки, герметики);

- число и толщину воздушных полостей (для фрагментов рам из пластика);

- наличие и расположение металлического крепления (для фрагментов рам из пластика);

- чертежи непрозрачной части (рамы);

- толщину пустот, заполненных газами, и описание этих газов;

- тип стекла, его толщину, тепловые свойства и эмиссионную способность его поверхностей;

- толщину и описание любых непрозрачных элементов в непрозрачной части (раме);

- расположение элементов крепления и запирания;

- характеристики непрозрачных элементов;

- расстояние между крепежными элементами внешних и внутренних фрагментов с влиянием тепловых мостиков, которые должны быть оценены.

Если в расчетах используют экспериментальные или рассчитанные значения, то необходимо указать, какими методами они получены, со ссылкой на действующий нормативный документ.

Результаты расчета должны содержать точную и полную информацию об использованных граничных условиях и аргументацию их применения.

Результаты расчета должны содержать ссылки на настоящий стандарт, ссылку на используемый алгоритм расчета, используемые расчетные площади и соответствующие значения их теплотехнических характеристик.

При проведении теплотехнического расчета для определения условий невыпадения конденсата на внутренних поверхностях конструкции и соблюдения [2] необходимо указание на использованные граничные условия проведения расчета и оценки характеристик конструкции.

Приложение А
(справочное)

Расчетные значения линейного коэффициента теплопередачи остекления в краевых зонах

Таблица А.1 - Значения линейного коэффициента теплопередачи ψост для листового стекла

Толщина стекла, мм

Значения линейного коэффициента теплопередачи ψост

4

0,030

6

0,035

8

0,041

10

0,047

Таблица А.2 - Значения линейного коэффициента теплопередачи ψост для однокамерных и двухкамерных стеклопакетов

Ширина дистанционных рамок

Значения линейного коэффициента теплопередачи ψост при различной степени заглубления дистанционной рамки относительно грани штапика f

Дистанционные рамки из алюминиевых сплавов

Дистанционные рамки из нержавеющей стали

Дистанционные рамки из ПВХ, Termix, TPS и т.п.

f = 0

f = 5

f = 10

f = 0

f = 5

f = 10

f = 0

f = 5

f = 10

Однокамерные стеклопакеты

6

0,03

0,03

0,02

0,03

0,03

0,03

0,01

0,01

0,01

10

0,04

0,03

0,03

0,04

0,03

0,03

0,01

0,02

0,02

14

0,05

0,04

0,03

0,05

0,04

0,03

0,02

0,03

0,03

18

0,06

0,05

0,04

0,06

0,05

0,04

0,03

0,03

0,03

22

0,07

0,06

0,05

0,07

0,06

0,05

0,04

0,04

0,04

Двухкамерные стеклопакеты

6

0,05

0,04

0,03

0,05

0,05

0,04

0,03

0,03

0,02

10

0,06

0,06

0,05

0,05

0,05

0,05

0,04

0,03

0,03

14

0,07

0,06

0,06

0,06

0,05

0,05

0,04

0,04

0,03

18

0,07

0,07

0,06

0,06

0,07

0,07

0,04

0,04

0,03

22

0,08

0,08

0,07

0,07

0,07

0,07

0,04

0,04

0,04

Примечания к таблицам А.1 и А.2:

1. Значения, представленные в таблицах А.1 и А.2, соответствуют дистанционным рамкам с толщиной стенок: из алюминия и нержавеющей стали - 0,25 мм; из ПВХ - 1,0 мм; для рамок типа TPS - 5 - 7 мм.

2. Значения, представленные в таблицах А.1 и А.2, рассчитаны для оконных блоков из древесины и ПВХ. Для оконных блоков из алюминиевых сплавов с термовставками представленные значения следует увеличить на 15 %.

Приложение Б
(рекомендуемое)

Расчет конвективной составляющей теплообмена

Б.1. Определение теплопередачи естественной конвекцией

Конвективный коэффициент теплообмена на внутренней поверхности aконв. в определяется выражением, использующим число Нуссельта Nu:

                                                    (Б.1)

где λ - теплопроводность воздуха.

Значение Nu находят из функции соответствующего числа Релея в зависимости от высоты Н светопрозрачной конструкции Raн.

                                               (Б.2)

где различные свойства воздуха задают при средней температуре пограничного слоя воздуха:

                                                     (Б.3)

Так как конвективный коэффициент теплообмена на внутренней поверхности является функцией температуры внутренней поверхности остекления tв, то необходимо обновлять значение aконв.в в процессе расчета модели теплопередачи остекления:

а) конструкции с наклоном от 0° до 15° (0°< θ < 15°):

                                                    (Б.4)

б) конструкции с наклоном от 15° до 90° (15° < θ < 90°):

 RaH £ Rac;                                         (Б.5)

 RaH > Rac;                           (Б.6)

 θ, в градусах;                                      (Б.7)

в) конструкции с наклоном от 90° до 179° (90° < θ < 179°):

105 £ RaHsinθ £ 1011;                                 (Б.8)

г) конструкции с наклоном от 179° до 180° (179°< θ <180°):

 RaH £ 1011.                                             (Б.9)

Б.2. Вынужденная конвекция (при любом наклоне)

В случае вынужденного/принудительного потока воздуха на внутренних поверхностях светопрозрачной конструкции (см. [14]) конвективный коэффициент теплообмена на внутренней поверхности aконв. в определяется как

aконв. в = 4 + 4Vs Вт/(м2 · °C),                                          (Б.10)

где Vs - скорость свободного потока вблизи поверхностей светопрозрачной конструкции, м/с.

Б.3. Конвективный коэффициент теплообмена - наружная сторона

Конвективный теплообмен на внешней/наружной поверхности конструкции происходит преимущественно вынужденной конвекцией (для ситуаций, где встречается естественная конвекция, см. Б.4). Плотность конвективного теплового потока на внешней границе определяется как

aконв. н = aконв. н · (tн - tн),                                               (Б.11)

где tн - температура наружной поверхности светопрозрачной конструкции.

Интенсивность вынужденной конвективной теплопередачи на внешней поверхности здания, возникающей между поверхностью здания и окружающим воздухом, определяется несколькими факторами. Последние включают в себя разницу между температурой поверхности и температурой воздуха, скорость и направление движения воздуха (ветер) над зданием, форму и шероховатость поверхности здания. Так как эти факторы нестационарны, то точный математический анализ конвективной теплопередачи на внешней поверхности в настоящее время невозможен вследствие трудностей задания граничных условий.

Конвективный коэффициент теплоотдачи наружной поверхности здания aконв. н можно определить как

aконв. н = 4,7 + 7,6Vs Вт/(м2 · °C),                                     (Б.12)

если поверхность наветренная (против ветра):

Vs = 0,25; V > 2, м/с;                                            (Б.12-1)

Vs = 0,5; V £ 2, м/с,                                              (Б.12-2)

где V - измеряемая скорость ветра и Vs скорость свободного потока воздуха вблизи поверхностей светопрозрачной конструкции.

Если поверхность подветренная:

Vs = 0,3 + 0,05V, м/с.                                                (Б.13)

Для того чтобы определить, является поверхность наветренной или подветренной, рассчитывают направление ветра g относительно поверхности ограждающей конструкции (см. рисунок Б.1):

g = e + 180° - θ.                                                       (Б.14)

Если |g| > 180°, то g = 360° - |g|.

Если - 45° < |g| < 45°, то поверхность наветренная, в противном случае поверхность подветренная,

где θ - направление ветра (угол, измеряемый по движению часовой стрелки от направления на север - см. рисунок Б.2);

e - азимут стены (положительный угол от южного в западном направлении и отрицательный - в восточном направлении - см. рисунок Б.1);

n - перпендикулярное направление к ограждающей конструкции.

Рисунок Б.1 - Определение направления ветра и азимута стены

Б.4. Теплопередача естественной конвекцией

Конвективный коэффициент теплообмена на внешней поверхности при естественной конвекции aконв. н рассчитывают по выражению, использующему число Нуссельта Nu:

                                                    (Б.15)

где λ - теплопроводность воздуха;

H - высота прослойки остекления.

Значение Nu находится из функции соответствующего числа Релея в зависимости от высоты Н прослойки остекления RaH:

                                              (Б.16)

где различные свойства воздуха задаются при средней температуре пограничного слоя воздуха:

                                                  (Б.17)

Соотношения для вычисления конвективного коэффициента теплообмена на внешней поверхности идентичны соотношениям для внутренней поверхности.

Приложение В
(рекомендуемое)

Расчет лучистой составляющей теплообмена

В.1. Средняя радиационная температура

Значение внешней средней радиационной температуры зависит от объекта расчета: при моделировании натурных условий или при сравнении и оценке конструкций в контролируемых лабораторных условиях.

Для натурных условий внешний поток лучистой энергии задают через внешнюю радиационную температуру tрад. н:

                                                        (B.1)

Предполагается, что внешние поверхности светопрозрачной конструкции облучаются окружающими поверхностями и небосвод состоит из двух зон: одна - облачная и другая - чистая. Облачная часть неба рассматривается как большая закрывающая поверхность с температурой, равной температуре внешнего воздуха. Средняя радиационная температура может быть в этом случае определена как

                                 (В.2)

где Fз и Fн - угловые коэффициенты внешних поверхностей светопрозрачной конструкции по отношению к земле (т.е. зона ниже горизонта) и небу соответственно.

Фактор fн - чистая часть неба:

Fз = 1 - Fн;                                                          (В.3)

                                                      (В.4)

Плотность потока излучения чистого неба Jн может быть прямо задана в формуле (В.2), если ее значение известно:

                                                        (В.5)

                                                         (В.6)

                                                   (B.7)

Облученность внутренних поверхностей Gв определяется по формуле

                                                      (B.8)

Предполагается, что внутренние поверхности светопрозрачной конструкции облучаются только внутренними поверхностями комнаты, которые можно рассматривать как большую замыкающую поверхность, имеющую температуру внутреннего воздуха. С учетом этого допущения облученность внутренних поверхностей Gв может быть выражена как

                                                          (B.9)

Процедура расчета, изложенная выше, может быть применена для определения облученностей поверхностей конструкций и их угловых коэффициентов с учетом условий, существующих в климатических испытательных камерах.

В.2. Детальный расчет лучистой теплопередачи

Светопрозрачные конструкции, для которых отношение общей площади граничной поверхности к площади проекции граничной поверхности на внутреннюю/внешнюю сторону больше чем 1,25, называются «неплоскостными конструкциями». Для таких конструкций поверхности рамы и остекления являются самооблучающимися, и допущение о большом черном теле, облучающем поверхности конструкции с угловым коэффициентом, равным 1,0, будет неправильным. Детальный расчет радиационной теплопередачи может также применяться к некоторым составляющим частям конструкции, таким как полости непрозрачных элементов (рамы) и вентилируемые полости и выемки.

Суммарная плотность радиационного потока на границах светопрозрачной конструкции qл, для неплоскостных конструкций должна рассчитываться согласно процедуре, приведенной в В.3 или альтернативной - в В.4.

В.3. Расчет лучистого теплообмена на основе использования двумерного углового коэффициента

Эмиссионная способность внутренней и внешней сред принимается равной единице.

Суммарная плотность радиационного потока на любой поверхности i есть разница между потоком излученной энергией и потоком падающей лучистой энергии. Так как температуры поверхностей различаются незначительно, то, используя закон Кирхгофа, имеем:

                                                     (В.10)

где Gi - облученность поверхности i от всех других поверхностей.

                                                      (B.11)

где j и Fi-j - угловой коэффициент от поверхности i к поверхности j.

Излучение поверхности j, Jj определяется выражением

                                                  (В.12)

Предполагается, что все поверхности являются серыми, т.е. ρj = 1 - ej. Заменяя ρj и Gj и используя для удобства индекс i, получаем выражение (В.12) в виде

                                          (B.13)

Выражение (В.13) представляет собой систему N линейных уравнений для N неизвестных Jj, которые определяются из решения этой системы уравнений. Система уравнений (В.13) может быть записана в матричном виде:

[C]{J} = {F},                                                     (В.14)

где

                                             (В.15)

                                                        (В.16)

ti в выражении (В.16) представляет собой известную температуру из предыдущей итерации k, (т.е. ti|k). Для первой итерации значение ti - это начальное приблизительное значение.

Значения температур задают из решения задачи теплопроводности согласно уравнению (21), суммарную плотность радиационного потока (В.12) рассчитывают, используя значения Ji из (В.11) и линеаризованный член , используя первые два члена его разложения в ряд Тейлора относительно ti|k.

                                          (B.17)

Эта процедура продолжается, пока не будут удовлетворены следующие условия:

                                                 (В.18)

где tol - заданный критерий сходимости, значение которого обычно меньше чем 103.

 - обозначает норму или корень квадратный из суммы квадратов компонентов температурного вектора.

Угловой коэффициент Fi-j может быть рассчитан по методу натянутых нитей (правило Hottel). Если прямой видимости между двумя поверхностями препятствует третья поверхность, то эффект от этого препятствия также должен быть учтен.

В.4. Упрощенный расчет лучистого теплообмена

Плотность лучистого теплового потока на внутренних поверхностях неплоскостной светопрозрачной конструкции меньше, чем для плоской, вследствие самооблучения поверхностей такой конструкции. Альтернативный метод, представленный здесь, может быть использован вместо многоэлементного метода, описанного в В.3.

Эмиссионная способность внутренней поверхности снижается, используя фактор, определяемый уравнением (В.19). Отношение площади внутренних поверхностей к площади внутренней стороны светопроема обозначено Ss/Sр:

                                                        (В.19)

При расчете лучистого теплообмена элементов остекления конструкции интенсивность такого теплообмена понижается путем замены реальной эмиссионной способности внутренней поверхности eв на сниженную расчетную eкорр.

eкорр = Fл · eв.                                                     (B.20)

Аналогично при расчете лучистого теплообмена непрозрачных частей (рамы и створки) эмиссионная способность внутренних поверхностей снижается, используя фактор Fл.

В.4.1. Внутренние поверхности

Все внутренние поверхности обозначают индексами в, включая поверхности непрозрачной части (рамы). Хотя более привычно рассматривать лучистый теплообмен в терминах эффективного излучения поверхностей, следующее уравнение допустимо использовать для упрощенного расчета лучистой теплопередачи на поверхностях остекления и рамы:

qл. в = aл. в · (tв - tв),                                               (В.21)

где

                                             (В.22)

В.4.2. Наружные поверхности

Все внешние поверхности обозначаются индексами н, включая поверхности непрозрачной части конструкции (рамы). Для внешних поверхностей конструкций также можно использовать следующее уравнение для упрощенного расчета радиационной теплопередачи на поверхностях остекления и непрозрачной части (рамы):

qл. н = aл. н · (tн - tн),                                                 (B.23)

где

                                               (В.24)

Приложение Г
(справочное)

Типы светопрозрачных фасадных конструкций

1 - междуэтажное перекрытие; 2 - конструкция навесного фасада

Рисунок Г.1 - Навесной фасад

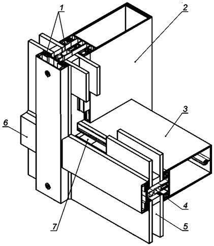
1 - ригель; 2 - стойка; 3 - кронштейн; 4 - деформационный соединитель;
5 - светопрозрачное заполнение; 6 - междуэтажное перекрытие

Рисунок Г.2 - Стоечно-ригельная система

1 - модульный элемент фасада; 2 - светопрозрачное заполнение;
3 - несветопрозрачное заполнение; 4 - кронштейн; 5 - шпросса

Рисунок Г.3 - Модульный (элементный) фасад

1 - наружный слой остекления; 2 - воздушная прослойка;
3 - внутренний слой остекления

Рисунок Г.4 - Двойной фасад

1 - уплотнительная прокладка; 2 - открывающийся элемент;
3 - стеклодержатель; 4 - герметик; 5 - косточка

Рисунок Г.5 - Стоечно-ригельный фасад со структурным остеклением

1 - вертикальный видимый элемент крепления; 2 - горизонтальный видимый элемент крепления;
3 - стеклопакет; 4 - прижимная планка;
5 - декоративная планка

Рисунок Г.6 - Стоечно-ригельный фасад с полуструктурным остеклением

1 - уплотнитель стекла; 2 - стойка; 3 - ригель; 4 - термоизоляционная вставка;
5 - стеклопакет; 6 - декоративная накладка; 7 - подкладка под стеклопакет

Рисунок Г.7 - Стоечно-ригельный фасад рамного остекления

iii

1 - уплотнитель; 2 - стеклопакет; 3 - вертикальный видимый элемент крепления;
4 - горизонтальный видимый элемент крепления

Рисунок Г.8 - Модульный фасад структурного и полуструктурного остекления

Рисунок Г.9 - Спайдерное остекление

Библиография

[1]

СНиП 23-02-2003

Тепловая защита зданий

[2]

ИСО 10211-1:1995

Тепловые мосты в строительстве - Тепловые потоки и температура поверхности - Часть 1: Общие методы расчета

[3]

ИСО 15099:2003

Тепловые характеристики окон, дверей и затенения устройств - Детальные расчеты

[4]

СП 23-101-2004

Проектирование тепловой защиты зданий

[5]

ИСО 10077-2:2003

Тепловые характеристики окна, двери и ставни - Расчет теплопередачи - Часть 2: Численный метод для рам

[6]

ИСО 8301:1991

Теплоизоляция - Определение стационарного теплового сопротивления и связанные с ними свойства - Тепловой поток метр аппарат

[7]

ИСО 8302:1991

Теплоизоляция - Определение стационарного теплового сопротивления и связанные с ними свойства - охраняемая горячей пластины аппарата

[8]

СНиП 23-01-99*

Строительная климатология

[9]

ЕН ИСО 13947:2006

Теплотехнические характеристики фасадных конструкций. Расчет теплопропускания

[10]

ЕН 12412-2

Коэффициент теплопередачи окон, дверей и жалюзи. Определение коэффициента теплопередачи с помощью нагревательной камеры

[11]

ЕН 673-2011

Стекло в строительстве. Определение коэффициента теплопередачи. Метод расчета

[12]

ЕН 674-1997

Стекло в строительстве. Определение коэффициента теплопередачи. Метод с применением плоского нагревательного прибора

[13]

ЕН 675-1997

Определение коэффициента теплопередачи. Метод с применением измерения теплового потока

[14]

ИСО 6946:2007

Строительство компонентов и строительных элементов - Тепловые сопротивления и теплопередачи - Метод расчета

 

Ключевые слова: светопрозрачная фасадная конструкция, строительная теплотехника, ограждающая конструкция, коэффициент теплопередачи, приведенное сопротивление теплопередаче

 



© 2013 Ёшкин Кот :-)