Информационная система
«Ёшкин Кот»

XXXecatmenu

Научно-исследовательский институт
бетона и железобетона
(НИИЖБ) Госстроя СССР

Рекомендации
по расчету пределов
огнестойкости
бетонных
и железобетонных
конструкций

Москва Стройиздат 1986

Рекомендовано к изданию решением секции теории железобетона и арматуры Научно-технического совета НИИЖБ Госстроя СССР.

Даны общие положения расчетов пределов огнестойкости бетонных и железобетонных конструкций, методы статического и теплотехнического расчета, указания по выбору нагрузок и расчетных характеристик материалов.

Приведены формулы для расчета температуры бетона и арматуры плоских конструкций сплошных сечений и конструкций прямоугольного и круглого сечений, а также для расчета толщины защитных слоев бетона, обеспечивающих прогрев арматуры до критических температур за заданное время.

Рекомендации дают возможность на стадии проектирования оценивать пределы огнестойкости бетонных и железобетонных конструкций и проверять их соответствие требованиям СНиП 2.01.02-85.

Для инженерно-технических работников проектных и научно-исследовательских организаций, а также для работников пожарной охраны.

ПРЕДИСЛОВИЕ

Рекомендации дополняют стандарт СЭВ 1000-78. Они дают возможность на стадии проектирования оценить пределы огнестойкости бетонных и железобетонных конструкций, проверить их соответствие требованиям СНиП 2.01.02-85 и при необходимости повышения огнестойкости внести изменения в проект конструкции. Использование рекомендаций позволит сократить сроки разработки и внедрения в практику строительства новых эффективных бетонных и железобетонных конструкций и применять более экономичные их решения благодаря комплексному учету всех требований, предъявляемых к конструкции.

Рекомендации разработаны НИИЖБом Госстроя СССР (докт. техн. наук, проф. В.В. Жуковым, А.Ф. Миловановым, канд. физ.-мат. наук А.Е. Сегаловым, инж. И.С. Болонкиной) с участием ВНИИПО МВД СССР (докт. техн. наук А.И. Яковлев, канд. техн. наук В.Г. Олимпиев).

При составлении рекомендаций использованы результаты научно-исследовательских работ, выполненных НИИЖБом, ВНИИПО, а также материалы международных организаций: Европейского комитета по бетону (ЕКБ) и Международного Совета лабораторий по испытанию строительных материалов и конструкций (РИЛЕМ).

ОСНОВНЫЕ ТЕРМИНЫ И ИХ ОПРЕДЕЛЕНИЯ

Огнестойкость конструкции - способность конструкции сохранять огнепреграждающую, теплоизолирующую и несущую способность при воздействии пожара.

Предельные состояния конструкций по огнестойкости:

по потере несущей способности конструкций и узлов - обрушение или прогиб в зависимости от типа конструкций;

по теплоизолирующей способности - повышение температуры на необогреваемой поверхности в среднем более чем на 160 °С или в любой точке этой поверхности более чем на 190 °С по сравнению с температурой конструкции до нагрева, или более чем до 220 °С независимо от температуры конструкции до нагрева;

по огнепреграждающей способности (плотности) - образование в конструкциях или стыках сквозных трещин или сквозных отверстий, через которые проникают продукты горения или пламя.

Для наружных стен, покрытий, балок, ферм, колонн и столбов предельным состоянием является только такое, при котором происходит потеря несущей способности конструкций и узлов.

Стандартный температурный режим - изменение температуры среды во времени при проведении огневого испытания в соответствии с температурно-временной зависимостью: t - t0 = 345lg(480t + 1), где t - температура среды в камере печи в момент t, t0 - начальная температура среды, t - время, ч, от начала испытания. (Значения t при t0 = 20 °С даны в табл. 1 прил. 1.)

Стандартное огневое испытание - экспериментальная оценка поведения конструкции при стандартном температурном режиме.

Предел огнестойкости конструкции - промежуток времени, ч, от начала нагревания конструкции по стандартному температурному режиму до потери ею огнестойкости, т.е. достижения одного из предельных состояний конструкции по огнестойкости.

1. ОБЩИЕ ПОЛОЖЕНИЯ

1.1. Бетонные и железобетонные конструкции должны иметь предел огнестойкости не менее требуемого СНиП 2.01.02-85.

Пределы огнестойкости строительных конструкций определяются по стандарту СЭВ 1000-78 «Противопожарные нормы строительного проектирования. Метод испытания строительных конструкций на огнестойкость» как среднее арифметическое результатов испытаний двух одинаковых образцов. Пределы огнестойкости конструкций могут определяться и расчетным путем. Для того, чтобы как и в испытаниях получить средний результат, в расчетах следует использовать средние значения теплотехнических и механических характеристик материалов. Соответственно расчетные сопротивления бетона и арматуры для расчета огнестойкости принимаются выше нормативных сопротивлений, отвечающих наименьшим (контролируемым) значениям.

1.2. Предел огнестойкости бетонной или железобетонной конструкции определяют путем расчета несущей и теплоизолирующей способности при воздействии стандартного температурного режима. Полученные результаты допускается использовать на стадии проектирования конструкции.

1.3. Предел огнестойкости конструкции по несущей способности равен времени tи от начала огневого воздействия до момента, когда несущей способности конструкции становится недостаточно для восприятия приложенной к ней нормативной нагрузки.

1.4. При расчете предела огнестойкости строительной конструкции по несущей способности допускается рассматривать составляющие ее элементы как статически определимые.

Можно определять предел огнестойкости статически неопределимой конструкции в целом, используя для этой цели различные методы расчета. Полученные результаты в этом случае следует согласовать с НИИЖБом.

1.5. Для определения несущей способности конструкции вначале находят распределение температуры по сечению или в отдельных точках сечения конструкции в момент времени (разд. 4, 5, 6), и затем вычисляют несущую способность конструкции в тот же момент времени с учетом изменения механических свойств прогретых бетона и арматуры (разд. 2).

1.6. Оценка теплоизолирующей способности конструкции, т.е. температуры на ее необогреваемой поверхности в момент времени от начала огневого испытания, производится путем решения теплотехнической задачи прогрева сечения конструкции с учетом условий теплообмена на ее обогреваемых и необогреваемых поверхностях (разд. 3) . Найденная величина температуры необогреваемой поверхности сопоставляется с предельно допустимой.

1.7. Допускается не определять точное значение предела огнестойкости конструкции, ограничиваясь проверкой сохранения конструкцией теплоизолирующей и несущей способности в момент времени tи (от начала огневого воздействия), равный требуемому пределу огнестойкости.

Если по несущей и теплоизолирующей способности предельное состояние не достигнуто, то допускается указывать, что предел огнестойкости конструкции не меньше значения tи требуемого от данной конструкции при применении в зданиях определенной степени огнестойкости.

Если в момент времени tи несущая способность конструкции будет недостаточна для восприятия приложенной нагрузки или температура необогреваемой поверхности превысит допустимые значения, то предел огнестойкости конструкции меньше требуемого от данной конструкции СНиП 2.01.02-85 и необходимо внести изменения в проект конструкции для повышения ее огнестойкости.

1.8. Для определения точного значения предела огнестойкости конструкции следует выбрать моменты времени t1 и t2 (t1 < t2), в интервале которых находится ожидаемое значение предела огнестойкости. Ожидаемое значение предела огнестойкости конструкции может быть выбрано на основе известных пределов огнестойкости аналогичных конструкций, приведенных в «Пособии по определению пределов огнестойкости конструкций, пределов распространения огня по конструкциям и групп возгораемости материалов» (М., Стройиздат, 1985). Рекомендуется принимать t1 и t2 такими, чтобы меньшая из величин t1 отличалась от большей t2 не более чем на 35 %.

Если расчет теплоизолирующей и несущей способности конструкции для моментов времени t1 и t2 подтвердит, что между ними достигается предельное состояние по несущей или теплоизолирующей способности, то значение предела огнестойкости конструкции допускается определить по линейной интерполяции.

1.9. Предел огнестойкости конструкции по несущей способности зависит от принятых нагрузок. В соответствии со СНиП 2.01.07-85 при расчете конструкций на огнестойкость допускается учитывать лишь нормативные значения, постоянных и длительных нагрузок.

1.10. Нагрузки следует принимать в соответствии с конкретным проектом здания или сооружения, в котором будет применяться конструкция.

1.11. Для несущих конструкций, которые можно использовать в различных проектах (например, для типовых конструкций), следует рассчитывать пределы огнестойкости либо для различных уровней нагрузок, либо для нагрузки, которая приводит к гарантированному (наименьшему) пределу огнестойкости.

1.12. При указании в документах расчетного значения предела огнестойкости несущей конструкции следует привести также значение нагрузки, для которого он определен.

1.13. Если неизвестны нагрузки, под которые спроектирована конструкция, их следует определять следующим образом. Рассчитать несущую способность конструкции R в соответствии со СНиП 2.03.01-84 и, приняв недоиспользование несущей способности конструкции за 5 %, взять в качестве расчетного значения нагрузки 0,95R. В соответствии со СНиП 2.01.07-85 выбрать значение коэффициента надежности по нагрузке gf и долю постоянных и длительных нагрузок для ожидаемых для данной конструкции нагрузок. Делением расчетного значения нагрузки 0,95R на gf следует определить нормативное значение нагрузки, от которого взять долю, отвечающую постоянным и длительным нагрузкам. Полученную нагрузку необходимо принимать в качестве нормативной при расчетном определении гарантированного предела огнестойкости несущей конструкции.

1.14. Рекомендации нельзя применять к расчету пределов огнестойкости тех бетонных и железобетонных конструкций, в которых при огневом воздействии возникают отколы, уменьшающие размеры сечения или обнажающие арматуру. Как правило, отколы бетона наблюдаются для конструкции лишь непосредственно после изготовления или их эксплуатации в помещениях с высокой относительной влажностью воздуха.

Возможность появления отколов бетона в конструкции можно рассчитать по методике, приведенной в «Рекомендациях по защите бетонных и железобетонных конструкций от хрупкого разрушения» (М., Стройиздат, 1979).

2. РАСЧЕТ НЕСУЩЕЙ СПОСОБНОСТИ БЕТОННЫХ И ЖЕЛЕЗОБЕТОННЫХ КОНСТРУКЦИЙ ПРИ ОГНЕВОМ ВОЗДЕЙСТВИИ

2.1. При расчете несущей способности бетонных и железобетонных конструкций следует учитывать изменение механических свойств бетона и арматуры в зависимости от их температуры, определенной теплотехническим расчетом; возможное изменение расчетной схемы предельного равновесия вследствие температурных деформаций самой конструкции.

Допускается не учитывать в расчете самоуравновешенные температурные напряжения в конструкции.

2.2. Расчетные сопротивления сжатию и растяжению бетона Rbu и Rbtu и арматуры Rscu и Rsu для расчета огнестойкости определяются делением нормативных сопротивлений, приведенных в СНиП 2.03.02-84, на соответствующие коэффициенты надежности - по бетону gb = 0,83, по арматуре gs = 0,9. При этом нормативные сопротивления арматуры сжатию при наличии сцепления арматуры с бетоном принимаются равными соответствующим нормативным сопротивлениям арматуры растяжению, но не более 450 МПа.

Расчетные сопротивления бетона и арматуры для расчета огнестойкости снижаются путем умножения соответственно на коэффициенты условий работы бетона gbt (табл. 2 прил. 1) и арматуры gst (табл. 3, 4 прил. 1), при этом принимают приведенные в СНиП 2.03.01-84 коэффициенты условий работы бетона gbt = 1,0 и коэффициенты условий работы арматуры gst = 1,0.

Модули упругости бетона и арматуры принимаются по СНиП 2.03.01-84 и умножаются соответственно на коэффициенты bbt (табл. 5 прил. 1) и bst (табл. 6 прил. 1), учитывающие снижение модуля упругости при нагреве.

2.3. Наиболее точно несущую способность конструкции определяют конечно-элементным методом или послойным расчетом. В обоих случаях расчетные значения механических свойств материалов каждого элемента или слоя принимают с учетом его температуры.

Методика расчета несущей способности бетонных и железобетонных неравномерно прогретых конструкций путем разбиения сечения конструкции на части изложена в СНиП 2.03.01-84 и «Пособии по проектированию бетонных и железобетонных конструкций, предназначенных для работы в условиях воздействия повышенных и высоких температур».

2.4. Допускается принимать для коэффициента условий работы бетона gbt упрощенную аппроксимацию: gbt = 1 при t £ tcr, gbt = 0 при t > tcr (значения tcr даны в табл. 7 прил. 1), т.е. принимать, что бетон нагретый до температур не превышающих критическую не снижает своей прочности, а бетон, нагретый до температур выше критической теряет прочность и полностью выключается из работы.

Бетонные и железобетонные конструкции уменьшенного поперечного сечения (без выключенного из работы слоя бетона, прогретого до t > tcr) с расчетными сопротивлениями бетона и арматуры для расчета огнестойкости рассчитываются в соответствии со СНиП 2.03.01-84.

2.5. Огневое воздействие кратковременно, поэтому следует принимать коэффициенты условий работы для кратковременного воздействия нагрузок, но не более 1. Например, при использовании формулы (21) СНиП 2.03.01-84 следует принимать значения коэффициентов, отвечающие случаю Ml/M = 0.

Предварительное напряжение арматуры полностью теряется при ее нагреве до 300 °С; при вычислении условной критической силы в формулах (20) и (58) СНиП 2.03.01-84, вместо коэффициента 6, следует принимать 8.

2.6. Температурные поля в сечении конструкции можно определять теплотехническим расчетом (разд. 3) с использованием конечно-разностных или конечно-элементных методов, или принимать по опубликованным результатам теплотехнических расчетов прогрева бетонных сечений. Расчет температуры бетона и арматуры в сплошных сечениях бетонных и железобетонных конструкций приведен в разд. 4; для плоских конструкций также построены графики прогрева (рис. 1 прил. 1).

Толщину слоев бетона, нагретых до t > tcr, можно для заданных моментов времени определять в соответствии с указаниями, приведенными в разд. 5.

2.7. Для изгибаемых свободно опирающихся железобетонных плит при огневом воздействии снизу обрушение происходит вследствие уменьшения с прогревом прочности растянутой арматуры. При расчете можно пренебречь прогревом сжатой зовы бетона и сжатой арматуры.

Для сплошной свободно опирающейся по двум противоположным сторонам плиты высоту сжатой зоны бетона при разрушении по нормальному сечению от момента М определяют по формуле

                                                 (1)

проверив выполнение условия х > 2а¢ (если оно не выполняется, расчет ведется без учета сжатой арматуры). Критическое значение коэффициента условий работы арматуры составит

                                             (2)

При отсутствии сжатой арматуры значение gst,cr будет

                                            (3)

В зависимости от класса арматуры по табл. 3, 4 прил. 1 определяют температуру арматуры tcr, при которой достигается полученное значение gst,cr. По критической температуре арматуры рассчитывают либо толщину защитного слоя бетона, обеспечивающую требуемый предел огнестойкости (разд. 6), либо при заданной толщине защитного слоя бетона определяют предел огнестойкости конструкции, равный времени достижения в арматуре критической температуры tcr (разд. 7). Эти же значения могут быть определены по графикам прогрева сплошных бетонных плит (см. рис. 1 прил. 1). Допускается принимать температуру арматурного стержня равной температуре бетона на уровне его центра.

2.8. Предел огнестойкости по потере несущей способности многопустотных свободно опирающихся плит перекрытий и покрытий можно принимать как для аналогичных сплошных плит с коэффициентом 0,9.

3. РАСЧЕТ ТЕМПЕРАТУРЫ ПРОГРЕВА В СЕЧЕНИЯХ БЕТОННЫХ И ЖЕЛЕЗОБЕТОННЫХ КОНСТРУКЦИЙ, ОБОГРЕВАЕМЫХ ПО СТАНДАРТНОМУ ТЕМПЕРАТУРНОМУ РЕЖИМУ

3.1. Наиболее точно прогрев конструкции определяется конечно-разностным или конечно-элементным расчетом. Эти методы целесообразно использовать при оценке теплоизолирующей способности конструкций, а также при определении предела огнестойкости по несущей способности, если статический расчет несущей способности прогретой конструкции осуществляется методом конечных элементов или послойным расчетом (п. 2.3). Подобные расчеты следует проводить с использованием ЭВМ.

3.2. При проведении расчетов следует принимать: начальную температуру конструкций 20 °С; температуру обогревающей среды t = 3451g(480t + 1) + 20, где t - время, ч, от начала огневого воздействия. Значения t приведены в табл. 1 прил. 1; температура среды у необогреваемых поверхностей - 20 °С.

В качестве обогреваемых следует принимать те поверхности конструкции, которые могут подвергаться воздействию огня при пожаре.

3.3. Полный тепловой поток к единице поверхности конструкции Q (кВт/м2) включает в себя конвективный Qc и лучистый Qr тепловые потоки:

Q = Qc + Qr;                                                             (4)

Qc определяется по формуле

Qc = ac(t - te),                                                           (5)

где te - температура поверхности.

Допускается принимать независимо от их расположения: для обогреваемых поверхностей ac = 29 кВт/(м2×°С) [25 ккал/(ч×м×°С)]; для необогреваемых поверхностей

                                                      (6)

Qr определяется по формуле

                                    (7)

где ered - приведенная степень черноты системы «среда - поверхность конструкции», равная 1/(1/e + 1/el - 1).

Для обогревающей среды e = 0,85, для воздушной среды у необогреваемых поверхностей - 1,0.

Для системы «обогревающая среда - бетонная поверхность конструкции» ered = 0,56; для системы «воздух - необогреваемая бетонная поверхность конструкции» - 0,63.

3.4. Для плоских конструкций допускается не учитывать теплообмен на торцах и принимать изменение температуры только по толщине конструкции, т.е. ограничиваться решением одномерной задачи теплопроводности.

3.5. Для плоских односторонне нагреваемых конструкций значения минимальных толщин, необходимых для обеспечения требуемых величин предела огнестойкости (по теплоизолирующей способности), приведены:

при свободном теплоотводе в окружающую среду с необогреваемой поверхности - в табл. 8; в прил. 1 даны также графики прогрева по толщине конструкций (см. рис. 1); при отсутствии теплоотвода с необогреваемой поверхности - в табл. 9.

Первый случай относится к перегородкам, стенам, плитам перекрытий без полов или с полами из несгораемых материалов; второй - к плоским конструкциям, необогреваемая поверхность которых покрыта сгораемыми материалами.

Штукатурка, стяжка, засыпка и пол из несгораемых материалов учитываются при определении толщины конструкции.

3.6. Для многопустотных панелей и плит перекрытий, у которых площадь пустот А0 составляет не более 40 % полной площади поперечного сечения А допускается принимать предел огнестойкости по теплоизолирующей способности, как для плит сплошного поперечного сечения с приведенной толщиной, равной

                                                           (8)

где b - ширина плиты.

Если для плиты перекрытия известна нагрузка от собственного веса (кг/м2), то приведенная толщина может быть определена по формуле

hred = p/r.                                                              (9)

где r - плотность бетона (сухого) (кг/м3).

3.7. При расчете следует учитывать, что с изменением температуры изменяются теплотехнические характеристики бетона и арматуры, а также влияние на них влажности бетона.

Коэффициент теплопроводности [Вт/(м×°С)] бетонов и арматуры допускается определять по формуле

l(t) = A + Bt.                                                        (10)

Значения коэффициентов А и В принимаются по табл. 10.

Для арматуры допускается принимать температуру одинаковой по ее сечению.

Удельную теплоемкость [кДж/(кг×°С)] бетонов и арматуры допускается принимать по формуле

C(t) = С + Dt.                                                        (11)

Значения коэффициентов С и D принимаются по табл. 10.

Допускается принимать, что механически связанная вода в бетоне испаряется при 100 °С и при этом поглощается тепло в количестве 2,26×103 кДж/кг (539 ккал/кг), т.е. при достижении в точке (элементарном объеме) бетонного сечения температуры 100 °С приток тепла полностью идет на испарение содержавшейся в бетоне воды и дальнейшее повышение температуры будет происходить лишь после полного испарения воды.

3.8. При теплотехнических расчетах, не использующих конечно-разностные или конечно-элементные метопы (разд. 4 - 7), допускается использовать в расчетах приведенный (осредненный) коэффициент температуропроводности ared, м2/ч, определяемый по формуле:

                                              (12)

где l(450); С(450) - коэффициент теплопроводности и удельная теплоемкость бетона, вычисляются по формулам (10), (11) при t = 450 °С; эксплуатационная (массовая) влажность бетона, %, принимаемая по прил. 3 СНиП II-3-79* «Строительная теплотехника».

Допускается принимать значения w и соответствующие им значения ared по табл. 10.

4. РАСЧЕТ ТЕМПЕРАТУРЫ БЕТОНА И АРМАТУРЫ В СПЛОШНЫХ СЕЧЕНИЯХ БЕТОННЫХ И ЖЕЛЕЗОБЕТОННЫХ КОНСТРУКЦИЙ

4.1. Расчет применим для плоских конструкций и конструкций прямоугольного и круглого сечений. Начальная температура конструкций принята равной 20 °С.

4.2. Для определения температуры в бетоне вычисляют

                                                     (13)

где xi - расстояние, м, от рассматриваемой точки сечения до i-й обогреваемой поверхности. Для точек i-й обогреваемой поверхности xi = 0; j1 - коэффициент, ч1/2, зависящий от плотности бетона; принимается по табл. 11 прил. 1.

4.3. Для арматуры величина  составит:

                                              (14)

где yi - расстояние, м, от i-й обогреваемой поверхности до ближайшего к ней края арматуры; j2 - коэффициент, зависящий от плотности бетона, принимаемый по табл. 12 прил. 1; ds - диаметр арматуры, м.

4.4. Затем определяют относительные расстояния:

ri = /l £ 1,                                                         (15)

где l - толщина, м, начавшего прогреваться слоя бетона;

                                                          (16)

t - время обогрева конструкции, ч.

4.5. Температуру бетона и арматуру в зависимости от количества обогреваемых поверхностей и их взаимного расположения определяют по формулам:

при одной обогреваемой поверхности

t = 20 + 1200(1 - ri)2.                                                  (17)

(Формула применима при х1 £ 0,7h, где h - расстояние от обогреваемой до противолежащей ей поверхности);

при двух параллельных обогреваемых поверхностях

t = 20 + 1200 [(1 - r1)2 + (1 - r2)2];                                       (18)

при двух взаимно перпендикулярных обогреваемых поверхностях

t = 1220 - 1200 [1 - (1 - r1)2][1 - (1 - r2)2];                                  (19)

при трехстороннем огневом воздействии, когда первая и вторая обогреваемые поверхности параллельны, а третья им перпендикулярна

t = 1220 - 1200[1 - (1 - r1)2 - (1 - r2)2][1 - (1 - r3)2];                         (20)

при четырехстороннем огневом воздействии на конструкцию (взаимно параллельны первая и вторая, третья и четвертая обогреваемые поверхности)

t = 1220 - 1200[1 - (1 - r1)2 - (1 - r2)2][1 - (1 - r3)2(1 - r4)2].                   (21)

Если для рассматриваемой точки хi ³ l, то ri = 1, [1 - (1 - ri)2] = 1, т.е. i-я обогреваемая поверхность не оказывает влияния на температуру в рассматриваемой точке.

В конструкциях круглого сечения, обогреваемых по всему периметру:

                                          (22)

где b - радиус сечения (м), xi £ 0,7b.

5. РАСЧЕТ ТОЛЩИН СЛОЕВ БЕТОНА, ПРОГРЕВАЕМЫХ ДО КРИТИЧЕСКИХ ТЕМПЕРАТУР ЗА ЗАДАННОЕ ВРЕМЯ

5.1. При одной обогреваемой поверхности определяют относительное расстояние r1:

                                                     (23)

затем

                                                      (24)

где l определяется по формуле (16). Толщину слоя бетона d, прогретого до температуры tcr, принимают равной х1.

5.2. При двух параллельных обогреваемых поверхностях определяют r1 по формуле (23) и х1 по формуле (24). Затем по формуле (18) определяют температуру для точки, находящейся от обогреваемых поверхностей на расстояниях х1 и х2 = h - х1, где h - расстояние между обогреваемыми поверхностями. Если t > tcr, то рассчитывают температуру t¢ в точке х¢1 > х1, х¢2 = h - х¢1. Толщину слоя бетона, прогретого до температуры tcr, принимают

                                                  (25)

5.3. При двух взаимно перпендикулярных обогреваемых поверхностях вдоль этих поверхностей толщина прогретого слоя принимается как для одной обогреваемой поверхности, внутри же угла, образованного этими поверхностями, толщина прогретого слоя определяется по формулам:

                                                  (26)

5.4. При трехстороннем обогреве конструкции прямоугольного сечения (первая и вторая обогреваемые поверхности взаимно параллельны, расстояние между ними b, и перпендикулярны третьей) толщина прогретого слоя у третьей обогреваемой поверхности определяется по формулам:

w = 1 - 2(1 - r2)2,

                                          (27)

Толщина прогретого слоя у первой и второй обогреваемой поверхностей принимается как для одной обогреваемой поверхности.

5.5. При четырехстороннем обогреве толщина прогретого слоя у обогреваемых поверхностей принимается по формулам (27).

В углах конструкций прямоугольного сечения при трехстороннем или четырехстороннем обогреве толщина прогретого слоя определяется по формуле (26).

5.6. Для четырехсторонне обогреваемых конструкций квадратного сечения допускается определять площадь, ограниченную изотермой t = tcr по формуле

F = Y(2с)2,                                                            (28)

где с = h/2 - dс [h - размер квадратного сечения; dc - толщина слоя, прогретого до t > tcr у середины боковой поверхности, вычисляется по формуле (27)];

Y = b - 0,2, но не более 1;

b = (h/2 - dg);

dg - толщина слоя, прогретого до t ³ tcr в углу сечения, вычисляется по формуле (26).

5.7. Для конструкций круглого сечения толщину прогретого слоя определяют следующим образом. Находят r1 по формуле (23) и х1 по формуле (24). Затем по формуле (22) определяют температуру t для точки, находящейся на расстоянии х1 от обогреваемой поверхности, и температуру t¢ для точки с х¢1 = 1,2х1. Толщину прогретого до температуры tcr бетона вычисляем по формуле (25).

6. РАСЧЕТ ТОЛЩИН ЗАЩИТНЫХ СЛОЕВ БЕТОНА, ОБЕСПЕЧИВАЮЩИХ ДОСТИЖЕНИЕ КРИТИЧЕСКИХ ТЕМПЕРАТУР В АРМАТУРЕ В ЗАДАННОЕ ВРЕМЯ

6.1. Толщина защитного слоя бетона ds принимается от обогреваемой поверхности до ближайшего к ней края арматуры.

Расчет заключается в определении относительных расстояний ri и затем yi

                                                 (29)

где l вычисляют по формуле (16).

При одной обогреваемой поверхности определяют r1 по формуле (23), у1 - по формуле (29) и принимают ds = у1.

6.2. При двух параллельных обогреваемых поверхностях находят r1 по формуле (24) и y1 по формуле (29). Затем по формуле (18) определяют температуру t арматуры, находящейся от обогреваемых поверхностей на расстояниях у1 и у2 = h - у1 - ds. Если t = tcr, то принимается ds = y1. Если t > tcr, то рассчитывают температуру t¢ арматуры с у¢1 > у1, у¢2 = h - y1 - ds и принимают

                                               (30)

6.3. При двух взаимно перпендикулярных обогреваемых поверхностях и арматуре, расположенной на биссектрисе прямого угла, определяют r по формуле (26), у по формуле (29) и принимают ds = у.

В остальных случаях, принимая определенное расположение арматуры, рассчитывают ее температуру и подбирают расположение, обеспечивающее достижение критической температуры в заданное время. Рекомендуется подбирать интерполяцией лишь толщину защитного слоя от ближайшей к арматуре обогреваемой поверхности, выбирая заранее и оставляя неизменным расположение арматуры относительно остальных обогреваемых поверхностей.

7. РАСЧЕТ ВРЕМЕНИ ДОСТИЖЕНИЯ КРИТИЧЕСКОЙ ТЕМПЕРАТУРЫ В РАСТЯНУТОЙ АРМАТУРЕ ПЛОСКОЙ ОДНОСТОРОННЕ ОБОГРЕВАЕМОЙ КОНСТРУКЦИИ ПРИ ЗАДАННОЙ ТОЛЩИНЕ ЗАЩИТНОГО СЛОЯ

Толщина защитного слоя бетона ds принимается от обогреваемой поверхности до ближайшего к ней края растянутой арматуры.

Для арматуры одного класса, расположенной на одном или нескольких уровнях, находят среднюю толщину защитного слоя бетона и средний диаметр арматуры по формулам:

                                                        (31)

                                                        (32)

где j - порядковый номер арматурного стержня или проволоки (j = 1, ... n); dj - толщина защитного слоя бетона для j-го арматурного стержня; dj, Asj - диаметр и площадь поперечного сечения j-го арматурного стержня.

Площадь всей растянутой арматуры составит:

                                                           (33)

Определим:

                                                (34)

                                                        (35)

Искомую величину времени, ч, достижения критической температуры в арматуре вычислим по формуле:

                                                       (36)

Приложение 1

ТАБЛИЦЫ И ГРАФИКИ, ИСПОЛЬЗУЕМЫЕ ПРИ РАСЧЕТЕ ПРЕДЕЛОВ ОГНЕСТОЙКОСТИ БЕТОННЫХ И ЖЕЛЕЗОБЕТОННЫХ КОНСТРУКЦИЙ

В таблицах 2 - 6, 8, 9, 11, 12 допускается интерполяция.

Таблица 1

Время, ч-мин

t, °C

Время, ч-мин

t, °C

Время, ч-мин

t, °C

0-05

576

1-10

970

3-00

1110

0-10

679

1-20

990

3-15

1120

0-15

738

1-30

1006

3-30

1133

0-20

781

1-40

1025

3-45

1143

0-25

810

1-50

1035

4-00

1153

0-30

841

2-00

1049

4-15

1163

0-40

885

2-15

1067

4-30

1170

0-50

915

2-30

1082

4-45

1178

1-00

945

2-45

1097

5-00

1186

Таблица 2

Бетон

Средняя плотность бетона r, кг/м3

Коэффициент условий работы бетона gbt при температуре бетона, °С

20

100

200

300

400

500

600

700

800

Тяжелый бетон с крупным заполнителем из силикатных пород

2350

1,0

0,85

0,95

0,85

0,70

0,55

0,35

0,20

0,05

То же, из карбонатных пород

2350

1,0

0,90

1,00

0,90

0,75

0,60

0,40

0,25

0,06

Легкий бетон с крупным заполнителем из керамзита

1600

1,0

0,95

1,00

0,90

0,75

0,65

0,65

0,55

0,40

Керамзитоперлитобетон

1200

1,0

0,92

0,83

0,74

0,65

0,55

0,47

0,37

0,28

Таблица 3

Класс стержневой арматуры

Коэффициент условий работы стержневой арматуры gst при температуре арматуры, °С

£ 350

400

450

500

550

600

650

700

750

800

A-I

1,0

1,0

0,80

0,65

0,50

0,35

0,23

0,15

0,05

0

А-II

1,0

1,0

0,90

0,70

0,50

0,35

0,23

0,15

0,05

0

A-IIв

1,0

1,0

0,80

0,60

0,40

0,25

0,10

0,05

0,03

0

А-III

1,0

1,0

0,95

0,75

0,60

0,45

0,30

0,15

0,10

0,05

A-IIIв

1,0

1,0

0,90

0,65

0,45

0,35

0,20

0,10

0,05

0

А-IV

1,0

0,95

0,80

0,65

0,50

0,35

0,20

0,10

0,05

0

А-V

1,0

0,95

0,80

0,60

0,40

0,25

0,10

0,05

0,03

0

1,0

0,9

0,70

0,50

0,30

0,20

0,10

0,05

0,03

0

1,0

0,8

0,55

0,40

0,30

0,20

0,10

0,05

0,03

0

Таблица 4

Класс арматуры

Коэффициент условий работы арматуры gst при температуре арматуры, °С

£ 150

200

250

300

350

400

В-I, Вр-I

1,0

1,00

1,00

0,95

0,85

0,65

В-II, Bp-II, K-7

1,0

0,95

0,85

0,75

0,65

0,53

А-VI

1,0

0,95

0,90

0,85

0,75

0,70

Продолжение табл. 4

Класс арматуры

Коэффициент условий работы арматуры gst при температуре арматуры, °С

450

500

550

600

650

700

В-I, Вр-I

0,50

0,30

0,15

0,05

0

0

В-II, Bp-II, K-7

0,40

0,30

0,20

0,10

0,05

0

А-VI

0,60

0,45

0,30

0,20

0,05

0

Таблица 5

Бетон

Коэффициент снижения модуля упругости бетона bbt при температуре бетона, °С

50

100

200

300

400

500

600

700

800

Тяжелый

1,0

0,80

0,60

0,40

0,35

0,30

0,25

0,15

0,10

Легкий

1,0

1,0

0,90

0,75

0,62

0,50

0,41

0,32

0,27

Таблица 6

Арматура

Коэффициент снижения модуля упругости арматуры bst при температуре арматуры, °С

100

200

300

400

500

600

700

800

Горячекатаная стержневая, проволочная

0,96

0,90

0,88

0,83

0,78

0,73

0,63

0,50

Термически и термомеханически упрочненная

1,0

0,96

0,92

0,85

0,71

0,40

-

-

Таблица 7

Бетон

Критическая температура нагрева сжатого бетона tcr, °С

Тяжелый бетон с крупным заполнителем из силикатных пород

500

То же, с крупным заполнителем из карбонатных пород

600

Таблица 11

Средняя плотность бетона r, кг/м3

Коэффициент j1, ч1/2

500

0,46

1000

0,55

1500

0,58

2000

0,60

2350

0,62

2450

0,65

Таблица 12

Средняя плотность бетона r, кг/м3

Коэффициент j2

500

1,0

800

0,9

1100

0,8

1400

0,7

1700

0,6

2000

0,5

Таблица 8

Бетон

Средняя плотность бетона r, кг/м3

Минимальная толщина сплошного бетонного сечения, мм, обеспечивающая по теплоизолирующей способности предел огнестойкости, ч

0,25

0,5

0,75

1,0

1,5

2,0

2,5

3,0

Тяжелый бетон с крупным заполнителем из силикатных пород

30

50

60

70

90

105

120

130

Мелкозернистый песчаный бетон

Тяжелый бетон с заполнителем из карбонатных пород

2350

27

45

55

65

85

100

110

120

Легкий бетон с крупным заполнителем из керамзита

1600

24

36

46

55

65

75

85

95

Керамзитоперлитобетон

24

35

43

50

60

65

70

75

Легкий бетон с мелким и крупным заполнителем из керамзита

Таблица 9

Бетон

Средняя плотность бетона r, кг/м3

Минимальная толщина сплошного бетонного сечения, мм, обеспечивающая по теплоизолирующей способности предел огнестойкости, ч

0,25

0,5

0,75

1,0

1,5

2,0

2,5

3,0

Тяжелый бетон с крупным заполнителем из силикатных пород

30

50

65

80

100

120

140

155

Мелкозернистый песчаный бетон

Тяжелый бетон с заполнителем из карбонатных пород

2350

30

50

65

80

100

120

135

150

Легкий бетон с крупным заполнителем из керамзита

1600

25

40

53

65

80

95

105

115

Керамзитоперлитобетон

25

40

50

60

75

90

110

105

Легкий бетон с мелким и крупным заполнителем из керамзита

Таблица 10

Материалы

Средняя плотность бетона r, кг/м3

Значения параметров А, В, С, D для определения коэффициента теплопроводности, Вт/(м×°С) и удельной теплоемкости, кДж/(кг×°С)

Эксплуатационная массовая влажность, W, %

Приведенный коэффициент температуропровода, аred, м2

A

B

C

D

Тяжелый бетон с крупным заполнителем из силикатных пород

23S0

1,20

-0,00035

0,71

0,00083

2,5

0,00133

Тяжелый бетон с заполнителем из карбонатных пород

2350

1,14

-0,00055

0,71

0,00083

3,0

0,00116

Легкий бетон с крупным заполнителем из керамзита

1600

0,36

0,00012

0,83

0,00042

5,0

0,00734

Керамзитоперлитобетон

0,18

0,00008

0,92

0.00048

6,0

0,000722

Легкий бетон с крупным и мелким заполнителем из керамзита

Арматурная сталь

65

-0,048

0,44

0,00063

-

-

Рис. 1. График зависимости температуры t °С от времени t в отдельных точках плиты

а - для плит из тяжелого бетона с крупным заполнителем из силикатных пород; б - для плит из тяжелого бетона с крупным заполнителем из карбонатных пород; в - для плит из легкого бетона с крупным заполнителем из керамзита r = 1600 кг/м3; г - для плит из легкого бетона с мелким и крупным заполнителем из керамзита r = 750 кг/м3; 1 - кривая для плит толщиной 200 мм; 2 - кривая для плит толщиной 60 мм

Приложение 2

ПРИМЕРЫ РАСЧЕТА

Пример 1. Многопустотная плита перекрытия, свободно опирающаяся по двум сторонам

Дано. Размеры сечения: b = 1,2 м (120 см), длина рабочего пролета l = 5,9 м (590 см), высота сечения h = 0,24 м (24 см), толщина защитного слоя до низа растянутой арматуры d = 0,02 м (2 см); растянутая арматура класса Ат-V [Rsn = 785 МПа (8000 кгс/см2) Rsu = 785/0,9 = 872 МПа (8900 кгс/см2)] с площадью поперечного сечения As = 5,34×10-4 м2 (2 стержня диаметром 12 мм и 2 - 14 мм); сжатая арматура отсутствует, тяжелый бетон класса В15 [Rbn = 11 МПа (112 кгс/см2), Rbu = 11/0,83 = 13,25 МПа (135 кгс/см2)]; нормативная нагрузка g = 6700 Па (684 кгс/м2), кратковременные нагрузки от собственного веса р = 3000 Па (306 кгс/м2).

Требуется определить. Предел огнестойкости плиты.

Расчет. Поскольку вид заполнителя не задан, то принимаем бетон с большей температуропроводностью: тяжелый бетон с крупным заполнителем из силикатных пород (р = 2350 кг/м2).

Предел огнестойкости по теплоизолирующей способности для многопустотных плит перекрытий (п. 3.5) определяем как для плиты сплошного поперечного сечения с приведенной толщиной [формула (9)] hred = 306/2350 = 0,13 м (13 см). Из табл. 9 получаем: предел огнестойкости равен 2,25 ч.

Предел огнестойкости по несущей способности для многопустотной плиты перекрытия (п. 2.8) можно принимать как для аналогичной сплошной плиты с коэффициентом 0,9.

Для сплошной плиты перекрытия расчет проводится на основе п. 2.7. Ввиду отсутствия сжатой арматуры используем формулу (3).

Вычисляем входящие в нее величины:

максимальный изгибающий момент

М = b(р + g)l2/8;

h0 = 0,24 - 0,02 - 0,006 = 0,214 м (21,4 см).

По формуле (3) найдем

По табл. 3 для арматуры класса Ат-V используя интерполяцию, находим

Предел огнестойкости сплошной плиты будет равен времени достижения tcr = 492 °С в растянутой арматуре, которое определим в соответствии с разд. 7.

ds = d1 = d2 = 0,02 м (2 см);

где 2As1 = 2,26×10-4 м2, 2As2 = 3,08×10-4 м2.

По формулам (34) и (35) вычисляем х* и r.

Для тяжелого бетона с r = 2350 кг/м3 по табл. 11 определим j1 = 0,62, по табл. 12 - j2 = 0,5, по табл. 10 - ared = 0,00133 м2

х* = 0,02 + 0,5×0,0132 + 0,62× = 0,0492 м;

Время достижения критической температуры

Предел огнестойкости по несущей способности сплошной плиты равен 1,1 ч. В соответствии с п. 2.8 предел огнестойкости по несущей способности многопустотной плиты равен tu = 1,1×0,9 = 1 ч.

Предел огнестойкости плиты равен меньшему из пределов огнестойкости по отдельным признакам (1 ч и 2,25 ч), т.е. 1 ч.

Время достижения tcr = 492 °С на глубине X = d + 0,5ds = 0,024 + 0,0066 = 0,0266 м (2,66 см) в соответствии с п. 3.5 можно определить по графику для плиты с крупным заполнителем из силикатных пород (см. рис. 1, а). Получим t = 1,2 ч, что удовлетворительно совпадает с расчетным значением t.

Пример. 2. Многопустотная плита перекрытия безопалубочного формования, свободно опертая по двум сторонам

Дано. Размеры сечения: ширина b = 1,493 м (149,3 см), длина рабочего пролета l = 5,90 м (590 см), высота сечения h = 0,22 м (22 см), расстояние от верхней грани до оси сжатой арматуры а¢ = 0,025 м (2,5 см), арматура класса Вр-II диаметром 5 мм [Rsn = 1255 МПа (12800 кгс/см2), Rsf = 1255/0,9 = 1394 МПа (14230 кгс/см2); Rscu = 450/0,9 = 500 МПа (5100 кгс/см2)], сжатая арматура: 4 - диаметром 5 мм, площадью поперечного сечения Аs = 0,785×10-4 м2, растянутая арматура: 18 - диаметром 5 мм; Аs = 3,534×10-4 м2; тяжелый бетон с гранитным заполнителем класса В30 [Rbn = 22 МПа (22,4 кгс/см2), Rbu = 26,5 МПа (270 кгс/см2)]; расчетная нагрузка - равномерно распределенная: g = 6000 Па (612 кгс/м2), нормативная 5000 Па (510 кгс/м2), собственный вес плиты 26,6 кН (2,175 тс).

Требуется определить. Расстояние до оси растянутой арматуры обеспечивающее предел огнестойкости по несущей способности в 1 ч.

Расчет: Площадь плиты S = 1,493×5,9 = 8,80 м2, нормативная нагрузка от собственного веса р = 26600/8,8 = 3020 Па (308 кгс/м2). Максимальный изгибающий момент:

М = 1,5×(3020 + 6000)×(5,9)2/8 = 5,23×104 Нм (5,34 тс×м).

Расчет проводится по п. 2.7 формуле (1). Вычислим входящие в нее величины.

При определении высоты сжатой зоны примем расстояние от нижней грани до оси растянутой арматуры а = 0,03 м (3 см), h0 = 0,22 - 0,03 = 0,19 м (19 см).

По формуле (1) получим

х = (5,23×104 - 5×108×0,785×10-4×0,165)/(1,493×0,19×26,5×106) = 6,1×10-3 м (0,61 см).

Так как х = 0,0061 < 0,05 = 2а¢, то дальнейший расчет ведем без учета сжатой арматуры, используя формулу (3):

gst,cr = 5,23×104/(0,19×3,534×10-4×1394×106)/(1 - 5,23×104/(2×1,493×0,192×26,5×106)) = 0,5585/(1 - 0,0174) - 0,568.

По табл. 4 для арматуры класса Вр-II находим, используя интерполяцию,

Подберем расстояние от нижней грани до оси растянутой арматуры в сплошной плите, обеспечивающее предел огнестойкости по несущей способности 1,1 ч, что обеспечит для многопустотной плиты с учетом коэффициента 0,9 (п. 2.8) предел огнестойкости 1 ч.

В соответствии с п. 3.5 используем график прогрева плиты из тяжелого бетона с крупным заполнителем из силикатных пород (рис. 1, а), чтобы определить на какой глубине в сплошной плите h = 0,22 м (22 см) за время t = 1,1 ч достигается tcr = 384 °С.

Получим а = 0,034 м (3,4 см), d = а - ds/2 = 0,0315 м (3,15 см).

Для контроля определим необходимую толщину защитного слоя расчетом в соответствии с разд. 6. По формуле (23) находим r1:

Для тяжелого бетона с гранитным заполнителем по табл. 10 - ared = 0,00133 м2/ч; по табл. 11 j1 = 0,62; по табл. 12 - j2 = 0,5.

По формуле (14)  и по формуле (29) у1 = 0,449×0,132 - 0,62 - 0,5×0,005 = 0,0593 - 0,0226 - 0,0025 = 0,0342 м.

Тогда d = у1 = 0,034 м = 3,4 см.

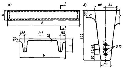
Пример 3. Плиты перекрытий с продольными ребрами (типа «ТТ»)

Дано. Размеры плиты (рис. 2, а): ширина b = 1,49 м (149 см), l = 11,76 м (1176 см), h = 0,4 м (40 см), толщина полки 0,05 м (5 см); сжатая арматура отсутствует, растянутая арматура из стержней диаметром 18 мм класса Ат-V [Rsn = 785 МПа (8000 кгс/см2), Rsu = 785/0,9 = 872 МПа (8900 кгс/см2)], тяжелый бетон на гранитном щебне с заполнителем класса В30 [Rbn = 22 МПа (224 кгс/см2), Rbu = 22/0,83 = 26,5 МПа (270 кгс/см2)], расчетная равномерно распределенная нагрузка 8000 Па (816 кгс/м2), кратковременные нагрузки отсутствуют, вес плиты 52,4 кН (5,35 тс).

Требуется определить. Имеет ли плита предел огнестойкости 1 ч, необходимый для применения в зданиях I степени огнестойкости.

Рис. 2. Плита перекрытия с продольными ребрами

а - общий вид; б - расположение арматуры в ребре

Расчет. Площадь плиты 1,49×11,76 = 17,52 м2, нормативная нагрузка от собственного веса р = 52400/17,52 = 2990 Па (305 кгс/м2). При коэффициенте надежности по нагрузке gf = 1,15 нормативная нагрузка g = 8000/1,15 = 6956 Па (710 кгс/м2). Максимальный изгибающий момент от нормативной нагрузки с учетом собственного веса М = 1,50×(6956 + 2990)×(11,76)2/8 = 2,58×105 Н×м (26,3 тс×м).

Определим несущую способность плиты после 1 ч воздействия стандартного температурного режима, вычисляя температуры бетона и арматуры в соответствии с разд. 4.

Рассчитываем по формуле (20) прогрев растянутой арматуры в ребре (рис. 2, б). Для тяжелого бетона на гранитном щебне по табл. 10 - аred = 0,00133 м2/ч, по табл. 11 и 12: j1 = 0,62, j2 = 0,5. По формуле (14) l = 0,1263 м (12,63 см), j1 = 0,0226 м (2,26 см).

Определим температуру для стержня № 1:

х1 + 0,5ds = х2 + 0,5ds = 40 + (80 - 40)/400×50 = 45 мм = 0,045 м;

х3 + 0,5ds = 50 мм = 0,05 м; r1 = r2 = 0,535, r3 = 0,575;

t1 = 1220 - 1200×0,568×0,819 = 662 °С.

По табл. 3 для арматуры класса Ат-V определяем jst1 = 0,09.

Для стержня № 2: x1 + 0,5ds = x2 + 0,5ds = 90 мм = 0,09 м; r1 = r2 = 0,573; r3 = 0,89;

r2 = 1220 - 1200×0,638×0,63 = 463 °С; уst2 = 0,65.

Для стержня № 3: х1 + 0,5×ds = х2 + 0,5ds = 40 + (80 - 40)/400×130 = 53 мм = 0,053 м;

х3 + 0,5ds = 130 мм = 0,13 м; r1 = r2 = 0,598; r3 = 1;

t3 = 1220 - 1200×0,678×1 = 407 °С; gst3 = 0,87.

Определив, коэффициенты условий работы арматуры, проводим расчет несущей способности плиты (п. 2.4) в соответствии со СНиП 2.03.01-84.

Сжатая зона находится в полке плиты. Определим ее высоту, предположив, что бетон в ней нагрет до температуры менее tcr.

Составим уравнение равновесия

2As1(gst1 +gst2 + gst3)Rsf = bxRbf

откуда высота сжатой зоны

где Аs1 = 2,54×10-4 м2 (2,54 см2) - площадь поперечного сечения одного арматурного стержня; х = (2×2,54×10-4(0,09 + 0,65 + 0,87)×872×106)/(1,49×26,5×106) = 0,0181 м (1,81 см).

Рассчитаем толщину слоя бетона в полке, прогретого до температуры более tcr (см. разд. 5, п. 5.1). По табл. 7 имеем для тяжелого бетона на гранитном щебне tcr = 500 °С;

 

Расположенный снизу слой бетона толщиной х1 = 0,368×0,1263 - 0,62× = 0,0465 - 0,0226 = 0,023 м (2,3 см) прогрет до t > tcr. Остальной бетон полки толщиной h - х1 = 0,05 - 0,023 = 0,027, содержащий сжатую зону (x = 0,0181 < 0,027) прогрет до t < tcr.

Определим расстояние а от равнодействующей усилий в растянутой арматуре до нижней грани

2As1a(gst1 + gst2 + gst3)Rsf = 2As1(a1gst1 + a2gst2 + a3gst3)Rsf,

где a1, а2, а3 - расстояния от нижней грани до осей I, II, III арматурных стержней

a = (0,05×0,09 + 0,090×0,65 + 0,13×0,87)/(0,09 + 0,65 + 0,87) = 0,109 м (10,9 см);

h0 = 0,4 - 0,109 = 0,291 (29,1 см).

Вследствие почти полного выключения из работы нижнего стержня равнодействующая усилий находится между стержнями № 2 и 3.

Определим момент, который может воспринимать сечение по формуле

М £ Rbfbx(h0 - 0,5x),

М = 26,5×106×1,49×0,0181×(0,291 - 0,009) = 2,01×105 Н×м (20,5 тс×м).

Определенный ранее момент от нормативной нагрузки 2,58×105 Н×м > 2,01×105 Н×м не может быть воспринят, следовательно, предел огнестойкости менее 1 ч.

Для обеспечения предела огнестойкости по несущей способности 1 ч следует увеличить толщину ребра или изменить класс растянутой арматуры.

Для обеспечения предела огнестойкости по теплоизолирующей способности в 1 ч (п. 3.6) при применении плит с несгораемыми полами или без подов необходима суммарная толщина сечения в 7 см (табл. 8), при полах из сгораемых материалов - 8 см (табл. 9). Такие суммарные толщины могут быть достигнуты при применении засыпки из несгораемых материалов слоем 2 - 3 см или цементной стяжки.

Рассмотрим вариант плиты под те же нагрузки с растянутой арматурой из 6 стержней диаметром 24 мм класса А-III [Rsn = 390 МПа (4000 кгс/см2), Rsf = 390/0,9 = 433 МПа (4421 кгс/см2)]. Расположение арматуры прежнее (см. рис. 2, б), поэтому температуры прогрева арматурных стержней примем по ранее выполненному расчету: при t = 1 ч, t1 = 662 °С, t2 = 463 °С, t3 = 407 °С. По табл. 3 определим для арматуры класса А-III gst1 = 0,27; gst2 = 0,90; gst3 = 0,99. Ранее было проверено, что бетон в сжатой зоне имеет t < tcr. Высота сжатой зоны х = 2×4,52×10-4×(0,27 + 0,9 + 0,99)×433×106/(1,49×26,5×106/0,83) = 0,0242 м (2,42 см), расстояние от равнодействующей усилий в растянутой арматуре до нижней грани

a = (0,05×0,27 + 0,09×0,90 + 0,13×0,99)/(0,27 + 0,90 + 0,99) = 0,103 м (10,3 см);

а = 0,40 - 0,103 = 0,297 м (29,7 см).

Сечение может воспринимать момент

М = 26,5×106×1,49×0,0242×(0,297 - 0,0121)/0,83 = 2,72×105 Н×м (27,8 тc×м).

Момент от нормативной нагрузки 2,58×105 Н×м < 2,72×105 Н×м может быть воспринят, поэтому предел огнестойкости плиты при применении арматуры класса А-III более 1 ч.

Пример 4. Железобетонная колонна под нагрузки, приложенные со случайным эксцентриситетом

Дано. Колонна сечением 0,3´0,3 м (30´30 см), расчетная длина колонны l0 = 3,60 м (360 см), бетон класса В40 [Rb = 22 МПа (224 кгс/см2), Rbn = 29 МПа (296 кгс/см2), Rbu = 29/0,83 = 34,9 МПа (356 кгс/см2)] на гранитном щебне, арматура класса А-III [Rs = Rsc = 365 МПа (3750 кгс/см2), Rsn = 390 МПа (4000 кгс/см2), Rsu = 390/0,9 = 433 МПа (4422 кгс/см2)] площадью сечения As,tot = 4,52×10-4 м (4,52 см2) (4 стержня диаметром 12 мм), арматура расположена в углах сечения, расстояние от края арматуры до поверхности у = 0,032 м (3,2 см). Нагрузки постоянные и длительные.

Требуется определить. Гарантированный предел огнестойкости колонны.

Расчет. В соответствии с п. 1.13 определим величину нормативной нагрузки для этой колонны.

Определим расчетную несущую способность колонны, нагруженной со случайным эксцентриситетом, используя «Пособие по проектированию бетонных и железобетонных конструкций из тяжелых и легких бетонов без преднапряжения» (к СНиП 2.03 01-84), Стройиздат 1986.

При длительных нагрузках gb2 = 0,9; Rb = 0,9×22 = 19,8 МПа.

Имеем

 и  получим jb = 0,86; jsb = 0,89;

j = jb + 2а(jsb - jb) = 0,86 + 0,1852×0,03 = -0,8656;

N £ j(RbA + RsAs, tot) = 0,8656×1,782 + 0,165×106 = 1,68×106 Н = 1680 кН (172 тс).

Принимаем расчетное значение нагрузки 0,95×1680 = 1600 кН (163 тс) и коэффициент надежности по нагрузке gf = 1,15; тогда нормативная нагрузка 1600/1,15 = 1390 кН (142 тс).

Определим несущую способность колонны после 2 ч огневого воздействия (п. 2.4, 2.5).

Рассчитаем в соответствии с разд. 4 температуру арматуры при четырехстороннем обогреве по формуле (20).

Для тяжелого бетона на гранитном щебне по табл. 10 ared = 0,00133 м /ч, по табл. 11 и 12 j1 = 0,62; j2 = 0,5.

Имеем

Рассмотрим стержень, расположенный в углу между I и III обогреваемыми поверхностями. Для него r1 = r3 и r2 = r4.

r1 = r3 =0,0606/0,179 = 0,3385;

Поскольку  то принимаем r2 = r4 = 1.

t = 1220 - 1200×(0,562)2 = 1220 - 380 = 840 °C, gst = 0, т.е. арматура полностью выключается из работы.

Для тяжелого бетона на гранитном щебне определяем по табл. 7 tcr = 500 °С. Вычислим площадь, ограниченную изотермой 500 °С, в соответствии с разд. 5 по 5.6.

Для этого найдем с по формуле (27):

r = (0,15 + 0,0226)/0,179 = 0,964; w = 1 - 2(1 - 0,964)2 = 0,999;

dс = 0,368×0,179 - 0,0226 = 0,0433 м (4,33 см); с = 0,1067 м (10,67 см).

Вычислим b по формуле (26):

dg = 0,525×0,179 - 0,0226 = 0,0714 м (7,14 см);

b = 0,1108 м (11,08 см).

Определяем площадь, ограниченную изотермой 500 °С, по формуле (28)

Y = b/c - 0,2 = 0,1108/0,1067 - 0,2 = 0,838 < 1;

F = 0,838×(2 × 0,1067)2 = 0,0381 м2 (381 см2).

Внутри изотермы 500 °С нет арматуры, поэтому площадь бетона, нагретого до t £ tcr A = F = 0,0381 м2 (381 см2). Сторона эквивалентного по площади квадратного сечения 0,195 м (19,5 см).

При  и  найдем jb = jsb = 0,855.

Примем j = 0,855.

N £ j(RbfA);

N = 0,855×34,9×106×0,0381 = 1,14×106 H = 1140 кН (116 тс).

Так как 1140 кН < 1390 кН, то предел огнестойкости колонны менее 2 ч.

Определим несущую способность колонны после t = 1,5 ч огневого воздействия. Величины, не зависящие от времени, будут приниматься по данным выполненного выше расчета.

Рассчитаем температуру арматуры: l = 12×0,00133×1,5 = 0,155 м (15,5 см).

Определим r = r3;

 r1 = r3 = 0,0606/0,155 = 0,392.

Поскольку  принимаем r2 = r4 = 1.

t = 1220 - 1200[1 - (1 - 0,392)2]2 = 1220 - 1200×1 - 0,3702 = 744 °С;

gst = 0,105.

Определим площадь бетона ограниченную изотермой 500 °С.

Вычислим С по формуле (27): r = 0,1726/0,155 > 1, принимаем r = 1, получаем w = 1,

dс = 0,368×0,155 - 0,0226 = 0,0343 м (3,43 см);

c = 0,1157 м (11,57 см).

Вычислим l по формуле (26):

dg = 0,525×0,155 - 0,0226 = 0,0586 м (5,86 см); b = 0,129 м (12,9 см).

Определяем Y = 0,129/0,1157 - 0,2 = 0,915 < 1.

Тогда площадь бетона будет А = F = 0,0489 м2 (489 см2), сторона эквивалентного по площади квадратного сечения 0,221 м (22,1 см).

При  и  находим jb = jsb = 0,877, j = 0,877.

N £ j(RbfA + RscfgstAs,tot);

N = 0,877(34,9×0,0489 + 433×0,105×0,000452)×106 = 0,877×(1,708 + 0,0206)×106 = 1,52×106 = 1520 кH (155 тс).

Определим интерполяцией момент времени, когда фактическая несущая способность колонны будет равна 1390 кН:

Принимаем гарантированный предел огнестойкости 1,65 ч.

Пример 5. Железобетонная колонна под нагрузки, приложенные со случайным эксцентриситетом

Дано. Колонна сечение 0,4´0,4 м (40´40 см), расчетная длина колонны l0 = 3,6 м (350 см), бетона класса В25 [Rb = 14,5 МПа (148 кгс/см2), Rbn = 185 МПа (189 кгс/см2), Rbu = 18,5/0,9 = 20,56 МПа (209,8 кгс/см2)], арматура класса A-III [Rsc = 365 МПа (37,50 кгс/см2), Rsn = 390 МПа (4000 кгс/см2), Rscu = 390/0,9 = 433 МПа (4422 кгс/см2)] площадь сечения As,tot = 12,56×10-4 м2 (12,56 см2) (4 стержня диаметром 20 мм): арматура расположена в углах сечения, расстояние от всей арматуры до ближайших боковых поверхностей колонны а = 0,05 м (5 см). Колонна рассчитана на восприятие центрально приложенной силы (от постоянных и длительных нагрузок).

Требуется определить. Гарантированный предел огнестойкости колонны.

Расчет. В соответствии с пунктом 1.13 вычислим величину нормативной нагрузки для этой колонны. Определим расчетную несущую способность конструкции, используя «Пособие по проектированию бетонных и железобетонных конструкций из тяжелых и легких бетонов без преднапряжения» (к СНиП 2.03.01-84), Стройиздат, 1986.

При длительных нагрузках gb2 = 0,9; Rb = 0,9 × 14,5 = 13,05 МПа (133 кгс/см2). При  и  находим jb = 0,9, jsb = 0,905.

Вычислим

а = 365 × 12,56×10-4/(13,05 × 1600×10-4) = 0,4584/2,088 = 0,22;

j = 0,9 + 2 × 0,22 × 0,005 = 0,902.

Определим расчетную несущую способность колонны:

N £ 0,902×(13,05 × 0,1600 + 365 × 0,001256)×106 = 0,902×(2,088 + 0,4584)×106 = 2,30×106 Н = 2300 кН (234 тс).

В качестве расчетного значения нагрузки примем 0,95×2300 = 2185 кН и коэффициент надежности по нагрузке gf = 1,2. Тогда нормативная нагрузка 2185/1,2 = 1820 кН (186 тс).

Прогрев колонны принимаем по данным ЕКБ (Европейского комитета по бетону) для тяжелого бетона на гранитном щебне.

Рассчитаем несущую способность колонны после 2 ч огневого воздействия (п. 2.4, 2.5).

Для арматуры имеем t = 645 °С, gst = 0,315.

Критическая температура бетона на гранитном заполнителе по табл. 7 tcr = 500 °С. Изотерма 500 °С ограничивает площадь 0,096 м2 (960 см2) и внутри нее нет арматуры, сторона эквивалентного по площади квадратного сечения 0,31 м.

При  и  находим jb = jsb = 0,902. Принимаем j = 0,902.

N £ 0,902×(20,56 × 0,0960 + 433 × 0,001256 × 0,315)×106 = 0,902×(2,14 + 0,171)×106 = 2,08×106 Н = 2080 кН (213 тс).

Так как 2080 кН > 1820 кН, то предел огнестойкости колонны более 2 ч.

Рассчитаем несущую способность колонны после 3 ч огневого воздействия. Температура арматуры t = 800 °С, gst = 0,05. Изотерма 500 °С ограничивает площадь 0,0712 м2 (712 см2) и внутри нее нет арматуры, сторона эквивалентного по площади квадратного сечения 0,267 м.

При  и  находим jb = jsb = 0,8926. Принимаем j = 0,8926,

N £ 0,8926×(20,56 × 0,0712 + 433×0,001256 × 0,05)×106 = 0,8926(1,587 + 0,0272)×106 = 1,44×106 Н = 1440 кН (147 тс).

Так как 1440 кН < 1820 кН, то предел огнестойкости колонны менее 3 ч.

Найдем предел огнестойкости колонны, интерполируя данные о несущей способности колонны после 2 и 3 ч огневого воздействия и определяя момент времени, когда несущая способность колонны будет равна 1820 кН

Принимаем гарантированный предел огнестойкости колонны 2,4 ч.

Для обеспечения гарантированного предела огнестойкости 2,5 ч следует увеличить толщину защитного слоя для арматуры.

Проверим огнестойкость колонны при а = 0,06 м (6 см).

Рассчитаем несущую способность колонны после 2 ч огневого воздействия.

Для арматуры имеем t = 550 °С, gst = 0,6.

Для бетона можно использовать данные предыдущего расчета

N £ 0,902×(20,56 × 0,0960 + 433 × 0,001256 × 0,60)×106 = 0,902(2,14 + 0,3265)×106 = 2,22×106 Н = 2220 кН (226 тс).

После 3 ч огневого воздействия для арматуры имеем t = 705 °C, gst = 0,145.

N £ 0,8926×(20,56 × 0,0712 + 433×0,001256 × 0,145)×106 = 0,8926×(1,587 + 0,0789)×106 = 1,49×106 Н = 1490 кН (152 тс).

Предел огнестойкости определяем по интерполяции

Гарантированный предел огнестойкости 2,5 ч позволяет использовать колонны в зданиях любой степени огнестойкости.

Пример 6. Железобетонная колонна под заданные нагрузки, приложенные со случайным эксцентриситетом

Дано. Колонна сечением 0,4´0,4 м (40´40 см), расчетная длина колонны l0 = 4,20 м (420 см), бетон класса В40 [Rbn = 29 МПа (296 кгс/см2), Rbu = 29/0,83 = 34,9 МПа (356 кгс/см2)], арматура класса А-III [Rsn = 390 МПа (4000 кгс/см2), Rscu = 390/0,9 = 433 МПа (4422 кгс/см2)] площадью сечения Аs,tot = 0,0201 м2 (201 см2) (16 стержней диаметром 40 мм); площадь одного стержня Аs1 = 12,56×10-4 м2 (12,56 см2); 12 стержней расположено по периметру колонны (из них 4 в углах) с расстоянием от боковой поверхности колонны до осей арматуры а1 = 0,05 м (5 см), 4 стержня в центральной зоне а3 = 0,15 м (15 см) (рис. 3, а). Расчетное значение центрально приложенной силы (от постоянных и длительных нагрузок) 8000 кН.

Требуется определить. Предел огнестойкости колонны.

Расчет. Принимая коэффициент надежности по нагрузке gf = 1,15, получим нормативную нагрузку 6960 кН (710 тс).

Прогрев колонны принимаем по данным ЕКБ (Европейского комитета по бетону) для тяжелого бетона на гранитном щебне.

Рассчитаем несущую способность колонны после 2 ч огневого воздействия (пп. 2.4, 2.5).

Для угловых стержней арматуры имеем t1 = 645 °С, gst1 = 0,315, для стержней, расположенных у боковых поверхностей - t2 = 425 °С, gst2 = 0,975, для центральных стержней - t3 = 85 °С, gst3 = 1;

gst = (4 × 0,315 + 8 × 0,975 + 4 × 1)/16 = 0,816.

Критическая температура бетона на гранитном заполнителе по табл. 7 tcr = 500 °С. Изотерма 500 °С ограничивает площадь 0,096 м2 и, вычитая площадь 12 арматурных стержней, расположенных внутри нее, получим площадь бетона, нагретого до t £ tcr = 500 °С.

А = 0,0960 - 12×0,001256 = 0,0809 м2 (809 см2),

сторона эквивалентного по площади квадратного сечения 0,284 м2.

Расчет несущей способности колонны будем выполнять используя «Пособие по проектированию бетонных и железобетонных конструкций из тяжелых и легких бетонов без преднапряжения» (к СНиП 2.03.01-84), Стройиздат, 1986.

При  и  находим jb = jsb = 0,886.

Рис. 3. Расположение арматуры в колонне

а - арматура из стали класса А-III; б - арматура из стали класса Ат-V

Принимаем j = 0,886.

N £ 0,886×(34,9 × 0,0809 + 433 × 0,0201 × 0,816)×106 = 0,886×(2,827 + 7,11)×106 = 8,80×106 Н = 8800 кН (898 тс).

Так как 8800 кН > 6960 кН, то предел огнестойкости колонны более 2 ч.

Рассчитаем несущую способность колонны после 3 ч огневого воздействия.

Для угловых стержней арматуры имеем: t1 = 800 °С, gst1 = 0,05; для стержней, расположенных у боковых сторон - t2 = 570 °С, gst2 = 0,54; для центральных стержней - t3 = 170 °С, gst3 = 1.

gst = (4 × 0,05 + 8 × 0,54 + 4 × 1)/16 = 0,5325.

Изотерма 500 °С ограничивает площадь 0,0712 м2 (712 см2) и, вычитая площадь 4 арматурных стержней, получим

А = 0,0712 - 4 × 0,001256 = 0,0662 м2 (662 см2),

сторона эквивалентного по площади квадратного сечения 0,257 м.

При  и  находим jb = jsb = 0,8785.

Принимаем j = 0,8785.

N £ 0,8785(34,9 × 0,0662 + 433 × 0,0201 × 0,5325)×106 = 0,8785×(12,313 + 4,638)×106 = 6,1×106 Н = 6100 кН (622 тс).

Интерполируя данные о несущей способности колонн после 2 и 3 ч огневого воздействия получим, что несущая способность 7500 кН достигается

Предел огнестойкости колонн 2,65 ч позволяет применять их в зданиях любой степени огнестойкости.

Рассмотрим также вариант этой колонны с использованием арматуры класса Ат-V [Rsn = 450 МПа; Rscf = 450/0,9 = 500 МПа (5100 кгс/см2)], площадью сечения Аs,tot = 0,01287 м2 (128,7 см2) (16 стержней диаметром 32 мм), площадь сечения одного стержня Аs1 = 8,04×10-4 м2 (8,04 см2); остальные показатели остаются неизменными. Расположение арматуры (рис. 3, б) а1 = 0,05 м (5 см), а3 = 0,15 м (15 см). Приложены постоянные и длительные нагрузки, расчетное значение которых 7800 кН. Принимая коэффициент надежности по нагрузке gf = 1,15, получим нормативную нагрузку 6780 кН.

Прогрев колонны принимаем по данным ЕКБ.

Рассчитаем несущую способность колонны после 2 ч огневого воздействия.

Для угловых стержней арматуры имеем t1 = 645 °С, gst1 = 0,12; для стержней, расположенных у боковых поверхностей - t2 = 425 °С, gst2 = 0,8; для центральных стержней t3 = 85 °С, gst = 1; gst = (4 × 0,12 + 8 × 0,8 + 4 × 1)/16 = 0,68.

Критическая температура бетона на гранитном заполнителе по табл. 7 tcr = 500 °С. Изотерма 500 °С ограничивает площадь 0,096 м2 (960 см2) и, вычитая площадь 12 арматурных стержней, расположенных внутри этой изотермы, получим площадь бетона, нагретого до t £ tcr = 500 °С;

А = 0,096 – 12 × 0,000804 = 0,08635 м2 (863,5 см2),

сторона эквивалентного по площади квадратного сечения h = 0,294 м.

При  и  находим jb = jsb = 0,8885.

Принимаем j = 0,8885.

N £ j(RbfA + RscfAs,totgst);

N £ 0,8885(34,9 × 0,08635 + 500×0,01287 × 0,68)×106 = 0,8885×(3,017 + 4,376)×106 = 6,57×106 H = 6570 кН (670 тс).

Так как 6570 кН < 6780 кН, то предел огнестойкости колонны менее 2 ч.

Для увеличения предела огнестойкости колонны целесообразно заглубить расположенную по периметру сечения колонны арматуру. Примем а1 = 0,06 м (6 см), оставив неизменным расположение 4 центральных стержней а3 = 0,15 м (15 см).

После 2 ч огневого воздействия для угловых стержней арматуры имеем: t1 = 550 °С, gst1 = 0,30; для стержней, расположенные у боковых поверхностей t2 = 340 °С, gst2 = 1; для центральных стержней - t3 = 85 °С, gst3 = 1;

gst = (4 × 0,30 + 8 × 1 + 4×1)/16 = 0,825.

Изотерма 500 °С ограничивает площадь 960 см площадь бетона с t £ tсr = 500 °С

А = 0,08635 м2 (863,5 см2), сторона эквивалентного по площади квадратного сечения 0,294 м.

При  и  находим jb = jsb = 0,8885.

Принимаем j = 0,885.

N £ 0,8885×(34,9 × 0,08635 + 500×0,01287 × 0,825)×106 = 0,8885×(3,017 + 5,308)×106 = 7,4×106 H = 7400 кН (755 тс).

Так как 7400 кН > 6780 кН, то предел огнестойкости колонны более 2 ч.

После 3 ч огневого воздействия для угловых стержней арматуры имеем: t1 = 705 °С, gst1 = 0,048; для стержней, расположенных у боковых поверхностей - t2 = 480 °С; gst2 = 0,58; для центральных стержней - t3 = 170 °C,

gst = (4 × 0,048 + 8 × 0,58 + 4 × 1)/16 = 0,552.

Изотерма 500 °С ограничивает площадь 0,0712 м2 (712 см2) и, вычитая площадь 12 арматурных стержней, расположенных внутри этой изотермы, получим площадь бетона c t £ tcr = 500 °С.

А = 0,0712 – 12 × 0,000804 = 0,06155 м2 (615,5 см2),

сторона эквивалентного по площади квадратного сечения 0,248 м.

При  и  находим jb = jsb = 0,871.

Принимаем j = 0,871.

N £ 0,871(34,9 × 0,06155 + 500 × 0,01287 × 0,552)×106 = 0,871(2,150 + 3,552)×106 = 4,97×106 Н = 4970 кН (501 тс).

Интерполируя данные о несущей способности колонны после 2 и 3 ч огневого воздействия, получим, что несущая способность 6780 кН достигается при  Предел огнестойкости колонны 2,25 ч позволяет применять ее в зданиях II - V степеней огнестойкости.

Пример 7. Бетонная панель для несущей межкомнатной стены

Дано. Размеры сечения: толщина 0,12 м (12 см), высота 2,8 м (280 см), условная ширина 1 м (100 см), платформенное опирание и соответственно расчетная высота l0 = 0,8×2,8 = 2,24 м (224 см); тяжелый бетон класса В15 [Rb = 8,5 МПа (86,7 кгс/см2), Rbn = 11 МПа (112 кгс/см2), Rbu = 11/0,83 = 13,25 МПа (135,2 кгс/см2), Еb = 23×103 МПа (235×103 кгс/см2)], армирование конструктивное. Нормативная величина постоянных и длительных нагрузок 260 кН/м (26,5 тс/м), суммарный эксцентриситет с учетом случайного 0,01 м (1 см) от оси симметрии панели.

Требуется определить. Предел огнестойкости панели.

Расчет. Предел огнестойкости по теплоизолирующей способности в соответствии с п. 3.5 определяем по табл. 8. Он равен 2,5 ч.

Гарантированный предел огнестойкости стен по несущей способности при условии расположения суммарной силы в средней трети толщины поперечного сечения стены равен 1 ч в соответствии с п. 2.24 «Пособия по определению пределов огнестойкости конструкций, пределов распространения огня по конструкциям и групп возгораемости материалов», Стройиздат, 1985.

В рассматриваемом случае эксцентриситет меньше, что должно повысить предел огнестойкости. Определим несущую способность панели при t = 1,5 ч (пп. 2.4, 2.5)

Для расчета прогрева принимаем тяжелый бетон с большей температуропроводностью, т.е. на гранитном щебне: по табл. 10 - ared = 0,00133 м2/ч, по табл. 11 - j1 = 0,62; по табл. 7 - tcr = 500 °С.

Поскольку СТ СЭВ 1000-78 при огневых испытаниях несущих стен предусматривает односторонний обогрев, то и расчет выполним для одностороннего обогрева.

В соответствии с разд. 6 определим толщину слоя бетона, прогретого до

t > tcr = 500 °С;  

d = 0,3675×0,155 - 0,62 = 0,05696 - 0,02261 = 0,0344 » 0,034 м (3,4 см).

Отбросив в соответствии с п. 2.4 этот слой бетона, определим несущую способность бетонной панели толщиной h = 0,12 - 0,034 = 0,086 м (8,6 см), приняв худший случай, что в панели нагрузка была смещена к обогреваемой стороне. Получим для рассчитываемой панели l0 = 0,07 - 0,086/2 = 0,027 м (2,7 см).

Расчет внецентренно сжатой бетонной панели выполним в соответствии с пп. 3.4, 3.5 СНиП 2.03.01-84: при Мl/М =0 имеем jl = 1; dе = l0/h = 0,027/0,086 = 0,314, de,min = 0,5 - 0,01l0/h - 0,01Rb = 0,5 - 0,01×2,24/0,086 - 0,01×8,6 = 0,5 - 0,26 - 0,086 = 0,154 и принимаем dе = 0,314.

Определим условную критическую силу

Для нагрузки N = 260 кН имеем h = 1/(1 - N/Ncr) = 1,576; Ab = bh(1 - 2eoh/h) = 1×0,086(1 - 2×0,027×1,576/0,086) = 0,086×0,00996 = 8,57×10-4 м2 (8,57 см2); N £ aRbfAb = 1×13,25×106×8,57×10-4 = 1,114×104 Н = 11,4 кН (1,15 тс).

Таким образом, нагрузка в 260 кН не выдерживается.

Проверим выдерживается ли нагрузка в 180 кН h = 1/(1 - 180/711) = 1,339; Аb = 1×0,086(1 - 2×0,027×1,339/0,086) = 1,37×10-2 м2 (137 см2);

N £ 1×13,25×106×1,37×10-2 = 181 кН (18,5 тс).

Таким образом, после 1,5 ч огневого воздействия несущая способность панели 180 кН < 260 кН.

Определим несущую способность панели при t = 1,15 ч.

Толщина слоя бетона, прогретого до t > tcr = 500 °С; r = 0,3675;  d = 0,3675×0,1354 - 0,62 = 0,4979 - 0,02261 = 0,0272 = 0,027 м (2,7 см).

Рассчитаем несущую способность бетонной панели толщиной h = 0,12 - 0,027 = 0,093 м (9,3 см), нагруженной с эксцентриситетом l0 = 0,07 - 0,093/2 = 0,0235 м (2,35 см); jl = 1; dе = l0/h = 0,0235/0,093 = 0,2527; dе,min =0,5 - 0,01 × 2,24/0,093 - 0,01 × 8,6 = 0,5 - 0,241 - 0,086 = 0,173 принимаем dе = 0,2527.

Определим условную критическую силу

Для нагрузки N = 260 кН имеем h = 1/(1 - 260/1012) = 1,345; Аb = 1 × 0,093(1 - 2 × 0,0235 × 1,345/0,093) = 2,978×10-2 м2 (297,8 см2); N £ 1 × 13,25×106 × 2,978×10-2 = 395 кН (40 тс).

Нагрузка в 260 кН выдерживается.

Проверим выдерживается ли нагрузка в 320 кН h = 1/(1 - 320/1012) = 1,462; Аb = 1 × 0,093(1 - 2 × 0,0235 × 1,462/0,093) = 2,429×10-2 м2 (242,9 см2); N £ 1 × 13,25×106 × 2,429×10-2 = 322 кН (32,8 тс).

Таким образом, после 1,15 ч огневого воздействия несущая способность панели 321 кН.

Интерполяцией определяем предел огнестойкости панели

Принимаем предел огнестойкости панели 1,3 ч.

СОДЕРЖАНИЕ

1. Общие положения. 2

2. Расчет несущей способности бетонных и железобетонных конструкций при огневом воздействии. 4

3. Расчет температуры прогрева в сечениях бетонных и железобетонных конструкций, обогреваемых по стандартному температурному режиму. 6

4. Расчет температуры бетона и арматуры в сплошных сечениях бетонных и железобетонных конструкций. 8

5. Расчет толщин слоев бетона, прогреваемых до критических температур за заданное время. 9

6. Расчет толщин защитных слоев бетона, обеспечивающих достижение критических температур в арматуре в заданное время. 10

7. Расчет времени достижения критической температуры в растянутой арматуре плоской односторонне обогреваемой конструкции при заданной толщине защитного слоя. 10

Приложение 1. Таблицы и графики, используемые при расчете пределов огнестойкости бетонных и железобетонных конструкций. 11

Приложение 2. Примеры расчета. 15

 



© 2013 Ёшкин Кот :-)