Информационная система
«Ёшкин Кот»

XXXecatmenu

ФЕДЕРАЛЬНОЕ АГЕНТСТВО
ПО ТЕХНИЧЕСКОМУ РЕГУЛИРОВАНИЮ И МЕТРОЛОГИИ

НАЦИОНАЛЬНЫЙ
СТАНДАРТ
РОССИЙСКОЙ
ФЕДЕРАЦИИ

ГОСТ Р
54177-
2010

СТЕКЛО С НИЗКОЭМИССИОННЫМ
ТВЕРДЫМ ПОКРЫТИЕМ

Технические условия

EN 1096-1:1998
Glass in building - Coated glass - Part 1: Definitions and classification
(NEQ)

EN 1096-2:2001
Glass in building - Coated glass - Part 2: Requirements and test methods for class A, B
and S coatings
(NEQ)

EN 1096-4:2004
Glass in building - Coated glass - Part 4: Evaluation of conformity/Product standard
(NEQ)

Москва
Стандартинформ
2011

Предисловие

Цели и принципы стандартизации в Российской Федерации установлены Федеральным законом от 27 декабря 2002 г. № 184-ФЗ «О техническом регулировании», а правила применения национальных стандартов Российской Федерации - ГОСТ Р 1.0-2004 «Стандартизация в Российской Федерации. Основные положения»

Сведения о стандарте

1. РАЗРАБОТАН Открытым акционерным обществом «Институт стекла»

2. ВНЕСЕН Техническим комитетом по стандартизации ТК 041 «Стекло»

3. УТВЕРЖДЕН И ВВЕДЕН В ДЕЙСТВИЕ Приказом Федерального агентства по техническому регулированию и метрологии от 21 декабря 2010 г. № 949-ст

4. В настоящем стандарте учтены основные нормативные положения следующих европейских региональных стандартов:

ЕН 1096-1:1998 «Стекло в строительстве. Стекло с покрытием. Часть 1. Определения и классификация» (EN 1096-1:1998 «Glass in building - Coated glass - Part 1: Definitions and classification», NEQ);

EH 1096-2:2001 «Стекло в строительстве. Стекло с покрытием. Часть 2. Требования и методы испытаний для покрытий классов А, В и S» (EN 1096-2:2001 «Glass in building - Coated glass - Part 2: Requirements and test methods for class А, В and S coatings», NEQ);

EH 1096-4:2004 «Стекло в строительстве. Стекло с покрытием. Часть 4. Оценка соответствия» (EN 1096-4:2004 «Glass in building - Coated glass - Part 4: Evaluation of conformity/Product standard», NEQ)

5. ВВЕДЕН ВПЕРВЫЕ

Информация об изменениях к настоящему стандарту публикуется в ежегодно издаваемом информационном указателе «Национальные стандарты», а текст изменений и поправок - в ежемесячно издаваемых информационных указателях «Национальные стандарты». В случае пересмотра (замены) или отмены настоящего стандарта соответствующее уведомление будет опубликовано в ежемесячно издаваемом информационном указателе «Национальные стандарты». Соответствующая информация, уведомления и тексты размещаются также в информационной системе общего пользования - на официальном сайте Федерального агентства по техническому регулированию и метрологии в сети Интернет

СОДЕРЖАНИЕ

1. Область применения. 3

2. Нормативные ссылки. 3

3. Термины и определения. 4

4. Основные параметры и размеры.. 4

5. Технические требования. 6

5.1. Характеристики. 6

5.2. Маркировка, упаковка. 7

6. Требования безопасности. 8

7. Требования охраны окружающей среды.. 8

8. Правила приемки. 8

9. Методы контроля. 10

9.1. Определение длины и ширины.. 10

9.2. Определение разности длин диагоналей. 11

9.3. Определение отклонения от плоскостности. 11

9.4. Определение отклонения от прямолинейности кромок. 12

9.5. Определение количества и размеров пороков. 12

9.6. Определение повреждения углов. 13

9.7. Определение толщины стекла. 13

9.8. Определение коэффициента направленного пропускания света. 13

9.9. Определение оптических искажений. 14

9.10. Определение нормального коэффициента эмиссии. 14

9.11. Определение влагостойкости. 14

9.12. Определение кислотостойкости. 15

9.13. Определение стойкости к воздействию нейтрального соляного тумана. 15

9.14. Определение стойкости к истиранию.. 16

9.15. Определение величины остаточных внутренних напряжений. 17

10. Транспортирование и хранение. 17

11. Указания по эксплуатации. 18

12. Гарантии изготовителя. 19

Приложение А (справочное) Справочные значения свойств низкоэмиссионного стекла с твердым покрытием.. 19

НАЦИОНАЛЬНЫЙ СТАНДАРТ РОССИЙСКОЙ ФЕДЕРАЦИИ

СТЕКЛО С НИЗКОЭМИССИОННЫМ ТВЕРДЫМ ПОКРЫТИЕМ

Технические условия

Hard coat low emissivity glass. Specifications

Дата введения - 2012-07-01

1. Область применения

Настоящий стандарт распространяется на стекло с низкоэмиссионным твердым покрытием (далее - стекло), стойкое к внешним воздействиям и предназначенное для остекления светопрозрачных конструкций, применяемых в зданиях и сооружениях различного назначения, а также в бытовых и промышленных приборах, средствах транспорта и других технических средствах с целью снижения потерь тепла через светопрозрачную конструкцию.

Настоящий стандарт не распространяется на стекло с низкоэмиссионным мягким покрытием, а также на стекла с покрытиями других назначений (декоративными, солнцезащитными, теплопоглощающими и другими).

Настоящий стандарт допускается применять при проведении сертификационных испытаний и целей оценки соответствия.

2. Нормативные ссылки

В настоящем стандарте использованы нормативные ссылки на следующие стандарты:

ГОСТ Р ИСО 2859-1-2007 Статистические методы. Процедуры выборочного контроля по альтернативному признаку. Часть 1. Планы выборочного контроля последовательных партий на основе приемлемого уровня качества

ГОСТ Р 52901-2007 Картон гофрированный для упаковки продукции. Технические условия

ГОСТ Р 54168-2010 Стекло и изделия из него. Методы определения тепловых характеристик. Определение коэффициента эмиссии

ГОСТ Р 54170-2010 Стекло листовое бесцветное. Технические условия

ГОСТ Р 54181-2010 Стекло и изделия из него. Метод испытания на влагостойкость

ГОСТ Р 54182-2010 Стекло и изделия из него. Метод испытания на стойкость к соляному туману

ГОСТ 12.0.004-90 Система стандартов безопасности труда. Организация обучения безопасности труда. Общие положения

ГОСТ 12.1.004-91 Система стандартов безопасности труда. Пожарная безопасность. Общие требования

ГОСТ 12.3.009-76 Система стандартов безопасности труда. Работы погрузочно-разгрузочные. Общие требования безопасности

ГОСТ 12.4.011-89 Система стандартов безопасности труда. Средства защиты работающих. Общие требования и классификация

ГОСТ 427-75 Линейки измерительные металлические. Технические условия

ГОСТ 3118-77 Реактивы. Кислота соляная. Технические условия

ГОСТ 3749-77 Угольники поверочные 90°. Технические условия

ГОСТ 4295-80 Ящики дощатые для листового стекла. Технические условия

ГОСТ 6507-90 Микрометры. Технические условия

ГОСТ 6709-72 Вода дистиллированная. Технические условия

ГОСТ 7502-98 Рулетки измерительные металлические. Технические условия

ГОСТ 9416-83 Уровни строительные. Технические условия

ГОСТ 14192-96 Маркировка грузов

ГОСТ 14791-79 Мастика герметизирующая нетвердеющая строительная. Технические условия

ГОСТ 17299-78 Спирт этиловый технический. Технические условия

ГОСТ 25706-83 Лупы. Типы, основные параметры. Общие технические требования

ГОСТ 26302-93 Стекло. Методы определения коэффициентов направленного пропускания и отражения света

Примечание - При пользовании настоящим стандартом целесообразно проверить действие ссылочных стандартов в информационной системе общего пользования - на официальном сайте Федерального агентства по техническому регулированию и метрологии в сети Интернет или по ежегодно издаваемому информационному указателю «Национальные стандарты», который опубликован по состоянию на 1 января текущего года, и по соответствующим ежемесячно издаваемым информационным указателям, опубликованным в текущем году. Если ссылочный стандарт заменен (изменен), то при пользовании настоящим стандартом следует руководствоваться заменяющим (измененным) стандартом. Если ссылочный стандарт отменен без замены, то положение, в котором дана ссылка на него, применяется в части, не затрагивающей эту ссылку.

3. Термины и определения

В настоящем стандарте применены следующие термины с соответствующими определениями:

3.1 низкоэмиссионное покрытие: Покрытие, при нанесении которого на стекло заметно улучшаются теплотехнические характеристики стекла (сопротивление теплопередаче остекления с применением стекла с низкоэмиссионным покрытием увеличивается, а коэффициент теплопередачи - уменьшается).

3.2 твердое покрытие: Покрытие, стойкое к внешним воздействиям, которое наносится на стекло в процессе его производства.

3.3 оптические искажения: Дефекты листового стекла, характеризующиеся минимальным углом между плоскостью стекла и плоскостью экрана, при котором не наблюдается искажение формы полос экрана.

3.4 краевая зона: Часть поверхности стекла, составляющая 5 % длины и 5 % ширины листа стекла, но не более 50 мм.

3.5 рабочая зона: Часть поверхности стекла, исключая краевую зону.

3.6 коэффициент эмиссии (откорректированный коэффициент эмиссии): Отношение мощности излучения поверхности стекла к мощности излучения абсолютно черного тела.

3.7 нормальный коэффициент эмиссии (нормальная излучательная способность): Способность стекла отражать нормально падающее излучение; вычисляется как разность между единицей и коэффициентом отражения в направлении нормали к поверхности стекла.

3.8 царапина: Механическое повреждение поверхности стекла в виде черты. В зависимости от ширины различают царапины грубые и волосные.

3.9 волосные царапины: Механическое повреждение стекла в виде черты, ширина которой не более 0,1 мм.

3.10 грубые царапины: Механическое повреждение стекла в виде черты, ширина которой более 0,1 мм.

4. Основные параметры и размеры

4.1. Стекло должно изготавливаться в соответствии с требованиями настоящего стандарта, по технологической документации, утвержденной в установленном порядке.

4.2. Номинальная толщина, предельные отклонения по толщине и разнотолщинность листа стекла должны соответствовать требованиям, указанным в таблице 1.

Таблица 1

В миллиметрах

Номинальная толщина

Предельное отклонение

Разнотолщинность

3,0

± 0,2

0,1

4,0

5,0

6,0

8,0

± 0,3

0,2

10,0

12,0

15,0

± 0,5

0,3

19,0

± 1,0

0,5

25,0

4.3. Максимальный номинальный размер стекла (ширина и длина) составляет 3210´6000 мм.

Номинальные размеры стекла устанавливают в договоре (заказе) между изготовителем и потребителем.

Форма, размеры и допуски размеров стекла сложной конфигурации должны соответствовать рабочим чертежам или шаблонам, согласованным изготовителем и потребителем.

4.4. Предельные отклонения размеров стекла прямоугольной формы по длине (ширине) должны соответствовать требованиям, указанным в таблице 2.

Таблица 2

В миллиметрах

Номинальная толщина

Предельные отклонения размеров при длине кромок

до 1500 включ.

от 1500 до 3000 включ.

св. 3000

3,0

± 1

± 2

± 2

4,0

5,0

6,0

8,0

± 2

± 3

10,0

12,0

15,0

± 3

19,0

± 3

± 4

25,0

Примечание - Предельные отклонения размеров по длине и ширине допускается устанавливать в договоре (заказе) между изготовителем и потребителем.

4.5. Отклонение от прямолинейности кромок листа стекла не должно превышать 1 мм на 1 м длины кромки.

4.6. Отклонение от плоскостности листа стекла не должно быть более 0,1 % длины стороны листа стекла, параллельно которой производится измерение.

4.7. Разность длин диагоналей для листа стекла прямоугольной формы не должна превышать значений, указанных в таблице 3.

Таблица 3

В миллиметрах

Длина диагоналей

Разность длин диагоналей

До 1500 включ.

2

Св. 1500 » 3000       »

3

» 3000

4

4.8. Условное обозначение стекла должно состоять из буквенного обозначения (К), длины, ширины, толщины и обозначения настоящего стандарта.

Пример условного обозначения стекла длиной 2200 мм, шириной 1000 мм, толщиной 4 мм:

К-2200´1000´4 - ГОСТ Р 54177-2010.

5. Технические требования

5.1. Характеристики

5.1.1. По показателям внешнего вида (порокам) стекло должно соответствовать требованиям, указанным в таблице 4.

При подсчете количества пороков берется общая площадь листов стекла, вошедших в выборку при контроле.

Таблица 4

Наименование порока

Норма ограничения

рабочая зона

краевая зона

Трещины, посечки

Не допускаются

Пузыри, мм:

Допускаются, если не мешают обзору

Не нормируются

до 0,5

от 0,5 до 1,0

Не допускаются более 3 шт. на 5 м2

от 1,0 до 2,0

Не допускаются более 3 шт. на 10 м2

Допускаются не более 1 шт./м2

от 2,0 до 3,0

Не допускаются более 2 шт. на 10 м2

более 3,0

Не допускаются

Царапины грубые

Не допускаются

Царапины волосные, мм:

Не допускаются общей длиной более 75 мм на 1 м2

Допускаются, если не мешает обзору

до 75

более 75

Не допускаются

Допускаются, если расстояние между ними более 50 мм

Инородные разрушающие включения

Не допускаются

Цветные пятна, разводы

Не допускаются

Допускаются, если не мешают обзору

Точечные просветы размером, мм:

до 0,5 включ.

Допускаются, если не мешают обзору

св. 0,5 до 2,0     »

1 шт./м2

» 2,0

Не допускаются

5.1.2. Стекло должно иметь ровные кромки и целые углы.

Допускаются:

а) дефекты края стекла (щербление, сколы), которые не должны проникать более чем на половину толщины листа стекла;

б) повреждение углов (по биссектрисе), которые не должны превышать предельных отклонений по длине и ширине.

По требованию заказчика (потребителя) стекла могут иметь шлифованную кромку.

5.1.3. Оптические искажения не должны превышать требования, указанные в таблице 5.

Таблица 5

Наименование показателя

Значение показателя

Оптические искажения, видимые в проходящем свете

Не допускается искажение полос экрана «зебра» под углом менее или равным 45°

Оптические искажения, видимые в отраженном свете

Не допускается отклонение показателя отраженного растра более 5 мм

5.1.4. Коэффициент направленного пропускания света должен соответствовать требованиям, указанным в таблице 6.

Таблица 6

Номинальная толщина, мм

Коэффициент направленного пропускания света, не менее

3,0

0,85

4,0

0,84

5,0

0,83

6,0

0,82

8,0

0,81

10,0

0,79

12,0

0,75

15,0

0,72

19,0

0,68

25,0

0,63

Примечание - По согласованию изготовителя с потребителем допускается значения коэффициента направленного пропускания света уменьшать на 0,03.

5.1.5. Нормальный коэффициент эмиссии стекла должен быть не более 0,18.

5.1.6. Стекло должно быть влагостойким.

5.1.7. Стекло должно быть кислотостойким.

5.1.8. Стекло должно быть стойким к воздействию нейтрального соляного тумана.

5.1.9. Стекло должно быть стойким к истиранию.

5.1.10. Величина остаточных внутренних напряжений не должна быть более 70 нм/см.

5.2. Маркировка, упаковка

5.2.1. Маркировку на стекло, как правило, не наносят. В случае необходимости правила маркировки устанавливают в договоре (заказе) между изготовителем и потребителем.

5.2.2. Упаковку стекла производят в соответствии с требованиями, изложенными в договоре поставки. Листы стекла при упаковке должны быть пересыпаны специальным порошковым материалом на основе полиметилакрилата или полиэтилена высокого давления по нормативным документам.

Допускается по согласованию изготовителя с потребителем листы стекла перекладывать прокладочным материалом, не содержащим царапающих включений и не повреждающим поверхность стекла (пробковыми прокладками, бумагой по нормативным документам или др.), так, чтобы исключалась возможность соприкосновения листов стекла друг с другом.

5.2.3. Если в договоре поставки не оговорены требования к упаковке стекла, то листы стекла упаковывают в дощатые ящики по ГОСТ 4295, специализированные контейнеры для листового стекла, ящичные специализированные поддоны или другой вид тары по нормативным документам.

5.2.4. В каждую стопу контейнера, ящика или любого другого вида тары устанавливают стекло одного размера и толщины.

Листы стекла устанавливают так, чтобы исключалась возможность смещения отдельных листов стекла относительно стопы. Между стопами стекла в контейнере устанавливают предохранительные вставные перегородки (деревянные, из гофрированного картона или другие).

5.2.5. Пространство между стопами стекла и стенками ящиков должно быть заполнено уплотняющим материалом, обеспечивающим сохранность стекла.

В качестве уплотняющего прокладочного материала в ящиках используется гофрированный картон по ГОСТ Р 52901 или другой, не допускающий смещение стопы стекла и не повреждающий стекло.

5.2.6. В каждый контейнер, ящик или другой вид тары вкладывают или наклеивают ярлык, в котором указывают:

- наименование или товарный знак предприятия-изготовителя;

- условное обозначение стекла;

- сведения о дате изготовления (или идентификационные данные, позволяющие установить дату отгрузки стекла со склада изготовителя);

- количество листов стекла, шт., или площадь стекла, м2;

- вес нетто, кг.

Допускается по согласованию изготовителя с потребителем в ярлыке указывать торговую марку и размеры стекла вместо условного обозначения, а также приводить дополнительную информацию (сведения о сертификации и т.д.).

5.2.7. Транспортную маркировку производят по ГОСТ 14192 с нанесением манипуляционных знаков «Хрупкое. Осторожно», «Верх», «Беречь от влаги».

5.2.8. При экспортно-импортных операциях требования к маркировке и упаковке стекла уточняют в договорах (контрактах) на поставку.

6. Требования безопасности

6.1. Требования безопасности при производстве стекла устанавливают в соответствии с санитарно-гигиеническими правилами, правилами по электробезопасности, правилами противопожарной безопасности в соответствии с применяемым технологическим оборудованием и технологией производства.

6.2. Пожарную безопасность производства стекла обеспечивают системами предотвращения пожара, противопожарной защиты, организационно-техническими мероприятиями по ГОСТ 12.1.004. Не допускается в производственных и складских помещениях использование открытого огня.

6.3. Лица, занятые на производстве стекла, должны быть обеспечены спецодеждой по нормативным документам и средствами индивидуальной защиты по ГОСТ 12.4.011. В производственных помещениях должны быть вода и аптечка с медикаментами для оказания первой помощи.

6.4. Лица, занятые в производстве стекла, при приеме на работу, а также периодически должны проходить медицинский осмотр в соответствии с действующими правилами органов здравоохранения, инструктаж по технике безопасности и быть обучены правилам безопасной работы согласно ГОСТ 12.0.004. К изготовлению стекла не допускаются лица моложе 18 лет.

6.5. При выполнении погрузочно-разгрузочных работ должны соблюдаться правила безопасности согласно ГОСТ 12.3.009.

6.6. Для всех технологических операций и производственных процессов, включая погрузочно-разгрузочные, упаковочные и транспортные, должны быть разработаны и утверждены в установленном порядке инструкции по технике безопасности.

7. Требования охраны окружающей среды

7.1. Стекло является экологически безопасной продукцией и в процессе производства, транспортирования, хранения и эксплуатации не выделяет токсичных веществ в окружающую среду.

7.2. Утилизацию отходов стекла производят путем его промышленной переработки.

8. Правила приемки

8.1. Приемку стекла на соответствие требованиям настоящего стандарта производят партиями. Партией считают количество стекла, оформленное одним документом о качестве.

8.2. Стекло подвергают приемо-сдаточным испытаниям по 4.2, 4.4 - 4.7, 5.1.1 - 5.1.3, периодическим - по 5.1.4 - 5.1.10.

8.3. Приемо-сдаточные испытания

8.3.1. Проверка партии листов стекла на соответствие требованиям 4.2, 4.4 - 4.7, 5.1.1 - 5.1.2 должна проводиться по двухступенчатому плану контроля по ГОСТ Р ИСО 2859-1 для AQL 4 %.

8.3.2. Объем выборки в зависимости от объема партии для первой и второй ступеней плана контроля, а также приемочные и браковочные числа приведены в таблице 7.

Таблица 7

Объем партии изделий, шт.

Ступень плана контроля

Объем выборки, шт.

Общий объем выборки, шт.

Приемочное число

Браковочное число

От 2* до 90 включ.

1

3

3

0

2

2

3

6

1

2

Св. 90 до 150 включ.

1

5

5

0

2

2

5

10

1

2

Св. 150 до 280 включ.

1

8

8

0

2

2

8

16

1

2

Св. 280 до 500 включ.

1

13

13

0

3

2

13

26

3

4

Св. 500 до 1200 включ.

1

20

20

1

4

2

20

40

4

5

Св. 1200 до 3200 включ.

1

32

32

2

5

2

32

64

6

7

* Если объем выборки больше объема партии, требуется 100 %-ный контроль.

8.3.3. Партию листов стекла считают принятой, если число дефектных листов в выборке меньше или равно приемочному числу, указанному в таблице 7 для первой ступени плана контроля, и бракуют, если число дефектных листов больше или равно браковочному числу.

Если число дефектных листов в первой выборке больше приемочного, но меньше браковочного числа, следует отобрать от той же партии выборку объемом, указанным в таблице 7 для второй ступени плана контроля, и повторить испытания по всем контролируемым показателям, указанным в 8.3.1.

После повторной проверки показателей партию листов стекла считают принятой, если суммарное число дефектных листов в выборках для первой и второй ступеней плана контроля меньше или равно приемочному числу, указанному для второй ступени, и считают непринятой, если суммарное число дефектных листов больше или равно браковочному числу, указанному в таблице 7 для второй ступени контроля.

8.3.4. Для проверки оптических искажений (см. 5.1.3) из партии составляют выборку из числа листов, принятых по 8.3.1 - 8.3.3, объемом, указанным в таблице 8.

Партию считают принятой, если все листы соответствуют требованиям 5.1.3. При несоответствии хотя бы одного листа требованиям 5.1.3 проводят повторную проверку по этому показателю на удвоенном количестве листов. При получении неудовлетворительных результатов повторной проверки хотя бы на одном листе партию считают непринятой.

Таблица 8

В штуках

Объем партии

Объем выборки

До 90 включ.

2

Св. 90 до 500    »

3

» 500 » 3200   »

5

8.4. Периодические испытания

8.4.1. Стекло подвергают периодическим испытаниям по 5.1.4 - 5.1.10 в соответствии с таблицей 9 и при изменении технологии производства.

Таблица 9

Наименование показателя

Технические требования

Периодичность

Количество образцов, шт.

Метод испытаний

Коэффициент направленного пропускания света

5.1.4

Один раз в шесть месяцев

3

9.8

Нормальный коэффициент эмиссии

5.1.5

Один раз в шесть месяцев

9.10

Влагостойкость

5.1.6

Один раз в год

9.11

Кислотостойкость

5.1.7

Один раз в год

9.12

Стойкость к нейтральному соляному туману

5.1.8

Один раз в год

5

9.13

Стойкость к истиранию

5.1.9

Один раз в год

3

9.14

Величина остаточных внутренних напряжений

5.1.10

Один раз в шесть месяцев

5

9.15

8.4.2. При получении неудовлетворительных результатов, если хотя бы один образец не соответствует заданным требованиям, проводят повторные испытания на удвоенном количестве образцов.

Результаты повторных испытаний распространяются на всю партию.

При получении неудовлетворительных результатов повторных испытаний партию бракуют и переводят испытания по данному показателю в приемо-сдаточные до получения положительных результатов не менее чем на двух партиях подряд.

При изменении технологии производства, а также не реже одного раза в три года результаты периодических испытаний подтверждают испытаниями, проводимыми в испытательных центрах (лабораториях), аккредитованных в установленном порядке на право проведения этих видов испытаний.

8.4.3. Каждую партию стекла сопровождают документом о качестве, в котором указывают:

- наименование или товарный знак предприятия-изготовителя;

- условное обозначение стекла;

- количество листов стекла, шт., или площадь стекла, м2;

- количество и идентификационное обозначение ящиков, контейнеров или другого вида тары;

- номер и дату отгрузки.

Примечание - За дату отгрузки допускается принимать дату составления документа.

Допускается по согласованию изготовителя с потребителем в документе указывать торговую марку стекла вместо условного обозначения и дополнительную информацию (результаты испытаний, сведения о сертификации и т.д.).

8.5. При экспортно-импортных операциях требования к содержанию документа, сопровождающего партию стекла, могут устанавливаться в договорах (контрактах) на поставку.

9. Методы контроля

9.1. Определение длины и ширины

9.1.1. Сущность метода

Метод основан на измерении линейных размеров и вычислении отклонений от заданных значений.

9.1.2. Отбор образцов

Испытание проводят на листах стекла, отобранных в соответствии с 8.3.1.

9.1.3. Средства контроля (измерений)

Рулетка по ГОСТ 7502 или другие средства измерений с ценой деления не более 1 мм.

9.1.4. Проведение испытания

Для определения длины (ширины) проводят два измерения параллельно кромкам листа стекла на расстоянии от края не менее толщины листа стекла. Погрешность измерения 1 мм.

9.1.5. Обработка результатов

9.1.5.1. Длину (ширину) стекла определяют как среднеарифметическое значение результатов измерений, округленное до 1 мм.

9.1.5.2. Отклонение размеров по длине (ширине) определяют как разность между каждым значением длины (ширины), измеренным по 9.1.4, и номинальным значением длины (ширины) листа стекла.

9.1.6. Оценка результатов

Стекло считают выдержавшим испытание, если отклонение размеров по длине и ширине соответствует 4.4.

9.2. Определение разности длин диагоналей

9.2.1. Сущность метода

Метод основан на измерении линейных размеров и вычислении отклонений от заданных значений.

9.2.2. Отбор образцов

Испытания проводят на листах стекла, отобранных в соответствии с 8.3.1.

9.2.3. Средства контроля (измерений)

Рулетка по ГОСТ 7502 или другие средства измерений с ценой деления не более 1 мм.

9.2.4. Проведение испытания

Измеряют длину каждой диагонали. Погрешность измерения 1 мм.

9.2.5. Обработка результатов

Вычисляют разность длин измеренных диагоналей.

9.2.6. Оценка результатов

Стекло считают выдержавшим испытание, если разность длин диагоналей соответствует требованиям 4.7.

9.3. Определение отклонения от плоскостности

9.3.1. Сущность метода

Метод основан на определении максимального отклонения поверхности листа стекла от контрольного инструмента с допустимым отклонением от плоскостности.

9.3.2. Отбор образцов

Испытание проводят на листах стекла, отобранных в соответствии с 8.3.1.

9.3.3. Средства контроля (измерений)

Линейка по ГОСТ 427 или строительный уровень по ГОСТ 9416 длиной не менее 1000 мм.

Набор щупов не ниже 2-го класса точности по нормативным документам.

9.3.4. Проведение испытания

Лист стекла устанавливают вертикально на длинную сторону стекла (угол отклонения от вертикали не должен превышать 15°) таким образом, чтобы исключить прогиб стекла под собственным весом. Линейку или строительный уровень прикладывают ребром к поверхности листа стекла вдоль кромок на расстоянии не более 25 мм таким образом, чтобы середина линейки или уровня совпадала с центром листа стекла.

Расстояние (зазор) между поверхностью листа стекла и линейкой или уровнем контролируют щупом.

Толщина щупа должна быть равна:

0,001 длины стороны листа стекла, вдоль которой производится измерение, если длина линейки или уровня больше длины (ширины) листа стекла;

0,001 длины линейки или уровня, если их длина меньше или равна длине (ширине) листа стекла.

Испытание проводят при вертикальном и горизонтальном положениях линейки или уровня.

9.3.5. Оценка результатов

Стекло считают выдержавшим испытание, если щуп не входит в зазор.

9.4. Определение отклонения от прямолинейности кромок

9.4.1. Сущность метода

Метод основан на определении максимального отклонения кромки листа стекла от контрольного инструмента с допустимым отклонением от прямолинейности.

9.4.2. Отбор образцов

Испытание проводят на листах стекла, отобранных в соответствии с 8.3.1.

9.4.3. Средства контроля (измерений)

Линейка по ГОСТ 427 или строительный уровень по ГОСТ 9416 длиной не менее 300 мм.

Набор щупов не ниже 2-го класса точности по нормативным документам.

9.4.4. Проведение испытания

К каждой кромке примерно посередине листа стекла поочередно прикладывают ребром металлическую линейку или строительный уровень и щупом, толщина которого равна максимальному допускаемому значению отклонения от прямолинейности, контролируют расстояние (зазор) между кромкой стекла и линейкой или уровнем.

9.4.5. Оценка результатов

Стекло считают выдержавшим испытание, если щуп не входит в зазор.

9.5. Определение количества и размеров пороков

9.5.1. Сущность метода

Метод основан на визуальном осмотре стекла и измерении размеров обнаруженных пороков.

9.5.2. Отбор образцов

Испытание проводят на листах стекла, отобранных в соответствии с 8.3.1.

9.5.3. Средства контроля (измерений)

Линейка с ценой деления не более 1 мм по ГОСТ 427.

Лупа с ценой деления не более 0,25 мм по ГОСТ 25706.

Рулетка с ценой деления не более 1 мм по ГОСТ 7502.

9.5.4. Проведение испытания

Испытание проводят в проходящем свете при рассеянном дневном освещении или подобном ему искусственном (без прямого освещения).

Лист стекла устанавливают вертикально (угол отклонения от вертикали не должен превышать 15°). Освещенность поверхности листа стекла должна быть от 300 до 600 лк.

Визуальный осмотр проводят, находясь на расстоянии 0,6 - 1,0 м от поверхности листа стекла и перпендикулярно поверхности.

В случае обнаружения при визуальном осмотре пороков производят подсчет их количества, измерение размеров и, при необходимости, расстояния между пороками.

Размеры пороков определяют по наибольшим четко выраженным видимым очертаниям без учета оптических искажений.

Пороки размером менее 1 мм измеряют лупой, размером 1 мм и более - металлической линейкой.

Расстояние между пороками измеряют между их центрами линейкой или рулеткой.

Щербины и сколы измеряют линейкой или другим мерительным инструментом с ценой деления не более 1 мм.

9.5.5. Оценка результатов

Стекло считают выдержавшим испытание, если количество и размеры пороков соответствуют требованиям 5.1.1 - 5.1.2.

9.6. Определение повреждения углов

9.6.1. Сущность метода

Метод основан на определении максимального зазора между сторонами листа стекла и угольника.

9.6.2. Отбор образцов

Испытание проводят на листах стекла, отобранных в соответствии с 8.3.1.

9.6.3. Средства контроля (измерений)

Угольник не ниже 2-го класса точности по ГОСТ 3749.

Набор щупов по нормативным документам.

9.6.4. Проведение испытания

К каждому углу листа стекла поочередно прикладывают угольник так, чтобы одна измерительная поверхность угольника была прижата к кромке стекла. Расстояние (зазор) между второй измерительной поверхностью угольника и кромкой листа стекла контролируют щупом, толщина которого равна максимальному допускаемому значению повреждения углов согласно 5.1.2.

9.6.5. Оценка результатов

Стекло считают выдержавшим испытание, если щуп не входит в зазор.

9.7. Определение толщины стекла

9.7.1. Сущность метода

Метод основан на измерении линейных размеров и вычислении величины отклонений от заданных значений.

9.7.2. Отбор образцов

Испытания проводят на готовых изделиях, отобранных в соответствии с 8.3.1.

9.7.3. Средство контроля (измерений)

Микрометр с ценой деления не более 0,01 мм по ГОСТ 6507 или другие средства измерений с ценой деления не более 0,01 мм.

9.7.4. Проведение испытания

Толщину стекла измеряют в четырех точках, расположенных в середине каждой стороны листа стекла на расстоянии от края не менее толщины стекла. Погрешность измерения 0,01 мм.

9.7.5. Обработка результатов

9.7.5.1. Толщину стекла определяют как среднеарифметическое значение результатов измерений, округленное до 0,01 мм.

9.7.5.2. Отклонение по толщине Dd, мм, вычисляют по формуле

Dd = max |di - d0|,                                                        (1)

где di - толщина, измеренная по 9.7.4, мм;

d0 - номинальная толщина, мм.

9.7.5.3. Разнотолщинность стекла определяют как разность между максимальным и минимальным значениями результатов измерений толщины одного и того же листа стекла.

9.8. Определение коэффициента направленного пропускания света

9.8.1. Определение коэффициента направленного пропускания света проводят в соответствии с ГОСТ 26302. Размеры образцов устанавливают в соответствии с инструкцией по эксплуатации применяемого средства измерения.

9.8.2. Оценка результатов

Образцы считают выдержавшими испытание, если измеренный коэффициент направленного пропускания света соответствует требованиям 5.1.4.

9.9. Определение оптических искажений

9.9.1. Определение оптических искажений, видимых в проходящем свете, проводят в соответствии с ГОСТ Р 54170 с использованием экрана «зебра».

9.9.2. Определение оптических искажений, видимых в отраженном свете, проводят в соответствии с ГОСТ Р 54170.

9.9.3. Оценка результатов

Образцы стекла считают выдержавшими испытание, если измеренные значения оптических искажений соответствуют 5.1.3.

9.10. Определение нормального коэффициента эмиссии

9.10.1. Определение нормального коэффициента эмиссии проводят в соответствии с ГОСТ Р 54168.

9.10.2. Оценка результатов

Образцы считают выдержавшими испытание, если нормальный коэффициент эмиссии соответствует требованиям 5.1.5.

9.11. Определение влагостойкости

9.11.1. Испытания на влагостойкость проводят по ГОСТ Р 54181 со следующими дополнениями.

9.11.2. Испытания проводят на трех образцах размером не менее 100´150 мм, вырезанных из трех листов стекла из испытываемой партии, не имеющих пороков внешнего вида. Наличие царапин не допускается.

9.11.3. Проведение испытания

9.11.3.1. Перед проведением испытаний образцы выдерживают при температуре (20 ± 4) °C не менее одного часа. Затем на образцах измеряют коэффициент направленного пропускания света на длинах волн 550 и 900 нм и коэффициент отражения света на длине волны 8 мкм.

9.11.3.2. После выдержки образцы устанавливают в камере покрытием вверх под углом (15 ± 5) °C к вертикали так, чтобы они были на расстоянии 20 - 40 мм друг от друга и на расстоянии не менее 100 мм от стенок камеры.

9.11.3.3. Образцы выдерживают в камере при температуре (40 ± 2) °C в течение 21 дня. Капли конденсата не должны попадать на образцы.

9.11.3.4. По истечении времени выдержки и остывания образцов их извлекают из камеры, выдерживают на воздухе до высыхания, протирают сухой мягкой неворсистой тканью, подвергают визуальному контролю и спектрофотометрическим измерениям.

9.11.3.5. Образцы осматривают при рассеянном освещении при освещенности от 300 до 600 лк на расстоянии 0,6 - 1,0 м.

9.11.4. Оценка результатов

Стекло считают выдержавшим испытание, если:

а) при визуальном осмотре:

- не обнаружено пороков размером более 3 мм,

- не более одного порока размером от 2 до 3 мм,

- не более пяти пороков размером от 1 до 2 мм;

б) при спектрофотометрических измерениях:

- коэффициент отражения света, измеренный на длине волны 8 мкм, уменьшился не более чем на 0,02,

- коэффициент направленного пропускания света на длинах волн 550 и 900 нм после испытаний изменился по сравнению с данными до испытаний не более чем на ± 0,03.

Примечание - Коэффициент направленного пропускания света на длинах волн 550 и 900 нм и коэффициент отражения света на длине волны 8 мкм измеряют с помощью спектрофотометра в соответствии с инструкцией по его эксплуатации.

9.12. Определение кислотостойкости

9.12.1. Сущность метода

Метод состоит в определении способности покрытия стекла выдерживать воздействие соляной кислоты в течение заданного времени без изменения внешнего вида.

9.12.2. Отбор образцов

Испытания проводят на трех образцах размером не менее 100´150 мм, вырезанных из трех листов стекла из испытываемой партии, не имеющих пороков внешнего вида.

9.12.3. Аппаратура и реактивы

Цилиндр из химически стойкого стекла диаметром не более 80 мм и высотой не менее 50 мм.

Мастика уплотняющая по ГОСТ 14791 (химически нейтральная).

Этиловый спирт по ГОСТ 17299.

Вода дистиллированная по ГОСТ 6709.

Раствор соляной кислоты, приготовленный из 30 см3 соляной кислоты по ГОСТ 3118 с плотностью 1,19 г/см3 и 970 см3 дистиллированной воды по ГОСТ 6709.

9.12.4. Проведение испытаний

Перед проведением испытаний образцы стекла тщательно очищают этиловым спиртом и выдерживают при температуре (20 ± 4) °C не менее одного часа. Затем на образцах измеряют коэффициент направленного пропускания света на длинах волн 550 и 900 нм и коэффициент отражения на длине волны 8 мкм. После чего стеклянный цилиндр приклеивают уплотняющей мастикой (или другим уплотняющим материалом) к поверхности образца, на которую нанесено покрытие, и наполняют его раствором соляной кислоты на высоту (20 ± 1) мм. Образцы с раствором выдерживают при температуре (23 ± 3) °C в течение семи суток. После четырех суток раствор обновляют.

После семи суток раствор выливают, стеклянный цилиндр снимают, поверхность стекла тщательно очищают этиловым спиртом и высушивают.

9.12.5. Оценка результатов

Стекло считают выдержавшим испытание, если:

а) при визуальном осмотре:

- не обнаружено пороков размером более 3 мм,

- не более одного порока размером от 2 до 3 мм,

- не более пяти пороков размером от 1 до 2 мм;

б) при спектрофотометрических измерениях:

- коэффициент отражения света, измеренный на длине волны 8 мкм, уменьшился не более чем на 0,02,

- коэффициент направленного пропускания света на длинах волн 550 и 900 нм после испытаний изменился по сравнению с данными до испытаний не более чем на ± 0,03.

Примечание - Коэффициент направленного пропускания света на длинах волн 550 и 900 нм измеряют с помощью спектрофотометра в соответствии с инструкцией по его эксплуатации.

9.13. Определение стойкости к воздействию нейтрального соляного тумана

9.13.1. Испытания на стойкость к воздействию нейтрального соляного тумана проводят по ГОСТ Р 54182 со следующими дополнениями.

9.13.2. Отбор образцов

Испытания проводят на пяти образцах размером не менее 100´150 мм, вырезанных из листов стекла из испытываемой партии, не имеющих пороков внешнего вида. Не допускается наличие царапин.

9.13.3. Проведение испытания

9.13.3.1. Перед проведением испытаний образцы выдерживают при температуре (20 ± 4) °C не менее одного часа. Затем на образцах измеряют коэффициент направленного пропускания света на длинах волн 550 и 900 нм и коэффициент отражения на длине волны 8 мкм.

9.13.3.2. После выдержки образцы устанавливают в камере покрытием вверх под углом (15 ± 5) °C к вертикали так, чтобы они были на расстоянии 20 - 40 мм друг от друга и на расстоянии не менее 100 мм от стенок камеры.

9.13.3.3. Образцы выдерживают в камере при температуре (35 ± 2) °C в течение 21 дня.

9.13.3.4. По истечении времени выдержки и остывания образцов их извлекают из камеры, выдерживают на воздухе до высыхания, протирают сухой мягкой неворсистой тканью, подвергают визуальному контролю и измеряют коэффициент направленного пропускания света на длинах волн 550 и 900 нм и коэффициент отражения на длине волны 8 мкм.

9.13.3.5. Образцы осматривают при рассеянном освещении при освещенности от 300 до 600 лк на расстоянии 0,6 - 1,0 м.

9.13.4. Оценка результатов

9.13.4.1. После проведения испытаний образцы подвергают визуальному осмотру и спектрофотометрическим измерениям.

Стекло считают выдержавшим испытание, если:

а) при визуальном осмотре:

- не обнаружено пороков размером более 3 мм,

- не более одного порока размером от 2 до 3 мм,

- не более пяти пороков размером от 1 до 2 мм;

б) при спектрофотометрических измерениях:

- коэффициент отражения света, измеренный на длине волны 8 мкм, уменьшился не более чем на 0,02,

- коэффициент направленного пропускания света на длинах волн 550 и 900 нм после испытаний изменился по сравнению с коэффициентом направленного пропускания света на этих же длинах волн до испытаний не более чем на ± 0,03.

Примечание - Коэффициент направленного пропускания света на длинах волн 550 и 900 нм и коэффициент отражения света на длине волны 8 мкм измеряют с помощью спектрофотометра в соответствии с инструкцией по его эксплуатации.

9.14. Определение стойкости к истиранию

9.14.1. Сущность метода

Метод состоит в определении способности стекла противостоять истирающему воздействию.

9.14.2. Отбор образцов

9.14.2.1. Испытания проводят на трех образцах размером не менее 300´300 мм, вырезанных из трех листов стекла от испытываемой партии, не имеющих пороков внешнего вида.

9.14.2.2. Перед проведением испытаний образцы должны быть вымыты с помощью обычных моющих средств и протерты сухой мягкой неворсистой тканью для удаления загрязнений. Затем на образцах измеряют коэффициент направленного пропускания света на длинах волн 550 и 900 нм.

9.14.3. Аппаратура

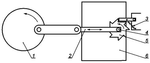
Испытательная установка, показанная на рисунке 1, обеспечивает истирающее воздействие на стекло со скоростью (60 ± 6) шагов/мин, длину шага (120 ± 5) мм и прижимное усилие (4,0 ± 0,4) Н.

Войлочная насадка, используемая как абразивный материал, со следующими характеристиками:

- плотность (0,52 ± 0,052) г/см2;

- толщина (10 ± 1) мм;

- диаметр (14,5 ± 0,5) мм.

9.14.4. Проведение испытания

Образцы закрепляют так, чтобы во время проведения испытания они не смещались. Установку приводят в движение, и металлический рычаг через войлочную насадку создает нагрузку перпендикулярно поверхности стекла (4,0 ± 0,4) Н. Истирающее воздействие на стекло длится по достижении 500 шагов. Замену войлочной насадки производят перед испытанием каждого образца. На образце проводят не менее четырех испытаний.

1 - маховик; 2 - рычаг; 3 - пружина; 4 - войлочная насадка;
5 - вращающееся колесо для войлочной насадки; 6 - образец стекла

Рисунок 1 - Схема испытательной установки для определения стойкости к истиранию

9.14.5. Оценка результатов

Образцы считаются выдержавшими испытание, если коэффициент направленного пропускания света на длинах волн 550 и 900 нм после испытаний изменился по сравнению с коэффициентом направленного пропускания света на этих же длинах волн до испытаний не более чем на ± 0,05.

9.15. Определение величины остаточных внутренних напряжений

9.15.1. Величину остаточных внутренних напряжений определяют в соответствии с ГОСТ Р 54170.

9.15.2. Оценка результатов

Образцы стекла считают выдержавшими испытание, если измеренная величина остаточных внутренних напряжений соответствует 5.1.10.

10. Транспортирование и хранение

10.1. Упакованное стекло транспортируют всеми видами транспорта в соответствии с правилами перевозки грузов, действующими на данном виде транспорта. Размещение и крепление в транспортных средствах производят в соответствии с техническими условиями погрузки и крепления грузов.

Ящики с листами стекла или другой вид тары транспортируют в железнодорожных вагонах, автомобилях, в трюмах судов, обеспечивая защиту стекла от атмосферных осадков.

Ящики с листами стекла или другой вид тары при длине кромки свыше 1800 мм транспортируют на открытом подвижном железнодорожном транспорте (полувагонах) и специальных автомобилях, обеспечивая защиту стекла от атмосферных осадков.

10.2. При транспортировании ящиков или другого вида тары их устанавливают так, чтобы торцы листов стекла были расположены в них по направлению движения.

10.3. При транспортировании, погрузке, выгрузке и хранении стекла должны быть приняты меры, обеспечивающие его сохранность от механических повреждений.

10.4. Стекло хранят в сухих закрытых отапливаемых помещениях. Хранение стекла в контейнерах не допускается.

10.5. При хранении и транспортировании стекло не должно подвергаться воздействию влаги, агрессивной среды и механическим повреждениям.

10.6. При хранении ящики со стеклом или другой вид тары должны быть установлены в один ярус под углом 5° - 15° к вертикали на специально предусмотренных опорах. Допускается устанавливать ящики со стеклом в вертикальные стойки, снабженные крепежными элементами, препятствующими перемещению ящиков, а также в два яруса, если имеются специальные привалы и предприятие-изготовитель допускает хранение таким образом. Опирать ящики на стены или колонны здания запрещается.

Если транспортная тара влажная, стекло необходимо распаковать на складе получателя.

11. Указания по эксплуатации

11.1. При распаковывании транспортной тары, хранении стекла и в период его эксплуатации не допускается:

- взаимное касание стекол без прокладки между ними бумаги, пробковых прокладок, а также касание о твердые предметы;

- протирание стекла жесткой тканью и тканью, содержащей царапающие примеси;

- удары твердыми предметами;

- очистка сухого стекла жесткими щетками без подачи смывающей жидкости;

- длительное присутствие влаги на поверхности стекла;

- эксплуатация в агрессивной среде.

11.2. При работе со стеклом необходимо использовать чистые матерчатые перчатки во избежание загрязнения жировыми пятнами от пальцев рук.

11.3. Стекло необходимо мыть при помощи вертикальных или горизонтальных многоэтапных автоматических моющих установок с использованием теплой деминерализованной воды и мягких роликовых щеток с диаметром волокна не более 0,15 мм. Режим мойки устанавливается в рекомендациях изготовителя стекла.

Примечание - Качество воды является важным критерием при мытье стекла. Вода не должна содержать примесей (химических средств). Качество воды на всех этапах очистки и мытья стекол, а также используемое оборудование должны соответствовать рекомендациям производителя стекол.

Рекомендуется на последнем этапе мойки использовать деминерализованную воду с электропроводностью не выше 15 мкСм/см. На этапах предварительной и начальной моек электропроводность деминерализованной воды не должна превышать 30 мкСм/см.

При ручной мойке стекло можно мыть неагрессивными стекломоющими средствами, не содержащими абразивных частиц, мягкой неворсистой ветошью и протирать сухой мягкой неворсистой ветошью.

11.4. Справочные значения свойств низкоэмиссионного стекла, используемые при его эксплуатации, приведены в приложении А.

11.5. Правила монтажа стекла (включая расположение покрытия) в светопрозрачные конструкции устанавливают в проектной, конструкторской документациях на эти конструкции.

11.6. Резку стекла производят по поверхности листа стекла, на которую нанесено низкоэмиссионное твердое покрытие, применяя жидкость для резки, рекомендованную изготовителем стекла.

11.7. Поверхность стекла с низкоэмиссионным твердым покрытием должна быть защищена от соприкосновения или трения с любой шероховатой поверхностью.

11.8. При выполнении отделочных и других видов работ необходимо соблюдать меры по защите стекол от механических повреждений (ударов, вибрации и т.д.) и загрязнений - попадание на стекло строительных материалов (цементной пыли, строительных растворов, штукатурных смесей и т.д.) и других агрессивных веществ.

11.9. При проведении сварочных работ стекло необходимо защищать от попадания на него раскаленных частиц металла.

12. Гарантии изготовителя

12.1. Изготовитель гарантирует соответствие стекла требованиям настоящего стандарта при соблюдении правил эксплуатации, упаковки, транспортирования и хранения.

12.2. Гарантийный срок хранения стекла составляет пять лет со дня изготовления.

Приложение А
(справочное)

Справочные значения свойств низкоэмиссионного стекла с твердым покрытием

Справочные значения свойств низкоэмиссионного стекла с твердым покрытием приведены в таблице A.1.

Таблица А.1

Наименование показателя

Значение показателя

Плотность, кг/м3

2500

Модуль упругости, Па

7 · 1010

Расчетное сопротивление на растяжение при изгибе, МПа

15

Приведенное сопротивление теплопередаче, м2 · К/Вт

0,17

Коэффициент отражения света:

сторона без покрытия;

0,10

сторона с покрытием

0,11

Коэффициент прямого пропускания солнечной энергии (для стекла толщиной 4 мм)

0,73

Коэффициент общего пропускания солнечной энергии (для стекла толщиной 4 мм):

сторона без покрытия;

0,76

сторона с покрытием

0,78

Коэффициент отражения солнечной энергии:

сторона без покрытия;

0,09

сторона с покрытием

0,10

Коэффициент поглощения солнечной энергии:

сторона без покрытия;

0,18

сторона с покрытием

0,17

Диапазон разброса коэффициента эмиссии

0,15 - 0,18

 

Ключевые слова: стекло низкоэмиссионное, твердые покрытия на стекле, основные размеры, характеристики, упаковка, маркировка, требования безопасности, приемка, методы контроля, транспортирование, хранение

 



© 2013 Ёшкин Кот :-)