Информационная система
«Ёшкин Кот»

XXXecatmenu

Государственная система санитарно-эпидемиологического
нормирования Российской Федерации

4.1. МЕТОДЫ КОНТРОЛЯ. ХИМИЧЕСКИЕ ФАКТОРЫ

Определение концентраций загрязняющих
веществ в атмосферном воздухе

Сборник методических указаний
МУК 4.1.591-96 - 4.1.645-96,
4.1.662-97, 4.1.666-97

Минздрав России
Москва • 1997

1. Подготовлены творческим коллективом специалистов в составе: Малышева А.Г. (руководитель), Зиновьева Н.П., Суворова Ю.Б., Растянников Е.Г., Топорова И.Н., Евстигнеева М.А., Жаворонкова Н.А. (НИИ экологии человека и гигиены окружающей среды им. А.Н. Сысина РАМН), при участии Кучеренко А.И. (Госкомсанэпиднадзор России).

2. Утверждены и введены в действие Первым заместителем Председателя Госкомсанэпиднадзора России - заместителем Главного государственного врача Российской Федерации Семеновым С.В. 31 октября 1996 года.

3. Введены впервые.

СОДЕРЖАНИЕ

 

УТВЕРЖДАЮ

Первый заместитель Председателя
Госкомсанэпиднадзора России -
заместитель Главного государственного
санитарного врача Российской Федерации

С.В. Семенов

31 октября 1996 г.

Дата введения - с момента утверждения

Определение концентраций загрязняющих
веществ в атмосферном воздухе

Сборник методических указаний
МУК 4.1.591-96 - 4.1.645-96,
4.1.662-97, 4.1.666-97

Область применения

Методические указания по определению концентраций загрязняющих веществ в атмосферном воздухе предназначены для использования в системе госсанэпиднадзора России, при проведении аналитического контроля ведомственными лабораториями предприятий, а также научно-исследовательских институтов, работающих в области гигиены окружающей среды. Методические указания разработаны с целью обеспечения контроля соответствия уровня содержания загрязняющих веществ их гигиеническим нормам - предельно допустимым концентрациям (ПДК) и ориентировочно безопасным уровням воздействия (ОБУВ) - и являются обязательными при осуществлении аналитического контроля атмосферного воздуха.

Включенные в сборник методические указания разработаны в соответствии с требованиями ГОСТов 8.010-90 «Методики выполнения измерений», 17.2.4.02-81 «Охрана природы. Атмосфера. Общие требования к методам определения загрязняющих веществ», 17.0.0.02-79 «Охрана природы. Метрологическое обеспечение контроля загрязненности атмосферы, поверхностных вод и почвы. Основные положения», Р 1.5-92 (пункты 7.3). Все методики анализа метрологически аттестованы и обеспечивают определение веществ с нижним пределом обнаружения не выше 0,8 ПДКм.р. и суммарной погрешностью, не превышающей 25 %, с отбором пробы воздуха в течение 20 - 30 мин при определении максимальной разовой концентрации или круглосуточном отборе пробы при определении среднесуточной концентрации.

В сборнике представлены методики контроля атмосферного воздуха за содержанием нормируемых соединений. Методики основаны на использовании физико-химических методов анализа - фотометрии, потенциометрии, тонкослойной хроматографии с различного вида детектированием, ионной хроматографии, газожидкостной, высокоэффективной жидкостной хроматографии, хромато-масс-спектрометрии. Приведено 55 методик по измерению концентраций 140 загрязняющих веществ на уровне и ниже их гигиенических нормативов в атмосферном воздухе населенных мест. Контролируемые вещества относятся к различным классам соединений: неорганическим веществам, ароматическим углеводородам, спиртам, органическим кислотам, эфирам, альдегидам, азотсодержащим углеводородам, фенолам, меркаптанам.

Методические указания одобрены и рекомендованы Комиссией по санитарно-гигиеническому нормированию «Лабораторно-инструментальное дело и метрологическое обеспечение» Госкомсанэпиднадзора России и бюро секции по физико-химическим методам исследования объектов окружающей среды Проблемной комиссии «Научные основы экологии человека и гигиены окружающей среды».

УТВЕРЖДЕНО

Первым заместителем Председателя
Госкомсанэпиднадзора России -
заместителем Главного государственного
санитарного врача Российской Федерации

31 октября 1996 г.

МУК 4.1.639-96

Дата введения - с момента утверждения

4.1. МЕТОДЫ КОНТРОЛЯ. ХИМИЧЕСКИЕ ФАКТОРЫ

Методические указания по фотоколориметрическому определению фурфурола в атмосферном воздухе

Настоящие методические указания устанавливают фотоколориметрическую методику количественного химического анализа атмосферного воздуха для определения в нем содержания фурфурола в диапазоне концентраций 0,02 - 10,0 мг/м3.

С5Н4О2

Мол. масса 96,08

Фурфурол (2-фуральдегид) - бесцветная жидкость, плотность - 1,159 г/см3, температура кипения - 161,7 °C, температура плавления - 38,7 °C, растворяется в воде, спирте, хлороформе. В воздухе находится в виде паров.

Фурфурол вызывает судороги, обладает раздражающим действием на кожу, вызывает экземы. ПДК фурфурола в атмосферном воздухе населенных мест - 0,05 мг/м3.

1. Погрешность измерений

Методика обеспечивает выполнение измерений с погрешностью, не превышающей ±17 %, при доверительной вероятности 0,95.

2. Метод измерений

Измерения концентраций фурфурола выполняют фотоколориметрическим методом, определяя оптическую плотность продукта взаимодействия фурфурола с анилином в уксуснокислой среде при длине волны 496 - 540 нм (светофильтр зеленый). Концентрирование фурфурола из воздуха осуществляют в жидкую поглотительную среду.

Нижний предел измерения в анализируемом объеме пробы - 0,001 мг.

Определению не мешают: метанол, этанол, органические кислоты, фенолы, метилфурфурол.

3. Средства измерений, вспомогательные устройства, материалы, реактивы

При выполнении измерений применяют следующие средства измерений, вспомогательные устройства, реактивы и материалы.

3.1. Средства измерений

Колориметр фотоэлектрический КФК-2 или фотоэлектроколориметр любой другой модели с зеленым светофильтром

ГОСТ 15150-69

Барометр-анероид М-67

ТУ 2504-1797-75

Весы аналитические типа ВЛА-200

ГОСТ 24104-80Е

Меры массы

ГОСТ 7328-82Е

Посуда стеклянная лабораторная

ГОСТ 1770-74Е и 20292-74Е

Термометр лабораторный шкальный ТЛ-2, пределы 0 - 55 °C, цена деления 1 °C

ГОСТ 215-73Е

Электроаспиратор модель 822

ТУ 64-1-862-77

3.2. Вспомогательные устройства

Дистиллятор

ТУ 61-1-721-79

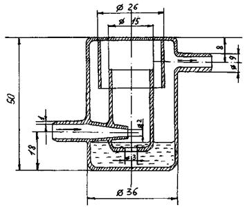
Поглотительный прибор «Шмель» ПВ-20 (см. рис.)

3.3. Материалы

Бумага фильтровальная лабораторная

ГОСТ 12026-76

Заглушки стеклянные

3.4. Реактивы

Анилин, ч.

ГОСТ 5819-78

Вода дистиллированная

ГОСТ 6709-72

Кислота уксусная, х. ч.

ГОСТ 61-75

Фурфурол, х. ч.

ГОСТ 10930-74

Этанол, х. ч.

ГОСТ 5963-67

4. Требования безопасности

4.1. При работе с реактивами соблюдают требования безопасности, установленные для работ с токсичными, едкими, легковоспламеняющимися веществами по ГОСТу 12.1.005-88.

4.2. При выполнении измерений с использованием фотоколориметра соблюдают правила электробезопасности в соответствии с ГОСТом 12.1.019-79 и инструкцией по эксплуатации прибора.

5. Требования к квалификации операторов

К выполнению измерений допускают лиц, имеющих квалификацию не ниже лаборанта-химика.

6. Условия измерений

При выполнении измерений соблюдают следующие условия:

• процессы приготовления растворов и подготовки проб к анализу проводят в нормальных условиях согласно ГОСТу 15150-69 при температуре воздуха (20 ± 10) °C, атмосферном давлении 630 - 800 мм рт. ст. и влажности воздуха не более 80 %.;

• выполнение измерений на фотоколориметре проводят в условиях, рекомендованных технической документацией к прибору.

7. Подготовка к выполнению измерений

Перед выполнением измерений проводят следующие работы: приготовление растворов, установление градуировочной характеристики, отбор проб воздуха.

7.1. Приготовление растворов

Анилин 10 % раствор. 10 г анилина растворяют в 112 см3 этанола, тщательно перемешивают. Срок хранения в холодильнике в склянках с притертой пробкой - 1 месяц.

Уксусная кислота и этанол в объемном соотношении 1:1. Срок хранения в холодильнике в склянках с притертой крышкой 1 месяц.

Исходный раствор фурфурола для градуировки (с = 10 мг/см3). 250 мг фурфурола вносят в колбу вместимостью 25 см3, доводят объем до метки дистиллированной водой, тщательно перемешивают. Срок хранения в холодильнике - не более 3-х суток.

Рабочий раствор фурфурола для градуировки (с = 0,01 мг/см3). 1,0 см3 исходного раствора помещают в мерную колбу вместимостью 1 дм3, доводят объем до метки дистиллированной водой и перемешивают. Срок хранения в холодильнике - не более 3-х суток.

Поглотительный раствор. Свежеперегнанная дистиллированная вода.

7.2. Установление градуировочной характеристики

Градуировочную характеристику, выражающую зависимость оптической плотности от массы фурфурола, устанавливают по 5-ти сериям растворов для градуировки. Каждая серия состоит из 5-ти растворов. В пробирки вместимостью 10 см3 вносят 1,5 - 1,0 - 0,5 - 0,25 - 0,1 см3 рабочего раствора фурфурола для градуировки, объем каждого раствора в пробирке доводят до 1,5 см3 дистиллированной водой. Масса фурфурола в градуировочных растворах составляет 0,015 - 0,010 - 0,005 - 0,0025 - 0,001 мг соответственно. Затем во все пробирки добавляют по 2,5 см3 смеси уксусной кислоты с этанолом 1:1 и по 0,5 см3 10 % раствора анилина. Растворы в пробирках перемешивают, выдерживают 30 мин в темном месте и замеряют оптические плотности на фотоэлектроколориметре с использованием зеленого светофильтра (длина волны 496 - 540 нм) по отношению к воде. Одновременно анализируют нулевой раствор, содержащий все реактивы, кроме фурфурола. Окраска фотометрируемых растворов устойчива в течении 60 мин. Действительные значения оптической плотности находят по разности оптических плотностей растворов для градуировки и нулевого.

Градуировочную характеристику устанавливают на средних значениях оптической плотности, вычисленных из результатов измерений 5-ти серий растворов для градуировки. Проверку градуировочной характеристики проводят 1 раз в квартал и при смене партии реактивов.

7.3. Отбор проб

Отбор проб воздуха проводят согласно ГОСТу 17.2.3.01-86.

Воздух со скоростью 15 - 20 дм3/мин аспирируют через 2 последовательно соединенных поглотительных прибора, содержащих по 10 см3 дистиллированной воды, в течение 20 мин. После окончания отбора пробы приборы закрывают стеклянными заглушками. Хранят пробу не более 3-х суток в холодильнике.

8. Выполнение измерений

После отбора пробы растворы из поглотительных приборов анализируют отдельно. Поглотительные растворы с пробой фильтруют. 1,5 см3 фильтрата переносят в пробирки для анализа в условиях, указанных в п. 7.2. Массу фурфурола (мг) в фотометрируемом объеме пробы определяют по градуировочной характеристике.

9. Вычисление результатов измерений

Концентрацию фурфурола в атмосферном воздухе (мг/м3) вычисляют по формуле:

 где

m1 и m2 - масса фурфурола в 1 и 2-м поглотительных приборах, найденная по градуировочной характеристике, мг;

V1 - общий объем пробы, см3;

V2 - объем пробы, взятый на анализ, см3;

V0 - объем отобранного воздуха, приведенный к нормальным условиям, м3;

 где

Р - атмосферное давление при отборе пробы воздуха, мм рт. ст.;

t - температура воздуха в местах отбора проб, °C;

Vt - объем пробы воздуха, м3.

Методические указания разработаны Е.А. Дорфман, В.Г. Костенко, Ю.А. Пушкиным, Е.Н. Коноваловой (ВНИИгидролиз, г. Санкт-Петербург).

Рис. 1. Стеклянный поглотительный прибор «Шмель»



© 2013 Ёшкин Кот :-)