Информационная система
«Ёшкин Кот»

XXXecatmenu

Технический комитет по стандартизации

«Трубопроводная арматура и сильфоны» (ТК 259)

Закрытое акционерное общество
«Н
аучно-производственная фирма
«Ц
ентральное конструкторское бюро арматуростроения»

СТАНДАРТ ЦКБА

СТ ЦКБА 101-2011

Арматура трубопроводная

УЗЕЛ СОЕДИНЕНИЯ ДИСКА
С ДИСКОДЕРЖАТЕЛЕМ
ПРЕДОХРАНИТЕЛЬНОГО КЛАПАНА

Конструкция, размеры и технические требования

НПФ «ЦКБА»
2011

Предисловие

1 РАЗРАБОТАН Закрытым акционерным обществом «Научно-производственная фирма «Центральное конструкторское бюро арматуростроения» (ЗАО «НПФ «ЦКБА»).

2 УТВЕРЖДЁН И ВВЕДЁН В ДЕЙСТВИЕ Приказом от 16.03.2011 г. № 22.

3 СОГЛАСОВАН: Техническим комитетом по стандартизации «Трубопроводная арматура и сильфоны» (ТК259).

4 РАЗРАБОТАН НА ОСНОВЕ ОСТ 26-07-2033-81 «Арматура трубопроводная. Клапаны предохранительные. Узел соединения диска с дискодержателем. Конструкция и размеры. Технические требования».

СОДЕРЖАНИЕ

СТ ЦКБА 101-2011

СТАНДАРТ ЦКБА

Арматура трубопроводная

УЗЕЛ СОЕДИНЕНИЯ ДИСКА
С ДИСКОДЕРЖАТЕЛЕМ
ПРЕДОХРАНИТЕЛЬНОГО КЛАПАНА

Конструкция, размеры и технические требования

Дата введения: 01.04.2011

1 Область применения

Настоящий стандарт устанавливает конструкции, геометрические размеры и технические требования узла соединения диска с дискодержателем в предохранительных клапанах PN до 16,0 МПа (160 кгс/см2) и DN от 15 до 200 включительно с уплотнительными материалами в затворе «фторопласт-металл» и «металл-металл» с подачей рабочей среды под золотник

Стандарт не распространяется на предохранительные клапаны с подачей рабочей среды на золотник.

2 Нормативные ссылки

В настоящем стандарте использованы ссылки на следующие нормативные документы:

ГОСТ 3722-81 Подшипники качения. Шарики. Технические условия

ГОСТ 18143-72 Проволока из высоколегированной коррозионностойкой и жаростойкой стали. Технические условия

ГОСТ 24643-81 Основные нормы взаимозаменяемости. Допуски формы и расположения поверхностей. Числовые значения

ТУ 37.006.080-83 Подшипники качения/ Шарики из нержавеющих сталей. Технические условия.

3 Термины и определения

3.1 В настоящем стандарте применены следующие термины с соответствующими определениями:

3.1.1 арматура трубопроводная: Техническое устройство, устанавливаемое на трубопроводах и ёмкостях, предназначенное для управления (перекрытия, регулирования, распределения, смешивания, фазоразделения) потоком рабочей среды (жидких, газообразных, газожидкостных, порошкообразных, суспензий и т.п.) путём изменения площади проходного сечения;

[ГОСТ Р 52720-2007, Статья 2.1]

3.1.2 рабочая среда: Среда, для управления которой предназначена арматура;

[ГОСТ Р 52720-2007, Статья 2.17]

3.1.3 предохранительный клапан: Клапан, предназначенный для автоматической защиты оборудования и трубопроводов от повышения давления свыше заранее установленной величины посредством сброса избытка рабочей среды и обеспечивающий прекращение сброса при давлении закрытия и восстановления рабочего давления;

[ГОСТ Р 52720-2007, Статья 5.33]

3.1.4 номинальное давление: Наибольшее избыточное рабочее давление при температуре рабочей среды 293 К (20 °С), при котором обеспечивается заданный срок службы (ресурс) корпусных деталей арматуры, имеющих определённые размеры, обоснованные расчётом на прочность при выбранных материалах и характеристиках прочности их при температуре 20 °С;

[ГОСТ Р 52720-2007, Статья 6.1]

3.1.5 номинальный диаметр: Параметр, применяемый для трубопроводных систем в качестве характеристики присоединяемых частей арматуры.

[ГОСТ Р 52720-2007, Статья 6.2]

4 Конструкция и основные размеры

4.1 Конструкция узла соединения

4.1.1 Конструкция узла соединения диска с дискодержателем должна быть следующих типов:

1) Тип I - с кольцом (см. рисунок 1) для DN от 25 до 200 на PN до 16 МПа (160 кгс/см2), с зазором

1 - диск; 2 - дискодержатель, 3 - кольцо; 4 - шарик

Рисунок 1 - Конструкция узла соединения диска с дискодержателем, тип I

2) Тип II - с резьбой (см. рисунок 2) для DN 15 и 25 на PN до 1,6 МПа (16 кгс/см2), с зазором

1 - диск; 2 - дискодержатель; 3 - шарик; 4 - шток

Рисунок 2 - Конструкция узла соединения диска с дискодержателем, тип II

5 Конструкция и размеры соединительной части диска

5.1 Конструкция и размеры соединительной части диска узла типа I приведены на рисунке 3 и в таблице 1.

Рисунок 3 - Конструкция соединительной части диска, тип I

Таблица 1 - Размеры соединительной части диска

Размеры в мм

Номинальный диаметр DN для номинального давления PN, МПа (кгс/см2)

D (пред. откл. по М2)

D1

d

R

L

L1

H*

с

До 4,0 (40)

Св. 4,0 (40) до 10,0 (100,0) вкл.

Св. 10,0 (100,0) до 16,0 (160,0)

25; 32; 40

25; 32

25

10

8

8

1

3

7

14

0,5

40; 50; 80

40; 50

32; 40

12

10

10

1

3

8

18

0,5

80; 100; 150

-

-

22

20

18

1,5

5

11

24

1

-

80; 100

50; 80

100; 150; 200

150; 200

-

28

24

22

2

7

15

30

1,5

* Размер рекомендуемый. Допускается изменение в меньшую сторону в соответствии с возможностями конкретной конструкции.

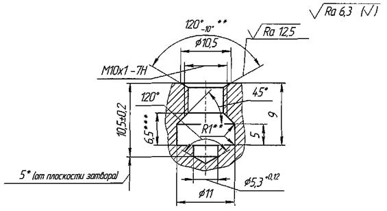
5.2 Конструкция и размеры соединительной части диска узла типа II приведены на рисунке 4.

* Размер рекомендуемый. Допускается изменение в меньшую сторону в соответствии с возможностями конкретной конструкции.

** Размер обеспеч. инстр.

*** Размер для справок.

Рисунок 4 - Конструкция соединительной части диска, тип II

6 Конструкция и размеры соединительной части дискодержателя

6.1 Конструкция и размеры соединительной части дискодержателя узла типа I приведены на рисунке 5 и в таблице 2.

_____________

* Размер обеспеч. инстр.

Рисунок 5 - Конструкция соединительной части дискодержателя, тип I

Таблица 2 - Размеры соединительной части дискодержателя

Размеры в мм

Номинальный диаметр DN для номинального давления PN, МПа (кгс/см2)

d (пред. откл. по Н12)

d1

d2

d3

l

l1

r

До 4,0 (40)

Св. 4,0(40) до 10,0 (100,0) вкл.

Св. 10,0(100,0) до 16,0 (160,0)

25, 32; 40

25; 32

25

11

12

12

8

7

3

1

40, 50; 80

40; 50

32; 40

13

14

14

10

10

3

1

80; 100; 150

-

-

23

24

24

18

10

4

1,5

-

80; 100

50; 80

23

24

24

18

13

4

1,5

100; 150; 200

150, 200

-

29

30

30

24

19

5

2

6.2 Конструкция и размеры соединительного гнезда дискодержателя и входящего в него штока узла типа II приведены на рисунках 6 и 7.

Рисунок 6 - Конструкция соединительного гнезда дискодержателя, тип II

Рисунок 7 - Конструкция штока, тип II

7 Сортамент применяемых шариков

7.1 Сортамент шариков - по ГОСТ 3722 и ТУ 37.006.080-83.

Размеры шариков в зависимости от номинального диаметра DN и номинального давления PN приведены в таблице 3.

Таблица 3 - Размеры шариков в зависимости от DN и PN

Номинальный диаметр DN для номинального давления PN, МПа (кгс/см2)

Диаметр шарика Dш, мм

До 4,0 (40)

Св. 4,0 (40) до 10,0 (100,0) вкл.

Св. 10,0(100,0) до 16,0 (160,0)

15; 25; 32; 40

25; 32

25

5

40; 50; 80

40; 50

32; 40

7,938

80; 100; 150

-

-

10

-

80; 100

50; 80

12,7

100; 150; 200

150; 200

-

17

7.2 Условное обозначение шариков, применяемых в виде отдельных деталей, должно состоять из номинального диаметра в миллиметрах, степени точности и обозначения ГОСТ 3722.

8 Конструкция и размеры соединительного кольца

8.1 Конструкция и размеры соединительного кольца узла типа I приведены на рисунке 8 и в таблице 4.

Рисунок 8 - Конструкция соединительного кольца, тип

Таблица 4 - Размеры соединительного кольца

Номинальный диаметр DN для номинального давление PN, МПа (кгс/см2)

D, мм

d, мм

До 4,0 (40)

Св. 4,0 (40) до 10,0 (100,0) вкл.

Св. 10,0 (100,0) до 16,0 (160,0)

25; 32; 40

25; 32

25

9,1

1,2

40; 50; 80

40; 50

32; 40

11,1

80; 100; 150

80; 100

50; 80

20,5

1,5

100; 150; 200

150; 200

-

25,0

2,5

9 Технические требования

9.1 Узлы соединения диска с дискодержателем должны изготавливаться в соответствии с требованиями настоящего стандарта по чертежам, утверждённым в установленном порядке.

9.2 Материалы узлов соединения диска с дискодержателем и антикоррозиононные покрытия - в соответствии с указаниями конструкторской документации.

9.3 Соединительные кольца должны изготавливаться из проволоки H-II по ГОСТ 18143

Применение соединительного проволочного кольца для типа I (см. рисунок 1) является рекомендуемым.

9.4 Технические требования к шарикам по ГОСТ 3722 или ТУ 37.006.080-83 для степени точности 60.

9.5 Неуказанные предельные отклонения размеров: отверстий - Н14, валов - h14, остальных -

9.6 Неуказанные предельные отклонения от соосности по II степени точности по ГОСТ 24643.

9.7 Допускаемая неплоскостность колец - не более 0,2 мм. Проверка проводится свободным прохождением кольца через щель - калибр.

9.8 Вмятины, рванины, выкрашивания и заусенцы на резьбовой поверхностях, препятствующие свинчиванию их с проходными калибрами, не допускаются

9.9 Конструкция узла соединения диска с дискодержателем должна обеспечивать возможность захвата диска для его извлечения из дискодержателя без повреждения их поверхностей.

Генеральный директор ЗАО «НПФ «ЦКБА»

Дыдычкин В.П.

Заместитель генерального директора -

главный конструктор

Ширяев В.В.

Первый заместитель генерального директора - директор по научной работе

Тарасьев Ю.И.

Заместитель директора -

начальник технического отдела

Дунаевский С.Н.

Начальник отдела № 130

Лавреженкова В.П.

Исполнитель:

Инженер технического отдела

Янчар Г.М.

Согласовано:

Председатель ТК 259

Власов М.И.

Лист регистрации изменений

Изм.

Номера листов (страниц)

Всего листов (страниц) в докум.

№ документа

Входящий № сопроводительного документа и дата

Подп.

Дата

измененных

замененных

новых

аннулированных

 

 

 

 

 

 

 

 

 

 

 

 

 

 

 

 

 

 

 

 

 

 

 

 

 

 

 

 

 

 

 

 

 

 

 

 

 

 

 

 

 

 

 

 

 

 

 

 

 

 

 

 

 

 

 

 

 

 

 

 

 

 

 

 

 

 

 

 

 

 

 

 

 

 

 

 

 

 

 

 

 

 

 

 

 

 

 

 

 

 

 

 

 

 

 

 

 

 

 

 

 



© 2013 Ёшкин Кот :-)