Информационная система
«Ёшкин Кот»

XXXecatmenu

Технический комитет по стандартизации
«Трубопроводная арматура и сильфоны» (ТК 259)

Закрытое акционерное общество
«Научно-производственная фирма
«Центральное конструкторское бюро арматуростроения»

СТАНДАРТ ЦКБА

СТ ЦКБА 102-2011

Арматура трубопроводная

УПЛОТНЕНИЯ РЕЗИНОМЕТАЛЛИЧЕСКИЕ
ДЛЯ ЗАТВОРОВ

Конструкция, размеры, технология
изготовления

Санкт-Петербург
2011

Предисловие

1 РАЗРАБОТАН Закрытым акционерным обществом «Научно-производственная фирма «Центральное конструкторское бюро арматуростроения» (ЗАО «НПФ «ЦКБА»)

2 УТВЕРЖДЕН И ВВЕДЕН В ДЕЙСТВИЕ Приказом от «13» 07.2011 г. № 44

3 СОГЛАСОВАН Техническим комитетом по стандартизации «Трубопроводная арматура и сильфоны» (ТК 259)

4 СТАНДАРТ РАЗРАБОТАН НА ОСНОВЕ:

- РТМ 26-07-171-74 «Технология изготовления резинометаллических золотников для изделий трубопроводной арматуры»;

- РТМ 26-07-173-74 «Арматура трубопроводная. Уплотнения резинометаллические для затворов трубопроводной арматуры»

СОДЕРЖАНИЕ

СТАНДАРТ ЦКБА

Арматура трубопроводная

УПЛОТНЕНИЯ РЕЗИНОМЕТАЛЛИЧЕСКИЕ
ДЛЯ ЗАТВОРОВ

Конструкция, размеры, технология изготовления

Дата введения 01.01.2012

1 Область применения

Настоящий стандарт распространяется на уплотнения резинометаллические для затворов, предназначенных для работы на жидких и газообразных средах номинальным давлением PN до 7,5 МПа (75 кгс/см2) для трубопроводной арматуры и устанавливает конструкцию, размеры и технологию изготовления резинометаллических золотников клапанов.

2 Нормативные ссылки

В настоящем стандарте использованы ссылки на следующие стандарты и технические условия:

ГОСТ 209-75 Резина и клей. Методы определения прочности связи с металлом при отрыве;

ГОСТ 2603-79 Реактивы. Ацетон. Технические условия;

ТУ 6-14-95-85 Клей лейконат

ТУ 38.401-67-108-92 Бензин-растворитель для резиновой промышленности. Нефрас С2 80/120

ТУ 38.105617-85 Клей 9М-35ф

ТУ 405 820-2003 Клей ФК-14

ТУ 2500-376-00152106-94 Изделия резиновые технические

ТУ 2512-046-00152081-2003 Смеси резиновые не вулканизованные товарные. Технические условия

3 Общие требования

3.1 Выбор материалов для изготовления уплотнений (металл, резина, клей) должен производиться с учётом рабочих сред и их параметров.

3.2 В технически обоснованных случаях допускается применять уплотнения, конструкция и размеры которых отличаются от установленных настоящим стандартом.

4 Типы уплотнений

4.1 Резинометаллические уплотнения должны состоять из металлического седла и резинометаллического золотника.

4.2 По способу изготовления резинометаллического золотника уплотнения делятся на два типа:

- тип I - уплотнения с резинометаллическим золотником, изготовленным методом вулканизации (рисунок 1);

- тип II - уплотнения с золотником, изготовленным механическим креплением резины к металлу завальцовкой (рисунок 2).

4.3 Уплотнения типа II должны применяться при давлении рабочей среды не более 2,5 МПа (25 кгс/см2) в тех случаях, когда применение уплотнений типа I невозможно из-за нестойкости клеевой плёнки в рабочей среде.

5 Конструкция и основные размеры

5.1 Конструкция и размеры уплотнений выбираются в соответствии с таблицей 1.

5.2 Подготовка поверхности золотника для крепления уплотнения типа II должна проводиться в соответствии с рисунком 3.

Таблица 1 - Конструкция и размеры уплотнений

Уплотняемый диаметр, мм

Тип уплотнения

Конструкция и размеры

рисунок

таблица

от 0,5 до 6,0 включительно

I

1, 4, 5, 6

2

II

2, 3, 4, 5, 6

от 2,5 до 6,0 включительно

I

7

3

от 6,0 до 200 включительно

I

8, 9, 12, 13

4

II

3, 10, 11, 12, 13

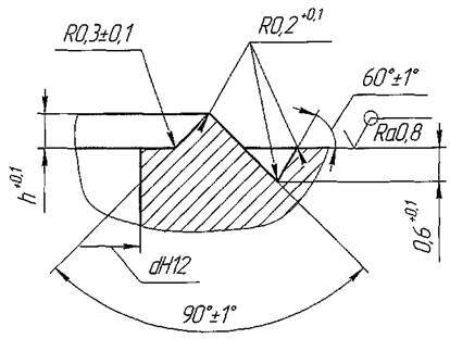
5.3 Конструкция сёдел по рисункам 5, 6, 12, 13 должна применяться в случае, если уплотнение работает в контакте со средой, вызывающей значительное набухание резины. Глубина канавки резинометаллического золотника при этом может быть уменьшена до 1,5 ± 0,3 мм.

5.4 При направлении рабочего давления под золотник применяется конструкция сёдел в соответствии с рисунками 8 и 10. При направлении рабочего давления на золотник применять конструкцию сёдел в соответствии с рисунками 9 и 11.

5.5 Увеличение высоты седла h (таблица 4) на рисунках с 8 по 11 до 1 мм допускается, если при воздействии рабочей среды или после прекращения контакта с рабочей средой объём резины уменьшается по сравнению с первоначальным.

5.6 Конструкция сёдел на рисунке 4 увеличивает максимальное количество циклов «открыто-закрыто» за счёт конусной конфигурации уплотнительного элемента, обеспечивающего одинаковую деформацию резинового уплотнения внутри и снаружи седла.

Рисунок 1 - Тип уплотнения I размером уплотнения от 0,5 мм до 6,0 мм включительно

Рисунок 2 - Тип уплотнения II размером уплотнения от 0,5 мм до 6,0 мм включительно

_____________

* Размеры для справок

Рисунок 3 - Обработка поверхности для крепления уплотнения типа II размером уплотнения от 0,5 мм до 200,0 мм включительно

Рисунок 4 - Конструкция седла для уплотнений тип I, II размером уплотнения от 0,5 мм до 6,0 мм включительно

Рисунок 5 - Конструкция сёдел для уплотняемого диаметра от 0,5 мм до 6,0 мм включительно

Рисунок 6 - Конструкция сёдел для уплотняемого диаметра от 0,5 мм до 6,0 мм включительно

Таблица 2 - Размеры уплотнений диаметром от 0,5 мм до 6,0 мм включительно

d, мм

dc, мм

d1, мм

для сёдел на рисунках 1 и 2

для седла на рисунке 4

0,5

0,9

1,1

5,0

0,6

1,0

1,2

0,7

1,1

1,3

0,8

1,2

1,4

0,9

1,3

1,5

1,0

1,4

1,6

1,1

1,5

1,7

1,2

1,6

1,8

1,3

1,7

1,9

5,5

1,4

1,8

2,0

1,5

1,9

2,1

1,6

2,0

2,2

1,7

2,1

2,3

1,8

2,2

2,4

6,0

1,9

2,3

2,5

2,0

2,4

2,6

2,2

2,6

2,8

6,5

2,4

2,8

3,0

7,0

2,6

3,0

3,2

2,8

3,2

3,4

7,5

3,0

3,4

3,6

3,5

3,9

4,1

8,0

4,0

4,4

4,6

8,5

4,5

4,9

5,1

9,0

5,0

5,4

5,6

9,5

5,5

5,9

6,1

10,0

6,0

6,4

6,6

10,5

_____________

* Размеры определяются конструктивно

** Размер для справок

Рисунок 7 - Конструкция и размеры седла для уплотняемого диаметра от 2,5 мм до 6,0 мм включительно

Таблица 3 - Размеры золотника для уплотняемого диаметра от 2,5 мм до 6,0 мм включительно

d, мм

d2, мм не менее

2,5

5,0

3,0

6,0

3,5

6,5

4,0

7,0

4,5

7,5

5,0

8,0

5,5

8,5

6,0

9,0

_____________

* Размер для справок

Рисунок 8 - Конструкция седел для уплотняемого диаметра свыше 6,0 мм при подаче давления под золотник. Тип уплотнения I

_____________

* Размер для справок

Рисунок 9 - Конструкция седла для уплотняемого диаметра свыше 6,0 мм при подаче давления на золотник Тип уплотнения I

_____________

* Размер для справок

Рисунок 10 - Конструкция седел для уплотняемого диаметра свыше 6,0 мм при подаче давления под золотник. Тип уплотнения II

_____________

* Размер для справок

Рисунок 11 - Конструкция седла для уплотняемого диаметра свыше 6,0 мм при подаче давления на золотник. Тип уплотнения II

Рисунок 12 - Конструкция сёдел для уплотнений диаметром от 6,0 мм до 200,0 мм включительно, работающих в контакте со средой

Рисунок 13 - Конструкция сёдел для уплотнений диаметром от 6,0 мм до 200, 0 мм включительно, работающих в контакте со средой

Таблица 4 - Размеры уплотнений диметром от 6,0 мм до 200 мм включительно

d, мм

h = 0,6 (рисунок 8, 10)

h = 1,0 (рисунок 8, 10)

h = 0,6 (рисунок 9, 11)

d1, мм

dc, мм

d2, мм

d1, мм

dc, мм

d2, мм

d1, мм

dc, мм

d2, мм

6,0

3,0

7,2

11,0

4,0

8,0

12,0

7,0

11,0

15,0

8,0

5,0

9,2

13,0

6,0

10,0

14,0

9,0

13,0

17,0

10,0

7,0

11,2

15,0

8,0

12,0

16,0

11,0

15,0

19,0

12,0

9,0

13,2

17,0

10,0

14,0

18,0

13,0

17,0

21,0

15,0

12,0

16,2

20,0

13,0

17,0

21,0

16,0

20,0

24,0

16,0

13,0

17,2

21,0

14,0

18,0

22,0

17,0

21,0

25,0

18,0

15,0

19,2

23,0

16,0

20,0

24,0

19,0

23,0

27,0

20,0

17,0

21,2

25,0

18,0

22,0

26,0

21,0

25,0

29,0

22,0

19,0

23,2

27,0

20,0

24,0

28,0

23,0

27,0

31,0

25,0

22,0

26,2

30,0

23,0

27,0

31,0

26,0

30,0

34,0

27,9

24,0

28,2

32,0

25,0

29,0

33,0

28,0

32,0

36,0

30,0

27,0

31,2

35,0

28,0

32,0

36,0

31,0

35,0

39,0

32,0

29,0

33,2

37,0

30,0

34,0

38,0

33,0

37,0

41,0

34,0

31,0

35,2

39,0

32,0

36,0

40,0

35,0

39,0

43,0

36,0

33,0

37,2

41,0

34,0

38,0

42,0

37,0

41,0

45,0

38,0

35,0

39,2

43,0

36,0

40,0

44,0

39,0

43,0

47,0

40,0

37,0

41,0

45,0

38,0

42,0

46,0

41,0

45,0

49,0

45,0

42,0

46,2

50,0

43,0

47,0

51,0

46,0

50,0

54,0

50,0

47,0

51,2

55,0

48,0

52,0

56,0

51,0

55,0

59,0

52,0

49,0

53,2

57,0

50,0

54,0

58,0

53,0

57,0

61,0

55,0

52,0

56,2

60,0

53,0

57,0

61,0

56,0

60,0

64,0

58,0

55,0

59,2

63,0

56,0

60,0

64,0

59,0

63,0

67,0

60,0

57,0

61,2

65,0

58,0

62,0

66,0

61,0

65,0

69,0

65,0

62,0

66,2

70,0

63,0

67,0

71,0

66,0

70,0

74,0

70,0

67,0

71,2

75,0

68,0

72,0

76,0

71,0

75,0

79,0

80,0

77,0

81,2

85,0

78,0

82,0

86,0

81,0

85,0

89,0

85,0

82,0

86,2

90,0

83,0

87,0

91,0

86,0

90,0

94,0

90,0

87,0

91,2

95,0

88,0

92,0

96,0

91,0

95,0

99,0

100,0

97,0

101,2

105,0

98,0

102,0

106,0

101,0

105,0

109,0

125,0

122,0

126,2

130,0

123,0

127,0

131,0

126,0

130,0

134,0

150,0

147,0

151,2

155,0

148,0

152,0

156,0

151,0

155,0

159,0

200,0

197,0

201,2

205,0

198,0

202,0

206,0

201,0

205,0

209,0

6 Материалы уплотнений

6.1 Материалы для изготовления резинометаллических золотников и их назначение должны соответствовать таблице 5.

Таблица 5 - Материалы резинометаллических золотников

Наименование материала

№ документа

Назначение материала

Сырая резина на основе нитрильного, стирольного, натурального, этилен-пропиленового каучука (СКЭП) и фторкаучука (СКФ).

ТУ 2512-046-00152081-2003

и др., согласно указаниям чертежа

Для обрезинивания металлических заготовок золотников

Клей 9М-35ф

Клей ФК-14

ТУ 38.105617-85

ТУ 405820-2003

Для обеспечения прочного крепления резины на основе фторкаучука к металлу

Клей «лейконат»

ТУ 6-14-95-85

Для обеспечения прочного крепления к металлу резины на основе нитрильного, стирольного, этиленпропиленового каучука

Нефрас С2 80/120

ТУ 38.401-67-108-92

Для промывки поверхностей канавок заготовок

Ацетон

ГОСТ 2603

Для промывки рабочих поверхностей пресс-форм

6.2 Резиновые смеси могут быть использованы в течение гарантийного срока, установленного предприятием-изготовителем для каждой марки резины и согласно указаниям технических условий на резиновую смесь.

6.3 Перед использованием резины следует производить испытания согласно инструкции по входному контролю.

7 Технические требования

7.1 Металлические заготовки золотников должны соответствовать требованиям чертежей.

7.2 Глубина канавки под резину в чертежах заготовки золотника должна быть на величину от 2,8 до 3,0 мм больше заданной чертежом детали.

7.3 Острые кромки канавки заготовки и внутренние углы должны быть притуплены радиусом от 0,2 до 0,5 мм.

7.4 Поверхность канавки заготовки должна быть отпескоструена с целью получения прочного крепления резины к металлу.

Обработка должна быть произведена не ранее чем за 6 часов до обрезинивания золотников.

Допускается отпескоструенные заготовки хранить в течение 24 часов в бензине-растворителе «Нефрас С2 80/120»

7.5 На металлической поверхности, подлежащей обрезиниванию, не допускаются царапины, забоины глубиной более 0,5 мм.

8 Оборудование

8.1 Для обрезинивания металлических заготовок необходимо следующее оборудование:

- гидравлический пресс с обогреваемыми плитами, обеспечивающий необходимое прессовое усилие;

- вальцы, освежающие резиновую смесь, на которых также можно получить пластины (листы) необходимых размеров;

- пресс-формы, которые должны быть изготовлены из стали с твёрдостью не менее HRC 35. Шероховатость формующих поверхностей пресс-форм должна быть не ниже 9 кл. Все поверхности, соприкасающиеся с резиной, должны быть отхромированы с толщиной слоя хрома от 15 до 30 мкм и отполированы.

Пресс-формы, изготовленные из нержавеющей стали, допускается не хромировать.

9 Технология обрезинивания золотников

9.1 Подготовка металлических заготовок под обрезинивание.

9.1.1 Поверхность канавок следует промывать бензином нефрас С2 80/120 и просушить до удаления бензина.

9.1.2 Для обеспечения прочного крепления к металлу резин на основе нитрильного, стирольного, натурального этилен-пропиленового каучука на поверхность канавок заготовок следует нанести два слоя клея «Лейконат». Первый слой клея следует просушить в течение от 5 до 10 минут при температуре от 140 °С до 145 °С, второй слой - при комнатной температуре в течение от 30 до 40 минут.

При применении клея «Лейконат» относительная влажность воздуха в рабочем помещении, где производится нанесение клея на металл и сушка пленки клея, должна быть не более 70 %.

9.1.3 Для обеспечения прочного крепления к металлу резин на основе фтор-каучуков на поверхность канавок заготовок необходимо нанести два слоя клея 9М-35ф, либо один слой клея ФК-14, каждый слой просушить в течение 60 минут при комнатной температуре.

9.1.4 Обрезинивание заготовок, промазанных клеем, следует производить не позднее чем через 1 час 20 минут с момента нанесения последнего слоя клея.

Допускается хранить заготовки, промазанные клеем, не более 8 часов в эксикаторах или под стеклянными колпаками либо плотно завёрнутыми в целлофан или полиэтиленовую плёнку.

Заготовки, промазанные клеем ФК-14, допускается хранить в течение одних суток в условиях исключающих попадания на клеевую плёнку пыли или влаги.

9.2 Изготовление резиновых заготовок.

9.2.1 Навеску резины рассчитать по формуле:

P = к ∙ j ∙ V                                                             (1),

где Р - масса навески, г;

j - плотность резины, г/см3;

V - объём канавки готовой детали, см3;

к - коэффициент, учитывающий массу выпрессовки.

Масса выпрессовки зависит от конструкции пресс-формы и составляет от 3 % до 10 % от массы навески.

9.2.2 Резиновые заготовки следует изготавливать в виде колец, вырубленных из листов свежевальцованной резиновой смеси сырой резины, и колец, нарезанных в виде отрезков из шприцованного шнура.

Размеры заготовки должны обеспечивать свободный её заход в канавку золотника. Заготовки контролировать по массе, взвешивая на технических весах с точностью до 1 % массы заготовки. Разрешается добавлять отрезки резиновой смеси до необходимой массы.

Допускается хранить заготовки не более трех суток (для резин на основе фторкаучука не более 7 часов) в условиях, гарантирующих заготовки от загрязнения.

9.3 Подготовка пресс-форм

9.3.1 Рабочие поверхности пресс-формы следует тщательно очистить от загрязнения и протереть ацетоном или бензином нефрас С2 80/120.

9.3.2 Перед прессованием пресс-форму нагреть до температуры вулканизации.

9.4 Вулканизация

9.4.1 Заложить резиновую заготовку в канавку золотника.

Резина должна быть равномерно распределена по канавке золотника.

9.4.2 Собрать пресс-форму с заготовкой золотника.

9.4.3 Произвести вулканизацию резинометаллической заготовки при удельном давлении прессования, предусмотренном для применяемой резины.

Перед началом вулканизации необходимо произвести одну - две подпрессовки.

9.4.4 Давление жидкости в цилиндре пресса (Р манометрическое), необходимое для обеспечения требуемого удельного давления, определяется по формуле:

                                                             (2)

где Рман - давление жидкости в цилиндре пресса, МПа (кгс/см2);

Руд - удельное давление, МПа (кгс/см2);

Snp - площадь пуансона пресс-формы, см2;

Sпл - площадь плунжера пресса, см2.

9.4.5 Температуру и продолжительность вулканизации следует устанавливать в соответствии с режимом вулканизации применяемой резины, приведённым в действующей технической документации.

9.4.6 По окончании вулканизации разобрать пресс-форму, освободить резинометаллический золотник и обрезать облой.

10 Методы контроля

10.1 Все резинометаллические золотники следует подвергать сплошному визуальному контролю согласно ТУ 2500-376-00152106-94.

10.2 Соответствие детали чертежу по форме и размерам следует проверять с помощью измерительных инструментов, обеспечивающих требуемую точность измерения.

10.3 Определения прочности связи резины с металлом следует производить на стандартных образцах - «грибках» по ГОСТ 209.

Необходимость проверки прочности связи резины с металлом указывается в технических требованиях деталей.

11 Требования безопасности

11.1 Помещение, предназначенное для проведения работ по изготовлению резинометаллических золотников, должно быть оборудовано в соответствии с утвержденными нормами.

При проведении работ в помещении не допускается наличие открытого огня.

11.2 Все работы следует производить в помещении, оборудованном приточно-вытяжной вентиляцией, не допускающей концентрации вредных примесей в воздухе свыше санитарных норм в соответствии с требованиями сантехнадзора.

11.3 К работе допускается обслуживающий персонал, прошедший инструктаж по технике безопасности при работе на конкретном виде оборудования и с органическими растворителями и правилам противопожарной безопасности.

На каждом рабочем месте должна быть инструкция по технике безопасности и журнал учёта проведения инструктажа.

Генеральный директор ЗАО «НПФ «ЦКБА»

В.П. Дыдычкин

Заместитель генерального директора - главный конструктор

В.В. Ширяев

Заместитель генерального директора - директор по научной работе

Ю.И. Тарасьев

Заместитель директора - начальник технического отдела

С.Н. Дунаевский

Заместитель директора по проектированию

В.А. Горелов

Начальник научно-исследовательского отдела уплотнений, деталей и комплектующих узлов

А.Ю. Калинин

Исполнитель:

Инженер технического отдела

Е.А. Смирнова

СОГЛАСОВАНО:

Председатель ТК 259

М.И. Власов

ЛИСТ РЕГИСТРАЦИИ ИЗМЕНЕНИЙ

Изм.

Номера листов (страниц)

Всего листов (страниц) в документе

№ документа

Вход. № сопроводит документа и дата

Подпись

Дата

измененных

замененных

новых

аннулированных

 

 

 

 

 

 

 

 

 

 

 

 

 

 

 

 

 

 

 

 

 

 

 

 

 

 

 

 

 

 

 

 

 

 

 

 

 

 

 

 

 

 

 

 

 

 

 

 

 

 

 

 

 

 

 

 

 

 

 

 

 

 

 

 

 

 

 

 

 

 

 

 

 

 

 

 

 

 

 

 

 

 

 

 

 

 

 

 

 

 

 

 

 

 

 

 

 

 

 

 

 

 

 

 

 

 

 

 

 

 

 

 

 

 

 

 

 

 

 

 

 



© 2013 Ёшкин Кот :-)