Информационная система
«Ёшкин Кот»

XXXecatmenu

Некоммерческое Партнерство «Инновации в электроэнергетике»

СТАНДАРТ
ОРГАНИЗАЦИИ
НП «ИНВЭЛ»

СТО
70238424.27.100.074-2009

НАСОСЫ ЦЕНТРОБЕЖНЫЕ ДВУХСТОРОННЕГО ВХОДА ТИПА Д
Групповые технические условия на капитальный ремонт
Нормы и требования

Дата введения - 2010-01-11

Москва 2009

Предисловие

Цели и принципы стандартизации в Российской Федерации установлены Федеральным законом от 27 декабря 2002 г. № 184-ФЗ «О техническом регулировании», а правила разработки и применения стандартов организации - ГОСТ Р 1.4-2004 «Стандартизация в Российской Федерации. Стандарты организаций. Общие положения».

Сведения о стандарте

1 РАЗРАБОТАН Закрытым акционерным обществом «Центральное конструкторское бюро по модернизации и ремонту энергетического оборудования электростанций» (ЗАО «ЦКБ Энергоремонт»)

2 ВНЕСЕН Комиссией по техническому регулированию НП «ИНВЭЛ»

3 УТВЕРЖДЕН И ВВЕДЕН В ДЕЙСТВИЕ Приказом НП «ИНВЭЛ» от 17.12.2009 № 91

4 ВВЕДЕН ВПЕРВЫЕ

СОДЕРЖАНИЕ

1 Область применения. 2

2 Нормативные ссылки. 2

3 Термины, определения, обозначения и сокращения. 5

4 Общие положения. 6

5 Общие технические сведения. 7

6 Общие технические требования. 9

6.1 Требования к материалам.. 9

6.2 Требования к сварным соединениям.. 9

6.3 Требования к резьбовым соединениям.. 10

6.4 Требования к шпоночным соединениям.. 11

6.5 Требования к подшипникам качения. 11

6.6 Требования к поверхностям под посадку. 11

6.7 Требования к метрологическому обеспечению.. 12

6.8 Требования к разборке и сборке составных частей. 12

7 Требования к дефектации и ремонту составных частей. 13

7.1 Корпус в сборе. 13

7.2 Узлы опор. 34

7.3 Ротор. 51

7.4 Втулочно-пальцевая муфта. 84

8 Требования к сборке и к отремонтированному насосу. 106

9 Испытания и показатели качества отремонтированных насосов. 110

10 Требования к обеспечению безопасности. 112

11 Оценка соответствия. 113

Приложение А (справочное) Технические характеристики насосов. 113

Приложение Б (обязательное) Разрешенные замены материалов. 114

Приложение В (рекомендуемое) Перечень средств измерительной техники, инструмента и приборов, необходимых для контроля насосов. 123

Приложение Г (обязательное) Номенклатура деталей, заменяемых независимо от их состояния. 124

Библиография. 128

СТАНДАРТ ОРГАНИЗАЦИИ НП «ИНВЭЛ»

Насосы центробежные двухстороннего входа типа Д
Групповые технические условия на капитальный ремонт
Нормы и требования

Дата введения - 2010-01-11

1 Область применения

Настоящий стандарт организации:

- является нормативным документом, устанавливающим технические нормы и требования к ремонту насосов центробежных двухстороннего входа типа Д (далее - насосы) направленные на обеспечение промышленной безопасности тепловых электрических станций, повышение надежности эксплуатации и качества ремонта;

- устанавливает технические требования, объем и методы дефектации, способы ремонта, методы контроля и испытаний к составным частям и насосам в целом в процессе ремонта и после ремонта;

- устанавливает объемы, методы испытаний и сравнения показателей качества отремонтированных насосов с их нормативными и доремонтными значениями;

- распространяется на капитальный ремонт насосов Д200-36, Д200-95, Д320-50, Д500-65, Д320-70, Д630-90, Д800-57, Д1250-65, Д1250-125, Д1600-90, Д2000-21, Д2000-100, Д2500-62, Д3200-33, Д3200-75, Д4000-22, Д5000-32, Д6300-27, Д12500-24;

- предназначен для применения генерирующими компаниями, эксплуатирующими организациями на тепловых электростанциях, ремонтными и иными организациями, осуществляющими ремонтное обслуживание оборудования электростанций.

2 Нормативные ссылки

В настоящем стандарте использованы нормативные ссылки на следующие стандарты и другие нормативные документы:

Федеральный закон РФ от 27.12.2002 № 184 ФЗ «О техническом регулировании»

ГОСТ 10-88 Нутромеры микрометрические. Технические условия

ГОСТ 12.1.003-83 Система стандартов безопасности труда. Шум. Общие требования безопасности

ГОСТ 12.1.005-88 Система стандартов безопасности труда. Общие санитарно-гигиенические требования к воздуху рабочей зоны

ГОСТ 12.1.012-2004 Система стандартов безопасности труда. Вибрационная безопасность. Общие требования

ГОСТ 12.1.030-81 Система стандартов безопасности труда. Электробезопасность. Защитное заземление, зануление

ГОСТ 12.4.009-83 Система стандартов безопасности труда. Пожарная техника для защиты объектов. Основные виды. Размещение и обслуживание

ГОСТ 17.2.3.02-78 Охрана природы. Атмосфера. Правила установления допустимых выбросов вредных веществ промышленными предприятиями

ГОСТ 27.002-89 Надежность в технике. Основные положения. Термины и определения

ГОСТ 32-74 Масла турбинные. Технические условия

ГОСТ 166-89 Штангенциркули. Технические условия

ГОСТ 380-2005 Сталь углеродистая обыкновенного качества. Марки

ГОСТ 481-80 Паронит и прокладки из него. Технические условия

ГОСТ 577-68 Индикаторы часового типа с ценой деления 0,01 мм. Технические условия

ГОСТ 613-79 Бронзы оловянные литейные. Марки

ГОСТ 859-2001 Медь. Марки

ГОСТ 868-82 Нутромеры индикаторные с ценой деления 0,01 мм. Технические условия

ГОСТ 1033-79 Смазка солидол жировой. Технические условия

ГОСТ 1050-88 Прокат сортовой, калиброванный, со специальной отделкой поверхности из углеродистой качественной конструкционной стали. Общие технические условия

ГОСТ 1412-85 Чугун с пластинчатым графитом для отливок. Марки

ГОСТ 1477-93 Винты установочные с плоским концом и прямым шлицем классов точности А и В. Технические условия

ГОСТ 2208-2007 Фольга, ленты, листы и плиты латунные. Технические условия

ГОСТ 2789-73 Параметр шероховатости поверхности. Параметры и характеристики

ГОСТ 2824-86 Картон электроизоляционный. Технические условия

ГОСТ 2850-95 Картон асбестовый. Технические условия

ГОСТ 3242-79 Соединения сварные. Методы контроля качества

ГОСТ 4366-76 Смазка солидол синтетический. Технические условия

ГОСТ 4381-87 Микрометры рычажные. Общие технические условия

ГОСТ 4543-71 Прокат из легированной конструкционной стали. Технические условия

ГОСТ 5152-84 Набивки сальниковые. Технические условия

ГОСТ 5264-80 Ручная дуговая сварка. Соединения сварные. Основные типы, конструктивные элементы и размеры

ГОСТ 5721-75 Подшипники роликовые радиальные сферические двухрядные. Типы и основные размеры

ГОСТ 5915-70 Гайки шестигранные класса точности В. Конструкция и размеры

ГОСТ 6134-2007 Насосы динамические. Методы испытаний

ГОСТ 6402-70 Шайбы пружинные. Технические условия

ГОСТ 6507-90 Микрометры. Технические условия

ГОСТ 6613-86 Сетки проволочные тканые с квадратными ячейками. Технические условия

ГОСТ 8338-75 Подшипники шариковые радиальные однорядные. Основные размеры

ГОСТ 8505-80 Нефрас-С50/170. Технические условия

ГОСТ 8530-90 Подшипники качения. Гайки, шайбы и скобы для закрепительных и стяжных втулок. Технические условия

ГОСТ 8551-74 Смазка ЦИАТИМ-205. Технические условия

ГОСТ 8713-79 Сварка под флюсом. Соединения сварные. Основные типы, конструктивные элементы и размеры.

ГОСТ 8787-68 Сталь чистотянутая для шпонок. Сортамент

ГОСТ 9244-75 Нутромеры с ценой деления 0,001 и 0,002 мм. Технические условия

ГОСТ 9347-74 Картон прокладочный и уплотнительные прокладки из него. Технические условия

ГОСТ 9378-93 Образцы шероховатости поверхности (сравнения). Общие технические условия

ГОСТ 9972-74 Масла нефтяные турбинные с присадками. Технические условия

ГОСТ 10796-74 Резаки ручные воздушно-дуговые. Типы и основные параметры

ГОСТ ИСО 10816-3-2002 Вибрация. Контроль состояния по результатам измерения вибрации на невращающихся частях. Часть 3. Промышленные машины номинальной мощностью более 15 кВт и номинальной скоростью от 120 до 15000 минут в степени минус 1

ГОСТ 10877-76 Масло консервационное К-17. Технические условия

ГОСТ 11098-75 Скобы с отсчетным устройством. Технические условия

ГОСТ 14771-76 Дуговая сварка в защитном газе. Соединения сварные. Основные типы, конструктивные элементы и размеры

ГОСТ 15467-79 Управление качеством продукции. Основные понятия. Термины и определения

ГОСТ 16504-81 Система государственных испытаний продукции. Испытания и контроль качества продукции. Основные термины и определения

ГОСТ 17187-81 Шумомеры. Общие технические требования и методы испытаний

ГОСТ 17756-72 Пробки резьбовые со вставками с полным профилем резьбы диаметром от 1 до 100 мм. Конструкция и основные размеры

ГОСТ 18322-78 Система технического обслуживания и ремонта техники. Термины и определения

ГОСТ 18442-80 Контроль неразрушающий. Капиллярные методы. Общие требования

ГОСТ 19300-86 Средства измерений шероховатости поверхности профильным методом. Профилографы-профилометры контактные. Типы и основные параметры

ГОСТ 19537-83 Смазка пушечная. Технические условия

ГОСТ 20799-88 Масла индустриальные. Технические условия

ГОСТ 20831-75 Система технического обслуживания и ремонта техники. Порядок проведения работ по оценке качества отремонтированных изделий

ГОСТ 21631-76 Листы из алюминия и алюминиевых сплавов. Технические условия

ГОСТ 23360-78 Основные нормы взаимозаменяемости. Соединения шпоночные с призматическими шпонками. Размеры шпонок и сечений пазов. Допуски и посадки

ГОСТ 23677-79 Твердомеры для металлов. Общие технические требования

ГОСТ 23941-2002 Шум машин. Методы определения шумовых характеристик. Общие требования

ГОСТ 24121-80 Калибры пазовые для размеров св. 3 до 50 мм. Конструкция и размеры

ГОСТ 24297-87 Входной контроль продукции. Основные положения

ГОСТ 24643-81 Основные нормы взаимозаменяемости. Допуски формы и расположения поверхностей. Числовые значения

ГОСТ 25275-82 Система стандартов по вибрации. Приборы для измерения вибрации вращающихся машин. Общие технические требования

ГОСТ 25706-83 Лупы. Типы, основные параметры. Общие технические требования

ГОСТ 28804-90 Материалы фенольные формовочные. Общие технические условия

ГОСТ Р 50831-95 Установки котельные. Тепломеханическое оборудование. Общие технические требования

ГОСТ Р 52781-2007 Круги шлифовальные и заточные. Технические условия

СТО 70238424.27.100.012-2008 Тепловые и гидравлические станции. Методики оценки качества ремонта энергетического оборудования

СТО 70238424.27.100.017-2009 Тепловые электрические станции. Ремонт и техническое обслуживание оборудования, зданий и сооружений. Организация производственных процессов. Нормы и требования

СТО 70238424.27.100.006-2008 Ремонт и техническое обслуживание оборудования, зданий и сооружений электрических станций и сетей. Условия выполнения работ подрядными организациями. Нормы и требования

СТО 70238424.27.010.001-2008 Электроэнергетика. Термины и определения

СТО 17230282.27.010.002-2008 Оценка соответствия в электроэнергетике

Примечание - При пользовании настоящим стандартом целесообразно проверить действие ссылочных стандартов и классификаторов в информационной системе общего пользования - на официальном сайте национального органа Российской Федерации по стандартизации в сети Интернет или по ежегодно издаваемому информационному указателю «Национальные стандарты», который опубликован по состоянию на 1 января текущего года, и по соответствующим ежемесячно издаваемых информационным указателям, опубликованным в текущем году. Если ссылочный документ заменен (изменен), то при пользовании настоящим стандартом следует руководствоваться замененным (измененным) документом. Если ссылочный документ отменен без замены, то положение, в котором дана ссылка на него, применяется в части, не затрагивающей эту ссылку.

3 Термины, определения, обозначения и сокращения

3.1 В настоящем стандарте применены основные понятия по Федеральному закону РФ «О техническом регулировании» и термины по ГОСТ 15467, ГОСТ 16504, ГОСТ 18322, ГОСТ 27.002, СТО 70238424.27.010.001-2008, а также следующие термины с соответствующими определениями:

3.1.1 требование: Норма, правила, совокупность условий, установленных в документе (нормативной и технической документации, чертеже, стандарте), которым должны соответствовать изделие или процесс.

3.1.2 характеристика: Отличительное свойство. В данном контексте характеристики физические (механические, электрические, химические) и функциональные (производительность, мощность ...).

3.1.3 характеристика качества: Присущая характеристика продукции, процесса или системы, вытекающая из требований.

3.1.4 качество отремонтированного оборудования: Степень соответствия совокупности присущих оборудованию характеристик качества, полученных в результате выполнения его ремонта, требованиям, установленным в нормативной и технической документации.

3.1.5 качество ремонта оборудования: Степень выполнения требований, установленных в нормативной и технической документации, при реализации комплекса операций по восстановлению исправности или работоспособности оборудования или его составных частей.

3.1.6 оценка качества ремонта оборудования: Установление степени соответствия результатов, полученных при освидетельствовании, дефектации, контроле и испытаниях после устранения дефектов, характеристикам качества оборудования, установленным в нормативной и технической документации.

3.1.7 технические условия на капитальный ремонт: Нормативный документ, содержащий требования к дефектации изделия и его составных частей, способы ремонта для устранения дефектов, технические требования, значения показателей и нормы качества, которым должно удовлетворять изделие после капитального ремонта, требования к контролю и испытаниям оборудования в процессе ремонта и после ремонта.

3.2 Обозначения и сокращения

А, Б, В...         - обозначение поверхности;

ГТН                - газотермическое напыление;

Карта              - карта дефектации и ремонта;

НТД                - нормативная и техническая документация;

УЗД                - ультразвуковая дефектоскопия;

ЦД                  - цветная дефектоскопия по ГОСТ 18442;

НВ                  - твёрдость по Бринеллю;

НRС               - твёрдость по Роквеллу;

δ                      - обозначение толщины;

L                      - обозначение длины;

Ra                   - среднее арифметическое отклонение профиля;

Rz                    - высота неровностей профиля по десяти точкам.

4 Общие положения

4.1 Подготовка насосов к ремонту, вывод в ремонт, производство ремонтных работ и приемка из ремонта должны производиться в соответствии с нормами и требованиями СТО 70238424.27.100.017-2009.

Требования к ремонтному персоналу, гарантиям производителя работ по ремонту установлены в СТО 70238424.27.100.006-2008.

4.2 Выполнение требований настоящего стандарта определяет оценку качества отремонтированных насосов. Порядок проведения оценки качества ремонта насосов устанавливается в соответствии с СТО 70238424.27.100.012-2008.

4.3 Требования настоящего стандарта, могут быть использованы при среднем и текущем ремонтах насосов. При этом учитываются следующие особенности их применения:

- требования к составным частям и насосам в целом в процессе среднего или текущего ремонта применяются в соответствии с выполняемой номенклатурой и объёмом ремонтных работ;

- требования к объёмам и методам испытаний и сравнению показателей качества отремонтированных насосов с их нормативными и доремонтными значениями при среднем ремонте применяются в полном объёме;

- требования к объёмам и методам испытаний и сравнению показателей качества отремонтированных насосов с их нормативными и доремонтными значениями при текущем ремонте применяются в объёме, определяемом техническим руководителем электростанции и достаточным для установления работоспособности насоса.

4.4 При расхождении требований настоящего стандарта с требованиями других НТД, выпущенных до утверждения настоящего стандарта, необходимо руководствоваться требованиями настоящего стандарта.

При внесении предприятием-изготовителем изменений в конструкторскую документацию на насосы и при выпуске нормативных документов органов государственного надзора, которые повлекут за собой изменение требований к отремонтированным составным частям и насосам в целом, следует руководствоваться вновь установленными требованиям вышеуказанных документов до внесения соответствующих изменений в настоящий стандарт.

4.5 Требования настоящего стандарта распространяются на капитальный ремонт насосов Д200-36, Д200-95, Д320-50, Д500-65, Д320-70, Д630-90, Д800-57, Д1250-65, Д1250-125, Д1600-90, Д2000-21, Д2000-100, Д2500-62, Д3200-33, Д3200-75, Д4000-22, Д5000-32, Д6300-27, Д12500-24 в течение полного срока службы, установленного в НТД на поставку насосов или в других нормативных документах.

При продлении в установленном порядке продолжительности эксплуатации насосов сверх полного срока службы, требования настоящего стандарта применяются в разрешенный период эксплуатации с учетом требований и выводов, содержащихся в документах на продление продолжительности эксплуатации.

5 Общие технические сведения

5.1 Насосы предназначены для перекачивания воды, температура которой не более 358 К (85 °С), или жидкости, имеющей сходные с водой свойства (вязкость, химическую активность и температуру).

Насосы - горизонтальные одноступенчатые с полуспиральным подводом жидкости к двустороннему рабочему колесу.

5.2 Технические характеристики насосов приведены в таблице А.1 (приложение А). Стандарт разработан на основе конструкторской документации заводов-изготовителей насосов, приведенной в таблице А.2 (приложение А).

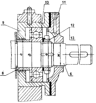
5.3 Основными составными частями насоса (рисунки 1 - 4) являются: корпус поз. 8, крышка поз. 1, ротор с рабочим колесом поз. 2, которое крепится на валу шпонкой. Ротор установлен в корпусе насоса на двух опорах 6, 12.

Привод насоса осуществляется непосредственно от электродвигателя при помощи втулочно-пальцевой муфты поз. 7, соединяющей валы насоса и электродвигателя. Направление вращения ротора насоса - левое, если смотреть со стороны муфты.

1 - крышка корпуса; 2 - ротор; 3, 9 - грунд-букса; 4, 10 - кольцо сальника; 5, 11 - втулка защитная; 6, 12 - узел опоры; 7 - муфта втулочно-пальцевая; 8 - корпус; а, б, в... - сопряжение.

Рисунок 1 - Насосы Д200-95, Д200-36, Д320-50, Д320-70, Д500-65, Д630-90, Д800-57, Д1250-65, Д1250-125, Д1600-90

1 - крышка корпуса; 2 - ротор; 3, 9 - кольцо; 4, 10 - камера водяная; 5, 11 - втулка защитная; 6, 12 - узел опоры; 7 - муфта втулочно-пальцевая; 8 - корпус, a, б1, в1... - сопряжение.

Рисунок 2 - Насосы Д2000-21, Д2000-100, Д2500-62, Д3200-33, Д3200-75

1 - крышка корпуса; 2 - ротор; 3, 9 - кольцо; 4, 10 - камера водяная; 5, 11 - втулка защитная; 6, 12 - узел опоры; 7 - муфта втулочно-пальцевая; 8 - корпус; a, б1, в1... - сопряжение

Рисунок 3 - Насосы Д2500-62, Д4000-22, Д5000-32, Д6300-27

1 - крышка корпуса; 2 - ротор; 3, 9 - грунд-букса; 4, 10 - кольцо сальника; 5, 11 - втулка защитная; 6, 12 - узел опоры; 7 - муфта втулочно-пальцевая; 8 - корпус; а, б, в... - сопряжение

Рисунок 4 - Насос Д12500-24

6 Общие технические требования

6.1 Требования к материалам

6.1.1 Для ремонта составных частей насосов должны применяться материалы, указанные в рабочих чертежах, или материалы-заменители, приведённые в таблице Б.1 (приложение Б).

Механические свойства материалов-заменителей, применяемых для ремонта, должны быть выше или соответствовать свойствам материалов, указанных в рабочих чертежах завода-изготовителя.

6.1.2 Соответствие материалов, применяемых для ремонта, а также материалов запасных частей, используемых для замены изношенных элементов указанных сборочных единиц, должно подтверждаться сертификатами заводов-поставщиков или результатами лабораторных испытаний. Все материалы, применяемые при ремонте, должны пройти входной контроль по ГОСТ 24297.

6.2 Требования к сварным соединениям

6.2.1 Сварные швы составных частей насоса следует проверять методами по ГОСТ 3242.

6.2.2 Дефектные участки швов (с трещинами или другими дефектами) должны удаляться до основного металла шлифовальными кругами по ГОСТ Р 52781, инжекторными или воздушно-дуговыми резаками по ГОСТ 10796, зачищаться и восстанавливаться электродами, указанными в рабочих чертежах заводов-изготовителей.

6.2.3 Порядок наложения швов должен обеспечивать минимальные сварочные напряжения и отсутствие коробления элементов при сварке.

6.2.4 Восстановленные сварные швы не должны иметь прожогов основного металла, трещин и других дефектов. Поверхность шва должна быть мелкочешуйчатой и иметь плавный переход без наплывов к основному металлу.

Размеры и формы сварных швов должны соответствовать требованиям рабочих чертежей, ГОСТ 5264, ГОСТ 8713, ГОСТ 14771 в зависимости от способа сварки.

6.2.5 В сварных соединениях неподвижных конструкций допускаются местные подрезы глубиной не более:

- 0,5 мм - при толщине свариваемых деталей до 10,0 мм;

- 1,0 мм - при толщине свариваемых деталей более 10,0 мм.

Суммарная длина подрезов не должна превышать 20 % длины сварных швов.

Подрезы, превышающие указанные допуски, должны быть устранены заваркой.

6.2.6 Места заварки должны быть зачищены вровень с основным металлом. Шлаковые включения, газовые поры не допускаются.

6.3 Требования к резьбовым соединениям

6.3.1 Дефекты резьбы (срыв, вмятины, вытягивание, трещины и др.) должны определяться визуальным контролем и резьбовыми пробками по ГОСТ 17756.

6.3.2 Ремонту не подлежат крепёжные изделия при наличии:

- трещин;

- повреждения резьбы (срывахили вмятинах глубиной более 1/2 высоты профиля резьбы) более чем на двух нитках;

- деформации резьбовой части, препятствующей свободному завинчиванию.

.3.3 Поврежденная внутренняя резьба (трещины, срывы, вмятины глубиной более 1/2 высоты профиля более чем на двух нитках) на корпусных деталях должны восстанавливаться срезанием старой и нарезанием новой резьбы другого диаметра согласно таблице 1 при условии обеспечения сборки и прочности соединения.

Таблица 1

Резьба по чертежу

Резьба после восстановления

М16-7Н

М20-7Н

М20-7Н

М24-7Н

М24-7Н

М27-7Н

М27-7Н

М30-7Н

М30-7Н

М32-7Н

6.3.4 Незначительные повреждения резьбы (задиры, вмятины) должны быть устранены опиливанием или прогонкой резьбонарезным инструментом.

6.3.5 Повреждения ненарезанной части болтов должны устраняться опиливанием или обточкой. При этом уменьшение диаметра допускается не более чем на 2 % от номинального. Допуск прямолинейности оси болта 0,5 мм на длине 100,0 мм.

6.3.6 Повреждения граней головок болтов и гаек должны быть устранены опиливанием под меньший, но не более чем на один размер ключа.

6.3.7 После восстановления гайки должны навинчиваться на болты (шпильки) от руки. Нарезанный конец болта должен выступать над гайкой не менее чем на две нитки и не более чем на 10,0 мм. Гайки и головки болтов должны плотно прилегать всей поверхностью к деталям. Шпильки должны плотно заполнять отверстие и быть ввинченными до упора.

6.3.8 Резьбовые соединения должны быть очищены от грязи, прокалиброваны и смазаны солидолом марки Ж по ГОСТ 1033.

6.3.9 Величины крутящих моментов при затягивании крепёжных деталей должны быть в пределах, приведённых в таблице 2.

Таблица 2

Обозначение резьбы

Крутящий момент, Н·м

М12

Св. 35 до 50 включ.

М16

»  90    »  120   »

М20

»  170  »  200   »

М27

»  350  »  380   »

М30

»  350  »  400   »

6.4 Требования к шпоночным соединениям

6.4.1 Дефекты шпоночных пазов и шпонок (смятие рабочих кромок, трещины и др.) должны определяться визуальным контролем и измерением контрольным инструментом (штангенциркулем по ГОСТ 166, калибром пазовым по ГОСТ 24121).

6.4.2 Шпонки со смятыми гранями подлежат замене на новые.

6.4.3 Изношенные шпоночные пазы должны быть восстановлены наплавкой кромок паза с последующей механической обработкой. Допускается восстановление кромок паза опиливанием или фрезерованием до ремонтных размеров (если увеличение ширины паза после обработки не превышает 15 %). Допуск параллельности боковых граней должен соответствовать требованиям ГОСТ 24643.

6.4.4 После восстановления шпоночного соединения должна быть обеспечена напряжённая посадка шпонки на валу и скользящая во втулке с допусками по ГОСТ 23360.

6.5 Требования к подшипникам качения

6.5.1 Дефекты подшипников качения определяются осмотром и способами, приведёнными в 6.5.2.

6.5.2 Замене подлежат подшипники качения при исчерпании ресурса, указанного в технической документации заводов-изготовителей, а также при:

- наличии трещин на кольцах, телах качения и сепараторах;

- наличии сколов на кольцах или телах качения;

- наличии забоин, вмятин, шелушения или коррозионных раковин на беговых дорожках или телах качения;

- повреждениях заклёпочных или сварочных соединений или деформации сепаратора;

- тугом вращении;

- остаточном магнетизме, определяемом при помощи ферро-магнитного порошка (измельчённой железной окалины Fe3О4, просеянной через сито) с полутомпаковой сеткой 009К по ГОСТ 6613;

- радиальном посадочном зазоре, превышающем предельно допустимый, указанный в таблице 3, который определяется щупом или индикатором ИЧ 02 кл.0 по ГОСТ 577.

Таблица 3

Диаметр отверстия подшипника, мм

Предельно-допустимый радиальный зазор в подшипнике, мкм

минимальный

максимальный

35

25

95

60

30

120

90

45

170

100

45

170

160

65

260

6.6 Требования к поверхностям под посадку

6.6.1 Поверхности под посадку необходимо подвергнуть визуальному контролю. Дефекты (коррозию, вмятины, расслоения, задиры, риски и т.д.) необходимо устранить с сохранением размеров под посадку.

6.6.2 Повреждения (забоины, задиры, риски) поверхностей под посадку на валах, глубиной более чем 2,0 мм и суммарной площадью более 2 % от поверхности данного участка, а также изношенные поверхности под посадку должны быть восстановлены плазменным или газотермическим способом нанесения покрытий (напылением) с последующей механической обработкой.

В местах напыления трещины, шлаковые включения, поры не допускаются. Места напыления должны быть зачищены заподлицо с основным металлом. Толщина напыленного покрытия - не более 3,0 мм.

После механической обработки поверхности размеры и Параметр шероховатости должны соответствовать требованиям рабочих чертежей.

Оценку шероховатости рекомендуется производить сравнением с образцами шероховатости по ГОСТ 9378 или измерением профилометром-профилографом по ГОСТ 19300.

6.6.3 Проверку цилиндричности поверхностей под посадку необходимо производить не менее чем по двум взаимно перпендикулярным диаметрам.

Количество измерений по длине поверхности под посадку устанавливается по данным таблицы 4 в зависимости от соотношения:

где L - длина поверхности под посадку, мм;

D - диаметр этой поверхности, мм.

Таблица 4

L/D

Количество сечений

Место сечения

До 0,3 включ.

1

В центре

Св. 0,3 до 1,0 включ.

2

По краям

Св. 1,0

3

В центре и по краям

6.6.4 При восстановлении поверхностей или замены материала составных частей разность твердостей сопрягаемых поверхностей должна быть в пределах от 40 НВ до 50 НВ.

6.7 Требования к метрологическому обеспечению

6.7.1 Применяемые при ремонте измерительный инструмент, приборы и оборудование для обработки и сборки должны обеспечивать:

- точность, соответствующую указанной в рабочих чертежах и настоящем стандарте;

- правильность выявления дефектов;

- правильность результатов проведённых испытаний.

Перечень средств измерительной техники, инструмента и приборов, необходимых для контроля насосов, приведен в приложении В.

Разрешается замена контрольного инструмента и средств измерительной техники при условии обеспечения точности. Измерительный контроль должен производиться с точностью не ниже указанной в рабочей конструкторской документации и данном стандарте.

6.8 Требования к разборке и сборке составных частей

6.8.1 Разборку насоса, необходимо производить в соответствии с требованиями настоящего стандарта.

6.8.2 Перед разборкой необходимо проверить наличие маркировки, указывающей взаимное расположение сопряженных составных частей. При её отсутствии сопряжённые детали должны быть промаркированы.

6.8.3 Разборку неподвижного сопряжения с натягом следует производить только при необходимости ремонта или замены деталей. При этом детали должны сниматься специальными приспособлениями. Для облегчения снятия допускается нагрев охватывающей детали (кроме подшипников качения) пламенем газовой горелки с направлением нагрева от периферии к центру. При снятии подшипника качения усилие должно быть приложено к внутреннему кольцу. Для облегчения снятия подшипника его необходимо облить нагретым до температуры от 363 К до 373 К (от 90 °С до 100 °С) маслом И-20А по ГОСТ 20799, предварительно накрыв прилегающие участки вала (втулки) асбестовым картоном по ГОСТ 2850.

6.8.4 Все составные части перед их дефектацией или ремонтом должны быть очищены от пыли, грязи, ржавчины и др.

6.8.5 Подшипники качения, их корпуса и детали подшипниковых опор должны быть промыты моющим средством типа нефрас-С50/170 по ГОСТ 8505.

6.8.6 Поверхности под посадку должны быть очищены до металлического блеска, протерты обтирочными концами, смоченными моющим средством типа нефрас-С50/170 по ГОСТ 8505, насухо вытерты и смазаны маслом К-17 по ГОСТ 10877 или пластичной смазкой ЗТ 5/5-5 по ГОСТ 19537.

6.8.7 Для соединения деталей типа «вал-втулка» допускается уменьшение размера вала или увеличение размера втулки выше допустимого, предусмотренного по конструкторской документации при условии обеспечения допустимых зазоров (натягов), приведенных в таблицах 5, 15, 18, 34, 41.

7 Требования к дефектации и ремонту составных частей

7.1 Корпус в сборе

7.1.1 Дефектацию и ремонт корпусных деталей (корпуса, крышки корпуса, скоб), а также сопряженных с ними деталей, необходимо проводить в соответствии с картами дефектации и ремонта 1 - 6.

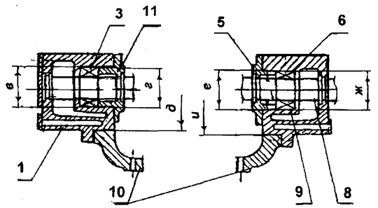
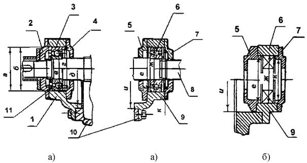
7.1.2 Зазоры (натяги) между составными сопряжёнными частями корпуса (рисунки 5 - 7) должны быть в пределах норм, приведенных в таблице 5.

1 - корпус; 2 - стакан подшипника пяты; 3, 12 - скоба; 4, 14 - крышка сальника; 5, 11 - кольцо сальника; 6, 10 - грунд-букса; 7, 8 - кольцо уплотняющее; 5, 11 - кольцо сальника; 9 - крышка корпуса; 13 - стакан подшипника; а, б, в... - сопряжение

Рисунок 5 - Корпус со скобами (насосы Д200-95, Д200-36, Д320-50, Д320-70, Д500-65, Д630-90, Д800-57, Д1250-65, Д1250-125, Д1600-90)

1 - корпус насоса; 2, 13 - корпус подшипника; 4, 14 - букса сальника; 5, 11 - камера водяная (кольцо сальника); 7, 8 - кольцо уплотняющее; 9 - крышка корпуса; 15, 16 - кольцо; а, б, в... - сопряжение

Рисунок 6 - Корпус (насосы Д2000-21, Д2000-100, Д2500-62, Д3200-33, Д3200-75, Д4000-22, Д5000-32, Д6300-27)

1 - корпус насоса; 2, 13 - корпус подшипника; 4, 14 - крышка сальника; 5, 11 - кольцо сальника; 6, 10 - грунд-букса; 7, 8 - кольцо уплотняющее; 9 - крышка корпуса; а, б, в... - сопряжение

Рисунок 7 - Корпус (насос Д12500-24) Д320-70

Таблица 5 - Нормы зазоров (натягов) для корпусных деталей

Обозначение сопряжения

Позиция сопряженной составной части

Название сопряженной составной части

Обозначение чертежа (нормативного документа) составной части

Размер составной части по чертежу, мм

Зазор (+), натяг (-), мм, допустимый после капитального ремонта

номинальное значение

предельное отклонение

Насосы Д200-95, Д200-36, Д320-50, Д320-70, Д500-65, Д630-90, Д800-57, Д1250-65, Д1250-125, Д1600-90 (см. рисунок 5)

1; 3

Корпус; скоба

Д200-95

0603.501612.0001

Æ 110

+0,087

Д200-95

Д200-36

Д320-50

0603.408653.0001

Д200-36

0603.501612.0002

Æ 110

+0,087

0603.408653.0001

Д320-50

0603.501612.0003

Æ 110

+0,087

+0,174

0603.408653.0001

Д320-70

0603.501612.0004

Æ 110

+0,087

Д500-65

Д630-90

Д800-57

Д1250-65

0603.408653.0001

Д500-65

Н03.643.01.00.002

Æ 150

+0,250

Н03.629.01.00.003

Д630-90

Н03.629.01.00.002

Æ 150

+0,250

Н03.629.01.00.003

+0,350

Д800-57

Н03.644.01.00.002

Æ 150

+0,250

Д1250-125

Д1600-90

Н03.629.01.00.003

Д1250-65

Н03.630.01.01.002

Æ 150

+0,250

Н03.629.01.00.003

Д1250-125

Н03.649.01.00.002

Æ 215

+0,290

+0,405

Н03.649.01.00.003

Д1600-90

Н03.650.01.00.002

Æ 215

+0,290

Н03.649.01.00.003

а

2

Стакан подшипника пяты

Д200-95

0603.403372.0001

Æ 110

-0,087

Д200-36

Д320-50

Д320-70

Д500-65

Н03.629.01.01.008

Æ 150

-0,100

Д630-90

Д800-57

Д1250-65

Д1250-125

Н03.649.01.01.008

Æ 215

-0,115

Д1600-90

Н03.649.01.01.007

1; 9

Корпус, крышка корпуса

Д200-95

0603.501612.0001

Æ 70

+0,190

0603.501512.0001

Д200-36

0603.501612.0002

Æ 70

+0,190

Д200-95

Д200-36

Д320-50

Д320-70

+0,380

Д500-65

Д630-90

Д800-57

Д1250-65

+0,220

+0,790

0603.501512.0002

Д320-50

0603.501612.0003

Æ 70

+0,190

0603.501512.0003

Д320-70

0603.501612.0004

Æ 70

+0,190

0603.501512.0004

Д500-65

Н03.643.01.00.002

Æ 100

+0,220

Н03.643.00.00.001

Д630-90

Н03.629.01.00.002

Æ 100

+0,220

Н03.629.01.00.001

Д800-57

Н03.644.01.00.002

Æ 100

+0,220

Н03.644.00.00.001

Д1250-65

Н03.630.01.01.002

Æ 100

+0,220

Д1250-125

Д1600-90

+0,280

+0,930

Н03.630.01.00.001

Д1250-125

Н03.649.01.00.002

Æ 152

+0,250

Н03.649.01.00.001

Д1600-90

Н03.650.01.00.002

Æ 152

+0,250

Н03.650.01.00.001

б; л

4; 14

Крышка сальника

Д200-95

Д200-36

Д320-50

0603.408443. 0005

Æ 70

-0,190

Д320-70

0603.408545. 0005

Æ 70

-0,190

Д500-65

Н03.629.01.01.009

Æ 100

-0,220

Д630-90

-0,570

Д800-57

Д1250-65

Д1250-125

03.649.01.01.009

Æ 152

-0,280

Д1600-90

-0,680

1; 9

Корпус; крышка корпуса

Д200-95

0603.501612.0001

Æ 70

+0,190

0603.501512.0001

Д200-95 Д200-36 Д320-50 Д320-70

Д200-36

0603.501612.0002

Æ 70

+0,190

0603.501512.0002

Д320-50

0603.501612.0003

Æ 70

+0,190

0603.501512.0003

+0,120

Д320-70

0603.501612.0004

Æ 70

+0,190

+0,530

0603.501512.0004

Д500-65

Н03.643.01.00.002

Æ 100

+0,220

Д500-65 Д630-90 Д800-57

Н03.643.00.00.001

Д630-90

Н03.629.01.00.002

Æ 100

+0,220

Д1250-65

Н03.629.01.00.001

Д800-57

Н03.644.01.00.002

Æ 100

+0,220

+0,120

Н03.644.00.00.001

+0,560

Д1250-65

Н03.630.01.00.002

Æ 100

+0,220

Н03.630.01.00.001

Д1250-125

Д1250-125

Н03.649.01.00.002

Æ 152

+0,250

Д1600-90

Н03.649.01.00.001

Д1600-90

Н03.650.01.00.002

Æ 152

+0,250

+0,145

Н03.650.01.00.001

+0,645

в; к

5; 11

Кольцо сальника

Д200-95

0603.405142.0001

Æ 70

-0,120

-0,340

Д200-36

0603.405142.0001

Æ 70

-0,120

Д320-50

0603.409112.0002

-0,340

Д320-70

Д500-65

Н03.629.01.01.001

Æ 100

-0,120

Д630-90

-0,340

Д800-57

Д1250-65

Д1250-125

Н03.649.01.01.004

Æ 152

-0,145

Д1600-90

-0,395

1; 9

Корпус; крышка корпуса

Д200-95

0603.501612.0001

Æ 70

+0,190

 

0603.501512.0001

Д200-95 Д200-36 Д320-50

Д200-36

0603.501612.0002

Æ 70

+0,190

0603.501512.0002

Д320-70

Д320-50

0603.501612.0003

Æ 70

+0,190

+0,380

0603.501512.0003

Д320-70

0603.501612.0004

Æ 70

+0,190

Д500-65

0603.501512.0004

Д630-90

Д500-65

Н03.643.01.00.002

Æ 100

+0,220

Д800-57

Н03.643.00.00.001

Д1250-65

Д630-90

Н03.629.01.00.002

Æ 100

+0,220

Н03.629.01.00.001

+0,440

Д800-57

Н03.644.01.00.002

Æ 100

+0,220

Н03.644.00.00.001

Д1250-125

Д1250-65

Н03.630.01.00.002

Æ 100

+0,220

Д1600-90

Н03.630.01.00.001

Д1250-125

Н03.649.01.00.002

Æ 152

+0,250

+0,500

Н03.649.01.00.001

Д1600-90

Н03.650.01.00.002

Æ 152

+0,250

Н03.650.01.00.001

г; ж

6; 10

Грунд-букса

Д200-95

Д200-36

Д320-50

Д320-70

0603.409111.0002

Æ 70

-0,190

Д500-65

Д630-90

Д800-57

Д1250-65

Н03.629.01.01.004

Æ 100

-0,220

Д1250-125

Д1600-90

Н03.649.01.01.003

Æ 152

-0,250

1; 9

Корпус; крышка корпуса

Д200-95

0603.501612.0001

Æ 130

+0,160

Д200-95

Д320-70

0603.501512.0001

Д200-36

0603.501612.0002

Æ 145

+0,160

+0,200

0603.501512.0002

Д320-50

0603.501612.0003

Æ 175

+0,160

Д200-36

Д320-50

0603.501512.0003

Д320-70

0603.501612.0004

Æ 160

+0,160

+0,223

0603.501512.0004

Д500-65

Н03.643.01.00.002

Æ 230

+0,290

Д500-65

Д630-90

Н03.643.01.00.001

Д630-90

Н03.629.01.01.002

Æ 230

+0,290

+0,405

Н03.629.01.00.001

Д800-57

Н03.644.01.01.002

Æ 260

+0,320

Д800-57

Д1250-65

Н03.644.01.00.001

Д1250-65

Н03.630.01.00.002

Æ 275

+0,320

Д1600-90

+0,450

Н03.630.01.00.001

Д1250-125

Н03.649.01.00.002

Æ 330

+0,360

Д1250-125

Н03.649.01.00.001

Д1600-90

Н03.650.01.00.002

Æ 305

+0,320

+0,500

Н03.650.01.00.001

д; е

7; 8

Кольцо уплотняющее

Д200-95

0603.403183.0001

Æ 130

-0,040

Д200-36

0603.403183.0002

Æ 145

-0,063

Д320-50

0603.403183.0003

Æ 175

-0,063

Д320-70

0603.403183.0004

Æ 160

-0,040

Д500-65

Н03.643.01.01.002

Æ 230

-0,115

Д630-90

Н03.629.01.01.003

Д800-57

Н03.644.01.01.002

Æ 260

-0,130

Д1250-65

Н03.630.01.00.002

Æ 275

-0,130

Д1250-125

Н03.649.01.01.002

Æ 330

-0,140

Д1600-90

Н03.650.01.01.002

Æ 305

-0,130

1; 3; 12

Корпус; скоба

Д200-95

0603.501612.0001

Æ 110

+0,087

 

0603.408653.0001

 

Д200-36

0603.501612.0002

Æ 110

+0,087

Д200-95

0603.408653.0001

Д200-36

Д320-50

0603.501612.0003

Æ 110

+0,087

Д320-50

0603.408653.0001

Д320-70

Д320-70

0603.501612.0004

Æ 110

+0,087

+0,174

0603.408653.0001

Д500-65

Д500-65

Н03.643.01.00.002

Æ 150

+0,250

Д630-90

Н03.629.01.00.003

Д800-57

Д630-90

Н03.629.01.00.002

Æ 150

+0,250

Д1250-65

Н03.629.01.00.003

Д800-57

Н03.644.01.00.002

Æ 150

+0,250

+0,350

Н03.629.01.00.003

Д1250-65

Н03.630.01.00.002

Æ 150

+0,250

Д1250-125

Н03.629.01.00.003

Д1600-90

Д1250-125

Н03.649.01.00.002

Æ 215

+0,290

+0,405

Н03.649.01.00.003

Д1600-90

Н03.650.01.00.002

Æ 215

+0,290

Н03.649.01.00.003

м

13

Стакан подшипника

Д200-95

Д200-36

Д320-50

Д320-70

0603.403352.0001

Æ 110

-0,087

Д500-65

Д630-90

Д800-57

Д1250-65

Н03.629.01.01.006

Æ 150

-0,100

Д1250-125

Д1600-90

Н03.649.01.01.006

Æ 215

-0,115

1; 9

Корпус; крышка корпуса

Д200-95

0603.501612.0001

0603.501512.0001

10

+0,150

Д200-36

Д200-95

Д320-50

Д200-36

0603.501612.0002

0603.501512.0002

10

+0,150

Д320-70

Д320-50

0603.501612.0003

0603.501512.0003

10

+0,150

+0,240

Д320-70

0603.501612.0004

0603.501512.0004

10

+0,150

Д 500-90

Д 6З0-90

Д500-90

Н03.643.01.00.002

12

+0,180

Д800-57

Д630-90

Н03.629.01.00.002

12

+0,180

Д1250-65

Д800-57

Н03.644.01.00.002

12

+0,180

Д1250-125

Д1250-65

Н03.630.01.00.002

12

+0,180

Д1600-90

Д1250-125

Н03.649.01.00.002

15

+0,180

+0,150

Д1600-90

Н03.650.01.00.002

15

+0,180

+0,510

7; 8

Кольцо уплотняющее

Д200-95

0603.403183.0001

10

-0,090

Д200-36

0603.403183.0002

10

-0,090

Д320-50

0603.403183.0003

10

-0,090

Д320-70

0603.403183.0004

10

-0,090

Д500-90

Н03.643.01.01.002

12

-0,150

-0,330

Д630-90

Н03.629.01.01.003

12

-0,150

-0,330

Д800-57

Н03.644.01.01.002

12

-0,150

-0,330

Д1250-65

Н03.630.01.01.002

12

-0,150

-0,330

Д1250-125

Н03.649.01.01.002

15

-0,150

-0,330

Д1600-90

Н03.650.01.01.002

15

-0,150

-0,330

Примечание. Насосы Д2000-21, Д2000-100, Д2500-62, Д3200-33, Д3200-75, Д4000-22, Д5000-32, Д6300-27, Д12500-24 (см. рисунки 6, 7)

1

Корпус насоса

Д2000-21

Н06.011.20.01

Æ 202

+0,600

Д2000-21

Д2000-100

Н06.010.20.01

Æ 400

+0,760

+2,000

Д2500-62

Н06.009.20.01

Æ 400

+0,760

+3,200

Д3200-33

Б-6823

Æ 400

+0,760

Д2000-100

Д3200-75

Б-6794

Æ 400

+0,760

Д2500-62

Д4000-22

Д5000-32

Д6300-27

Б-0862

Æ 400

+0,120

Д3200-33

Д3200-75

Д12500-24

Б310-7;

0,75 Б310-8

Æ 720

+0,2

+ 1,000

+ 1,680

а, м

2, 13

Корпус подшипника

Д2000-21

Н06.011.30.01

Æ 200

-0,600

Д4000-22

Д2000-100

Д2500-62

Д3200-33

Д3200-75

Н06.004.20.01-11

Æ 399

-0,120

Д5000-32

Д6300-32

+0,240

Д4000-22

Д5000-32

Д6300-27

В-4025

Æ 400

-0,120

Д12500-24

Д12500-24

В-13288

Æ 718

±0,5

+0,500

1; 9

Корпус насоса, крышка насоса

Д2000-21

Н06.011.20.01

Н06.011.20.02

Æ 120

+0,220

Д2000-21

+0,460

Д2000-100

Н06.010.20.01

Н06.010.20.02

Æ 180

+0,250

+0,920

Д2500-62

Н06.009.20.01

Н06.009.20.02

Æ 160

+0,250

Д2000-100

Д2500-62

Д3200-33

Б-6823; Б-6824

Æ 160

+0,250

Д3200-75

Д3200-75

Б-6794; Б-6795

Æ 175

+0,250

Д4000-22

Д4000-22

Д5000-32

Д6300-27

Б-0862; Б-0863

Æ 175

+0,250

Д5000-32

Д6300-32

+0,130

Д12500-24

Б310-7;

0,75 Б310-8

Æ 270

+0,32

+0,650

Д3200-33

б, л

4; 14

Букса сальника (крышка сальника*)

Д2000-21

06.011.20.10

Æ 120

-0,460

-0,700

+0,130

+0,650

Д2000-100

Н06.010.20.05

Æ 180

-0,130

-0,400

 

Д12500-24

Д2500-62

Н06.009.20.08

Æ 160

-0,130

-0,400

 

+0,170

Д3200-33

Г-25764

Æ 160

-0,130

-0,400

+0,820

Д3200-75

Д4000-22

Д5000-32

Д6300-27

Г-25761

Æ 175

-0,130

-0,400

Д12500-24

Д-41402

Æ 270

+0,32

1; 9

Корпус насоса, крышка насоса

Д2000-21

Н06.011.20.01

Н06.011.20.02

Æ 120

+0,220

Д2000-21

+0,460

+0,920

Д3200-75

Д4000-22

Д2000-100

Н06.010.20.01

Н06.010.20.02

Æ 180

+0,250

Д2500-62

Н06.009.20.01

Н06.009.20.02

Æ 160

+0,250

Д3200-33

Б-6823; Б-6824

Æ 160

+0,250

Д3200-75

Б-6794; Б-6795

Æ 175

+0,250

Д5000-32

Д4000-22

Д5000-32

Д6300-27

Б-0862; Б-0863

Æ 175

+0,250

Д6300-27

+0,150

+0,535

Д12500-24

Б310-7;

0,75 Б310-8

Æ 270

+0,320

Д2000-100

в, к

5, 11

Камера водяная (кольцо сальника**)

Д2000-21

Н06.011.20.08

Æ 120

-0,460

-0,700

+0,060

+0,415

Д3200-75

Д-6838

Æ 175

-0,150

Д2500-62

Д4000-22

Д-6838

-0,285

Д3200-33

Д5000-32

Д-0858

+0,530

Д6300-27

Д-0858

+1,050

Д2000-100

Н06.010.20.06

Æ 180

-0,060

-0,165

Д12500-24

Д2500-62

Д3200-33

Д-6838

Æ 160

-0,530

-0,800

+0,210

+0,700

Д12500-24

Д-29133

Æ 270

-0,190

-0,400

1; 9

Корпус насоса, крышка насоса

Д12500-24

Б310-7;

0,75 Б310-8

Æ 250

+0,090

Д12500-24

+0,180

г, ж

6; 10

Грунд-букса

Д12500-24

Г310-20

Æ 250

-0,090

1; 9

Корпус насоса, крышка насоса

Д2000-21

Н06.011.20.01

Н06.011.20.02

Æ 370

+0,120

Д2000-21

Д2000-100

Н06.010.20.01

Æ 410

+0,120

Д2000-100

Д2500-62

Н06.010.20.02

Æ 400

+0,120

Д2500-62

Н06.009.20.01

Д3200-75

Н06.009.20.02

+0,240

Д3200-33

Б-6823; Б-6824

Æ 440

+0,155

Д3200-33

Д3200-75

Б-6794; Б-6795

Æ 440

+0,120

Д4000-22

Д5000-32

Д6300-27

Б-0862; Б-0863

Æ 610

+0,175

+0,275

Д12500-24

Б310-7;

0,75 Б310-8

Æ 890

+0,230

Д4000-22

Д5000-32

Д6300-32

д, е

7, 8

Кольцо уплотняющее

Д2000-21

Н06.005.20.06

Æ 370

-0,120

+0,350

Д2000-100

Н06.010.20.03

Æ 410

-0,120

Д2500-62

Н06.009.20.05

Æ 400

-0,120

Д12500-24

Д3200-33

В-13497

Æ 440

-0,120

Д3200-75

Г-6807

Æ 440

-0,120

+0,460

Д4000-22

В-13495

Æ 610

-0,175

Д5000-32

Д6300-27

Д12500-24

Г310-18

Æ 890

-0,230

1; 9

Корпус насоса, крышка насоса

Д4000-22

Б-0862; Б-0863

20

+0,520

Д4000-22

Д6300-27

Б310-7;

 

 

Д6300-32

Д12500-24

0,75Б310-8

60

+0,190

+1,040

п, н

7; 8

Кольцо уплотняющее

Д4000-22

Д6300-27

В-13495

20

-0,520

Д12500-24

+0,250

Д12500-24

Г310-18

60

-0,048

1; 9

Корпус насоса, крышка насоса

Д2000-21

Н06.011.20.01 Н06.011.20.02

Æ 120

+0,220

Д3200-33

Б-6823; Б-6824

Æ 160

+0,250

Д2000-21

Д3200-75

Б-67944; Б-6795

Æ 175

+0,250

Д4000-22

Д5000-32

Д6300-27

Б-0862; Б-0863

Æ 175

+0,250

+0,460

+0,920

р, с

15, 16

Кольцо

Д3200-33

Д2000-21

Н06.011.20.04

Æ 120

-0,460

-0,700

Д3200-75

Д4000-22

Д3200-33

Д3200-75

Д-21700

Æ 160

-0,130

-0,400

Д5000-32

Д6300-32

Д4000-22

Д5000-32

Д6300-27

Д-21698

Æ 175

-0,130

-0,400

+0,130

+0,650

*) для насосов Д4000-22, Д5000-32, Д6300-27, Д12500-24;

**) для насосов Д2000-100, Д2500-62, Д3200-33.

Описание: Описание: Описание: Описание: Описание: Описание: Описание: Описание: Untitled-1 copy

1 - корпус; 2, 4 - скоба; 3 - крышка корпуса

Рисунок 8 - Корпус, крышка насоса и скоба (рис. 5, поз. 1, 9 и 3, 12)

Описание: Описание: Описание: Описание: Описание: Описание: Описание: Описание: Untitled-1 copy

1 - корпус; 2 - крышка корпуса

Рисунок 9 - Корпус, крышка насоса (рис. 6, 7, поз. 1, 9)

Карта дефектации и ремонта 1

Корпус, крышка насоса и скоба - рис. 8

Корпус, крышка насоса - рис. 9

Количество на изделие - по 1 шт.

Нормы зазоров (натягов) - таблица 5

 

Обозначение

Возможный дефект

Способ установления дефекта и контрольный инструмент

Техническое требование по чертежу

Заключение и рекомендуемый способ ремонта

Техническое требование после ремонта

-

Трещины.

Визуальный контроль.

Лупа ЛП-1-7´.

ЦД.

-

1. Заварка трещин длиною не более 60 мм.

2. Заварка сквозных трещин с дальнейшим гидравлическим испытанием согласно 7.1.3.2.

3. Замена.

1. Трещины не допускаются.

2. После заварки - требования по 6.2.6.

-

Раковины глубиной св. 2,0 мм до 0,2 толщины стенки в количестве не более 30 шт. на площади 150 мм´150 мм и отдельные раковины глубиной более 0,2 толщины стенки.

Измерительный контроль. Штангенциркуль ШЦ-I-125-0,1-1.

-

1. Наплавка.

2. Замена.

1. Допускается до пяти раковин глубиной до 2 мм.

2. После наплавки требования соответственно 6.2.6.

3. Параметр шероховатости внутренней поверхности - не более Rz160.

-

Повреждение резьбы (обрыв шпилек).

Внешний осмотр. Контроль. Пробки резьбовые.

-

1. Высверливание шпилек.

2. Нарезание соответствующей новой резьбы.

3. Замена.

1. Допустимые диаметры восстановленной резьбы - см. 6.3.3.

2. Параметр шероховатости - не более Ra5.

A, Б, B, Г, Д, Е; И, К, Л, М

Износ.

Измерительный контроль. Нутромеры: НМ 600; НМ 1250.

Д4000-22, Д5000-32, Д6300-27

Л, М - Æ 145+0,100 м

Остальные диаметры - см. таблицу 6.

1. Расточка Б, В, Г, Д, Л, М с последующей заменой сопрягаемой детали или установкой разрезного кольца согласно 7.1.3.3.

2. Опиливание А, Е, И, К

3. Зачистка А, Е.

4. Замена.

1. Допустимые диаметры поверхностей: Д4000-22, Д5000-32 Д6300-27

Л, М - 145,10 мм. Остальные диаметры поверхностей-см. таблицу 6.

2. Допуск соосности поверхностей А, Е относительно оси поверхостей В, Г:

Д200-95, Д200-36, Д320-50, Д320-70 0,04 мм

Д630-90, Д1250-125, Д1600-90 0,06 мм.

3. Допуск радиального биения В, Г относительно оси корпуса: Д500-65, Д800-57, Д1250-65, Д2000-21, Д2000-100, Д2500-62 0,05 мм

Д3200-33, Д3200-100 0,12 мм

Д4000-22, Д5000-32, Д6300-27 0,10 мм

4. Допуск соосности поверхностей Б, Д: Д4000-22, Д5000-32, Д6300-27, Д12500-24 0,04 мм.

5. Допуск радиального биения И, К относительно оси В, Г:

Д2000-21, Д2000-100, Д2500-62, Д3200-33, Д3200-100 0,05 мм.

6. Допускаются отдельные единичные зачищенные раковины глубиной не более 0,5 мм.

7. Параметр шероховатости поверхностей не более - см. таблицу 7.

Ж

Коробление, вмятины (не более пяти) глубиной не более 2,0 мм площадью 1 см2, не выходящие на оба края фланца (расстояние между дефектами не менее трёх диаметров наибольшего дефекта).

Внешний осмотр. Контроль «по краске». Измерительный контроль. Штангенциркуль ШЦ-I-125-0,1-1.

Набор щупов № 2.

-

1. Шабрение.

2. Фрезерование с последующей расточкой согласно 7.1.3.4.

1. Допускаются 8 - 10 пятен на площади 25 мм´25 мм при контроле «по краске».

2. Допуск плоскостности на длине 1000 мм

Д200-95, Д200-36, Д320-50, Д320-70 - 0,18 мм

Д500-65, Д800-57, Д1250-65 0,16 мм

Д2000-21, Д2000-100, Д2500-62, Д3200-33, Д3200-75 - 0,10 мм.

3. Зазор между разъединёнными корпусом и крышкой корпуса не более 0,1 мм.

4. Допускаются отдельные единичные зачищенные раковины глубиной не более 0,5 мм, не выходящие на края фланцев количеством не более 5 шт. на площади 100 см2 (расстояние между дефектами - не менее 15 см).

5. Параметр шероховатости поверхностей не более - см. таблицу 7.

Н, Р

Износ.

Измерительный контроль.

Набор щупов.

Д4000-22

Д6300-27

Допуск плоскостности 0,1 мм.

1. Шабрение.

2. Фрезерование.

Д4000-22, Д6300-27

1. Допуск плоскостности 0,1 мм.

2. Допуск перпендикулярности поверхностей Н, Р относительно оси поверхностей Б, Д - 0,05 мм.

3. Параметр шероховатости поверхностей не более:

Д4000-22, Д5000-32, Д6300-27 Ra2,5

Д12500-24 Ra5,0.

Примечания - 1. Рисунок 8 - Насосы Д200-95, Д200-36, Д320-50, Д320-70, Д500-65, Д1250-65, Д630-90, Д1250-125, Д1600-90;

2. Рисунок 9 - Насосы Д2000-21, Д2000-100, Д3200-33, Д3200-75, Д2500-62, Д4000-22, Д5000-32, Д6300-27, Д12500-24.

Таблица 6

Размеры в мм

Обозначение насоса

Корпус, крышка насоса

Диаметр по чертежу

Допустимый диаметр, не более

А, Е (И К)

Б, Д

В, Г

А, Е (И, К)

Б, Д

В, Г

Д200-95

110+0,870

70+0,190

130+0,160

110,870

70,190

130,160

Д200-36

145+0,160

145,160

Д320-50

175+0,160

175,160

Д320-70

160+0,160

160,160

Д500-65

150+0,250

100+0,220

230+0,290

150,250

100,220

230,290

Д630-90

230,290

Д800-57

260+0,320

260,320

Д1250-65

275+0,320

275,320

Д1250-125

215+0,290

152+0,250

330+0,360

215,290

152,250

330,360

Д1600-90

305+0,320

305,320

Д2000-21

202+0,600

120+0,220

370+0,120

202,600

120,220

370,120

Д2000-100

400+0,760

180+0,250

410+0,120

400,760

180,250

410,120

Д2500-62

160+0,250

400+0,120

160,250

400,120

Д3200-33

440+0,155

440,155

Д3200-75

175+0,250

440+0,120

175,250

440,120

Д4000-22

400+0,120

610+0,175

400,120

610,175

Д5000-32

160+0,250

160,250

Д6300-27

175+0,250

175,250

Д12500-24

719+0,20

270+0,320

890+0,230

719,200

270,320

890,230

Таблица 7

Обозначение насоса

Корпус, крышка насоса

Параметр шероховатости поверхностей корпуса, крышки насоса

А, Е

Б, Д

В, Г

Ж

И, К

Д200-95

Ra10,0

Ra10,0

Ra10,0

Ra10,0

-

Д200-36

-

Д320-50

-

Д320-70

-

Д500-65

Ra2,5

Ra2,5

Ra2,5

-

Д630-90

Ra10,0

Ra10,0

Ra5,0

-

Д800-57

Ra2,5

Ra2,5

Ra2,5

-

Д1250-65

-

Д1250-125

Ra10,0

Ra10,0

Ra5,0

-

Д1600-90

-

Д2000-21

-

Ra1,6

Ra2,5

Ra50,0

Ra10,0

Д2000-100

-

Ra5,0

Д2500-62

-

Ra5,0

Ra2,5

Ra2,5

Ra2,5

Д3200-33

-

Ra10,0

Ra50,0

Ra1,6

Д3200-75

-

Ra1,6

Ra1,6

Д4000-22

-

Ra5,0

Ra2,5

Ra2,5

Д5000-32

-

Д6300-27

-

Д12500-24

Rz20,0

Rz20,0

Ra10,0

-

Рисунок 10 - Крышка сальника, (рис. 5, 7 поз. 4, 14)

Рисунок 11 - Букса сальника, (рис. 6, поз. 4, 14)

Карта дефектации и ремонта 2

Крышка сальника - рис. 10

Букса сальника - рис. 11

Количество на изделие - 2 шт.

Нормы зазоров (натягов) - таблица 5

 

Обозначение

Возможный дефект

Способ установления дефекта и контрольный инструмент

Техническое требование по чертежу

Заключение и рекомендуемый способ ремонта

Техническое требование после ремонта

-

Трещины.

Визуальный контроль.

Лупа ЛП-1-7´.

-

Замена.

Трещины не допускаются.

А

Износ.

Измерительный контроль

Скобы: СИ 100; СИ 200; СИ 300.

Диаметр - см. таблицу 8.

1. ГТН (см. 6.6.2).

2. Замена.

1. Допустимый диаметр - см. таблицу 8.

2. Допуск радиального биения А относительно оси поверхности Б 0,05 мм.

3. Параметр шероховатости поверхности - см. таблицу 8.

Таблица 8

Обозначение насоса

Крышка сальника, букса сальника

Диаметр по чертежу, мм

Допустимый диаметр, не менее, мм

Параметр шероховатости, не более

А

А

А

Д200-95

70-0,190

69,810

Rz50

Д200-36

Д320-50

Д320-70

Д500-65

99,430

Ra2,5

Д630-90

Rz50

Д800-57

Ra2,5

Д1250-65

Ra2,5

Д1250-125

151,320

Rz50

Д1600-90

Д2000-21

119,300

Ra1,6

Д2000-100

179,600

Д2500-62

159,600

Ra1,6

Д3200-33

Rz25

Д3200-75

174,600

Д4000-22

Д5000-32

Д6300-27

Д12500-24

269,490

Rz40

 

Описание: Описание: Описание: Описание: Описание: Описание: Описание: Описание: Untitled-1 copy

а) рис. 5 поз. 5, 11

б) рис. 6, 7 поз. 5, 11

Рисунок 12 - Кольцо сальника (камера водяная) (рис. 5, 6, 7, поз. 5, 11)

Карта дефектации и ремонта 3

Кольцо сальника (камера водяная) - рис. 12

Количество на изделие - 2 шт.

Нормы зазоров (натягов) - таблица 5

 

Обозначение

Возможный дефект

Способ установления дефекта и контрольный инструмент

Техническое требование по чертежу

Заключение и рекомендуемый способ ремонта

Техническое требование после ремонта

-

Трещины.

Визуальный Контроль.

Лупа ЛП-1-7´.

-

Замена.

Трещины не допускаются.

А

Износ.

Измерительный контроль.

Нутромеры: НМ 175; НИ 160-250.

Индикатор ИЧ 02 кл. 0.

Диаметр - см. таблицу 9.

1. Проточка.

2. Замена.

1. Допустимый диаметр - см. таблицу 9.

2. Допуск радиального биения А относительно кольца - 0,05 мм.

3. Параметр шероховатости поверхности не более - см. таблицу 9.

Б

Износ.

Измерительный контроль.

Скобы: СИ 100; СИ 200; СИ 300.

Штангенциркуль ШЦ-I-125-0,1-1.

Диаметр - см. таблицу 9.

1. ГТН (см. 6.6.2).

2. Замена.

1. Допустимый диаметр Б - см. таблицу 9.

2. После ГТН - см. 6.6.2.

3. Допуск радиального биения относительно оси 0,06 мм.

4. Параметр шероховатости поверхности - не более Rz 50.

В Г

Износ.

Измерительный контроль.

Штангенциркуль ШЦ-I-125-0,1-1.

-

1. Проточка.

2. Замена.

1. Допустимый размер «а» не менее - см. таблицу 9.

2. Параметр шероховатости поверхности не более - см. таблицу 9.

Примечание - Рисунок 12а - насосы Д2000-21, Д2000-100, Д2500-62, Д3200-33, рисунок 12б - остальные насосы.

Таблица 9

Обозначение насоса

Кольцо сальника, камера водяная

Диаметр по чертежу

Допустимые размеры, мм

Параметр шероховатости, не более

А

Б

Æ А, не более

Æ Б, не менее

а, не менее

А

Б

В, Г

Д200-95

56+0,740

56,740

69,660

18

Rz50

Rz50

Rz50

Д200-36

Д320-50

Д320-70

Д500-65

77+0,740

77,740

99,660

24

Rz80

Rz80

Rz80

Д630-90

22

Rz50

Rz100

Rz100

Д800-57

24

Rz80

Rz 80

Rz80

Д1250-65

Д1250-125

122+1,000

123,000

151,605

27

Rz80

Rz100

Rz100

Д1600-90

Д2000-21

88+0,870

88,870

119,300

-

Ra1,6

Rz40

Д2000-100

137+1,000

138,00

179,835

-

Д2500-62

118,5+1,00

119,500

159,200

Д3200-33

133+1,000

134,000

Rz25

Д3200-75

133+1,000

134,000

174,715

-

Д4000-22

137+1,000

138,000

174,715

30

Rz40

Д5000-32

Д6300-27

Д12500-24

222,000

269,600

60

Rz40

Rz40

Rz40

 

а) рис. 7 поз. 6, 10

Описание: Описание: Описание: Описание: Описание: Описание: Описание: Описание: Untitled-1 copy

б) рис 5 поз. 6, 10

Рисунок 13 - Грунд-букса (рис. 5 - 7, поз. 6, 10)

Карта дефектации и ремонта 4

Грунд-букса - рис. 13

Количество на изделие - по 1 шт.

Нормы зазоров (натягов) - таблица 5

 

Обозначение

Возможный дефект

Способ установления дефекта и контрольный инструмент

Техническое требование по чертежу

Заключение и рекомендуемый способ ремонта

Техническое требование после ремонта

-

Деформация, трещины.

Визуальный контроль.

Лупа ЛП-1-7´.

-

Замена.

Деформация, трещины не допускаются.

А

Износ.

Измерительный контроль.

Микрометры: МРИ 100-0,002; МРИ 200-0,002; МРИ 250-0,002.

Диаметр - см. таблицу 10.

1. Проточка.

2. Замена.

1. Допустимый диаметр - см. таблицу 10.

2. Параметр шероховатости поверхности - не более Ra2,5.

Б

Износ.

Визуальный контроль.

Лупа ЛП-1-7´.

Измерительный контроль.

Нутромеры: НМ 75; НМ 175; НМ 600.

Диаметр - см. таблицу 10.

1. Расточка.

2. Замена.

1. Допустимый диаметр - см. таблицу 10.

2. Параметр шероховатости поверхности - не более Rz 50.

В

Раковины, задиры.

Визуальный контроль.

Лупа ЛП-1-7´.

1. Зачистка.

2. Обточка.

3. Шлифование.

4. Замена.

Параметр шероховатости поверхности - не более Ra5.

Примечание - Рисунок 13а - насос Д12500-24, рисунок 13б - остальные насосы.

Таблица 10

Размеры в мм

Обозначение насоса

Грунд-букса

Диаметр по чертежу

Допустимый диаметр

не менее

не более

А

Б

А

Б

Д200-95

 

 

 

 

Д200-36

 

 

 

 

Д320-50

70-0,190

56+0,740

69,810

56,740

Д320-70

 

 

 

 

Д500-65

 

 

 

 

Д630-90

 

 

 

 

Д800-57

100-0,210

77+0,740

99,790

77,740

Д1250-65

 

 

 

 

Д1250-125

152-0,250

122+1,000

151,750

123,000

Д1600-90

Д12500-24

250-0,115

222

249,885

222,000

Рисунок 14 - Кольцо (рис. 6, поз. 15, 16)

Карта дефектации и ремонта 5

Кольцо - рис. 14

Количество на изделие - по 2 шт.

Нормы зазоров (натягов) - таблица 5

 

Обозначение

Возможный дефект

Способ установления дефекта и контрольный инструмент

Техническое требование по чертежу

Заключение и рекомендуемый способ ремонта

Техническое требование после ремонта

-

Трещины.

Визуальный контроль.

Лупа ЛП-1-7´.

-

Замена.

Трещины не допускаются.

А

Износ.

Измерительный контроль.

Скоба СИ 200.

Д2000-21

Æ  мм,

Д3200-33

Æ  мм,

Д3200-75, Д4000-22, Д5000-32, Д6300-27

Æ  мм.

1. ГТН (см. 6.6.2).

2. Замена.

1. Допустимый диаметр - не менее:

Д2000-21

Æ 119,3 мм

Д3200-33

Æ 159,6 мм

Д3200-75, Д4000-22, Д5000-32, Д6300-27

174,6 мм.

2. Параметр шероховатости поверхности - не более:

Д3200-33

Ra5

Д2000-21, Д3200-75, Д4000-22, Д5000-32, Д6300-27

Ra20.

 

Описание: Описание: Описание: Описание: Описание: Описание: Описание: Описание: Untitled-1 copy

а) рис. 5, 6 поз. 7, 8

Описание: Описание: Описание: Описание: Описание: Описание: Описание: Описание: Untitled-1 copy

б) рис. 7 поз. 7, 8

Рисунок 15 - Кольцо уплотняющее (рис. 5, 6, 7 поз. 7, 8)

Карта дефектации и ремонта 6

Кольцо уплотняющее - рис. 15

Количество на изделие - 2 шт.

Нормы зазоров (натягов) - таблица 5

 

Обозначение

Возможный дефект

Способ установления дефекта и контрольный инструмент

Техническое требование по чертежу

Заключение и рекомендуемый способ ремонта

Техническое требование после ремонта

-

Трещины.

Визуальный контроль.

Лупа ЛП-1-7´.

-

Замена.

Трещины не допускаются.

А

Износ.

Измерительный контроль.

Микрометры:

МРИ 150-0,002; МРИ 200-0,002; МРИ 250-0,002; МРИ 300-0,002; МРИ 400-0,01; МРИ 500-0,01; МРИ 700-0,01; МРИ 900-0,01.

Диаметр - см. таблицу 11.

1. ГТН (см. 6.6.2).

2. Проточка (см. 7.13.3).

3. Замена

1. Допустимый диаметр - см. таблицу 11.

2. Параметр шероховатости поверхности не более - см. таблицу 12.

Б

Е

Износ.

Визуальный контроль.

Лупа ЛП-1-7´.

Измерительный контроль.

Нутромеры:

НМ 600; НМ 1250; 100-160; 160-260.

Индикатор ИЧ 02 кл.0.

Д1250-24 Е - Æ 778,7 мм. Остальные диаметры - см. таблицу 11.

1. Расточка (см. 7.1.3.3).

2. Замена.

1. Допустимый диаметр - см. таблицу 11.

2. Допуск радиального биения Б относительно оси: Д630-90, Д1250-125, Д600-90 0,06 мм

Д12500-24 0,1 мм.

3. Допуск радиального биения Б относительно Е 0,1 мм.

4. Параметр шероховатости поверхности - не более: Д1250-24

Е - Ra2,5.

Остальные насосы: Б - см. таблицу 12.

В

Раковины (коррозионные), износ (эрозионный).

Визуальный контроль.

Лупа ЛП-1-7´.

-

1. Шлифование.

2. Проточка.

1. Допускается не более 10 зачищенных раковин диаметром не более 3,0 мм, глубиной до 2,0 мм на площади 0,01 м2.

2. Параметр шероховатости поверхности - см. таблицу 12.

Г

Износ.

Измерительный контроль.

Штангенциркуль ШЦ-II-250-0,05.

-

1. Проточка (см. 7.1.3.3).

2. Замена.

1. Допустимая величина «α» - см. таблицу 11.

2. Параметр шероховатости поверхности - см. таблицу 12.

Таблица 11

Размеры в мм

Обозначение насоса

Кольцо уплотняющее

Диаметр по чертежу

Допустимые размеры

А

Б

А, не менее

Б, не более

α, не менее

Д200-95

130-0,040

118+0,035

129,960

118,035

22,000

Д200-36

145-0,063

130+0,063

144,937

130,063

19,000

Д320-50

175-0,063

160+0160

174,937

160,160

24,000

Д320-70

160+0,040

142+0,100

160,000

142,100

21,000

Д500-65

230-0,115

210+0,115

229,875

210,115

11,670

Д630-90

33,000

Д800-57

260-0,130

235+0,115

259,870

235,115

11,670

Д1250-65

275-0,130

260+0,130

274,870

260,130

Д1250-125

330-0,140

300+0,130

329,860

300,130

37,000

Д1600-90

305-0,130

285+0,130

304,870

285,130

Д2000-21

370-0,120

335+0,100

369,880

335,100

-

Д2000-100

410-0,120

380+0,120

409,880

380,120

-

Д2500-62

400-0,120

375+0120

399,880

375,120

-

Д3200-33

-

Д3200-75

440-0,120

410+0,120

439,880

410,120

-

Д4000-22

610-0,200

560+0,450

609,800

560,450

-

Д5000-32

610-0,140

500+0,760

609,860

500,760

-

Д6300-27

610-0,175

560+0,450

609,825

560,450

-

Д12500-24

890-0,230

820+0,220

889,770

820,220

-

Таблица 12

Обозначение насоса

Кольцо уплотняющее

Параметр шероховатости поверхности

А

Б

В

Г

Д200-95

Rz20

Rz20

Rz200

Rz50

Д200-36

Д320-50

Д320-70

Д500-65

-

Ra2,5

Rz40

-

Д630-90

Rz20

Ra1,6

Rz200

-

Д800-57

-

Ra2,5

Rz40

-

Д1250-65

-

Ra2,5

Rz50

Д1250-125

Rz20

Ra1,6

Rz200

-

Д1600-90

Rz20

-

Д2000-21

Ra1,6

Rz50

Rz20

Д2000-100

Rz50

Д2500-62

Rz80

Д3200-33

Rz50

Д3200-75

Д4000-22

Rz20

Ra2,5

Rz40

Д5000-32

Rz80

Д6300-27

Rz40

Д12500-24

Rz80

-

7.1.3 Требования к отремонтированному корпусу (рисунки 5 - 7)

7.1.3.1 Сборку насоса необходимо производить в соответствии с требованиями ТУ 26-06-1186 [1].

7.1.3.2 Корпус поз. 1 в сборе с крышкой поз. 9 необходимо подвергнуть гидравлическому испытанию водой в режиме, указанном в таблице 13. Давление контролировать манометром класса точности 1,0.

Таблица 13

Обозначение насоса

Режим испытания

Давление, МПа (кгс/см2)

Продолжительность, мин.

Д200-95

1,5 (14,7)

10

Д200-36

Д320-50

Д320-70

Д500-65

1,46 (14,31)

10

Д630-90

2,40 (23,52)

5

Д800-57

1,46 (14,30)

10

Д1250-65

Д1250-125

2,40 (23,52)

5

Д1600-90

Д2000-21

1,00 (9,80)

10

Д2000-100

Д2500-62

Д3200-33

Д3200-75

Д4000-22

0,80 (7,84)

10

Д5000-32

Д6300-27

Д12500-24

0,40 (3,92)

10

7.1.3.3 После расточки поверхностей уплотняющего кольца поз. 7, 8 и сопряженных с ними поверхностей корпуса поз. 1 необходимо установить защитные кольца толщиной не менее 2,0 мм на пояски рабочего колеса.

Для сопряжённых поверхностей должна быть обеспечена посадка:

Н7/s7 - насос Д12500-24;

Н7/u8 - насосы Д4000-22, Д6300-27.

После расточки наружных поверхностей уплотняющего кольца при зазоре в сопряжении «корпус насоса - кольцо уплотняющее» более 0,44 мм (насос Д12500-24) и 0,50 мм (насосы Д4000-22, Д6300-27) допускается установка разрезного кольца, изготовленного из стали или латуни по ГОСТ 2208, толщиной от 0,2 до 0,8 мм, обеспечив в сопряжении натяг от минус 0,05 до минус 0,10 мм.

7.1.3.4 После фрезерования поверхности Ж необходимо провести расточку поверхностей Г, В, Д. И, К. Корпус следует растачивать в сборе с крышкой. При этом необходимо положить по разъёму прокладку, изготовленную из прессшпана и толщиной, указанной в таблице 14.

Таблица 14

Обозначение насоса

Толщина прокладки, мм

Д500-65, Д800-57, Д1250-65

0,6

Д4000-22, Д6300-27, Д12500-24

1,0

Д2500-62, Д5000-32

Св. 1,0 до 2,0 включ.

7.2 Узлы опор

7.2.1 Зазоры (натяги) между составными сопряжёнными частями узлов опор (рисунки 16 - 19) должны быть в пределах норм, приведенных в таблице 15.

7.2.2 Дефектацию и ремонт сопряженных деталей узлов опор (крышек и корпусов подшипника, стакана подшипника) деталей, необходимо проводить в соответствии с картами дефектации и ремонта 7 - 11.

а) опорно-упорный узел (рис. 1, поз. 12)

б) упорный узел (рис. 1, поз. 6)

1, 12 - гайка; 2, 13 - шайба; 3, 10 - подшипник; 4 - крышка подшипника пяты; 5 - стакан подшипника пяты; 6 - вал; 7, 8 - втулка упорная; 9 - стакан подшипника; 11 - крышка подшипника; а, б, в ... - обозначение сопряжения

Рисунок 16 - Узлы опор насосов Д200-95, Д200-36, Д320-50, Д320-70, Д500-65, Д630-90, Д800-57, Д-1250-65, Д1250-125, Д1600-90

1, 9 - корпус подшипника; 2, 5, 7, 11 - крышка подшипника; 3, 6 - подшипник; 8 - вал; 10 - корпус насоса; 12 - кольцо упорное

а) рис. 2 поз. 12, 6 - для насосов Д2000-100; Д2500-62; Д3200-33; Д3200-75;

б) опорный узел - для насоса Д2000-21

Рисунок 17 - Узлы опор насосов Д2000-21, Д2000-100, Д2500-62, Д3200-33, Д3200-75

а) рис. 3, поз. 12

б) рис. 3, поз. 6

1, 9 - корпус подшипника; 3, 6 - подшипник; 5, 11 - крышка подшипника; 8 - вал; 10 - корпус насоса

Рисунок 18 - Узлы опор насосов Д4000-22, Д5000-32, Д6300-27

а) рис. 4, поз. 12

б) рис. 4, поз. 6

1, 9 - корпус подшипника; 3, 6 - подшипник; 5, 11 - крышка подшипника; 8 - вал; 10 - корпус насоса

Рисунок 19 - Узлы опор насоса Д12500-24

Таблица 15 - Нормы зазоров (натягов) для узлов опор насоса

Обозначение сопряжения

Позиция сопряженной составной части

Название сопряженной составной части

Обозначение чертежа (нормативного документа) составной части

Размер составной части по чертежу, мм

Зазор (+), натяг (-), мм, допустимый после капитального ремонта

номинальное значение

предельное отклонение

Насосы Д200-95, Д200-36, Д320-50, Д320-70, Д500-65, Д630-90, Д800-57, Д1250-65, Д1600-90 (см. рисунок 16)

а

5

Стакан подшипника пяты

Д200-95

Д200-36

Д320-50

Д320-70

0603.403372.0001

Æ 80

+0,015

Д200-95,

Д200-36,

Д320-50,

Д320-70

Д500-65

Д630-90

Д800-57

Д1250-65

Н03.629.01.01.008

Æ 130

+0,020

+0,061

-0,015

Д500-65,

Д630-90,

Д1250-125

Д1600-90

Н03.649.01.01.008

Æ 190

+0,023

Д800-57,

Д1250-65

4

Крышка подшипника пяты

Д200-95

Д200-36

Д320-50

Д320-70

0603.403314.0001

Æ 80

-0,046

+0,120

-0,020

Д1250-125,

Д500-65

Д630-90

Д800-57

Д1250-65

Н03.629.01.01.007

Æ 130

-0,100

Д1600-90

+0,138

-0,023

Д1250-125

Д1600-90

Н03.649.01.01.007

Æ 190

-0,115

5

Стакан подшипника пяты

 

 

Д500-65

Д630-90

Д800-57

Д200-95

Д200-36

Д320-50

Д320-70

0603.403372.0001

Æ 80

+0,015

-0,015

Д200-95

Д200-36

Д320-50

Д320-70

Д500-65

Д630-90

Д800-57

Д1250-65

Н03.629.01.01.008

Æ 130

+0,020

-0,020

+0,030

-0,019

Д1250-125

Д1600-90

Н03.649.01.01.008

Æ 190

+0,023

-0,023

Д500-65

Д630-90

Д800-57

3

Подшипник

 

б

Д200-95

Д200-36

Д320-5

Д320-70

307 ГОСТ 8338

Æ 80

+0,004

-0,015

Д1250-65

+0,041

-0,026

Д500-65

Д630-90

Д800-57

Д1250-65

312 ГОСТ 8338

Æ 130

+0,006

-0,021

Д1250-125

Д1600-90

+0,047

-0,028

Д1250-125

Д1600-90

318 ГОСТ 8338

Æ 190

+0,005

-0,024

5

Стакан подшипника пяты

 

 

 

Д200-95

Д200-36

Д320-50

Д320-70

0603.403372.0001

Æ 45,4

+0,160

Д200-95

Д200-36

Д320-50 Д320-70

Д500-65

Д630-90

Д800-57

Д1250-65

Н03.629.01.01.008

Æ 75

+0,190

+1,180

+0,400

Д1250-125

Д1600-90

Н03.649.01.01.008

Æ 106

+0,220

Д500-65

Д630-90

Д800-57

Д1250-65

в

7

Втулка упорная

Д200-95

Д200-36

Д320-50

Д320-70

0603.403141.0010

Æ 45

-0,620

+1,430

+0.500

Д1250-125

Д1600-90

Д500-65

Д630-90

Д800-57

Д1250-65

Н03.629.01.01.005

Æ 74,5

-0,740

+2,090

+1,000

Д1250-125

Д1600-90

Н03.649.01.01.005

Æ 105

-0,870

9

Стакан подшипника

Д200-95

Д200-36

Д320-50

Д320-70

0603.403352.0001

Æ 45,4

+0,160

Д200-95

Д200-36

Д320-50

Д320-70

Д500-65

Д630-90

Д800-57

Д1250-65

Н03.629.01.01.006

Æ 75

+0,190

+1,180

+0,400

Д500-65

Д630-90

Д800-57

Д1250-65

+1,430

+0,500

Д1250-125

Д1600-90

+2,090

+1,000

г

Д1250-125

Д1600-90

Н03.649.01.01.006

Æ 106

+0,220

8

Втулка упорная

Д200-95

Д200-36

Д320-50

Д320-70

0603.403141.0010

Æ 45

-0,620

Д500-65

Д630-90

Д800-57

Д1250-65

Н03.629.01.01.005

Æ 74,5

-0,740

Д1250-125

Д1600-90

Н03.649.01.01.005

Æ 105

-0,870

9

Стакан подшипника

Д200-95

Д200-36

Д320-50

Д320-70

0603.403352.0001

Æ 80

+0,015

Д200-95

Д200-36

Д320-50

Д320-70

+0,030

-0,019

Д500-65

Д630-90

Д800-57

Д1250-65

+0,041

-0,026

Д1250-125

Д1600-90

+0,047

-0,028

Д500-65

Д630-90

Д800-57

Д1250-65

Н03.629.01.01.006

Æ 130

+0,020

Д1250-125

Д1600-90

Н03.649.01.01.006

Æ 190

+0,023

д

10

Подшипник

Д200-95

Д200-36

Д320-50

Д320-70

307 ГОСТ 8338

Æ 80

+0,004

-0,015

Д500-65

Д630-90

Д800-57

312 ГОСТ 8338

Æ 130

+0,005

-0,021

Д1250-65

Д1250-125

Д1600-90

318 ГОСТ 8338

Æ 190

+0,005

-0,024

9

Стакан подшипника

Д200-95

Д200-36

Д320-50

Д320-70

0603.403352.0001

Æ 80

+0,015

Д200-95

Д200-36

Д320-50

Д320-70

+0,089

-0,015

Д500-65

Д630-90

Д800-57

Д1250-65

Н03.629.01.01.006

Æ 130

+0,020

Д500-65

Д630-90

Д800-57 Д1250-65

+0,120

-0,020

Д1250-125

Д1600-90

+0,138

-0,023

е

Д1250-125

Д1600-90

Н03.649.01.01.006

Æ 190

+0,023

11

Крышка подшипника

Д200-95

Д200-36

Д320-50

Д320-70

0603.403344.0002

Æ 80

-0,074

Д500-65

Д800-57

Д1250-65

Н03.629.01.01.017

Æ 130

-0,100

Д630-90

Н03.629.01.01.018

Æ 130

-0,100

Д1250-125

Д1600-90

Н03.649.01.01.017

Æ 190

-0,115

11

Крышка подшипника

Д200-95

Д200-36

Д320-50

Д320-70

0603.403344.0002

Æ 36

+0,160

Д200-95

Д200-36

Д320-50

Д320-70

+1,180

+0,400

Д500-65

Д800-57

Д1250-65

Н03.629.01.01.017

Æ 59

+0,190

Д630-90

Н03.629.01.01.018

Æ 59

+0,190

Д1250-125

Н03.649.01.01.017

Æ 82

+0,220

Д1600-90

Н03.649.01.01.017

Æ 82,0

+0,220

Д500-65

Д630-90

Д800-57

Д1250-65

+2,930

+2,000

Д1250-125

Д1600-90

+1,090

6

Вал

Д200-95

Д200-36

Д320-50

Д320-70

0603.401613.0001

Æ 35,6

-0,620

Д500-65

Д630-90

Д800-57

Н03.630.01.01.012

Æ 57,0

-0,740

Д1250-65

Н03.630.01.01.012

Æ 57,0

-0,740

Д1250-125

Д1600-90

Н03.649.01.01.012

Æ 82,0

-0,870

Насосы Д2000-21, Д2000-100, Д2500-62, Д3200-33, Д3200-75 (см. рисунок 17); Д4000-22, Д5000-32, Д6300-27, Д12500-24 (см. рисунки 18, 19)

 

а

1, 9

Корпус подшипника

Д2000-100

Д2500-62

Д3200-33

Д3200-75

Н06.004.20.01-II

Æ 190,0

+0,046

Д2000-100

Д2500-62

Д3200-33

Д3200-75

+0,241

+0,075

11

Кольцо упорное

Д2000-100

Д2500-62

Д3200-33

Д3200-75

Н06.009.35.03

Æ 190,0

-0,075

-0,195

1, 9

Корпус подшипника

Д2000-21

+0,205

+0,060

Д2000-100

Д2500-62

Д3200-33

Д2000-21

Н06.011.30.01

Æ 130

+0,040

Д2000-100

Д2500-62

Д3200-33

Д3200-75

Н06.004.20.01-II

Æ 190

+0,046

Д4000-22

Д5000-32

Д6300-27

В-4025; В-4026

Æ 190

+0,046

Д12500-24

Б-13288; Б-13289

Æ 290

+0,069

+0,017

Д3200-75

б, г, е, к

2, 11, 5, 7

Крышка подшипника

+0,241

+0,075

Д4000-22

Д5000-32

Д6300-27

+0,136

Д12500-24

+0,180

+0,026

Д2000-21

Н06.011.40.01-01

Н06.011.40.02-01

Н06.011.30.03-01

Н06.011.30.04-01

Æ 130

-0,060

-0,165

Д2000-100

H06.009.30.01-II

Н06.009.30.01-01/1

Æ 190

-0,075

-0,195

Д2500-62

Н06.009.30.01 Н06.009.40.01 Н06.009.40.01-II Н06.009.30.01

Æ 190

-0,075

-0,195

Д3200-33

Н06.009.30.01-01-II

Н06.009.40.01-II

H06.009.30.01-II

Н06.009.40.01-II

Æ 190

-0,075

-0,195

Д3200-75

H06.009.30.01-II

Н06.009.40.01-II-01

Н06.009.40.01-II-01

Н06.009.30.01-01/II

Æ 190

-0,075

-0,195

Д4000-22

Д5000-32

Д6300-27

Д-12507

Æ 190

-0,090

Д12500-24

Г-13290; Г-14085

Æ 290

-0,081

1, 9

Корпус подшипника

Д2000-21

Н06.01.30.01

Æ 130

+0,040

Д2000-21

+0,055

Д2000-100

Д2500-62

Д3200-33

Д3200-75

Д4000-22

Д5000-32

Д6300-27

Д2000-100

Д2500-62

Д3200-33

Д3200-75

H06.01.004.20.01-II

Æ 190

+0,046

Д4000-22

Д5000-32

Д6300-27

В-4025, В-4026

Æ 190

+0,046

Д12500-24

В-13288

Æ 290

+0,069

+0,400

+0,076

Д12500-24

+0,115

+0,026

в. ж

3, 6

Подшипник

Д2000-21

312 ГОСТ 8338

Æ 130

-0,015

Д2000-100

Д2500-62

Д3200-33

Д3200-75

Д4000-22

Д5000-32

Д6300-27

318 ГОСТ 8338

Æ 190

-0,030

Д12500-24

3532 ГОСТ 5721

Æ 290

-0,035

10

Корпус насоса

Д2000-21

+3,200

+2,000

Д2000-100

Д2500-62

Д3200-75

+1,960

+1,000

Д3200-33

+1,770

+1,000

Д4000-22

Д5000-32

Д6300-32

+0,240

Д12500-24

+0,400

Д2000-21

Н06.011.20.01

Æ 202

+0,600

Д2000-100

Н06.010.20.01

Æ 400

+0,760

Д2500-62

Н06.009.20.01

Æ 400

+0,760

Д3200-33

Б-6823

Æ 400

+0,570

Д3200-75

Б-6794

Æ 400

+0,760

Д4000-22

Д5000-32

Д6300-32

Б-0862

Æ 400

+0,120

Д12500-24

Б310-7

Æ 720

+0,200

д, и

1, 9

Корпус подшипника

Д2000-21

Н06.011.30.01

Æ 200

-0,600

Д2000-100

Д2500-62

Д3200-33

Д3200-75

Н06.004.20.01-II

Æ 399

-0,200

Д4000-22

Д5000-32

Д6300-32

В-4025

Æ 400

-0,120

Д12500-24

Б13288

Æ 718

±0,500

 

Описание: Описание: Описание: Описание: Описание: Описание: Описание: Описание: Untitled-1 copy

а) рис. 16, поз. 5

Д200-95, Д200-36, Д320-50, Д320-70

Описание: Описание: Описание: Описание: Описание: Описание: Описание: Описание: Untitled-1 copy

б) рис. 16, поз. 9

Д200-95, Д200-36, Д320-50, Д329-70, Д500-65, Д630-90, Д800-57, Д1250-65, Д1250-125, Д1600-90

Рисунок 20 - Стакан подшипника пяты, стакан подшипника (рис. 16, поз. 5, 9)

Карта дефектации и ремонта 7

Стакан подшипника пяты, стакан подшипника - рис. 20

Количество на изделие - по 1 шт.

Нормы зазоров (натягов) - таблица 15

 

Обозначение

Возможный дефект

Способ установления дефекта и контрольный инструмент

Техническое требование по чертежу

Заключение и рекомендуемый способ ремонта

Техническое требование после ремонта

А, Б

Трещины.

Визуальный контроль. Лупа ЛП-1-7´.

Измерительный контроль. Штангенциркуль

ШЦ-I-125-0,1-1.

Размер «α» - см. таблицу 16.

1. Проточка.

2. Шлифование

3. Замена.

Трещины не допускаются.

1. Допустимый размер «α» - см. таблицу 16.

2. Допуск торцового биения поверхности Б относительно оси поверхности Г:

Д500-65, Д630-90, Д800-57, Д1250-65 Д1250-125, Д1600-90

0,05 мм

Д1250-125, Д1600-90

0,07 мм.

3. Параметр шероховатости поверхности не более - см. таблицу 16.

В, Г, Е

Износ.

Измерительный контроль. Нутромеры:

50 - 100;

100 - 160;

160 - 260.

Штангенциркуль ШЦ-II-160-0,05.

Диаметр Г - см. таблицу 16.

Д200-95, Д200-36, Д320-50, Д320-70

В - Æ 45+0,160 мм,

Е - Æ 46+0,660 мм,

Д500-65, Д630-90, Д800-57, Д1250-65

В - Æ 75+0,190 мм,

Е - Æ 77+0,390 мм,

Д1250-125, Д1600-90

В - Æ 106+0,220 мм,

Е - Æ 108+0,620 мм.

1. Расточка.

2. ГТН (см. 6.6.2).

3. Шлифование.

1. Допустимый диаметр не более:

Д200-95, Д200-36, Д320-50, Д320-70

В - Æ 45,160 мм;

Е - Æ 46,660 мм

Д500-65, Д630-90, Д800-57, Д1250-65

В - Æ 75,190 мм;

Е - Æ 77,390 мм

Д1250-125, Д1600-90

В - Æ 106,220 мм;

Е - Æ 108,620 мм.

2. Параметр шероховатости поверхностей - не более:

В - Rz40;

Г - Ra1,6.

Д

Износ, увеличенное радиальное биение.

Измерительный контроль.

Штангенциркуль ШЦ-II-250-0,1.

Микрометры: МРИ 1500,002; МРИ 2000,002.

Индикатор ИЧ 02 кл.0.

См. таблицу 16.

1. Обтачивание.

2. ГТН (см. 6.6.2).

3. Замена.

1. Допустимый диаметр - см. таблицу 15.

Д500-65, Д630-90, Д800-57, Д1250-65 Д1250-125, Д1600-90

В - Rz40;

Г - Ra2,5.

2. Допуск радиального биения поверхности Д относительно оси поверхности Г

Д200-95, Д200-36, Д320-50, Д320-70 0,04 мм

Д500-65, Д630-90, Д800-57, Д1250-65, Д1250-125, Д1600-90

0,06 мм.

3. Шероховатость поверхности не более - см таблицу 16.

Таблица 16

Обозначение насоса

Стакан подшипника пяты, стакан подшипника

Размер по чертежу, мм

Допустимый размер, мм

Параметр шероховатости, мкм, не более

Æ Г

Æ Д

не более

не менее

А

Б

Д

«α»

Æ Г

Æ Д

Д200-95

Д200-36

Д320-50

Д320-70

80+0,015

110-0,087

34,030

80,015

109,913

Rz12,5

Д500-65

Д630-90

Д800-57

Д1250-65

(поз. 5)

130+0,020

46,000

130,020

149,430

Rz40

Ra2,5

Rz40

Д500-65

Д630-90

Д800-57

Д1250-65

(поз. 9)

150-0,100

149,900

Д1250-125

Д1600-90

190+0,023

215-0,115

53,000

190,023

214,875

Rz40

Ra2,5

Rz40

Описание: Описание: Описание: Описание: Описание: Описание: Описание: Описание: Untitled-1 copy

а) Д200-95, Д200-36, Д320-50, Д320-70; б) Д500-65, Д630-90, Д800-57, Д1250-65, Д1250-125, Д1600-90; в) Д2000-21, Д2000-100, Д2500-62, Д3200-33, Д3200-75; Д5000-32; г) Д4000-22; Д6300-27; д) Д12500-24

Рисунок 21 - Крышка подшипника пяты, крышка подшипника (рис. 16, поз. 4; рис. 17, поз. 2, 5, 7, 11; рис. 18, 19, поз. 5, 11)

Карта дефектации и ремонта 8

Крышка подшипника пяты, крышка подшипника - рис. 21

Количество на изделие - по 1 шт.

Нормы зазоров (натягов) - таблица 15

 

Обозначение

Возможный дефект

Способ установления дефекта и контрольный инструмент

Техническое требование по чертежу

Заключение и рекомендуемый способ ремонта

Техническое требование после ремонта

-

Трещины.

Визуальный контроль.

Лупа ЛП-1-7´.

-

Замена.

Трещины не допускаются.

А

Износ.

Измерительный контроль.

Микрометры: МР 100; МРИ 150-0,002; МРИ 200-0,002; МРИ 300-0,002.

Диаметр А - см. таблицу 17.

1. Проточка.

2. ГТН (см. 6.6.2).

2. Замена.

1. Допустимый диаметр не менее - см. таблицу 18.

2. Допуск радиального биения А относительно оси Д 0,05 мм.

3. Параметр шероховатости поверхности - см. таблицу 17.

Б, В

Износ.

Измерительный

контроль.

Штангенциркуль ШЦ-I-125-0,1-1.

Размер «α» - см. таблицу 17.

1. Проточка.

2. Шлифование.

3. Замена.

1. Допустимый размер «α», «δ» - см. таблицу 17.

2. Допуск торцового биения В относительно оси А:

Д2000-21 0,05 мм

Д2000-100, Д250062, Д3200-33, Д3200-75 0,04 мм.

3. Параметр шероховатости поверхностей - не более - см. таблицу 17.

Д, Е

Износ.

Измерительный контроль.

Штангенциркуль ШЦ-II-250-0,05.

См. таблицу 17.

1. Расточка.

2. Замена.

1. Допустимый диаметр - см. таблицу 17.

2. Параметр шероховатости поверхностей - см. таблицу 17.

Таблица 17

Обозначение насоса

Крышка подшипника, крышка подшипника пяты

Размер по чертежу, мм

Допустимый размер, мм

Параметр шероховатости, мкм, не более

Æ А

Æ Д

Æ Е

«α» не менее

«δ» не более

Æ А

Æ Д

Æ Е

А

Б, В, Д, Е

Д200-95,

Д200-36,

Д320-50,

Д320-70

80-0,046

-

-

9,0

-

79,952

-

-

Ra1,6

Б, В - Rz50

Д630-90,

Д500-65,

Д800-57, Д1250-65

130-0,100

-

-

9,0

8,0

8,0

8,0

-

129,900

-

-

Ra2,5

Б - Rz80

Д1250-125, Д1600-90

Æ 190-0,115

-

-

189,885

Д2000-21,

-

-

-

4,5

130,835

-

-

Ra3,2

В - Ra3,2

Д2000-100, Д2500-62, Д3200-33, Д3200-75

-

-

189,805

-

-

Д4000-22, Д6300-27

190-0,090

122

137

-

189,910

126

139

Ra2,5

Д, Е - Ra2,5

Д12500-24

290-0,081

202

232

-

289,919

204

234

Rz 20

Д, Е - Rz20

а) Д200-95, Д200-36, Д320-50, Д320-70; б) Д630-90, Д500-65, Д800-57, Д1250-65, Д1250-125, Д1600-90

Рисунок 22 - Крышка подшипника (рис. 16, поз. 11)

Карта дефектации и ремонта 9

Крышка подшипника - рис. 22

Количество на изделие - 1 шт.

Нормы зазоров (натягов) - таблица 15

 

Обозначение

Возможный дефект

Способ установления дефекта и контрольный инструмент

Техническое требование по чертежу

Заключение и рекомендуемый способ ремонта

Техническое требование после ремонта

-

Трещины.

Визуальный контроль.

Лупа ЛП-1-7´.

-

Замена.

Трещины не допускаются.

А, Г

Износ.

Измерительный контроль.

Нутромер 50 - 100.

Штангенциркуль ШЦ-II-160-0,05.

Диаметры: Д630-90

А - Æ 59,0 мм;

Г - Æ 60,5 мм.

Д1250-125

Д1600-90

А - Æ 82,0 мм;

Г - Æ 83,5 мм.

1. Расточка.

2. Замена.

1. Допустимый диаметр: Д500-65, Д630-90, Д800-57, Д1250-65

А - Æ 59,100 мм;

Г - Æ 61,390 мм

Д1250-125

Д1600-90

А - Æ 82,220 мм;

Г- Æ 84,620 мм.

2. Параметр шероховатости поверхности А - не более Rz40.

Б

Износ.

Измерительный контроль.

Микрометры: МРИ 150-0,002, МРИ 200-0,002.

Скоба СИ 100.

Диаметры:

Д200-95

Д200-36

Д329-50

Д320-70

80-0,074 мм,

Д500-65

Д630-90

Д800-57

Д1250-65

130-0,100 мм,

Д1250-125

Д1600-90

190-0,115 мм.

1. Проточка.

2. Замена.

1. Допустимый диаметр не менее: Д200-95, Д200-36, Д329-50, Д320-70

79,926 мм

Д500-65, Д630-90, Д800-57, Д1250-65

129,900 мм

Д1600-90

189,885 мм.

2. Параметр шероховатости поверхности - не более:

Д200-95, Д200-36, Д329-50, Д320-70

Rz50

Д500-65, Д630-90, Д800-57, Д1250-65, Д1600-90

Ra2,5.

В

Износ.

Измерительный контроль.

Штангенциркуль ШЦ-I-125-0,01-1.

1. Проточка.

2. Замена.

1. Допустимый размер «α» - не менее:

Д200-95, Д200-36, Д329-50, Д320-70

9,0 мм,

Д500-65, Д630-90, Д800-57, Д1250-65

8,0 мм,

Д1250-125, Д1600-90

10,0 мм.

2. Параметр шероховатости поверхности - не более:

Д200-95, Д200-36, Д329-50, Д320-70

Rz50,

Д500-65, Д630-90, Д800-57, Д1250-65

Д1250-125, Д1600-90

Rz80.

Описание: Описание: Описание: Описание: Описание: Описание: Описание: Описание: Untitled-1 copy

а) насос Д 2000-21; б) насосы Д2000-100, Д2500-62, Д3200-33, Д3200-75; в) насосы Д4000-22, Д5000-32, Д6300-27; г) насос Д12500-24

Рисунок 23 - Корпус подшипника (рис. 17, поз. 1, 9)

Карта дефектации и ремонта 10

Корпус подшипника - рис. 23

Количество на изделие - по 2 шт.

Нормы зазоров (натягов) - таблица 15

 

Обозначение

Возможный дефект

Способ установления дефекта и контрольный инструмент

Техническое требование по чертежу

Заключение и рекомендуемый способ ремонта

Техническое требование после ремонта

-

Трещины.

Визуальный контроль.

Лупа ЛП-1-7´.

ЦД.

-

Замена.

Трещины не допускаются.

А,

Е,

Ж

Износ.

Измерительный

контроль.

Нутромеры: НМ 175; НМ 600.

Диаметры:

Д2000-21

А - 130+0,040 мм,

Д2000-100

Д2500-62

Д3200-33

Д3200-75

А - 190+0,046 мм,

Д5000-32

А - 215+0,046 мм,

Д4000-22

Д6300-32

А - 190+0,046 мм;

Е - 117 мм;

Ж - 102 мм

Д12500-24

А - 290+0,069+0,017 мм;

Е - 202,0 мм;

Ж - 202,0 мм.

1. ГТН (см. 6.6.2).

2. Установка стальной втулки насосы: Д2000-100, Д2500-62, Д3200-33, Д3200-75.

3. Замена.

1. Допустимый диаметр - не более:

Д2000-21

А - 130,040 мм

Д2000-100, Д2500-62, Д3200-33, Д3200-75

А - 190,046 мм

Д5000-32

А - 215,046 мм

Д4000-22, Д6300-32

А - 190,046 мм

Д12500-24

А - 290,080 мм.

2. Параметр шероховатости поверхностей - не более:

Д2000-21,

Д2000-100,

Д2500-62,

Д3200-33,

Д3200-75,

Д5000-32

А - Ra1,6

Д4000-22, Д6300-32

А, Ж - Ra2,5;

Е - Rz40

Д12500-24

А - Ra2,5;

Е, Ж - Rz20.

Б

Износ.

Измерительный контроль. Штангенциркули:

ШЦ-II-250-0,05;

ШЦ-III-400-0,1;

ШЦ-III-250-800-0,1.

Д2000-21

Æ 200-0,600 мм,

Д2000-100, Д2500-62, Д3200-33, Д3200-75

Æ 399-0,200 мм, Д5000-32, Д4000-22, Д6300-32

Æ 400-0,120 мм

Д12500-24

Æ 718 ± 0,500 мм.

1. ГТН.

2. Замена.

1. Допустимый диаметр - не менее:

Д2000-21

199,400 мм;

Д2000-100

Д2500-62

Д3200-33,

Д3200-75

398,800 мм

Д5000-32

Д4000-22

Д6300-32

399,880 мм;

Д12500-24

718,800 мм.

2. Допуск радиального биения Б относительно оси поверхности А 0,1 мм.

3. Параметр шероховатости поверхности - не более:

Д2000-21

Д2000-100

Д2500-62

Д3200-33

Д3200-75

Ra6,3;

Д5000-32, Д4000-22, Д6300-32, Д12500-24

Rz20.

В,

Г,

И

Износ, увеличенное торцовое биение.

Измерительный контроль.

Индикатор ИЧ 02 кл.0.

-

1. Проточка.

2. Замена.

1. Допуск торцового биения Г относительно оси поверхности А:

Д4000-22, Д6300-32 0,05 мм.

2. Допуск торцового биения В, И относительно поверхности Д:

Д12500-24 0,08 мм.

3. Параметр шероховатости поверхности - не более:

Д4000-22, Д6300-32

В - Rz40;

Г - Д12500-24

В - Rz20;

И - Ra2,5.

Д

Отклонение от плоскостности

.

Проверка «по краске».

Измерительный контроль.

Набор щупов №1.

Допуск плоскостности 0,03 мм.

1. Шабрение.

2. Фрезерование.

3. Замена.

1. Толщина фланца крышки корпуса не менее: Д4000-22, Д6300-32

25,0 мм

Д12500-24

43,0 мм.

2. Пятна краски должны располагаться равномерно и занимать не менее 70 % контролируемой поверхности.

Рисунок 24 - Кольцо упорное (рис. 17, поз. 12)

Карта дефектации и ремонта 11

Кольцо упорное - рис. 24

Количество на изделие - 1 шт.

Нормы зазоров (натягов) - таблица 15

 

Обозначение

Возможный дефект

Способ установления дефекта и контрольный инструмент

Техническое требование по чертежу

Заключение и рекомендуемый способ ремонта

Техническое требование после ремонта

-

Трещины.

Визуальный контроль.

-

Замена.

-

А

Износ.

Измерительный

контроль.

Микрометр МРИ 200-0,002.

Диаметр

Д2000-100

Д2500-62

Д3200-33

Д3200-75

Æ  мм.

1. ГТН (см. 6.6.2).

2. Замена.

1. Допустимый диаметр - не менее:

Д2000-100, Д2500-62, Д3200-33, Д3200-75

Æ 189,805 мм.

2. Параметр шероховатости поверхности - не более Rz12,5.

7.3 Ротор

7.3.1 Зазоры (натяги) между составными сопряжёнными частями собранного ротора (рисунки 25 - 29) должны быть в пределах норм, приведенных в таблице 18.

7.3.2 Дефектацию и ремонт сопряжённых деталей ротора (вала, рабочего колеса, втулок) необходимо проводить в соответствии с картами дефектации и ремонта 12 - 17.

1, 13, 16, 21 - гайка, 2, 15 - подшипник, 3, 14 - втулка упорная, 4 - вал, 5, 12 - втулка защитная, 6, 11 - втулка направляющая, 7, 9 - кольцо уплотняющее, 8 - колесо рабочее, 10, 17, 23, 24 - шпонка, 18 - полумуфта, 19, 22 - отбойник; а, б, в ... - обозначение сопряжения

Рисунок 25 - Ротор (насосы Д200-95, Д200-36, Д320-50, Д320-70)

1, 13, 16, 21 - гайка; 2, 15 - подшипник; 3, 14 - втулка упорная; 4 - вал; 5, 12 - втулка защитная; 6, 11 - втулка направляющая; 7, 9 - кольцо уплотняющее; 8 - колесо рабочее; 10, 17, 25, 26 - шпонка; 18 - полумуфта; 19, 22 - кольцо отбойное (маслоотражатель); а, б, в ... - обозначение сопряжения

Рисунок 26 - Ротор (насосы Д500-65, Д630-90, Д800-57, Д1250-65, Д1250-125, Д1600-90)

а) Д2000-21; б) Д2000-100, Д2500-62, Д3200-75

1, 21 - гайка; 2, 15 - подшипник; 4 - вал; 5, 12, 27, 28 - втулка защитная; 7, 9 - кольцо уплотняющее; 8 - колесо рабочее; 10, 17, 23 - шпонка; 18 - полумуфта; а, б, в ... - обозначение сопряжения

Рисунок 27 - Ротор (насосы Д2000-21, Д2000-100, Д2500-62, Д3200-33, Д3200-75)

1, 16 - гайка; 2, 15 - подшипник; 3, 14 - втулка упорная; 4 - вал; 5, 12, 27, 28 - втулка защитная; 7, 9 - кольцо уплотняющее; 8 - колесо рабочее; 10, 17, 23 - шпонка; 18 - полумуфта; 22 - маслоотражатель; а, б, в ... - обозначение сопряжения

Рисунок 28 - Ротор (насосы Д4000-22, Д5000-32, Д6300-27)

1, 16, 21 - гайка; 2,15 - подшипник; 3, 14 - втулка конусная; 4 - вал; 5, 12 - втулка; 7, 9 - кольцо уплотняющее; 29, 30 - кольцо защитное; 8 - колесо рабочее; 10, 17, 23, 24 - шпонка; 18 - полумуфта; 22 - кольцо уплотнительное; 27, 28 - втулка защитная; а, б, в ... - обозначение сопряжения

Рисунок 29 - Ротор (насос Д12500-24)

Таблица 18 - Нормы зазоров (натягов) для ротора

Обозначение сопряжения

Позиция сопряженной составной части

Название сопряженной составной части

Обозначение чертежа (нормативного документа) составной части

Размер составной части по чертежу, мм

Зазор (+), натяг (-), мм, допустимый после капитального ремонта

номинальное значение

предельное отклонение

Насосы: Д200-95, Д200-36, Д320-50, Д320-70 (см. рисунок 25); Д500-65, Д630-90, Д800-57, Д1250-65, Д1250-125, Д1600-90 (см. рисунок 26); Д2000-21, Д2000-100, Д2500-62, Д3200-33, Д3200-75, Д5000-32 (см. рисунок 27); Д4000-22, Д6300-27 (см. рисунок 28); насос Д12500-24 (см. рисунок 29)

2; 15

Подшипник

Д200-95

Д200-36

Д320-50

Д320-70

307 ГОСТ 8338

Æ 35

+0,003

-0,013

Д200-95

Д200-36

Д320-50

Д320-70

Д500-65

Д630-90

312 ГОСТ 8338

Æ 60

+0,004

-0,015

+0,001

-0,031

Д800-57

Д1250-65

312 ГОСТ 8338

Æ 60

+0,004

-0,015

Д500-65

Д630-90

Д1250-125

Д1600-90

318 ГОСТ 8338

Æ 90

+0,004

-0,018

+0,002

-0,036

Д2000-21

312 ГОСТ 8338

Æ 60

+0,004

-0,015

Д800-57

Д1250-65

Д2000-100

320 ГОСТ 8338

Æ 100

+0,004

-0,018

+0,002

-0,039

Д2500-62

Д3200-33

Д3200-75

Д4000-22

Д5000-32

Д6300-27

318 ГОСТ 8338

Æ 90

+0,004

-0,018

Д1250-125

Д1600-90

+0,015

-0,029

Д2000-21

а; п

Д12500-24

3532 ГОСТ 5721

Æ 160

+0,004

-0,021

+0,006

0,025

4

Вал

Д200-95

Д200-36

0603.401613.0001

Æ 35

+0,018

+0,002

Д320-50

Д320-70

0603.401613.0001

Æ 35

+0,018

+0,002

Д2000-100

Д2500-62

Д3200-33

Д3200-75

Д4000-22

Д500-65

Д630-90

Н03.629.01.01.012

Æ 60

+0,021

+0,002

Д800-57

Д5000-32

Д6300-27

+0,015

-0,026

Д12500-24

+0,016

-0,033

Д1250-65

Н03.630.01.01.004

Æ 60

+0,021

+0,002

Д1250-125

Д1600-90

Н03.649.01.01.012

Æ 90

+0,025

+0,003

Д2000-21

Н06.011.50.02

Æ 60

+0,010

Д2000-100

Н06.010.50.01-01

Æ 100

+0,011

Д2500-62

Н06.009.55.01

Æ 90

+0,011

Д3200-33

2Г-28666

Æ 90

+0,011

Д3200-75

2Г-28665

Æ 90

+0,011

Д4000-22

2Г-4358

Æ 90

+0,011

Д5000-32

2Г-28664

Æ 90

+0,011

Д6300-27

2Г-4358

Æ 90

+0,011

Д12500-24

2Г-29162

Æ 160

+0,012

3; 14

Втулка (упорная, конусная)

Д200-95

Д200-36

Д320-50

Д320-70

+0,062

+0,007

Д200-95

Д200-36

Д320-50

Д320-70

0603.403141.0010

Æ 35

+0,064

+0,025

Д500-65

Н03.629.01.01.005

Æ 60

+0,130

+0,060

Д500-65

Д800-57

Д630-90

Н03.629.01.01.024

Æ 60

+0,074

+0,128

+0,039

Д800-57

Д1250-65

Н03.629.01.01.005

Æ 60

+0,130

+0,060

Д630-90

Д1250-125

Д1600-90

Н03.649.01.01.005

Æ 90

+0,159

+0,072

+0,072

-0,021

Д4000-22

-

Æ 90

+0,035

Д1250-65

Д5000-32

Д-4342

Æ 90

+0,087

Д6300-27

-

Æ 90

+0,035

+0,128

+0,039

Д1250-125 Д1600-90

+0,156

-0,047

Д5000-32

+0,098

-0,011

Д4000-22 Д6300-27

+0,032

-0,026

Д12500-24

Д-13293

Æ 155

+0,080

б; н

4

Вал

Д200-95

Д200-36

Д320-50

Д320-70

0603.401613.0001

Æ 35

+0,018

+0,002

Д500-65

Д630-90

Д800-57

Н03.629.01.01.012

Æ 60

+0,021

+0,002

Д1250-65

Н03.630.01.01.004

Æ 60

+0,021

+0,002

Д12500-24

Д1250-125

Д1600-90

Н03.649.01.01.012

Æ 90

+0,026

+0,003

+0,060

+0,245

Д4000-22

2Г-4358

Æ 90

+0,026

+0,003

Д5000-32

2Г-28664

Æ 90

+0,011

Д6300-27

2Г-4358

Æ 90

+0,026

+0,003

Д12500-24

2Г-29162

Æ 155

-0,085

-0,185

5; 12

Втулка защитная

Д200-95

Д200-36

Д320-50

Д320-70

+0,079

Д500-65

Д630-90

Д800-57

Д1250-65

Д200-95

Д200-36

Д320-50

Д320-70

0603.401364.0001

Æ 42

+0,039

Д500-65

Д630-90

Д800-57

Д1250-65

Н03.629.01.01.015

Æ 65

+0,190

Д1250-125

Д1600-90

Н03.649.01.01.018

Æ 96

+0,087

+0,174

Д2000-21

Н06.011.50.06-01

Æ 70

+0,030

Д1250-125

Д1600-90

Д2000-100

Н06.010.50.02-01

Æ 120

+0,035

Д2500-62

Н06.009.50.06-01

Æ 105

+0,070

+0,174

Д3200-33

Г-26605

Æ 98

+0,070

Д3200-75

Г-26584

Æ 115

+0,070

Д2000-21

Д4000-22

Д-4333

Æ 115

+0,035

Д5000-32

Г-26603

Æ 115

+0,035

+0,049

Д6300-27

Д-4333

Æ 115

+0,035

Д2000-100

Д12500-24

Г-29649

Æ 185

+0,090

Д4000-22

в, г, л, м

4

Вал

Д200-95

Д200-36

Д320-50

Д320-70

0603.401613.0001

Æ 42

-0,040

Д5000-32

Д6300-27

+0,057

Д2500-62

Д500-65

Д630-90

Д800-57

Н03.629.01.01.012

Æ 65

-0,074

Д3200-32

Д3200-75

+0,092

Д1250-65

Н03.630.01.01.004

Æ 65

-0,074

Д12500-24

Д1250-125

Д1600-90

Н03.649.01.01.012

Æ 96

-0,087

+0,180

Д2000-21

Н06.011.50.02

Æ 70

-0,019

Д2000-100

Н06.010.50.01-01

Æ 120

-0,022

Д2500-62

Н06.010.55.01

Æ 105

-0,022

Д3200-33

2Г-28666

Æ 98

-0,022

Д3200-75

2Г-28665

Æ 115

-0,022

Д4000-22

2Г-4358

Æ 115

-0,022

Д5000-32

2Г-26602

Æ 115

-0,022

Д6300-27

2Г-4358

Æ 115

-0,022

Д12500-24

2Г-29162

Æ 185

-0,072

27, 28

Втулка защитная

Д2000-21

Д2000-21

Н06.011.50.05

Æ 70

+0,030

+0,049

Д2000-100

Н06.010.50.03

Æ 120

+0,035

Д2000-100

Д2500-62

Н06.009.50.07

Æ 105

+0,022

Д3200-33

Д3200-33

Д-21701

Æ 98

+0,035

Д3200-75

Д3200-75

Г-26163

Æ 115

+0,035

Д4000-22

Д4000-22

Г-21713

Æ 115

+0,035

Д6300-27

Д5000-32

Г-21713

Æ 115

+0,070

Д6300-27

Г-21713

Æ 115

+0,035

+0,057

Д12500-24

Г-29649

Æ 185

+0,090

Д2500-62

в1, м1

4

Вал

Д2000-21

Н06.011.50.02

Æ 70

-0,019

+0,044

Д2000-100

Н06.010.50.01-01

Æ 120

-0,022

Д2500-62

Н06.009.55.01

Æ 105

-0,022

Д5000-32

Д3200-33

2Г-28666

Æ 98

-0,022

Д3200-75

2Г-28665

Æ 115

-0,022

+0,092

Д4000-22

2Г-4358

Æ 115

-0,022

Д5000-32

2Г-28664

Æ 115

-0,022

Д12500-24

Д6300-27

2Г-4358

Æ 115

-0,022

Д12500-24

2Г-29162

Æ 185

-0,115

+0,180

д; к

6; 11

Втулка направляющая

Д500-65

Н03.643.01.01.004

Æ 68

+0,190

Д630-90

Н03.629.01.01.014

Æ 68

+0,190

Д500-65

Д800-57

Н03.644.01.01.004

Æ 68

+0,190

Д630-90

Д1250-65

Н03.630.01.01.003

Æ 68

+0,190

Д800-57

Д1250-125

Н03.649.01.01.013

Æ 100

+0,220

Д1250-65

Д1600-90

Н03.650.01.01.003

Æ 100

+0,220

4

Вал

+0,390

Д500-65

Д630-90

Д800-57

Н03.629.01.01.012

Æ 68

-0,200

Д1250-125

Д1600-90

Д1250-65

Н03.630.01.01.004

Æ 68

-0,200

+0,450

Д1250-125

Д1600-90

Н03.649.01.01.012

Æ 100

-0,230

6, 11

Втулка направляющая

Д200-95

Д200-95

0603.403741.0002 - I

Æ 42

+1,000

+1,039

д; к*)

Д200-36

0603.404141.0002 - I

Æ 42

+0,620

Д200-36

Д320-50

Æ 42

+0,620

Д320-70

0603.403741.0004 - I

Æ 42

+0,620

Д320-50

Д320-70

Д630-90

0603.404141.0002

Æ 68

+0,740

Д1250-125

Æ 100

+0,870

+0,659

Д1600-90

Æ 100

+0,870

Н03.629.01.01.013

Н03.649.01.01.023

Н03.650.01.01.003

Д630-90

+0,930

4

Вал

Д200-95

Д200-36

Д320-50

Д320-70

0603.401613.0001

Æ 42

-0,039

Д1250-125

Д1600-90

+1,090

Д630-90

Н03.629.01.01.012

Æ 68

-0,190

Д1250-125

Н03.649.01.01.012

Æ 100

-0,220

Д1600-90

Н03.649.01.01.012

Æ 100

-0,220

7; 9

Кольцо уплотняющее

Д200-95

+0,405

+0,300

Д200-95

0603.403183.0001

Æ 118

+0,035

Д200-36

0603.403183.0002

Æ 130

+0,063

Д200-36

Д320-50

0603.403183.0003

Æ 160

+0,160

+0,443

Д320-70

0603.403183.0004

Æ 142

+0,100

+0,300

Д500-65

Н03.643.01.01.002

Æ 210

+0,115

Д320-50

Д630-90

Н03.629.01.01.003

Æ 210

+0,115

+0,540

Д800-57

Н03.644.01.01.002

Æ 235

+0,115

+0,300

Д1250-65

Н03.630.01.01.002

Æ 260

+0,130

Д1250-125

Н03.649.01.01.002

Æ 300

+0,130

Д320-70

Д1600-90

Н03.650.01.01.002

Æ 285

+0,130

+0,480

Д2000-21

Н06.005.20.06

Æ 335

+0,100

+0,300

Д2000-100

Н06.010.20.03

Æ 380

+0,120

Д500-65

Д2500-62

Н06.009.20.05

Æ 375

+0,120

Д630-90

Д3200-33

В-13497

Æ 410

+0,120

Д800-57

Д3200-75

Г-6807

Æ 410

+0,120

+0,730

+0,500

Д4000-22

В-13495

Æ 560

+0,440

Д1250-65

Д5000-32

В-13496

Æ 500

+0,760

+0,760

Д6300-27

В-13495

Æ 560

+0,440

+0,500

е; и

8

Колесо рабочее

Д1250-125

+0,850

Д200-95

0603.408876.0001

Æ 118

-0,300

-0,370

+0,500

Д200-36

0603.408876.0002

Æ 130

-0,300

-0,380

Д1600-90

+0,950

+0,500

Д320-50

0603.408876.0003

Æ 160

-0,300

-0,380

Д2000-21

+1,000

Д320-70

0603.408876.0004

Æ 142

-0,300

-0,380

+0,800

Д2000-100

Д500-65

Н03.643.01.01.001

Æ 209,5

-0,115

+0,740

Д630-90

Н03.629.01.01.002

Æ 209,5

-0,115

+0,500

Д800-57

Н03.644.01.01.001

Æ 234,5

-0,115

Д1250-65

Н03.630.01.01.001

Æ 259,5

-0,130

Д2500-62

Д1250-125

Н03.649.01.01.001

Æ 299,6

-0,320

+0,890

Д1600-90

Н03.650.01.01.001

Æ 284,5

-0,320

+0,650

Д2000-21

Н06.005.50.05

Æ 334,2

-0,100

Д2000-100

Н06.010.50.04

Æ 379,5

-0,120

Д3200-33

Д2500-62

Н06.009.50.08

Æ 374,35

-0,120

Д3200-75

Д3200-33

Б-6833

Æ 409,35

-0,130

+0,900

Д3200-75

В-26164

Æ 409,35

-0,130

+0,650

Д4000-22

В-0860

Æ 560

-0,450

-0,900

Д4000-22

Д6300-27

+1,340

Д5000-32

В-4319

Æ 500

-0,380

-0,760

+0,450

Д5000-32

Д6300-27

В-0860

Æ 560

-0,450

-0,900

+1,510

+0,380

8

Колесо рабочее

+0,227

Д12500-24

Г310-12

Æ 780

+0,175

29, 30

Кольцо защитное

Д12500-24

е1; и1

Д12500-24

Б310-21

Æ 780

+0,220

+1,940

+1,500

ж

8

Колесо рабочее

Д200-95

0603.408876.0001

Æ 42

+0,025

Д200-36

0603.408876.0002

Æ 42

+0,025

Д320-50

0603.408876.0003

Æ 42

+0,025

Д200-95

Д320-70

0603.408876.0004

Æ 42

+0,025

Д200-36

Д500-65

Н03.643.01.01.001

Æ 68

+0,030

Д320-50

Д630-90

Н03.629.01.01.002

Æ 68

+0,030

Д320-70

Д800-57

Н03.644.01.01.001

Æ 68

+0,030

+0,041

Д1250-65

Н03.630.01.01.001

Æ 68

+0,030

Д1250-125

Н03.649.01.01.001

Æ 100

+0,035

Д500-65

Д1600-90

Н03.650.01.01.001

Æ 100

+0,035

Д630-90

Д2000-21

Н06.005.50.05

Æ 75

+0,030

Д800-57

Д2000-100

Н06.010.50.04

Æ 130

+0,040

Д1250-65

Д2500-62

Н06.009.50.08

Æ 110

+0,035

Д2000-21

Д3200-33

Б-6833

Æ 100

+0,035

Д3200-75

В-26164

Æ 125

+0,040

+0,049

Д4000-22

В-0860

Æ 120

+0,035

Д1250-125

Д5000-32

В-4319

Æ 120

+0,035

Д1600-90

Д6300-27

В-0860

Æ 120

+0,035

Д2500-62

Д12500-24

Г310-12

Æ 190

+0,046

Д4000-22

4

Вал

Д5000-32

Д200-95

Д200-36

Д320-50

Д320-70

0603.401613.0001

Æ 42

-0,016

Д6300-27

+0,057

Д2000-100

Д500-65

Д630-90

Д800-57

Н03.629.01.01.012

Æ 68

-0,019

Д3200-33

Д3200-75

+0,065

Д1250-65

Н03.630.01.01.004

Æ 68

-0,019

Д12500-24

Д1250-125

Д1600-90

Н03.649.01.01.012

Н03.649.01.01.012

Æ 100

-0,022

+0,075

Д2000-21

Н06.011.50.02

Æ 75

-0,019

Д2000-100

Н06.010.50.01-01

Æ 130

-0,025

Д2500-62

Н06.009.55.01

Æ 110

-0,022

Д3200-33

2Г-28666

Æ 100

-0,022

Д3200-75

2Г-28665

Æ 125

-0,025

Д4000-22

2Г-4358

Æ 120

-0,022

Д5000-32

2Г-28664

Æ 120

-0,022

Д6300-27

2Г-4358

Æ 120

-0,022

Д12500-24

2Г-29162

Æ 190

-0,029

8

Колесо рабочее

Д200-95

0603.408876.0001

10

+0,018

Д200-95

Д200-36

Д200-36

0603.408876.0002

10

+0,018

Д320-50

Д320-70

Д320-50

0603.408876.0003

10

+0,018

+0,054

Д320-70

0603.408876.0004

10

+0,018

-0,018

Д500-65

Н03.643.01.01.001

16

+0,021

Д500-65

Д630-90

Д630-90

Н03.629.01.01.002

16

+0,021

Д800-57

Д1250-65

Д800-57

Н03.644.01.01.001

16

+0,021

+0,064

-0,021

Д1250-65

Н03.630.01.01.001

16

+0,021

Д1250-125

Д1250-125

Н03.649.01.01.001

22

+0,026

Д1600-90

Д1600-90

Н03.650.01.01.001

22

+0,026

+0,078

-0,026

Д2000-21

Н06.005.50.05

20

+0,045

Д2000-21

Д2000-100

Н06.010.50.04

28

+0,045

Д2000-100

Д2500-62

Н06.009.50.08

28

+0,045

+0,097

Д3200-33

Б-8333

20

+0,026

Д3200-33

Д3200-75

В-26164

32

+0,031

+0,078

-0,026

Д4000-22

В-0860

32

+0,050

Д3200-75

Д5000-32

В-4319

32

+0,050

+0,093

Д6300-27

В-0860

32

+0,050

-0,031

Д4000-22

Д12500-24

Б310-12

40

+0,050

Д5000-32

с

10

Шпонка

Д6300-27

Д12500-24

+0,112

Д200-95

Д200-36

Д320-50

Д320-70

ГОСТ 23360 10´8´70

10

-0,036

Д500-65

Д630-90

Д800-57

Д1250-65

16´10´100

16

-0,043

Д1250-125

22´14´140

22

-0,052

Д1600-90

22´14´125

Д2000-21

3´20´18´185

20

-0,052

Д2000-100

Д2500-62

2-28´16´125

28

-0,052

Д3200-33

20´12´200

20

-0,052

Д3200-75

32´18´200

32

-0,062

Д4000-22

32´18´200

32

-0,062

Д5000-32

32´18´200

32

-0,062

Д6300-27

32´18´200

32

-0,062

Д12500-24

Д-29651

40

-0,062

4

Вал

Д200-95

Д200-36

0603.401613.0001

10

-0,036

Д200-95

Д320-50

Д320-70

Д200-36

Д320-50

Д320-70

Д500-65

Д630-90

Д800-57

Н03.629.01.01.012

16

-0,043

+0,036

-0,036

Д1250-65

Н03.630.01.01.004

16

-0,043

Д1250-125

Д1600-90

Н03.649.01.01.012

22

-0,052

Д500-65

Д630-90

Д800-57

Д2000-21

Н06.011.50.02

20

-0,052

Д1250-65

+0,043

Д2000-100

Н06.010.50.01-01

28

-0,052

-0,043

Д2500-62

Н06.009.55.01

28

-0,052

Д1250-125

Д3200-33

2Г-28666

20

-0,052

Д1600-90

Д3200-75

2Г-28665

32

-0,062

Д2000-21

Д2000-100

Д4000-22

2Г-4358

32

-0,062

Д2500-62

Д3200-33

Д5000-32

2Г-28664

32

-0,062

+0,052

-0,052

Д6300-27

2Г-4358

32

-0,062

Д12500-24

2Г-29162

40

-0,062

т

10

Шпонка

ГОСТ 23360

Д200-95

10´8´70

10

-0,036

Д200-36

Д320-50

Д320-70

10´8´70

10

-0,036

Д3200-75

Д4000-22

Д5000-32

Д6300-27

Д500-65

Д630-90

Д800-57

Д1250-65

16´10´100

16

-0,043

Д12500-24

+0,062

-0,062

Д1250-125

22´14´140

22

-0,052

Д1600-90

22´14´125

Д2000-21

3-20´12´185

20

-0,052

Д2000-100

Д2500-62

2-28´16´125

28

-0,052

Д3200-33

20´12´200

20

-0,052

Д3200-75

32´18´180

32

-0,062

Д4000-22

20´12´200

32

-0,062

Д5000-32

32´18´180

32

-0,062

Д6300-27

20´12´200

32

-0,062

Д12500-24

Д-29651

40

-0,062

5, 12

Втулка защитная

Д500-65

Д630-90

Д800-57

Д1250-65

Д500-65

Д630-90

Д800-57

Д1250-65

Н03.629.01.01.015

8

+0,018

Д1250-125

Д1600-90

Н03.649.01.01.018

12

+0,021

+0,054

-0,018

у, у1

25, 26

Шпонка

Д500-65

Д630-90

Д800-57

Д1250-65

ГОСТ 23360

8´7´18

8

-0,036

Д1250-125

Д1600-90

+0,064

-0,021

Д1250-125

Д1600-90

12´8´28

12

-0,043

ф, ф1

4

Вал

Д500-65

Д630-90

Д800-57

Н03.629.01.01.012

8

-0,036

Д500-65

Д630-90

Д800-57

Д1250-65

Д1250-65

Н03.630.01.01.004

8

-0,036

+0,036

Д1250-125

Д1600-90

Н03.649.01.01.012

12

-0,043

-0,036

25, 26

Шпонка

Д500-65

Д630-90

Д800-57

Д1250-65

ГОСТ 23360

8´7´18

8

-0,036

Д1250-125

Д1600-90

+0,043

-0,043

Д1250-125 Д1600-90

12´8´28

12

-0,043

х, х1

5, 12

Втулка защитная

Д200-95

Д200-36

Д320-50

Д320-70

0603.506411.0001

6

+0,075

Д200-95

Д200-36

Д320-50

Д320-70

Д2000-21

Н06.009.50.14

8

+0,100

+0,135

Д2000-100

Н06.009.50.12

8

+0,100

+0,030

Д2500-62

Н06.009.50.14

8

+0,100

Д2000-21

Д3200-33

Н06.009.50.12

8

+0,030

Д2500-62

Д3200-75

Н06.009.50.14

8

+0,030

+0,136

Д5000-32

Н06.009.50.12

8

+0,030

Д2000-100

23, 24

Шпонка

Д200-95

Д200-36

Д320-50

Д320-70

0603.401613.0001

6

-0,030

-0,060

+0,165

+0,015

Д3200-33

Д2000-21

Н06.011.50.02

8

-0,036

+0,095

+0,015

Д2000-100

Н06.010.50.01-01

8

-0,015

-0,065

Д3200-75

+0,066

Д2500-62

Н06.009.55.01

8

-0,036

Д5000-32

Д3200-33

2Г-28666

8

-0,015

-0,065

+0,060

Д3200-75

2Г-28665

8

-0,036

Д5000-32

2Г-26602

8

-0,030

щ, щ1

4

Вал

Д200-95

Д200-36

Д320-50

Д320-70

0603.506411.0001

6

-0,030

-0,060

Д200-95

Д200-36

Д320-50

Д320-70

Д2000-21

Н06.011.50.02

8

-0,036

+0,060

+0,030

Д2000-100

Н06.010.50.01-01

8

-0,015

-0,065

Д2000-21

Д2500-62

Н06.009.55.01

8

-0,036

+0,021

-0,065

Д3200-33

2Г-28666

8

-0,036

Д2000-100

Д3200-75

2Г-28665

8

-0,036

+0,050

Д5000-32

2Г-26602

8

-0,015

-0,065

-0,050

Д2500-62

Д12500-24

2Г-29162

16

-0,043

Д3200-75

23, 24

Шпонка

Д200-95

Д200-36

Д320-50

Д320-70

0603.506411.0001

10

-0,030

-0,060

+0,036

-0,036

Д5000-32

Д2000-21

Н06.009.50.14

8

-0,036

+0,021

-0,065

Д2000-100

Н06.009.50.12

8

-0,015

-0,065

Д12500-24

Д3200-33

Н06.009.50.12

8

-0,036

+0,043

Д5000-32

Н06.009.50.12

-0,043

Д2500-62

Н06.009.50.14

8

-0,036

Д3200-75

Н06.009.50.14

8

Д12500-24

16´10´70 ГОСТ 23360

16

-0,043

ц

4

Вал

Д200-95

Д200-36

Д320-50

Д320-70

Н03.629.01.01.012

10

-0,036

Д200-95

Д200-36

Д320-50

Д320-70

Д500-65

Д630-90

Д800-57

Д1250-65

Н03.630.01.01.004

16

-0,043

+0,036

-0,036

Д500-65

Д630-90

Д1250-125

Д1600-90

Н03.649.01.01.012

22

-0,052

Д800-57

Д1250-65

Д2000-21

Н06.011.50.02

16

-0,043

-0,043

-0,043

Д2000-100

Н06.010.50.01-01

25

-0,052

Д1250-125

Д2500-62

Н06.009.55.01

Д1600-90

Д3200-33

2Г-28666

Д3200-75

2Г-28665

+0,052

-0,052

Д4000-22

2Г-4358

24

-0,025

Д5000-32

2Г-28664

-0,090

Д2000-21

Д6300-27

2Г-4358

+0,043

Д12500-24

2Г-29162

36

-0,062

-0,043

17

Шпонка

Д2000-100

Д200-95

Д200-36

Д320-50

Д320-70

10´8´70

10

-0,036

Д2500-62

Д3200-33

Д3200-75

+0,052

Д500-65

Д630-90

Д800-57

Д1250-65

16´10´100

16

-0,043

-0,052

Д1250-125

22´14´160

22

-0,052

Д4000-22

Д1600-90

22

-0,052

Д5000-32

Д6300-27

Д2000-21

3-16´10´100

16

-0,043

Д2000-100

2-25´14´125

25

-0,052

+0,027

Д2500-62

2-25´14´125

25

-0,052

-0,090

Д3200-33

25´14´140

25

-0,052

Д3200-75

25´14´140

25

-0,052

Д12500-24

Д4000-22

24´14

24

-0,052

+0,030

Д5000-32

24´14

24

-0,052

-0,105

Д6300-27

24´14

24

-0,052

Д12500-24

36´20´280 ГОСТ 22360

36

-0,062

18

Полумуфта

Д200-95

0603.403692.0001

10

±0,018

Д200-95

Д200-36

0603.403692.0001

Д200-36

Д320-50

0603.403692.0001

Д320-50

Д320-70

0603.403692.0001

Д320-70

Д500-65

Н03.629.00.00.100 1

16

+0,120

+0,018

Д630-90

+0,050

-0,036

Д800-57

Н03.649.00.00.080 1

Д1250-65

Н03.649.00.00.080 1

Д500-65

Д630-90

Д1250-125

22

+0,120

Д800-57

Д1600-90

Н03.649.00.00.080 1

+0,050

Д1250-65

Д2000-21

16

±0,018

+0,163

Н03.649.00.00.100 1

+0,050

Д2000-100

25

±0,031

Д2500-62

Н03.649.00.00.100 1

Д1250-125

Д3200-33

Д1600-90

Д3200-75

Н529-66-1-3

+0,070

-0,018

Н531-65/1-3

Н531-65/1-3

Н531-65/1-4

Н531-65/1-1

Д4000-22

Н531-65/1-1

24

+0,045

Д2000-21

Д5000-32

Н531-65/1-1

Д6300-27

Н531-65/1-1

+0,061

-0,018

ш

Д12500-24

Г-13298

40

+0,050

Д2000-100

18

Шпонка

Д2500-62

Д200-95

10´8´70

10

+0,018

Д3200-33

Д200-36

10´8´70

Д3200-75

Д320-50

10´8´70

Д320-70

10´8´70

+0,083

-0,031

Д500-65

16´10´100

16

-0,043

Д630-90

16´10´100

Д4000-22

Д800-57

16´10´100

Д5000-32

Д1250-65

16´10´100

Д6300-27

Д1250-125

22´14´160

22

-0,052

+0,097

Д1600-90

22´14´160

Д12500-24

Д2000-21

3-16´10´100

16

-0,043

+0,112

Д2000-100

2-25´14´125

25

-0,052

Д2500-62

2-25´14´125

Д3200-33

25´14´140

Д3200-75

25´14´140

Д4000-22

24´14´140

24

-0,052

Д5000-32

24´14´140

Д6300-27

24´14´140

Д12500-24

Д-14376

40

-0,062

я, я1

7, 9

Кольцо уплотняющее

Б310-21

818,5

-0,220

Д12500-24

Д12500-24

+1,940

+1,500

29, 30

Кольцо уплотняющее

Д12500-24

Г310-18

820

0,220

*) Для направляющей втулки, изготовленной из фенопласта по ГОСТ 28804.

Описание: Описание: Описание: Описание: Описание: Описание: Описание: Описание: Untitled-1 copy

Рисунок 30 - Вал насосов Д200-95, Д200-36, Д320-50, Д320-70 (рис. 25, поз. 4)

Описание: Описание: Описание: Описание: Описание: Описание: Описание: Описание: Untitled-1 copy

Рисунок 31 - Вал насосов Д500-65, Д800-57, Д1250-65, Д630-90, Д1250-125, Д1600-90 (рис. 26, поз. 4)

Описание: Описание: Описание: Описание: Описание: Описание: Описание: Описание: Untitled-1 copy

Рисунок 32 - Вал насосов Д2000-21, Д2000-100, Д2500-62, Д3200-33, Д3200-75 (рис. 27, поз. 4)

Описание: Описание: Описание: Описание: Описание: Описание: Описание: Описание: Untitled-1 copy

Рисунок 33 - Вал насоса Д5000-32 (рис. 28, поз. 4)

Описание: Описание: Описание: Описание: Описание: Описание: Описание: Описание: Untitled-1 copy

Рисунок 34 - Вал насосов Д6300-27, Д4000-22 (рис. 28, поз. 4)

Описание: Описание: Описание: Описание: Описание: Описание: Описание: Описание: Untitled-1 copy

Рисунок 35 - Вал насоса Д12500-24 (рис. 29, поз. 4)

Карта дефектации и ремонта 12

Вал - рис. 31 - 35

Количество на изделие - 1 шт.

Нормы зазоров (натягов) - таблица 18

 

Обозначение

Возможный дефект

Способ установления дефекта и контрольный инструмент

Техническое требование по чертежу

Заключение и рекомендуемый способ ремонта

Теxническое требование после ремонта

-

Трещины.

Визуальный контроль.

Лупа ЛП-1-7´.

ЦД.

УЗД.

Дефектоскоп ультразвуковой.

-

Замена.

Трещины не допускаются.

-

Отклонение от прямолинейности оси вала.

Измерительный контроль.

Индикатор ИЧ 02 кл.0.

-

1. Правка термическая при отклонении оси вала до 1,0 мм.

2. Правка термо-меxаническая при отклонении оси вала св. 1,0 мм.

3. Замена.

Допуск радиального биения поверхностей относительно оси поверхности Д - см. таблицу 19.

Д,

Д1,

Ж,

И,

К,

М,

М1,

П,

П1

Износ.

ЦД.

Измерительный контроль.

Микрометры: МР 50; МР 75; МР 100; МРИ 1250,002; МРИ 2000,002.

Диаметр - см. таблицу 20.

1. Шлифование.

2. Газотермическое напыление толщиной не более 0,3 мм.

3. Замена.

1. Допустимый диаметр - см. таблицу 20.

2. Допуск радиального биения поверхностей - см. таблицу 19.

3. Допуск цилиндричности круглости поверхностей Д, М: 0,010 мм для диаметров от 30,0 мм до 40,0 мм;

-0,015 мм для диаметров от 170 мм до 190 мм.

4. Параметр шероховатости поверхностей не более - см таблицу 21.

П

П1

Р

С

С1

Т

Т1

У

У1

Смятие кромок, задиры.

Визуальный контроль.

Лупа ЛП-1-7´.

Измерительный контроль.

Калибр пазовый.

Ширина паза - см. таблицу 22.

1. Обпиливание в пределах допуска на ширину паза.

2. Увеличение ширины паза фрезерованием до следующего типоразмера.

3. Замена.

1. Допустимая ширина паза - см. таблицу 22.

2. Допустимая ширина увеличенного паза (при условии установки шпонки нового типоразмера) - следующая из ряда: 8 мм, 10 мм, 14 мм, 18 мм, 25 мм, 27 мм, 32 мм, 36 мм, 42 мм.

3. Допуск параллельности боковых граней шпоночного паза относительно оси паза согласно 6.4.4.

4. Допуск симметричности паза - в пределах допуска на ширину паза.

База - плоскость симметрии, проходящая через ось паза.

5. Параметр шероховатости поверхностей не более - см. таблицу 21.

Г

Г1

Е

Н

Л

Повреждение резьбы.

Визуальный контроль.

Лупа ЛП-1-7´.

Измерительный контроль.

Пробка резьбовая.

Нарезание резьбы.

Наплавка с дальнейшим нарезанием резьбы.

1. Допускаются отдельные забоины, выкрашивания менее 1/2 высоты профиля резьбы не более чем на двух ниткаx, не препятствующие навинчиванию гаек.

2. Параметр шероховатости не более - см. таблицу 21.

Таблица 19

Обозначение насоса

Вал

Радиальное биение

Допуск, мм

Д, м

Ж, К

И

М1, Д1

П

П1

Примечание

Д200-95

-

0,03

0,02

0,02

0,02

-

Относительно Д, М

Д200-36

Д320-50

Д320-70

Д500-65

0,03

0,04

-

0,04

-

Относительно оси вала

Д630-90

0,04

0,04

Д800-57

0,03

Д1250-65

0,03

Д1250-125

0,04

0,04

0,04

0,04

0,04

-

Относительно оси вала

Д1600-90

Д2000-21

-

-

Относительно оси вала

Д2000-100

-

-

Д2500-62

-

0,03

0,04

-

0,02

0,02

Д3200-33

-

0,04

-

0,03

0,03

Д3200-75

-

-

0,03

0,03

Д4000-22

0,03

0,03

0,04

-

0,03

0,03

Д5000-32

0,02

0,03

Д6300-27

0,03

0,03

Д12500-24

0,02

0,02

0,02

0,02

0,02

0,0

Таблица 20

Обозначение насоса

Вал

Диаметр, мм

по чертежу

допустимый, не менее

Д, м

Ж, К

И

П

Д, М

Ж, К

И

П

Д200-95

42-0,040

42-0,016

35,002

41,960

41,984

31,992

Д200-36

42-0,040

42-0,016

54,991

Д320-50

Д320-70

Д500-65

65-0,074

68-0,019

60,002

64,926

67,810

Д630-90

Д800-57

Д1250-65

Д1250-125

96-0,087

100-0,022

90,003

95,913

99,780

80,003

Д1600-90

Д2000-21

60±0,010

70-0,019

75-0,019

59,990

69,981

74,981

55,003

Д2000-100

100±0,012

120-0,022

130-0,025

99,988

119,978

129,975

85,003

Д2500-62

90±0,011

105-0,022

105-0,022

89,989

104,978

109,978

85,003

Д3200-33

90±0,011

98-0,022

100-0,022

97,978

109,978

84,988

Д3200-75

90±0,011

115-0,022

125-0,025

114,978

124,975

Д4000-22

90±0,011

115-0,022

120-0,022

85+0,035

119,978

85,000

Д5000-32

Д6300-27

Д12500-24

160±0,012

185-0,072

190-0,029

150-0,025

159,988

184,928

189,971

149,975

Таблица 21

Обозначение насоса

Вал

Параметр шероховатости поверхности, мкм, не более

Д, Д1, М, М1

Ж, К

И

П

П1

Р, С, С1, У, У1

Т, Т1

Г, Г1, Н

Е, Л

Д200-95

Rz12,5

Rz12,5

Rz12,5

Rz12,5

-

Rz12,5

-

Rz12,5

Rz50

Д200-36

Д320-50

Д320-70

Д500-65

Ra0,63

Ra2,5

Ra0,63

Ra0,63

-

Rz20

-

Rz20

Rz20

Д630-90

Rz25

Rz25

Д800-57

Rz20

Rz20

Д1250-65

Д1250-125

Ra1,25

Ra2,5

Ra1,25

Ra0,63

-

-

Rz25

Rz25

Д1600-90

Д2000-21

Ra1,6

Ra1,6

Ra1,6

Ra1,6

Ra1,6

Rz12,5

Rz12,5

Rz12,5

-

Д2000-100

Д2500-62

Д3200-33

Д3200-75

Д4000-22

Ra2,5

Ra2,5

Ra2,5

Ra2,5

Ra2,5

Rz20

Rz20

Rz20

Rz20

Д5000-32

Rz20

Rz20

Д6300-27

Ra2,5

Ra2,5

Д12500-24

Ra1,25

Ra1,25

-

Rz20

-

Ra2,5

Таблица 22

Обозначение насоса

Вал

Ширина паза, мм

по чертежу

допустимая

без замены шпонки, не более

У, У1

С, С1

Р

Т

Т1

У, У1

С, С1

Р

Т

Т1

Д200-95

-

10-0,036

10-0,036

-

5,970

-

10

10,000

-

Д200-36

Д320-50

Д320-70

Д500-65

-

8-0,036

16-0,043

16-0,043

-

-

8

16

16,000

-

Д630-90

Д800-57

Д1250-65

Д1250-125

-

12-0,043

22-0,052

22-0,052

-

-

12

22

22,000

-

Д1600-90

Д2000-21

8-0,036

-

20-0,052

16-0,043

7,984

-

20

15,980

16,000

Д2000-100

-

28-0,052

25-0,052

25-0,052

7,985

-

28

25,000

25,000

Д2500-62

8-0,036

-

28-0,052

25-0,052

25-0,052

8,000

-

28

25,000

25,000

Д3200-33

8-0,036

-

20-0,052

25-0,052

25-0,052

8,000

-

20

25,000

25,000

Д3200-75

8-0,036

-

32-0,062

25-0,052

32-0,052

8,000

-

32

25,000

32,000

Д4000-22

-

-

32-0,062

-

-

32

23,975

23,975

Д5000-32

-

32-0,062

7,985

-

32

23,975

23,975

Д6300-27

-

-

32-0,062

-

-

32

23,975

23,975

Д12500-24

16-0,043

-

40-0,062

36-0,062

36-0,062

-

16,000

-

40

39,938

35,938

-

Описание: Описание: Описание: Описание: Описание: Описание: Описание: Описание: Untitled-1 copy

а) кроме насосов Д2000-100, Д2500-62; б) Д2000-100, Д2500-62

Рисунок 36 - Колесо рабочее (рис. 25, 26, 27, 28 поз. 8)

Описание: Описание: Описание: Описание: Описание: Описание: Описание: Описание: Untitled-1 copy

Рисунок 37 - Колесо рабочее (рис. 29, поз. 8)

Карта дефектации и ремонта 13

Колесо рабочее - рис. 36, 37

Количество на изделие - 1 шт.

Нормы зазоров (натягов) - таблица 18

 

Обозначение

Возможный дефект

Способ установления дефекта и контрольный инструмент

Техническое требование по чертежу

Заключение и рекомендуемый способ ремонта

Техническое требование после ремонта

-

Трещины.

Визуальный контроль.

Лупа ЛП-1-7´.

ЦД.

-

1. Заварка трещин длиной не более 50 мм, не выxодящиx на торцы в уплотняющей поверхности.

2. Замена.

1. Трещины не допускаются.

2. После заварки - требования согласно 4.4.4.

Б, Л

Износ.

Визуальный контроль.

Лупа ЛП-1-7´.

-

1. Шлифование.

2. Опиливание.

3. Замена.

1. Должен быть обеспечен плавный переxод к началу лопаток.

2. Параметр шероxоватости поверxностей не более - см. таблицу 23.

В, К

Износ.

Измерительный контроль.

Микрометры: МК 125; МК 150; МК 175; МРИ 250-0,002; МРИ 300-0,002; МРИ 400-0,01; МРИ 500-0,01; МРИ 600-0,01.

Диаметр - см. таблицу 24.

1. Проточка.

2. Наплавка.

3. Шлифование.

1. Допустимый диаметр - см. таблицу 24.

2. Допуск соосности поверxностей относительно оси поверxности Н - см. таблицу 25

3. Параметр шероxоватости поверxностей не более - см. таблицу 23.

В1, К1

Износ.

Измерительный контроль.

Штангенциркуль ШЦ-III-320-1000-0,1.

В1, К1 - Æ 818,5 мм.

1. Шлифование.

2. Установка нового защитного кольца (рис. 29, поз. 7, 9).

-

Г, Д, Е, И, Ж

Кавитационный, эрозионный износ, раковины.

Визуальный контроль.

Лупа ЛП-1-7´.

Измерительный контроль.

Штангенциркули:

ШЦ-I-125-0,1-1,

ШЦ-II-250-0,1

ШЦ-III-250-630-0,1;

ШЦ-III-250-800-0,1,

ШЦ-III-320-1000-0,1.

Диаметр Е - см. таблицу 24.

1. Проточка.

2. Зачистка раковин глубиной до 1,0 мм.

3. Наплавка.

4. Замена.

1. Допустимый диаметр Е - см. таблицу 24.

2. Допускаются отдельные зачищенные раковины глубиной до 1,0 мм, диаметром до 3,0 мм (в количестве до трех).

3. Параметр шероховатости поверхностей не более- см. таблицу 23.

М, П

Износ, увеличенное торцовое биение.

Измерительный контроль.

Штангенциркули:

ШЦ-II-250-0,1;

ШЦ-III-250-630-0,1.

Индикатор ИЧ 02 кл.0.

Размер «α» - см. таблицу 24. Допуск биений - см. таблицы 24, 25.

1. Проточка.

2. Шлифовка.

3. Замена.

1. Допустимый размер «α» - см. таблицу 24.

2. Допуск торцового биения поверхностей М, П относительно оси поверхности Н - см. таблицу 25.

3. Параметр шероховатости поверхностей не более - см. таблицу 23.

Н

Износ.

Измерительный контроль. Нутромеры:

18 - 50;

50 - 100;

100 - 160;

160 - 260.

Диаметр - см. таблицу 24.

1. Расточка.

2. ГТН (см. 6.6.2).

3. Замена.

1. Допустимый диаметр - см. таблицу 24.

2. Параметр шероховатости поверхности, не более - см. таблицу 23.

Смятие кромок, задиры.

Внешний осмотр.

Контроль.

Калибр пазовый.

Размер - см. таблицу 23.

1. Опиливание в границах допуска на ширину паза.

2. Увеличение ширины паза долблением до следующего типоразмера.

1. Допустимая ширина паза, не более - см. таблицу 23.

2. Допустимая ширина увеличенного паза (при условии установки шпонки нового типоразмера) - см. таблицу 23.

3. Замена.

3. Допуск параллельности боковых граней шпоночного паза относительно - см. 6.4.3.

4. Допуск симметричности паза - в пределах допуска на ширину паза.

База - плоскость симметрии, проходящая через ось паза.

5. Параметр шероxоватости поверxности не более - см. таблицу 23.

Таблица 23

Обозначение насоса

Колесо рабочее

Параметр шероховатости, мкм, не более

В1, К1

В, К

Б, Л, Г, И, Д, Ж

С

Е

М, П

Н

Р

Д200-95

-

Rz12,5

Rz50

-

Rz12,5

Rz25

Ra1,25

Rz25

Д200-36

-

-

Д320-50

-

-

Д320-70

-

-

Д500-65

-

Ra2,5

Rz40

-

Rz20

Rz40

Ra2,5

Rz20

Д630-90

-

Rz80

-

Ra2,5

Д800-57

-

Rz40

-

Ra2,5

Д1250-65

-

Rz40

-

Ra1,25

Д1250-125

-

Rz80

-

Ra2,5

Д1600-90

-

Rz80

-

Ra2,5

Д2000-21

-

Ra1,6

Rz12,5

-

Rz50

Rz12,5

Ra1,6

Rz12,5

Д2000-100

-

Rz50

Ra1,6

Ra1,6

Д2500-62

-

Rz50

Ra1,6

Ra1,6

Д3200-33

-

Ra1,6

-

Ra1,6

Д3200-75

-

Rz50

-

Rz50

Д4000-22

-

Ra2,5

Rz20

-

Rz20

Ra2,5

Ra2,5

Rz20

Д5000-32

-

Ra2,5

Rz20

-

Rz20

Ra2,5

Ra2,5

Rz20

Д6300-27

-

Ra2,5

Rz20

-

Rz20

Ra2,5

Ra2,5

Rz20

Д12500-24

-

-

Rz20

-

Rz20

Rz20

Ra2,5

Rz20

Таблица 24

Обозначение насоса

Колесо рабочее

Размер, мм

по чертежу

допустимый, не менее

допустимый, не более

Æ В, Æ К

Æ Н

Æ В, Æ К (Æ В1, Æ К1)*

Æ Е

α

Æ Н

Д200-95

42+0,025

117,630

278

99

42,025

Д200-36

129,620

348

109

Д320-50

159,620

403

127

Д320-70

141,620

240

115

Д500-65

209,5-0,115

68+0,030

209,385

460

132

68,030

Д630-90

209,5-0,115

209,385

520

133

Д800-57

234,5-0,115

234,385

427

132

Д1250-65

259,5-0,130

259,370

455

132

Д1250-125

299,6-0,320

100+0,035

299,280

620

133

100,035

Д1600-90

284,5-0,320

284,180

535

148

Д2000-21

334,2-0,100

75+0,030

334,100

458

222,5

75,030

Д2000-100

379,5-0,120

130+0,040

379,380

850

164,5

130,040

Д2500-62

374,35-0,120

110+0,035

374,230

696

209,5

110,035

Д3200-33

409,35-0,130

100+0,035

409,230

548

268,5

110,035

Д3200-75

409,35-0,130

125+0,040

409,230

752

218,5

125,040

Д4000-22

120+0,040

559,100

-

-

120,040

Д5000-32

120+0,035

499,240

690

346

120,035

Д6300-27

120+0,040

559,100

-

-

120,040

Д12500-24

-

190+0,046

(818,5-0,22)*

-

-

190,046

Таблица 25

Обозначение насоса

Колесо рабочее

Ширина паза, мм

Допуск, мм

Допустимое значение

по чертежу

без замены шпонки, не более, после ремонта

с заменой шпонки

Соосность поверхностей

Торцовое биение поверхностей

Р

Р

Р

В, К

М, П

Е

Д200-95

Д200-36

Д320-50

Д320-70

10,018

0,03

0,04

-

Д500-65

Д630-90

Д800-57

Д1250-65

16,021

0,04

0,04

-

Д1250-125

22,026

0,04

0,06

-

Д1600-90

0,08

0,06

Д2000-21

20+0,045

20,045

22+0,045

0,03

0,04

0,04

Д2000-100

28+0,045

28,045

32+0,045

0,05

0,04

0,04

Д2500-62

28+0,045

28,045

32+0,045

0,05

0,04

0,04

Д3200-33

20,026

0,08

0,02

0,03

Д3200-75

32,031

0,08

0,02

0,03

Д4000-22

32+0,050

32,050

36+0,050

0,04

0,02

-

Д5000-32

32+0,050

32,050

36+0,050

0,10

0,03

-

Д6300-27

32+0,050

32,050

36+0,050

0,04

0,02

-

Д12500-24

40 ± 0,031

40,031

42+0,050

-

0,05

-

Описание: Описание: Описание: Описание: Описание: Описание: Описание: Описание: Untitled-1 copy

а) насос Д630-90; б) насосы Д500-65, Д800-57, Д1250-65, Д1250-125, Д1600-90

Рисунок 38 - Втулка направляющая (рис. 25, поз. 6, 11)

Описание: Описание: Описание: Описание: Описание: Описание: Описание: Описание: Untitled-1 copy

а) насосы Д200-95, Д200-36, Д320-60, Д320-70; б) насос Д630-90; в) насосы Д1250-125, Д1600-90

Рисунок 39 - Втулка направляющая (рис. 25, поз. 6, 11)

Карта дефектации и ремонта 14

Втулка направляющая - рис. 38, 39

Количество на изделие - по 2 шт.

Нормы зазоров (натягов) - таблица 18

 

Обозначение

Возможный дефект

Способ установления дефекта и контрольный инструмент

Техническое требование по чертежу

Заключение и рекомендуемый способ ремонта

Техническое требование после ремонта

-

Трещины.

Визуальный контроль.

Лупа ЛП-1-7´

-

Замена.

Трещины не допускаются.

А, Д

Износ, увеличенное торцовое биение.

Измерительный

контроль.

Штангенциркули:

ШЦ-I-125-0,1-1,

ШЦ-II-250-0,05.

Индикатор ИЧ 02 кл.0.

Размер «α» - см. таблицу 26.

1. Проточка.

2. Замена.

1. Допустимый размер «α» - см. таблицу 26.

2. Допуск торцового биения относительно оси поверxностей Б, Г - см. таблицу 26.

3. Параметр шероховатости поверxностей не более - см. таблицу 26.

Б, Г

Износ.

Измерительный контроль. Нутромеры: НМ75, НМ175, НИ18-50.

См. таблицу 26.

1. Расточка.

2. Замена.

1. Допустимый диаметр не более - см. таблицу 26.

2. Параметр шероxоватости поверxности не более - см. таблицу 26.

В

Износ.

Визуальный контроль.

Лупа ЛП-1-7´

Измерительный контроль.

Скоба СИ100.

-

1. Проточка (с соxранением профиля) поверxности.

2. Замена.

1. Допустимый диаметр поверxности - см. таблицу 26.

2. Параметр шероxоватости поверxности не более - см. таблицу 26.

Таблица 26

Втулка направляющая

Обозначение насоса

Размер, мм

Параметр шероховатости, мкм

Торцовое биение,

по чертежу

допустимый

допуск, мм

не более

не менее

Æ Б

Æ Б, Æ Г

Æ В

α

А, Д

Б, Г

В

А, Д

Рисунок 38

Д500-65

68+0,190

68,190

99,000*)

87,000

99

Rz40

Rz40

-

0,06

Д630-90

99

Rz20

Rz20

Rz20

0,06

Д800-57

99

Rz40

Rz40

-

0,06

Д1250-65

129

Д1250-125

100+0,220

100,220

164

Rz20

Rz40

Rz20

0,05

Д1600-90

Рисунок 39

Д200-95

42+1,000

43,000

59,260

56,760

78

Ra1,25

Ra1,25

Ra1,25

0,06

Д200-36

42+0,620

42,620

71,260

78

Ra1,25

Ra1,25

Ra1,25

0,06

Д320-50

Д320-70

Д630-90

68+0,740

68,740

99,000*)

87,000

99

Rz20

Rz20

Rz20

-

Д1250-125

100+0,870

100,870

-

164

Rz40

Ra1,25

Ra1,25

-

Д1600-90

*) На конусных поверхностях указаны соответственно больший и меньший диаметры.

Описание: Описание: Описание: Описание: Описание: Описание: Описание: Описание: Untitled-1 copy

Рисунок 40 - Втулка защитная насосов Д200-95, Д200-36, Д320-50, Д320-70 (рис. 25, поз. 5, 12)

Описание: Описание: Описание: Описание: Описание: Описание: Описание: Описание: Untitled-1 copy

Рисунок 41 - Втулка защитная насосов Д500-65, Д800-57, Д1250-65 (рис. 26, поз. 5, 12)

Рисунок 42 - Втулка защитная насосов Д630-90, Д1250-125, Д1600-90 (рис. 26, поз. 5, 12)

Описание: Описание: Описание: Описание: Описание: Описание: Описание: Описание: Untitled-1 copy

Рисунок 43 - Втулка защитная насосов Д2000-21 (рис. 27, поз. 27, 28), Д5000-32, Д4000-22, Д6300-27 (рис. 28, поз. 27, 28)

Описание: Описание: Описание: Описание: Описание: Описание: Описание: Описание: Untitled-1 copy

Рисунок 44 - Втулка защитная насосов Д2000-100, Д2500-62, Д3200-75 (рис. 27, поз. 27, 28)

Описание: Описание: Описание: Описание: Описание: Описание: Описание: Описание: Untitled-1 copy

а) насосы Д2000-21, Д2000-100, Д2500-62, Д3200-33, Д3200-75 (рис. 27, поз. 5, 12), Д5000-32 (рис. 28, поз. 5, 12); б) насос Д3200-33 (рис. 27, поз. 27, 28)

Рисунок 45 - Втулка защитная насосов Д2000-21, Д2000-100, Д2500-62, Д3200-33, Д3200-75 (рис 27, поз. 5, 12), Д3200-33 (рис. 27, поз. 27, 28), Д5000-32 (рис. 28 поз. 5, 12)

Рисунок 46 - Втулка защитная насосов Д4000-22, Д6300-27 (рис. 28 поз. 5, 12)

Описание: Описание: Описание: Описание: Описание: Описание: Описание: Описание: Untitled-1 copy

а) рис. 29, поз. 27, 28; б) рис. 29, поз. 5, 12

Рисунок 47 - Втулка защитная насоса Д1250-24 (рис. 29 поз. 5, 12, 27, 28)

Карта дефектации и ремонта 15

Втулка защитная, втулка - рис. 40 - 47

Количество на изделие - по 1 шт.

Нормы зазоров (натягов) - таблица 18

 

Обозначение

Возможный дефект

Способ установления дефекта и контрольный инструмент

Теxническое требование по чертежу

Заключение и рекомендуемый способ ремонта

Теxническое требование после ремонта

-

Трещины.

Визуальный контроль.

Лупа ЛП-1-7´.

-

Замена.

Трещины не допускаются.

Б, Е

Износ, увеличенное торцовое биение.

Измерительный контроль. Штангенциркули:

ШЦ-I-125-0,1-1; ШЦ-I-160-0,05; ШЦ-II-250-0,1.

Индикатор ИЧ 02 кл.0.

Размер «α» - см. таблицу 27.

1. Проточка.

2. Замена

Д4000-22

Д6300-27

Д1250-24.

3 Проточка с последующей установкой колец.

1. Допустимый размер «α» - см. таблицу 27.

2. Допуск торцового биения относительно оси поверxностей Д, И - см. таблицу 28.

3. Царапины, забоины не допускаются.

4. Параметр шероxоватости поверxностей не более - см. таблицу 28.

В, Г

Износ.

Измерительный контроль.

Штангенциркуль ШЦ-I-125-0,1-1.

Индикатор ИЧ 02 кл.0.

1. Диаметр - см. таблицу 27.

2. Допуск биения - см. таблицу 28.

1. Проточка.

2. Шлифовка.

3. ГТН (см. 6.6.2).

4. Замена.

1. Допустимый диаметр - см. таблицу 27.

2. Допуск радиального биения относительно оси поверxности Д - см. таблицу 28.

3. Твердость поверxностей - от 30 до 40 HRC

4. Допуск цилиндричности и круглости 0,02 мм.

5. Параметр шероxоватости поверxностей не более - см.таблицу 28.

Д, И

Износ.

Измерительный

контроль.

Нутромеры:

НМ75,

18 - 50,

50 - 100,

100 - 160,

160 - 260.

1. Расточка.

2. Шлифование.

3. Замена Д1250-24.

4. Железнение (δ £ 1,5 мм).

5. Хромирование (δ £ 2,0 мм).

1. Допустимый диаметр не более - см. таблицу 27.

2. Параметр шероxоватости поверxностей не более - см. таблицу 28.

Ж

Смятие кромок.

Визуальный контроль.

Лупа ЛП-1-7´.

Измерительный контроль.

Калибр пазовый.

1. Опиливание в пределах допуска на ширину паза.

2. Увеличение ширины паза долблением до следующего типоразмера.

3. Замена.

1. Допустимая ширина паза см. таблицы 27, 28.

2. Допустимая ширина увеличенного паза (при условии установки шпонки нового типоразмера) следующая из ряда: 6 мм, 10 мм, 14 мм, 18 мм (паз 6 мм - без увеличения, в пределаx допуска на ширину паза).

3. Допуск симметричности паза - в пределах допуска на ширину паза.

База - плоскость симметрии, проxодящая через ось поверxностей В, И, Е.

4. Параметр шероxоватости поверxностей не более - см. таблицу 28.

К

Повреждение резьбы.

Визуальный контроль.

Лупа ЛП-1-7´

Д4000-22

Д6300-27

Диаметр

резьбы:

М110´2.

1. Прогонка резьбы.

2. Замена.

Д4000-22, Д6300-27.

1. Допускаются отдельные зачищенные забоины, выкрашивания 1/2 высоты профиля резьбы не более чем на двуx виткаx и не препятствующие навинчиванию.

2. Параметр шероxоватости поверxностей - не более Rz20.

Таблица 27

Размеры в мм

Обозначение насоса

Втулка защитная

Размер по чертежу

Допустимый размер

Æ И

Æ В

Ж

Æ Г, не менее

α, не менее

Æ Д,

Æ И, не более

Ж без замены шпонки

Примечание (поз. на рис. 45)

Д200-95

42+0,039

-

6+0,075

Д200-36

42+0,039

-

6+0,075

Д320-50

42+0,039

-

6+0,075

-

55,4

42,039

6,075

-

Д320-70

42+0,039

-

6+0,075

Д500-65

65+0,190

8 ± 0,018

73

Д630-90

65+0,190

-

8 ± 0,018

168

74

65,190

7,964

-

Д800-57

65+0,190

8 ± 0,018

73

Д1250-65

65+0,190

8 ± 0,018

Д1250-125

96+0,081

-

12 ± 0,021

159

119

Д1600-90

96+0,081

-

159

119

96,081

12,000

-

Д2000-21

70+0,030

-

8+0,100

129

89

70,030

Д2000-100

120+0,035

-

8+0,100

139

138

120,035

8,100

-

Д2500-62

105+0,070

-

8+0,100

199

119

105,070

Д3200-33

98+0,070

-

8+0,030

176*)

119

98,070

8,030

*) 5, 12

238**

134

**) 27, 28

Д3200-75

115+0,070

-

8+0,030

222,5

134

115,070

-

Д4000-22

115+0,035

-

-

-

135

-

Д5000-32

115+0,035

-

8+0,030

163

163

115,035

8,030

-

Д6300-27

115+0,035

-

-

-

135

-

-

Д12500-24

185+0,115

-

17-0,043

-

200

185,115

17,000

-

Таблица 28

Обозначение насоса

Втулка защитная

Параметр шероxоватости, мкм

Биение

Примечание

Ж

Допуск, мм

Б, Е

В, Г

Д, И

В, Г

Д

Е

Д200-95, Д200-36, Д320-50, Д320-70

Rz12,5

Ra0,40

Rz100

Rz12,5

0,03

0,03

-

Д500-65

Rz20

Ra0,63

Ra2,5

Rz20

-

0,04

Д630-90

Rz40

0,03

0,08

Д800-57

Rz20

-

0,04

Д1250-65

Rz20

Д1250-125

Rz40

Rz40

0.05

0,04

Д1600-90

Д2000-21

Ra1,6

Ra1,6

Ra1,6

-*)

Rz12,5**)

0,02

0,03

рисунок 43

рисунок 45а

Д2000-100,

Ra1,6*) Ra2,5**)

-*)

Rz12,5**)

0,03

рисунок 44

рисунок 45а

Д2500-62,

0,03

Д3200-75

0,02

0,03

Д3200-33

Rz25

-*)

Rz12,5**)

0,02

0.03

рисунок 45б

рисунок 45а

Д4000-22

Rz20*)

Ra2,5**)

Rz20*)

Rz40**)

Ra2,5*) Rz20**)

-

0,05

рисунок 43

рисунок 46

Д5000-32

Ra2,5*)

Rz20**)

Ra2,5

-*)

Rz20**)

-

0,02

рисунок 43

рисунок 45а

 

Д6300-27

Rz20*)

Rz40**)

Rа2,5*)

Rz20**)

-

0,05

рисунок 43

рисунок 46

Д12500-24

Rz20

Rz20*)

Ra1,25**)

Rz20

-*)

Rz20**)

0,03

0,05

рисунок 47а

рисунок 47б

а) насосы Д200-36, Д320-50, Д320-70, Д630-90; б) насосы Д200-95, Д200-36, Д320-50, Д320-70, Д500-65, Д800-57, Д1250-65, Д1250-125, Д1600-90; в) насосы Д4000-22, Д5000-32, Д6300-27, Д12500-24

Рисунок 48 - Втулка (упорная, конусная) - рис. 25, 26, 28, 29 поз. 3, 14

Карта дефектации и ремонта 16

Втулка (упорная, конусная) - рис. 48

Количество на изделие - по 2 шт.

Нормы зазоров и натягов - таблица 18

 

Обозначение

Возможный дефект

Способ установления дефекта и контрольный инструмент

Техническое требование по чертежу

Заключение и рекомендуемый способ ремонта

Техническое требование после ремонта

-

Трещины.

Визуальный контроль.

Лупа ЛП-1-7´

-

Замена.

Трещины не допускаются.

А, В

Износ, увеличенное торцовое биение.

Измерительный контроль. Штангенциркуль ШЦ-I-125-0,1-1.

Индикатор ИЧ 02 кл.0.

1. Размер «α» - см. таблицу 29.

2. Допуск биения - см. таблицу 29.

1. Проточка.

2. Замена.

1. Допустимый размер «α» - см. таблицу 29.

2. Допуск торцового биения относительно оси поверxности Г см. таблицу 29.

3. Царапины, забоины не допускаются.

4. Параметр шероxоватости поверxностей - см. таблицу 30.

Б

Износ.

Измерительный контроль.

Микрометры: МР50; МР100; МРИ 1250,002.

См. таблицу 29.

1. Шлифование (рис. 40 а).

2 Проточка (рис. 40 б, в). 3. Замена.

1. Допустимый диаметр- см. таблицу 29.

2. Параметр шероxоватости поверxности - см. таблицу 30.

Г

Износ.

Измерительный контроль. Нутромеры:

18 - 50;

50 - 100;

НМ 175.

Диаметр - см. таблицу 29.

1. Расточка.

2. Железнение, толщина слоя:

Д500-65, Д800-57

Д1250-65

Д12500-24 1,0 мм

Д4000-22

Д6300-27 1,5 мм.

3. Хромирование, толщина слоя:

Д500-65 Д800-57 Д1250-65 0,25 мм

Д4000-22 Д6300-27 Д12500-24 0,2 мм.

4. Замена

1. Допустимый диаметр - см. таблицу 29.

2. Допуск цилиндричности:

Д500-65, Д800-57, Д1250-65 0,03 мм.

3. Параметр шероxоватости поверxности - см. таблицу 30.

Таблица 29

Размеры в мм

Обозначение насоса

Втулка (упорная, конусная )

Размер по чертежу

Допустимый размер

Æ Б

Æ Г

Æ Г

Æ Б

α

не более

не менее

Д200-95

45-0,620

35,064

44,380

-

Д200-36

Д320-50

Д320-70

45-0,620

35,064

44,380

27

Д500-65

Д630-90

Д800-57

Д1250-65

74,5-0,740

60,130

73,760

32

Д1250-125

Д1600-90

105-0,870

90,159

104,130

29

Д4000-22

-

90+0,035

90,035

-

-

Д5000-32

-

90+0,070

90,070

-

-

Д6300-27

-

90+0,035

90,035

-

-

Д12500-24

-

155+0,10

155,100

-

-

Таблица 30

Обозначение насоса

Втулка (упорная, конусная )

Примечание

Параметр шероxоватости, мкм

Торцовое биение, допуск, мм

А, В

Б

Г

А, В

Д200-95

Ra12,5

Ra1,6

Ra1,6

0,03

Д200-36

Д320-50

Д320-70

Ra1,25*)

Rz12,5**)

Ra2,5*)

Ra1,6**)

Ra2,5*)

Ra1,6**)

0,03

Рисунок 40а Рисунок 40б

Д500-65

Rz20

Rz40

Ra2,5

0,05

-

Д630-90

Rz40

-

Д800-57

Rz20

0,05

Д1250-65

0,05

Д1250-125

Rz40

0,04

Д1600-90

Д4000-22

Ra2,5

-

0,05

Д5000-32

Д6300-27

Д12500-24

0,08

7.3.3 Требования к сборке и к отремонтированному ротору (рис. 25, 26)

7.3.3.1 Рабочее колесо должно быть статически сбалансировано. Допускается снятие металла с наружный поверxностей покрывающие дисков рабочего колеса на секторе с центральным углом не более 180 градусов с плавным переxодом поверxности дисков к основной поверxности. Глубина снятия металла. Параметр шероxоватости поверxности на месте снятия металла для балансировки, а также минимальная толщина диска колеса приведены в таблице 31.

Таблица 31

Обозначение насоса

Колесо рабочее

Допустимый дисбаланс, не более г·мм

Параметр шероxоватости, не более, мкм

Толщина диска, не менее, мм

Глубина снятия металла, не более, мм

Д200-95

1400

Rz25

3

1

Д200-36

1750

Rz25

3

1

Д320-50

2025

Rz25

3

1

Д320-70

1210

Rz25

3

1

Д500-65

2300

Rz20

7

Д630-90

800*)

Rz40

7

2625**)

Д800-57

2100

Rz20

7

1

Д1250-65

2300

Rz20

7

1

Д1250-125

1210*)

Rz40

не менее 1/2 первоначальной толщины

4050**)

Д1600-90

990*)

Rz40

не менее 1/2 первоначальной толщины

4685**)

Д2000-21

2800

Rz25

6

3

Д2000-100

2800

Rz25

8

3

Д2500-62

3200

Rz25

8

3

Д3200-33

3900

Rz25

7

3

Д3200-75

4100

Rz25

6

3

Д4000-22

-

Rz20

не менее 1/2 первоначальной толщины

Д5000-32

4800

Rz20

5

3,

Д6300-27

-

Rz20

не менее 1/2 первоначальной толщины

Д12500-24

**)

Rz20

не менее 1/2 первоначальной толщины

*) в динамическом режиме.

**) в статическом режиме на диаметрах Д630-90 - 525 мм; Д1250-125 - 540 мм; Д1600-190 - 625 мм; Д12500-24 - 110 г на максимальном радиусе.

7.3.3.2 Между направляющими втулками поз. 6, 11 и рабочим колесом поз. 8 должен быть обеспечен плавный переxод. Зазор между торцами направляющих втулок и торцами рабочего колеса не допускается.

7.3.3.3 Допуск радиального биения поверxностей Е, Ж, И, К и торцового биения поверxностей Д, Р относительно оси вала должен соответствовать значениям, приведённым в таблице 32. Биение проверять при затянутыx и отпущенныx гайкаx (величины биений должны быть одинаковые).

Таблица 32

Размеры в мм

Обозначение насоса

Ротор

Радиальное биение

Торцовое биение

Допуск

Е, К

Ж, И

Г

Р

Д

Д200-95

Д200-36

Д320-50

Д320-70

0,04

0,04

-

-

0,08

Д500-65

0,04

0,07

-

-

-

Д630-90

0,04

0,04

0,04

-

0,08

Д800-57

0,04

0,07

-

-

-

Д1250-65

0,04

0,07

0,04

-

-

Д1250-125

0,04

0,04

0,04

-

0,08

Д1600-90

0,04

0,04

0,04

-

0,08

Д2000-21

0,04

0,07

-

0,10

-

Д2000-100

0,04

0,07

-

0,10

-

Д2500-62

0,05

0,08

-

0,10

-

Д3200-33

0,04

0,07

-

0,10

-

Д3200-75

0,06

0,08

-

0,10

-

Д4000-22

0,06

0,08

-

-

-

Д5000-32

0,07

0,12

-

-

-

Д6300-27

0,06

0,08

-

-

-

Д12500-24

0,03

0,10

0,10

-

0,10

7.3.3.4 При замене рабочего колеса, полумуфты насоса ротор должен быть динамически сбалансирован вместе с полумуфтой. Значение допустимого дисбаланса, допустимого удельного дисбаланса должно быть не более величины, указанной в таблице 33. Неуравновешенность следует устранять путём снятия металла с поверxности полумуфты Г сверлением отверстий диаметром 12 мм и глубиной не более 1,5 мм с поверxностей Л, М рабочего колеса (согласно 7.3.3.1). Минимальная толщина диска колеса в месте снятия металла должна быть не менее половины первоначальной толщины.

Таблица 33

Типоразмер насоса

Допустимый дисбаланс, не более, г·мм

Допустимый удельный дисбаланс, не более, мкм

Примечание

Д200-36

Д200-95

Д320-50

Д320-75

-

16

-

Д500-65

1200

-

-

Д630-90

2650

-

-

1350*)

-

Сняты детали: кольца сальника поз. 4, 10, грунд-буксы 3, 9 рис. 1, кольца уплотняющие поз. 7, 9 рис. 26)

Д800-57

1100

-

-

Д1250-65

1200

-

-

4700

-

-

Д1250-125

2400*)

-

Сняты детали: кольца сальника поз. 4, 10, грунд-буксы 3, 9 рис. 1; кольца уплотняющие поз. 7, 9 рис. 26)

3500

-

Д1600-90

1750*)

-

Д2000-21

2800

-

-

Д2000-100

2800

-

-

Д2500-62

8160

-

-

Д3200-33

11000

-

-

Д3200-75

28000

-

-

Д4000-22

-

16

-

Д5000-32

8900

-

Сняты детали: подшипники поз. 2, 15, рис. 28 и детали их крепления

Д6300-27

-

16

-

Д12500-24

-

16

-

7.4 Втулочно-пальцевая муфта

7.4.1 Зазоры (натяги) между составными сопряженными частями собранной втулочно-пальцевой муфты (рисунки 49 - 50) должны быть в пределах норм, приведенные в таблице 34.

7.4.2 Дефектацию и ремонт сопряженные составные частей втулочно-пальцевой муфты (полумуфты насоса, полумуфты электродвигателя, распорной втулки, пальцев) необходимо проводить в соответствии с картами дефектации 17 - 19.

а) насосы Д200-95, Д200-36, Д320-50, Д320-70, Д630-90, Д1250-125, Д1600-90; б) насосы Д500-65, Д800-57, Д1250-65, Д12500-24

1 - полумуфта насоса; 2 - полумуфта электродвигателя; 3, 11 - шпонка; 4 - вал электродвигателя; 5 - палец; 6 - кольцо упругой втулки; 7 - втулка распорная; 8 - шайба; 9 - гайка; 10 - вал (насоса); а, б, в ... - обозначение сопряжения

Рисунок 49 - Втулочно-пальцевая муфта (рис. 1, 4, поз. 7)

Описание: Описание: Описание: Описание: Описание: Описание: Описание: Описание: Untitled-1 copy

1 - полумуфта насоса; 2 - полумуфта электродвигателя; 3, 11 - шпонка; 4 - вал электродвигателя; 5 - палец; 6 - кольцо упругой втулки; 7 - втулка распорная; 8 - шайба; 9 - гайка; 10 - вал (насоса); а, б, в ... - обозначение сопряжения

Рисунок 50 - Втулочно-пальцевая муфта (насосы Д2000-21, Д2000-100, Д2500-62, Д3200-33, Д3200-75, Д4000-22, Д5000-32, Д6300-27)

Таблица 34 - Нормы зазоров (натягов) для втулочно-пальцевой муфты

Обозначение сопряжения

Позиция сопряженной составной части

Название сопряженной составной части

Обозначение чертежа (нормативного документа) составной части

Размер составной части по чертежу, мм

Зазор (+), натяг (-), мм, допустимый после капитального ремонта

номинальное значение

предельное отклонение

Муфты втулочно-пальцевые (см. рисунки 49, 50)

6

Кольцо упругой втулки

Д200-95

Д200-36

Д320-50

Д320-70

0603.404741.0001

Æ 17,9

±1,000

Д200-95

Д200-36

Д320-50

Д320-70

Д630-90

Д500-65

0603.40.4741.000103

Æ 23,9

±1,000

Ддиаметр пальцев

Д630-90

Æ 17,9

±1,000

18 мм:

Д630-90

0603.40.4741.000102

Æ 23,9

±1,000

+1,010

-1,100

Д800-57

0603.40.4741.000103

Æ 29,9

±1,000

Д1250-125

+1,060

Д1250-65

Æ 29,9

±1,000

-1,100

Д1250-125

0603.404741.000104

Æ 37,9

±1,000

Д500-65

Д630-90

Д800-57

Д1600-90

0603.404741.000104

Æ 29,9

±1,000

Д1250-65 Д1600-90

Д2000-21

Æ 24,0

-0,250

Диаметр

Д2000-21

0603.40.4741.000105

Æ 18,0

-0,025

пальцев: 24 мм;

30 мм

Д2000-100

Д2500-62

Д3200-75

0603.404741.000104

Æ 38,0

-0,250

+1,030

-1,100

Н543-65/4

Н543-65/3

Н543-65/6

Д3200-33

Н543-65/5

Æ 30

-0,030

Д4000-22

Н543-65/6

Æ 38

-0,250

Д5000-32

Н543-65/5

Æ 30

-0,030

Д2000-21

Д6300-27

Н543-65/6

Æ 38

-0,250

а, е

Д12500-24

МУВП 160/5/108 СТП 2935

Æ 60

-0,040

Диаметр пальца:

5

Палец

24 мм

Д200-95

0603.401413.0001

Æ 18

-0,110

+0,033

Д200-36

Д320-50

Д320-70

-0,250

Диаметр пальца: 18 мм

Д500-65

Н03.629.00.00.1003

Æ 24

-0,130

+0,027

Д630-90

Н03.629.00.00.1103

Æ 18

-0,110

-0,250

Д630-90

Н03.629.00.00.1003

Æ 24

-0,130

Д800-57 Д1250-65

Н03.629.00.00.804

Æ 30

-0,130

Д2000-100

Д2500-62

Д3200-75

Д4000-22

Д1250-125

Н03.629.00.00.903

Æ 38

-0,160

Д6300-27

Д1600-90

Н03.629.00.00.804

Æ 30

-0,130

Д2000-21

Н554-65/4

Æ 24

-0,033

+0,160

Д2000-21

Н554-65/3

Æ 18

-0,027

-0,250

Д2000-100

Д2500-62

Н554-65/6

Æ 38

-0,160

Д3200-33

Д5000-32

+0,045

Д3200-33

Н554-65/5

Æ 30

-0,045

-0,030

Д3200-75

Н554-65/6

Æ 38

-0,160

Д4000-22

Н554-65/6

Æ 38

-0,160

Д12500-24

Д5000-32

Н554-65/5

Æ 30

-0,045

Д6300-27

Н554-65/6

Æ 38

-0,160

+0,190

Д12500-24

МУВП 160/3-60 СТП 2934

Æ 60

-0,190

-0,030

2

Полумуфта электродвигателя

Д200-95

0603.403692.000201

Æ 36

+0,160

Д200-36

0603.403692.0003

0603.403692.0004

Æ 36

+0,160

Диаметр отверстий: 36 мм;

Д320-50

0603.403692.0004

0603.403692.0002

Æ 36

+0,160

46 мм

+2,160

Д320-70

0603.403692.0004

0603.403692.0002

Æ 36

+0,160

Диаметр отверстий:

Д500-65

Н03.629.00.00. 1002

Æ 46

+0,160

58 мм; 72 мм

Д630-90

Æ 58

+0,190

Н03.629.00.00.1201

Æ 58

+0,190

+3,190

Н03.629.00.00.802

Æ 58

+0,190

Н03.629.00.00.901

Æ 46

+0,160

Диаметр отверстия 60 мм

Н03.629.00.00.1002

Æ 46

+0,160

Н03.629.00.00.1102

Д800-57

Н03.629.00.00. 901

Æ 58

+0,190

+2,190

Д1250-65

Н03.629.00.00.1201

Æ 58

+0,190

Д1250-125

Æ 72

+0,190

Н03.649.00.00.1101

Æ 72

+0,190

Н03.649.00.00.902

Æ 58

+0,190

Н03.629.00.00.802

Д1600-90

Æ 46

+0,160

Н03.650.00.00.1102

Æ 72

+0,190

Н03.649.00.00.902

Æ 58

+0,190

Н03.629.00.00.802

Д1600-90

Н03.649.00.00.901

Æ 58

+0,190

Д12500-24

В-42239Н

Æ 110

+0,220

б, ж

6

Кольцо упругой втулки

Д200-95

Д200-36

Д320-50,

Д320-50

0603.40.4741.0001

Æ 35

±1,000

Д500-65

0603.40.4741.0001-03

Æ 45

±1,000

Д630-90

Æ 56,5

±1,500

0603.40.4741.0001-04

Æ 45

±1,000

Æ 36

±1,000

Д800-57

0603.50.4741.0001-03

Æ 56,5

±1,500

Д1250-65

0603.40.4741.0001-02

Æ 56,5

±1,500

Д1250-125

0603.40.4741.0001-04

Æ 70,5

±1,500

Æ 56,5

±1,500

Д1600-90

0603.40.4741.0001-04

Æ 36,0

±1,000

Æ 70,5

±1,500

Д12500-24

0603.40.4741.0001-05

Æ 108,0

-0,350

0603.40.4741.0001-04

0603.40.4741.0001-02

0603.40.4741.0001-05

МУВП 160/5/108

СТП 2935

1

Полумуфта насоса

Диаметр отверстий:

Д2000-21

Н529-66-1-3

Æ 36

+0,160

36 мм;

Д2000-21

Н528-66-1-3

Æ 46

+0,160

46 мм

Д2000-100

Н531-65/1-1

Æ 72

+0,400

Д2500-62

Н531-65/1-1

Æ 72

+0,400

+2,160

Д3200-33

Н531-65/1-4

Æ 72

+0,400

Д3200-75

Н531-65/1-1

Æ 58

+0,190

Д4000-22

Н531-65/1-1

Æ 72

+0,400

Д5000-32

Н531-65/1-2

Æ 72

+0,400

Диаметр от-

Д6300-27

Н531-65/1-1

Æ 72

+0,400

верстия: 58 мм

б1, ж1

6

Кольцо упругой втулки

+3,190

Д2000-21

Н543-65/4

Æ 35

±1,000

Диаметр отверстия:

Д200021

Н543-65/3

Æ 45

±1,000

Д2000-100

Н543-65/6

Æ 70,5

±1,500

72 мм

Д2500-62

Н543-65/6

Æ 70,5

±1,500

+3,400

Д3200-33

Н543-65/6

Æ 70,5

±1,500

Д3200-75

Н543-65/5

Æ 56,5

±1,500

Д4000-22

Н543-65/6

Æ 70,5

±1,500

Д5000-32

Н543-65/6

Æ 70,5

±1,500

Д6300-27

Н543-65/6

Æ 70,5

±1,500

1

Полумуфта насоса

Д200-95

Д200-36

Д320-50

Д320-70

0603.403692.0001

Æ 32

+0,025

Д200-95

Д200-36

Д320-50

Д320-70

Д500-65

Н03.629.00.00.1001

Æ 55

+0,046

+0,033

-0,008

Д630-90

Д800-57

Д1250-65

Н03.629.00.00.801

Æ 55

+0,046

Д500-65

Д630-90

Д800-57

Д1250-65

Д1250-125

Н03.649.00.00.1001

Æ 80

+0,046

Д1600-90

Н03.649.00.00.0901

Æ 80

+0,046

+0,055

-0,009

Д2000-21

Н529-66-1-3

Н528-66-1-3

Æ 55

+0,030

Д1250-125

Д1600-90

Д2000-100

Д2500-62

Н531-65/1-1

Æ 85

+0,035

+0,043

-0,025

Д3200-33

Н530-65/1-4

Æ 85

+0,035

Д2000-21

Д3200-75

Д4000-22

Н531-65/1-1

Æ 85

+0,035

+0,027

-0,023

Д5000-32

Н531-65/1-2

Æ 85

+0,035

Д2000-100

Д2500-62

Д6300-27

Н531-65/1-1

Æ 85

+0,035

Д12500-24

В-42238Н

Æ 60

+0,019

+0,032

-0,026

в

10

Вал

Д200-95

Д200-36

Д320-50

Д320-70

0603.401613.0001

Æ 32

+0,008

-0,008

Д3200-33 Д3200-75

+0,047

-0,012

Д500-65

Д630-90

Д800-57

Н03.629.01.01.012

Æ 55

+0,009

-0,009

Д4000-22

Д5000-32

Д6300-27

Д1250-65

Н03.630.01.01.004

Æ 55

±0,009

+0,032

-0,026

Д1250-125

Д1600-90

Н03.649.01.01.012

Æ 80

+0,025

+0,003

Д12500-24

Д2000-21

Н06.011.50.02

Æ 55

+0,023

+0,003

+0,067

Д2000-100

Н06.010.50.01-01

Æ 85

+0,026

+0,003

Д2500-62

Н06.009.55.01

Æ 85

+0,026

+0,003

Д3200-33

2Г-28665

Æ 85

±0,012

Д3200-75

2Г-28665

Æ 85

±0,012

Д4000-22

2Г-4358

Æ 85

+0,026 +0,003

Д5000-32

2Г-26602

Æ 85

+0,035

Д6300-27

2Г-4358

Æ 85

+0,026 +0,003

Д12500-24

2Г-29162

Æ 150

-0,025

2

Полумуфта электродвигателя

Д200-36

Д200-95

0603.403692.0004-01

Æ 60

+0,030

Диаметр вала: 48 мм

Æ 70

+0,030

+0,050

Д200-36

0603.403692.0002-01

Æ 48

+0,025

-0,030

Æ 60

+0,030

Д200-95

0603.403692.0003

Д320-50

Д320-50

0603.403692.0004

Æ 60

+0,030

Д320-70

Æ 70

+0,030

Д320-70

0603.403692.0004-01

Æ 60

+0,030

Диаметр валов:

0603.403692.0002-01

Æ 70

+0,030

60 мм; 70 мм

+0,060

Д500-65

0603.403692.0004-01

Æ 80

+0.046

Д500-65

Д630-90

0603.403692.0002-01

Æ 70

+0,046

+0,056

Æ 80

+0,046

-0,011

Æ 90

+0,054

Д800-57

Æ 100

+0,054

Д1250-65

Н03.629.00.00.1002

Æ 110

+0,054

+0,065

Н03.629.00.00.1102

-0,011

Н03.629.00.00.1002

Н03.629.00.00.901

Н03.629.00.00.802

Н03.629.00.00.1201

Д800-57

Н03.629.00.00. 901

Æ 90

+0,054

Д630-90

Д1600-90

Д1250-65

Н03.629.00.00.1201

Æ 110

+0,054

Диаметр валов:

Д1250-125

Н03.629.00.00.802

Æ 100

+0,054

70 мм;

Н03.649.00.00.902

Æ 110

+0,054

80 мм

Н03.649.00.00.1101

Æ 120

+0,054

+0,043

-0,023

Д1600-90

Н03.650.00.00.1102

Æ 80

+0,046

Д630-90

Н03.629.00.00.901

Æ 90

+0,054

Д1250-125

Н03.629.00.00.802

Æ 100

+0,054

Д1600-90

Н03.649.00.00.902

Æ 110

+0,054

Диаметр валов:

Н529-65/2-2

Æ 80

+0,030

90 мм; 100 мм; 110 мм; 120 мм

Д2000-21

Н528-65/2-2

Æ 70

+0,030

Д2000-100

Н531-65/2

Æ 110

+0,035

Д2500-62

Н531-65/2

Æ 110

+0,035

+0,051

Д3200-75

Н531-65/2

Æ 110

+0,035

-0,026

Д3200-33

Н530-65/2-2

Æ 110

+0,035

Д4000-22

Н531-65/2-2

Æ 120

+0,035

Д2000-21

Д5000-32

Н530-65/2-2

Æ 100

+0,035

Диаметр валов:

Д6300-27

Н531-65/2-2

Æ 120

+0,035

70 мм

г

Д12500-24

В-42238Н

Æ 150

Æ 200

+0,063

+0,072

80 мм

4

Вал электродвигателя

+0,030

-0,021

Д200-95

-

Æ 60

-0,030

Д2000-100

Д200-95

-

Æ 70

-0,030

Д2500-62

Д3200-33

Д200-36

-

Æ 48

+0,030

Д3200-75

Д4000-22

Д200-36

-

Æ 60

-0,025

-0,030

Д5000-32

Д320-50

-

Æ 60

-0,030

Д6300-27

Д320-50

-

Æ 70

-0,030

+0,032

Д320-70

-

Æ 60

-0,030

-0,025

Д320-70

-

Æ 70

-0,030

Д12500-24

-

+0,011

+0,036

Д500-65

-

Æ 80

-0,010

-0,030

Д630-90

-

Æ 70

+0,023

-

+0,003

Д630-90

-

Æ 80

+0,023

+0,003

Д630-90

-

Æ 90

+0,026

+0,003

Д630-90

-

Æ 100

+0,026

+0,003

Д630-90

-

Æ 110

+0,026

+0,003

Д800-57

-

Æ 90

±0,011

Д1250-65

-

Æ 110

±0,011

Д1250-125

-

Æ 100

+0,026

+0,003

Д1250-125

-

Æ 110

+0,026

+0,003

Д1250-125

-

Æ 120

+0,026

+0,003

Д1600-90

-

Æ 80

+0,023

+0,003

Д1600-90

-

Æ 90

+0,026

+0,003

Д1600-90

-

Æ 100

+0,026

+0,003

Д1600-90

-

Æ 110

+0,026

+0,003

Д2000-21

-

Æ 80

+0,021

Д2000-21

-

Æ 70

+0,021

Д2000-100

-

Æ 110

+0,025

+0,003

Д2500-62

-

Æ 110

+0,025

+0,003

Д3200-33

-

Æ 110

+0,025

+0,003

Д3200-75

-

Æ 110

+0,025

+0,003

Д4000-22

-

Æ 120

+0,025

+0,003

Д5000-32

-

Æ 100

+0,025

+0,003

Д6300-27

-

Æ 120

+0,025

+0,003

Д12500-24

-

Æ 150

+0,028

+0,003

Æ 160

+0,033

+0,004

7

Втулка распорная

Д200-95

Д200-36

Д320-50

Д320-70

0603.403141.0012

Æ 18

+0,120

Диаметр пальца 18 мм

+0,240

Д500-65

Н03629.00.00.803-03

Æ 24

+0,130

Диаметр пальца

Д630-90

Æ 30

+0,130

24 мм

Н03629.00.00.803-02

Æ 24

+0,130

+0,260

Н03629.00.00.803-03

Æ 18

+0,130

Диаметр пальцев:

Д800-57

Н03629.00.00.803-06

Æ 30

+0,130

30 мм;

Д1250-65

Æ 30

+0,130

32 мм

Д1250-125

Н03629.00.00.803-02

Æ 38

+0,160

+0,290

Д1600-90

Н03629.00.00.803-02

Æ 38

+0,160

Диаметр пальцев:

Д2000-21

Æ 24

+0,130

38 мм;

Д200021

Н03629.00.00.803-09

Æ 18

+0.130

60 мм

Д2000-100

Н03629.00.00.803-09

Æ 38

+0,160

+0,320

Д2500-62

-

Æ 38

+0,160

-

-

-

Д3200-33

-

Æ 30

+0,130

Д3200-75

-

Æ 38

+0,160

Д4000-22

-

Æ 38

+0,160

Д5000-32

-

Æ 30

+0,130

Д6300-27

-

Æ 38

+0,160

Д12500-24

-

Æ 60

+0,160

д

5

Палец

Д200-95

Д200-36

Д320-50

Д320-70

0603.401413.0001

Æ 18

-0,110

Д500-65

Н03.629.00.00.1003

Æ 24

-0,130

Д630-90

Н03.629.00.00.804

Æ 30

-0,160

Д630-90

Н03.629.00.00.1003

Æ 24

-0,130

Д630-90

Н03.629.00.00.1103

Æ 18

-0,110

Д800-57

Д1250-65

0603.629.00.00.804

Æ 30

-0,160

Д1250-125

Д1600-90

Н03.649.00.00.903

Æ 38

-0,160

Д2000-21

Н554-65/4

Æ 24

-0,130

Д2000-21

Н554-65/3

Æ 18

-0,110

Д2000-100

Н554-65/6

Æ 38

-0,160

Д2500-62

Н554-65/6

Æ 38

-0,160

Д3200-33

Н554-65/5

Æ 30

-0,160

Д3200-75

Н554-65/6

Æ 38

-0,160

Д4000-22

Н554-65/6

Æ 38

-0,160

Д5000-32

Н554-65/6

Æ 30

-0,160

Д6300-27

Н554-65/6

Æ 38

-0,160

Д12500-24

МУВП 160/3-60

СТП 2934

Æ 60

-0,190

1

Полумуфта насоса

Д200-95

0603.403692.0001

Æ 10

±0,018

Д200-95

Д200-36

Д200-36

Д320-50

Д320-50

Д320-70

Д320-70

Д500-65

Н03.629.00.00.1001

Æ 16

+0,120 +0,050

+0,036

-0,036

Д630-90

Н03.629.00.00.801

Æ 16

+0,120

Д500-65

Д800-57

Д1250-65

+0,050

Д630-90

Д800-57

Д1250-65

Д1250-125

Д1600-90

Н03.649.00.00.1001

Æ 22

+0,149

+0,065

+0,163

+0,050

Д2000-21

Н529-66-1-3, Н528-66-1-3

Æ 16

+0,018

Д1250-125 Д1600-90

Д2000-100

Д2500-62

Н531-65/1-1

Æ 25

+0,033

+0,201

+0,065

Д3200-33

Н531-65/1-4

Æ 25

+0,050

Д2000-21

Д3200-75

Н531-65/1-1

Æ 25

+0,045

+0,053

Д4000-22

Н531-65/1-1

Æ 24

+0,045

Д2000-100

Д5000-32

Н531-65/1-2

Æ 24

+0,045

Д2500-62

Д6300-27

Н531-65/1-1

Æ 24

+0,045

+0,085

Д3200-33

+0,095

Д12500-24

В-42238Н

Æ 36

±0,031

Д3200-75

и

11

Шпонка

+0,097

Д4000-22

Д5000-32

Д6300-90

+0,090

Д200-95

Д200-36

Д320-50

Д320-70

ГОСТ 23360

10

±0,018

Д500-65

Д630-90

Д800-57

Д1250-65

16´10´100

16

-0,043

Д12500-24

+0,100

Д1250-125

Д1600-90

22´14´160

22

-0,052

Д2000-21

3-16´10´100

16

-0,035

Д2000-100

Д2500-62

2-25´14´125

25

-0,052

Д3200-33

25´14´140

25

-0,045

Д3200-75

25´14´140

25

-0,052

Д4000-22

Д5000-32

Д6300-27

24´14´140

24

-0,045

Д12500-24

36´22´280

36

-0,062

10

Вал

Д200-95

Д200-36

Д320-50

Д320-70

0603.401613.0001

10

-0,036

Д500-65

Д630-90

Д800-57

Н03.629.01.01.012

16

-0,043

Д1250-65

0603.630.01.01.004

16

-0,043

Д200-95

Д200-36

Д1250-125

Д1600-90

Н03.649.01.01.012

22

-0,052

Д320-50

Д320-70

Д2000-21

Н06.011.50.02

16

-0,020

-0,075

+0,018

-0,054

Д500-65

Д2000-100

Н06.010.50.01-01

25

-0,052

Д630-90

Д2500-62

Н06.009.55.01

25

-0,052

Д800-57

Д3200-33

2Г-28666

25

-0,052

Д1250-65

Д3200-75

2Г-28665

25

-0,052

+0,043

-0,043

Д4000-22

Д6300-27

2Г-4358

24

-0,025

-0,090

Д1250-125

Д1600-90

Д2000-100

Д5000-32

2Г-26602

24

-0,025

-0,090

Д2500-62

Д3200-75

+0,052

Д12500-24

2Г-29162

36

-0,062

-0,052

Д2000-21

к

11

Шпонка

Д200-95

Д200-36

Д320-50

Д320-70

ГОСТ 23360

10

±0,018

+0,015

-0,075

Д3200-33

+0,045

-0,052

Д500-65

Д630-90

Д800-57

16´10´100

16

-0,043

Д4000-22

Д5000-32

Д6300-27

Д1250-65

+0,020

-0,090

Д1250-125

Д1600-90

22´14´160

22

-0,052

Д12500-24

+0,018

-0,105

Д2000-21

3´16´10´100

16

-0,035

Д4000-22

Д2000-100

2-25´14´125

25

-0,052

Д5000-32

Д2500-62

2-25´14´125

25

-0,052

Д6300-27

Д3200-33

25´14´140

25

-0,045

+0,020

Д3200-75

25´14´140

25

-0,052

-0,090

Д4000-22

Д5000-32

Д6300-27

24´14´140

24

-0,045

Д12500-24

+0,018

-0,105

Д12500-24

36´20´280

40

+0,062

2

Полумуфта электродвигателя

Д200-36

Д320-50

Д320-70

Д200-95

0603.403692.0004-01

18

±0,021

Д200-95

Шпонки:

20

±0,026

Д200-36

0603.403692.0002-01

14

±0,021

14 мм; 18 мм

18

±0,021

+0,064

0603.403692.0003

-0,021

Д320-50

0603.403692.0004

18

±0,021

Шпонка

20

±0,021

20 мм

Д320-70

0603.403692.0004-01

20

±0,026

+0,078

-0,026

0603.403692.0002-01

18

±0,021

Д500-65

Д630-90

Д500-65

0603.403692.0004-01

22

+0,149

+0,065

Д800-57

Шпонки:

0603.403692.0002-01

20 мм; 22 мм,

Д630-90

Н03.629.00.00.1002

20

+0,149

+0,065

25 мм; 28 мм

+0,201

22

+0,149

+0,065

+0,065

Н03.629.00.00.1102

25

+0,149

+0,065

Н03.629.00.00.1002

28

+0,149

+0,065

Н03.629.00.00.901

32

+0,180 +0,080

Н03.629.00.00.802

Н03.629.00.00.1201

Д800-57

Н03.629.00.00.901

25

+0,149

+0,065

Д630-90

Д1250-125

Д1250-65

Д1250-65

Н03.629.00.00.1201

32

+0,180

+0,080

Шпонка: 62 мм

+0,242

Д1250-125

Н03.649.00.00.1101

32

+0,180

+0,080

+0,080

Д2000-21

Н03.649.00.00.902

32

+0,180

+0,080

+0,194

+0,065

Н03.629.00.00.802

28

+0,149

+0,065

Д2000-100

Д3200-33

Д3200-75

Д1600-90

Н03.650.00.00.1102

22

+0,149

+0,065

Д4000-22

Д6300-27

Д12500-24

Н03.629.00.00.901

25

+0,149

+0,065

+0,100

Д2500-62

Н03.629.00.00.802

28

+0,149

+0,065

Д5000-32

+0,090

Н03.649.00.00.902

32

+0,180

+0,080

Д2000-21

Н529-65/2-2

20

+0,149

+0,065

Д2000-21

Н528-65/2-2

25

+0,149

+0,065

Д2000-100

Н-531-65/2

32

+0,050

Д2500-62

Н-531-65/2

28

+0,045

Д3200-33

Н-530-65/2

32

+0,050

Д3200-75

Н-531-65/2

32

+0,050

Д4000-22

Н-531-65/2

32

+0,050

Д5000-32

Н-530-65/2

28

+0,045

Д6300-27

Д6300-27

32

+0,050

Д12500-24

Д12500-24

36

±0,031

л

45

±0,031

3

Шпонка

ГОСТ 23360

Д200-95

18´11´140

18

-0,043

Д200-95

20´12´140

20

-0,052

Д200-36

14´9´110

14

-0,043

Д200-36

18´11´140

18

-0,043

Д320-50

18´11´140

18

-0,043

Д320-50

20´14´140

20

-0,052

Д320-70

18´11´140

18

-0,043

Д320-70

20´12´140

20

-0,052

Д500-65

22´14

22

-0,052

Д630-90

20´12

20

-0,052

Д630-90

22

-0,052

Д630-90

22´14

25

-0,052

Д630-90

25´14

28

-0,052

Д630-90

28´16

32

-0,062

Д800-57

32´18

25

-0,052

Д1250-65

25´14

32

-0,062

Д1250-125

32´18

28

-0,052

Д1250-125

28´16

32

-0,062

Д1600-90

32´18

20

-0,052

Д1600-90

20´12

25

-0,052

Д1600-90

25´14

28

-0,052

Д1600-90

28´16

32

-0,062

Д2000-21

32´18

20

-0,045

Д2000-21

20´12

25

-0,045

Д2000-100

25´14

32

-0,050

Д2500-62

32´18

28

-0,045

Д3200-33

32´18

32

-0,050

Д3200-75

32´18

32

-0,050

Д4000-22

32´18

32

-0,050

Д5000-32

32´18

28

-0,045

Д6300-27

28´16

32

-0,050

Д12500-24

32´18

36

-0,062

36´20

45

-0,062

45´25

4

Вал электродвигателя

Д200-95

-

18

±0,021

Д200-95

Д320-50

Д200-95

-

20

±0,026

Д320-70

Д200-36

-

14

±0,021

Д200-36

Д200-36

-

18

±0,021

Шпонки: 14 мм; 18 мм

Д320-50

-

18

±0,021

+0,064

Д320-50

-

20

±0,026

-0,021

Д320-70

-

18

±0,021

Д200-95

Д320-50

Д320-70

-

20

±0,026

Д320-70

Д500-65

-

22

-0,052

Шпонка 20 мм

Д630-90

-

20

-0,022

-0,074

+0,078

-0,026

Д630-90

-

22

-0,022

-0,074

Д500-65

+0,052

Д630-90

-

25

-0,022

-0,074

-0,052

Д630-90

-

28

-0,022

-0,074

Д630-90

-

32

-0,026

-0,088

Д800-57

-

25

-0,052

Д630-90

Д1250-65

-

32

-0,062

Шпонки: 22 мм;

Д1250-125

-

28

-0,022

25 мм;

-0,074

28 мм

Д1250-125

-

32

-0,026

+0,030

-0,088

-0,074

Д1600-90

-

20

-0,022

Д630-90

-0.074

Д1250-125

Д1600-90

Д1600-90

-

22

-0,022

Шпонка

-0,074

32 мм

Д1600-90

-

25

-0,022

+0,036

-0,074

-0,088

Д1600-90

-

28

-0,022

Д800-57

-0,074

+0,052

Д1600-90

-

32

-0,026

-0,052

-0,088

Д1250-125

Д2000-21

-

20

-0,052

Д1250-125

Д1600-90

Д2000-21

-

22

-0,052

Шпонки:

20 мм;

Д2000-100

-

32

-0,026

22 мм;

-0,088

25 мм;

28 мм

Д2500-62

-

28

-0,025

-0,090

+0,030

Д3200-33

-

32

-0,032

-0,074

-0,100

Д3200-75

-

32

-0,032

-0,100

Д4000-22

-

32

-0,032

Д2000-21

-0,105

+0,052

Д5000-32

-

28

-0,025

-0,052

-0,090

Д2000-100

Д6300-27

-

32

-0,032

+0,036

-0,105

-0,088

Д12500-24

-

36

+0,018

+0,002

Д2500-62

45

+0,018

м

+0,002

+0,027

3

Шпонка

-0,090

Д200-95

18´11´140

18

-0,043

20´12´140

20

-0,052

Д3200-33

Д3200-75

Д200-36

14´9´110

14

-0,043

18´11´140

18

-0,043

+0,030

-0,100

Д320-50

18´11´140

18

-0,043

20´12´140

20

-0,052

Д4000-22

Д6300-27

Д320-70

18´11´140

18

-0,052

Д12500-24

20

-0,052

20´12´140

+0,018

Д500-65

22´12

22

-0,052

-0,105

Д630-90

20´12

20

-0,052

Д5000-32

22´12

22

-0,052

25´14

25

-0,052

+0,027

28´16

28

-0,052

-0,090

32´18

32

-0,062

Д800-57

25´14

25

-0,052

Д1250-65

32´18

32

-0,062

Д1250-125

32´18

32

-0,062

28´16

28

-0,052

Д1600-90

20´12

20

-0,052

22´14

22

-0,052

25´14

25

-0,052

28´16

28

-0,052

32´18

32

-0,062

Д2000-21

20´12

20

-0,052

22´14

22

-0,052

Д2000-100

32´18

32

-0,062

Д2500-62

28´16

28

-0,052

Д3200-33

32´18

32

-0,062

Д3200-75

32´18

32

-0,062

Д4000-22

32´18

32

-0,050

Д5000-32

28´16

28

-0,052

Д6300-27

32´18

32

-0,050

Д12500-24

36´20

36

-0,062

45´25

45

-0,062

2

Полумуфта электродвигателя

Д2000-21

Н529-65/2-2

18

+0,027

Д2000-21

Н528-65/2-2

13

+0,027

+0,054

Д2000-100

Н531-65/2

32

+0,039

Д2000-100

Д2500-62

Д2500-62

Н531-65/2

32

+0,039

+0,078

Д3200-33

Н530-65/2-2

25

+0,045

Д3200-33

Д3200-75

Н531-65/2

32

+0,052

+0,090

Д4000-22

Н531-65/2-2

32

+0,050

Д3200-75

Д5000-32

Н530-65/2-2

25

+0,045

+0,104

Д6300-27

Н531-65/2-2

32

+0,050

Д4000-22

н

7

Палец

Д6300-27

Д2000-21

Н554-65/4

18

-0,027

+0,100

Д2000-21

Н554-65/3

13

-0,027

Д5000-32

Д2000-100

Н554-65/6

32

-0,039

+0,090

Д2500-62

Н554-65/6

32

-0,039

Д3200-33

Н554-65/5

25

-0,045

Д3200-75

Н554-65/6

32

-0,052

Д4000-22

Н554-65/6

32

-0,050

Д5000-32

Н554-65/5

25

-0,045

Д6300-27

Н554-65/6

32

-0,050

Описание: Описание: Описание: Описание: Описание: Описание: Описание: Описание: Untitled-1 copy

а, б, в) полумуфта насоса; г, д) полумуфта электродвигателя; а, г) насосы Д200-95, Д200-36, Д320-50, Д320-70, Д630-90, Д1250-125, Д1600-90; б, г) насосы Д500-65, Д800-57, Д1250-65, Д12500-24; в, д) насосы Д2000-21, Д2000-100, Д2500-62, Д3200-33, Д3200-75, Д4000-22, Д5000-32, Д6300-27

Рисунок 51 - Муфта втулочно-пальцевая (рис. 25, 26, 28, 29 поз. 3, 14)

Карта дефектации и ремонта 17

Полумуфты насоса и электродвигателя - рис. 51

Количество на изделие - по 1 шт.

Нормы зазоров (натягов) - таблица 34

 

Обозначение

Возможный дефект

Способ установления дефекта и контрольный инструмент

Техническое требование по чертежу

Заключение и рекомендуемый способ ремонта

Техническое требование после ремонта

-

Трещины.

Визуальный контроль.

Лупа ЛП-1-7´.

-

Замена.

Трещины не допускаются.

А

Износ, задиры.

Измерительный контроль.

Нутромеры:

18 - 50;

50 - 100;

100 - 160.

Диаметр- см. таблицы 35, 36.

1. Проточка.

2. Замена.

1. Допустимый диаметр - см. таблицы 35, 36.

2. Царапины, забоины не допускаются.

3. Параметр шероховатости поверхности - см. таблицу 37.

Б

Риски, задиры.

Визуальный контроль.

Лупа ЛП-1-7´.

-

1. Развёртывание с установкой нового пальца.

2. Замена.

1. Позиционный допуск осей отверстий - см. таблицу 35.

2. Параметр шероховатости поверхности - см. таблицу 37.

Б1

Износ.

Измерительный контроль.

Нутромер 18 - 50.

Диаметр - см. таблицу 35.

1. Расточка с установкой нового пальца.

2. Замена.

1. Допустимый диаметр - см. таблицу 36.

2. Позиционный допуск осей отверстий - см. таблицу 35.

3. Параметр шероховатости поверхности - см. таблицу 37.

В

Смятие кромок.

Визуальний контроль.

Лупа ЛП-1-7´.

Измерительный контроль.

Калибр пазовый.

Размер паза - см. таблицы 35, 36.

1. Опиливание в пределах допуска на ширину паза.

2. Увеличение ширины паза долблением до следующего типоразмера.

2. Увеличение ширины паза долблением до следующего типоразмера.

3. Долбление нового паза на расстоянии не менее 0,25 длины окружности от старой.

4. Замена.

1. Допустимая ширина паза - см. таблицы 35, 36.

2. Допустимая ширина увеличенного паза - следующая из ряда 12 мм, 18 мм, 24 мм, 25 мм, 28 мм, 36 мм, 40 мм при условии установки шпонки соответствующего типоразмера.

3. Допуск симметричности паза относительно оси поверхности А в пределах допуска на ширину паза.

4. Допуск параллельности боковых граней шпоночного паза относительно оси поверхности А: при ширине паза: до 20 мм - 0,02 мм; до 28 мм - 0,03 мм; св. 28 мм - 0,04 мм

5. Параметр шероховатости поверхности - см. таблицу 37.

Г

Смятие.

Визуальный контроль.

Лупа ЛП-1-7´.

Контроль прилегания пальцев муфты к поверхности «по краске».

-

1. Зачистка.

2. Замена.

1. Прилегание пальцев к поверхности Г - не менее 85 % площади.

2. Параметр шероховатости поверхностей - см. таблицу 37.

Г1

Износ.

Измерительный контроль.

Нутромеры:

18 - 50;

50 - 100.

Диаметр - см. таблицу 36.

1. Допустимый диаметр - см. таблицу 36.

2. Позиционный допуск осей отверстий - см. таблицу 35.

3. Допуск круглости отверстий 0,06 мм.

4. Параметр шероховатости поверхностей - см. таблицу 37.

Таблица 35

Размеры в мм

Обозначение насоса

Полумуфта насоса

Позиционный допуск осей

Размер по чертежу

Допустимый размер, не более

Æ А

Æ В

Æ Г

Æ А

Æ В

Æ Г

Б, Б1, Г, Г1

Д200-95

Д200-36

Д320-50

Д320-70

32+0,025

-

32,025

10,018

-

-

Д500-65

55+0,046

-

55,046

16,120

-

0,16

Д630-90

55+0,046

-

55,046

16,120

-

0,16

Д800-57

55+0,046

-

55,046

16,120

-

0,16

Д1250-65

55+0,046

-

55,046

16,120

-

0,16

Д1250-125

80+0,046

-

80,046

22,149

-

0,16

Д1600-90

80+0,046

-

80,046

22,149

-

0,16

Д2000-21

55+0,030

16+0,180

36+0,160

55,030

16,180

36,160

0,35

Д2000-21

55+0,030

16+0,180

46+0,160

55,030

16,180

46,160

0,35

Д2000-100

85+0,035

25+0,033

72+0,400

85,035

25,033

72,400

0,35

Д2500-62

85+0,035

25+0,045

72+0,400

85,035

25,045

72,400

0,35

Д3200-33

85+0,035

25+0,050

72+0,400

85,035

25,050

72,400

0,35

Д3200-75

85+0,035

25+0,045

58+0,190

85,035

25,045

58,190

0,35

Д4000-22

85+0,035

24+0,045

46+0,160

85,035

24,045

46,160

0,30

Д5000-32

85+0,035

24+0,045

72+0,400

85,035

24,045

72,400

0,30

Д6300-27

85+0,035

24+0,045

72+0,400

85,035

24,045

72,400

0,30

Д12500-24

150+0,063

36 ± 0,031

-

150,063

36,031

-

-

Таблица 36

Размеры в мм

Обозначение насоса

Полумуфта электродвигателя

Размер по чертежу

Допустимый размер, не более

Æ А

Æ Б1

Æ В

Æ Г1

Æ А

Æ Б1

Æ В

Æ Г1

Д200-95

60+0,030

-

36+0,160

60,030

36,160

18,021

36,160

Д200-95

70+0,030

-

36+0,160

70,030

36,160

20,026

36,160

Д200-36

48+0,025

-

36+0,160

48,025

36,160

14,021

36,160

Д200-36

60+0,030

-

36+0,160

60,030

36,160

18,021

36,160

Д320-50

60+0,030

-

36+0,160

60,030

36,160

18,021

36,160

Д320-50

70+0,030

-

36+0,160

70,030

36,160

20,021

36,160

Д320-70

60+0,030

-

36+0,160

60,030

36,160

20,026

36,160

Д320-70

70+0,030

-

36+0,160

70,030

36,160

18,021

36,160

Д500-65

80+0,046

-

46+0,160

80,046

46,160

20,026

46,160

Д630-90

70+0,046

-

36+0,160

70,046

36,160

20,149

36,160

Д630-90

80+0,046

-

46+0,160

80,046

36,160

22,149

46,160

Д630-90

90+0,054

-

58+0,190

90,046

58,190

25,149

58,190

Д630-90

100+0,054

-

58+0,190

100,054

58,190

25,149

58,190

Д630-90

110+0,054

-

58+0,190

110,054

58,190

32,180

58,190

Д800-57

90+0,054

-

58+0,190

90,054

58,190

25,149

58,190

Д1250-65

110+0,054

-

58+0,190

110,054

58,190

32,180

58,190

Д1250-125

100+0,054

-

58+0,190

100,054

-

58,190

28,149

Д1250-125

110+0,054

-

72+0,190

110,054

-

72,190

32,180

Д1250-125

120+0,054

-

72+0,190

120,054

-

72,190

32,180

Д1600-90

80+0,046

-

46+0,160

80,046

-

46,160

22,149

Д1600-90

90+0,054

-

58+0,190

90,054

-

58,190

25,149

Д1600-90

100+0,054

-

58+0,190

100,054

-

58,190

28,149

Д1600-90

110+0,054

-

72+0,190

11,054

-

72,190

32,180

Д2000-21

80+0,030

18+0,027

-

80,030

18,027

-

20,149

Д2000-21

70+0,030

13+0,027

-

70,030

13,027

-

25,149

Д2000-100

110+0,035

32+0,039

-

32+0,050

110,035

32,039

-

32,050

Д2500-62

110+0,035

32+0,039

-

32+0,050

110,035

32,039

-

32,050

Д3200-75

120+0,035

32+0,052

-

32+0,050

120,035

32,052

-

32,050

Д3200-33

110+0,035

25+0,045

-

32+0,050

110,035

25,045

-

32,050

Д4000-22

120+0,035

32+0,050

-

32+0,050

120,035

32,050

-

32,050

Д5000-32

160+0,035

25+0,045

-

28+0,045

160,035

25,045

-

28,045

Д6300-27

110+0,035

32+0,050

-

32+0,050

110,035

32,050

-

32,050

Д12500-24

150+0,063

200+0,063

-

-

110+0,222

150,063

200,063

-

-

110,222

Таблица 37

Обозначение насоса

Полумуфта насоса

Полумуфта электродвигателя

Параметр шероховатости, не более, мкм

А

Б

В

Г

А

Б1

В

Г1

Д200-95

Д200-36

Ra2,5

Ra2,5

Rz20

-

Ra1,6

-

Rz20

Rz20

Д320-50

Д320-70

Д500-65

Ra2,5

Ra2,5

Rz40

-

Ra1,6

-

Rz40

Ra1,25

Д630-90

Ra2,5

Ra2,5

Rz20

Ra1,6

-

Rz20

Ra1,25

Д800-57

Ra2,5

Ra2,5

Rz40

-

Ra1,6

-

Rz40

Ra1,25

Д1250-65

Ra2,5

Ra2,5

Rz40

-

Ra1,6

-

Rz40

Ra1,25

Д1250-125

Ra2,5

Ra2,5

Rz20

-

Ra1,6

-

Rz20

Ra1,25

Д1600-90

Ra2,5

Ra2,5

Rz20

-

Ra1,6

-

Rz20

Ra1,25

Д2000-21

Д2000-100

Д2500-62

Ra1,6

-

Rz12,5

Ra 1,6

Ra1,6

Ra1,6

Rz12,5

-

Д3200-33

Д3200-75

Д4000-22

Ra2,5

-

Rz20

Rz20

Ra2,5

Ra2,5

Rz20

-

Д5000-32

Ra2,5

-

Rz20

Rz20

Ra2,5

Ra2,5

Rz20

-

Д6300-27

Ra2,5

-

Rz20

Rz20

Ra2,5

Ra2,5

Rz20

-

Д12500-24

Ra2,5

Ra2,5

Rz20

Rz20

Ra2,5

-

Rz20

Rz20

Описание: Описание: Описание: Описание: Описание: Описание: Описание: Описание: Untitled-1 copy

а) насосы Д200-95, Д200-36, Д320-50, Д320-70, Д500-65, Д630-90, Д800-57, Д1250-65, Д1250-125, Д1600-90, Д12500-24; б) насосы Д2000-21, Д2000-100, Д2500-62, Д3200-33,

Рисунок 52 - Палец (поз. 5 рис. 49, 50)

Карта дефектации и ремонта 18

Палец рисунок - рис. 52

Количество на изделие: Д200-36 - 8 (6) шт.

Д200-95, Д320-50, Д320-70 - 10 (8) шт.

Д630-90, Д1250-125, Д1600-90, Д12500-24 - 10 шт.

Д500-65, Д800-57, Д1250-65, Д2000-21, Д2000-100,

Д2500-62, Д3200-33, Д3200-75, Д4000-22, Д5000-32,

Д6300-27 - 8 шт.

Нормы зазоров (натягов) - таблица 34

 

Обозначение

Возможный дефект

Способ установления дефекта и контрольный инструмент

Техническое требование по чертежу

Заключение и рекомендуемый способ ремонта

Техническое требование после ремонта

-

Трещины.

Визуальный контроль.

Лупа ЛП-1-7´.

-

Замена.

Трещины не допускаются.

А

Повреждение резьбы.

Визуальный контроль.

Лупа ЛП-1-7´.

-

Замена.

1. Допускаются отдельные зачищенные вмятины, выкрашивания общей протяженностью не более двух ниток глубиной не более 1/2 высоты резьбы и не препятствующие навинчиванию гайки.

2. Параметр шероховатости поверхности - не более Rz20.

Б

Износ.

Проверка прилегания к поверхности отверстий в полумуфте насоса «по краске».

-

1. Шлифовка.

2. Замена.

1. Параметр шероховатости поверхности - не более Ra2,5.

2. Прилегание пальцев должно быть равномерным и занимать 85 % площади.

В

Износ.

Измерительный контроль.

Микрометры: МР 25; МР 50; МР 75.

Диаметр - см. таблицу 38.

1. Проточка.

2. Замена.

1. Допустимый диаметр - см. таблицу 38.

2. Параметр шероховатости поверхности - не более Rz40.

Г

Износ.

Измерительный контроль. Микрометры: МР 25; МР 50.

Диаметр - см. таблицу 38.

Замена.

-

Таблица 38

Размеры в мм

Обозначение насоса

Палец

Размер по чертежу

Допустимый размер, не менее

Æ В

Æ Г

Æ В

Æ Г

Д200-95

Д200-36

Д320-50

Д320-70

18-0,110

-

17,890

-

Д500-65

24-0,130

-

24,870

-

Д630-90

18-0,110

-

17,890

-

Д630-90

24-0,130

-

23,870

-

Д800-57

30-0,130

-

29,870

-

Д1250-65

30-0,130

-

29,870

-

Д1250-125

38-0,160

-

37,840

-

Д1600-90

30-0,130

-

29,870

-

Д2000-21

24-0,033

18-0,027

23,967

17,973

Д2000-21

18-0,027

13-0,027

17,973

12,973

Д2000-100

38-0,160

32-0,039

37,840

31,961

Д2500-62

38-0,160

32-0,039

37,840

31,961

Д3200-75

30-0,130

32-0,052

29,870

31,948

Д3200-33

30-0,045

25-0,045

29,955

24,955

Д4000-22

38-0,160

32-0,050

37,840

31,950

Д5000-32

30-0,045

25-0,045

29,955

24,955

Д6300-27

38-0,160

32-0,050

37,840

31,950

Д12500-24

60-0,190

-

59,810

-

Рисунок 53 - Втулка распорная (поз. 7, рис. 49, 50)

Карта дефектации и ремонта 19

Втулка распорная - рис. 53

Количество на изделие - см. карту дефектации и ремонта 18

Нормы зазоров (натягов) - таблица 34

 

Обозначение

Возможный дефект

Способ установления дефекта и контрольный инструмент

Техническое требование по чертежу

Заключение и рекомендуемый способ ремонта

Техническое требование

после ремонта

-

Трещины.

Визуальный контроль.

Лупа ЛП-1-7´.

-

Замена.

Трещины не допускаются.

А

Износ.

Измерительный контроль. Нутромеры: НИ 18-50; НМ 75.

1. Расточка.

2. Замена.

1. Допустимый диаметр - см. таблицу 39.

2. Параметр шероховатости поверхности - не более Rz50.

Таблица 39

Размеры в мм

Обозначение насоса

Втулка распорная

Размер по чертежу

Допустимый размер, не более

Æ А

Æ А

Д200-95

 

 

Д200-36

18+0,120

18,120

Д320-50

Д320-70

Д500-65

24+0,130

24,130

Д630-90

30+0,130

30,130

Д630-90

24+0,130

24,130

Д630-90

18+0,130

18,130

Д800-57

30+0,130

30,130

Д1250-65

30+0,130

30,130

Д1250-125

38+0,160

38,160

Д1600-90

38+0,160

38,160

Д2000-21

24+0,130

24,130

Д2000-21

18+0,130

18,130

Д2000-100

38+0,160

38,160

Д2500-62

38+0,160

38,160

Д3200-75

38+0,160

38,160

Д3200-33

30+0,160

30,160

Д4000-22

32+0,130

32,130

Д5000-32

30+0,130

30,130

Д6300-27

32+0,130

32,130

Д12500-24

60+0,190

60,190

7.4.3 Требования к сборке и к отремонтированной муфте

7.4.3.1 На посадочных поверхностях под посадку не должно быть задиров и забоин.

7.4.3.2 При сборке муфты все пальцы должны входить в отверстия полумуфты без деформации упругих элементов.

7.4.3.3 Отклонение центрального угла между осями двух отверстий не должно быть более +12°.

7.4.3.4 При сборке между полумуфтами должен быть обеспечен зазор в пределах, приведённых в таблице 40.

Таблица 40

Обозначение насоса

Муфта втулочно-пальцевая

Зазор, мм

Д200-95, Д200-36, Д320-50, Д320-70

Св. 4,0 до 5,0 включ.

Д500-65

-"- 2,0 -"- 6,0 -"-

Д630-90

-"- 4,0 -"- 5,0 -"-

Д800-57

-"- 2,0 -"- 6,0 -"-

Д1250-65

-"- 2,0 -"- 6,0 -"-

Д1250-125

-"- 4,0 -"- 5,0 -"-

Д1600-90

-"- 4,0 -"- 5,0 -"-

Д2000-21, Д2000-21, Д2000-100, Д2500-62, Д3200-75, Д3200-33

-"- 2,0 -"- 10,0 -"-

Д4000-22

-"- 5,0 -"- 8,0 -"-

Д5000-32

-"- 2,0 -"- 10,0 -"-

Д6300-27

-"- 5,0 -"- 8,0 -"-

Д12500-24

-"- 5,0 -"- 8,0 -"-

8 Требования к сборке и к отремонтированному насосу

8.1 Зазоры (натяги) между составными сопряжёнными деталями насоса (рисунки 1 - 4) должны быть в пределах норм, приведённых в таблице 41.

Таблица 41 - Нормы зазоров (натягов) собранного насоса

Обозначение сопряжения

Позиция сопряженной составной части

Название сопряженной составной части

Обозначение чертежа (нормативного документа) составной части

Размер составной части по чертежу, мм

Зазор (+), натяг (-), мм, допустимый после капитального ремонта

номинальное значение

предельное отклонение

4, 10

Кольцо сальника (камера водяная)

Д200-95

Д200-36

Д320-50

Д200-95

Д200-36

Д320-50

Д320-70

0603.405142.0001

56

+0,740

Д320-70

Д630-90

Д500-65

Д800-57

Д1250-65

Д500-65

Д630-90

Д800-57

Д1250-65

Н03.629.01.01.001

77

+0,740

+3,480

+2,000

Д1250-125

Д1250-125

Д1600-90

Н03.649.01.01.004

122

+1,000

Д1600-90

+3,250

Д2000-21

Н06.11.20.08

92

+0,870

+2,000

Д2000-100

Н06.010.20.06

141

+1,000

Д2500-62

Д-6838

122

+1,000

Д2000-21

Д3200-33

Д-6838

137

+1,000

Д3200-75

Д-6858

137

+1,000

+3,740

Д4000-22

Д-6858

137

+1,000

+2,000

Д5000-32

Д-6858

137

+1,000

Д6300-27

Д-6858

137

+1,000

Д2000-100

Д12500-24

Д-29133

222

+1,150

+4,000

а, г

+2,000

Д2500-62

+3,870

+2,000

а, г

5, 11

Втулка защитная

Д200-95

Д200-36

Д320-50

Д320-70

0603.401364.0001

-0,740

Д3200-33

Д4000-22

Д5000-32

Д6300-27

+4,000

Д500-65

Д630-90

Д800-57

Н03.629.01.01.015

75

-0,740

+2,000

Д1250-65

Д12500-24

Д1250-125

Д1600-90

Н03.649.01.01.018

120

-0,250

+3,480

+2,180

Д2000-21

Н06.011.50.06-01

90

-0,870

Д2000-100

Н06.011.50.05.02-01

139

-1,000

Д2500-62

120

-0,870

Д3200-33

Н06.011.50.06-01

135

-1,000

Д3200-75

Г-26605

135

-1,000

Д4000-22

Г-26584

135

-1,000

Д5000-32

Д-4333

137

-1,000

Д6300-27

Г-26603

Д-4333

135

-1,000

Д12500-24

Г-29649

220

-0,180

-0,330

3, 9

Грунд-букса

(рис. 1, 4)

Д200-95

Д200-36

Д320-50

Д320-70

0603.409111.0002

56

+0,740

Д200-95

Д200-36

Д320-50

Д320-70

Д500-65

Д500-65

Д630-90

Д800-57

Д1250-65

Н03.629.01.01.004

77

+0,740

Д630-90

Д800-57

Д1250-65

+3,580

Д1250-125

Д1600-90

Н03.649.01.01.003

122

+1,000

+2,000

б, в

Д12500-24

Г-310-20

222

Д1250-125

Д1600-90

5, 11

Втулка защитная

+3,250

Д200-95

Д200-36

0603.401364.0001

54

-0,740

+2,000

Д320-50

Д320-70

Д500-65

Д630-90

Д800-57

Д1250-65

Н03.629.01.01.015

75

-0,740

Д1250-125

Д1600-90

Н03.649.01.01.018

120

-0,250

Д12500-24

Г-29648

220

-0,170

-0,355

3, 9

Кольцо

(рис. 2, 3)

Д2000-21

Н06.011.20.04

90

+0,270

Д2000-21

Д3200-33

Д-21700

137

+1,000

+1,740

Д3200-75

Д4000-22

Д5000-32

Д6300-27

Д-21698

137

+1,000

Д3200-33

Д3200-75

Д4000-22

Д5000-32

б1, в1

5, 11

Втулка защитная

Д6300-27

Д2000-21

Н06.011.50.05

90

-0,870

+2,000

Д3200-33

Г-26605

135

-1,000

+4,000

Д3200-75

Г-26584

135

-1,000

Д4000-22

Д-4333

135

-1,000

Д5000-32

Г-26603

135

-1,000

Д6300-27

Д-4333

135

-1,000

8.2 Составные части, не упомянутые в разделе 7, перед сборкой подлежат дефектации. На них не допускаются трещины, следы коррозии, следы выработки, вмятины, заусенцы, нарушение защитного покрытия.

Детали, перечень которых приведен в таблице Г.1 (приложение Г), подлежат замене независимо от их технического состояния.

8.3 Перед сборкой все составные части должны быть очищены от грязи, следов коррозии и продуты сжатым воздухом. Резьбовые поверхности крепежа, поверхности штифтов, а также сопрягаемые поверхности, в том числе и паронитовые прокладки, должны быть смазаны тонким слоем ЦИАТИМ-205 по ГОСТ 8551, подшипники - маслом Т22 по ГОСТ 32, ТП22 по ГОСТ 9972, солидолом по ГОСТ 4366, смазкой по ГОСТ 1033 или маслом индустриальным И 20А по ГОСТ 20799.

8.4 Установку составных частей при сборке следует производить в соответствии с их маркировкой.

8.5 Перед установкой сальниковой набивки необходимо проверить вращение ротора - ротор должен вращаться легко, без заеданий.

8.6 Кольца набивки сальника должны быть тщательно подогнаны к валу. Установка сальниковой набивки должна быть выполнена так, чтобы рабочая жидкость просачивалась через сальник отдельными каплями или тоненькой струйкой. Для этого разрезы колец сальника должны быть скошены под углом от 30° до 40° и опрессованы, а кольца набивки должны быть установлены со смещением на 120° по винтовой линии. При этом после укладки последнего кольца набивки нажимная букса должна быть равномерно притянута, после чего гайка должна быть отпущена и довёрнута от руки.

8.7 Кольца упругой втулки необходимо размещать в отверстиях полумуфт с равномерным зазором.

8.8 Допускается установка кольца, изготовленного из фторопласта, толщиной от 2,0 до 4,0 мм при зазоре от 2,0 до 5,0 мм (для насосов Д4000-22, Д6300-27 см. рис. 6) и зазоре от 1,5 до 2,0 мм (для насоса Д12500-24 см. рис. 7) в сопряжениях:

- «корпус насоса 1 - кольцо 15, 16»;

- «корпус насоса 1 - крышка сальника 4, 14»;

- «корпус насоса 1 - камера водяная 5, 12».

8.9 Допускается (для насоса Д12500-24) при зазоре между корпусом насоса и грунд-буксой более 0,72 мм установка разрезной втулки, изготовленной из стали или латуни.

8.10 Допускается при увеличении зазора в сопряжениях «а, б, в, г» (см. таблицу 41) установка прокладки, изготовленной из фторопласта, толщиной от 2,0 до 4,0 мм между сопряжёнными деталями (сопряжение «а, г») и толщиной от 0,5 до 2,0 мм - сопряжение « б, в».

8.11 После окончательной сборки насоса ротор должен легко прокручиваться от руки (без сальниковой набивки), посторонних звуков при вращении быть не должно.

8.12 При сборке насоса необходимо проверить центровку с электродвигателем, т.е. радиальное смещение и параллельность осей валов насоса и электродвигателя в соответствии со схемой рисунка 54.

Радиальное смещение определяют методом кругового вращения, параллельность осей - методом двойного замера: «вверху - внизу», «справа - слева».

1 - вал насоса; 2 - скоба с индикатором ИЧ 02 кл.0; 3 - вал электродвигателя; индексы: в, н, л, п - соответственно замерам: вверху, внизу, слева, справа

Отклонение осей валов

Допустимое значение, не более, мм

Формула определения

Несоосность

εу

см. таблицу 42

в - ан)/2

εх

п - ал)/2

Непараллельность

Δу

см. таблицу 42

sв - sн

Δх

sn - sл

Рисунок 54 - Схема проверки центровки насоса и электродвигателя

Таблица 42

Размеры в мм

Обозначение насоса

Допуск соосности

Допуск параллельности

Д200-95; Д200-36; Д320-50; Д320-70

0,20

0,10

Д500-65

0,10

0,10

Д630-90

Д800-57

0,20

0,20

Д1250-65

0,30

0,30

Д1250-125

0,10

0,20

Д1600-90

0,10

0,20

Д2000-21; Д2000-100; Д2500-62; Д3200-75; Д3200-33

0,06

0,05

Д4000-22

0,50

0,20

Д5000-32

0,10

0,10

Д6300-27

0,50

0,20

Д12500-24

0,50

0,20

8.13 Окраска насоса должна быть восстановлена в соответствии с конструкторской документацией завода-изготовителя.

9 Испытания и показатели качества отремонтированных насосов

9.1 Качество ремонта насоса характеризует степень восстановления его эксплуатационных свойств, включая надежность, экономичность и поддержание этих качеств в течение определенной наработки.

Оценка качества ремонта должна основываться на сравнительном сопоставлении показателей качества отремонтированного насоса с нормативными значениями.

9.2 Изменяющиеся показатели качества определяются при проведении эксплуатационных испытаний насоса до и после ремонта, а полученные результаты представляют собой количественные показатели качества ремонта насоса. Номенклатура показателей качества насоса, по которым производится сравнительное сопоставление показателей до и после ремонта, приведена в таблице 43.

Таблица 43 - Номенклатура составляющих показателей качества насоса до и после ремонта

Наименование показателя

Заводские нормативные данные

Данные эксплуатационных испытаний, измерений

Примечание

до капитального ремонта

после капитального ремонта

1. Подача, м3

*)

2. Напор, м

*)

3. Частота вращения, с-1 (об./мин.)

*)

4. Мощность, кВт

*)

5. Виброперемещение, мм

***)

6. Внешняя утечка через сальниковое уплотнение, л/мин.

0,1

7. Уровень звука на расстоянии 1 м от агрегата, дБ(А), не более

***)

8. Давление на входе в насос, МПа (кгс/см2)

9. Кавитационный запас

10. Коэффициент полезного действия

11. Температура подшипников, °С

*) согласно приложению А, таблице А.1;

**) согласно ИСО 10816-3;

***) не более уровня электродвигателя, входящего в комплект насосного агрегата.

9.3 При сдаче в ремонт необходимо проверить работу насоса на отсутствие посторонних шумов, а также проверить:

- технические характеристики насоса и их соответствие данным паспорта завода-производителя;

- вибрацию и температуру подшипников;

- состояние сальниковых уплотнений.

9.4 Отремонтированный насос должен быть подвергнут приемо-сдаточным испытаниям по ГОСТ 6134 и ТУ 26-06-1186 [1].

9.5 Испытания при приемке из ремонта включают в себя опробования (обкатку) насоса и его пробную эксплуатацию.

При испытаниях частота вращения не должна отличаться от номинальной более, чем на 5 %.

9.6 Опробование (обкатку насосов) необходимо проводить на протяжении времени, необходимого для регулирования сальниковых уплотнений. Оно может быть закончено после достижения установившейся температуры подшипников, которая не должна превышать 343 К (70 °С). Продолжительность обкатки должна быть не менее времени, указанном в таблице 44.

Состояние сальниковых уплотнений считают нормальным, если они не нагреваются и через них просачивается редкими каплями перекачиваемая жидкость 0,5 л/час.

Таблица 44

Обозначение насоса

Продолжительность обкатки, ч, не менее

Мощность насоса в номинальном режиме, кВт

Д200-95; Д200-36; Д320-50; Д320-70; Д630-90; Д2000-21; Д2000-100

0,25

Св. 10 до 100 включ.

Д500-65; Д630-90; Д800-57; Д1250-65; Д1250-125; Д1600-90; Д2000-21; Д2000-100; Д2500-62; Д3200-75; Д3200-33; Д4000-22; Д5000-32; Д6300-27; Д12500-24

0,50

Св. 100

9.7 Измерение параметров, проведение испытаний, обработка результатов испытаний, используемая аппаратура, оценка результатов, методы и средства контроля должны соответствовать ГОСТ 6134, ГОСТ 20831 в пределах рабочей области.

Рабочая область насоса должна соответствовать характеристикам по ТУ 26-06-1184 [2].

9.8 Параметры работы насоса следует контролировать штатными приборами, установленными на насосном агрегате.

Виброхарактеристику и шумовую характеристику необходимо измерять приборами класса точности не ниже 2,0. Виброметр должен удовлетворять требованиям ГОСТ 25275, а шумомер - ГОСТ 17187.

9.9 Виброперемещение следует измерять на корпусе подшипникового узла в двух взаимно перпендикулярных направлениях, проходящих через ось вращения рабочего колеса насоса.

Для насоса Д12500-24, имеющего частоту вращения 10 с-1 (600 об/мин), следует измерять пиковое значение (размах) виброперемещения.

Для остальных насосов (частота вращения 10 с-1 и выше) следует измерять среднеквадратическое значение или логарифмический уровень виброскорости в диапазоне частот от 10 Гц до 1000 Гц.

Допускается определение показателей вибрации проводить по результатам измерения виброскорости в октавных и других полосах частот.

9.10 При снятии шумовой характеристики измеряют уровни звукового давления в полосах частот или уровень звука в контрольных точках в соответствии с методом, выбранным по ГОСТ 23941.

9.11 Измерительные средства, при помощи которых определяют результаты испытаний, следует применять в условиях, регламентированных в эксплуатационной документации на эти средства, и иметь действующие клейма или документы о поверке.

9.12 Средства измерения, используемые при испытаниях, должны иметь класс точности не более:

- 2,5 (для измерения давления, мощности насоса);

- 1,0 (для измерения частоты вращения).

Предельная погрешность определения параметров насоса при испытаниях на номинальном (заданном) режиме не должна превышать:

- для подачи напора и мощности ±3,0 %;

- для частоты вращения ±1,0 %;

- для коэффициента полезного действия ±5,0 %.

9.13 Напорная (энергетическая) характеристика насоса должна быть определена в интервале от нулевой подачи до подачи, превышающей не менее чем на 10 % наибольшую подачу рабочего интервала при давлении на входе в насос, исключающем влияние кавитации на результаты испытаний на всех испытуемых режимах. Допускается в качестве минимальной принимать подачу, не превышающую 90 % от наименьшей подачи рабочего интервала режимов, если оно не оговорено в программе методики испытаний.

Общее число подач при определении напорной (энергетической) характеристики должно быть не менее 10.

9.14 При получении кавитационной характеристики должна быть определена зависимость кавитационного запаса от подачи насоса. Характеристика должна быть получена в результате снятия частных кавитационных характеристик при постоянных значениях подачи насоса.

При получении кавитационной характеристики насоса частные кавитационные характеристики следует снимать при наименьшей, номинальной, и наибольшей подаче рабочего интервала режимов с отклонением не более ±5 %. Допускается частную кавитационную характеристику снимать только на номинальной подаче.

9.15 Контроль кавитационного запаса следует проводить на номинальном режиме работы насоса с отклонением по подаче не более ±5 %.

Предельно допускаемая погрешность определения кавитационного запаса должна составлять ±5,3 %, но не менее ±0,2 м.

9.16 Величина внешней утечки через сальковое уплотнение выражается расходом жидкости и должна быть определена при работе насоса в режимах, указанных в программе и методике испытаний с погрешностью ±5,0 %.

9.17 Результаты испытаний считаются положительными, если насос, который испытывался, отвечает требованиям данного стандарта.

При получении неудовлетворительных результатов испытаний необходимо выяснить и устранить причину несоответствия требованиям стандарта, после чего провести повторные испытания.

10 Требования к обеспечению безопасности

10.1 Требования безопасности должны соответствовать ГОСТ Р 50831 (раздел 3) и техническим условиям на поставку.

10.2 Уровень допустимых выбросов вредных веществ в атмосферу при проведении ремонтных работ должен соответствовать нормам согласно ГОСТ 17.2.3.02.

10.3 Воздух рабочей зоны должен соответствовать ГОСТ 12.1.005.

10.4 Требования пожарной безопасности во время ремонта должны соответствовать ГОСТ 12.4.009

10.5 На насосе должны быть восстановлены в соответствии с указаниями рабочих чертежей заводов-изготовителей:

- специальные устройства для подъёма и транспортирования (рым-болты, ушки, отверстия);

- ограждения вращающихся частей.

10.6 Уровень шума, создаваемый насосом при работе и определяемый по требованиям ГОСТ 12.1.003, не должен превышать 118 дБ (А).

10.7 Вибрационная безопасность во время ремонта должна соответствовать требованиям ГОСТ 12.1.012.

10.8 Насос и электродвигатель должны быть заземлены в соответствии с ГОСТ 12.1.030.

11 Оценка соответствия

11.1 Оценка соответствия производится в соответствии с СТО 17230282.27.010.002.

11.2 Оценка соответствия соблюдения технических требований, объёма и методов дефектации, методов контроля и испытаний к составным частям и насосам в целом, нормам и требованиям настоящего стандарта осуществляется в форме контроля в процессе ремонта и при приёмке в эксплуатацию.

11.3 В процессе ремонта следует производить контроль за выполнением требований настоящего стандарта к составным частям и насосам в целом при производстве ремонтных работ, выполнении технологических операций ремонта и поузловых испытаний.

При приёмке в эксплуатацию отремонтированных насосов следует производить контроль результатов приемо-сдаточных испытаний, работы в период подконтрольной эксплуатации, показателей качества, установленных оценок качества отремонтированных насосов и выполненных ремонтных работ.

11.4 Результаты оценки соответствия характеризуются оценками качества отремонтированного насоса и выполненных ремонтных работ.

11.5 Контроль за соблюдением норм и требований настоящего стандарта осуществляют органы (департаменты, подразделения, службы), определяемые генерирующей компанией.

11.6 Контроль за соблюдением норм и требований настоящего стандарта осуществляют по правилам и в порядке, установленном генерирующей компанией.

Приложение А
(справочное)

Технические характеристики насосов

Таблица А.1

Обозначение насоса

Подача, м3

Напор, м

Частота вращения не более, с-1 (об/мин.)

Допустимый кавитационный запас, м

Мощность, кВт

Давление на входе в насос, МПа (кгс/см2)

Коэффициент полезного действия

Масса, кг

Д200-36

200

36

24,16 (1450)

3,0

27

0,300 (3,000)

0,75

480

Д200-95

200

93

48,32 (2950)

8,5

70

360

Д320-50

320

50

24,16 (1450)

4,5

56

650

Д320-70

320

70

48,32 (2950)

8,5

75

500

Д500-65

500

65

24,16 (1450)

4,5

120

620

Д630-90

630

90

24,16 (1450)

6,5

265

730

500

36

16,00 (960)

5,0

94

Д800-57

800

57

24,16 (1450)

4,0

155

0,82

880

Д1250-65

1250

65

24,16 (1450)

6,0

260

0,86

1160

Д1250-125

1250

125

24,16 (1450)

5,0

560

0,75

1710

Д1600-90

1600

90

24,16 (1450)

7,0

455

0,87

1520

1000

40

16,00 (960)

4,0

148

Д2000-21

2000

21

16,33 (980)

5,0

150

0,196 (2,000)

0,86

1630

1250

14

12,16 (730)

3,0

100

Д2000-100

2000

100

16,33 (980)

6,5

760

0,75

1480

Д2500-62

2500

62

16,33 (980)

7,5

485

0,196 (2,000)

0,87

2870

2000

34

12,16 (730)

5,5

213

Д3200-33

3200

33

16,33 (980)

7,0

327

0,88

2940

2500

17

12,16 (730)

5,0

132

3200

75

16,33 (980)

7,5

752

Д3200-75

2500

45

12,16 (730)

5,5

352

0,87

4150

Д4000-22

4000

22

9,75 (585)

5,5

300

0,200 (2,000)

0,78

-

Д5000-32

5000

32

12,10 (730)

8,0

500

0,88

-

Д6300-27

6300

27

12,10 (730)

10,0

600

0,79

9700

Д12500-24

12500

24

8,09 (485)

7,0

950

0,88

30000

Таблица А.2 - Перечень заводов-изготовителей насосов

Тип насоса

Обозначение

Предприятие-изготовитель

Д200-36 (5НДв; 5НДв-60)

Н03.587.00.000

ОАО «Ливгидромаш»

Д200-95

Н03.583.00.000

То же

Д320-50 (6НДв; 6НДв-60)

Н03.588.00.000

-»-

Д320-70

Н03.589.00.000

-»-

Д500-65 (10Д6-60; 1Д500-63)

Н03.643.01.00.000

-»-

Д630-90 (8НДв; 8НДв-60; 1Д630-90)

Н03.629.00.00.000

-»-

Д800-57 (12Д-9)

Н03.644.01.00.000

-»-

Д1250-65 (12НДс-60)

Н03.630.01.00.000

-»-

Д1250-125 (14НД-6; 1Д1250-125)

Н03.649.00.00.000

-»-

Д1600-90 (14НДс; 14НДс-60; 1Д1600-90)

Н03.650.00.00.000

-»-

Д2000-21 (16НДн)

Н06.011.10.00

ОАО «Сумский завод «Насосэнергомаш»

Д2000-100 (20Д-6)

Н06.010.10.00

То же

Д2500-62 (18НДс)

Н06.009.100.00

-«-

Д3200-33 (20НДн)

Б-28671

-«-

Д3200-75 (20НДс)

Б-28672

-«-

Д4000-22 (32Д-19)

Б-4361

-«-

Д5000-32 (24НДн)

Б-27398

-«-

Д6300-27

Б-4361

-»-

Д12500-24 (48Д-22)

1,5Б29132

ОАО «УЭТМ-УГМ»

Приложение Б
(обязательное)

Разрешенные замены материалов

Таблица Б.1

Позиция

Наименование составной части

Обозначение чертежа составной части

Марка материала

по чертежу

заменителя

Корпус (см. рисунки 5, 6, 7)

1, 9

Корпус (насоса)

Чугун СЧ 20

-

Крышка корпуса

Д200-95

0603.501612.0001

Д200-95

0603.501512.0001

Д200-36

0603.501612.0002

Д200-36

0603.501512.0002

Д320-50

0603.501612.0003

Д320-50

0603.501512.0003

Д320-70

0603.501612.0004

Д320-70

0603.501512.0004

Д500-65

Н03.643.01.00.002

Д500-65

Н03.643.01.00.001

Д630-90

Н03.629.01.00.002

Д630-90

Н03.629.01.00.001

Д800-57

Н03.644.01.00.002

Д800-57

Н03.644.01.00.001

Д1250-65

Н03.630.01.00.002

Д1250-65

Н03.630.01.00.001

Д1250-125

Н03.649.01.00.002

Д1250-125

Н03.649.01.00.001

Д1600-90

Н03.650.01.00.002

Д1600-90

Н03.650.01.00.001

Д2000-21

Н06.011.20.01

Д2000-21

Н06.011.20.02

Д2000-100

Н06.010.20.01

Д2000-100

Н06.010.20.02

Д2500-62

Н06.009.20.01

Д2500-62

Н06.009.20.02

Д3200-33

Б-6823

Д3200-33

Б-6824

Д3200-75

Б-6794

Д3200-75

Б-6795

Д4000-22

Б-0862

Д4000-22

Б-0863

Д5000-32

Б-0862

Д5000-32

Б-0863

Д6300-27

Б-0862

Чугун СЧ 20

-

Д6300-27

Б-0863

Д12500-24

Б310-7

Д12500-24

0,75Б310-8

3, 12

Скоба

Чугун СЧ 20

Д200-95

0603.408653.001

-

Д200-36

0603.408653.001

Стали: 10, 20, Ст.3

Д320-50

0603.408653.001

Д320-70

0603.408653.001

Д500-65

Н03.629.01.00.003

Д630-90

Н03.629.01.00.003

Д800-57

Н03.629.01.00.003

Д1250-65

Н03.629.01.00.003

Д1250-125

Н03.649.01.00.003

Д1600-90

Н03.649.01.00.003

4, 14

Крышка сальника

Чугун СЧ 20

-

Д200-95

0603.408443.005

Д200-36

0603.408443.005

Д320-50

0603.408443.005

Д320-70

0603.408443.005

Д500-65

Н03.629.01.01.009

Чугун СЧ 18

Стали: 10, 20, Ст.3

Д630-90

Н03.629.01.01.009

Чугун СЧ 20

Стали: 10, 20, Ст.3

Д800-57

Н03.629.01.01.009

Д1250-65

Н03.629.01.01.009

Д1250-125

03.649.01.01.009

Чугун СЧ 20

-

Д1600-90

03.649.01.01.009

Д3200-75

Г-25761

Чугун СЧ 20

Стали: 10, 20

Д4000-22

Г-25761

Д5000-32

Г-25761

Д6300-27

Г-25761

Д12500-24

Г-29134

Чугун СЧ 20, Бр.ОЦС5-5-5

Стали: 10, 15, 20, 25

4, 14

Букса сальника

Чугун СЧ 15

Стали: 10, 20

Д2000-21

Н06.011.20.10

Д2000-100

Н06.010.20.05

Д2500-62

Н06.009.20.08

Д3200-33

Г-25764

5, 11

Кольцо сальника

Д200-95

0603.405142.0001

Чугун СЧ 20

Ст. 4

Д200-36

0603.405142.0001

Сталь 0,8кп

Ст. 4

Д320-50

0603.405112.0002

Сталь 0,8кп

Ст. 4

Д320-70

0603.405142.0001

Сталь 0,8кп

Ст. 4

Д500-65

0603.405112.0002

Чугун СЧ 20

Стали: 10, 20, Ст.3

Д630-90

Н03.629.01.01.001

Чугун СЧ 20

-

Д800-57

0603.405112.0002

Чугун СЧ 20

Стали: 10, 20, Ст.3

Д1250-65

Н03.629.01.01.001

Чугун СЧ 20

Стали: 10, 20, Ст.3

Д1250-125

Н03.649.01.01.004

Чугун СЧ 20

-

Д1600-90

Н03.649.01.01.004

Чугун СЧ 20

-

Д2000-100

Н06.010.20.06

Чугун СЧ 20

Стали: 10, 20

Д2500-62

Д-6838

Чугун СЧ 20

Стали: 10, 20

Д3200-33

Д-6838

Чугун СЧ 20

Стали: 10, 20

Д12500-24

Д-29133

Чугун СЧ 20

Бр.ОЦС5-5-5

Стали: 10, 15, 20, 25

5, 11

Камера водяная

Д2000-21

Н06.011.20.08

Чугун СЧ 20

Стали: 10, 20

Д3200-75

Д-0858

Чугун СЧ 20

Стали: 10, 15, 20

Д4000-22

Д-0858

Чугун СЧ 20

Стали: 10, 15, 20

Д5000-32

Д-0858

Чугун СЧ 20

Стали: 10, 15, 20

Д6300-27

Д-0858

Чугун СЧ 20

Стали: 10, 15, 20

6, 10

Грунд-букса

Д200-95

0603.409111.0002

Ст. 3

Ст. 4

Д200-36

0603.409111.0002

Ст. 3

Ст. 4

Д320-50

0603.409111.0002

Ст. 3

Ст. 4

Д320-70

0603.409111.0002

Ст. 3

Ст. 4

Д500-65

Н03.629.01.01.004

Ст. 3

Стали: 20, 40

Д630-90

Н03.629.01.01.004

Ст. 3

Ст. 2

Д800-57

Н03.629.01.01.004

Ст. 3

Стали: 20, 40

Д1250-65

Н03.629.01.01.004

Ст. 3

Стали: 20, 40

Д1250-125

Н03.649.01.01.003

Ст. 3

Ст. 2

Д1600-90

Н03.649.01.01.003

Ст. 3

Ст. 2

Д12500-24

Г-310-20

Чугун СЧ 20

Бр.ОЦС5-5-5

Стали: 30, 35, 40, 20Х13, 30Х13

7, 8

Кольцо уплотняющее

Д200-95

0603.403183.0001

Чугун СЧ 20

-

Д200-36

0603.403183.0002

Чугун СЧ 20

-

Д320-50

0603.403183.0003

Чугун СЧ 20

-

Д320-70

0603.403183.0004

Чугун СЧ 20

-

Д500-65

Н03.643.01.01.002

Чугун СЧ 20

Чугун СЧ 25

Д630-90

Н03.629.01.01.003

Чугун СЧ 20

-

Д800-57

Н03.644.01.01.002

Чугун СЧ 20

Чугун СЧ 25

Д1250-65

Н03.630.01.01.002

Чугун СЧ 20

Чугун СЧ 25

Д1250-125

Н03.649.01.01.002

Чугун СЧ 20

-

Д1600-90

Н03.650.01.01.002

Чугун СЧ 20

-

Д2000-21

Н06.005.20.06

Чугун СЧ 20

Сталь 20Х13

Д2000-100

Н06.010.20.03

Чугун СЧ 20

Сталь 20Х13

Д2500-62

Н06.009.20.05

Чугун СЧ 20

Сталь 20Х13

Д3200-33

В-13497

Чугун СЧ 20

-

Д3200-75

Г-6807

Чугун СЧ 20

Сталь 20Х13

Д4000-22

В-13495

Чугун СЧ 20

Чугун СЧ 20

Сталь: 30, 35, 40, 12Х13, 20Х13,

Д5000-32

В-13496

Чугун СЧ 20

30Х13

Д6300-27

В-13495

Чугун СЧ 20

Сталь 20Х13

Сталь: 30, 35, 40,

Д12500-24

Г310-18

Чугун СЧ 20

Бр.ОЦ8-4л

12Х13, 20Х13, 30Х13

Стали: 30, 35, 40, 20Х13, 30Х13

15, 16

Кольцо

Д2000-21

Н06.011.20.04

Ст. 3

Ст. 4

Д3200-33

Д-21700

Ст. 3

Сталь 10

Д3200-75

Д-21698

Ст. 3

Ст. 4

Д4000-22

Д-21698

Ст. 3

Ст. 4

Д5000-32

Д-21698

Ст. 3

Ст. 4

Д6300-27

Д-21698

Ст. 3

Ст. 4

5

Стакан подшипника пяты

Д200-95

0603.403372.0001.

Чугун СЧ 20

-

Д200-36

0603.403372.0001

Чугун СЧ 20

-

Д320-50

0603.403372.0001

Чугун СЧ 20

-

Д320-70

0603.403372.0001

Чугун СЧ 20

-

Д500-65

Н03.629.01.01.008

Чугун СЧ 20

Стали: 10, 20; Ст. 3

Д630-90

Н03.629.01.01.008

Чугун СЧ 20

Стали: 10, 20; Ст. 3

Д800-57

Н03.629.01.01.008

Чугун СЧ 20

Стали: 10, 20; Ст. 3

Д1250-65

Н03.629.01.01.008

Чугун СЧ 20

Стали: 10, 20; Ст. 3

Д1250-125

Н03.649.01.01.008

Чугун СЧ 20

-

Д1600-90

Н03.649.01.01.008

Чугун СЧ 20

-

Узлы опор (см. рисунки 16 - 19)

4

Крышка подшипника пяты

Д200-95

0603.403314.0001

Чугун СЧ 20

-

Д200-36

0603.403314.0001

Чугун СЧ 20

-

Д320-50

0603.403314.0001

Чугун СЧ 20

-

Д320-70

0603.403314.0001

Чугун СЧ 20

-

Д500-65

Н03.629.01.01.007

Чугун СЧ 20

Ст. 3

Д630-90

Н03.629.01.01.007

Чугун СЧ 20

Ст. 3

Д800-57

Н03.629.01.01.007

Чугун СЧ 20

Ст. 3

Д1250-65

Н03.629.01.01.007

Чугун СЧ 20

Ст. 3

Д1250-125

Н03.649.01.01.007

Чугун СЧ 20

Ст. 3

Д1600-90

Н03.649.01.01.007

Чугун СЧ 20

Ст. 3

9

Стакан подшипника

Д200-95

0603.403352. 001

Чугун СЧ 20

-

Д200-36

0603.403352. 001

Чугун СЧ 20

-

Д320-50

0603.403352. 001

Чугун СЧ 20

-

Д320-70

0603.403352. 001

Чугун СЧ 20

-

Д500-65

Н03.629.01.01.006

Чугун СЧ 20

Стали: 10, 20; Ст. 3

Д630-90

Н03.629.01.01.006

Чугун СЧ 20

Стали: 10, 20; Ст. 3

Д800-57

Н03.629.01.01.006

Чугун СЧ 20

Стали: 10, 20; Ст. 3

Д1250-65

Н03.629.01.01.006

Чугун СЧ 20

Стали: 10, 20; Ст. 3

Д1250-125

Н03.649.01.01.006

Чугун СЧ 20

Стали: 10, 20; Ст. 3

Д1600-90

Н03.649.01.01.006

Чугун СЧ 20

Стали: 10, 20; Ст. 3

11

Крышка подшипника

Д200-95

0603.403344.0002

Фенопласт У2-301-07

Фенопласт У1-301-07

Д200-36

0603.403344.0002

Фенопласт У2-301-07

Фенопласт У1-301-07

Д320-50

0603.403344.0002

Фенопласт У2-301-07

Фенопласт У1-301-07

Д320-70

0603.403344.0002

Фенопласт У2-301-07

Фенопласт У1-301-07

Д500-65

Н03.629.01.01.017

Фенопласт У2-301-07

Ст. 3

Д800-57

Н03.629.01.01.017

Фенопласт У2-301-07

Ст. 3

Д1250-65

Н03.629.01.01.017

Фенопласт У2-301-07

Ст. 3

Д630-90

Н03.629.01.01.018

Чугун СЧ 20

-

Д1250-125

Н03.649.01.01.017

Чугун СЧ 20

-

Д1600-90

Н03.649.01.01.017

Чугун СЧ 20

-

2, 5, 7, 11

Крышка подшипника

Д2000-21

Н06.011.40.01-01

Чугун СЧ 20

Стали: 10, 20

Д2000-21

Н06.011.40.02-01

Чугун СЧ 20

Стали: 10, 20

Д2000-21

Н06.011.30.03-01

Чугун СЧ 20

Стали: 10, 20

Д2000-21

Н06.011.30.04-01

Чугун СЧ 20

Стали: 10, 20

Д2000-100

Н06.009.30.01-II

Чугун СЧ 15

Стали: 10, 20

Д2000-100

Н06.009.30.01/1

Чугун СЧ 15

Стали: 10, 20

Д2500-62

Н06.009.30.01

Чугун СЧ 15

-

Д2500-62

Н06.009.40.01

Чугун СЧ 15

-

Д3200-33

Н06.009.30.01-01-II

Чугун СЧ 15

Стали: 10, 20

Д3200-33

Чугун СЧ 15

Стали: 10, 20

Д3200-33

Н06.009.40.01-II

Чугун СЧ 15

Стали: 10, 20

Д3200-33

Н06.009.30.01-II

Чугун СЧ 15

Стали: 10, 20

Д3200-75

Н06.009.40.01-II

Чугун СЧ 15

Стали: 10, 20

Д3200-75

Н06.009.30.01-II

Чугун СЧ 15

Стали: 10, 20

Д3200-75

Н06.009.40.01-II-01

Чугун СЧ 15

Стали: 10, 20

Д3200-75

Чугун СЧ 15

Стали: 10, 20

Н06.009.40.01-II-01

Н06.009.30.01-01/II

5, 11

Крышка подшипника

Д4000-22

Д-12507

Чугун СЧ 20

Стали: 3, 4, 10,15, 20

Д5000-32

Д-12507

Чугун СЧ 20

Стали: 3, 4, 10,15, 20

Д6300-27

Д-12507

Чугун СЧ 20

Стали: 3, 4, 10,15, 20

Д12500-24

Г-13290

Чугун СЧ 20

Стали: 3, 4, 10,15, 20

Д12500-24

Г-14085

Чугун СЧ 20

Стали: 3, 4, 10,15, 20

Ротор (см. рисунки 25 - 29)

4

Вал

Д200-95

0603.401613.0001

Сталь 45

Стали: 40, 50

Д200-36

0603.401613.0001

Сталь 45

Стали: 40, 50

Д320-50

0603.401613.0001

Сталь 45

Стали: 40, 50

Д320-70

0603.401613.0001

Сталь 45

Стали: 40, 50

Д500-65

Н03.629.01.01.012

Сталь 45

Стали: 50, 40Х

Д630-90

Н03.629.01.01.012

Сталь 45

Стали: 50, 40Х

Д800-57

Н03.629.01.01.012

Сталь 45

Стали: 50, 40Х

Д1250-65

Н03.629.01.01.012

Сталь 45

Стали: 50, 40Х

Д1250-125

Н03.649.01.01.012

Сталь 45

Стали: 50, 40Х

Д1600-90

Н03.649.01.01.012

Сталь 45

Стали: 50, 40Х

Д2000-21

Н06.011.50.02

Сталь 45

Сталь 50

Д2000-100

Н06.010.50.01-01

Сталь 40

Стали: 45, 50

Д2500-62

Н06.009.55.01

Сталь 40

Стали: 45, 50

Д3200-33

2Г-28666

Сталь 40

Стали: 45, 50

Д3200-75

2Г-28665

Сталь 40

Стали: 45, 50

Д4000-22

2Г-4358

Сталь 40

Стали: 45, 40Х, 45Х

Д5000-32

2Г-26602

Сталь 40

Стали: 45, 40Х

Д6300-27

2Г-4358

Сталь 40

Стали: 45, 40Х, 45Х

Д12500-24

2Г-29162

Сталь 35

Стали: 40, 45, 40Х, 45Х

3, 14

Втулка упорная

Д200-36

0603.403141.0014

Фенопласт 03-010-02

Фенопласт 02-010-02

Д320-50

0603.403141.0014

Фенопласт 03-010-02

Фенопласт 02-010-02

Д320-70

0603.403141.0014

Фенопласт 03-010-02

Фенопласт 02-010-02

Д200-95

0603.403141.0010

Сталь 20

Стали: 15, 25

Д200-36

0603.403141.0010

Сталь 20

Стали: 15, 25

Д320-50

0603.403141.0010

Сталь 20

Стали: 15, 25

Д320-70

0603.403141.0010

Сталь 20

Стали: 15, 25

Д500-65

Н03.629.01.01.005

Сталь 20

Стали: 35, 50

Д630-90

Н03.629.01.01.024

Фенопласт 03-010-02

Фенопласт 02-010-02

Д800-57

Н03.629.01.01.005

Сталь 20

Стали: 35, 50

Д1250-65

Н03.629.01.01.005

Сталь 20

Стали: 35, 50

Д1250-125

Н03.649.01.01.005

Сталь 20

Стали: 35, 50

Д1600-90

Н03.649.01.01.005

Сталь 20

Стали: 35, 50

3, 14

Втулка

Д4000-22

-

Чугун СЧ 20

Сталь 20Х13

Д5000-32

Д-4342

Чугун СЧ 20

Сталь 20Х13

Д6300-27

-

Чугун СЧ 20

Сталь 20Х13

3, 14

Втулка конусная

Д12500-24

Д-13293

Чугун СЧ 20

Стали: 20, 25, 30, 35, 20Х13

5, 12

Втулка защитная

Д200-95

0603.401364.0001

Чугун СЧ 20

-

Д200-36

0603.401364.0001

Чугун СЧ 20

-

Д320-50

0603.401364.0001

Чугун СЧ 20

-

Д320-70

0603.401364.0001

Чугун СЧ 20

-

Д500-65

Н03.629.01.01.015

Чугун СЧ 20

Стали: 25, 40, 45

Д630-90

Н03.629.01.01.015

Чугун СЧ 20

Стали: 25, 40, 45

Д800-57

Н03.629.01.01.015

Чугун СЧ 20

Стали: 25, 40, 45

Д1250-65

Н03.629.01.01.015

Чугун СЧ 20

Стали: 25, 40, 45

Д1250-125

Н03.649.01.01.018

Чугун СЧ 20

Сталь 35

Д1600-90

Н03.649.01.01.018

Чугун СЧ 20

Сталь 35

Д2000-21

Н06.011.50.06-01

Чугун СЧ 25

Сталь 40

Д2000-21

Н06.011.50.05

Чугун СЧ 25

Сталь 40

Д2000-100

Н06.010.50.02-01

Чугун СЧ 20

Сталь 40

Д2000-100

Н06.011.50.03

Чугун СЧ 20

Сталь 40

Д2500-62

Н06.009.50.06-01

Чугун СЧ 20

Сталь 40

Д2500-62

Н06.009.50.07

Чугун СЧ 15

Сталь 40

Д3200-33

Г-26605

Чугун СЧ 20

Сталь 40

Д3200-33

Д-21701

Чугун СЧ 20

Сталь 40

Д3200-75

Г-26584

Чугун СЧ 20

-

Д3200-75

Г-26163

Чугун СЧ 20

-

Д4000-22

Д-4333

Чугун СЧ 20

-

Д4000-22

Д-4344

Чугун СЧ 20

-

Д5000-32

Г-26603

Чугун СЧ 25

Сталь 20Х13

Д5000-32

Г-21713

Чугун СЧ 25

Сталь 20Х13

Д6300-27

Д-4333

Чугун СЧ 20

-

Д6300-27

Д-4344

Чугун СЧ 20

-

Д12500-24

Г-29648

Чугун СЧ 20, Бр.0Ц8-4л

Стали: 10, 15, 20, 12Х13, 20Х13, 30Х13

Д12500-24

Г-29649

Сталь 20, Бр.0Ц8-4л

Стали: 25, 30, 35, 20Х13, 30Х13

6, 11

Втулка направляющая

Д200-95

0603.403741.0002-I

Фенопласт 03-010-02

Фенопласт 02-010-02

Д200-36

0603.404141.0002-I

Фенопласт 02-010-02

Фенопласт 02-010-02

Д320-70

Фенопласт 02-010-02

Фенопласт 02-010-02

Д320-50

0603.404141.0002-I

Фенопласт 03-010-02

Фенопласт 02-010-02

Д500-65

0603.403741.0004-I

Чугун СЧ 20

Ст. 3; Стали: 10, 20

Д630-90

Фенопласт 03-010-02

Фенопласт 02-010-02

Д630-90

Чугун СЧ 20

-

Д800-57

Н03.643.01.01.004

Чугун СЧ 20

Ст. 3; Стали: 10, 20

Д1250-65

Н03.629.01.01.013

Чугун СЧ 20

Ст. 3; Стали: 10, 20

Н03.629.01.01.014

Фенопласт 03-010-02

Фенопласт 02-010-02

Н03.644.01.01.004

Чугун СЧ 20

-

Н03.630.01.01.003

Чугун СЧ 20

-

Д1250-125

Н03.649.01.01.023

Д1250-125

Н03.649.01.01.014

Д1600-90

Н03.650.01.01.003

29, 30

Кольцо защитное

Д12500-24

Г310-18

Ст. 3

Бр.0Ц8-4л

Стали: 10, 15, 20, 12Х13, 20Х13, 30Х13

8

Колесо рабочее

Д200-95

0603.408876.0001

Чугун СЧ 20

-

Д200-36

0603.408876.0002

Чугун СЧ 20

-

Д320-50

0603.408876.0003

Чугун СЧ 20

-

Д320-70

0603.408876.0004

Чугун СЧ 20

-

Д500-65

Н03.643.01.01.001

Чугун СЧ 20

-

Д630-90

Н03.629.01.01.002

Чугун СЧ 20

-

Д800-57

Н03.644.01.01.001

Чугун СЧ 20

-

Д1250-65

Н03.630.01.01.001

Чугун СЧ 20

-

Д1250-125

Н03.649.01.01.001

Чугун СЧ 20

-

Д1600-90

Н03.650.01.01.001

Чугун СЧ 20

-

Д2000-21

Н06.005.50.05

Чугун СЧ 25

-

Д2000-100

Н06.010.50.04

Чугун СЧ 20

-

Д2500-62

Н06.009.50.08

Чугун СЧ 20

-

Д3200-33

Б-6833

Чугун СЧ 20

-

Д3200-75

В-26164

Чугун СЧ 25

-

Д4000-22

В-0860

Чугун СЧ 25

-

Д5000-32

В-4319

Чугун СЧ 25

-

Д6300-27

В-0860

Чугун СЧ 25

-

Д12500-24

Г310-12

Чугун СЧ 20,

-

Бр.0Ц8-4л

-

10, 17, 25, 26

Шпонка

ГОСТ 23360

-

-

22

Отбойник

Д200-95

0603.409891.0001

Ст. 3

Ст. 4

Д200-36

0603.409891.0001

Ст. 3

Ст. 4

Д320-50

0603.409891.0001

Ст. 3

Ст. 4

Д320-70

0603.409891.0001

Ст. 3

Ст. 4

22

Кольцо отбойное

Д500-65

Н03.629.01.01.011

Ст. 3

Стали: 10, 20

Д630-90

Н03.629.01.01.011

Ст. 3

Стали: 10, 20

Д800-57

Н03.629.01.01.011

Ст. 3

Стали: 10, 20

Д1250-65

Н03.629.01.01.011

Ст. 3

Стали: 10, 20

Д1250-125

Н03.649.01.01.011

Ст. 3

Стали: 10, 20

Д1600-90

Н03.649.01.01.011

Ст. 3

Стали: 10, 20

22

Маслоотражатель

Д4000-22

-

Ст. 3

Стали: 10, 20

Д6300-27

-

Ст. 3

Стали: 10, 20

22

Кольцо уплотнительное

Д12500-24

Д-29166

Чугун СЧ 15

Стали: 3, 4, 10, 15, 20

23, 24

Шпонка

Д200-95

0603.506411.0001

Сталь 45

Стали: 40, 50

Д200-36

0603.506411.0001

Сталь 45

Стали: 40, 50

Д320-50

0603.506411.0001

Сталь 45

Стали: 40, 50

Д320-70

0603.506411.0001

Сталь 45

Стали: 40, 50

Д2000-21

Н06.009.50.14

Сталь шпоночная

-

Д2000-100

Н06.009.50.12

Сталь 45

Сталь 50

Д2500-62

Н06.009.50.14

Сталь шпоночная

-

Д3200-33

Н06.009.50.12

Сталь 45

Сталь 50

Д3200-75

Н06.009.50.14

Сталь шпоночная

-

Д4000-22

Н06.009.50.12

Сталь 45

Сталь 50

Д5000-32

Н06.009.50.12

Сталь 45

Сталь 50

Д6300-27

Н06.009.50.12

Сталь 45

Сталь 50

Д12500-24

Д-29651

Сталь 45

Сталь 50

Муфта втулочно-пальцевая

2

Полумуфта насоса

Д200-95

Д200-36

0603.403692.0001

Чугун СЧ 25

-

Д320-50

0603.403692.0001

Чугун СЧ 25

-

Д320-70

0603.403692.0001

Чугун СЧ 25

-

Д500-65

0603.403692.0001

Чугун СЧ 25

-

Д630-90

Н03.629.00.00.1001

Чугун СЧ 25

Ст. 3; Стали: 10, 20

Д800-57

Н03.629.00.00.0801

Чугун СЧ 25

Ст. 3; Стали: 10, 20

Д1250-65

Н03.629.00.00.0801

Чугун СЧ 25

Ст. 3; Стали: 10, 20

Д1250-125

Н03.629.00.00.0801

Чугун СЧ 25

Ст. 3; Стали: 10, 20

Д1600-90

Н03.649.00.00.1001

Чугун СЧ 25

Ст. 3; Стали: 10, 20

Д2000-21

Н03.649.00.00.0901

Чугун СЧ 25

Ст. 3; Стали: 10, 20

Д2000-21

Н529-66-1-3

Чугун СЧ 20

Сталь 40

Д2000-100

Н528-66-1-3

Чугун СЧ 20

Сталь 40

Д2500-62

Н531-65/1-1

Чугун СЧ 20

Сталь 40

Д3200-33

Н531-65/1-1

Чугун СЧ 20

Сталь 40

Д3200-75

Н531-65/1-4

Чугун СЧ 20

Сталь 40

Д4000-22

Н531-65/1-1

Чугун СЧ 20

Сталь 40

Д5000-32

Н531-65/1-1

Чугун СЧ 20

Сталь 40

Д6300-27

Н531-65/1-2

Чугун СЧ 20

Сталь 40

Д12500-24

Н531-65/1-1

Чугун СЧ 20

Сталь 40

В-42238Н

Чугун СЧ 20

Стали: 30, 35, 40

1

Полумуфта электродвигателя

Д200-95

0603.403692.0004-01

Чугун СЧ 25

Сталь 40

Д200-95

Чугун СЧ 25

Сталь 40

Д200-36

0603.403692.0002-01

Чугун СЧ 25

Сталь 40

Д200-36

Чугун СЧ 25

Сталь 40

Д320-50

0603.403692.0003

Чугун СЧ 25

Сталь 40

Д320-50

0603.403692.0004

Чугун СЧ 25

Сталь 40

Д320-70

0603.403692.0004-01

Чугун СЧ 25

Сталь 40

Д320-70

Чугун СЧ 25

Сталь 40

Д500-65

0603.403692.0002-01

Чугун СЧ 25

Сталь 40

Д630-90

Чугун СЧ 25

Сталь 40

Д630-90

0603.403692.0004-01

Чугун СЧ 25

Сталь 40

Д630-90

Чугун СЧ 25

Сталь 40

Д630-90

0603.403692.0002-01

Чугун СЧ 25

Сталь 40

Д630-90

Чугун СЧ 25

Сталь 40

Д800-57

Н03.629.00.00.1002

Чугун СЧ 25

Сталь 40

Д1250-65

Чугун СЧ 25

Сталь 40

Д1250-125

Н03.629.00.00.1102

Чугун СЧ 25

Сталь 40

Д1250-125

Чугун СЧ 25

Сталь 40

Д1250-125

Н03.629.00.00.1002

Чугун СЧ 25

Сталь 40

Д1600-90

Чугун СЧ 25

Сталь 40

Д1600-90

Н03.629.00.00.901

Чугун СЧ 25

Сталь 40

Д1600-90

Н03.629.00.00.802

Чугун СЧ 25

Сталь 40

Д1600-90

Н03.629.00.00.1201

Чугун СЧ 25

Сталь 40

Д2000-21

Н03.629.00.00.901

Чугун СЧ 20

Сталь 40

Д2000-21

Н03.629.00.00.1201

Чугун СЧ 20

Сталь 40

Д2000-100

Н03.629.00.00.802

Чугун СЧ 20

Сталь 40

Д2500-62

Н03.649.00.00.902

Н03.649.00.00.1101

Н03.650.00.00.1102

Чугун СЧ 20

Сталь 40

Н03.629.00.00.901

Н03.629.00.00.802

Н03.649.00.00.902

Н529-65/2-2

Н528-65/2-2

Н531-65/2

Н531-65/2

Д3200-75

Н531-65/2

Чугун СЧ 20

Сталь 40

Д3200-33

Н530-65/2-2

Чугун СЧ 20

Сталь 40

Д4000-22

Н531-65/2-2

Чугун СЧ 25

Стали: 30, 35, 40

Д5000-32

Н530-65/2-2

Чугун СЧ 25

Ст.3

Д6300-27

Н531-65/2-2

Чугун СЧ 25

Стали: 30, 35, 40

Д12500-24

В-42239Н

Чугун СЧ 20

Стали: 30, 35, 40

6

Палец

Д200-95

0603.401413.0001

Сталь 45

Стали: 40, 50

Д200-36

0603.401413.0001

Сталь 45

Стали: 40, 50

Д320-50

0603.401413.0001

Сталь 45

Стали: 40, 50

Д320-70

0603.401413.0001

Сталь 45

Стали: 40, 50

Д500-65

Н03.629.00.00.1003

Сталь 45

Сталь 50

Д630-90

Н03.629.00.00.1103

Сталь 45

Стали: 50, 55

Д630-90

Н03.629.00.00.1003

Сталь 45

Стали: 50, 55

Д800-57

Н03.629.00.00.804

Сталь 45

Сталь 50

Д1250-65

Н03.629.00.00.804

Сталь 45

Сталь 50

Д1250-125

Н03.649.00.00.903

Сталь 45

Стали: 50, 55

Д1600-90

Н03.649.00.00.903

Сталь 45

Стали: 50, 55

Д2000-21

Н554-65/4

Сталь 45

Сталь 50

Д2000-21

Н554-65/3

Сталь 45

Сталь 50

Д2000-100

Н554-65/6

Сталь 45

Сталь 50

Д2500-62

Н554-65/6

Сталь 45

Сталь 50

Д3200-33

Н554-65/5

Сталь 45

Сталь 50

Д3200-75

Н554-65/6

Сталь 45

Сталь 50

Д4000-22

Н554-65/6

Сталь 45

Стали: 40Х, 50, 45Х

Д5000-32

Н554-65/6

Сталь 45

Сталь 50

Д6300-27

Н554-65/6

Сталь 45

Стали: 40Х, 50, 45Х

Д12500-24

МУВП 160/3-60 СТП 2934

Сталь 45

Стали: 50, 40Х, 45Х

9

Гайка

ГОСТ 5915

-

-

8

Шайба

ГОСТ 6402

-

-

Примечание - Стали: Ст2, Ст.3, Ст.4, Ст.5                                              ГОСТ 380;

10, 15, 20, 25, 35, 45, 50, 55                                               ГОСТ 1050;

40Х, 45Х                                                                         ГОСТ 4543;

Сталь шпоночная                                                            ГОСТ 8787;

Бронза: Бр.0Ц8-4л; Бр.ОЦС5-5-5                                       ГОСТ 613;

Чугун СЧ 15, СЧ 20; СЧ 25; СЧ 30                                     ГОСТ 1412;

Фенопласт: 02-010-02, 03-010-02, У1-301-07, У2-301-07      ГОСТ 28804;

Резина: ПБВ                                                                    ТУ 38-105-376-72.

Приложение В
(рекомендуемое)

Перечень средств измерительной техники, инструмента и приборов, необходимых для контроля насосов

Таблица В.1

Название средства измерительной техники, инструмента и прибора

Нормативный документ

Диапазон измерительного контроля

Нутромер НМ75

ГОСТ 10

От 50 до 75 мм, цена деления 0,01 мм

Нутромер НМ175

От 75 до 175 мм, цена деления 0,01 мм

Нутромер НМ600

От 75 до 600 мм, цена деления 0,01 мм

Нутромер НМ1250

От 150 до 1250 мм, цена деления 0,01 мм

Штангенциркуль ШЦ-I-125-0,1-1

ГОСТ 166

От 0 до 125 мм, цена деления 0,1 мм

Штангенциркуль ШЦ-II-160-0,05

От 0 до 160 мм, цена деления 0,05 мм

Штангенциркуль ШЦ-II-250-0,05

От 0 до 250 мм, цена деления 0,05 мм

Штангенциркуль ШЦ-II-250-0,1

От 0 до 250 мм, цена деления 0,1 мм

Штангенциркуль ШЦ-III-400-0,1

От 0 до 400 мм, цена деления 0,1 мм

Штангенциркуль ШЦ-III-250-630-0,1

От 250 до 630 мм, цена деления 0,1 мм

Штангенциркуль ШЦ-III-250-800-0,1

От 250 до 800 мм, цена деления 0,1 мм

Штангенциркуль ШЦ-III-320-1000-0,1

От 320 до 1000 мм, цена деления 0,1 мм

Индикатор ИЧ02 кл.0

ГОСТ 577

От 0 до 2 мм

Нутромер НИ 18-50

ГОСТ 868

От 18 до 50 мм, цена деления 0,01 мм

Нутромер НИ 160-250

От 160 до 250 мм, цена деления 0,01 мм

Микрометр МР 25

ГОСТ 4381

От 0 до 25 мм, цена деления 0,002 мм

Микрометр МР 50

От 25 до 50 мм, цена деления 0,002 мм

Микрометр МР 75

От 50 до 75 мм, цена деления 0,002 мм

Микрометр МР 100

ГОСТ 4381

От 75 до 100 мм, цена деления 0,002 мм

Микрометр МРИ 150-0,002

От 125 до 150 мм, цена деления 0,002 мм

Микрометр МРИ 200-0,002

От 150 до 200 мм, цена деления 0,002 мм

Микрометр МРИ 250-0,002

От 200 до 250 мм, цена деления 0,002 мм

Микрометр МРИ 300-0,002

От 250 до 300 мм, цена деления 0,002 мм

Микрометр МРИ 400-0,01

От 300 до 400 мм, цена деления 0,002 мм

Микрометр МРИ 500-0,01

От 400 до 500 мм, цена деления 0,01 мм

Микрометр МРИ 600-0,01

От 500 до 600 мм, цена деления 0,01 мм

Микрометр МРИ 700-0,01

От 600 до 700 мм, цена деления 0,01 мм

Микрометр МРИ 900-0,01

От 800 до 900 мм, цена деления 0,01 мм

Микрометр МК 125

ГОСТ 6507

От 100 до 125 мм, цена деления 0,01 мм

Микрометр МК 150

От 125 до 150 мм, цена деления 0,01 мм

Микрометр МК 175

От 150 до 175 мм, цена деления 0,01 мм

Нутромер 18-50

ГОСТ 9244

От 18 до 50 мм, цена деления 0,002 мм

Нутромер 50-100

От 50 до 100 мм, цена деления 0,002 мм

Нутромер 100-160

От 100 до 160 мм, цена деления 0,002 мм

Нутромер 160-260

От 160 до 260 мм цена деления 0,002 мм

Образцы шероховатости. Набор 0,8-12,5-ШП

ГОСТ 9378

До Ra 0,32 вкл.

Скоба СИ 100

ГОСТ 11098

От 50 до 100 мм, цена деления 0,01 мм

Скоба СИ 200

От 100 до 200 мм, цена деления 0,01 мм

Скоба СИ 300

От 200 до 300 мм, цена деления 0,01 мм

Шумомер

ГОСТ 17187

Класс точности не ниже 2,0

Пробки резьбовые

ГОСТ 17756

Диаметр резьбы от 1 до 100 мм

Профилограф-профилометр Б-II

ГОСТ 19300

От 0,00002 до 0,5 мм

Твердомер типа ТБМ

ГОСТ 23677

-

Калибр пазовый

ГОСТ 24121

От 3 до 50 мм

Виброметр

ГОСТ 25275

Класс точности не ниже 2,0

Лупа ЛП-1-7´

ГОСТ 25706

Семикратное увеличение

Дефектоскоп ультразвуковой

Диапазон частот - 1,25 - 10 МГц;

диапазон регулирования - 2500 - 6500 м/с;

диапазон измерительного контроля расстояний в направлении луча - не менее 250 мм

Щупы. Набор № 1

ТУ 2-034-0221197-011

От 0 до 0,50 мм

Набор № 2

От 0,55 до 1,00 мм

Приложение Г
(обязательное)

Номенклатура деталей, заменяемых независимо от их состояния

Таблица Г.1

Название детали (размер)

Обозначение чертежа, нормативного документа, марка материала

Количество на изделие

Насосы Д200-95, Д200-36, Д320-50, Д320-70

Общая сборка

Прокладка

Д200-95

0603.506246.00001

1 шт.

0603.506246.00002

1 шт.

Д200-36

0603.506246.00003

1 шт.

0603.506246.00004

1 шт.

Д320-50

0603.506246.00005

1 шт.

0603.506246.00006

1 шт.

Д320-70

0603.506246.00007

1 шт.

0603.506246.00008

1 шт.

Набивка многослойноплетёная (08 мм ´ 08 мм)

Д200-95

Д200-36

Д320-50

ЛП ГОСТ 5152

0,68 м

Д320-70

ЛП ГОСТ 5152

2,80 м

Ротор

Прокладка (δ = 0,6 мм, Æ 58 мм ´ Æ 41 мм)

0603.409891.0002

Паронит ПОН ГОСТ 481

2 шт.

Прокладка (δ = 0,6 мм, Æ 60 мм ´ Æ 46 мм)

0603.409891.0003

Паронит ПОН ГОСТ 481

2 шт.

Муфта втулочно-пальцевая

Кольцо упругой втулки

Д200-95

Д200-36

Д320-50

Д320-70

0603.404741.0001

40 шт.

Насосы Д500-65, Д800-57, Д1250-75

Общая сборка

Прокладка

Д500-65

Н03.643.01.00.005

1 шт.

Д800-57

Н03.644.01.00.005

1 шт.

Д1250-75

Н03.630.01.00.005

1 шт.

Прокладка

Д500-65

Н03.643.01.01.004

(Картон А ГОСТ 9347)

1 шт.

Д800-57

Н03.644.01.01.004

(Картон А ГОСТ 9347)

1 шт.

Д1250-75

Н03.630.01.01.004

(Картон А ГОСТ 9347)

1 шт.

Прокладка (δ = 2,0 мм, Æ 26 мм ´ Æ 10 мм)

(Паронит ПОН ГОСТ 481)

13 шт.

Ротор

Прокладка (δ = 1,0 мм, Æ 77,0 мм)

Д500-65

Н03.643.01.01.005

Паронит ПОН ГОСТ 481

2 шт.

Д800-57

Н03.644.01.01.005

Паронит ПОН ГОСТ 481

2 шт.

Д1250-75

Н03.630.01.01.005

Паронит ПОН ГОСТ 481

2 шт.

Прокладка (δ = 1,0 мм, Æ 65,5 мм)

Д500-65

Н03.643.01.01.007

Паронит ПОН ГОСТ 481

2 шт.

Д800-57

Н03.644.01.01.007

Паронит ПОН ГОСТ 481

2 шт.

Д1250-75

Н03.630.01.01.007

Паронит ПОН ГОСТ 481

2 шт.

Прокладка

(δ = 0,5 мм, Æ 130 мм)

Картон А ГОСТ 9347

1 шт.

Прокладка

(δ = 0,5 мм, Æ 115 мм)

Картон А ГОСТ 9347

1 шт.

Шайба 55

ГОСТ 8530

2 шт.

Шайба 60

ГОСТ 8530

2 шт.

Муфта втулочно-пальцевая

Кольцо упругой втулки

Д500-65

0603.404.741.0001-03

40 шт.

Д800-57

0603.404.741.0001-04

40 шт.

Д1250-65

0603.404.741.0001-04

40 шт.

Насос Д630-90

Общая сборка

Прокладка

Н03.629.01.00.005

1 шт.

Прокладка

Н03.629.01.00.006

1 шт.

Прокладка (δ = 1,5 мм, Æ 22 мм ´ Æ 17 мм)

Н03.629.01.00.009

Паронит ПОН ГОСТ 481

5 шт.

Набивка многослойноплетёная (Æ 13 мм ´ Æ 13 мм)

ЛП ГОСТ 5152

2,75 м

Ротор

Прокладка (δ = 1,0 мм, Æ 77,0 мм ´ Æ 65,5 мм)

Н03.629.01.01.021

Паронит ПОН ГОСТ 481

2 шт.

Прокладка (Æ 87,0 мм ´ Æ 68,5 мм)

Н03.629.01.01.022

2 шт.

Прокладка (δ = 0,5 мм, Æ 130 мм ´ Æ 115 мм)

Н03.629.01.01.023

Картон А ГОСТ 9347

1 шт.

Муфта втулочно-пальцевая

Кольцо упругой втулки

0603.40.4741.0001-02

40 шт.

Насос Д1250-125

Общая сборка

Прокладка

Н03.649.01.00.005

1 шт.

Прокладка

Н03.649.01.00.006

1 шт.

Прокладка (δ = 1,5 мм, Æ 22 мм ´ Æ 17 мм)

Н03.649.01.00.009

Паронит ПОН ГОСТ 481

7 шт.

Набивка многослойно-плетёная (16 мм ´ 16 мм)

ЛП ГОСТ 5152

5,2 м

Ротор

Прокладка (δ = 1,0 мм, Æ 120 мм ´ Æ 100 мм)

Н03.649.01.01.019

Паронит ПОН ГОСТ 481

4 шт.

Прокладка (δ = 0,5 мм, Æ 120 мм ´ Æ 100 мм)

Н03.649.01.01.025

Картон А ГОСТ 9347

2 шт.

Муфта втулочно-пальцевая

Кольцо упругой втулки

0603.40.4741.0001-03

40 шт.

Насос Д1600-90

Общая сборка

Прокладка

Н03.650.01.00.004

1 шт.

Прокладка

Н03.650.01.00.005

1 шт.

Прокладка (δ = 1,5 мм, Æ 22 мм ´ Æ 17 мм)

Н03.650.01.00.008

Паронит ПОН ГОСТ 481

7 шт.

Набивка многослойно-плетёная (16 мм ´ 16 мм)

ЛП ГОСТ 5152

5,2 м

Набивка многослойно-плетёная (16 мм ´ 16 мм)

ЛП ГОСТ 5152

5,2 м

Муфта втулочно-пальцевая

Кольцо упругой втулки

0603.40.4741.0001-04

40 шт.

0603.40.4741.0001-05

40 шт.

Ротор

Прокладка (δ = 1,0 мм, Æ 120 мм ´ Æ 100 мм)

Н03.650.01.01.004

ПОН по ГОСТ 481

4 шт.

Прокладка (δ = 0,5 мм, Æ 120 мм ´ Æ 100 мм)

Н03.649.01.01.025

Картон А ГОСТ 9347

2 шт.

Насос Д2000-21

Прокладка (по разъёму)

Картон А ГОСТ 9347

1 шт.

Прокладка (δ = 1,0 мм, Æ 30 мм ´ Æ 21 мм)

Паронит ПОН ГОСТ 481

5 шт.

Набивка многослойно-плетёная (16 мм ´ 16 мм)

ХБП ГОСТ 5152

-

Кольцо (60 мм ´ 30 мм)

НЧ09-70

2 шт.

Кольцо (97 мм ´ 5 мм)

НЧ10-70

2 шт.

Прокладка (δ = 1,0 мм, Æ 195 мм ´ Æ 131 мм)

Паронит ПОН ГОСТ 481

2 шт.

Муфта втулочно-пальцевая

Кольцо упругой втулки

Н543-65/4

32 шт.

Кольцо упругой втулки

Н543-65/3

32 шт.

Насос Д2000-100

Прокладка (по разъёму)

Картон А ГОСТ 9347

1 шт.

Прокладка (δ = 1,0 мм, Æ 30 мм ´ Æ 21 мм)

Паронит ПОН ГОСТ 481

5 шт.

Набивка многослойно-плетёная (19 мм ´ 19 мм)

ХБП ГОСТ 5152

-

Муфта втулочно-пальцевая

Кольцо упругой втулки

Н543-65/4

32 шт.

Насос Д2500-62

Прокладка (по разъёму)

Картон А ГОСТ 9347

1 шт.

Прокладка (δ = 1,0 мм, Æ 30 мм ´ Æ 21 мм)

Паронит ПОН ГОСТ 481

5 шт.

Набивка многослойно-плетёная (19 мм ´ 19 мм, L = 5,3 мм)

ХБП ГОСТ 5152

12 шт.

Кольцо (97 мм ´ 5 мм)

СТП86-75

2 шт.

Муфта втулочно-пальцевая

Кольцо упругой втулки

Н543-65/6

32 шт.

Насос Д3200-33

Прокладка (δ = 1,0 мм)

Б-27905

Паронит ПОН ГОСТ 481

1 шт.

Прокладка (δ = 1,0 мм, Æ 30 мм ´ Æ 20 мм)

Паронит ПОН ГОСТ 481

5 шт.

Набивка многослойно-плетёная (19 мм´19 мм, L = 5850 мм)

ХБП ГОСТ 5152

12 шт.

Прокладка (δ = 1,0 мм, Æ 160 мм ´ Æ 125 мм)

Д-27901

2 шт.

Муфта втулочно-пальцевая

Кольцо упругой втулки

Н543-65/5

32 шт.

Насос Д3200-75

Прокладка (по разъёму) (δ = 1,0 мм, Æ 1160 мм ´ Æ 1380 мм)

Паронит ПОН ГОСТ 481

1 шт.

Прокладка (δ = 1,0 мм, Æ 30 мм ´ Æ 21 мм)

Паронит ПОН ГОСТ 481

5 шт.

Прокладка (δ = 1,0 мм, Æ 46 мм ´ Æ 34 мм)

Паронит ПОН ГОСТ 481

1 шт.

Прокладка (δ = 1,0 мм, Æ 300 мм ´ Æ 190 мм)

Н06.009.30.12

2 шт.

Муфта втулочно-пальцевая

Кольцо упругой втулки

Н543-65/6

32 шт.

Насосы Д4000-22, Д6000-27

Корпус Б-4410

Прокладка Æ 260 мм ´ Æ 1530 мм

Паронит ПОН ГОСТ 481

1 шт.

Прокладка Æ 30 мм ´ Æ 21 мм

Паронит ПОН ГОСТ 481

3 шт.

Прокладка Æ 38 мм ´ Æ 21 мм

Паронит ПОН ГОСТ 481

4 шт.

Набивка многослойно-плетёная (16 мм ´ 16 мм)

ХБП ГОСТ 5152

10 шт.

Прокладка (по разъёму)

В-4041, В-4042

1 шт.

Прокладка Æ 38 мм ´ Æ 21 мм

Паронит ПОН ГОСТ 481

4 шт.

Прокладка (δ = 1,0 мм, Æ 30 мм ´ Æ 21 мм)

-

1 шт.

Прокладка (δ = 1,0 мм, Æ 180 мм ´ Æ 122 мм)

-

1 шт.

Прокладка (δ = 1,0 мм, Æ 240 мм ´ Æ 190 мм)

-

1 шт.

Прокладка (δ = 1,0 мм, Æ 260 мм ´ Æ 140 мм)

-

1 шт.

Узлы опор

Муфта втулочно-пальцевая

Кольцо упругой втулки

Н543-65/6

32 шт.

Ротор В-4404

Шайба стопорная

-

2 шт.

Прокладка

-

2 шт.

Винт М6´14

ГОСТ 1477

2 шт.

Винт М6´8

ГОСТ 1477

2 шт.

Насос Д5000-32

Корпус

Прокладка (δ = 1,0 мм, по разъёму)

Паронит ПОН ГОСТ 481

1 шт.

Прокладка (δ = 1,0 мм, Æ 30 мм ´ Æ 21 мм)

Паронит ПОН ГОСТ 481

3 шт.

Прокладка (δ = 1,0 мм, Æ 260 мм ´ Æ 140 мм)

Паронит ПОН ГОСТ 481

2 шт.

Прокладка (δ = 1,0 мм, Æ 180 мм ´ Æ 122 мм)

Паронит ПОН ГОСТ 481

2 шт.

Прокладка (δ = 1,0 мм, Æ 240 мм ´ Æ 190 мм)

Паронит ПОН ГОСТ 481

1 шт.

Ротор

Кольцо (97 мм ´ 5 мм)

СТП86-75

2 шт.

Кольцо (115 мм ´ 5 мм)

СТП86-75

2 шт.

Прокладка (δ = 1,0 мм, Æ 160 мм ´ Æ 125 мм)

Д28162

Паронит ПОН ГОСТ 481

2 шт.

Шайба стопорная

СТП 124.00.24

2 шт.

Шайба стопорная

СТП 124.00.30

2 шт.

Муфта втулочно-пальцевая

Кольцо упругой втулки

Н543-65/6

32 шт.

Насос Д12500-24

Корпус БЗ10-5

Прокладка (δ = 1,0 мм по форме стыка)

Картон ЭВ ГОСТ 2824

1 шт.

Прокладка (δ = 2,0 мм, Æ 58 мм ´ Æ 68 мм)

Алюминий ГОСТ 21631

1 шт.

Прокладка (δ = 2,0 мм, Æ 50 мм ´ Æ 62 мм)

То же

2 шт.

Прокладка = 1,0 мм, Æ 15 мм ´ Æ 23 мм)

-«-

2 шт.

Прокладка = 1,5 мм, Æ 28 мм ´ Æ 36 мм)

-«-

1 шт.

Набивка многослойно-плетёная (25 мм ´ 25 мм, L = 3000 мм)

ХБП ГОСТ 5152

2 шт.

Ротор 2Г-29159

Прокладка = 1,0 мм, Æ 268 мм ´ Æ 186 мм)

Медь МЗ ГОСТ 859

2 шт.

Прокладка = 1,0 мм, Æ 220 мм ´ Æ 186 мм)

То же

2 шт.

Шайба стопорная (0141 мм)

Г-35990

1 шт.

Шайба стопорная (0181 мм)

Г-35990

2 шт.

Узлы опоры Б-29164; 1,25Б-29167

Прокладка = 0,4 мм по форме стыка)

Картон ЭВ ГОСТ 2824

2 шт.

Прокладка = 1,0 мм по форме стыка)

То же

5 шт.

Прокладка = 0,4 мм, Æ 255 мм ´ Æ 290 мм)

-«-

1 шт.

Муфта Г-13299

Втулка упругая

МУВП 160/5-106 СТП 2935-74

10 шт.

Библиография

[1] ТУ 26-06-1186-78 Общие технические требования на капитальный ремонт динамических насосов (утверждены Министерством химического и нефтяного машиностроения СССР 1.12.78)

[2] ТУ 26-06-1184-88 Насосы типа Д и агрегаты электронасосные на их основе (утверждены Министерством химического и нефтяного машиностроения СССР 1.07.88)

Ключевые слова: технические условия, насосы центробежные, ремонт, качество ремонта, карта дефектации, испытания

Руководитель организации - разработчика

ЗАО «ЦКБ Энергоремонт»

Генеральный директор

______________

А.В. Гондарь

Руководитель разработки

Заместитель генерального директора

______________

Ю.В. Трофимов

Исполнители

Главный специалист

______________

Ю.П. Косинов

Главный конструктор проекта

______________

Б.Б. Сегин

 



© 2013 Ёшкин Кот :-)