Некоммерческое Партнерство «Инновации в электроэнергетике»

|
СТАНДАРТ
ОРГАНИЗАЦИИ
НП «ИНВЭЛ»
|
СТО
70238424.29.160.20.016-2009
|
ТУРБОГЕНЕРАТОРЫ ЕДИНОЙ СЕРИИ ТВВ
Групповые
технические условия на капитальный ремонт
Нормы и требования
Дата
введения - 2010-01-11
Москва
2010
Предисловие
Цели и принципы стандартизации в Российской Федерации
установлены Федеральным законом от 27 декабря 2002 г. «О техническом
регулировании», а правила разработки и применения стандартов организации - ГОСТ
Р 1.4-2004 «Стандартизация в Российской Федерации. Стандарты организаций.
Общие положения».
Настоящий стандарт устанавливает технические требования к
ремонту турбогенераторов единой серии ТВВ и требования к качеству
отремонтированных турбогенераторов.
Стандарт разработан в соответствии с требованиями к
стандартам организаций электроэнергетики «Технические условия на капитальный
ремонт оборудования электростанций. Нормы и требования», установленными в
разделе 7 СТО
«Тепловые и гидравлические электростанции. Методика оценки качества ремонта
энергетического оборудования».
Применение настоящего стандарта, совместно с другими
стандартами ОАО РАО «ЕЭС России» и НП «ИНВЭЛ» позволит обеспечить выполнение
обязательных требований, установленных в технических регламентах по
безопасности технических систем, установок и оборудования электрических
станций.
Сведения о стандарте
1 РАЗРАБОТАН Закрытым акционерным обществом «Центральное
конструкторское бюро Энергоремонт» (ЗАО «ЦКБ Энергоремонт»)
2 ВНЕСЕН Комиссией по техническому регулированию НП «ИНВЭЛ»
3 УТВЕРЖДЕН И ВВЕДЕН В ДЕЙСТВИЕ Приказом НП «ИНВЭЛ» от
17.12.2009 № 91
4 ВВЕДЕН ВПЕРВЫЕ
СОДЕРЖАНИЕ
СТАНДАРТ ОРГАНИЗАЦИИ НП
«ИНВЭЛ»
Турбогенераторы единой серии ТВВ
Групповые технические условия на капитальный ремонт
Нормы и требования
Дата введения - 2010-01-11
Настоящий стандарт организации:
- является нормативным документом, устанавливающим технические
нормы и требования к ремонту турбогенераторов единой серии ТВВ, направленные на
обеспечение промышленной безопасности тепловых электрических станций,
экологической безопасности, повышение надежности эксплуатации и качества
ремонта;
- устанавливает технические требования, объем и методы
дефектации, способы ремонта, методы контроля и испытаний к составным частям и
турбогенераторам в целом в процессе ремонта и после ремонта;
- устанавливает объемы, методы испытаний и сравнения
показателей качества отремонтированных турбогенераторов единой серии ТВВ с их
нормативными и до ремонтными значениями;
- распространяется на капитальный ремонт турбогенераторов
единой серии ТВВ;
- предназначен для применения генерирующими компаниями,
эксплуатирующими организациями на тепловых электростанциях, ремонтными и иными
организациями, осуществляющими ремонтное обслуживание оборудования
электростанций.
В настоящем стандарте использованы нормативные ссылки на
следующие стандарты и другие нормативные документы:
Федеральный закон РФ от 27.12.2002 № 184-ФЗ «О техническом регулировании»
ГОСТ
27.002-89 Надежность в технике. Основные понятия. Термины и определения
ГОСТ 10-88
Нутромеры микрометрические. Технические условия
ГОСТ 166-89 Штангенциркули.
Технические условия
ГОСТ 427-75
Линейки измерительные металлические. Технические требования
ГОСТ
533-2000 Машины электрические вращающиеся. Турбогенераторы. Общие
технические условия
ГОСТ
577-68 Индикаторы часового типа с ценой деления 0,01 мм. Технические
условия
ГОСТ 6507-90 Микрометры.
Технические условия
ГОСТ 8026-92 Линейки
поверочные. Технические условия
ГОСТ
9378-93 Образцы шероховатости поверхности (сравнения). Общие технические
условия
ГОСТ
9467-75 Электроды покрытые металлические для ручной дуговой сварки
конструкционных и теплоустойчивых сталей. Типы
ГОСТ 10905-86
Плиты поверочные и разметочные. Технические условия
ГОСТ
15467-79 Управление качеством продукции. Основные понятия. Термины и
определения
ГОСТ
16504-81 Система государственных испытаний продукции. Испытания и контроль
качества продукции. Основные термины и определения
ГОСТ
18322-78 Система технического обслуживания и ремонта техники. Термины и
определения
ГОСТ
25706-83 Лупы. Типы, основные параметры. Общие технические требования
СТО
утвержден Приказом ОАО РАО «ЕЭС России» № 275 от 23.04.2007 Тепловые и гидравлические
станции. Методики оценки качества ремонта энергетического оборудования
СТО 17330282.27.010.001-2008
Электроэнергетика. Термины и определения
СТО
70238424.27.100.017-2009 Тепловые электростанции. Ремонт и техническое
обслуживание оборудования, зданий и сооружений. Организация производственных
процессов. Нормы и требования
СТО
70238424.29.160.20.009-2009 Турбогенераторы. Общие технические условия на
капитальный ремонт. Нормы и требования
СТО
17330282.27.100.006-2008 Ремонт и техническое обслуживание оборудования,
зданий и сооружений электрических станций и сетей. Условия выполнения работ
подрядными организациями. Нормы и требования
Примечание - При пользовании настоящим
стандартом целесообразно проверить действие ссылочных стандартов и
классификаторов в информационной системе общего пользования - на официальном
сайте национального органа Российской Федерации по стандартизации в сети
Интернет или по ежегодно издаваемому информационному указателю «Национальные
стандарты», который опубликован по состоянию на 1 января текущего года, и по
соответствующим ежемесячно издаваемым информационным указателям, опубликованным
в текущем году. Если ссылочный документ заменен (изменен), то при пользовании
настоящим стандартом следует руководствоваться замененным (измененным)
документом. Если ссылочный документ отменен без замены, то положение, в котором
дана ссылка на него, применяется в части, не затрагивающей эту ссылку.
3.1 В настоящем стандарте применены термины по Федеральному
закону РФ от 27.12.2002 № 184-ФЗ «О техническом регулировании», ГОСТ
15467, ГОСТ
16504, ГОСТ
18322, ГОСТ
27.002, СТО 17330282.27.010.001-2008,
а также следующие термины с соответствующими определениями:
3.1.1 требование: Норма,
правила, совокупность условий, установленных в документе (нормативной и
технической документации, чертеже, стандарте), которым должны соответствовать
изделие или процесс.
3.1.2 характеристика: Отличительное
свойство. В данном контексте характеристики физические (механические,
электрические, химические) и функциональные (производительность, мощность ...).
3.1.3 характеристика качества: Присущая характеристика продукции, процесса или системы,
вытекающая из требований.
3.1.4 качество отремонтированного оборудования: Степень соответствия совокупности присущих оборудованию
характеристик качества, полученных в результате выполнения его ремонта,
требованиям, установленным в нормативной и технической документации.
3.1.5 качество ремонта оборудования: Степень выполнения требований, установленных в нормативной и
технической документации, при реализации комплекса операций по восстановлению
исправности или работоспособности оборудования или его составных частей.
3.1.6 оценка качества ремонта оборудования: Установление степени соответствия результатов, полученных при
освидетельствовании, дефектации, контроле и испытаниях после устранения
дефектов, характеристикам качества оборудования, установленным в нормативной и
технической документации.
3.1.7 технические условия на капитальный ремонт: Нормативный документ, содержащий требования к дефектации
изделия и его составных частей, способы ремонта для устранения дефектов,
технические требования, значения показателей и нормы качества, которым должно
удовлетворять изделие после капитального ремонта, требования к контролю и
испытаниям оборудования в процессе ремонта и после ремонта.
3.2
Обозначения и сокращения
ВК - визуальный контроль;
ИК - измерительный контроль;
Карта - карта дефектации и ремонта;
КИ - контрольные испытания;
НК - неразрушающий контроль;
НТД - нормативная и техническая документация;
УЗД - ультразвуковая дефектоскопия;
ЦД - цветная дефектоскопия;
ЩКА - щеточно-контактный аппарат;
Ra - среднее арифметическое отклонение профиля;
Rz - высота неровностей профиля по десяти точкам.
4.1 Подготовка турбогенераторов к ремонту, вывод в ремонт, производство
ремонтных работ и приемка из ремонта должны производиться в соответствии с
нормами и требованиями СТО
70238424.27.100.017-2009.
Требования к ремонтному персоналу, гарантиям производителя
работ по ремонту установлены в СТО
17330282.27.100.006-2008.
4.2 Выполнение требований настоящего стандарта определяет
оценку качества отремонтированных турбогенераторов. Порядок проведения оценки
качества ремонта турбогенераторов устанавливается в соответствии с СТО
утвержденным Приказом ОАО РАО «ЕЭС России» № 275 от 23.04.2007 Тепловые и
гидравлические станции. Методики оценки качества ремонта энергетического
оборудования
4.3 Настоящий стандарт применяется совместно с СТО
70238424.29.160.20.009-2009.
4.4 Требования настоящего стандарта, кроме капитального,
могут быть использованы при среднем и текущем ремонтах турбогенераторов. При
этом учитываются следующие особенности их применения
- требования к составным частям и турбогенератору в целом в
процессе среднего или текущего ремонта применяются в соответствии с выполняемой
номенклатурой и объемом ремонтных работ;
- требования к объемам и методам испытаний и сравнению показателей
качества отремонтированного турбогенератора с их нормативными и доремонтными
значениями при среднем ремонте применяются в полном объеме;
- требования к объемам и методам испытаний и сравнению
показателей качества отремонтированного турбогенератора с их нормативными и
доремонтными значениями при текущем ремонте применяются в объеме, определяемом
техническим руководителем электростанции и достаточным для установления
работоспособности турбогенератора.
4.5 При расхождении требований настоящего стандарта с
требованиями других НТД, выпущенных до утверждения настоящего стандарта,
необходимо руководствоваться требованиями настоящего стандарта.
При внесении предприятием-изготовителем изменений в
конструкторскую документацию на турбогенераторы и при выпуске нормативных
документов органов государственного надзора, которые повлекут за собой
изменение требований к отремонтированным составным частям и турбогенератору в
целом, следует руководствоваться вновь установленными требованиями
вышеуказанных документов до внесения соответствующих изменений в настоящий
стандарт.
4.6 Требования настоящего стандарта распространяются на
капитальный ремонт турбогенераторов в течение полного срока службы,
установленного в НТД на поставку турбогенераторов или в других нормативных документах.
При продлении в установленном порядке продолжительности эксплуатации
турбогенераторов сверх полного срока службы, требования настоящего стандарта
применяются в разрешенный период эксплуатации с учетом требований и выводов,
содержащихся в документах на продление продолжительности эксплуатации.
5.1 Стандарт разработан на основе конструкторской,
нормативной и технической документации заводов-изготовителей.
5.2 Группа турбогенераторов единой серии ТВВ включает
турбогенераторы ТВВ-160-2Е, ТВВ-220-2Е, ТВВ-320-2Е и ТВВ-800-2Е.
5.3 Общий вид турбогенераторов приведен на рисунках 5.1, 5.2, 5.3.
Основные характеристики и параметры турбогенераторов единой
серии ТВВ приведены в таблице 5.1.

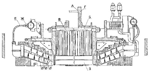
1 - статор; 2 - щит наружный;
3 - щит вентилятора; 4 - ротор; 5 - уплотнение вала ротора;
6 - подшипник; 7 - щеточный аппарат; 8 - газоохладитель; 9 - вывод концевой.
Рисунок 5.1 - Турбогенераторы ТВВ-160-2Е, ТВВ-220-2Е.

1 - статор; 2 - щит наружный;
3 - щит вентилятора; 4 - ротор; 5 - уплотнение вала ротора;
6 - подшипник; 7 - щеточный аппарат; 8 - газоохладитель; 9 - концевой вывод.
Рисунок 5.2 - Турбогенератор ТВВ-320-2Е

1 - статор; 2 - щит наружный;
3 - щиток направляющий; 4 - ротор; 5 - уплотнение вала ротора;
6 - подшипник; 7 - щеточный аппарат; 8 - газоохладитель; 9 - вывод концевой.
Рисунок
5.3 - Турбогенератор ТВВ-800-2Е
Таблица 5.1 - Основные характеристики и параметры турбогенераторов
единой серии ТВВ
Основные параметры
|
ТВВ-160-2Е
|
ТВВ-220-2Е
|
ТВВ-320-2Е
|
ТВВ-800-2Е
|
Полная мощность, кВ∙А
|
188200
|
259000
|
376000
|
889000
|
Активная мощность, кВт
|
160000
|
220000
|
320000
|
800000
|
Коэффициент мощности
|
0,85
|
0,85
|
0,85
|
0,9
|
Напряжение, В
|
18000
|
15750
|
20000
|
24000
|
Ток статора, А
|
6040
|
9500
|
8625
|
21400
|
Частота, Гц
|
50
|
50
|
50
|
50
|
Частота вращения, об/мин
|
3000
|
3000
|
3000
|
3000
|
Коэффициент полезного действия, %
|
98,5
|
98,6
|
98,75
|
98,8
|
Статическая перегружаемость
|
1,7
|
-
|
-
|
-
|
Маховой момент ротора, т∙м2
|
13
|
-
|
-
|
56
|
Максимальный вращающий момент при коротком замыкании
в обмотке статора
|
8-кратный
|
-
|
-
|
7-кратный
|
Критическая частота вращения, об/мин
|
1510/3830
|
-
|
-
|
690/1960
|
Соединение фаз обмотки статора
|
звезда
|
-
|
-
|
двойная звезда
|
Число выводов обмотки статора
|
6
|
-
|
-
|
9
|
Давление водорода, кгс/см2 (МПа)
|
-
|
-
|
-
|
5 - 5,4
|
Допустимая минимальная температура охлаждающего
газа, °С
|
-
|
-
|
-
|
не ниже 20
|
5.4 Турбогенераторы единой серии ТВВ предназначены для
выработки электроэнергии при непосредственном соединении с паровыми турбинами
на тепловой или атомной электростанциях. Турбогенераторы выполнены с
непосредственным водородным охлаждением обмотки ротора и сердечника статора и
охлаждением обмотки статора водой (дистиллятом). Дистиллят в обмотке статора
циркулирует под напором насосов и охлаждается теплообменниками, расположенными
вне генератора. Охлаждающий водород циркулирует в генераторе под действием
вентиляторов, установленных на валу ротора и охлаждается газоохладителями,
встроенными в корпус генератора.
Корпус статора турбогенераторов (средняя часть)
газонепроницаемый, выполнен неразъемным и имеет внутри поперечные кольца
жесткости для крепления сердечника.
Обтекатели вентиляторов прикреплены к наружным щитам. Разъем
наружных щитов расположен в горизонтальной плоскости.
В щитах и валу ротора предусмотрены специальные каналы, по
которым охлаждающий газ попадает в лобовые части обмотки ротора.
Для проникновения внутрь корпуса статора, не разбирая наружные
щиты, в нижней его части предусмотрен люк, уплотненный резиновой прокладкой.
Сердечник статора собран на клиньях из сегментов
электротехнической стали толщиной 0,5 мм, покрытых изолирующим лаком, и вдоль
оси разделен вентиляционными каналами на пакеты.
Клинья сердечника статора приварены к поперечным кольцам
корпуса статора.
В пазы сердечника статора уложены стержни статорной обмотки,
состоящие из сплошных и полых элементарных проводников. Изоляция стержней -
термореактивная. На концах стержней припаяны медные наконечники для подвода
воды к полым проводникам и электрического соединения стержней. Начала и концы
обмотки выведены наружу через выводы.
Обмотки статоров в пазах закреплены клиньями. Лобовые части
обмотки - корзиночного типа.
Ротора изготовлены из цельных поковок специальной стали,
обеспечивающей механическую прочность при всех режимах работы генератора.
Обмотки роторов выполнены из полосовой меди с присадкой
серебра и имеют непосредственное охлаждение водородом по схеме самовентиляции с
забором газа из «воздушного» зазора турбогенератора.
Пазовые дюралюминиевые клинья, удерживающие обмотку в пазу,
имеют заборные и выходные отверстия для охлаждающего газа, совпадающие с
внутренними каналами, выполненными в проводниках катушек.
Лобовая часть витков обмотки охлаждается по многоструйной
схеме водородом, поступающим из зон давления в щитах.
Контактные кольца, в сборе с распределительными кольцами
насажены на вал в горячем состоянии через стеклотекстолитовую изоляцию.
Щеточно-контактный аппарат защищен открывающимся кожухом.
Бандажные кольца выполнены из специальной немагнитной стали.
Бандажные узлы имеют однопосадочное (консольное) исполнение и развитую
демпферную систему под бандажным кольцом. Лобовые части обмотки ротора
изолированы от бандажных и упорных колец стеклотекстолитом.
Подшипники генераторов со стороны возбудителя стоякового типа
имеют шаровой самоустанавливающийся вкладыш. Смазка подшипника -
принудительная. Масло подается под избыточным давлением из напорного
маслопровода турбины.
Для предотвращения выхода водорода из корпуса статора по валу
ротора на наружных щитах установлены масляные уплотнения вала кольцевого типа.
Контроль теплового состояния обмотки и сердечника статора, а
также охлаждающих сред производится термопреобразователями сопротивления.
5.5 Наибольшие допустимые температуры отдельных узлов и
охлаждающего газа турбогенераторов единой серии ТВВ при номинальных давлениях и
температурах охлаждающих сред приведены в таблице 5.2.
Таблица 5.2
- Допустимые температуры отдельных узлов и охлаждающего газа турбогенераторов
единой серии ТВВ
Наименование узлов
турбогенератора
|
Наибольшая температура, °С,
измеренная:
|
по сопротивлению обмотки
|
термометрами сопротивления
|
ртутными термометрами
|
Обмотка статора
|
-
|
120
|
-
|
Обмотка ротора
|
120
|
-
|
-
|
Сердечник статора
|
-
|
120
|
-
|
Горячий газ в турбогенераторе
|
-
|
75
|
75
|
Холодный газ после газоохладителя
|
-
|
55
|
-
|
5.6 Конструктивные характеристики, рабочие параметры и
назначение турбогенераторов должны соответствовать ГОСТ
533.
Требования к метрологическому обеспечению ремонта, маркировке
составных частей, крепежным и уплотнительным деталям, контактным соединениям,
материалам и запасным частям, применяемым при ремонте турбогенераторов,
определяются в соответствии с требованиями раздела 6 СТО
70238424.29.160.20.009-2009.
Требования к составным частям турбогенераторов, установленные
в настоящем стандарте, должны применяться совместно с соответствующими
требованиями к составным частям турбогенераторов, установленными в СТО
70238424.29.160.20.009-2009 и СО 34.45-51.300-97 [1].
В разделе требований к составным частям турбогенераторов
могут отсутствовать отдельные требования к составным частям турбогенераторов,
изготовленным заводами-изготовителями в индивидуальном, опытном исполнении.
Дефектацию и ремонт составных частей статора поз. 1, (см.
рисунок 5.1 - 5.3) необходимо проводить в соответствии с картами 1 - 4.
Карта дефектации и ремонта 1
Статор поз. 1 рис. 5.1 - 5.3
Количество на генератор, шт. - 1

Обозначение
|
Возможный дефект
|
Способ установления дефекта
|
Средства измерения
|
Заключение и рекомендуемый
способ ремонта
|
Технические требования
после ремонта
|
-
|
Трещины, непровары сварных швов корпуса статора
|
ИК
КИ
Проверка мыльной пеной
|
Манометр М 1,0 МПа-1
Прибор ГТИ-6
|
Сварка.
Электрод марки УОНИИ-13/45 тип Э42А ГОСТ
9467
|
1. См. СТО
70238424.29.160.20.009-2009.
2. Предельное падение давления воздуха 12 мм рт. ст.
при испытании избыточным давлением 588 кПа (6 кг/см2) в течение 24
ч.
3. Предельная суточная утечка воздуха 112 мм рт. ст.
при испытании избыточным давлением 539 кПа (5,5 кгс/см2) в течение
24 ч
|
Б
|
Нарушение целостности (трещины, изломы) стяжных
ребер
|
ТО
|
-
|
Сварка.
Электрод марки УОНИИ-13/45 тип Э42А ГОСТ
9467
|
См. СТО
70238424.29.160.20.009-2009
|
В
|
Разрушения, оплавления сегментов активной стали
|
ВК
ИК
КИ
|
Термометры шкала 0 - 100 °С.
Амперметр.
Вольтметр.
Ваттметр.
Частотомер
|
1. Удаление поврежденного участка.
2. Зачистка и травление кислотой.
3. Установка клиньев-заполнителей.
4. Установка вставок-заполнителей
|
1. Поврежденный участок должен быть удален полностью
до неповрежденного участка.
2. После зачистки и травления лаковая пленка между
сегментами сердечника должна просматриваться сплошными линиями.
3. Активная сталь статора должна выдержать испытания
в соответствии с СО 34.45-51.300-97 [1].
4. Обмотка статора должна выдержать испытания
электрические на прочность изоляции в соответствии с СО 34.45-51.300-97 [1]
|
-
|
Смещение нажимных пальцев
|
ВК
|
-
|
1. Закрепление в первоначальном
положении.
2. Установка клина, приварка к пальцу
|
Смещение нажимных пальцев не допускается
|
В
|
Ослабление плотности прессовки активной стали
|
ОК
ИК
КИ
|
Щуп специальный для контроля прессования активной
стали.
Термометры шкала 0 - 100 °С.
Амперметр.
Вольтметр.
Ваттметр.
Частотомер
|
1. Установка клиньев-заполнителей.
2. Подтяжка гаек нажимного кольца
|
1. Щуп специальный от усилия руки (100 - 120) Н не
должен входить между сегментами активной стали глубже 4 мм на участке не
ближе 100 мм от нажимного кольца.
2. См. СТО
70238424.29.160.20.009-2009.
3. Активная сталь статора должна выдерживать
испытания в соответствии с СО 34.45-51.300-97 [1].
4. Сопротивление изоляции термопреобразователей
сопротивления не должно быть менее 1,0 МОм.
5. Сопротивление термопреобразователей сопротивления
при постоянном токе, установленных под пазовым клином должно быть (53 ± 1 %)
Ом.
6. Обмотка статора должна выдерживать испытания
электрические на прочность изоляции в соответствии с СО 34.45-51.300-97 [1]
|
В
|
Следы местных перегревов, контактная коррозия
активной стали.
|
ВК
КИ
|
Термометры шкала 0 - 100 °С.
Амперметр.
Вольтметр.
Ваттметр.
Частотомер
|
1. Зачистка.
2. Травление кислотой
|
1. После зачистки и травления лаковая пленка между
сегментами сердечника должна просматриваться сплошными линиями.
2. Активная сталь статора должна выдержать испытания
в соответствии с СО 34.45-51.300-97 [1]
|
-
|
Нарушение плоскостности торцовой поверхности статора
под щит
|
ТО
ИК
|
Щупы. Набор № 2.
Линейка поверочная ШД-1-630.
Образцы шероховатости поверхности
|
Шабровка
|
1. Допуск плоскостности торцовых поверхностей
статора относительно общей прилегающей плоскости наружного щита 0,1 мм.
2. Шероховатость Rа ≤ 50 мкм
|
Е
|
Ослабление крепления деталей расклиновки обмотки в
лобовой части
|
ВК
|
-
|
1. Подтягивание крепежных деталей.
2. Установка дистанционных распорок с прокладками на
клее.
|
1. Дистанционные распорки должны быть установлены на
расстоянии 2 - 3 мм от нажимного кольца.
2. Деформация, повреждение покровной ленты на
стержнях и шинах после подтягивания крепежных деталей не допускается.
3. Обмотка статора должна выдержать испытания
электрические на прочность изоляции в соответствии с СО 34.45-51.300-97 [1]
|
Е
|
Ослабление плотности расклиновки деталей расклиновки
обмотки в лобовой части
|
ВК
|
-
|
1. Подтягивание крепежных деталей.
2. Установка дистанционных распорок с прокладками на
клее.
3. Бандажировка стержней.
4. Заполнение зазоров между деталями крепления и
обмоткой препрегом или эпоксидной замазкой
|
1. Дистанционные распорки должны быть установлены на
расстоянии 2 - 3 мм от нажимного кольца.
2. Деформация, повреждение покровной ленты на
стержнях и шинах после подтягивания крепежных деталей не допускается.
3. Обмотка статора должна выдержать испытания
электрические на прочность изоляции в соответствии с СО 34.45-51.300-97 [1]
|
Г
|
Ослабление плотности расклиновки стержней в лобовой
части
|
ВК
Клинья перемещаются при легком простукивании
молотком 0,2 кгс
|
-
|
1. Переклиновка клиньев с установкой прокладок на
клее.
2. Бандажировка клиньев
|
1. Клинья должны быть установлены ниже боковых
распорок на 2 - 4 мм, прокладки - на расстоянии 2 - 3 мм от нажимного кольца.
2. При простукивании молотком массой 0,2 кгс или от
руки перемещение распорок не допускается.
3. Обмотка статора должна выдержать испытания
электрические на прочность изоляции в соответствии с СО 34.45-51.300-97 [1]
|
Е
|
Ослабление, обрыв шнуровых бандажей
|
ОК
|
-
|
Замена бандажей
|
Обмотка статора должна выдержать испытания
электрические на прочность изоляции в соответствии с СО 34.45-51.300-97 [1]
|
-
|
Ослабление сжатия пружин поджатия клиньев распора
кронштейнов
|
ИК
|
Линейка измерительная I-300.
Штангенциркуль ЩЦ-I-125-010
|
Поджать пружины
|
Пружины должны быть сжаты до размера L1 = (Н - 10) ± 1 мм, где Н - высота
пружины в свободном состоянии
|
-
|
Нарушение герметичности водяного тракта
|
КИ
Гидравлические испытания.
Пневматические испытания
|
Манометр М 1,0 МПа-1
|
1. Пайка припоем ПСр-15 штуцеров, трубок,
наконечников.
2. Глушка путем заливания элементарного проводника
клеем ЭК-4 холодного отверждения. Допускается глушить отдельные элементарные
проводники, имеющие течи.
В одном стержне разрешается глушить не более двух не
рядом лежащих полых проводников.
3. Замена шланга.
|
Обмотка статора должна выдержать испытания
электрические на прочность изоляции в соответствии с СО 34.45-51.300-97 [1]
|
-
|
Истирание изоляции лобовых частей обмотки, истирание
изоляции (пыль желтого цвета), разрушение полупроводящего покрытия стержня
(пыль серого цвета)
|
ОК
|
-
|
1. Восстановление изоляции.
2. Закрепление лобовых частей обмотки.
3. Покраска обмотки эмалью ГФ-92ХС.
4. Ремонт полупроводящего покрытия
|
Обмотка статора должна выдержать испытания
электрические на прочность изоляции в соответствии с СО 34.45-51.300-97 [1]
|
|
Нарушение проходимости обмотки статора
|
ТО
КИ
|
Манометр М 0,6 МПа-1.
Емкость мерная.
Секундомер.
|
1. Продувка.
2. Химическая промывка.
3. Промывка дистиллятом
|
1. Расход воды на верхней стержень должен быть
(0,267 ± 0,05) л/с при давлении воды на входе 0,1 МПа (1 кгс/см2)*.
2. Расход воды на нижний стержень должен быть (0,233
± 0,04) л/с при давлении воды на входе 0,1 МПа (1 кгс/см2)**
|
-
|
Течи, трещины, деформации, вздутие, налет на
внутренней поверхности и т.п. фторопластового шланга обмотки и выводов
статора
|
ТО
КИ
|
Манометр М 1,6 МПа-1
|
Замена фторопластового шланга
|
Новый фторопластовый шланг должен выдержать
испытания водой на прочность и герметичность при давлении 800 кПа (8 кгс/см2)
при наружном диаметре шланга 28 мм и 10 кПа (10 кгс/см2) - 21 мм
|
-
|
Ослабление крепления водяных коллекторов
|
ОК
|
-
|
Затяжка болтов
|
-
|
-
|
Нарушение плотности соединения шлангов к коллектору
|
ТО
КИ
|
Манометр М 1,0 МПа-1
|
Притирка рабочих поверхностей штуцерных соединений
|
Испытания в соответствии с СО 34.45-51.300-97 [1]
|
-
|
Ослабление крепления водоподвода к корпусу
|
ОК
Обтяжка вручную
|
-
|
1. Замена уплотнительных прокладок.
2. Затяжка болтов
|
Испытания в соответствии с СО 34.45-51.300-97 [1]
|
-
|
Механические повреждения поверхности изолятора
водоподвода
|
ВК
|
-
|
Замена изолятора
|
-
|
-
|
Ослабление плотности крепления обмотки статора по
высоте паза
|
ТО
Простукивание молотком массой 0,2 кгс по характеру
стука.
Перемещение клиньев от усилия руки
|
Штангенциркуль ЩЦ-1-125-0,10
|
Переклиновка с установкой под клин дополнительных
прокладок
|
1. Допускается не более 10 % ослабленных клиньев, но
не более трех подряд в одном пазу.
2. Допускается разновысотность клиньев в одном пазу
не более 1,5 мм.
3. При установке пазовых клиньев, имеющих
вентиляционные прорези, не допускается смещение этих прорезей относительно
вентиляционных каналов активной стали
|
-
|
Ослабление плотности крепления обмотки статора по
ширине паза
|
ТО
ИК
|
Набор уплотнительных ножей. Штангенциркуль ЩЦ-1-125-0,10
|
Установка при переклиновке между стенкой паза и
стороной стержня «набегающей» по направлению вращения
ротора уплотнительной прокладки
|
Зазор между стенкой паза и стержнем должен быть не
более 0,3 мм
|
-
|
Нарушение защитного покрытия активной стали
|
ВК
|
-
|
1. Очистка.
2. Покраска двумя слоями лака БТ-99
|
Поверхность защитного покрытия активной стали должна
быть ровной, без отслаиваний и подтеков лака
|
-
|
Нарушение защитного покрытия обмотки статора,
соединительных и выводных шин
|
ВК
КИ
|
Мегомметр
2500 В.
Стенд испытательный типа СИВ-700/60-55
|
1. Очистка.
2. Покраска двумя слоями эмали ГФ-92ХС
|
1. Поверхность защитного покрытия обмотки статора,
соединительных и выводных шин должна быть ровной, без отслаиваний и подтеков.
2. Обмотка статора должна выдерживать испытания
электрические на прочность изоляции в соответствии с СО 34.45-51.300-97 [1]
|
-
|
Обрыв проводки теплоконтроля
|
КИ
|
Мегомметр 500 В
|
1. Пайка припоем ПОС-40.
2. Замена проводки теплоконтроля
|
Сопротивление изоляции проводки теплоконтроля должно
быть не менее 0,5 МОм
|
-
|
Сопротивление изоляции термопреобразователей
сопротивления с присоединенными проводами менее 1,0 МОм
|
КИ
|
Мегомметр 500 В
|
1. Очистка.
2. Изолирование.
3. Замена
|
Сопротивление изоляции термопреобразователей
сопротивления не должно быть менее 1,0 МОм
|
-
|
Сопротивление постоянному току
термопреобразователя сопротивления менее
53 Ом
|
КИ
|
Мост двойной типа МО-62
|
Замена
|
Сопротивление постоянному току термопреобразователя
сопротивления должно быть 53 Ом (приведенная к температуре 0 °С, без учета
сопротивления соединительных проводов), отклонения в пределах ±1 %
|
-
|
Сопротивление изоляции обмотки статора ниже нормы (Кабс
< 1,3)
|
КИ
|
Мегомметр 2500 В
|
1. Очистка.
2. Сушка
|
Коэффициент абсорбции должен быть Кабс ≥
1,3 при температуре от +10 до +30 °С
|
-
|
Отклонение сопротивления обмотки при постоянном токе
|
КИ
Метод амперметра-вольтметра
|
Амперметр. Вольтметр
|
Перепайка дефектной головки обмотки статора
|
Испытания в соответствии с [1]
|
-
|
Нарушение электрической прочности корпусной изоляции
|
КИ
|
Мегомметр 2500 В.
Стенд испытательный типа СИВ-700/60-55
|
1. Ремонт изоляции обмотки.
2. Замена стержня
|
Обмотка статора должна выдержать испытания
электрические на прочность изоляции в соответствии с [1]
|
7.2.1 На поверхности статора (обмотке, сердечнике и корпусе)
не должно быть загрязнений.
7.2.2 Защитное покрытие поверхности расточки активной стали
электроизоляционной эмалью должно быть равномерным, без отслоений.
7.2.3 Статорная обмотка, соединительные и выводные шины
должны быть покрыты электроизоляционной маслостойкой эмалью.
7.2.4 Увлажнение обмотки статора не допускается.
Необходимость сушки устанавливается по СО 34.45-51.300-97 [1].
7.2.5 Соединительные шпильки изоляционных накладок крепления
лобовых частей статорной обмотки не должны касаться изоляции обмотки.
7.2.6 Не допускается более 10 % ослабленных средних клиньев,
но не более трех подряд в одном пазу.
Концевые клинья и два к ним прилегающие с каждой стороны паза
должны быть установлены плотно и иметь дополнительное крепление согласно
требованиям конструкторской документации.
Пазы должны быть переуплотнены (переклинены), если количество
ослабленных клиньев в них превышает допустимое.
7.2.7 Допустимый зазор в стыках клиньев - не более 3,0 мм, не чаще, чем через 10 клиньев.
Допускается разновысотность клиньев в одном пазу не более 1,5
мм.
Карта
дефектации и ремонта 2
Щит наружный, поз. 2 рис. 5.1 - 5.3
Количество на изделие, шт. - 2

Обозначение
|
Возможный дефект
|
Метод установления дефекта
|
Контрольный инструмент
|
Заключение и рекомендуемый
способ ремонта
|
Технические требования
после ремонта
|
А
|
Риски, забоины
|
ВК
|
-
|
1. Опиловка.
2. Зачистка.
3. Шабрение
|
Шероховатость поверхностей:
А, Д - Rz ≤ 80 мкм;
Б, В, Г - Rz ≤ 40 мкм;
Е - Rz ≤ 20 мкм.
|
Б
|
Отклонение от плоскостности (излом)
|
ВК
ИК
|
Щуп набор № 2.
Образцы шероховатости поверхности (рабочие).
Плита поверочная Ш-1-630×400.
Линейка поверочная. ШД-1-630
|
Шабровка
|
1. Шероховатость поверхности Г - Rz ≤ 40 мкм.
2. Неплоскостность (излом) не более 0,2 мм.
3. В свободном состоянии (фланцы разъема не затянуты
болтами) щуп толщиной 0,1 мм не должен входить в разъем на глубину более 10
мм
|
В, Г
|
Трещины
|
ВК
|
-
|
Заварка
|
Трещины не допускаются
|
Д, Е
|
Забоины, задиры, включая канавки под уплотняющий
шнур
|
ВК
|
Линейка поверочная ШД-1-630.
Образцы шероховатости.
Плита поверочная Ш-1-630×400
|
1. Очистка.
2. Запиловка.
3. Шабровка
|
Шероховатость поверхности не более Ra = 50 мкм.
|
-
|
Нарушение лакокрасочного покрытия
|
ВК
|
-
|
1. Очистка.
2. Покраска двумя слоями эмали МС-226
|
Поверхность покрытия должна быть ровной, допускаются
отдельные неровности, связанные с состоянием окрашиваемой поверхности до
окраски. Высохшая пленка не должна иметь отлива
|
-
|
Сопротивление изоляции между щитом наружным и
соседними деталями менее 1 МОм
|
КИ
|
Мегомметр 1000 В.
|
1. Очистка изоляционных деталей.
2. Замена изоляционных деталей
|
Сопротивление изоляции между щитом наружным и
соседними деталями, измеренное мегомметром 1000 В, должно быть не менее 1,0
МОм
|
Карта дефектации и ремонта 3
Щит вентилятора поз. 3 рис. 5.1 - 5.2
Количество на изделие, шт. - 2

Обозначение
|
Возможный дефект
|
Метод установления дефекта
|
Контрольный инструмент
|
Заключение и рекомендуемый
способ ремонта
|
Технические требования
после ремонта
|
-
|
Неплотное прилегание поверхности разъема частей щита
вентилятора
|
ВК
ИК
|
Щуп. Набор № 2.
Образцы шероховатости поверхности.
Ш-1-630×400
|
1. Шабровка
|
1. Шероховатость поверхности не более Ra = 50 мкм.
2. В свободном состоянии (фланцы разъема не затянуты
болтами) щуп толщиной 0.1 мм не должен входить в разъем на глубину более 10
мм
|
А
|
Риски, забоины, заусенцы и задиры
|
ВК
|
Линейка поверочная ШД-1-630.
Образцы шероховатости поверхности (рабочие).
Плита поверочная Ш-1-630×400.
|
1. Опиловка.
2. Зачистка.
3. Шабрение
|
Шероховатость - Rz ≤ 32 мкм
|
Б
|
Расслоения, трещины, подгары изолирующих прокладок,
шайб и болтов изолированных
|
ВК
|
-
|
Замена
|
-
|
В
|
Ослабление крепления обтекателей к щиту
|
ВК
|
-
|
Затянуть крепежные болты и закрепить их с помощью
немагнитной проволоки
|
Ослабление крепления обтекателей к щиту не
допускается
|
-
|
Сопротивление изоляции между частями щита
вентилятора менее 1 МОм
|
КИ
|
Мегомметр 1000 В
|
1. Очистка изоляционных деталей.
2. Сушка.
3. Замена изоляционных деталей
|
Сопротивление изоляции между частями щита
вентилятора, измеренное мегомметром 1000 В, должно быть не менее 1,0 МОм
|
Карта дефектации и ремонта 4
Щиток направляющий поз. 3 рис. 5.3
Количество на изделие, шт. - 2

Обозначение
|
Возможный дефект
|
Метод установления дефекта
|
Контрольный инструмент
|
Заключение и рекомендуемый
способ ремонта
|
Технические требования
после ремонта
|
Б
|
Неплотное прилегание поверхности разъема частей
щитка вентилятора
|
ВК
ИК
|
Щуп. Набор № 2.
Образцы шероховатости поверхности.
Ш-1-630×400
|
1. Шабровка
|
1. Шероховатость поверхности не более Ra = 50 мкм.
2. В свободном состоянии (фланцы разъема не затянуты
болтами) щуп толщиной 0,1 мм не должен входить в разъем на глубину более 10
мм
|
В
|
Риски, забоины, заусенцы и задиры
|
ВК
|
Линейка поверочная ШД-1-630.
Образцы шероховатости поверхности (рабочие). Плита
поверочная Ш-1-630×400
|
1. Опиловка.
2. Зачистка.
3. Шабрение
|
Шероховатость поверхности не более Ra = 50 мкм
|
Б
|
Расслоения, трещины, подгары изолирующих прокладок,
шайб и болтов изолированных
|
ВК
|
-
|
Замена
|
-
|
-
|
Сопротивление изоляции между частями щита
вентилятора менее 1 МОм
|
КИ
|
Мегомметр 1000 В
|
1. Очистка изоляционных деталей.
2. Сушка.
3. Замена изоляционных деталей
|
Сопротивление изоляции между частями щита
вентилятора, измеренное мегомметром 1000 В, должно быть не менее 1,0 МОм
|
Дефектацию и ремонт составных частей бандажного узла поз. 1,
контактных колец поз. 2, вентилятора поз. 3 и обмотки ротора поз. 4 (см.
рисунок 7.1) необходимо проводить
в соответствии с картами 4 - 11.
Нормы натягов бандажного узла и контактных колец приведены в
таблицах 7.1 и 7.2.

Ротора турбогенераторов ТВВ-160-2Е, ТВВ-220-2Е и ТВВ-320-2

Ротор турбогенератора ТВВ-800-2Е
1 - бандажный узел; 2 - вентилятор; 3 - контактные
кольца с токоподводом, 4 - обмотка ротора.
Рисунок 7.1 - Ротора турбогенераторов единой серии ТВВ
Карта дефектации и ремонта 5
Ротор поз. 4 рис. 5.1
- 5.3
Количество на изделие, шт. - 1

Обозначение
|
Возможный дефект
|
Метод установления дефекта
|
Контрольный инструмент
|
Заключение и рекомендуемый
способ ремонта
|
Технические требования
после ремонта
|
А, Б
|
Износ, риски, забоины
|
ВК
ИК
|
Лупа ЛП-4-10×
Индикатор ИЧ 0,5 кл. 01
Микрометр Образцы шероховатости поверхности
(рабочие)
|
1. Проточка.
2. Шлифовка
|
1. Шероховатость поверхности - Rа ≤ 0,63 мкм.
2. Допуск цилиндричности - 0,03 мм.
3. Допуск радиального биения - 0,03 мм
|
В
|
Износ, риски, забоины
|
ВК,
ИК
|
Лупа ЛП-4-10×.
Индикатор ИЧ 0,5 кл. 01.
Микрометр МК 500-1 ГОСТ
6507.
Образцы шероховатости поверхности (рабочие)
|
1. Проточка.
2. Шлифовка
|
1. Проточить на глубину не более 1,0 мм.
2. Шероховатость поверхности - Ra ≤ 2,5 мкм.
3. Допуск радиального биения - 0,05 мм
|
Г
|
Нарушение электрической прочности корпусной изоляции
обмотки ротора
|
ИК
КИ
|
Мегомметр на 1000 В М4 100/4 кл. 1,0
|
Замена корпусной изоляции
|
1. Нарушение электрической прочности недопустимо.
2. Сопротивление изоляции обмотки ротора согласно [1].
3. Обмотка ротора должна выдержать испытание
повышенным напряжением промышленной частоты согласно [1]
|
Г
|
Нарушение витковой изоляции обмотки ротора
|
ИК
КИ
|
Мегомметр на 500 В М4 100/3 кл. 1,0.
Миллиамперметр, амперметр, вольтметр Э316 кл. 1,0
|
Замена витковой изоляции
|
Измерение сопротивления обмотки ротора переменному
току, п. 3.7 [1]
|
Дефектацию и ремонт составных частей бандажного узла поз. 1,
кольца упорного поз. 2 и кольца пружинного поз. 3 (см. рисунок 7.2) необходимо проводить в
соответствии с картами 5 - 7.

1 - кольцо бандажное; 2 -
кольцо упорное; 3 - кольцо пружинное.
Рисунок
7.2 - Бандажный узел ротора консольного исполнения, поз. 1 рисунок 7.1.
Нормы натягов в деталях бандажного узла
турбогенераторов единой серии ТВВ приведены в таблице 7.1.
Таблица 7.1 - Натяги в деталях бандажного узла турбогенераторов
единой серии ТВВ, мм
Тип турбогенератора
|
Бандажное кольцо-бочка
ротора
|
Бандажное кольцо-упорное
кольцо
|
dp
|
dб.р
|
Натяг
|
dk
|
dб.к
|
Натяг
|
ТВВ-160-2Е
|
943,8-0,055
|
942+0,09
|
1,8 - 1,65
|
924,7-0,055
|
923+0,09
|
1,7 - 1,55
|
943,6-0,055
|
942+0,09
|
1,6 - 1,45
|
ТВВ-220-2Е
|
1019-0,06
|
1016,6+0,1
|
2,2 - 2,04
|
999,1-0,055
|
997+0,09
|
2,1 - 1,95
|
1018,6-0,06
|
1016,6+01
|
2 - 1,84
|
ТВВ-320-2Е
|
1019-0,06
|
1016,6+0,1
|
2,4 - 2,24
|
999,2-0,055
|
997+0,09
|
2,2 - 2,05
|
1018,6-0,06
|
1016,6+01
|
2 - 1,84
|
ТВВ-800-2Е
|
1169,4-0,06
|
1166+0,105
|
3,4 - 3,23
|
1161,1-0,066
|
1158+0,05
|
3,1 - 2,93
|
Карта
дефектации и ремонта 6
Кольцо бандажное поз. 1 рис. 7.2
Количество на изделие, шт. - 2
Кольца бандажные турбогенераторов ТВВ-160-2Е и ТВВ-32-2Е

Кольцо бандажное турбогенераторов ТВВ-800-2Е

Обозначение
|
Возможный дефект
|
Метод установления дефекта
|
Контрольный инструмент
|
Заключение и рекомендуемый
способ ремонта
|
Технические требования
после ремонта
|
A, Б
B, Г
Д
|
Фреттинг-коррозия, коррозионное растрескивание,
трещины, подгары
|
ВК,
ИК,
|
Нутромер НМ 150-1250.
Индикатор ИЧ0,5 кл. 01
|
Устранение дефектов по СО 153-34.45.513-07 [2]
|
1. Ослабление натягов недопустимо.
2. Допуск конусности поверхности А и Б не более 0,03
мм.
3. Допуск овальности поверхности А и Б не более 0,2
мм.
4. Радиальное биение поверхности А и Г относительно
общей оси не более 0,1 мм.
5. Шероховатость поверхности - Ra £ 2,0 мкм
|
УЗД
|
УД2-12, УД4-Т
|
|
Дефектоскопия цветная
|
Лупа ЛАЗ-20×
|
|
-
|
Вмятины
|
ВК,
ИК
|
Штангенциркуль ШЦ-III-1000-0,1.
Образцы шероховатости поверхности (рабочие)
|
1. Проточка.
2. Шлифовка.
3. Выборка местная
|
1. Местная выборка в соответствии с СО
153-34.45.513-07 [2].
2. Шероховатость поверхности не более Rz ≤ 20 мкм
|
-
|
Сколы, риски, царапины, забоины
|
ВК
|
Лупа ЛП-4-10×.
Штангенциркуль ШЦ-III-250-0,1
|
1. Местная выборка.
2. Проточка
|
1. Глубина местной выборки и глубина проточки по СО
153-34.45.513-07 [2]
|
Карта дефектации и ремонта 7
Кольца упорные и центрирующие поз. 2 рис. 7.2
Количество на изделие, шт. - 2
Кольцо упорное

Обозначение
|
Возможный дефект
|
Метод установления дефекта
|
Контрольный инструмент
|
Заключение и рекомендуемый
способ ремонта
|
Технические требования
после ремонта
|
А
|
Контактная коррозия
|
ВК,
ИК
Дефектоскопия цветная
|
Микрометр МРИ 1000-0,01.
Лупа ЛАЗ-20×
|
1. Проточка.
2. Шлифовка.
3. Местная выборка
|
1. Допустимая шероховатость Ra ≤ 2,0 мкм.
2. Допуск радиального биения относительно оси
вращения - 0,1 мм.
3. Допуск профиля продольного сечения - 0,03 мм
|
Карта дефектации и ремонта 8
Кольцо пружинное поз. 3 на рис. 7.2
Количество на изделие, шт. - 2

Обозначение
|
Возможный дефект
|
Метод установления дефекта
|
Контрольный инструмент
|
Заключение и рекомендуемый
способ ремонта
|
Технические требования
после ремонта
|
А
Б
|
Забоины, заусенцы
|
ВК,
ИК
|
Образцы шероховатости поверхности (рабочие)
|
Опиловка
|
Допустимая шероховатость - Rz ≤ 20 км
|
А
|
Отклонение от плоскостности
|
ВК
ИК
|
Измерение.
Плита 1-0-1000×1000, щупы набор № 4
|
Рихтовка
|
Допуск плоскостности - 1 мм
|
7.5.1
При выполнения капитального ремонта
ротора должны выполняться все требования, предъявляемые к бандажному узлу
ротора, в соответствии с СО 153-34.45.513-07 [2].
7.5.2 Обеспечить натяги, указанные в таблице 7.1.
7.5.3 Допуск радиального биения наружной поверхности
бандажного кольца (на стороне центрирующего кольца) относительно оси вращения
вала ротора - 0,5 мм.
7.5.4 Поверхности бандажных колец (кроме посадочных) покрыть
эмалью КО855 или другим антикоррозионным покрытием с аналогичными свойствами.
7.5.5 После сборки бандажного узла проводить дублирующий
контроль состояния посадочных натягов в соответствии с СО 153-34.45.513-07
(Приложение Б) [2].
Дефектацию и ремонт составных частей контактного кольца поз.
1, токоведущего болта поз. 2, 3 и контактного винта поз. 4 (см. рис. 7.3) необходимо проводить в
соответствии с картами 8 - 11.
Размеры и натяги узла контактных колец, а также моменты
затяжки токоведущих болтов различных диаметров приведены в таблицах 7.2 - 7.3.

1 - контактное кольцо; 2, 3 -
токоведущий болт; 4 - контактный винт.
Рисунок
7.3 - Контактные кольца с токопроводом, поз. 3 рис. 7.1
Таблица 7.2
- Размеры и натяги узла контактных колец
в
миллиметрах
Тип турбогенератора
|
Посадка контактных колец на
вал
|
Наружный диаметр
контактного кольца
|
Минимально допустимый
диаметр контактных колец
|
Д1
|
Д2
|
Натяг
|
Д3
|
Д3
|
ТВВ-160-2Е
|
190,60-0,1
189,99
|
186,60-0,1
185,99+0,046
|
0,62 - 0,46
|
320
|
300*
|
ТВВ-320-2Е
|
260,00-0,1
260,62+0,046
|
256,00-0,1
256,62+0,046
|
0,62 - 0,46
|
402
|
300*
|
Карта
дефектации и ремонта 9
Кольцо контактное поз. 1 рис. 7.3
Количество на изделие, шт. - 2

Обозначение
|
Возможный дефект
|
Метод установления дефекта
|
Контрольный инструмент
|
Заключение и рекомендуемый
способ ремонта
|
Технические требования
после ремонта
|
А
|
Радиальное биение и перепад высот выходят за пределы
допустимых норм. (Измеряется не менее чем в трех точках по ширине кольца)
|
ВК, ИК
|
Измерение.
Индикатор часового типа ИЧ05 кл. 0
|
1. Проточка.
2. Шлифовка.
3. Замена
|
Радиальное биение и перепад высот должны быть в
пределах допусков, указанных в чертежах завода-изготовителя
|
|
Износ (измеряется в четырех точках по окружности
через 90° и не менее чем на трех дорожках)
|
ВК, ИК
|
Измерение.
Индикатор часового типа ИЧ05 кл. 0.
Набор щупов № 2
|
1. Проточка.
2. Шлифовка.
3. Замена
|
1. Допустимый диаметр не менее 438 мм.
2. Шероховатость - Rz ≤ 1,25 мкм
|
|
Уменьшение глубины спиральной канавки
|
ИК
ВК
|
Штангенциркуль ЩЦ-I-125-0,1
Образцы шероховатости поверхности (рабочие)
|
Нарезка канавки
|
1. Допустимая глубина не менее 3 мм.
2. Шероховатость - Rz ≤ 20 мкм
|
|
Следы эрозии, подгары, матовая поверхность
|
ВК
|
-
|
1. Проточка.
2. Шлифовка
|
-
|
Карта
дефектации и ремонта 10
Болт токоведущий поз. 2 и 3 рис. 7.3
Количество на изделие, шт. (поз. 2 - 4, поз. 3 - 4)

Обозначение
|
Возможный дефект
|
Метод установления дефекта
|
Контрольный инструмент
|
Заключение и рекомендуемый способ
ремонта
|
Технические требования
после ремонта
|
А
|
Нарушение серебряного покрытия контактных
поверхностей
|
ВК, ИК
|
Лупа ЛАЗ-10
|
Серебрение контактных поверхностей покрытия - 9 мкм
|
Допустимое нарушение серебряного покрытия не более
10 % площади контактной поверхности
|
Б, Г
|
Нарушение резьбовой поверхности более одного витка,
вытягивание резьбы
|
ВК, ИК
|
Лупа ЛАЗ-10
|
Замена болта токоведущего
|
Не допускаются нарушение резьбовой поверхности
|
|
Деформация по длине болта токоведущего
|
ВК
ИК
|
-
|
Замена болта токоведущего
|
Не допускается деформация по длине болта
|
В
|
Дефекты изоляционного покрытия болта токоведущего
|
ВК
|
Лупа ЛАЗ-10
|
Замена изоляционного покрытия
|
Не допускаются дефекты изоляционного покрытия
|
Б
|
Выступы от деформации смятия шлица опорной
контактной поверхности
|
ВК
|
|
Запиловка заподлицо с контактно поверхностью
|
Допускаются неровности поверхности не более 0,05 мм
(допуск плоскостности)
|
Карта дефектации и ремонта 11
Винт контактный поз. 4 рис. 7.3
Количество на изделие, шт. - 8

Обозначение
|
Возможный дефект
|
Метод установления дефекта
|
Контрольный инструмент
|
Заключение и рекомендуемый
способ ремонта
|
Технические требования
после ремонта
|
А
|
Нарушение серебряного покрытия контактной
поверхности
|
ВК, ИК
|
Лупа ЛАЗ-10
|
Серебрение контактных поверхностей Толщина покрытия
- 6 мкм
|
Допустимое нарушение серебряного покрытия не более
10 % площади контактной поверхности
|
Б
|
Трещины
|
ВК, ИК
|
Лупа ЛАЗ-10.
Цветная дефектоскопия
|
Замена винта контактного
|
Трещины не допускаются
|
Б
|
Выкрашивание, срывы резьбы
|
ВК
|
|
Замена винта контактного
|
Допускаются на длине не более 1 витка
|
|
Выступы от деформации смятия шлица опорной
поверхности
|
ВК, ИК
|
Штангенциркуль ШЦ1-125-0,1
|
Запиловка заподлицо с поверхностью головки,
восстановление формы шлица
|
Не допускается смятие шлицев более 1 мм по ширине
|
|
Отклонение от перпендикулярности опорной поверхности
головки и резьбовой части
|
ВК, ИК
|
Поверочный угольник УПП-1-160
|
Замена
|
Допуск перпендикулярности - не более 0,5 мм
|
7.7.1 Радиальный зазор между винтом и изолирующей коробкой
недопустим. Зазор устранить изоляционными прокладками, обеспечив натяг 0,2 мм.
7.7.2 Допуск радиального биения рабочей поверхности
контактных колец относительно оси - 0,015 мм.
7.7.3 Токоведущий болт затянуть моментом, указанным в таблице
7.3.
Винт контактный с метрической резьбой М20 затянуть с моментом
55 Н∙м (550 кг/см), но не более момента затяжки токоведущих болтов.
Таблица 7.3
- Моменты затяжки токоведущих болтов различных диаметров
Номинальный диаметр резьбы,
дюйм
|
Средний диаметр, мм
|
Шаг, мм
|
Рабочая длина, мм
|
Моменты затяжки, Н∙м
(кгс∙см)
|
3/4
|
25
|
1,814
|
14 - 17
|
20 - 25 (200 - 250)
|
1
|
32
|
2,209
|
15 - 18
|
28 - 35 (280 - 350)
|
11/4
|
40
|
2,209
|
16 - 20
|
50 - 60 (500 - 600)
|
11/2
|
46
|
2,209
|
18 - 23
|
70 - 85 (700 - 850)
|
2
|
58
|
2,209
|
20 - 30
|
130 - 160 (1300 - 1600)
|
Дефектацию и ремонт составных частей лопатка вентилятора (см.
рис. 7.4) необходимо проводить в
соответствии с картой 12.
Величины натягов при посадке вентилятора приведены в таблице 7.4.
Осевой вентилятор

Центробежный вентилятор

1 - лопатка вентилятора; 2 -
вал ротора.
Рисунок
7.4 - Осевой и центробежный вентиляторы, поз. 2 рис. 7.1
Таблица 7.4 - Величины натягов при посадке вентилятора, мм
Натяг
|
Заводской натяг
|
Тип вентилятора
|
Δ = d1 - d2
|
0,8 ... 0,68
|
Осевой
|
1,5 - 1,6
|
Центробежный
|
Карта дефектации и ремонта 12
Лопатка вентилятора поз. 1 рис. 7.4
Количество на изделие, шт. - 2 комплекта.

Обозначение
|
Возможный дефект
|
Метод установления дефекта
|
Контрольный инструмент
|
Заключение и рекомендуемый
способ ремонта
|
А
|
«Следы» модельного литья, поры,
раковины
|
ВК
Цветная дефектоскопия
|
Лупа ЛАЗ-20×
|
Способ ремонта см. п. 7.9.6
|
7.9.1
Лопатки и шпильки конические
устанавливать, строго соблюдая маркировку.
7.9.2 Гайки корончатые не должны иметь трещин, должны быть
затянуты до упора и застопорены шплинтами.
7.9.3 Натяг ступицы осевого и центробежного вентилятора на
вал ротора в соответствии с таблицей 7.4.
7.9.4 Лопатки центробежных вентиляторов
не должны иметь трещин, раковин и замятий.
7.9.5 На лопатках не допускаются
следующие дефекты:
- «следы» от моделей или местные незаполнения контура более 2
мм и единичные наплывы металла высотой более 2 мм на необрабатываемых частях
лопаток;
- одиночные поры и раковины диаметром и глубиной более 2 мм и
сосредоточенные поры и раковины диаметром и глубиной более 1 мм на
необрабатываемых частях лопаток;
- трещины и неслитины, распространяющиеся в глубь металла, в
основном в местах перехода пера в основание лопатки;
- следы эрозионного износа игольчатой формы на набегающей
кромке пера от воздействия паров и капель влаги и масла;
- механические забоины и сколы по кромке пера, превышающие 3
мм в глубину тела пера, а также деформации перьев лопаток, нанесенные
посторонним предметом.
7.9.6 С помощью шлифовального круга
удаляются дефекты, указанные в п. 7.9.4 и 7.9.5
настоящего стандарта.
Дефектацию и ремонт составных частей корпуса уплотнения поз.
1, вкладыша уплотнения (кольцо уплотнительное) поз. 2, маслоуловителя поз. 3
(см. рисунок 7.5) необходимо
проводить в соответствии с картами 13 - 15.
Кольцевое уплотнение

1 - корпус уплотнения; 2 -
кольцо уплотнительное; 3 - маслоуловитель.
Рисунок
7.5 - Уплотнение генератора, поз. 5 рис. 5.1 - 5.3
Карта дефектации и ремонта 13
Корпус уплотнения поз. 1 рис. 7.5
Количество на изделие, шт. - 2

Обозначение
|
Возможный Дефект
|
Метод установления дефекта
|
Контрольный инструмент
|
Заключение и рекомендуемый
способ ремонта
|
Технические требования
после ремонта
|
А, Б
|
Риски, задиры
|
ВК
ИК
|
По образцам шероховатости поверхностей (ГОСТ
9378)
|
Шабрение
|
1. Шероховатость поверхностей: А, Б - Rz ≤ 20 мкм
|
В
|
Риски
|
ВК
|
По образцам шероховатости поверхностей (ГОСТ
9378)
|
Дообработка шлифовальной шкуркой
|
1. Шероховатость поверхностей: В - Rа ≤ 0,63 мкм
|
А, Б, В
|
Смещение половин корпуса друг относительно друга в
осевом и радиальном направлениях
|
ИК
|
щупы № 1, класс 2 (ГОСТ 8925),
поверочная плита, класс 1 (ГОСТ 10905)
|
Дообработка посадочных под установочные болты,
изготовление новых установочных болтов
|
Смещение половин корпуса друг относительно друга -
0,02 мм
|
Г
|
Риски, забоины, отклонение от плоскостности
|
ВК
ИК
контроль на краску по поверочной плите.
|
Плита I-0630×400
|
Шабрение
|
1. Шероховатость - Rа ≤ 20 мкм.
2. Допустимое количество точек контакта при проверке
на краску на поверочной плите - не менее 10 на площади 25×25 мм2
|
-
|
Засорение маслоподводящих отверстий
|
ВК
|
-
|
Чистка отверстий
|
Засорение не допускается
|
Карта
дефектации и ремонта 14
Вкладыш уплотнения поз. 2 рис. 7.5
Количество на изделие, шт. - 2

Обозначение
|
Возможный дефект
|
Метод установления дефекта
|
Контрольный инструмент
|
Заключение и рекомендуемый
способ ремонта
|
Технические требования
после ремонта
|
А
|
Износ баббита вкладыша (увеличенный зазор между
вкладышем и валом)
|
ИК
|
Микрометрическим нутромером НМ
|
1. Шабровка разъемов вкладыша В.
2. Разделка расточки баббитовой поверхности в
соответствии с заводским чертежом
|
1. Радиальный зазор между расточкой вкладыша и валом
согласно чертежу завода изготовителя.
2. Шероховатость рабочей поверхности баббита - Ra ≤ 0,63 мкм
|
А
|
Подплавление, изменение структуры баббита
|
ВК
|
Лупа ЛАЗ-10
Микрометрическим нутромером НМ
|
1. Шабровка разъемов вкладыша В.
2. Разделка расточки баббитовой поверхности в
соответствии с заводским чертежом
|
1. Радиальный зазор между расточкой вкладыша и валом
согласно чертежу завода изготовителя.
2. Шероховатость рабочей поверхности баббита - Ra ≤ 0,63 мкм
|
Б
|
-
|
ВК
Метод «керосиновой пробы»
|
-
|
Перезалить баббит вкладыш и дообработать согласно
заводскому чертежу
|
Не допускается нарушение сцепления баббита с
корпусом вкладыша
|
В
|
Утечка водорода через разъем
|
ИК
|
Пластинчатый щуп № 1, класс 2
|
Шабрение
|
1. Прилегание поверхности разъема проверить
покраске. Количество пятен на квадрате со стороной 25 мм не менее 16,
расположение равномерное.
2. Щуп толщиной 0,03 мм не должен входить в разъем
на глубину более 3 мм при незатянутых болтах
|
Карта дефектации и ремонта 15
Маслоуловитель поз. 3 рис. 7.5
Количество на изделие, шт. - 2

Обозначение
|
Возможный дефект
|
Метод установления дефекта
|
Контрольный инструмент
|
Заключение и рекомендуемый
способ ремонта
|
Технические требования
после ремонта
|
А
|
Риски, забоины, отклонение от плоскостности
|
ВК
ИК
Контроль на краску по поверочной плите
|
Образцы шероховатости поверхности (рабочие)
Плита I-0-1000×630
|
Шабрение
|
1. Шероховатость - Rа ≤ 2,5 мкм.
2. Допустимое количество точек контакта при проверке
на краску по поверочной плите - не менее 10 на площади 25×25 мм
|
Б
|
Риски, забоины
|
ВК
|
Образцы шероховатости поверхности (рабочие)
|
Шабрение
|
Шероховатость - Rz ≤ 20 мкм
|
В
|
Износ
|
ВК
ИК
|
Образцы шероховатости поверхности (рабочие).
Нутромер НМ 75-600
|
1. Оттяжка ножей, проточка.
2. Замена
|
1. Шероховатость - Rz ≤ 40 мкм
|
7.11.1 Технические требования на смещения между сопрягаемыми
поверхностями составных частей уплотнения водорода и маслозащитных устройств, а
также прилегание между ними должны соответствовать требованиям конструкторской
документации.
7.11.2 Торцовое биение поверхности корпуса уплотнения,
установленного на наружном щите (в месте контакта c
торцом вкладыша), относительно оси вращения вала ротора - согласно
конструкторской или ремонтной документации. При необходимости дообработать:
- привалочную поверхность наружного щита;
- с «обратным уклоном» привалочную поверхность корпуса
уплотнения.
7.11.3 Сопротивление изоляции корпуса уплотнения и
маслоуловителя (сторона контактных колец), измеренное относительно наружного
щита, при полностью собранных маслопроводах и при отсутствии контакта между
вкладышем уплотнения и шейкой вала ротора должно быть не менее 1 МОм в
соответствии с требованиями СО 34.45-51.300-97 [1].
Дефектацию и ремонт составных частей подшипника опорного поз.
6, щеточно-контактного аппарата поз. 7 и газоохладителей поз. 8
турбогенераторов единой серии ТВВ (см. рисунок 5.1 - 5.3)
необходимо проводить в соответствии с картами 16
- 22.
7.12.1 Составные части подшипника.
Дефектацию и ремонт составных частей подшипника: стояка подшипника
поз. 1, вкладыша подшипника поз. 2, крышки подшипника поз. 3, бака аварийной
смазки поз. 4 необходимо проводить в соответствии с картами 16 - 19.

1 - стояк подшипника; 2 -
вкладыш подшипника; 3 - маслоуловитель; 4 - крышка подшипника; 5 - бак
аварийной смазки
Рисунок
7.6 Подшипник, поз. 6 рис. 5.3
Карта дефектации и ремонта 16
Стояк подшипника поз. 1 рис. 7.6
Количество на изделие, шт. - 1

Обозначение
|
Возможный дефект
|
Метод установления дефекта
|
Контрольный инструмент
|
Заключение и рекомендуемый
способ ремонта
|
Технические требования
после ремонта
|
А
|
Царапины, задиры, забоины
|
ВК
ИК
|
Образцы шероховатости поверхности (ГОСТ
9378).
Линейка поверочная ЩД-1-630
|
1. Запиловка.
2. Шабрение
|
1. После шабрения должно быть не менее 10 точек
касания на площади 25×25 мм.
2. Шероховатость поверхности Ra ≤
3,2 мкм
|
Б
|
Риски, царапины, задиры на сферической поверхности
|
ВК
ИК
|
Образцы шероховатости поверхности.
Линейка поверочная ЩД-1-630
|
Шабрение
|
1. После шабрения должно быть не менее 10 точек
касания на площади 25×25 мм.
2. Шероховатость поверхности Ra ≤
3,2 мкм
|
В, Е
|
Царапины, задиры, забоины
|
ВК
ИК
|
Образцы шероховатости поверхности.
Линейка поверочная ЩД-1-630
|
1. Запиловка.
2. Шабрение
|
1. После шабрения должно быть не менее 10 точек
касания на площади 25×25 мм.
2. Шероховатость поверхности Ra ≤
100 мкм
|
Г
|
Нарушение герметичности сварных швов
|
ВК
|
Метод керосиновой пробы
|
Сварка. Электрод марка УОНИИ-13/45, тип Э42А, ГОСТ
9467
|
Отсутствие пятен керосина после 24 часов керосиновой
пробы
|
Д
|
Задиры, забоины
|
ВК
ИК
|
Образцы шероховатости поверхности.
Линейка поверочная ЩД-1-630
|
1. Запиловка.
2. Шабрение
|
1. После шабрения должно быть не менее 10 точек
касания на площади 25×25 мм.
2. Шероховатость поверхности Ra ≤
50 мкм
|
-
|
Загрязнение внутренних поверхностей маслоподводящих
и сливных труб
|
ТО
|
-
|
1. Очистка.
2. Промывка.
3. Продувка
|
Загрязнение маслоподводящих и сливных труб не
допускается
|
Карта
дефектации и ремонта 17
Вкладыш подшипника поз. 2 рис. 7-6
Количество на изделие, шт. - 1

Обозначение
|
Возможный дефект
|
Метод установления дефекта
|
Контрольный инструмент
|
Заключение и рекомендуемый
способ ремонта
|
Технические требования
после ремонта
|
А
|
Царапины, задиры, риски
|
ВК
ИК
|
Образцы шероховатости поверхности (ГОСТ
9378).
Линейка поверочная ЩД-1-630
|
1. Зачистка.
2. Опиловка.
3. Шабрение
|
1. После шабрения должно быть не менее 10 точек
касания на площади 25×25 мм.
2. Шероховатость поверхности Ra ≤ 3,2 мкм
|
А
|
Радиальное биение относительно оси поверхности В
более 0,2 мм
|
ИК
|
Индикатор ИЧ5 кл. 0
|
1. Проточка.
2. Шлифовка.
3. Шабрение
|
Допуск радиального биения поверхности А относительно
оси поверхности В не более 0,2 мм
|
Б
|
Торцевое биение относительно оси поверхности В не
более 0,05 мм
|
ВК
ИК
|
Индикатор ИЧ5 кл. 0
|
1. Проточка.
2. Шлифовка.
3. Шабрение
|
1. Шероховатость поверхности - Ra ≤ 100 мкм.
2. Допуск торцевого биения поверхности Б
относительно оси поверхности В не более 0,05 мм
|
В
Д
|
Задиры трещины, раковины пористость
|
ВК
|
Метод керосиновой пробы
|
Сварка. Электрод марка УОНИИ-13/45, тип Э42А, ГОСТ
9467
|
Отсутствие пятен керосина после 24 часов керосиновой
пробы
|
Д
|
Задиры, трещины, раковины, пористость, выкрашивание,
отслаивание баббита
|
ВК
ИК
УЗД
Метод керосиновой пробы
|
Образцы шероховатости поверхности.
Дефектоскоп ультразвуковой ДУК-11.
Штангенциркуль ШЦ-I-125-0,10
|
1. Запиловка.
2. Перезаливка.
3. Проточка.
4. Шабрение
|
1. Рабочая поверхность баббитового слоя вкладыша
должна быть чистой, блестящей, без посторонних включений и следов структурных
изменений.
2. Трещины, задиры, отслаивания от основы не
допускаются.
3. На поверхности баббитового слоя не допускаются
газовые раковины, одиночные поры и выкрашивания диаметром более 2 мм и
глубиной 1 мм. Допускаются кольцевые царапины глубиной не более 0,5 мм,
шириной до 1,5 мм в количестве не более пяти на вкладыш.
4. Шероховатость поверхности - Ra ≤ 2,5 мкм.
5. Отсутствие пятен керосина после 24 часов
керосиновой пробы
|
В
Д
|
Износ рабочей поверхности вкладыша
|
ИК
|
Щуп Набор № 2.
Штангенциркуль ШЦ-I-125-0,10
|
1. Наплавка.
2. Перезаливка.
3. Проточка.
|
1. Рабочая поверхность баббитового слоя вкладыша
должна быть чистой, блестящей, без посторонних включений и следов структурных
изменений.
2. На поверхности баббитового слоя вкладыша не
допускаются газовые раковины, одиночные поры, и выкрашивания диаметром более
2 мм и глубиной 1 мм. Допускаются кольцевые царапины глубиной не более 0,5
мм, шириной до 1,5 мм в количестве не более пяти на вкладыш.
3. Шероховатость поверхности - Ra ≤ 2,5 мкм
|
Г
|
Забоины, задиры, неплотное прилегание поверхностей
разъема
|
ВК
ИК
|
Щуп. Набор № 2.
Образцы шероховатости поверхности
|
Шабрение
|
1. В свободном состоянии (фланцы разъема не затянуты
болтами) щуп толщиной 0,05 мм не должен входить в разъем половин вкладыша на
глубину более 3 мм.
2. После шабрения должно быть не менее 10 точек
касания на площади 25×25 мм.
3. Шероховатость поверхности Ra ≤ 2,5 мкм
|
Карта
дефектации и ремонта 18
Крышка подшипника поз. 4 рис. 7-6
Количество на изделие, шт. - 1

Обозначение
|
Возможный дефект
|
Метод установления дефекта
|
Контрольный инструмент
|
Заключение и рекомендуемый
способ ремонта
|
Технические требования
после ремонта
|
А
|
Царапины, задиры, риски
|
ВК
ИК
|
Образцы шероховатости поверхности.
Линейка поверочная ЩД-1-630
|
1. Запиловка.
2. Шабрение
|
1. После шабрения должно быть не менее 10 точек
касания на площади 25×25 мм.
2. Шероховатость поверхности Ra ≤
3,2 мкм
|
Б
|
Задиры, забоины
|
ВК
ИК
|
Образцы шероховатости поверхности.
Линейка поверочная ЩД-1-630
|
1. Запиловка.
2. Шабрение
|
1. После шабрения должно быть не менее 10 точек
касания на площади 25×25 мм.
2. Шероховатость поверхности Ra ≤
3,2 мкм
|
В
Г
Д
Е
|
Задиры, забоины
|
ВК
ИК
|
Образцы шероховатости поверхности.
Линейка поверочная ЩД-1-630
|
1. Запиловка.
2. Шабрение
|
1. После шабрения должно быть не менее 10 точек
касания на площади 25×25 мм.
2. Шероховатость поверхности В, Г и Е - Ra ≤ 100 мкм, поверхности
Д - Ra ≤
50 мкм
|
Карта дефектации и ремонта 19
Бак аварийной смазки поз. 5 рис. 7-6
Количество на изделие, шт. - 1

Обозначение
|
Возможный дефект
|
Метод установления дефекта
|
Контрольный инструмент
|
Заключение и рекомендуемый
способ ремонта
|
Технические требования
после ремонта
|
А
|
Задиры, Забоины
|
ВК
|
-
|
1. Запиловка.
2. Шабрение
|
1. После шабрения должно быть не менее 10 точек
касания на площади 25×25 мм.
2. Шероховатость поверхности Ra ≤ 50 мкм.
3. Допуск плоскостности поверхности 0,1 мм на длине
1000 мм
|
Б
|
Нарушение герметичности сварных швов бака аварийной
смазки
|
ВК
Метод керосиновой пробы
|
-
|
Сварка. Электрод марка УОНИИ-13/45, тип Э42А, ГОСТ
9467
|
Отсутствие пятен керосина после 24 часов керосиновой
пробы
|
В
|
Нарушение герметичности бака аварийной смазки
|
КИ
Гидравлические испытания
|
Манометр М 0,6 МПа-I
|
Сварка. Электрод марка УОНИИ-13/45, тип Э42А, ГОСТ
9467
|
Испытать гидравлическим давлением 0,3 МПа (3 кгс/см2)
в течение 10 мин.
При испытании не должно наблюдаться снижения
испытательного давления или течи воды
|
-
|
Сопротивление изоляции бака аварийной смазки менее
1,0 МОм, пористость,
|
КИ
|
Мегомметр 1000 В
|
1. Очистка изоляционных деталей.
2. Замена изоляционных деталей
|
Сопротивление изоляции бака аварийной смазки должно
быть не менее 1,0 МОм
|
-
|
Расслаивание, трещины, подгары прокладок, трубок,
изоляционных шайб и колец
|
ВК
|
-
|
Замена
|
-
|
Карта
дефектации и ремонта 20
Сборка подшипника рис. 7-6
Количество на изделие, шт. 1
Обозначение
|
Возможный дефект
|
Метод установления дефекта
|
Контрольный инструмент
|
Заключение и рекомендуемый
способ ремонта
|
Технические требования
после ремонта
|
-
|
Неплотное прилегание сопрягаемых поверхностей крышки
и стояка подшипника
|
ИК
|
Щуп. Набор № 2.
Плита поверочная Ш-I-630×400
|
Шабрение поверхностей разъема крышки и стояка
|
1. После шабрения должно быть не менее 10 точек
касания на площади 25×25 мм.
2. Шероховатость поверхности Ra ≤
3,2 мкм
|
-
|
Неплотное прилегание сопрягаемых поверхностей
вкладыша и стояка подшипника
|
ИК
|
Щуп. Набор № 2.
Образцы шероховатости поверхности
|
1. Проверка по краске сферической поверхности
вкладыша.
2. Шабровка сферической поверхности вкладыша и
стояка
|
1. После шабрения должно быть не менее 10 точек
касания на площади 25×25 мм.
2. Шероховатость поверхности Ra ≤
3,2 мкм
|
-
|
Отклонение зазора между вкладышем и крышкой
подшипника от допустимых значений
|
ИК
Снятие свинцового оттиска по разъему крышки и стояка
подшипника
|
Щуп. Набор № 2.
Плита поверочная Ш-I-630×400.
Штангенциркуль ШЦ-1-125-0,10
|
1. Шабрение разъемов вкладыша.
2. Шабрение поверхностей сопряжения крышки и стояка
|
1. После шабрения должно быть не менее 10 точек
касания на площади 25×25 мм.
2. Шероховатость поверхности Ra ≤
3,2 мкм.
3. Зазор между крышкой и вкладышем подшипника должен
быть 0,02 - 0,19 мм
|
7.13.1 Зазор между подошвой стояка и поверхностью
фундаментной плиты без регулирующей и изолирующих прокладок при свободно
стоящем подшипнике должен быть не более 0,5 мм; при затянутых болтах - 0,15 мм.
В сборе с прокладками и затянутых болтах зазор в зоне расположения болтов,
равный размерам шайб под головками болтов и в середине подшипника на участке
шириной от 200 до 300 мм не допускается, за исключением отдельных участков
общей протяженностью не более 300 мм от суммарной длины вышеуказанных участков,
где допускаются зазоры до 0,1 мм, в остальных местах допускается зазор до 0,3
мм.
7.13.2 Зазор в разъеме между крышкой и стояком подшипника при
свободно лежащей крышке, должен быть не более 0,1 мм; при затянутых болтах щуп
толщиной 0,05 должен входить в разъем на глубину не более 15 мм.
7.13.3 Вкладыш подшипника при затянутых болтах крышки, должен
проворачиваться на угол от 5 до 10 градусов в любом направлении от приложенного
момента от 60 до 90 кг∙м.
7.13.4 Сопротивление изоляции термопреобразователя
сопротивления, установленного во вкладыше подшипника, измеренное мегомметром
500 В, должно быть не менее 0,5 МОм.
7.13.5 Сопротивление изоляции подшипника относительно
фундаментной плиты при полностью собранных маслопроводах и отсутствии контакта
между подшипником и шейкой вала, измеренное мегомметром 1000 В, должно не менее
1 МОм.
7.13.6 Затяжка крепежных деталей подшипника должна
производиться усилием руки, при этом повреждение изоляционных деталей недопустимо.
Карта
дефектации и ремонта 21
Аппарат щеточно-контактный поз. 7 рис. 5.1 - 5.3
Количество на изделие, шт. - 1

Обозначение
|
Возможный дефект
|
Метод установления дефекта
|
Контрольный инструмент
|
Заключение и рекомендуемый
способ ремонта
|
Технические требования
после ремонта
|
А
|
Неисправность нажимного механизма щеткодержателя
(ослабленное нажатие, трещины и излом пружины, усилие больше допустимого)
|
ВК,
ИК
|
Лупа ЛП-4-10×.
Динамометр пружинный указывающий типа ДПУ-0,01-2
|
1. Замена нажимного механизма
|
1. Усилие нажатия пружины должно быть 15 ± 1,5 Н
(1,53 ± 0,153) кг
|
А
|
Повышенный нагрев ЩКА, ускоренный износ щеточного
механизма (усилие нажимного механизма больше допустимого)
|
ВК
|
-
|
Замена нажимного механизма
|
-
|
Б
|
Нарушение крепления токоведущего провода в теле
щетки, наличие цветов побежалости на проводниках
|
ВК
|
-
|
Замена щетки
|
-
|
В
|
Повреждения корпуса щеткодержателя (деформация,
задиры, забоины на внутренней поверхности, оплавления и т.п.)
|
ИК
|
Штангенциркуль ШЦ-III-125-0,1.
Щупы. Набор № 2
|
1. Правка корпуса щеткодержателя.
2. Опиловка, пригонка и доводка внутренней
поверхности щеткодержателя.
3. Замена щеткодержателя
|
1. Размеры корпуса должны соответствовать требованию
рабочей документации.
2. Заусенцы, задиры и острые кромки на внутренней
поверхности щеткодержателя не допускаются.
3. Шероховатость внутренней поверхности - Rz ≤ 2,0 мкм.
4. Двусторонний зазор между внутренней поверхностью
щеткодержателя и боковой поверхностью щетки должен быть в пределах 0,1 - 0,4
мм.
5. Перемещение щетки в щеткодержателе должно быть
свободным, без заеданий
|
ВК
|
Лупа ЛП-4-10×.
Образцы шероховатости поверхности (рабочие)
|
Г
|
Неравномерный износ, единичные нарушения рабочей
поверхности щетки (риски, царапины, эрозия и т.п.), износ щетки до длины не
менее 25 мм.
Трещины, сколы и выкрашивание более чем 10 % рабочей
поверхности щетки
|
ВК,
ИК
|
Лупа ЛП-4-10×.
Штангенциркуль ШЦ-III-125-0,1
|
1. Притирка рабочей поверхности щетки по рабочей
поверхности контактного кольца.
2. Замена щетки
|
1. «Зеркальный» натир должен быть не менее чем на 90
% рабочей поверхности щетки.
2. Длина щетки должна быть не менее 25 мм
|
-
|
Износ боковой поверхности щетки более чем на 0,1 мм.
Трещины, сколы, выкрашивание более чем 20% боковой
поверхности щетки
|
ВК,
ИК
|
Лупа ЛП-4-10×.
Щупы. Набор № 2
|
Замена щетки
|
Двусторонний зазор «а» между боковой поверхностью
щетки и внутренней поверхностью щеткодержателя должен быть не более 0,4 мм
|
Д
|
Трещины, обрывы заклепок крепления лопаток
вентилятора
|
ВК
Магнито-порошковая дефектоскопия
|
-
|
1. Развертка отверстий для замены заклепок.
2. Замена заклепок
|
Трещины и обрывы заклепок не допускаются
|
|
Трещины на лопатках вентилятора в месте клепок
|
|
|
1. Замена дефектных лопаток.
2. Замена вентилятора
|
Трещины на лопатках не допускаются
|
-
|
Сопротивление изоляции щеточной траверсы и
щеткодержателя менее 1 МОм
|
ИК
|
Мегомметр 1000 В
|
1. Очистка.
2. Замена изоляционных деталей
|
Сопротивление изоляции щеточной траверсы и
щеткодержателя не должно быть менее 1,0 МОм
|
Карта дефектации и ремонта 22
Газоохладители, поз. 8 рис. 5.1 - 5.3
Количество на изделие, шт. - 4
Обозначение
|
Возможный дефект
|
Метод установления дефекта
|
Контрольный инструмент
|
Заключение и рекомендуемый
способ ремонта
|
Технические требования
после ремонта
|
А
|
Загрязнение внутренних поверхностей трубок
органическими и неорганическими отложениями
|
ВК
|
-
|
1. Механическая очистка.
2. Промывка водой.
3. Кислотная промывка
|
1. Внутренняя поверхность трубок должна быть
очищена.
2. Не допускается загрязнение, которое приводит к
недопустимой разнице температур «холодный газ-холодная вода»
|
Б
|
Заусенцы
|
ВК
|
-
|
1. Запиловка.
2. Зачистка
|
2. Шероховатость поверхности Ra ≤ 50 мкм
|
В
|
Загрязнение (замасливание трубок)
|
ВК
|
-
|
1. Очистка.
2. Промывка влажным паром
|
Отсутствие масляных пятен
|
В
|
Повреждение оребрения трубок на общей площади более
5 % площади сечения входа газа
|
ВК
ИК
|
Линейка измерительная 1 - 1000
|
1. Рихтовка.
2. Замена газоохладителя
|
Площадь повреждения оребрения не должна превышать
0,75 % погонного метра поверхности оребрения одной трубки газоохладителя
|
В
|
Трещины трубок, нарушение развальцовки трубок в
трубных досках
|
ВК
КИ
|
Манометр М 1,0 МПа-1
|
1. Развальцовка трубок.
2 Глушение трубок (не более 5 % в каждом
газоохладителе).
3. Замена газоохладителя
|
Не допускаются трещины трубок и нарушение
развальцовки
|
Г
Д
|
Наличие отложений на поверхностях, трубных досок, крышек,
водяных камер, коррозионный износ
|
ВК
ИК
|
-
|
1. Механическая очистка.
2. Промывка водой
|
1. Внутренние поверхности трубных досок, водяных
камер, крышек должны быть очищены
|
Д
|
Нарушение герметичности сварных швов
|
ВК
Метод керосиновой пробы
|
-
|
Сварка. Электрод марка УОНИИ-13/45, тип Э42А, ГОСТ
9467
|
Отсутствие пятен керосина после 24 часов керосиновой
пробы
|
-
|
Нарушение наружного покрытия поверхности
газоохладителя
|
ВК
|
-
|
1. Очистка.
2. Покраска одним слоем эмали ГФ-92ХС
|
Наружное покрытие поверхности газоохладителя должно
быть ровным, без подтеков и отслаиваний
|
-
|
Эрозионный износ перегородки водяной камеры более 3
мм
|
ВК
ИК
|
Штангенциркуль ШЦ-1-125-0,10
|
Замена
|
Толщина перегородки водяной камеры должна быть не
менее 8 мм
|
-
|
Нарушение проходимости трубок (кроме
воздухоспускной)
|
ТО
|
-
|
1. Механическая очистка.
2. Промывка водой.
3. Замена газоохладителя
|
При наибольшем давлении воды на входе в трубку 0,44
МПа (4,5 кгс/см2) вода должна проходить через каждую незаглушенную
трубку
|
-
|
Нарушение проходимости воздухоспускных трубок
|
Контроль по струе
|
-
|
1. Продувка.
2. Промывка.
3. Замена
|
При кратковременном открытии спускных пробок после
выхода пузырьков воздуха должна появиться струя воды
|
-
|
Нарушение антикоррозионного покрытия водяных камер,
крышек, трубных досок
|
ВК
|
-
|
1. Очистка.
2. Покраска свинцовым суриком.
3. Сушка
|
Водяные камеры, крышки, трубные доски должны иметь
антикоррозионное покрытие
|
7.14.1 На наружных поверхностях трубок, трубных досок и
крышек газоохладителя не должно быть загрязнений, следов влаги и масла.
7.14.2 Внутренние поверхности крышек, соприкасающиеся с
водой, покрыть водостойкой эмалью.
7.14.3 Наружные поверхности корпуса и крышек газоохладителя
покрыть маслостойкой эмалью.
7.14.4 Техническое состояние отремонтированного
газоохладителя должно соответствовать требованиям конструкторской документации
завода-изготовителя.
7.14.5 Затяжка крепежных деталей газоохладителя должна
производиться усилием руки до усадки резины на величину от 15 до 35 %.
7.14.6 Испытать газоохладитель гидравлическим давлением 0,785
МПа (8 кгс/см2). При испытании не должно наблюдаться снижение
испытательного давления или течи воды.
Карта дефектации и ремонта 23
Концевой вывод, поз. 9. рис. 5.1 - 5.3
Количество на изделие, шт. - 9 - 12

Обозначение
|
Возможный дефект
|
Метод установления дефекта
|
Контрольный инструмент
|
Заключение и рекомендуемый
способ ремонта
|
Технические требования
после ремонта
|
А
|
Забоины
|
ВК
ИК
|
Лупа
|
1. Зачистка.
2. Опиловка
|
-
|
Б
Г
|
Нарушение газоплотности концевого вывода.
|
ВК
КИ
|
Манометр
|
1. Замена прокладок.
2. Шлифовка торцов изолятора.
3. Замена изолятора. Замена изолятора
|
Не допускается нарушение газоплотности
|
В
|
Сколы, трещины, повреждения глазури
|
ВК
|
-
|
Замена изолятора
|
Не допускаются к работе изоляторы со сколами и
трещинами
|
Д
|
Подгары, нарушение серебряного покрытия контактной
поверхности вывода
|
ВК
ИК
|
Лупа.
Штангенциркуль
|
1. Зачистка.
2. Опиловка.
3. Серебрение
|
1. На контактной поверхности концевого вывода
допускаются забоины с одной стороны на площади не более 40 мм2.
2. Шероховатость поверхности - не более Ra = 25 мкм.
3. Подгары и отслаивания покрытия контактной
поверхности до 2550 мм2.
4. Толщина серебряного покрытия должна быть 6 - 9
мкм
|
Е
|
Ослабление крепления гайки уплотнительного кольца
|
-
|
-
|
Затяжка гайки
|
Гайка уплотнительного кольца должна быть застопорена
|
Ж
|
Нарушение электрической прочности изоляции концевого
вывода
|
ВК
КИ
|
Стенд испытаний СИВ-700/60-55.
Мегомметр 2500 В.
|
1. Восстановление изоляции.
2. Замена уплотнительных шайб, колец, фарфорового
изолятора.
3. Затяжка гайки
|
Изоляция концевого вывода должна выдержать
электрические испытания согласно [1]
|
7.16.1 Стержень концевого вывода должен выдержать испытания
на прочность и герметичность водой при давлении 2450 кПа в течение 1 ч. Течи не
допускаются.
7.16.2 Собранный концевой вывод должен выдержать испытания на
газоплотность избыточным давлением воздуха 0,5 МПа. Концевой вывод считается
выдержавшим испытание, если при давлении 0,3 МПа падение давления не превышает
0,5 мм рт. ст./ч.
7.16.3 Изоляция концевого вывода должна выдержать
электрические испытания напряжением промышленной частоты U = 70
кВ в течение 1 мин.
7.16.4 Смещение оси стержня линейного вывода относительно оси
изолятора не должно быть более 2 мм.
Требования к сборке и к отремонтированному турбогенератору
должны применяться в соответствии с СТО
70238424.29.160.20.009-2009 (раздел 8).
Установочные размеры при сборке турбогенераторов приведены на
рисунках 8.1 - 8.2 и в таблицах 8.1 - 8.2.

Рисунок 8.1
Таблица 8.1 - Установочные размеры при сборке турбогенератора
Место замера
|
Тип турбогенератора
|
ТВВ-160-2Е
|
ТВВ-220-2Е
|
ТВВ-320-2Е
|
ТВВ-800-2Е
|
Воздушный зазор
|
85
|
80
|
95
|
100
|
Разница вылетов от торцов бандажных колец до стали
статора со стороны контактных колец и турбины L = L1 - L2
|
12 ± 10
|
16
|
-
|
-
|

Рисунок 8.2. - Зазор между вентилятором и обтекателем
(турбогенераторы ТВВ-160-2Е, ТВВ-220-2Е, ТВВ-320-2Е)
Таблица 8.2 - Зазоры между вентилятором и обтекателем
Место замера
|
ТВВ-160-2Е
|
ТВВ-220-2Е
|
ТВВ-320-2
|
Осевой зазор - «а» ст. возбудителя
|
22 - 27
|
19 - 21
|
18 - 20
|
Осевой зазор - «а» ст. турбины
|
10 - 15
|
15,0 - 19,0
|
16,0 - 20
|
Радиальные зазоры - «b» ст. возбудителя и турбины
|
2,5 - 3,4
|
2,5 - 4
|
2,5 - 4
|
Установка щитов генератора
(Турбогенератор ТВВ-800-2Е)

Рисунок 8.3 - Зазоры между вентилятором, диффузором и щитами

Рисунок 8.4 - Схема замера зазоров
Таблица 8.3 (турбогенератор ТВВ-800-2)
Точка замера
|
Зазор, мм
|
Сторона турбины
|
Сторона возбудителя
|
а
|
б
|
в
|
а1
|
б1
|
в1
|
I
|
15+5
|

|
2,5+1
|

|

|
2,5+1
|
II
|
15+5
|

|
2,5+1
|

|

|
2,5+1
|
III
|
15+5
|

|
2,5+1
|

|

|
2,5+1
|
IV
|
15+5
|

|
2,5+1
|

|

|
2,5+1
|
8.1 Сборка турбогенератора должна производиться по
конструкторской или ремонтной документации на турбогенератор и формулярам
зазоров для каждой сборочной единицы.
8.2 К сборке допускаются составные части, удовлетворяющие
требованиям настоящего стандарта и НТД на конкретный турбогенератор.
8.3 Трубки, гибкие шланги и каналы перед сборкой
турбогенератора должны быть продуты сжатым воздухом.
8.4 При соединении составных частей турбогенератора через
изолирующие детали сопротивление изоляции должно при необходимости контролироваться
периодически в процессе сборки.
8.5 Контактные поверхности токоведущих частей должны быть
очищены и обезжирены.
8.6 Перед установкой ротора, газоохладителей, щитов и других
составных частей, перед закрытием смотровых люков необходимо дополнительно
проверить закрепление деталей и отсутствие посторонних предметов на собранных и
собираемых составных частях.
8.7 При вращении ротора валоповоротным устройством и турбиной
не должны прослушиваться звуки, свидетельствующие об ударах, заеданиях и касаниях
в турбогенераторе.
8.8 На собранном турбогенераторе не допускаются:
- ослабленное крепление статора к фундаменту;
- ослабленное крепление опорных подшипников к фундаменту;
- ослабленное крепление фундаментных плит;
- ослабленное крепление и обрыв заземлителя корпуса статора;
- ослабленное крепление трубопроводов, кожухов и других
деталей, закрепленных на наружной поверхности корпуса статора;
- течи воды и масла из соединений.
8.9 Выполнение пусковых операций на турбогенераторе при
снятых и незакрепленных деталях не допускается, за исключением, пусков для
балансирования ротора и проведения специальных испытаний; в последнем случае
должны быть приняты меры против попадания в турбогенератор посторонних
предметов и масла, а также приняты меры по закреплению временно установленных
составных частей и приспособлений.
8.10 Параметры отремонтированных масляных уплотнений роторов
турбогенераторов должны соответствовать требованиям конструкторской и (или)
ремонтной документации на ремонт конкретных турбогенераторов.
8.11 Допускается изменение параметров турбогенератора в
сторону повышения эффективности использования на основании конструкторской
документации и результата испытаний.
8.12 Вибрационное состояние турбогенератора и его составных
частей, проверенное по параметрам, приведенным в СТО
70238424.29.160.20.009-2009 (раздел 8, таблица 2), должно соответствовать
требованиям СО 34.45-51.300-97 [1].
Для оценки технического состояния вала ротора и бандажных
узлов после ремонта турбогенератора в процессе пуска и проведения испытаний
автомата безопасности турбины следует снять амплитудно-фазочастотную
вибрационную характеристику турбогенератора. Запись характеристики
рекомендуется вести по приведенной ниже форме (таблица 8.4).
Таблица 8.4
Место замера и параметры
вибрации
|
Частота вращения ротора,
об/мин
|
Единицы измерения
|
***200
|
***400
|
600
|
800
|
1000
|
1-ая критическая
|
1200
|
1400
|
**3000
|
**3150
|
**3400
|
1. Опорный подшипник (вал ротора) ст. турбины
|
вертикальная
|
Фаза*
|
град.
|
|
|
|
|
|
|
|
|
|
|
|
вибросмещ.
|
мкм
|
|
|
|
|
|
|
|
|
|
|
|
поперечная
|
фаза
|
град.
|
|
|
|
|
|
|
|
|
|
|
|
вибросмещ.
|
мкм
|
|
|
|
|
|
|
|
|
|
|
|
2. Опорный подшипник (вал ротора) ст. контактных
колец
|
вертикальная
|
фаза
|
град.
|
|
|
|
|
|
|
|
|
|
|
|
вибросмещ.
|
мкм
|
|
|
|
|
|
|
|
|
|
|
|
поперечная
|
фаза
|
град.
|
|
|
|
|
|
|
|
|
|
|
|
вибросмещ.
|
мкм
|
|
|
|
|
|
|
|
|
|
|
|
Примечания:
1-ая критическая частота
вращения должна быть зафиксирована и занесена в графу «частота вращения». В
таблице столбец параметров 1-ой критической скорости
приведен произвольно.
* При замере фазы вибрации
должно быть отмечено в примечании положение нулевой точки отсчета фазы
относительно оси полюсов ротора генератора;
** Измерения вибрации опорных
подшипников турбогенератора фиксируется в колонках, отмеченных (**),
в процессе проведения испытаний автомата безопасности турбины для оценки
состояния посадочных натягов бандажных колец на бочку ротора;
*** Факт наличия развитой
трещины вала ротора обнаруживается в процессе останова или пуска генератора
по всплеску вибрации (поперечное и вертикальное направления) опорных
подшипников, при частоте вращения ротора от 200 до 400 об/мин.
|
|
|
|
|
|
|
|
|
|
|
|
|
|
|
|
Объемы, методы испытаний и сравнения показателей качества
отремонтированных турбогенераторов с их нормативными и доремонтными значениями
определяются и производятся в соответствии с СТО
70238424.29.160.20.009-2009 (раздел 9).
Требования к обеспечению безопасности определяются в
соответствии с СТО
70238424.29.160.20.009-2009 (раздел 10).
11.1 Оценка соответствия соблюдения технических требований,
объема и методов дефектации, способов ремонта, методов контроля и испытаний к
составным частям и турбогенераторам в целом нормам и требованиям настоящего
стандарта осуществляется в форме контроля в процессе ремонта и при приемке в
эксплуатацию.
11.2 В процессе ремонта производится контроль за выполнением
требований настоящего стандарта к составным частям и турбогенераторам в целом
при производстве ремонтных работ, выполнении технологических операций ремонта и
поузловых испытаниях.
При приемке в эксплуатацию отремонтированных турбогенераторов
производится контроль результатов приемо-сдаточных испытаний, работы в период
подконтрольной эксплуатации, показателей качества, установленных оценок
качества и отремонтированных турбогенераторов и выполненных ремонтных работ.
11.3 Результаты оценки соответствия характеризуются оценками
качества отремонтированного турбогенератора и выполненных ремонтных работ.
11.4 Контроль соблюдения норм и требований настоящего
стандарта осуществляют органы (Департаменты, подразделения, службы), определяемые
генерирующей компанией.
11.5 Контроль соблюдения норм и требований настоящего
стандарта осуществляется по правилам и в порядке, установленном генерирующей
компанией.
[1] СО 34.45-51.300-97 Объем и нормы испытаний электрооборудования
[2] СО 153-34.45.513-07
Руководство по повышению надежности эксплуатации бандажных узлов роторов
турбогенераторов
Ключевые слова: турбогенераторы, качество ремонта, технические условия
Руководитель
организации-разработчика
ЗАО «ЦКБ
Энергоремонт»
|
|
|
Генеральный директор
|
|
А.В. Гондарь
|
Руководитель разработки
Заместитель
генерального директора
|
|
Ю.В. Трофимов
|
Исполнители
Главный
специалист
|
|
Ю.П.
Косинов
|
Заведующий отделом
|
|
В.Ю. Аврух
|