Информационная система
«Ёшкин Кот»

XXXecatmenu

ФЕДЕРАЛЬНОЕ АГЕНТСТВО
ПО ТЕХНИЧЕСКОМУ РЕГУЛИРОВАНИЮ И МЕТРОЛОГИИ

НАЦИОНАЛЬНЫЙ
СТАНДАРТ
РОССИЙСКОЙ
ФЕДЕРАЦИИ

ГОСТ Р
53634-2009
(ЕН 656:1999)

КОТЛЫ ГАЗОВЫЕ
ЦЕНТРАЛЬНОГО ОТОПЛЕНИЯ,
КОТЛЫ ТИПА В, НОМИНАЛЬНОЙ ТЕПЛОВОЙ
МОЩНОСТЬЮ СВЫШЕ 70 кВт,
НО НЕ БОЛЕЕ 300 кВт

Общие технические требования и методы испытаний

EN 656:1999
Gas-fired central heating boilers - Type В boilers of nominal heat input exceeding
70 kW, but not exceeding 300 kW
(MOD)

Москва

Стандартинформ

2011

(Поправка).

Предисловие

Цели и принципы стандартизации в Российской Федерации установлены Федеральным законом от 27 декабря 2002 г. № 184-ФЗ «О техническом регулировании», а правила применения национальных стандартов Российской Федерации - ГОСТ Р 1.0-2004 «Стандартизация в Российской Федерации. Основные положения»

Сведения о стандарте

1 ПОДГОТОВЛЕН Федеральным Государственным унитарным предприятием «Всероссийский научно-исследовательский институт стандартизации и сертификации в машиностроении» ФГУП «ВНИИНМАШ» и обществом с ограниченной ответственностью «Сертификационно-испытательный центр электротехнических изделий и газового оборудования» (ООО «СИЦ ЭТИГАЗ») на основе аутентичного перевода стандарта, указанного в пункте 4

2 ВНЕСЕН Техническим комитетом по стандартизации ТК 345 «Аппаратура бытовая, работающая на жидком, твердом и газообразном видах топлива».

3 УТВЕРЖДЕН И ВВЕДЕН В ДЕЙСТВИЕ Приказом Федерального агентства по техническому регулированию и метрологии от 15 декабря 2009 г. № 985-ст

4 Настоящий стандарт модифицирован по отношению к европейскому региональному стандарту EN 656:1999 «Котлы центрального отопления с газовой топкой. Отопительные котлы типа В с номинальной тепловой мощностью свыше 70 кВт, но не более 300 кВт» (EN 656:1999 «Gas-fired central heating boilers - Type В boilers of nominal heat input exceeding 70 kW, but not exceeding 300 kW») путем замены ссылочных региональных стандартов соответствующими им аутентичными национальными стандартами.

Наименование настоящего стандарта изменено относительно наименования указанного регионального стандарта для приведения его в соответствие с ГОСТ Р 1.5 (раздел 3.5).

5 ВВЕДЕН ВПЕРВЫЕ

Информация об изменениях к настоящему стандарту публикуется в ежегодно издаваемом информационном указателе «Национальные стандарты», а текст изменений и поправок - в ежемесячно издаваемых информационных указателях «Национальные стандарты». В случае пересмотра (замены) или отмены настоящего стандарта соответствующее уведомление будет опубликовано в ежемесячно издаваемом информационном указателе «Национальные стандарты». Соответствующая информация, уведомление и тексты размещаются также в информационной системе общего пользования - на официальном сайте Федерального агентства по техническому регулированию и метрологии в сети Интернет.

Содержание

1 Область применения. 6

2 Нормативные ссылки. 6

3 Термины и определения. 7

3.1 Горючие газы.. 7

3.2 Составные части котла. 8

3.3 Работа котла. 11

3.4 Страна назначения. 13

4 Классификация. 13

4.1 Классификация в соответствии с используемыми газами. 13

4.2 Классификация по способу удаления продуктов сгорания. 15

4.2.1 Общие сведения. 15

4.2.2 Тип В.. 15

4.3 Технологический тип. 16

4.3.1 Газовый конденсационный котел. 16

4.3.2 Низкотемпературный котел. 16

4.3.3 Стандартный котел. 16

5 Требования к конструкции. 16

5.1 Общие сведения. 16

5.2 Переход на другие газы (перенастройка) 16

5.3 Материалы и методы изготовления. 16

5.3.1 Общие сведения. 16

5.3.2 Материалы и толщина стенок или труб для воды под давлением.. 17

5.4 Конструкция. 24

5.4.1 Общие сведения. 24

5.4.2 Модульные котлы.. 24

5.5 Эксплуатация и обслуживание. 24

5.6 Подсоединение к трубам газа и воды.. 24

5.6.1 Общие сведения. 24

5.6.2 Подсоединения к газовой трубе. 25

5.6.3 Подсоединения к системе центрального отопления. 25

5.7 Герметичность. 25

5.7.1 Герметичность газового контура. 25

5.7.2 Герметичность контура продуктов сгорания. 25

5.8 Подача воздуха на горение и отвод продуктов сгорания. 25

5.8.1 Регулирующие заслонки в воздушном контуре или контуре продуктов сгорания. 25

5.8.2 Вентилятор. 26

5.8.3 Проверка воздушной системы.. 26

5.8.4 Система регулировки соотношения газ/воздух. 26

5.8.5 Система отвода конденсата для низкотемпературных котлов. 26

5.9 Проверка рабочего состояния. 27

5.10 Дренаж.. 27

5.11 Электрооборудование. 27

5.12 Эксплуатационная безопасность при сбоях вспомогательного энергообеспечения. 27

5.13 Устройства регулировки, управления и безопасности. 27

5.13.1 Общие сведения. 27

5.13.2 Устройства регулировки и установки диапазонов регулирования. 28

5.13.3 Газовый контур. 28

5.13.4 Газовый регулятор. 29

5.13.5 Устройства зажигания. 30

5.13.6 Системы контроля пламени. 30

5.13.7 Термостаты и защитные термостаты.. 31

5.13.8 Датчик тяги. 31

5.14 Горелки. 32

5.15 Штуцеры замера давления газа. 32

6 Эксплуатационные требования. 32

6.1 Общие сведения. 32

6.2 Герметичность. 32

6.2.1 Герметичность газового контура. 32

6.2.2 Герметичность контура продуктов сгорания и полнота удаления продуктов сгорания. 32

6.2.3 Герметичность водяного контура. 32

6.3 Номинальная, максимальная и минимальная тепловая мощность, номинальная теплопроизводительность. 32

6.3.1 Номинальная, максимальная и минимальная тепловая мощность. 32

6.3.2 Регулировка тепловой мощности давлением перед соплами. 33

6.3.3 Пусковая мощность. 33

6.3.4 Номинальная теплопроизводительность. 33

6.3.5 Регулятор давления газа. 33

6.4 Эксплуатационная безопасность. 33

6.4.1 Температуры поверхностей. 33

6.4.2 Зажигание, перекрестное зажигание, стабильность пламени. 34

6.4.3 Предварительная продувка. 35

6.5 Устройства регулировки, управления и безопасности. 36

6.5.1 Общие сведения. 36

6.5.2 Устройства зажигания. 36

6.5.3 Устройства контроля пламени. 36

6.5.4 Запальная горелка и пусковая мощность. 38

6.5.5 Проверка воздушной системы.. 38

6.5.6 Датчики давления газа. 39

6.5.7 Термостат управления и защитный термостат. 39

6.5.8 Датчик тяги. 40

6.5.9 Блокировка отвода конденсата. 40

6.6 Сгорание газа. 40

6.6.1 Окись углерода. 40

6.6.2 Оксиды азота. 41

6.7 Коэффициенты полезного действия (КПД) 41

6.7.1 КПД при номинальной тепловой мощности. 41

6.7.2 КПД при пониженной нагрузке. 41

6.8 Конденсация в дымоходе для стандартных котлов. 41

6.9 Прочность. 41

6.9.1 Общие сведения. 41

6.9.2 Котлы из листовой стали и цветных металлов. 42

6.9.3 Котлы из чугуна и литых материалов. 42

6.10 Гидравлическое сопротивление. 42

6.11 Воздушные и дымоотводные заслонки. 42

6.12 Конденсация в стандартном котле. 42

7 Методы испытаний. 42

7.1 Общие положения. 42

7.1.1 Характеристики эталонного и предельных газов. 42

7.1.2 Общие условия испытаний. 45

7.2 Герметичность. 48

7.2.1 Герметичность газового контура. 48

7.2.2 Герметичность контура продуктов сгорания и полнота удаления продуктов сгорания. 49

7.2.3 Герметичность водяного контура. 49

7.3 Номинальная, максимальная и минимальная тепловая мощность, номинальная теплопроизводительность. 49

7.3.1 Номинальная, максимальная и минимальная тепловая мощность. 49

7.3.2 Регулировка тепловой мощности давлением перед соплами. 50

7.3.3 Пусковая мощность. 50

7.3.4 Номинальная теплопроизводительность. 50

7.3.5 Регулятор давления газа. 50

7.4 Эксплуатационная безопасность. 51

7.4.1 Температуры поверхностей. 51

7.4.2 Зажигание, перекрестное зажигание, стабильность пламени. 51

7.4.3 Предварительная продувка. 53

7.5 Устройства регулировки, управления и безопасности. 53

7.5.1 Общие сведения. 53

7.5.2 Устройства зажигания. 53

7.5.3 Устройство контроля пламени. 54

7.5.4 Запальная горелка и пусковая мощность. 55

7.5.5 Проверка воздушной системы.. 56

7.5.6 Датчики давления газа. 57

7.5.7 Термостат управления и защитный термостат. 58

7.5.8 Датчик тяги. 59

7.5.9 Блокировка отвода конденсата. 59

7.6 Сгорание. 59

7.6.1 Окись углерода. 59

7.6.2 Оксиды азота. 61

7.7 Коэффициенты полезного действия. 64

7.7.1 КПД при номинальной тепловой мощности. 64

7.7.2 КПД при пониженной нагрузке. 65

7.8 Конденсация в дымоходе для стандартных котлов. 69

7.8.1 Определение теплопотерь продуктов сгорания в дымоходе. 69

7.8.2 Минимальная температура продуктов сгорания. 69

7.9 Прочность. 69

7.9.1 Общие сведения. 69

7.9.2 Котлы из листовой стали и цветных металлов. 69

7.9.3 Котлы из чугуна и литых материалов. 70

7.10 Гидравлическое сопротивление. 70

7.11 Воздушные и дымоотводные заслонки. 70

7.12 Конденсация в стандартном котле. 70

8 Маркировка и указания по эксплуатации. 71

8.1 Маркировка котла. 71

8.1.1 Заводская табличка. 71

8.1.2 Дополнительная маркировка. 72

8.1.3 Упаковка. 72

8.1.4 Предупреждения на котле и на упаковке. 72

8.1.5 Прочая информация. 72

8.2 Инструкция. 73

8.2.1 Техническая инструкция по установке. 73

8.2.2 Руководство по эксплуатации. 74

8.2.3 Указания по перенастройке котла при переходе на другой вид газа. 74

8.2.4 Язык представления информации. 75

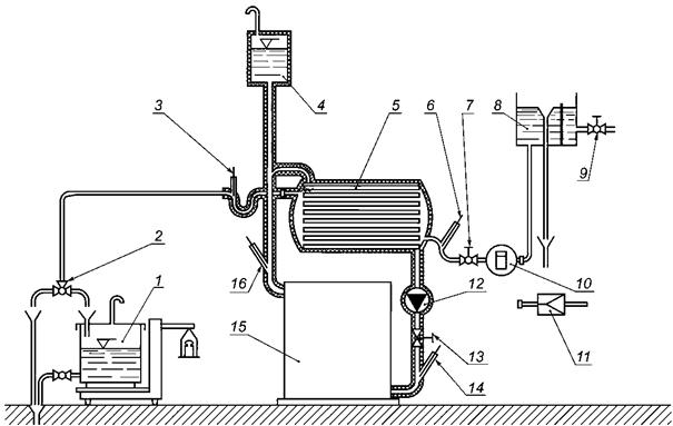
Рисунок 1 - Испытательный стенд с прямой рециркуляцией. 75

Рисунок 2 - Испытательный стенд с теплообменником.. 76

Рисунок 3 - Устройство для отбора проб и измерения температуры продуктов сгорания для дымохода диаметром более 100 мм.. 77

Рисунок 4 - Устройство для отбора проб и измерения температуры продуктов сгорания для дымохода диаметром, не превышающим 100 мм.. 78

Рисунок 5 - Испытание котла при особых условиях тяги. 79

Рисунок 6 - Устройство для проверки герметичности газового тракта. 80

Рисунок 7 - Устройство для определения гидравлического сопротивления. 81

Рисунок 8 - Испытательный стенд для измерения температуры пола под котлом.. 81

Рисунок 9 - Крепление термопары к испытательной панели для измерения температуры пола под котлом.. 82

Рисунок 10 - Испытательный стенд для определения КПД.. 82

Рисунок 11 - Испытательный стенд для определения потерь тепла в окружающую среду при неработающих горелках. 82

Приложение А (справочное) Метод калибровки испытательного стенда для определения тепловой потери Dp 83

Приложение Б (справочное) Основные применяемые символы и сокращения. 83

Приложение В (справочное) Первое семейство. 84

Приложение Г (справочное) Схемы газового контура. 85

Приложение Д (справочное) Определение тепловых потерь испытательного стенда  для косвенного метода и дополнительного подвода тепла  от циркуляционного насоса испытательного стенда. 88

Приложение Е (справочное) Метод определения времени работы котла при полной нагрузке. 89

Приложение Ж (справочное) Соотношения между единицами физической величины концентрации NOx 89

Приложение И (справочное) Пример вычисления нагрузочных коэффициентов  для котла с несколькими значениями тепловой мощности. 90

Библиография. 91

 

НАЦИОНАЛЬНЫЙ СТАНДАРТ РОССИЙСКОЙ ФЕДЕРАЦИИ

КОТЛЫ ГАЗОВЫЕ ЦЕНТРАЛЬНОГО ОТОПЛЕНИЯ, КОТЛЫ ТИПА В,
НОМИНАЛЬНОЙ ТЕПЛОВОЙ МОЩНОСТЬЮ СВЫШЕ 70 кВт,
НО НЕ БОЛЕЕ 300 кВт

Общие технические требования и методы испытаний

Gas-fired central heating boilers, type В boilers, of nominal heat input
exceeding 70 kW, but not exceeding 300 kW.
General technical requirements and test methods

Дата введения - 2011-01-01

1 Область применения

Настоящий стандарт устанавливает требования к безопасности, конструкции, характеристикам, методам испытаний, а также классификации и маркировке котлов центрального отопления на газовом топливе, которые оборудованы атмосферными горелками, атмосферными горелками с вентиляторами или горелками с полным предварительным смешением и называемых далее «котлы».

Настоящий стандарт распространяется на котлы типа В (пункт 4.2.2):

- низкотемпературного типа;

- которые используют один или несколько горючих газов трех газовых семейств при давлениях, приведенных в таблицах 14 и 15;

- с номинальной тепловой мощностью более 70 кВт и менее 300 кВт, включая модульные котлы;

- в которых температура теплопередающей среды не превышает 105 °С в нормальном режиме работы;

- в которых максимальное рабочее давление в водяном контуре не превышает 6 бар;

- стандартного типа с возможным образованием конденсации при определенных обстоятельствах.

Стандарт распространяется на котлы, предназначенные для закрытых водяных систем или для открытых водяных систем.

Стандарт не распространяется на котлы:

- предназначенные для установки на открытом воздухе или в жилых помещениях;

- оборудованные несколькими дымоходами;

- в которых контур продуктов сгорания изолирован от помещения, где установлен котел;

- конденсационного типа;

- предназначенные для подсоединения к общему дымоходу с дымососом;

- оборудованные дутьевыми горелками;

- для бытовых целей горячего водоснабжения.

2 Нормативные ссылки

В настоящем стандарте использованы ссылки на следующие стандарты и/или классификаторы:

ГОСТ Р 51733-2001 Котлы газовые центрального отопления, оснащенные атмосферными горелками номинальной тепловой мощностью до 70 кВт. Требования безопасности и методы испытаний

ГОСТ Р 51842-2001 Клапаны автоматические отсечные для газовых горелок и аппаратов. Общие технические требования и методы испытаний

ГОСТ Р 51843-2001 Устройства контроля пламени для газовых аппаратов. Термоэлектрические устройства контроля пламени. Общие технические требования и методы испытаний

ГОСТ Р 51982-2002 Регуляторы давления для газовых аппаратов, с давлением на входе до 20 кПа. Общие технические требования и методы испытаний

ГОСТ Р 51983-2002 Устройства многофункциональные регулирующие для газовых аппаратов. Общие технические требования и методы испытаний

ГОСТ Р 52161.1-2004 (МЭК 60335-1:2001) Безопасность бытовых и аналогичных электрических приборов. Часть 1. Общие требования

ГОСТ Р 52219-2004 (EN 298:1993) Системы управления автоматические для газовых горелок и аппаратов. Общие технические требования и методы испытаний

ГОСТ Р EN 257-2004 Термостаты (терморегуляторы) механические для газовых аппаратов. Общие технические требования и методы испытаний

ГОСТ Р МЭК 730-2-9-94 Автоматические электрические управляющие устройства бытового и аналогичного назначения. Дополнительные требования к термочувствительным устройствам и методы испытаний

ГОСТ Р МЭК 60730-1-2002 Автоматические электрические управляющие устройства бытового и аналогичного назначения. Общие требования и методы испытаний

ГОСТ Р МЭК 61058.1-2000 Выключатели для электроприборов. Часть 1. Общие требования и методы испытаний

ГОСТ 6211-81 Основные нормы взаимозаменяемости. Резьба трубная коническая

ГОСТ 6357-81 Основные нормы взаимозаменяемости. Резьба трубная цилиндрическая

ГОСТ 12815-80 Фланцы арматуры, соединительных частей и трубопроводов на Ру от 0,1 до 20 МПа (от 1 до 200 кгс/см2). Типы. Присоединительные размеры и размеры уплотнительных поверхностей

ГОСТ 14192-96 Маркировка грузов

ГОСТ 14254-96 (МЭК 529-89) Степени защиты, обеспечиваемые оболочками (код IP).

ГОСТ 23358-87 Соединение трубопроводов резьбовое. Прокладки уплотнительные. Конструкция

Примечание - При пользовании настоящим стандартом целесообразно проверить действие ссылочных стандартов и классификаторов в информационной системе общего пользования - на официальном сайте национального органа Российской Федерации по стандартизации в сети Интернет или по ежегодно издаваемому информационному указателю «Национальные стандарты», который опубликован по состоянию на 1 января текущего года, и по соответствующим ежемесячно издаваемым информационным указателям, опубликованным в текущем году. Если ссылочный стандарт заменен (изменен), то при пользовании настоящим стандартом следует руководствоваться заменяющим (измененным) стандартом. Если ссылочный стандарт отменен без замены, то положение, в котором дана ссылка на него, применяется в части, не затрагивающей эту ссылку.

3 Термины и определения

В настоящем стандарте применены следующие термины с соответствующими определениями:

3.1 Горючие газы

3.1.1 испытательные газы: Газы (эталонные и предельные), предназначенные для проверки эксплуатационных характеристик приборов.

3.1.2 эталонные газы: Испытательные газы с заданным химическим составом, которые по своим параметрам соответствуют наиболее распространенным в практике газоснабжения газам, на применение которых рассчитан прибор.

3.1.3 предельные газы: Испытательные газы с заданным химическим составом, которые по своим характеристикам соответствуют предельным значениям параметров газов, применяемых в газоснабжении.

3.1.4 стандартные условия: Температура окружающей среды 15 °С, атмосферное давление 101,3 кПа.

3.1.5 относительная плотность газа d: Отношение масс равных объемов сухого газа и сухого воздуха при стандартных условиях.

3.1.6 теплота сгорания газа Н, МДж/м3, (МДж/кг): Количество тепла, выделяющееся при полном сгорании единицы массы (объема) газа.

3.1.7 высшая теплота сгорания газа Hs: Количество тепла, выделяющееся при полном сгорании единицы массы (объема) сухого газа, с учетом теплоты конденсации водяных паров.

3.1.8 низшая теплота сгорания газа Hi: Количество тепла, выделяющееся при полном сгорании единицы массы (объема) сухого газа, без учета теплоты конденсации водяных паров.

Примечание - Теплоту сгорания газа при условиях испытаний пересчитывают на стандартные условия.

3.1.9 число Воббе W, МДж/м3: Отношение теплоты сгорания газа к корню квадратному из его относительной плотности.

Примечание - Число Воббе называется высшим Ws или низшим Wi в зависимости от используемой при расчете теплоты сгорания газа.

3.1.10 давление газа, р, мбар: Статическое давление движущегося газа относительно атмосферного давления.

3.1.11 испытательное давление: Давление газа, используемое для проверки рабочих характеристик котлов.

Примечание - Испытательные давления подразделяют на номинальное и предельные давления.

3.1.12 номинальное давление, рn: Статическое давление газа, соответствующее номинальной тепловой мощности прибора при работе на эталонном газе.

3.1.13 предельные давления, pmax, pmin: Давления, значения которых, соответствуют крайним условиям газоснабжения котла.

pmax - максимальное давление, pmin - минимальное давление.

3.1.14 пара давлений: Комбинация двух различных давлений подводимого газа, применяемая из-за существенного различия между числами Воббе в пределах одного семейства или группы, в которой более высокое давление соответствует газам с низким числом Воббе; а более низкое давление - газам с высоким числом Воббе, или из-за различных номинальных давлений, применяемых в системах газоснабжения.

3.2 Составные части котла

3.2.1 Подача газа

3.2.1.1 входной патрубок: Часть котла, предназначенная для подсоединения к трубопроводу подачи газа.

3.2.1.2 газовый контур: Сборный узел из частей котла, переносящих или содержащих горючий газ между входным патрубком котла и горелкой (горелками).

3.2.1.3 дроссель: Устройство с одним или несколькими отверстиями, установленное на пути газового потока между входным соединением газа и горелкой для создания перепада и уменьшения давления газа в горелке до заданных давления и расхода подводимого газа.

3.2.1.4 сопло: Деталь, через которую газ поступает в горелку.

3.2.1.5 устройство регулировки расхода газа: Устройство, позволяющее устанавливать определенное значение расхода газа через горелку в соответствии с условиями газоснабжения. Рабочая операция, выполняемая этим устройством, называется «регулировка расхода газа».

3.2.1.6 устройство установки диапазона: Устройство, предназначенное для установки номинальной подводимой тепловой мощности котла в пределах максимального и минимального значений подводимой тепловой мощности, указанных изготовителем.

3.2.1.7 устройство регулировки подачи воздуха: Устройство, которое позволяет установить желаемое значение подачи воздуха в горелку в соответствии с условиями газоснабжения. Действие по изменению настройки устройства регулировки подачи воздуха называется «регулировкой подачи первичного воздуха».

3.2.1.8 пломбирование устройства регулирования или органа управления: меры для выявления любых попыток изменить регулировку (например, приводящие к повреждению устройства или пломбировочного материала).

Опломбированный орган управления или устройство регулировки считается не существующим.

3.2.1.9 вывод из работы устройства регулировки или органа управления: действие, направленное на вывод из работы устройства регулировки или органа управления (расход, давление и т.д.).

3.2.1.10 основная горелка: Горелка, в которой сгорает все поступающее топливо или его основная часть.

3.2.1.11 горелка с предварительным смешением: горелка, в которой газ и некое количество воздуха, по крайней мере, соответствующее теоретически необходимому для полного сгорания, смешиваются до поступления в каналы пламени.

3.2.1.12 устройство зажигания: любое средство (пламя, устройство электрического зажигания или другое устройство), используемое для зажигания газа на запальной горелке или основной горелке.

3.2.1.13 ручное устройство зажигания: Устройство, с помощью которого горелку разжигают вручную.

3.2.1.14 автоматические устройства зажигания: Автоматическое устройство, которое поджигает запальную горелку или непосредственно основную горелку.

3.2.1.15 запальная горелка: Горелка, предназначенная для розжига основной горелки.

3.2.1.16 постоянная запальная горелка: Запальная горелка, которая работает непрерывно в течение всего периода использования котла.

3.2.1.17 промежуточная запальная горелка: Запальная горелка, разжигаемая до, а гаснущая вместе с основной горелкой.

3.2.1.18 переменная запальная горелка: Запальная горелка, которая гаснет после розжига основной горелки и повторно разжигается от пламени основной горелки непосредственно перед тем, как последняя гаснет.

3.2.1.19 пусковая запальная горелка: Запальная горелка, которая работает только во время розжига.

3.2.2 Контур сгорания

3.2.2.1 контур продуктов сгорания: Контур, включающий в себя камеру сгорания, теплообменник и канал для удаления продуктов сгорания в дымоход, включая выпускной патрубок, стабилизатор тяги и датчик тяги.

3.2.2.2 камера сгорания: Замкнутое пространство, внутри которого сгорает смесь газа и воздуха.

3.2.2.3 дымоотводный канал: Часть котла, через которую продукты сгорания удаляются в дымоотводную систему.

3.2.2.4 стабилизатор тяги: Устройство, установленное в контуре продуктов сгорания котла, чтобы ослабить влияние тяги в дымоходе на характеристики горелки и процесс горения.

3.2.2.5 датчик тяги: Устройство, вызывающее прекращение работы основной горелки или основной и запальной горелок, когда продукты сгорания выходят через стабилизатор тяги в помещение.

3.2.2.6 заслонка: Устройство, находящееся на входе воздуха или выходе дымоотвода для управления объемом потока.

3.2.3 Устройства регулировки, управления и безопасности

3.2.3.1 регулятор давления газа: Устройство, которое поддерживает на выходе из него постоянное давление в пределах установленного диапазона независимо от расхода газа и давления на входе.

3.2.3.2 настраиваемый регулятор давления газа: Регулятор давления, оборудованный средством регулировки выходного давления.

Данное средство рассматривается как «устройство регулировки».

3.2.3.3 устройство регулировки расхода газа: Устройство, которое поддерживает расход между фиксированными крайними значениями в пределах диапазона заданных величин независимо от значений давления газа на входе и на выходе из него.

3.2.3.4 устройство контроля расхода воды: Устройство, отключающее подачу газа на газовую горелку, при расходе воды, проходящей через котел, меньшим, чем установленное значение и автоматически возобновляющее подачу газа по достижению требуемой величины расхода воды.

3.2.3.5 устройство контроля пламени: Устройство, содержащее чувствительный элемент, который вызывает открытие или закрытие подачи газа к горелке при наличии или отсутствии пламени.

3.2.3.6 термостат управления: Устройство, автоматически поддерживающее определенную температуру воды в заданном диапазоне.

3.2.3.7 регулируемый термостат управления: Термостат, который позволяет пользователю установить требуемое значение температуры воды между минимальным и максимальным значениями.

3.2.3.8 защитный термостат: Устройство, приводящее к безопасному отключению и долговременной блокировке для предупреждения превышения установленного предельного значения температуры воды.

3.2.3.9 температурный чувствительный элемент (датчик): Компонент, определяющий температуру среды, подлежащей наблюдению или контролю.

3.2.3.10 ручка управления: Компонент, предназначенный для ручного управления работой котла (кран, термостат и пр.).

3.2.3.11 детектор пламени: Устройство, которое обнаруживает пламя и сигнализирует о его наличии. Оно может состоять из датчика пламени, усилителя и реле для передачи сигнала. Эти детали за возможным исключением датчика пламени могут быть собраны в одном корпусе для использования совместно с программным блоком.

3.2.3.12 сигнал пламени: Сигнал, выдаваемый детектором пламени, когда его датчик реагирует на пламя.

3.2.3.13 имитация пламени: Состояние, возникающее при выдаче сигнала пламени детектором при отсутствии реального пламени.

3.2.3.14 программный блок: Устройство, которое реагирует на импульсы от систем управления и защиты, вырабатывает команды управления, управляет программой запуска, контролирует работу горелки и приводит к управляемому отключению, защитному отключению или к блокировке, при необходимости. Программный блок следит за выполнением определенной последовательности действий и работает совместно с устройством контроля пламени.

3.2.3.15 автоматическая система управления горелкой: Система, которая содержит программный блок и все элементы детектора пламени. Все детали автоматической системы управления горелкой могут быть собраны в одном или нескольких корпусах.

3.2.3.16 пусковой сигнал: Сигнал, приводящий котел в положение пуска и определенную программу программного блока к началу выполнения.

3.2.3.17 программа: Последовательность операций управления, определенных программным блоком, связанных с включением, контролем и выключением горелки.

3.2.3.18 автоматический отсечной клапан: Устройство, автоматически открывающее, закрывающее или изменяющее расход по сигналу от цепи управления и/или цепи безопасности.

3.2.3.19 датчик низкого давления: Устройство, отключающее подачу газа, когда входное давление падает ниже определенного значения.

3.2.3.20 датчик высокого давления: Устройство, отключающее подачу газа, когда входное давление превышает определенное значение.

3.2.3.21 многофункциональный орган управления: Устройство, имеющее минимально две функции, одна из которых функция отключения, совмещенные в одном корпусе таким образом, что функциональные элементы не могут работать раздельно один от другого.

3.2.3.22 запорный элемент: Подвижная деталь клапана или термоэлектрического устройства контроля пламени, которая открывает, изменяет степень открытия или закрывает канал газа.

3.2.3.23 воздушный сапун: Отверстие, обеспечивающее поддержание атмосферного давления в камере изменяемого объема.

3.2.3.24 диафрагма: Гибкая деталь, которая приводит в движение клапан под действием силы, возникающей вследствие разности давлений.

3.2.3.25 наружная герметичность: Герметичность корпуса, содержащего газ, по отношению к атмосфере.

3.2.3.26 внутренняя герметичность: Герметичность запорного элемента в положении «закрыто» и изоляция объема, содержащего газ, от другого объема или от выходного отверстия клапана.

3.2.3.27 уплотняющая сила: Сила, действующая на гнездо клапана, когда запорный элемент находится в закрытом положении, независимо от силы, создаваемой давлением газа.

3.2.3.28 регулятор соотношения газ/воздух: Устройство, автоматически приводящее расход воздуха для горения в соответствии с расходом газа или наоборот.

3.2.3.29 устройство проверки воздуха: Устройство, предназначенное для обеспечения безопасного отключения при возникновении аномальных условий впуска воздуха или удаления продуктов горения.

3.2.4 модульный котел: Котел, состоящий из собранных вместе двух или более обычно идентичных модулей, каждый из которых состоит из теплообменника, горелки, устройств контроля и безопасности.

Конструкция имеет один дымоотводный канал и общее газовое подключение, общее электроснабжение и общие температурные патрубки прямой и обратной воды. Каждый модуль может работать самостоятельно.

3.2.5 конденсат: Жидкость, образующаяся от продуктов сгорания во время процесса конденсирования.

3.3 Работа котла

3.3.1 Расход газа

3.3.1.1 объемный расход газа: Объем газа, потребляемого котлом в единицу времени при непрерывной работе.

Примечания

1 V - объем газа, потребляемый котлом при условиях испытаний.

2 Vг - объем газа, м3/ч, скорректированный для стандартных условий испытаний (15 °С и 101,3 кПа).

3.3.1.2 массовый расход газа, М, кг/ч: Масса газа, потребляемого котлом в единицу времени при непрерывной работе.

3.3.1.3 тепловая мощность, Q, кВт: Произведение объемного или массового расхода и низшей теплоты сгорания газа, приведенного к стандартным условиям.

3.3.1.4 номинальная тепловая мощность, Qn, кВт: Тепловая мощность, указанная изготовителем.

3.3.1.5 пусковая мощность, Qign, кВт: Средняя тепловая мощность в течение безопасного времени зажигания.

3.3.2 Теплопроизводительность

3.3.2.1 теплопроизводительность, Р, кВт: Количество тепла, передаваемого нагреваемой воде в единицу времени.

3.3.2.2 номинальная теплопроизводительность, Рn, кВт: Теплопроизводительность, указанная изготовителем.

3.3.3 Коэффициент полезного действия, ηu, %: Отношение теплопроизводительности к тепловой мощности.

3.3.4 Сгорание газа

3.3.4.1 полное сгорание: Такое сгорание газа, когда продукты сгорания содержат не более чем следы горючих составляющих (водорода, углеводородов, моноксида углерода, углерода и пр.).

3.3.4.2 неполное сгорание: Такое сгорание газа, когда хотя бы одна из горючих составляющих присутствует в продуктах сгорания в значительной пропорции.

Примечание - Количество оксида углерода СО в сухих неразбавленных воздухом продуктах сгорания используют в качестве критерия «удовлетворительного» и «неудовлетворительного» сгорания.

Настоящий стандарт задает максимальные предельные значения концентрации СО в зависимости от условий испытаний. Сгорание считают удовлетворительным, если значение концентрации СО ниже (или равно) допустимого предельного значения, и неудовлетворительным, если превышает указанное значение.

3.3.4.3 стабильность пламени: Свойство пламени устойчиво удерживаться на выходных отверстиях горелки без отрыва или проскока.

3.3.4.4 отрыв пламени: Явление, характеризуемое общим или частичным подъемом основания пламени над отверстиями горелки или над зоной стабилизации пламени.

3.3.4.5 проскок пламени: Явление, характеризуемое уходом пламени внутрь корпуса горелки.

3.3.4.6 проскок пламени на сопло: Явление, характеризуемое воспламенением газа на сопле в результате проскока пламени внутрь горелки или в результате распространения пламени вне горелки.

3.3.4.7 сажеобразование: Явление, возникающее во время неполного сгорания газа и характеризуемое осаждением сажи на поверхностях, контактирующих с продуктами сгорания или с пламенем.

3.3.4.8 желтые языки пламени: Явление, характеризуемое появлением желтой окраски в верхней части голубого конуса пламени, вызванное неполным сгоранием газа.

3.3.5 Временные характеристики

3.3.5.1 время открытия зажигания, Тiд, с: Для термоэлектрического устройства контроля пламени - время, проходящее между воспламенением контролируемого пламени и моментом, когда запорный элемент начинает удерживаться открытым посредством сигнала пламени.

3.3.5.2 время задержки погасания, TiE, с: Для термоэлектрического устройства контроля пламени - время, проходящее между исчезновением пламени и прерыванием подачи газа.

3.3.5.3 безопасное время зажигания, ТSA, с: Время, проходящее между командой на открытие и командой на закрытие подачи газа на горелку при отсутствии обнаружения пламени.

3.3.5.4 максимальное безопасное время зажигания, TSA,max, с: Безопасное время зажигания, измеренное в наиболее неблагоприятных условиях температуры окружающей среды и изменения питающего напряжения.

3.3.5.5 безопасное время погасания, TSE, с: Время между погасанием контролируемого пламени и командой на закрытие подачи газа на горелку.

3.3.6 восстановление искры: Автоматический процесс, заключающийся в том, что после погасания пламени устройство зажигания вновь включается без общего прекращения подачи газа.

3.3.7 автоматическое повторение цикла: Автоматический процесс, заключающийся в том, что после погасания пламени во время работы подача газа прекращается и повторно начинается полная автоматическая процедура запуска.

3.3.8 управляемое отключение: Процесс, заключающийся в том, что устройство управления (на котле или внешнее) немедленно прекращает подачу газа к горелке; котел возвращается в состояние запуска.

3.3.9 защитное отключение: Процесс, начинающийся в ответ на сигнал от термостата или датчика, в результате которого прекращается подача газа к горелке и котел возвращается в состояние запуска.

3.3.10 Блокировка

3.3.10.1 блокировка подачи газа: Полное прекращение подачи газа.

3.3.10.2 энергонезависимая блокировка: Состояние отключения, при котором запуск котла в работу может быть выполнен только вручную.

3.3.10.3 энергозависимая блокировка: Состояние отключения котла в результате прекращения подачи электропитания, при котором запуск котла в работу осуществляется автоматически после восстановления электропитания.

3.3.11 принцип обесточенного включения: Принцип, согласно которому не требуется ни вспомогательное энергоснабжение, ни внешнее воздействие для включения устройства безопасности.

3.3.12 номинальное напряжение: Напряжение или диапазон напряжений, установленный изготовителем для нормальной работы котла.

3.3.13 продувка: принудительная подача воздуха в контур продуктов сгорания для вытеснения газовоздушной смеси, которая может там оставаться.

Примечание - Продувку подразделяют на предварительную продувку и пост-продувку:

- предварительная продувка: продувка, происходящая между командой запуска и подачей напряжения на устройство зажигания;

- пост-продувка: продувка, происходящая после остановки горелки.

3.4 Страна назначения

3.4.1 страна прямого назначения: Страна, для которой оборудование было сертифицировано и которая указана изготовителем как страна назначения.

Примечание - В момент реализации оборудования на рынке или установки, последнее должно быть способно работать без регулировок и модификаций на одном из видов газа, используемых в газораспределительной сети данной страны при надлежащем давлении подачи.

В качестве такой страны могут быть указаны несколько стран, если оборудование может быть использовано в его состоянии регулировки в каждой из этих стран.

3.4.2 страна непрямого назначения: Страна, для которой оборудование было сертифицировано, но для которой оно не подходит в его текущем состоянии регулировки.

Примечание - Последующее выполнение модификаций или регулировок является основным элементом обеспечения его правильной и безопасной работы в данной стране.

4 Классификация

4.1 Классификация в соответствии с используемыми газами

Газы подразделяют на три семейства, состоящие из групп в зависимости от значений числа Воббе, указанных в таблице 1.

Таблица 1 - Классификация газов

Семейства и группы газов

Число Воббе высшее Ws (при стандартных условиях), МДж/м3

Минимум

Максимум

Первое семейство

-

-

Группа а

22,4

24,8

Второе семейство

39,1

54,7

Группа Н

45,7

54,7

Группа L

39,1

44,8

Группа Е

40,9

54,7

Третье семейство

72,9

87,3

Группа В/Р

72,9

87,3

Группа Р

72,9

76,8

Котлы подразделяют на категории в соответствии с используемыми газами и давлением, на которое они рассчитаны.

4.1.1 Категория I

Котлы категории I предназначены для использования газов одного семейства или одной группы:

а) котлы, предназначенные для использования газов первого семейства, имеют категорию I1a - котлы, использующие газы группы «а» первого семейства с заданным давлением в подающем газопроводе. (Эту категорию не используют);

б) котлы, предназначенные для использования газов второго семейства, в зависимости от групп газов подразделяют на категории:

1) категория I2H - котлы, использующие газы группы Н второго семейства с заданными значениями давления в подающем газопроводе;

2) категория I2L - котлы, использующие газы группы L второго семейства с заданными значениями давления в подающем газопроводе;

3) категория I2E - котлы, использующие газы группы Е второго семейства с заданными значениями давления в подающем газопроводе;

4) категория I2E+ - котлы, использующие газы группы Е второго семейства и работающие с парой давлений без регулировок котла;

в) котлы, предназначенные для использования газов третьего семейства, подразделяют на категории:

1) категория I3B/P - котлы, использующие газы третьего семейства при заданном давлении в подающем газопроводе;

2) категория I3+ - котлы, использующие газы третьего семейства (пропан и бутан) и работающие с парой давлений без регулировок котла. (Допускается регулировка подачи воздуха на горение при переходе от пропана к бутану и наоборот). Устройство регулировки давления газа, при его наличии, отключено в диапазоне двух номинальных давлений указанной пары давлений;

3) категория I3P - котлы, использующие газы группы Р третьего семейства (пропан) при заданном давлении в подающем газопроводе;

4) категория I3B - котлы, использующие газы группы В третьего семейства (бутан) при заданном давлении в подающем газопроводе.

4.1.2 Категория II

Котлы категории II предназначены для использования газов двух семейств:

а) котлы, предназначенные для использования газов первого и второго семейств:

1) категория II1а2Н - котлы, использующие газы группы «а» первого семейства и газы группы Н второго семейства. Газы первого семейства используют при тех же условиях, что и для котлов категории I. Газы второго семейства используют при тех же условиях, что и для котлов категории I2H;

б) котлы, предназначенные для использования газов второго и третьего семейств, подразделяют на категории:

1) категория II2Н3В/P - котлы, использующие газы группы Н второго семейства и газы третьего семейства. Газы второго семейства используют при тех же условиях, что и для котлов категории I2H. Газы третьего семейства используют при тех же условиях, что и для котлов категории I3B/P;

2) категория II2Н3+ - котлы, использующие газы группы Н второго семейства и газы третьего семейства. Газы второго семейства используют при тех же условиях, что и для котлов категории I2H. Газы третьего семейства используют при тех же условиях, что и для котлов категории I3+;

3) категория II2Н3Р - котлы, использующие газы группы Н второго семейства и газы группы Р третьего семейства. Газы второго семейства используют при тех же условиях, что и для котлов категории I2H. Газы третьего семейства используют при тех же условиях, что и для котлов категории I3P;

4) категория II2L3В/Р - котлы, использующие газы группы L второго семейства и газы третьего семейства. Газы второго семейства используют при тех же условиях, что и для котлов категории I2L. Газы третьего семейства используют при тех же условиях, что и для котлов категории I3B/P;

5) категория II2L3P - котлы, использующие газы группы L второго семейства и газы группы Р третьего семейства. Газы второго семейства используют при тех же условиях, что и котлов категории I2L. Газы третьего семейства используют при тех же условиях, что и для котлов категории I3P;

6) категория II2Е3В/Р - котлы, использующие газы группы Е второго семейства и газы третьего семейства. Газы второго семейства используют при тех же условиях, что и для котлов категории I. Газы третьего семейства используют при тех же условиях, что и для котлов категории I3В/Р;

7) категория II2Е+3В/Р - котлы, использующие газы группы Е второго семейства и газы третьего семейства. Газы второго семейства используют при тех же условиях, что и для котлов категории II2Е+. Газы третьего семейства используют при тех же условиях, что и для котлов категории I3В/Р;

8) категория II2Е+3+ - котлы, использующие газы группы Е второго семейства и газы третьего семейства. Газы второго семейства используют при тех же условиях, что и для котлов категории I2Е+. Газы третьего семейства используют при тех же условиях, что и для котлов категории I3+;

9) категория II2Е+3Р - котлы, использующие газы группы Е второго семейства и газы группы Р третьего семейства. Газы второго семейства используют при тех же условиях, что и для котлов категории I2Е+. Газы третьего семейства используют при тех же условиях, что и для котлов категории I.

4.1.3 Категория III

Котлы категории III предназначены для использования газов трех семейств (эта категория в России не применяется).

4.2 Классификация по способу удаления продуктов сгорания

4.2.1 Общие сведения

Котлы классифицируются по нескольким типам согласно способу удаления продуктов сгорания и забору воздуха на горение.

4.2.2 Тип В

4.2.2.1 Общие сведения

Аппарат, предназначенный для подсоединения к дымоходу, выводящему продукты сгорания наружу из помещения, в котором находится котел. Воздух на горение забирается непосредственно из помещения.

4.2.2.2 Тип В1

Аппарат типа В с стабилизатором тяги.

4.2.2.3 Тип В11

Аппарат типа В1 с естественной тягой.

4.2.2.4 Тип В12

Аппарат типа В1, предназначенный для использования с дымоходом с естественной тягой со встроенным вентилятором, расположенным после камеры сгорания/теплообменника, но перед стабилизатором тяги.

4.2.2.5 Тип В13

Аппарат типа В1, предназначенный для использования с дымоходом с естественной тягой, со встроенным вентилятором перед камерой сгорания/теплообменника.

4.2.2.6 Тип В14

Аппарат типа В1, имеющий как встроенный вентилятор после камеры сгорания/теплообменника, так и после стабилизатора тяги.

4.2.2.7 Тип В2

Аппарат типа В без стабилизатора тяги.

4.2.2.8 Тип В22

Аппарат типа В2, со встроенным вентилятором после камеры сгорания/теплообменника.

4.2.2.9 Тип В23

Аппарат типа В2, со встроенным вентилятором перед камерой сгорания/теплообменника.

4.3 Технологический тип

4.3.1 Газовый конденсационный котел

Котел, предназначенный для постоянной конденсации значительной части водного пара, содержащегося в продуктах сгорания.

4.3.2 Низкотемпературный котел

Котел, который может непрерывно работать с подачей воды с температурой от 35 °С до 40 °С, с возможной конденсацией в определенных обстоятельствах.

4.3.3 Стандартный котел

Котел, для которого средняя температура воды может быть ограничена конструкцией.

5 Требования к конструкции

5.1 Общие сведения

Если иное не указано, конструктивные требования проверяются посредством освидетельствования котла и его технической документации.

5.2 Переход на другие газы (перенастройка)

Следующие операции допускаются к выполнению при переходе с газа одной группы или семейства на газ другой группы или семейства:

- регулировка расхода газа, подаваемого на основную горелку и запальную горелку;

- смена сопел и дросселей;

- замена запальной горелки или ее компонентов;

- замена системы, модулирующей расход газа;

- вывод из эксплуатации и опломбирование устройства регулировки и/или регулятора.

Примечание - Данные операции не применяются для смены газов в паре давлений и должны выполняться без необходимости изменения подсоединений котла к системе трубопроводов (газ, вода, дымоотводная система).

5.3 Материалы и методы изготовления

5.3.1 Общие сведения

Качество и толщина материалов, применяемых для изготовления котлов, а также методы сборки различных частей должны быть такими, чтобы гарантировать сохранение конструктивных и эксплуатационных характеристик от каких-либо значительных изменений в течение всего разумного срока службы при нормальных условиях установки и эксплуатации.

В частности, компоненты котла должны выдерживать механическое, химическое и температурное воздействие, которому они могут подвергаться в обычных условиях применения.

Материалы контура продуктов сгорания после теплообменника должны быть устойчивы к воздействию коррозии или иметь эффективную защиту от коррозии.

Материалы, содержащие асбест, запрещены к использованию. Твердый припой, содержащий кадмий в своем составе также не должен применяться.

При наличии риска конденсации в контуре продуктов сгорания, все части теплообменника (теплообменников), а также другие части, которые могут быть в контакте с конденсатом, должны быть изготовлены из материалов с достаточной стойкостью к воздействию коррозии или материалов, защищенных соответствующими покрытиями, для обеспечения разумного срока службы котла, установленного, эксплуатируемого и обслуживаемого в соответствии с указаниями изготовителя.

Поверхности, находящиеся в контакте с конденсатом (за исключением специально предназначенных сливов, водоулавливателей и сифонов) должны иметь конструкцию, не допускающую скопления конденсата.

Технические условия на материалы должны быть удостоверены сертификатом изготовителя, полученным изготовителем котлов.

5.3.2 Материалы и толщина стенок или труб для воды под давлением

5.3.2.1 Общие сведения

Материалы и толщина стенок под давлением должны соответствовать условиям 5.3.2.2, 5.3.2.3 и 5.3.2.4. Если используются другие материалы и/или толщина, изготовитель должен предоставить надлежащее обоснование их применения.

5.3.2.2 Материалы

Материалы для частей под давлением должны соответствовать их режиму нагрузки в предполагаемой эксплуатации. Следующие материалы удовлетворяют этим критериям:

- стали, обладающие свойствами и составом, приведенными в таблице 2;

- чугуны, обладающие механическими свойствами, приведенными в таблице 3;

- цветные металлы, приведенные в таблицах 4 и 5.


Таблица 2 - Механические свойства и химические составы углеродистых и нержавеющих сталей

Материалы

Тип стали

Механические свойства

Химический состав, % от массы

Предел прочности на разрыв Rm, Н/мм2

Предел текучести RoH/Rp0,2, Н/мм2

Разрушающее удлинение Along при L0 = 5d0

Разрушающее удлинение Atransv при L0 = 5d0

С

Р

S

Si

Mn

Cr

Мо

Ni

Ti

Nb/Ta

Трубы, листовая сталь

Углеродистая

≤ 520

≤ 0,7'

≥ 20

≤ 0,25

≤ 0,05

≤ 0,05

Ферритная

≤ 600

≥ 250

≥ 20

≥ 15

< 0,08

≤ 0,045

≤ 0,030

≤ 1,0

≤ 1,0

15,5 - 18

≤ 1,5

-

≤ 7×% С

≤ 12×% С

Аустенитная

≤ 800

≥ 180

≥ 30

≥ 30

< 0,08

≤ 0,045

≤ 0,030

≤ 1,0

≤ 2,0

16,5 - 20

2,0 - 3,0

9 - 15

≤ 5×% С

≤ 8×% С

' Соотношение предела текучести к прочности на разрыв. Должен обеспечиваться надлежащий высокотемпературный предел текучести для максимально возможной температуры компонентов.


Таблица 3 - Минимальные требования по чугуну

Чугун с пластинчатым графитом

Прочность на разрыв, Rm > 150 Н/мм2

Твердость по Бринеллю от 160 до 220 НВ 2,5/187,5

Чугун со сфероидальным графитом (отпущенный феррит)

Прочность на разрыв, Rm > 400 Н/мм2

Прочность при надрезе > 23 Н/см2

Таблица 4 - Части из алюминия или алюминиевых сплавов

Марка алюминия и алюминиевого сплава

Прочность на разрыв Rm Н/мм2

Температурный диапазон, °С

Al 99,5

≥ 75

≤ 300

Al Mg2 Mn 0,8

≥ 275

≤ 250

Таблица 5 - Части из меди или медных сплавов

Марка меди и медного сплава

Прочность на разрыв Rm Н/мм2

Температурный диапазон, °С

SF-Cu

≥ 200

≤ 250

Cu Ni 30 Fe

≥ 310

≤ 350

5.3.2.3 Толщина

Минимальные значения толщины стенки приводятся в таблицах 6 и 7.

Таблица 6 - Минимальная толщина для прокатных частей

В миллиметрах

Наименование прокатной части

Углеродистые стали, алюминий

Защищенные стали, нержавеющие стали, медь

Стенки камеры сгорания, соприкасающиеся с огнем и водой, плоские поверхности конвекционных нагревательных поверхностей

4,0

2,0

Стенки, соприкасающиеся только с водой и жесткой формовки (например, гофрированные), конвекционные нагревательные поверхности вне камеры сгорания

3,0

2,0

Трубы, применяемые в конвекционной части теплообменника

2,9

1,0

Таблица 7 - Номинальная минимальная толщина отделений котла из литых материалов

В миллиметрах

Чугун с пластинчатым графитом, алюминий

Чугун со сфероидальным графитом (отпущенным ферритом), медь

4,5

4,0

Толщина литых стенок, приводимая в производственных чертежах, должна быть не меньше номинальной минимальной толщины, приведенной в таблице 7 для частей из чугуна и литых материалов, подвергаемых воздействию давления. Действительная минимальная толщина отделений котла и частей под давлением должна быть больше, чем величина в 0,8 толщины, приводимой на чертежах.

5.3.2.4 Сварочные швы и присадочные материалы

Материалы должны подходить для сварки. Материалы согласно таблице 2 подходят для сварочных работ и не требуют дополнительной тепловой обработки после сварки.

Сварочные швы не должны иметь трещин или недостатков соединения, а также не должны иметь дефектов по всему поперечному сечению в случае торцевых швов.

Односторонние угловые швы и тройниковые швы без сквозной проварки не должны подвергаться воздействию изгибающих напряжений. Дымовые трубы, вставные стойки и аналогичные элементы должны провариваться с обратной стороны. Двусторонние угловые швы возможны только после достаточного охлаждения. Следует избегать выступов в газоотводную часть в зонах значительных тепловых напряжений.

Следует избегать выполнения угловых, торцевых швов и других подобных сварных соединений, которые подвергаются значительным напряжениям изгиба во время производства и эксплуатации.

Для сварки продольных стоек и опорных труб, срезающее поперечное сечение углового шва должно быть в 1,25 раз больше требуемой площади поперечного сечения продольной стойки или опорной трубы.

Дополнительные требования к сварным швам указаны в таблице 8.

Присадочные материалы должны соответствовать свариваемым материалам.

Таблица 8 - Сварные соединения и сварочные процессы

Наименование сварного шва

Толщина материала t, мм

Номер сварочного процесса по ГОСТ 29297*)

Примечания

1.1 Стыковой без скоса кромок

а) односторонний

б) двусторонний

≤ 6

(8)

135

12

131

(111)

Допустимо до t = 8 мм при использовании электродов глубокого проплавления или сварке с обеих сторон

1.2 Стыковой без скоса кромок

≥ 6

до 12

12

Зазор между свариваемыми кромками от 2 до 4 мм с фиксацией кромок и подкладкой

1.3 Стыковой двусторонний без скоса кромок

> 8

до 12

135

12

(111)

Зазор между свариваемыми кромками от 2 до 4 мм.

При ручной сварке должны применяться электроды глубокого проплавления

1.4 Стыковой со скосом кромок

до 12

(111)

Предварительная разделка кромок 60°

1.5 Стыковой со скосом кромок

до 12

135

12

Предварительная разделка кромок от 30° до 50° в зависимости от толщины материала

1.6 Двусторонний стыковой с двумя симметричными скосами кромок

> 12

135

12

Предварительная разделка кромок от 30° до 50° в зависимости от толщины материала

1.7 Стыковой с отбортовкой кромок

≤ 6

135

141

131

(111)

Допустимо только в исключительных случаях для ввариваемых деталей.

Кроме того, швы должны быть в основном свободны от напряжений изгиба.

Непригодно для поверхностей нагрева

s = 0,8t

1.8 Нахлесточный односторонний

≤ 6

135

12

Швы этого типа должны быть в основном свободны от напряжений изгиба.

Непригодно для поверхностей нагрева

s = t

1.9 Нахлесточный двусторонний

≤ 6

135

12

(111)

Непригодно для поверхностей нагрева

s = t

2 Угловой без скоса кромок

≤ 6

135

12

(111)

Швы этого типа должны быть в основном свободны от напряжений изгиба

a = t

2.1 Угловой двусторонний без скоса кромок

≤ 12

135

12

(111)

a = t

> 12

132

12

(111)

a = 2/3t

2.2 Угловой двусторонний с двумя симметричными скосами одной кромки

≤ 12

135

12

(111)

a = t

> 12

135

12

(111)

a = 2/3t

2.3 Угловой односторонний со скосом одной кромки

≤ 12

135

12

(111)

Для (111) β = 60°

> 12

135

12

Для 135, 12 β = 45° - 50°

2.4 Угловой односторонний со скосом одной кромки

≤ 12

135

12

(111)

Для (111) β = 60°

Для 135, 12 β = 45° - 50°

2.5

≤ 12

13

 (111)

Края труб не должны выступать за пределы шва, если он подвержен тепловому излучению

2.6

≤ 6

135

(111)

Приварка трубы, находящейся в зоне высоких тепловых нагрузок

a = t

2.7

135

(111)

Приварка трубы, находящейся в зоне высоких тепловых нагрузок

Для (111) β = 60°

Для 135 β = 45° - 50°

*) Справочные номера процессов:

12 - дуговая сварка под флюсом;

111 - ручная дуговая сварка;

131 - дуговая сварка плавящимся электродом в инертном газе;

135 - дуговая сварка плавящимся электродом в активном газе;

141 - дуговая сварка вольфрамовым электродом в инертном газе.

Термины, используемые в таблице 8, соответствуют ИСО 2553. Ссылочные номера сварочных процессов соответствуют ИСО 857 и ГОСТ 29297 (ЕН 24063).

5.3.3 Термоизоляция

Любая термоизоляция должна выдерживать температуру не менее 120 °С без деформаций и сохранять свои изоляционные свойства при воздействии тепла и старении.

Изоляция должна выдерживать обычные ожидаемые температурные и механические напряжения и должна выполняться из невозгораемых материалов. Тем не менее, применение возгораемых материалов является приемлемым при следующих условиях:

- изоляция применяется на поверхностях в контакте с водой;

- или температура поверхностей, на которых она применяется, не превышает 85 °С в нормальном режиме работы;

- или изоляция защищена не возгораемой оболочкой с соответствующей толщиной стенки.

Если пламя может вступить в контакт с изоляцией или если изоляция применяется рядом с выходом продуктов сгорания, то изоляция должна быть не возгораемой или защищенной невозгораемой оболочкой с соответствующей толщиной стенки.

5.4 Конструкция

5.4.1 Общие сведения

Котел должен быть сконструирован таким образом, что когда он установлен и эксплуатируется согласно указаниям изготовителя, должна быть предусмотрена возможность удаления воздуха из водяных каналов котла, если нет системы автоматического удаления воздуха.

Для стандартных котлов, предназначенных для работы без конденсации, не должно быть признаков конденсации при рабочих температурах, обеспечиваемых органами управления. Низкотемпературные котлы предназначены для работы с конденсацией.

Если конденсация происходит при пуске, это не должно:

- влиять на эксплуатационную безопасность;

- приводить к образованию капель снаружи котла.

Части конструкции, доступные вовремя работы и обслуживания, не должны иметь острых кромок или углов, которые могут привести к повреждениям и нанести вред здоровью эксплуатационного и обслуживающего персонала.

5.4.2 Модульные котлы

Каждый модуль должен быть оборудован своей собственной системой управления и автоматическими клапанами, в т.ч. устройством контроля пламени, контрольным термостатом и защитным термостатом. Требования, предъявляемые к оборудованию контроля и безопасности, зависят от номинальной тепловой мощности (Qn) модуля.

Пример - при Qn70 кВт, данные требования должны соответствовать ГОСТ Р 51733

Там, где возможно отключение подачи воды на отдельные модули, не должна быть возможна работа изолированного модуля (модулей), если не обеспечена установочная схема модуля, аналогичная применяемой для отдельных котлов.

5.5 Эксплуатация и обслуживание

Оператор должен иметь доступ и управлять всеми ручками, кнопками и прочим, необходимым для нормальной эксплуатации котла без необходимости снятия частей корпуса. Тем не менее, часть корпуса может быть съемного типа, при условии, что:

- эта часть может просто и безопасно сниматься оператором;

- эта часть может сниматься без использования инструмента;

- неправильная обратная установка затруднена (например, при помощи стопоров).

Все обозначения, предназначенные для оператора, должны быть легко различимыми, четкими и несмываемыми.

Части, которые должны осматриваться или сниматься, должны быть легко доступными, возможно после снятия кожуха.

Съемные части должны быть сконструированы или обозначены таким образом, чтобы их неправильная обратная установка была затруднена.

Согласно указаниям изготовителя, должна быть предусмотрена возможность выполнения чистки горелки, камеры сгорания и частей, находящихся в контакте с продуктами сгорания, простыми механическими средствами или посредством простой процедуры их снятия для выполнения очистки, при этом не должно возникать необходимости отсоединения котла от систем подачи газа или воды или использования иных, чем имеющихся в продаже инструментов.

Газовый контур должен быть сконструирован таким образом, чтобы предусмотреть отдельное отсоединение горелки или всего блока горелки и управления.

5.6 Подсоединение к трубам газа и воды

5.6.1 Общие сведения

Подсоединения котла должны быть легко доступными. Они должны быть четко обозначены в инструкции по установке и, по возможности, на самом котле. Просветы вокруг подключений после снятия кожуха, если необходимо, должны обеспечивать свободное применение инструмента, требуемого для выполнения подключений. Должна быть предусмотрена возможность выполнения всех подключений без применения специального инструмента.

5.6.2 Подсоединения к газовой трубе

Должна быть предусмотрена возможность подсоединения котла к трубе подачи газа с использованием жестких металлических средств.

Если на котле предусмотрен нарезной патрубок, его резьба должна соответствовать ГОСТ 6211 или ГОСТ 6357.

При использовании фланцев, последние должны соответствовать ГОСТ 12815, а изготовитель должен обеспечить наличие контр-фланцев и уплотняющих прокладок.

5.6.3 Подсоединения к системе центрального отопления

Резьбовые соединения должны соответствовать ГОСТ 6211 или ГОСТ 6357.

Если используются другие материалы, помимо металлических, изготовитель должен представить соответствующее обоснование для их применения.

5.7 Герметичность

5.7.1 Герметичность газового контура

Газовый контур должен состоять из металлических частей.

Отверстия для болтов, штифтов и пр., предназначенные для сборки частей, не должны выходить в газовые каналы. Толщина стенки между отверстиями и газовыми каналами должна быть не менее 1 мм. Это условие не применяется к замерным отверстиям. Должна быть обеспечена невозможность проникновения воды в газовый контур.

Прочность частей и узлов, составляющих газовую схему с предусмотренной возможностью их разборки для текущего обслуживания на месте, должна достигаться с использованием металлических соединений, например стыков металл к металлу, сальников или тороидальных прокладок, т.е. исключая применения таких уплотняющих материалов, как лента, паста или жидкость. Тем не менее, вышеназванные материалы могут использоваться для узлов, не подлежащих разборке. Данный уплотнительный материал должен сохранять свою эффективность при нормальных условиях эксплуатации котла.

Там, где части газового контура собираются без применения резьбы, прочность сборки не должна достигаться применением мягких припоев или клеев.

5.7.2 Герметичность контура продуктов сгорания

Контур продуктов сгорания должен быть выполнен таким образом, чтобы не допускать утечек продуктов сгорания.

Любые средства, применяемые для достижения герметичности контура продуктов сгорания, должны быть такими, чтобы система сохраняла свою эффективность всегда при нормальных условиях эксплуатации и обслуживания.

Герметичность частей, которые могут сниматься для выполнения текущего обслуживания, должна достигаться применением механических средств, в том числе паст, жидкостей и лент. Допускается выполнение замены уплотнительного материала согласно указаниям изготовителя.

5.8 Подача воздуха на горение и отвод продуктов сгорания

5.8.1 Регулирующие заслонки в воздушном контуре или контуре продуктов сгорания

Подвижные компоненты заслонки должны блокироваться и не должны перемещаться относительно друг друга.

Любой концевой выключатель должен быть сконструирован и устроен таким образом, чтобы исключить прохождение неверных сигналов открытого положения заслонки.

Система заслонок должна быть обеспечена средствами проверки правильности положения блокировок до срабатывания заслонки. Это требование должно обеспечиваться концевыми выключателями, защищенными от коротких замыканий соответствующими устройствами защиты. Такие устройства защиты должны срабатывать до того, как ток короткого замыкания превысит 50 % номинального значения тока выключателей.

При пуске и в каждом рабочем состоянии должно быть обеспечено, чтобы заслонка перемещалась или переместилась в положение, в котором расход воздушного потока и тепловая мощность находятся в предусмотренных соотношениях.

Если соотношение тепловой мощности к воздушному потоку не соответствует предусмотренному или имеет место сбой в работе коммутационной системы, то:

- либо заслонка должна быть переведена в положение, увеличивающее избыточный воздух;

- либо должно произойти безопасное отключение подачи газа на основную горелку.

5.8.2 Вентилятор

Прямой доступ к вращающимся частям вентилятора должен быть закрыт. Части вентилятора в контакте с продуктами сгорания должны быть надежно защищены от коррозии, если не выполнены из стойких к воздействию коррозии материалов.

Они должны также выдерживать воздействие температуры продуктов сгорания.

5.8.3 Проверка воздушной системы

Котлы с вентиляторами должны быть оборудованы системой воздушной проверки.

До запуска каждого вентилятора, последний проверяется на отсутствие имитации воздушного потока; это требование обеспечивается, если котел оборудован системой контроля соотношения газ/воздух.

Подача воздуха горения должна проверяться одним из следующих способов:

а) контроль давления воздуха горения или давления продуктов сгорания;

б) контроль расхода воздуха горения или расхода продуктов сгорания;

в) автоматическое управление соотношением газ/воздух;

г) непрямой контроль (например, контроль скорости вентилятора), при наличии устройства проверки воздуха, которое проверяет расход воздуха, по крайней мере, один раз при каждом запуске и при условии выключения через каждые 24 часа.

5.8.4 Система регулировки соотношения газ/воздух

Система регулировки соотношения газ/воздух должна быть сконструирована и выполнена таким образом, чтобы разумно предсказуемые неполадки не приводили к изменениям надежности системы обеспечения безопасности.

Контрольные трубки могут выполняться из металла с соответствующими механическими соединениями или из других материалов с, по крайней мере, аналогичными свойствами. В этом случае, они считаются неподверженными поломкам, случайным отсоединениям или утечкам после проведения начальных проверок прочности. В этом виде они не подвергаются тестированию по 7.5.5.5.

Контрольные трубки для воздуха или продуктов сгорания должны иметь минимальное поперечное сечение 12 мм2, при минимальном внутреннем размере в 1 мм. Они должны быть установлены и закреплены таким образом, чтобы не допускать образования складок, утечек или поломок. Там, где используются несколько трубок, соответствующее положение подключения каждой из них должно быть очевидным.

5.8.5 Система отвода конденсата для низкотемпературных котлов

Для низкотемпературных котлов система отвода конденсата предусматривается, если конденсат:

- отрицательно влияет на безопасность и правильную работу;

- вытекает из аппарата;

- повреждает материалы.

Для слива конденсата, при необходимости, должны применяться труба или трубы. Внутренний диаметр наружного соединения системы отвода конденсата должен быть не менее 13 мм.

Система отвода, являющаяся частью котла или поставляемая вместе с котлом, должна быть такой, чтобы:

- ее можно было легко осмотреть и прочистить согласно указаниям изготовителя;

- она не могла пропускать продукты сгорания в помещение, где установлен котел, при максимальном давлении в камере сгорания и максимальной длине дымоотвода, определяемыми изготовителем. Это требование выполняется, если система отвода включает в себя конденсатоулавливатель.

5.9 Проверка рабочего состояния

Зажигание и работа горелки (горелок), а также длина пламени запальной горелки, при наличии, должны контролироваться визуально специалистом по установке. Открытие на короткое время дверцы или снятие кожуха не должно мешать работе горелок.

Кроме того, зеркала, смотровые стекла и т.д. должны сохранять свои оптические свойства. Однако, если основная горелка оборудована детектором пламени, косвенные средства индикации (например, световой индикатор) могут также применяться. Индикация наличия пламени не должна использоваться для индикации неисправностей, за исключением неисправностей в работе самого средства контроля пламени, которая будет выражаться в указании на отсутствие пламени.

Для пользователя должна быть всегда возможность убедиться в любое время, в т.ч. возможно с помощью открытия дверцы, в том, что котел работает, либо путем прямого визуального наблюдения пламени, либо другими косвенными способами.

5.10 Дренаж

Если не возможно слить котел через систему подсоединения воды, должно быть предусмотрено устройство, которым можно управлять при помощи инструмента, такого как разводной ключ или отвертка. Надлежащие указания по дренажу должны быть включены в инструкцию по эксплуатации.

5.11 Электрооборудование

Электрооборудование должно соответствовать требованиям ГОСТ Р 52161.1, ГОСТ Р МЭК 60730-1, ГОСТ Р МЭК 61058-1, ГОСТ Р МЭК 730-2-9.

Если котел оборудован электронными компонентами или электронными системами обеспечения безопасности, то последние должны соответствовать требованиям ГОСТ Р 52219, касательно уровней защищенности по электромагнитной совместимости.

На заводской табличке изготовитель должен указать степень электрозащиты (код IP) по ГОСТ 14254.

Там, где применяется трехфазное питание, все устройства управления и безопасности должны иметь один и тот же легко определяемый однофазный провод, без возможности возникновения неясностей на этот счет.

5.12 Эксплуатационная безопасность при сбоях вспомогательного энергообеспечения

При использовании на котле вспомогательного энергообеспечения, его конструкция должна исключать возникновение риска в случае аномальных колебаний или сбоев вспомогательного энергообеспечения, а также в случаях после его возобновления.

5.13 Устройства регулировки, управления и безопасности

5.13.1 Общие сведения

Системы безопасности должны быть сконструированы в соответствии с принципом обесточенного включения. Срабатывание устройств безопасности не должно отменяться устройствами регулировки и управления.

Конструкция системы управления и безопасности должна быть такой, чтобы никогда не было возможно выполнение двух или более действий, не приемлемых вместе. Порядок выполнения действий должен быть установлен так, чтобы изменить его было не возможно.

Все следующие устройства или неисправная ручка управления, в которой они могут быть встроены, должны быть съемными или заменяемыми, если это требуется для чистки или замены устройства. Рукоятки для устройств не должны быть взаимозаменяемыми, если это может привести к путанице.

При наличии нескольких ручек управления (краны, термостаты и пр.), последние не должны быть взаимозаменяемыми, если это может привести к путанице. Их функция должна ясно указываться.

Устройства управления и безопасности должны соответствовать ГОСТ Р 51982, ГОСТ Р 51843, ГОСТ Р 51983, ГОСТ Р 51842, ГОСТ Р EN 257, ГОСТ Р 52219.

5.13.2 Устройства регулировки и установки диапазонов регулирования

5.13.2.1 Общие сведения

Устройства регулировки должны иметь конструкцию с защитой от случайной неверной установки со стороны оператора, после того как оборудование установлено и запущено в эксплуатацию. Должна иметься возможность их опломбирования (например, краской) после выставления регулировки; установленная пломба должна выдерживать тепловое воздействие, возникающее при нормальной работе котла. Регулировочные винты должны находиться в местах, исключающих их падение в газовые каналы.

Герметичность газового контура не должна подвергаться риску в связи с наличием устройств регулировки.

5.13.2.2 Устройства регулировки

Устройства регулировки расхода газа являются обязательными для котлов, использующих некоторые группы первого семейства газов и необязательными для других котлов.

Регулятор должен:

- быть опломбированным, если настройка выполняется только изготовителем;

- быть приспособленным к опломбированию, если настройка выполняется специалистом по установке.

Устройства регулировки должны быть опломбированы изготовителем для котлов, предназначенных для работы на газе группы 2Е или 3, и включать знак «+» (например, 2Е+ или 3+).

5.13.2.3 Устройства установки диапазонов

Котлы могут иметь устройство установки диапазонов.

Если устройство регулировки расхода газа и устройство установки диапазонов являются одним и тем же прибором, изготовителем должны быть представлены соответствующие указания по применению устройства регулировки в инструкции по установке.

5.13.3 Газовый контур

5.13.3.1 Общие сведения

Перед газовым входом должен быть установлен газовый фильтр. Максимальный размер ячейки фильтра не должно превышать 1,5 мм; более того, через ячейку не должен проходить калибр 1 мм.

5.13.3.2 Устройства управления

Каждый котел должен иметь, по крайней мере, одно устройство, позволяющее пользователю контролировать подачу газа на горелку или на запальную горелку, если таковая имеется.

Выключение должно выполняться без задержки, например, оно не должно задерживаться термоэлектрическим устройством контроля пламени.

Никакой маркировки не требуется, если неправильность действий исключена, например, если одна кнопка управляет устройством контроля пламени горелки и запальной горелки.

Тем не менее, там, где необходимо, используются следующие обозначения для маркировки:

Выключено............................................................... (полный диск)

Зажигание (при наличии)........................................ (стилизованная звезда)

Полное включение (горелки).................................. (большое стилизованное пламя)

Пониженный расход (при наличии)...................... (малое стилизованное пламя)

Если на котле имеются два отдельных устройства регулировки расхода газа: одно для основной горелки, другое - для запальной горелки, работа этих устройств должна блокироваться таким образом, чтобы нельзя было подать газ на основную горелку раньше, чем на запальную. Если основную и запальную горелки обслуживает один кран, положение зажигания запальной горелки должно иметь фиксатор, делающий это положение легкоразличимым для пользователя. Должна быть возможность выполнения операции снятия с блокировки (если таковая предусмотрена) одной рукой. Если управление осуществляют путем вращения, то перемещать ручку управления в положение «закрыто» следует по ходу часовой стрелки.

5.13.3.3 Состав газового контура

Газовый контур должен быть оборудован автоматическими отсечными клапанами в соответствии с ГОСТ Р 51842 и таблицей 9.

Таблица 9 - Состав газового контура

Тепловая мощность, кВт

Класс автоматических отсечных клапанов

Котел без вентилятора

Котел с вентилятором

с предварительной продувкой

без предварительной продувки, но с устройством контроля утечек или с пламенем

без предварительной продувки

≤ 0,250

С1)

С1)

≤ 150

C1), 2) + J

С1), 2) + С

или B + J

150 - 300

В + С

В + В

1) или клапан устройства контроля пламени.

2) для пусковой мощности ≤ 1 кВт, соответствующей критериям 6.5.3.3 перечисление б), требуется только один клапан Класса С.

Устройства безопасности, требующие возникновения энергонезависимой блокировки, вызовут одновременный сигнал на закрытие обоих клапанов. Тем не менее, в случае с термоэлектрическим устройством, устройства безопасности могут действовать только на этом устройстве.

В случае прямого зажигания основной горелки, и если команда на закрытие в ответ на сигнал устройства управления не выдается одновременно на оба клапана, оба клапана должны быть, как минимум, Класса С (В для > 150 кВт).

Сигналы, выдаваемые в ответ на сигналы устройства управления, если задержка между командами на закрытие двух клапанов составляет не более 5 секунд, считаются одновременными.

Состав газового контура наглядно представлен в приложении Г.

5.13.4 Газовый регулятор

Газовый регулятор, если установлен, должен соответствовать ГОСТ Р 51982.

Котлы, использующие газы первого семейства должны быть оборудованы регулятором. Для других котлов он не является обязательным.

Регулятор, предназначенный для работы с парой давлений должен быть настроен или должен иметь возможность быть настроенным так, чтобы он не мог работать между двумя нормальными давлениями.

Тем не менее, при работе с парой давлений разрешается применение ненастраиваемого газового регулятора для запальной горелки.

Конструкция и доступность регулятора должна быть такой, чтобы его можно было легко настроить и вывести из работы при подаче другого газа, вместе с тем, принимая меры предосторожности для затруднения несанкционированного доступа к регулировкам.

5.13.5 Устройства зажигания

5.13.5.1 Зажигание запальных горелок

Должно быть возможным простое зажигание запальных горелок, предназначенных для ручного зажигания.

Устройства зажигания для запальной горелки должны быть сконструированы и установлены так, чтобы находится непосредственно в соответствии с компонентами и запальной горелкой. Должно быть возможным устанавливать и снимать устройство зажигания для запальной горелки или весь узел запальной горелки с ее устройством зажигания, используя обычный инструмент, имеющийся в наличии.

5.13.5.2 Устройство зажигания для основной горелки

Основная горелка должна быть оборудована запальной горелкой или устройством прямого зажигания. Прямое зажигание не должно приводить к повреждению горелки.

5.13.5.3 Запальные горелки

Запальные горелки должны быть сконструированы и установлены таким образом, чтобы прямо соответствовать месту нахождения компонентов и горелок, которые они зажигают. При использовании разных запальных горелок для разных газов, они должны иметь соответствующую маркировку, легко взаимно заменяться и устанавливаться. То же относится и к соплам там, где заменяются только они.

Если расход газа запальной горелки не регулируется, устройство регулировки расхода газа является обязательным для котлов, работающих на газах первого семейства, необязательным - для котлов, работающих на газах второго семейства и газах третьего семейства без пары давлений. Тем не менее, оно запрещено к использованию с газами второго и третьего семейства, если применяется пара давлений. Устройство регулировки может не устанавливаться, если запальные горелки и/или сопла, подходящие под характеристики используемого газа, могут легко заменяться.

5.13.5.4 Прямое зажигание

Устройства прямого зажигания должны обеспечивать безопасное зажигание даже в условиях колебаний напряжения от 85 % до 110 % номинального значения напряжения. Команда на подачу энергии на устройства зажигания должна подаваться не позже команды на открытие автоматического клапана, контролирующего подачу зажигаемого газа. При отсутствии фиксации пламени за установленное время, устройство зажигания должно обесточиваться не позднее, чем по истечению безопасного времени зажигания.

5.13.6 Системы контроля пламени

5.13.6.1 Общие сведения

Присутствие пламени должно контролироваться:

- либо термоэлектрическим устройством контроля пламени;

- либо детектором пламени автоматической системы управления горелки.

Требуется, по крайней мере, одно средство обнаружения пламени.

Там, где основная горелка зажигается запальной горелкой, присутствие пламени запальной горелки должно обнаруживаться до поступления газа в основную горелку.

5.13.6.2 Термоэлектрическое устройство контроля пламени

Устройство должно приводить к энергонезависимой блокировке котла в случае погасания контролируемого пламени и в случае повреждения чувствительного элемента или соединения между чувствительным элементом и отсечным клапаном.

Устройство должно включать в себя:

- либо блокировку зажигания;

- либо блокировку перезапуска.

Для котлов ≤ 150 кВт разрешается применять термоэлектрические устройства контроля пламени. Для котлов > 150 кВт разрешается применять горелку ≤ 150 кВт, использующую термоэлектрическое устройство контроля пламени, при условии, что дополнительная тепловая мощность контролируется автоматической системой контроля горелки (см. 6.5.3).

5.13.6.3 Автоматическая система контроля горелки

Автоматическая система контроля горелки должна соответствовать требованиям ГОСТ Р 52219. В случае погасания пламени, система должна приводить, по крайней мере, к восстановлению искры или к повторному циклу или к энергонезависимой блокировке. В случае восстановления искры или повторения цикла, отсутствие пламени в конце безопасного времени зажигания (TSA) должно приводить, как минимум, к энергонезависимой блокировке.

В случае повторного цикла, должно быть включено время ожидания минимум 30 секунд для котлов без вентилятора.

5.13.7 Термостаты и защитные термостаты

5.13.7.1 Общие сведения

Котлы должны быть как минимум оборудованы:

- регулируемым или постоянным термостатом управления (согласно 5.13.7.2),

- защитным термостатом (согласно 5.13.7.3).

5.13.7.2 Термостат управления

Если термостат управления является регулируемым, изготовитель должен указать максимальное значение температурного диапазона. Положения температурного переключателя должны легко определяться и должна быть предусмотрена возможность легко определить в каком направлении температура воды поднимается или падает. При использование чисел для этих положений, наивысшее число должно соответствовать наивысшей температуре.

При своих максимальных установках, устройство должно приводить к управляемой остановке до превышения температуры воды в 105 °С.

5.13.7.3 Защитный термостат

Защитный термостат должен приводить к энергонезависимой блокировке до того, как температура воды превысит 110 °С.

При нормальной работе котла, не должно происходить изменений температурной установки устройства. Тем не менее, изготовитель может отрегулировать установочный температурный параметр для получения максимальной температуры потока воды менее 110 °С, при условии, что после выполнения регулировки, повторная регулировка выше нового установочного параметра не будет возможна без использования инструмента.

Прерывание связи между датчиком и устройством, отвечающим на его сигналы, должно приводить к безопасной остановке.

5.13.7.4 Датчики

Термостаты и защитные термостаты должны иметь независимые датчики.

Датчики должны выдерживать любые температурные перегрузки, вызываемые состояниями перегрева, определенными в настоящем стандарте, без влияния на предварительно установленные параметры.

5.13.7.5 Дистанционное управление

Конструкция котлов должна предусматривать возможность использования дистанционного управления.

Подключение любого устройства дистанционного управления из рекомендуемых изготовителем, не должно нарушать внутренние электрические подключения. Необходимая информация должна быть представлена в инструкции по установке.

5.13.8 Датчик тяги

При оборудовании котлов стабилизатором тяги на котлах должно быть установлено устройство, контролирующее процесс удаления продуктов сгорания (датчик тяги).

Требования и данные по тестированию этого устройства приведены в 6.5.8 и 7.5.8.

Это устройство должно быть составной частью котла. Датчик тяги должен быть стойким к температурным, химическим и механическим воздействиям, происходящим в нормальном режиме.

Датчик тяги не должен быть регулируемым. Регулируемые компоненты должны быть опломбированы изготовителем. Конструкция датчика тяги должна быть такой, чтобы его не было возможно разобрать без инструмента. Должна быть невозможной неправильная установка датчика тяги после обслуживания.

Конструкция датчика тяги должна обеспечивать сохранение электрической изоляции. Прерывание связи между детектором и устройством управления должно приводить к безопасной остановке.

5.14 Горелки

Поперечное сечение каналов пламени, а также сопел горелки и запальной горелки не должно быть регулируемым.

Каждое сопло и/или съемный дроссель должны иметь нестираемые обозначения, гарантирующие от ошибки. В случае несъемных сопел и/или дросселей маркировка может быть на коллекторе.

Должна быть обеспечена возможность смены сопел и дросселей без отсоединения котла. В случае со съемными соплами и дросселями, их положение должно быть хорошо обозначено, а метод их крепления должен затруднять возможность их неправильной установки.

Устройства регулировки первичного воздуха не разрешены к применению.

5.15 Штуцеры замера давления газа

Котел должен быть оборудован минимально двумя штуцерами замера давления газа. Место расположение штуцеров замера давления газа должно выбираться с особым вниманием, чтобы обеспечивать замер входного давления и давления перед горелкой.

Штуцеры замера давления газа должны иметь наружный диаметр 9-0,5 мм и полезную длину минимально 10 мм для обеспечения крепления трубки. Диаметр внутреннего отверстия штуцера замера давления газа не должен превышать 1 мм.

6 Эксплуатационные требования

6.1 Общие сведения

Следующие требования проверяются при условиях выполнения испытаний 7.1.

6.2 Герметичность

6.2.1 Герметичность газового контура

Газовый контур должен быть герметичен.

Герметичность проверяется в состоянии поставки котла и после выполнения всех испытаний настоящего стандарта.

Герметичность обеспечивается, если при соблюдении условий, предусмотренных в 7.2.1, норма утечек не превышает:

- для Испытания № 1 - 0,06 дм3/ч;

- для Испытания № 2 - 0,14 дм3/ч.

6.2.2 Герметичность контура продуктов сгорания и полнота удаления продуктов сгорания

При выполнении испытаний с соблюдением условий по 7.2.2 продукты сгорания должны выходить только через дымоотвод.

6.2.3 Герметичность водяного контура

При соблюдении условий по 7.2.3 не должно быть ни видимых утечек во время испытания, ни видимых остаточных деформаций после выполнения испытания.

6.3 Номинальная, максимальная и минимальная тепловая мощность, номинальная теплопроизводительность

6.3.1 Номинальная, максимальная и минимальная тепловая мощность

Значение тепловой мощности, получаемое при соблюдении условий выполнения испытаний по 7.3.1, не должно отличаться более, чем на ±5 % от:

- номинальной тепловой мощности для котлов без устройства установки диапазона,

- максимальной тепловой мощности и минимальной тепловой мощности для котлов, оборудованных устройством установки диапазона.

6.3.2 Регулировка тепловой мощности давлением перед соплами

При определении в указаниях изготовителя значения давления перед соплами, позволяющего получать номинальную тепловую мощность, полученная тепловая мощность при соблюдении условий по 7.3.2 не должна отличаться от номинальной более, чем на ±5 %.

6.3.3 Пусковая мощность

При соблюдении условий испытаний по 7.3.3, выполняется проверка того, что средняя тепловая мощность в течение защитного времени зажигания, не превышает заявленной изготовителем пусковой мощности.

6.3.4 Номинальная теплопроизводительность

Проверяется, что значение теплопроизводительности, определенное при соблюдении условий выполнения испытаний по 7.3.4, не ниже номинальной теплопроизводительности.

6.3.5 Регулятор давления газа

При соблюдении условий выполнения испытаний по 7.3.5 расход газа котлов, оборудованных регулятором давления газа, не должен отличаться от расхода газа, получаемого при номинальном давлении, более, чем на:

- для газов первого семейства +7,5 %;

- для газов второго семейства без пары давлений - 10 % - +5 %;

- для газов третьего семейства с парой давлений - 7,5 % - ±5 %;

- для газов третьего семейства без пары давлений ±5 %.

В случае, когда котлы, использующие газы второго и третьего семейства без пары давлений, не соответствуют требованиям между рn и pmin, данные котлы должны отвечать требованиям для котлов без регулятора давления газа для данного диапазона давления.

6.4 Эксплуатационная безопасность

6.4.1 Температуры поверхностей

6.4.1.1 Общие сведения

Котел должен быть установлен, как предусмотрено в 7.4.1.1.

6.4.1.2 Температуры поверхностей устройств регулировки, управления и безопасности

При соблюдении условий выполнения испытаний по 7.4.1.2 температура устройств регулировки, управления и безопасности не должна превышать значения, установленного изготовителем, и их работа должна оставаться удовлетворительной.

Температуры на поверхности ручек управления и всех частей, к которым прикасается оператор при нормальной работе оборудования, измеряемые только в зонах непосредственного захвата рукой и при соблюдении условий, предусмотренных в 7.4.1.2, не должны превышать температуру окружающей среды более, чем на:

- для металлов 35 К;

- для керамики 45 К;

- для пластмасс 60 К.

6.4.1.3 Температуры поверхностей боковых стенок, передней поверхности и верхней крышки котла

Температура боковых стенок, передней поверхности и верхней крышки котла, за исключением стенок стабилизатора тяги или каналов между оболочкой котла и стабилизатором тяги, не должна превышать температуру окружающей среды более, чем на 80 К, при выполнении измерений согласно условиям по 7.4.1.3. От соблюдения этого требования освобождены части обшивки в пределах 5 см от кромки отверстия зажигания или смотрового стекла и 15 см от дымоотводного канала.

6.4.1.4 Температура пола

Температура пола, на который устанавливается котел, не должна ни в одной его точке превышать температуру окружающей среды более, чем на 80 К, при соблюдении условий выполнения испытаний по 7.4.1.4.

При повышении этой температуры на величину от 60 до 80 К, изготовитель должен определить в своих указаниях по установке вид защитного материала, подлежащего применению между оборудованием и полом в случае, если пол выполнен из воспламеняемого материала.

Эта защита должна быть направлена в испытательную лабораторию для проверки того, что при установке оборудования сданной защитой, температуры, измеряемые при соблюдении условий выполнения испытаний по 7.4.1.4, не превышают температуру окружающей среды более, чем на 60 К.

6.4.2 Зажигание, перекрестное зажигание, стабильность пламени

6.4.2.1 Общие сведения

Все испытания должны выполняться согласно 7.4.2.

6.4.2.2 Нормальные условия

При соблюдении условий выполнения испытаний по 7.4.2.2 и при неподвижном воздухе зажигание и перекрестное зажигание должны выполняться правильно, быстро и бесшумно. Пламя должно быть стабильным. Небольшая тенденция к отрыву в момент зажигания является приемлемой, однако, после этого, пламя должно быть стабильным.

Зажигание горелки должно происходить при всех расходах газа, выдаваемых органами управления так, как заявлено изготовителем и не должно быть проскока или продолжительного отрыва пламени. Кратковременный проскок во время зажигания или гашения горелки является приемлемым, если не влияет на правильность работы. В любом случае, пламя не должно выходить за пределы обшивки.

Постоянная запальная горелка не должна быть погашена во время зажигания или гашения горелки; во время работы котла, пламя запальной горелки не должно изменяться до такой степени, когда оно уже не может выполнять свою функцию (зажигание горелки, работа устройства контроля пламени).

После того, как запальная горелка оставалась зажженной в течение достаточного времени для выхода котла на режим нормальной и регулярной работы, она должна быть всегда готова сработать без нарушений, даже если подача газа на горелку выключалась и включалась посредством нескольких быстрых и последовательных регулировок термостата.

Для котлов, оборудованных устройством установки диапазона, данные требования проверяются как при максимальной тепловой мощности, так и при минимальной тепловой мощности, установленной изготовителем.

Кроме того, для проверки стабильности пламени для котлов, имеющих средства косвенной индикации наличия пламени, концентрация окиси углерода при температурном равновесии сухих продуктов сгорания без избытка воздуха и с использованием предельного газа отрыва пламени, не должна превышать 0,10 %.

При обеспечении восстановления искры или выполнения повторного цикла, вышеприведенные требования должны также соблюдаться.

Особые условия

6.4.2.3 Ветроустойчивость

Пламя должно быть стабильным при условиях выполнения испытаний по 7.4.2.3.

6.4.2.4 Условия в дымоходе (Котлы типа В1)

При соблюдении условий испытаний по 7.4.2.4 не допускается погасание горелки, даже тогда, когда это происходит посредством срабатывания устройства контроля пламени.

6.4.2.5 Сокращение расхода газа горелки зажигания

При соблюдении условий испытаний по 7.4.2.5 и при сокращении расхода газа горелки зажигания до минимального значения, требующегося для поддержания открытой подачи газа на основную горелку, зажигание основной горелки должно обеспечиваться без повреждений котла и без выхода пламени за пределы обшивки.

6.4.2.6 Аварийное закрытие при неисправности газового клапана основной горелки

В случае конструкции газовой линии, при которой предусматривается подача газа на запальную горелку от точки между двумя газовыми клапанами основной горелки, проверяется невозможность, при соблюдении условий испытаний по 7.4.2.6, возникновения опасной ситуации в случае аварийного закрытия газового клапана непосредственно перед основной горелкой при зажженной запальной горелке.

6.4.2.7 Понижение давления газа

При соблюдении условий испытаний по 7.4.2.7 не должно возникать опасных ситуаций для пользователя или повреждений котла.

6.4.2.8 Стабильность пламени запальной горелки

Данное требование применяется при включении постоянной или переменной запальной горелки в состав:

- котла с вентилятором, при этом, исходя из конструкции, вентилятор не работает, пока основная горелка остановлена, или;

- котла с автоматической дымоотводной заслонкой или заслонкой воздуха горения, которая отходит в положение полного закрытия, когда основная горелка остановлена.

Для такого оборудования пламя запальной горелки должно оставаться стабильным при соблюдении условий испытаний по 7.4.2.8.

6.4.3 Предварительная продувка

Для котлов с вентилятором зажиганию горелки должна предшествовать предварительная продувка, за исключением когда:

- котлы, оборудованные постоянной запальной горелкой или переменной запальной горелкой;

- котлы, в которых газовая линия основной горелки оборудована устройством контроля утечек;

- котлы до 150 кВт, оборудованные двумя клапанами Класса С или одним Класса В и одним Класса J (см. 5.13.3.3);

- котлы свыше 150 кВт, оборудованные двумя клапанами Класса В (см. 5.13.3.3).

Предварительная продувка должна соответствовать:

- объему воздуха, превышающему минимум в три раза объем камеры сгорания при расходе воздуха не менее 0,4(Qном.воздух);

- минимальному времени предварительной продувки в 30 с при расходе воздуха, Qном.воздух;

- или при более длительном времени, когда

0,4(Qном.воздух) < Qвоздух < Qном.воздух

Для модульных котлов, в которых продукты сгорания из каждого модуля выходят в общую камеру до того, как войти в дымоотводную систему, предварительная продувка при каждом начальном запуске должна минимум быть в три раза больше объема всей совокупности модулей. При уже работающем хотя бы одном модуле, предварительная продувка по запуску любых других модулей должна быть продувкой, предусмотренной для отдельного модуля.

Для модульных котлов, в которых продукты сгорания из каждого модуля направляются непосредственно в дымоотводную систему, предварительная продувка должна быть процедурой, предусмотренной для отдельного модуля.

Условия выполнения испытаний согласно 7.4.3.

6.5 Устройства регулировки, управления и безопасности

6.5.1 Общие сведения

Следующие требования должны соответствовать условиям выполнения испытаний по 7.5.1. Если иное не предусмотрено, устройства должны работать в экстремальных условиях, а именно, при максимальной температуре, воздействию которой они подвергаются в котле, и при колебаниях напряжения между значениями 1,10 и 0,85 от номинального напряжения и при любом сочетании этих условий.

Для напряжений ниже 85 % номинального значения устройства должны либо продолжать обеспечивать безопасную работу системы, либо приводить к ее остановке.

6.5.2 Устройства зажигания

6.5.2.1 Устройства ручного зажигания для запальных горелок

При соблюдении условий испытаний по 7.5.2.1 минимум половина попыток выполнения ручного зажигания должна приводить к надлежащему зажиганию запальной горелки.

Эффективность устройства зажигания не должна зависеть от рабочей скорости и последовательности. Работа электрических устройств зажигания ручного действия должна оставаться удовлетворительной при воздействии на них экстремальных условий, определенных в 6.5.1.

Подача газа на основную горелку должна разрешаться только после обнаружения пламени запальной горелки.

Автоматическая система зажигания для запальной горелки и основной горелки

6.5.2.2 Зажигание

При соблюдении условий испытаний по 7.5.2.2 устройства прямого зажигания должны обеспечивать безопасное зажигание.

Зажигание должно происходить при каждой попытке выполнения зажигания, начинающейся с открытия клапана (клапанов) и заканчивающейся закрытием клапана (клапанов).

Система зажигания должна включаться не позднее, чем одновременно с сигналом на открытие клапана (клапанов).

Если зажигание не происходит, искра должна оставаться до окончания времени TSA (с допускаемым колебанием в 0,5 секунд). После этого, по крайней мере, должна иметь место кратковременная блокировка.

6.5.2.3 Надежность

Генераторы искры должны выдерживать испытания на надежность состоящие из 250 000 рабочих циклов при условиях выполнения испытаний по 7.5.2.3.

После окончания испытания работа устройства должна оставаться удовлетворительной и соответствовать требованиям 6.5.2.2.

6.5.2.4 Запальная горелка

При соблюдении условий испытаний по 7.5.2.4 тепловая мощность любой запальной горелки, которая остается зажженной при погашенной основной горелке, не должно превышать 250 Вт.

Сигнал на открытие подачи газа на основную горелку должен выдаваться только после обнаружения пламени запальной горелки.

6.5.3 Устройства контроля пламени

Общие сведения

При соблюдении условий выполнения испытаний по 7.5.3.1 должны выполняться следующие требования по безопасным периодам времени.

Термоэлектрическое устройство контроля пламени

6.5.3.1 Время открытия зажигания (TiA)

При соблюдении условий выполнения испытаний по 7.5.3.2 значение ТiA постоянной запальной горелки не должно превышать 30 с, при этом постоянная запальная горелка должна оставаться зажженной.

Это время может быть увеличено до 60 с, если в этот период не требуется никаких действий в ручном режиме.

6.5.3.2 Время задержки погасания (TiE)

При соблюдении условий выполнения испытаний по 7.5.3.3 время задержки погасания термоэлектрического устройства контроля пламени не должно превышать 45 с.

Автоматическая система управления горелкой

6.5.3.3 Безопасное время зажигания (TSA)

а) Если номинальная тепловая мощность запальной горелки не превышает 250 Вт, не существует требований относительно значения TSA,max;

б) Если номинальная тепловая мощность запальной горелки составляет от 250 до 1000 Вт, в отношении значения TSA,max требования не применяются, если изготовителем представлено наглядное обоснование невозможности возникновения опасных ситуаций для пользователя или повреждений котла.

в) Во всех других случаях, значение TSA,max выбирается изготовителем согласно 6.5.3.7. Тем не менее, испытание задержки зажигания не требуется, если значение TSA,max, определенное при условиях проведения испытаний по 7.5.3.4, не превышает 10 с и если оно соответствует одному из следующих требований: (1) или (2)

для Qn ≤ 150 кВт: TSA,max ≤ {(5Qn)/Qign}, с                                     (1)

для 150 кВт < Qn ≤ 300 кВт: TSA,max ≤ {(5×150)/Qign}, с                           (2)

где Qjgn - средняя тепловая мощность в течение защитного времени зажигания.

Время задержки закрытия автоматических отсечных клапанов по ГОСТ Р 51842 не включается в TSA. При выполнении нескольких попыток автоматического зажигания, сумма длительностей попыток зажигания должна соответствовать вышеприведенным требованиям по значению TSA,max.

6.5.3.4 Безопасное время погасания (TSE)

Безопасное время погасания (TSE) не должно превышать 3 с.

Соответствующие условия выполнения испытаний согласно 7.5.3.5.

Последовательности зажигания

6.5.3.5 Автоматическое зажигание запальной горелки или основной горелки при пусковой мощности

Источник зажигания не должен быть запитан до выполнения проверки безопасного запуска системы контроля пламени. Если пламя не было обнаружено по окончанию времени безопасного зажигания, должны последовать безопасная остановка и блокировка.

Сбой пламени, происходящий после зажигания пламени запальной горелки или основной горелки при пусковой мощности, но до того, как основные газовые клапаны безопасности получили сигнал на открытие, должен привести к безопасной остановке или к попытке повторения цикла или восстановления искры. Если, при выполнении попытки повторения цикла или восстановления искры, пламя запальной горелки не обнаруживается в течение безопасного времени зажигания, должны последовать безопасная остановка и блокировка.

Данные требования проверяются при условиях по 7.5.3.6 так, что в соответствии с 6.5.3.7 и 7.5.3.8 не возникает опасных ситуаций для пользователя и не происходит повреждений котла.

6.5.3.6 Прямое зажигание основной горелки

Источник зажигания не должен быть запитан до выполнения проверки безопасного пуска системы контроля пламени. Если пламя основной горелки не было обнаружено по окончанию безопасного времени зажигания, должна последовать безопасная остановка с блокировкой.

Данные требования проверяются при условиях по 7.5.3.7.

6.5.3.7 Зажигание с задержкой

При соблюдении условий выполнения испытаний по 7.5.3.8 не должно возникать опасных ситуаций для пользователя или происходить повреждений котла.

6.5.3.8 Модульные котлы

Для агрегатов, в которых продукты сгорания выводятся в раздельные один от другого каналы или камеры и с их соединением, происходящем только на выходе дымовых газов, одновременное зажигание двух или более модулей должно разрешаться.

Для агрегатов, в которых продукты сгорания из модулей направляются в общую камеру до прохождения в дымоотвод агрегата, должно быть предусмотрено минимальное время разделения в 5 с между зажиганиями любых двух модулей.

Эти требования проверяются при условиях по 7.5.3.9.

6.5.4 Запальная горелка и пусковая мощность

6.5.4.1 Постоянная запальная горелка и переменная запальная горелка

Тепловая мощность постоянной и переменной запальной горелки не должна превышать 250 Вт, при соблюдении условий, предусмотренных в 7.5.4.1.

6.5.4.2 Пусковая мощность основной горелки

Для прямого зажигания основной горелки пусковая мощность не должна превышать 150 кВт. Пусковая мощность должна определяться, как описано в 7.5.4.2.

6.5.5 Проверка воздушной системы

6.5.5.1 Общие сведения

Для котлов с вентиляторами, в зависимости от принципа проверки воздушной системы, должны выполняться требования 6.5.5.2 или 6.5.5.3, или 6.5.5.4 , при соблюдении условий выполнения испытаний по 7.5.5.

6.5.5.2 Контроль воздуха горения или давления продуктов сгорания

В зависимости от выбора изготовителя котел должен соответствовать одному из следующих требований:

- при постепенном понижении подачи напряжения на вентилятор подача газа должна быть остановлена до того, как концентрация СО превысит 0,20 %;

- для напряжения, соответствующего концентрации СО более, чем 0,10 % в тепловом равновесии, повторный пуск не должен быть возможен из холодного состояния.

6.5.5.3 Контроль воздуха горения или расхода продуктов сгорания

В зависимости от выбора изготовителя котел должен соответствовать одному из следующих требований:

- при постепенном блокировании канала удаления продуктов сгорания подача газа должна быть остановлена до того, как концентрация СО превысит 0,20 %;

- для блокирования канала удаления продуктов сгорания, соответствующего концентрации СО более, чем 0,10 % в равновесии, повторный пуск не должен быть возможен из холодного состояния;

- при постепенном понижении подачи напряжения на вентилятор, подача газа должна быть остановлена до того, как концентрация СО превысит 0,20 %;

- для напряжения, соответствующего концентрации СО более, чем 0,10 % в тепловом равновесии, повторный пуск не должен быть возможен из холодного состояния.

Регуляторы соотношения газ/воздух

6.5.5.4 Надежность

Регуляторы соотношения газ/воздух подвергаются испытаниям на надежность состоящие из 250000 рабочих циклов с полным проходом диафрагмы в каждом цикле. После проведения испытания на надежность, регуляторы соотношения газ/воздух проверяются на правильность работы.

6.5.5.5 Утечки на не металлических контрольных трубках

При использовании контрольных трубок, изготовленных не из металла или других материалов с эквивалентными свойствами, их отсоединение, поломка или происходящие на них утечки не должны приводить к возникновению опасных ситуаций. Это подразумевает либо блокировку, либо безопасную работу без утечек газа за пределы аппарата.

6.5.5.6 Эксплуатационная безопасность

В зависимости от выбора изготовителя, котел должен соответствовать одному из следующих требований:

- при постепенном блокировании канала удаления продуктов сгорания подача газа должна быть остановлена до того, как концентрация СО превысит:

- 0,20 % диапазона модуляции, предусмотренного изготовителем, или

- (Q/QKB)×COmes ≤ 0,20 % ниже минимального показателя диапазона модуляции,

где Q - тепловая мощность в настоящий момент времени, кВт;

QKB - тепловая мощность при минимальном показателе диапазона модуляции, кВт;

COmes - измеряемая концентрация СО, %;

- при блокировании выхода канала удаления продуктов сгорания соответствующего концентрации СО более, чем 0,10 %, повторный пуск не должен быть возможен из холодного состояния;

- при постепенном понижении подачи напряжения на вентилятор подача газа должна быть остановлена до того, как концентрация СО превысит 0,20 %;

- при напряжении, соответствующем концентрации СО более, чем 0,10 % в тепловом равновесии, повторный пуск не должен быть возможен из холодного состояния.

6.5.5.7 Регулировка соотношения воздух/газ или газ/воздух

При регулируемом соотношении воздух/газ или газ/воздух устройство должно работать на крайних пределах и диапазон регулируемых давлений должен полностью совпадать с областью регулировки.

6.5.6 Датчики давления газа

6.5.6.1 Общие сведения

Датчики давления газа должны выдавать сигнал на отключение подачи газа при недопустимом отклонении его значения на входе котла.

6.5.6.2 Датчик низкого давления

При оборудовании котла датчиком низкого давления устанавливается, что при испытании в соответствии с 7.5.6.2, устройство срабатывает до того, как устройство контроля пламени отключает подачу газа на основную горелку и, при необходимости, на любую запальную горелку.

6.5.6.3 Датчик высокого давления

При оборудовании котла датчиком высокого давления устанавливается, что при испытании в соответствии с 7.5.6.3, подача газа на основную горелку отключается при давлении, предусмотренном изготовителем.

6.5.7 Термостат управления и защитный термостат

6.5.7.1 Общие сведения

При соблюдении условий по 7.5.7.1 проверяется, что температуры открытия и закрытия устройств не отличаются от указанных изготовителем более, чем на 6 К. Для регулируемых термостатов это требование проверяется при минимальных и максимальных температурах диапазона управления.

Термостат управления

6.5.7.2 Точность регулировки

При соблюдении условий выполнения испытаний по 7.5.7.1:

а) максимальная температура воды котлов, оборудованных термостатом с фиксированными параметрами, должна быть в пределах ±10 °С температуры, определенной изготовителем;

б) для котлов с регулируемым термостатом, должно быть возможным устанавливать в пределах до ±10 °С значения температуры водного потока, определенные изготовителем;

в) температура потока не должна превышать 105 °С;

г) защитный термостат не должен срабатывать.

6.5.7.3 Надежность

Термостат управления подвергается испытаниям на надежность, состоящим из 250000 рабочих циклов при условиях испытания по 7.5.7.3. По окончанию испытаний, его работа должна соответствовать требованиям 6.5.7.2.

Защитный термостат

6.5.7.4 Недостаточная циркуляция воды

При условиях выполнения испытаний по 7.5.7.4 защитный термостат должен вызывать энергонезависимую блокировку котла при повышении температуры воды больше 110 °С.

6.5.7.5 Перегрев

При условиях выполнения испытаний по 7.5.7.5 защитный термостат должен вызывать энергонезависимую блокировку котла при повышении температуры воды больше 110 °С.

6.5.7.6 Надежность

При условиях выполнения испытаний по 7.5.7.6 прерывание связи между датчиком и устройством, отвечающим на его сигналы, должно приводить, как минимум, к безопасной остановке.

Защитный термостат должен выдерживать испытание на надежность, состоящее из 4500 температурных циклов без срабатывания и 500 циклов блокировки и возврата в исходное положение, при соблюдении условий выполнения испытаний по 7.5.7.6. По окончании тестирования его работа должна соответствовать требованиям 6.5.7.4 и 6.5.7.5.

6.5.8 Датчик тяги

При установке датчика тяги (см. 5.13.8), с соблюдением условий выполнения испытаний 7.5.8, проверяется, что для Испытания № 1:

- срабатывание датчика тяги приводит к энергозависимому отключению подачи газа в течение не более 30 с;

- время ожидания до повторного пуска составляет не менее 3 мин.

Для Испытания № 2 проверяется, что при постепенном блокировании дымохода, концентрация СО в продуктах сгорания не превышает 0,10 %.

После Испытания № 3 проверяется, что датчик тяги соответствует требованиям настоящего пункта.

6.5.9 Блокировка отвода конденсата

При выполнении условий выполнения испытаний по 7.5.9 образование конденсата не должно мешать надлежащей работе котла.

В зависимости от выбора изготовителя котел должен соответствовать одному из следующих требований:

а) при блокировании отвода конденсата подача газа должна быть отключена до превышения концентрации СО в продуктах сгорания равной 0,20 %, или

б) при блокировании отвода конденсата, приводящем к ограничению потока продуктов сгорания или воздуха горения, с концентрацией СО равной или превышающей 0,10 % в тепловом равновесии, повторный запуск котла не должен быть возможен из холодного состояния.

Ни в одном случае не должно быть пролива конденсата из котла.

6.6 Сгорание газа

6.6.1 Окись углерода

При соблюдении условий выполнения испытаний по 7.6.1 концентрация СО в сухих неразбавленных воздухом продуктах сгорания не должна превышать:

- 0,10 % при подаче на котел эталонного газа при нормальных условиях тяги (7.6.1.2);

- 0,20 % при подаче на котел предельного газа для неполного сгорания при особых условиях тяги (7.6.1.3) и предельного газа для отрыва пламени (7.6.1.4).

Кроме того, при подаче на котел предельного газа для сажеобразования, отложения сажи не должны наблюдаться, а пожелтение концов пламени является допустимым.

6.6.2 Оксиды азота

В зависимости от предельного содержания оксидов азота (NOX) в сухих неразбавленных воздухом продуктах сгорания, котлы подразделяются на пять классов в соответствии с таблицей 10.

Таблица 10 - Классы NOX

Класс

Предельная концентрация NOX, мг/(кВт ∙ ч)

1

260

2

200

3

150

4

100

5

70

При условиях испытания, указанных в 7.6.2, концентрация NOX в сухих неразбавленных воздухом продуктах сгорания не должна превышать предельных концентраций для котла соответствующего класса.

6.7 Коэффициенты полезного действия (КПД)

6.7.1 КПД при номинальной тепловой мощности

При условиях выполнения испытаний по 7.7.1 значения КПД при номинальной тепловой мощности должны соответствовать приведенным в таблице 11.

Таблица 11

Тип котла

КПД при номинальной тепловой мощности, %

Стандартный

≥ 84 + 2lgРпа)

Низкотемпературный

≥ 87,5 + 1,5lgPna)

а) Рп - номинальная теплопроизводительность, кВт

6.7.2 КПД при пониженной нагрузке

При условиях выполнения испытаний по 7.7.2 значения КПД для нагрузки, соответствующей 30 % номинальной тепловой мощности, должны соответствовать приведенным в таблице 12.

Таблица 12

Тип котла

КПД при 30 % номинальной

Стандартный

≥ 80 + 3lgРпа)

Низкотемпературный

≥ 87,5 + 1,5lgPna)

а) Рп - номинальная теплопроизводительность, кВт

6.8 Конденсация в дымоходе для стандартных котлов

Для стандартных котлов устанавливается факт возможной конденсации, происходящей в дымоходе.

Конденсация может происходить, если достигается соответствие одному из следующих критериев по выбору изготовителя:

а) теплопотери продуктов сгорания в дымоходе составляют более 8 %, при соблюдении условий тестирования по 7.8.1;

б) температура продуктов сгорания составляет менее 80 °С, при соблюдении условий тестирования по 7.8.2.

6.9 Прочность

6.9.1 Общие сведения

Котлы и (или) их элементы должны выдерживать гидравлические испытания.

Такие испытания проводят при условиях испытаний, указанных в 7.9, если эти испытания не были проведены ранее в соответствии с 7.2.3.

Стойкие к воздействию коррозии покрытия не должны иметь видимых повреждений после выполнения испытаний, описанных в разделе 7.9.

6.9.2 Котлы из листовой стали и цветных металлов

При условиях испытания, указанных в 7.9.2, не допускаются утечки и видимые деформации в конце испытаний.

6.9.3 Котлы из чугуна и литых материалов

6.9.3.1 Корпус котла

При условиях испытания, указанных в 7.9.3.1, не допускаются утечки и видимые деформации в конце испытаний.

6.9.3.2 Сопротивление разрыву

При условиях испытания на разрыв, указанных в 7.9.3.2, все испытанные секции теплообменника котла должны оставаться неповрежденными.

6.9.3.3 Поперечные балки

При условиях испытания, указанных в 7.9.3.3, поперечные балки не должны деформироваться.

6.10 Гидравлическое сопротивление

При условиях испытания, указанных в 7.10, значения гидравлического сопротивления или кривая допустимых давлений должны соответствовать значениям, заданным изготовителем.

6.11 Воздушные и дымоотводные заслонки

При условиях испытания, указанных в 7.11, узел заслонки должен продолжать правильно работать и не должно быть деформаций ни одной из частей узла.

6.12 Конденсация в стандартном котле

Если конденсация происходит в дымоходе стандартного котла, согласно одного из критериев раздела 6.8, дополнительные испытания выполняются для установления возможной конденсации, происходящей также и в котле.

При условиях испытания, указанных в 7.12, проверяется факт возможного образования конденсата в котле.

Если в котле происходит конденсация, должны выполняться соответствующие требования, предусмотренные для низкотемпературных котлов в разделах 5.3.1, 5.8.5, 6.5.9, 6.9.1, 7.5.9, и 8.2.1.

7 Методы испытаний

7.1 Общие положения

Обычно применяются следующие пункты, за исключением случаев, где иное отдельно предусмотрено в частных пунктах.

7.1.1 Характеристики эталонного и предельных газов

7.1.1.1 Цель выполнения испытаний

Котлы предназначены для использования газов различного качества. Одна из целей испытаний заключается в проверке работоспособности котлов для каждого семейства газов или групп газов при давлениях, на которые они рассчитаны.

7.1.1.2 Требования к подготовке испытательных газов

Состав газов, используемых для испытаний, должен быть максимально приближенным к составам по таблице 15.

При изготовлении испытательных газов должны быть соблюдены следующие требования:

- число Воббе испытательного газа не должно отклоняться от указанного в таблице 15 более чем на ±2 % (с учетом погрешности измерительного устройства);

- газы, используемые при изготовлении смесей, должны иметь степень чистоты, не менее:

Азот

(N2)...

99 %

Водород

2) ...

99 %

Метан

(СН4)...

95 %

С суммарным содержанием объемных долей водорода, оксида углерода и кислорода менее 1 % и с суммарным содержанием объемных долей азота и диоксида углерода менее 2 %.

Пропилен

3Н6)...

95 %

Пропан

3Н8)...

95 %

Бутан1)

4Н10)...

95 %

1) Разрешается смесь изо- и н-бутанов.

Соблюдение этих условий необязательно для каждого из компонентов, если конечная смесь имеет состав, идентичный составу смеси, которая включала бы в себя компоненты, удовлетворяющие указанным выше условиям. Поэтому при изготовлении смеси можно начинать с газа, уже содержащего в подходящих пропорциях некоторые компоненты конечной смеси.

Для газов второго семейства допускается:

- для испытаний, проводимых с эталонными газами G20 или G25, использовать природный газ, принадлежащий соответственно группе Н, L или Е, даже если его состав не удовлетворяет указанным выше требованиям, при условии, что после добавления пропана или азота конечная смесь имеет число Воббе в пределах ±2 % значений, указанных в таблице 15 для соответствующего эталонного газа.

Для подготовки предельного газа вместо метана в качестве базового можно использовать другой газ:

- для предельных газов G21, G222, G23 - природный газ группы Н;

- для предельных газов G27 и G231 - природный газ групп Н, L или Е;

- для предельного газа G26 - природный газ группы L.

Во всех случаях конечная смесь, полученная добавлением пропана или азота, должна иметь число Воббе в пределах ±2 % значений по таблице 15, а содержание водорода в этой конечной смеси не должно отличаться от указанного в таблице 15.

7.1.1.3 Характеристики и выбор испытательных газов

Состав и основные характеристики испытательных газов указаны в таблицах 13 - 15. Выбор эталонных газов и предельных газов приведен в таблице 16, согласно категории котла.

Испытания должны проводиться только с одним из этих эталонных газов, приоритетность, согласно категории котла, должна быть G20, G25, G30 или G31.

Там, где для выполнения некоторых испытаний разрешено применение реально поставляемого газа, этот газ должен принадлежать к тому же ряду или группе газов, к которой относится заменяемый им эталонный газ.

Таблица 13 - Теплота сгорания испытательных газов третьего семейства

Обозначение испытательного газа

Hi

Hs

МДж/кг

G30

45,65

49,47

G31

46,34

50,37

G32

45,77

48,94

Таблица 14 - Характеристики эталонных газов второго семейства при температуре окружающей среды 0 °С и атмосферном давлении 1013,25 мбар

Группа газов

Испытательный газ

Обозначение

Объемная доля, %

Wi

Hi

Ws

Hs

Относительная плотность газа d

МДж/м3

Н

Эталонный газ

G20

СН4 = 100

48,20

35,90

53,61

39,94

0,555

L

Эталонный газ и предельный газ для проскока пламени

G25

СН4 = 86

N2 = 14

39,45

30,87

43,88

34,34

0,613

Е

Эталонный газ

G20

СН4 = 100

48,20

35,90

53,61

39,94

0,555

Таблица 15 - Характеристики испытательных газов (сухой газ при температуре окружающей среды 15 °С и атмосферном давлении 1013,25 мбар)

Семейство газа

Группа газа

Вид газа

Обозначение

Объемная доля, %

Wi

Hi

Ws

Hs

Относительная плотность газа d

МДж/м3

Первое

а

Эталонный газ, предельные газы для неполного сгорания, отрыва пламени и сажеобразования

G110

СН4 = 26

Н2 = 50

N2 = 24

21,76

13,95

24,75

15,87

0,411

Предельный газ для проскока пламени

G112

СН4 = 17

Н2 = 59

N2 = 24

19,48

11,81

22,36

13,56

0,367

Второе

Н

Эталонный газ

G20

СН4 = 100

45,67

34,02

50,72

37,78

0,555

Предельные газы для неполного сгорания и сажеобразования

G21

СН4 = 87

С3Н8 = 13

49,60

41,01

54,76

45,28

0,684

Предельный газ для проскока пламени

G222

СН4 = 77

Н2 = 23

42,87

28,53

47,87

31,86

0,443

Предельный газ для отрыва пламени

G23

СН4 = 92,5

N2 = 7,5

41,11

31,46

45,66

34,95

0,586

L

Эталонный газ и предельный газ для проскока пламени

G25

СН4 = 86

N2 = 14

37,38

29,25

41,52

32,49

0,612

Предельные газы для неполного сгорания и сажеобразования

G26

СН4 = 80

С3Н8 = 7

N2 = 13

40,52

33,36

44,83

36,91

0,678

Предельный газ для отрыва пламени

G27

СН4 = 82

N2 = 18

35,17

27,89

39,06

30,98

0,629

Е

Эталонный газ

G20

СН4 = 100

45,67

34,02

50,72

37,78

0,555

Предельные газы для неполного сгорания и сажеобразования

G21

СН4 = 87

С3Н8 = 13

49,60

41,01

54,76

45,28

0,684

Предельный газ для проскока пламени

G222

СН4 = 77

Н2 = 23

42,87

28,53

47,87

31,86

0,443

Предельный газ для отрыва пламени

G231

СН4 = 85

N2 = 15

36,82

28,91

40,90

32,11

0,617

Третье

3В/Р

Эталонный газ, предельные газы для неполного сгорания и сажеобразования

G30

н-С4Н10 = 50

изо-С4Н10 = = 50

80,58

116,09

87,33

125,81

2,075

Предельный газ для отрыва пламени

G31

С3Н8 = 100

70,69

88,00

76,84

95,65

1,550

Предельный газ для проскока пламени

G32

С3Н6 = 100

68,14

82,78

72,86

88,52

1,476

Третье

Эталонный газ, предельные газы для неполного сгорания, сажеобразования и отрыва пламени

G31

С3Н8 = 100

70,69

88,00

76,84

95,65

1,550

Предельный газ для проскока пламени

G32

С3Н6 = 100

68,14

82,78

72,86

88,52

1,476

Таблица 16 - Испытательные газы, соответствующие категориям котлов

Категории

Эталонный газ

Предельный газ для неполного сгорания

Предельный газ для проскока пламени

Предельный газ для отрыва пламени

Предельный газ для сажеобразования

I2H

G20

G21

G222

G23

G21

I2L

G25

G26

G25

G27

G26

I2E, I2E+

G20

G21

G222

G231

G21

I3B/P, I3+

G30

G30

G32

G31

G30

I3P

G31

G31

G32

G31

G31, G32

II1a2H

G110, G20

G21

G112

G23

G21

II2H3B/P, II2H3+

G20, G30

G21

G222, G32

G23, G31

G30

II2H3P

G20, G31

G21

G222, G32

G23, G31

G31, G32

II2LB/P

G25, G30

G26

G32

G27, G31

G30

II2L3P

G25, G31

G26

G32

G27, G31

G31, G32

II2E3B/P, II2E+3B/P, II2E+3+

G20, G30

G21

G222, G32

G231, G31

G30

II2E+3P

G20, G31

G21

G222, G32

G231, G31

G31, G32

7.1.1.4 Испытательные давления

Испытательные давления, т.е. давления, требуемые на газовом входе котла, приведены в таблицах 17 и 18.

Таблица 17 - Испытательные давления при отсутствии пары давлений

Семейство газа и категория котла

Испытательный газ

pn, мбар

pmin, мбар

рmax, мбар

Газ первого семейства, la

G110, G112

8

6

15

Газ второго семейства, 2Н

G20, G21, G222, G23

20

17

25

Газ второго семейства, 2L

G25, G26, G27

25

20

30

Газ второго семейства, 2Е

G20, G21, G222, G231

20

17

25

Газ третьего семейства, 3В/Р

G30, G31, G32

291)

25

35

G30, G31, G32

50

42,5

57,5

Газ третьего семейства, 3Р

G31, G32

37

25

45

G31, G32

50

42,5

57,5

1) Котлы этой категории могут использоваться без регулировки при предусмотренных давлениях от 28 до 30 мбар.

Таблица 18 - Испытательные давления при наличии пары давлений

Семейство газа и категория котла

Испытательный газ

pn, мбар

pmin, мбар

рmax, мбар

Газ второго семейства, 2Е+

G20, G21, G222

20

17

25

G231

(25)1)

17

30

Газ третьего семейства, 3+

(пара 28-30/37)

G30

292)

20

35

G31, G32

37

25

45

Газ третьего семейства, 3+

(пара 50/67)

G30

50

42,5

57,5

G31, G32

67

50

80

Газ третьего семейства, 3+

(пара 112/148)

G30

112

60

140

G31, G32

148

100

180

1) Это давление соответствует использованию газов с низким числом Воббе.

2) Котлы этой категории могут использоваться без регулировки при предусмотренных давлениях от 28 до 30 мбар.

7.1.2 Общие условия испытаний

7.1.2.1 Общие положения

За исключением особо оговоренных случаев, при проведении испытаний должны быть выполнены требования, изложенные ниже.

7.1.2.2 Помещение для проведения испытаний

Котел устанавливают в хорошо проветриваемое, не имеющее сквозняков помещение (скорость воздуха не более 0,5 м/с, температура воздуха в помещении около 20 °С); котел должен быть защищен от воздействия прямого солнечного освещения.

7.1.2.3 Установка и отбор проб

Изготовитель должен поставить оборудование со всеми комплектующими, необходимыми для его установки, и с инструкцией по установке.

Для проведения всех испытаний, за исключением отдельно оговоренных случаев, котел устанавливается и применяется с соблюдением условий, предусмотренных в инструкции изготовителя.

За исключением особо оговоренных случаев, на котле создается тяга посредством испытательного дымохода с минимальной высотой, предусмотренной в инструкции изготовителя или высотой 1 м, если минимальное значение не определено в инструкции. Внутренний диаметр испытательного дымохода должен соответствовать минимальному значению, определенному изготовителем и указанному в инструкции. Толщина стенки дымохода составляет менее 1 мм.

Если диаметр дымоотводного канала котла не соответствует наружному диаметру местной системы, соединительная деталь толщиной 1 мм используется для приспособления диаметра дымоотводного канала к диаметру испытательного дымохода.

Высота дымохода измеряется:

- для котлов с дымоотводным каналом с горизонтальной осью - от этой оси;

- для котлов с дымоотводным каналом с вертикальной осью - от плоскости дымоотводного канала.

Пробы продуктов сгорания отбираются в точке дымохода на расстоянии 150 мм от верха, при помощи зонда, показанного на рисунках 3 или 4.

7.1.2.4 Газовый контур

Испытания выполняются с применением эталонных газов и предельных газов на котле, оборудованном соответствующими частями (запальные горелки, регуляторы давления, устройства регулировки, сопла пр.) для диапазона газов, группы газов или газового семейства в соответствии со сведениями, приведенными изготовителем.

7.1.2.5 Водяной контур

Котел подсоединяется к изолированному испытательному стенду, схематично показанному на рисунках 1 или 2, или другому оборудованию, выдающему равнозначные результаты; воздух удаляется из него в соответствии с указаниями в инструкции изготовителя.

Если котел оборудован водяным термостатом с регулировкой до 105 °С или нерегулируемым термостатом с установленным параметром в диапазоне от 70 °С до 105 °С, испытания выполняются при температуре воды на выходе из котла (80 ± 2) °С.

Однако там, где максимальная температура воды на выходе из котла, ввиду особенностей конструкции, не может превысить значения, меньшего чем (80 ± 2) °С, испытания выполняются при максимальной температуре воды на выходе из котла, определенной изготовителем в его технических указаниях.

Клапаны I и II на рисунках 1 или 2 используются для получения разности температур воды в прямой и обратной трубах, равной (20 ± 1) °С или значения, указанного изготовителем, если конструкция системы управления котлом не позволяет осуществлять надежную работу при разности температур 20 °С.

7.1.2.6 Выполнение испытания для получения надлежащей тепловой мощности

Когда при отдельных условиях требуется выполнение испытаний при номинальной тепловой мощности, данные испытания выполняются при:

- номинальной тепловой мощности, или

- максимальной тепловой мощности для котлов с устанавливаемыми диапазонами.

Испытания выполняются с соблюдением следующих условий.

Требуемый расход газа, подлежащий измерению по счетчику, должен быть определен для надлежащей тепловой мощности (номинальной, максимальной или минимальной) по формулам (2) и (3)

для массового расхода

                                                          (2)

или для объемного расхода

                                     (3)

где:

V - измеряемый объемный расход, м3/ч;

М - измеряемый массовый расход, кг/ч;

Qi - соответствующая тепловая мощность, кВт:

- номинальная тепловая мощность;

- максимальная тепловая мощность;

- минимальная тепловая мощность;

Hi - низшая теплота сгорания сухого эталонного газа при 15 °С; 1013,25 мбар, МДж/кг или МДж/м3;

tg - температура газа на счетчике, °С;

рg - давление на счетчике, мбар;

ра - атмосферное давление во время проведения испытания, мбар;

ps - парциальное давление насыщения водяного пара при tg, мбар.

В зависимости от условий подачи, температуры в помещении, атмосферного давления и условия выполнения измерений (сухой счетчик или мокрый), испытательная лаборатория установит порядок получения номинальной тепловой мощности в пределах ±2 %.

При невозможности получения данного расхода газа, должна быть выполнена корректировка котла, за исключением проверки, выполняемой по 7.3.1:

- посредством регулировки определяемого расхода газа с помощью устройства регулировки расхода газа или регулятора котла для котлов регулируемого типа, или

- посредством изменения давления подачи для котлов без устройства регулировки. Все нерегулируемые регуляторы давления должны быть выведены из работы. Для испытаний при предельных давлениях, давления в таблицах 15 и 16 должны быть скорректированы по формуле (4):

                                                           (4)

7.1.2.7 Тепловое равновесие

За исключением отдельно предусмотренного случая, испытания выполняются на котле, находящемся в тепловом равновесии, т.е. когда температура воды на выходе из котла остается постоянной с допустимым колебанием ±2 °С.

При определении КПД температура воды на выходе из котла должна быть постоянной с допустимым колебанием ±0,5 °С.

7.1.2.8 Влияние термостатов

Термостаты или другие регулируемые органы управления, влияющие на расход газа, должны быть отключены, кроме специально указанных случаев.

7.1.2.9 Электропитание

Электрооборудование котла должно работать от электрической сети с номинальным напряжением электропитания, за исключением особо указанных случаев.

7.1.2.10 Погрешность измерений

За исключением отдельно оговоренных случаев, значения погрешностей средств измерений и контроля не должны превышать значений, указанных ниже:

- атмосферное давление                                                                   ±5 мбар

- давление в камере сгорания и в испытательном дымоходе      ±5 % полной шкалы или 0,05 мбар

- давление газа                                                                                  ±2 % полной шкалы

- потеря давления воды                                                                    ±5 %

- расход воды                                                                                     ±1 %

- расход газа                                                                                       ±1 %

- расход воздуха                                                                                ±2 %

- время                                                                                                ± 0,2 с до 1 ч, ±0,1 % более 1 ч

- вспомогательная электроэнергия                                                 ±2 %

- температура:

- окружающей среды                                                                        ±1 К

- теплоносителя                                                                                 ±2 К

- продуктов сгорания                                                                       ±5 К

- газа                                                                                                   ±0,5 К

- поверхности                                                                                    ±5 К

- концентрация СО, СО2; и О2                                                        ±6 % полной шкалы

- теплота сгорания газа                                                                    ±1 %

- плотность газа                                                                                 ±0,5 %

- масса                                                                                                ±0,05 %

- крутящий момент                                                                           ±10 %

- сила                                                                                                  ±10 %

Диапазон измерения измерительных приборов выбирают соответствующим максимальному измеряемому значению. Для определения расхода утечки во время выполнения испытаний на герметичность используется объемный метод, который дает прямые показания расхода утечки и точность которого является таковой, что ошибка в его определении не превышает 0,01 дм3/ч.

Для определения утечки применяется прибор, схематично показанный на рисунке 6, или другой прибор, дающий эквивалентные результаты.

Указанные погрешности измерений касаются индивидуальных измерений. Для измерений, требующих применения сочетания индивидуальных измерений (например, измерения КПД), могут понадобиться более низкие погрешности индивидуальных замеров для получения общей погрешности нужного уровня.

7.2 Герметичность

7.2.1 Герметичность газового контура

Испытания выполняются при температуре окружающей среды, с использованием воздуха.

Два следующих испытания выполняются при поставке котла и до выполнения всех других испытаний, и выполняются снова по окончании всех стандартных испытаний, после пятикратного снятия и замены узлов в газовом контуре, имеющих газонепроницаемые герметичные стыки, снятие которых предусмотрено в инструкции изготовителя по текущему обслуживанию.

Испытание № 1

Проверяется прочность первого запорного элемента по ходу газа (см. 5.13.3.2), все другие запорные элементы остаются открытыми.

Давление газа на входе в котел составляет 150 мбар.

Проверяется соответствие требованию 6.2.1.

Испытание № 2

Расход утечки проверяется при всех открытых клапанах, как если бы котел был в работе, при этом газовый канал блокируется с использованием заглушек, поставляемых изготовителем, вместо сопел.

Давление газа на входе в котел составляет 50 мбар для котлов, не использующих газ третьего семейства, и 150 мбар для котлов, использующих газ третьего семейства.

Проверяется соответствие требованию 6.2.1.

7.2.2 Герметичность контура продуктов сгорания и полнота удаления продуктов сгорания

Котел устанавливается, как описано в 7.1.2, и подсоединяется к дымоходу, как описано в 7.1.2.3, но со снятым зондом отбора проб. Испытание выполняется с одним из эталонных газов данной категории при номинальном давлении и номинальной тепловой мощности.

Испытания на герметичность контура продуктов сгорания на соответствие требованиям раздела 6.2.2 производят поднесением металлической пластины (температуру которой поддерживают несколько выше точки росы окружающего воздуха) к местам возможных утечек продуктов сгорания. Если пластина запотела, то имеется утечка.

В сомнительных случаях утечки обнаруживают с помощью устройства отбора проб, присоединенного к быстродействующему СО2 - газоанализатору, способному определять концентрацию СО2 порядка 0,1 %. Отбор проб не должен мешать нормальному удалению продуктов сгорания.

7.2.3 Герметичность водяного контура

Испытания на герметичность водяного контура на соответствие требованиям раздела 6.2.3 проводят в течение 10 мин давлением воды, в 1,5 раза превышающим максимальное рабочее давление, указанное изготовителем.

7.3 Номинальная, максимальная и минимальная тепловая мощность, номинальная теплопроизводительность

7.3.1 Номинальная, максимальная и минимальная тепловая мощность

На котел подается каждый из эталонных газов для данной категории котлов при номинальном давлении. Для котлов с фиксированной теплопроизводительностью регулировка для этого испытания не изменяется. Все устройства регулировки должны быть установлены в положение, указанное изготовителем. Объемный расход V, полученный при этих условиях (ра, рg, tg, d), должен быть скорректирован, как если бы испытание проводилось при стандартных условиях, (1013,25 мбар, 15 °С, сухой газ) и скорректированная тепловая мощность рассчитывается с применением одной из формул (5), (6), (7), (8).

- При измерении объемного расхода V

                       (5)

откуда:

                                      (6)

- при измерении массового расхода М

                             (7)

из чего:

                                    (8)

где Qc - скорректированная тепловая мощность (1013,25 мбар, 15 °С, сухой газ) при низшей теплоте сгорания газа, кВт;

V - измеряемый объемный расход, выраженный при условиях влажности, температуры и давления на приборе, в кубических метрах в час (м3/ч);

М - измеряемый массовый расход, в килограммах в час (кг/ч);

Hi - низшая теплота сгорания сухого эталонного газа при 15 °С, 1013,25 мбар, в мегаджоулях на кубический метр (МДж/м3) или в мегаджоулях на килограмм (МДж/кг);

tg - температура газа на счетчике, в градусах Цельсия (°С);

d - плотность сухого испытательного газа1);

_____________

1 При использовании влажного счетчика для измерения объемного расхода, может быть необходимым выполнение корректировки по плотности газа для учета его влажности. Значение d заменяется значением dh, устанавливаемым следующей формулой:

где ps - парциальное давление насыщения водяных паров при tg, мбар.

dr - плотность эталонного газа;

рg - давление газа на приборе, в миллибарах (мбар);

ра - атмосферное давление во время выполнения испытания, в миллибарах (мбар).

Проверяется соответствие требованиям 6.3.1.

7.3.2 Регулировка тепловой мощности давлением перед соплами

На котел подается каждый из эталонных газов для данной категории котлов при номинальном давлении.

Устройство регулировки расхода газа устанавливается в положение, обеспечивающее давление перед соплами горелки, указанное изготовителем, измеряемое в контрольной точке на выходе регулятора давления.

Проверяется соответствие тепловой мощности, определяемой согласно 7.3.1, требованиям 6.3.2.

7.3.3 Пусковая мощность

Для котлов, которые разжигаются при тепловой мощности меньшей, чем номинальная тепловая мощность, среднее значение пусковой мощности определяется в соответствии с 7.3.1. Проверяется соответствие требованию 6.3.3.

7.3.4 Номинальная теплопроизводительность

Проверяют, чтобы произведение КПД, определенного при условиях испытания, указанных в 7.7.1, и номинальной тепловой мощности было не меньше номинальной теплопроизводительности.

7.3.5 Регулятор давления газа

Если котел оборудован настраиваемым регулятором давления газа, выполняется регулировка, если требуется, для получения номинальной тепловой мощности с эталонным газом при номинальном давлении, приведенном в 7.1.1.4 и соответствующем этому газу. При сохранении начальной регулировки, давления подачи изменяются между:

- рп и рmax для газов первого семейства;

- pmin и рmax для газов второго и третьего семейства без пары давлений;

- верхн. рп и верхн. рmax для газов второго и третьего семейства с парой давлений.

Данное испытание выполняется для всех эталонных газов, для которых регулятор не выводится из работы. Проверяется соответствие требованию 6.3.5.

7.4 Эксплуатационная безопасность

7.4.1 Температуры поверхностей

7.4.1.1 Общие сведения

Котел устанавливается, как приводится в 7.1.2, на него подается один из эталонных газов или газ из распределительной сети при номинальной тепловой мощности, а регулируемый термостат устанавливается в положение, обеспечивающее наибольшую температуру.

Температуры поверхностей измеряются по достижению теплового равновесия.

7.4.1.2 Температуры поверхностей устройств регулировки, управления и безопасности

Температуры измеряются с использованием температурных датчиков. Проверяется соответствие требованиям 6.4.1.2.

7.4.1.3 Температуры поверхностей боковых стенок, передней поверхности и верхней крышки котла

Температуры самых горячих мест на боковых стенках, передней поверхности и верхней крышке измеряются при помощи температурных датчиков с чувствительными элементами, приложенными к наружным поверхностям этих частей котла.

Проверяется соответствие требованиям 6.4.1.

7.4.1.4 Температура пола

Для определения температур пола, котел должен быть установлен на испытательный пол, например, соответственно рисунку 8. Поверхностные температуры испытательного пола должны измеряться при максимальной теплопроизводительности, минимум в пяти местах.

Рекомендуется выполнять измерение температур поверхности испытательного пола при помощи термопар, как показано на рисунке 9, или применяя имеющиеся в продаже поверхностные температурные датчики.

Проверяется соответствие требованиям 6.4.1.4.

7.4.2 Зажигание, перекрестное зажигание, стабильность пламени

7.4.2.1 Общие сведения

Все испытания выполняются дважды, с котлом при температуре окружающей среды и тепловом равновесии.

7.4.2.2 Нормальные условия

Горелка и запальная горелка зажигания, если она имеется, оборудованные соответствующими инжекторами, сначала регулируются следующим образом: на них последовательно подается каждый из эталонных газов для данной категории котлов так, чтобы получить номинальную тепловую мощность.

Испытание № 1

Испытание выполняется без изменения начальной регулировки горелки и запальной горелки.

Давление на входе котла понижается до 70 % номинального давления для газов первого и второго семейства и до минимального давления - для газов третьего семейства (см. 7.1.2).

При данных условиях подачи, проверяется соответствие требованиям 6.4.2.2.

Это испытание повторяется при минимальной тепловой мощности, позволяемой органами управления, если зажигание возможно при этих условиях.

Испытание № 2

Не меняя начальную регулировку горелки и запальной горелки, эталонные газы заменяются соответствующими предельными газами для проскока пламени, а давление на входе котла сокращается до минимального.

Проверяют правильность зажигания горелки посредством запальной горелки или устройства зажигания и выполнение требований 6.4.2.2.

Это испытание повторяется при минимальной тепловой мощности, позволяемой органами управления, если зажигание возможно при этих условиях.

Испытание № 3

Не меняя начальную регулировку горелки и горелки зажигания, эталонные газы заменяются соответствующими предельными газами для отрыва пламени, а давление на входе котла сокращается до минимального.

Проверяют правильность зажигания горелки посредством запальной горелки или устройства зажигания и перекрестного зажигания элементов горелки с выполнением требований 6.4.2.2.

Это испытание повторяется при минимальной тепловой мощности, позволяемой органами управления, если зажигание возможно при этих условиях.

Испытание № 4

Не меняя начальную регулировку горелки и запальной горелки, на котел подается предельный газ для отрыва пламени при максимальном давлении и проверяется отсутствие отрыва.

Проверяется соответствие требованиям 6.4.2.2.

Испытание № 5

Для котлов со встроенными средствами косвенного указания присутствия пламени, не меняя начальную регулировку горелки и запальной горелки, на котел подается предельный газ для отрыва пламени при номинальном давлении.

Проверяется соответствие требованиям 6.4.2.2.

Особые условия

7.4.2.3 Ветроустойчивость

На котел подается эталонный газ или газ распределительной системы при номинальной тепловой мощности и с воздействием на уровне горелки потоком ветра со скоростью 2 м/с. Поток воздуха должен охватывать всю ширину горелки. Ось потока воздуха лежит на уровне горелки в горизонтальной плоскости, расположенной в пределах полукруга, описанного перед котлом, центр полукруга находится на пересечении плоскости симметрии котла и плоскости испытания. Испытание выполняют при нахождении оси потока воздуха в пределах этого полукруга под одним или несколькими углами падения (по усмотрению испытательной лаборатории).

Испытание проводят сначала при работе только с запальной горелкой, если таковая имеется, а затем с включенной основной горелкой при максимальной и минимальной тепловых мощностях.

Если имеется дверца для зажигания запальной горелки, испытание выполняют при закрытой дверце. Проверяется соответствие требованиям 6.4.2.3.

7.4.2.4 Условия в дымоходе (Котлы типа В1)

На котел подается эталонный газ или газ распределительной системы при номинальной тепловой мощности.

Первое испытание выполняется с применением непрерывной тягой в испытательном дымоходе, направленной вниз со скоростью 3 м/с (см. рисунок 5).

Второе испытание выполняется при полностью перекрытом дымоходе.

Проверяются требования 6.4.2.4.

7.4.2.5 Снижение расхода газа запальной горелки

На горелку и запальную горелку, оборудованные соответствующими соплами, подаются эталонные газы соответствующей категории при номинальной тепловой мощности.

Давление на входе котла снижается до минимального.

Посредством соответствующего устройства регулирования на линии подачи газа на запальную горелку, расход снижается до минимально необходимого для поддержания в открытом состоянии газового клапана. Проверяется, что зажигание горелки посредством запальной горелки происходит в соответствии с требованием 6.4.2.5.

Все огневые отверстия запальных горелок, имеющих несколько огневых отверстий, закрывают, за исключением того, от пламени которого нагревается элемент датчика пламени.

Это испытание повторяется при минимальной тепловой мощности, позволяемой органами управления, если зажигание возможно при этих условиях.

7.4.2.6 Аварийное закрытие при неисправности газового клапана основной горелки

Если подача газа на горелку зажигания происходит из точки между двумя автоматическими клапанами основной горелки, автоматический клапан непосредственно перед основной горелкой искусственно поддерживается открытым. На котел подается эталонный газ или газ из распределительной системы при номинальной тепловой мощности.

При этих условиях проверяется выполнение требований 6.4.2.6.

7.4.2.7 Снижение давления газа

Действуя в соответствии с Испытанием № 1 по 7.4.2.2, зажигание включается с постепенным снижением значения входного давления, пока подача газа не будет прервана срабатыванием устройства контроля пламени или датчиком низкого давления (если установлен).

Проверяется соответствие требованиям 6.4.2.7.

7.4.2.8 Стабильность пламени запальной горелки

На котел подается предельный газ для неполного сгорания при максимальном давлении. На оборудовании в холодном состоянии зажигается запальная горелка и оставляется в работе в течение 1 часа.

Проверяется соответствие требованиям 6.4.2.8.

7.4.3 Предварительная продувка

7.4.3.1 Общие сведения

При соблюдении условий выполнения испытаний, определенных ниже, проверяется соответствие требованиям 6.4.3 согласно варианту, выбранному изготовителем.

7.4.3.2 Объем предварительной продувки

Расход измеряется на выходе канала удаления продуктов сгорания при температуре окружающей среды, при выключенном котле в холодном состоянии, с подачей номинального напряжения на вентилятор и в текущих условиях выполнения предварительной продувки.

Расход корректируется по контрольным условиям. Объем контура горения определяется изготовителем.

7.4.3.3 Время выполнения предварительной продувки

Проверяется выполнение предварительной продувки перед зажиганием. Длительность предварительной продувки должна быть не менее определенной в 6.4.3.

7.5 Устройства регулировки, управления и безопасности

7.5.1 Общие сведения

За исключением отдельно оговоренных случаев, испытания выполняются при температуре окружающей среды и при максимальной температуре.

7.5.2 Устройства зажигания

7.5.2.1 Устройства ручного зажигания для горелок зажигания

Испытания выполняются с каждым из эталонных газов для данной категории котлов при номинальном теплопотреблении.

Горелки зажигания, оборудованные соответствующими инжекторами и отрегулированные сначала на номинальное теплопотребление, включаются 40 раз после первой положительной попытки зажигания с интервалами минимум в 1,5 с.

Проверяется соответствие требованиям 6.5.2.1.

Автоматическая система зажигания для запальной горелки и основной горелки

7.5.2.2 Зажигание

Горелка и горелка зажигания, оборудованные соответствующими соплами, устанавливаются, если необходимо и как указано изготовителем, на номинальную тепловую мощность. Испытания выполняются с каждым из эталонных газов для данной категории котлов при номинальном давлении и напряжении, составляющем 0,85 от номинального напряжения.

После первого успешного зажигания, делается 20 попыток зажигания со временем ожидания между ними в 30 с и с котлом при температуре окружающей среды.

После первого успешного зажигания, выполняются 20 попыток зажигания со временем ожидания между ними в 30 с сразу после того, как котел был намеренно погашен при его нахождении в тепловом равновесии.

Проверяется соответствие требованиям 6.5.2.2.

7.5.2.3 Надежность

Испытания выполняются при температуре окружающей среды. На генераторы искры подается напряжение, превышающее в 1,1 раза номинальное напряжение. Длительность формирования искры и время ожидания между последовательными попытками определяются устройством автоматического управления. После выполнения испытаний износостойкости проверяется соответствие требованиям 6.5.2.3.

7.5.2.4 Запальная горелка

Тепловую мощность запальной горелки определяют подачей на нее эталонного газа или газов при максимальном давлении, приведенном в 7.1.1.4, для газов первого семейства и при номинальном давлении для газов второго и третьего семейств. Если запальная горелка имеет устройство регулировки расхода газа, то она регулируется в соответствии с указаниями в инструкции изготовителя.

Проверяется соответствие требованиям 6.5.2.4.

7.5.3 Устройство контроля пламени

7.5.3.1 Общие сведения

Испытания 7.5.3 сначала выполняются с эталонным газом или газом из имеющейся распределительной системы, соответствующим категории котла, при этом котел подключен к электропитанию с номинальным напряжением.

Термоэлектрическое устройство контроля пламени

7.5.3.2 Время открытия зажигания (TiA)

При нахождении котла при температуре окружающей среды включается подача газа и запальная горелка зажигается. По истечении предельного времени для TiA, установленного в 6.5.3.2, ручная помощь прекращается и проверяется, чтобы запальная горелка продолжала гореть.

7.5.3.3 Время задержки погасания (TiE)

На котел последовательно подается каждый из эталонных газов соответствующего семейства. Котел вначале работает в течение, не менее, 10 минут на номинальной подводимой тепловой мощности.

Время задержки погасания измеряется между моментом, когда запальная горелка и основная горелка преднамеренно гасятся путем отключения газа и моментом, когда после повторного включения подачи газа расход газа прекращается за счет срабатывания устройства безопасности.

Для обнаружения момента прекращения подачи газа может быть использован газовый счетчик или другое соответствующее устройство.

Проверяется соответствие требованиям 6.5.3.2.

Автоматическая система управления горелкой

7.5.3.4 Безопасное время зажигания (TSA)

Безопасное время зажигания (TSA,max) проверяется при крайних условиях электропитания и температуры (в холодном состоянии и при тепловом равновесии).

При погашенной соответствующей горелке детектор пламени разъединяется. Подается команда на поступление газа на запальную горелку или основную горелку, как требуется, и измеряется время, проходящее между этой командой и моментом, когда детектор пламени отключает подачу газа.

Проверяется соответствие требованиям 6.5.3.3.

7.5.3.5 Безопасное время погасания (TSE)

На котел последовательно подается каждый из эталонных газов соответствующего семейства. Котел работает в течение не менее 10 мин при номинальной подводимой тепловой мощности.

Безопасное время погасания измеряется между моментом, когда запальная горелка и основная горелка преднамеренно гасятся путем отключения газа и моментом, когда после повторного включения подачи газа расход газа прекращается за счет срабатывания устройства безопасности.

При работающей горелке сбой пламени имитируется разъединением детектора пламени и замеряется время, проходящее между этим моментом и моментом, когда устройство контроля пламени действительно отключает подачу газа.

Для обнаружения момента прекращения подачи газа может быть использован газовый счетчик или другое соответствующее устройство.

Проверяется соответствие требованиям 6.5.3.4.

Последовательности зажигания

7.5.3.6 Автоматическое зажигание запальной горелки или основной горелки при пусковой мощности

Попытка выполнения зажигания выполняется при отключенной подаче газа на котел. После неудавшегося зажигания подтверждается факт блокировки.

С подключением подачи газа на котел запальная горелка или устройство зажигания включаются. Включение основной горелки допускается только при пусковой мощности. После отключения подачи газа подтверждается факт остановки, восстановления искры или повторного цикла.

При выполнении попытки восстановления искры или повторного цикла подтверждается, что после невыполнения обнаружения пламени происходит блокировка.

7.5.3.7 Прямое зажигание основной горелки

Выполняется попытка зажигания при отключенной подаче газа на котел. Определяется время обесточивания источника зажигания. Проверяется, что после невыполнения обнаружения пламени происходит блокирование.

7.5.3.8 Зажигание с задержкой

Котел устанавливается, как указано в 7.1.2. На котел последовательно подается каждый из эталонных газов категории котла при номинальном давлении.

Выполняется серия испытаний с подачей газа на котел при пусковой мощности и в холодном состоянии. Контур зажигания котла отключен. Первое испытание выполняется с подачей газа в течение 1 с, после чего контур зажигания включается. Последующие испытания выполняются с постепенным увеличением времени до окончания TSA,max. В конце каждого периода времени контур зажигания включается.

Проверяется соответствие требованиям 6.5.3.5.

7.5.3.9 Модульные котлы

Для агрегатов с выпуском продуктов сгорания в общую камеру до их попадания в дымоотвод агрегата после сигнала на зажигание агрегата определяется период времени между зажиганием двух модулей. Проверяется соответствие требованиям 6.5.3.8.

7.5.4 Запальная горелка и пусковая мощность

7.5.4.1 Постоянная запальная горелка и переменная запальная горелка

Тепловая мощность запальной горелки определяется подачей на нее эталонного газа или газов при максимальном давлении, приведенном в 7.1.1.4 - для газов первого семейства и при номинальном давлении -для газов второго и третьего семейства. При наличии устройства регулировки расхода газа у запальной горелки, выполняется регулировка в соответствии с указаниями инструкции изготовителя.

7.5.4.2 Пусковая мощность основной горелки

Пусковая мощность определяется посредством подачи на горелку эталонного газа или газов при максимальном давлении, приведенном в 7.1.1.4, для газов первого семейства и при номинальном давлении - для газов второго и третьего семейства.

Проверяется соответствие требованиям 6.5.4.2.

7.5.5 Проверка воздушной системы

7.5.5.1 Общие сведения

Котел устанавливается, как указано в 7.1.2. На котел подается один из эталонных газов категории, к которой он принадлежит.

Концентрация СО определяется, как предусмотрено в 7.6.1.

7.5.5.2 Контроль воздуха горения или давления продуктов сгорания

Котел устанавливается на номинальную тепловую мощность. Значения концентрации СО и СО2 измеряются непрерывно. По выбору изготовителя, выполняется одно из следующих испытаний:

- напряжение на выводах вентилятора постепенно снижается. Проверяется отключение подачи газа до того, как концентрация СО в продуктах сгорания превысит 0,20 %;

- при нахождении котла в холодном состоянии напряжение на вентиляторе постепенно увеличивается с нуля. Определяется напряжение, при котором включается горелка. При этом напряжении проверяется в состоянии теплового равновесия, что концентрация СО в продуктах сгорания не превышает 0,10 %.

7.5.5.3 Контроль воздуха горения или расхода продуктов сгорания

Испытание выполняется при нахождении котла в тепловом равновесии при номинальной тепловой мощности или, а для модулирующих котлов при максимальной тепловой мощности, минимальной тепловой мощности и тепловой мощности, соответствующей среднему арифметическому этих двух тепловых мощностей. При предусмотренных нескольких расходах требуются дополнительные испытания при каждом из этих расходах.

Значения концентрации СО и СО2 измеряются непрерывно. По выбору изготовителя выполняется одно из следующих испытаний:

- дымоотвод постепенно блокируется; для котлов типа В1 блокирование происходит перед тягостабилизатором. Проверяется отключение подач газа до того, как концентрация СО в продуктах сгорания превысит 0,20 %;

- при нахождении котла в холодном состоянии и блокированном дымоотводе, дымоотвод постепенно открывается. Определяется блокировка, при которой горелка зажигается; для котлов типа В1, блокировка происходит перед тягостабилизатором. При этом блокировании в состоянии теплового равновесия концентрация СО в продуктах сгорания не должна превышать 0,10 %;

- напряжение на выводах вентилятора постепенно снижается. Проверяется отключение подачи газа до того, как концентрация СО в продуктах сгорания превысит 0,20 %;

- при нахождении котла в холодном состоянии напряжение на вентиляторе постепенно увеличивается с нуля. Определяется напряжение, при котором включается горелка. При этом напряжении в состоянии теплового равновесия проверяется концентрация СО в продуктах сгорания, которая не должна превышает 0,10 %.

Регуляторы соотношения газ/воздух

7.5.5.4 Надежность

Воздух подается на регулятор соотношения газ/воздух при температуре окружающей среды в направлении потока газа. Расход не должен превышать ±10 % заявленного значения.

Давление газа на входе регулятора соотношения газ/воздух устанавливается равным максимальному давлению, приведенному в 7.1.1.4 для соответствующей категории котлов и определенным изготовителем.

Если испытание выполняется вне котла, регулятор соотношения газ/воздух устанавливается на испытательный стенд с клапанами быстрого закрытия до и после регулятора соотношения газ/воздух.

Испытательный стенд программируется таким образом, что первый клапан открывается, когда второй закрывается, и полный цикл происходит каждые 10 с.

При установке регулятора соотношения газ/воздух на котле устройство проходит аналогичное тестирование на надежность. По окончании испытания на надежность проверяется соответствие требованиям 6.5.5.4.

7.5.5.5 Утечки на не металлических контрольных трубках

Котел устанавливается, как указано в 7.1.2. На него подается эталонный газ при номинальной тепловой мощности.

Требования 6.5.5.5 проверяются при различных ситуациях, которые могут возникнуть, в частности:

- имитация утечки из трубки сжатого воздуха;

- имитация утечки из напорной трубки камеры сгорания;

- имитация утечки из трубки сжатого газа.

Когда трубки выполнены из металла с соответствующими механическими штуцерами или из других материалов с аналогичными свойствами, они считаются неподверженными разрывам, случайным отсоединениям или возникновению утечек после того, как изначально прошли проверку на прочность.

7.5.5.6 Эксплуатационная безопасность

Котел работает при номинальной тепловой мощности. По выбору изготовителя проводится одно из следующих испытаний:

- дымоотвод постепенно блокируется; для котлов типа В1 блокирование происходит перед стабилизатором тяги. Проверяется соответствие требованиям 6.5.5.6;

- при нахождении котла в холодном состоянии и с блокированным дымоотводом, дымоотвод постепенно открывается. Определяется блокировка, при которой горелка зажигается; для котлов типа В1 блокирование происходит перед стабилизатором тяги. При этой блокировке в состоянии теплового равновесия проверяется концентрация СО продуктов сгорания, которая не должна превышать 0,10 %;

- напряжение на выводах вентилятора постепенно снижается. Проверяется, что подача газа отключается до того, как концентрация СО продуктов сгорания превысит 0,20 %;

- при нахождении котла в холодном состоянии напряжение на вентиляторе постепенно увеличивается с нуля. Определяется напряжение, при котором включается горелка. При этом напряжении проверяется в состоянии теплового равновесия, что концентрация СО газов сгорания не превышает 0,10 %.

7.5.5.7 Регулировка соотношения воздух/газ или газ/воздух

Для устройств автоматической регулировки соотношения воздух/газ или газ/воздух проводятся дополнительные испытания при максимальных и минимальных соотношениях.

Проверяется соответствие требованиям 6.5.5.7.

7.5.6 Датчики давления газа

7.5.6.1 Общие сведения

Испытания датчиков давления газа проводятся при работе котла на номинальной тепловой мощности.

7.5.6.2 Датчик низкого давления

Котел устанавливается в соответствии с 7.1.2 с подачей соответствующего эталонного газа или газа имеющейся распределительной системы при номинальном давлении. Подача газа на вход аппарата постепенно снижается и проверяется соответствие требованиям п. 6.5.6.2.

7.5.6.3 Датчик высокого давления

Котел устанавливается в соответствии с п. 7.1.2 с подачей соответствующего эталонного газа или газа имеющейся распределительной системы при номинальном давлении. Подача газа на вход аппарата постепенно увеличивается и проверяется соответствие требованиям 6.5.6.3.

7.5.7 Термостат управления и защитный термостат

7.5.7.1 Общие сведения

При выполнении испытаний вне котла датчик и корпус термостатов устанавливаются в термостатическую камеру. Температурой корпуса является максимальная температура, которой устройство подвергается на котле, измеряемой при достижении теплового равновесия (при этом регулируемый термостат устанавливается в положение, обеспечивающее наибольшую температуру), с применением эталонного газа или газа распределительной системы при номинальной тепловой мощности, тогда как датчик подвергается одному из следующих воздействий:

а) температуре, равной 0,7 от максимальной температуры для регулируемых термостатов;

б) максимальной температуре, установленной изготовителем для нерегулируемых термостатов.

Шестьдесят процентов циклов выполняются при значении напряжения равном 1,10 от номинального напряжения; остальные испытания - при значении напряжения равном 0,85 от номинального напряжения.

По окончании этих испытаний проверяется соответствие требованиям 6.5.7.1.

Термостат управления

7.5.7.2 Точность регулировки

Котел устанавливается согласно 7.1.2 и регулируется на номинальную тепловую мощность с одним из эталонных газов или газом распределительной системы для соответствующей категории котлов. Используя клапан управления I на рисунках 1 или 2, расход холодной воды устанавливается на получение скорости увеличения температуры потока около 2 К/мин.

Для регулируемого термостата выполняются два испытания:

- испытание при максимальной установочной температуре;

- испытание при минимальной температуре.

При выполнении условий испытания котел запускается из холодного состояния и органы управления не регулируются. Проверяется соответствие требованиям 6.5.7.2.

7.5.7.3 Надежность

Испытание на надежность выполняется в соответствии с ГОСТ Р МЭК 730-2-9. Проверяется соответствие требованиям 6.5.7.3.

Защитный термостат

7.5.7 .4 Недостаточная циркуляция воды

Котел устанавливается, как указано в 7.5.7.1.

При помощи клапана управления II на рисунках 1 или 2 расход воды, проходящей через котел, постепенно уменьшается со скоростью уменьшения температуры воды около 2 К/мин, при этом проверяется соответствие требованиям 6.5.7.4.

7.5.7.5 Перегрев

При нахождении котла в состоянии теплового равновесия и после выведения из действия термостата управления расход холодной воды на котле постепенно уменьшают при помощи клапана управления I на рисунках 1 или 2 со скоростью увеличения температуры потока около 2 К/мин, пока не погаснет горелка.

Проверяется соответствие требованиям 6.5.7.5.

7.5.7.6 Надежность

Испытание на надежность выполняется в соответствии с ГОСТ Р МЭК 730-2-9.

После выполнения испытаний проверяется соответствие требованиям 6.5.7.6.

При нахождении котла в тепловом равновесии связь между датчиком и устройством, реагирующим на его сигнал, прерывается1). Проверяется выполнение требований 6.5.7.6.

_____________

1) Если испытание заканчивается разрушением защитного термостата, между испытательной лабораторией и изготовителем должно быть согласовано выполнение соответствующего испытания на защитном термостате, поставленном изготовителем отдельно.

7.5.8 Датчик тяги

На котел подается эталонный газ и выполняются регулировки в соответствии с 7.6.1.2 и 7.6.1.3; котел находится при температуре окружающей среды.

Испытание № 1

Испытательный дымоход блокируется, после чего котел запускается в работу. Проверяется срабатывание датчика тяги с энергозависимым отключением подачи газа при значениях времени, приведенных в 6.5.8.

Испытательный дымоход остается блокированным: проверяется, что автоматический перезапуск котла не происходит до истечения задержки, приведенной в 6.5.8.

Испытание № 2

При нахождении котла в тепловом равновесии испытательный дымоход постепенно блокируется. Проверяется, что в точке энергозависимого отключения подачи газа, вызываемого датчиком тяги, количество СО в сухих не разбавленных воздухом продуктах сгорания не превышает предельного значения, приведенного в 6.5.8.

Испытание № 3

Котел работает в течение 4 часов с блокированным дымоходом при тепловом равновесии с номинальной тепловой мощностью и максимальной температурой воды; при этом датчик тяги приводится в нерабочее состояние. После выполнения данного испытания, проверяется соответствие прибора требованиям 6.5.8.

7.5.9 Блокировка отвода конденсата

Котел устанавливается, как указано в 7.1.2. На котел подается один из эталонных газов для категории, к которой он принадлежит.

Отвод конденсата блокируется.

Котел работает при условиях температуры и тепловой мощности, предусмотренных для низкотемпературных котлов либо в 7.7.2.3, либо в 7.7.2.4, по выбору изготовителя.

По выбору изготовителя проводится одно из следующих испытаний:

- котел работает, производя конденсат, пока не происходит его безопасное отключение или блокировка. Концентрация СО продуктов сгорания определяется в точке остановки;

- проверяется соответствие условиям 6.5.9, а);

- котел работает, производя конденсат, пока концентрация СО продуктов сгорания не достигает значения 0,10 %, при котором котел отключают и оставляют остывать до температуры окружающей среды. Котел включают в ручном режиме, при этом перезапуск не должен произойти. Конденсату позволяют стечь из котла до достижения уровня, при котором перезапуск происходит. Дальнейший дренаж конденсата останавливают. Измеряют концентрацию СО.

Проверяется соответствие условиям 6.5.9, б).

Примечание - Время выполнения испытания может быть сокращено с помощью искусственного наполнения системы отвода конденсата водой.

7.6 Сгорание

7.6.1 Окись углерода

7.6.1.1 Общие сведения

На котел подается газ и, если необходимо, выполняется регулировка согласно указаниям, приведенным в 7.6.1.2 и 7.6.1.3.

Для котлов с устанавливаемым диапазоном испытания выполняются при максимальной и минимальной установленной тепловой мощности. Для котлов с плавным регулированием подводимой тепловой мощности испытания выполняют при номинальной тепловой мощности и минимальной тепловой мощности, задаваемыми системой управления.

Проба продуктов сгорания берется по достижению котлом теплового равновесия.

Концентрацию СО % в сухих неразбавленных воздухом продуктах сгорания определяют по формуле (9)

                                                     (9)

где СО - концентрация окиси углерода в сухих неразбавленных воздухом продуктах сгорания, %;

(CO2)N - максимальная концентрация двуокиси углерода в сухих неразбавленных воздухом продуктах сгорания для применяемого газа, %;

(СО)М и (СО2)М - измеренные концентрации окиси углерода и двуокиси углерода в пробах, отобранных в процессе проведения испытания, %.

Концентрации (CO2)N для испытательных газов приведены в таблице 19.

Таблица 19 - Максимальные концентрации (CO2)N для испытательных газов

Обозначение газа

G20

G21

G23

G25

G26

G27

G30

G31

(CO2)N, %

11,7

12,2

11,6

11,5

11,9

11,5

14,0

13,7

Обозначение газа

G110

G120

G130

G140

G141

G150

G231

G271

(CO2)N, %

7,6

8,35

13,7

7,8

7,9

11,7

11,5

11,2

Концентрация СО, % в сухих неразбавленных воздухом продуктах сгорания может также быть вычислена по формуле (10)

                                                (10)

где: (О2)М и (СО)М - измеренные концентрации окиси углерода и кислорода в пробах, отобранных в процессе проведения испытания, %.

Применение этой формулы рекомендуется при концентрации СО2 менее 2 %.

7.6.1.2 Нормальные условия тяги

Котлы устанавливаются в хорошо проветриваемом помещении, установка и регулировка выполняются в соответствии с 7.1.2.

а) Котел сначала испытывается с эталонным газом или эталонными газами соответствующей категории:

- для нерегулируемых котлов или котлов без устройства регулировки расхода газа испытание выполняется с подачей на котел максимального давления, приведенного в 7.1.1.4;

- для нерегулируемых котлов с устройством регулировки расхода газа испытание выполняется с выполнением регулировки горелки таким образом, чтобы получить расход газа в 1,1 раза больший, чем расход, соответствующий номинальной тепловой мощности;

- для регулируемых котлов это испытание выполняют при расходе газа, в 1,07 раза превышающем расход, соответствующий номинальной тепловой мощности, для газов первого семейства или в 1,05 раза превышающем расход, соответствующий номинальной тепловой мощности, для газов второго и третьего семейств;

- котлы с устройством регулировки расхода газа или регулятором, который выводится из действия для одного или более газовых семейств, испытываются последовательно при различных предусмотренных условиях подачи газа.

Проверяется соответствие требованиям 6.6.1.

б) После выполнения испытания с эталонным газом или газами котел испытывается с предельным испытательным газом неполного сгорания для соответствующей категории котлов.

Для выполнения этого испытания на котел в четырех вышеупомянутых случаях вначале подается эталонный газ, тепловая мощность регулируется так, чтобы она в 1,05 раза превышала номинальную тепловую мощность, если котел оснащен регулирующим устройством, или в 1,075 раза превышала номинальную тепловую мощность, если котел не имеет такого устройства1).

_____________

1) Если котел предназначен для установки исключительно с газовым счетчиком, может быть применен коэффициент 1,05.

Затем без изменения регулировок котла или давления подачи газа эталонный газ заменяется соответствующим газом для неполного сгорания.

Проверяется соответствие требованиям 6.6.1.

в) После испытания (испытаний) с предельным газом (предельными газами) для неполного сгорания котел испытывается с предельным газом (предельными газами) для сажеобразования для соответствующей категории котлов.

При выполнении условий б) предельный газ для неполного сгорания заменяется предельным газом для сажеобразования.

Котел должен проработать в течение не более 15 минут.

Затем визуальным осмотром проверяют соответствие требованиям 6.6.1 (последний абзац).

Особые условия тяги

7.6.1.3 Дополнительные испытания для котлов типа В1 при особых условиях тяги

Испытания выполняются с каждым из эталонных газов, соответствующих категории котлов при номинальной тепловой мощности; котел подсоединяется к испытательному дымоходу наибольшего диаметра, указанного изготовителем в его инструкции.

Первое испытание выполняется с заблокированным испытательным дымоходом.

Второе испытание выполняется с применением непрерывной нисходящей тяги при скоростях 0,5; 1; 1,5; 2 м/с. Датчик тяги отключают.

Проверяется соответствие требованиям 6.6.1.

7.6.1.4 Колебания напряжения

Для котлов с вентилятором проверяется соответствие требованиям 6.6.1 при изменении напряжения питания между 85 % и 110 % от номинального напряжения, указанного изготовителем. На котел подается соответствующий эталонный газ (газы) соответствующей категории (категорий) при номинальном давлении.

7.6.1.5 Испытание сгорания с предельным газом для отрыва пламени

Регулировка изменяется следующим образом:

- для котлов без регуляторов давления или регуляторов соотношения газ/воздух давление на входе котла снижается до минимального давления, указанного в 7.1.1.4;

- для котлов с регуляторами, котел устанавливается на тепловую мощность, составляющую 0,95 от минимальной тепловой мощности.

Затем эталонный газ заменяется предельным газом для отрыва пламени. Проверяется выполнение требований 6.6.1.

7.6.2 Оксиды азота

7.6.2.1 Общие сведения

Котел устанавливается и регулируется в соответствии с 7.1.2.

Испытания котлов, использующих газы второго семейства, выполняют на газе G20.

Испытания котлов, использующих только газ G25, выполняют на газе G25.

Испытания котлов, предназначенных для использования только газов третьего семейства, выполняют на газе G30, а предельное значение концентрации NOх умножают на коэффициент 1,3.

Испытания котлов, предназначенных для использования только пропана, выполняют на газе G31, а предельное значение концентрации NOх умножают на коэффициент 1,2.

Испытание выполняют при работе котла на номинальной тепловой мощности в состоянии теплового равновесия при температуре воды на выходе из котла 80 °С, на входе - 60 °С.

Для определения значений концентрации NOх при пониженной нагрузке температуру воды на входе в котел рассчитывают по формуле (11)

Tв = (0,4×Q) + 20,                                                       (11)

где Тв - температура воды на входе в котел, °С

Q - пониженная подводимая тепловая мощность, % номинальной тепловой мощности (Qn).

Измерения NOх выполняются при нахождении котла в тепловом равновесии. Мокрые счетчики не применяются.

Нормальные условия для испытаний:

- температура окружающего воздуха 20 °С;

- абсолютная влажность воздуха 10 г/кг.

Испытание допускается выполнять при условиях, отличных от нормальных:

- температура окружающего воздуха от 15 °С до 25 °С;

- абсолютная влажность воздуха от 5 до 15 г/кг.

При этом, если условия испытания отличаются от нормальных условий, значение концентрации NOx следует привести к нормальным условиям по формуле (12)

                        (12)

где NOx,0 - значение концентрации NOх, мг/(кВт ∙ ч), приведенное к нормальным условиям;

NOx,m - значение концентрации NOх, измеренное при температуре Тт и абсолютной влажности hm, мг/(кВт ∙ ч) в диапазоне от 50 мг/(кВт ∙ ч) до 300 мг/(кВт ∙ ч);

hm - абсолютная влажность воздуха при испытании, г/кг в диапазоне от 5 г/кг до 15 г/кг;

Тт - температура окружающей среды, °С в диапазоне от 15 °С до 25 °С.

Измерение значений концентрации NOх выполняют при нагрузках котла, указанных в 7.6.2.2.

Значение концентрации NOх не должно превышать предельных значений по таблице 10 (см. 6.6.2) для выбранного класса котла.

Соотношения между единицами физической величины концентрации NOх приведены в приложении Ж.

Нагрузка котла

7.6.2.2 Общие сведения

Концентрацию NOх определяют при тепловой мощности, указанной в 7.6.2.2 - 7.6.2.6 с учетом нагрузочных коэффициентов по таблице 20.

Таблица 20 - Нагрузочные коэффициенты

Пониженная тепловая мощность, Qpi, % номинальной тепловой мощности, Qn

Нагрузочный коэффициент, Fpi

70

0,15

60

0,25

40

0,30

20

0,30

Для котлов с устанавливаемыми диапазонами тепловой мощности Qn заменяют на среднеарифметическое значение максимальной и минимальной тепловой мощности Qa.

7.6.2.3 Котлы с нерегулируемой тепловой мощностью

Концентрация NOх измеряется (и возможно корректируется, как указано в 7.6.2.1) при номинальной тепловой мощности Qn.

7.6.2.4 Котлы со ступенчатым регулированием тепловой мощности

Концентрацию NOх измеряют (и при необходимости корректируют в соответствии с 7.6.2.1 для каждого фиксированного значения тепловой мощности котла.

Если два соседних фиксированных значения тепловой мощности котла Qlow rate и Qhigh rate не совпадают с указанными в таблице 20 и в интервал между ними попадает одно значение пониженной тепловой мощности из таблицы 20, нагрузочные коэффициенты вычисляют по формулам (13), (14)

                                    (13)

Fp.low rate = Fpi - Fp.high rate,                                                   (14)

где Fp.high rate и Fp.low rate - соответственно нагрузочные коэффициенты для большего и меньшего из двух соседних фиксированных значений тепловой мощности котла;

Fpi - нагрузочный коэффициент для пониженной тепловой мощности Qpi в соответствии с таблицей 20;

Qpi - пониженная тепловая мощность в соответствии с таблицей 20;

Qlow rate - меньшее из двух фиксированных значений тепловой мощности котла, кВт;

Qhigh rate - большее из двух фиксированных значений тепловой мощности котла, кВт;

Если в интервал между двумя соседними фиксированными значениями тепловой мощности котла попадает более одного значения пониженной тепловой мощности из таблицы 20, то нагрузочные коэффициенты вычисляют для каждого из этих значений по вышеприведенным формулам.

При этом концентрацию NOх, мг/(кВт ∙ ч)* определяют как сумму произведений NOх и FР всех фиксированных значений тепловой мощности по формуле (15)

NOх = Σ(NOхi изм×FР),                                                      (15)

где NOхi изм - измеренное (и при необходимости скорректированное) значение концентрации NOх в каждом из фиксированных значений тепловой мощности;

FP - нагрузочный коэффициент для каждого из фиксированных значений подводимой тепловой мощности.

_____________

* Пример вычисления NOх см. в приложении Ж.

7.6.2.5 Котлы с плавным регулированием тепловой мощности, в которых минимальное значение тепловой мощности не превышает 0,2Qn

Концентрацию NOх измеряют (и при необходимости корректируют в соответствии с 7.6.2.1 при пониженных тепловых мощностях, указанных в таблице 20.

Концентрацию NOх вычисляют по формуле (16)

NOх = 0,15NOх изм (70) + 0,25NOх изм (60) + 0,30NOх изм (40) + 0,30NOх изм (20),               (16)

где NOi изм (70), NOх изм (60), NOх изм (40) и NOх изм (20) - измеренное (и при необходимости скорректированное) значение концентрации NOх при каждом из пониженных значений тепловой мощности по таблице 20.

7.6.2.6 Котлы с плавным регулированием тепловой мощности, в которых минимальное значение тепловой мощности выше 0,2Qn

Концентрацию NOх измеряют (и при необходимости корректируют в соответствии с 7.6.2.1) при пониженных тепловых мощностях, указанных в таблице 20, и при минимальной тепловой мощности.

Концентрацию NOх вычисляют по формуле (17)

NOх = (NOх изм Qmin × ΣFpi (Q Qmin)) + Σ(NOх изм × FPi),                           (17)

где NOх изм Qmin - измеренное (и при необходимости скорректированное) значение концентрации NOх при минимальном значении тепловой мощности.

7.7 Коэффициенты полезного действия

7.7.1 КПД при номинальной тепловой мощности

Котлы устанавливаются, как определено в 7.1.2, подсоединенными к изолированному испытательному стенду, показанному схематично на рисунках 1 или 2, или к другому испытательному оборудованию, дающему эквивалентные результаты, и с подачей эталонного газа для соответствующей категории котлов.

КПД измеряют после того, как котел с отключенным термостатом управления, достигнет состояния теплового равновесия, а температура воды на входе в котел (в обратной трубе) и на выходе из него (в прямой трубе) станет постоянной.

Горячую воду подают в мерный сосуд, установленный на весах (соответственно тарированных до начала этого испытания), и одновременно с этим измеряют расход газа газовым счетчиком.

Измеряют массу воды т1, заполнившей мерный сосуд за 10 мин испытаний. При этом периодически измеряют температуры воды в прямой и обратной трубах для определения их средних значений за 10 мин испытаний.

Затем выдерживают последующие 10 мин для оценки испарения за 10 мин испытания. После этого измеряют массу воды т2 в мерном сосуде; вычисляют количество испарившейся за 10 мин воды т3 по формуле (18)

т3 = m1 - т2,                                                            (18)

и определяют скорректированную массу воды т по формуле (19)

т = т1 + т3.                                                             (19)

Количество тепла, переданного воде, собранной в сосуде, пропорционально скорректированной массе т и разности между средними за 10 мин температурами воды t1 в обратной трубе и t2 в прямой трубе.

КПД определяется по формуле (20)

                                            (20)

где ηu - КПД, %;

т - скорректированная масса воды, кг;

Vr(10) - объемный расход газа, измеренный за 10 мин испытаний и скорректированный для стандартных условий испытаний, м3/ч;

Hi - низшая теплота сгорания газа, МДж/м3 (при 15 °С и 1013,25 мбар);

DP - тепловые потери в испытательном стенде, соответствующие средней температуре потока воды с учетом тепловых потерь в циркуляционном насосе, кДж.

Метод калибровки испытательного стенда для определения тепловых потерь DP представлен в приложении А.

Погрешности измерений следует выбирать такими, чтобы общая погрешность измерения КПД не превышала ±2 %.

КПД котлов без регулирования тепловой мощности определяют при номинальной тепловой мощности.

КПД котлов с регулированием тепловой мощности определяют при максимальной и минимальной регулируемых значениях тепловой мощности, указанных изготовителем.

Проверяется соответствие требованиям 6.7.1.

7.7.2 КПД при пониженной нагрузке

7.7.2.1 Общие сведения

Для определения КПД при нагрузке, соответствующей 30 % номинальной тепловой мощности, могут быть применены прямой или косвенный методы. У изготовителя имеется выбор между прямым и косвенным методом.

Проверяется соответствие требованиям 6.7.2.

Прямой метод

7.7.2.2 Общие сведения

Котел устанавливается, как определено в 7.1.2, с подачей одного из эталонных газов, как для определения КПД при номинальной тепловой мощности (максимальном и минимальном регулируемых значениях тепловой мощности в случае с котлами с устанавливаемыми диапазонами).

На протяжении всего испытания насос работает непрерывно, а объемный расход воды поддерживается постоянным, с максимальным колебанием в процессе измерения не более ±1 %.

7.7.2.3 Метод № 1

Котел подсоединяется к испытательному стенду, показанному на рисунке 10 (или к любому другому испытательному стенду, дающему сопоставимые результаты и эквивалентную точность измерения).

Температура в обратной трубе поддерживается постоянной, с максимальными колебаниями этой температуры ±1 °С за все время измерения и при надлежащих температурах:

- (47 ± 1) °С - для стандартных котлов;

- (37 ± 1) °С - для низкотемпературных котлов.

Если термостат управления котла не позволяет установить указанную температуру воды в обратной трубе, испытание выполняют при минимально возможной температуре воды в обратной трубе.

Таймер комнатного терморегулятора устанавливают на 10 мин рабочего цикла.

Продолжительность рабочего цикла рассчитывают в соответствии с таблицей 21.

Температуру воды в прямой и обратной трубах измеряют непрерывно.

Котел находится в состоянии теплового равновесия.

Если КПД, измеренный в трех последовательных рабочих циклах, не различается более чем на 0,5 %, за окончательный результат принимают среднеарифметическое значение результатов этих трех измерений.

Если КПД трех последовательных рабочих циклов различается более чем на 0,5 %, за окончательный результат принимается среднеарифметическое значение КПД не менее десяти последовательных рабочих циклов.

Расход газа и воды измеряют за полный рабочий цикл. КПД определяют с использованием формулы 7.7.1.

Если колебания 30 %-ной тепловой мощности составляют не более ±2 %, испытание проводят один раз.

Если колебания 30 %-ной тепловой мощности составляют от 2 % до 4 %, выполняют два измерения КПД, одно - при тепловой мощности выше и одно - ниже 30 %-ной.

КПД для 30 %-ной тепловой мощности определяют интерполяцией.

7.7.2.4 Метод № 2

Котлы подсоединяются к испытательному стенду, показанному на рисунках 1 или 2 (или к любому другому испытательному стенду, дающему сопоставимые результаты и эквивалентную точность измерения).

Температуру воды в прямой и обратной трубах измеряют непрерывно.

В теплообменнике отбирается (30 ± 2) % номинальной тепловой мощности или среднеарифметической от максимальной и минимальной тепловой мощности для котлов с устанавливаемыми диапазонами.

Средняя температура воды должна быть не ниже:

- 50 °С - для стандартных котлов;

- 40 °С - для низкотемпературных котлов.

Если термостат управления котла не позволяет установить достаточно низкую температуру воды в обратной трубе, испытание выполняется при минимально возможной температуре воды в обратной трубе. Котел находится в состоянии теплового равновесия.

Если КПД, измеренный в трех последовательных рабочих циклах, не различается более чем на 0,5 %, за окончательный результат принимают среднеарифметическое значение результатов этих трех измерений.

Если КПД трех последовательных рабочих циклов различается более чем на 0,5 %, за окончательный результат принимают среднеарифметическое значение КПД не менее десяти последовательных рабочих циклов.

Расход газа и воды измеряют за полный рабочий цикл. КПД определяют с использованием формулы 7.7.1.

Если колебания 30 %-ной тепловой мощности составляют не более ±2 %, испытание проводят один раз.

Если колебания 30 %-ной тепловой мощности составляют от 2 % до 4 %, выполняют два измерения КПД:

а) при тепловой мощности выше 30 %;

б) при тепловой мощности ниже 30 %.

КПД для 30 %-ной тепловой мощности определяют линейной интерполяцией.

Таблица 21 - Вычисление КПД

Рабочий цикл основной горелки

Тепловая мощность, кВт

Время рабочего цикла, с

Обозначения

КПД, %

1 Пониженный расход (30 %)

Q2 = 0,3Qn

t2 = 600

η2

2 Полный расход

Q1 = Qn1)

η1

Управляемое отключение основной горелки

Q3 = тепловой мощности запальной горелки

t3 = 600 - t1

Ps

3 Пониженный расход

Q21 > 0,3Qn

η21

Управляемое отключение основной горелки

Q3 = тепловой мощности запальной горелки

t3 = 600 - t21

Ps

4 Полный расход

Q1 = Qn1)

η1

Пониженный расход

Q22 < 0,3Qn

t22 = 600 - t1

η22

5 Пониженный расход 1

Q21 > 0,3Qn

η21

Пониженный расход 2

Q22 < 0,3Qn

t22 = 600 - t21

η22

6 Полный расход

Q1 = Qn1)

t1 = измеренному значению (см. приложение Д)

η1

Пониженный расход

Q2

η2

Управляемое отключение основной горелки

Q3 = тепловой мощности запальной горелки

t3 = 600 - (t1 + t2)

Ps

1) Qn заменяется средним арифметическим значением Qa максимальной и минимальной тепловой мощности котлов с устанавливаемым диапазоном

Косвенный метод

7.7.2.5 КПД при номинальной тепловой мощности при пониженной температуре воды (η1)

Выполняют испытание 7.7.1 при номинальной тепловой мощности или, для котлов с устанавливаемыми диапазонами, при максимальном и минимальном значениях тепловой мощности, устанавливаемых изготовителем, при температурах воды в прямой и обратной трубах согласно таблицы 22.

Таблица 22

Тип котла

Температура воды в прямой трубе, °С

Температура воды в обратной трубе, °С

Стандартный котел

60 ± 2

40 ± 1

Низкотемпературный котел

50 ± 2

30 ± 1

7.7.2.6 КПД при минимальной тепловой мощности (η2)

Если котел оборудован системой управления, включающей одно значение пониженной тепловой мощности, КПД измеряют при минимальной регулируемой тепловой мощности при температурах воды в прямой и обратной трубах согласно таблицы 23.

Таблица 23

Тип котла

Температура воды в прямой трубе, °С

Температура воды в обратной трубе, °С

Стандартный котел

55 ± 2

45 ± 1

Низкотемпературный котел

45 ± 2

35 ± 1

Если котел оборудован системой управления, включающей два значения пониженной тепловой мощности (одно выше 30 %-ной номинальной тепловой мощности, а второе ниже), КПД измеряют при этих двух значениях тепловой мощности:

η21 - при большем значении;

η22 - при меньшем значении.

7.7.2.7 Потери тепла в окружающую среду

Схема испытательного стенда показана на рисунке 11.

Трубопроводы, соединяющие различные части испытательного стенда, должны быть хорошо изолированы. Тепловые потери испытательного стенда и дополнительный подвод тепла от циркуляционного насоса испытательного стенда для различных расходов воды должны быть определены до начала проведения испытаний в соответствии с приложением Н.

Котел оснащают дымоходом наибольшего диаметра из указанных изготовителем.

Разность между средней температурой воды в котле и температурой воздуха в испытательном помещении должна составлять (30 ± 5) °С - для стандартных котлов или (20 ± 5) °С - для низкотемпературных котлов.

Циркуляционный насос 8 и насос котла, если он имеется, должны быть выключены. Контур теплообменника 9 отключен. Газоснабжение котла отключено.

Вода нагревается в электрическом водонагревателе 7 до температуры превышающей температуру воздуха помещения на (30 ± 5)°С - для стандартных котлов или (20 ± 5) °С - для низкотемпературных котлов и циркулирует по замкнутому контуру с помощью циркуляционного насоса 6.

Испытания выполняют в состоянии установившегося теплового равновесия котла.

Колебание температуры воздуха в помещении в процессе испытания не должно превышать ±2 °С.

Потери тепла в окружающую среду (Ps), кВт, для температуры воздуха в помещении 20 °С определяются по формулам (21), (22)

                                                     (21)

для стандартных котлов и средней температуры воды 50 °С;

                                                       (22)

для низкотемпературных котлов и средней температуры воды 40 °С,

где Рт - электрическая мощность, затраченная электрическим водонагревателем на нагрев протекающей воды, корректированная на тепловые потери испытательного стенда и дополнительный подвод тепла от циркуляционного насоса испытательного стенда, кВт;

Т - средняя для результатов двух измерений температура воды, определяемая как среднеарифметическое значение температур воды в прямой и обратной трубах, °С;

TА - температура воздуха в помещении, °С.

7.7.2.8 Вычисление

КПД при 30 %-ной номинальной тепловой мощности (или максимальном и минимальном значениях регулируемой тепловой мощности для котлов с устанавливаемым диапазоном) рассчитывается для рабочего цикла с использованием обозначений, указанных в таблице 24.

Таблица 24 - Параметры, необходимые для расчета КПД при пониженной нагрузке

Рабочее состояние основной горелки

Тепловая мощность

Время рабочего цикла, с

Обозначение параметров, для расчета КПД1)

Полный расход

Q1

t1

η1

Пониженный расход (30 %)

Q2

t2

η2

Пониженный расход > 0,3Q1

Q21

t21

η21

Пониженный расход < 0,3Q1

Q22

t22

η22

Управляемое отключение

Q3

t3

Теплопотери Qs, кВт

1) при средней температуре 50 °С - для стандартных котлов и 40 °С - для низкотемпературных котлов.

КПД рассчитывают как отношение теплопроизводительности к тепловой мощности за время 10 мин.

В зависимости от способа регулирования тепловой мощности используют следующие рабочие циклы основной горелки в соответствии с таблицей 21:

1) постоянная работа с Q2 = 0,3Q1 (для котлов с плавным или ступенчатым регулированием тепловой мощности);

2) полный расход/отключение (для нерегулируемых котлов);

3) пониженный расход/отключение (для котлов с одним или несколькими фиксированными пониженными расходами или котлов с плавным регулированием тепловой мощности при минимальной подводимой тепловой мощности Q2 > 0,3Q1 или (цикл 6, если конструктивно зажигание выполняется при полном расходе);

4) полный расход/пониженный расход (для котлов с одним или несколькими фиксированными пониженными расходами при минимальной тепловой мощности Q2 < 0,3Q1);

5) работа с двумя пониженными значениями расхода (где Q21 > 0,3Q1 и Q22 < 0,3Q1);

6) полный расход/пониженный расход/отключение (для котлов с выполнением программного розжига при полном расходе и времени цикла t1, с одним или несколькими фиксированными пониженными расходами или котлов с плавным регулированием тепловой мощности, при времени управляемого отключения t3 > 0, в противном случае применяется цикл 4).

КПД рассчитывается в соответствии с таблицей 21.

7.8 Конденсация в дымоходе для стандартных котлов

7.8.1 Определение теплопотерь продуктов сгорания в дымоходе

При условиях испытания, установленных в 7.7.1, с применением изолированного дымохода измеряют температуру продуктов сгорания и концентрацию СО2 при максимальной тепловой мощности и минимальной тепловой мощности.

Теплопотери продуктов сгорания в дымоходе, qc, %, определяют по формуле (23)

                                                 (23)

где а и b - коэффициенты в зависимости от эталонного газа (указаны в таблице 25);

СО2 - концентрация двуокиси углерода в сухих продуктах сгорания, %;

tc - температура продуктов сгорания, °С;

ta - температура окружающей среды, °С.

Таблица 25

Коэффициент

Обозначение газа

G110

G20

G25

G30

а

1,05

0,86

0,85

0,65

b

23,2

36,6

36

42,5

Проверяют соответствие требованиям 6.8, а).

7.8.2 Минимальная температура продуктов сгорания

При условиях испытания по 7.7.1 измеряют температуру продуктов сгорания в точке, расположенной на 150 мм ниже верхнего сечения однометрового испытательного дымохода. Проверяют, что при максимальном и минимальном значениях тепловой мощности, задаваемых устройством установки диапазона либо регуляторами, температура продуктов сгорания удовлетворяет требованиям 6.8, б).

7.9 Прочность

7.9.1 Общие сведения

Испытания выполняют с использованием воды при температуре окружающей среды и при испытательных давлениях по 7.9.2 и 7.9.3.

Испытательное давление поддерживают не менее 10 мин.

7.9.2 Котлы из листовой стали и цветных металлов

Испытательное давление составляет (2×PMS) бар.

Проверяется соответствие требованиям 6.9.2.

7.9.3 Котлы из чугуна и литых материалов

7.9.3.1 Корпус котла

Испытательное давление составляет (PMS) бар, но при любых условиях не менее 8 бар.

Проверяется соответствие требованиям 6.9.3.1.

7.9.3.2 Сопротивление разрыву

По три образца каждого типа секций подвергаются воздействию испытательного давления (4×PMS + 2) бар.

Проверяется соответствие требованиям 6.9.3.2.

7.9.3.3 Поперечные балки

Проверяется методом расчета соответствие требованиям 6.9.3.3 для давления (4×PMS) бар.

7.10 Гидравлическое сопротивление

Гидравлическое сопротивление котла (мбар) измеряется при расходе воды, соответствующем работе котла на номинальной подводимой тепловой мощности, при температуре воды на выходе из котла 80 °С и при разности температур во входном и выходном патрубках котла 20 °С или при указываемой изготовителем.

Испытание выполняется с холодной водой.

Испытательный стенд схематично показан на рисунке 7. Перед или после проведения испытания две испытательные трубы соединяются непосредственно друг с другом, и при протекании по ним холодной воды определяется их собственное гидравлическое сопротивление для различных расходов воды.

Для котлов со встроенными циркуляционными насосами при тех же испытательных условиях проверяется кривая допустимых давлений, предоставляемая изготовителем.

7.11 Воздушные и дымоотводные заслонки

Котел устанавливается и регулируется в соответствии с 7.1.2 с подачей на него одного из эталонных газов или газа распределительной системы соответствующей категории. Выполняются два испытания.

Испытание № 1

Расход газа устанавливается на значение, позволяющее котлу работать при 120 % номинальной тепловой мощности. Посредством коммутационного механизма заслонка попеременно открывается и закрывается 5000 раз со скоростью, соответствующей нормальной работе заслонки.

Испытание № 2

Котел регулируется на обеспечение подъема температуры заслонки на 45 К выше температуры окружающей среды. Посредством коммутационного механизма заслонка попеременно открывается и закрывается 5000 раз со скоростью, соответствующей нормальной работе заслонки.

По окончанию каждого из этих испытаний, проверяется соответствие требованиям 6.11.

7.12 Конденсация в стандартном котле

Котел устанавливается в соответствии с 7.1.2. Однако, средняя температура воды в котле устанавливается на 50 °С (возврат 40 °С, приток 60 °С). Если изготовителем указывается в инструкции по установке, что котел может оборудоваться нагревательной системой, предназначенной для работы с более низкой температурой, устанавливаются минимальные возможные температуры.

Котел работает при максимальной тепловой мощности в течение часа на этой температуре. Сразу после этого котел проверяется на наличие в нем конденсации. Испытание повторяется при минимальной тепловой мощности.

8 Маркировка и указания по эксплуатации

8.1 Маркировка котла

8.1.1 Заводская табличка

На каждом котле должна быть заводская табличка данных, которая хорошо различима, возможно после снятия части обшивки, которая прочно закреплена и износостойка, с нанесенными на ней, нестираемыми надписями следующего содержания:

а) наименование изготовителя или его товарный знак;

б) серийный номер или год изготовления;

в) торговая марка котла;

г) если требуется, маркировка ЕС (СЕ):

- идентификационный номер котла,

- два последних числа, обозначающих год присвоения европейской маркировки ЕС (СЕ);

д) страна (страны) прямого и непрямого назначения. Названия стран могут быть указаны в соответствии со следующими кодовыми сокращениями:

AT                                              Австрия

BE                                               Бельгия

СН                                              Швейцария

DE                                              Германия

DK                                              Дания

ES                                               Испания

FI                                                Финляндия

FR                                               Франция

GB                                              Великобритания

GR                                              Греция

IE                                                Ирландия

IS                                                Исландия

IT                                                Италия

LU                                              Люксембург

NL                                              Голландия

NO                                              Норвегия

РТ                                               Португалия

RU                                              Россия

SE                                               Швеция

е) категория (категории) котла в отношении стран прямого назначения. Любая категория должна быть указана согласно 4.1;

ж) номинальное давление подачи газа в миллибарах, при возможности применения нескольких номинальных давлений для одной газовой группы, последние указываются числовым значением и единицей измерения (мбар);

з) номинальная теплопроизводительность или, для котлов с устанавливаемым диапазоном, максимальная и минимальная полезная теплопроизводительность в киловаттах, приводимые при помощи символа «Р», за которым следует знак равенства, числовое значение (значения) и единица измерения кВт;

и) номинальная тепловая мощность или, для котлов с устанавливаемым диапазоном, максимальное и минимальное значения тепловой мощности, с обозначением символом «Q», за которым следует знак равенства, числовое значение (значения) и единица измерения кВт;

к) максимальное давление воды, при котором может работать котел, в барах, с обозначением символом «PMS», за которым следует знак равенства, числовое значение и единица измерения бар;

л) электропитание:

- характер электропитания, обозначаемый символом «~» или «=»;

- номинальное напряжение электропитания в вольтах, приводимое числовым значением с последующей единицей измерения В;

- энергопотребление в ваттах, приводимое числовым значением с последующей единицей измерения Вт;

- класс защиты по ГОСТ 14254;

м) класс NOx котла.

8.1.2 Дополнительная маркировка

На дополнительной табличке данных котел должен иметь хорошо различимую и нестираемую информацию по его регулировке:

а) страна (страны) прямого назначения согласно символам в 8.1.1;

б) индекс категории котла, группа газа, символ типа газа, давление подачи газа и/или пара давлений согласно таблице 26.

8.1.3 Упаковка

На упаковке должны быть указаны категория (категории), тип котла и информация, приведенная на дополнительной табличке данных (см. 8.1.2), а также предупреждения согласно 8.1.4. Транспортная маркировка на упаковке должна быть выполнена по ГОСТ 14192.

8.1.4 Предупреждения на котле и на упаковке

На котле должны быть хорошо видны предупреждения для пользователя:

а) котел может быть установлен только в помещении, которое соответствует предусмотренным требованиям по вентиляции и которое отделено от жилых помещений;

б) ознакомиться с инструкцией перед установкой котла;

в) ознакомиться с руководством пользователя перед включением котла.

8.1.5 Прочая информация

На котле или упаковке не должно приводиться информации, приводящей к путанице относительно состояния регулировки котла, соответствующей категории (категорий) и страны (стран) прямого назначения.

Таблица 26 - Дополнительная маркировка

Семейство газа

Индекс категории котла

Состояние регулировки

Маркировка

Группа газа

Символ типа

Давление газа

Первое

1а, 1ab, 1ad

G110

8

1a-G110-8

1ab, 1abd

1b

G120

8

1b-G120-8

1с, 1асе, 1се

G130

8

1c-G130-8

1ad, 1abd

1d

G 140

8

1d-G140-8

1асе, 1се

G150

8

1e-G150-8

Второе

G20

20

2H-G20-20

2L

2L

G25

25

2L-G25-25

2Е, 2ELL

G20

20

2E-G20-20

2ELL

2LL

G25

20

2LL-G25-20

2Е+

2Е+

G 20/G 25

20/25

2Е+ - G20/G25 - 20/25

2Esi

2Es

G20

20

2Es-G20-20

2Ei

G25

25

2Ei-G25-25

2Er

2Er

G 20/G 25

20/25

2Er - G 20/G25 - 20/25

Третье

3В/Р

G30

30

3B-G30-30

G30

50

3B-G30-50

G31

30

3Р-G31-30

G31

50

3Р-G31-50

G31

37

3Р-G31-37

G31

50

3Р-G31-50

3+

3+

G30/G31

28 - 30/37

3+-G30/G31 - 28 - 30/37

3+

G30/G31

50/67

3+-G30/G31 - 50/67

3+

G30/G31

112/148

3+-G30/G31 - 112/148

8.2 Инструкция

8.2.1 Техническая инструкция по установке

К котлу должна прилагаться техническая инструкция по его установке, регулировке и обслуживанию согласно требованиям, действующим в стране, в которой он должен быть установлен.

Данная инструкция должна содержать следующую информацию:

а) данные, указанные на заводской табличке, за исключением серийного номера котла и года изготовления;

б) максимальная температура воды в градусах Цельсия;

в) требуемое обслуживание и рекомендуемая периодичность обслуживания;

г) рекомендуемый метод очистки котла;

д) ссылки на определенные стандарты и/или отдельные нормативы, необходимые для правильной установки и эксплуатации котла;

е) схема электропроводки с соединительными выводами (в т.ч. выводы для подключения внешних органов управления);

ж) указания по органам управления, которые могут применяться;

з) меры предосторожности для ограничения уровня шума при работе установки;

и) указание на необходимость заземления котла, имеющего электрооборудование;

к) для герметичных водных систем - указания по установке напорного расширительного бака, если котел изначально не оборудован таким устройством;

л) для котлов, работающих на нескольких газах:

- информация по действиям, необходимым для перехода с одного газа на другой;

- указание на то, что регулировки и модификации должны выполняться только квалифицированным персоналом;

- информация о том, что устройство регулировки должно быть опломбировано после его регулировки;

м) минимальное расстояние, поддерживаемое до легко воспламеняемых материалов;

н) если необходимо, информация о том, что стенки под тепловым воздействием, например деревянные, должны быть защищены соответствующей теплоизоляцией, а также расстояния, которые должны соблюдаться между стеной крепления котла и нагретыми частями самого котла;

о) таблица с объемным расходом или с весовым расходом в кубических метрах в час или килограммах в час с корректировкой к среднестатистическим условиям эксплуатации (15 °С, 1013,25 мбар, сухой) для различных категорий и различных газов или давлению газа на горелке;

п) общее описание котла, с установкой основных частей (сборными узлами), которые могут сниматься и заменяться;

р) информация, касающаяся:

- либо кривой характеристик напора воды на выходе из котла, если последний оборудован встроенным насосом;

- либо потери давления в зависимости от расхода воды, в графической форме или в форме таблицы, для котла с подачей без насоса;

с) для расчетов - информация, если требуется, по весовому расходу продуктов сгорания в граммах в секунду и средней температуре (измеряемой согласно условий 7.7.1), а также требования по минимальной тяге;

т) данные по максимальной температуре продуктов сгорания на выходе из котла для определения соответствия с любым подходящим соединительным дымоходом;

у) информация по требованиям, соблюдаемым в отношении подачи воздуха и вентиляции помещения установки котла;

ф) для котлов типа В1, необходимо четко указать, что котел предназначен для установки в помещении, отдельном от жилых помещений и с соответствующей прямой наружной вентиляцией;

х) там, где имеется конденсация в дымоходе (измеряемая согласно условий 7.8), изготовитель должен указать особые меры предосторожности, которые следует предпринять в отношении дымохода;

ц) там, где определена возможность конденсации в дымоотводе (измеряемая согласно условий 7.12), изготовитель должен обратить внимание на тот факт, что котел не должен подсоединяться к системе обогрева, предназначенной для непрерывной эксплуатации при температуре менее 50 °С, если котел не предназначен для работы при этой температуре.

8.2.2 Руководство по эксплуатации

Руководство по эксплуатации должно включать требования по установлению, настройке и обслуживанию прибора пользователем с учетом требований Правил безопасности систем газораспределения и газопотребления [1], Правил безопасности для объектов, использующих сжиженные углеводородные газы [2], и Правил технической эксплуатации и требований безопасности в газовом хозяйстве [3].

Руководство по эксплуатации должно:

а) указывать на необходимость привлечения квалифицированного специалиста для установки и регулировки котла, если требуется;

б) объяснять процедуру пуска и остановки котла;

в) объяснять процедуры нормальной эксплуатации котла и его очистки, а также указывать на необходимость периодической проверки котла квалифицированным специалистом;

г) при необходимости, разъяснять меры предосторожности принимаемые в отношении образования инея;

д) предупреждать в отношении неправильной эксплуатации;

е) обращать внимание пользователя на требования, касающиеся подачи воздуха и вентиляции помещения установки котла;

ж) при необходимости, обращать внимание пользователя на риск получения ожогов при прямом контакте со смотровым окном и участком непосредственно вокруг него.

8.2.3 Указания по перенастройке котла при переходе на другой вид газа

Узлы, предназначенные для перехода на другой вид газа или иное давление подачи, должны сопровождаться указаниями по перенастройке котла, предназначенные для специалистов.

Указания должны:

а) определять части, необходимые для выполнения перехода и средства их идентификации;

б) четко определять операции, необходимые для замены частей и выполнения правильной регулировки, при ее необходимости;

в) указывать на необходимость восстановления поврежденной пломбировки и/или необходимость опломбирования устройств регулировки;

г) указывать на то, что для оборудования, работающего с парой давлений, любой регулятор должен быть не рабочим при нахождении в пределах диапазона номинальных значений давления, либо выведен из работы и опломбирован в этом положении.

Самоклеющаяся этикетка, предназначенная для наклейки на котел, должна входить в комплект поставки таких частей и с указаниями по перенастройке. Должно быть возможно указать на этой этикетке дополнительную маркировку, предусмотренную в 8.1.3, с указанием:

а) группы газа;

б) типа газа;

в) давления подачи газа и/или пары давлений;

г) регулируемой тепловой мощности.

8.2.4 Язык представления информации

Вся информация 8.1 и 8.2 приводится на языке (языках) и согласно принятой практике страны (стран), в которой (которых) котел должен быть установлен.

1 - трехходовой кран; 2 - охладитель; 3 - компенсационный бак; 4 - циркуляционный насос;
5 - клапан управления I; 6, 12, 14 - термометры; 7 - бак постоянного уровня; 8 - клапан управления III;
9 - подсоединение к распределительной трубе постоянного давления; 10 - водомер;
11 - клапан управления II; 13 - испытуемый котел; 15 - сосуд для взвешивания

Рисунок 1 - Испытательный стенд с прямой рециркуляцией

1 - сосуд для взвешивания; 2 - трехходовой кран; 3, 6, 14, 16 - термометры;
4 - расширительный сосуд (вне системы циркуляции); 5 - теплообменник;
7 - клапан управления II;
8 - бак постоянного уровня; 9 - клапан управления III; 10 - водомер;
11 - подсоединение к распределительной трубе постоянного давления;
12 - циркуляционный насос; 13 - клапан управления I;
15 - испытуемый котел

Рисунок 2 - Испытательный стенд с теплообменником

Размеры в мм

1 - термопара

Рисунок 3 - Устройство для отбора проб и измерения температуры продуктов сгорания для дымохода диаметром более 100 мм

Размеры в мм

1 - медная трубка Æ­ 6 мм; 2 - медная трубка Æ 4 мм; 3 - термопара

Рисунок 4 - Устройство для отбора проб и измерения температуры продуктов сгорания для дымохода диаметром, не превышающим 100 мм

A и B - перегородки для получения восходящей и обратной тяги; С - вентилятор; D - гибкий участок; Е - трубка Пито для измерения скорости потока

Рисунок 5 - Испытание котла при особых условиях тяги

Размеры в мм

1 - сжатый воздух; 2 - градуированная шкала; 3 - к испытуемому котлу; 4 - измерительный сосуд

Рисунок 6 - Устройство для проверки герметичности газового тракта

1 - труба для сброса воздуха; 2 - дифференциальный манометр; 3 - котел; 4 - гибкая труба;
5 - отверстие диаметром 3 мм без внутренней резьбы

Рисунок 7 - Устройство для определения гидравлического сопротивления

Размеры в мм

1 - точка измерения температуры воздуха; 2 - рама из четырехгранного бруса; 3 - сосновая доска с пазом; 4 - стекловолокно; 5 - тонкостенная труба для измерительного кабеля; 6 - точки измерения температуры; 7 - испытательная панель для измерения температуры пола под котлом

Рисунок 8 - Испытательный стенд для измерения температуры пола под котлом

Размеры в мм

1 - термопара припаянная к медной пластине; 2 - отверстия для крепления медной пластины

Рисунок 9 - Крепление термопары к испытательной панели для измерения температуры пола под котлом

1, 4, 10, 15, 19, 23 - запорно-регулирующие клапаны; 3 - испытуемый котел; 2, 22 - регуляторы расхода газа;
5, 11, 12, 16, 20 - термометры; 6 - предохранительный клапан; 7 - тепловой компенсатор; 8 - ротаметр;
9 - регулирующий клапан; 13 - весы; 14 - теплообменник; 17 - расширительный бак;
18 - циркуляционный насос; 19 - дренаж; 21 - газовый счетчик

Рисунок 10 - Испытательный стенд для определения КПД

1 - испытуемый котел; 2, 14 - измерители температуры; 3 - термопара; 4 - записывающее устройство;
5, 13 - трехходовые краны; 6 - циркуляционный насос; 7 - электрический водонагреватель;
8 - дополнительный насос (при необходимости); 9 - теплообменник; 10 - электрический счетчик;
11 - регулятор напряжения; 12 - подвод электропитания

Рисунок 11 - Испытательный стенд для определения потерь тепла в окружающую среду при неработающих горелках

Приложение А
(справочное)

Метод калибровки испытательного стенда для определения тепловой потери Dp

Вместо котла на испытательный стенд (см. рисунок 1) устанавливают хорошо изолированный сосуд для воды небольшого объема (250 см3), содержащий погружной электрический нагреватель. Наполняют систему циркуляции и приводят в действие насос. Погружной нагреватель должен быть соединен с сетью электропитания через регулирующий трансформатор с плавной регулировкой и электросчетчик.

Трансформатор регулируют так, чтобы температура циркулирующей воды достигла равновесия (продолжительность установления равновесия 4 часа и более).

Фиксируют температуру окружающей среды и измеряют подводимую тепловую мощность.

Серии испытаний при различных значениях температуры окружающей среды позволяют получить тепловые потери испытательного стенда при различных значениях температуры циркулирующей воды в зависимости от температуры окружающей среды.

При выполнении испытаний котла фиксируют температуру окружающей среды и определяют тепловые потери Dp, соответствующие разности значений температуры окружающей среды и средних значений температуры воды в испытательном стенде.

Приложение Б
(справочное)

Таблица Б.1 - Основные применяемые символы и сокращения

Низшая теплота сгорания газа

Высшая теплота сгорания газа

Hi

Hs

Плотность

d

Число Воббе - низшее

Wi

- высшее

Ws

Номинальное давление

Рп

Минимальное давление

pmin

Максимальное давление

pmax

Максимальное давление воды

PMS

Объемный расход газа, потребляемый котлом при условиях испытаний

V

Объемный расход газа, скорректированный для стандартных условий испытаний (15 °С и 101,3 кПа)

Vт

Массовый расход газа, потребляемый котлом при условиях испытаний

М

Массовый расход газа, скорректированный для стандартных условий испытаний (15 °С и 101,3 кПа)

Mт

Тепловая мощность

Q

Номинальная тепловая мощность

Qn

Пусковая мощность

Qign

Теплопроизводительность

P

Номинальная теплопроизводительность

Pn

Коэффициент полезного действия

ηu

Время открытия зажигания

TiA

Безопасное время зажигания

TSA

Максимальное безопасное время зажигания

TSA,max

Время задержки погасания

TiE

Безопасное время погасания

TSE

Приложение В
(справочное)

Условия испытаний

Таблица В.1 - Первое семейство

Испытание

Испытательный газ

Испытательное давление или тепловая мощность1)

Регулировка с эталонным газом

G110

рп

Зажигание, перекрестное зажигание с использованием эталонного газа

G110

0,7pn

Проскок пламени в горелку при использовании предельного газа

G112

pmin

Отрыв пламени при использовании предельного газа

G110

G110

pmin

pmax

Сгорание

Нормальные условия тяги (тяга направлена снизу вверх)

G110

1,07Q

1,05Q

0,95Q

Особые условия тяги:

- блокированный дымоход;

- обратная тяга (направленная сверху вниз)

G110

Q

Колебания напряжения от 0,85 до 1,1 номинального значения

1) Все испытания проводят при номинальной тепловой мощности Qn или при минимальной тепловой мощности, которую можно получить регулировкой регулятора Qmin. Q является Qn или Qmin.

Таблица В.2 - Второе семейство

Испытание

Группы испытательных газов

Испытательное давление или тепловая мощность1

Е

Н

L

без регулятора2)

с регулятором

Регулировка с эталонным газом

G20

G20

G25

рn

рп

Зажигание, перекрестное зажигание с использованием эталонного газа

0,7рn

0,7pn

Проскок пламени в горелку при использовании предельного газа

G222

G222

pmin

pmin

Отрыв пламени при использовании предельного газа

G231

G23

G27

Сгорание

Нормальные условия тяги

G20

G20

G25

pmax

рmax

G21

G21

G26

1,075Q3)

1,05Q

G231

G23

G27

pmin4)

0,95Q

Особые условия тяги

G20

G20

G25

pn

Q

Колебания напряжения от 0,85 до 1,1 номинального значения

1) Все испытания проводят при номинальной тепловой мощности Qn или при минимальной тепловой мощности, которую можно получить регулировкой регулятора Qmin.

Q является Qn или Qmin.

2) или с регулятором соотношения газ/воздух.

3) 1,05Q, если котел предназначен для установки исключительно с регулировочным устройством на газовом счетчике или Qmax для котлов с регулятором соотношения газ/воздух.

4) Qmin для котлов с регулятором соотношения газ/воздух.

Таблица В.3 - Третье семейство

Испытание

Группы испытательных газов

Испытательное давление или тепловая мощность1)

бутан/пропан

пропан

без регулятора2)

с регулятором

Регулировка с эталонным газом

G30

G31

pn

pn

Зажигание, перекрестное зажигание с использованием эталонного газа

pmin

pmin

Проскок пламени в горелку при использовании предельного газа

G32

G32

pmin

pmax

pmin

pmax

Отрыв пламени при использовании предельного газа

G31

G31

pmax

1,05Q

Сгорание

Нормальные условия тяги

G30

G31

pmax

1,05Q

1,075Q3)

1,05Q

G31

pmin4)

0,95Q

Особые условия тяги

G30

pn

Q

Колебания напряжения от 0,85 до 1,1 номинального значения

1) Все испытания проводят при номинальной тепловой мощности Qn или при минимальной тепловой мощности, которую можно получить регулировкой регулятора Qmin.

Q является Qn или Qmin.

2) или с регулятором соотношения газ/воздух.

3) 1,05Q, если котел предназначен для установки исключительно с регулировочным устройством на газовом счетчике или Qmax для котлов с регулятором соотношения газ/воздух.

4) Qmin для котлов с регулятором соотношения газ/воздух.

Приложение Г
(справочное)

Схемы газового контура

Г.1 Общие сведения

Для автоматических отсечных клапанов на котлах с автоматическим зажиганием, с тепловой мощностью запальной горелки от 250 до 1000 Вт, применяются требования 6.5.3.3, б).

Г.2 Котлы с постоянной или переменной запальной горелкой или устройством контроля утечек или предварительной продувкой

Г.2.1 Тепловая мощность котла до 150 кВт

Г.2.2 Тепловая мощность котла до 300 кВт

Г.3 Котлы без постоянной или переменной запальной горелки, без устройства контроля утечек и без предварительной продувки

Г.3.1 Тепловая мощность котла до 150 кВт

Г.3.2 Тепловая мощность котла до 300 кВт

Приложение Д
(справочное)

Определение тепловых потерь испытательного стенда
для косвенного метода и дополнительного подвода тепла
от циркуляционного насоса испытательного стенда

Котел присоединяют к испытательному стенду в соответствии с рисунком 11.

Насос 8 останавливают, а теплообменник 9 отключают с помощью трехходовых кранов 5, 13.

Включают циркуляционный насос 6, который должен работать в непрерывном режиме с постоянным расходом воды.

Значения разности температур (Т - ТА) измеряют в установившемся тепловом режиме для трех следующих состояний:

а) при выключенном электрическом водонагревателе 7;

б) при включенном электрическом водонагревателе 7 и разности температур в соответствии с формулой (Д1)

(Т - ТА) = (40 ± 5) °С;                                                   (Д1)

в) при включенном электрическом водонагревателе 7 и разности температур в соответствии с формулой (Д2)

(Т - ТА) = (60 ± 5)°С,                                                    (Д2)

где Т - средняя разность температур воды в прямой и обратной трубах, определенная в результате двух измерений при испытании № 1, °С;

ТА - температура окружающей среды, °С.

Для измеренных величин составляют график подвода тепла от электрического водонагревателя, как функции разности температур (Т - ТА), °С.

Она может рассматриваться как прямая линия.

По полученному графику определяют значения тепловых потерь и дополнительного подвода тепла от циркуляционного насоса испытательного стенда.

Приложение Е
(справочное)

Метод определения времени работы котла при полной нагрузке

Котел присоединяют к испытательному стенду в соответствии с рисунком 11. Водяной контур подключают по замкнутой схеме.

Установка должна содержать не менее 6 дм3 воды на 1 кВт номинальной тепловой мощности.

Газовый контур должен быть оснащен газовым счетчиком или манометром для измерения давления перед соплом.

При температуре воды (47 ± 1) °С котел включают в работу и измеряют время от момента розжига горелки до момента, когда под воздействием терморегулятора:

- значение тепловой мощности снижается до значения, определенного по формуле (Е1)

- 0,37Qn + 0,63Qred,                                                                                                             (E1)

- или значение давления перед соплом снижается до значения, определенного по формуле (Е2)

                                      (Е2)

где Qn - номинальная тепловая мощность, соответствующая полной нагрузке, кВт;

Qred - пониженная тепловая мощность, соответствующая частичной нагрузке, кВт;

pпот - давление газа, соответствующее полной нагрузке, мбар;

pred - давление газа, соответствующее частичной нагрузке, мбар.

Приложение Ж
(справочное)

Соотношения между единицами физической величины концентрации NOx

Соотношения между единицами физической величины концентрации NOx для газов различных семейств приведены в таблицах Ж.1 - Ж.3.

Таблица Ж.1 - Газы первого семейства

1 ppm = 2,054 мг/м3

(1 ppm = 1 см33)

G110

мг/(кВт ∙ ч)

мг/МДж

О2 = 0 %

1 ppm =

1,714

0,476

1 мг/м3 =

0,834

0,232

О2 = 3 %

1 ppm =

2,000

0,556

1 мг/м3 =

0,974

0,270

Таблица Ж.2 - Газы второго семейства

1 ppm = 2,054 мг/м3

(1 ppm = 1 см33)

G20

G25

мг/(кВт ∙ ч)

мг/МДж

мг/(кВт ∙ ч)

мг/МДж

О2 = 0 %

1 ppm =

1,764

0,490

1,797

0,499

1 мг/м3 =

0,859

0,239

0,875

0,243

О2 = 3 %

1 ppm =

2,059

0,572

2,098

0,583

1 мг/м3 =

1,002

0,278

1,021

0,284

Таблица Ж.3 - Газы третьего семейства

1 ppm = 2,054 мг/м3

(1 ppm = 1 см33)

G30

G31

мг/(кВт ∙ ч)

мг/МДж

мг/(кВт ∙ ч)

мг/МДж

О2 = 0 %

1 ppm =

1,792

0,498

1,778

0,494

1 мг/м3 =

0,872

0,242

0,866

0,240

О2 = 3 %

1 ppm =

2,091

0,581

2,075

0,576

1 мг/м3 =

1,018

0,283

1,010

0,281

Приложение И
(справочное)

Пример вычисления нагрузочных коэффициентов
для котла с несколькими значениями тепловой мощности

Нагрузка котла: 30 %, 50 %, 100 %.

Нагрузочные коэффициенты (Fpi) для разных значений тепловой мощности указаны в таблице И.1

Таблица И.1

Тепловая мощность (Qpi), %

Нагрузочный коэффициент (Fpi)

20

0,3

40

0,3

60

0,25

70

0,15

1 Нагрузочный коэффициент Fpi(20 %) для тепловой мощности Qpi = 20 % должен быть приравнен к Fpi(30 %) для Qpi = 30 % и составляет 0,3.

2 Нагрузочный коэффициент для Qpi = 40 % должен быть распределен между меньшей нагрузкой Qpi = 30 % и большей нагрузкой Qpi = 50 % в соответствии с формулами (И.1) и (И.2) - большая нагрузка вычисляется по формуле (И.1)

             (И.1)

- меньшая нагрузка вычисляется по формуле (И.2)

Fpi (30 %) = Fpi (40 %) - Fpi (50 %) = 0,3 - 0,1875 = 0,1125.                                  (И.2)

3 Нагрузочный коэффициент для Qpi = 60 % должен быть распределен между меньшей нагрузкой Qpi = 50 % и большей нагрузкой Qpi = 100 %:

- большая нагрузка рассчитывается по формуле (И.3)

  (И.3)

- меньшая нагрузка вычисляется по формуле (И.4)

Fpi (50 %) = Fpi (60 %) - Fpi (100 %) = 0,25 - 0,0833 = 0,1667.                            (И.4)

4 Нагрузочный коэффициент для Qpi = 70 % должен быть распределен между меньшей нагрузкой Qpi = 50 % и большей нагрузкой Qpi = 100 %:

- большая нагрузка вычисляется по формуле (И.5)

              (И.5)

- меньшая нагрузка вычисляется по формуле (И.6)

Fpi (50 %) = Fpi (70 %) - Fpi (100 %) = 0,15 - 0,0857 = 0,0643.                                (И.6)

5 Нагрузочные коэффициенты для полного диапазона нагрузок котла указаны в таблице

Таблица И.2

Нагрузка котла

Тепловая мощность, %

Итоговый

Fpi

20

40

60

70

30 %

0,30+

0,1125

= 0,4125

50 %

0,1875+

0,1667+

0,0643

= 0,4185

100 %

0,0833+

0,0857

= 0,1690

Итоговый Fpi количество:

0,30+

0,30+

0,25+

0,15

= 1

Концентрацию NOх определяют по формуле (И.7)

NOх = 0,4125NOх изм (30 %) + 0,4185NOх изм (50 %) + 0,169NOх изм (100 %).                (И.7)

Библиография

[1]

Нормативный документ по безопасности, надзорной и разрешительной деятельности в газовом хозяйстве ПБ 12-529-03

Правила безопасности систем газораспределения и газопотребления утверждены Постановлением Госгортехнадзора РФ от 18 марта 2003 г. № 9

[2]

Нормативный документ по безопасности, надзорной и разрешительной деятельности в газовом хозяйстве ПБ 12-609-03

Правила безопасности для объектов, использующих сжиженные углеводородные газы утверждены Постановлением Госгортехнадзора РФ от 27 мая 2003 г. № 40

[3]

Правила технической эксплуатации и требования безопасности труда в газовом хозяйстве Российской Федерации утверждены 20 октября 1991 г. № 70-П

 

Ключевые слова: воздухонагреватель, газовый прибор, классификация, требование, безопасность, конструкция, методы испытаний, испытание, техническая документация, маркировка



© 2013 Ёшкин Кот :-)