Информационная система
«Ёшкин Кот»

XXXecatmenu

ФЕДЕРАЛЬНОЕ АГЕНТСТВО
ПО ТЕХНИЧЕСКОМУ РЕГУЛИРОВАНИЮ И МЕТРОЛОГИИ

НАЦИОНАЛЬНЫЙ
СТАНДАРТ
РОССИЙСКОЙ
ФЕДЕРАЦИИ

ГОСТ Р МЭК
61557-7-
2009

СЕТИ ЭЛЕКТРИЧЕСКИЕ РАСПРЕДЕЛИТЕЛЬНЫЕ
НИЗКОВОЛЬТНЫЕ НАПРЯЖЕНИЕМ
ДО 1000 В ПЕРЕМЕННОГО ТОКА
И 1500 В ПОСТОЯННОГО ТОКА

Электробезопасность. Аппаратура для испытания,
измерения или контроля средств защиты

Часть 7

Порядок следования фаз

IEC 61557-7:1997
Electrical safety in low voltage distribution
systems up to 1000 V a. c. and 1500 V d.
с -
Equipment for testing, measuring or monitoring
of protective measures - Part 7: Phase sequence
(IDT)

Москва
Стандартинформ
2010

Предисловие

Цели и принципы стандартизации в Российской Федерации установлены Федеральным законом от 27 декабря 2002 г. № 184-ФЗ «О техническом регулировании», а правила применения национальных стандартов Российской Федерации - ГОСТ Р 1.0-2004 «Стандартизация в Российской Федерации. Основные положения»

Сведения о стандарте

1. ПОДГОТОВЛЕН Открытым акционерным обществом «НИИ Электромера» на основе собственного аутентичного перевода на русский язык стандарта, указанного в пункте 4

2. ВНЕСЕН Техническим комитетом по стандартизации ТК 233 «Измерительная аппаратура для электрических и электромагнитных величин»

3. ПРИНЯТ И ВВЕДЕН В ДЕЙСТВИЕ Приказом Федерального агентства по техническому регулированию и метрологии от 15 декабря 2009 г. № 846-ст

4. Настоящий стандарт идентичен международному стандарту МЭК 61557-7:1997 «Электробезопасность в низковольтных распределительных сетях напряжением до 1000 В переменного тока и 1500 В постоянного тока. Аппаратура для испытания, измерения или контроля средств защиты. Часть 7. Порядок следования фаз» (IEC 61557-7:1997 «Electrical safety in low voltage distribution systems up to 1000 V a. c. and 1500 V d. с. - Equipment for testing, measuring or monitoring of protective measures - Part 7: Phase sequence»).

Наименование настоящего стандарта изменено относительно наименования указанного международного стандарта для приведения в соответствие с ГОСТ Р 1.5 (пункт 3.5).

При применении настоящего стандарта рекомендуется использовать вместо ссылочных международных стандартов соответствующие им национальные стандарты Российской Федерации, сведения о которых приведены в дополнительном приложении ДА

5. ВВЕДЕН ВПЕРВЫЕ

6. Обращаем внимание на возможность того, что некоторые из элементов настоящего стандарта могут быть предметом патентных прав. МЭК не несет ответственности за идентификацию любого или всех таких патентных прав

Информация об изменениях к настоящему стандарту публикуется в ежегодно издаваемом информационном указателе «Национальные стандарты», а текст изменений и поправок - в ежемесячно издаваемых информационных указателях «Национальные стандарты». В случае пересмотра (замены) или отмены настоящего стандарта соответствующее уведомление будет опубликовано в ежемесячно издаваемом информационном указателе «Национальные стандарты». Соответствующая информация, уведомления и тексты размещаются также в информационной системе общего пользования - на официальном сайте Федерального агентства по техническому регулированию и метрологии в сети Интернет

СОДЕРЖАНИЕ

НАЦИОНАЛЬНЫЙ СТАНДАРТ РОССИЙСКОЙ ФЕДЕРАЦИИ

СЕТИ ЭЛЕКТРИЧЕСКИЕ РАСПРЕДЕЛИТЕЛЬНЫЕ НИЗКОВОЛЬТНЫЕ
НАПРЯЖЕНИЕМ ДО 1000 В ПЕРЕМЕННОГО ТОКА И 1500 В ПОСТОЯННОГО ТОКА

Электробезопасность. Аппаратура для испытания, измерения или контроля средств защиты

Часть 7

Порядок следования фаз

Low voltage distribution systems up to 1000 V a. с and 1500 V d. с Electrical safety.
Equipment for testing, measuring or monitoring of protective measures. Part 7. Phase sequence

Дата введения - 2010-09-01

1. Область применения

Настоящий стандарт устанавливает требования к измерительной аппаратуре, предназначенной для проверки следования фаз в трехфазных распределительных сетях (далее - измерительная аппаратура). Устройство индикации следования фаз может быть механическим, визуальным и(или) акустическим.

Требования настоящего стандарта не распространяются на вспомогательную аппаратуру для измерения других величин (например, указатели напряжения с дополнительным индикатором следования фаз), а также на реле контроля.

Примечание - Лампы, обеспечивающие индикацию следования фаз, не рассматриваются как указатели напряжения.

Настоящий стандарт должен применяться совместно с МЭК 61557-1.

2. Нормативные ссылки

В настоящем стандарте использованы нормативные ссылки на следующие международные стандарты.

МЭК 60417:1973* Графические обозначения, наносимые на аппаратуру. Алфавитный указатель, обзор и подбор отдельных листов (IEC 60417:1973, Graphical symbols for use on equipment. Index, survey and compilation of the single sheets)

___________

* Заменен на МЭК 60417-NS (2010-02-11). Для однозначного соблюдения требований настоящего стандарта, выраженных в датированных ссылках, рекомендуется использовать только ссылочный стандарт, приведенный в тексте.

МЭК 61557-1:1997** Электробезопасность в низковольтных распределительных сетях напряжением до 1000 В переменного тока и 1500 В постоянного тока. Аппаратура для испытания, измерения или контроля средств защиты. Часть 1. Общие требования (IEC 61557-1:1997, Electrical safety in low voltage distribution systems up to 1000 V a. c. and 1500 V d. с. Equipment for testing, measuring or monitoring of protective measures. - Part 1: General requirements)

___________

** Заменен на МЭК 61557-1-2007. Для однозначного соблюдения требований настоящего стандарта, выраженных в датированных ссылках, рекомендуется использовать только ссылочный стандарт, приведенный в тексте.

3. Термины и определения

В настоящем стандарте применены термины по МЭК 61557-1.

4. Требования

Требования к измерительной аппаратуре - по МЭК 61557-1, а также следующие требования.

4.1. Индикация измерительной аппаратуры должна быть однозначной в пределах 85 % - 110 % номинального напряжения сети или в диапазоне номинального напряжения и в пределах 95 % - 105 % номинальной частоты сети.

4.2. Индикация измерительной аппаратуры должна быть четко различима при наличии визуальных или акустических помех.

4.3. Измерительная аппаратура должна обеспечивать непрерывную работу.

4.4. Переносная измерительная аппаратура должна иметь корпус из изоляционного материала и двойную изоляцию (класс защиты II).

4.5. Переносная измерительная аппаратура должна быть разработана так, чтобы в случае, если один или два измерительных провода оказались в контакте с землей, а остальные измерительные провода присоединены к соответствующим им фазным проводникам, среднеквадратическое значение возникающего при этом суммарного тока на землю не превысило бы 3,5 мА. При этом фазные проводники должны быть под напряжением, на которое рассчитана измерительная аппаратура, т.е. в пределах 110 % максимального номинального напряжения.

4.6. Измерительная аппаратура должна выдерживать без повреждений, создающих опасность для пользователя, подключение к сети напряжением, равным 120 % номинального напряжения сети, или к цепи напряжением, равным 120 % максимального диапазона номинального напряжения измерительной аппаратуры.

4.7. В переносной измерительной аппаратуре должны быть постоянно присоединенные провода или соединительное устройство, не содержащее какие-либо доступные проводящие части, независимо от того, подключено устройство или нет.

Провода должны соответствовать следующим требованиям:

- иметь наружный диаметр не менее 3,5 мм;

- поперечное сечение медной жилы должно быть ³ 0,75 мм2;

- должны быть изготовлены из отдельных проволок диаметром £ 0,07 мм;

- быть защищены двойной или усиленной изоляцией.

4.8. Переносная измерительная аппаратура совместно с проводами должна нормально функционировать после испытаний на механические воздействия в соответствии с 6.3. По окончании указанных испытаний:

- корпус измерительной аппаратуры не должен иметь повреждений;

- постоянно присоединенные провода не должны отсоединяться от измерительной аппаратуры;

- провода, присоединяемые посредством вилок, не должны представлять опасность при прикосновении к ним, когда они отсоединены от измерительной аппаратуры;

- ни у одной из частей внутри измерительной аппаратуры не должно ослабляться крепление.

4.9. Требования, приведенные в 4.8, не применяют, если индикатор следования фаз является частью универсальной измерительной аппаратуры и выполнены следующие условия:

- соединительные провода не представляют опасность при прикосновении к ним, даже когда они отсоединены от измерительной аппаратуры;

- измерительная аппаратура приспособлена для переноса, например, на ремне через плечо, когда проводятся измерения.

5. Маркировка и руководство по эксплуатации

5.1. Маркировка

В дополнение к маркировке, указанной в МЭК 61557-1, на измерительной аппаратуре должна быть приведена следующая информация:

5.1.1. Обозначение класса защиты 5172 по МЭК 60417*.

___________

* Обозначение класса защиты оборудования:

5.1.2. Порядок следования фаз.

5.1.3. Обозначения проводов L1, L2 и L3 на измерительной аппаратуре и на проводах.

5.2. Руководство по эксплуатации

Руководство по эксплуатации не должно содержать требований, отличных от приведенных в МЭК 61557-1, кроме относящихся к измерительной аппаратуре, указанной в 4.9.

6. Испытания

Испытания должны быть проведены в соответствии с МЭК 61557-1, за исключением испытаний, указанных в 6.1 - 6.3, а также проведены следующие испытания.

6.1. Испытание на восприятие индикации в соответствии с требованиями 4.1 и 4.2

6.1.1. Испытания визуальной индикации проводят при следующих условиях (испытания для целей утверждения типа).

Индикация должна быть четко различима на расстоянии 500 мм при уровнях освещенности от 30 до 1000 лк. При измерении измерительная аппаратура должна быть помещена на матовую серую поверхность.

При приемо-сдаточном испытании визуальной индикации достаточно провести визуально сравнение ее при нормальных условиях с аппаратурой, которая успешно прошла испытания. Испытуемая аппаратура должна обеспечивать аналогичную или лучшую четкость индикации.

6.1.2. Испытание акустической индикации проводят при уровне звука 75 дБ (А) (белый шум). Индикация должна быть четко различима при этих условиях (приемо-сдаточное испытание).

6.2. Испытание измерительной аппаратуры на соответствие требованиям 4.5

Испытание проводят следующим образом:

Индикатор следования фаз должен быть подключен последовательно с прибором, измеряющим ток, причем один из измерительных проводов соединяют с землей, а другие измерительные провода перегруппировывают и соединяют с фазным проводником, который находится под напряжением 110 % номинального напряжения или под напряжением, равным верхнему пределу номинального диапазона напряжения. Значение тока не должно превышать значения, указанного в 4.5.

Указанное испытание должно быть проведено на каждом проводнике (приемо-сдаточное испытание).

6.3. Испытание измерительной аппаратуры на механические воздействия (испытание для целей утверждения типа)

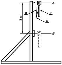
6.3.1. Для проведения испытания на механический удар испытуемая аппаратура должна быть подвешена, как показано в приложении А, рисунок А.1, с использованием маятника длиной 2 м. Испытуемую аппаратуру отклоняют на 1 м по высоте и отпускают для последующего удара ее о твердую деревянную пластину толщиной 50 мм. Испытание должно быть проведено так, чтобы каждая из сторон корпуса ударилась о деревянную пластину один раз.

6.3.2. Ослабление крепления при натяжении постоянно присоединенных проводов испытуемой аппаратуры должно быть проверено испытанием на воздействие свободного падения в соответствии с приложении А, рисунок А.2, следующим способом:

- испытуемая аппаратура должна быть подвешена так, чтобы она могла быть подхвачена удлинителем после свободного падения с высоты 2 м;

- испытуемую аппаратуру подвергают свободному падению три раза с точки подвеса для каждого из проводов.

6.4. Соответствие измерительной аппаратуры требованиям 4.7 проверяют визуальным осмотром или измерением (испытание для целей утверждения типа).

6.5. Соответствие измерительной аппаратуры требованиям 4.6 проверяют подключением испытуемой аппаратуры в течение 10 мин к трехфазной сети напряжением, равным 120 % номинального напряжения сети, или, в случае многодиапазонной измерительной аппаратуры, к цепи с напряжением, равным 120 % всех значений номинального напряжения измерительной аппаратуры (испытание для целей утверждения типа).

6.6. Соответствие измерительной аппаратуры требованиям 4.3 проверяют при функционировании испытуемой аппаратуры в течение 1 ч при установленном напряжении или, в случае многодиапазонной измерительной аппаратуры, при всех значениях установленного напряжения (испытание для целей утверждения типа).

6.7. Четкость маркировок, нанесенных на измерительную аппаратуру, проверяют визуальным осмотром (испытание для целей утверждения типа).

6.8. Соответствие измерительной аппаратуры требованиям 4.9 проверяют визуальным осмотром ремня и при подключенных или неподключенных зондах (испытание для целей утверждения типа).

6.9. Результаты испытаний по разделу 6 должны быть зарегистрированы в установленном порядке.

Приложение А
(обязательное)

Испытания на механические воздействия

Рисунок А.1 - Испытание на механический удар

а - исходная длина провода; b - место соединения; с - удлинитель не более 2 м;
А - начальное положение, в котором закрепляется измерительная аппаратура;
В - конечное положение после окончания испытания измерительной аппаратуры

Рисунок А.2 - Испытание на свободное падение

Приложение ДА
(справочное)

Сведения о соответствии ссылочных международных стандартов
ссылочным национальным стандартам Российской Федерации

Таблица ДА.1

Обозначение ссылочного международного стандарта

Степень соответствия

Обозначение и наименование соответствующего национального стандарта Российской Федерации

МЭК 60417:1973

-

*

МЭК 61557-1:1997

IDT

ГОСТ Р МЭК 61557-1-2005 Сети электрические распределительные низковольтные напряжением до 1000 В переменного тока и 1500 В постоянного тока. Электробезопасность. Аппаратура для испытания, измерения или контроля средств защиты. Часть 1. Общие требования

* Соответствующий национальный стандарт отсутствует. До его утверждения рекомендуется использовать перевод на русский язык данного международного стандарта. Перевод данного международного стандарта находится в Федеральном информационном фонде технических регламентов и стандартов.

Примечание - В настоящей таблице использовано следующее условное обозначение степени соответствия стандартов:

- IDT - идентичные стандарты.

 

Ключевые слова: сети электрические; сети распределительные низковольтные; напряжение переменного и постоянного тока; аппаратура для испытания, измерения и контроля; аппаратура измерительная; электробезопасность; порядок следования фаз; требования; испытания

 



© 2013 Ёшкин Кот :-)