Информационная система
«Ёшкин Кот»

XXXecatmenu

ОТКРЫТОЕ АКЦИОНЕРНОЕ ОБЩЕСТВО
«НАУЧНО-ПРОИЗВОДСТВЕННОЕ ОБЪЕДИНЕНИЕ ПО
ИССЛЕДОВАНИЮ И ПРОЕКТИРОВАНИЮ
ЭНЕРГЕТИЧЕСКОГО ОБОРУДОВАНИЯ
им. И.И. ПОЛЗУНОВА»
(ОАО «НПО ЦКТИ»)

 

СТАНДАРТЫ ОРГАНИЗАЦИИ

ДЕТАЛИ И СБОРОЧНЫЕ ЕДИНИЦЫ
ИЗ УГЛЕРОДИСТЫХ И
КРЕМНЕМАРГАНЦОВИСТЫХ СТАЛЕЙ
ТРУБОПРОВОДОВ ТЕПЛОВЫХ СТАНЦИЙ
С АБСОЛЮТНЫМ ДАВЛЕНИЕМ р
³ 4,0 МПа
И РАСЧЕТНЫМ РЕСУРСОМ 200000 ЧАСОВ

СТО ЦКТИ 321.01-2009 ÷ СТО ЦКТИ 321.04-2009,

СТО ЦКТИ 318.01-2009 ÷ СТО ЦКТИ 318.03-2009,

СТО ЦКТИ 462.01-2009 ÷ СТО ЦКТИ 462.04-2009,

СТО ЦКТИ 520.01-2009, СТО ЦКТИ 313.01-2009,

СТО ЦКТИ 720.01-2009 ÷ СТО ЦКТИ 720.14-2009,

СТО ЦКТИ 038.01-2009,

СТО ЦКТИ 839.01-2009, ÷ СТО ЦКТИ 839.04-2009,

СТО ЦКТИ 504.01-2009, СТО ЦКТИ 530.01-2009,

СТО ЦКТИ 724.01-2009

Санкт-Петербург
2010 год

«Утверждаю»

Зам. генерального директора

ОАО «НПО ЦКТИ»

_______________ А.В. Судаков

15 октября 2009 г.

В соответствии с положением пункта 4.13 ГОСТ Р 1.4-2004 «Стандарты организаций. Общие положения» предлагаются следующие организационно-технические мероприятия по подготовке и применению стандартов на детали и сборочные единицы для трубопроводов тепловых станций на ресурс 200 тыс. часов (64 стандарта):

1. Стандарты 2009 года утверждения вводятся в действие с 01.05.2010 для нового проектирования трубопроводов тепловых станций.

2. Стандарты на детали и сборочные единицы трубопроводов тепловых станций 1982 года издания на ресурс 200 тыс. часов используются на переходный период до 30.04.2011 с применением ОСТ 24.125.60-89 в качестве общих технических требований для окончания работ по изготовлению элементов трубопроводов тепловых станций на ресурс 200 тыс. часов по действующим договорам с заказчиками. Допускается использование стандартов 1982 года издания после 30.04.2011 г. для проведения ремонтных работ по замене ранее изготовленных трубопроводов.

3. Стандарты на детали и сборочные единицы трубопроводов из хромомолибденованадиевых сталей на ресурс 100 тыс. часов остаются в действие без изменений (16 стандартов).

Зав. сектором НТД объектов
котлонадзора и стандартизации
энергооборудования
ОАО «НПО ЦКТИ»

П.В. Белов

 

ОТКРЫТОЕ АКЦИОНЕРНОЕ ОБЩЕСТВО
«НАУЧНО-ПРОИЗВОДСТВЕННОЕ ОБЪЕДИНЕНИЕ ПО
ИССЛЕДОВАНИЮ И ПРОЕКТИРОВАНИЮ
ЭНЕРГЕТИЧЕСКОГО ОБОРУДОВАНИЯ
им. И.И. ПОЛЗУНОВА»
(ОАО «НПО ЦКТИ»)

 

СТАНДАРТ ОРГАНИЗАЦИИ

СТО ЦКТИ
720.04-2009

ТРОЙНИКИ ПЕРЕХОДНЫЕ СВАРНЫЕ
ДЛЯ ТРУБОПРОВОДОВ
ПАРА И ГОРЯЧЕЙ ВОДЫ
ТЕПЛОВЫХ СТАНЦИЙ

Конструкция и размеры

Предисловие

Объекты стандартизации и общие положения при разработке и применении стандартов организации установлены ГОСТ Р 1.4-2004 «Стандартизация в Российской Федерации. Стандарты организаций. Общие положения».

Сведения о стандарте

1 РАЗРАБОТАН открытым акционерным обществом «Научно-производственное объединение по исследованию и проектированию энергетического оборудования им. И.И. Ползунова» (ОАО «НПО ЦКТИ») и ЗАО «Энергомаш (Белгород)-БЗЭМ»

Рабочая группа

от ОАО «НПО ЦКТИ»: СУДАКОВ А.В., ГАВРИЛОВ С.Н., БЕЛОВ П.В.,

ТАБАКМАН М.Л., СМИРНОВА И.А.

от ЗАО «Энергомаш (Белгород)-БЗЭМ»: МОИСЕЕНКО П.П., ЛУШНИКОВ И.Н.

2 УТВЕРЖДЕН И ВВЕДЕН В ДЕЙСТВИЕ Приказом Генерального директора ОАО «НПО ЦКТИ» № 373 от 14 декабря 2009 г.

3 ВЗАМЕН ОСТ 108.104.02-82

4 Согласованию с Ростехнадзором не подлежит

СТО ЦКТИ 720.04-2009

СТАНДАРТ ОРГАНИЗАЦИИ

ТРОЙНИКИ ПЕРЕХОДНЫЕ СВАРНЫЕ
ДЛЯ ТРУБОПРОВОДОВ ПАРА И ГОРЯЧЕЙ ВОДЫ ТЕПЛОВЫХ СТАНЦИЙ

Конструкция и размеры

Дата введения: 2010-05-01

СОДЕРЖАНИЕ

1 Область применения

Настоящий стандарт распространяется на переходные сварные тройники для трубопроводов пара и горячей воды I и II категорий (по классификации «Правил устройства и безопасной эксплуатации трубопроводов пара и горячей воды») с абсолютным давлением и температурой среды:

р = 4,31 МПа, = 340 Категория II.2

р = 3,92 МПа, = 200 Категория III.2

2 Нормативные ссылки

В настоящем стандарте использованы ссылки на следующие нормативные документы:

ПБ 10-573-03 Правила устройства и безопасной эксплуатации трубопроводов пара и горячей воды

СТО ЦКТИ 10.003-2007 Трубопроводы пара и горячей воды тепловых станций. Общие технические требования к изготовлению

СТО ЦКТИ 462.02-2009 Штуцера для трубопроводов пара и горячей воды тепловых станций. Конструкция и размеры

СТО ЦКТИ 520.01-2009 Кольца подкладные для трубопроводов тепловых станций. Конструкция и размеры

ТУ 3-923-75 Трубы котельные бесшовные механически обработанные из конструкционной марки стали. Технические условия

ТУ 14-3Р-55-2001 Трубы стальные бесшовные для паровых котлов и трубопроводов. Технические условия

ТУ 1310-030-00212179-2007 Трубы бесшовные горячедеформированные механически обработанные из углеродистой и легированных марок стали для трубопроводов ТЭС и АЭС. Технические условия

3 Термины и определения

3.1 В настоящем стандарте применяют следующие термины с соответствующими определениями:

3.1.1 тройник: Деталь или сборочная единица, обеспечивающая слияние или разделение потока рабочей среды.

3.1.2 исполнение: Совокупность особенностей деталей в размерах, материалах, технических требованиях, определяющих их технические характеристики и применяемость.

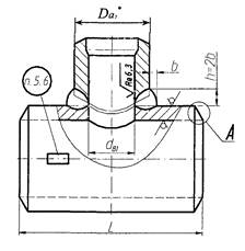
4 Конструкция и размеры

4.1 Конструкция и размеры тройников должны соответствовать указанным на рисунке 1 и в таблицах 1 и 2.

4.2 Допускается изготовление корпусов тройников с разделкой под сварку по типу С4 и С5 в соответствии с СТО ЦКТИ 10.003.

5 Технические требования

5.1 Сварочные материалы - по СТО ЦКТИ 10.003. Нормы оценки качества сварного соединения - согласно требованиям ПБ 10-573 (Приложение 8).

5.2 После сварки штуцер (поз. 1) растачивается напроход до диаметра dв1 с целью удаления подкладного кольца и корня шва.

5.3 Масса наплавленного металла уточняется технологическим процессом.

Масса тройников, указанная в таблице 1, - расчетная, приведена для справки.

5.4 Остальные технические требования - по СТО ЦКТИ 10.003.

5.5 Пример условного обозначения переходного сварного тройника исполнения 14 с условными проходами Dу600 и Dу1200:

ТРОИНИК ПЕРЕХОДНЫИ 600×200 14 СТО ЦКТИ 720.04

5.6 Пример маркировки:

14 СТО 720.04

 

После расточки

До расточки

 

 

 

* Размеры для справок

Рисунок 1


Таблица 1

Размеры в миллиметрах

Исполнение

Условныепроходы

Наружный диаметр и толщина стенки присоединяемы х труб

Da*

Da2*

dв

Dв1

dp

dpi*

H

L

lp+5

s

sk, не менее

sk1*

b, не менее

Масса наплавленного металла, кг

Масса, кг

Dy

Dy1

номин.

пред. откл.

номин.

пред. откл.

номин.

пред. откл.

пред. откл. ± 5

p = 37,27 МПа, t = 280 °С

01

200

150

273×36

194×26

273

220

124

+1,00

131

+0,63

203

+0,72

144

347

600

75

40

32,8

22,5

28

5,1

185

p = 23,54 МПа, t = 250 °C; p = 23,54 МПа, t = 215 °C

02**

225

100

273×24

133×13

273

133

100

+0,87

104

+0,54

227

+0,72

109

254

600

60

36

20,2

10,7

13

0,9

141

03

250

100

325×28

325

271

+0,81

280

65

42

23,8

190

04

300

100

377×32

377

316

+0,89

306

700

70

50

27,3

306

05**

250

150

325×28

194×17

325

194

150

+1,00

155

+0,63

271

+0,81

162

300

600

65

42

23,8

14,8

16

1,9

196

06

300

150

377×32

377

316

+0,89

327

700

70

50

27,3

314

07**

250

175

325×28

219×19

325

219

170

174

271

+0,81

183

306

600

65

42

23,8

16,5

17

2,4

195

p = 18,14МПa, t = 215 °C

08**

225

100

273×20

133×13

273

133

100

+0,87

104

+0,54

236

+0,72

109

254

600

70

24

16,0

10,7

13

0,9

98

09

250

100

325×22

325

283

+0,81

280

60

28

18,7

135

10

300

100

377×26

377

327

+0,89

306

700

65

32

21,4

207

11**

250

150

325×22

194×15

325

194

150

+1,00

155

+0,63

283

+0,81

166

300

600

60

28

18,7

11,9

16

1,9

142

12

300

150

377×26

377

327

+0,89

327

700

65

32

21,4

213

13**

250

175

325×22

219×16

325

219

170

174

283

+0,81

188

306

600

60

28

18,7

13,2

17

2,4

146

p = 4,31 МПа, t = 340 °С; p = 3,92 МПа, t = 200 °С

14

600

200

630×17

219×9

630

219

192

+1,15

197

+0,72

598

+1,00

203

480

900

60

25

12,2

5,6

11

0,7

343

15

250

273x10

273

240

245

254

500

6,6

12

1,3

348

16

300

325×13

325

282

+1,30

287

+0,81

303

507

7,6

15

2,5

358

17**

400

426×14

426

370

376

+0,89

401

520

9,5

19

6,5

384

18

450

465×16

474

415

421

+0,97

437

542

25

10,5

20

7,5

391

______________

* Размеры для справок

** Допускается применять в технически обоснованных случаях

(Измененная редакция. Изм. № 1)


Таблица 2

Тройник по СТО ЦКТИ 720.04

Штуцер (поз. 1), 1 шт. по СТО ЦКТИ 462.02

Кольцо подкладное (поз. 2), 1 шт. по СТО ЦКТИ 520.01

Корпус (поз. 3), 1шт.

Исполнения

Марка стали, ТУ

01

13

13

15ГС

ТУ 14-3Р-55

или

ТУ 1310-030-00212179

02

21

11

03

04

05

22

15

06

07

23

17

08

21

11

09

10

11

26

15

12

13

27

17

14

30

20

16ГС

ТУ 3-923

или

ТУ 1310-030-00212179

15

32

23

16

34

25

17

36

27

18

38

28

 

Ключевые слова: тепловые станции, трубопроводы, тройники переходные сварные, конструкция, размеры, материалы

ЛИСТ РЕГИСТРАЦИИ ИЗМЕНЕНИЙ

Изм.

Номера листов (страниц)

Номер документа

Срок введения изменений

Подпись

Дата

Измененных

Замененных

Новых

Аннулированных

 

 

 



© 2013 Ёшкин Кот :-)