Информационная система
«Ёшкин Кот»

XXXecatmenu

ГОСУДАРСТВЕННЫЙ КОМИТЕТ СТАНДАРТОВ СОВЕТА МИНИСТРОВ СССР

ВСЕСОЮЗНЫЙ ОРДЕНА ТРУДОВОГО КРАСНОГО ЗНАМЕНИ
НАУЧНО-ИССЛЕДОВАТЕЛЬСКИЙ ИНСТИТУТ МЕТРОЛОГИИ
им. Д.И. МЕНДЕЛЕЕВА
СВЕРДЛОВСКИЙ ФИЛИАЛ
(СФ ВНИИМ)

МЕТОДИКА
ПОВЕРКИ ПРИБОРОВ СРАВНЕНИЯ ДЛЯ ПОВЕРКИ
ТРАНСФОРМАТОРОВ ТОКА И НАПРЯЖЕНИЯ

МИ 114-77

РАЗРАБОТАНА Свердловским филиалом ВНИИМ

Директор Н.Г. Семенко

Руководитель темы Е.Ю. Гусарский

Исполнитель Е.И. Шубина

ПОДГОТОВЛЕНА К УТВЕРЖДЕНИЮ научно-методической лабораторией государственной метрологической службы

Руководитель Е.Ю. Гусарский

Исполнитель Е.И. Шубина

УТВЕРЖДЕНА Научно-техническим советом Свердловского филиала ВНИИМ 17 декабря 1975 г. (протокол № 38)

Настоящая методика распространяется на приборы сравнения типов АИТ и К507, предназначенные для поверки трансформаторов тока и напряжения классов точности 0,05; 0,1; 0,2; 0,5; 1; 3; 10 с номинальными вторичными токами 1; 2; 2,5; 5 А и номинальными вторичными напряжениями 100/3; 100/; 100; 200/; 150; 200 В, частотой 50 Гц, и устанавливает средства и методы их первичной и периодических поверок.

Допускается поверка по этой методике других приборов сравнения отечественного или иностранного производства, а также приборов сравнения, встроенных в установки.

1. ОПЕРАЦИИ ПОВЕРКИ

1.1. При проведении поверки приборов сравнения должны выполняться операции, указанные ниже.

1. Внешний осмотр (п. 4.1).

2. Проверка совпадения показаний шкал реохордов (п. 4.2.1).

3. Испытание электрической прочности изоляции, производится при выпуске из производства и после ремонта (п. 4.2.2).

4. Проверка исправности электрической цепи реохордов (п. 4.2.3).

5. Проверка исправности сигнальных устройств (п. 4.2.4).

6. Проверка правильности знаков шкал реохордов, производится при выпуске из производства и после ремонта (п. 4.2.5).

7. Проверка чувствительности прибора сравнения (п. 4.2.6).

8. Определение погрешностей ампервольтметра (п. 4.3.1).

9. Определение погрешности переходного трансформатора (п. 4.3.2).

10. Определение погрешностей синфазного и квадратурного реохордов (п. 4.3.3).

11. Определение погрешности дифференциальной ветви Ri (п. 4.3.4).

12. Определение погрешности делителя напряжения (п. 4.3.5).

13. Определение погрешности делителя Rc (п. 4.3.6).

14. Определение погрешности шунта Rш (п. 4.3.7).

2. СРЕДСТВА ПОВЕРКИ

2.1. При проведении поверки должны применяться следующие средства:

амперметры: Д57/1 класса точности 0,1 с диапазоном измерений от 5 до 10 А по ГОСТ 8711-60; Д57/2 класса точности 0,1 с диапазоном измерений от 2,5 до 5 А по ГОСТ 8711-60; Д57/3 класса точности 0,1 с диапазоном измерений от 0,5 до 1 А по ГОСТ 8711-60; Д553 класса точности 0,2 с диапазоном измерений от 0,1 до 50 А по ГОСТ 8711-60;

вольтметры: Д57 класса точности 0,1 с диапазоном измерений от 150 до 300 В по ГОСТ 8711-60; Д57/7 класса точности 0,1 с диапазоном измерений от 50 до 150 В по ГОСТ 8711-60; Д566 класса точности 0,2 с диапазоном измерений от 50 до 75; от 75 до 150 и от 150 до 250 В по ГОСТ 8476-60;

комбинированные приборы Ц4312 класса точности 1,0 и 2,5 с диапазоном измерений от 200 Ом до 3 МОм; от 0,15 до 6 А; от 0,3 до 1000 В по ГОСТ 10374-74; Ц434 класса точности 1,0 и 2,5 с диапазоном измерений от 3 Ом до 30 МОм; от 0,25 мА до 25 А и от 2,5 до 1000 В по ГОСТ 10374-74;

микровольтнаноамперметр Р325 класса точности 1,0 с диапазоном измерений от 0,5 мкВ до 5 В и от 1 до 500 нА по ТУ 25-04-1085-69; потенциометр постоянного тока Р37 класса точности 0,01 с пределом измерения до 2,121 В по ГОСТ 5.1986-73;

источник стабилизированных напряжений ИСН-1 с выходным переменным напряжением до 1500 В; выходным током до 100 А; коэффициентом нелинейных искажений не более 0,5; временной нестабильностью 0,1 %;

установка по поверке амперметров и вольтметров УПАВ-2 с выходным напряжением до 600 В; выходным током до 100 А и плавностью регулирования не хуже 0,2 %; лабораторный автотрансформатор ЛАТР-1 с выходным напряжением до 250 В и выходным током до 9 А;

катушка взаимной индуктивности Р536 типа КВИИ класса точности 0,2; 0,01 Г по ГОСТ 13654-68; Р536 типа КВИИ класса точности 0,2; 0,001 Г по ГОСТ 13654-68; катушка индуктивности Р547 с основной погрешностью ±0,1 %; 0,1 Г по ГОСТ 13654-68;

катушки сопротивления: Р310 класса точности 0,02, 3-го разряда; 0,0010 Ом по ГОСТ 5.263-69; Р310 класса точности 0,02, 3-го разряда; 0,01 Ом по ГОСТ 5.263-69; Р321 класса точности 0,01, 3-го разряда; 0,1 Ом по ГОСТ 5.263-69; Р321 класса точности 0,01, 3-го разряда; 10 Ом по ГОСТ 5.263-69; Р331 класса точности 0,01, 3-го разряда; 100 Ом по ГОСТ 5.263-69; Р331 класса точности 0,01, 3-го разряда; 1000 Ом по ГОСТ 5.263-69; Р331 класса точности 0,01, 3-го разряда; 10000 Ом по ГОСТ 5.263-69; Р331 класса точности 0,01, 3-го разряда; 100000 Ом по ГОСТ 5.263-69; Р361 класса точности 0,02; комплект: 1; 10; 100; 1000; 10000; 100000 Ом по ГОСТ 6864-69;

магазины сопротивлений: Р517М класса точности 0,05; диапазон сопротивлений от 0,03 до 12222,21 Ом ступенями по 0,01 Ом по ГОСТ 7003-74; Р58 класса точности 0,1; диапазон сопротивлений от 0,1 до 111111 Ом ступенями по 0,1 Ом по ГОСТ 7003-74;

нагрузочный магазин сопротивлений Р5054 (НТН1) класса точности 4,0;

магазин емкости Р544 типа МЕСП класса точности 0,2 с пределом измерения до 1,11 мкФ по ГОСТ 6746-75;

нормальный элемент НЭ-65 класса точности 0,005 с пределом измерения от 1,01850 до 1,01870 В по ГОСТ 5.514-73;

трансформатор напряжения УТН-1 класса точности 0,2 по ГОСТ 9032-69;

трансформаторы тока: И512 класса точности 0,05 по ГОСТ 9032-69; И515М класса точности 0,1 по ГОСТ 5.1885-73; И56М класса точности 0,1 по ГОСТ 9032-69.

3. УСЛОВИЯ ПОВЕРКИ И ПОДГОТОВКА К НЕЙ

3.1. При проведении поверки должны соблюдаться следующие условия: температура в помещении, где проводится поверка, должна быть в пределах от 10 до 35 °С; относительная влажность воздуха от 30 до 80 %; атмосферное давление от 87 до 107 кН/м2.

3.2. При поверке прибор сравнения и индикатор нуля должны быть удалены от источников сильных магнитных полей (трансформаторов, реактивных катушек, проводов с сильным током и т.п.), влияние которых может вызвать заметную погрешность измерения.

Наличие влияния внешних полей можно выявить следующим способом: произведя измерение прибором сравнения, следует повторить его, изменив на 180° фазу внутри прибора по отношению к токам, протекающим вне его. Для этого следует взаимно поменять местами провода в каждой из пар, соединяющих прибор сравнения с поверяемым и образцовым трансформаторами или с источниками питания его рабочих цепей. При этом не должны быть нарушены условия равновесия схемы. Если расхождение результатов, обоих измерений не превысит допускаемой погрешности прибора, то влиянием внешних магнитных полей можно пренебречь.

Влияние внешних полей может быть выявлено и другими способами, например, по расхождению результатов нескольких измерений при различных положениях прибора сравнения в пространстве.

3.3. При необходимости при проверке вместо встроенного в прибор сравнения индикатора нуля можно использовать внешний, который подключают к зажимам "Г" прибора сравнения АИТ и к зажимам "1" и "Ux" прибора сравнения К507 при разомкнутой перемычке на зажимах "1 - 2" последнего.

3.4. Все соединительные провода должны быть свиты бифилярно. Должен быть обеспечен их надежный контакт с зажимами прибора сравнения и остальными приборами схемы.

3.5. Для устранения влияния механических сотрясений рекомендуется под прибор сравнения подкладывать коврик из губчатой резины толщиной 15 - 20 мм.

3.6. Перед проведением поверки следует произвести операции, обеспечивающие безопасность работы:

заземлить металлические корпуса всего оборудования, проверить правильность сборки схемы и контактные соединения.

3.7. Сборку каждой новой схемы должны проводить только после снятия питающего напряжения.

3.8. При работе с трансформаторами тока до подачи напряжения должно быть проверено соединение вторичной обмотки с нагрузкой.

4. ПРОВЕДЕНИЕ ПОВЕРКИ

4.1. Внешний осмотр.

4.1.1. При внешнем осмотре должны быть проверены: комплектность, маркировка, отсутствие дефектов, общего характера.

4.1.2. В комплекте с прибором сравнения должны поставлять перемычки (на зажимах прибора); шнур питания; техническое описание и инструкцию по эксплуатации.

4.1.3. На панели каждого прибора должны быть следующие надписи и обозначения:

товарный знак предприятия-изготовителя; знак Государственного реестра по ГОСТ 8.001-71; наименование прибора сравнения и его обозначение; год выпуска и номер по системе предприятия-изготовителя; обозначения пределов измерения.

Примечание. Знак Государственного реестра по ГОСТ 8.001-71 может отсутствовать на приборах сравнения, выпущенных до 1973 г.

На циферблате ампервольтметра должны быть следующие надписи и обозначения: класс точности прибора; условное обозначение рода тока; условное обозначение системы прибора; условное обозначение рабочего положения прибора; год выпуска и номер; надпись "%, 1, Uн".

4.1.4. Маркировка у отсчетных окон шкал реохордов должна указывать измеряемую величину и пределы измерения.

4.1.5. Переключатели пределов измерения ампервольтметра и прибора сравнения, переключатель чувствительности нуль-индикатора и зажимы должны иметь обозначения, обеспечивающие правильность включения и удобство работы в соответствии с инструкцией по эксплуатации.

4.1.6. Зажимы, предназначенные для присоединения измерительных трансформаторов, должны иметь обозначения, соответствующие обозначениям на выводах вторичных обмоток образцовых и поверяемых трансформаторов.

4.1.7. У прибора сравнения должны отсутствовать дефекты общего характера:

неисправности или поломки зажимов или других наружных деталей; отсоединения частей внутри прибора; загрязнение шкал; заедание при проворачивании ручек переключателей, люфтов; заклинивание и чрезмерное трение при проворачивании реохордов.

4.2. Опробование.

4.2.1. Проверка совпадения показаний шкал реохордов.

Поскольку реохорды прибора сравнения имеют несколько шкал, то их проверяют на совпадение показаний. Для этого указатель устанавливают на каждую числовую отметку основной шкалы реохорда последовательно во всем диапазоне измерений и сравнивают с показаниями по другой шкале. Если расхождение составляет более 1/4 цены деления основной шкалы, прибор сравнения не пригоден к работе.

4.2.2. Испытание электрической прочности изоляции.

Изоляция токоведущих цепей прибора относительно цепи питания нуль-индикатора от сети должна выдерживать в течение 1 мин напряжение 1,5 кВ практически синусоидального переменного тока частотой 50 Гц. Корпус прибора должен иметь надежную связь с зажимом заземления. Сопротивление изоляции между токоведущими цепями аппарата и цепью питания нуль-индикатора от сети должно быть не менее 40 МОм.

4.2.3. Проверка исправности электрической цепи реохордов.

Исправность электрической цепи реохордов проверяют на постоянном токе (рис. 1). Для этого к зажимам Г прибора АИТ подключают омметр, диапазон измерений которого устанавливают Ом или кОм. Переключатель диапазонов измерений прибора сравнения устанавливают в положение "Измерение погрешности". Гальванометр отключают от зажимов Г.

Рис. 1. Схема проверки исправности электрической цепи реохордов.

Ом - комбинированный прибор Ц4312 (Ц434) класса точности 1 с пределом измерения 0,2 (0,5) кОм

При проверке прибора сравнения К507 омметр подключают к зажимам 1 и *Uх при снятой перемычке, соединяющей зажимы 1 и 2.

Вращая поочередно рукоятки синфазного и квадратурного реохордов, наблюдают за стрелкой омметра. При плавном вращении рукояток показания омметра должны плавно меняться в пределах нескольких процентов. Если наблюдаются резкие изменения или скачки стрелки, то это свидетельствует о неисправности реохорда.

4.2.4. Проверка исправности сигнальных устройств.

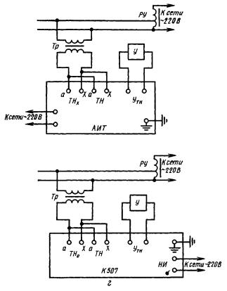
Исправность сигнального устройства, служащего для контроля правильности включения трансформатора тока (рис. 2, а), проверяют на переменном токе частотой 50 Гц.

Переключатель диапазонов измерения прибора сравнения устанавливают в положение "Измерение погрешности", цепь гальванометра размыкают. К зажимам группы ТТх от источника стабилизированного напряжения подводят ток, контролируемый амперметром. Плавно увеличивая ток от нуля до момента срабатывания устройства, отмечают значение тока срабатывания.

Исправность сигнального устройства, служащего для контроля правильности включения трансформаторов напряжения (рис. 2, б), проверяют на переменном токе частотой 50 Гц.

Переключатель диапазонов измерений прибора сравнения и цепь гальванометра оставляют в прежнем положении. К зажимам X группы ТН0 и ТНх от источника стабилизированного напряжения подводят напряжение, контролируемое вольтметром. Плавно увеличивая напряжение от нуля до момента срабатывания устройства, отмечают значение напряжения срабатывания.

Диапазон срабатывания сигнальных устройств: по току - при токах от 1 до 2А; по напряжению - при напряжениях от 40 до 70 В для прибора сравнения АИТ и от 45 до 70 В для прибора К507.

Рис. 2 Схема проверки сигнального устройства

А - комбинированный прибор Ц4312 (Ц434) класса точности 25с пределом измерения 2,5;
V - комбинированный прибор Ц4312 (Ц434) класса точности 2,5 с пределом измерения 100 В;
РУ - источник стабилизированного напряжения ИСН1 (УПАВ2, ЛАТР И57)
с выходным током 2,5 А и частотой 50 Гц, выходным напряжением 150 В и частотой 50 Гц

4.2.5. Проверка правильности знаков шкал реохордов.

Рис. 3. Схема проверки правильности знаков шкал реохордов:

L - катушка индуктивности Р547 класса точности 0,1 с пределом измерения 0,1 Гн;
РУ - источник стабилизированного напряжения ИСН1 (УПАВ2, ЛАТР1-И57);
Тр1, Тр2 - трансформаторы напряжения 380 класса точности 0,2;
R - магазин сопротивления Р517-М (Р58) класса точности 0,05 (0,1) с пределом измерений 1000 Ом;
РУ - источник стабилизированного напряжения ИСН1 (УПАВ2, ЛАТР1-И57);
Тр - трансформатор напряжения УТН1  класса точности 0,2;
У - нагрузочный магазин сопротивлений Р5054 (НТН1) класса точности 4 с пределом измерений 20 В×А

Правильность знаков шкал реохордов при поверке трансформаторов тока (рис. 3, а) проверяют при токе 0,2 А. Переключатель диапазонов измерения прибора сравнения устанавливают в положение "Измерение погрешности", а переключатель ампервольтметра - в положение . Зажимы Z у АИТ или 1 - 2 и Т1-Т2 у прибора К507 замыкают накоротко. Включают индикатор нуля, устанавливают рабочий ток и схему уравновешивают. При правильном нанесении знаков равновесие должно наступить при положительном показании на шкале реохорда токовой погрешности (синфазного реохорда) и отрицательного знака на шкале реохорда угловой погрешности (квадратурного реохорда).

Правильность знаков шкал реохордов при измерении комплексных сопротивлений нагрузок (рис. 3, б) проверяют при токе 0,2 - 0,4 А. Переключатель диапазонов измерения прибора сравнения устанавливают в положение "Измерение Zтт", а переключатель ампервольтметра - в положение . Включают индикатор нуля, устанавливают рабочий ток и схему уравновешивают. При правильном нанесении знаков равновесие должно наступить при положительных показаниях на обеих шкалах.

Правильность знаков шкал реохордов при поверке трансформаторов напряжения (рис. 3, в) проверяют при напряжении 30 В. Переключатель диапазонов измерений прибора сравнения устанавливают в положение "Измерение погрешности", а переключатель ампервольтметра - в положение 100 В. Устанавливают напряжение 30 В, уравновешивают схему и отсчитывают погрешности трансформатора напряжения. Затем замыкают ключ КЛ, вновь уравновешивают схему и отсчитывают погрешности. При правильном нанесении знаков и при включении активной нагрузки во вторичную цепь трансформатора напряжения первоначальные отрицательные значения погрешностей будут увеличиваться по абсолютному значению, а положительные значения погрешностей уменьшаться или изменять знак.

Правильности знаков шкал при измерении комплексных значений проводимостей нагрузок (рис. 3, г) проверяют при напряжении 30 В. Переключатель диапазонов измерений прибора сравнения устанавливают в положение "Измерение УТН", а переключатель ампервольтметра в положение 100 В. Включают индикатор нуля, устанавливают напряжение и уравновешивают схему.

При правильном нанесении знаков равновесие должно наступить при положительном показании на шкале активных проводимостей и отрицательном на шкале реактивных.

4.2.6. Проверка чувствительности прибора сравнения (рис. 4).

Чувствительность прибора сравнения со встроенным индикатором нуля проверяют расстройкой уравновешенной схемы, включенной для определения погрешности трансформатора тока.

При расстройке схемы на 0,05 %, отсчитанных в диапазоне измерений 1 % при силе тока во вторичной цепи трансформатора тока 0,5 А для прибора АИТ и на 0,005 %, отсчитанных в диапазоне измерений 0,1 % при силе тока во вторичной цепи трансформатора тока 0,1 А для прибора К507, чувствительность должна быть не меньше 10 мм шкалы индикатора нуля.

4.3. Определение метрологических параметров.

4.3.1. Определение погрешностей ампервольтметра (рис. 5). Погрешности встроенного ампервольтметра определяют методом сличения с образцовыми вольтметром и амперметром класса точности 0,2 для приборов сравнения АИТ и класса точности 0,1 для приборов сравнения К507. При условии введения поправок допускается использовать для прибора сравнения К507 вольтметр и амперметр класса точности 0,2.

Определение производят на переменном токе частотой 50 Гц при синусоидальной форме кривой тока и напряжения. Действующее значение высших гармоник не должно превышать 2 % действующего значения основной.

Положение переключателя диапазонов прибора сравнения и ампервольтметра должны соответствовать диапазону, в котором производят определение.

Погрешности определяют на всех числовых отметках рабочей части шкалы 1 А, 150 В для прибора сравнения АИТ и 2 А, 200 В для прибора К507. На остальных шкалах определения производят на начальной, конечной отметках и отметке, при которой абсолютная погрешность измерения ожидается наибольшей.

Диапазоны измерений следует переключать без разрыва цепи тока.

Пределы допускаемой погрешности ампервольтметра АИТ ±1,5 % для диапазонов токов от 10 до 120 % и напряжений от 80 до 120 % при 100 и 150 В. В диапазонах напряжений от 10 до 80 % при 100 и 150 В и диапазонах от 10 до 120 % при 100/ В пределы допускаемой погрешности ±2,5 %.

Пределы допускаемой погрешности ампервольтметра аппарата сравнения К507 равны ±0,5 %.

По вариации, невозвращению указателя к нулевой отметке шкалы, времени успокоения и корректору ампервольтметр должен соответствовать ГОСТ 22261-76.

Рис. 4. Схема проверки чувствительности прибора сравнения:

Tp1, Тр2 - трансформаторы тока И512 (И515М, И56М) 5/5 и 1/1 класса точности 0,05 (1,0);
РУ - источник стабилизированного напряжения ИСН1 (УПАВ2, ЛАТР1-И57)

Рис. 5. Схема определения погрешностей ампервольтметра:

А - амперметр Д57 (Д553) класса точности 0,1 (0,2) силой тока 0,2 - 6 А;
V - вольтметр Д57 (Д566) класса точности 1,0 (0,2) напряжением 15220 В;
РУ - источник регулируемого стабилизированного напряжения ИСН1 (УПАВ2, ЛАТР1-И57)

4.3.2. Определение погрешности переходного трансформатора (рис. 6, а, б).

Погрешность переходного трансформатора определяют на переменном токе частотой 50 Гц.

Переключатель диапазонов измерений прибора сравнения АИТ устанавливают в положение П, прибора сравнения К507 - в положение Ux.

Переключатель диапазонов измерений ампервольтметра прибора АИТ устанавливают в положение 150 В (для приборов АИТ старого образца 100 В) или в положение 200 В для прибора сравнения К507.

По встроенному ампервольтметру устанавливают нужное значение напряжения, подаваемого от источника стабилизированного напряжения. Включают индикатор нуля, уравновешивают схему и отсчитывают показания по основной шкале реохорда.

Равновесие схемы должно наступил при отсчетах +1 % по шкале синфазного реохорда прибора АИТ; +0,1 % по шкале синфазного реохорда прибора К507 и по шкале квадратурного реохорда на отметке 0.

Рис. 6. Схема определения погрешности переходного трансформатора:

а - приборов АИТ; б - приборов К507; R1, R2 - магазины сопротивлений Р58 на 32493,
5 Ом класса точности 0,1 и Р517 (Р58) на 6,5 Ом класса точности 0,5 (0,1) - рис. а;
R1 - магазин сопротивления Р58 на 66666 Ом класса точности 0,1;
R2 - катушка электрического сопротивления измерительная безреактивная Р361 3-го разряда на 1 Ом
(магазин сопротивлений Р517М класса точности 0,05 на 10 м) - рис. б;
РУ - источник стабилизированного напряжения ИСН1 (УПАВ2, ЛАТР1-И57)

Параметры делителя для определения погрешности переходного трансформатора выбирают, исходя из схемы прибора сравнения и допускаемой мощности магазинов сопротивлений.

Необходимо следить, чтобы зажимы группы ТНх и группы II, соединенные непосредственно, имели одинаковые потенциалы.

Погрешность переходного трансформатора определяют при напряжениях 0,8; 0,9; 1; 1,1 и 1,2Uн. Погрешность не должна превышать одного деления шкалы.

4.3.3. Определение погрешностей синфазного и квадратурного реохордов.

Погрешности синфазного реохорда приборов сравнения АИТ (рис. 7, а) и К507 (рис. 7, б) определяют на переменном токе частотой 50 Гц.

Рис. 7. Схема определения погрешности синфазного и квадратурного реохордов:

R1 - катушка электрического сопротивления Р310 на 0,01 Ом 3-го разряда - рис. а;
на 0,001 Ом 3-го разряда - рис. б; R2, R3 - магазин сопротивлений Р517М (Р58)
на 100 Ом класса точности 0,05 (0,1) - рис. а, б; R1, R2 - магазин сопротивлений Р517М (Р58)
 на 1076 Ом (рис. в) и 6480 Ом (рис. г) класса точности 0,05 (0,1); Тр - трансформатор тока
И512 (И515М) 5/5 класса точности 0,05 (01) - рис. а, б; И512 (И515М) 05/5 - рис. в, г;
РУ - источник стабилизированного напряжения ИСН1 (УПАВ2, ЛАТР1-И57);
М - катушка взаимной индуктивности Р536 на 0,01 Г класса точности 0,2 - рис. в;
на 0,001 Г класса точности 0,2 - рис. г; С - магазин емкости Р544 на 0,5 мкФ
класса точности 0,2 - рис. в; на 0,2 мкФ класса точности 0,2 - рис. г

Переключатель диапазонов измерений прибора сравнения АИТ устанавливают в положение П, а переключатель диапазонов измерений ампервольтметра - в положение 5 А.

От источника стабилизированного напряжения подают рабочий ток 3 А. Ток контролируют по встроенному ампервольтметру.

Для определения погрешности на нулевой отметке шкалы потенциальные провода от делителя R2 + R3 к зажимам П или Uх отсоединяют, а зажимы П или Ux закорачивают. Включают индикатор нуля, уравновешивают схему и отсчитывают показания.

Для определения погрешности на остальных цифровых отметках шкалы потенциальные провода вновь подключают к зажимам П (см. рис. 7, а) или Ux (см. рис. 7, б).

Значения сопротивлений R2 и R3 делителя устанавливают ступенями через 10 Ом так, чтобы их сумма всегда оставалась равной 100 Ом (R2 = 90, 80, 70, ..., 0 Ом; R3 = 10, 20, 30, ..., 1000 м).

Погрешность синфазного реохорда при рабочем токе 0,1 А определяют на трех числовых отметках: нулевой, средней и конечной.

Погрешность квадратурного реохорда приборов сравнения АИТ (рис. 7, в) и К507 (рис. 7, г) определяют на переменном токе частотой 50 Гц. Операции при определении погрешности квадратурного реохорда аналогичны операциям при определении погрешности синфазного реохорда.

Параметры делителя R1 + R2 для определения погрешности квадратурного реохорда прибора сравнения АИТ выбирают следующим образом: на магазине сопротивлений R1 между выводами "12222,21 Ом" и "122,21 Ом" устанавливают значение электрического сопротивления 200 Ом. К этим же зажимам подключают магазин емкости, значение которой должно быть 0,5 мкФ. Между выводами "122,21 Ом" и "0" устанавливают значения сопротивления 76 - r Ом, где r - значение сопротивления магазина R2 между выводами "122,21 Ом" и "0", к которым подключают потенциальные провода. На магазине R2 между выводами "12222,21 Ом" и "122,21 Ом" устанавливают значение электрического сопротивления 800 Ом. Значение сопротивления устанавливают ступенями через 5 Ом так, чтобы общее сопротивление делителя, равное 1076 Ом, оставалось постоянным.

При определении погрешности квадратурного реохорда на положительной части шкалы r принимает значения: 5, 10, 15, ..., 65 Ом; на отрицательной 5, 10, 15, ..., 35 Ом.

Параметры делителя R1 + R2 для определения погрешности квадратурного реохорда прибора сравнения К507 выбирают следующим образом: на магазине сопротивлений R1 между выводами "12222,21 Ом" и "122,21 Ом" устанавливают значение электрического сопротивления, равное 100 Ом. К этим же зажимам подключают магазин емкости, значение которой должно быть 0,2 мкФ. Между выводами "122,21 Ом" и "0" устанавливают значение сопротивления 80 - r Ом, где r - значение сопротивления магазина R2 между выводами "122,21 Ом" и "0", к которым подключают провода.

На магазине JR2 между выводами "12222,21 Ом" и "122,21 Ом" устанавливают значение сопротивления 6300 Ом, а значение сопротивления r устанавливают ступенями через 5 Ом, так чтобы общее сопротивление делителя, равное 6480 Ом, оставалось постоянным.

Рис. 8. Схема определения погрешности дифференциальной ветви Ri:

R - катушка электрического сопротивления Р310 на 0,1 и 1 Ом 3-го разряда - рис. а; 0,01; 0,1 и
1 Ом 3-го разряда - рис. б; А - комбинированный прибор Ц4312 на 1,5 А класса точности 1,0 - рис. а;
на 0,6 А класса точности 0,1 - рис. б; РУ - источник стабилизированного напряжения ИСН1 (УПАВ2);
НЭ - нормальный элемент НЭ-65 класса точности 0,005; mV - микровольтнаноамперметр Р325
на 12,5 мкВ класса точности 1; БА, ББ - батареи постоянного тока напряжением 2,4 - 3,3 и
3,5 - 4,4 В соответственно; Р37 - потенциометр постоянного тока класса точности 0,01

При определении погрешности квадратурного реохорда на положительной части шкалы r принимает значения 5, 10, 15, ..., 650 Ом, на отрицательной 5, 10, 15, ..., 35 Ом.

Знаки шкал реохордов прибора сравнения АИТ изменяют, изменяя полюсы напряжения, снимаемые с делителя, а прибора сравнения К507 - изменяя направления рабочего тока.

Погрешности синфазного и квадратурного реохордов не должны превышать значений, приведенных в табл. 1.

Таблица 1

Прибор сравнения

Положение переключателя прибора сравнения

Диапазон измерения

Предельные значения допускаемых погрешностей реохордов для

погрешности коэффициента трансформации, %

угловой погрешности

коэффициента трансформации, %

угловой погрешности

АИТ

0,3

От -0,3 до +0,3

От -10 до +20

±0,003

±10,3

 

1 (основная)

-"- -1,0 -"- +1,0

-"- -35 -"- +65

±0,01

±1,0

 

3

-"- -3,0 -"- +3,0

-"- -100 -"- +200

±0,3

±3,0

 

10

-"- -10 -"- +10

-"- -35 -"- +650

±0,10

±10,0

К507

0,1

От -0,1 до +0,1

От -3,5 до +6,5

±0,001

±0,1

 

0,3

-"- -0,3 -"- +0,3

-"- -10 -"- +20

±0,003

±0,3

 

1

-"- -1,0 -"- +1,0

-"- -35 -"- +65

±0,01

±1,0

 

3

-"- -3,0 -"- +3,0

-"- -100 -"- +200

±0,03

±3,0

 

10

-"- -10 -"- +10

-"- -35 -"- +650

±0,10

±10,0

Примечание. При токах от 0,1 до 0,5 А и при напряжениях от 20 до 50 В допускаемые значения погрешностей во всех диапазонах измерения в 2 раза больше вышеуказанных.

4.3.4. Определение погрешности дифференциальной ветви Ri (рис. 8, а, б).

Погрешность дифференциальной ветви прибора сравнения, входящей в схему трансформаторов тока, определяют на постоянном токе компенсационным методом.

Переключатель диапазонов измерений прибора сравнения устанавливают в положение "Измерение погрешности", гальванометр отсоединяют от зажимов Г, зажимы 1 - 2 прибора сравнения К507 размыкают. Электрическое сопротивление образцовой катушки, силу тока в цепи и диапазон измерений выбирают в соответствии с табл. 2.

Микровольтнаноамперметр Р325 и потенциометр Р37 к измерениям готовят согласно прилагаемым к этим приборам инструкциям.

Напряжение на образцовой катушке измеряют дважды и вычисляют среднее арифметическое значение.

Таблица 2

Прибор сравнения

Положение переключателя диапазонов измерений

Номинальное значение сопротивления дифференциальной ветви

Номинальное значение сопротивления образцовой катушки

Сила тока в цепи образцовой катушки, А

Ом

АИТ

0,3

3,33

1

0,1

 

1

1,0

1

0,1

 

3

0,333

0,1

0,5

 

10

0,1

0,1

0,5

К507

0,1

1

1

0,1

 

0,3

0,3333

0,1

0,1

 

1

0,1

0,1

0,1

 

3

0,03333

0,01

0,1

 

10

0,01

0,01

0,1

Действительное значение измеряемого сопротивления в омах дифференциальной ветви вычисляют по формуле

где R0 - номинальное значение сопротивления образцовой катушки, Ом;

Ui, U0 - значения напряжений соответственно на измеряемом и образцовом сопротивлениях, В.

Погрешность сопротивлений дифференциальной ветви не должна превышать ±0,2 % номинального значения.

Примечание. При проверке может быть использована любая потенциометрическая установка, обеспечивающая измерение сопротивлений с погрешностью ±0,04 %.

4.3.5. Определение погрешности делителя напряжения (рис. 9, а, б).

Погрешность делителя напряжения, входящего в схему трансформаторов напряжения, определяют на постоянном токе компенсационным методом.

Переключатель диапазонов измерений прибора сравнения устанавливают в положение "Измерение погрешности", гальванометр от зажимов Г отсоединяют, зажимы 1 - 2 прибора сравнения К507 размыкают.

Электрическое сопротивление плеч образцового делителя, напряжение, подаваемое на делитель, и диапазон измерений прибора сравнения выбирают в соответствии с табл. 3.

Микровольтнаноамперметр Р325 и потенциометр Р37 к измерениям готовят согласно прилагаемым к этим приборам инструкциям.

Рис. 9. Схема определения погрешности делителя напряжения:

R1 - магазин сопротивления Р517М класса точности 0,05; R2 - катушка электрического сопротивления
Р310 на 1 Ом 3-го разряда - рис. а; на 100; 10 и 1 Ом 3-го разряда - рис. б; V - комбинированный прибор
Ц4312 на 7,5 В класса точности 1; НЭ - нормальный элемент НЭ-65 класса точности 0,005;
mV - микровольтнаноамперметр Р325 класса точности 1; БА, ББ - батареи постоянного тока на
2,4 - 3,3 В и 3,5 - 4,4 В соответственно; Р37 - потенциометр постоянного тока класса точности 0,01.

Таблица 3

Прибор сравнения

Положение переключателя диапазона измерений

Значение сопротивления плеч образцового делителя, Ом

Напряжение делителя, В

R1

R2

АИТ

0,3

14

1

2,5

 

1

49

1

5,0

 

3

149

1

6,0

 

10

499

1

6,0

К507

0,1

6567

100

6,0

 

0,3

1990

10

6,0

 

1

6657

10

6,0

 

3

1999

1

6,0

 

10

6666

1

6,0

Напряжение на образцовой катушке измеряют дважды и вычисляют среднее арифметическое значение.

Относительную погрешность коэффициента деления делителя в процентах определяют по формуле

где Uи, U0 - значения напряжений соответственно на поверяемом и образцовом делителе, В.

Погрешность коэффициента деления делителя не должна превышать ±0,2 %.

Рис. 10. Схема определения погрешности делителя Rc:

V - комбинированный прибор Ц4312 на 30; 150; 300 В класса точности 1;
РУ - источник стабилизированного напряжения ИСН1 (УПАВ2); R1 - магазин сопротивлений Р517М
класса точности 0,05; R2 - катушки электрического сопротивления Р310 на 1 Ом 3-го разряда;
НЭ - нормальный элемент НЭ-65 класса точности 0,005; mV - микровольтнаноамперметр Р325 класса
точности 1; БА; ББ - батареи постоянного тока 2,4 - 3,3 В и 3,5 - 4,4 В соответственно;
Р37 - потенциометр постоянного тока класса точности 0,01, А - комбинированный прибор на 1,5 мА
класса точности 1; R - катушка электрического сопротивления Р310 на 100, 1000, 10000 и
100000 Ом 3-го разряда

4.3.6. Определение погрешности делителя Rс (рис. 10, а, б, в).

Погрешность делителя напряжения Rс, входящего в схему измерения комплексных сопротивлений, определяют на постоянном токе компенсационным методом.

Переключатель диапазонов измерений прибора сравнения АИТ устанавливают в положение "Измерение Zтт", гальванометр от зажимов Г отсоединяют, зажимы Т-Т и Zтт размыкают.

Микровольтнаноамперметр Р325 и потенциометр Р37 к измерениям готовят согласно прилагаемым к этим приборам инструкциям.

Напряжение на образцовой катушке измеряют дважды и вычисляют среднее арифметическое значение.

Относительную погрешность коэффициента деления делителя в процентах вычисляют по формуле

где Uи, U0 - значения напряжений соответственно на изменяемом и образцовом делителе, В.

Погрешность коэффициента деления делителя не должна превышать ±0,2 %.

Электрическое сопротивление плеч образцового делителя, напряжение, подаваемое на делитель, и диапазон измерений прибора сравнения выбирают в соответствии с табл. 4.

Таблица 4

Положение переключателя диапазона измерений

Значение сопротивления плеч образцового делителя, Ом

Напряжение делителя, В

R1

R2

0,3

29

1

3

1

99

1

6

3

299

1

6

10

2999

1

6

30

999

1

6

100

9999

1

6

Переключатель диапазонов измерений прибора сравнения К507 устанавливают в положение "Измерение Z", гальванометр от зажимов Г отсоединяют, зажимы 1 - 2 размыкают.

Электрическое сопротивление образцовой катушки в схеме определения погрешности и диапазон измерений выбирают в соответствии с табл. 5.

Таблица 5

Положение переключателя диапазона измерений

Номинальное значение сопротивления образцовой катушки, Ом

Зажимы для подключения

Схема определения погрешности

0,1

1

П-30 Ом

Рис. 10, б

0,3

100

П-30 Ом

Рис. 10, в

1

1000

П-30 Ом

То же

3

1000

П-30 Ом

"

10

10000

П-30 Ом

"

30

10000

П-30 Ом

"

100

100000

П-100 Ом

"

Сила тока в цепи делителя Rc не должна превышать 1 мА. Действительное значение сопротивления катушек поверяемого делителя вычисляют по формуле

где R0 - номинальное значение сопротивления образцовой катушки, Ом;

Ui, U0 - значения напряжения соответственно на измеряемом и образцовом сопротивлениях, В.

Погрешность коэффициента деления или катушек сопротивления делителя не должна превышать ±0,5 %.

4.3.7. Определение погрешности шунта (рис. 11, а, б).

Погрешность шунта, входящего в схему измерения комплексных значений проводимостей, определяют на постоянном токе компенсационным методом.

Переключатель диапазонов измерений прибора сравнения устанавливают в положение "Измерение Y", гальванометр от зажимов Г отсоединяют, зажимы ТН закорачивают.

Диапазон измерений, электрическое сопротивление образцовой катушки и силу тока в цепи выбирают в соответствии с табл. 6.

Микровольтнаноамперметр Р325 и потенциометр Р37 к измерениям готовят согласно прилагаемым к этим приборам инструкциям.

Действительное значение измеряемого сопротивления шунта вычисляют по формуле

где R0 - номинальное значение сопротивления образцовой катушки, Ом;

Uш, U0 - значения напряжений соответственно на измеряемом и образцовом сопротивлениях, В.

Погрешность сопротивлений шунта не должна превышать ±0,5 % номинального значения сопротивления образцовой катушки.

Рис. 11. Схема определения погрешности шунта Rш:

РУ - источник стабилизированного напряжения ИСН1 (УПАВ2); НЭ - нормальный элемент НЭ-65 класса
точности 0,05; mV - микровольтнаноамперметр Р325 класса точности 1, БА, ББ - батареи постоянного тока
2.4 - 3.3 В и 3,5 - 4,4 В соответственно; Р37 - потенциометр постоянного тока класса точности 0,01;
R - катушка электрического сопротивления Р310 на 1; 0,1 и 0,01 Ом 3-го разряда - рис. а;
0,1; 0,01 и 0,001 Ом 3-го разряда - рис. б; А - комбинированный прибор Ц4312 на 0,15 и 1,5 А класса
точности 1 - рис. а, на 6 А класса точности 1 - рис. б

Таблица 6

Прибор сравнения

Положение переключателя диапазона измерений

Номинальное значение сопротивления образцовой катушки, Ом

Сила тока в цепи образцовой катушки

АИТ

3

1

0,1

 

10

0,1

0,1

 

30

0,1

0,1

 

100

0,01

1,0

 

300

0,01

1,0

К507

3×10-4

0,1

0,5

 

10×10-4

0,01

1,0

 

30×10-4

0,001

2,0

 

100×10-4

0,001

5,0

 

300×10-4

0,001

10,0

5. ОФОРМЛЕНИЕ РЕЗУЛЬТАТОВ ПОВЕРКИ

5.1. При выпуске из производства все приборы сравнения подлежат государственной поверке.

5.2. Периодическую поверку можно проводить как в органах государственной метрологической службы, так и ведомственных служб, имеющих исходные образцовые средства и право проведения поверки.

5.3. Результаты первичной и периодических поверок оформляются протоколом (см. приложение).

5.4. Приборы сравнения, не удовлетворяющие требованиям настоящей методики, являются непригодными к применению.

ПРИЛОЖЕНИЕ

(Обязательное)

ФОРМА ПРОТОКОЛА ОФОРМЛЕНИЯ РЕЗУЛЬТАТОВ ПОВЕРКИ ПРИБОРОВ СРАВНЕНИЯ

ПРОТОКОЛ

поверки прибора сравнения типа ____________________________________________ №

изготовленного заводом _____________________________________________________,

принадлежащего ____________________________________________________________

___________________________________________________________________________

Дата поверки _________________________ Поверку произвел ______________________

___________________________________________________________________________

(фамилия, имя, отчество)

1. Цепь реохордов ___________________________________________________________

(исправна, неисправна)

2. Сигнальное устройство:

трансформатора тока ________________________________________________________

(исправно, неисправно)

трансформатора напряжения __________________________________________________

(исправно, неисправно)

3. Проверка правильности знаков шкал реохордов:

трансформатора тока ________________________________________________________

(соответствует, не соответствует)

трансформатора напряжения __________________________________________________

(соответствует, не соответствует)

сопротивления ______________________________________________________________

(соответствует, не соответствует)

проводимости ______________________________________________________________

(соответствует, не соответствует)

4. Чувствительность прибора сравнения _________________________________ шкалы.

5. Определение погрешностей ампервольтметра

Тип прибора _____________________________ № ________________________________

Завод-изготовитель __________________________________________________________

Род тока ___________________________________________________________________

Система прибора ____________________________________________________________

Класс точности _____________________________________________________________

Диапазоны измерения _______________________________________________________

Цена деления шкалы ________________________________________________________

Отсчет ампервольтметра прибора сравнения

Показания образцового амперметра, вольтметра, А, В

Среднее значение показания образцового амперметра, вольтметра, А, В

Показания ампервольтметра приборов сравнения, А, В

 

 

 

 

6. Определение погрешности переходного трансформатора

Номинальное значение напряжения, В

Положительное значение

Отрицательное значение

погрешность коэффициента трансформации, %

угловая погрешность, мин

погрешность коэффициента трансформации, %

угловая погрешность, мин

50

 

 

 

 

100

 

 

 

 

200

 

 

 

 

7. Определение погрешности синфазного реохорда

Цифровая отметка шкалы реохорда

Положительные значения

Отрицательные значения

погрешность коэффициента трансформации, %

угловая погрешность, мин

погрешность коэффициента трансформации, %

погрешность коэффициента трансформации, %

угловая погрешность, мин

погрешность коэффициента трансформации, %

±0,0

 

 

 

 

 

 

±0,4

 

 

 

 

 

 

±0,2

 

 

 

 

 

 

±0,3

 

 

 

 

 

 

±0,4

 

 

 

 

 

 

±0,5

 

 

 

 

 

 

±0,6

 

 

 

 

 

 

±0,7

 

 

 

 

 

 

±0,8

 

 

 

 

 

 

±0,9

 

 

 

 

 

 

±1,0

 

 

 

 

 

 

8. Определение погрешности квадратурного реохорда

Цифровые отметки шкалы реохорда

Положительные значения

Отрицательные значения

угловая погрешность, мин

погрешность коэффициента трансформации, %

угловая погрешность, мин

угловая погрешность, мин

погрешность коэффициента трансформации, %

угловая погрешность, мин

±5

 

 

 

 

 

 

±10

 

 

 

 

 

 

±15

 

 

 

 

 

 

±20

 

 

 

 

 

 

±25

 

 

 

 

 

 

±30

 

 

 

 

 

 

±35

 

 

 

 

 

 

±40

 

 

 

 

 

 

±45

 

 

 

 

 

 

±50

 

 

 

 

 

 

±55

 

 

 

 

 

 

±60

 

 

 

 

 

 

±65

 

 

 

 

 

 

9. Определение погрешности дифференциальной ветви

Положение переключателя диапазонов измерений

Номинальное значение сопротивления образцовой катушки, Ом

Показания потенциометра

Действительное значение измеряемого сопротивления, Ом

Погрешность

значение напряжения на образцовом сопротивлении

значение напряжения на измеряемом сопротивлении

значение напряжения на образцовом сопротивлении

В

0,3

 

 

 

 

 

 

1,0

 

 

 

 

 

 

3,0

 

 

 

 

 

 

10,0

 

 

 

 

 

 

10. Определение погрешности делителя напряжения

Положение переключателя диапазонов

Показания потенциометра

Относительная погрешность коэффициента деления, %

значение напряжения на образцовом делителе

значение напряжения на измеряемом делителе

значение напряжения на образцовом делителе

В

0,1

 

 

 

 

0,3

 

 

 

 

1,0

 

 

 

 

3,0

 

 

 

 

10,0

 

 

 

 

11. Определение погрешности делителя

Положение переключателя диапазонов

Показания потенциометра

Относительная погрешность коэффициента деления, %

значения напряжения на образцовом делителе

значения напряжения на измеряемом делителе

значения напряжения на образцовом делителе

В

0,1

 

 

 

 

0,3

 

 

 

 

1,0

 

 

 

 

3,0

 

 

 

 

10,0

 

 

 

 

30,0

 

 

 

 

100,0

 

 

 

 

12. Определение погрешности шунта

Положение переключателя диапазонов

Номинальное значение сопротивления образцовой катушки, Ом

Показания потенциометра

Действительное значение измеряемого сопротивления, В

значение напряжения на образцовом сопротивлении

значение напряжения на измеряемом сопротивлении

значение напряжения на образцовом сопротивлении

В

 

 

 

 

 

 

Заключение __________________________________________________________________

_____________________________________________________________________________

_____________________________________________________________________________

Подпись _____________________________________________________________________

_____________________________________________________________________________

 

СОДЕРЖАНИЕ

 

 

 



© 2013 Ёшкин Кот :-)