Информационная система
«Ёшкин Кот»

XXXecatmenu

Федеральная служба по гидрометеорологии и
мониторингу окружающей среды (Росгидромет)

РУКОВОДЯЩИЙ ДОКУМЕНТ

РД
52.24.411-2009

МАССОВАЯ КОНЦЕНТРАЦИЯ ПАРАТИОН-МЕТИЛА,
КАРБОФОСА, ДИМЕТОАТА, ФОЗАЛОНА В ВОДАХ.
МЕТОДИКА ВЫПОЛНЕНИЯ ИЗМЕРЕНИЙ
ГАЗОХРОМАТОГРАФИЧЕСКИМ МЕТОДОМ

Ростов-на-Дону
2009

Предисловие

1 РАЗРАБОТАН Государственным учреждением Гидрохимический институт (ГУ ГХИ)

2 РАЗРАБОТЧИКИ Л.В. Боева, канд. хим. наук, Ю.А. Андреев

3 СОГЛАСОВАН с ГУ «НПО «Тайфун» 18.11.2009 и УМЗА Росгидромета 14.12.2009

4 УТВЕРЖДЕН Заместителем Руководителя Росгидромета 14.12.2009

5 АТТЕСТОВАН ГУ ГХИ, свидетельство об аттестации методики выполнения измерений № 65.24-2009 от 16.09.2009

6 ЗАРЕГИСТРИРОВАН ЦМТР ГУ НПО «Тайфун» за номером РД 52.24.411-2009 от 23.12.2009

7 ВЗАМЕН РД 52.24.411-95 «Методические указания. Методика выполнения измерений массовой концентрации паратион-метила, карбофоса, диметоата, фозалона в поверхностных водах суши газохроматографическим методом»

СОДЕРЖАНИЕ

1 Область применения. 3

2 Нормативные ссылки. 3

3 Приписанные характеристики погрешности измерения. 4

4 Средства измерений, вспомогательные устройства, реактивы, материалы.. 4

4.1 Средства измерений, вспомогательные устройства. 4

4.2 Реактивы и материалы.. 6

5 Метод измерений. 7

6 Требования безопасности, охраны окружающей среды.. 7

7 Требования к квалификации оператора. 7

8 Условия выполнения измерений. 7

9 Отбор и хранение проб. 7

10 Подготовка к выполнению измерений. 8

10.1 Приготовление растворов и реактивов. 8

10.2 Приготовление градуировочных растворов паратион-метила, карбофоса, диметоата, фозалона. 8

10.3 Приготовление градуировочных образцов паратион-метила, карбофоса, диметоата, фозалона. 9

10.4 Подготовка хроматографических колонок. 10

10.5 Подготовка хроматографов. 10

10.6 Приготовление фильтра для очистки воздуха. 10

11 Выполнение измерений. 10

11.1 Холостое измерение. 10

11.2 Извлечение паратион-метила, карбофоса и фозалона. 11

11.3 Извлечение диметоата. 11

11.4 Концентрирование гексанового экстракта. 12

11.5 Концентрирование хлороформного экстракта. 12

11.6 Хроматографирование. 13

11.7 Определение коэффициентов потерь. 14

11.8 Мешающие влияния и их устранение. 15

12 Вычисление и оформление результатов измерений. 15

13 Контроль качества результатов измерений при реализации методики в лаборатории. 16

13.1 Общие положения. 16

13.2 Алгоритм оперативного контроля процедуры выполнения измерений с использованием метода добавок. 16

14 Проверка приемлемости результатов, полученных в условиях воспроизводимости. 17

Введение

Фосфорорганические пестициды широко применяются в агрохимической практике для борьбы с насекомыми-вредителями в посевах различных культур. Такие пестициды, как паратион-метил (метафос), карбофос (малатион), диметоат (рогор), фозалон, включены в приоритетный перечень пестицидов, подлежащих контролю в поверхностных водах.

Краткая информация о пестицидах приведена в таблице 1.

Таблица 1 - Краткая информация о фосфорорганических пестицидах

Пестицид

Синоним

Химическое название

Формула

Паратион-метил

Вофатокс, метафос, метацид, фолидол

О,О-диметил-О-(4-нитрофенил) тиофосфат

C8H10NO5PS

Карбофос

Малатион, сумитокс, фостион, цитион

О,О-диметил-S-(1,2-дикарбэтоксиэтил) дитиофосфат

С10Н19О6РS2

Диметоат

Би-58, перфектион, рогор, роксион, фостион ММ, фосфамид, хематоат, цигон

О,О-диметил-S-(N-метил-карбамоилметил) дитиофосфат

C5H12NO3PS2

Фозалон

Бензофосфат, золон, кварк, рубитокс

S-(6-хлор-2-оксобензоксазолин-3-ил) метил-О,О-диэтилдитиофосфат

CI2H15ClNO4PS2

Предельно допустимые в поверхностных водах концентрации определяемых по настоящей методике пестицидов приведены в таблице 2.

Таблица 2 - Предельно допустимые концентрации фосфорорганических пестицидов в поверхностных водах суши

Пестицид

ПДК, мкг/дм3

в воде водных объектов хозяйственно-питьевого и культурно-бытового водопользования

для воды водных объектов, имеющих рыбохозяйственное значение

Паратион-метил

20

Отсутствие (0,026)

Карбофос

50

Отсутствие (0,01)

Диметоат

30

1,4

Фозалон

1

Отсутствие (0,03)

Настоящий РД может применяться совместно с РД 52.24.459-95 «Методические указания. Методика выполнения измерений массовой концентрации эптама, молината, триаллата, тиобенкарба в поверхностных водах суши газохроматографическим методом» и РД 52.24.485-95 «Методические указания. Методика выполнения измерений массовой концентрации хлорпирифоса в поверхностных водах суши газохроматографическим методом» (при выполнении измерений по варианту 1) или их более поздними редакциями для определения в одной пробе воды паратион-метила, карбофоса, диметоата, фозалона, а также хлорпирифоса и гербицидов-тиокарбаматов.

РД 52.24.411-2009

РУКОВОДЯЩИЙ ДОКУМЕНТ

МАССОВАЯ КОНЦЕНТРАЦИЯ ПАРАТИОН-МЕТИЛА,
КАРБОФОСА, ДИМЕТОАТА, ФОЗАЛОНА В ВОДАХ.
МЕТОДИКА ВЫПОЛНЕНИЯ ИЗМЕРЕНИЙ
ГАЗОХРОМАТОГРАФИЧЕСКИМ МЕТОДОМ

Дата введения - 2010-02-01

1 Область применения

1.1 Настоящий руководящий документ устанавливает методику выполнения измерений (далее - методика) массовой концентрации фосфорорганических пестицидов: паратион-метила в диапазоне от 0,2 до 15,0 мкг/дм3 включительно, карбофоса в диапазоне от 0,4 до 30,0 мкг/дм3 включительно, фозалона в диапазоне от 0,5 до 30,0 мкг/дм3 включительно, диметоата в диапазоне от 2,0 до 60 мкг/дм3 включительно в пробах природных и очищенных сточных вод газохроматографическим методом.

1.2 Допускается выполнение измерений массовых концентраций пестицидов, превышающих приведённые в 1.1, при разбавлении экстракта в соответствии с 11.6.

1.3 Настоящий руководящий документ предназначен для использования в лабораториях, осуществляющих наблюдения за загрязнением природных и очищенных сточных вод.

2 Нормативные ссылки

В настоящем руководящем документе использованы ссылки на следующие нормативные документы:

ГОСТ 12.1.005-88 ССБТ. Общие санитарно-гигиенические требования к воздуху рабочей зоны.

ГОСТ 12.1.007-76 ССБТ. Вредные вещества. Классификация и общие требования безопасности.

ГОСТ 17.1.5.04-81 Охрана природы. Гидросфера. Приборы и устройства для отбора, первичной обработки и хранения проб природных вод. Общие технические условия.

ГОСТ 17.1.5.05-85 Охрана природы. Гидросфера. Общие требования к отбору проб поверхностных и морских вод, льда и атмосферных осадков.

ГОСТ Р ИСО 5725-6-2002 Точность (правильность и прецизионность) методов и результатов измерений. Часть 6. Использование значений точности на практике.

ГОСТ Р 51592-2000 Вода. Общие требования к отбору проб.

МИ 2881-2004 Рекомендация. ГСИ. Методики количественного химического анализа. Процедуры проверки приемлемости результатов анализа.

Примечание - Ссылки на остальные нормативные документы приведены в разделе 4.

3 Приписанные характеристики погрешности измерения

3.1 При соблюдении всех регламентируемых методикой условий выполнения измерений характеристики погрешности с вероятностью 0,95 не должны превышать значений, приведенных в таблице 3.

Таблица 3 - Диапазон измерений, значения характеристик погрешности и ее составляющих при доверительной вероятности Р = 0,95

Пестицид

Диапазон измерений массовых концентраций X, мкг/дм3

Показатель повторяемости (среднеквадратическое отклонение повторяемости) sr, мкг/дм3

Показатель воспроизводимости (среднеквадратическое отклонение воспроизводимости) sR, мкг/дм3

Показатель правильности (границы систематической погрешности) ±Dc, мкг/дм3

Показатель точности (границы погрешности) ±D, мкг/дм3

Паратион-метил

От 0,2 до 15,0 включ.

0,02 + 0,06×Х

0,03 + 0,09×Х

0,02 + 0,07×Х

0,07 + 0,18×Х

Карбофос

От 0,4 до 30,0 включ.

0,02 + 0,07×Х

0,03 + 0,10×Х

0,02 + 0,08×Х

0,06 + 0,20×Х

Фозалон

От 0,5 до 30,0 включ.

0,06 + 0,06×Х

0,08 + 0,09×Х

0,06 + 0,07×Х

0,2 + 0,18×Х

Диметоат

От 2,0 до 60 включ.

0,2 + 0,08×Х

0,2 + 0,11×Х

0,1 + 0,09×Х

0,3 + 0,22×Х

При выполнении измерений массовой концентрации пестицидов свыше 15,0 мкг/дм3 для паратион-метила, свыше 30,0 мкг/дм3 для карбофоса и фозалона, свыше 60 мкг/дм3 для диметоата при разбавлении экстракта погрешности измерений для соответствующих пестицидов не превышают значений, рассчитанных по приведенным в таблице 3 зависимостям.

3.2 Значения показателя точности методики используют при:

- оформлении результатов измерений, выдаваемых лабораторией;

- оценке деятельности лаборатории на качество проведения измерений;

- оценке возможности использования результатов измерений при реализации методики в конкретной лаборатории.

4 Средства измерений, вспомогательные устройства, реактивы, материалы

4.1 Средства измерений, вспомогательные устройства

4.1.1 Хроматограф газовый типа Цвет-500, Кристалл 2000М, Хроматэк-Кристалл 5000.2 или другого типа с термоионным (термоаэрозольным) детектором.

4.1.2 Весы лабораторные высокого (II) класса точности по ГОСТ 24104-2001.

4.1.3 Весы лабораторные среднего (III) класса точности по ГОСТ 24104-2001 с пределом взвешивания 200 г.

4.1.4 Государственный стандартный образец (далее - ГСО) состава пестицида паратион-метила ГСО 7888-2001.

4.1.5 ГСО состава пестицида карбофоса ГСО 5081-89.

4.1.6 ГСО состава пестицида диметоата ГСО 7406-97.

4.1.7 ГСО состава пестицида фозалона ГСО 7416-97.

4.1.8 Микрошприц МШ-10М по ТУ 2-833-106-90 - 2 шт.

4.1.9 Колбы мерные 2-го класса точности исполнения 2 по ГОСТ 1770-74 вместимостью: 25 см3 - 22 шт.; 50 см3 - 8 шт.

4.1.10 Колбы мерные 2-го класса точности исполнения 2 или пробирки градуированные исполнения 2 по ГОСТ 1770-74 вместимостью 10 см3 - 4 шт.

4.1.11 Пробирки градуированные исполнения 2 по ГОСТ 1770-74 вместимостью 5 см3 - 10 шт.

4.1.12 Пробирки градуированные исполнения 1 по ГОСТ 1770-74 (центрифужные) вместимостью 10 см3 или пробирки стеклянные центрифужные вместимостью 30 см3 (входят в комплект центрифуги) - 12 шт.

4.1.13 Пипетки градуированные 2-го класса точности исполнения 1, 2 по ГОСТ 29227-91, вместимостью: 0,5 см3 - 4 шт.; 1 см3 - 9 шт.; 2 см3 - 7 шт.; 5 см3 - 11 шт.; 10 см3 - 2 шт.

4.1.14 Пипетки с одной отметкой 2-го класса точности исполнения 2 по ГОСТ 29169-91 вместимостью 5 см3 - 2 шт.

4.1.15 Цилиндры мерные исполнения 1, 3 по ГОСТ 1770-74 вместимостью: 25 см3 - 4 шт., 250 см3 - 1 шт.; 500 см3 - 2 шт.

4.1.16 Колонки хроматографические стеклянные длиной 2 м с внутренним диаметром 3 мм - 2 шт.

4.1.17 Колбы Кн исполнения 1 по ГОСТ 25336-82 с притертыми стеклянными пробками вместимостью: 50 см3 - 20 шт.; 250 см3 - 2 шт.

4.1.18 Воронки делительные типа ВД исполнения 1 по ГОСТ 25336-82, вместимостью 1000 см3 - 6 шт.

4.1.19 Воронки лабораторные тип В по ГОСТ 25336-82 диаметром 36 мм - 6 шт., 56 мм - 6 шт.

4.1.20 Стаканы типа В исполнения 1 по ГОСТ 25336-82 вместимостью 600 - 1000 см3 - 6 шт.

4.1.21 Эксикатор исполнения 2 с диаметром корпуса 250 мм по ГОСТ 25336-82.

4.1.22 Склянка для промывания газов типа СПТ по ГОСТ 25336-82.

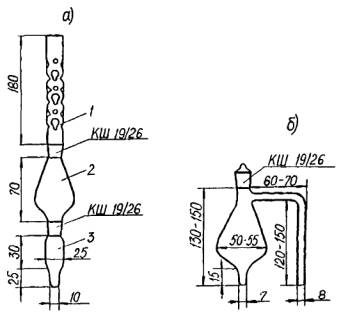
4.1.23. Испаритель ротационный - 1 шт. или устройство для концентрирования экстрактов - аппарат Кудерна-Даниша, (показан на рисунке 1а) - 6 шт., или колбы с Г-образным отводом вместимостью 100 см3 (показана на рисунке 1б) - 6 шт.

4.1.24 Установка из стекла группы ТС для перегонки растворителей (круглодонная колба типа К-1 с взаимозаменяемым конусом 29/32, вместимостью 1000 см3, дефлегматор длиной не менее 350 мм с взаимозаменяемыми конусами 19/26 и 29/32, насадка типа H1 с взаимозаменяемыми конусами 19/26-14/23-14/23, холодильник типа ХПТ-1 длиной не менее 400 мм, аллонж типа АИ с взаимозаменяемым конусом муфты 14/23) по ГОСТ 25336-82, термометр лабораторный ТЛ-50 с взаимозаменяемым конусом КШ 14/23 длиной нижней части термометра 60 мм и диапазоном измерения температур от 0 °С до 100 °С, цена деления шкалы - 0,5 °С по ТУ 25-2021.007-88.

4.1.25 Выпарительная чашка № 5, 6 по ГОСТ 9147-80 - 2 шт.

4.1.26 Стаканчики для взвешивания СВ-14/8 (бюксы) по ГОСТ 25336-82 - 4 шт.

4.1.27 Стаканчики для взвешивания СВ-24/10 (бюксы) по ГОСТ 25336-82 - 2 шт.

4.1.28 Пипетка Пастера по ТУ 9464-001-52876351-2000 - 10 шт.

4.1.29 Шарик стеклянный диаметр 6 - 7 мм или стеклянная палочка диаметром 6 - 7 мм.

4.1.30 Стеклянные палочки диаметром 4 - 5 мм.

4.1.31 Посуда стеклянная для отбора проб и хранения растворов вместимостью 0,05; 0,25; 0,5 и 1,0 дм3.

4.1.32 Генератор чистого водорода ГВЧ-12К по ЖНЛК 2.000.010.000 ТУ или ГВЧ-6 по ЖНЛК 2.000.0100 ТУ.

4.1.33 Микрокомпрессор аквариумный любого типа.

4.1.34 Насос вакуумный любого типа.

4.1.35 Центрифуга настольная ОПн-3 с ротором-крестовиной по ТУ 5.375-4260-76 или другого типа со скоростью вращения до 3000 оборотов/мин и вместимостью центрифужных пробирок не менее 10 см3.

а - аппарат Кудерна-Даниша

(1 - дефлегматор; 2 - средняя часть аппарата; 3 - пробирка для сбора концентрата);

б - колба с Г-образным отводом

Рисунок 1 - Устройства для концентрирования экстрактов

4.1.36 Плитки электрические с закрытой спиралью и регулируемой мощностью нагрева по ГОСТ 14919-83.

4.1.37 Бани водяные.

4.1.38 Муфельная печь любого типа.

4.1.39 Шкаф сушильный общелабораторного назначения.

4.1.40 Холодильник бытовой.

Примечание - Допускается использование других типов средств измерений, посуды и вспомогательного оборудования, в том числе импортных, с характеристиками не хуже, чем у приведенных в 4.1.

4.2 Реактивы и материалы

4.2.1 Хроматон N-AW-DMCS (N-AW-HMDS, N-Super) или Хромосорб W-HP (фракция 0,125 - 0,16 мм или 0,16 - 0,20 мм) с 3 - 5 % нанесенной неподвижной фазы SE-30.

4.2.2 Хроматон N-AW-DMCS (N-AW-HMDS, N-Super) или Хромосорб W-HP (фракция 0,125 - 0,16 мм или 0,16 - 0,20 мм) с 3 % нанесенной неподвижной фазы OV-17.

4.2.3 н-Гексан (далее - гексан) по ТУ 2631-003-05807999-98, х.ч., перегнанный.

4.2.4 Ацетон по ТУ 2633-039-44493179-00, ос.ч.

4.2.5 Хлороформ очищенный по ГОСТ 20015-88, свежеперегнанный.

4.2.6 Натрий сернокислый, безводный (сульфат натрия) по ГОСТ 4166-76, ч.д.а.

4.2.7 Кислота соляная по ГОСТ 3118-77, х.ч.

4.2.8 Натрия гидроокись (гидроксид натрия) по ГОСТ 4328-77, ч.д.а.

4.2.9 Универсальная индикаторная бумага рН 1-12 по ТУ 6-09-1181-76.

4.2.10 Азот нулевой марка «А» по ТУ 6-21-39-96 или азот газообразный ос.ч. (1 сорт) по ГОСТ 9293-74

4.2.11 Воздух сжатый по ГОСТ 24484-80.

4.2.12 Уголь активный БАУ-А по ГОСТ 6217-74.

4.2.13 Вода дистиллированная по ГОСТ 6709-72.

4.2.14 Стеклоткань или стекловата по ГОСТ 10146-74.

4.2.15 Вата медицинская по ГОСТ 5556-81.

4.2.16 Трубка из силиконовой резины с внутренним диаметром 5 - 6 мм.

Примечание - Допускается использование реактивов, изготовленных по другой нормативной и технической документации, в том числе импортных, с квалификацией не ниже указанной в 4.2.

5 Метод измерений

Выполнение измерений массовой концентрации фосфорорганических пестицидов основано на выделении их из воды экстракцией гексаном и хлороформом и последующем анализе экстракта методом газовой хроматографии с термоионным или термоаэрозольным детектором.

Идентификацию определяемых пестицидов проводят по временам удерживания. Количественный расчёт концентрации определяемых пестицидов проводят по высотам (площадям) их хроматографических пиков на хроматограммах градуировочных растворов и экстрактов проб воды.

6 Требования безопасности, охраны окружающей среды

6.1 При выполнении измерений массовой концентрации фосфорорганических пестицидов в пробах природных и очищенных сточных вод соблюдают требования безопасности, установленные в национальных стандартах и соответствующих нормативных документах.

6.2 По степени воздействия на организм вредные вещества, используемые при выполнении измерений, относятся к 1, 2, 4 классам опасности по ГОСТ 12.1.007.

6.3 Содержание используемых вредных веществ в воздухе рабочей зоны не должно превышать установленных ПДК в соответствии с ГОСТ 12.1.005.

6.4 Выполнение измерений следует проводить при наличии вытяжной вентиляции. Оператор, выполняющий измерения, должен быть проинструктирован о специфических мерах предосторожности при работе с фосфорорганическими пестицидами.

6.5 Оператор, выполняющий измерения на хроматографе должен знать правила безопасности при работе с электрооборудованием, сжатыми и горючими газами.

6.6 Градуировочные растворы и экстракты пестицидов, а также сливы органических растворителей собирают в герметично закрывающуюся посуду и утилизируют согласно установленным правилам.

7 Требования к квалификации оператора

К выполнению измерений и обработке их результатов допускаются лица с высшим профессиональным образованием или средним профессионального образованием и стажем работы в лаборатории не менее 2 лет, владеющие техникой газохроматографического анализа и освоившие методику.

8 Условия выполнения измерений

При выполнении измерений в лаборатории должны быть соблюдены следующие условия:

- температура окружающего воздуха (20 ± 5) °С;

- атмосферное давление от 84,0 до 106,7 кПа (от 630 до 800 мм рт. ст.);

- влажность воздуха не более 80 % при 25 °С;

- напряжение в сети (220 ± 10) В;

- частота переменного тока в сети питания (50 ± 1) Гц.

9 Отбор и хранение проб

Отбор проб для выполнения измерений массовой концентрации фосфорорганических пестицидов производится в соответствии с ГОСТ 17.1.5.05 и ГОСТ Р 51592 с помощью стеклянного батометра. Оборудование для отбора проб должно соответствовать ГОСТ 17.1.5.04 и ГОСТ Р 51592. Из пробоотборного устройства пробу переносят в стеклянные бутыли вместимостью 1 дм3 и закрывают притёртыми стеклянными или обёрнутыми тефлоновой пленкой (или алюминиевой фольгой) корковыми или полиэтиленовыми пробками. Применение полиэтиленовой посуды и резиновых пробок не допускается. Пробы не фильтруют.

Пробы воды, предназначенные для определения в них фосфорорганических пестицидов, хранению не подлежат. Первичную пробоподготовку (экстракцию гексаном и хлороформом) следует производить не позднее, чем через 2 ч после отбора.

Осушенные безводным сульфатом натрия экстракты в стеклянной посуде с притёртыми пробками могут храниться при температуре от 5 °С до 7 °С не более 3 сут.

10 Подготовка к выполнению измерений

10.1 Приготовление растворов и реактивов

10.1.1 Сульфат натрия, безводный

Сульфат натрия помещают в фарфоровую чашку и прокаливают в муфельной печи при температуре от 350 °С до 400 °С в течение 8 ч. Прокаленный сульфат натрия хранят в склянке с притертой пробкой в эксикаторе.

10.1.2 Сульфат натрия, безводный, промытый хлороформом

Часть прокаленного сульфата натрия помещают в колбу с притертой пробкой вместимостью 250 см3 и двукратно декантацией промывают хлороформом, затем, залив хлороформом (уровень хлороформа должен быть на 1,5 - 2,0 см выше уровня сульфата натрия), оставляют на 10 - 12 ч, периодически помешивая смесь. После этого хлороформ сливают, промывают сульфат натрия декантацией 2 раза новыми порциями хлороформа и сушат в сушильном шкафу при температуре 80 °С до полного удаления хлороформа, а затем 4 - 5 ч при температуре от 130 °С до 150 °С. Очищенный сульфат натрия хранят в склянке с притертой пробкой в эксикаторе и используют для осушения хлороформных экстрактов.

10.1.3 Соляная кислота, водный раствор 1:1

Для приготовления раствора смешивают равные объемы концентрированной соляной кислоты и дистиллированной воды.

10.1.4 Гидроксид натрия, водный раствор 1 моль/дм3

Растворяют 8 г гидроксида натрия в 200 см3 дистиллированной воды. Хранят в плотно закрытой склянке.

10.2 Приготовление градуировочных растворов паратион-метила, карбофоса, диметоата, фозалона

10.2.1 Градуировочные растворы пестицидов готовят из соответствующих ГСО, содержащих чистый препарат пестицида с массовой долей последнего не менее 98 %. Перед приготовлением растворов ГСО и ацетон должны быть выдержаны в помещении лаборатории не менее двух часов. Приготовление градуировочных растворов для всех пестицидов осуществляется одинаково.

10.2.2 Для приготовления основного раствора с массовой концентрацией пестицида 1,00 мг/см3 отвешивают на весах высокого класса точности (0,0250 ± 0,0003) г пестицида, количественно переносят навеску в мерную колбу вместимостью 25 см3, растворяют в 10 - 12 см3 ацетона, после полного растворения пестицида доводят объём до метки на колбе ацетоном и перемешивают.

10.2.3 Для приготовления градуировочного раствора с массовой концентрацией пестицида 100 мкг/см3 пипеткой с одной отметкой отбирают 5,00 см3 раствора с массовой концентрацией пестицида 1,00 мг/см3, помещают его в мерную колбу вместимостью 50 см3, доводят ацетоном до метки и перемешивают.

10.2.4 Для приготовления градуировочного раствора с массовой концентрацией пестицида 10 мкг/см3 пипеткой с одной отметкой отбирают 5,00 см3 раствора с массовой концентрацией пестицида 100 мкг/см3, помещают его в мерную колбу вместимостью 50 см3, доводят ацетоном до метки и перемешивают.

10.2.5 Границы погрешности приготовления градуировочных растворов не превышают ±3 %.

10.2.6 Основной и градуировочные растворы фосфорорганических пестицидов хранят в склянках с притертой пробкой в холодильнике. Срок хранения основного раствора не более 6 мес., раствора с концентрацией 100 мкг/см3 - не более 3 мес., раствора с концентрацией 10,0 мкг/дм3 - не более 1 мес.

10.3 Приготовление градуировочных образцов паратион-метила, карбофоса, диметоата, фозалона

Приготовление градуировочных образцов для установления градуировочных характеристик хроматографа, определения коэффициента потерь и проведения контроля качества результатов измерений осуществляют в соответствии с таблицами 4 - 6, используя градуировочные растворы по 10.2.

Градуировочные образцы готовят в мерных колбах вместимостью 25 см3, отмеряя объёмы градуировочных растворов, указанные в таблицах 4 - 6, градуированными пипетками вместимостью 1, 2 и 5 см3. Растворы доводят до метки на колбе ацетоном и перемешивают. Приписываемые каждому пестициду значения массовых концентраций в градуировочных образцах приведены в таблицах 4 - 6.

Таблица 4 - Градуировочные образцы смеси паратион-метила и карбофоса

Номер градуировочного образца

Состав

Градуировочный раствор, используемый для приготовления градуировочного образца

Массовая концентрация пестицида в градуировочном образце, мкг/см3

Массовая концентрация, мкг/см3

Объем, см3

1

Паратион-метил

10,0

0,25

0,10

Карбофос

10,0

0,50

0,20

2

Паратион-метил

10,0

0,50

0,20

Карбофос

10,0

1,00

0,40

3

Паратион-метил

10,0

1,00

0,40

 

Карбофос

10,0

2,50

1,00

4

Паратион- метил

10,0

2,50

1,00

 

Карбофос

10,0

5,00

2,00

5

Паратион-метил

100

0,75

3,00

Карбофос

100

1,50

6,00

6

Паратион-метил

100

2,00

8,00

 

Карбофос

100

3,75

15,0

Таблица 5 - Градуировочные образцы фозалона

Номер градуировочного образца

Градуировочный раствор, используемый для приготовления градуировочного образца

Массовая концентрация фозалона в градуировочном образце, мкг/см3

Массовая концентрация, мкг/см3

Объем, см3

1

10

0,75

0,30

2

10

1,50

0,60

3

10

2,50

1,00

4

10

5,00

2,00

5

100

1,50

6,00

6

100

3,75

15,0

Таблица 6 - Градуировочные образцы диметоата

Номер градуировочного

Градуировочный раствор, используемый для приготовления градуировочного образца

Массовая концентрация диметоата в градуировочном образце,

образца

Массовая концентрация, мкг/см3

Объем, см3

мкг/см3

1

10

2,50

1,00

2

10

5,00

2,00

3

100

1,50

6,00

4

100

2,50

10,0

5

100

5,00

20,0

6

100

7,50

30,0

Градуировочные образцы хранят в холодильнике не более 10 сут.

10.4 Подготовка хроматографических колонок

Стеклянные хроматографические колонки с внутренним диаметром 3 мм и длиной 2 м промывают последовательно ацетоном и гексаном, сушат при температуре от 110 °С до 120 °С в сушильном шкафу и заполняют одну колонку носителем с неподвижной фазой OV-17, другую колонку - носителем с фазой SE-30.

Для заполнения хроматографической колонки один ее конец, который в дальнейшем будет подсоединяться к детектору, закрывают тампоном из промытого ацетоном и гексаном стекловолокна (стекловаты) и присоединяют к вакуумному насосу через мелкую капроновую сетку. Затем включают насос и заполняют колонку носителем с фазой, добавляя последний небольшими порциями и постукивая колонку палочкой с резиновым концом при постоянно работающем насосе, следя за тем, чтобы носитель заполнял колонку равномерно, без разрывов.

Заполненную колонку закрывают тампоном из промытого стекловолокна и помещают в термостат колонок хроматографа, подсоединив к испарителю, но не подсоединяя к детектору. Кондиционирование колонки целесообразно проводить следующим образом. Установив расход азота через колонку от 35 до 45 см3/мин, выдерживают колонку при температуре от 60 °С до 70 °С в течение 30 мин. Затем увеличивают температуру термостата колонок до 250 °С со скоростью 3 °С/мин и при этой температуре кондиционируют колонку в течение 8 - 10 ч.

10.5 Подготовка хроматографов

Подготовку хроматографов проводят в соответствии с руководством по их эксплуатации. Колонки после кондиционирования подсоединяют к детектору, устанавливают расход газа-носителя (азота) через колонки от 35 до 45 см3/мин и проверяют герметичность соединений.

Устанавливают необходимый режим работы хроматографов. Через 2 часа после установления заданных параметров (температурного и газового режимов) и стабилизации сигнала детектора вводят несколько раз по 5 мм градуировочных образцов пестицидов и проверяют эффективность их хроматографического разделения.

10.6 Приготовление фильтра для очистки воздуха

Используемый для упаривания экстрактов воздух необходимо очищать, пропуская через фильтр с активным углем. В качестве фильтра применяют склянку для очистки газов. Входной отросток склянки заполняют медицинской ватой и наполняют склянку активным углем. При этом выходную часть склянки наполняют активным углем так, чтобы его уровень не доходил до выходного отростка, примерно, на 2 см. Оставшуюся незаполненной углем выходную часть склянки заполняют медицинской ватой. После этого входной отросток склянки соединяют с микрокомпрессором, а выходящий из выходного отростка очищенный воздух используют для упаривания экстрактов.

11 Выполнение измерений

11.1 Холостое измерение

Холостое измерение проводят перед анализом проб воды с целью проверки чистоты применяемых реактивов и материалов.

Для выполнения холостого измерения берут 500 см3 дистиллированной воды, очищенной гексаном, тот же объем растворителя, который расходуется на экстракцию одной пробы воды и проводят последовательно все операции в зависимости от выбранного варианта методики.

Если на хроматограммах холостого опыта имеются пики, по временам удерживания совпадающие с пиками определяемых пестицидов, необходимо установить, какой из реактивов загрязнён и провести его очистку или заменить этим же реактивом, но из другой партии.

11.2 Извлечение паратион-метила, карбофоса и фозалона

Отмеряют мерным цилиндром 500 см3 нефильтрованной пробы воды, помещают ее в делительную воронку и подкисляют раствором соляной кислоты до рН 3 - 4 по универсальной индикаторной бумаге. Затем в делительную воронку вносят 10 см3 гексана, закрывают пробкой и встряхивают в течение 5 мин.

После экстракции содержимому делительной воронки дают расслоиться в течение 15 - 30 мин. Затем водную фазу переносят в химический стакан, а гексановый экстракт - в коническую колбу вместимостью 50 см3 с притёртой стеклянной пробкой. Пробу воды возвращают в делительную воронку и ещё раз экстрагируют 10 см3 гексана в течение 5 мин. Если в пробе не предполагается определять диметоат, водную фазу после расслоения отбрасывают, а гексановый экстракт объединяют с первым экстрактом. Для дальнейшего определения диметоата воду возвращают в химический стакан.

К объединённому экстракту при непрерывном помешивании стеклянной палочкой добавляют безводный сульфат натрия в количестве от 2 до 5 г (в зависимости от степени эмульгированности экстракта) и затем фильтруют экстракт через слой безводного сульфата натрия (примерно 2 - 3 г), помещенного в воронку на подложку из обезжиренной ваты и предварительно смоченного гексаном до появления первой капли. Если предполагается оставить осушенный экстракт на хранение (в холодильнике - до 1 мес.), фильтрат собирают в коническую колбу вместимостью 50 см3 с притёртой стеклянной пробкой. Делительную воронку ополаскивают внутри гексаном объёмом 8 - 10 см3, переносят эту порцию гексана из делительной воронки в колбу, в которой был объединённый экстракт, обмывают ею стенки колбы и находящийся в колбе сульфат натрия и также фильтруют через слой сульфата натрия в воронке. Колбу и находящийся в ней сульфат натрия ещё раз ополаскивают 10 см3 гексана, который затем фильтруют через ту же воронку с сульфатом натрия.

Для дальнейшей обработки весь фильтрат (экстракты и промывные порции гексана) собирают в соответствующую ёмкость устройства для упаривания (аппарат Кудерна-Даниша, колба с Г-образным отводом, ротационный испаритель).

11.3 Извлечение диметоата

Проэкстрагированную гексаном пробу воды из химического стакана вновь возвращают в делительную воронку, предварительно ополоснутую изнутри примерно 10 см3 ацетона, и нейтрализуют раствором гидроксида натрия до рН 7 по универсальной индикаторной бумаге. Добавляют 10 см3 хлороформа, встряхивают пробу 2 - 3 раза, сбрасывают избыточное давление в воронке, затем экстрагируют пробу в течение 10 мин. Дают смеси в делительной воронке расслоиться в течение 15 - 30 мин. Хлороформный экстракт переносят в центрифужную пробирку. Пробу воды экстрагируют ещё дважды по 10 см3 хлороформа в течение 5 мин и собирают экстракты в ту же центрифужную пробирку.

Пробирку с объединённым хлороформным экстрактом центрифугируют в течение 5 мин при 3000 оборотов/мин. Выделившийся при центрифугировании слой воды (вверху) удаляют из пробирки с помощью пипетки и отбрасывают. Необходимо следить за тем, чтобы при удалении водного слоя не захватить пипеткой хлороформный экстракт.

В воронку, на подложку из промытой гексаном и хлороформом ваты, помещают 10 - 12 г очищенного безводного сульфата натрия. Промывают сульфат натрия 6 - 8 см3 хлороформа, удаляя проходящий через воронку хлороформ.

Через подготовленный таким образом слой сульфата натрия фильтруют центрифугированный хлороформный экстракт. Центрифужную пробирку, в которой находился экстракт, обмывают изнутри дважды хлороформом объёмами по 3 см3. Промывные порции хлороформа фильтруют через тот же слой безводного сульфата натрия, который затем промывают 5 см3 хлороформа.

Весь фильтрат собирают в соответствующую ёмкость устройства для упаривания. Если экстракт необходимо оставить на хранение, то фильтрат собирают в колбу с притёртой пробкой.

Если в центрифуге не предусмотрена возможность центрифугирования пробирок вместимостью 20 - 25 см3, допускается помещать экстракт в две пробирки вместимостью 10 см3; ополаскивание пробирок в этом случае проводят последовательно одними и теми же порциями хлороформа.

11.4 Концентрирование гексанового экстракта

К аппарату Кудерна-Даниша, содержащему полученный гексановый экстракт, подсоединяют дефлегматор и помещают аппарат на водяную баню при температуре от 90 °С до 95 °С так, чтобы уровень воды в бане доходил до середины шлифа пробирки для концентрата. Необходимо следить, чтобы дефлегматор не охлаждался и кипение не прекращалось (при необходимости - защитить среднюю часть аппарата асбестовым экраном). Экстракт упаривают в этих условиях до объёма, примерно 0,5 см3. Удаление растворителя длится 10 - 20 мин. Затем аппарат извлекают из водяной бани и охлаждают на воздухе.

Дефлегматор и среднюю часть аппарата обмывают изнутри 3 см3 гексана и отсоединяют нижнюю пробирку с концентратом. Содержимое пробирки упаривают до объёма 1,0 см3 струёй азота или очищенного воздуха. Если фильтрат гексанового экстракта собирали в колбу с притёртой пробкой, то после перенесения содержимого колбы в аппарат Кудерна-Даниша колбу ополаскивают дважды гексаном объёмами по 2 - 3 см3, промывные порции н-гексана также помещают в аппарат Кудерна-Даниша и после этого осуществляют концентрирование.

Вместо аппарата Кудерна-Даниша концентрирование экстрактов можно проводить в колбах с Г-образным отводом под струёй азота или очищенного воздуха при температуре водяной бани около 60 °С или с помощью ротационного испарителя (температура бани около 35 °С). Упаривание в этих случаях ведут до объема примерно 2 см3, затем переносят концентрат в градуированные пробирки вместимостью 5 см3, ополаскивая емкость, где находился концентрат, дважды по 2 см3 гексана. Упаривают экстракт в пробирке до объема 1,0 см3 струёй азота или очищенного воздуха.

11.5 Концентрирование хлороформного экстракта

К аппарату Кудерна-Даниша, содержащему полученный хлороформный экстракт, подсоединяют дефлегматор и помещают аппарат на водяную баню при температуре от 96 °С до 98 °С так, чтобы уровень воды в бане доходил до середины шлифа пробирки для концентрата. Необходимо следить, чтобы дефлегматор не охлаждался, и кипение не прекращалось (при необходимости - защитить среднюю часть аппарата асбестовым экраном).

Экстракт упаривают в этих условиях до объема, примерно 0,5 см3.

Удаление растворителя длится от 20 до 30 мин. Затем аппарат извлекают из водяной бани и охлаждают на воздухе. Дефлегматор и среднюю часть аппарата обмывают 2 - 3 см3 хлороформа и отсоединяют пробирку с концентратом. После отсоединения пробирки её содержимое упаривают досуха струей азота или воздуха.

Сухой остаток растворяют в ацетоне, приливая последний в пробирку аппарата Кудерна-Даниша по её стенкам, обмывая их. Объем ацетонового раствора сухого остатка доводят до 1,0 см3 добавлением по каплям ацетона или упариванием струей азота или воздуха.

Вместо аппарата Кудерна-Даниша концентрирование экстрактов можно проводить в колбах с Г-образным отводом на водяной бане с температурой около 60 °С под струей воздуха или азота или с помощью ротационного испарителя (температура бани около 35 °С).

Если фильтрат хлороформного экстракта собирали в колбу с притёртой пробкой, то после перенесения содержимого колбы в устройство для упаривания колбу ополаскивают дважды хлороформом объёмами по 2 - 3 см3, промывные порции хлороформа также помещают в устройство для упаривания и осуществляют концентрирование.

11.6 Хроматографирование

11.6.1 Хроматографирование концентратов экстрактов осуществляют на хроматографах, снабжённых колонкой с неподвижной фазой OV-17 при определении паратион-метила и карбофоса, а также диметоата, и колонкой с фазой SE-30 при определении фозалона.

11.6.2 Условия хроматографического анализа следует устанавливать для каждого конкретного хроматографа свои, исходя из условий, рекомендуемых ниже:

- температура испарителя для колонки с фазой OV-17 от 230 °С до 250 °С, для колонки с фазой SE-30 - 250°С;

- температура колонки с фазой OV-17 от 210 °С до 230 °С, колонки с фазой SE-30 - от 240 °С до 250 °С;

- расход азота через колонку от 35 до 50 см3/мин;

- температура детектора и солевого источника, расход азота на поддув детектора и соотношение расходов водорода и воздуха - в соответствии с руководством по эксплуатации используемого хроматографа;

- скорость диаграммной ленты (при использовании самописца) - 240 мм/ч;

- рабочий предел измерений на усилителе - в зависимости от определяемых концентраций.

Объемы вводимых в хроматограф аликвот градуировочных образцов и пробы должны быть одинаковы.

11.6.3 После выхода хроматографа на рабочий режим в испаритель вводят 5 мм3 соответствующего градуировочного образца и записывают хроматограмму. Повторяют измерение 2 - 3 раза и на основании полученных хроматограмм устанавливают времена удерживания определяемых компонентов, а также соотношение концентрации пестицида в градуировочном образце и высоты (площади) соответствующего пика. Эти параметры следует проверять ежедневно перед анализом проб после выхода хроматографа на рабочий режим.

11.6.4 Затем в испаритель хроматографа 2 - 3 раза вводят по 4 - 5 мм3 концентратов анализируемых проб. Паратион-метил, карбофос, фозалон и диметоат идентифицируют, сравнивая их времена удерживания на хроматограмме соответствующего градуировочного образца с временами удерживания пиков на хроматограммах проб. При выполнении хроматографического анализа следует использовать для идентификации и количественных измерений градуировочные образцы, для которых высоты (площади) пиков на хроматограммах наиболее близки к высотам (площадям) соответствующих пиков на хроматограммах экстрактов проб.

Примеры хроматограмм экстрактов проб природной воды с добавками градуировочных образцов определяемых пестицидов представлены на рисунке 2.

а - экстракт, содержащий паратион-метил (1) и карбофос (2); б - экстракт, содержащий фозалон (3); в - экстракт, содержащий диметоат (4)

Рисунок 2 - Хроматограммы экстрактов проб природной воды с добавками пестицидов

Если высота (площадь) пика пестицида на хроматограмме экстракта превышает высоту (площадь) соответствующего пика на хроматограмме градуировочного образца № 6 (с наибольшей концентрацией), следует разбавить экстракт таким образом, чтобы концентрация определяемого пестицида в разбавленном экстракте была ниже его концентрации в образце № 6, но выше концентрации в образце № 4. Для этого сухой чистой градуированной пипеткой вместимостью 0,5 см3 отбирают 0,50 см3 экстракта, помещают в мерную колбу или градуированную пробирку вместимостью 10 см3, доводят до метки гексаном или хлороформом и перемешивают.

Если часть диапазона измеряемых концентраций какого-либо пестицида попадает в область нелинейного детектирования, то для этой части диапазона концентраций рекомендуется устанавливать градуировочную зависимость, используя градуировочные образцы, приведенные в таблицах 4 - 6. При необходимости могут быть приготовлены градуировочные образцы с промежуточными концентрациями.

11.7 Определение коэффициентов потерь

В процессе проведения процедуры анализа проб воды происходит некоторая потеря определяемых пестицидов. Поэтому, во избежание получения заниженных результатов, в формулу, по которой рассчитывают содержание того или иного пестицида, введен коэффициент b, учитывающий эту потерю. Величина потерь пестицидов при их определении зависит, главным образом, от применяемого оборудования для концентрирования экстрактов и типа анализируемой природной воды.

Для нахождения коэффициентов потерь в две делительные воронки вносят по 500 см3 природной воды определенного типа. В одну из проб добавляют по 1 см3 каждого из градуировочных образцов пестицидов с одним и тем же номером (см. таблицы 4 - 6) и содержимое воронки тщательно перемешивают. Затем обе пробы анализируют, применяя то оборудование для концентрирования экстрактов, которое используется в конкретной лаборатории.

Пробы воды, как с добавками, так и без добавок, анализируют в 3 - 4 повторностях. Рассчитывают коэффициенты потерь каждого из пестицидов. С пробами воды другого типа определение коэффициентов потерь повторяют.

Коэффициент потерь пестицида b вычисляют по формуле

                                                                                                (1)

где Сд - концентрация добавки пестицида к пробе воды, мкг/дм3;

Хд - концентрация пестицида в пробе воды с добавкой (среднее арифметическое из 3 - 4 измерений), мкг/дм3;

Хо - концентрация пестицида в пробе воды без добавки (среднее арифметическое из 3 - 4 измерений), мкг/дм3.

Ориентировочные величины коэффициента b, полученные при выполнении измерений массовой концентрации пестицидов с применением аппарата Кудерна-Даниша, составляют: для паратион-метила 1,14; карбофоса - 1,08; фозалона - 1,09; диметоата - 1,34.

11.8 Мешающие влияния и их устранение

Раздельное извлечение определяемых фосфорорганических пестицидов из пробы воды (гексаном из кислой среды и хлороформом из нейтральной) устраняет взаимное мешающее влияние ряда других приоритетных пестицидов, например, прометрина на определение паратион-метила и карбофоса. Однако на определение этих пестицидов может оказывать мешающее влияние присутствие в пробе анализируемой воды тиобенкарба (сатурна) при концентрациях последнего в 15 раз и более превышающих концентрацию паратион-метила и в 30 раз и более - карбофоса.

При низких концентрациях диметоата на его определение оказывает мешающее влияние комплекс веществ, содержащихся в природной воде и обусловливающих хроматографический пик, выходящий перед пиком диметоата (см. рисунок 2в). Такой же хроматографический пик появляется при осушке хлороформных экстрактов безводным сульфатом натрия, даже прокалённым, однако предварительное промывание безводного сульфата натрия хлороформом практически устраняет возможность дополнительного загрязнения экстрактов при их осушке. Из-за перечисленных мешающих влияний минимально определяемая концентрация диметоата составляет 2 мкг/дм3. При концентрациях диметоата в пробе менее 2 мкг/дм3 разделение пиков диметоата и компонентов природных вод на хроматограмме становится недостаточным.

В области выхода хроматографического пика фозалона выходит также ряд пиков компонентов природных вод (рисунок 2б). Однако в оптимальных условиях хроматографирования происходит достаточно эффективное разделение пика фозалона и пиков компонентов природных вод.

12 Вычисление и оформление результатов измерений

12.1 Массовую концентрацию паратион-метила, карбофоса, диметоата, фозалона в анализируемой пробе воды X, мкг/дм3, рассчитывают по формуле

                                                                                   (2)

или                                                                             (3)

где Сгр - массовая концентрация пестицида в градуировочном образце, мкг/см3;

hx - высота пика определяемого пестицида на хроматограмме экстракта из пробы воды, мм;

V - объём экстракта после концентрирования, см3;

h - степень разбавления экстракта (если разбавление не проводилось, h = 1).

hгр - высота пика определяемого пестицида на хроматограмме градуировочного образца, мм;

V2 - объём пробы воды, взятый для анализа, дм3;

Sx - площадь пика определяемого пестицида на хроматограмме экстракта из пробы воды, мм2;

Sгр - площадь пика определяемого пестицида на хроматограмме градуировочного образца, мм2.

12.2 Результат измерения в документах, предусматривающих его использование, представляют в виде:

Х ± D, мкг/дм3 (Р = 0,95),                                                                             (4)

где D - характеристика погрешности измерения для данной массовой концентрации пестицида (см. таблицу 3).

Численные значения результата измерения должны оканчиваться цифрой того же разряда, что и значения характеристики погрешности; последние не должны содержать более двух значащих цифр.

12.3 Допустимо представлять результат в виде

Х ± Dл (Р = 0,95) при условии Dл < D,                                                        (5)

где ±Dл - границы характеристик погрешности результатов измерений, установленные при реализации методики в лаборатории и обеспечиваемые контролем стабильности результатов измерений.

Примечание - Допустимо характеристику погрешности результатов измерений при внедрении методики в лаборатории устанавливать на основе выражения Dл = 0,84×D с последующим уточнением по мере накопления информации в процессе контроля стабильности результатов измерений.

12.4 Результаты измерений оформляют протоколом или записью в журнале по формам, приведенным в Руководстве по качеству лаборатории.

13 Контроль качества результатов измерений при реализации методики в лаборатории

13.1 Общие положения

13.1.1 Контроль качества результатов измерений при реализации методики в лаборатории предусматривает:

- оперативный контроль исполнителем процедуры выполнения измерений (на основе оценки погрешности при реализации отдельно взятой контрольной процедуры);

- контроль стабильности результатов измерений (на основе контроля стабильности погрешности).

13.1.2 Периодичность оперативного контроля и процедуры контроля стабильности результатов выполнения измерений регламентируют в Руководстве по качеству лаборатории.

13.2 Алгоритм оперативного контроля процедуры выполнения измерений с использованием метода добавок

13.2.1 Контроль исполнителем процедуры выполнения измерений проводят путем сравнения результатов отдельно взятой контрольной процедуры Кк с нормативом контроля К.

13.2.2 Результат контрольной процедуры Кк, мкг/дм3, рассчитывают по формуле

                                                                                        (6)

где X¢ - результат контрольного измерения массовой концентрации пестицида в пробе с известной добавкой, мкг/дм3.

13.2.3 Норматив контроля погрешности К, мкг/дм3 рассчитывают по формуле

                                                                                  (7)

где  - значения характеристики погрешности результатов измерений, установленные при реализации методики в лаборатории, соответствующие массовой концентрации пестицида в пробе с добавкой, мкг/дм3;

Dлх - значения характеристики погрешности результатов измерений, установленные при реализации методики в лаборатории, соответствующие массовой концентрации пестицида в рабочей пробе, мкг/дм3.

Примечание - Допустимо для расчета норматива контроля использовать значения характеристик погрешности, полученные расчетным путем по формулам Dлх¢ = 0,84  Dх¢ и Dлх = 0,84 × Dх.

13.2.4 Если результат контрольной процедуры удовлетворяет условию

                                                                                                        (8)

процедуру анализа признают удовлетворительной.

При невыполнении условия (8) контрольную процедуру повторяют. При повторном невыполнении условия (8), выясняют причины, приводящие к неудовлетворительным результатам, и принимают меры по их устранению.

14 Проверка приемлемости результатов, полученных в условиях воспроизводимости

14.1 Расхождение между результатами измерений, полученными в двух лабораториях, не должно превышать предела воспроизводимости R. При выполнении этого условия приемлемы оба результата измерений и в качестве окончательного может быть использовано их общее среднее значение. Значение предела воспроизводимости рассчитывают по формуле

R = 2,77sR.                                                                                                   (9)

14.2 При превышении предела воспроизводимости могут быть использованы методы оценки приемлемости результатов измерений согласно разделу 5 ГОСТ Р ИСО 5725-6 или МИ 2881.

14.3 Проверка приемлемости проводится при необходимости сравнения результатов измерений, полученных двумя лабораториями.

Федеральная служба по гидрометеорологии
и мониторингу окружающей среды

ГОСУДАРСТВЕННОЕ УЧРЕЖДЕНИЕ

ГИДРОХИМИЧЕСКИЙ ИНСТИТУТ

344090, г. Ростов-на-Дону

пр. Стачки, 198

Факс: (8632) 22-44-70

Телефон (8632) 22-66-68,

E-mail ghi@aaanet.ru

СВИДЕТЕЛЬСТВО
об аттестации методики выполнения измерений № 65.24-2009

Методика выполнения измерений массовой концентрации паратион-метила, карбофоса, диметоата, фозалона в водах газохроматографическим методом,

разработанная Государственным учреждением Гидрохимический институт (ГУ ГХИ)

и регламентированная РД 52.24.411-2009 Массовая концентрация паратион-метила, карбофоса, диметоата, фозалона в водах. Методика выполнения измерений газохроматографическим методом,

аттестована в соответствии с ГОСТ Р 8.563-96.

Аттестация осуществлена по результатам экспериментальных исследований.

В результате аттестации установлено, что методика выполнения измерений соответствует предъявляемым к ней метрологическим требованиям и обладает метрологическими характеристиками, приведенными в таблицах 1 и 2.

Таблица 1 - Диапазон измерений, значения характеристик погрешности и ее составляющих при принятой вероятности Р = 0,95

Пестицид

Диапазон измерений массовых концентраций X, мкг/дм3

Показатель повторяемости (среднеквадратическое отклонение повторяемости) sr, мкг/дм3

Показатель воспроизводимости (среднеквадратическое отклонение воспроизводимости) sR, мкг/дм3

Показатель правильности (границы систематической погрешности) ±Dc, мкг/дм3

Показатель точности (границы погрешности) ±D, мкг/дм3

Паратион-метил

От 0,2 до 15,0 включ.

0,02 + 0,06×Х

0,03 + 0,09×Х

0,02 + 0,07×Х

0,07 + 0,18×Х

Карбофос

От 0,4 до 30,0 включ.

0,02 + 0,07×Х

0,03 + 0,10×Х

0,02 + 0,08×Х

0,06 + 0,20×Х

Фозалон

От 0,5 до 30,0 включ.

0,06 + 0,06×Х

0,08 + 0,09×Х

0,06 + 0,07×Х

0,2 + 0,18×Х

Диметоат

От 2,0 до 60 включ.

0,2 + 0,08×Х

0,2 + 0,11×Х

0,1 + 0,09×Х

0,3 + 0,22×Х

Таблица 2 - Диапазон измерений, значения пределов повторяемости и воспроизводимости при принятой вероятности Р = 0,95

Пестицид

Диапазон измерений массовых концентраций

X, мкг/дм3

Предел повторяемости (для двух результатов параллельных определений)

r, мкг/дм3

Предел воспроизводимости (для двух результатов измерений)

R, мкг/дм3

Паратион-метил

От 0,2 до 15,0 включ.

0,06 + 0,17 × Х

0,08 + 0,25 × Х

Карбофос

От 0,4 до 30,0 включ.

0,06 + 0,19 × Х

0,08 + 0,28 × Х

Фозалон

От 0,5 до 30,0 включ.

0,17 + 0,17 × X

0,22 + 0,25 × Х

Диметоат

От 2,0 до 60 включ.

0,6 + 0,22 × Х

0,6 + 0,30 × Х

При реализации методики в лаборатории обеспечивают:

- оперативный контроль исполнителем процедуры выполнения измерений (на основе оценки погрешности при реализации отдельно взятой контрольной процедуры);

- контроль стабильности результатов измерений (на основе контроля погрешности).

Алгоритм оперативного контроля исполнителем процедуры выполнения измерений приведен в РД 52.24.411-2009.

Периодичность оперативного контроля и процедуры контроля стабильности результатов выполнения измерений регламентируют в Руководстве по качеству лаборатории.

Дата выдачи свидетельства 16.09.2009.

Директор

 

A.M. Никаноров

Главный метролог

 

А.А. Назарова

 



© 2013 Ёшкин Кот :-)