Информационная система
«Ёшкин Кот»

XXXecatmenu

РАО «ЕЭС РОССИИ»

ОАО «ВНИПИЭНЕРГОПРОМ»

РД-3-ВЭП

РУКОВОДЯЩИЙ ДОКУМЕНТ
ПО ПРИМЕНЕНИЮ ОСЕВЫХ СИЛЬФОННЫХ
КОМПЕНСАТОРОВ (СК)
по техническим условиям
ИЯНШ.300260.029ТУ,
СИЛЬФОННЫХ КОМПЕНСИРУЮЩИХ УСТРОЙСТВ (СКУ)
по техническим условиям
ИЯНШ.300260.033ТУ,
СТАРТОВЫХ СИЛЬФОННЫХ КОМПЕНСАТОРОВ (ССК)
по техническим условиям
ИЯНШ.300260.035ТУ,
СИЛЬФОННЫХ КОМПЕНСИРУЮЩИХ УСТРОЙСТВ ДЛЯ
СТАЛЬНЫХ ТРУБОПРОВОДОВ С ТЕПЛОВОЙ ИЗОЛЯЦИЕЙ ИЗ
ПЕНОПОЛИУРЕТАНА В ПОЛИЭТИЛЕНОВОЙ ОБОЛОЧКЕ
по техническим условиям
ИЯНШ.300260.043ТУ
предприятия ОАО «НПП «КОМПЕНСАТОР»
ПРИ ПРОЕКТИРОВАНИИ, СТРОИТЕЛЬСТВЕ
И ЭКСПЛУАТАЦИИ ТЕПЛОВЫХ СЕТЕЙ

Главный инженер
ОАО «ВНИПИЭнергопром»

Л.А. Тутыхин

Москва
2006 г.

В разработке

«Руководящего Документа (РД) по применению осевых сильфонных компенсаторов по техническим условиям ТУ5-98 ИЯНШ.300260.029ТУ, сильфонных компенсирующих устройств по техническим условиям ТУ5-99 ИЯНШ.300260.033ТУ и стартовых сильфонных компенсаторов предприятия по техническим условиям ТУ-2000 ИЯНШ.300260.035ТУ ОАО «НПП «КОМПЕНСАТОР» при проектировании, строительстве и эксплуатации тепловых сетей»

принимали участие:

Зав. ЛТС д.т.н. Г.Х. Умеркин

Главный специалист инженер А.И. КОРОТКОВ

Инженер Н.А. Елкина

СОДЕРЖАНИЕ

Основные и дополнительные материалы.. 2

Условные обозначения. 3

1. Общая часть. 5

2. Исходные данные. 7

2.1. Осевые СК, СКУ и ССК.. 7

2.2. Требования к трубам.. 7

3. Правила проектирования. 9

3.1. Общие положения. 9

3.2. Порядок проектирования. 10

3.3. Выбор осевых СК, СКУ и ССК.. 11

3.4. Размещение осевых СК и СКУ.. 12

3.5. Расчет нагрузок на опоры. 25

3.6. Установка СК, СКУ и ССК на монтаже. 27

3.7. Прокладка теплопроводов с осевыми СК, СКУ и ССК.. 27

4. Особенности ведения строительства тепловых сетей с осевыми СК, СКУ и ССК. 28

4.1. Общая часть. 28

4.2. Ведение земляных работ. 29

4.3. Транспортировка и хранение осевых СК, СКУ и ССК.. 30

4.4. Монтаж теплопроводов с осевыми СК и СКУ.. 30

4.5. Изоляция стыков осевых СК и СКУ с теплопроводами. 33

4.6. Монтаж сигнальной системы.. 34

5. Испытания осевых СК и СКУ и теплопроводов. 34

5.1. Общие положения. 34

5.2. Проверка чистоты трубопроводной системы. 35

5.3. Проверка качества сварных соединений полиэтиленовой оболочки. 35

5.4. Гидравлические испытания. 36

5.5. Испытания сигнальной системы. 36

6. Правила эксплуатация тепловых сетей при установке осевых СК, СКУ и ССК.. 36

Приложение 1. Трубы для тепловых сетей. 37

Приложение 2. Компенсаторы сильфонные типа ОПН.. 39

Приложение 3. Значения амплитуды осевого хода односильфонных компенсаторов. 88

Приложение 4. Расчетные формулы для определения суммарных горизонтальных нормативных нагрузок неподвижные опоры труб (Рг.о, Рг.б) 89

ОСНОВНЫЕ И ДОПОЛНИТЕЛЬНЫЕ МАТЕРИАЛЫ

1. РД 10-249-98 «Нормы расчета на прочность стационарных котлов и трубопроводов пара и горячей воды». Госгортехнадзор России, 1999.

2. Отраслевые стандарты: «Котлы стационарные и трубопроводы пара и горячей воды». Нормы расчета на прочность. ОСТ 108.031.08-85, ОСТ 108.031.09-85, ОСТ 108.031.10-85.

3. «Расчет трубопроводов на прочность», А.Г. Камерштейн и др. Москва, Гостоптехиздат, 1966.

4. «Типовые решения прокладки трубопроводов тепловых сетей в изоляции из пенополиуретана», Альбом ВНИПИэнергопрома, 1998.

5. «Руководящие Документы (РД) по применению осевых сильфонных компенсаторов при проектировании, строительстве и эксплуатации тепловых сетей», ВНИПИэнергопром, 1998 - 2000.

6. РД-6-ВЭП «Системы централизованного теплоснабжения». ВНИПИэнергопром.

7. «Справочник по проектированию тепловых сетей, в двух томах, Теплоэлектропроект, 1959.

8. РД-7-ВЭП «Руководящий Документ по проектированию тепловых сетей по заданному уровню надежности с помощью ПК». ВНИПИэнергопром, Пермский Гостехуниверситет. 2000.

В качестве вспомогательного материала при разработке настоящего Свода Правил использованы:

9. Европейский стандарт EN 253; 1994.

10. «Справочник по централизованному теплоснабжению» Европейская Ассоциация Производителей Предварительно Изолированных труб для Централизованного теплоснабжения (© ЕиНР), 1977. Автор П. Рандлов. Перевод Т.Г. Малафеевой.

11. Справочник по расчету и проектированию бесканальных теплопроводов. Киев, Будiвельник. 1985.

УСЛОВНЫЕ ОБОЗНАЧЕНИЯ

Fст - площадь поперечного сечения стенки трубы, мм2;

Fпл - площадь действия внутреннего давления (0,785D2вн), мм2;

Dн - наружный диаметр трубы, мм;

Dвн - внутренний диаметр трубы, мм;

Dоб - наружный диаметр теплопровода по оболочке, мм;

Dск - наружный диаметр компенсатора по сильфону, мм;

s - толщина стенки стальной трубы, мм;

fтр - удельная сила трения на единицу длины трубы, Н/м;

μ - коэффициент трения;

φ - угол внутреннего трения грунта, в градусах;

φд - коэффициент снижения прочности сварного шва при расчете на давление, Н/мм2;

φи - коэффициент снижения прочности сварного шва при расчете на изгиб, Н/мм2;

γпульпы - удельный вес пульпы (воды с учетом взвешенных частиц грунта), Н/м3;

ωпульпы - объем пульпы, вытесненной теплопроводом, м3/м;

gтрубы - вес 1 м теплопровода без воды, Н/м;

qтрубы - вес 1 м теплопровода с водой, Н/м;

qгрунта - вес слоя грунта над трубой, Н/м;

γ - удельный вес грунта, Н/м3;

Z - глубина засыпки по отношению к оси трубы, м;

Rст - вертикальная стабилизирующая нагрузка на 1 м трубы, Н/м;

Sсдвига - сдвигающая сила, возникающая в результате действия давления грунта в состоянии покоя, Н/м;

t1 - максимальная расчетная температура теплоносителя, °С;

to - расчетная температура наружного воздуха для проектирования отопления (средняя температура наружного воздуха наиболее холодной пятидневки, обеспеченностью 0,92), °С;

tмонт - монтажная температура, °С;

σрасч - расчетное осевое напряжение в трубе, Н/мм2;

σж - напряжение в трубе от силы жесткости сильфона СК, Н/мм2;

σиз - напряжение от собственного веса теплопровода, Н/мм2:

σраст - растягивающее окружное напряжение от внутреннего давления, Н/мм2;

σдоп - допускаемое осевое напряжение в трубе, Н/мм2;

σос - дополнительное напряжение, возникающее в трубе при остывании от (to) до (tмин);

[σ] - номинальное значение допускаемого напряжения материала

Sэф - эффективная площадь поперечного сечения сильфонного компенсатора, Sэф = 0,785 · D2ср.сильфона, см2;

Сλ - жесткость осевого хода, Н/см;

λ-1 - амплитуда осевого хода, мм;

L - расстояние между неподвижными опорами или условно неподвижными сечениями трубы, м;

Lподв - расстояние между подвижными опорами, м;

Lску - паспортная длина СК или СКУ, мм;

Рр - распорная сила сильфонных компенсаторов, Н;

Рж - сила жесткости сильфонных компенсаторов, Н;

Ртр - сила трения теплопровода о грунт на участках бесканальной прокладки, Н;

Рвн - внутреннее давление, Н/мм2;

N - осевое (сжимающее, растягивающее) усилие в трубе, Н;

W - момент сопротивления поперечного сечения стенки трубы,

W = 0,1(Dн4 - Dвн4) : Dвн, см3;

α - коэффициент линейного расширения стали, 0,012 мм/м°С;

J - момент инерции трубы:J = 0,05(Dн4 - Dвн4) см4;

tэ - минимальная температура в условиях эксплуатации (tмонт, tупора или другая температура). Выбор tэ выполняется проектировщиком по согласованию с заказчиком и эксплуатирующей организацией.

Приведенные в тексте правила и формулы составлены так, что все расчеты могут производиться как с использованием энергетической теории прочности, так и по предельным состояниям.

В примерах расчеты ведутся по энергетической теории прочности. В этом случае все формулы применяются в представленном в Руководстве виде.

При ведении расчетов на прочность элементов и конструкций тепловых сетей по предельным состояниям следует индивидуально с максимальной точностью учитывать все нагрузки и воздействия, возникающие при строительстве, монтаже, испытаниях и эксплуатации, вероятность перегрузки и ее характер (постоянная, кратковременная, временная длительная, особая), условия работы материала и условия работы конструкции в целом, а также неоднородность материала и индивидуальные особенности производства рассчитываемого элемента. Реализуется это путем введения соответствующих индивидуальных коэффициентов в зависимости от того, ведутся ли расчеты по пределу прочности или по пределу текучести.

ИСХОДНЫЕ ДАННЫЕ,
использованные в примерах:

Диаметр стальной трубы - Dн = 159 мм,

Толщина стенки трубы - s = 4,5 мм,

Диаметр ППУ-оболочки - Dоб = 250 мм.

σрасч - расчетное осевое напряжение в трубе - 110 Н/мм2;

qтрубы - вес 1 м теплопровода с водой - 503 Н/м;

μ - коэффициент трения при ППУ и ППМ изоляции - 0,40,

γ - удельный вес грунта - 18000 Н/м3;

Z - глубина засыпки по отношению к оси трубы - 1 м;

λ-1 - амплитуда осевого хода: СКУ 150 мм - 50 мм;

α - коэффициент линейного расширения стали: 0,012 мм/м°С;

Е - модуль упругости материала трубы, 2 · 105 Н/мм2;

t1 - 150 °С;

to - расчетная температура наружного воздуха для проектирования отопления, t0(0,92) = -30 °С;

qтрубы - вес 1 м теплопровода без воды: - 341 Н/м;

Sэф - эффективная площадь поперечного сечения СКУ - 279 см2;

Сλ - жесткость осевого хода СКУ 150 мм - 2180 Н/см;

W - момент сопротивления поперечного сечения стенки трубы: W= 0,1(15,94 - 154) : 15,9 = 83,57 см3;

φ1 - коэффициент прочности поперечного сварного шва - 0,9;

Рвн - внутреннее давление: - 1,6 Н/мм2;

J - момент инерции сечения трубы: J = 0,05(15,94 - 154) = 664,4 см4.

1. ОБЩАЯ ЧАСТЬ.

1.1. Настоящий РД разработан в соответствии с действующей на территории Российской Федерации «Системой нормативных документов в строительстве» - СНиП 10-01-94.

1.2. РД распространяется на тепловые сети, конструкция и технические данные которых соответствуют нормативным документам Российской Федерации, и которые способны обеспечить гарантированную проектом величину тепловых потерь, надежный транспорт и качество теплоносителя в системе теплоснабжения в течение всего заданного срока службы.

1.3. РД содержит рекомендации по применению осевых неразгруженных сильфонных металлических компенсаторов по техническим условиям ИЯНШ.300260.029ТУ (осевых СК), сильфонных компенсирующих устройств (осевых СКУ), изготавливаемых на базе СК по техническим условиям ИЯНШ.300260.033ТУ, сильфонных компенсирующих устройств для стальных трубопроводов с тепловой изоляцией из пенополиуретана в полиэтиленовой оболочке ИЯНШ.300260.043ТУ предприятия ОАО «НПП «Компенсатор», и стартовых сильфонных компенсаторов ССК по техническим условиям ИЯНШ.300260.035ТУ для компенсации температурных деформаций теплопроводов тепловых сетей.

1.4. Срок службы конструкций собственно теплопроводов и их элементов устанавливается на основании:

- расчетного времени разрушения теплоизоляции;

- поверочных расчетов на циклическую прочность фасонных деталей стальных трубопроводов (тройников, отводов и т.д.). Поверочный расчет собственно прямого стального трубопровода разрешается не производить [л. 1, пункт 5.1.5.2.5], если повреждаемость от действия всех видов нагрузок удовлетворяет одновременно двум условиям: циклической прочности (мало цикловой усталости) и допускаемой величине напряжения в трубопроводе от суммарной нагрузки:

где:

Цi - число циклов нагружения данного типа;

[Ц]i - допускаемое число циклов нагружения данного типа;

σсус - суммарное эквивалентное напряжение от весовых нагрузок, самокомпенсации и внутреннего давления;

[σ] - номинальное допускаемое напряжение.

1.4.1. При применении теплопроводов и их элементов в пенополиуретановой теплоизоляции (в ППУ-изоляции) срок службы определяется по ГОСТ 30732-2000 [10] и составляет при постоянной рабочей температуре теплоносителя:

120 °С - 30 лет,

130 °С - 9 лет,

140 °С - 4 года,

150 °С - 1 год.

Срок службы трубопроводов в ППМ-изоляции при 150 °С составляет 30 лет, в АПБ-изоляции при 180 °С - 30 лет.

1.4.2. Сильфоны осевых СК, СКУ, ССК относятся к группе неремонтируемых изделий. Сроки их службы и замены на новые устанавливаются ОАО «НПП «Компенсатор» по

а) содержанию хлоридов в транспортируемой среде: до 250 мг/л - 30 лет;

б) по назначенной наработке полных и неполных циклов в течение всего срока службы:

для СК, СКУ:

- при эксплуатации на одном из режимов табл. 1 и 2 приложения 3.

При этом нагружение может производиться по отношению к любому из промежуточных состояний СК и СКУ при условии, что общий ход не превышает названное значение амплитуды.

для ССК:

по назначенной наработке, равной одному циклу с 100 % нагружением сжатием в течение всего срока службы, и по назначенной наработке 100 циклов с нагружением 15 % осевым ходом в период выполнения монтажных работ.

1.4.3. При назначении сроков службы СК, СКУ и ССК следует также учитывать климатологические данные, вид прокладки и конструктивные особенности компенсаторов:

- при установке СК:

на открытом воздухе в местностях с расчетной температурой наружного воздуха для проектирования отопления выше - 40 °С и в местах, доступных для постоянного визуального осмотра: в производственных помещениях, в гидроизолированных камерах непроходных каналов, в проходных и полупроходных каналах, срок службы независимо от климатических условий может назначаться до 30 лет;

- при установке СКУ:

в производственных помещениях, камерах непроходных каналов, в проходных и полупроходных каналах при отсутствии грунтовых и других коррозионно-активных вод срок службы устанавливается независимо от климатических условий до 30 лет;

на открытом воздухе в местностях с расчетной температурой наружного воздуха для проектирования отопления ниже - 40 °С, но выше - 50 °С срок службы может назначаться до 20 лет;

на теплопроводах, прокладываемых бесканально, срок службы устанавливается независимо от климатических условий до 30 лет.

- при установке ССК:

На теплопроводах, прокладываемых бесканально, срок службы устанавливается независимо от климатических условий до 25 лет.

1.5. Для осевых сильфонных компенсаторов, сильфонных компенсационных устройств и стартовых сильфонных компенсаторов, разработанных и изготовленных другими предприятиями по другим техническим условиям, необходима разработка других Руководящих Документов, соответствующих их конструктивным особенностям, применяемым материалам и технологии изготовления.

2. ИСХОДНЫЕ ДАННЫЕ

2.1. Осевые СК, СКУ и ССК

2.1.1. Осевые СК при наличии защиты сильфонов от загрязнения и механических повреждений и осевые СКУ предназначены для компенсации температурных деформаций теплопроводов при всех видах надземной и подземной прокладки тепловых сетей, ССК предназначены для бесканальной прокладки.

2.1.2. Предельно допустимые параметры транспортируемой среды - горячей воды:

температура: - 150 °С,

давление: условное - до 2,5 МПа,

рабочее - по ГОСТ 356.

2.1.3. Осевые СК, СКУ и ССК могут применяться в районах с расчетной температурой наружного воздуха не ниже минус 50 °С и сейсмичностью не более 9 баллов по шкале Рихтера.

2.1.4. При заказе и применении осевых СК, СКУ и ССК следует руководствоваться требованиями, изложенными в технических условиях ОАО «НПП «Компенсатор»:

ИЯНШ.300260.029ТУ «Компенсаторы сильфонные осевые металлические», 2006 г.,

ИЯНШ.300260.033ТУ «Сильфонные компенсационные устройства для тепловых сетей», 2006 г.,

ИЯНШ.300260.035ТУ «Стартовые сильфонные компенсаторы», 2000 г.,

ИЯНШ.300260.043ТУ «Сильфонные компенсационные устройства для стальных трубопроводов с тепловой изоляцией из пенополиуретана в полиэтиленовой оболочке», 2006 г.,

основные из которых следующие:

2.1.5. Осевые СК, СКУ и ССК в соответствии с ОСТ5Р.9798 должны испытываться на предприятии-изготовителе на прочность пробным (Рпр) давлением, равным 1,25Ру. Класс герметичности IV по ОСТ5Р.0170.

2.1.6. Теплоизоляционное и гидрозащитное покрытия осевых СК, СКУ и ССК при их бескамерной установке должны быть выполнены из того же материала, что и для основных труб. Минимальная толщина теплоизоляционного слоя не должна быть меньше 50 % толщины изоляционного слоя основной трубы и в любом случае не должна быть меньше 15 мм.

2.1.7. При проектировании систем централизованного теплоснабжения, определении оптимальной конфигурации разветвленных схем тепловых сетей, расчете максимально допустимой заданным уровнем надежности протяженности нерезервированных и тупиковых участков (по методике Пермского Государственного Технического Университета и ОАО «Объединение ВНИПИэнергопром») следует учитывать следующие количественные показатели надежности конструкции осевых СК, СКУ и ССК:

- вероятность безотказной работы на уровне 0,95;

- готовность к нормальной работе на уровне 0,999.

2.1.8. Конструкция осевых СК и СКУ, заказываемых для теплопроводов тепловых сетей отвечают требованиям живучести (ГОСТ 27.002-89) и способны противостоять разрушению при критических отказах, связанных с вынужденным опорожнением теплопроводов в периоды нерасчетного понижения температуры наружного воздуха (ниже to).

2.1.9. Срок сохраняемости осевых СК, СКУ и ССК до ввода в эксплуатацию - не менее 5 лет.

2.2. Требования к трубам

2.2.1. При строительстве тепловых сетей с осевыми СК, СКУ и ССК, а также для изготовления присоединительных и переходных патрубков, рекомендуется применять те же стальные трубы (приложение 1, табл. 1), что и для теплопроводов, отвечающие требованиям «Правил устройства и безопасной эксплуатации трубопроводов пара и горячей воды» (ПБ-10-573-03)

Госгортехнадзора России и СНиП 41-02-2003 «Тепловые сети».

2.2.2. Основные механические свойства металла труб, применяемых для тепловых сетей и патрубков осевых СК, СКУ и СК должны соответствовать данным, приведенным в приложении 1, таблица 2.

2.2.3. Детали трубопроводов (отводы, переходы, тройники, штуцеры и др.) принимаются по серии 5.903-13 «Изделия и детали трубопроводов тепловых сетей».

2.2.4. Минимальная толщина стенки труб из сталей марок ВСт3Сп6, Ст10, Ст20 при бесканальной прокладке принимается по приложению 1, таблица 3.

2.2.5. Смещение кромок заводских сварных швов труб и присоединительных патрубков осевых СК, СКУ и СК не должны превышать 10 % номинальной толщины стенки для прямошовных труб.

2.2.6. Для изготовления патрубков осевых СК, СКУ и ССК следует применять электросварные прямошовные и бесшовные трубы в регионах с расчетной температурой наружного воздуха для проектирования отопления (to):

до минус 30 °С - из стали марок: ст.10, ст.20, Ст3Сп5,

до минус 40 °С - из стали 17ГС,

до минус 50 °С - из стали 09Г2С

2.2.7. При установке патрубков осевых СК, СКУ в ССК сварные швы прямошовных труб трубопроводов тепловых сетей Dy ³ 500 мм должны быть двухсторонними.

2.2.8. Предельный минусовый допуск в зависимости от толщины стенки (s) патрубков не должен превышать величин, приведенных в приложении 1, таблица 4.

2.2.9. Отклонение по наружному диаметру Dн и допустимая овальность труб даны в приложении 1, табл. 5.

2.2.10. При применении в тепловых сетях с осевыми СК, СКУ и ССК чугунных труб Dy £ 300 мм с шаровидным графитом (ВЧШГ) Липецкого НПП «ВАЛОК-ЧУГУН», разрешенных Ростехнадзором письмом № 03-35/152 от 19.04.96 в экспериментальном порядке для сооружения трубопроводов пара и горячей воды с давлением до 1,6 МПа и температурой до 150 °С, следует соблюдать технические условия ТУ 1468-004-39535214-96 «Трубы центробежные из чугуна с шаровидным графитом под сварку для теплотрасс» и ТУ 1468-002-39535214-96 «Фасонные части сварные из чугуна с шаровидным графитом для трубопроводов теплофикации». Сварку производить по «Инструкции на сварку, термообработку, контроль и ремонт соединений трубопроводов теплофикации из высокопрочного чугуна с шаровидным графитом».

2.2.11. При применении труб, не указанных в приложении 1 к настоящему Руководству, и отсутствующих в «Правилах устройства и безопасной эксплуатации трубопроводов пара и горячей воды», следует получить разрешение Ростехнадзора на основании положительного заключения НПО ЦКТИ, согласования с генпроектировщиком и эксплуатирующей организацией.

2.2.12. Не рекомендуются к применению стальные трубы по Европейскому стандарту EN 253; 1994 (DIN 1626) из трубных сталей TW 360 и TW 500 (U ст.37, ст.44, ст.45) из-за значительного несоответствия геометрических размеров этих труб (наружный диаметр, толщина стенки) с размерами труб, применяемых в России. Кроме того, трубные стали TW 360, TW 500 имеют пониженную коррозионную стойкость и повышенную чувствительность к хлору, который содержится в компонентах пенополиуретана. Указанные стандарты не полностью отвечают требованиям в части необходимых испытаний, контроля и т.п.

При особой необходимости применения в тепловых сетях труб, поставляемых по DIN 1626 (включая марку стали Ст 37, обладающей пониженной стойкостью к коррозии), следует получить сертификат соответствия требованиям «Правил устройства и безопасной эксплуатации трубопроводов пара и горячей воды» (ПБ-03-75-24) от российской организации, аккредитованной Ростехнадзором.

Указанные трубы должны быть подвергнуты дополнительным испытаниям:

- на ударную вязкость основного металла и сварного шва;

- на загиб сварного шва;

- 100 % проверки сварных заводских швов неразрушающим методом.

Все отступления от «Правил устройства и безопасной эксплуатации трубопроводов пара и горячей воды» (ПБ-03-75-24) должны быть дополнительно согласованы с Ростехнадзором.

3. ПРАВИЛА ПРОЕКТИРОВАНИЯ

3.1. Общие положения

3.1.1. В настоящем РД приведены только те нормы и правила проектирования, которые непосредственно связаны с особенностями применения неразгруженных осевых СК, СКУ и ССК в тепловых сетях.

3.1.2. При проектировании тепловых сетей с применением неразгруженных осевых СК, СКУ, ССК основными документами являются:

- СНиП 41-02-2003 «Тепловые сети», СНиП 2.04.07-86* «Тепловые сети», СНиП 41-03-2003 «Тепловые сети», СНиП 2.04.14-88 «Тепловая изоляция оборудования и трубопроводов» (с изменениями и дополнениями);

- технические условия ИЯНШ.300260.029ТУ, ИЯНШ.300260.033ТУ, ИЯНШ.300260.035ТУ и ИЯНШ.300260.043ТУ предприятия ОАО «НПП «Компенсатор»;

- РД 10-249-98 «Нормы расчета на прочность стационарных котлов и трубопроводов пара и горячей воды», Госгортехнадзор России, 1999;

- «Справочник по проектированию тепловых сетей, в двух томах, Теплоэлектропроект, 1959;

- ГОСТ 30732-2001 «Трубы и фасонные изделия стальные с тепловой изоляцией из пенополиуретана в полиэтиленовой оболочке»;

- «Руководство по проектированию тепловых сетей по заданному уровню надежности с помощью ПЭВМ. ВНИПИэнергопром, Пермский Гостехуниверситет. 2000.

3.1.3. РД распространяется на следующие виды теплопроводов тепловых сетей:

- теплопроводы заводского изготовления в пенополиуретановой теплоизоляции с оболочкой из толстостенной полиэтиленовой трубы (далее в ППУ изоляции). Альбом «Типовых решений прокладки трубопроводов тепловых сетей в изоляции из пенополиуретана» разработан ОАО «Объединение ВНИПИэнергопром»;

- теплопроводы заводского изготовления в армопенобетонной теплоизоляции с паропроницаемой оболочкой из различных материалов (далее в АПБ-изоляции). Альбом типовых решений прокладки трубопроводов тепловых сетей в монолитной армопенобетонной изоляции разработан ОАО «Объединение ВНИПИэнергопром».

- теплопроводы заводского изготовления в пенополимерминеральной теплоизоляции с паропроницаемой наружной поверхностью (далее в ППМ-изоляции). Альбом «Типовых решений прокладки трубопроводов тепловых сетей в пенополимерминеральной изоляции» разработан ОАО «Объединение ВНИПИэнергопром»;

- теплопроводы в «мягкой» теплоизоляции из минераловатных изделий в паропроницаемой оболочке из различных материалов (далее в М-изоляции). Альбом «Конструкции тепловой изоляции трубопроводов надземной и подземной канальной прокладки водяных тепловых сетей и паропроводов», серия 7.903.9-3;

- теплопроводы в других видах теплоизоляции, прошедшие необходимый цикл испытаний и имеющие сертификат соответствия. Выдача сертификатов по тематике «Конструкции и оборудование тепловых сетей» осуществляется органами Топливно-энергетического комплекса (ТЭК СЕРТ) на основании экспертного заключения лаборатории «Трубопроводы и оборудование» Топливно-энергетического комплекса.

3.2. Порядок проектирования

ВЫБОР СКУ

 

Канальная прокладка

Бесканальная прокладка

Надземная прокладка

ППМ, М

ППМ: таб. 21

М: таб. 22

ППУ, ППМ, АПБ, ССК

ППУ.таб. 17, 18, 19

ППМ: таб. 21

АБП: таб. 20, 23

ССК: таб. 24

ППМ, М

ППМ: таб. 21

М: таб. 22

 

РАЗМЕЩЕНИЕ СКУ

 

Канальная прокладка

Бесканальная прокладка

Надземная прокладка

1. Предельная длина участка

Как искл. Формулы [5], [6], [7], [8], [9]

1. Предельная длина участка

Как искл. Формулы [5], [6], [7], [8], [9]

1. Предельная длина участка

Как искл. Формулы [5], [6], [7], [8], [9]

2. Температурная деформация

Формулы [1], [2], [3], [4].

2. Температурная деформация

Формулы [1], [2], [3], [4].

2. Температурная деформация

Формулы [1], [2], [3], [4].

3. Способ применения:

I, III

3. Способ применения:

I, III

3. Способ применения:

I, III

4. Проектная длина участка

Формулы:[10], [11], [12], [13], [14]

4. Проектная длина участка

Формулы [10], [11], [12], [13], [14]

Для ССК формулы: [15] - [19]

4. Проектная длина участка

Формулы: [10], [11], [12], [13], [14]

5. Расстановка направл. опор:

Пункты: 3.4.7 - 3.4.12

5. Расстановка направл. опор:

Пункты: 3.4.7 - 3.4.12

5. Расстановка направл. опор:

Пункты: 3.4.7 - 3.4.12

6. Живучесть системы:

Как искл. Формулы [20] - [24].

6. Живучесть системы:

Как искл. Формулы [20] - [24].

6. Живучесть системы:

Как искл. Формулы [20] - [24].

7. Устойчивость системы:

Формулы [25] - [32].

7. Устойчивость системы:

Формулы [25] - [32].

7. Устойчивость системы:

Формулы [25] - [32].

 

РАСЧЕТ НАГРУЗОК НА ОПОРЫ

 

Канальная прокладка

Бесканальная прокладка

Надземная прокладка

Расчет нагрузок на опоры проводится по формулам [33] - [47] с учетом пунктов 3.4.1 - 3.4.12

УСТАНОВКА СКУ НА МОНТАЖЕ

Монтажная длина компенсаторов определяется по формулам [43] - [45] в зависимости от способа применения СКУ с учетом требований пунктов 3.4.21, 3.6.1, 3.6.2, 4.4.1 - 4.4.10.

Расчет настройки ССК определяется по формулам [51] - [58]

3.3. Выбор осевых СК, СКУ и ССК

3.3.1. Осевые СК и СКУ рекомендуется выбирать равного с теплопроводом диаметра, принимая соответствующую компенсирующую способность и технические характеристики:

- для осевых СК - по приложению 2, таблица 1 - 16 (технические условия ОАО «НПП «КОМПЕНСАТОР» ИЯНШ.300260.029ТУ «Компенсаторы сильфонные осевые металлические», 2006 г.), ИЯНШ.300260.043ТУ «Сильфонные компенсационные устройства для стальных трубопроводов с тепловой изоляцией из пенополиуретана в полиэтиленовой оболочке», 2006 г.);

- для осевых СКУ - по приложению 2, таблицы 17 - 23, (технические условия ОАО «НПП «Компенсатор» ИЯНШ.300260.033ТУ «Сильфонные компенсационные устройства для тепловых сетей», 2006 г. и ИЯНШ.300260.043ТУ «Сильфонные компенсационные устройства для стальных трубопроводов с тепловой изоляцией из пенополиуретана в полиэтиленовой оболочке», 2006).

- Для ССК - по приложению 2, таблица 24 (технические условия ОАО «НПП «Компенсатор» ИЯНШ.300260.035ТУ «Стартовые сильфонные компенсаторы для тепловых сетей», 2000 г.).

3.3.2. Допускается применение при необходимости осевых СК, СКУ и ССК большего или меньшего диаметра, чем диаметр теплопровода, с установкой переходов. Входной и выходной переходы СК, СКУ и ССК могут быть разных диаметров в зависимости от присоединяемых теплопроводов. Переходы рекомендуется заказывать одновременно с осевыми СК, СКУ и ССК.

3.3.3. При применении осевых СК или СКУ, диаметр которых не совпадает с диаметром трубы теплопровода, а также при скорости теплоносителя - горячей воды более 8 м/с, следует предусматривать установку осевых СК или СКУ с внутренними направляющими патрубками, конструктивное исполнение которого оговаривается при заказе.

3.3.4. Для бесканальной прокладки теплопроводов:

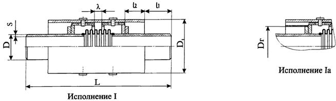
- в ППУ-изоляции - следует выбирать осевые СКУ в конструктивном исполнении I, Ia, (таб. 19) и (таб. 17, 18);

- АПБ-изоляции - следует выбирать осевые СКУ в конструктивном исполнении I, II (таб. 20);

- в ППМ-изоляции - следует выбирать осевые СКУ в конструктивном исполнении I или IС (таб. 21);

- ССК - следует выбирать по техническим характеристикам и размерам, указанным в таблице 24.

3.3.5. При подземной прокладке теплопроводов в каналах, туннелях, камерах, надземной прокладке и в помещениях теплопроводов в М-изоляции следует выбирать осевые СКУ в конструктивном исполнении I или IС (таб. 22).

3.3.6. Для теплопроводов в других видах теплоизоляции при подборе осевых СКУ следует пользоваться приложениями в зависимости от характеристик теплоизоляционной конструкции, принимая за аналоги характеристики теплоизоляционные конструкций, перечисленных в пункте 3.1.3.

3.3.7. Для регионов с расчетной температурой наружного воздуха для проектирования отопления низке минус 40 °С осевые СК и СКУ должны приниматься в северном исполнении [С], что оговаривается при заказе.

3.3.8. Установка на теплопроводах осевых СК по ИЯНШ.300260.029ТУ.

При необходимости бескамерной установки осевых СК на бесканально прокладываемых теплопроводах следует защищать их несущими кожухами, способными воспринимать внешние нагрузки.

При других видах прокладки следует предусматривать установку осевых СК с защитными кожухами, способными предохранять сильфоны от загрязнений, случайных механических повреждений и агрессивного воздействия окружающей среды.

Заказчик при заказе осевых СК должен оговорить конструктивное назначение кожуха и осуществить его изготовление по документации ОАО «НПП «Компенсатор».

3.4. Размещение осевых СК и СКУ

3.4.1. При канальной и надземной прокладке применяются осевые СКУ, которые могут размещаться в любом месте теплопровода между двумя неподвижными опорами или естественно неподвижными сечениями трубы. При бесканальной прокладке СКУ могут устанавливаться в любом месте теплопровода, (подробно см. п. 3.7.3)

Примеры размещения осевых СК и СКУ на теплопроводах

3.4.2. Протяженный теплопровод может иметь три вида зон (участков):

- зоны изгиба [Lи] - участки теплопровода, непосредственно примыкающие к компенсатору. Эти участки при нагреве теплопровода перемещаются в осевом и боковых направлениях;

- зоны компенсации [Lк] - участки теплопровода, примыкающие к компенсатору, перемещающиеся при температурных деформациях. Участки изгиба включаются в длину участков компенсации;

- зоны защемления [Lз] - неподвижные (защемленные) участки теплопровода, примыкающие к неподвижным опорам или естественно неподвижным сечениям трубы, компенсация температурных деформаций в которых происходит за счет изменения осевого напряжения.

Расчет деформаций.

3.4.3. В общем случае деформация теплопровода [ΔL] рассчитывается по формуле:

∆L = ∆lt - ∆lтр - ∆lдм + ∆lр;                                                   [1]

где:

∆lt - температурная деформация

∆lтр - деформация под действием сил трения

∆lр - деформация от внутреннего давления

∆lдм - реакция демпфера (грунта, поролоновых подушек, жесткости осевого компенсатора, упругости П-образных, Г-образных, Z-образных и др. компенсирующих устройств).

3.4.4. Длина зоны (участка) компенсации [Lк] при применении осевых СК, СКУ, ССК рассчитывается по формуле:

                                   [2]

3.4.5. Максимальное удлинение зоны компенсации (∆Lк) при нагреве теплопровода после засыпки траншеи грунтом можно определить по упрощенной формуле:

                          [3]

В формулах:

α - коэффициент линейного расширения стали, мм/м°С;

t1 - максимальная расчетная температура теплоносителя, °С;

tэ - минимальная температура в условиях эксплуатации. Выбор tэ выполняется проектировщиком по согласованию с заказчиком и эксплуатирующей организацией (tмонт, tо, tупора и др.);

Lк - длина зоны (участка) компенсации, м;

fтр - удельная сила трения на единицу длины трубы, Н/м;

Е - модуль упругости материала трубы, 2 × 105 Н/мм2;

Fст - площадь поперечного сечения стенки трубы, мм2;

А - коэффициент, учитывающий активную поверхность сильфонов осевых СК, СКУ:

A = 0,5 · [1 - (Dc/Dвн)2];                                                      [4]

Dc - средний диаметр сильфона, мм;

Dвн - внутренний диаметр трубы, мм;

σраст - растягивающее окружное напряжение от внутреннего давления, Н/мм2 (см. формулу [13]).

Примечание:

В формулах [2 и 3] с целью упрощения проектных расчетов не учтено влияние усилия от активной реакции упругой деформации компенсатора: Nг/Fст.

Расстановка направляющих опор.

3.4.6. Между двумя неподвижными опорами или естественно неподвижными сечениями трубы должен размещаться только один осевой СК, СКУ или ССК.

3.4.7. При применении осевых СК или СКУ на теплопроводах при подземной прокладке в каналах, туннелях, камерах, надземной прокладке и в помещениях установка направляющих опор обязательна.

3.4.8. Первые направляющие опоры устанавливаются с двух сторон компенсатора на расстоянии 2Dy ÷ 4Dy. Вторые предусматриваются с каждой стороны на расстоянии 14Dy ÷ 16Dy от компенсатора. Число и необходимость установки вторых и последующих направляющих опор определяются при проектировании по результатам расчета теплопровода на устойчивость.

3.4.9. При применении СКУ по техническим условиям ИЯНШ.300260.033ТУ на теплопроводах при подземной прокладке в каналах, туннелях и камерах, а также при надземной прокладке и в помещениях установки первой пары направляющих опор на расстоянии 2 ÷ 4 Dy не требуется, т.к. они предусмотрены конструкцией СКУ, но обязательна установка направляющих опор на расстоянии 14 ÷ 16 Dy от СКУ.

3.4.10. При размещении осевых СК, СКУ или ССК у неподвижной опоры расстояние до нее должно быть в пределах 2Dy - 4Dy. В этом случае направляющие опоры для СК и СКУ устанавливаются только с одной стороны. С другой стороны их функцию выполняет неподвижная опора.

3.4.11. В случае размещения осевых СК или СКУ в камерах функции направляющих опор могут выполнять стенки камер со специальной конструкцией обвязки входного и выходного проемов камеры.

3.4.12. Направляющие опоры (см. рис. в Приложении 4) следует применять, как правило, охватывающего типа (хомутовые, трубообразные, рамочные), принудительно ограничивающие возможность поперечного или углового сдвига и не препятствующие осевому перемещению. Для уменьшения силы трения между трубой и опорой предпочтительна установка катков, фторопластовых скользящих прокладок и т.п. Длина направляющей опоры должна быть, как правило, не менее двух диаметров. Зазор между трубой и направляющей конструкцией следует принимать не более 1,6 мм при диаметрах труб Dy £ 100 мм, и не более 2,0 мм при трубах Dy ³ 125 мм.

3.4.13. При бесканальной прокладке теплопроводов с осевыми СК или СКУ следует провести проверку теплопроводов на устойчивость в следующих случаях:

- при малой глубине заложения теплопроводов (менее ~ 1 м от оси труб до поверхности земли);

- при вероятности затопления теплопровода грунтовыми, паводковыми или другими водами;

- при вероятности ведения земляных работ;

- при необходимости принятия дополнительных мер по обеспечению живучести теплопровода (на основе технического задания заказчика).

При вероятности сезонного подъема уровня стояния грунтовых или поверхностных вод выше глубины заложения бесканально проложенных теплопроводов с осевыми СК или СКУ следует провести проверку на всплытие не заполненного водой теплопровода.

3.4.14. При выборе места размещения осевых СК или СКУ должна быть обеспечена возможность сдвижки кожуха компенсатора в любую сторону на его полную длину.

3.4.15. Осевые СК или СКУ с внутренними направляющими патрубками следует устанавливать на теплопроводах так, чтобы направление стрелки на корпусе компенсатора совпадало с направлением движения теплоносителя.

Расчет предельно допустимой длины участка теплопровода

3.4.16. Предельную длину прямого участка теплопровода при бесканальной прокладке между неподвижными опорами (н.о.) или условно неподвижными сечениями (у.н.с.) трубы, при которой не превышается максимально допустимое осевое напряжение в стальной трубе теплопровода, следует определять по формуле:

                                                       [5]

где:

σрасч - расчетное осевое напряжение в трубе, Н/мм2

Fст - площадь поперечного сечения стенки трубы, мм2:

Fст = π(Dн - s) · s, мм2;                                                       [6]

где:

Dн - наружный диаметр трубы, мм;

s - толщина стенки трубы, мм;

fтр - удельная сила трения на единицу длины трубы, Н/м.

Удельная сила трения (fтр) при бесканальной прокладке подсчитывается по формуле:

fтр = μ[(1 - 0,5 φ) · γ · Z · π · Dоб · 10-3 + qтрубы), Н/м;                            [7]

где:

φ - угол внутреннего трения грунта (для песка φ = 0,5).

С учетом этого [7] можно переписать в виде:

fтр = μ(0,75 · γ · Z · π · Dоб · 10-3 + qтрубы), Н/м;

qтрубы - вес 1 м теплопровода с водой, Н/м;

μ - коэффициент трения:

при ППУ-изоляции - 0,40,

при ППБ-изоляции - 0,38,

при АПБ-изоляции - 0,60,

γ - удельный вес грунта, Н/м3,

Z - глубина засыпки по отношению к оси трубы, м,

Dоб - наружный диаметр теплопровода (по оболочке), мм. (для конструкций теплопроводов с величиной адгезии теплоизоляции к трубе и оболочки к теплоизоляции

fадгезии ³ 0,15 МПа.

При меньших значениях fадгезии расчеты ведутся по Dн трубы.

Пример:

Определить предельную длину прямого участка теплопровода Dy 150 мм: Грунт песчаный, угол естественного откоса грунта φ = 35°.

1. Площадь поперечного сечения стенки трубы:

Fст = π · (Dн - s) · s = 3,14 · (159 - 4,5) · 4,5 = 2183 мм2

2. Удельная сила трения на единицу длины трубы:

fтр = μ(0,75 · γ · Z · π · Dоб · 10-3 + qтрубы) = 0,4(0,75 · 18000 · 1 · 3,14 · 250 · 10-3 + 503) = 4440 Н/м.

3. Предельная длина прямого участка теплопровода:

σдоп - допускаемое осевое напряжение в трубе, Н/мм2

                              [8]

[σ] - номинальное значение допускаемого напряжения материала

φ - коэффициент снижения прочности сварного шва при расчете на давление (для электросварных труб). При полном контроле шва и контроле качества сварки по всей длине неразрушающими методами φ = 1, при выборочном контроле шва φ = 0,8, а менее 10 % φ = 0,7.

Р - избыточное внутреннее давление, Мпа.

φи - коэффициент снижения прочности сварного шва при расчете на изгиб. При наличии изгиба φн = 0,9, а при отсутствии изгиба φн = 1.

Допускается использовать приближенные формулы:

при φн = 1:

σдоп = 1,25[σ], Н/мм2

при φн = 0,8:

σдоп = 1,125[σ], Н/мм2

Примечание.

При необходимости предельная длина компенсируемого участка теплопровода может быть увеличена, например, за счет применения стальных труб с повышенной толщиной стенки. Так, при s = 6 мм:

Fст = π · (Dн - s) · s = 3,14 · (159 - 6) · 6 = 2882 мм2

fтр = μ(0,75 · γ · Z · π · Dоб · 10-3 + qтрубы) = 0,4(0,75 · 18000 · 1 · 3,14 · 250 · 10-3 + 508) = 4445 Н/м.

3.4.17. Расчет предельной длины теплопровода между неподвижными опорами, прокладываемого под землей в каналах, туннелях или над землей, как правило, не производится.

Исключение составляют случаи совместной прокладки труб с опиранием на основную трубу («труба-на-трубе»), использования основной трубы в качестве несущей конструкции, прокладки теплопроводов в районах высокой сейсмики.

В этом случае расчет (fтр) может быть выполнен по формуле:

fтр = (qтрубы qпригруз + ηвет + ηлед + ηснег) · μ, Н/м;                                   [9]

где:

qтрубы - вес 1 м теплопровода с водой, Н/м;

qпригруз - вес пригруза (дополнительные трубы, строительные конструкции, пешеходные дорожки, ограждения, площадки обслуживания, мостики и т.п. с использованием основных теплопроводов в качестве несущей конструкции), Н/м;

μ - коэффициент трения:

при скользящих опорах - 0,3,

при шариковых опорах - 0,1,

при катковых опорах - 0,1 - 0,15,

при фторопластовых опорах - 0,05 - 0,1.

ηветер + ηлед + ηснег - дополнительная перегрузка:

ηвет = 0,8 · ψ · hвыс, Н/м;

ηлед = 65 · hшир, Н/м;

ηснег = 1,4 · qснег · hшир, H/м;

где:

ψ - скоростной напор ветра, Н/м2 (по СНиП 23.01-99 «Строительная климатология»);

qснег - нормативный вес снегового покрова Н/м2 горизонтальной проекции на 1 м теплопровода (СНиП 2.01.07-85);

hвыс - высота вертикальной проекции конструкции (теплопровод + пригруз), м;

hшир - суммарная ширина в горизонтальной плоскости всех теплопроводов и конструкций (теплопровод + пригруз), м.

Способы применения СК, СКУ, ССК при прокладке тепловых сетей

3.4.18. С СК, СКУ применимы три основных способа прокладки теплопроводов тепловых сетей

I способ

С использованием компенсирующей способности СК, СКУ в соответствии с пунктом 7.34 СНиП 2.04.07-86* «Тепловые сети» в диапазоне изменения температуры стенки трубопровода от максимальной (t1), равной максимальной расчетной температуре теплоносителя, до расчетной температуры наружного воздуха для проектирования отопления (to)

II способ

С использованием компенсирующей способности СК, СКУ в диапазоне изменения температуры стенки трубопровода от максимальной, равной расчетной температуре теплоносителя (t1), до минимальной (t.мин), равной наименьшей температуре наружного воздуха в данной местности. Значение (t.мин) определяется по согласованию с заказчиком по СНиП 23-01-99 «Строительная климатология» или по заданной обеспеченности (например, tмин(0,98)), °С.

III способ.

С использованием всей компенсирующей способности СК, СКУ в диапазоне изменения температуры стенки трубопровода от максимальной (t1), принимаемой равной расчетной температуре теплоносителя, до (tэ = tупора) - температуры стенки трубопровода в момент упора в ограничитель полностью растянутого сильфона.

Колебания температур в защемленных (неподвижных) трубах от (tупора) до (to) компенсируются изменением осевого напряжения (σос) в трубах.

IV способ.

Использование ССК, завариваемых после предварительного нагрева, для частичной разгрузки температурных деформаций теплопровода за счет предварительного нагрева теплопровода во время его монтажа до температуры, равной 50 % от максимальной.

3.4.19. Первый способ применения осевых СК или СКУ

допускается применять при всех видах прокладки теплопроводов. Максимальная длина участка, на котором устанавливается один осевой СК или СКУ, рассчитывается по формуле:

                                                [10]

где:

λ-1 - амплитуда осевого хода, мм;

α - коэффициент линейного расширения стали, мм/м°С;

t1 - максимальная расчетная температура теплоносителя, °С;

to - расчетная температура наружного воздуха для проектирования отопления (средняя температура наружного воздуха наиболее холодной пятидневки, обеспеченностью tо(0,92)) по СНиП 23-01-99 «Строительная климатология», °С.

Пример:

Определить максимальную длину участка, на котором устанавливается один осевой СК или СКУ Dy 150 мм:

3.4.20. Второй способ применяется при надземной прокладке. При втором способе применения осевых СК или СКУ максимальная длина участка, на котором устанавливается один осевой СК или СКУ, рассчитывается по формуле [10], но вместо температуры (tо) подставляется tмин - минимум температур наружного воздуха в данной местности. Определяется по согласованию с заказчиком по СНиП 23-01-99 «Строительная климатология» или по заданному коэффициенту обеспеченности (например, tмин(0,98)), °C.

3.4.21. При применении для теплопроводов при надземной прокладке конструкций осевых СК или СКУ, в которых не предусмотрен ограничитель нерасчетного растяжения сильфона, установка их выполняется по второму способу.

3.4.22. Третий способ применим при всех видах прокладки, в том числе бесканальной. Длина компенсируемого участка рассчитывается по формуле:

                                                [11]

Примечание: по согласованию с ОАО «Компенсатор» коэффициент запаса (0,9) может не применяться.

В формуле (11):

tэ - минимальная температура в условиях эксплуатации (tмонт, tупора, или любая другая температура). Выбор (расчет) tэ выполняется проектировщиком по согласованию с заказчиком и эксплуатирующей организацией.

Пример:

Температура tэ для случая, когда длина компенсируемого участка Lмλ теплопровода Dy 150 мм выбрана равной Lпред, определяется по формуле:

При tэ = tупора расчет ведется следующим образом:

Температура стенки трубопровода в момент упора растянутого сильфона в ограничитель (tупора) при полном использовании принятого [σрасч] определяется по формуле:

                              [12]

где:

φ1 - коэффициент прочности поперечного сварного шва;

σрасч - расчетное осевое напряжение в трубе, Н/мм2. Определяется по [л. 1];

σвн - осевое напряжение от внутреннего давления, Н/мм2:

                                              [13]

σраст - растягивающее окружное напряжение от внутреннего давления Н/мм2:

                                            [14]

Пример:

Определить температуру стенки трубопровода Dy 150 мм в момент упора растянутого сильфона в ограничитель (tупора) при полном использовании [σрасч].

1. Растягивающее окружное напряжение от внутреннего давления:

2. Осевое напряжение от внутреннего давления:

3. Температура стенки трубопровода Dy 150 мм в момент упора растянутого сильфона в ограничитель:

Расчет максимально допустимого расстояния между ССК

3.4.23. Между двумя неподвижными опорами теплопровода необходимо установить стартовый сильфонный компенсатор (или, так называемый, Е-компенсатор), после чего теплопровод заполняется теплоносителем и нагревается до температуры, равной 50 % от максимальной рабочей. При этом стартовый компенсатор должен сжаться на полную величину рабочего хода. После выдержки при указанной температуре (как правило, в течение суток) кожухи стартового компенсатора завариваются между собой. Тем самым, сильфон исключается из дальнейшей работы теплопровода. И так на всем теплопроводе между каждой парой неподвижных опор. Компенсация температурных расширений в дальнейшем происходит за счет знакопеременных осевых напряжений сжатия - растяжения. Таким образом, стартовые компенсаторы срабатывают один раз, после чего система превращается в неразрезную.

Максимально допустимое расстояние, м, между ССК составляет:

                                      [15]

Диапазон температур предварительного нагрева, при которых может быть осуществлена заварка:

                                              [16]

                                              [17]

tэ - температура, при которой монтируется ССК.

При проектировании следует учитывать, что tэ может изменяться в пределах от нуля (при длительной остановки нагрева системы) до расчетной температуры наружного воздуха, принимаемой для расчета отопления (при глубине прокладки менее 0,7 м). Поэтому рекомендуется принимать tп.н. близко к средней, определенной по формуле:

                                                           [18]

С помощью нагрева до температуры tп.н и заварки стартового компенсатора осуществляется растяжка трубопровода на величину ∆L:

                                        [19]

где ∆tп.н = tп.н - tэ

При этом уровень напряжений в защемленной зоне будет приблизительно равен:

σос = а · Е · (to - tмин) · 10-3, Н/мм2

Если по конструктивным соображениям расстояние между стартовыми компенсаторами требуется уменьшить, в формулу [19] вместо максимально допустимого значения Lст.к подставляется реальное.

В местах установки ССК должны иметь прямолинейные участки длиной не менее 12 м.

Расстояние от ССК до места установки ответвления должно быть не менее Lст.к/3.

Пример:

Определить предельное допустимое расстояние между стартовыми компенсаторами, температуру предварительного нагрева и величину растяжки при следующих исходных данных. Трубопровод диаметром 426 мм с толщиной стенки 7 мм с изоляцией, наружный диаметр кожуха изоляции 560 мм, площадь поперечного сечения трубы 92 см2, материал - сталь марки Ст20, давление в рабочем состоянии 1,6 МПа, наибольшая температура теплоносителя 130 °С, при монтаже компенсаторов - 10 °С, вес трубопровода с изоляцией и водой с учетом коэффициента перегрузки 2122 Н/м. Трубопровод имеет глубину заложения в грунте Z = 1,1 м, окружающий грунт - песок.

Определяем допускаемое осевое напряжение по формуле [8]

Удельная сила трения по формуле [7] составляет:

fтр = 0,4[(1 - 0,5 · 0,5) · 1,2 · 15 · 103 · 1,13 · 14 · 560 · 10-3 + 512] = 11294 Н/м,

Предельно допустимое расстояние между стартовыми компенсаторами - по формуле [15]:

Температура предварительного нагрева - по формуле [16]

по формуле [17]

Примем среднее значение tп.н = 70 °C, тогда осевые напряжения в рабочем состоянии составят:

σос = 0,012(130 - 70) · 2 · 102 = 144,0 МПа < 176,5 МПа Н/мм2

Определяем ∆L по формуле [19]

Где ∆tп.н = 70 - 10 = 60 °C.

В практике проектных и монтажных работ допускается использовать приближенные формулы для определения расчетного сжатия стартового компенсатора ∆L, мм:

∆L = 0,5(t1 - tмонт)Lст.кα

∆L = (tпн - tмонт)Lст.кα

Проверка живучести системы.

3.4.24. При первом способе применения осевых СК и СКУ при надземной прокладке следует произвести проверку живучести системы в экстремальных условиях, при которых:

- вода (теплоноситель) из теплопроводов выпущена;

- температура стенки теплопровода равна минимальной температуре наружного воздуха - tмин;

- сильфоны растянуты до упора в ограничители.

Результаты проверки должны быть отмечены в проекте.

Напряжения, возникающие в теплопроводе в экстремальных условиях при остывании его от (to) до (tмин), следует определять по приближенной, но достаточной для проверки, формуле:

                              [20]

где:

σoc - дополнительное напряжение, возникающее в трубе при остывании от (to) до (tмин):

σос = α · Е · (to - tмин) · 10-3, Н/мм2;                                            [21]

σж - напряжение в трубе от силы жесткости сильфона компенсатора, Н/мм2:

                                                [22]

σиз - изгибающее напряжение от собственного веса теплопровода, Н/мм2:

                                                [23]

σветер - изгибающее напряжение от ветровой нагрузки, Н/мм2:

                                             [24]

В формулах:

ψ - скоростной напор ветра, Н/м2 [по СНиП 23-01-99 «Строительная климатология»];

α - коэффициент линейного расширения стали, 0,012 мм/м°С;

Е - модуль упругости материала трубы, 2 · 105 Н/мм2;

to - расчетная температура наружного воздуха для отопления, обеспеченностью tо(0,92)), °C.

tмин - минимум температур наружного воздуха в данной местности. Определяется по согласованию с заказчиком по СНиП 23-01-99 «Строительная климатология» или по заданной обеспеченности (например, tмин(0,98)), °С;

σрасч - расчетное осевое напряжение в трубе, Н/мм2.

Dоб - наружный диаметр оболочки, мм;

gтрубы - вес 1 м теплопровода без воды, Н/м;

Sэф - эффективная площадь поперечного сечения сильфонного компенсатора, см2. Принимается по приложениям 6 и 7.

Сλ - жесткость осевого хода, Н/см,

λ-1 - амплитуда осевого хода, мм.

12 - коэффициент от 3 до 12 в зависимости от конфигурации и месторасположения участка теплопровода на трассе (для прямых участков принимается равным 12);

W - момент сопротивления поперечного сечения стенки трубы, см3;

Lподв - расстояние между подвижными опорами, м.

φ1 - коэффициент прочности поперечного сварного шва.

3.4.25. Если в результате проверки окажется, что σжив > σрасч, а повторный более точный расчет с использованием [л. 1] подтвердит недопустимую величину осевого напряжения σжив, следует пересмотреть ранее принятые в проекте решения с целью снижения σжив до приемлемых значений (уменьшить длину компенсируемого участка, выбрать осевой СК или СКУ с большей компенсирующей способностью, изменить коэффициент обеспеченности (tо(0,92)), уменьшить расстояния между подвижными опорами и т.д.).

Пример:

Определить напряжения, возникающие в теплопроводе Dy 150 мм при нерасчетном похолодании.

1. Напряжения, возникающие в защемленной трубе при остывании от (to) до (tмин) по формуле:

σoc = α · E · (tо - tмин) · 10-3 = 0,012 · 2 · 105 · (-30 + 50) · 10-3 = 48,0 Н/мм2;

2. Напряжения в трубе от силы жесткости сильфона компенсатора по формуле:

3. Изгибающее напряжение от собственного веса теплопровода:

4. Изгибающее напряжение от ветровой нагрузки:

5. Напряжения, возникающие в теплопроводе в экстремальных условиях при остывании его от (to) до (tмин), по приближенной формуле:

σжив < σрасч.

Проверка устойчивости системы.

3.4.26. Критическое усилие от наиболее невыгодного сочетания воздействий и нагрузок, при котором теплопровод теряет устойчивость, подсчитывается по формуле:

                                                   [25]

где:

N - осевое сжимающее усилие в трубе (формула [30]), H;

E - модуль упругости материала трубы, Н/мм2;

J - момент инерции трубы, см4;

i - начальный изгиб трубы, м:

                                                            [26]

Lизг - длина местного изгиба теплопровода:

                                                       [27]

|N| - абсолютное значение величины осевого сжимающего усилия в трубе, Н.

Вертикальная нагрузка оказывает стабилизирующее влияние и определяется по формуле:

Rст = qгрунта + qтрубы + 2 · Sсдвига > Rкр, Н/м;                                         [28]

где:

qгрунта - вес грунта над теплопроводом, Н/м,

qтрубы - вес 1 м теплопровода с водой, Н/м;

Sсдвига - сдвигающая сила, возникающая в результате действия давления грунта в состоянии покоя, Н/м;

Для случаев, когда уровень стояния грунтовых вод ниже глубины заложения теплопровода:

Sсдвига = 0,5 · γ · Z2 · Ко · tgφ, Н/м;                                                 [29]

qгрунта = γ · [Z · Dоб - 0,125 · D2o6 · π], Н/м;                                        [30]

В формулах:

γ - удельный вес грунта, Н/м3;

Z - глубина засыпки по отношению к оси трубы, м;

Ко - коэффициент давления грунта в состоянии покоя.

Ко = 0,5;

φ - угол внутреннего трения грунта (естественного откоса);

Dоб - наружный диаметр оболочки, м.

Осевое сжимающее усилие в защемленном участке прямой трубы с равномерно распределенной вертикальной нагрузкой:

N = -[Fст · (E · α · ∆t · 10-3 · 0,3 · σраст) + Рвнутр · Fпл], H;                        [31]

где:

Fст - площадь кольцевого сечения трубы, мм2;

α - коэффициент линейного расширения стали, мм/м°С;

Е - модуль упругости материала трубы, Н/мм2;

∆t - принимать равным (t1 - tмонт), °C;

σраст - растягивающее окружное напряжение от внутреннего давления (формула [19]), Н/мм2;

Рвнутр - внутреннее давление, Н/мм2;

Fпл - площадь действия внутреннего давления (0,785D2вн), мм2;

Пример:

Провести проверку теплопровода Dy150, проложенного бесканально, на устойчивость при наиболее неблагоприятном сочетании нагрузок и воздействий. Для случая, когда уровень стояния грунтовых вод ниже глубины заложения теплопровода.

1. Осевое сжимающее усилие в защемленной трубе:

N = -[Fст · (Е · α · ∆t - 0,3 · σраст) + Рвнутр · Fпл] = -[2183 · (2 · 105 · 0,012 · 140 · 10-3 - 0,3 · 26,7) + 1,6 · 17662,5] = -744283 H;

2. Длина местного изгиба теплопровода:

3. Начальный изгиб трубы:

4. Критическое усилие, при котором защемленный теплопровод при бесканальной прокладке теряет устойчивость, подсчитывается по формуле:

5. Вес грунта над теплопроводом:

qгрунта = γ · [Z · Dоб - 0,125 · D2об · π] = 18000[1 · 0,250 - 0,125 · 0,2502 · 3,14] = 4058 Н/м;

6. Сдвигающая сила, возникающая в результате действия давления грунта в состоянии покоя:

Sсдвига = 0,5 · γ · Z2 · Ко · tg φ = 0,5 · 18000 · 12 · 0,5 · 0,7 = 3150 Н/м.

7. Стабилизирующая вертикальная нагрузка:

Rст = qгрунта + qтрубы + 2 · Sсдвига = 4058 + 503 + 2 · 3150 = 10861 Н/м

Rст > Rкр;

Стабилизирующая вертикальная нагрузка больше критического усилия, поэтому защемленный теплопровод сохранит устойчивость далее при наиболее неблагоприятном сочетании нагрузок и воздействий.

3.4.27. Если уровень грунтовых или сезонных поверхностных вод (паводок, подтопляемые территории и т.п.) может подниматься выше глубины заложения бесканально прокладываемых теплопроводов, т.е. существует вероятность всплытия труб при их опорожнении. Необходимый вес балласта, который должен сообщить теплопроводу надежную отрицательную плавучесть, определяется по формуле:

Rбал = Квспл · γпульпы · ωвспл + gтрубы + qн.п., Н/м;                                  [32]

где:

Квспл - коэффициент устойчивости против всплытия. Принимается равным:

1,10 - при периодически высоком уровне грунтовых вод или при прокладках в зонах подтопляемых территорий;

1,15 - при прокладках по болотистой местности.

γпульпы - вес пульпы (воды и взвешенных частиц грунта), Н/м3;

ωвспл - объем пульпы, вытесненной теплопроводом, м3/м;

gтрубы - вес 1 м теплопровода без воды, Н/м;

qн.п. - вес неподвижных опор, Н/м.

3.5. Расчет нагрузок на опоры.

3.5.1. При определении нормативных нагрузок на опоры следует учитывать влияние следующих сил:

- распорного усилия сильфонных компенсаторов, (Рр),

- жесткости сильфонных компенсаторов, (Рж),

- усилия от трения в подвижных опорах на участках канальных и надземных прокладок, или трения теплопровода о грунт на участках бесканальной прокладки, (Ртр),

- усилия от напряжения, возникающего в прямолинейном участке теплопровода при критических отказах, связанных с нерасчетным похолоданием, (Ржив).

Кроме того, следует учитывать в конкретных расчетных схемах теплопроводов:

- неуравновешенные силы внутреннего давления (Рн),

- упругую деформацию гибких компенсаторов или самокомпенсации (Рх, Ру).

- ветровую нагрузку при надземной прокладке ветер).

- сила (Рос) от напряжения, возникающего в прямолинейном участке теплопровода при третьем способе применения осевых СК и СКУ в диапазоне температур от (tэ) до (to).

3.5.2. В общем случае нагрузка на неподвижные опоры должна приниматься по наибольшей горизонтальной осевой и боковой нагрузке от сочетания сил, перечисленных в пункте 3.4.1, при любом рабочем режиме теплопровода, при гидравлических испытаниях и при проверке на живучесть.

3.5.3. Распорное усилие от внутреннего давления (Рр) определяется по формуле:

Рр = 1,25Рраб · Sэф, H;                                                     [33]

3.5.4. Усилие, возникающее вследствие жесткости осевого хода сильфонного компенсатора (Рж) определяется:

Рж = Сλ · λ-1, Н;                                                         [34]

3.5.5. Сила трения (Рnh) в подвижных опорах и теплопровода о грунт (при бесканальной прокладке) определяется:

Ртр = μ(0,75 · γ · Z · π · Doб · 10-3 + qтрубы)×Lмλ, H;                                  [35]

3.5.6. Сила [Рос] от напряжения, возникающего в защемленном прямолинейном участке опорожненного теплопровода при надземной прокладке при критических отказах, связанных с нерасчетным похолоданием:

Рос = [α · Е · (to - tмин)] · Fст, H;                                                [36]

3.5.7. Суммарные горизонтальные осевые нагрузки на неподвижные опоры в рабочих режимах и при гидравлических испытаниях должны определяться:

- на концевую опору, как сумма сил:

∑Р = Рр + Рж + Ртр, Н;                                                    [37]

При установке ССК (до его заварки):

∑Р = Рр + Рос, Н;                                                        [38]

- на промежуточную опору, как разность сумм сил, действующих с каждой стороны опоры. При этом нагрузки на промежуточную неподвижную опору от участков теплопроводов (с диаметрами Dу1 и Dy2), расположенных по обе стороны опоры, определяются по формулам:

а) при Dy1 > Dy2:

- от распорных усилий компенсаторов:

Рр = Рр1 - Рр2, Н;                                                        [39]

при установке ССК (до его заварки):

∑Р = (Рр + Pc)1 - (Рр + Рс)2, Н;                                               [40]

- от жесткости компенсаторов:

Рж = 1,3 · Pж1 - 0,7 · Рж2, Н;                                                    [41]

- от сил трения при L1 = L2:

Ртр = Ртр1 - 0,7 Ртр2, Н;                                                       [42]

б) при Dу1 = Dy2:

- от жесткости компенсаторов:

Рж = 0,6 · Pж1, H;                                                            [43]

- от сил трения при L1 = L2:

Ртр = 0,3 · Pтр1, Н.                                                            [44]

3.5.8. При проверке на живучесть надземно проложенных теплопроводов с осевыми СК и СКУ, имеющими ограничители нерасчетного расширения сильфонов, суммарные горизонтальные осевые нагрузки на неподвижные опоры определяются без учета веса воды, сил трения на подвижных опорах и внутреннего давления теплоносителя:

- на концевую опору:

∑Ржив = Рж + Рсж, Н;                                                          [45]

- на промежуточную опору - как разность сумм сил, действующих с каждой стороны опоры. При этом нагрузки на промежуточную неподвижную опору от участков теплопроводов (с диаметрами Dy1 и Dy2), расположенных по обе стороны опоры, определяются по формулам:

а) при Dу1 > Dy2:

Ржив = 0,6Рж1 + Рсж1 - Рсж2, Н;                                                  [46]

б) при Dу1 = Dу2:

Ржив = 0,6Рж1, Н;                                                            [47]

3.5.9. Формулы составлены из условия установки на смежных участках теплопроводов осевых СК, СКУ и ССК с жесткостью сильфонов, отличающихся не более ±30 %. В случае неизбежности установки на смежных участках компенсаторов с большей разностью жесткостей нагрузки на промежуточные неподвижные опоры от жесткости соответственно пересчитываются с учетом фактической разницы жесткостей.

3.5.10. При наличии на расчетных участках теплопроводов углов поворота или Z-образных участков в суммарных нагрузках на неподвижные опоры должны учитываться силы упругой деформации от этих участков [Рх и Ру], которые определяются расчетом труб на самокомпенсацию.

3.5.11. При равенстве сил, действующих с каждой стороны промежуточной неподвижной опоры, горизонтальная осевая нагрузка на неподвижную опору определяется по сумме сил, действующих с одной стороны неподвижной опоры с коэффициентом 0,3.

3.5.12. Суммарная горизонтальная боковая нагрузка на неподвижные опоры должна учитываться при поворотах трассы и ответвлений теплопровода. При этом при двухсторонних ответвлениях боковая нагрузка на неподвижную опору учитывается только от ответвления с наибольшей нагрузкой.

3.5.13. Расчетные формулы для определения суммарных горизонтальных нормативных нагрузок на неподвижные опоры для наиболее характерных схем установки СК и СКУ даны в Приложении 3

3.6. Установка СК, СКУ и ССК на монтаже

3.6.1. На рабочих чертежах теплопроводов тепловых сетей следует приводить таблицу монтажных длин осевых СК, СКУ и ССК в зависимости от температуры наружного воздуха, при которой ведется монтаж

3.6.2. Монтажная длина компенсатора определяется:

Для I способа применения осевых СК и СКУ:

Lмонт = Lску + [0,5 · (t1 + to) - tмонт] · L · α · 1,1;                               [48]

Для II способа применения осевых СК и СКУ:

Lмонт = Lску + [0,5 · (t1 + tмин) - tмонт] · L · α · 1,1;                              [49]

Для III способа применения осевых СК и СКУ:

Lмонт = Lску + [0,5 · (t1 + tэ) - tмонт] · L · α · 1,1;                                [50]

где:

Lску - паспортная длина СК или СКУ, мм;

t1 - максимальная рабочая температура теплоносителя, °С;

tмин - минимум температур наружного воздуха в данной местности. Определяется по согласованию с заказчиком по СНиП 23-01-99 «Строительная климатология» или по заданному коэффициенту обеспеченности (например, tмин(0,98)), °С;

tэ - минимальная температура в условиях эксплуатации (tмонт, tупора, или любая другая температура). Выбор (расчет) tэ выполняется проектировщиком по согласованию с заказчиком и эксплуатирующей организацией.

tупора - температура стенки трубопровода в момент упора полностью растянутого сильфона в ограничитель;

tмонт - монтажная температура, °С;

to - расчетная температура наружного воздуха для проектирования отопления (средняя температура наружного воздуха наиболее холодной пятидневки, обеспеченностью 0,92) по СНиП 23-01-99 «Строительная климатология», °С;

L - длина компенсируемого участка, м;

α - коэффициент линейного расширения стали, мм/мм°С;

1,1 - коэффициент, учитывающий неточности расчета и погрешности монтажа.

Для IV способа прокладки (с использованием ССК): ССК поставляются в растянутом состоянии.

3.7. Прокладка теплопроводов с осевыми СК, СКУ и ССК

3.7.1. При использовании СК и СКУ в зонах вечномерзлых грунтов дополнительно следует соблюдать требования СНиП 2.02.04-88 «Основания и фундаменты на вечномерзлых грунтах», СНиП 2.02.01-83 «Основания зданий и сооружений», СНиП 3.02.01-87 «Земляные сооружения, основания и фундаменты».

3.7.2. При подземной прокладке теплопроводов в каналах или туннелях, а также при надземной прокладке и в помещениях осевые СКУ могут устанавливаться в любом мессе теплопровода, если нет препятствий для возможности свободных перемещений наружного защитного кожуха вместе с частью теплопроводов.

3.7.3. При бесканальной прокладке теплопровода односильфонные СКУ должны устанавливаться, как правило, а двухсильфонные - строго посередине пролета между двумя неподвижными опорами (или условно неподвижными сечениями прямого теплопровода). При этом при растяжении СКУ необходимо обеспечить одинаковые перемещения патрубков СКУ относительно торцов кожуха.

При невозможности установки при бесканальной прокладке односильфонных СКУ в середине прямолинейного участка теплопровода между двумя неподвижными опорами (или условно неподвижными сечениями прямого теплопровода) допускается его установка в любом месте прямолинейного участка теплопровода. При этом при растяжении СКУ необходимо обеспечить перемещения патрубков СКУ относительно торцов кожуха обратно пропорциональными длинам участков теплопровода между СКУ и неподвижными опорами.

3.7.4. При бесканальной прокладке теплопроводов с осевыми СК, СКУ и ССК под улицами и дорогами местного значения, автомобильными дорогами V категории, а также внутрихозяйственными автомобильными дорогами категории IIIс должны применяться трубы с толщиной стенки, исключающей овализацию труб под влиянием давления грунта и напряжений вследствие дорожного движения. При подземной прокладке теплопровода не допускается установка СК и СКУ в зоне проезжей части автомагистралей I категории.

3.7.5. При подземном пересечении дорог и улиц должны соблюдаться правила, изложенные в пунктах 6.12* - 6.20* и приложении 6 к СНиП 2.04.07-86*.

3.7.6. Камеры по трассе теплопровода для осевых СК и СКУ могут сооружаться по требованию заказчика или эксплуатирующей организации.

3.7.7. Расстояние в свету от ограждающих конструкций камер, тоннелей и каналов до теплоизоляции осевого СК или СКУ, а также между соседними компенсаторами должно быть не менее:

для диаметров теплопроводов до 500 мм - 100 мм,

для диаметров теплопроводов более 600 мм - 150 мм.

При невозможности соблюдения указанных расстояний компенсаторы устанавливаются вразбежку со смещением в плане не менее 100 мм.

3.7.8. В камерах должны предусматриваться проходы размером не менее:

для теплопроводов диаметром до 500 мм - 600 мм,

для теплопроводов диаметром более 600 мм - 700 мм.

Кроме того, габариты камер должны обеспечивать возможность перехода через теплопроводы сверху или снизу размером в свету не менее 700 мм.

3.7.9. Рекомендуется применять неподвижные щитовые сборные опоры заводского изготовления с вмонтированными в них изолированными отрезками труб с приваренными к ним опорными фланцами, выступающими над изоляцией.

4. ОСОБЕННОСТИ ВЕДЕНИЯ СТРОИТЕЛЬСТВА ТЕПЛОВЫХ СЕТЕЙ с осевыми СК, СКУ и ССК.

4.1. Общая часть

4.1.1. При строительстве новых, расширении, реконструкции, техперевооружении и ремонте действующих тепловых сетей с осевыми СК, СКУ и ССК следует руководствоваться требованиями проектной техдокументации.

Основными нормативными документами являются СНиП 41-02-2003 «Тепловые сети». Следует также соблюдать СНиП III-42-80 «Магистральные трубопроводы», СНиП 3.02.01-87 «Земляные сооружения. «Основания и фундаменты», СНиП 2.04.14-88 «Тепловая изоляция оборудования и трубопроводов», «Правила устройства и безопасной эксплуатации трубопроводов пара и горячей воды», «Правила технической эксплуатации электростанций и сетей».

4.1.2. Строительство тепловых сетей включает следующие основные процессы:

- разбивку трассы;

- транспортировку труб или теплопроводов заводского изготовления. Хранение;

- земляные работы;

- раскладку теплопроводов;

- сварку теплопроводов;

- устройство неподвижных опор;

- монтаж теплопроводов;

- монтаж осевых СК и СКУ;

- монтаж сигнальной системы оперативного дистанционного контроля за увлажнением изоляции (при подземной прокладке теплопроводов в ППУ-изоляции).

4.1.3. Разбивку трассы тепловых сетей следует производить в соответствии с проектом организации строительства (ПОС) и проектом производства работ (ППР).

4.2. Ведение земляных работ.

4.2.1. При подземной прокладке в каналах и при надземной прокладке земляные работы следует производить в соответствии с требованиями СНиП 3.02.01-87 «Земляные сооружения. Основания и фундаменты», СНиП III-42-80 «Магистральные трубопроводы».

4.2.2. При бесканальной прокладке дополнительно должны быть выполнены следующие требования:

- рытье траншеи должно производиться без нарушения естественной структуры грунта в основании. Разработка траншеи производится с недобором 0,1 - 0,15 м. Зачистка производится вручную. В случае разработки грунта ниже проектной отметки на дно должен быть подсыпан песок до проектной отметки с тщательным уплотнением (Купл не менее 0,98) на глубину не более 0,5 м;

- осуществлено устройство:

а) приямков (не менее 0,6 м в каждую сторону от теплопроводов) для установки осевых СК, СКУ и ССК арматуры, отводов, тройников, для удобства ведения сварки и изоляции стыков труб;

б) расширенной траншеи по размерам, приведенным в проектной документации, для установки демпферных подушек, устройства камер, дренажной системы и др;

- обеспечено достаточное пространство для укладки, поддержки и сборки труб на заданной глубине, а также для удобства и качества уплотнения материала при обратной засыпке вокруг теплопроводов;

- на дне траншеи следует предусматривать песчаную подсыпку толщиной 100 - 250 мм. Перед устройством песчаного основания (пластового дренажа) следует провести осмотр дна траншеи, выровненных участков перебора грунта, проверку уклонов дна траншеи, их соответствия проекту. Результаты осмотра оформляются актом на скрытые работы.

4.2.2.1. Обратная засыпка при бесканальной прокладке должна производиться послойно с одновременным уплотнением в комбинации со смачиванием. При ручном уплотнении толщина слоя не должна быть более 100 мм, при механической трамбовке - до 300 мм:

- в местах установки осевых СК, СКУ и ССК в зоне наибольшего движения теплопроводов при температурных деформациях, необходимо вести послойное уплотнение (Купл ³ 0,97 - 0,98) как пространства между теплопроводами, так и между теплопроводами и стенками траншеи. Над верхом полиэтиленовой оболочки изоляции труб и осевых СК, СКУ и ССК обязательно устройство защитного слоя из песчаного грунта толщиной не менее 100 мм. Засыпной материал не должен содержать камней, щебня, гранул с размером зерен более 16 мм, остатков растений, мусора, глины. Стыки засыпают после гидравлических испытаний и теплогидроизоляции;

- в зоне компрессии (слой над теплопроводом и осевых СК, СКУ и ССК до поверхности) засыпка должна производиться материалом (песком, песчаным грунтом), не содержащим камней;

- на поверхности необходимо восстановление тех же слоев покрытия, газонов, тротуаров, которые были до начала работ. Под любым асфальтовым покрытием укладывается стабилизирующий гравийный слой;

- в тех местах, где глубина выемки грунта, грунтовые характеристики или стесненные условия прокладки не позволяют вырыть обычную траншею с откосами и специальные приямки для размещения осевых СК, СКУ и ССК, следует осуществлять вертикальное крепление траншеи и приямков;

- при высоком уровне стояния грунтовых вод должно производиться дренирование траншеи.

4.3. Транспортировка и хранение осевых СК, СКУ и ССК

4.3.1. Транспортировка и хранение осевых СК, СКУ и ССК к месту монтажа, а также перемещение их во время монтажа должны исключать вероятность повреждения сильфона и загрязнения внутренней полости компенсатора.

Условия хранения и транспортирования осевых СК, СКУ и ССК должны соответствовать группе 5 (ОЖ4), тип атмосферы IV ГОСТ 15150-69, взаимодействие механических факторов по группе (Ж) ГОСТ 23170.

4.3.2. Осевые СК и СКУ с заводской теплоизоляцией должны транспортироваться и храниться в соответствии с требованиями технических условий ОАО «НПП «Компенсатор».

4.3.3. Осевые СК, СКУ и ССК с ППУ-изоляцией, АПБ-изоляцией и ППМ-изоляцией при хранении должны быть защищены от прямых солнечных лучей (навес, прикрытия из рулонных материалов и т.п.). Хранение осевых СК, СКУ и ССК на открытых площадках не допускается.

4.3.4. При перемещениях осевых СК, СКУ и ССК должны использоваться специальные строповочные приспособления: мягкие полотенца, гибкие стропы. Перевозка и разгрузка допускается при температуре наружного воздуха до минус 20 °С.

4.4. Монтаж теплопроводов с осевыми СК и СКУ

4.4.1. При подземной прокладке в непроходных каналах и туннелях, надземной прокладке, а также в помещениях, монтаж, укладку и сварку теплопроводов с осевыми СК, СКУ и ССК следует руководствоваться СНиП 3.05.03-85 «Тепловые сети» с учетом требований технических условий ОАО «Компенсатор».

4.4.2. До начала работ по монтажу осевых СК, СКУ и ССК при прокладке тепловых сетей под землей в каналах или туннелях, а также при надземной прокладке и в помещениях необходимо смонтировать и закрепить теплопроводы неподвижными и направляющими опорами. Для теплопроводов диаметром до 500 мм неподвижные опоры должны устанавливаться, как правило, заводской сборки с вмонтированными в них изолированными отрезками труб.

4.4.3. Врезку осевых СК, СКУ и ССК в теплопроводы следует производить в местах, предусмотренных проектной техдокументацией.

4.4.4. Не допускается нагружать осевые СК, СКУ и ССК весом присоединяемых участков труб, машин и механизмов.

4.4.5. Монтаж теплопроводов с осевыми СК, СКУ и ССК должен производиться при положительной температуре наружного воздуха. При температурах наружного воздуха ниже минус 15 °С перемещения теплопроводов и осевых СК, СКУ и ССК на открытом воздухе не рекомендуются.

Монтажные и сварочные работы при температурах наружного воздуха ниже минус 10 °С должны производиться в специальных кабинах, в которых температура воздуха в зоне сварки должна поддерживаться не ниже указанной.

4.4.6. Перед монтажом на концы патрубков СКУ, предназначенных для подземных теплопроводов (при установке в каналах, тоннелях, а также бесканальной прокладке) с ППУ-, АПБ- и ППМ-изоляцией должна быть предварительно нанесена тепло-гидроизоляция. При этом должны соблюдаться требования в части исключения попадания грунтовых вод под наружный защитный кожух. Допускается тепловую изоляцию патрубков СКУ наносить одновременно с нанесением теплоизоляции на стык СКУ с теплопроводом. Тепло-гидроизоляция не должна препятствовать свободному перемещению подвижной части СКУ относительно наружного защитного кожуха. Один из простейших способов тепло-гидроизоляции СКУ показан на рисунке. Для всех способов прокладки теплопровода, кроме бесканальной, кожух можно теплоизолировать матами из минеральной ваты.

4.4.7. Монтаж осевых СК и СКУ осуществляется следующим образом:

после проведения предварительных испытаний теплопроводов на прочность и герметичность из смонтированного теплопровода на месте, указанном в проекте, вырезается участок («катушка»). Монтажная длина вырезаемого участка («катушки») должна вычисляться в зависимости от способа применения СК или СКУ и температуры наружного воздуха в период монтажа по формулам [48, 49, 50];

концы труб зачищаются от брызг, наплывов металла и остатков изоляции. У труб с толщиной стенки более 3 мм следует снять фаски;

на место «катушки» устанавливается осевой СК и СКУ. Приварка его производится с одной стороны;

с помощью специальных монтажных приспособлений или натяжных монтажных устройств осуществляется растяжка компенсатора и его состыковка (сварка) со свободным концом трубы.

При выполнении сварочных работ осевые СК и СКУ должны быть защищены от попадания брызг расплавленного металла.

4.4.8. После проведения контрольного осмотра и гидравлического испытания патрубки осевых СК и СКУ покрываются тепловой и гидроизоляцией в соответствии с рекомендациями ОАО «НПП «Компенсатор».

4.4.9. Система теплопроводов с ССК полностью монтируется в траншее и засыпается (за исключением собственно ССК).

4.4.9.1. Расчет и выбор настройки ССК, если компенсатор располагается посередине участка теплопровода, производится следующим образом:

Определяется размах колебаний напряжения при нагреве теплопровода от температуры монтажа до расчетной температуры теплоносителя:

∆σ = α · E · (t1 - tмон) · 10-3                                                  [51]

∆σ - размах колебаний напряжения

t1 - температура теплоносителя

tмон - температура монтажа

Находится запас напряжений для сил трения при работе системы с полной нагрузкой:

σ1 = 2σдоп - ∆σ;                                                           [52]

σ2 = ∆σ - σдоп                                                          [53]

Рассчитывается допустимая монтажная длина участка теплопровода при работе системы с полной нагрузкой:

                                                        [54]

Fст - площадь поперечного сечения стенки трубы, мм

fтр - удельная сила трения на единицу длины, Н/мм

Температура нагрева, при которой ССК должен завариваться, определяется из:

σ2 = ∆σ - σдоп = α · E · (t1 - tм) · 10-3 - σдоп                                    [55]

                                                         [56]

tн - температура нагрева

ССК настраивают а возможность восприятия следующей величины удлинения:

                                     [58]

Если участки с двух сторон компенсатора одинаковы, то

∆Lдоп = 2 · ∆Lдоп;                                                       [59]

4.4.9.2. Монтаж ССК состоит из следующих этапов:

- в месте установки ССК на трубопроводе вырезается участок длиной L;

- на место вырезанного участка трубы устанавливается ССК. Производится центровка его по отношению к торцам основной трубы;

- после установки ССК кожухи ССК соединить между собой сваркой прихватками через 50 - 120 мм, выдерживая размер L в состоянии поставки;

- патрубки ССК приварить к трубопроводу стыковыми сварными швами;

- во время монтажа не допускается нагружать компенсатор крутящим и изгибающим моментами, а также поперечными усилиями от массы труб, арматуры, механизмов и других конструкций;

- трубопровод заполнить водой и испытать на прочность пробным давлением, равным 1,25 Ру;

- удалить прихватки с кожухов;

- трубопровод заполнить теплоносителем и нагреть до температуры, равной 50 % от максимальной рабочей температуры; при этом ССК должен сжаться на величину рабочего хода;

- после выдержки при указанной выше температуре кожухи ССК заварить между собой катетом шва не менее указанного в таблице с последующим контролем согласно требованиям ПБ-573-03. Тем самым, сильфон исключается из дальнейшей работы теплопровода.

- пропустить над кожухами ССК провода системы ОДК, избегая их контакта с металлическими поверхностями, и соединить их с проводами системы ОДК, проложенными в пенополиуретановой изоляции труб;

- установить термоусаживающуюся полиэтиленовую манжету, под которую нанести пенополиуретановую изоляцию;

- отверстие в термоусаживающейся манжете заварить.

4.4.10. Обратная засыпка при бесканальной прокладке выполняется в соответствии с рекомендациями пункта 4.2.2.

4.5. Изоляция стыков осевых СК и СКУ с теплопроводами.

4.5.1. До устройства теплогидроизоляции при отсутствии на концах свариваемых с осевыми СК и СКУ труб заводского антикоррозионного покрытия необходимо выполнить следующие работы:

- очистить поверхность стыкового соединения (неизолированные концы труб) от грязи, ржавчины, окалины;

- просушить газовой горелкой;

- нанести на стык антикоррозионную мастику, например, МБР-ОС-Х-150 (-200, -250) в три слоя.

4.5.2. Работы по тепло гидроизоляции стыков необходимо производить по технологическим инструкциям заводов-производителей теплопроводов в зависимости от конструкции теплоизоляционного покрытия (см. пункт 3.1.2) и вида прокладки (бесканальная, канальная, надземная, в туннелях, в помещениях).

4.5.3. При бесканальной прокладке теплопроводов в ППУ-изоляции перед вваркой на место «катушек» осевых СК и СКУ на полиэтиленовую оболочку теплопроводов должны быть надеты термоусаживающиеся муфты (манжеты) заводской готовности, выполненные из радиационно-модифицированного полиэтилена.

4.5.3.1. Изоляцию стыков допускается выполнять скорлупами. Рекомендуется изолировать стыки путем заливки теплоизоляционной вспенивающейся пенополиуретановой композиции (ППУ-композиции) под опалубку. Между изоляцией сваренных труб и скорлупами не должно быть никаких зазоров.

4.5.3.2. При изоляции стыков путем заливки ППУ-композиции необходимо:

- выполнить очистку наружной поверхности стыкового соединения, предварительно удалив слой ППУ с торцевых поверхностей труб на длину до 30 мм;

- соединить провода сигнальной системы оперативного дистанционного контроля за увлажнением ППУ;

- наложить оцинкованный лист (0,5 - 0,7 мм) стали на стык с заходом на концы труб оболочек не менее 20 мм с каждой стороны, закрепив его бандажными лентами с зажимами (или винтами-саморезами). Просверлить отверстие для заливки ППУ-композиции;

- приготовить ППУ-композицию по рекомендациям завода-изготовителя;

- залить ППУ-композицию в заливочное отверстие и выдержать необходимую для полимеризации паузу 30 минут;

- снять зажимы и бандажные ленты, закрыть заливочное отверстие металлической пластиной и закрепить винтами-саморезами;

- подготовить поверхность полиэтиленовой оболочки по обе стороны от стыка, удалить грязь, обезжирить, зачистить наждачной бумагой и активировать поверхность полиэтиленовой оболочки путем прогрева газовой горелкой до температуры не более 60 °С;

- прогреть поверхность, на которую будет укладываться термоусадочная лента до 30 - 40 °С. Рекомендуется эту операцию проводить одновременно с процессом активации полиэтиленовой оболочки;

- наложить термоусадочную муфту на стыковое соединение с расчетом закрытия боковых поверхностей прилегающих полиэтиленовых оболочек на 10 - 15 см. На шов ленты накладывается фиксатор;

- термоусадка ленты осуществляется с помощью пропановой горелки до полной усадки ленты. Пламя горелки регулируется так, чтобы оно было желтым.

4.5.3.3. Соединения полиэтиленовой оболочки должны производиться в соответствии с инструкциями производителя теплопроводов.

4.5.3.4. Соединения рекомендуется выполнять с двумя уплотнениями на герметичность (под двойным уплотнением подразумевается два метода уплотнения, которые действуют и выполняются независимо друг от друга). Соединения, выполненные без двойного уплотнения, должны пройти испытания на плотность.

4.5.3.5. При высоком стоянии грунтовых вод следует предпринять дополнительные мероприятия для защиты от проникновения воды под оболочку теплопроводов по инструкции производителя теплопроводов.

4.5.3.6. Сборка, опрессовка и изоляция соединения должна производиться в один и тот же день. Слесарь-сборщик должен нанести на соединение маркером свое клеймо.

4.5.4. Изоляцию стыков при бесканальной прокладке теплопроводов в ППМ-изоляции рекомендуется выполнять путем заливки теплоизоляционной пенополимербетонной вспенивающейся композиции (ППМ-композиции) под опалубку. Допускается применять скорлупы, соединенные между собой посредством специальной мастики. Между изоляцией сваренных труб и скорлупами не должно быть никаких зазоров.

4.5.4.1. При изоляции стыков путем заливки ППМ-композиции необходимо:

- установить съемную инвентарную опалубку на стык заливочным отверстием вверх, захватывая заводскую ППМ-изоляцию на концах труб внахлест с каждой стороны по 100 мм;

- приготовить ППМ-композицию с помощью передвижного смесителя. Допускается ручное приготовление ППМ-композиции из компонентов, поставляемых производителем теплопроводов;

- залить подготовленную ППМ-композицию через заливочное отверстие под опалубку. Вспенивание происходит в течение 1 - 2 минут;

- выдержать в течение 30 минут и снять съемную инвентарную опалубку.

4.5.4.1. Изоляция стыков ССК описана в п. 4.4.10.

4.6. Монтаж сигнальной системы

4.6.1. Монтаж сигнальной системы должен выполняться в полном соответствии с инструкциями производителя по специальному проекту.

4.6.2. В теплоизоляцию осевых СК, СКУ и ССК в заводских условиях или на монтажной площадке следует закладывать не менее двух проводников-индикаторов. Концы проводников-индикаторов должны выступать с обеих сторон не менее, чем на 100 мм для удобства соединения с общей сигнальной системой теплопроводов.

4.6.3. Соединение проводников-индикаторов осевых СК, СКУ и ССК с общей сигнальной системой необходимо производить после окончания сварочных работ перед изоляцией стыков патрубков осевых СК, СКУ и ССК с теплопроводом. Проводники-индикаторы нигде не должны касаться металла труб. После документального оформления присоединения проводников-индикаторов осевых СК, СКУ и ССК к общей сигнальной системе и проверке соответствия их сопротивлений заводским данным следует выполнить изоляцию стыков.

5. ИСПЫТАНИЯ осевых СК и СКУ и ТЕПЛОПРОВОДОВ.

5.1. Общие положения.

5.1.1. При проведении испытаний тепловых сетей с осевыми СК, СКУ и ССК следует соблюдать строительные нормы и правила Российской Федерации СНиП 41-02-2003, «Правила устройства и безопасной эксплуатации трубопроводов пара и горячей воды» (ПБ-03-75-94), «Правила техники безопасности при эксплуатации тепломеханического оборудования электрических станций и тепловых сетей» (РД 34.03.201-97).

5.1.2. Испытания осевых СК, СКУ и ССК проводятся предприятием ОАО «НПП «Компенсатор» в заводских условиях на базовых сильфонных компенсаторах по техническим условиям ИЯНШ.300260.029 ТУ в следующем объеме:

приемо-сдаточные,

квалификационные,

периодические,

типовые.

5.1.2.1. Приемо-сдаточные испытания осуществляется техническим контролем предприятия ОАО «НПП «Компенсатор» в порядке, действующем в отрасли. Приемо-сдаточным испытаниям подвергаются 100 % осевых СК, СКУ и ССК в каждой партии. Проверяется соответствие требованиям:

ОСТ5Р.9709: качества поверхности сильфонов, герметичности, прочности и результатов контрольного прогрева в печи,

ОСТ5Р.0170: герметичности,

ИЯНШ.300260.029 ТУ: размеров, массы, величины жесткости, вероятности безотказной работы.

5.1.2.2. Квалификационные испытания проводятся предприятием ОАО «НПП «Компенсатор» на двух образцах от партии серийных сильфонных компенсаторов, впервые осваиваемых производством по программе, согласованной с основным потребителем. Испытания проводятся по соответствию ТУ показателей жесткости, вероятности безотказной работы и массы осевых СК, СКУ и ССК.

5.1.2.3. Периодические испытаниям подвергаются осевые СК, СКУ и ССК один раз в 5 лет или в случае возобновления их выпуска после трехлетнего перерыва по программе, согласованной с основным потребителем. Испытания проводятся по соответствию ТУ показателей жесткости, вероятности безотказной работы и массы осевых СК, СКУ и ССК.

5.1.2.4. Типовым испытаниям подвергаются осевые СК, СКУ и ССК в случае изменения конструкции или технологии изготовления, или применяемых материалов, влекущих за собой изменения основных параметров, по программе, согласованной с основным потребителем. Испытания проводятся по соответствию ТУ показателей жесткости, вероятности безотказной работы, массы, а также других параметров и характеристик осевых СК, СКУ и ССК, на которые могли повлиять вносимые изменения.

5.1.3. Должны быть проведены следующие испытания теплопроводов с осевыми СК, СКУ и ССК:

- проверка чистоты трубопроводной системы и осевых СК, СКУ и ССК:

- испытания сварных соединений полиэтиленовой оболочки на плотность и прочность при бесканальной прокладке в ППУ-изоляции;

- гидравлические (пневматические) испытания на прочность и плотность стальных труб и осевых СК, СКУ и ССК;

- испытания сигнальной системы.

5.2. Проверка чистоты трубопроводной системы.

5.2.1. До, во время и по окончании монтажа следует удостовериться, что внутренняя поверхность труб и осевых СК, СКУ и ССК сухая, чистая и свободна от инородных тел.

5.2.2. После окончания монтажа труб и осевых СК, СКУ и ССК следует провести промывку системы водой в соответствии с требованиями СНиП 3.05.03-85 «Тепловые сети».

5.2.3. Если теплопроводы немедленно не вводятся в эксплуатацию, то систему в целом рекомендуется законсервировать.

5.3. Проверка качества сварных соединений полиэтиленовой оболочки

5.3.1. Проверка качества сварных соединений производится в соответствии с инструкциями производителя.

5.3.2. При проведении сварки присоединительных патрубков осевых СК, СКУ и ССК с теплопроводами в ППУ-изоляции следует:

- исключить вероятность нагрева пенополиуретановой теплоизоляции до температуры свыше 175 °С во избежание образования на рабочем месте токсичных выбросов;

- очистить перед сваркой поверхности неизолированных концов теплопроводов от остатков пенополиуретана;

- удалить с грунта на рабочем месте сварщика остатки пенополиуретана.

5.3.3. Рекомендуется проверку на плотность сварных стыков проводить по участкам.

5.4. Гидравлические испытания.

5.4.1. Гидравлические (пневматические) испытания на прочность и плотность стальных труб и осевых СК, СКУ и ССК производятся в соответствии с СНиП 41-02-2003 «Тепловые сети».

5.4.2. Теплопроводы с осевыми СК, СКУ и ССК должны подвергаться предварительному и окончательному испытанию на прочность и герметичность.

Предварительные испытания следует выполнять, как правило, гидравлическим способом. Для гидравлического испытания

применяется вода с температурой не выше + 40 °С и не ниже + 5 °С. Температура наружного воздуха при этом должна быть положительной, каждый испытанный участок герметически заваривается с двух сторон заглушками. Использование для этих целей запорной арматуры не допускается.

Окончательные испытания проводятся после завершения всех строительно-монтажных работ.

5.5. Испытания сигнальной системы.

5.5.1. После присоединения проводников-индикаторов осевых СК, СКУ и ССК к общей сигнальной системе и заполнения стыков пеной должны быть завершены следующие работы по сигнальной системе:

- выполнено измерение действительной величины сопротивления проводов;

- выполнено функциональное испытание по инструкции предприятия-изготовителя сигнальной системы;

- проведено моделирование основных возможных неисправностей.

6. ПРАВИЛА ЭКСПЛУАТАЦИЯ ТЕПЛОВЫХ СЕТЕЙ при установке осевых СК, СКУ и ССК

6.1. Приемка в эксплуатацию законченных строительством тепловых сетей с осевыми СК, СКУ и ССК должна производиться в соответствии с указаниями СНиП III-3-81 «Приемка в эксплуатацию законченных строительством объектов», СНиП 41-02-2003 «Тепловые сети» и техническими условиями ИЯНШ.300360.029ТУ, ИЯНШ.300260.033, ИЯНШ.300260.043 и ИЯНШ.300260.035ТУ ОАО «НПП «Компенсатор».

6.2. В состав приемочной комиссии следует включать представителя проектной организации.

6.3. Дополнительно к обязательному перечню актов приемки тепловых сетей в эксплуатацию комиссии должны быть представлены следующие документы:

- акт на качество заполнения стыков труб с осевыми СК, СКУ и ССК теплоизоляционным материалом (пенополиуретаном, пенополимербетоном, минеральной ватой, армопенобетоном и др.);

- акт испытаний на прочность и плотность сварных соединений полиэтиленовой оболочки (при прокладке теплопроводов в ППУ-изоляции);

- акт функциональных испытаний сигнальной системы, включая результаты моделирования возможных неисправностей,

- акт приемки осевых СК, СКУ и ССК предприятием-изготовителем - ОАО «Компенсатор» с приложением результатов приемо-сдаточных испытаний.

6.4. Осевые СК, СКУ и ССК не требуют специального обслуживания в эксплуатации. Сроки контрольных осмотров, текущих ремонтов защитных стальных кожухов (футляров), патрубков, переходов, сигнальной системы, тепловой и гидроизоляции, а также направляющих опор выполняются эксплуатационной организацией одновременно с основным теплопроводом.

6.5. Трущиеся поверхности направляющих опор при контрольных осмотрах следует смазывать.

6.6. Срок службы осевых СК, СКУ и ССК определяется содержанием хлоридов в теплоносителе и количеством рабочих циклов (наработкой на отказ) за время эксплуатации.

6.7. Назначенная наработка в течение срока службы при нагружении внутренним давлением и осевым ходом (растяжением, сжатием), приведенных в таб. 1 Приложения 3, с амплитудами не менее:

- 50 полных циклов с амплитудами [±λ-1] осевого хода - 100 %-ый режим,

- 5000 неполных циклов с амплитудами [±λ-1] осевого хода, равными 30 % полных - 30 %-ый режим.

При неполных циклах (менее 30 %-ых) или при работе с внутренним давлением ниже расчетного по согласованию с ОАО «НПП «КОМПЕНСАТОР» допускается увеличение числа неполных циклов более 5000.

Для СК с повышенным ресурсом по назначенной наработке и компенсирующей способности (типа ОПНР, ОПГР, ОПКР, ОПМР) значения амплитуды симметричного цикла осевого хода, λ-1, назначенная наработка компенсаторов, N, при растяжении, сжатии компенсатора под действием осевого усилия и внутреннего давления приведена в таб. 2 Приложения 3.

6.8. При установке осевых СК и СКУ в камерах, помещениях, при надземной прокладке к ним должен быть обеспечен доступ для проведения контрольных осмотров и текущих ремонтов теплоизоляции, восстановления гидрозащитных и антикоррозионных покрытий.

6.9. Пуск, остановка, текущие и контрольные осмотры и испытания теплопроводов с осевыми СК, СКУ и ССК должны производиться в соответствии с эксплуатационными инструкциями

и требованиями Правил технической безопасности и Правил технической эксплуатации.

6.10. В процессе эксплуатации надземно проложенные теплопроводы с осевыми СК и СКУ должны периодически проверяться на соосность в связи с возможностью просадки отдельных подвижных, направляющих и неподвижных опор, что может привести к потере устойчивости. Во избежание заклинивания (вплоть до деформации и разрушения) направляющих опор следует периодически замерять (и восстанавливать) зазор между теплопроводом и конструкциями опор, ограничивающими его боковые перемещения.

Приложение 1

Таблица 1

Трубы для тепловых сетей

Условный проход Ду, мм

ГОСТ, ТУ на трубы, хар-ка

Марка стали

ГОСТ, ТУ на сталь

Предельные параметры

Необходимость дополнительных испытаний

t, °C

P, МПа

1

2

3

4

5

6

7

15 - 400

ГОСТ 10705-80 (группа В) электросварные, прямо-шовные термически обработан.

Ст3сп5

ГОСТ 380

300

1,6

Испытания на загиб сварного шва

10

ГОСТ 1050

20

ГОСТ 1050

15 - 400

ТУ 14-3-190 бесшовные горячедеформированные

10

ГОСТ 1050

425

6,4

20

ГОСТ 1050

15 - 400

ТУ 14-3-1128 бесшовные горячедеформированные

09Г2С

ГОСТ 1928

425

5

Испытания на загиб

15 - 100

ГОСТ 8733 (группа В) бесшовные термически обработан.

10

ГОСТ 1050

300

1,6

Испытания на загиб, пред. текучесть

20

ГОСТ 1050

15 - 125

ГОСТ 3262-75 прямошовн. водопровод, оцинкован, (для горячего водоснабжения)

10

60

1

20

500

ГОСТ 20295 электросварные, прямошовн., термообработанные тип 3

17ГС

ГОСТ 19281

350

2,5

Испытания сварного шва:

700

17Г1С

ГОСТ 19281

- на загиб,

800

20

ГОСТ 1050

- на ударную вязкость

500

ТУ 14-3-620 электросварные, прямошовные

17ГС

ТУ 14-1-1921

300

1,6

100 % контроль заводских сварных швов, Испытания сварного шва на загиб

700

17Г1С

ТУ 14-1-1921

800

17Г1С-У

ТУ 14-1-1950

1000

1200

1000

ТУ 14-3-1138 электросварные, прямошовные

17Г1С-У

ТУ 14-1-1950

425

2,5

1200

1000

ТУ 14-3-1424 электросварные, прямошовные

17Г1С-У

ТУ 14-1-1950

350

2,5

500 - 1400

ТУ 14-3-808

20

ТУ 14-1-2471

350

2,5

ТУ 14-3-954

Вст3сп5

ТУ 14-1-4636

300

2,5

электросварные, спиральношовные

17Г1С 17Г1С-У

ТУ 14-1-4248

350

2,5

Таблица 2

Основные механические свойства металла труб (минимальные значения), применяемых для тепловых сетей и патрубков сильфонных компенсаторов.

Марка стали

Относительное удлинение %

Ударная вязкость (KCU) кгс.м/см2

Угол загиба сварного шва трубы

Проверка заводских сварных швов неразруш. методом

Временное сопротивление σв, МПа

Предел текучести σ0,2, МПа

-20

-40

-60

Углеродистые

20

3

3*

-

100°

100 %

372

225

Вст3сп5

10

20

Низколегированные

17ГС, 17Г1С, 17Г1СУ

20

-

4

-

80°

100 %

500

350

09Г2С

20

-

-

3

80°

100 %

500

350

Примечание: * - При применении углеродистых сталей в районах с расчетной температурой наружного воздуха для проектирования отопления от -21 °С до -30 °С ударная вязкость проверяется при температуре -40 °С.

Таблица 3

Минимальные толщины стенок стальных труб из стали марок ВСт3Сп6, Ст10, Ст20 при бесканальной прокладке тепловых сетей

Условный проход, Ду, мм

Наружный диаметр. Дн, мм

Минимальная толщина стенки, S, мм

Расчетные параметры теплоносителя

Примечания

1

2

3

4

5

50

57

3,0

При применении

65

76

3,0

других марок сталей,

80

89

3,5

других параметров

100

108

4,0

теплоносителя и

125

133

4,0

способах прокладки

150

159

4,5

Р £ 1,6 МПа

тепловых сетей

200

219

6,0

t £ 150 °C

толщину стенки труб

250

273

6,0

следует определять

300

325

7,0

расчетом.

350

377

7,0

400

426

7,0

500

530

7,0

600

630

8,0

700

720

8,0

800

820

9,0

900

920

10,0

1000

1020

11,0

Таблица 4

Предельный минусовой допуск по толщине стенки трубы в зависимости от толщины стенки (S) трубы

Толщина стенки трубы S, мм

Предельное минусовое отклонение (допуск), мм

до 2,2

-0,2

от 2,2 до 2,5

-0,21

от 2,5 до 3,0

-0,25

от 3,0 до 3,5

-0,29

от 3,5 до 3,9

-0,31

от 3,9 до 5,5

-0,50

от 5,5 до 7,5

-0,60

более 7,5

-0,8

Таблица 5

Предельные отклонения по наружному диаметру труб (Дн). Овальность труб

Дн, мм

Предельные отклонения по наружному диаметру торцов труб

Обоснование

57 - 159

0,8 % от Дн

ГОСТ 10704-91

219 - 426

0,75 % от Дн

ГОСТ 10704-91

530 - 880

2 мм

ГОСТ 20295-85

920

2 мм

ТУ 14-3-808-78

1000

2 мм

ТУ 14-3-1138-82

ТУ 14-3-620-77

Овальность труб Дн 57 - 426 мм не должна быть более предельных отклонений по наружному диаметру труб.

Для труб Дн 530 мм и более овальность не должна превышать 1 % от Дн.

Приложение 2

Компенсаторы сильфонные типа ОПН

Таблица 1

Условное обозначение

Условное давление, PN, МПа (кгс/см2)

Условный диаметр, DN, мм

Размеры, мм

Жесткость осевого хода, Сλ, кН/м (кгс/см)

Масса, кг

D

S

D1

L

ОПН-2,5-250-160

0,25 (2,5)

250

273

7

317

599

17,5 (175)

23

ОПН-2,5-300-180

300

325

371

617

16 (160)

28

ОПН-2,5-350-180

350

377

432

632

16 (160)

29

ОПН-2,5-400-190

400

426

485

648

14,5 (145)

37

ОПН-2,5-500-200

500

530

8

600

661

20,3 (203)

57

ОПН-2,5-600-200

600

630

706

697

18,4 (184)

70

ОПН-2,5-700-210

700

720

797

678

19 (190)

85

ОПН-2,5-800-210

800

820

911

706

17,4 (174)

100

ОПН-2,5-900-210

900

920

10

1015

685

25,7 (257)

127

ОПН-2,5-1000-220

1000

1020

1117

700

23,1 (231)

143

ОПН-2,5-1200-220

1200

1220

12

1319

700

27,7 (277)

220

ОПН-2,5-1400-220

1400

1420

14

1522

700

32,2 (322)

258

ОПН-6,3-350-180

0,63 (6,3)

350

377

7

431

641

24 (240)

29

ОПН-6,3-400-190

400

426

485

684

21,7 (217)

37

ОПН-6,3-500-200

500

530

8

600

697

27 (270)

57

ОПН-6,3-600-200

600

630

706

733

30,6 (306)

70

ОПН-6,3-700-210

700

720

797

710

31,7 (317)

85

ОПН-6,3-800-210

800

820

911

732

29 (290)

100

ОПН-6,3-900-210

900

920

10

1015

713

32,1 (321)

127

ОПН-6,3-1000-220

1000

1020

1117

733

34,7 (347)

143

ОПН-6,3-1200-220

1200

1220

12

1319

714

41,5 (415)

245

ОПН-6,3-1400-220

1400

1420

14

1522

714

48,3 (483)

288

ОПН-10-350-180

1,0 (10)

350

377

7

431

640

32 (320)

37

ОПН-10-400-190

400

426

485

668

28,9 (289)

58

ОПН-10-500-200

500

530

8

600

682

33,8 (338)

85

ОПН-10-600-200

600

630

706

695

36,8 (368)

112

ОПН-10-700-210

700

720

797

698

50,8 (508)

140

ОПН-10-800-210

800

820

911

726

46,4 (464)

158

ОПН-10-900-210

900

920

10

1015

704

51,4 (514)

194

ОПН-10-1000-220

1000

1020

1117

726

64,1 (641)

229

ОПН-10-1200-220

1200

1220

12

1319

726

76,7 (767)

323

ОПН-10-1400-220

1400

1420

14

1522

732

89,2 (892)

408

ОПН-16-125-90

1,6 (16)

125

133

4

171

381

24,4 (244)

4,8

ОПН-16-150-100

150

159

4,5

203

387

32,6 (326)

6,0

ОПН-16-200-140

200

219

6

259

433

29,1 (291)

12

ОПН-16-250-160

250

273

7

319

612

35 (350)

26

ОПН-16-300-180

300

325

373

631

32,1 (321)

32

ОПН-16-350-180

350

377

431

640

40 (400)

37

ОПН-16-400-190

400

426

485

668

57,9 (579)

58

ОПН-16-500-200

500

530

8

600

682

60,8 (608)

85

ОПН-16-600-200

600

630

706

695

61,3 (613)

112

ОПН-16-700-210

700

720

797

698

69,8 (698)

140

ОПН-16-800-210

800

820

911

726

63,7 (637)

158

ОПН-16-900-210

900

920

10

1015

704

70,6 (706)

194

ОПН-16-1000-220

1000

1020

1117

726

87,2 (872)

229

ОПН-16-1200-220

1200

1220

12

1319

726

104,4 (1044)

323

ОПН-16-1400-220

1400

1420

14

1522

732

129,5 (1295)

408

ОПН-25-50-70

2,5 (25)

50

57

3,5

105

349

32,2 (322)

2,4

ОПН-25-65-70

65

76

2,1

ОПН-25-80-70

80

89

120

359

29,6 (296)

2,5

ОПН-25-100-80

100

108

4

143

370

25,9 (259)

3,8

ОПН-25-125-90

125

133

172

382

36,6 (366)

5,6

ОПН-25-150-100

150

159

4,5

204

396

32,6 (326)

6,9

ОПН-25-200-140

200

219

6

261

442

38,7 (387)

14

ОПН-25-250-160

250

273

7

319

621

35 (350)

27

ОПН-25-300-180

300

325

374

632

40,1 (401)

35

ОПН-25-350-180

350

377

431

658

56 (560)

44

ОПН-25-400-190

400

426

485

678

72,3 (723)

65

ОПН-25-500-200

500

530

8

600

692

74,3 (743)

95

ОПН-25-600-200

600

630

706

713

73,6 (736)

124

ОПН-25-700-210

700

720

797

714

88,9 (889)

152

ОПН-25-800-210

800

820

911

743

81,1 (811)

184

ОПН-25-900-210

900

920

10

1015

719

102,8 (1028)

230

ОПН-25-1000-220

1000

1020

1117

742

104,5 (1045)

275

ОПН-25-1200-220

1200

1220

14

1319

742

125,1 (1251)

378

ОПН-25-1400-220

1400

1420

1522

750

161,6 (1616)

475

Компенсаторы сильфонные типа ОПГ

Таблица 2

Условное обозначение

Условное давление, PN, МПа (кгс/см2)

Условный диаметр, DN, мм

Размеры, мм

Жесткость осевого хода, Сλ, кН/м (кгс/см)

Масса, кг

D

S

D1

L

ОПГ-2,5-250-160

0,25 (2,5)

250

273

7

317

599

17,5 (175)

30

ОПГ-2,5-300-180

300

325

371

617

16 (160)

37

ОПГ-2,5-350-180

350

377

432

632

16 (160)

41

ОПГ-2,5-400-190

400

426

485

648

14,5 (145)

50

ОПГ-2,5-500-200

500

530

8

600

661

20,3 (203)

74

ОПГ-2,5-600-200

600

630

706

697

18,4 (184)

99

ОПГ-2,5-700-210

700

720

797

678

19 (190)

118

ОПГ-2,5-800-210

800

820

911

706

17,4 (174)

140

ОПГ-2,5-900-210

900

920

10

1015

685

25,7 (257)

170

ОПГ-2,5-1000-220

1000

1020

1117

700

23,1 (231)

193

ОПГ-2,5-1200-220

1200

1220

12

1319

700

27,7 (277)

283

ОПГ-2,5-1400-220

1400

1420

14

1522

700

32,2 (322)

329

ОПГ-6,3-350-180

0,63 (6,3)

350

377

7

431

641

24 (240)

41

ОПГ-6,3-400-190

400

426

485

684

21,7 (217)

50

ОПГ-6,3-500-200

500

530

8

600

697

27 (270)

74

ОПГ-6,3-600-200

600

630

706

733

30,6 (306)

99

ОПГ-6,3-700-210

700

720

797

710

31,7 (317)

118

ОПГ-6,3-800-210

800

820

911

732

29 (290)

140

ОПГ-6,3-900-210

900

920

10

1015

713

32,1 (321)

170

ОПГ-6,3-1000-220

1000

1020

1117

733

34,7 (347)

193

ОПГ-6,3-1200-220

1200

1220

12

1319

714

41,5 (415)

308

ОПГ-6,3-1400-220

1400

1420

14

1522

714

48,3 (483)

359

ОПГ-10-350-180

1,0 (10)

350

377

7

431

640

32 (320)

49

ОПГ-10-400-190

400

426

485

668

28,9 (289)

71

ОПГ-10-500-200

500

530

8

600

682

33,8 (338)

102

ОПГ-10-600-200

600

630

706

695

36,8 (368)

140

ОПГ-10-700-210

700

720

797

698

50,8 (508)

173

ОПГ-10-800-210

800

820

911

726

46,4 (464)

198

ОПГ-10-900-210

900

920

10

1015

704

51,4 (514)

237

ОПГ-10-1000-220

1000

1020

1117

726

64,1 (641)

279

ОПГ-10-1200-220

1200

1220

12

1319

726

76,7 (767)

386

ОПГ-10-1400-220

1400

1420

14

1522

732

89,2 (892)

479

ОПГ-16-125-90

1,6 (16)

125

133

4

171

381

24,4 (244)

6,3

ОПГ-16-150-100

150

159

4,5

203

387

32,6 (326)

7,9

ОПГ-16-200-140

200

219

6

259

433

29,1 (291)

16

ОПГ-16-250-160

250

273

7

319

612

35 (350)

33

ОПГ-16-300-180

300

325

373

631

32,1 (321)

41

ОПГ-16-350-180

350

377

431

640

40 (400)

49

ОПГ-16-400-190

400

426

485

668

57,9 (579)

71

ОПГ-16-500-200

500

530

8

600

682

60,8 (608)

102

ОПГ-16-600-200

600

630

706

695

61,3 (613)

140

ОПГ-16-700-210

700

720

797

698

69,8 (698)

174

ОПГ-16-800-210

800

820

911

726

63,7 (637)

198

ОПГ-16-900-210

900

920

10

1015

704

70,6 (706)

237

ОПГ-16-1000-220

1000

1020

1117

726

87,2 (872)

279

ОПГ-16-1200-220

1200

1220

12

1319

726

104,4 (1044)

386

ОПГ-16-1400-220

1400

1420

14

1522

732

129,5 (1295)

424

ОПГ-25-65-70

2,5 (25)

65

76

3,5

105

349

32,2 (322)

2,8

ОПГ-25-80-70

80

89

120

359

29,6 (296)

3,4

ОПГ-25-100-80

100

108

4

143

370

25,9 (259)

4,9

ОПГ-25-125-90

125

133

172

382

36,6 (366)

7,1

ОПГ-25-150-100

150

159

4,5

204

396

32,6 (326)

8,9

ОПГ-25-200-140

200

219

6

261

442

38,7 (387)

17

ОПГ-25-250-160

250

273

7

319

621

35 (350)

34

ОПГ-25-300-180

300

325

374

632

40,1 (401)

44

ОПГ-25-350-180

350

377

431

658

56 (560)

55

ОПГ-25-400-190

400

426

485

678

72,3 (723)

78

ОПГ-25-500-200

500

530

8

600

692

74,3 (743)

112

ОПГ-25-600-200

600

630

706

713

73,6 (736)

153

ОПГ-25-700-210

700

720

797

714

88,9 (889)

185

ОПГ-25-800-210

800

820

911

743

81,1 (811)

224

ОПГ-25-900-210

900

920

10

1015

719

102,8 (1028)

273

ОПГ-25-1000-220

1000

1020

1117

742

104,5 (1045)

325

ОПГ-25-1200-220

1200

1220

14

1319

742

125,1 (1251)

441

ОПГ-25-1400-220

1400

1420

1522

750

161,6 (1616)

546

Компенсаторы сильфонные типа ОПК

Таблица 3

Условное обозначение

Условное давление, PN, МПа (кгс/см2)

Условный диаметр, DN, мм

Размеры, мм

Жесткость осевого хода, Сλ, кН/м (кгс/см)

Масса, кг

D

S

D1

L

ОПК-2,5-250-160

0,25 (2,5)

250

273

7

429

599

17,5 (175)

30

ОПК-2,5-300-180

300

325

489

617

16 (160)

36

ОПК-2,5-350-180

350

377

528

632

16 (160)

36

ОПК-2,5-400-190

400

426

590

648

14,5 (145)

44

ОПК-2,5-500-200

500

530

8

702

661

20,3 (203)

66

ОПК-2,5-600-200

600

630

810

697

18,4 (184)

81

ОПК-2,5-700-210

700

720

900

678

19 (190)

97

ОПК-2,5-800-210

800

820

1020

706

17,4 (174)

114

ОПК-2,5-900-210

900

920

10

1124

685

25,7 (257)

142

ОПК-2,5-1000-220

1000

1020

1228

700

23,1 (231)

168

ОПК-2,5-1200-220

1200

1220

12

1428

700

27,7 (277)

250

ОПК-2,5-1400-220

1400

1420

14

1636

700

32,2 (322)

291

ОПК-6,3-350-180

0,63 (6,3)

350

377

7

528

641

24 (240)

36

ОПК-6,3-400-190

400

426

590

684

21,7 (217)

44

ОПК-6,3-500-200

500

530

8

702

697

27 (270)

66

ОПК-6,3-600-200

600

630

810

733

30,6 (306)

81

ОПК-6,3-700-210

700

720

900

710

31,7 (317)

97

ОПК-6,3-800-210

800

820

1020

732

29 (290)

114

ОПК-6,3-900-210

900

920

10

1124

713

32,1 (321)

142

ОПК-6,3-1000-220

1000

1020

1228

733

34,7 (347)

168

ОПК-6,3-1200-220

1200

1220

12

1428

714

41,5 (415)

275

ОПК-6,3-1400-220

1400

1420

14

1636

714

48,3 (483)

321

ОПК-10-350-180

1,0 (10)

350

377

7

528

640

32 (320)

44

ОПК-10-400-190

400

426

590

668

28,9 (289)

65

ОПК-10-500-200

500

530

8

702

682

33,8 (338)

94

ОПК-10-600-200

600

630

810

695

36,8 (368)

122

ОПК-10-700-210

700

720

900

698

50,8 (508)

152

ОПК-10-800-210

800

820

1020

726

46,4 (464)

172

ОПК-10-900-210

900

920

10

1124

704

51,4 (514)

210

ОПК-10-1000-220

1000

1020

1228

726

64,1 (641)

254

ОПК-10-1200-220

1200

1220

12

1428

726

76,7 (767)

353

ОПК-10-1400-220

1400

1420

14

1636

732

89,2 (892)

441

ОПК-16-125-90

1,6 (16)

125

133

4

272

381

24,4 (244)

9

ОПК-16-150-100

150

159

4,5

307

387

32,6 (326)

11

ОПК-16-200-140

200

219

6

379

433

29,1 (291)

19

ОПК-16-250-160

250

273

7

429

612

35 (350)

34

ОПК-16-300-180

300

325

489

631

32,1 (321)

42

ОПК-16-350-180

350

377

528

640

40 (400)

48

ОПК-16-400-190

400

426

590

668

57,9 (579)

70

ОПК-16-500-200

500

530

8

702

682

60,8 (608)

101

ОПК-16-600-200

600

630

810

695

61,3 (613)

131

ОПК-16-700-210

700

720

900

698

69,8 (698)

161

ОПК-16-800-210

800

820

1020

726

63,7 (637)

183

ОПК-16-900-210

900

920

10

1124

704

70,6 (706)

220

ОПК-16-1000-220

1000

1020

1228

726

87,2 (872)

272

ОПК-16-1200-220

1200

1220

12

1428

726

104,4 (1044)

373

ОПК-16-1400-220

1400

1420

14

1636

732

129,5 (1295)

466

ОПК-25-50-70

2,5 (25)

50

57

3,5

174

349

32,2 (322)

4,3

ОПК-25-65-70

65

76

4,0

ОПК-25-80-70

80

89

187

359

29,6 (296)

4,6

ОПК-25-100-80

100

108

4

206

370

25,9 (259)

6,5

ОПК-25-125-90

125

133

272

382

36,6 (366)

8,2

ОПК-25-150-100

150

159

4,5

307

396

32,6 (326)

9,9

ОПК-25-200-140

200

219

6

379

442

38,7 (387)

18

ОПК-25-250-160

250

273

7

429

621

35 (350)

34

ОПК-25-300-180

300

325

489

632

40,1 (401)

43

ОПК-25-350-180

350

377

528

658

56 (560)

50

ОПК-25-400-190

400

426

590

678

72,3 (723)

72

ОПК-25-500-200

500

530

8

702

692

74,3 (743)

104

ОПК-25-600-200

600

630

810

713

73,6 (736)

135

ОПК-25-700-210

700

720

900

714

88,9 (889)

164

ОПК-25-800-210

800

820

1020

743

81,1 (811)

198

ОПК-25-900-210

900

920

10

1124

719

102,8 (1028)

245

ОПК-25-1000-220

1000

1020

1228

742

104,5 (1045)

300

ОПК-25-1200-220

1200

1220

14

1428

742

125,1 (1251)

408

ОПК-25-1400-220

1400

1420

1636

750

161,6 (1616)

508

Компенсаторы сильфонные типа ОПМ

Таблица 4

Условное обозначение

Условное давление, PN, МПа (кгс/см2)

Условный диаметр, DN, мм

Размеры, мм

Жесткость осевого хода, Сλ, кН/м (кгс/см)

Масса, кг

D

S

D1

L

ОПМ-2,5-250-160

0,25 (2,5)

250

273

7

429

599

17,5 (175)

37

ОПМ-2,5-300-180

300

325

489

617

16 (160)

45

ОПМ-2,5-350-180

350

377

528

632

16 (160)

47

ОПМ-2,5-400-190

400

426

590

648

14,5 (145)

58

ОПМ-2,5-500-200

500

530

8

702

661

20,3 (203)

83

ОПМ-2,5-600-200

600

630

810

697

18,4 (184)

109

ОПМ-2,5-700-210

700

720

900

678

19 (190)

130

ОПМ-2,5-800-210

800

820

1020

706

17,4 (174)

154

ОПМ-2,5-900-210

900

920

10

1124

685

25,7 (257)

185

ОПМ-2,5-1000-220

1000

1020

1228

700

23,1 (231)

218

ОПМ-2,5-1200-220

1200

1220

12

1428

700

27,7 (277)

313

ОПМ-2,5-1400-220

1400

1420

14

1636

700

32,2 (322)

362

ОПМ-6,3-350-180

0,63 (6,3)

350

377

7

528

641

24 (240)

47

ОПМ-6,3-400-190

400

426

590

684

21,7 (217)

58

ОПМ-6,3-500-200

500

530

8

702

697

27 (270)

83

ОПМ-6,3-600-200

600

630

810

733

30,6 (306)

109

ОПМ-6,3-700-210

700

720

900

710

31,7 (317)

130

ОПМ-6,3-800-210

800

820

1020

732

29 (290)

154

ОПМ-6,3-900-210

900

920

10

1124

713

32,1 (321)

185

ОПМ-6,3-1000-220

1000

1020

1228

733

34,7 (347)

218

ОПМ-6,3-1200-220

1200

1220

12

1428

714

41,5 (415)

338

ОПМ-6,3-1400-220

1400

1420

14

1636

714

48,3 (483)

392

ОПМ-10-350-180

1,0 (10)

350

377

7

528

640

32 (320)

55

ОПМ-10-400-190

400

426

590

668

28,9 (289)

78

ОПМ-10-500-200

500

530

8

702

682

33,8 (338)

111

ОПМ-10-600-200

600

630

810

695

36,8 (368)

151

ОПМ-10-700-210

700

720

900

698

50,8 (508)

185

ОПМ-10-800-210

800

820

1020

726

46,4 (464)

212

ОПМ-10-900-210

900

920

10

1124

704

51,4 (514)

252

ОПМ-10-1000-220

1000

1020

1228

726

64,1 (641)

303

ОПМ-10-1200-220

1200

1220

12

1428

726

76,7 (767)

416

ОПМ-10-1400-220

1400

1420

14

1636

732

89,2 (892)

512

ОПМ-16-125-90

1,6 (16)

125

133

4

272

381

24,4 (244)

9

ОПМ-16-150-100

150

159

4,5

307

387

32,6 (326)

11

ОПМ-16-200-140

200

219

6

379

433

29,1 (291)

20

ОПМ-16-250-160

250

273

7

429

612

35 (350)

41

ОПМ-16-300-180

300

325

489

631

32,1 (321)

49

ОПМ-16-350-180

350

377

528

640

40 (400)

55

ОПМ-16-400-190

400

426

590

668

57,9 (579)

78

ОПМ-16-500-200

500

530

8

702

682

60,8 (608)

111

ОПМ-16-600-200

600

630

810

695

61,3 (613)

151

ОПМ-16-700-210

700

720

900

698

69,8 (698)

185

ОПМ-16-800-210

800

820

1020

726

63,7 (637)

212

ОПМ-16-900-210

900

920

10

1124

704

70,6 (706)

252

ОПМ-16-1000-220

1000

1020

1228

726

87,2 (872)

303

ОПМ-16-1200-220

1200

1220

12

1428

726

104,4 (1044)

416

ОПМ-16-1400-220

1400

1420

14

1636

732

129,5 (1295)

512

ОПМ-25-65-70

2,5 (25)

65

76

3,5

174

349

32,2 (322)

5

ОПМ-25-80-70

80

89

187

359

29,6 (296)

6

ОПМ-25-100-80

100

108

4

206

370

25,9 (259)

8

ОПМ-25-125-90

125

133

272

382

36,6 (366)

10

ОПМ-25-150-100

150

159

4,5

307

396

32,6 (326)

12

ОПМ-25-200-140

200

219

6

379

442

38,7 (387)

21

ОПМ-25-250-160

250

273

7

429

621

35 (350)

41

ОПМ-25-300-180

300

325

489

632

40,1 (401)

52

ОПМ-25-350-180

350

377

528

658

56 (560)

62

ОПМ-25-400-190

400

426

590

678

72,3 (723)

85

ОПМ-25-500-200

500

530

8

702

692

74,3 (743)

121

ОПМ-25-600-200

600

630

810

713

73,6 (736)

164

ОПМ-25-700-210

700

720

900

714

88,9 (889)

197

ОПМ-25-800-210

800

820

1020

743

81,1 (811)

238

ОПМ-25-900-210

900

920

10

1124

719

102,8 (1028)

288

ОПМ-25-1000-220

1000

1020

1228

742

104,5 (1045)

350

ОПМ-25-1200-220

1200

1220

14

1428

742

125,1 (1251)

471

ОПМ-25-1400-220

1400

1420

1636

750

161,6 (1616)

579

Компенсаторы сильфонные типа ОПФН

Таблица 5

Условное обозначение

Условное давление, PN, МПа (кгс/см2)

Условный диаметр, DN, мм

Размеры, мм

Жесткость осевого хода, Сλ, кН/м (кгс/см)

Масса, кг

D

S

D1

L

ОПФН-16-200-140

1,6 (16)

200

219

6

504

433

29,1 (291)

45

ОПФН-16-250-160

250

273

7

504

612

35 (350)

54

ОПФН-16-300-180

300

325

606

631

32,1 (321)

73

ОПФН-16-350-180

350

377

602

640

40 (400)

70

ОПФН-16-400-190

400

426

694

668

57,9 (579)

102

ОПФН-16-500-200

500

530

8

792

682

60,8 (608)

143

ОПФН-16-600-200

600

630

890

695

61,3 (613)

177

ОПФН-16-700-210

700

720

990

698

69,8 (698)

206

ОПФН-16-800-210

800

820

990

726

63,7 (637)

210

ОПФН-16-900-210

900

920

10

1188

704

70,6 (706)

286

ОПФН-16-1000-220

1000

1020

1270

726

87,2 (872)

326

ОПФН-16-1200-220

1200

1220

12

1470

726

104,4 (1044)

437

ОПФН-25-200-140

2,5 (25)

200

219

6

504

442

38,7 (387)

47

ОПФН-25-250-160

250

273

7

504

621

35 (350)

56

ОПФН-25-300-180

300

325

606

632

40,1 (401)

78

ОПФН-25-350-180

350

377

602

656

56 (560)

76

ОПФН-25-400-190

400

426

694

678

72,3 (723)

111

ОПФН-25-500-200

500

530

8

792

692

74,3 (743)

153

ОПФН-25-600-200

600

630

890

713

73,6 (736)

191

ОПФН-25-700-210

700

720

990

714

88,9 (889)

221

ОПФН-25-800-210

800

820

990

743

81,1 (811)

238

ОПФН-25-900-210

900

920

10

1188

719

102,8 (1028)

315

ОПФН-25-1000-220

1000

1020

1270

742

104,5 (1045)

372

ОПФН-25-1200-220

1200

1220

14

1470

742

125,1 (1251)

492

Компенсаторы сильфонные типа 1КСО

Таблица 6

Условное обозначение

Условное давление, PN, МПа (кгс/см2)

Условный диаметр, DN, мм

Размеры, мм

Жесткость осевого хода, Сλ, кН/м (кгс/см)

Масса, кг

D

S

D1

L

1КСО-25-50-35

2,5 (25)

50

57

3,5

233

844

32,2 (322)

24,5

1КСО-25-65-35

65

76

25

1КСО-25-80-35

80

89

259

854

29,6 (296)

31

1КСО-25-100-40

100

108

4

319

875

25,9 (259)

47

1КСО-25-125-45

125

133

897

36,6 (366)

51

1КСО-25-150-50

150

159

4,5

373

925

32,6 (326)

72

1КСО-25-200-70

200

219

6

425

1011

38,7 (387)

100

1КСО-25-250-80

250

273

7

477

823

35 (350)

106

1КСО-25-300-90

300

325

526

854

40,1 (401)

125

1КСО-25-350-90

350

377

630

880

56 (560)

166

1КСО-25-400-95

400

426

910

72,3 (723)

189

1КСО-25-500-100

500

530

8

820

934

74,3 (743)

292

1КСО-25-600-100

600

630

920

955

73,6 (736)

355

1КСО-25-700-105

700

720

1020

962

88,9 (889)

408

1КСО-25-800-105

800

820

1120

995

81,1 (811)

530

1КСО-25-900-105

900

920

10

1320

971

102,8 (1028)

692

1КСО-25-1000-110

1000

1020

1006

104,5 (1045)

755

1КСО-25-1200-110

1200

1220

14

1520

125,1 (1251)

984

1КСО-25-1400-110

1400

1420

1700

1215

161,6 (1616)

1612

Компенсаторы сильфонные типа 2КСО

Таблица 7

Условное обозначение

Условное давление, PN, МПа (кгс/см2)

Условный диаметр, DN, мм

Размеры, мм

Жесткость осевого хода, Сλ, кН/м (кгс/см)

Масса, кг

D

S

D1

L

2КСО-25-50-70

2,5 (25)

50

57

3,5

233

1688

16,1 (161)

55

2КСО-25-65-70

65

76

53

2КСО-25-80-70

80

89

259

1708

14,8 (148)

65

2КСО-25-100-80

100

108

4

319

1750

12,9 (129)

100

2КСО-25-125-90

125

133

1794

18,3 (183)

106

2КСО-25-150-100

150

159

4,5

373

7850

16,3 (163)

150

2КСО-25-200-140

200

219

6

425

2022

19,4 (194)

206

2КСО-25-250-160

250

273

7

477

1646

17,5 (175)

221

2КСО-25-300-180

300

325

526

1708

20,1 (201)

258

2КСО-25-350-180

350

377

630

1760

28 (280)

344

2КСО-25-400-190

400

426

1820

36,2 (362)

387

2КСО-25-500-200

500

530

8

820

1868

37,2 (372)

596

2КСО-25-600-200

600

630

920

1910

36,8 (368)

722

2КСО-25-700-210

700

720

1020

1924

44,5 (445)

828

2КСО-25-800-210

800

820

1120

1990

40,6 (406)

1073

2КСО-25-900-210

900

920

10

1320

1942

51,4 (514)

1401

2КСО-25-1000-220

1000

1020

2012

52,3 (523)

1520

2КСО-25-1200-220

1200

1220

14

1520

63,6 (636)

1978

2КСО-25-1400-220

1400

1420

1700

2430

80,8 (808)

3235

Компенсаторы сильфонные типа ОПНР

Таблица 8

Условное обозначение

Условное давление, PN, МПа (кгс/см2)

Условный диаметр, DN, мм

Размеры, мм

Жесткость осевого хода, Сλ, кН/м (кгс/см)

Масса, кг

D

S

D1

L

ОПНР-16-125-130

1,6 (16)

125

133

4

171

409

29,9 (299)

6,3

ОПНР-16-150-150

150

159

4,5

203

402

26,7 (267)

7,9

ОПНР-16-200-160

200

219

6

259

453

34,9 (349)

16

ОПНР-16-250-180

250

273

7

319

634

31,5 (315)

33

ОПНР-16-300-190

300

325

373

655

28,9 (289)

41

ОПНР-16-350-190

350

377

431

664

36 (360)

49

ОПНР-16-400-200

400

426

485

693

39,1 (391)

71

ОПНР-16-500-210

500

530

8

600

682

60,8 (608)

85

ОПНР-16-600-220

600

630

706

695

61,3 (613)

112

ОПНР-16-700-220

700

720

797

698

69,8 (698)

140

ОПНР-16-800-240

800

820

911

726

63,7 (637)

158

ОПНР-16-900-260

900

920

10

1015

704

70,6 (706)

194

ОПНР-16-1000-260

1000

1020

1117

726

87,2 (872)

229

ОПНР-16-1200-260

1200

1220

12

1319

726

104,4 (1044)

323

ОПНР-16-1400-260

1400

1420

14

1522

732

129,5 (1295)

408

ОПНР-25-50-80

2,5 (25)

50

57

3,5

105

382

24,2 (242)

3,2

ОПНР-25-65-80

65

76

2,8

ОПНР-25-80-90

80

89

120

395

22,2 (222)

3,4

ОПНР-25-100-120

100

108

4

143

409

29,1 (291)

4,9

ОПНР-25-125-130

125

133

172

410

29,9 (299)

7,1

ОПНР-25-150-150

150

159

4,5

204

412

26,7 (267)

8,9

ОПНР-25-200-160

200

219

6

261

463

34,9 (349)

17

ОПНР-25-250-180

250

273

7

319

644

31,5 (315)

34

ОПНР-25-300-190

300

325

374

656

36,1 (361)

44

ОПНР-25-350-190

350

377

431

682

50,4 (504)

55

ОПНР-25-400-200

400

426

485

705

65,1 (651)

78

ОПНР-25-500-210

500

530

8

600

692

74,3 (743)

95

ОПНР-25-600-220

600

630

706

713

73,6 (736)

124

ОПНР-25-700-220

700

720

797

714

88,9 (889)

152

ОПНР-25-800-240

800

820

911

743

81,1 (811)

184

ОПНР-25-900-260

900

920

10

1015

719

102,8 (1028)

230

ОПНР-25-1000-260

1000

1020

1117

742

104,5 (1045)

275

ОПНР-25-1200-260

1200

1220

14

1319

742

125,1 (1251)

378

ОПНР-25-1400-260

1400

1420

1522

750

161,6 (1616)

475

Компенсаторы сильфонные типа ОПКР

Таблица 9

Условное обозначение

Условное давление, PN, МПа (кгс/см2)

Условный диаметр, DN, мм

Размеры, мм

Жесткость осевого хода, Сλ, кН/м (кгс/см)

Масса, кг

D

S

D1

L

l1

l2

ОПКР-16-100-120

1,6 (16)

100

108

4

219

619

100

150

19,4 (194)

25

ОПКР-16-125-130

125

133

245

625

29,9 (299)

31

ОПКР-16-150-150

150

159

4,5

273

638

26,7 (267)

37

ОПКР-16-200-160

200

219

6

340

744

34,9 (349)

57

ОПКР-16-250-180

250

273

7

400

775

31,5 (315)

67

ОПКР-16-300-190

300

325

455

790

28,9 (289)

117

ОПКР-16-350-190

350

377

510

799

36 (360)

139

ОПКР-16-400-200

400

426

575

836

39,1 (391)

175

ОПКР-16-500-210

500

530

8

686

827

60,8 (608)

232

ОПКР-16-600-220

600

630

820

890

61,3 (613)

340

ОПКР-16-700-220

700

720

920

1003

69,8 (698)

488

ОПКР-16-800-240

800

820

1020

1046

63,7 (637)

562

ОПКР-16-900-260

900

920

10

1120

1039

70,6 (706)

727

ОПКР-16-1000-260

1000

1020

1320

1071

87,2 (872)

901

ОПКР-16-1200-260

1200

1220

14

1420

1071

104,4 (1044)

1125

ОПКР-16-1400-260

1400

1420

1620

1077

129,5 (1295)

1334

ОПКР-25-50-80

2,5 (25)

50

57

3,5

159

536

100

120

24,2 (242)

14

ОПКР-25-65-80

65

76

178

542

17

ОПКР-25-80-90

80

89

194

561

22,2 (222)

20

ОПКР-25-100-120

100

108

4

219

620

150

29,1 (291)

26

ОПКР-25-125-130

125

133

245

625

29,9 (299)

31

ОПКР-25-150-150

150

159

4,5

273

638

26,7 (267)

37

ОПКР-25-200-160

200

219

6

340

744

34,9 (349)

67

ОПКР-25-250-180

250

273

7

400

775

31,5 (315)

98

ОПКР-25-300-190

300

325

455

793

36,1 (361)

120

ОПКР-25-350-190

350

377

510

819

50,4 (504)

148

ОПКР-25-400-200

400

426

575

846

65,1 (651)

192

ОПКР-25-500-210

500

530

8

686

837

74,3 (743)

245

ОПКР-25-600-220

600

630

820

908

73,6 (736)

359

ОПКР-25-700-220

700

720

920

1019

88,9 (889)

505

ОПКР-25-800-240

800

820

1020

1063

81,1 (811)

596

ОПКР-25-900-260

900

920

10

1120

1054

102,8 (1028)

771

ОПКР-25-1000-260

1000

1020

1320

1087

104,5 (1045)

1041

ОПКР-25-1200-260

1200

1220

14

1420

1115

125,1 (1251)

1218

ОПКР-25-1400-260

1400

1420

1620

1095

161,6 (1616)

1420

Компенсаторы сильфонные типа 2ОПКР

Таблица 10

Условное обозначение

Условное давление, PN, МПа (кгс/см2)

Условный диаметр, DN, мм

Размеры, мм

Жесткость осевого хода, Сλ, кН/м (кгс/см)

Масса, кг

D

S

D1

L

l2

2ОПКР-16-100-240

1,6 (16)

100

108

4

219

1030

150

9,7 (97)

47

2ОПКР-16-125-260

125

133

245

1042

15 (150)

65

2ОПКР-16-150-300

150

159

4,5

273

1068

13,4 (134)

68

2ОПКР-16-200-320

200

219

6

340

1276

17,5 (175)

143

2ОПКР-16-250-360

250

273

7

400

1338

15,8 (158)

181

2ОПКР-16-300-380

300

325

455

1368

14,5 (145)

222

2ОПКР-16-350-380

350

377

510

1386

18 (180)

285

2ОПКР-16-400-400

400

426

575

1460

19,6 (196)

335

2ОПКР-16-500-420

500

530

8

686

1442

30,4 (304)

432

2ОПКР-16-600-440

600

630

820

1568

30,7 (307)

750

2ОПКР-16-700-440

700

720

920

1794

34,9 (349)

927

2ОПКР-16-800-480

800

820

1020

1880

31,9 (319)

1200

2ОПКР-16-900-520

900

920

10

1120

1862

35,3 (353)

1500

2ОПКР-16-1000-520

1000

1020

1320

1926

43,6 (436)

1975

2ОПКР-16-1200-520

1200

1220

14

1420

1926

52,2 (522)

2300

2ОПКР-16-1400-520

1400

1420

1620

1938

64,8 (648)

2700

2ОПКР-25-50-160

2,5 (25)

50

57

3,5

159

864

120

12,1 (121)

30

2ОПКР-25-65-160

65

76

178

876

35

2ОПКР-25-80-180

80

89

194

914

11,1 (111)

40

2ОПКР-25-100-240

100

108

4

219

1032

150

14,5 (145)

47

2ОПКР-25-125-260

125

133

245

1042

15 (150)

65

2ОПКР-25-150-300

150

159

4,5

273

1068

13,4 (134)

68

2ОПКР-25-200-320

200

219

6

340

1276

17,5 (175)

143

2ОПКР-25-250-360

250

273

7

400

1338

15,6 (156)

181

2ОПКР-25-300-380

300

325

455

1374

18,1 (181)

250

2ОПКР-25-350-380

350

377

510

1426

25,2 (252)

305

2ОПКР-25-400-400

400

426

575

1480

32,6 (326)

390

2ОПКР-25-500-420

500

530

8

686

1462

37,2 (372)

488

2ОПКР-25-600-440

600

630

820

1604

36,8 (368)

730

2ОПКР-25-700-440

700

720

920

1826

44,5 (445)

939

2ОПКР-25-800-480

800

820

1020

1614

40,6 (406)

1200

2ОПКР-25-900-520

900

920

10

1120

1892

51,4 (514)

1550

2ОПКР-25-1000-520

1000

1020

1320

1958

52,3 (523)

2090

2ОПКР-25-1200-520

1200

1220

14

1420

2014

62,6 (626)

2500

2ОПКР-25-1400-520

1400

1420

1620

1974

80,8 (808)

2000

Компенсаторы сильфонные типа ОПМР

Таблица 11

Условное обозначение

Условное давление, PN, МПа (кгс/см2)

Условный диаметр, DN, мм

Размеры, мм

Жесткость осевого хода, Сλ, кН/м (кгс/см)

Масса, кг

D

S

D1

L

l1

l2

ОПМР-16-100-120

1,6 (16)

100

108

4

219

619

100

150

19,4 (194)

26

ОПМР-16-125-130

125

133

245

625

29,9 (299)

33

ОПМР-16-150-150

150

159

4,5

273

638

26,7 (267)

39

ОПМР-16-200-160

200

219

6

340

744

34,9 (349)

60

ОПМР-16-250-180

250

273

7

400

775

31,5 (315)

74

ОПМР-16-300-190

300

325

455

790

28,9 (289)

126

ОПМР-16-350-190

350

377

510

799

36 (360)

151

ОПМР-16-400-200

400

426

575

836

39,1 (391)

188

ОПМР-16-500-210

500

530

8

686

827

60,8 (608)

249

ОПМР-16-600-220

600

630

820

890

61,3 (613)

369

ОПМР-16-700-220

700

720

920

1003

69,8 (698)

521

ОПМР-16-800-240

800

820

1020

1046

63,7 (637)

602

ОПМР-16-900-260

900

920

10

1120

1039

70,6 (706)

110

ОПМР-16-1000-260

1000

1020

1320

1071

87,2 (872)

951

ОПМР-16-1200-260

1200

1220

14

1420

1071

104,4 (1044)

1188

ОПМР-16-1400-260

1400

1420

1620

1077

129,5 (1295)

1405

ОПМР-25-65-80

2,5 (25)

65

76

3,5

178

542

100

120

24,2 (242)

18

ОПМР-25-80-90

80

89

194

561

22,2 (222)

21

ОПМР-25-100-120

100

108

4

219

620

150

29,1 (291)

27

ОПМР-25-125-130

125

133

245

625

29,9 (299)

33

ОПМР-25-150-150

150

159

4,5

273

638

26,7 (267)

39

ОПМР-25-200-160

200

219

6

340

744

34,9 (349)

70

ОПМР-25-250-180

250

273

7

400

775

31,5 (315)

105

ОПМР-25-300-190

300

325

455

793

36,1 (361)

129

ОПМР-25-350-190

350

377

510

819

50,4 (504)

160

ОПМР-25-400-200

400

426

575

846

65,1 (651)

205

ОПМР-25-500-210

500

530

8

686

837

74,3 (743)

262

ОПМР-25-600-220

600

630

820

908

73,6 (736)

388

ОПМР-25-700-220

700

720

920

1019

88,9 (889)

538

ОПМР-25-800-240

800

820

1020

1063

81,1 (811)

636

ОПМР-25-900-260

900

920

10

1120

1054

102,8 (1028)

814

ОПМР-25-1000-260

1000

1020

1320

1087

104,5 (1045)

1091

ОПМР-25-1200-260

1200

1220

14

1420

1115

125,1 (1251)

1281

ОПМР-25-1400-260

1400

1420

1020

1095

101,6 (1010)

1491

Компенсаторы сильфонные типа 2ОПМР

Таблица 12

Условное обозначение

Условное давление, PN, МПа (кгс/см2)

Условный диаметр, DN, мм

Размеры, мм

Жесткость осевого хода, Сλ, кН/м (кгс/см)

Масса, кг

D

S

D1

L

l2

2ОПМР-16-100-240

1,6 (16)

100

108

4

219

1030

150

9,7 (97)

49

2ОПМР-16-125-260

125

133

245

1042

15 (150)

68

2ОПМР-16-150-300

150

159

4,5

273

1068

13,4 (134)

72

2ОПМР-16-200-320

200

219

6

340

1276

17,5 (175)

150

2ОПМР-16-250-360

250

273

7

400

1338

15,8 (158)

195

2ОПМР-16-300-380

300

325

455

1368

14,5 (145)

240

2ОПМР-16-350-380

350

377

510

1386

18 (180)

308

2ОПМР-16-400-400

400

426

575

1460

19,6 (196)

362

2ОПМР-16-500-420

500

530

8

686

1442

30,4 (304)

466

2ОПМР-16-600-440

600

630

820

1568

30,7 (307)

807

2ОПМР-16-700-440

700

720

920

1794

34,9 (349)

993

2ОПМР-16-800-480

800

820

1020

1880

31,9 (319)

1280

2ОПМР-16-900-520

900

920

10

1120

1862

35,3 (353)

1586

2ОПМР-16-1000-520

1000

1020

1320

1926

43,6 (436)

2075

2ОПМР-16-1200-520

1200

1220

14

1420

1926

52,2 (522)

2426

2ОПМР-16-1400-520

1400

1420

1620

1938

64,8 (648)

2842

2ОПМР-25-65-160

2,5 (25)

65

76

3,5

178

876

120

12,1 (121)

36

2ОПМР-25-80-180

80

89

194

914

11,1 (111)

42

2ОПМР-25-100-240

100

108

4

219

1032

150

14,5 (145)

49

2ОПМР-25-125-260

125

133

245

1042

15 (150)

68

2ОПМР-25-150-300

150

159

4,5

273

1068

13,4 (134)

72

2ОПМР-25-200-320

200

219

6

340

1276

17,5 (175)

150

2ОПМР-25-250-360

250

273

7

400

1338

15,6 (156)

195

2ОПМР-25-300-380

300

325

455

1374

18,1 (181)

268

2ОПМР-25-350-380

350

377

510

1426

25,2 (252)

328

2ОПМР-25-400-400

400

426

575

1480

32,6 (326)

417

2ОПМР-25-500-420

500

530

8

686

1462

37,2 (372)

522

2ОПМР-25-600-440

600

630

820

1604

36,8 (368)

787

2ОПМР-25-700-440

700

720

920

1826

44,5 (445)

1005

2ОПМР-25-800-480

800

820

1020

1614

40,6 (406)

1280

2ОПМР-25-900-520

900

920

10

1120

1892

51,4 (514)

1636

2ОПМР-25-1000-520

1000

1020

1320

1958

52,3 (523)

2190

2ОПМР-25-1200-520

1200

1220

14

1420

2014

62,6 (626)

2626

2ОПМР-25-1400-520

1400

1420

1620

1974

80,8 (808)

3042

 


Компенсаторы сильфонные типа ОФН

Таблица 13

Условное обозначение

Условное давление, PN, МПа (кгс/см2)

Условный диаметр, DN, мм

Размеры, мм

n

Жесткость осевого хода, Сλ, кН/м (кгс/см)

Масса, кг

D

S

D1

L

b

h

d

ОФН-2,5-65

0,25 (2,5)

65

160

130

110

267

11

3

14

4

32,2

4,5

ОФН-2,5-80

80

185

150

128

277

11

3

18

4

29,6

5,7

ОФН-2,5-100

100

205

170

148

298

11

3

18

4

25,9

7,2

ОФН-2,5-125

125

235

200

178

311

13

3

18

8

24,4

8,9

ОФН-2,5-150

150

260

225

202

317

13

3

18

8

21,8

11,8

ОФН-2,5-200

200

315

280

258

405

15

3

18

8

19,4

18,9

ОФН-2,5-250

250

370

335

312

427

18

3

18

12

17,5

27,3

ОФН-2,5-300

300

435

395

365

451

18

4

22

12

16,0

35.7

ОФН-2,5-350

350

485

445

415

466

18

4

22

12

16,0

41,0

ОФН-2,5-400

400

535

495

565

482

18

4

22

16

14,5

46,6

ОФН-2,5-500

500

640

600

570

519

20

4

22

16

20,3

71,3

ОФН-2,5-600

600

755

705

670

557

20

5

26

20

18,4

91,3

ОФН-2,5-700

700

860

810

775

550

21

5

26

24

19,0

121,2

ОФН-2,5-800

800

975

920

880

578

21

5

30

24

17,4

147,8

ОФН-2,5-900

900

1075

1020

980

571

23

5

30

24

25,7

182,0

ОФН-2,5-1000

1000

1175

1120

1080

590

25

5

30

28

23,1

211,4

ОФН-6,3-65

0,63 (6,3)

65

160

130

110

267

13

3

14

4

32,2

4,5

ОФН-6,3-80

80

185

150

128

281

15

3

18

4

29,6

6,9

ОФН-6,3-100

100

205

170

148

302

15

3

18

4

25,9

8,6

ОФН-6,3-125

125

235

200

178

317

17

3

18

8

24,4

11,5

ОФН-6,3-150

150

260

225

202

323

17

3

18

8

21,8

13,7

ОФН-6,3-200

200

315

280

258

413

19

3

18

8

19,4

21,3

ОФН-6,3-250

250

370

335

312

449

20

3

18

12

26,3

30,7

ОФН-6,3-300

300

435

395

365

465

20

4

22

12

24,1

39,9

ОФН-6,3-350

350

485

445

415

483

22

4

22

12

24,0

54,0

ОФН-6,3-400

400

535

495

465

522

24

4

22

16

21,7

68,2

ОФН-6,3-500

500

640

600

570

577

25

4

22

16

27,0

98,5

ОФН-6,3-600

600

755

705

670

595

25

5

26

20

30,6

126,9

ОФН-6,3-700

700

860

810

775

586

27

5

26

24

31,7

164,6

ОФН-6,3-800

800

975

920

880

614

27

5

30

24

29,0

196,2

ОФН-6,3-900

900

1075

1020

980

603

29

5

30

24

32,1

240,0

ОФН-6,3-1000

1000

1175

1120

1080

627

31

5

30

28

34,7

283,9

ОФН-10-65

1,0 (10)

65

180

145

122

269

17

3

18

4

32,2

6,5

ОФН-10-80

80

195

160

133

279

17

3

18

4

29,6

8,2

ОФН-10-100

100

215

180

158

302

19

3

18

8

25,9

10,4

ОФН-10-125

125

245

210

184

315

21

3

18

8

24,4

13,9

ОФН-10-150

150

280

240

212

321

21

3

22

8

21,8

17,1

ОФН-10-200

200

335

295

268

417

21

3

22

8

19,4

25,4

ОФН-10-250

250

390

350

320

438

23

3

22

12

26,3

36,4

ОФН-10-300

300

440

400

370

469

24

4

22

12

24,1

47,0

ОФН-10-350

350

500

460

430

478

24

4

22

16

32,0

61,5

ОФН-10-400

400

565

515

482

508

26

4

26

16

28,9

97,0

ОФН-10-500

500

670

620

585

544

28

4

26

20

33,8

143,8

ОФН-10-600

600

780

725

685

561

31

5

30

20

36,8

189,5

ОФН-10-700

700

895

840

800

574

32

5

30

24

50,8

221,3

ОФН-10-800

800

1010

950

905

606

35

5

33

24

46,4

268,6

ОФН-10-900

900

1110

1050

1005

596

38

5

33

28

51,4

321,5

ОФН-10-1000

1000

1220

1160

1110

620

40

5

33

28

64,1

403,5

ОФН-16-65

1,6 (16)

65

180

145

122

273

21

3

18

4

32,2

8,5

ОФН-16-80

80

195

160

133

283

21

3

18

4

29,6

9,4

ОФН-16-10

100

215

180

158

306

23

3

18

8

25,9

12,1

ОФН-16-125

125

245

210

184

319

25

3

18

8

24,4

16,3

ОФН-16-150

150

280

240

212

325

25

3

22

8

32,6

20,4

ОФН-16-200

200

335

295

268

423

27

3

22

12

29,1

29,5

ОФН-16-250

250

405

355

320

442

28

3

26

12

35,0

42

ОФН-16-300

300

460

410

370

473

28

4

26

12

32,1

54

ОФН-16-350

350

520

470

430

484

30

4

26

16

40,0

69

ОФН-16-400

400

580

525

482

516

34

4

30

16

57,9

98

ОФН-16-500

500

710

650

585

510

44

4

33

20

60,8

189

ОФН-16-600

600

840

770

685

575

45

5

39

20

61,3

252

ОФН-16-700

700

910

840

800

590

47

5

39

24

69,8

278

ОФН-16-800

800

1020

950

905

620

49

5

39

24

63,7

341

ОФН-16-900

900

1120

1050

1005

610

51

5

39

28

70,6

403

ОФН-16-1000

1000

1255

1170

1110

634

53

5

45

28

87,2

523

ОФН-25-65

2,5 (25)

65

180

145

122

273

21

3

18

8

32,2

8,3

ОФН-25-80

80

195

160

133

285

23

3

18

8

29,6

10,2

ОФН-25-100

100

230

190

158

308

25

3

22

8

25,9

14,8

ОФН-25-125

125

270

220

184

322

27

3

26

8

36,6

21,0

ОФН-25-150

150

300

250

212

336

27

3

26

8

32,6

26,1

ОФН-25-200

200

360

310

278

434

29

3

26

12

38,7

39,2

ОФН-25-250

250

425

370

335

455

31

3

30

12

35,0

55,4

ОФН-25-300

300

485

430

390

479

32

4

30

16

40,1

72,8

ОФН-25-350

350

550

490

450

510

38

4

33

16

56,0

103,5

ОФН-25-400

400

610

550

505

532

40

4

33

16

72,3

140,5

ОФН-25-500

500

730

660

615

574

48

4

39

20

74,3

212,7

ОФН-25-600

600

840

770

720

599

51

5

39

20

73,6

347,1

ОФН-25-700

700

960

875

820

614

55

5

45

24

88,9

460,7

ОФН-25-800

800

1075

990

930

647

59

5

45

24

81,1

563,5

ОФН-25-900

900

1185

1090

1030

635

61

5

52

28

102,8

690,2

ОФН-25-1000

1000

1315

1210

1140

660

63

5

56

28

104,5

865,7

Компенсаторы сильфонные типа ОФГ

Таблица 14

Условное обозначение

Условное давление, PN, МПа (кгс/см2)

Условный диаметр, DN, мм

Размеры, мм

n

Жесткость осевого хода, Сλ, кН/м (кгс/см)

Масса, кг

D

S

D1

L

b

h

d

ОФГ-2,5-65

0,25 (2,5)

65

160

130

110

267

11

3

14

4

32,2

5,2

ОФГ-2,5-80

80

185

150

128

277

11

3

18

4

29,6

6,6

ОФГ-2,5-100

100

205

170

148

298

11

3

18

4

25,9

8,3

ОФГ-2,5-125

125

235

200

178

311

13

3

18

8

24,4

10,4

ОФГ-2,5-150

150

260

225

202

317

13

3

18

8

21,8

13,8

ОФГ-2,5-200

200

315

280

258

405

15

3

18

8

19,4

22,2

ОФГ-2,5-250

250

370

335

312

427

18

3

18

12

17,5

34,5

ОФГ-2,5-300

300

435

395

365

451

18

4

22

12

16,0

44,7

ОФГ-2,5-350

350

485

445

415

466

18

4

22

12

16,0

52,5

ОФГ-2,5-400

400

535

495

565

482

18

4

22

16

14,5

59,9

ОФГ-2,5-500

500

640

600

570

519

20

4

22

16

20,3

88,2

ОФГ-2,5-600

600

755

705

670

557

20

5

26

20

18,4

120,0

ОФГ-2,5-700

700

860

810

775

550

21

5

26

24

19,0

154,1

ОФГ-2,5-800

800

975

920

880

578

21

5

30

24

17,4

187,9

ОФГ-2,5-900

900

1075

1020

980

571

23

5

30

24

25,7

225,2

ОФГ-2,5-1000

1000

1175

1120

1080

590

25

5

30

28

23,1

261,3

ОФГ-6,3-65

0,63 (6,3)

65

160

130

110

267

13

3

14

4

32,2

5,2

ОФГ-6,3-80

80

185

150

128

281

15

3

18

4

29,6

7,8

ОФГ-6,3-100

100

205

170

148

302

15

3

18

4

25,9

9,7

ОФГ-6,3-125

125

235

200

178

317

17

3

18

8

24,4

13,0

ОФГ-6,3-150

150

260

225

202

323

17

3

18

8

21,8

15,7

ОФГ-6,3-200

200

315

280

258

413

19

3

18

8

19,4

24,6

ОФГ-6,3-250

250

370

335

312

449

20

3

18

12

26,3

37,9

ОФГ-6,3-300

300

435

395

365

465

20

4

22

12

24,1

48,9

ОФГ-6,3-350

350

485

445

415

483

22

4

22

12

24,0

65,5

ОФГ-6,3-400

400

535

495

465

522

24

4

22

16

21,7

81,5

ОФГ-6,3-500

500

640

600

570

577

25

4

22

16

27,0

115,4

ОФГ-6,3-600

600

755

705

670

595

25

5

26

20

30,6

155,6

ОФГ-6,3-700

700

860

810

775

586

27

5

26

24

31,7

197,5

ОФГ-6,3-800

800

975

920

880

614

27

5

30

24

29,0

236,3

ОФГ-6,3-900

900

1075

1020

980

603

29

5

30

24

32,1

283,2

ОФГ-6,3-1000

1000

1175

1120

1080

627

31

5

30

28

34,7

333,8

ОФГ-10-65

1,0 (10)

65

180

145

122

269

17

3

18

4

32,2

7,2

ОФГ-10-80

80

195

160

133

279

17

3

18

4

29,6

9,1

ОФГ-10-100

100

215

180

158

302

19

3

18

8

25,9

11,5

ОФГ-10-125

125

245

210

184

315

21

3

18

8

24,4

15,4

ОФГ-10-150

150

280

240

212

321

21

3

22

8

21,8

19,1

ОФГ-10-200

200

335

295

268

417

21

3

22

8

19,4

28,7

ОФГ-10-250

250

390

350

320

438

23

3

22

12

26,3

43,6

ОФГ-10-300

300

440

400

370

469

24

4

22

12

24,1

56,0

ОФГ-10-350

350

500

460

430

478

24

4

22

16

32,0

73,0

ОФГ-10-400

400

565

515

482

508

26

4

26

16

28,9

110,3

ОФГ-10-500

500

670

620

585

544

28

4

26

20

33,8

160.7

ОФГ-10-600

600

780

725

685

561

31

5

30

20

36,8

218,2

ОФГ-10-700

700

895

840

800

574

32

5

30

24

50,8

254,2

ОФГ-10-800

800

1010

950

905

606

35

5

33

24

46,4

308,7

ОФГ-10-900

900

1110

1050

1005

596

38

5

33

28

51,4

364,7

ОФГ-10-1000

1000

1220

1160

1110

620

40

5

33

28

64,1

453,4

ОФГ-16-65

1,6 (16)

65

180

145

122

273

21

3

18

4

32,2

9,2

ОФГ-16-80

80

195

160

133

283

21

3

18

4

29,6

10,3

ОФГ-16-10

100

215

180

158

306

23

3

18

8

25,9

13,2

ОФГ-16-125

125

245

210

184

319

25

3

18

8

24,4

17,8

ОФГ-16-150

150

280

240

212

325

25

3

22

8

32,6

22,4

ОФГ-16-200

200

335

295

268

423

27

3

22

12

29,1

32,8

ОФГ-16-250

250

405

355

320

442

28

3

26

12

35,0

49,2

ОФГ-16-300

300

460

410

370

473

28

4

26

12

32,1

63,0

ОФГ-16-350

350

520

470

430

484

30

4

26

16

40,0

80,5

ОФГ-16-400

400

580

525

482

516

34

4

30

16

57,9

111,3

ОФГ-16-500

500

710

650

585

510

44

4

33

20

60,8

205,9

ОФГ-16-600

600

840

770

685

575

45

5

39

20

61,3

280,7

ОФГ-16-700

700

910

840

800

590

47

5

39

24

69,8

310,9

ОФГ-16-800

800

1020

950

905

620

49

5

39

24

63,7

381,1

ОФГ-16-900

900

1120

1050

1005

610

51

5

39

28

70,6

446,2

ОФГ-16-1000

1000

1255

1170

1110

634

53

5

45

28

87,2

572,9

ОФГ-25-65

2,5 (25)

65

180

145

122

273

21

3

18

8

32,2

9,0

ОФГ-25-80

80

195

160

133

285

23

3

18

8

29,6

11,1

ОФГ-25-100

100

230

190

158

308

25

3

22

8

25,9

15,9

ОФГ-25-125

125

270

220

184

322

27

3

26

8

36,6

22,5

ОФГ-25-150

150

300

250

212

336

27

3

26

8

32,6

28,1

ОФГ-25-200

200

360

310

278

434

29

3

26

12

38,7

42,5

ОФГ-25-250

250

425

370

335

455

31

3

30

12

35,0

62,6

ОФГ-25-300

300

485

430

390

479

32

4

30

16

40,1

81,8

ОФГ-25-350

350

550

490

450

510

38

4

33

16

56,0

115,0

ОФГ-25-400

400

610

550

505

532

40

4

33

16

72,3

153,8

ОФГ-25-500

500

730

660

615

574

48

4

39

20

74,3

229,6

ОФГ-25-600

600

840

770

720

599

51

5

39

20

73,6

375,8

ОФГ-25-700

700

960

875

820

614

55

5

45

24

88,9

493,6

ОФГ-25-800

800

1075

990

930

647

59

5

45

24

81,1

603,6

ОФГ-25-900

900

1185

1090

1030

635

61

5

52

28

102,8

733,4

ОФГ-25-1000

1000

1315

1210

1140

660

63

5

56

28

104,5

915,6

Компенсаторы сильфонные типа ОФК

Таблица 15

Условное обозначение

Условное давление, PN, МПа (кгс/см2)

Условный диаметр, DN, мм

Размеры, мм

n

Жесткость осевого хода, Сλ, кН/м (кгс/см)

Масса, кг

D

S

D1

L

b

h

d

ОФК-2,5-65

0,25 (2,5)

65

164

130

110

267

11

3

14

4

32,2

6,4

ОФК-2,5-80

80

189

150

128

277

11

3

18

4

29,6

7,8

ОФК-2,5-100

100

209

170

148

298

11

3

18

4

25,9

9,9

ОФК-2,5-125

125

239

200

178

311

13

3

18

8

24,4

11,5

ОФК-2,5-150

150

264

225

202

317

13

3

18

8

21,8

14,8

ОФК-2,5-200

200

321

280

258

405

15

3

18

8

19,4

23,1

ОФК-2,5-250

250

376

335

312

427

18

3

18

12

17,5

34,5

ОФК-2,5-300

300

441

395

365

451

18

4

22

12

16,0

44

ОФК-2,5-350

350

491

445

415

466

18

4

22

12

16,0

47,5

ОФК-2,5-400

400

541

495

565

482

18

4

22

16

14,5

53,9

ОФК-2,5-500

500

646

600

570

519

20

4

22

16

20,3

80,2

ОФК-2,5-600

600

761

705

670

557

20

5

26

20

18,4

102

ОФК-2,5-700

700

866

810

775

550

21

5

26

24

19,0

133,1

ОФК-2,5-800

800

981

920

880

578

21

5

30

24

17,4

161,9

ОФК-2,5-900

900

1081

1020

980

571

23

5

30

24

25,7

197,2

ОФК-2,5-1000

1000

1181

1120

1080

590

25

5

30

28

23,1

236,3

ОФК-6,3-65

0,63 (6,3)

65

164

130

110

267

13

3

14

4

32,2

6,4

ОФК-6,3-80

80

189

150

128

281

15

3

18

4

29,6

9

ОФК-6,3-100

100

209

170

148

302

15

3

18

4

25,9

11,3

ОФК-6,3-125

125

239

200

178

317

17

3

18

8

24,4

14,1

ОФК-6,3-150

150

264

225

202

323

17

3

18

8

21,8

16,7

ОФК-6,3-200

200

321

280

258

413

19

3

18

8

19,4

25,5

ОФК-6,3-250

250

376

335

312

449

20

3

18

12

26,3

37,9

ОФК-6,3-300

300

441

395

365

465

20

4

22

12

24,1

48,2

ОФК-6,3-350

350

491

445

415

483

22

4

22

12

24,0

60,5

ОФК-6,3-400

400

541

495

465

522

24

4

22

16

21,7

75,5

ОФК-6,3-500

500

646

600

570

577

25

4

22

16

27,0

107,4

ОФК-6,3-600

600

761

705

670

595

25

5

26

20

30,6

137,6

ОФК-6,3-700

700

866

810

775

586

27

5

26

24

31,7

176,5

ОФК-6,3-800

800

981

920

880

614

27

5

30

24

29,0

210,3

ОФК-6,3-900

900

1081

1020

980

603

29

5

30

24

32,1

255,2

ОФК-6,3-1000

1000

1181

1120

1080

627

31

5

30

28

34,7

308,8

ОФК-10-65

1,1 (10)

65

184

145

122

269

17

3

18

4

32,2

8,4

ОФК-10-80

80

199

160

133

279

17

3

18

4

29,6

10,3

ОФК-10-100

100

219

180

158

302

19

3

18

8

25,9

13,1

ОФК-10-125

125

249

210

184

315

21

3

18

8

24,4

16,5

ОФК-10-150

150

284

240

212

321

21

3

22

8

21,8

20,1

ОФК-10-200

200

341

295

268

417

21

3

22

8

19,4

29,6

ОФК-10-250

250

396

350

320

438

23

3

22

12

26,3

43,6

ОФК-10-300

300

446

400

370

469

24

4

22

12

24,1

55,3

ОФК-10-350

350

506

460

430

478

24

4

22

16

32,0

68

ОФК-10-400

400

571

515

482

508

26

4

26

16

28,9

104,3

ОФК-10-500

500

676

620

585

544

28

4

26

20

33,8

152,7

ОФК-10-600

600

786

725

685

561

31

5

30

20

36,8

200,2

ОФК-10-700

700

901

840

800

574

32

5

30

24

50,8

233,2

ОФК-10-800

800

1016

950

905

606

35

5

33

24

46,4

282,7

ОФК-10-900

900

1116

1050

1005

596

38

5

33

28

51,4

336,7

ОФК-10-1000

1000

1226

1160

1110

620

40

5

33

28

64,1

428,4

ОФК-16-65

1,6 (16)

65

184

145

122

273

21

3

18

4

32,2

10,4

ОФК-16-80

80

199

160

133

283

21

3

18

4

29,6

11,5

ОФК-16-10

100

219

180

158

306

23

3

18

8

25,9

14,8

ОФК-16-125

125

249

210

184

319

25

3

18

8

24,4

18,9

ОФК-16-150

150

284

240

212

325

25

3

22

8

32,6

23,4

ОФК-16-200

200

341

295

268

423

27

3

22

12

29,1

33,7

ОФК-16-250

250

411

355

320

442

28

3

26

12

35,0

49,2

ОФК-16-300

300

466

410

370

473

28

4

26

12

32,1

62,3

ОФК-16-350

350

526

470

430

484

30

4

26

16

40,0

75,5

ОФК-16-400

400

586

525

482

516

34

4

30

16

57,9

105,3

ОФК-16-500

500

716

650

585

510

44

4

33

20

60,8

197,9

ОФК-16-600

600

846

770

685

575

45

5

39

20

61,3

262,7

ОФК-16-700

700

916

840

800

590

47

5

39

24

69,8

289,9

ОФК-16-800

800

1026

950

905

620

49

5

39

24

63,7

355,1

ОФК-16-900

900

1126

1050

1005

610

51

5

39

28

70,6

418,2

ОФК-16-1000

1000

1261

1170

1110

634

53

5

45

28

87,2

547,9

ОФК-25-65

2,5 (25)

65

184

145

122

273

21

3

18

8

32,2

10,2

ОФК-25-80

80

199

160

133

285

23

3

18

8

29,6

12,3

ОФК-25-100

100

234

190

158

308

25

3

22

8

25,9

17,5

ОФК-25-125

125

274

220

184

322

27

3

26

8

36,6

23,6

ОФК-25-150

150

304

250

212

336

27

3

26

8

32,6

29,1

ОФК-25-200

200

366

310

278

434

29

3

26

12

38,7

43,4

ОФК-25-250

250

431

370

335

455

31

3

30

12

35,0

62,6

ОФК-25-300

300

491

430

390

479

32

4

30

16

40,1

81,1

ОФК-25-350

350

556

490

450

510

38

4

33

16

56,0

110

ОФК-25-400

400

616

550

505

532

40

4

33

16

72,3

147,8

ОФК-25-500

500

736

660

615

574

48

4

39

20

74,3

221,6

ОФК-25-600

600

846

770

720

599

51

5

39

20

73,6

357,8

ОФК-25-700

700

966

875

820

614

55

5

45

24

88,9

472,6

ОФК-25-800

800

1081

990

930

647

59

5

45

24

81,1

577,6

ОФК-25-900

900

1191

1090

1030

635

61

5

52

28

102,8

705,4

ОФК-25-1000

1000

1321

1210

1140

660

63

5

56

28

104,5

890,6

Компенсаторы сильфонные типа ОФМ

Таблица 16

Условное обозначение

Условное давление, PN, МПа (кгс/см2)

Условный диаметр, DN, мм

Размеры, мм

n

Жесткость осевого хода, Сλ, кН/м (кгс/см)

Масса, кг

D

S

D1

L

b

h

d

ОФМ-2,5-65

0,25 (2,5)

65

164

130

110

267

11

3

14

4

32,2

7,1

ОФМ-2,5-80

80

189

150

128

277

11

3

18

4

29,6

8,7

ОФМ-2,5-100

100

209

170

148

298

11

3

18

4

25,9

11,0

ОФМ-2,5-125

125

239

200

178

311

13

3

18

8

24,4

13,0

ОФМ-2,5-150

150

264

225

202

317

13

3

18

8

21,8

16,8

ОФМ-2,5-200

200

321

280

258

405

15

3

18

8

19,4

26,4

ОФМ-2,5-250

250

376

335

312

427

18

3

18

12

17,5

41,7

ОФМ-2,5-300

300

441

395

365

451

18

4

22

12

16,0

53,0

ОФМ-2,5-350

350

491

445

415

466

18

4

22

12

16,0

59,0

ОФМ-2,5-400

400

541

495

565

482

18

4

22

16

14,5

67,2

ОФМ-2,5-500

500

646

600

570

519

20

4

22

16

20,3

97,1

ОФМ-2,5-600

600

761

705

670

557

20

5

26

20

18,4

130,7

ОФМ-2,5-700

700

866

810

775

550

21

5

26

24

19,0

166,0

ОФМ-2,5-800

800

981

920

880

578

21

5

30

24

17,4

202,0

ОФМ-2,5-900

900

1081

1020

980

571

23

5

30

24

25,7

240,4

ОФМ-2,5-1000

1000

1181

1120

1080

590

25

5

30

28

23,1

286,2

ОФМ-6,3-65

0,63 (6,3)

65

164

130

110

267

13

3

14

4

32,2

7,1

ОФМ-6,3-80

80

189

150

128

281

15

3

18

4

29,6

9,9

ОФМ-6,3-100

100

209

170

148

302

15

3

18

4

25,9

12,4

ОФМ-6,3-125

125

239

200

178

317

17

3

18

8

24,4

15,6

ОФМ-6,3-150

150

264

225

202

323

17

3

18

8

21,8

18,7

ОФМ-6,3-200

200

321

280

258

413

19

3

18

8

19,4

28,8

ОФМ-6,3-250

250

376

335

312

449

20

3

18

12

26,3

45,1

ОФМ-6,3-300

300

441

395

365

465

20

4

22

12

24,1

57,2

ОФМ-6,3-350

350

491

445

415

483

22

4

22

12

24,0

72,0

ОФМ-6,3-400

400

541

495

465

522

24

4

22

16

21,7

88,8

ОФМ-6,3-500

500

646

600

570

577

25

4

22

16

27,0

124,3

ОФМ-6,3-600

600

761

705

670

595

25

5

26

20

30,6

166,3

ОФМ-6,3-700

700

866

810

775

586

27

5

26

24

31,7

209,4

ОФМ-6,3-800

800

981

920

880

614

27

5

30

24

29,0

250,4

ОФМ-6,3-900

900

1081

1020

980

603

29

5

30

24

32,1

298,4

ОФМ-6,3-1000

1000

1181

1120

1080

627

31

5

30

28

34,7

358,7

ОФМ-10-65

1,0 (10)

65

184

145

122

269

17

3

18

4

32,2

9,1

ОФМ-10-80

80

199

160

133

279

17

3

18

4

29,6

11,2

ОФМ-10-100

100

219

180

158

302

19

3

18

8

25,9

14,2

ОФМ-10-125

125

249

210

184

315

21

3

18

8

24,4

18,0

ОФМ-10-150

150

284

240

212

321

21

3

22

8

21,8

22,1

ОФМ-10-200

200

341

295

268

417

21

3

22

8

19,4

32,9

ОФМ-10-250

250

396

350

320

438

23

3

22

12

26,3

50,8

ОФМ-10-300

300

446

400

370

469

24

4

22

12

24,1

64,3

ОФМ-10-350

350

506

460

430

478

24

4

22

16

32,0

79,5

ОФМ-10-400

400

571

515

482

508

26

4

26

16

28,9

117,6

ОФМ-10-500

500

676

620

585

544

28

4

26

20

33,8

169,6

ОФМ-10-600

600

786

725

685

561

31

5

30

20

36,8

228,9

ОФМ-10-700

700

901

840

800

574

32

5

30

24

50,8

266,1

ОФМ-10-800

800

1016

950

905

606

35

5

33

24

46,4

322,8

ОФМ-10-900

900

1116

1050

1005

596

38

5

33

28

51,4

379,9

ОФМ-10-1000

1000

1226

1160

1110

620

40

5

33

28

64,1

478,3

ОФМ-16-65

1,6 (16)

65

184

145

122

273

21

3

18

4

32,2

11,1

ОФМ-16-80

80

199

160

133

283

21

3

18

4

29,6

12,4

ОФМ-16-10

100

219

180

158

306

23

3

18

8

25,9

15,9

ОФМ-16-125

125

249

210

184

319

25

3

18

8

24,4

20,4

ОФМ-16-150

150

284

240

212

325

25

3

22

8

32,6

25,4

ОФМ-16-200

200

341

295

268

423

27

3

22

12

29,1

37,0

ОФМ-16-250

250

411

355

320

442

28

3

26

12

35,0

56,4

ОФМ-16-300

300

466

410

370

473

28

4

26

12

32,1

71,3

ОФМ-16-350

350

526

470

430

484

30

4

26

16

40,0

87,0

ОФМ-16-400

400

586

525

482

516

34

4

30

16

57,9

118,6

ОФМ-16-500

500

716

650

585

510

44

4

33

20

60,8

214,8

ОФМ-16-600

600

846

770

685

575

45

5

39

20

61,3

291,4

ОФМ-16-700

700

916

840

800

590

47

5

39

24

69,8

322,8

ОФМ-16-800

800

1026

950

905

620

49

5

39

24

63,7

395,2

ОФМ-16-900

900

1126

1050

1005

610

51

5

39

28

70,6

461,4

ОФМ-16-1000

1000

1261

1170

1110

634

53

5

45

28

87,2

597,8

ОФМ-25-65

2,5 (25)

65

184

145

122

273

21

3

18

8

32,2

10,9

ОФМ-25-80

80

199

160

133

285

23

3

18

8

29,6

13,2

ОФМ-25-100

100

234

190

158

308

25

3

22

8

25,9

18,6

ОФМ-25-125

125

274

220

184

322

27

3

26

8

36,6

25,1

ОФМ-25-150

150

304

250

212

336

27

3

26

8

32,6

31,1

ОФМ-25-200

200

366

310

278

434

29

3

26

12

38,7

46,7

ОФМ-25-250

250

431

370

335

4055

31

3

30

12

35,0

69,8

ОФМ-25-300

300

491

430

390

479

32

4

30

16

40,1

90,1

ОФМ-25-350

350

556

490

450

510

38

4

33

16

56,0

121,5

ОФМ-25-400

400

616

550

505

532

40

4

33

16

72,3

161,1

ОФМ-25-500

500

736

660

615

574

48

4

39

20

74,3

238,5

ОФМ-25-600

600

846

770

720

599

51

5

39

20

73,6

386,5

ОФМ-25-700

700

966

875

820

614

55

5

45

24

88,9

505,5

ОФМ-25-800

800

1081

990

930

647

59

5

45

24

81,1

617,7

ОФМ-25-900

900

1191

1090

1030

635

61

5

52

28

102,8

748,6

ОФМ-25-1000

1000

1321

1210

1140

660

63

5

56

28

104,5

940,5

 


Основные технические характеристики сильфонных компенсационных устройств

Таблица 17

Условное обозначение СКУ

PN, МПа (кгс/см2)

DN, мм

Жесткость осевого хода, Сλ, кН/м (кгс/см)

Коэффициент местного сопротивления ξ

Эффективная площадь Sэф, см2

Амплитуда осевого хода, ± λ, мм*)

Режимы эксплуатации при наработке:

100 %

70 %

20 %

10 циклов

150 циклов

10000 циклов

СКУ.ТГИ-16-125-90.К

1,6 (16)

125

396

0,220

190

45

31,5

9

СКУЛТИ-16-150-100.К

150

390

0,200

279

50

35

10

СКУ.ТГИ-16-200-140.К

200

451

0,115

452

70

49

14

СКУ.ТГИ-16-250-160.К

250

510

0,103

680

80

56

16

СКУ.ТГИ-16-300-180.К

300

465

0,087

960

90

63

18

СКУ.ТГИ-16-400-190.К

400

547

0,113

1575

95

66,5

19

СКУ.ТГИ-16-500-200.К

500

731

0,093

2444

100

70

20

СКУ.ТГИ-16-600-200.К

600

668

0,080

3419

СКУ.ТГИ-16-700-210.К

700

763

0,060

4363

105

73,5

21

СКУ.ТГИ-16-800-210.К

800

778

0,057

5745

СКУ.ТГИ-16-900-210.К

900

845

0,045

7182

СКУ.ТГИ-16-1000-220.К

1000

1010

0,040

8638

110

77

22

СКУ.ТГИ-25-50-70.К

2,5 (25)

50

673

0,350

68

35

24,5

7

СКУ.ТГИ-25-65-70.К

65

553

0,350

68

35

24,5

7

СКУ.ТГИ-25-80-70.К

80

519

0,300

89

35

24,5

7

СКУ.ТГИ-25-100-80.К

100

443

0,260

133

40

28

8

СКУ.ТГИ-25-125-90.К

125

508

0,220

190

45

31,5

9

СКУ.ТГИ-25-150-100.К

150

499

0,200

279

50

35

10

СКУ.ТГИ-25-200-140.К

200

548

0,115

452

70

49

14

СКУ.ТГИ-25-250-160.К

250

510

0,103

680

80

56

16

СКУ.ТГИ-25-300-180.К

300

546

0,087

960

90

63

18

СКУ.ТГИ-25-400-190.К

400

836

0,113

1575

95

66,5

19

СКУ.ТГИ-25-500-200.К

500

866

0,093

2444

100

70

20

СКУ.ТГИ-25-600-200.К

600

851

0,080

3419

СКУ.ТГИ-25-700-210.К

700

1017

0,060

4363

105

73,5

21

СКУ.ТГИ-25-800-210.К

800

1043

0,057

5745

СКУ.ТГИ-25-900-210.К

900

1166

0,045

7182

СКУ.ТГИ-25-1000-220.К

1000

1183

0,040

8638

110

77

22

_____________

*) Полная компенсирующая способность СКУ составляет 2λ.

Основные размеры сильфонных компенсационных устройств

Таблица 18

Условное обозначение СКУ

PN, МПа (кгс/см2)

DN, мм

Размеры, мм

D

S

D1

D2

L1

L2

L

СКУ.ТГИ-16-125-90.К

1,6 (16)

125

133

4

225

325

150

185

1270

СКУ.ТГИ.С-16-125-90.К

250

СКУ.ТГИ-16-150-100.К

150

159

4,5

377

190

1300

СКУ.ТГИ.С-16-150-100.К

280

СКУ.ТГИ-16-200-140.К

200

219

6

315

426

1360

СКУ.ТГИ.С-16-200-140.К

355

СКУ.ТГИ-16-250-160.К

250

273

7

400

530

210

195

1500

СКУ.ТГИ.С-16-250-160.К

450

СКУ.ТГИ-16-300-180.К

300

325

630

200

1550

СКУ.ТГИ.С-16-300-180.К

500

СКУ.ТГИ-16-400-190.К

400

426

560

720

1600

СКУ.ТГИ.С-16-400-190.К

630

СКУ.ТГИ-16-500-200.К

500

530

8

710

820

1610

СКУ.ТГИ-16-600-200.К

600

630

800

1020

205

1670

СКУ.ТГИ-16-700-210.К

700

720

900

1020

1670

СКУ.ТГИ-16-800-210.К

800

820

9

1000

1220

210

1670

СКУ.ТГИ.С-16-800-210.К

1100

СКУ.ТГИ-16-900-210.К

900

920

10

1420

1700

СКУ.ТГИ.С-16-900-210.К

1200

СКУ.ТГИ-16-1000-220.К

1000

1020

1420

215

1700

СКУ.ТГИ-25-50-70.К

2,5 (25)

50

57

3,5

125

219

150

170

1190

СКУ.ТГИ.С-25-50-70.К

140

1150

СКУ.ТГИ-25-65-70.К

65

76

1150

СКУ.ТГИ.С-25-65-70.К

160

СКУ.ТГИ-25-80-70.К

80

89

273

175

1200

СКУ.ТГИ.С-25-80-70.К

180

1170

СКУ.ТГИ-25-100-80.К

100

108

4

325

180

1260

СКУ.ТГИ.С-25-100-80.К

200

СКУ.ТГИ-25-125-90.К

125

133

225

185

1270

СКУ.ТГИ.С-25-125-90.К

250

СКУ.ТГИ-25-150-100.К

150

159

4,5

377

190

1300

СКУ.ТГИ.С-25-150-100.К

280

СКУ.ТГИ-25-200-140.К

200

219

6

315

426

1360

СКУ.ТГИ.С-25-200-140.К

355

СКУ.ТГИ-25-250-160.К

250

273

7

400

530

210

195

1500

СКУ.ТГИ.С-25-250-160.К

450

СКУ.ТГИ-25-300-180.К

300

325

630

200

1550

СКУ.ТГИ.С-25-300-180.К

500

СКУ.ТГИ-25-400-190.К

400

426

560

720

1600

СКУ.ТГИ.С-25-400-190.К

630

СКУ.ТГИ-25-500-200.К

500

530

8

710

820

1610

СКУ.ТГИ-25-600-200.К

600

630

800

1020

205

1670

СКУ.ТГИ-25-700-210.К

700

720

900

1020

1670

СКУ.ТГИ-25-800-210.К

800

820

9

1000

1220

210

1670

СКУ.ТГИ.С-25-800-210.К

1100

СКУ.ТГИ-25-900-210.К

900

920

10

1420

1700

СКУ.ТГИ.С-25-900-210.К

1200

СКУ.ТГИ-25-1000-220.К

1000

1020

1420

215

1700

 


Сильфонные компенсационные устройства типа ППУ исполнений I и Iа

Таблица 19

Условное обозначение СКУ

Условное давление, Ру, МПа (кгс/см2)

Условный диаметр, Dу, мм

Размеры, мм

Амплитуда осевого хода, ± λ, мм

Коэффициент местного сопротивления ξ

Жесткость осевого хода, Сλ, кгс/см

Эффективная площадь, Sэф, см2

Масса, кг

D

s

D1

Dг

L

l1

l2

СКУ.ППУ.1-16-125-90

1,6 (16)

125

133

4

299

229

1241

300

150

45

0,220

244

190

76

СКУ.ППУ.1-16-150-100

150

159

4,5

325

255

1247

50

0,200

218

279

94

СКУ.ППУ.1-16-200-140

200

219

6

377

320

1473

210

70

0,115

291

452

171

СКУ.ППУ.1-16-250-160

250

273

7

480

405

1702

400

215

80

0,103

350

680

250

СКУ.ППУ.1-16-300-180

300

325

530

455

1731

220

90

0,087

321

960

308

СКУ.ППУ.1-16-400-190

400

426

630

566

1798

225

95

0,113

579

1575

349

СКУ.ППУ.1-16-500-200

500

530

8

820

716

1832

100

0,093

608

2444

640

СКУ.ППУ.1-16-600-200

600

630

920

806

1845

0,080

613

3419

673

СКУ.ППУ.1-16-700-210

700

720

1020

906

1888

230

105

0,060

698

4363

913

СКУ.ППУ.1-16-800-210

800

820

1120

1008

1896

0,057

637

5745

1038

СКУ.ППУ.1-16-900-210

900

920

10

1220

1108

1894

0,045

706

7182

1187

СКУ.ППУ.1-16-1000-220

1000

1020

1320

1208

1926

110

0,040

872

8638

1355

Сильфонные компенсационные устройства типа ППУ исполнений I и Iа

Продолжение таблицы 19

Условное обозначение СКУ

Условное давление, Ру, МПа (кгс/см2)

Условный диаметр, Dу, мм

Размеры, мм

Амплитуда осевого хода, ± λ, мм

Коэффициент местного сопротивления ξ

Жесткость осевого хода, Сλ, кгс/см

Эффективная площадь, Sэф, см2

Масса, кг

D

s

D1

Dг

L

l1

l2

СКУ.ППУ.1-25-50-70

2,5 (25)

50

57

3,5

194

128

1199

300

145

35

0,350

322

68

37

СКУ.ППУ.1С-25-50-70

219

147

1199

48

СКУ.ППУ.1-25-65-70

65

76

1199

35

0,350

322

68

47

СКУ.ППУ.1С-25-65-70

163

1199

СКУ.ППУ.1-25-80-70

80

89

1209

35

0,300

296

89

49

СКУ.ППУ.1С-25-80-70

245

184

1209

55

СКУ.ППУ.1-25-100-80

100

108

4

1220

40

0,260

259

133

59

СКУ.ППУ.1С-25-100-80

273

204

1220

71

СКУ.ППУ.1-25-125-90

125

133

299

229

1242

150

45

0,220

366

190

80

СКУ.ППУ.1-25-150-100

150

159

4,5

325

255

1256

50

0,200

326

279

96

СКУ.ППУ.1-25-200-140

200

219

6

377

320

1482

210

70

0,115

387

452

173

СКУ.ППУ.1-25-250-160

250

273

7

480

405

1711

400

215

80

0,103

350

680

253

СКУ.ППУ.1-25-300-180

300

325

530

455

1732

220

90

0,087

401

960

310

СКУ.ППУ.1-25-400-190

400

426

630

566

1808

225

95

0,113

723

1575

406

СКУ.ППУ.1-25-500-200

500

530

8

820

716

1842

100

0,093

743

2444

640

СКУ.ППУ.1-25-600-200

600

630

920

806

1863

0,080

736

3419

673

СКУ.ППУ.1-25-700-210

700

720

1020

906

1904

230

105

0,060

889

4363

913

СКУ.ППУ.1-25-800-210

800

820

1120

1008

1913

0,057

811

5745

1067

СКУ.ППУ.1-25-900-210

900

920

10

1220

1108

1909

0,045

1028

7182

1217

СКУ.ППУ.1-25-1000-220

1000

1020

1320

1208

1942

110

0,040

1045

8638

1399

Сильфонные компенсационные устройства типа ППУ исполнений I и Iа

Продолжение таблицы 19

Условное обозначение СКУ

Условное давление, Ру, МПа (кгс/см2)

Условный диаметр, Dу, мм

Размеры, мм

Амплитуда осевого хода, ± λ, мм

Коэффициент местного сопротивления ξ

Жесткость осевого хода, Сλ, кгс/см

Эффективная площадь, Sэф, см2

Масса, кг

D

s

D1

Dг

L

l1

l2

2СКУ.ППУ.1-16-125-180

1,6 (16)

125

133

4

299

229

1602

300

150

90

0,220

122

190

113

2СКУ.ППУ.1-16-150-200

150

159

4,5

325

255

1624

100

0,200

109

279

140

2СКУ.ППУ.1-16-200-280

200

219

6

377

320

1966

210

140

0,115

146

452

247

2СКУ.ППУ.1-16-250-320

250

273

7

480

405

2224

400

215

160

0,103

175

680

359

2СКУ.ППУ.1-16-300-360

300

325

530

455

2282

220

180

0,087

161

960

435

2СКУ.ППУ.1-16-400-380

400

426

630

566

2406

225

190

0,113

290

1575

605

2СКУ.ППУ.1-16-500-400

500

530

8

820

716

2484

200

0,093

304

2444

863

2СКУ.ППУ.1-16-600-400

600

630

920

806

2510

0,080

307

3419

1048

2СКУ.ППУ.1-16-700-420

700

720

1020

906

2566

230

210

0,060

349

4363

1408

2СКУ.ППУ.1-16-800-420

800

820

1120

1008

2602

0,057

319

5745

1607

2СКУ.ППУ.1-16-900-420

900

920

10

1220

1108

2588

0,045

353

7182

1887

2СКУ.ППУ.1-16-1000-440

1000

1020

1320

1208

2662

220

0,040

436

8638

2235

Сильфонные компенсационные устройства типа ППУ исполнений I и Iа

Продолжение таблицы 19

Условное обозначение СКУ

Условное давление, Ру, МПа (кгс/см2)

Условный диаметр, Dу, мм

Размеры, мм

Амплитуда осевого хода, ± λ, мм

Коэффициент местного сопротивления ξ

Жесткость осевого хода, Сλ, кгс/см

Эффективная площадь, Sэф, см2

Масса, кг

D

s

D1

Dг

L

l1

l2

2СКУ.ППУ.1-25-50-140

2,5 (25)

50

57

3,5

194

128

1518

300

145

70

0,350

161

68

51

2СКУ.ППУ.1C-25-50-140

219

147

70

2СКУ.ППУ.1-25-65-140

65

76

70

0,350

161

68

2СКУ.ППУ.1С-25-65-140

163

2СКУ.ППУ.1-25-80-140

80

89

1538

70

0,300

148

89

73

2СКУ.ППУ.1С-25-80-140

245

184

85

2СКУ.ППУ.1-25-100-160

100

108

4

1570

80

0,260

130

133

92

2СКУ.ППУ.1С-25-100-160

273

204

110

2СКУ.ППУ.1-25-125-180

125

133

299

229

1604

150

90

0,220

183

190

119

2СКУ.ППУ.1-25-150-200

150

159

4,5

325

255

1642

100

0,200

163

279

149

2СКУ.ППУ.1-25-200-280

200

219

6

377

320

1984

210

140

0,115

194

452

253

2СКУ.ППУ.1-25-250-320

250

273

7

480

405

2242

400

215

160

0,103

175

680

372

2СКУ.ППУ.1-25-300-360

300

325

530

455

2284

220

180

0,087

201

960

446

2СКУ.ППУ.1-25-400-380

400

426

630

566

2426

225

190

0,113

362

1575

623

2СКУ.ППУ.1-25-500-400

500

530

8

820

716

2504

200

0,093

372

2444

881

2СКУ.ППУ.1-25-60000

600

630

920

806

2546

0,080

368

3419

1075

2СКУ.ППУ.1-25-700-420

700

720

1020

906

2598

230

210

0,060

445

4363

1448

2СКУ.ППУ.1-25-80020

800

820

1120

1008

2636

0,057

406

5745

1637

2СКУ.ППУ.1-25-900-420

900

920

10

1220

1108

2618

0,045

514

7182

1981

2СКУ.ППУ.1-25-1000-440

1000

1020

1320

1208

2694

220

0,040

523

8638

2417

Сильфонные компенсационные устройства типа АПБ исполнения I

Таблица 20

Условное обозначение СКУ

Условное давление, Ру, МПа (кгс/см2)

Условный диаметр, Dу, мм

Размеры, мм

Амплитуда осевого хода, ± λ, мм

Коэффициент местного сопротивления ξ

Жесткость осевого хода, Сλ, кгс/см

Эффективная площадь, Sэф, см2

Масса, кг

D

s

D1

L

l1

l2

СКУ.АПБ.1-16-125-90

1,6 (16)

125

133

4

377

1241

300

150

45

0,220

244

190

120

СКУ.АПБ.1-16-150-100

150

159

4,5

1247

50

0,200

218

279

128

СКУ.АПБ.1-16-200-140

200

219

6

480

1473

400

210

70

0,115

291

452

372

СКУ.АПБ.1-16-250-160

250

273

7

530

1702

215

80

0,103

350

680

472

СКУ.АПБ.1-16-300-180

300

325

580

1731

220

90

0,087

321

960

509

СКУ.АПБ.1-16-350-180

350

377

630

1764

0,129

400

1269

549

СКУ.АПБ.1-16-400-190

400

426

680

1798

225

95

0,113

579

1575

621

СКУ.АПБ.1-16-500-200

500

530

8

780

1832

100

0,093

608

2444

722

СКУ.АПБ.1-16-600-200

600

630

880

1845

0,080

613

3419

919

СКУ.АПБ.1-16-700-210

700

720

970

1888

230

105

0,060

698

4363

1019

СКУ.АПБ.1-16-800-210

800

820

1070

1896

0,057

637

5745

1126

СКУ.АПБ.1-16-900-210

900

920

10

1170

1894

0,045

706

7182

1315

СКУ.АПБ.1-16-1000-220

1000

1020

1270

1926

110

0,040

872

8638

1517

СКУ.АПБ.1-16-1200-220

1200

1220

14

1470

1942

1044

12246

2210

СКУ.АПБ.1-16-1400-220

1400

1420

1670

1948

1295

16600

2732

Сильфонные компенсационные устройства типа АПБ исполнения I

Продолжение таблицы 20

Условное обозначение СКУ

Условное давление, Ру, МПа (кгс/см2)

Условный диаметр, Dу, мм

Размеры, мм

Амплитуда осевого хода, ± λ, мм

Коэффициент местного сопротивления ξ

Жесткость осевого хода, Сλ, кгс/см

Эффективная площадь, Sэф, см2

Масса, кг

D

s

D1

L

l1

l2

СКУ.АПБ.1-25-50-70

2,5 (25)

50

57

3,5

273

1199

300

145

35

0,350

322

68

101

СКУ.АПБ.1-25-65-70

65

76

104

СКУ.АПБ.1-25-80-70

80

89

325

1209

0,300

296

89

121

СКУ.АПБ.1-25-100-80

100

108

4

1220

40

0,260

259

133

131

СКУ.АПБ.1-25-125-90

125

133

377

1242

150

45

0,220

366

190

140

СКУ.АПБ.1-25-150-100

150

159

4,5

1256

50

0,200

326

279

147

СКУ.АПБ.1-25-200-140

200

219

6

480

1482

400

210

70

0,115

387

452

414

СКУ.АПБ.1-25-250-160

250

273

7

530

1711

215

80

0,103

350

680

483

СКУ.АПБ.1-25-300-180

300

325

580

1732

220

90

0,087

401

960

560

СКУ.АПБ.1-25-350-180

350

377

630

1776

0,129

560

1269

638

СКУ.АПБ.1-25-400-190

400

426

680

1808

225

95

0,113

723

1575

699

СКУ.АПБ.1-25-500-200

500

530

8

780

1842

100

0,093

743

2444

807

СКУ.АПБ.1-25-600-200

600

630

880

1863

0,080

736

3419

1023

СКУ.АПБ.1-25-700-210

700

720

970

1904

230

105

0,060

889

4363

1105

СКУ.АПБ.1-25-800-210

800

820

1070

1913

0,057

811

5745

1314

СКУ.АПБ.1-25-900-210

900

920

10

1170

1909

0,045

1028

7182

1558

СКУ.АПБ.1-25-1000-220

1000

1020

1270

1942

110

0,040

1045

8638

1825

СКУ.АПБ.1-25-1200-220

1200

1220

14

1470

1960

1251

12246

2587

СКУ.АПБ.1-25-1400-220

1400

1420

1670

1968

1616

16600

3184

Сильфонные компенсационные устройства типа АПБ исполнения I

Продолжение таблицы 20

Условное обозначение СКУ

Условное давление, Ру, МПа (кгс/см2)

Условный диаметр, Dу, мм

Размеры, мм

Амплитуда осевого хода, ± λ, мм

Коэффициент местного сопротивления ξ

Жесткость осевого хода, Сλ, кгс/см

Эффективная площадь, Sэф, см2

Масса, кг

D

s

D1

L

l1

l2

2СКУ.АПБ.1-16-125-180

1,6 (16)

125

133

4

377

1602

150

100

90

0,220

122

190

178

2СКУ.АПБ.1-16-150-200

150

159

4,5

1624

105

100

0,200

109

279

190

2СКУ.АПБ.1-16-200-280

200

219

6

480

1966

200

135

140

0,115

146

452

537

2СКУ.АПБ.1-16-250-320

250

273

7

530

2224

150

160

0,103

175

680

678

2СКУ.АПБ.1-16-300-360

300

325

580

2282

165

180

0,087

161

960

719

2СКУ.АПБ.1-16-350-360

350

377

630

2344

170

0,129

200

1269

779

2СКУ.АПБ.1-16-400-380

400

426

680

2406

175

190

0,113

140

1575

1077

2СКУ.АПБ.1-16-500-400

500

530

8

780

2484

180

200

0,093

304

2444

974

2СКУ.АПБ.1-16-600-400

600

630

880

2510

250

0,080

307

3419

1432

2СКУ.АПБ.1-16-700-420

700

720

970

2566

210

0,060

349

4363

1572

2СКУ.АПБ.1-16-800-420

800

820

1070

2602

190

0,057

318

5745

1743

2СКУ.АПБ.1-16-900-420

900

920

10

1170

2588

0,045

353

7182

2091

2СКУ.АПБ.1-16-1000-440

1000

1020

1270

2662

200

220

0,040

436

8638

2501

Сильфонные компенсационные устройства типа АПБ исполнения I

Продолжение таблицы 20

Условное обозначение СКУ

Условное давление, Ру, МПа (кгс/см2)

Условный диаметр, Dу, мм

Размеры, мм

Амплитуда осевого хода, ± λ, мм

Коэффициент местного сопротивления ξ

Жесткость осевого хода, Сλ, кгс/см

Эффективная площадь, Sэф, см2

Масса, кг

D

s

D1

L

l1

l2

2СКУ.АПБ.1-25-50-140

2,5 (25)

50

57

3,5

273

1068

150

85

70

0,350

161

68

152

2СКУ.АПБ.1-25-65-140

65

76

1068

156

2СКУ.АПБ.1-25-80-140

80

89

325

1088

0,300

148

89

182

2СКУ.АПБ.1-25-100-160

100

108

4

1120

90

80

0,260

130

133

197

2СКУ.АПБ.1-25-125-180

125

133

377

1604

100

90

0,220

183

190

208

2СКУ.АПБ.1-25-150-200

150

159

4,5

1642

105

100

0,200

163

279

219

2СКУ.АПБ.1-25-200-280

200

219

6

480

1984

200

135

140

0,115

194

452

598

2СКУ.АПБ.1-25-250-320

250

273

7

530

2242

150

160

0,103

175

680

694

2СКУ.АПБ.1-25-300-360

300

325

580

2284

165

180

0,087

201

960

791

2СКУ.АПБ.1-25-350-360

350

377

630

2380

170

0,129

280

1269

906

2СКУ.АПБ.1-25-400-380

400

426

680

2426

175

190

0,113

362

1575

1212

2СКУ.АПБ.1-25-500-400

500

530

8

780

2504

180

200

0,093

372

2444

1088

2СКУ.АПБ.1-25-600-400

600

630

880

2546

250

0,080

368

3419

1593

2СКУ.АПБ.1-25-700-420

700

720

970

2598

210

0,060

445

4363

1704

2СКУ.АПБ.1-25-800-420

800

820

1070

2636

190

0,057

406

5745

2034

2СКУ.АПБ.1-25-900-420

900

920

10

1170

2618

0,045

514

7182

2477

2СКУ.АПБ.1-25-1000-440

1000

1020

1270

2694

200

220

0,040

523

8638

3010

Сильфонные компенсационные устройства типа ППМ

Таблица 21

Условное обозначение СКУ

Условное давление, Ру, МПа (кгс/см2)

Условный диаметр, Dу, мм

Размеры, мм

Амплитуда осевого хода, ± λ, мм

Коэффициент местного сопротивления ξ

Жесткость осевого хода, Сλ, кгс/см

Эффективная площадь, Sэф, см2

D

s

D1

D2

L

l1

l2

СКУ.ППМ.1-16-125-90

1,6 (16)

125

133

4

257

325

1220

150

120

45

0,220

244

190

СКУ.ППМ.1-16-150-100

150

159

4,5

257

325

1230

50

0,200

218

279

СКУ.ППМ.1-16-200-140

200

219

6

309

377

1410

130

70

0,115

291

452

СКУ.ППМ.1-16-250-160

250

273

7

359

426

1650

210

140

80

0,103

350

680

СКУ.ППМ.1-16-300-180

300

325

412

480

1680

90

0,087

321

960

СКУ.ППМ.1-16-400-190

400

426

517

580

1720

150

95

0,113

579

1575

СКУ.ППМ.1-16-500-200

500

530

8

616

720

1750

100

0,093

608

2444

СКУ.ППМ.1-16-600-200

600

630

750

820

1780

0,080

613

3419

СКУ.ППМ.1-16-700-210

700

720

860

920

1810

160

105

0,060

698

4363

СКУ.ППМ.1-16-800-210

800

820

960

1020

1820

0,057

637

5745

СКУ.ППМ.1-16-900-210

900

920

10

1060

1120

1830

0,045

706

7182

СКУ.ППМ.1-16-1000-220

1000

1020

1160

1220

1850

110

0,040

872

8638

Сильфонные компенсационные устройства типа ППМ

Продолжение таблицы 21

Условное обозначение СКУ

Условное давление, Ру, МПа (кгс/см2)

Условный диаметр, Dу, мм

Размеры, мм

Амплитуда осевого хода, ± λ, мм

Коэффициент местного сопротивления ξ

Жесткость осевого хода, Сλ, кгс/см

Эффективная площадь, Sэф, см2

D

s

D1

D2

L

l1

l2

СКУ.ППМ.1-25-50-70

2,5 (25)

50

57

3,5

150

219

1180

150

120

35

0,350

322

68

СКУ.ППМ.1-25-65-70

65

76

150

219

1180

35

0,350

322

68

СКУ.ППМ.1-25-80-70

80

89

180

273

1200

35

0,300

296

89

СКУ.ППМ.1-25-100-80

100

108

4

205

273

1210

40

0,260

259

133

СКУ.ППМ.1-25-125-90

125

133

257

325

1220

45

0,220

366

190

СКУ.ППМ.1-25-150-100

150

159

4,5

257

325

1230

50

0,200

326

279

СКУ.ППМ.1-25-200-140

200

219

6

309

377

1410

130

70

0,115

387

452

СКУ.ППМ.1-25-250-160

250

273

7

359

426

1650

210

140

80

0,103

350

680

СКУ.ППМ.1-25-300-180

300

325

412

480

1680

90

0,087

401

960

СКУ.ППМ.1-25-400-190

400

426

517

580

1720

150

95

0,113

723

1575

СКУ.ППМ.1-25-500-200

500

530

8

616

720

1750

100

0,093

743

2444

СКУ.ППМ.1-25-600-200

600

630

750

820

1780

0,080

736

3419

СКУ.ППМ.1-25-700-210

700

720

860

920

1810

160

105

0,060

889

4363

СКУ.ППМ.1-25-800-210

800

820

960

1020

1820

0,057

811

5745

СКУ.ППМ.1-25-900-210

900

920

10

1060

1120

1830

0,045

1028

7182

СКУ.ППМ.1-25-1000-220

1000

1020

1160

1220

1850

110

0,040

1045

8638

Сильфонные компенсационные устройства типа ППМ

Продолжение таблицы 21

Условное обозначение СКУ

Условное давление, Ру, МПа (кгс/см2)

Условный диаметр, Dу, мм

Размеры, мм

Амплитуда осевого хода, ± λ, мм

Коэффициент местного сопротивления ξ

Жесткость осевого хода, Сλ, кгс/см

Эффективная площадь, Sэф, см2

D

s

D1

D2

L

l1

l2

2СКУ.ППМ.1-16-125-180

1,6 (16)

125

133

4

257

325

1600

150

150

90

0,220

122

190

2СКУ.ППМ.1-16-150-200

150

159

4,5

257

325

1610

100

0,200

109

279

2СКУ.ППМ.1-16-200-280

200

219

6

309

377

1820

210

140

0,115

146

452

2СКУ.ППМ.1-16-250-320

250

273

7

359

426

2020

210

215

160

0,103

175

680

2СКУ.ППМ.1-16-300-360

300

325

412

480

2130

220

180

0,087

161

960

2СКУ.ППМ.1-16-400-380

400

426

517

580

2220

225

190

0,113

290

1575

2СКУ.ППМ.1-16-500-400

500

530

8

616

720

2240

200

0,093

304

2444

2СКУ.ППМ.1-16-600-400

600

630

750

820

2280

0,080

307

3419

2СКУ.ППМ.1-16-700-420

700

720

860

920

2350

230

210

0,060

349

4363

2СКУ.ППМ.1-16-800-420

800

820

960

1020

2380

0,057

319

5745

2СКУ.ППМ.1-16-900-420

900

920

10

1060

1120

2390

0,045

353

7182

2СКУ.ППМ.1-16-1000-440

1000

1020

1160

1220

2410

220

0,040

436

8638

Сильфонные компенсационные устройства типа ППМ

Продолжение таблицы 21

Условное обозначение СКУ

Условное давление, Ру, МПа (кгс/см2)

Условный диаметр, Dу, мм

Размеры, мм

Амплитуда осевого хода, ± λ, мм

Коэффициент местного сопротивления ξ

Жесткость осевого хода, Сλ, кгс/см

Эффективная площадь, Sэф, см2

D

s

D1

D2

L

l1

l2

2СКУ.ППМ.1-25-50-140

2,5 (25)

50

57

3,5

150

219

1560

150

145

70

0,350

161

68

2СКУ.ППМ.1-25-65-140

65

76

150

219

70

0,350

161

68

2СКУ.ППМ.1-25-80-140

80

89

180

273

1570

70

0,300

148

89

2СКУ.ППМ.1-25-100-160

100

108

4

205

273

1580

80

0,260

130

133

2СКУ.ППМ.1-25-125-180

125

133

257

325

1600

150

90

0,220

183

190

2СКУ.ППМ.1-25-150-200

150

159

4,5

257

325

1610

100

0,200

163

279

2СКУ.ППМ.1-25-200-280

200

219

6

309

377

1820

210

140

0,115

194

452

2СКУ.ППМ.1-25-250-320

250

273

7

359

426

2020

210

215

160

0,103

175

680

2СКУ.ППМ.1-25-300-360

300

325

412

480

2130

220

180

0,087

201

960

2СКУ.ППМ.1-25-400-380

400

426

517

580

2220

225

190

0,113

362

1575

2СКУ.ППМ.1-25-500-400

500

530

8

616

720

2240

200

0,093

372

2444

2СКУ.ППМ.1-25-600-400

600

630

750

820

2280

0,080

368

3419

2СКУ.ППМ.1-25-700-420

700

720

860

920

2350

230

210

0,060

445

4363

2СКУ.ППМ.1-25-800-420

800

820

960

1020

2380

0,057

406

5745

2СКУ.ППМ.1-25-900-420

900

920

10

1060

1120

2390

0,045

514

7182

2СКУ.ППМ.1-25-1000-440

1000

1020

1160

1220

2410

220

0,040

523

8638

Сильфонные компенсационные устройства типа М

Таблица 22

Условное обозначение СКУ

Условное давление, Ру, МПа (кгс/см2)

Условный диаметр, Dу, мм

Размеры, мм

Амплитуда осевого хода, ± λ, мм

Коэффициент местного сопротивления ξ

Жесткость осевого хода, Сλ, кгс/см

Эффективная площадь, Sэф, см2

Масса, кг

D

s

D1

L

l1

l2

СКУ.M.1-16-125-90

1,6 (16)

125

133

4

273

691

150

25

45

0,220

244

190

47

СКУ.M.1-16-150-100

150

159

4,5

707

30

50

0,200

218

279

55

СКУ.M.1-16-200-140

200

219

6

325

833

40

70

0,115

291

452

106

СКУ.M.1-16-250-160

250

273

7

426

862

45

80

0,103

350

680

193

СКУ.M.1-16-300-180

300

325

530

891

50

90

0,087

321

960

214

СКУ.M.1-16-350-180

350

377

900

0,129

400

1269

202

СКУ.M.1-16-400-190

400

426

630

958

55

95

0,113

579

1575

265

СКУ.M.1-16-500-200

500

530

8

720

1009

100

0,093

608

2444

362

СКУ.M.1-16-600-200

600

630

820

1005

0,080

613

3419

434

СКУ.M.1-16-700-210

700

720

920

1028

60

105

0,060

698

4363

542

СКУ.M.1-16-800-210

800

820

1020

1056

0,057

637

5745

620

СКУ.M.1-16-900-210

900

920

10

1120

1054

0,045

706

7182

733

СКУ.M.1-16-1000-220

1000

1020

1220

1086

110

0,040

872

8638

971

СКУ.M.1-16-1200-220

1200

1220

14

1420

1092

1044

12246

1410

СКУ.M.1-16-1400-220

1400

1420

1620

1098

1295

16600

1820

Сильфонные компенсационные устройства типа М

Продолжение таблицы 22

Условное обозначение СКУ

Условное давление, Ру, МПа (кгс/см2)

Условный диаметр, Dу, мм

Размеры, мм

Амплитуда осевого хода, ± λ, мм

Коэффициент местного сопротивления ξ

Жесткость осевого хода, Сλ, кгс/см

Эффективная площадь, Sэф, см2

Масса, кг

D

s

D1

L

l1

l2

СКУ.М.1-25-50-70

2,5 (25)

50

57

3,5

159

589

120

20

35

0,350

322

68

21

СКУ.М.1-25-65-70

65

76

589

22

СКУ.М.1-25-80-70

80

89

219

599

0,300

296

89

25

СКУ.М.1-25-100-80

100

108

4

680

150

25

40

0,260

259

133

35

СКУ.М.1-25-125-90

125

133

273

692

30

45

0,220

366

190

48

СКУ.М.1-25-150-100

150

159

4,5

716

40

50

0,200

326

279

54

СКУ.М.1-25-200-140

200

219

6

325

842

45

70

0,115

387

452

95

СКУ.М.1-25-250-160

250

273

7

426

871

50

80

0,103

350

680

162

СКУ.М.1-25-300-180

300

325

530

892

90

0,087

401

960

215

СКУ.М.1-25-350-180

350

377

918

55

0,129

560

1269

219

СКУ.М.1-25-400-190

400

426

630

968

95

0,113

723

1575

258

СКУ.М.1-25-500-200

500

530

8

720

1002

100

0,093

743

2444

376

СКУ.М.1-25-600-200

600

630

820

1023

0,080

736

3419

474

СКУ.М.1-25-700-210

700

720

920

1044

60

105

0,060

889

4363

551

СКУ.М.1-25-800-210

800

820

1020

1073

0,057

811

5745

662

СКУ.М.1-25-900-210

900

920

10

1120

1069

0,045

1028

7182

803

СКУ.М.1-25-1000-220

1000

1020

1220

1102

110

0,040

1045

8638

989

СКУ.М.1-25-1200-220

1200

1220

14

1420

1110

1251

12246

1417

СКУ.М.1-25-1400-220

1400

1420

1620

1118

1616

16600

1836

Сильфонные компенсационные устройства типа М

Продолжение таблицы 22

Условное обозначение СКУ

Условное давление, Ру, МПа (кгс/см2)

Условный диаметр, Dу, мм

Размеры, мм

Амплитуда осевого хода, ± λ, мм

Коэффициент местного сопротивления ξ

Жесткость осевого хода, Сλ, кгс/см

Эффективная площадь, Sэф, см2

Масса, кг

D

s

D1

L

l1

l2

2СКУ.М.1-16-125-180

1,6 (16)

125

133

4

273

1062

150

50

90

0,220

122

190

73

2СКУ.М.1-16-150-200

150

159

4,5

1084

55

100

0,200

109

279

85

2СКУ.М.1-16-200-280

200

219

6

325

1326

75

140

0,115

146

452

162

2СКУ.М.1-16-250-320

250

273

7

426

1384

85

160

0,103

175

680

294

2СКУ.М.1-16-300-360

300

325

530

1492

175

95

180

0,087

161

960

353

2СКУ.М.1-16-350-360

350

377

1510

0,129

200

1269

337

2СКУ.М.1-16-400-380

400

426

630

1616

100

190

0,113

140

1575

448

2СКУ.М.1-16-500-400

500

530

8

720

1694

105

200

0,093

304

2444

619

2СКУ.М.1-16-600-400

600

630

820

1720

0,080

307

3419

747

2СКУ.М.1-16-700-420

700

720

920

1806

200

110

210

0,060

349

4363

938

2СКУ.М.1-16-800-420

800

820

1020

1862

0,057

318

5745

1085

2СКУ.М.1-16-900-420

900

920

10

1120

1848

0,045

353

7182

1283

2СКУ.М.1-16-1000-440

1000

1020

1220

1922

115

220

0,040

436

8638

1690

2СКУ.М.1-16-1200-440

1200

1220

14

1420

1978

0,040

522

12246

2110

Сильфонные компенсационные устройства типа М

Продолжение таблицы 22

Условное обозначение СКУ

Условное давление, Ру, МПа (кгс/см2)

Условный диаметр, Dу, мм

Размеры, мм

Амплитуда осевого хода, ± λ, мм

Коэффициент местного сопротивления ξ

Жесткость осевого хода, Сλ, кгс/см

Эффективная площадь, Sэф, см2

Масса, кг

D

s

D1

L

l1

l2

2СКУ.М.1-25-50-140

2,5 (25)

50

57

3,5

159

918

120

40

70

0,350

161

68

36

2СКУ.М.1-25-65-140

65

76

918

36

2СКУ.М.1-25-80-140

80

89

219

938

0,300

148

89

40

2СКУ.М.1-25-100-160

100

108

4

1030

150

45

80

0,260

130

133

56

2СКУ.М.1-25-125-180

125

133

273

1064

50

90

0,220

183

190

75

2СКУ.М.1-25-150-200

150

159

4,5

1102

55

100

0,200

163

279

87

2СКУ.М.1-25-200-280

200

219

6

325

1344

175

75

140

0,115

194

452

165

2СКУ.М.1-25-250-320

250

273

7

426

1402

85

160

0,103

175

680

298

2СКУ.М.1-25-300-360

300

325

530

1496

95

180

0,087

201

960

330

2СКУ.М.1-25-350-360

350

377

1546

0,129

280

1269

350

2СКУ.М.1-25-400-380

400

426

630

1636

100

190

0,113

362

1575

561

2СКУ.М.1-25-500-400

500

530

8

720

1714

105

200

0,093

372

2444

650

2СКУ.М.1-25-600-400

600

630

820

1756

200

0,080

368

3419

790

2СКУ.М.1-25-700-420

700

720

920

1838

110

210

0,060

445

4363

1071

2СКУ.М.1-25-800-420

800

820

1020

1896

0,057

406

5745

1172

2СКУ.М.1-25-900-420

900

920

10

1120

1878

0,045

514

7182

1340

2СКУ.М.1-25-1000-440

1000

1020

1220

1954

115

220

0,040

523

8638

1780

2СКУ.М.1-25-1200-440

1200

1220

14

1420

2010

0,040

626

12246

2221

Сильфонные компенсационные устройства типа АПБ исполнения II

Таблица 23

Условное обозначение СКУ

Условное давление, Ру, МПа (кгс/см2)

Условный диаметр, Dу, мм

Размеры, мм

Амплитуда осевого хода, ± λ, мм

Коэффициент местного сопротивления ξ

Жесткость осевого хода, Сλ, кгс/см

Эффективная площадь, Sэф, см2

Масса, кг

D

s

D1

D2

L

l1

l2

СКУ.АПБ.II-16-100-80

1,6 (16)

100

108

4

219

161

1158

150

150

40

0,260

259

133

46

СКУ.АПБ.II-16-125-90

125

133

161

1169

45

0,220

244

190

50

СКУ.АПБ.II-16-150-100

150

159

4,5

273

215

1175

50

0,200

218

279

72

СКУ.АПБ.II-16-200-140

200

219

6

325

261

1541

200

70

0,115

291

452

130

СКУ.АПБ.II-16-250-160

250

273

7

377

313

1560

240

80

0,103

350

680

165

СКУ.АПБ.II-16-300-180

300

325

426

362

1579

90

0,087

321

960

204

СКУ.АПБ.II-16-350-180

350

377

530

464

1608

0,129

400

1269

274

СКУ.АПБ.II-16-400-190

400

426

464

1636

250

95

0,113

579

1575

288

СКУ.АПБ.II-16-500-200

500

530

8

630

564

1650

100

0,093

608

2444

364

СКУ.АПБ.II-16-600-200

600

630

820

756

1663

0,080

613

3419

513

СКУ.АПБ.II-16-700-210

700

720

920

850

1662

105

0,060

698

4363

671

СКУ.АПБ.II-16-800-210

800

820

1020

950

1754

0,057

637

5745

765

СКУ.АПБ.II-16-900-210

900

920

10

1220

1050

1732

0,045

706

7182

967

СКУ.АПБ.II-16-1000-220

1000

1020

1146

1754

110

0,040

872

8638

1099

СКУ.АПБ.II-16-1200-220

1200

1220

12

1420

1346

0,040

1044

16600

1473

Стартовые сильфонные компенсаторы

Таблица 24

Условное обозначение СКУ

Условное давление, Ру, МПа (кгс/см2)

Условный диаметр, Dу, мм

Размеры, мм

Осевой ход, (сжатие), λ, мм

Осевое усилие, кгс

Жесткость осевого хода, Сλ, кгс/см

Эффективная площадь, Sэф, см2

Масса, кг

Dтр

S

Dнар

L

Катет сварного шва, мм

ССК-25-80-80

2,5 (25)

80

89

5

132

350

11

80

11184

29,0

64

9

ССК-25-100-110

100

108

147

400

110

16965

24,2

84

10

ССК-25-125-110

125

133

170

450

20892

21,2

123

12,5

ССК-25-150-110

150

159

6

202

550

12

29971

20,8

181

26,4

ССК-25-200-140

200

219

7

265

14

140

41281

66,6

365

36,5

ССК-25-250-140

250

273

8

345

16

60036

44,8

649

63,6

ССК-25-300-140

300

325

404

17

71471

42,8

919

96

ССК-25-350-140

350

377

480

82907

60,0

1282

110

ССК-25-400-140

400

426

500

93682

109,2

1452

112

ССК-25-500-170

500

530

9

627

650

18

170

133204

125,9

2411

200

ССК-25-600-170

600

630

735

158336

127,7

3390

250

ССК-25-700-170

700

720

10

830

20

180956

88,6

4377

335

ССК-25-800-170

800

820

930

206088

139,4

5688

380

ССК-25-900-170

900

920

11

1040

22

289027

151,3

7111

450

ССК-25-1000-170

1000

1020

1135

352487

235,1

8725

512

 


Приложение 3

Значения амплитуды осевого хода односильфонных компенсаторов

Таблица 1

Условный диаметр, DN, мм

Амплитуда осевого хода, ± λ-1, мм при наработке N, циклов

Коэффициент местного сопротивления, ξ

Эффективная площадь, Sэф, см2

Режим 1

Режим 2

Режим 3

N = 1000

N = 50 (100 % режим)

N = 5000 (30 % режим)

N = 10 (100 % режим)

N = 150 (70 % режим)

N = 10000 (20 % режим)

50

20

35

10,5

35

24,5

7

0,350

68

65

80

0,300

89

100

25

40

12

40

28

8

0,260

133

125

28

45

13,5

45

31,5

9

0,220

190

150

35

50

15

50

35

10

0,200

279

200

45

70

21

70

49

14

0,115

452

250

50

80

24

80

56

16

0,103

680

300

60

90

27

90

63

18

0,087

960

350

65

0,129

1269

400

70

95

28,5

95

66,5

19

0,113

1575

500

85

100

30

100

70

20

0,093

2444

600

90

0,080

3419

700

95

105

31,5

105

73,5

21

0,060

4363

800

0,057

5745

900

0,045

7182

1000

110

33

110

77

22

0,040

8638

1200

0,040

12246

1400

0,040

16600

Значения амплитуды осевого хода односильфонных компенсаторов с повышенным ресурсом по назначенной наработке (типа ОПНР, ОПГР, ОПКР, ОПМР)

Таблица 2

Условный диаметр, DN, мм

Амплитуда осевого хода, ± λ-1, мм при наработке N, циклов

Режим 2

Режим 3

N = 50 (100 % режим)

N = 5000 (30 % режим)

N = 10 (100 % режим)

N = 150 (70 % режим)

N = 10000 (20 % режим)

50

40

12

40

28

8

65

40

12

40

28

8

80

45

13,5

45

31,5

9

100

60

18

60

42

12

125

65

19,5

65

45,5

13

150

75

22,5

75

52,5

15

200

80

24

80

56

16

250

90

27

90

63

18

300

95

28,5

95

66,5

19

350

95

28,5

95

66,5

19

400

100

30

100

70

20

500

105

31,5

105

73,5

21

600

110

33

110

77

22

700

110

33

110

77

22

800

120

36

120

84

24

900

130

39

130

91

26

1000

130

39

130

91

26

1200

130

39

130

91

26

1400

130

39

130

91

26

Режимы 2 и 3 табл. 1 и 2 рассчитаны для эксплуатации компенсаторов, как правило, на трубопроводах тепловых сетей.

У двухсильфонных компенсаторов значения амплитуды осевого хода, λ-1, на всех режимах вдвое больше.

Приложение 4

Расчетные формулы для определения суммарных горизонтальных нормативных нагрузок неподвижные опоры труб (Рг.о, Рг.б)

Схема расчетного участка трубопровода

Расчетные формулы

1

2

Dу1 > Dу2

Рг.о = 1,3Рж1 - 0,7Рж2 + (Рр1 - Рр2)

Dу1 = Dу2

Рг.о = 0,6 Рж

Рг.о = 1,3Рж1 + Рр1

Рг.о = 1,3Рж2 + Рр2

Dу1 > Dу2

Рг.о = (1,3Рж1 + Ртр1) - 0,7(Рж2 + Ртр2) + (Рр1 - Рр2)

Рг.о = (1,3Рж1 + Ртр2) - 0,7(Рж2 + Ртр1) + (Рр1 - Рр2)

Dу1 = Dу2

Рг.о = 0,6Рж + 0,3Ртр

L1 = L2

Рг.о = 1,3Рж1 + Рр1 + Ртр1

Рг.о = 1,3Рж2 + Рр2 + Ртр2

Dу1 > Dу2

Рг.о = (1,3Рж1 + Ртр1) - 0,7Рж2 + (Рр1 - Рр2)

Dу1 = Dу2

Рг.о = 0,6Рж + Ртр

Рг.о = 1,3Рж1 + Ртр1 + Рр1

Рг.о = 1,3Рж2 + Рр2

Рг.о = 1,3Рж1 + Ррв + Ртрс

Рг.о = 1,3Рж1 + Рр1

Рг.о = Ртрс + Рвд

Рг.о = 1,3Рж1 + Ррв + Ртр2 + Ртрс

Рг.о = 1,3Рж1 + Рр1

Рг.о = Рвд + Ртр2 + Ртрс

Рг.о = 1,3Рж1 + Ррв + Ртр1 + Ртрс

Рг.о = 1,3Рж1 + Ррв + Ртр1 - 0,7(Ртр2 + Ртрс)

Рг.о = 1,3Рж1 + Ррв + Ртр1 - 0,7Ртр1 + Ртрс

Рг.о = 1,3Рж1 + Рр1 + Ртр1

Рг.о = Рвд + Ртр2 + Ртрс

Рг.б = 1,3Рж + Рр

Рг.б = 1,3Рж1 + Рр + Ртр2

Рг.о = 1,3Рж1 + Ртр2 + Рр1 - 0,7Рх

Рг.о = Рр1 + Ртр2 - 0,7(1,3Рж1)

Рг.б = Ру

Рг.о = Рр1 + 1,3Рж1 - 0,7Рр2

Рг.о = 1,3Рж1 + Ртр1 + Рр1 - 0,7(Ртр2 + Рх)

Рг.о = 1,3Рж1 + Ртр2 + Рр1 - 0,7(Ртр1 + Рх)

Рг.б = Ру

Рг.о = 1,3Рж1 + Рр1

Рг.о = Ртр2 + Рх

Рг.б = Ру

Рг.о = 1,3Рж1 + Рр1

Рг.о = Ртр2 + Рх

Рг.б = Ру

При нескольких расчетных формулах для одной схемы в качестве нагрузки принимают большую.

Типичные направляющие, применяемые в установках с осевыми компенсаторами

Описание: Untitled-2 copy

Полосовые направляющие с валиками и без них

Описание: Untitled-1 copy 

Тяжелонагруженная направляющая рамочного типа

Трубообразные направляющие с дистанционными вкладышами и без них

 



© 2013 Ёшкин Кот :-)