Информационная система
«Ёшкин Кот»

XXXecatmenu

ОДМ 218.2.003-2009

ОТРАСЛЕВОЙ ДОРОЖНЫЙ МЕТОДИЧЕСКИЙ ДОКУМЕНТ

Утверждены

распоряжением Росавтодора

от 25.11.2009 № 493-р

МЕТОДИЧЕСКИЕ РЕКОМЕНДАЦИИ
ПО СПЕЦИАЛИЗИРОВАННОМУ ПРОГНОЗУ
СОСТОЯНИЯ ДОРОЖНОГО ПОКРЫТИЯ

ФЕДЕРАЛЬНОЕ ДОРОЖНОЕ АГЕНТСТВО
(РОСАВТОДОР)

Москва 2010

ПРЕДИСЛОВИЕ

Цели и принципы стандартизации Российской Федерации установлены Федеральным законом от 27 декабря 2002 г. № 184-ФЗ «О техническом регулировании», а правила применения стандартов организации Российской Федерации - ГОСТ Р 1.0-2004 «Стандартизация в Российской Федерации. Основные положения».

1 РАЗРАБОТАН: Федеральным государственным унитарным предприятием «Российский дорожный научно-исследовательский институт» (ФГУП «РОСДОРНИИ»), ЗАО «Минимакс-94», Воронежским государственным архитектурно-строительным университетом (ВГАСУ) с учетом замечаний и предложений Федеральной службы по гидрометеорологии и мониторингу окружающей среды (Росгидромет), ФГУ ФУАД «Центральная Россия», ФГУ «Управление автомобильной магистрали Москва-Минск».

2 СОГЛАСОВАН: Федеральной службой по гидрометеорологии и мониторингу окружающей среды.

3 ВНЕСЕН: Управлением эксплуатации и сохранности автомобильных дорог Федерального дорожного агентства.

4 ИЗДАН: на основании распоряжения Федерального дорожного агентства от «25» ноября 2009 г. № 493-р.

5 ИМЕЕТ РЕКОМЕНДАТЕЛЬНЫЙ ХАРАКТЕР.

6 ВВЕДЕН ВПЕРВЫЕ.

СОДЕРЖАНИЕ

Раздел 1. Область применения. 2

Раздел 2. Нормативные ссылки. 2

Раздел 3. Термины и определения. 3

Раздел 4. Виды зимней скользкости, условия их образования. 4

Раздел 5. Рекомендации но сбору метеорологической информации с помощью пунктов дорожного метеоконтроля. 7

Раздел 6. Специализированная метеорологическая информация и прогноз состояния поверхности дорожного покрытия. 11

Раздел 7. Оценка и прогнозирование состояния дорожного покрытия на основе информации, получаемой с пунктов дорожного метеоконтроля, и специализированной метеорологической информации. 12

Приложение А. Обозначения и сокращения. 16

Приложение Б. Технические характеристики метеостанций. 17

Приложение В. Прогноз времени выпадения осадков на поверхность дорожного покрытия по данным метеолокатора. 20

Приложение Г. Алгоритмы методов прогнозирования и математических моделей. 22

Раздел 1. Область применения

Отраслевой дорожный методический документ ОДМ «Методические рекомендации по специализированному прогнозу состояния дорожного покрытия» (далее - методический документ) разработан в развитие подпрограммы «Автомобильные дороги» ФЦП «Развитие транспортной системы России (2010 - 2015 годы)» в части метеорологического обеспечения в соответствии с «Концепцией метеорологического обеспечения дорожного хозяйства Российской Федерации», законодательными и нормативными документами, действующими в дорожном хозяйстве и системе Росгидромета, и носит рекомендательный характер.

Настоящий методический документ разъясняет и определяет принципы составления прогнозов состояния дорожного покрытия в зависимости от метеорологических условий. Содержит рекомендации по сбору, обработке и хранению специализированных прогнозов состояния поверхности дорожного покрытия и специализированных прогнозов Росгидромета.

Раздел 2. Нормативные ссылки

В настоящем методическом документе использованы ссылки на следующие документы:

а) Федеральный Закон от 19.07.98 № 113-ФЗ «О гидрометеорологической службе»;

б) ФЦП «Развитие транспортной системы России (2010 - 2015 годы)»;

в) Программа создания системы метеообеспечения на сети федеральных автомобильных дорог. Росавтодор, 2005;

г) Наставление по краткосрочным прогнозам погоды общего назначения. РД 52.88.629-2002;

д) Наставление по метеорологическому обеспечению гражданской авиации России. НМО ГА 95;

е) Положение об информационных ресурсах, о состоянии окружающей среды, ее загрязнении Федеральной службы по гидрометеорологии и мониторингу окружающей среды. РД 52.19.698-2008;

ж) ОДМ «Методические рекомендации по специализированному гидрометеорологическому обеспечению дорожного хозяйства»;

и) Руководство по борьбе с зимней скользкостью на автомобильных дорогах. ОДМ 218.3.023-2003. Росавтодор, 2003;

к) Руководство по краткосрочным прогнозам погоды, часть 1, Гидрометеоиздат, 1986.

л) Справочная Энциклопедия Дорожника. II том. Ремонт и содержание автомобильных дорог. Росавтодор, 2004.

Раздел 3. Термины и определения

В настоящем методическом документе применены следующие термины и определения:

Автомобильная дорога - объект транспортной инфраструктуры, предназначенный для движения транспортных средств и включающий в себя земельные участки в границах полосы отвода автомобильной дороги и расположенные на них или под ними конструктивные элементы (дорожное полотно, дорожное покрытие и подобные элементы) и дорожные сооружения, являющиеся ее технологической частью, - защитные дорожные сооружения, искусственные дорожные сооружения, производственные объекты, элементы обустройства автомобильных дорог.

Гололед - вид зимней скользкости, образующийся при выпадении осадков в виде дождя, мороси, тающего снега на дорожное покрытие, имеющее отрицательную температуру.

Гололедица - вид зимней скользкости, образующийся при замерзании влаги, имеющейся на дорожном покрытии, при резком понижении температуры воздуха.

Зимняя скользкость - снежные отложения и ледяные образования на поверхности дорожного покрытия, приводящие к снижению коэффициента сцепления колеса автомобиля с поверхностью покрытия.

Краткосрочный прогноз погоды - прогноз метеорологических параметров на период от 12 до 72 ч.

Неблагоприятные метеорологические явления (далее - НЯ) - атмосферные явления, которые влияют на условия движения транспорта, но по своим количественным значениям не достигают критериев опасных метеорологических явлений, при наступлении которых необходимо принимать специальные меры для обеспечения безопасности движения и требуемого уровня содержания автомобильных дорог.

Опасные метеорологические явления (далее - ОЯ) - метеорологические или геофизические явления, которые по интенсивности развития, продолжительности и моменту возникновения представляют угрозу движению автомобильного транспорта, возникновения ДТП, снижения скорости движения и могут нанести значительный материальный ущерб.

Относительная влажность - отношение массовой доли температуре.

Период действия прогноза (срок прогноза) - промежуток времени, на который даётся прогноз погоды.

Погода - состояние атмосферы в конкретном месте в определенный момент или за ограниченный промежуток времени (сутки, месяц, год). Погода характеризуется метеорологическими элементами: давлением, температурой, влажностью воздуха, снегом, направлением ветра, атмосферными осадками, дальностью видимости, наличием туманов, метелей и другими атмосферными явлениями.

Прогностическая информация или прогнозы погоды - научно обоснованное суждение о предстоящих изменениях погодных условий.

Прогноз погоды общего назначения - фактическое и прогнозируемое состояние погоды, полученное в результате обработки сведений в установленном порядке, и представляемый пользователям (потребителям) бесплатно.

Прогноз состояния поверхности дорожного полотна (гидрометеорологический) - обоснованное предположение о будущем состоянии поверхности дорожного покрытия. Состояние поверхности дорожного полотна (гидрометеорологическое) характеризуется следующими элементами: температурой поверхности дорожного полотна, наличием влаги или твердых отложений на поверхности дорожного полотна.

Прогноз текущей погоды - описание текущей погоды и прогноз метеорологических параметров на период от 0 до 2 ч.

Пункт дорожного метеорологического контроля - стационарный пункт, оборудованный автоматической дорожной метеорологической станцией.

Расчетный коэффициент сцепления (трения) - величина отношения силы трения между шиной колеса и поверхностью дороги к силе давления шины колеса на поверхность дороги при ускорении (торможении) автомобиля в зависимости от нормированной скорости скольжения колеса.

Росгидромет - Федеральная служба по гидрометеорологии и мониторингу окружающей среды.

Сверхкраткосрочный прогноз погоды - прогноз метеорологических параметров на период до 6 ч.

Система специализированного метеорологического обеспечения дорожного хозяйства - информационная система, включающая технические средства и технологии по сбору, обработке, передаче и хранению метеорологической информации, необходимой для производственной деятельности предприятий дорожного хозяйства.

Снежный накат представляет собой слой снега, уплотненного колесами автомобильного транспорта при определенных метеорологических условиях.

Специализированные прогнозы погоды прогнозы, которые разрабатываются в прогностических подразделениях Росгидромета или других организациях по заказу пользователя (потребителя) за счет его средств.

Стекловидный лед появляется на покрытии в виде гладкой стекловидной пленки толщиной 1 - 3 мм при различных погодных условиях.

Термокартирование - методика создания климатической карты дороги, позволяющей расчетным путем определять значения температур поверхности любого участка автомобильной дороги по данным ее измерения в месте установки АДМС.

«Черный лед» - вид зимней скользкости, возникающий на сухой поверхности автомобильной дороги в виде пленки за счет сублимации водяного пара из воздуха при температуре поверхности автодороги ниже 0 °С и ниже температуры точки росы.

Раздел 4. Виды зимней скользкости, условия их образования

Все виды снежно-ледяных отложений на поверхности автомобильной дороги приводят к возникновению зимней скользкости, снижению коэффициента сцепления колеса автомобиля с покрытием дороги и увеличению риска возникновения ДТП.

Виды зимней скользкости различаются по внешним признакам и по физическим свойствам. Принятая классификация позволяет определять каждый вид зимней скользкости визуально и ориентирована на существующие технологии дорожных работ по её ликвидации.

На образование зимней скользкости на дорожном покрытии влияют:

• метеорологические факторы (температура и влажность воздуха, осадки, их вид, количество и интенсивность их выпадения);

• геофизические и ландшафтные факторы (географическая высота, наличие растительности, водоемов и т.д.), определяющие температурный режим поверхности дорожного полотна и условия накопления влаги, переноса и накопления снега.

Для детального учета погодных и дорожных условий все многообразие зимней скользкости на дорожном покрытии можно разделить на следующие основные виды: гололедица, «черный лед», гололед, снежный накат. Классификация и условия образования различных видов зимней скользкости приведены в таблице 1.

а) Гололедица образуется при замерзании влаги в результате похолодания. Источниками увлажнения покрытия могут быть: дождь, тающий снег, снег с дождем. Все эти виды осадков выпадают при положительных, близких к нулю температурах воздуха. При понижении температуры покрытия дороги ниже 0 °С влага на покрытии замерзает. Процессу образования гололедицы в данных условиях предшествуют:

• повышение атмосферного давления на фоне выпадающих осадков;

• установление ясной безоблачной погоды после прекращения выпадения осадков;

• одновременное уменьшение относительной влажности воздуха и понижение температуры воздуха от положительных значений до отрицательных;

• понижение температуры воздуха от положительных значений до отрицательных.

Образование гололедицы наиболее вероятно при температурах воздуха от минус 2 до минус 6 °С, относительной влажности воздуха от 65 до 85 %.

б) «Чёрный лёд» - вид скользкости, образованию которой предшествуют и сопутствуют следующие условия:

• высокая относительная влажность воздуха;

• температура покрытия ниже нуля и ниже точки росы;

• ясная морозная погода (полное отсутствие облачности);

• отсутствие ветра.

В результате радиационного выхолаживания дорожного покрытия до температур ниже 0 °С и ниже температуры точки росы водяной пар из воздуха сублимируется, т.е. переходит из газообразного состояния в лед, минуя жидкую фазу воды, на поверхности дорожного покрытия и превращается в очень тонкий и прозрачный слой льда (практически невидимый из кабины транспортного средства).

Таблица 1

Классификация различных видов зимней скользкости дорожных покрытий и условия их образования

Вид зимней скользкости

Условия образования

Температура воздуха

Температура покрытия

Осадки, их вид

Состояние покрытия

Дополнительные условия

Гололедица

Ниже 0 °С

Ниже 0 °С

Любые, выпадающие при температуре воздуха выше -3 °С

Мокрое

Выпадение осадков предшествует образованию скользкости

Выше 0 °С

Ниже 0 °С

Жидкие

-

-

От 0 °С до -5 °С

Ниже 0 °С

Мокрый снег

-

Количество осадков, зафиксированное метеостанцией (Q = 0 мм)

«Черный лед»

То же

Ниже 0 °С, ниже точки росы

Нет

Сухое

-

Гололед

Ниже 0 °С

Ниже 0 °С

Переохлажденные жидкие (дождь, морось)

Любое

-

Снежный накат

От 2 °С до 0 °С

-

Твердые (снег, мокрый снег)

-

-

От 0 °С до -6 °С

-

То же

-

Интенсивность снегопада не менее 0,6 мм/ч

От -6 °С до -10 °С

-

То же

-

Относительная влажность воздуха не менее 90 %

Образование этого вида скользкости возможно в ночное время при широком диапазоне изменения температуры воздуха и относительной влажности воздуха близкой к 100 %. В зимний период такое сочетание метеорологических условий наиболее вероятно в районах, расположенных вблизи водоемов, в горной местности, а также на мостах и путепроводах, которые обладают меньшей тепловой инерционностью, чем дорожное покрытие и имеют более низкую температуру покрытия при радиационном выхолаживании в ночное время.

в) Гололед образуется при выпадении переохлажденных осадков (дождя или мороси) на поверхность дороги, имеющую отрицательные значения температуры.

Процессу образования скользкости предшествуют следующие метеорологические условия:

• устойчивое падение атмосферного давления в течение суток;

• возможность выпадения жидких осадков;

• устойчивый рост относительной влажности и температуры воздуха.

Образование скользкости наиболее вероятно при температурах воздуха от +2 до минус 5,2 °С и относительной влажности воздуха выше 90 %.

г) Снежный накат образуется при наличии снега (при снегопадах или метелях) и уплотнении его на дорожном покрытии. Снежный накат образуется при следующих метеорологических условиях:

• выпадении снега при температуре воздуха от 0 до минус 6 °С (в этом диапазоне температур снег имеет повышенную влажность и легко уплотняется);

• выпадении снега при температуре воздуха от минус 6 до минус 10 °С и относительной влажности воздуха выше 90 %, когда снег имеет достаточную влажность для уплотнения;

• выпадении снега при температуре воздуха от +2 до 0 °С и высокой интенсивности снегопада (более 0,6 мм/ч в пересчете на воду), при которых снег не успевает растаять на дорожном покрытии и легко уплотняется транспортными средствами.

д) При метеорологических условиях, отличных от вышеуказанных, на дорожном покрытии снег будет находиться в рыхлом состоянии. Образование рыхлого снега наиболее вероятно при температурах воздуха ниже минус 10 °С или при температурах воздуха от минус 6 до минус 10 °С и относительной влажности воздуха менее 90 %.

е) Метели приводят к снегонакоплению на дорожном покрытии, особенно на заносимых участках дороги (низких насыпях, нераскрытых выемках, участках дорог с ограждениями), что снижает скорость движения и уменьшает коэффициент сцепления колеса транспортного средства с дорожным покрытием.

ж) Для организации работ по борьбе с зимней скользкостью важно учитывать метеорологические условия, предшествующие образованию каждого вида скользкости и наблюдающиеся после ее образования, а также иметь прогноз температуры воздуха на ближайшие 3 - 4 ч.

Планирование работ по борьбе с зимней скользкостью рекомендуется осуществлять исходя из прогнозируемых погодных условий, определяющих состояние дорожного покрытия и условия дорожного движения (см. таблицу 2).

Таблица 2

Условия движения транспорта в зависимости от метеорологических условий и состояния дорожного покрытия

Параметры

Условия дорожного движения

Малоопасные (МО)

Опасные (О)

Особоопасные (ОО)

Состояние дорожного покрытия

1

2

3

4

Состояние дорожного покрытия

Мокрая поверхность дороги (слой воды менее 1 мм)

На дороге слой снега до 1 см.

Иней на местах слоем до 1 мм

Дорога полностью покрыта снегом слоем более 1 см. Дорога покрыта инеем или льдом более 1 мм

Дорога покрыта снегом слоем более 20 см. Образование скользкости в результате резкого перепада температуры. Образование стекловидного льда за счет замерзания осадков на всем протяжении дороги

Погодные условия

Осадки

Без осадков или небольшие осадки (возможны даже умеренные) дождь, снег или снег с дождем - 1 мм/ч воды (снега 1 см/ч)

Беспрерывный умеренный или сильный снег, снег с дождем от 1 до 3 мм/ч (снега 1 - 3 см/ч)

Местами ледяной дождь

Сильный снег или снег с дождем (интенсивность более 3 мм/ч, снега 3 см/ч). Сильный ледяной дождь на большей части территории

Метель (поземок)

Скорость перемещения снега по поверхности дороги менее 1 см/ч (немного легкого снега)

Скорость перемещения снега по поверхности дороги до 1 см/ч (метель наметает на дорогу сугробы)

Скорость перемещения снега по поверхности дороги больше 1 см/ч (метель постоянно наметает снег на дорогу и его не успевают убирать)

Метеорологическая дальность видимости (МДВ)

Неограниченная

МДВ на участках менее 150 м. Дальность видимости заметно ухудшена из-за тумана, метели, поземки на дороге

МДВ почти на всей дороге менее 45 м (густой туман, очень сильная метель)

Изменение температуры воздуха

Незначительные изменения

Интенсивное повышение или резкое понижение (замерзание), с градиентом 3 °С/час

Очень интенсивное повышение или резкое понижение (замерзание) температуры с градиентом более 3 °С/ч

Снежные лавины

Отсутствуют

Отсутствуют

Любой интенсивности

Скорость ветра

Более 6 м/с

Более 20 м/с

Более 25 м/с

Раздел 5. Рекомендации но сбору метеорологической информации с помощью пунктов дорожного метеоконтроля

а) Для получения оперативной информации о метеорологических условиях, необходимых для расчета прогноза состояния дорожного покрытия, используются пункты дорожного метеоконтроля, создаваемые на основе автоматических дорожных метеорологических станций (далее - АДМС) с набором датчиков, измеряющих метеорологические параметры и состояния поверхности дорожного покрытия.

б) Набор датчиков в составе АДМС определяется:

• необходимой оперативностью реагирования на изменение метеорологических условий и параметров состояния поверхности дорожного покрытия;

• требованиями математических моделей алгоритмов и методов, которые используются системой метеорологического обеспечения для расчета прогнозов параметров погоды;

• экономической целесообразностью применения датчиков определенного вида в месте установки АДМС.

АДМС рекомендуется укомплектовывать датчиками:

• температуры воздуха;

• относительной влажности воздуха;

• температуры поверхности дорожного покрытия;

• температуры под поверхностью дорожного покрытия на глубине 4 - 7 см;

• состояния поверхности дорожного покрытия.

Технические характеристики метеостанций различных  производителей приведены в приложении Б.

в) Размещение АДМС вдоль автомобильной дороги определяется исходя из следующих факторов:

• ландшафтными и климатическими особенностями района прохождения автомобильной дороги;

• особенностями термопрофиля (полученного расчетным путем по результатам термокартирования) автомобильной дороги на данном участке.

г) Расположение мачты АДМС относительно обочины автодороги, датчиков на мачте и датчиков состояния поверхности дорожного покрытия определяется математическими моделями, методами и алгоритмами, используемыми для расчетов параметров погоды и расчета прогноза состояния поверхности дорожного покрытия, необходимой точностью прогнозов этих параметров.

Мачта должна устанавливаться на расстоянии не более 6 м от обочины дороги.

Датчики, установленные на мачте, рекомендуется располагать следующим образом:

• датчик температуры и влажности воздуха на высоте от 2 до 4 м;

• датчик направления и скорости ветра на высоте от 5 до 6 м;

• датчик осадков на высоте от 5 до 6 м;

• датчик метеорологической дальности видимости на высоте от 4 до 6 м.

Датчик состояния поверхности дорожного покрытия (далее - ДВПД) устанавливается в верхний слой дорожного полотна таким образом, чтобы верхняя плоскость датчика дороги совпадала с поверхностью дорожного покрытия. Жидкие или твердые отложения, которые присутствуют на поверхности, должны попадать на поверхность датчика ДВПД, на которой расположены его чувствительные элементы.

Датчики температуры поверхности дорожного покрытия и температуры под его поверхностью могут быть совмещены с ДВПД или устанавливаться отдельно. Они размещаются на поверхности дорожного покрытия и на глубине от 4 до 7 см. Датчики должны иметь надежный тепловой контакт с материалом дорожного покрытия.

д) Расчет прогноза параметров погоды, температур дорожного покрытия и состояния дорожного покрытия производится по математическим моделям, алгоритмам и методам. Фактические и накопленные данные должны использоваться для расчета прогноза изменения метеопараметров в местах установки АДМС и на участках дороги между ними.

Математическая модель включает в себя следующую информацию:

• данные о термопрофиле дороги (по результатам термокартирования);

• топогеодезические данные дороги;

• ландшафтно-климатические данные.

Математическая модель должна обеспечивать:

• заблаговременный расчет параметров окружающей среды и параметров состояния поверхности дорожного покрытия.

е) На основании анализа фактических и расчетных метеорологических параметров и тенденций их изменения составляется прогноз об изменениях состояния дорожного покрытия.

Для получения прогноза высокой степени оправдываемости информация от пунктов дорожного метеоконтроля должна поступать периодически, с интервалом времени: в зимнее время интервал должен составлять 10 - 30 мин, в летнее время - до 3 ч.

Прогноз параметров окружающей среды вблизи АДМС рекомендуется обновлять после каждого цикла опроса и получения информации от АДМС.

Типичный вид представления информации от пунктов дорожного метеоконтроля после обработки данных и расчета прогноза по указанным параметрам окружающей среды представлен на рисунке 1.

Рисунок 1. Информация с пунктов дорожного метеоконтроля после обработки данных:

- пунктирная линия (1) на рисунке разделяет область текущих данных и область расчетных прогнозируемых данных; полоса «Д» (2) представляет информацию о неблагоприятных условиях на поверхности автомобильной дороги

Прогноз параметров окружающей среды должен предсказывать возможность появления скользкости на поверхности дорожного покрытия не менее чем за 3 ч до возникновения этого явления.

ж) Дорожные организации при подготовке метеоинформации используют следующее:

• информацию, получаемую от АДМС;

• информацию от патрульных машин ДЭП;

• информацию от Росгидромета;

• информацию от других организаций, имеющих лицензию Росгидромета, предоставляющих прогностическую информацию (общие прогнозы элементов погоды, снимки ИСЗ).

На основании полученных данных производится анализ изменения отдельных элементов погоды и тенденций их изменения на ближайшие 3 - 4 ч. Затем проводится совместный анализ полученной гидрометеорологической информации применительно к схеме автодороги, на которой выделены опасные места («холодные пятна», спуски и подъемы дороги, повороты и перекрестки, места концентрации ДТП).

На основании анализа параметров погоды и тенденций их изменения составляется заключение о возможности возникновения зимней скользкости на автомобильной дороге.

Информацию от дорожных метеорологических станций следует учитывать в качестве основной при подготовке прогноза и разработке плана мероприятий по зимнему содержанию автодороги.

и) Погодные условия оказывают влияние на условия движения транспортных средств и проведение работ по содержанию автодорог. Критерии степени влияния метеорологических факторов на условия движения и состояние дорожного покрытия приведены в таблицах 3 и 4.

Числовые значения метеорологических величин, приведенные в таблицах 3 и 4, даны для прямолинейного участка автомобильной дороги и могут корректироваться органами управления дорожного хозяйства на основе практического опыта и с учетом погодно-климатических особенностей районов прохождения обслуживаемых автомобильных дорог.

Перечень и критерии неблагоприятных, а также опасных метеорологических явлений для организаций дорожного хозяйства определяются в договоре о предоставлении гидрометеорологической информации между организацией, предоставляющей эту информацию, и дорожной организацией и зависят от климатических, метеорологических, ландшафтных особенностей района пролегания дороги.

к) При оценке времени выработки решения, подготовки и проведения работ по нейтрализации неблагоприятных погодных явлений в зоне ответственности дорожного подразделения, рекомендуется учитывать следующие составляющие:

кI) время получения информации:

• от ДИТС АСМО (автоматизированная система метеорологического обеспечения), пунктов дорожного метеоконтроля или отдельных АДМС;

• от патрульных машин и сотрудников дорожного подразделения, находящихся на дороге;

Таблица 3

Критерии степени влияния метеорологических факторов на условия движения

Наименование показателя

Характеристики и числовые значения показателя для метеорологических условий

Малоопасные (МО)

Опасные (О)

Особоопасные (ОО)

Условия движения

Близки к обычным

Равномерность движения заметно ухудшается. Скорость движения снижается до 30 %

Скорость движения снижается более чем на 30 %, возможны остановки транспортных средств

Возможные состояния дорожного покрытия

Чистое, мокрое покрытие (слой воды менее 1 мм).

Слой снега на покрытии до 1 см.

На искусственных сооружениях местами иней слоем до 1 мм

Слой снега, шуги на покрытии более 1 см

Слой инея на покрытии толщиной более 1 мм.

На отдельных участках дороги и на мостах слой стекловидного льда.

Проезд возможен только по одной полосе, при многополосном движении

Слой снега на покрытии, снежные заносы.

Стекловидный лед на всем протяжении дороги

Коэффициент сцепления

Более 0,3

От 0,3 до 0,15

Менее 0,15

Таблица 4

Критерии степени влияния метеорологических факторов на состояние покрытия

Наименование показателя

Характеристики и числовые значения показателя для метеорологических условий

Малоопасные

Опасные

Особоопасные

Осадки

Дождь, снег или снег с дождем интенсивностью до 1 мм/ч (соответствует интенсивности снегонакопления до 1 см/ч)

Непрерывный снег или снег с дождем интенсивностью от 1 до 3 мм/ч (снегонакопление 1 - 3 см/ч)

Местами ледяной дождь («черный лед»)

Сильный снег или снег с дождем интенсивностью более 3 мм/ч (снегонакопление более 3 см/ч). Сильный ледяной дождь на большей части территории

Метель (поземок)

Снегонакопление на покрытии от метели до 1 см/ч

Снегонакопление от метели до 3 см/ч

Продолжительное снегонакопление от метели более 3 см/ч

Метеорологическая дальность видимости

Более 450 м

На отдельных участках дороги до 200 м из-за тумана, метели, поземка

На всем протяжении дороги метеорологическая дальность видимости менее 200 м из-за тумана, метели

Тенденция изменения температуры воздуха

-

Интенсивное повышение или понижение до 3 °С/ч

Интенсивное повышение или понижение более 3 °С/ч

кII) время, необходимое для обработки информации;

кIII) время, необходимое для принятия решения; (в зависимости от характера прогноза состояния дорожного полотна решение на выполнение мероприятий по содержанию автодороги включает в себя: время начала работ; адреса и протяженность участков дороги, подлежащих обработке; тип противогололедного материала; расход противогололедного материала для каждого участка автомобильной дороги, подлежащего обработке);

кIV) время, необходимое для передачи решения в производственный отдел или другое производственное подразделение;

кV) время на подготовку дорожной техники и доставку ее от места стоянки до места производства работ;

кVI) время производства работ.

л) При выполнении работ по оценке состояния дорожного покрытия (оценке коэффициента сцепления) используются прогнозы, разработанные по данным пунктов дорожного контроля, оборудованных АДМС и видеокамерами.

Кроме перечисленных способов получения метеоинформации рекомендуется использовать также информацию, получаемую от Росгидромета, включая данные метеорологических радиолокаторов (МРЛ). Данные МРЛ позволяют определить зоны (территории) распространения осадков. Информация предоставляется как в ручном, так и автоматическом режимах, как правило, на платной основе. Для получения информации от МРЛ в автоматическом режиме в дорожной организации рекомендуется организовывать автоматизированное рабочее место (АРМ).

Для оценки продолжительности и количестве выпавших на поверхность автомобильной дороги и прогнозируемых осадках рекомендуется совместное использование данных отдатчика осадков и данных об осадках, полученных от МРЛ. Пример расчета прогноза выпадения осадков приведен в приложении В.

Раздел 6. Специализированная метеорологическая информация и прогноз состояния поверхности дорожного покрытия

а) Прогнозы погоды общего назначения, предоставляемые Росгидрометом, содержат оценку погоды в регионе. Данный вид прогноза может быть использован дорожными организациями для ориентировочного прогноза состояния поверхности дороги на ближайшее время.

Планирование мероприятий и проведение работ по содержанию дорог может осуществляться на основе специализированных гидрометеорологических прогнозов.

б) Специализированный прогноз включает в себя следующие прогностические данные:

• температуру воздуха;

• изменение температуры воздуха на ближайшие 3 - 4 ч;

• относительную влажность воздуха;

• изменение относительной влажности воздуха на ближайшие 3 - 4 ч;

• интенсивность и вид осадков;

• скорость и направление ветра;

• температуру поверхности дорожного покрытия;

• изменение температуры поверхности дорожного покрытия на ближайшие 3 - 4 ч.

Прогноз составляется не менее чем на 3 ч.

Прогноз считается действующим до момента получения следующего прогноза или уведомления об его изменении.

Специализированный прогноз выполняется для районов пролегания автомобильной дороги или её участков, которые входят в зону ответственности дорожной организации.

в) Заказ специализированных прогнозов осуществляется на платной основе в региональном подразделении Росгидромета или другой уполномоченной организации, обслуживающей территории, по которым проходит автомобильная дорога. В заказе указывается способ передачи специализированного прогноза от регионального подразделения Росгидромета в дорожное подразделение. Если дорога проходит по территориям, для которых составляется несколько специализированных прогнозов разными подразделениями Росгидромета и его организациями, заказчику следует определить форму согласования этих прогнозов.

г) В случае возникновения ОЯ в регионе, по которому проходит автомобильная дорога, службы Росгидромета составляют штормовые предупреждения. Предупреждения предоставляются потребителям по заказу в территориальных организациях Росгидромета и рассылаются заблаговременно (за максимально возможный срок до возникновения ОЯ). Описание ОЯ приводится в ОДМ «Методические рекомендации по специализированному гидрометеорологическому обеспечению дорожного хозяйства».

Штормовое предупреждение считается действующим до момента получения:

• информации об окончании срока действия штормового предупреждения;

• уведомления об отмене штормового предупреждения;

• следующего штормового предупреждения.

д) В случае отсутствия специализированных прогнозов допускается использование прогнозов, предоставляемых для отдельных географических пунктов (городов, поселков), расположенных на автомобильной дороге или вблизи нее.

Информацию о фактической погоде и прогнозах можно получать из открытых Интернет-источников. Отдельные Интернет-источники предоставляют метеорологическую информацию по предварительному заказу для указанных в заказе географических пунктов. (Следует учитывать, что официальная метеорологическая информация содержится только на официальных сайтах организации Росгидромета.)

Оценку возможности возникновения различных видов зимней скользкости на поверхности дорожного покрытия при наличии специализированного прогноза рекомендуется выполнять сотрудникам подразделений дорожной службы на основе данных, приведенных в таблице 1 «Классификация различных видов зимней скользкости дорожных покрытий и условия их образования».

е) Анализ метеорологической информации, предоставленной Росгидрометом или другими организациями (включая предоставление информации через глобальную сеть Интернет), и использование специализированной информации позволяет значительно повысить достоверность:

• метеорологической информации;

• прогнозов возникновения опасных дорожных явлений.

ж) В случае отсутствия в регионе МРЛ для оценки метеорологических ситуаций в регионе допускается использование спутниковых снимков.

Раздел 7. Оценка и прогнозирование состояния дорожного покрытия на основе информации, получаемой с пунктов дорожного метеоконтроля, и специализированной метеорологической информации

а) При наличии АСМО оценка состояния дорожного покрытия производится по данным, получаемым в автоматическом режиме:

• от автоматических дорожных метеорологических станций;

• от постов видеоконтроля.

АСМО или ее элементы собирают, накапливают и предоставляют данные о фактической погоде и параметрах поверхности дорожного покрытия.

Видеосистемы предоставляют изображение поверхности дорожного покрытия и используются для качественного анализа его состояния.

б) Расчет прогноза параметров погоды на участке расположения АДМС выполняется с использованием математических моделей, алгоритмов и методов, приведенных в приложении Г.

в) Прогноз параметров погоды и состояния поверхности дорожного покрытия производится в системе АСМО в два этапа:

Первый этап - прогнозирование параметров погоды и параметров состояния поверхности дорожного покрытия в месте установки АДМС. Прогноз первого этапа рассчитывается не менее чем на 3 ч с шагом не более 1 ч. Прогноз содержит числовые значения:

• температуры воздуха;

• относительной влажности воздуха;

• температуры поверхности дороги;

• температуры под поверхностью дороги.

Второй этап - прогнозирование для участков поверхности автодороги, находящихся между местами установки АДМС.

Для расчета данного типа прогнозов рекомендуется применять локальную математическую модель, включающую в себя подробное описание ландшафтных, климатических и геодезических особенностей участков территории прохождения автодороги, данные о термокартировании (термопрофиле) участка поверхности дорожного покрытия, для которого производится расчет.

г) Результаты расчета прогноза в АСМО рекомендуется представлять в наглядной форме на стилизованной карте. Прогноз кодируется цветом и отображается на линии маршрута дороги. Пример представления прогноза приведен на рисунке 2.

Рисунок 2. Прогноз состояния поверхности дороги между АДМС на 4 ч

Темным цветом выделены участки дороги с ожидаемыми опасными явлениями в течение срока прогноза (не менее 3 ч), зеленым - участки, где опасные явления не прогнозируются в течение срока прогноза. Светлым цветом (на рисунке 2 отсутствует) отмечаются участки, на которых прогнозируемые параметры погоды и прогнозируемые параметры состояния поверхности дорожного покрытия находятся на границе критических значений, а тенденции их изменения указывают на то, что следует ожидать возникновение опасных явлений в течение ближайшего времени после истечения срока действующего прогноза.

Прогнозирование параметров погоды и параметров поверхности дорожного покрытия осуществляется на срок 3 и более часов.

д) Прогноз параметров погоды и параметров поверхности дорожного покрытия для места установки АДМС рассчитывается после окончания каждого цикла получения данных от АДМС, для каждой АДМС отдельно (первый этап).

Прогнозы параметров погоды и параметров поверхности дорожного покрытия рассчитываются для участка автомобильной дороги после окончания цикла получения данных от АДМС, расположенных в одной ландшафтной зоне (второй этап). Действующий в текущий момент времени прогноз выводится на экран монитора АРМа сотрудника дорожной организации (ПТП).

В приложении Г приведен порядок действий сотрудника дорожной организации по подготовке производственно-технологического предупреждения.

е) Дистанционные датчики состояния поверхности дорожного покрытия, основанные на принципе спектроскопического измерения, позволяют определять наличие на поверхности дорожного покрытия воды, льда, слякоти, снега или обледенения.

Датчик определяет наличие первых кристаллов льда до того, как поверхность автомобильной дороги становится скользкой. Наличие воды может также служить предупреждением о гидропланировании.

Датчик устанавливается на отдельной стойке рядом с автомобильной дорогой или как дополнение к дорожной метеостанции. Места расположения АДМС или дистанционных датчиков состояния поверхности дорожного покрытия рекомендуется наносить на схему автомобильных дорог ОУДХ.

ж) На основании анализа текущих и прогностических данных, а также ландшафтных, климатических и геофизических данных рекомендуется оценивать степень опасности движения транспортных средств на различных участках дорог (приложения В, Г).

и) При отсутствии системы АСМО дорожным организациям рекомендуется использовать специализированную метеорологическую информацию Росгидромета или его организаций. Для прогноза возникновения скользкости на поверхности дорожного покрытия рекомендуется использовать алгоритм производственно-технологических предупреждений.

к) При отсутствии в прогнозах осадков для оценки возможности возникновения зимней скользкости рекомендуется использовать зависимость:

Y = -0,170Tв - 0,071W + 5,659,                                                                   (1)

где Y - величина скользкости;

Тв - температура воздуха, °С;

W - относительная влажность воздуха, %.

Зависимость (1) - уравнение прямой линии на плоскости в системе координат (Тв, W), которая изображена на рисунке 3.

Рисунок 3. Геометрическая интерпретация производственно-технологического предупреждения об образовании гололедицы

Прямая разделяет значения параметров Тв и W на классы «скользкость» и «без скользкости» таким образом, что по знаку функции (1) можно прогнозировать отсутствие или наличие гололедицы. Сочетание параметров, для которых знак функции будет положителен, возможно, и в зонах, где образование гололедицы невозможно физически, т.е. при низких значениях относительной влажности воздуха и положительных температурах воздуха. Для ПТП будем использовать рабочую зону графика, устанавливаемую по интегральным функциям теоретических законов распределения случайных величин. Границы рабочей зоны с 95 %-ной обеспеченностью для выбранных параметров составят:

-1,8 £ Тв £ 0,0; 60 £ W £ 100.                                                                      (2)

Из-за остатков хлоридов, покрытие может оставаться влажным и при более низких температурах:

-6,0 £ Тв £ -0,5.                                                                                            (3)

Рабочая зона графика выделена прямоугольником А.

Указанный график рекомендуется использовать для прогноза образования гололедицы в том случае, если дорожное покрытие мокрое и прогнозируется следующая тенденция изменения метеорологических параметров (по данным прогноза Росгидромета или другой организации):

• рост атмосферного давления;

• понижение температуры воздуха;

• понижение относительной влажности воздуха.

Последнее условие изображено стрелкой, показывающей направление изменения параметров при их переходе в рабочую зону, в которой происходит разделение двух классов - «гололедица» и «без гололедицы» - с помощью прямой линии, описываемой уравнением (1).

л) При прогнозировании гололеда и твердого налета функция для двух метеорологических параметров имеет вид:

У = 0,092Тв + 0,104W - 9,142                                                                     (4)

и может быть представлена графиком (см. рисунок 4).

Рабочей зоной графика является зона наиболее вероятных значений параметров в момент образования скользкости данных видов. Диапазоны их изменения получены с помощью интегральных функций, рассчитанных по законам распределения с 95 %-ной надежностью:

-5,2 £ Тв £ 2,0; 87 £ W £ 100

Рисунок 4. Геометрическая интерпретация производственно-технологического предупреждения об образовании гололеда

Пользоваться данным графиком рекомендуется при температуре воздуха ниже -6 °С и наличии прогноза:

• повышение температуры воздуха;

• выпадение жидких осадков;

• падение атмосферного давления;

• повышение относительной влажности воздуха.

Последнее условие изображено на рисунках 3, 4 стрелкой, показывающей направление изменения параметров при образовании данных видов скользкости.

Зависимости, изображенные на графиках (см. рисунки 3 и 4), вычислены по метеорологическим параметрам, зафиксированным в момент возможного начала образования скользкости. Для получения производственно-технологического предупреждения об обледенении дорожного покрытия с их помощью необходимо спрогнозировать температуру и относительную влажность воздуха на срок заблаговременности прогноза, используя их текущие значения из полученных данных общего прогноза. Для составления прогноза этих параметров на время не более 4 ч рекомендуется использовать линейный закон изменения этих параметров.

Ключевые слова: зимняя скользкость, прогноз состояния дорожного покрытия, специализированное метеорологическое обеспечение, пункты дорожного метеоконтроля, термокартирование, содержание автомобильных дорог

Приложение А

Обозначения и сокращения

В настоящем методическом документе применены следующие сокращения:

• АДМС - автоматическая дорожная метеорологическая станция;

• АРМ - автоматизированное рабочее место;

• АСМО - автоматизированная система метеорологического обеспечения;

• ДВПД - датчик состояния дорожного покрытия;

• ДИТС - дорожная информационная технологическая система;

• ПТП - производственно-технологическое предупреждение;

• ДЭП - дорожно-эксплуатационное предприятие;

• МРЛ - метеорологический радиолокатор;

• НЯ - неблагоприятное метеорологическое явление;

• ОУДХ - орган управления дорожным хозяйством;

• ОЯ - опасное метеорологическое явление;

• ПГМ - противогололедный материал;

• СЦОУ ФДА - ситуационный центр оперативного управления Федерального дорожного агентства;

• ЦПУ ОУДХ - центральный пункт управления органа управления дорожным хозяйством.

Приложение Б
(справочное)

Технические характеристики метеостанций

Среди производителей метеостанций для оборудования пунктов дорожного метеоконтроля преобладают страны с ярко выраженным холодным зимним периодом. Можно выделить три основных производителя метеостанций: Vaisala (Финляндия), Aanderaa (Норвегия), SААВ-Минимакс-94 (Швеция - Россия), а также Odin System (США), Boschung Megatronic (Швейцария), ROSA - МетеоТрасса (Финляндия - Россия) и др.

Изображения ряда метеостанций представлены на рисунке Б.1.

Отличительной особенностью каждой метеостанции является оригинальная собственная конструкция её датчиков, архитектура построения узлов конструкции (протоколы связи между датчиками).

В качестве примера приведены технические характеристики нескольких метеостанций.

Метеостанция «Vaisala» WXT - 510

Ветер

Скорость ветра

Диапазон - от 0 до 60 м/с

Время ответа - 0,25 с

Доступные переменные - среднее, максимум, минимум

Точность - ±0,3 м/с или ±2 %

Разрешение выхода - 0,1 м/с (км/ч, миля/ч, узел)

Единицы измерения - м/с (км/ч, миля/ч, узел)

Направление ветра

Азимут - от 0 до 360 град

Время ответа - 250 мс

Доступные переменные - среднее, максимум, минимум

Точность - ±2 град

Разрешение - 1 град

Границы измерений

Время усреднения образца 0,25 с - 1 - 600 с (10 мин) с шагом 1 с на основании

Интервал обновления - 1 - 3600 с (60 мин) с шагом 1 с

Жидкие осадки

Дождь - общий объем осадков после последнего автоматического или ручного сброса

Площадь сбора - 60 см2

Точность - 5 %

Разрешение выхода - 0,01 мм (0,001 дюйм)

Единицы измерения - мм, дюйм

Продолжительность дождя - расчет прироста каждые 10 с после падения капли

Разрешение выхода - 10 с

Интенсивность дождя - 1 мин с шагом 10 с

Интервал - от 0 до 200 мм/ч (увеличение интервала снижает точность)

Разрешение выхода - 0,1 мм/ч (0,01 дюйм/ч)

Единицы измерения - мм/ч, дюйм/ч

Град - общее число ударов по поверхности сбора

Разрешение выхода - 0,1 удар/см2 (1 удар/дюйм2)

Единицы измерения - удары, удар/см2, удар/дюйм2

Продолжительность града - расчет прироста каждые 10 с при падении града

Разрешение выхода - 10 с

Интенсивность града - 1 мин с шагом 10 с

Разрешение выхода - 0,1 удар/см2 /ч, (1 удар/дюйм2/ч)

Единицы измерения - удары/ч, удар/см2/ч, удар/дюйм2

Атмосферное давление, температура воздуха, относительная влажность

Атмосферное давление

Диапазон - от 600 до 110 hPa

Точность - ±0,5 hPa при 0 - 30 °С (от -32 ° до +86 °F)

Разрешение выхода - 0,1 hPa, 10 Ра, 0;0001 Бар, 0,1 мм Hg, 0,01 дюйм Hg

Единицы измерения - hPa, Pa, Бар, ммHg, дюйм Hg

Температура воздуха

Диапазон: от -52 ° до +60 °С (от -60 ° до +140 °F)

Погрешность при +20 °С - ±0,3 °С

Разрешение выхода - 0,1 °С

Единицы измерения - °С, °F

Зависимость погрешности от температуры

Относительная влажность

Диапазон - от 0 до 100 % RH

Погрешность: - ±3 % КН в диапазоне от 0 до 90 % RH

- ±5 % RH в диапазоне от 90 до 100 % RH

Разрешение выхода - 0,1 % КН

Интервал обновления данных PTU

Интервал обновления - (3 - 3600) с (60 мин) с шагом 1 с

Разрешение выхода - 0,1 °С

Единицы измерения - °С, °F

Метеостанция СААБ-Минимакс-94, МС-4

Ветер

Скорость ветра

Диапазон - от 0 до 60 м/с

Время ответа - 0,25 с

Доступные переменные - среднее, максимум, минимум

Точность - ±0,3 м/с или ±2 %

Разрешение выхода - 0,1 м/с (км/ч, миля/ч, узел)

Единицы измерения - м/с (км/ч, миля/ч, узел)

Направление ветра

Азимут (0 - 360) град

Время ответа - 250 мс

Доступные переменные - среднее, максимум, минимум

Точность - ±2 град

Разрешение - 1 град

Состояние дорожного покрытия, осадки

Состояние дорожного покрытия

Толщина слоя жидкости

Сухо, увлажнено, влажно, мокро, очень мокро, стекающая вода

Погрешность определения: 10 - 30 % в зависимости от толщины слоя

Концентрация NaCl: 0,2 - 23 %

Погрешность определения: 10 - 30 %

Осадки

Классификация осадков:

Дождь, снег, снег c дождем, снеговая метель

Интенсивность осадков измеряется в мм/ч

Интервал интегрирования - до 30 мин

Погрешность определения:

- 15 % при продолжительных осадках

- 30 % при кратковременных осадках

Атмосферное давление, температура воздуха

Атмосферное давление

Диапазон - 700 - 800 мм рт.ст.

Точность - ±1 мм рт.ст.

Температура воздуха

Диапазон: -50 - +50 °С

Погрешность при +0 °С - ±0,15 °С

Разрешение выхода - 0,1 °С

Рисунок Б.1. Метеостанции различных производителей, установленные на ряде участков автомобильных дорог федерального значения:

а) «Vaisala» (Финляндия), М9 Москва - Рига, 84 км;

б) «Aanderaa» (Норвегия), M1 Москва - Минск, 333 км;

в) «SAAB-Минимакс-94» (Швеция - Россия),

М18 С.-Петербург - Мурманск, 1058 км

Приложение В
(справочное)

Прогноз времени выпадения осадков на поверхность дорожного покрытия по данным метеолокатора

Для составления прогноза времени выпадения осадков на поверхность дорожного покрытия могут быть использованы данные метеолокатора.

На рисунке В.1 представлено изображение данных метеолокатора на экране персонального компьютера, входящего в состав автоматического рабочего места (АРМа) сотрудника дорожной службы.

Рисунок В.1. Отображение данных метеолокатора на экране АРМа сотрудника дорожной службы (черная линия и цифры не отображаются на экране монитора и нанесены для примера составления прогноза выпадения осадков на участке дороги)

Для составления прогноза вида и количества осадков на конкретном участке автомобильной дороги рекомендуется:

- определить на изображении карты положение километра, для которого составляется прогноз осадков (например, точка 1 расположена в районе поселка Ярцево на дороге Москва - Минск);

- по имеющимся в распоряжении сотрудника дорожного подразделения данным по температуре воздуха в географическом пункте, который ближе всего расположен к километру дороги, составляется прогноз осадков.

Наиболее вероятный вид осадков при различных температурах воздуха приводятся в таблице В.1.

Таблица В.1

 

Значение температуры воздуха, Тв

Наиболее вероятный вид осадков

1

Тв больше нуля

Жидкие

2

Тв меньше нуля

Твердые

3

Тв равно нулю

Жидкие + твердые

В центре серого круга (смотри рисунок В.1) расположен отрезок прямой а. Длина отрезка соответствует скорости перемещения облаков, направление соответствует направлению движения облаков (направление всегда к центру серого круга).

Для определения времени начала и продолжительности осадков рекомендуется:

- условно провести прямую б, параллельную вектору скорости перемещения (отрезок прямой а) через точку, для которой необходимо выполнить расчеты прогноза осадков на изображении дороги;

- на проведенной прямой отметить точки пересечения границ цветного и серого полей (точки 2, 3, 4, 5 и 6);

- измерить длину отрезка а;

- разделить длину отрезков между точками на проведенной прямой на длину отрезка а.

В результате деления будет получено время, через которое соответствующая граница, отмеченная точками 2, 3, 4, 5, 6, достигнет точки 1. Результат деления надо прибавить к времени, отображенному на экране монитора автоматического рабочего места.

Результат расчета представлен в таблице В.2.

Таблица В.2

Отрезок прямой между точками

1

2

2

3

3

4

4

5

5

6

Наличие осадков

Осадки

Нет

Осадки

Нет

Осадки

Время

21.30

23.00

23.00

23.30

23.30

00.00

00.00

00.30

00.30

1.20

Приложение Г

Алгоритмы методов прогнозирования и математических моделей

а) Схема алгоритма получения ПТП о состоянии дорожного покрытия в случае формирования скользкости приведена на рисунке Г.1.

Рисунок Г.1. Схема алгоритма получения производственно-технологического предупреждения о состоянии дорожного покрытия

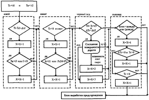
б) Схема алгоритма выработки предупреждения при наличии оперативной информации от АДМС приведена на рисунке Г.2.

Рисунок Г.2. Схема алгоритма выработки предупреждений о возможности возникновения скользкости на поверхности дороги:

Тr - температура дороги; Та - температура воздуха;

DТr - изменение температуры дороги за последние 30 мин;

X - переменная; Рr24 - количество осадков за последние 24 ч;

Td - температура точки росы; f - относительная влажность;

Ir - интенсивность осадков

Расчеты по алгоритму выполняются в автоматическом режиме программным комплексом системы АСМО и выдаются на экране АРМ сотрудника дорожной организации в понятном виде для подготовки производственно-технологического предупреждения.

в) Прогнозирование состояния дорожного покрытия в месте установки АДМС рекомендуется выполнять на основе метода нейронных сетей. Блок-схема системы расчета прогноза представлена на рисунке Г.3.

Рисунок Г.3. Блок-схема расчета прогноза параметров погоды и параметров состояния поверхности дорожного покрытия

Расчет прогноза параметров погоды и состояния дорожного покрытия выполняется в автоматическом режиме после окончания каждого цикла передачи данных от АДМС и обеспечивает точность и оправдываемость прогнозов, достаточную для целей содержания автомобильных дорог и оперативного информирования участников дорожного движения. При этом качество прогнозов возрастает по мере накопления данных для участков дорог в местах установки АДМС.

г) Прогнозирование состояния дорожного покрытия между АДМС основано на физических принципах, учитывающих общий энергетический баланс на поверхности дороги. При прогнозировании состояния покрытия производится решение системы уравнений энергетического баланса на поверхности дорожного покрытия.

Для расчетов используются факторы, приведенные на рисунке Г.4.

Рисунок Г.4. Вклады различных факторов в энергетический баланс поверхности дорожного покрытия:

G - удельный тепловой поток в дорогу вычисляется в результате решения уравнения теплопроводности на основе данных дорожных метеостанций. При этом измеряется температура воздуха, поверхности дорожного покрытия и температура под поверхностью дорожного покрытия; S - прямая солнечная радиация, т.е. тепловой поток, обусловленный прямым солнечным излучением с учетом отражательной способности поверхности дорожного покрытия; D - рассеянное солнечное излучение, обусловлено рассеянием прямого солнечного излучения в атмосфере и облаках; H - тепловой поток, обусловленный испарением; R - инфракрасное излучение, обусловленное тепловым излучением с поверхности дорожного покрытия; L - латентный тепловой поток определяется энергией, которая необходима для перевода тела из данного агрегатного состояния в другое агрегатное состояние. Этим потоком тепла определяется возникновение льда на поверхности дорожного покрытия; F - иные тепловые потоки техногенного характера (основная составляющая определяется интенсивностью транспортного потока)



© 2013 Ёшкин Кот :-)