Информационная система
«Ёшкин Кот»

XXXecatmenu

Открытое акционерное общество

Проектно-конструкторский и технологический

институт промышленного строительства

ОАО ПКТИпромстрой

УТВЕРЖДАЮ

Генеральный директор

_______________ А.В. Колобов

«__» ________________ 2008 г.

ТЕХНОЛОГИЧЕСКАЯ КАРТА
ПО МОНТАЖУ КОНСТРУКЦИЙ ИЗ
АЛЮМИНИЕВЫХ ПРОФИЛЕЙ ДЛЯ ОГРАЖДЕНИЯ
ЛОДЖИЙ И БАЛКОНОВ С РАЗДВИЖНОЙ,
РАСПАШНОЙ И КОМБИНИРОВАННОЙ
СИСТЕМОЙ ОСТЕКЛЕНИЯ

8-08 ТК

Главный инженер

__________ В.И. Сусов

2008

В технологической карте приведена технология монтажа конструкций из алюминиевых профилей для ограждения лоджий и балконов с раздвижной, распашной и комбинированной системой остекления.

В карте представлены область применения, технология и организация выполнения работ, требования к качеству и приемке работ, требования безопасности и охраны труда, экологической и пожарной безопасности, потребность в материально-технических ресурсах, даны технико-экономические показатели.

Технологическая карта может использоваться во вновь строящихся и реконструируемых жилых зданиях в составе ППР согласно СНиП 12-01-2004.

Настоящая карта разработана в 2005 г. сотрудниками ОАО ПКТИпромстрой в составе:

       Бычковский Б.И. - разработка карты, техническое руководство, нормоконтроль, корректура разработки;

       Савина О.А. - компьютерная обработка и графика;

       Черных В.В. - общее технологическое сопровождение.

Настоящая технологическая карта переработана в октябре 2008 г. сотрудниками Технического отдела ОАО ПКТИпромстрой М.И. Стронгиным и О.А. Савиной.

СОДЕРЖАНИЕ

1 ОБЩИЕ ДАННЫЕ

1.1 Настоящей технологической картой предусматривается монтаж конструкций из алюминиевого профиля для ограждения лоджий и балконов с раздвижной, распашной и комбинированной системой остекления.

Схема конструкций для ограждения балконов и лоджий представлена на рисунке 1. Развертка лоджии с указанием мест расположения листового стекла дана на рисунке 2.

Рисунок 1 - Общая схема конструкции из алюминиевого профиля для ограждения лоджий и балконов жилых домов

 

Рисунок 2 - Развертка ограждения лоджии

1.2 Технологическая карта, входящая в состав проекта производства работ, предназначена для инженерно-технического персонала (прорабов, мастеров) и рабочих, занятых монтажом конструкций из алюминиевых профилей для ограждения лоджий и балконов с раздвижной, распашной и комбинированной системой остекления в многоэтажных жилых домах, а также летних и различных неотапливаемых помещениях.

1.3 При привязке технологической карты к объекту с другой системой дневного освещения уточняются монтажная схема ограждения, состав и последовательность выполнения технологических операций, состав монтажных элементов, объемы работ, калькуляция затрат труда и календарный план производства работ, потребность в материально-технических ресурсах, при этом должны быть откорректированы схема и средства для обеспечения безопасности и охраны труда.

1.4 Область применения изделий устанавливает заказчик (потребитель) в зависимости от условий эксплуатации и нормативов эксплуатационных нагрузок, определяемых проектной организацией, в соответствии с действующими строительными нормами и правилами с учетом требований технических условий и рекомендаций завода-изготовителя.

1.5 Карта предусматривает обращение ее в сфере информационных технологий с включением в базу данных по технологии и организации строительных процессов автоматизированного рабочего места технолога строительного производства (АРМ ТСП), подрядчика и заказчика.

2 ОРГАНИЗАЦИЯ И ТЕХНОЛОГИЯ ВЫПОЛНЕНИЯ РАБОТ

2.1 Из алюминиевых профилей для ограждения лоджий и балконов предусматривается устройство следующих вариантов изготовления:

        с распашным открыванием створных элементов;

        с раздвижным открыванием элементов, имеющим две или три дорожки для перемещения створок;

        с совмещенным открыванием створных элементов (распашным-раздвижным, далее комбинированным открыванием).

Варианты конструкций из алюминиевых профилей по способу открывания створок представлены на рисунке 3.

2.2 Алюминиевые конструкции створок ограждений балконов и лоджий в жилых домах устанавливаются на существующие железобетонные ограждения и крепятся к ним, а также к нижней и верхней плоскостям балконных плит с помощью дюбелей и винтов.

2.3 В комплект одной конструкции ограждения балконов и лоджий входят сборочные детали следующих наименований:

         элементы створок;

         элементы рамы;

         сливы (водоотливы);

         нащельники;

         фасонные элементы;

         вставки угловые для створок и для рам;

         винты М4;

         резиновый профиль ППУ-122;

         резиновый уплотнитель ППРУ-99;

         щетки VF-0,4;

         ролики VR-01;

         стекло;

         ограничители;

         ограничители пластмассовые.

1)

 

2)

а)

б)

в)

Закрытое состояние

Закрытое состояние

Закрытое состояние

Закрытое состояние

1) с распашным открыванием створных элементов

2) с раздвижным открыванием створных элементов

Рисунок 3 - Примеры схем конструкций из алюминиевых профилей для ограждения лоджий и балконов

Алюминиевые конструкции должны соответствовать техническим условиям ТУ 5271-027-04001597-00 «Конструкции из алюминиевых профилей для ограждения лоджий и балконов с распашной, раздвижной и комбинированной системой остекления», разработанным ОАО «Завод Мосметаллоконструкция» и ГОСТ 21519-2003, а профильные детали из алюминиевых сплавов должны соответствовать ГОСТ 22233-2001*.

Каждое алюминиевое изделие при оформлении заказов должно быть обозначено согласно рисунку 4.

 

Рисунок 4 - Структура условного обозначения конструкций ограждения балконов и лоджий

2.4 Установка конструкций из алюминиевых профилей ограждений балконов и лоджий с раздвижной, распашной и комбинированной системой остекления производящаяся в строящихся, реконструируемых и сданных в эксплуатацию жилых домах, представлена на примере лоджии ОЛ-П3М-1. Конструктивная схема ограждения лоджии ОЛ-П3М-1 представлена на рисунке 5 с разрезами на рисунке 6.

Рисунок 5 - Конструктивная схема ограждения лоджии ОЛ-П3М-1

Рисунок 6 - Разрезы 1-1, 2-2 и 3-3

Ведомость монтажных элементов ограждения лоджии ОЛ-П3М-1 представлена в таблицах 1, 2 и 3.

Таблица 1 - Ведомость алюминиевых прессованных профилей

Шифр

Длина, мм

Масса, кг

Примечание

1 м

общая

СПЛ-07-235

24080

0,788

18,927

 

СПА-2279-1

1760

0,540

0,950

 

ИПА-В-3084

264

0,320

0,084

 

СПЛ-07-234

53960

0,667

35,991

 

СПЛ-01-223

48776

0,262

12,779

 

СПЛ-01-002

26688

0,907

24,206

 

СПЛ-07-003

35248

0,591

20,832

 

СПЛ-07-247

11048

0,277

3.060

 

СПА-2357

400

0,394

0,158

 

СПА-2279-8

1920

0,570

1,094

 

Узловые соединения

 

 

10,104

 

Масса общая, кг

 

 

128,185

 

Таблица 2 - Ведомость стекла листового ГОСТ 111-2001 d = 4 мм

Шифр

Размеры, мм

Количество

Площадь, м2

1 шт.

всех

С-1

630´1394

4

0,878

3,512

С-2

640´1394

4

0,892

3,568

С-3

572´1412

2

0,808

1,616

С-4

632´1412

4

0,892

3,568

С-5

592´1492

2

0,883

1,766

С-6

522´1492

2

0,779

1,558

С-7

632´1492

2

0,943

1,886

Итого

17,474

Таблица 3 - Ведомость прочих материалов

Наименование

Ед. изм.

Количество

Примечание

ПРУ-84

м

97,8

 

ПРУ-99

м

52,0

 

ППУ-99

м

31,9

 

Ролик VR-01

шт.

16

 

Щетка VF-04

м

58,11

 

С351.00.00.00

шт.

48

 

С352.00.00.00

шт.

48

 

Деревянный брус

м

3,0

ГОСТ 8486-86*

2.5 Перед началом сборки и монтажа конструкции следует изучить «Инструкцию по монтажу конструкций из алюминиевых профилей для ограждения лоджий и балконов с раздвижной системой остекления».

Всем ИТР и рабочим изучить под роспись настоящую технологическую карту и ознакомиться с назначением каждой детали, произвести точные замеры проема лоджии или балкона, проверить по уровню горизонтальность и вертикальность потолка и стен, установить погрешность в местах крепления конструкций.

2.6 Для сборки рам и створок серии П3М-1 необходимо подготовить рабочий стол, ровная поверхность которого должна быть покрыта мягкой тканью или бумагой с целью предотвращения повреждений деталей.

2.7 Конструкция из алюминиевых профилей для ограждения лоджий и балконов с раздвижным открыванием створных элементов, ее схема и основные узлы представлены на рисунке 7.

1 - крепежный винт с дюбелем; 2 - винт, 3, 11 - нащельники; 4 - верхняя направляющая; 5, 7 - уплотнительные подкладки;
6 - горизонтальный элемент раздвижной створки; 8 - стекло; 9 - ролик; 10 - нижняя направляющая; 12 - заглушка

Рисунок 7 - Схема и основные узлы конструкции из алюминиевых профилей для ограждения
лоджий и балконов с раздвижным открыванием створных элементов

2.8 Сборка рам производиться из заранее подготовленных деталей СПЛ-07-234, СПЛ-07-235, СПЛ-07-243 в соответствии с рабочими чертежами, утвержденными руководством предприятия-изготовителя.

2.9 В каждой из четырех элементов рамы (две вертикальные, одна нижняя, другая верхняя) вставить с двух сторон по одной широкой угловой закладной СПЛ-07-229 и СПЛ-07-230 (зеркальное отражение). Каждая закладная к элементу рамы крепится с помощью винтов М4´12. В глухих рамах (СПЛ-07-234) в верхнюю и нижнюю часть вставить по одной детали СПЛ-07-243 и закрепить винтами М4. Вставить в элементы рамы (СПЛ-07-234) резиновый уплотнитель ППРУ-99. Элементы рамы с помощью винтов М4´12 соединить между собой угловыми закладными, соблюдая правило риски или соединения малых полок друг с другом. Угловое соединение рамы показано на рисунке 8.

Рисунок 8 - Угловые соединения рамы

2.10 Сборка створок производится из подготовленных деталей СПЛ-07-003 в соответствии с рабочими чертежами, утвержденными руководством предприятия-изготовителя.

2.11 В элемент створки - верха с двух сторон вставить и закрепить винтами М4´12 угловые узкие закладные с тремя резьбами.

2.12 В элементы створки - вертикальных стоек с двух сторон вставить и закрепить винтами М4´12 угловые закладные с одной резьбой и двумя отверстиями.

2.13 В элемент створки - низа вставить по два ролика VR-01 или другой конструкции (ограничители пластмассовые) и установить их по схеме, представленной на рисунке 9.

2.14 После установки роликов или ограничителей пластмассовых в нижний элемент створки с двух сторон вставить угловые закладные с тремя резьбами и закрепить винтами М4´12.

Рисунок 9 - Схема установки регулируемых роликов в створку

2.15 Вставить в элементы створки по всему периметру (низа, верха, боковых стоек) щетку VF-04 или другого типа.

2.16 Подготовить стекла (ГОСТ 111-2001, толщиной 4 мм), вырезанные по расчетным размерам, и установить их на деревянные бруски для удобства сборки.

2.17 Отрезать резиновый профиль ППУ-122 по длине и высоте стекла плюс 6 мм. Концы профиля должны быть отрезаны под углом 45 градусов.

2.18 После этого надеть резиновый профиль ППУ-122 на стекло по всему периметру.

2.19 Вставить в стекло элементы створки со всех четырех сторон. Зазоры по углам между элементами створки не должны превышать расстояний, при которых возможно наживить винтами. Прилегание резиновых прокладок должно быть плотным, исключающим проникновение воды.

2.20 Наживить угловые закладные винтами М4´12 со стороны стоек.

2.21 Поправить резиновый профиль в створке, при необходимости.

2.22 Затянуть до конца винты со всех четырех сторон. Угловое соединение створки представлено на рисунке 10.

 

Рисунок 10 - Угловое соединение створки

2.23 В глухих створках на вертикальных стойках слева и справа закрепить с помощью винтов М4 ручки СПА-2357 в соответствии с рабочим чертежом.

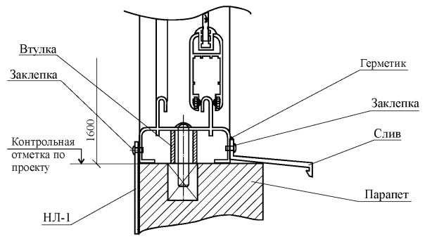
2.24 Готовую раму установить на заранее подготовленное место - парапет лоджии. Закрепить низ рамы крепежными винтами с распорными втулками в количестве не менее 3 шт.: два по краям и один в середине. Затяжку винтов производить, не допуская деформации профиля рамы. Схема крепления рамы показана на рисунке 11.

 

Рисунок 11 - Схема крепления рамы к парапету

2.25 После выставления рамы в вертикальном положении по уровню верх рамы закрепляют с помощью крепежных винтов и втулок к потолку, при этом не допускается изгиб верхней рамы, так как это может привести к выпадению створок.

2.26 Ограждения лоджий и балконов, состоящих из двух и более рам, соединяются между собой с помощью соединителя СПЛ-07-239 и уголков. Схемы соединения двух рам представлены на рисунках 12, 13 и 14.

 

Рисунок 12 - Соединение двух рам соединителем СПЛ-07-239

 

Рисунок 13 - Соединение двух рам уголками

 

Рисунок 14 - Соединение двух рам уголками

2.27 Установить верхние нащельники НВ с двух сторон и закрепить их с помощью крепежных винтов саморезов с прессшайбой или вытяжных заклепок с шагом не менее 300 мм или другим способом, обеспечивающим надежность крепления. Крепление нащельников показано на рисунках 15 и 16.

 

Рисунок 15 - Крепление нащельников к потолку и раме

 

Рисунок 16 - Крепление нащельников к стене и раме

2.28 Установить и закрепить все вертикальные уголки (нащельники УВ).

2.29 Закрепить к низу рамы водоотлив (слив) с помощью крепежных винтов в количестве не менее 3 шт.: два по краям и один по середине. Крепление слива показано на рисунке 11.

2.30 Крепление рамы к стенам лоджии, балкона производится с помощью уголков и крепежных винтов. Крепление рамы к стене показано на рисунке 16.

2.31 Фасонные элементы ЭФ-1, ЭФ-2, ЭФ-3, ЭФ-4 используются в лоджиях типов ОЛ-П3М-1, ОЛ-П3М-2, ОЛ-П3М-3, ОЛ-П3М-5. Фасонные элементы изготавливаются по рабочим чертежам из оцинкованной стали толщиной 0,55 - 1,25 мм и окрашиваются порошковой эмалью в цвет, согласованный с заказчиком.

2.32 Монтаж фасонных элементов производить после монтажа конструкций остекления. Крепление фасонных элементов к раме остекления выполнить оцинкованными самонарезающими винтами с шагом 150 мм через герметизирующую прокладку «Герлен-Д». Швы примыканий фасонных элементов герметизировать мастикой АМ-05.

2.33 Углы установки фасонных элементов разработаны в чертежах АА 3336.000000.097.01, АА 3336.000000.097.02. Установка фасонных элементов к раме показана на рисунке 17.

 

Рисунок 17 - Установка фасонных элементов к раме

2.34 Подрезку сливов, нащельников, козырьков и уголков производить по месту на монтаже.

2.35 В раму СПЛ-07-234 вставляется стекло и фиксируется штапиком СПЛ-01-223.

2.36 Собранные створки (раздвигающиеся) вставить в верхние и опустить в нижние направляющие рамы СПЛ-07-235.

2.37 Отрегулировать створки относительно рамы с помощью регулирующих роликов. Вставить в створки ограничители СПЛ-07-247 и СПЛ-07-217. Установку ограничителей производить в последнюю очередь, после регулировки створок. Проверить работу створок пятикратным раздвижением их по направляющим. При необходимости отрегулировать их.

На этом сборка конструкции ограждения лоджии, балкона заканчивается и сдается заказчику с составлением Акта сдачи.

2.38 При устройстве остекления балконов и лоджий следует соблюдать правила производства и приемки работ согласно:

        СНиП 12-01-2004 «Организация строительства»;

        СНиП 21-01-97* «Пожарная безопасность зданий и сооружений»;

        СНиП 31-01-2003 «Здания жилые многоквартирные»;

        МГСН 3.01-01 «Московские городские строительные нормы. Жилые здания».

3 ТРЕБОВАНИЯ К КАЧЕСТВУ И ПРИЕМКЕ РАБОТ

3.1 Контроль качества работ по монтажу конструкций из алюминиевых профилей для ограждения лоджий и балконов с раздвижной, распашной и комбинированной системой остекления жилых должен осуществляться специальными службами, создаваемыми в строительной организации и оснащенными техническими средствами, обеспечивающими необходимую достоверность и полноту контроля.

3.2 Контроль качества осуществляют на всех стадиях технологической цепи, начиная от разработки проекта и кончая его реализацией на объекте на основе ППР и (или) технологической карты.

3.3 Производственный контроль качества работ по монтажу конструкций из алюминиевых профилей для ограждения лоджий и балконов должен включать входной контроль проектной документации, применяемых конструкций, изделий, материалов и операционный контроль отдельных строительных процессов или производственных операций и оценку соответствия выполненных работ, результаты которых становятся недоступными для контроля после начала выполнения последующих работ.

3.4 При входном контроле проектной документации должна производиться проверка ее комплектности и достаточности содержащейся в ней технической информации для производства работ.

При входном контроле конструкций, изделий и материалов, необходимых для устройства ограждений лоджий и балконов, следует проверять внешним осмотром их соответствие требованиям стандартов, технических условий или других нормативных документов и рабочей документации, а также наличие и содержание паспортов, сертификатов и других сопроводительных документов поставщика (производителя), подтверждающих качество указанных конструкций, изделий и материалов.

Все конструкции, изделия и материалы, применяемые для устройства ограждений лоджий и балконов, должны отвечать требованиям действующих стандартов и технических условий (ТУ) на эти конструкции, изделия и материалы и иметь сертификат соответствия.

Габаритные размеры и архитектурный рисунок изделий устанавливаются в заказе (проекте) на изготовление изделий. Предельные отклонения от габаритных размеров изделий не должны превышать ±2,0 мм

При входном контроле проверяются установленные проектом номинальные размеры открывающихся элементов и сечения профилей. Предельные отклонения от номинальных размеров элементов изделий и разность длин диагоналей створок и рам не должны превышать значений, установленных в таблице 4.

Таблица 4 - Предельные отклонения от номинальных размеров элементов

Номинальный размер

Предельные отклонения, мм

Внутренний размер рамы

Наружный размер створок

Разница длин диагоналей створок/рам

Зазор между створками

До 500 включ.

+1,0

-1,0

1,0

+1,0

Св. 500 до 1500 включ.

+2,0

+1,0

1,0/2,0

Свыше 1500

+2,0

+1,0

2,0/3,0

Отклонения от прямолинейности и плоскостности изделий не должны превышать значений, указанных в таблице 5.

Таблица 5 - Отклонения от прямолинейности и плоскостности

Номинальные размеры

Отклонения от прямолинейности и плоскостности, мм

До 500 мм включительно

0,3

Св. 500 до 1500 мм включительно

0,5

Свыше 1500 до 2500 мм

0,8

Предельные отклонения номинальных размеров толщин полок и стенок и размеров поперечного сечения профилей, продольное плавное отклонение от прямолинейности относительно любой плоскости не должны быть более значений, указанных по ГОСТ 22233-2001.

Результаты входного контроля должны быть зафиксированы в «Журнале входного учета и контроля качества получаемых деталей, материалов, конструкций и оборудования».

3.5 Операционный контроль осуществляется в ходе выполнения строительных процессов, производственных операций или непосредственно после их завершения и обеспечивает своевременное выявление дефектов и принятие мер по их устранению и предупреждению. Осуществляется преимущественно измерительным методом или техническим осмотром. Результаты операционного контроля фиксируются в общих или специальных журналах работ, журналах геотехнического контроля и других документах, предусмотренных действующей в данной организации системой управления качеством.

При установке и креплении рам к парапету лоджии и потолку не допускается изгиб профилей нижней и верхней рам.

3.6 Оценка соответствия выполненных работ, результаты которых становятся недоступными для контроля после начала выполнения последующих работ или трудно исправимыми, - это контроль, выполняемый по завершении монтажных работ по установке ограждений из алюминиевого профиля по объекту или его этапов с участием заказчика.

Приемка должна состоять в проверке:

         горизонтальности и вертикальности установленных изделий;

         внешнего вида (цвет, тональность, блеск, дефекты покрытия);

         состав лакокрасочного покрытия;

         функциональной исправности открывания створок;

         состояние лакокрасочного покрытия;

         герметизации примыкания сливов к конструкциям остекления.

3.7 Предельные отклонения ширины паза под уплотнительные прокладки не должны быть более +0,5 мм.

3.8 Так как балконы и лоджии жилых домов приняты по проекту как холодные летние помещения и не должны обеспечивать теплоизоляцию и полную герметичность, поэтому отсутствие влаги на внутренней стороне балконного ограждения не гарантируется.

3.9 Покрытие алюминиевых изделий, указанное в проекте, должно быть анодно-оксидное бесцветное или цветное по ГОСТ 9.031-74* или лакокрасочное с применением порошковых красителей на основе полиэфирных смол в соответствии с требованиями ГОСТ 9.410-88.

Анодно-оксидное покрытие по внешнему виду должно соответствовать требованиям ГОСТ 9.301-86*, а по условиям эксплуатации - ГОСТ 9.303-84*. Толщина слоя должна быть не менее 20 мкм.

Лакокрасочное покрытие должно соответствовать III классу по ГОСТ 9.032-74*. Толщина слоя должна быть не менее 60 мкм.

3.10 Перечень необходимого инструмента, который используется для контроля изделий и готовой продукции, представлен в таблице 6.

Таблица 6 - Перечень контрольно-измерительного инструмента

№ п/п

Наименование

Тип, марка, ГОСТ

Характеристика

Назначение

Примеч.

1

Линейка металлическая измерительная

ГОСТ 427-75*

Пределы измерений от 0 до 1000 мм

Для измерения длин изделий

 

2

Рулетка металлическая измерительная

Р10 УЗК

ГОСТ 7502-98

Длина шкалы рулетки - 10 м

Цена деления - 1 мм

 

3

Штангенциркуль

ШЦ-11-250-0,1

ГОСТ 166-89*

Пределы измерений 0-250 мм с отсчетом по нониусу 0,1 мм

 

 

4

Набор щупов

№ 4

ТУ 2-034-0221197-011-91

Номинальная толщина щупов, мм: 01, 02, 03, 04, 05, 06, 07, 08, 09, 1.

 

 

5

Толщиномер

«Константа»

Диапазон измерений 0-2000 мкм

 

 

Примечание - Допускается использование другого контрольно-измерительного инструмента, характеристика которого обеспечивает требуемые пределы и точность измерений.

4 ТРЕБОВАНИЯ БЕЗОПАСНОСТИ И ОХРАНЫ ТРУДА, ЭКОЛОГИЧЕСКОЙ И ПОЖАРНОЙ БЕЗОПАСНОСТИ

4.1 Рабочие обязаны строго соблюдать требования безопасности труда для обеспечения защиты от воздействия опасных и вредных производственных факторов, связанных с характером работы:

              расположение рабочего места вблизи перепада по высоте 1,3 м и более;

         повышенная запыленность и загазованность воздуха рабочей зоны;

         повышенное напряжение в электрической цепи, замыкание которой может произойти через тело человека.

4.2 Для предупреждения воздействия на работников опасных и вредных производственных факторов безопасность работ при остеклении лоджий и балконов и размещении рабочих мест на лоджиях и балконах должна быть обеспечена соблюдением следующих мероприятий по охране труда:

        складировать заготовленные элементы в специально отведенных местах;

        листовое стекло держать в ящиках либо на вертикальных устройствах;

        крепиться монтажными поясами к постоянным конструкциям внутри здания;

        соблюдать меры предосторожности при работе в электрифицированным инструментом.

4.3 К работам на высоте при остеклении лоджий и балконов допускаются лица не моложе 18 лет, имеющие профессиональные навыки работы стекольщиками, прошедшие медицинскую комиссию и признанные годными к выполнению этих работ, прошедшие обучение согласно ГОСТ 12.0.004-90 безопасным приемам работы, сдавшие экзамены квалификационной комиссии и имеющие соответствующие удостоверения. Помимо специального обучения рабочие должны пройти первичный инструктаж на рабочем месте по безопасности труда в соответствии с ГОСТ 12.0.004-90 и получить наряд-допуск на выполнение работ в местах действия опасных факторов. Рабочие должны быть ознакомлены с конструкцией остекления, а также порядком, способами и приемами выполнения работ по остеклению лоджий и балконов. Лица, впервые допускаемые к выполнению работ, должны работать в течение года под непосредственным надзором более опытного рабочего.

Перед началом работ по установке конструкций остекления лоджий и балконов рабочие должны получить наряд-допуск на производство этих работ в срок, необходимый для выполнения всего объема работ, а также ознакомиться под роспись с технологической картой и, в случае необходимости, с требованиями, изложенными в наряд-допуске.

4.4 Рабочие, занятые на монтаже конструкций остекления на лоджиях и балконах, должны строго соблюдать требования безопасности и охраны труда, изложенные в типовых инструкциях согласно СП 12-135-2003 «Безопасность труда в строительстве. Отраслевые типовые инструкции по охране труда», а также в ПОТ Р М 012-2000 «Межотраслевые правила по охране труда при работе на высоте».

4.5 При установке ограждений рабочие должны пользоваться ремнями безопасности, которые должны быть закреплены за постоянные конструкции. Основные правила работы при использовании ремней безопасности изложены ниже:

4.5.1 В поясах безопасности должен работать персонал, прошедший обучение приемам работы на высоте.

4.5.2 Пояса безопасности подбираются и должны использоваться одним человеком.

4.5.3 Перед каждым использованием необходимо внимательно осмотреть пояс безопасности в целом и каждую часть его в отдельности (пояса, швы, застежки и все дополнительные части) с точки зрения механических повреждений, а также химических и температурных воздействий.

Осмотр производит рабочий, пользующийся этим комплектом, и в случае повреждения, комплект должен быть изъят из употребления.

4.5.4 При использовании пояса безопасности следует избегать контакта с маслами, растворителями, кислотами и едкими жидкостями, открытым огнем и брызгами расплавленного металла, а также избегать предметов с острыми режущими краями.

4.5.5 Выбранные соединяюще-амортизирующие подвязки следует закреплять исключительно на задних застежках пояса.

4.5.6 Элемент постоянной конструкции, к которому крепятся соединительно-амортизационные подтяжки и сами пояса безопасности, должен выдерживать статическую нагрузку не менее 15 кН.

4.5.7 Используемый комплект предохранительных средств для работы на высоте должен соответствовать инструкциям по использованию этого комплекта и нормам EN353-1, EN353-2, EN350, EN360, EN363.

4.5.8 Пояса безопасности необходимо изымать из дальнейшего употребления, если они уже однажды предохранили от падения с высоты.

4.5.9 Запрещается производить какие-либо изменения и самостоятельную модификацию поясов безопасности.

4.5.10 Последовательность надевания ремня безопасности представлена на рисунке 18.

4.6 Открывание распашных элементов наружу не допускается.

4.7 С целью обеспечения требований пожарной безопасности необходимо выдавить стекло в створке и получить доступ к запорным элементам распашной створки.

Поднять комплект за заднюю застежку. Ножные пояса должны свисать свободно и иметь расстегнутые застежки.

Надеть плечевые ремни.

Застегнуть пластиковую застежку нагрудных ремней.

Протянуть свободные концы ножных ремней между ног. Они не должны быть перекручены.

Застегнуть застежки ножных ремней.

Регулировка длины ножных ремней.

Регулировка длины боковых ремней

Укорачивание

Удлинение

Укорачивание

Удлинение

Рисунок 18 - Надевание ремней безопасности

4.8 Электробезопасность на строительной площадке, участках работ, рабочих местах должна обеспечиваться в соответствии с требованиями СНиП 12-03-2001 «Безопасность труда в строительстве. Часть 1. Общие требования», ПОТ Р М 016-2001 «Межотраслевые правила по охране труда (правила безопасности) при эксплуатации электроустановок».

4.9 Электрооборудование должно быть надежно заземлено. Обслуживающий персонал должен иметь II группу по электробезопасности.

4.10 При установке остекления должны применяться инвентарные подмости. Монтаж конструкций остекления с приставных лестниц не допускается.

4.11 Монтаж конструкций остекления одновременно на нескольких ярусах, этажах (один над другим) не допускается.

4.12 При производстве работ по монтажу конструкций остекления необходимо соблюдать меры по их защите от механических повреждений и загрязнений.

4.13 При погрузке, разгрузке и транспортировании листового стекла стекольщики обязаны:

        транспортирование и хранение стекла осуществлять в специально предназначенной для этого таре и стеллажах в вертикальном положении;

        при установке стекла в ящик или на стеллаж и при его извлечении пользоваться рукавицами;

        для перемещения стекла применять специальные тележки, носильные ремни и вакуумные захваты или средства малой механизации.

4.14 Запрещается производить остекление балконов и лоджий в сильный туман, при сильном и порывистом ветре, снегопаде и ливневом дожде, при отсутствии должного искусственного освещения места работы и подхода к нему во время наступления темноты, при температуре наружного воздуха ниже минус 10 °С.

4.15 Проезды, проходы, рабочие места должны содержаться в чистоте и порядке, регулярно очищаться от строительного мусора, не загромождаться строительными конструкциями, а в летнее время поливаться водой.

4.16 Пожарную безопасность на строительной площадке, участках работ и рабочих местах следует обеспечить в соответствии с требованиями ППБ 01-03 «Правила пожарной безопасности в Российской Федерации».

4.17 Ответственность за пожарную безопасность на строительной площадке, за соблюдение противопожарных требований, своевременное выполнение противопожарных мероприятий, обеспечение и исправное содержание средств пожаротушения несет начальник строительного участка, назначенный приказом по строительной организации.

4.18 Освещение строительной площадки, участков работ, рабочих мест, проездов и проходов к ним в темное время суток должно отвечать требованиям ГОСТ 12.1.046-85 «ССБТ. Строительство. Нормы освещения строительных площадок», а внутри помещений - согласно СНиП 23-05-95. Освещенность должна быть равномерной, без слепящего действия осветительных приборов на работающих. Строительное производство в неосвещенных местах не допускается.

4.19 Запрещается применение оборудования, машин и механизмов, являющихся источником повышенного выделения вредных веществ в атмосферный воздух, почву и водоемы и повышенных уровней шума и вибрации.

4.20 Гигиенические требования по содержанию стройплощадки и рабочих мест даны в СанПиН 2.2.3.1384-03.

5 ПОТРЕБНОСТЬ В МАТЕРИАЛЬНО-ТЕХНИЧЕСКИХ РЕСУРСАХ

5.1 Потребность в инструментах и приспособлениях, необходимых для монтажа конструкций из алюминиевых профилей для ограждения лоджий и балконов, приведена в таблице 7.

Таблица 7 - Ведомость потребности в инструментах и приспособлениях

№ п/п

Наименование

Тип, марка, ГОСТ

Техническая характеристика

Назначение

Количество на звено, шт.

1

2

3

4

5

6

1

Молоток слесарный

ГОСТ 2310-77*

 

Для выравнивания переплетов

2

2

Шуруповерт промышленный с набором бит

 

Мощность, Вт       180

Для вкручивания винтов и шурупов

1

3

Нож

Фирма «Тракт»

 

Для прирезки стыков

1

4

Перфоратор 3-х режимный с переходным патроном, набор буров, сверл

 

 

Для сверления отверстий и установки шурупов

1

5

Набор сверл по металлу, стене, железобетону

 

 

1

6

Уровень строительный

УС-500

ГОСТ 9416-83

Габаритные размеры, мм                                 500´25´50

Для проверки горизонтальности и вертикальности бетонных поверхностей

1

7

Уровень

УС-1000

1000´25´50

1

8

Угольник деревянный

 

 

Для выверки углов

1

9

Рулетка металлическая в защитной корпусе

Р10УЗК

ГОСТ 7502-98

Длина, м                 10

Масса, кг                0,2

Для линейных измерений

2

10

Линейка металлическая

ГОСТ 427-75*

 

 

3

11

Толщиномер

 

 

Для измерительных работ

2

12

Штангенциркуль

 

 

 

1

13

Набор щупов

 

 

 

1

14

Тележка ручная

 

Длина по месту

Для транспортировки элементов

1

15

Плоскозубцы

ГОСТ 5547-93

 

Для сопутствующих работ

1

16

Пирамида

 

Уклон, град.           5

Для хранения стекла

2

17

Болгарка маленькая со щитком-маской

 

 

Для монтажных работ

1

18

Вакуумные присоски

 

 

Для переноски стекла и вставки его в рамы

2

19

Щетка-сметка

 

 

Для очистки пазов раздвижных створок

1

20

Пистолет для выпрессовки герметика

СS 201-Р 1

Поршень, мм         310

Для подачи герметика

1

21

Шпатель металлический

 

Ширина, мм           50

Для зачистки поверхности

1

22

Кисть плоская деревянная ручная

 

Ширина, мм           25 ¸ 40

Для нанесения клея

1

23

Каска строительная

ГОСТ 12.4.087-84

 

Для защиты головы от механических повреждений

2

24

Рукавицы специальные

Тип Г

ГОСТ 12.4.010-75*

 

Для защиты рук от механических повреждений при работе со стеклом

2

25

Перчатки

ГОСТ 4997-75*

 

Для защиты рук

2

26

Устройство защитно-отключающее

ИЭ-8913

ТУ 22-4677-80

 

Для защиты от поражения током при пробивке фазы на корпус электроинструмента

1

27

Комплект знаков по охране труда

ГОСТ Р 12.4.026-2001

 

Для информации по охране труда

1

5.2 Потребность в конструкциях из алюминиевого прессованного профиля, изделиях и материалах для устройства ограждений лоджии или балкона ОЛ-П3М-1, приведена в таблице 8.

Таблица 8 - Ведомость потребности в конструкциях, изделиях и материалах на одну лоджию типа ОЛ-П3М-1


п/п

Обозначение, шифр

Размеры

Ед. изм.

Количество, шт.

Масса, кг

Примеч.

Т

Н

единицы

всего

1

СПЛ-07-003

35248

мм

 

 

0,591

20,832

 

2

СПЛ-07-234

53960

мм

 

 

0,667

35,991

 

3

СПЛ-07-235

24080

мм

 

 

0,788

18,927

 

4

СПЛ-07-247

11048

мм

 

 

0,277

3,060

 

5

ИПА-В-3084

264

мм

 

 

0,320

0,084

 

6

СПЛ-01-002

26688

мм

 

 

0,907

24,206

 

7

СПЛ-01-223

48776

мм

 

 

0,262

12,779

 

8

СПА-2279-1

1760

мм

 

 

0,540

0,950

 

9

СПА-2279-8

1920

мм

 

 

0,570

1,094

 

10

СПА-2357

400

мм

 

 

0,394

0,084

 

11

Узловые соединения

 

 

 

 

 

10,104

 

12

С-1

630´1394

шт.

4

 

 

 

 

13

С-2

640´1394

шт.

4

 

 

 

 

14

С-3

572´1412

шт.

2

 

 

 

 

15

С-4

632´1412

шт.

4

 

 

 

 

16

С-5

592´1492

шт.

2

 

 

 

 

17

С-6

522´1492

шт.

2

 

 

 

 

18

С-7

632´1492

шт.

2

 

 

 

 

19

ПРУ-84

 

м

97,8

 

 

 

 

20

ПРУ-99

 

м

52,0

 

 

 

 

21

ПРУ-122-1

 

м

31,9

 

 

 

 

22

РОЛИК VP-01

 

шт.

16

 

 

 

 

23

Щетка VF-04

 

м

58,11

 

 

 

 

24

С351.00.00.00

 

шт.

48

 

 

 

 

25

С352.00.00.00

 

шт.

48

 

 

 

 

26

Деревянный брус

 

м

3,0

 

 

 

 

6 ТЕХНИКО-ЭКОНОМИЧЕСКИЕ ПОКАЗАТЕЛИ

6.1 Сборку и установку конструкций ограждения балконов и лоджий должны производить не менее двух человек в составе:

монтажник конструкций 4 разряда   -   1 человек

монтажник конструкций 3 разряда   -   1 человек

6.2 Затраты труда и машинного времени подсчитаны на сборку и установку конструкций ограждения лоджий типа ОЛ-П3М-1 площадью 28,2 м2.

6.3 Подсчет затрат труда и машинного времени выполнен по «Единым нормам и расценкам на строительные, монтажные и ремонтно-строительные работы» сборник Е1 «Внутрипостроечные транспортные работы», сборник Е4 «Монтаж сборных и устройство монолитных железобетонных конструкций», выпуск 1 «Здания и промышленные сооружения», сборник Е5 «Монтаж металлических конструкций», выпуск 1 «Здания и промышленные сооружения», сборник Е6 «Плотничные и столярные работы в зданиях и сооружениях» при подаче конструкций и мелких изделий на рабочие отметки краном или строительным подъемником и перемещении их до 30 м вручную на тележках и представлен в таблице 9. Календарный план производства работ дан в таблице 10.

Таблица 9 - Калькуляция затрат труда и машинного времени на монтаж конструкции лоджии ОЛ-П3М-1

Измеритель конечной продукции - 1 лоджия ОЛ-П3М-1

Обоснование (ЕНиР)

Наименование технологических процессов

Ед. изм.

Объем работ

Норма времени

Затраты труда

рабочих, чел.-ч.

машиниста, чел.-ч., (работа машин, маш.-ч.)

рабочих, чел.-ч.

машиниста, чел.-ч., (работа машин, маш.-ч.)

1

2

3

4

5

6

7

8

Е1-22

№ 2б

Разгрузка алюминиевых заготовок и др. изделий с автотранспорта вручную

1 т

1,0

0,51

-

0,51

-

Е1-19

№ 6а

Переноска грузов на расстояние 10 м

1 т

1,0

1,5

-

1,5

-

Е1-20

№ 9

Укладка изделий на стеллажи, пакеты

1 т

1,0

1,3

-

1,3

-

Е1-19

№ 6а

Подноска изделий к грузовому подъемнику на расстояние 20 м

1 т

1,0

2,06

-

2,06

-

Е1-20

№ 9

Укладка изделий в подъемнике

1 т

1,0

1,3

-

1,3

-

 

Подъем изделий грузовым подъемником на рабочие отметки

1 т

1,0

 

 

2,0

2,0 (2,0)

Е1-22

№ 2б

Выгрузка изделий из подъемника

1 т

1,0

0,51

-

0,51

-

Е1-21

№ 1

Перевозка изделий по рабочим местам тележками

1 т

1,0

1,1

-

1,1

-

 

Установка деревянных подкладок

м

14,8

 

-

0,5

-

Е5-1-18

№ 1а

Установка РМ-1 при установке вручную

1 т

0,002

33,0

-

0,07

-

Е5-1-18

№ 2а

4,1

0,01

Е5-1-18

№ 1а

Установка фасонных элементов при установке вручную

1 т

0,0052

33,0

-

0,17

-

Е5-1-18

№ 2а

4,1

0,02

 

Установка шайб Ш-1

шт.

32

 

-

0,5

-

Е6-13Б

№ 1а

Установка рам площадью до, м2

1,0

100 м2

0,0186

35,0

-

0,65

-

Е6-13Б

№ 2б

1,5

0,116

32

-

3,71

-

Е6-13Б

№ 4

2,5

0,0928

24,0

-

2,23

-

Е5-1-15А

№ 1а

№ 2а

Установка створок

шт.

16

0,56

0,19 (0,19)

8,86

3,04 (3,04)

Е6-13А

№ 1б

Установка створок площадью до, м2

1,0

100 м2

0,0186

51,0

-

0,95

-

Е6-13А

№ 2аб

1,5

 

0,116

21,0

10,5 (10,5)

2,44

1,22 (1,22)

Е6-13А

№ 4аб

2,5

 

0,0928

16,0

8,0 (8,0)

1,48

0,74 (0,74)

Е5-1-15Б

№ 10

Установка верхних нащельников

10 м

5,24

1,5

-

7,86

-

Е5-1-15Б

№ 11

1,0

5,24

Е5-1-15Б

№ 12

Установка сливов

10 м

1,48

0,88

-

1,3

-

Е5-1-15Б

№ 13

0,16

0,24

Е5-1-15Б

№ 10

Установка вертикальных нащельников

10 м

2,24

1,5

-

4,32

-

Е5-1-15Б

№ 11

1,0

2,88

Е4-1-27

№ 5

Герметизация примыканий сливов к конструкциям

вертикальных

10 м шва

5,24

1,3

-

6,81

-

Е4-1-27

№ 6

горизонтальных

2,96

1,1

-

3,26

-

 

ИТОГО:

 

 

 

 

83,8

7,0 (7,0)


Таблица 10 - Календарный план производства работ

Измеритель конечной продукции - 1 лоджия

6.4 На основании данных таблиц 9 и 10 определены основные технико-экономические показатели на измеритель конечной продукции:

Площадь глухих рам, м2

6,21

Площадь рам с распашной створкой, м2

7,2

Площадь рам с раздвижной створкой, м2

9,79

Длина нащельников и сливов, м

97

Трудозатраты, чел.-час. - рабочих

83,8

- машиниста

7,0

Затраты машинного времени, маш.-ч.

7,0

Продолжительность работы, ч

29,5

 

7 ПЕРЕЧЕНЬ НОРМАТИВНО-ТЕХНИЧЕСКОЙ ЛИТЕРАТУРЫ

1       СНиП 3.03.01-87 Несущие и ограждающие конструкции.

2       СНиП 12-01-2004 Организация строительства.

3       СНиП 12-03-2001 Безопасность труда в строительстве. Часть 1. Общие требования.

4       СНиП 12-04-2002 Безопасность труда в строительстве. Часть 2. Строительное производство.

5       СНиП 21-01-97* Пожарная безопасность зданий и сооружений.

6       СНиП 23-05-95* Естественное и искусственное освещение.

7       СНиП 23-03-2003 Защита от шума.

8       СНиП 31-01-2003 Здания жилые многоквартирные.

9       ГОСТ 9.031-74* ЕСЗКС. Покрытия анодно-окисные полуфабрикатов из алюминия и его сплавов. Общие требования и методы контроля.

10    ГОСТ 9.032-74* ЕСЗКС. Покрытия лакокрасочные. Группы, технические требования и обозначения.

11    ГОСТ 9.301-86* ЕСЗКС. Покрытия металлические и неметаллические неорганические. Общие требования.

12    ГОСТ 9.303-84* ЕСЗКС. Покрытия металлические и неметаллические неорганические. Общие требования к выбору.

13    ГОСТ 9.410-88 ЕСКЗС. Покрытия порошковые полимерные. Типовые технологические процессы.

14    ГОСТ 12.0.004-90 ССБТ. Организация обучения безопасности труда. Общие положения.

15    ГОСТ 12.1.004-91* ССБТ. Пожарная безопасность. Общие требования.

16    ГОСТ 12.1.046-85 ССБТ. Строительство. Нормы освещения строительных площадок.

17    ГОСТ 12.3.009-76* Работы погрузочно-разгрузочные. Общие требования безопасности.

18    ГОСТ Р 12.4.026-2001 ССБТ. Цвета сигнальные, знаки безопасности и разметка сигнальная. Назначение и правила применения. Общие технические требования и характеристики. Методы испытаний.

19    ГОСТ 111-2001 Стекло листовое. Технические условия.

20    ГОСТ 21519-2003 Окна и двери балконные, витрины и витражи из алюминиевых сплавов. Общие технические условия.

21    ГОСТ 22233-2001* Профили прессованные из алюминиевых сплавов для ограждающих строительных конструкций. Общие технические условия.

22    ПБ 10-382-00 Правила устройства и безопасной эксплуатации грузоподъемных кранов. Госгортехнадзор России, М., 2000.

23    ППБ 01-03 Правила пожарной безопасности в Российской Федерации. МЧС России, М., 2003.

24    ПОТ Р М 007-98 Правила по охране труда при погрузочно-разгрузочных работах и перемещении грузов.

25    ПОТ Р М 012-2000 Межотраслевые правила по охране труда при работе на высоте.

26    ПОТ Р М 016-2001 Межотраслевые правила по охране труда (правила безопасности) при эксплуатации электроустановок.

27    Правила подготовки и производства земляных работ, обустройства и содержания строительных площадок в г. Москве. Постановление Правительства Москвы № 857-ПП от 07.12.2004 г.

28    СП 12-135-2003 Безопасность труда в строительстве. Отраслевые типовые инструкции по охране труда.

29    СанПиН 2.2.3.1384-03 Гигиенические требования к организации строительного производства и строительных работ.

30    ИМ-012-2004 Инструкция по монтажу конструкций из алюминиевых профилей для ограждения лоджий и балконов с раздвижной системой остекления в многоэтажных жилых блок-секциях серии П3М, П3М-1 ¸ П3М-10. ООО «Аэро-Алюминий», М., 2004 г.

31    ТУ 5271-027-04001597-00 Конструкции из алюминиевых профилей для ограждения лоджий и балконов с распашной, раздвижной и комбинированной системой остекления. ОАО «Завод Металлоконструкция», М., 2000 г.

32    МГСН 3.01-01 Московские городские строительные нормы. Жилые здания.



© 2013 Ёшкин Кот :-)