Информационная система
«Ёшкин Кот»

XXXecatmenu

Инструкция по межеванию земель
(утв. Роскомземом 8 апреля 1996 г.)

1. Общие положения

1.1. Межевание земель представляет собой комплекс работ по установлению, восстановлению и закреплению на местности границ земельного участка, определению его местоположения и площади.

1.2. Установление и закрепление границ на местности выполняют при получении гражданами и юридическими лицами новых земельных участков, при купле-продаже, мене, дарении всего или части земельного участка, а также по просьбе граждан и юридических лиц, если документы, удостоверяющие их права на земельный участок, были выданы без установления и закрепления границ на местности.

1.3. Восстановление границ земельного участка выполняют при наличии межевых споров, а также по просьбе граждан и юридических лиц в случае полной или частичной утраты на местности межевых знаков и других признаков границ принадлежащих им земельных участков.

1.4. Межевание земель выполняют проектно-изыскательские организации Роскомзема, а также граждане и юридические лица, получившие в установленном порядке лицензии на право выполнения этих работ.

2. Содержание межевания земель

Межевание земель включает:

- подготовительные работы по сбору и изучению правоустанавливающих, геодезических, картографических и других исходных документов;

- полное обследование и оценку состояния пунктов государственной геодезической сети (ГГС) и опорной межевой сети (ОМС) - опорных межевых знаков (ОМЗ);

- полевое обследование границ размежовываемого земельного участка оценкой состояния межевых знаков;

- составление технического проекта (задания) межевания земель;

- уведомление собственников, владельцев и пользователей размежовываемых земельных участков о производстве межевых работ;

- согласование и закрепление на местности межевыми знаками границ земельного участка с собственниками, владельцами и пользователями размежовываемых земельных участков;

- сдачу пунктов ОМС на наблюдение за сохранностью;

- определение координат пунктов ОМС и межевых знаков;

- определение площади земельного участка;

- составление чертежа границ земельного участка;

- контроль и приемку результатов межевания земель производителем работ;

- государственный контроль за установлением и сохранностью межевых знаков;

- формирование межевого дела;

- сдачу материалов в архив.

3. Геодезическая основа. Требования к точности межевания земель

3.1. Межевание земель выполняют как в общегосударственной, так и в местных и условных системах координат. При этом должна быть обеспечена надежная связь местных и условных систем координат с общегосударственной системой.

3.2. Геодезической основой межевания земель служат:

- пункты ГГС (триангуляция и полигонометрия);

- пункты ОМС (опорные межевые знаки - ОМЗ).

3.3. Пункты ОМС (ОМЗ) служат в качестве исходных для:

- закрепления на местности выбранной местной или условной системы координат и последующей ее привязки к общегосударственной системе координат;

- оперативного восстановления утраченных межевых знаков;

- решения других задач государственного земельного кадастра и землеустройства.

3.4. Средние квадратические погрешности взаимного положения пунктов ОМС (ОМЗ) и положения межевых знаков не должны превышать величин приведенных в таблице.

Предельная погрешность положения точки не должна превышать удвоенной средней квадратической погрешности. Количество погрешностей, превышающих предельные, должно быть не более 6 % от общего числа контрольных измерений.

3.5. Расположение и плотность (густота) пунктов ОМС должны обеспечивать быстрое и надежное восстановление на местности положения всех межевых знаков.

3.6. В городах и поселках комитеты по земельным ресурсам и землеустройству могут устанавливать более высокую точность и плотность опорной межевой сети и межевых знаков, что обосновывается в технических проектах на производство работ.

Таблица

Точностные и другие характеристики межевания земель

Градация земель

Средняя квадратическая погрешность взаимного положения пунктов ОМС (ОМЗ) не более (мм)

Средняя квадратическая погрешность положения межевых знаков относительно пунктов ГГС, ОМС (ОМЗ) не более (мм)

Плотность (густота) пунктов ГГС и ОМС (ОМЗ)

Рекомендуемые масштабы базовых кадастровых карт и планов

1

2

3

4

5

1. Земли городов и поселков

0,05

0,1

Не менее 4 на 1 кв. км

1:1000
1:2000

2. Земли сельских населенных пунктов; земли пригородной зоны: в т.ч. земли, предоставленные для ведения личного подсобного хозяйства, садоводства и индивидуального жилищного строительства и другие земли

то же

то же

Не менее 4 на населенный пункт, дачный поселок, садоводческое товарищество

1:2000
1:5000

3. Земли сельскохозяйственного назначения: земли особоохраняемых территорий и другие земли

то же

то же

Узловые точки 3-х и более землевладений и землепользований

1:10000

1:25000

4. Земли лесного фонда, земли водного фонда, земли запаса и другие земли

то же

то же

то же

 

 

Примечание.

1. Средние квадратические погрешности в графах 2 и 3 рассматриваются применительно к масштабам базовых кадастровых карт и планов (графа 5).

2. Базовые кадастровые карты являются исходными для создания кадастровых карт и планов земельного участка, села, поселка, сельского административного округа, административного района, города, республики, края, области.

4. Требования к закреплению на местности границ земельного участка

4.1. В зависимости от назначения и типа закрепления на местности различают:

- пункты ОМС (ОМЗ), закрепляемые на долговременную (не менее 5 лет) сохранность;

- межевые знаки, закрепляемые на поворотных точках границ с использованием недорогих материалов;

- границы по "живым урочищам" (рекам, ручьям, водотокам, водоразделам и т.д.);

- границы, совпадающие с линейными сооружениями (заборами, фасадами зданий, элементами дорожной сети и т.д.);

- пропаханные линии суходольных границ.

4.2. Пункты ОМС размещают равномерно по территории населенных пунктов, дачных поселков, участков садовых товариществ, сельскохозяйственных, лесохозяйственных и других предприятий с плотностью, указанной в таблице. Пункты ОМС могут не совпадать с межевыми знаками границ земельного участка. Их следует размещать на местности с учетом:

- доступности для геодезических определений при восстановлении положения утраченных межевых знаков;

- защищенности от разрушений в результате хозяйственной деятельности и природных явлений.

Пункты ОМС следует по возможности размещать на землях находящихся в государственной или муниципальной собственности.

4.3. Межевые знаки размещают на всех поворотных точках границы земельного участка, кроме границ, проходящих по "живым урочищам" и линейным сооружениям, совпадающим с границами земельного участка.

4.4. На пунктах ОМС в качестве знаков применяются (приложение 1):

- бетонный пилон размером 12 × 12 × 90 см, в верхней конец которого заделывается кованый гвоздь, а в нижнюю часть для лучшего скрепления с грунтом вцементируются два металлических штыря (якорь);

- бетонный монолит в виде усеченной четырехгранной пирамиды с нижним основанием 15 × 15 см, верхним 10 × 10 см и высотой 90 см с заделанным в него кованым гвоздем;

- железная труба диаметром 35 - 60 мм, отрезки рельса или уголкового железа 50 × 50 × 5 мм, 35 × 35 × 4 мм длиной 100 см с бетонным якорем в виде усеченной четырехгранной пирамиды с нижним основанием 20 × 20 см, верхним - 15 × 15 см и высотой 20 см. К верхней части трубы (рельса, уголка) приваривается металлическая пластинка для надписи, внизу металлические стержни (крестовина);

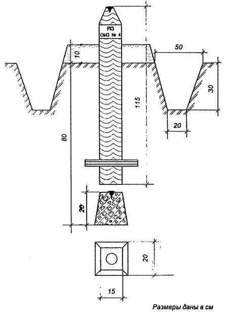
- деревянный столб диаметром не менее 15 см и высотой 115 см с крестовиной, установленный на бетонный монолит в виде усеченной четырехгранной пирамиды с нижним основанием 20 × 20 см, верхним 15 × 15 см и высотой 20 см. На верхней грани монолиту делается крестообразная насечка или заделывается гвоздь. Верхнюю часть столба затесывают на конус, ниже затеса делают вырез для надписи;

- пень свежесрубленного хвойного дерева диаметром в верхней части не менее 25 см, обработанный в виде столба с вырезом для надписи, полочкой и забитым кованым гвоздем;

- марка, штырь, болт, закрепленные цементным раствором в основания различных сооружений, в т.ч. в бордюры, столбы, трубы или в скалы.

Бетонные пилоны и монолиты закладываются на глубину 80 см.

4.5. Пункты ОМС окапывают в виде круглых канав с внутренним диаметром 2,0 м, глубиной 0,3 м, шириной в нижней части 0,2 м и верхней части 0,5 м. Над центром насыпается курган высотой 0,1 м.

4.6. В качестве межевых знаков используют деревянные колья высотой 75 - 80 см, диаметром 5 - 7 см, железные штыри и трубы, забитые в грунт на 0,4 - 0,6 м.

Межевые знаки на поверхности без покрытия окапываются круглой канавой с внутренним диаметром 0,8 м, глубиной 0,2 м и шириной в нижней части 0,2 м.

4.7. Границы земельных участков, проходящие по живым урочищам, закрепляются межевыми знаками только на стыках с суходольными границами.

4.8. При установке межевой знак ориентируют таким образом, чтобы его лицевая сторона (с надписями) была обращена к следующему межевому знаку при движении по границе по ходу часовой стрелки.

4.9. На пунктах ОМС (рис. 1, 2, 3, 4, 5, 6 приложения 1) делается надпись: Роскомзем ОМЗ № ________.

4.10. Пункты ОМС после закладки сдаются по акту на наблюдение за сохранностью:

- городской, поселковой или сельской администрации, если они построены на землях, находящихся в государственной или муниципальной собственности;

- собственнику, владельцу, пользователю земельного участка, если они находятся на его земельном участке.

Если пункт ОМС совмещен с межевым знаком, то он сдается на наблюдение за сохранностью всем собственникам, владельцам и пользователям размежовываемых земельных участков.

5. Подготовительные работы

В процессе подготовительных работ осуществляют сбор и анализируют следующие исходные материалы:

- проект землеустройства, материалы инвентаризации земель;

- постановление районной, городской (поселковой) или сельской администрации о предоставлении гражданину или юридическому лицу земельного участка;

- договоры купли-продажи и сведения о других сделках с земельным участком;

- выписки из книги регистрации земельного участка;

- сведения о наличии межевых споров по данному земельному участку;

- чертеж границ или кадастровые карты (планы) с границами земельного участка;

- топографические карты и планы;

- фотопланы и фотоснимки, приведенные к заданному масштабу;

- схемы и списки координат пунктов ГГС;

- схемы и списки координат пунктов ОМС;

- списки координат межевых знаков, затрагиваемых проектом Землеустройства, а также проектные координаты вновь образуемого или трансформируемого земельного участка;

- сведения об особом режиме использования земель.

6. Полевое обследование пунктов геодезической опоры и межевых знаков

6.1. Полевое обследование производят с целью проверки сохранности пунктов геодезической опоры, выбора наиболее выгодной технологии работ и размещения пунктов опорной межевой сети.

6.2. Результаты обследования отражаются на схемах ГГС, ОМС или ранее изготовленном чертеже границ земельного участка.

6.3. В результате полевого обследования выясняют возможности применения тех или иных методов и приборов для закрепления пунктов ОМС, межевых знаков и определения их координат.

Составляется акт проверки состояния ранее установленных граничных знаков земельного участка.

7. Составление технического проекта

7.1. Межевание земель выполняют в соответствии с техническим проектом, в котором обосновывают содержание, объемы, трудовые затраты, необходимые материалы, сметную стоимость, сроки выполнения и технику безопасности работ. Технический проект межевания земель составляют на каждый населенный пункт, дачный поселок, садоводческое товарищество, на крупные сельскохозяйственные и лесохозяйственные предприятия и т.д.

7.2. Межевание земельного участка, предоставленного для ведения личного подсобного и дачного хозяйства, садоводства и индивидуального строительства, выполняют в соответствии с техническим заданием, выданным на основе технического проекта.

7.3. Технический проект межевания земель утверждает районный (городской) комитет по земельным ресурсам и землеустройству.

7.4. Технический проект включает:

- текстовую часть;

- графические материалы;

- смету затрат и расчеты необходимых материалов.

7.5. В текстовой части технического проекта отражают:

- основание и цель выполнения работ;

- сведения о геодезической основе;

- сведения о ранее выполненных межевых работах;

- технологию геодезических работ и закрепления новых или восстановления утраченных границ;

- организацию и сроки межевания земельного участка;

- рекомендации по технике безопасности и охране труда;

- перечень материалов, подлежащих сдаче в комитет по земельным ресурсам и землеустройству.

7.6. К техническому проекту прикладывают разбивочный чертеж, составленный в удобном для работы масштабе, на котором отображают существующие и проектируемые:

- пункты ГГС и ОМС (ОМЗ);

- межевые знаки;

- угловые и линейные данные для геодезических измерений;

- названия и номера размежовываемого и смежных с ним земельных участков.

На разбивочном чертеже проектируемые пункты ОМС и межевые знаки и их названия показываются красным цветом.

7.7. Разбивочный чертеж может составляться на копии ранее изготовленного чертежа границ земельного участка или кадастровой карты (плана), приведенной к удобному для работы масштабу.

8. Уведомление собственников, владельцев и пользователей о межевании земель

8.1. Собственники, владельцы и пользователи размежовываемого и смежных с ним земельных участков заблаговременно, не позднее чем за 2 дня до начала работ, извещаются о времени проведения межевых работ.

8.2. Извещения (приложение 3.3) вручаются под расписку (приложение 3.4) с указанием времени вручения. Извещения и расписки составляются в 2-х экземплярах, один экземпляр из которых подшивается в межевое дело.

9. Установление и согласование границ земельного участка на местности

9.1. Установление границ земельного участка производит на местности в присутствии представителя районной, городской (поселковой) или сельской администрации, собственников, владельцев или пользователей размежовываемого и смежных с ним земельных участков или их представителей, полномочия которых удостоверяются доверенностями, выданными в установленном порядке.

9.2. После завершения процедуры установления и согласования границ земельного участка на местности производится закрепление его границ межевыми знаками установленного образца.

Результаты установления и согласования границ оформляются актом, который подписывается собственниками, владельцами, пользователями размежовываемого и смежных с ним земельных участков (или их представителями), городской (поселковой) или сельской администрацией и инженером-землеустроителем - производителем работ. Акт утверждается комитетом по земельным ресурсам и землеустройству района (города) (приложение 3.5).

10. Определение координат межевых знаков

10.1. После закрепления на местности пунктов ОМС (ОМЗ) и межевых знаков определение их планового положения выполняют в соответствии с требованиями раздела 3 настоящей Инструкции.

10.2. Для определения координат пунктов ОМС (ОМЗ) и межевых знаков используют:

- спутниковые геодезические определения;

- триангуляцию, полигонометрию, трилатерацию, прямые, обратные, комбинированные засечки, лучевые системы;

- фотограмметрические методы.

В обоснованных случаях могут использоваться и методы картометрии.

10.3. Для производства измерений применяют:

- спутниковые геодезические приемники;

- электронные тахеометры;

- светодальномеры;

- теодолиты;

- фотограмметрические приборы;

- дигитайзеры, другие приборы и инструменты.

10.4. Конкретные рекомендации по использованию перечисленных методов и приборов для межевания земель излагают в соответствующих руководящих технических материалах (РТМ) и техническом проекте.

10.6. По результатам геодезических, фотограмметрических и картометрических измерений вычисляют координаты пунктов ОМС и межевых знаков.

11. Определение площади земельного участка

11.1. Площадь земельного участка вычисляют в основном аналитическими методами по координатам межевых знаков, полученным геодезическими и фотограмметрическими методами при выполнении требований раздела 3 Инструкции.

11.2. Вычисленную площадь земельного участка Рвыч сравнивают с площадью, указанной в правоустанавливающем документе Рдок (постановлении администрации, свидетельстве на право собственности, договоре купли-продажи, и т.д.), для чего вычисляют разность

 

ΔP = Pвыч - Pдок,

 

которую сравнивают с допустимой погрешностью определения площади ΔРдоп, вычисляемой по формуле

 

ΔPдоп = 2mp,

 

где mp - средняя квадратическая погрешность определения площади земельного участка, вычисленная по формулам, приведенным в приложении 2.

При ΔP < ΔPдоп за окончательное значение площади принимается площадь, указанная в правоустанавливающем документе.

При ΔP > ΔPдоп материалы межевания земель направляют для внесения изменений в правоустанавливающий документ (постановление администрации, свидетельство на право собственности, договор купли-продажи и т.д.).

12. Составление чертежа границ земельного участка

12.1. Чертеж границ земельного участка составляют в масштабе, равном или крупнее масштаба базовой кадастровой карты (плана), рекомендованном в таблице.

12.2. Оригинал чертежа границ земельного участка составляют на плотной чертежной бумаге, лавсане или фотоплане.

12.3. Чертеж границ земельного участка составляют по образцу, приведенному в приложении 3.

12.4. Чертеж границ земельного участка составляется инженером-землеустроителем, выполнившим межевые работы, и утверждается председателем (заместителем председателя) комитета по земельным ресурсам и землеустройству района (города).

13. Контроль и приемка материалов межевания земель производителем работ

13.1. В процессе и по завершению межевания земельных участков производитель работ осуществляет текущий контроль и приемку законченной продукции.

13.2. При выполнении работ физическим лицом, имеющим лицензию на выполнение межевых работ, текущий контроль и приемку законченной продукции, осуществляет комитет по земельным ресурсам и землеустройству или уполномоченная им проектно-изыскательская организация по землеустройству.

13.3. Текущий контроль и приемку результатов межевания земель производитель работ выполняет с целью установления их соответствия требованиям настоящей Инструкции.

Результаты контроля и приемки оформляют актами установленной формы.

13.4. В целях контроля производитель работ выполняет дополнительные контрольные измерения, осматривает в натуре межевые знаки и устанавливает соответствие их оформления требованиям настоящей Инструкции. Количество дополнительных контрольных измерений основывается в техническом проекте.

13.5. При приемке завершенных работ проверяющий устанавливает:

- наличие списков координат пунктов ГГС, ОМС (ОМЗ) и межевых знаков;

- систему координат и схему привязки межевых знаков к опорным геодезическим пунктам;

- правильность ведения журналов геодезических измерений;

- правильность установления и закрепления границ земельного участка;

- допустимость погрешностей геодезических определений и вычисление площади земельного участка;

- соответствие вычисленной площади земельного участка площади, указанной в документе, удостоверяющем права собственника на земельный участок;

- правильность оформления чертежа границ земельного участка;

- правильность оформления межевого дела и т.д.

14. Государственный контроль за установлением и сохранностью межевых знаков

14.1. Комитеты по земельным ресурсам и землеустройству осуществляют государственный контроль за установлением и сохранностью межевых знаков.

14.2. Комитет по земельным ресурсам и землеустройству утверждает следующие документы:

- технический проект или техническое задание на межевание земельного участка;

- акт установления и согласования границ земельного участка на местности;

- чертеж границ земельного участка;

- акт государственного контроля за установлением и сохранностью межевых знаков.

15. Обжалование результатов межевания

Результаты межевания земель, утвержденные районными (городскими) комитетами по земельным ресурсам и землеустройству, могут быть обжалованы в установленном порядке.

16. Формирование межевого дела

16.1. По завершению межевых работ производитель работ формирует и сдает в комитет по земельным ресурсам и землеустройству межевое дело, в которое включаются:

1) Пояснительная записка.

2) Копия или выписка из решений государственных, муниципальных и местных организаций о предоставлении земельного участка.

3) Копии или выписки из документов, на основании которых установлен особый режим использования земель.

4) Копия договора о купле-продаже, дарственной, завещания или другого документа (если такие действия осуществлялись).

5) Справки о вкрапленных земельных участках.

6) Списки координат пунктов ОМС.

7) Списки координат межевых знаков.

8) Акт проверки состояния ранее установленных границ земельного участка.

9) Технический проект (задание) с рабочим (разбивочным) чертежом.

10) Извещения о вызове собственников, владельцев и пользователей размежовываемого и смежных с ним земельных участков для участия в действиях по межеванию земель.

11) Доверенности лицам, уполномоченным собственниками, владельцами, пользователями земельных участков, на участие в установлении, согласовании и закреплении на местности границ размежовываемого земельного участка.

12) Акт установления и согласования границ земельного участка.

13) Акт о сдаче пунктов ОМС на наблюдение за сохранностью.

14) Акт контроля и приемки материалов межевания земель производителем работ.

15) Чертеж границ земельного участка.

16) Ведомость вычисления площади земельного участка.

17) Акт государственного контроля за установлением и сохранностью межевых знаков.

16.2. Межевое дело регистрируется и постоянно хранится в межевом архиве комитета по земельным ресурсам и землеустройству.

Приложение 1

Основные типы опорных межевых знаков
(ОМЗ)

Рис. 1. Бетонный пилон

 

 

Рис. 2. Бетонный монолит

 

 

Рис. 3. Железная труба

 

 

Рис.4 Деревянный столб

 

 

Рис.5 Штырь в пне

 

 

Рис.6 Марка (штырь, болт)

 

 

Приложение 2

Оценка точности определения площади земельного участка

Среднюю квадратическую погрешность mp определения площади земельного участка вычисляют по формуле

 

(1)

 

где P - площадь земельного участка, К - коэффициент вытянутости, mt - средняя квадратическая погрешность положения межевого знака.

При К = 4 (отношение длины к ширине участка равно четырем)

 

(2)

 

При К = 1 (участок квадратной формы)

(2а)

 

В обоснованных техническими проектами случаях точность определения площади может быть установлена на основе сравнения результатов двукратных независимых геодезических измерений.

В случае, если на границах землепользования определены опорные межевые знаки, среднюю квадратическую погрешность общей площади можно определить по частям.

Сначала вычисляют средние квадратические погрешности площадей участков, ограниченных звеньями границ и их замыкающими (рис.7)

 

(3)

 

где mt - средняя квадратическая погрешность положения точки поворота (межевого знака); Di - диагональ, соединяющая точки i - 1 и t + 1; n число межевых знаков звена между опорными межевыми знаками.

Затем вычисляют среднюю квадратическую погрешность площади каркасного полигона, вершинами которого являются опорные межевые знаки,

(4)

 

где mt0 - средняя квадратическая погрешность положения опорного межевого знака; D0j - Диагональ, соединяющая j - 1 и j + 1 опорные межевые знаки; n0 - число вершин каркасного полигона.

Общая средняя квадратическая погрешность площади землепользования будет равна

 

(5)

где N - число звеньев.

 

Рис. 7

 

 

Приложение 3

Формы межевого дела

Приложение 3.1

В комитет по земельным ресурсам и землеустройству

_________________________ района (города)

 

 

 

От ________________________________

 

(Фамилия, имя, отчество гражданина

 

или наименование юридического лица)

 

___________________________________

 

(паспортные данные гражданина

 

___________________________________

 

или реквизиты юридического лица)

 

Адрес _____________________________

 

___________________________________

Заявление

Прошу выполнить межевание земельного участка _______________________

(находящегося

_________________________________________________________________________

в собственности, владении, пользовании)

 

Правоустанавливающий документ ______________________________________

(госакт, свидетельство, договор и др.)

_________________________________________________________________________

(номер, дата выдачи, кем выдан)

 

Кадастровый номер земельного участка: ______________________________

 

Согласен оплатить расходы по выполнению межевания земельного

участка.*

 

_____________________________

(подпись заявителя, дата)

"___ " __________ 199_ г.

 

_________________

* Заявитель оплачивает расходы по межеванию земель, за исключением работ по установлению, закреплению и геодезической привязке опорных межевых знаков.

 

Приложение 3.2

 

 

"Утверждаю"

 

Председатель Комитета

 

по земельным ресурсам

 

и землеустройству

 

____________________________

 

(район, город, область)

 

____________________________

МП

(подпись, фамилия, инициалы)

 

" ___ " _____________ 199_ г.

 

Техническое задание на межевание земель

 

1. Земельный участок № _________________________________________________

_________________________________________________________________________

2. Местоположение земельного участка ____________________________________

_________________________________________________________________________

3. Наименование и адрес собственника, владельца, пользователя

земельного участка ________________________________________________________

_________________________________________________________________________

4. Наименование и адрес исполнителя _____________________________________

_________________________________________________________________________

5. Технический проект на производство межевых работ утвержден

_________________________________________________________________________

_________________________________________________________________________

6. Предварительная сметная стоимость работ составляет _____________________

_________________________________________________________________________

7. Сведения о наличии материалов ранее выполненных изысканий

_________________________________________________________________________

_________________________________________________________________________

_________________________________________________________________________

8. Виды и объемы работ, подлежащих выполнению __________________________

_________________________________________________________________________

9. Требование к точности работ ___________________________________________

10. Система координат __________________________________________________

11. Особые и дополнительные требования к производству работ и

отчетным материалам _____________________________________________________

_________________________________________________________________________

_________________________________________________________________________

12. Сроки и порядок представления отчетных материалов ____________________

_________________________________________________________________________

_________________________________________________________________________

13. Приложения: _______________________________________________________

_________________________________________________________________________

_________________________________________________________________________

 

Производитель работ:

 

_____________________

_____________________

_____________________

(должность)

(подпись)

(фамилия и инициалы)

 

" ___ " _____________ 199_ г.

 

Приложение 3.3

Извещение

 

___________________________________________________________________________

Кому (фамилия и инициалы собственника, владельца, пользователя

земельного участка или руководителя юридического лица)

 

Прошу Вас прибыть лично или направить Вашего представителя к _______________

часам " ___ " ___________ 199 г. по адресу: _____________________________________

для участия в установлении и согласовании в натуре границ земельного

участка ____________________________________________________________________

(название, фамилия и инициалы собственника, владельца

___________________________________________________________________________

пользователя, кадастровый номер земельного участка)

____________________________ района ________________________________________

(название)

(название республики в составе РФ, края,

___________________________________________________________________________

области, автономного образования)

 

Ваша явка или Вашего представителя с доверенностью, подтверждающей его полномочия участвовать в установлении границ и подписывать соответствующие документы, необходима.

 

Инженер-землеустроитель:

 

_____________________

_____________________

_____________________

(название проектной организации)

(подпись)

(фамилия и инициалы)

 

" ___ " _____________ 199_ г.

Приложение 3.4

 

Расписка

 

Извещение __________________________________________________________

(указать кому)

 

о вызове представителя к _______ часам " ___ " ___________ 199_ г

для участия в установлении и согласовании в натуре границ земельного

участка _________________________________________________________________

(название, фамилия и инициалы собственника, владельца

_________________________________________________________________________

пользователя, кадастровый номер земельного участка)

____________________________ района _______________________________________

(название)

(название республики в составе РФ, края,

_________________________________________________________________________

области, автономного образования)

 

получил "______"______________ 199_ г.

 

_____________________

_____________________

_____________________

(должность)

(подпись)

(фамилия и инициалы)

 

Извещение вручил " ___ " _____________ 199_ г.

 

_____________________

_____________________

_____________________

(должность)

(подпись)

(фамилия и инициалы)

 

 

Приложение 3.5

 

 

"Утверждаю"

 

Председатель Комитета

 

по земельным ресурсам

 

и землеустройству

 

____________________________

 

(район, город, область)

 

____________________________

МП

(подпись, фамилия, инициалы)

 

" ___ " _____________ 199_ г.

Акт установления и согласования границ земельного участка

 

_________________________________________________________________________

(кадастровый номер, фамилия и инициалы собственника, владельца, пользователя

земельного участка или руководителя юридического лица)

"____"__________ 199 г.

 

Инженер-землеустроитель _______________________________________________

(наименование организация, фамилия, инициалы)

на основании ____________________________________________________________

_________________________________________________________________________

произвел в натуре отвод земельного участка __________________________________

____________________________________ на площади __________________________

Межевание выполнено при участии собственников, владельцев, пользователей земельных участков или их представителей:

 

Наименование или кадастровый номер земельного участка

Фамилия, инициалы

 

 

 

 

 

 

 

Границы отведенного участка закреплены в натуре межевыми знаками установленного образца, заинтересованным сторонам о сохранности знаков объявлено. Опорные межевые знаки (ОМЗ) сданы на наблюдение за сохранностью (акты прилагаются).

Представителями заинтересованных собственников, владельцев, пользователей при отводе земельного участка заявлено: (существо возникшего спора по границам)

 

_________________________________________________________________________

_________________________________________________________________________

 

Инженер-землеустроитель ________________ " _____ " _______________ 199_ г.

(подпись)

Представители землепользователей:

 

 

________________ " _____ " _______________ 199_ г.

 

(подпись)

 

________________ " _____ " _______________ 199_ г.

 

(подпись)

 

________________ " _____ " _______________ 199_ г.

 

(подпись)

 

 

Приложение 3.6

Чертеж границ

 

земельного участка № ____________________________________________________

_________________________________________________________________________

_________________________________________________________________________

Отвод произведен " ______ " ______________ 199 г. на основании

постановления администрации ______________ района _______________________

Общая площадь участка __________________

 

Геоданные:

 

Название и номера пунктов

Румбы или дирекционные углы

Длина линии, м

 

 

 

 

 

 

 

 

 

 

 

 

 

 

 

 

 

 

 

 

 

 

 

 

 

 

 

 

 

 

 

 

 

 

 

Масштаб 1: __________________

 

Описание границ смежных землепользований ________________________________

от _______ до __________ с землями ______________________________________

от _______ до __________ с землями ______________________________________

от _______ до __________ с землями ______________________________________

 

"Утверждаю"

 

Отвод в натуре произвел:

Председатель Комитета

 

_______________________________

по земельным ресурсам

 

 

и землеустройству

 

 

________________ района

 

План составил:

_______________ области

 

________________________________

_______________________

 

"_____"__________________ 199_ г.

"___"___________ 19_ г.

 

 

 

МП

 

Приложение 3.7

 

"Утверждаю"

 

Председатель Комитета

 

по земельным ресурсам

 

и землеустройству

 

____________________________

 

(район, город, область)

 

____________________________

МП

(подпись, фамилия, инициалы)

 

" ___ " _____________ 199_ г.

Акт государственного контроля за установлением и сохранностью межевых знаков

Установление границ осуществлено _______________________________________

_________________________________________________________________________

(наименование организации, предприятия)

из состава земель _______________________________________________________

(землепользования

________________________________ района ________________________ области.

В результате государственного контроля установлено:

1. Технический проект (задание) на выполнение межевания утвержден

_________________________________________________________________________

(кем, когда)

2. Акт установления и согласования границ земельного участка

_________________________________________________________________________

оформлен в соответствии с установленными требованиями и утвержден _______

____________________" ___ " ______ 199 г.

(кем)

Опорные межевые знаки (ОМЗ) сданы на наблюдение за сохранностью.

3. Чертеж границ земельного участка ________________________________

соответствует принятым требованиям и утвержден __________________________

(кем, когда)

4. Межевое дело оформлено, сброшюровано и подготовлено для передачи

на постоянное хранение в архив.

 

Дело принял: представитель ________________________ рай(гор)комзема

 

_____________________

_____________________

_____________________

(должность)

(подпись)

(фамилия и инициалы)

 

Дело сдал: производитель работ

 

_____________________

_____________________

_____________________

(должность)

(подпись)

(фамилия и инициалы)

 

 



© 2013 Ёшкин Кот :-)