Информационная система
«Ёшкин Кот»

XXXecatmenu

ФЕДЕРАЛЬНОЕ АГЕНТСТВО
ПО ТЕХНИЧЕСКОМУ РЕГУЛИРОВАНИЮ И МЕТРОЛОГИИ

НАЦИОНАЛЬНЫЙ
стандарт
российской
федерации

ГОСТ Р
53074-2008

(МЭК 60188:2001)

ЛАМПЫ РТУТНЫЕ ВЫСОКОГО ДАВЛЕНИЯ

Эксплуатационные требования

IEC 60188:2001
High-pressure mercury vapour lamps - Performance specifications
(MOD)

Москва

Стандартинформ

2009

 

Предисловие

Цели и принципы стандартизации в Российской Федерации установлены Федеральным законом от 27 декабря 2002 г. № 184-ФЗ «О техническом регулировании», а правила применения национальных стандартов Российской Федерации - ГОСТ Р 1.0-2004 «Стандартизация в Российской Федерации. Основные положения»

Сведения о стандарте

1 ПОДГОТОВЛЕН Открытым акционерным обществом «Всероссийский научно-исследовательский институт источников света имени А.Н. Лодыгина» (ОАО «Лисма-ВНИИИС») на основе собственного аутентичного перевода стандарта, указанного в пункте 4

2 ВНЕСЕН Техническим комитетом по стандартизации ТК 332 «Светотехнические изделия»

3 УТВЕРЖДЕН И ВВЕДЕН В ДЕЙСТВИЕ Приказом Федерального агентства по техническому регулированию и метрологии от 18 декабря 2008 г. № 455-ст

4 Настоящий стандарт является модифицированным по отношению к международному стандарту МЭК 60188:2001 «Лампы ртутные высокого давления. Требования к рабочим характеристикам» (IEC 60188:2001 «High-pressure mercury vapour lamps - Performance specifications») путем внесения изменений, объяснение которых изложено во введении к настоящему стандарту

5 ВВЕДЕН ВПЕРВЫЕ

Информация об изменениях к настоящему стандарту публикуется в ежегодно издаваемом информационном указателе «Национальные стандарты», а текст изменений и поправок - в ежемесячно издаваемых информационных указателях «Национальные стандарты». В случае пересмотра (замены) или отмены настоящего стандарта соответствующее уведомление будет опубликовано в ежемесячно издаваемом информационном указателе «Национальные стандарты». Соответствующая информация, уведомление и тексты размещаются также в информационной системе общего пользования - на официальном сайте Федерального агентства по техническому регулированию и метрологии в сети Интернет

СОДЕРЖАНИЕ

1 Общие положения. 2

1.1 Область применения. 2

1.2 Нормативные ссылки. 2

1.3 Термины и определения. 2

1.4 Требования к лампам.. 3

1.5 Информация для расчета светильника. 4

Приложение А (обязательное) Метод измерения характеристик зажигания и разгорания ламп. 5

Приложение В (обязательное) Метод измерения красного отношения ртутных ламп высокого давления. 7

Приложение С (обязательное) Схема включения ламп при испытаниях на стабильность работы при быстром понижении напряжения источника питания. 7

Приложение D (справочное) Информация для расчета светильника. 8

Приложение Е (справочное) Сопоставление структуры настоящего стандарта со структурой примененного в нем международного стандарта. 9

Приложение F (справочное) Сведения о соответствии ссылочных международных стандартов национальным стандартам Российской Федерации, использованным в настоящем стандарте в качестве нормативных ссылок. 9

Введение

В настоящий стандарт включены дополнительные по отношению к международному стандарту МЭК 60188:2001 требования, отражающие потребности национальной экономики Российской Федерации, выделенные в тексте стандарта курсивом.

Наименование настоящего стандарта изменено относительно наименования указанного международного стандарта для приведения в соответствие с ГОСТ Р 1.5-2004 (пункт 3.5).

Параметры ламп из раздела 2 МЭК 60188:2001 «Листы с параметрами» сведены в таблицы 1, 2 и 3, а характеристики образцовых измерительных дросселей - в таблицу А. 1 в соответствии с требованиями раздела 4 ГОСТ Р 1.5-2004 и для удобства пользования стандартом, в связи с чем исключен раздел 2. Кроме того, исключены требования к лампам с цоколями Е26 и Е39, поскольку их не изготавливают в Российской Федерации.

Приложение В «Методы измерения световых и электрических параметров» заменено ссылкой на ГОСТ 17616-82 «Лампы электрические. Методы измерения электрических и световых параметров», поскольку в нем аналогичные методы изложены более подробно и точно. Исключено примечание к пункту А.2 как относящееся к специальным требованиям Японии при проведении испытаний.

Введены приложение С «Схема включения ламп при испытаниях на стабильность работы при быстром понижении напряжения источника питания», приложение Е «Сопоставление структуры настоящего стандарта со структурой примененного в нем международного стандарта» и приложение F «Сведения о соответствии ссылочных международных стандартов национальным стандартам Российской Федерации, использованным в настоящем стандарте в качестве нормативных ссылок».

ГОСТ Р 53074-2008
(МЭК 60188:2001)

НАЦИОНАЛЬНЫЙ СТАНДАРТ РОССИЙСКОЙ ФЕДЕРАЦИИ

ЛАМПЫ РТУТНЫЕ ВЫСОКОГО ДАВЛЕНИЯ

Эксплуатационные требования

High-pressure mercury vapour lamps. Performance requirements

Дата введения - 2009-07-01

1 Общие положения

1.1 Область применения

Настоящий стандарт устанавливает эксплуатационные требования к ртутным лампам высокого давления (далее - лампы) для общего освещения с люминофорным покрытием, корректирующим красное отношение, или без него.

Требования безопасности ламп - по ГОСТ Р 52713.

1.2 Нормативные ссылки

В настоящем стандарте использованы нормативные ссылки на следующие стандарты:

ГОСТ Р МЭК 923-98 Устройства для ламп. Аппараты пускорегулирующие для разрядных ламп (кроме трубчатых люминесцентных ламп). Требования к рабочим характеристикам

ГОСТ Р 52713-2007 (МЭК 62035:1999) Лампы разрядные (кроме люминесцентных ламп). Требования безопасности

ГОСТ 17616-82 Лампы электрические. Методы измерения электрических и световых параметров

ГОСТ 23198-94 Лампы электрические. Методы измерения спектральных и цветовых характеристик

ГОСТ 28108-89 Цоколи для источников света. Типы, основные и присоединительные размеры, калибры

Примечание - При пользовании настоящим стандартом целесообразно проверить действие ссылочных стандартов в информационной системе общего пользования - на официальном сайте Федерального агентства по техническому регулированию и метрологии в сети Интернет или по ежегодно издаваемому информационному указателю «Национальные стандарты», который опубликован по состоянию на 1 января текущего года, и по соответствующим ежемесячно издаваемым информационным указателям, опубликованным в текущем году. Если ссылочный стандарт заменен (изменен), то при пользовании настоящим стандартом следует руководствоваться заменяющим (измененным) стандартом. Если ссылочный стандарт отменен без замены, то положение, в котором дана ссылка на него, применяется в части, не затрагивающей эту ссылку.

1.3 Термины и определения

В настоящем стандарте применены следующие термины с соответствующими определениями:

1.3.1 ртутная лампа высокого давления (high-pressure mercury vapour lamp): Высокоинтенсивная разрядная лампа, в которой основная часть света генерируется непосредственно или косвенно излучением паров ртути при парциальном давлении более 100 кПа (750 мм рт.ст.).

Примечание - Этот термин применим к прозрачным, покрытым слоем люминофора (ртутным люминесцентным) лампам и лампам смешанного света. В люминесцентных ртутных разрядных лампах свет создается частично разрядом в парах ртути и частично слоем люминофора, возбуждаемого ультрафиолетовым излучением разряда. В лампах смешанного света свет создается частично разрядом в парах ртути и частично излучением вольфрамового тела накала.

1.3.2 номинальное значение (nominal value): Значение характеристики, используемое для обозначения или идентификации лампы.

1.3.3 расчетное значение (rated value): Значение характеристики лампы при заданных рабочих условиях.

Примечание - Значения характеристики лампы и рабочие условия установлены в настоящем стандарте.

1.3.4 напряжение зажигания лампы (lamp starting voltage): Значение напряжения, при котором лампа зажигается.

1.3.5 наименьшее напряжение холостого хода для стабильной работы (minimum open circuit voltage for stable operation): Значение наименьшего напряжения холостого хода, которое обеспечивается индуктивным пускорегулирующим аппаратом для стабильной работы лампы.

1.3.6 начальные значения (initial readings): Значения характеристик зажигания лампы, полученные в результате измерений до отжига, и значения электрических и световых параметров, полученные в результате измерений после отжига.

1.3.7 красное отношение (red ratio): Отношение светового потока лампы, излучаемого в красной области видимого спектра, к полному световому потоку.

Примечание - В соответствии с настоящим стандартом красная часть определяется областью видимого спектра с длиной волны свыше 600 нм.

1.3.8 дроссель образцовый измерительный; ДОИ (reference ballast): Специальный пускорегулирующий аппарат индуктивного типа, удовлетворяющий требованиям ГОСТ Р МЭК 923, являющийся элементом сравнения при испытании пускорегулирующего аппарата, а также предназначенный для испытаний ламп при стандартных условиях, главная особенность которого состоит в том, что при расчетной частоте он имеет стабильное отношение напряжения к току, мало зависящее от колебаний тока, температуры и от внешних магнитных полей.

1.3.9 ток калибровки дросселя образцового измерительного (calibration current of a reference ballast): Значение тока, при котором проводят калибровку и проверку дросселя образцового измерительного.

1.4 Требования к лампам

1.4.1 Общие положения

Лампы должны быть сконструированы таким образом, чтобы их характеристики были надежны при правильной эксплуатации, что обеспечивается соответствием ламп требованиям настоящего стандарта. Для классификации ламп по расчетному напряжению используют следующие обозначения: ВН (HV) (высокое напряжение на лампе) - диапазон напряжений на лампе от 70 до 180 В; СВН (EHV) (сверхвысокое напряжение на лампе) - напряжение на лампе более 180 В.

1.4.2 Размеры

Габаритные размеры ламп, обозначения которых приведены на рисунке 1, должны соответствовать указанным в таблице 1.

Таблица 1

Номинальная мощность, Вт

Обозначение лампы

Тип цоколя

Размеры, мм, не более

Номер листа МЭК 60188

D

L

50

ВН

Е27

56

130

МЭК 60188-110

80

71

166

МЭК 60188-120

125

76

178

МЭК 60188-130

250

Е40

91

228

МЭК 60188-140

400

122

292

МЭК 60188-150

700

152

357

МЭК 60188-160

СВН

МЭК 60188-161

1000

ВН

167

411

МЭК 60188-170

СВН

МЭК 60188-171

2000

187

446

МЭК 60188-181

Примечание - Номера листов из примененного стандарта МЭК 60188, содержащих значения размеров ламп, приведены для информации пользователя.

D - диаметр колбы; L - длина лампы

Рисунок 1 - Лампа ртутная высокого давления

Примечание - Размеры измеряют любыми средствами измерений, обеспечивающими требуемую чертежами точность измерения.

1.4.3 Цоколи

Цоколь на готовой лампе должен соответствовать ГОСТ 28108.

1.4.4 Характеристики зажигания и разгорания

1.4.4.1 Лампы должны зажигаться в течение времени зажигания, указанного в таблице 2, и оставаться зажженными в течение не менее 1 мин.

Лампы должны достигать напряжения разгорания в течение времени разгорания, указанного в таблице 2.

Таблица 2

Мощность,
Вт

Напряжение
зажигания
(действующее
значение), В,
не более

Время
зажигания, с,
не более

Ток разгорания, А, не более

Напряжение
разгорания
(действующее
значение) на
лампе, В, не
менее

Время
разгорания,
мин,
не более

Обозначение
лампы

Номер листа
МЭК 60188

50

180

10

0,58

72

12

ВН

МЭК 60188-110

80

0,72

85

МЭК 60188-120

125

1,40

93

МЭК 60188-130

250

1,94

98

МЭК 60188-140

400

2,93

102

МЭК 60188-150

700

4,90

106

МЭК 60188-160

290

2,52

204

СВН

МЭК 60188-161

1000

180

6,75

110

ВН

МЭК 60188-170

290

3,60

204

СВН

МЭК 60188-171

2000

310

7,20

208

МЭК 60188-181

Примечание - Номера листов из примененного стандарта МЭК60188, содержащих значения характеристик зажигания и разгорания ламп, приведены для информации пользователя.

Измерения выполняют до отжига методом, приведенным в приложении А.

Примечание - При номинальном напряжении источника питания лампы должны стабильно зажигаться при температуре до минус 18 °С.

1.4.5 Электрические параметры

Значения электрических параметров ламп должны соответствовать приведенным в таблице 3. Измерения проводят по ГОСТ 17616.

Таблица 3

Мощность, Вт

Напряжение на лампе
(действующее значение), В

Расчетный
ток лампы,
А

Обозначение
лампы

Номер листа
МЭК 60188

Расчетная

Максимальная

Расчетное значение

Предельное отклонение

50

53

95

± 10

0,61

ВН

МЭК 60188-110

80

84

115

± 15

0,80

МЭК 60188-120

125

132

125

1,15

МЭК 60188-130

250

263

130

2,13

МЭК 60188-140

400

420

135

3,25

МЭК 60188-150

700

735

140

5,40

МЭК 60188-160

265

± 25

2,80

СВН

МЭК 60188-161

1000

1050

145

± 15

7,50

ВН

МЭК 60188-170

265

± 25

4,00

СВН

МЭК 60188-171

2000

2100

270

8,00

МЭК 60188-181

Примечание - Номера листов из примененного стандарта МЭК 60188, содержащих значения электрических параметров ламп, приведены для информации пользователя.

1.4.6 Световые параметры

Начальный световой поток должен быть не менее 90 % расчетного значения при измерении по ГОСТ 17616.

1.4.7 Красное отношение (только для ламп с люминофорным покрытием)

Начальное красное отношение ламп должно быть в пределах 5 % - 15 %. Измерения выполняют методом, приведенным в приложении В.

1.4.8 Стабильность работы лампы при быстром понижении напряжения источника питания Лампы не должны гаснуть, если значение напряжения сети падает до 90 % номинального значения в течение не более 0,5 с и сохранении этого значения не менее 5 с.

Контроль стабильности работы ламп при быстром снижении напряжения источника питания проводят при включении ламп по схеме, приведенной в приложении С.

1.5 Информация для расчета светильника

Информация для расчета светильника приведена в приложении D.

Приложение А
(обязательное)

Метод измерения характеристик зажигания и разгорания ламп

А.1 Общие положения

Лампы не должны работать в течение 5 ч непосредственно перед этими измерениями.

Измерения проводят при температуре окружающей среды от 20 °С до 30 °С от источника питания номинальной частотой 50 Гц, с использованием ДОИ индуктивного типа, соответствующего требованиям ГОСТ Р МЭК 923 и таблице А.1. Схема цепи измерения характеристик зажигания и разгорания ламп приведена на рисунке А.1. Рабочее положение ламп - вертикальное, цоколем вверх.

1 - синусоидальный источник питания; 2 - ДОИ; 3 - лампа

Рисунок А.1 - Схема цепи измерения характеристик зажигания и разгорания ламп


Таблица А.1

Мощность, Вт

Обозначение лампы

Характеристики ДОИ

Ток калибровки, А

Отношение
напряжения
к току, Ом

Коэффициент
мощности

Расчетное напряжение, В

Расчетная частота, Гц

Наибольший ток
короткого замыкания, А

Наименьшее напряжение холостого хода
(действующее значение), В

Номер листа
МЭК 60188

50

ВН

0,62

297,0 ± 0,5 %

0,075 ± 0,005

220

50

1,22

198

МЭК 60188-110

80

0,80

206,0 + 0,5 %

1,60

МЭК 60188-120

125

1,15

134,0 ± 0,5%

2,30

МЭК 60188-130

250

2,15

71,0 ± 0,5%

4,26

МЭК 60188-140

400

3,25

45,0 ± 0,5 %

6,83

МЭК 60188-150

700

5,45

26,7 ± 0,5 %

0,040 ± 0,002

11,34

МЭК 60188-160

свн

2,80

112,0 ± 0,5%

0,075 ± 0,005

460

5,88

342

МЭК 60188-161

1000

ВН

7,50

18,5 ± 0,5%

0,040 ± 0,002

220

15,75

198

МЭК 60188-170

свн

4,00

52,0 ± 0,5 %

380

8,40

342

МЭК 60188-171

2000

8,00

28,0 ± 0,5 %

16,80

МЭК 60188-181

Примечание - Номера листов из примененного стандарта МЭК 60188, содержащих значения характеристик ДОИ, приведены для информации пользователя.


А.2 Проведение измерения

Амперметр должен быть коротко замкнут выключателем S1, а вольтметр V2 отключен выключателем S2. Напряжение источника питания, измеряемое вольтметром V1, устанавливают равным напряжению зажигания, приведенному в таблице 2, а затем включают выключатель S3. Сразу после зажигания выключатель S1 размыкают, а вылючатель S2 замыкают. Напряжение источника питания регулируют так, чтобы ток лампы был равен току разгорания и в течение времени разгорания значение тока было постоянным.

Приложение В
(обязательное)

Метод измерения красного отношения ртутных ламп высокого давления

В.1 Требования к лампе и фильтру

Данный метод измерения предусматривает использование:

a) ртутной лампы высокого давления с люминофорным покрытием с известным спектральным распределением энергии излучения.

Такую лампу обозначают буквой N, а ее относительное спектральное распределение энергии излучения - ЕlN (включая энергию излучения в спектральных линиях). Люминофор данной стандартной лампы N должен иметь спектральное распределение, аналогичное спектральному распределению испытуемой лампы;

b) красного фильтра с постоянным коэффициентом пропускания:

- при длине волны 580 нм - не более 0,1 %;

- при длине волны свыше 615 до 620 нм - не менее 0,8 %.

Примечания

1 Значение l = 580 нм принято, чтобы показать отсутствие пропускания желтого дублета (l =577 - 579 нм) ртутного спектра.

2 Фильтр для измерений подбирают каждый раз в соответствии с указанными выше требованиями.

В.2 Метод измерения

Излучение испытуемой лампы Х измеряют последовательно через красный фильтр и без фильтра. Отношение результата второго измерения к первому дает значение красного отношения без поправки ruX.

Затем используют лампу N для внесения поправки в результат этого измерения в соответствии с методом, указанным ниже.

Излучение лампы N измеряют также с фильтром и без фильтра, а отношение результатов этих измерений дает значение ruN. Известное значение спектрального распределения этой лампы позволит затем вычислить ее красное отношение (rN). Красное отношение - это отношение двух интегралов типа , пределы которых ограничены в красной области по всему видимому спектру.

Отношение с = rN/ruN дает поправочный коэффициент, необходимый для получения красного отношения для лампы X. Его можно выразить формулой rх = сruX. Коэффициент с обеспечивает две поправки:

a) зависимость между результатом измерения с фильтром и значением красного отношения, определенного двумя интегралами (это основная поправка для данного метода);

b) спектральная чувствительность приемника излучения, применяемого для измерений, может иметь отличие от относительной спектральной световой эффективности V(l).

Данный метод допускает, что пропорция между красным отношением, соответствующим определению (1.3.7), и красным отношением, измеренным с фильтром без поправки, одинакова для обеих ламп Х и N.

Это предположение допускает, что люминофоры обеих ламп Х и N излучают свет одинакового спектрального распределения.

Примечания

1 Данный метод предполагает, что спектральные характеристики фильтра остаются без изменений при измерении излучения обеих ламп N и X. Красные фильтры некоторых типов очень чувствительны к температуре, поскольку от ее колебаний зависит отклонение коэффициента спектрального распределения относительно длины волны, что влияет на результаты всех измерений, связанных с этой областью кривой спектрального распределения, и имеет первостепенное значение при выборе многочисленных новых покрытий, применяемых в последнее время. В таких случаях следует контролировать температуру фильтра, поддерживая ее значение тем же, при котором проводят сравнительные измерения, избегая любого незначительного нагрева. Для этого необходимо помещать фильтр/приемник излучения на соответствующем расстоянии от источника света. Кроме того, если фильтр находится на очень близком расстоянии от приемника излучения, возможны взаимоотражения, которые не вносят никаких дополнительных ошибок, так как они равны для обоих сравнительных измерений. Следовательно, пока фильтр постоянно снимают и вставляют, необходимо удостовериться в том, что он находится всегда в одном и том же положении относительно приемника излучения.

2 Этот метод не требует определения спектральной чувствительности приемника излучения. Необходимо только проверять сохранность заданных характеристик фильтра. Данный метод может быть применен при измерениях с помощью интегрирующего фотометра (или шара Ульбрихта) или при прямом измерении в темной комнате.

В последнем случае достаточно одного измерения, если люминофор является однородным, в противном случае выполняют несколько измерений в различных направлениях и используют среднее значение. При применении интегрирующего фотометра недопустима и незначительная селективность его внутренней поверхности, поскольку это равнозначно ослаблению спектральной чувствительности приемника излучения.

3 Рекомендуется проводить измерения относительного спектрального распределения энергии излучения ламп(ы) N по ГОСТ 23198 после нескольких сот часов горения, чтобы убедиться, влияет ли процесс старения на спектральное распределение энергии излучения лампы.

Приложение С
(обязательное)

Схема включения ламп при испытаниях на стабильность работы при быстром понижении
напряжения источника питания

EL - лампа; pV - вольтметр 0 - 300 В, класс 0,5; рА - амперметр до 10 А, класс 0,5;
LL - пускорегулирующий аппарат; Т- автотрансформатор

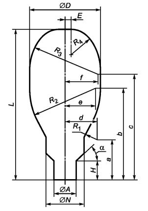
Приложение D
(справочное)

Информация для расчета светильника

D.1 Наибольшие контуры ламп

Наибольшие контуры ламп, основанные на наибольших размерах ламп с учетом соосности колбы с цоколем, приведены для руководства разработчикам светильников при конструировании светильников.

Для механической установки ламп, соответствующих настоящему стандарту, необходимо предусмотреть в светильнике свободное пространство, основанное на наибольших контурах ламп.

Параметры и размеры наибольших контуров приведены на рисунке D.1 и в таблице D.1.

Рисунок D.1 -Лампы с цоколями Е27 и Е40

Таблица D.1

Размеры в миллиметрах

Мощность, Вт

50

80

125

250

400

700

1000

2000

Тип цоколя

Е27

Е40

А

26,45

39,5

D

64

81

85

104

140

170

190

207

Е

4,5

6

7

8

16

28

13

8

Н

22

34

L

130

166

178

228

292

357

411

446

N

37

40

46

58

66

70

76

R1

22

37

14

41

51

40

39

63

Мощность, Вт

50

80

125

250

400

700

1000

2000

Тип цоколя

Е27

Е40

R2

57

80

85

125

112

170

75

197

R3

104

140

190

R4

20

30

35

40

22

62

67

а

33

47,5

50

55

60

70

79

b

77

98

108

134

158

195

170

252,5

с

87

114

124

159

200

242

281

300

d

40,5

57

37

70

84

75

74

101

e

25

39,5

42,5

73

42

85

20

93,5

f

53

70

95

a

45°

Приложение Е
(справочное)

Сопоставление структуры настоящего стандарта со структурой
примененного в нем международного стандарта

Таблица Е.1

Структура международного стандарта МЭК 60188:2001

Структура настоящего стандарта

1 Общие положения

1 Общие положения

Приложения

А

Приложения

А

В

ГОСТ 17616

С

В

-

С

D

D

-

Е

-

F

2 Листы с параметрами

Таблицы 1, 2, 3, А.1

Приложение F
(справочное)

Сведения о соответствии ссылочных международных стандартов национальным
стандартам Российской Федерации, использованным в настоящем
стандарте в качестве нормативных ссылок

Таблица F.1

Обозначение ссылочного
национального стандарта
Российской Федерации

Обозначение и наименование ссылочного международного стандарта и условное
обозначение степени его соответствия ссылочному национальному стандарту

ГОСТ Р МЭК 923-98

МЭК 60923:1995 «Устройства для ламп. Аппараты пускорегулирующие для разрядных ламп (кроме трубчатых люминесцентных ламп). Требования к рабочим характеристикам» (IDT)

ГОСТ Р 52713-2007 (МЭК 62035:1999)

МЭК 62035:1999 «Лампы разрядные (кроме люминесцентных ламп). Требования безопасности» (MOD)

ГОСТ 17616-82

-

ГОСТ 23198-94

-

ГОСТ 28108-89

МЭК 60061-1:1969 «Цоколи и патроны ламп, а также калибры для проверки их взаимозаменяемости и безопасности. Часть 1. Цоколи» (NEQ)

МЭК 60061-3:1969 «Цоколи и патроны ламп, а также калибры для проверки их взаимозаменяемости и безопасности. Часть 3. Калибры» (NEQ)

Примечание - В настоящей таблице использованы следующие условные обозначения степени соответствия стандартов:

- IDT - идентичные стандарты;

- MOD - модифицированные стандарты;

- NEQ - неэквивалентные стандарты.

 

Ключевые слова: лампа ртутная высокого давления, эксплуатационные требования

 



© 2013 Ёшкин Кот :-)