Информационная система
«Ёшкин Кот»

XXXecatmenu

ФЕДЕРАЛЬНОЕ АГЕНТСТВО
ПО ТЕХНИЧЕСКОМУ РЕГУЛИРОВАНИЮ И МЕТРОЛОГИИ

НАЦИОНАЛЬНЫЙ
СТАНДАРТ
РОССИЙСКОЙ
ФЕДЕРАЦИИ

ГОСТ Р
53253-
2009

Техника пожарная.

СЕТКИ ВСАСЫВАЮЩИЕ.

Общие технические требования.

Методы испытаний

Москва
Стандартинформ
2009

Предисловие

Цели и принципы стандартизации в Российской Федерации установлены Федеральным законом от 27 декабря 2002 г. № 184-ФЗ «О техническом регулировании», а правила применения национальных стандартов Российской Федерации - ГОСТ Р 1.0-2004 «Стандартизация в Российской Федерации. Основные положения».

Сведения о стандарте

1. РАЗРАБОТАН Федеральным государственным учреждением «Всероссийский ордена «Знак Почета» научно-исследовательский институт противопожарной обороны» Министерства Российской Федерации по делам гражданской обороны, чрезвычайным ситуациям и ликвидации последствий стихийных бедствий (ФГУ ВНИИПО МЧС России)

2. ВНЕСЕН Техническим комитетом по стандартизации ТК 274 «Пожарная безопасность»

3. УТВЕРЖДЕН И ВВЕДЕН В ДЕЙСТВИЕ Приказом Федерального агентства по техническому регулированию и метрологии от 18 февраля 2009 г. № 24-ст

4. ВЗАМЕН ГОСТ Р 50401-92

Информация об изменениях к настоящему стандарту публикуется в ежегодно издаваемом информационном указателе «Национальные стандарты», а текст изменений и поправок - в ежемесячно издаваемых информационных указателях «Национальные стандарты». В случае пересмотра (замены) или отмены настоящего стандарта соответствующее уведомление будет опубликовано в ежемесячно издаваемом информационном указателе «Национальные стандарты». Соответствующая информация, уведомление и тексты размещаются также в информационной системе общего пользования - на официальном сайте Федерального агентства по техническому регулированию и метрологии в сети Интернет.

СОДЕРЖАНИЕ

ГОСТ Р 53253-2009

НАЦИОНАЛЬНЫЙ СТАНДАРТ РОССИЙСКОЙ ФЕДЕРАЦИИ

ТЕХНИКА ПОЖАРНАЯ.

СЕТКИ ВСАСЫВАЮЩИЕ.

Общие технические требования.

Методы испытаний

Fire-fighting equipment.

Suction gauzes.

General technical requirements.

Methods of testing

Дата введения - 2010-01-01

с правом досрочного применения

1. Область применения

Настоящий стандарт распространяется на сетки всасывающие, предназначенные для удержания воды во всасывающей линии при кратковременной остановке насоса, а также для предохранения его от попадания посторонних предметов.

2. Нормативные ссылки

В настоящем стандарте использованы нормативные ссылки на следующие стандарты и классификаторы:

ГОСТ 2.601-95 Единая система конструкторской документации. Эксплуатационные документы

ГОСТ 12.2.037-78 Система стандартов безопасности труда. Техника пожарная. Требования безопасности

ГОСТ 15.201-2001 Система разработки и постановки продукции на производство. Продукция производственно-технического назначения

ГОСТ 166-89 Штангенциркули. Технические условия

ГОСТ 1583-93 Сплавы алюминиевые литейные. Технические условия

ГОСТ 2991-85 Ящики дощатые неразборные для грузов массой до 500 кг. Общие технические условия

ГОСТ 6357-81 Основные нормы взаимозаменяемости. Резьба трубная цилиндрическая.

ГОСТ 13837-79 Динамометры общего назначения. Технические условия.

ГОСТ 15150-69 Машины, приборы и другие технические изделия. Исполнения для различных климатических районов. Категории, условия эксплуатации, хранения и транспортирования в части воздействия климатических факторов внешней среды

ГОСТ 16093-81 Основные нормы взаимозаменяемости. Резьба метрическая. Допуски. Посадки с зазором

ГОСТ 16504-81 Система государственных испытаний продукции. Испытания и контроль качества продукции. Основные термины и определения

ГОСТ 17756-72 Пробки резьбовые со вставками с полным профилем резьбы диаметром от 1 до 100 мм. Конструкция и основные размеры

ГОСТ 17757-72 Пробки резьбовые со вставками с укороченным профилем резьбы диаметром от 1 до 100 мм. Конструкция и основные размеры

ГОСТ 17763-72 Кольца резьбовые с полным профилем резьбы диаметром от 1 до 100 мм. Конструкция и основные размеры

ГОСТ 17764-72 Кольца резьбовые с укороченным профилем резьбы диаметром от 1 до 100 мм. Конструкция и основные размеры

ГОСТ 18925-73 Пробки резьбовые с насадками с полным профилем для трубной цилиндрической резьбы диаметром от 13/4" до 33/4". Конструкция и основные размеры

ГОСТ 18926-73 Пробки резьбовые с насадками с укороченным профилем для трубной цилиндрической резьбы диаметром от 13/4" до 33/4". Конструкция и основные размеры

ГОСТ 18929-73 Кольца резьбовые с полным профилем для трубной цилиндрической резьбы диаметром от 1/16" до 33/4". Конструкция и основные размеры

ГОСТ 18930-73 Кольца резьбовые с укороченным профилем для трубной цилиндрической резьбы диаметром от 1/16" до 33/4". Конструкция и основные размеры

ГОСТ 24705-81 Основные нормы взаимозаменяемости. Резьба метрическая. Основные размеры

ГОСТ 28352-89 Головки соединительные для пожарного оборудования. Типы. Основные параметры и размеры

Примечание - При пользовании настоящим стандартом целесообразно проверить действие ссылочных стандартов в информационной системе общего пользования - на официальном сайте национального органа Российской Федерации по стандартизации в сети Интернет или по ежегодно издаваемому информационному указателю «Государственные стандарты», который опубликован по состоянию на 1 января текущего года, и по ежегодно издаваемым информационным указателям, опубликованным в текущем году. Если ссылочный документ заменен (изменен), то при пользовании настоящим стандартом следует руководствоваться замененным (измененным) стандартом. Если ссылочный документ отменен без замены, то положение, в котором дана ссылка на него, применяется в части, не затрагивающей эту ссылку.

3. Термины и определения

В настоящем стандарте применяются следующие термины с соответствующими определениями, обозначениями и сокращениями:

3.1 сетка всасывающая (далее - сетка, или СВ): Устройство, предназначенное для удержания воды во всасывающей линии при кратковременной остановке насоса, а также для предохранения его от попадания посторонних предметов (рисунок А1, приложение А).

3.2 условный проход (DN): Приближенное числовое обозначение внутреннего диаметра, общее для всех присоединяемых компонентов трубопроводных систем, не являющееся измеряемой величиной.

3.3 ширина клыка: По ГОСТ 28352.

4. Классификация, номенклатура показателей

4.1. Сетки классифицируются в зависимости от условного прохода и основных показателей и могут иметь следующие типоразмеры:

СВ-80 - с условным проходом DN 80;

СВ-100 - с условным проходом DN 100;

СВ-125 - с условным проходом DN 125.

4.2. Для сеток устанавливается следующая номенклатура показателей назначения, которую следует включать в соответствующую нормативную и техническую документацию:

условный проход DN;

коэффициент гидравлического сопротивления;

размеры, мм;

H - высота, мм;

D, d (в соответствии с рисунком А1, приложение А);

масса, кг.

4.3. При необходимости в номенклатуру показателей назначения СВ предприятием-изготовителем СВ могут быть внесены показатели, не указанные в п. 4.2 настоящего стандарта.

5. Общие технические требования

5.1. Сетки следует изготавливать в соответствии с требованиями настоящего стандарта.

5.2. Основные показатели и характеристики

5.2.1. Показатели назначения сеток должны иметь значения, соответствующие указанным в таблице 1.

Таблица 1

Показатель

Тип сетки

СВ-80

СВ-100

СВ-125

1. Условный проход, DN

80

100

125

2. Коэффициент гидравлического сопротивления, с2 · м-5, не более*

1,4 · 103

1,5 · 103

1,8 · 103

3. Размеры, мм:

 

 

 

Н (высота), не более

200

215

250

D, не более

155

185

205

d, не менее

64

87

110

4. Масса, кг, не более

1,9

3,0

3,8

* Рекомендуемая подача насоса Q, л · с-1, не более: 13,3 для сетки СВ-80; 20,0 для сетки СВ-100; 40,0 для сетки СВ-125.

5.2.2. Значения показателей сеток других типоразмеров должны соответствовать значениям, установленным изготовителем и указанным в технической документации (далее - ТД) на эти сетки.

5.2.3. Сетки должны соответствовать следующим показателям надежности:

полный срок службы - не менее 8 лет;

срок сохраняемости - не менее 1 года;

установленная безотказная наработка - не менее 400 циклов.

Примечание - Циклом следует считать открывание клапана потоком воды с плавным увеличением его подачи до значения, указанного в примечании табл. 1, прекращение подачи и нагружение верхнего корпуса и клапана сетки давлением (0,08+0,01) МПа, (0,8+0,1) кгс · см-2 в течение (60 ± 10) с.

5.3. Требования к конструкции

5.3.1. Надклапанная часть сетки должна выдерживать гидравлическое давление (0,20+0,05) МПа, (2,0+0,5) кгс · см-2.

Появление следов воды в виде капель, течи на наружных поверхностях деталей и в местах соединений не допускается.

5.3.2. Клапан сетки должен перекрывать выход воды из надклапанной части.

Утечка при вертикальном расположении сетки и давлении на клапан столба воды высотой (1,0+0,1) м в трубе, диаметр которой равен диаметру внутреннего отверстия соединительной головки, не должна превышать 30 мм в течение времени не менее 2 мин.

5.4. Требования эргономики

5.4.1. Усилия открывания клапана при давлении в надклапанной части сеток (0,08+0,01) МПа, (0,8+0,1) кгс/см2 должно быть не более:

117,7 Н (12 кгс) - для СВ-80;

147,2 Н (15 кгс) - для СВ-100 и СВ-125.

5.5. Требования стойкости к внешним воздействиям

5.5.1. По исполнению для различных климатических районов и устойчивости к воздействию окружающей среды сетки должны соответствовать ГОСТ 15150.

5.5.2. Резиновые детали сеток климатического исполнения У и ХЛ должны быть изготовлены из резины с диапазоном рабочей температуры от минус 60 °C до плюс 60 °C.

5.6. Требования к поставляемым материалам и изделиям

5.6.1. Поставляемые материалы и изделия, применяемые для изготовления деталей сеток, должны быть приняты входным контролем с проверкой их качества и сопроводительной документации.

5.6.2. Применяемые материалы должны иметь сертификаты или ярлыки, подтверждающие их соответствие стандартам, техническим условиям или другой нормативной документации.

Физико-химические свойства исходных материалов, твердость, шероховатость их поверхностей должны соответствовать стандартам, техническим условиям на их изготовление, а также назначению и условиям работы изготавливаемых из них деталей.

5.6.3. Литые детали сеток должны изготавливаться из алюминиевых сплавов по ГОСТ 1583.

Допускается применение других материалов, которые по механическим и антикоррозионным свойствам не уступают указанным материалам, удовлетворяют условиям эксплуатации СВ, не ухудшают качества и надежности сеток и отвечают предъявляемым к ним требованиям.

5.7. Технология изготовления СВ одного типоразмера должна обеспечивать полную взаимозаменяемость ее сборочных единиц и деталей.

5.8. Поверхности литых деталей СВ не должны иметь трещин, посторонних включений и других дефектов, влияющих на прочность и герметичность сеток.

На поверхностях литых деталей не допускаются раковины длиной свыше 3 мм и глубиной более 25 % от толщины стенки детали.

5.9. Резьба деталей сетки должна быть полного профиля без вмятин, забоин, подрезов и сорванных ниток.

Метрические резьбы должны выполняться по ГОСТ 24705 с полями допусков по ГОСТ 16093: для внутренних резьб - 7Н; для наружных резьб - 8g.

Трубные цилиндрические резьбы должны выполняться по ГОСТ 6357, класс В.

Местные срывы, а также выкрашивания и дробления резьбы не допускаются.

5.10. Решетка СВ должна быть изготовлена из проволочной сетки с номинальным размером ячейки в свету 5 мм по ГОСТ 3826; проволока сетки диаметром 1,2 мм - из высоколегированной стали.

5.11. Резиновые кольца соединительных головок СВ - по ГОСТ 6557.

5.12. Соединительные головки - по ГОСТ 28352.

5.13. Крепление отдельных деталей, сборочных единиц СВ должно исключать их самопроизвольное ослабление и отвинчивание при эксплуатации сеток.

5.14. Комплектность

В комплект поставки СВ должны входить комплектующие изделия, предусмотренные технической документацией на сетку, паспорт, техническое описание, инструкция по эксплуатации или единый документ, их заменяющий, оформленные в соответствии с ГОСТ 2.601.

5.15. Маркировка

5.15.1. На каждую сетку должна быть нанесена маркировка. Маркировка надписей и условных обозначений на СВ должна соответствовать требованиям ТД изготовителя.

5.15.2. Маркировка должна содержать следующие данные:

наименование или товарный знак предприятия-изготовителя;

условное обозначение сетки по системе предприятия-изготовителя;

год выпуска;

название страны-изготовителя.

5.15.3. Метод нанесения маркировки должен обеспечивать ее сохранность в течение срока службы сетки.

5.16. Упаковка

5.16.1. Перед упаковкой сетки должны быть очищены, внутренние полости СВ - осушены.

5.16.2. Сетки должны быть упакованы в решетчатые ящики по ГОСТ 2991 или другую тару, обеспечивающую сохранность СВ при транспортировании и хранении.

5.16.3. Упаковка должна быть проведена так, чтобы исключить перемещение сеток в таре при погрузке, транспортировании и выгрузке.

5.16.4. Тара должна иметь маркировку в соответствии с требованиями ГОСТ 14192.

5.16.5. Техническая и эксплуатационная документация должна быть помещена во влагонепроницаемый пакет и вложена в тару вместе с СВ с указанием «Документация здесь».

6. Требования безопасности

6.1. Требования безопасности к конструкции сеток по ГОСТ 12.2.037.

6.2. Перед началом эксплуатации сетки рекомендуется ознакомиться с устройством СВ и руководством по ее эксплуатации.

7. Правила приемки

7.1. Изготавливаемые предприятиями России сетки должны пройти все стадии и этапы разработки, предусмотренные ГОСТ 15.201, и все виды испытаний (включая межведомственные приемочные), иметь полный комплект конструкторской документации на серийное производство, эксплуатационную документацию.

7.2. Для контроля качества и проверки соответствия сеток требованиям настоящего стандарта СВ должна подвергаться испытаниям, установленным ГОСТ 16504.

7.3. Приемосдаточные испытания

Приемосдаточным испытаниям подвергают каждую сетку.

Приемосдаточные испытания проводят в объеме, указанном в таблице 2.

Таблица 2

Наименование проверки (испытания)

Пункты раздела

Технические требования

Методы испытаний

1. Внешний осмотр; проверка на соответствие КД

5.2.1 (табл. 1, пп. 1, 3, 4*), 5.5.1, 5.5.2, 5.8 - 5.11, 5.14, 5.15

8.4

2. Проверка надклапанной части сетки

5.3.1

8.5

3. Проверка клапана сетки

5.3.2*

8.6

* Испытаниям по отмеченным пунктам подвергают 20 % от партии СВ, изготовленных за смену или в контролируемый период.

7.3.3. Сетки, не выдержавшие приемосдаточные испытания, возвращают для устранения причин возникновения дефектов, повторной проверки и последующего предъявления на испытания.

7.3.4. Принятыми считаются СВ, которые выдержали испытания, укомплектованы и упакованы в соответствии с требованиями настоящего стандарта.

7.3.5. Результаты приемосдаточных испытаний заносятся в паспорт на сетку и заверяются ОТК предприятия-изготовителя.

7.4. Периодические испытания

7.4.1. Периодические испытания проводят один раз в год на сетках, изготовленных в контролируемом периоде и выдержавших приемосдаточные испытания.

7.4.2. На испытания предъявляют не менее трех образцов СВ.

7.4.3. Периодические испытания проводят в объеме и последовательности, указанных в таблице 3.

Таблица 3

Наименование проверки (испытания)

Пункты раздела

Технические требования

Методы испытаний

1. Внешний осмотр; проверка на соответствие КД

5.2.1, 5.5.1, 5.5.2, 5.8 - 5.11, 5.14, 5.15

8.4

2. Проверка надклапанной части и клапана сетки

5.3.1, 5.3.2

8.5, 8.6

3. Проверка усилия открывания клапана

5.4.1

8.7

4. Проверка взаимозаменяемости сборочных единиц и деталей СВ

5.7

8.8

5. Проверка смыкаемости соединительных головок с рукавными головками

5.12

8.9

6. Проверка крепления отдельных деталей и сборочных единиц СВ

5.13

8.4, 8.10

7. Проверка габаритных размеров

5.2.1 (табл. 1, п. 3)

8.11

8. Проверка массы

5.2.1 (табл. 1, п. 4)

8.12

7.4.4. При положительных результатах испытаний считается подтвержденным качество сеток, выпущенных за контрольный период, а также возможность их дальнейшего производства и приемки по той же документации до получения результатов очередных периодических испытаний СВ.

7.4.5. При отрицательных результатах испытаний приемка сеток должна быть приостановлена до выявления причин возникновения дефектов, их устранения и получения положительных результатов повторных испытаний на удвоенном количестве СВ.

7.5. Типовые испытания

7.5.1. Типовые испытания проводят при замене материалов, внесении в конструкцию или технологию изготовления изменений, которые могут повлиять на показатели назначения и надежности сеток.

7.5.2. Испытания проводят для оценки эффективности и целесообразности внесенных изменений и проверяют те показатели СВ, на которые влияют внесенные изменения.

7.5.3. Испытания проводят по специально разработанной программе и методике проведения типовых испытаний сеток.

7.5.4. При положительных результатах типовых испытаний вносят изменения в техническую документацию на СВ в установленном порядке.

7.6. Испытания по проверке показателей надежности

7.6.1. Испытания на надежность проводят один раз в 4 года. Испытаниям подвергают не менее трех сеток каждого типоразмера.

7.6.2. СВ выбирают методом случайного отбора из числа прошедших приемосдаточные испытания.

Дополнительная подготовка сеток, не предусмотренная технологией изготовления, не допускается.

7.7. Оформление результатов испытаний

7.7.1. Результаты испытаний должны быть оформлены актом с приложением протоколов всех проведенных испытаний и проверок СВ.

7.7.2. Обработка результатов измерений должна проводиться в соответствии с инструкциями по применению используемых средств измерений.

7.7.3. За результаты проведенных испытаний принимают среднеарифметическое значение не менее трех измерений каждого показателя сетки.

7.7.4. Протоколы испытаний должны содержать:

дату и место проведения испытаний;

обозначение сетки по системе предприятия-изготовителя;

вид и условия испытаний;

данные об измерительных средствах и приборах;

результаты испытаний.

8. Методы испытаний

8.1. Все испытания проводят в нормальных климатических условиях по ГОСТ 15150.

8.2. При проведении испытаний используют оборудование и средства контроля, обеспечивающие требуемую точность измерений, поверенные и аттестованные в установленном порядке.

8.3. Для измерения давления должны применяться манометры класса точности не ниже 0,6.

8.4. Внешний осмотр

8.4.1. При внешнем осмотре проверяют вид и качество изготовления сетки, климатическое исполнение (пп. 5.5.1, 5.5.2, 5.8, 5.9), условный проход по п. 5.2.1 (табл. 1, п. 1), крепление сборочных единиц и деталей (п. 5.13), комплектность (п. 5.14), наличие и содержание маркировки (п. 5.15).

Проверки проводят визуально и путем анализа ТД.

8.4.2. Соответствие применяемых для изготовления СВ материалов требованиям пп. 5.5.1, 5.5.2, 5.6, 5.10, 5.11) проверяют по сопроводительной документации изготовителя при наличии в ней сертификатов соответствия на материалы.

При отсутствии сертификата соответствия качество материала проверяют методами лабораторного анализа.

8.4.3. Метрические резьбы проверяют резьбовыми пробками ГОСТ 17756, ГОСТ 17757 и резьбовыми кольцами ГОСТ 17763, ГОСТ 17764; трубные цилиндрические резьбы - резьбовыми пробками по ГОСТ 18925, ГОСТ 18926 и резьбовыми кольцами ГОСТ 18929 и ГОСТ 18930.

8.5. Проверка надклапанной части сетки

8.5.1. Проверку прочности материала деталей и герметичности соединений надклапанной части на соответствие требованиям п. 5.3.1 проводят под гидравлическим испытательным давлением с выдержкой не менее 2 мин.

8.5.2. Допускается проводить испытания сеток в собранном виде.

8.6. Проверка клапана

8.6.1. Проверку герметичности перекрывания клапаном надклапанной части сетки (п. 5.3.2) проводят с помощью трубы, внутренний диаметр которой равен диаметру внутреннего отверстия соединительной головки (при допускаемом отклонении ± 5 %).

8.6.2. Утечку измеряют при вертикальном расположении сетки и давлении на клапан столба воды высотой (1,0+0,1) м в трубе с помощью мерного сосуда.

Время выдержки под давлением не менее 2 мин. Время определяют с точностью до 1 с.

Объем утечки измеряют с точностью до 5 %.

8.7. Проверка усилия открывания клапана

8.7.1. Усилие открывания клапана (п. 5.4.1) измеряют динамометром, зацепленным за тросик рычага подъема клапана. При этом направление прилагаемого усилия должно совпадать с направлением хода рычага в пазу сетки.

8.7.2. Величину усилия определяют по показанию динамометра с точностью до 0,1 кгс. Для определения усилия следует применять динамометр не ниже 2-го класса точности по ГОСТ 13837.

8.8. Проверку взаимозаменяемости деталей на соответствие требованиям п. 5.7 проводят перестановкой деталей и сборочных единиц на двух сетках одного типоразмера. Подгонка деталей не допускается.

8.9. Проверку смыкаемости соединительных головок СВ (п. 5.12) с соответствующими типоразмерами рукавных головок по ГОСТ 28352 проводят вручную, при этом должен быть обеспечен заход по спиральному выступу на величину, равную 1,0 - 1,5 ширины клыка.

8.10. Крепление отдельных деталей и сборочных единиц сеток по п. 5.13 проверяют при внешнем осмотре СВ, а также во время проведения испытаний по пп. 8.5 - 8.7 настоящего стандарта.

8.11. Габаритные размеры сетки при проверке соответствия требованиям п. 5.2.1 (табл. 1, п. 3) измеряют с точностью до 1 мм.

Одновременно контролируют соответствие решеток СВ требованиям п. 5.10 настоящего стандарта. Размеры ячейки и диаметр проволоки сетки проверяют штангенциркулем с ценой деления 0,05 мм (ГОСТ 166).

8.12. Соответствие массы сеток требованиям п. 5.2.1 (табл. 1, п. 4) проверяют с погрешностью не более 2 %.

8.13. Проверка коэффициента гидравлического сопротивления

8.13.1. Коэффициент гидравлического сопротивления СВ определяют при постановке сеток на производство, а также при проведении типовых испытаний.

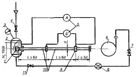
8.13.2. Испытания по проверке соответствия сеток требованиям п. 5.2.1 (табл. 1, п. 2) следует проводить на специальном стенде, рекомендуемая схема которого приведена в приложении Б.

Диаметр проходного сечения мерных участков трубопровода должен быть равным внутреннему диаметру входного отверстия сетки (допускаемое отклонение ± 2 %).

8.13.3. Коэффициент гидравлического сопротивления ξ сетки определяют по формуле

                                                           (1)

где Dh - разность показаний преобразователей давления А и Б, Па;

ρ - плотность воды, кгм-3;

V - средняя скорость движения воды в трубопроводе, определяемая по формуле:

                                                           (2)

где Q - расход воды через мерные участки, м3 · с-1;

d - диаметр проходного сечения мерных участков трубопровода, м.

8.13.4. Значение коэффициента гидравлического сопротивления СВ следует определять как среднее арифметическое результатов не менее трех измерений.

8.14. Проверка показателей надежности

8.14.1. Проверку полного срока службы сеток на соответствие требованиям п. 5.2.3 проводят путем сбора информации и обработкой данных, полученных в условиях подконтрольной эксплуатации СВ.

Критерием предельного состояния следует считать такое техническое состояние сетки, при котором восстановление ее работоспособности нецелесообразно или невозможно.

8.14.2. Проверку срока сохраняемости проводят на сетках, прошедших хранение в течение не менее 1 года, при этом СВ должны быть расконсервированы и подвергнуты испытаниям в объеме, указанном в таблице 2 настоящего стандарта.

Срок сохраняемости считается подтвержденным, если сетки выдержали данные испытания.

8.14.3. Проверку показателя установленной безотказной наработки сетки (п. 5.2.3) проводят при давлении (0,08+0,01) МПа, (0,8+0,1) кгс · -2 наработкой циклов.

Критерием отказа считают поломку деталей сетки, а также увеличение утечки воды более 30 мм по сравнению со значением, указанным в п. 5.3.2 настоящего стандарта.

Проверку герметичности перекрывания клапаном надклапанной части сетки проводят по методике, изложенной в п. 8.6.1 настоящего стандарта. Контроль проводят через каждые 100 циклов.

9. Транспортирование и хранение

9.1. Транспортирование сеток допускается любым видом транспорта в упакованном согласно требованиям п. 5.16 настоящего стандарта виде.

9.2. При транспортировании должны соблюдаться правила перевозки грузов, действующие на транспорте данного вида.

9.3. Сетки, подлежащие длительному хранению, должны быть подвергнуты консервации.

9.4. Условия хранения СВ - по группе 2 ГОСТ 15150; условия транспортирования - по группам 4, 6, 7, 9 ГОСТ 15150.

10. Указания по эксплуатации

10.1. Потребители должны ознакомиться с техническим описанием и руководством по эксплуатации СВ.

10.2. Расположение сетки со всасывающим рукавом на пожарный автомобиль должно исключать соударения СВ с твердыми предметами во время движения автомобиля.

10.3. После каждого использования сетки должны быть очищены от грязи и посторонних предметов.

11. Гарантии изготовителя

11.1. Предприятие-изготовитель гарантирует соответствие СВ требованиям настоящего стандарта при соблюдении требований по эксплуатации, транспортированию и хранению сеток.

11.2. Гарантийный срок устанавливается 18 месяцев со дня ввода сетки в эксплуатацию.

Приложение А

(рекомендуемое)

1 - верхний корпус; 2 - кольцо; 3 - клапан; 4 - тросик; 5 - нижний корпус;
6 - решетка; 7 - пружина; 8 - рычаг

Рисунок А1 - Сетка всасывающая

Примечание - Рисунок не определяет конструкцию сетки.

Приложение Б

(рекомендуемое)

1 - сетка; 2 - емкость (4 м3); 3 - манометр; 4 - кран; 5 - преобразователь давления («Сапфир»); 6 - насос центробежный;
7
- задвижка; 8 - расходомерное устройство; 9 - уравнительная камера; 10 - мерный участок; 11 - проливочный кран

Рисунок Б1 - Схема стенда для определения коэффициента гидравлического сопротивления сеток

Ключевые слова: техника пожарная, сетка всасывающая, клапан, надклапанная часть, коэффициент гидравлического сопротивления, основные показатели, технические требования, методы испытаний.

 



© 2013 Ёшкин Кот :-)