Информационная система
«Ёшкин Кот»

XXXecatmenu

Методические указания на фотометрическое определение озона в воздухе

(утв. заместителем Главного государственного санитарного врача СССР
А.И. Заиченко 18 апреля 1977 г. № 1639-77)

I. Общая часть

1. Определение основано на реакции озона с йодистым калием с выделением йода, который с солянокислым диметил-n-фенилендиамином образует окрашенный продукт.

2. Предел обнаружения 0,4 мкг в анализируемом объеме раствора.

3. Предел обнаружения в воздухе 0,05 мг/м3 (расчетная).

4. Определению мешают окислы азота, перекись водорода, хлор, другие окислители и некоторые восстановители. Для задержания окислов азота, перекиси водорода и газообразных восстановителей применяют фильтрующий патрон. Окислители и восстановители в виде аэрозоля задерживают с помощью двух фильтров АФА-В, помещенных в патрон, который ставят перед поглотительными приборами.

5. Предельно допустимая концентрация озона в воздухе 0,1 мг/м3.

II. Реактивы и аппаратура

6. Применяемые реактивы и растворы.

Фиксанал йода 0,01 г/экв.

Стандартный раствор йода с содержанием 10 мкг/мл готовят перед употреблением в мерной колбе емкостью 100 мл; вносят 0,8 мл 0,01 н. раствора йода и доводят до метки 1 %-ным раствором йодистого калия.

Калий йодистый, х. ч., ГОСТ 4232-65, 1 %-ный раствор.

N, N-Диметил-n-фенилендиамин дигидрохлорид, ч.д.а., MPТУ 6-09-635-63; 0,02 %-ный раствор, свежеприготовленный из перекристаллизованного. Для перекристаллизации 6 г вещества вносят в термостойкий стакан, добавляют 90 мл 96° спирта и помещают на водяную баню, имеющую температуру 90 - 98 °С.

Содержимое стакана перемешивают стеклянной палочкой до полного растворения вещества. Раствор быстро фильтруют через складчатый фильтр, фильтрат помещают на водяную баню с температурой 90 °С. После закипания раствора быстро и осторожно добавляют ацетон до заметного помутнения раствора (~160 мл). Раствор снова помещают на водяную баню, перемешивают и потирают стеклянной палочкой по стенкам стакана до выпадения осадка.

Затем к раствору с осадком добавляют 120 мл ацетона и помещают стакан в емкость со льдом. Через 10 - 15 мин раствор декантируют с осадка. К осадку добавляют 60 мл ацетона, перемешивают и осадок отфильтровывают через бумажный фильтр на воронке Бюхнера. Осадок с фильтра переносят в стакан, прибавляют 60 мл спирта и повторяют операцию перекристаллизации, как описано выше.

Осадок после второй перекристаллизации промывают на воронке Бюхнера под вакуумом ацетоном дважды по 50 мл. Полученный продукт сушат между листами фильтровальной бумаги, помещают в эксикатор и хранят над прокаленной окисью кальция.

Натр едкий, х. ч., ГОСТ 4328-66.

Азотная кислота, ГОСТ 4461-67, 0,1 н. и 10 %-ный растворы.

Серебро азотнокислое, х. ч., ГОСТ 1277-63, 1 %-ный раствор.

Метиловый красный, ГОСТ 5853-51, 0,001 %-ный раствор.

Ацетон, ГОСТ 2603-71.

Соляная кислота, ч., ГОСТ 3118-67, 25 %-ный и 0,1 н. растворы.

Этиловый спирт, ГОСТ 5963-67.

Серная кислота, ГОСТ 4204-66, концентрированная.

Хромовый ангидрид, ч., ГОСТ 3776-68.

Силикагель марки АСК фракции 0,25 - 0,5 мм.

Фильтрующий патрон: U-образную трубку высотой 8 - 9 см, диаметром 0,5 - 0,6 см заполняют примерно на 7 см ее высоты сорбентом Мохова-Шинкаренко. Концы трубки закрывают ватным тампоном. Перед отбором пробы трубку подсоединяют перед поглотительным прибором. При отсутствии сорбента его готовят следующим образом: силикагель кипятят в течение часа с 25 %-ным раствором соляной кислоты, затем отмывают горячей водой до отрицательной реакции на ион хлора (реакция с азотнокислым серебром).

Силикагель сушат в сушильном шкафу, а затем прокаливают в муфеле при 480 - 500° в течение 2 ч. Хранят в банке с притертой пробкой. К 4,7 г силикагеля, нагретого до 35 - 40°, добавляют при непрерывном перемешивании 2 мл раствора хромового ангидрида в концентрированной серной кислоте (на 20 мл кислоты 0,6 г хромового ангидрида) до получения однородной массы оранжевого цвета. Полученный реагент хранят в банке с притертой пробкой без доступа влаги.

7. Применяемые посуда и приборы.

Аспирационное устройство.

Поглотительные приборы с пористой пластинкой № 2 (см. рис. 3).

Пробирки колориметрические плоскодонные, из бесцветного стекла высотой 120 мм, внутренним диаметром 15 мм.

Пипетки градуированные, ГОСТ 20292-74, вместимостью 1, 5, 10 мл с делениями на 0,01 и 0,1 мл.

Цилиндры мерные, ГОСТ 1770-74.

Колбы мерные, ГОСТ 1770-74, вместимостью 1 л и 100 мл.

Баня водяная.

Стаканы химические вместимостью 500 мл.

Патроны для фильтров (см. рис. 1 и 2).

Фильтры АФА и бумажные с синей лентой.

Воронки стеклянные.

Воронки Бюхнера.

Термометр на 100°.

Фотоэлектрический колориметр.

III. Отбор пробы воздуха

8. Воздух со скоростью 0,5 - 1 л/мин аспирируют через поглотительный прибор, содержащий 10 мл 1 %-ного раствора йодистого калия. Для определения 1/2 ПДК необходимо отобрать 16 л воздуха.

IV. Описание определения

9. 5 мл пробы из поглотительного прибора вносят в пробирку, прибавляют 0,5 мл 0,02 %-ного раствора солянокислого диметилпарафенилендиамина. Раствор перемешивают и через 10 мин фотометрируют в кюветах с толщиной слоя 10 мм при длине волны 490 нм по сравнению с контролем, который готовят одновременно и аналогично пробам.

Содержание озона в анализируемом объеме определяют по предварительно построенному калибровочному графику. Для построения калибровочного графика готовят шкалу стандартов согласно табл. 29.

Таблица 29

Шкала стандартов

№ стандарта

Стандартный раствор йода, мл

Иодид калия, 1 %-ный раствор, мл

Содержание йода, мкг

1

0

5,0

0

2

0,2

4,8

2,0

3

0,4

4,6

4,0

4

0,6

4,4

6,0

5

0,8

4,2

8,0

6

1,0

4,0

10,0

 

Во все пробирки шкалы прибавляют по 0,5 мл 0,02 %-ного раствора солянокислого диметилпарафенилендиамина, перемешивают. Через 10 мин измеряют оптическую плотность растворов и строят график. Шкалой стандартов можно пользоваться для визуального определения. В этом случае ее готовят в колориметрических пробирках одновременно с пробами.

Для определения озона можно также пользоваться искусственной шкалой стандартов, приготовленной согласно табл. 30.

Таблица 30

Шкала стандартов

№ стандарта

0,001 %-ный раствор метилрота, мл

0,1 н. раствор соляной кислоты, мл

Содержание озона, мкг

1

0

5,5

0

2

0,15

5,35

0,4

3

0,3

5,2

0,75

4

0,44

5,05

1,1

5

0,49

5,01

1,5

6

0,7

4,8

1,9

 

Концентрацию озона в мг/м3 воздуха X вычисляют по формуле:

где G - количество йода, найденное в анализируемом объеме, мкг;

V1 - общий объем пробы, мл;

V - объем пробы, взятый для анализа, мл;

V20 - объем воздуха, взятый для анализа, приведенный к стандартным условиям по формуле (см. приложение), л;

0,189 - коэффициент пересчета йода на озон.

При пользовании искусственной стандартной шкалой на коэффициент не умножают.

Приложение 1

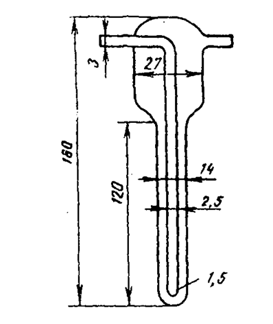
Рис. 1. Аллонж открытый (патрон для фильтра)

а - корпус; б - гайка; 1 - накатка

 

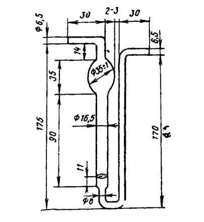
Рис. 2. Крышка закрытого аллонжа

 

Рис. 3. Поглотительный прибор с пористой пластинкой

 

Рис. 4. Прибор для получения мышьяковистого водорода

1 - пробирка с пришлифованной пробкой; 2 - делительная воронка; 3 - индикаторная трубка Бальской

 

Рис. 5. Трубка стеклянная гофрированная

 

Рис. 6. Поглотительный прибор Яворовской

 

Рис. 7. Схема отбора проб воздуха на тетраэтилсвинец

 

Рис. 8. Микроприбор для перегонки трихлорсилана

 

Рис. 9. Поглотительный прибор Зайцева

 

Рис. 10. Поглотительный прибор Рихтера

 

Рис. 11. Поглотительный прибор Петри

 

Рис. 12. Поглотительный прибор Полежаева

 

Рис. 13. Колба из тугоплавкого стекла

 

Рис. 14. Прибор для перегонки с водяным паром

 

Рис. 15. Прибор для дистилляции

 

Рис. 16. Приборы для разрушения хлорорганических ядохимикатов

 

Рис. 17. Установка для определения хлорорганических инсектицидов

 

1 - склянка Тищенко с серной кислотой; 2 - поглотитель с натронной известью; 3 - прибор для разрушения хлорорганических инсектицидов; 4 - термометр; 5 - парафиновая баня; 6 - электрическая плитка; 7 - пробирка-приемник

 

Рис. 18. Схема отбора проб пыли методом внешней фильтрации

1 - воздуховод; 2 - пылеотборная трубка; 3 - аллонж с фильтром; 4 - ротаметр; 5 - аспиратор

 

Рис. 19. Схема отбора проб пыли методом внутренней фильтрации

1 - воздуховод; 2 - аллонж с фильтром; 3 - металлическая трубка; ротаметр; 5 - аспиратор

Приложение 2

Расчет концентрации вредного вещества в воздухе

В соответствии с требованиями ГОСТ 12.1.005-76 объем воздуха, аспирированного при отборе проб, приводят к стандартным условиям: температуре 20 °С и барометрическому давлению 101,33 кПа (760 мм рт. ст.) по формуле:

где Vt - объем воздуха, измеренный при t °C и давлении 101,33 кПа.

Для упрощения расчетов пользуются коэффициентами К (приложение 3), вычисленными для температур в пределах от 6 до 40 °С и давлений от 97,33 до 104,0 кПа (730 - 780 мм рт. ст.).

В сборниках ТУ, некоторых МУ и во многих практических руководствах по санитарной химии в составе приложений имеются таблицы коэффициентов пересчета объема воздуха к нормальным условиям (0 °С и 101,33 кПа).

Численные значения коэффициентов в этих таблицах приведены с точностью до четвертого знака для температур от 5 до 40 °С с интервалом в 1° и давлений от 730 до 780 мм рт. ст. с интервалом в 2 мм рт. ст.

Однако нет практической надобности в столь многозначных и слишком подробных таблицах, так как максимальная погрешность четырехзначных коэффициентов составляет всего лишь ± 0,06 %. Согласно ГОСТ 12.1.005-76 погрешность измерения объема воздуха не должна превышать ± 10 %, поэтому точность коэффициентов пересчета на уровне ± 1 % следует считать вполне достаточной.

Приложение 3

Коэффициенты К для приведения объема воздуха к стандартным условиям

t °С

Давление Р, кПа/мм рт. ст.

97,33/730

98,66/740

100/750

101,33/760

102,7/770

104/780

6

1,009

1,023

1,036

1,050

1,064

1,078

8

1,002

1,015

1,029

1,043

1,560

1,070

10

0,994

1,008

1,022

1,035

1,049

1,063

12

0,987

1,001

1,015

1,028

1,042

1,055

14

0,981

0,994

1,007

1,021

1,034

1,048

16

0,974

0,987

1,001

1,014

1,027

1,040

18

0,967

0,980

0,994

1,007

1,020

1,033

20

0,961

0,974

0,987

1,000

1,013

1,026

22

0,954

0,967

0,980

0,993

1,006

1,019

24

0,948

0,961

0,974

0,987

1,000

1,012

26

0,941

0,954

0,967

0,980

0,993

1,006

28

0,935

0,948

0,961

0,973

0,986

0,999

30

0,929

0,942

0,954

0,967

0,980

0,992

32

0,923

0,935

0,948

0,961

0,973

0,986

34

0,917

0,929

0,942

0,954

0,967

0,979

36

0,911

0,923

0,936

0,948

0,961

0,973

38

0,905

0,917

0,930

0,942

0,955

0,967

40

0,899

0,911

0,924

0,936

0,948

0,961

 

Δ Р

1

2

3

4

5

6

7

8

9

Δ K

1

3

4

5

7

8

9

10

12

 

Искомый коэффициент К, пользуясь упрощенной таблицей, находят в соответствии со следующей схемой:

где ΔKt - поправка на температуру;

ΔKp - поправка на давление.

1. Численное значение давления Р, путем исключения единиц, округляют до целого числа, кратного десяти (Ртабл)

2. В графе Р находят коэффициент, соответствующий заданной температуре. Если цифра °С нечетная, то выписывают значение коэффициента при температуре t + 1 (ближайшее снизу число) и увеличивают его третий знак на 3 единицы (т. е. прибавляют 0,003).

3. Поправку на ΔР определяют по таблице пропорциональных частей, приведенной (снизу) основной таблицы.

Примеры. Требуется определить коэффициент К для следующих параметров окружающей среды:

 

№ п/п

t °С

Р мм рт. ст.

Ртабл + ΔР

Ктабл + ΔKt

ΔKp

К

1

18

750

750 + 0

0,994 + 0

0,000

0,994

2

5

788

780 + 8

1,078 + 0,003

0,010

1,091

3

23

743

740 + 3

0,961 + 0,003

0,004

0,968

4

29

732

730 + 2

0,929 + 0,003

0,003

0,935

5

22

781

780 + 1

1,019 + 0

0,001

1,020

 

В первом примере значение искомого коэффициента берется непосредственно из таблицы. В тех случаях, когда цифра t °С нечетна (примеры 2, 3 и 4), выписывают Ктабл, соответствующий Ртабл и температуре (t + 1) °С и прибавляют к нему 0,003.

Поправку на излишек единиц ΔР определяют по вспомогательной таблице (их значения вписаны в графу ΔKp).

Величину коэффициента К определяют как сумму поправок на температуру и давление и Ктабл (графа К).

В примере 5 ввиду четности цифры t °С поправка на температуру отсутствует.

 

 



© 2013 Ёшкин Кот :-)