Технический
комитет по стандартизации
«Трубопроводная арматура и сильфоны»
(ТК 259)
Закрытое акционерное общество
«Научно-производственная фирма
«Центральное конструкторское бюро арматуростроения»

СТ ЦКБА 060-2008
Арматура трубопроводная
ХОДОВЫЕ РЕЗЬБОВЫЕ ПАРЫ
Основные размеры, технические требования
НПФ «ЦКБА»
2008 г.
Предисловие
1 РАЗРАБОТАН Закрытым акционерным обществом
«Научно-производственная фирма «Центральное конструкторское бюро
арматуростроения» (ЗАО «НПФ «ЦКБА»).
2 ПРИНЯТ И ВВЕДЕН В ДЕЙСТВИЕ приказом ЗАО «НПФ «ЦКБА» от
04.04.2008 г. № 24
3 СОГЛАСОВАН Техническим комитетом «Трубопроводная арматура и
сильфоны» (ТК 259).
Представительством заказчика 1024 ВП МО РФ
4 ВЗАМЕН ОСТ
26-07-1232-87 и РД
24.207.08-90
СОДЕРЖАНИЕ
Арматура
трубопроводная
ХОДОВЫЕ
РЕЗЬБОВЫЕ ПАРЫ
Основные
размеры, технические требования
Дата введения: 01-10-2008
Настоящий
стандарт распространяется на трубопроводную арматуру общепромышленного
назначения от DN6 до DN1400 с ручным управлением
или электроприводом и устанавливает:
-
основные размеры ходовых резьбовых пар, работающих при температуре в узле
трения до 503 К (230 °С) и удельной нагрузке в резьбовом соединении до 50 МПа (500
кгс/см2);
-
выбор материалов и работоспособности в зависимости от условий эксплуатационных
характеристик;
-
технические требования и рекомендации по применению ходовых резьбовых пар.
2.1 В
настоящем стандарте использованы нормативные ссылки на следующие нормативные
документы:
ГОСТ
1050-88 Прокат сортовой, калиброванный, со специальной отделкой поверхности
из углеродистой качественной конструкционной стали. Общие технические условия.
ГОСТ
1412-85 Чугун с пластинчатым графитом для отливок. Марки.
ГОСТ
2789-73 Шероховатость поверхности. Параметры и характеристики.
ГОСТ
4366-76 Смазка солидол синтетический. Технические условия.
ГОСТ
4543-71 Прокат из легированной конструкционной стали. Технические условия.
ГОСТ
5632-72 Стали высоколегированные и сплавы коррозионностойкие, жаростойкие и
жаропрочные. Марки.
ГОСТ 6267-74
Смазка ЦИАТИМ-201. Технические условия.
ГОСТ
6636-69 Основные нормы взаимозаменяемости. Нормальные линейные размеры.
ГОСТ
7293-85 Чугун с шаровидным графитом для отливок. Марки.
ГОСТ
7769-82 Чугун легированный для отливок со специальными свойствами. Марки.
ГОСТ
7872-89 Подшипники упорные шариковые одинарные и двойные. Технические
условия.
ГОСТ 9433-80
Смазка ЦИАТИМ-221. Технические условия.
ГОСТ
9562-81 Основные нормы взаимозаменяемости. Резьба трапецеидальная однозаходная. Допуски.
ГОСТ
10549-80 Выход резьбы. Сбеги, недорезы, проточки и фаски.
ГОСТ
13943-86 Кольца пружинные упорные плоские внутренние эксцентрические и
канавки для них. Конструкция и размеры.
ГОСТ 14068-79
Паста ВНИИНП-232. Технические условия.
ГОСТ
15527-2004 Сплавы медно-цинковые (латуни), обрабатываемые давлением. Марки.
ГОСТ
17711-93 Сплавы медно-цинковые (латуни) литейные. Марки.
ГОСТ
18175-78 Бронзы без оловянные, обрабатываемые давлением. Марки.
ГОСТ 19782-74
Паста ВНИИНП-260. Технические условия.
ГОСТ
24643-81 Основные нормы взаимозаменяемости. Допуски формы и расположения
поверхностей. Числовые значения.
ГОСТ
24737-81 Основные нормы взаимозаменяемости. Резьба трапецеидальная
однозаходная. Основные размеры.
ГОСТ
24738-81 Основные нормы взаимозаменяемости. Резьба трапецеидальная.
Диаметры и шаги.
ГОСТ
24739-81 Основные нормы взаимозаменяемости. Резьба трапецеидальная
многозаходная.
ГОСТ
25549-90 Топлива, масла, смазки и специальные жидкости. Химмотологическая
карта. Порядок составления и согласования.
СТ
ЦКБА 016-2005 Арматура трубопроводная. Термическая обработка деталей, заготовок
и сварных сборок из высоколегированных сталей, коррозионностойких и жаропрочных
сплавов.
СТ
ЦКБА 027-2006 Арматура трубопроводная.
Термическая обработка деталей из цветных сплавов на основе меди и никеля.
Типовой технологический процесс.
СТ ЦКБА 042-2007 Арматура
трубопроводная. Покрытия электролитические, химические и диффузионные.
Технические требования.
СТ ЦКБА 050-2007 Арматура
трубопроводная. Отливки из чугуна. Общие технические требования.
СТ ЦКБА 059-2007 Арматура
трубопроводная. Антифрикционные смазки. Область применения. Нормы расхода.
РД
24.207.12-90 Арматура трубопроводная. Подшипники скольжения из
композиционных материалов. Конструкция, размеры и технические требования.
ТУ 14-1-272-72 Прутки и
полосы из жаропрочных сплавов марок ХН35ВТ (ЭИ612),
ХН35КВТ/ЭИ612К/, ХН75ТБЮ/ЭИ869/.
ТУ 38.1011062-86 Смазка ВНИИНП-276.
ТУ 38.101.891-81 Смазки
резьбовые Р-113,
Р-402, Р-416.
Примечание - При
пользовании настоящим стандартом целесообразно проверить действие ссылочных
стандартов по соответствующему указателю стандартов, составленному по состоянию на 1 января текущего года. Если
ссылочный документ заменен, то при пользовании
настоящим стандартом следует руководствоваться заменяющим стандартом. Если
ссылочный документ отменен без замены, то
положение, в котором дана ссылка на него, применяется в части, не
затрагивающей эту ссылку.
2.2 В настоящем стандарте
использованы следующие сокращения и обозначения:
МО РФ - Министерство обороны
Российской Федерации;
ТУ - технические условия.
3.1
Классификация ходовых узлов трубопроводной арматуры представлена в таблице 1.
Таблица 1 -
Классификация ходовых узлов
Обозначение
типов и исполнения
|
Характеристики
|
Рисунок
|
I
|
Ходовые узлы без подшипников
|
|
IA
|
усилие управления приложено к шпинделю
|
А.1
|
IБ
|
усилие управления приложено к втулке
|
А.2
|
IB
|
усилие управления приложено к втулке
|
А.3
|
IГ
|
усилие управление приложено к втулке с камерой смазки
|
А.4
|
II
|
Ходовые узлы с подшипниками качения
|
|
IIА
|
с выдвижным шпинделем, с одним подшипником качения
|
А.5
|
IIБ
|
с выдвижным шпинделем, с двумя подшипниками качения
|
А.6
|
IIВ
|
с невыдвижным шпинделем, с двумя подшипниками качения
|
А.7
|
III
|
Ходовые узлы с подшипниками скольжения
|
|
IIIA
|
с подшипниками скольжения
|
А.8
|
IIIБ
|
с подшипниками скольжения
|
А.9
|
3.2 Типы и исполнения ходовых узлов приведены в приложении А.
4.1
Основные размеры ходовой резьбовой пары должны соответствовать указанным
размерам на рисунке 1 и в таблице 2.

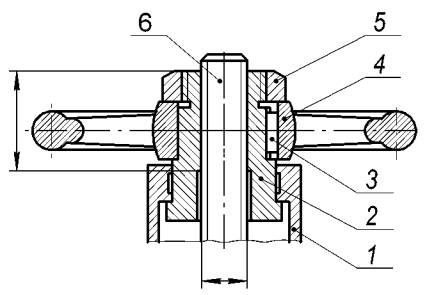
1 - Втулка резьбовая. 2 - Шпиндель
Рисунок 1
Таблица 2 Основные размеры ходовых резьбовых пар
В миллиметрах
Диаметр
трапецеидальной резьбы, d
|
Шаг резьбы
Р
|
Длина свинчивания ходовой
резьбы во втулке L, рекомендуемая
|
1 ряд
|
2 ряд
|
1 ряд
|
2 ряд
|
10
|
-
|
2
|
-
|
20
|
12
|
-
|
|
2
|
20
|
-
|
14
|
|
2
|
30
|
16
|
-
|
4
|
2
|
30
|
-
|
18
|
4
|
2
|
40
|
20
|
-
|
4
|
2
|
40
|
-
|
22
|
5
|
-
|
50
|
24
|
-
|
5
|
-
|
50
|
-
|
26
|
5
|
-
|
50
|
28
|
-
|
5
|
-
|
50
|
-
|
30
|
6
|
-
|
63
|
32
|
-
|
6
|
-
|
63
|
36
|
-
|
6
|
|
63
|
-
|
38
|
7
|
|
|
40
|
-
|
7
|
-
|
63
|
44
|
-
|
7
|
|
80
|
-
|
50
|
8
|
|
80
|
60
|
-
|
9
|
-
|
80
|
70
|
-
|
10
|
-
|
100
|
80
|
-
|
10
|
-
|
100
|
100
|
-
|
12
|
-
|
120
|
120
|
-
|
14
|
16
|
160
|
Примечание - При выборе
диаметров и шагов резьбы первый ряд является предпочтительным.
|
4.2 Диаметры и
шаги резьб, условное обозначение по ГОСТ
24738.
4.3 Длина свинчивания L ходовой резьбы во втулке резьбовой должна
быть в пределах от 7Р до 16Р и выбираться в соответствии с требованиями ГОСТ
6636.
4.4
Наружный диаметр D втулки резьбовой должен быть для
типоразмеров от Tr10×2 до Tr44×8 не более 2,2d и для типоразмеров от Tr44×8 до Tr120×16 не более l,6d и определяется расчетом на
прочность
5.1
Ходовые резьбовые пары следует изготавливать по настоящему стандарту и по
рабочим чертежам, утвержденным в установленном порядке.
5.2
Резьба трапецеидальная однозаходная - по ГОСТ
24737. Длины свинчивания и поля допусков (8Н/8е) наружной и внутренней
резьбы - по «грубому» классу точности в соответствии с ГОСТ
9562.
Допускается
в технически обоснованных случаях применять двухзаходную трапецеидальною резьбу
- по ГОСТ
24739.
Сбеги
резьбы, фаски и проточки - по ГОСТ 10549.
5.3
Шероховатость опорной поверхности резьбовых пар трения не более Ra2,5 по ГОСТ
2789.
Допускается
обрабатывать внутренний и наружный диаметры трапецеидальных резьб с шероховатостью
Rz20.
5.4
Допуски соосности и симметричности - по 10 степени точности в соответствии с ГОСТ
24643. Для арматуры по заказам МО РФ - по 9 степени точности.
5.5
Термическая обработка деталей резьбовой пары и заготовок из высоколегированных
сталей, коррозионностойких и жаропрочных сплавов по СТ ЦКБА
016.
Термическая
обработка деталей и заготовок из цветных сплавов по СТ
ЦКБА 027.
5.6
Химико-термическую обработку материалов следует проводить в соответствии с
нормативно-технической и технологической документацией, действующей
на предприятии.
5.7
Вид и толщина покрытий деталей, технические требования к качеству поверхностей,
подлежащих покрытию, к качеству покрытий, правила их приемки и методы испытаний
- в соответствии с СТ ЦКБА 042.
5.8
Перед сборкой детали резьбовых ходовых пар необходимо очистить от загрязнений,
снять заусенцы, промыть в бензине и смазать антифрикционной смазкой.
Методы
нанесения смазки и нормы расхода смазки - в соответствии с СТ ЦКБА 059.
5.9
Резьбовая пара должна обеспечивать плавное перемещение шпинделя в резьбовой
втулке по всей длине перемещения, линейная скорость скольжения в резьбовой паре
- до 0,3 м/с.
5.10
«Условный ход» шпинделя под нагрузкой - величина осевого перемещения шпинделя,
которому соответствует падение максимального осевого усилия до 30 % от
начального значения.
5.11
Температура окружающей среды - от 213 К до 328 К (от минус 60 до плюс 55 °С) с
относительной влажностью до 100 % при температуре 308К (35 °С). В воздухе
допускаются примеси паров рабочих продуктов в пределах санитарной нормы.
5.12
Гарантийные обязательства ходовых резьбовых пар арматуры заказов МО РФ в
соответствии с таблицей 6.
6.1
Максимальное усилие по шпинделю и максимальный крутящий момент на шпинделе
определяется силовым расчетом арматуры.
6.2
Номинальный диаметр ходовой резьбы определяется по минимальному диаметру
шпинделя и в соответствии с ГОСТ
24737.
6.3
Расчетные характеристики резьбовых ходовых пар, марки смазки, коэффициенты
трения, удельные нагрузки для арматуры общепромышленного назначения приведены в
таблице 3, для арматуры заказов МО
РФ - таблица 4.
Значение
коэффициента трения покоя следует принимать на 30 % выше коэффициента трения,
указанного в таблицах 3, 4.
Согласование
применения смазок следует выполнять конкретно для каждого изделия в
соответствии с ГОСТ
25549.
6.4
Выбор материалов резьбовых пар в зависимости от удельной нагрузки в резьбе
приведены в таблице 5.
Твердость
шпинделя и втулки должна соответствовать значениям, приведенным в таблице 5.
6.5
Материалы деталей резьбовых пар, работающих в контакте с рабочей средой
(ходовой узел типа II, исполнение В - невыдвижной
шпиндель (рисунок А.7) должны быть
коррозионностойкими к применяемым рабочим средам.
Таблица 3 - Характеристики резьбовых ходовых пар для арматуры
общепромышленного назначения
Тип ходового узла,
исполнение
|
Размер ходовой резьбы d×P, мм
|
Длина ходовой резьбы
во втулке L, мм
|
Усилие на шпинделе Q Н (кгс), не более
|
Крутящий момент на шпинделе Н · м (кгс · см), не более
|
Условный ход шпинделя, мм
|
Марка смазки
|
Коэффициент трения
|
Температура в узле трения Т, °С, не более
|
Удельная нагрузка в резьбе q, МПа (кгс/см2), не более
|
Средняя наработка до
отказа Nc цикл, не менее
|
Среднеквадратичное отклонение s(Nc) цикл, не более
|
Вероятность
безотказной работы Р (t) в течение
периода t
|
t цикл
|
P (t)
|
|
|
|
|
7,15
|
|
ВНИИНП-275
|
|
200
|
30 (300)
|
2220
|
440
|
1500
|
0,960
(0,999)
|
|
|
|
|
(0,73)
|
|
ТУ38.101.891-81
|
0,10 - 0,20
|
|
|
|
|
|
|
|
|
|
|
|
ЦИАТИМ-201
|
|
|
10 (100)
|
18720
|
3740
|
12000
|
|
|
|
|
|
|
ГОСТ 6267
|
|
20
|
20 (200)
|
13600
|
2720
|
8000
|
|
|
|
|
|
|
|
0,14 - 0,21
|
|
30 (300)
|
9760
|
1950
|
6000
|
|
|
|
|
|
|
Солидол С
|
|
|
10 (100)
|
15440
|
3080
|
10000
|
I-А, Г
|
10×2
|
20
|
5811,4
|
7,45
|
5
|
ГОСТ 4366
|
|
100
|
20 (200)
|
10560
|
2110
|
6500
|
|
|
|
(593)
|
(0,76)
|
|
|
|
|
30 (300)
|
8480
|
1690
|
5000
|
II-А
|
|
|
|
|
|
|
|
|
10 (100)
|
18720
|
3740
|
12000
|
|
|
|
|
|
|
|
|
20
|
20 (200)
|
13600
|
2720
|
8000
|
III-А
|
|
|
|
|
|
ЦИАТИМ-221
|
0,17 - 0,21
|
|
30 (300)
|
9760
|
1950
|
6000
|
|
|
|
|
|
|
ГОСТ 9433
|
|
|
10 (100)
|
15440
|
3080
|
10000
|
|
|
|
|
|
|
|
|
150
|
20 (200)
|
10560
|
2110
|
6500
|
|
|
|
|
|
|
|
|
|
30 (300)
|
8480
|
1690
|
5000
|
|
|
|
|
|
|
|
|
|
30 (300)
|
12800
|
2550
|
7500
|
|
|
|
|
|
|
|
|
20
|
35 (350)
|
10400
|
2080
|
6500
|
|
|
|
9702
|
9,31
|
|
ВНИИНП-232
|
0,12 - 0,14
|
|
50 (500)
|
3600
|
720
|
2000
|
|
|
|
(990)
|
(0,95)
|
|
ГОСТ 14068
|
|
|
30 (300)
|
11200
|
2240
|
6500
|
|
|
|
|
|
|
|
|
150
|
35 (350)
|
8800
|
1760
|
5500
|
|
|
|
|
|
|
|
|
|
50 (500)
|
2100
|
420
|
1300
|
|
|
|
|
|
|
|
|
20
|
10 (100)
|
6080
|
1210
|
4000
|
|
|
|
3880,8
|
9,41
|
|
ВНИИНП-225
|
0,20 - 0,45
|
|
20 (200)
|
4080
|
810
|
2500
|
|
|
|
(396)
|
(0,96)
|
|
ГОСТ 19782
|
|
230
|
10 (100)
|
3760
|
750
|
2500
|
|
|
|
|
|
|
|
|
|
20 (200)
|
3280
|
660
|
2000
|
|
|
|
|
10,19
|
|
ВНИИНП-275
|
0,10 - 0,20
|
200
|
30 (300)
|
2220
|
440
|
1500
|
0,960
(0,999)
|
|
|
|
|
(1,04)
|
|
ТУ38.101.891
|
|
|
|
|
|
|
|
|
|
|
|
|
ЦИАТИМ-201
|
|
|
10 (100)
|
18720
|
3740
|
12000
|
|
|
|
|
|
|
ГОСТ 6267
|
|
20
|
20 (200)
|
13600
|
2720
|
8000
|
|
|
|
|
|
|
|
0,14 - 0,21
|
|
30 (300)
|
9760
|
1950
|
6000
|
|
|
|
|
|
|
Солидол С
|
|
|
10 (100)
|
15440
|
3080
|
10000
|
|
|
|
|
|
|
ГОСТ 4366
|
|
100
|
20 (200)
|
10560
|
2110
|
6500
|
I-А, Г
|
|
|
7105
|
10,6
|
|
|
|
|
30 (300)
|
8480
|
1690
|
5000
|
|
12×2
|
20
|
(725)
|
(1,08)
|
5
|
|
|
|
10 (100)
|
18720
|
3740
|
12000
|
II-А
|
12×3
|
|
|
|
|
|
|
20
|
20 (200)
|
13600
|
2720
|
8000
|
|
|
|
|
|
|
ЦИАТИМ-221
|
0,17 - 0,21
|
|
30 (300)
|
9760
|
1950
|
6000
|
III-А
|
|
|
|
|
|
ГОСТ 9433
|
|
|
10 (100)
|
15440
|
3080
|
10000
|
|
|
|
|
|
|
|
|
150
|
20 (200)
|
10560
|
2110
|
6500
|
|
|
|
|
|
|
|
|
|
30 (300)
|
8480
|
1690
|
5000
|
|
|
|
|
|
|
|
|
|
30 (300)
|
12800
|
2550
|
7500
|
|
|
|
|
|
|
|
|
20
|
35 (350)
|
10400
|
2080
|
6500
|
|
|
|
11858
|
12,94
|
|
ВНИИНП-232
|
0,12 - 0,14
|
|
50 (500)
|
3600
|
720
|
2000
|
|
|
|
(1210)
|
(1,22)
|
|
ГОСТ 14068
|
|
|
30 (300)
|
11200
|
2240
|
6500
|
|
|
|
|
|
|
|
|
150
|
35 (350)
|
8800
|
1760
|
5500
|
|
|
|
|
|
|
|
|
|
50 (500)
|
2100
|
420
|
1300
|
|
|
|
|
|
|
|
|
20
|
10 (100)
|
6080
|
1210
|
4000
|
|
|
|
4704
|
13,52
|
|
ВНИИНП-225
|
0,20 - 0,45
|
|
20 (200)
|
4080
|
810
|
2500
|
|
|
|
(480)
|
(1,38)
|
|
ГОСТ 19782
|
|
230
|
10 (100)
|
3760
|
750
|
2500
|
|
|
|
|
|
|
|
|
|
20 (200)
|
3280
|
660
|
2000
|
|
|
|
|
|
|
ВНИИНП-275
|
0,10 - 0,20
|
200
|
30 (300)
|
2220
|
440
|
1500
|
0,960
(0,999)
|
|
|
|
|
|
|
ТУ38.101.891
|
|
|
|
|
|
|
|
|
|
|
|
|
ЦИАТИМ-201
|
|
|
10 (100)
|
17600
|
3520
|
11000
|
|
|
|
|
|
|
ГОСТ 6267
|
|
20
|
20 (200)
|
13200
|
2640
|
8000
|
|
|
|
|
|
|
|
0,14 - 0,21
|
|
30 (300)
|
9250
|
1850
|
6000
|
|
|
|
|
|
|
Солидол
С
|
|
|
10 (100)
|
14790
|
2960
|
10000
|
|
|
|
12112,8
|
21,85
|
|
ГОСТ 4366
|
|
100
|
20 (200)
|
9840
|
1960
|
6000
|
I-А, Г
|
|
|
(1236)
|
(2,23)
|
|
|
|
|
30 (300)
|
8120
|
1620
|
5000
|
|
14×2
|
|
|
|
|
|
|
|
10 (100)
|
17600
|
3520
|
11000
|
II-А
|
14×3
|
30
|
|
|
5
|
|
|
20
|
20 (200)
|
13200
|
2640
|
8000
|
|
|
|
|
|
|
ЦИАТИМ-221
|
0,17 - 0,21
|
|
30 (300)
|
9250
|
1850
|
6000
|
III-А
|
|
|
|
|
|
ГОСТ 9433
|
|
|
10 (100)
|
14790
|
2960
|
10000
|
|
|
|
|
|
|
|
|
150
|
20 (200)
|
9840
|
1960
|
6000
|
|
|
|
|
|
|
|
|
|
30 (300)
|
8120
|
1620
|
5000
|
|
|
|
|
|
|
|
|
|
30 (300)
|
12400
|
2480
|
8000
|
|
|
|
|
|
|
|
|
20
|
35 (350)
|
9980
|
1990
|
6000
|
|
|
|
19658,8
|
26,85
|
|
ВНИИНП-232
|
0,12 - 0,14
|
|
50 (500)
|
3200
|
640
|
2000
|
|
|
|
(2006)
|
(2,74)
|
|
ГОСТ 14068
|
|
|
30 (300)
|
10840
|
2160
|
6500
|
|
|
|
|
|
|
|
|
150
|
35 (350)
|
8620
|
1720
|
5500
|
|
|
|
|
|
|
|
|
|
50 (500)
|
1700
|
340
|
1000
|
|
|
|
|
|
|
|
|
20
|
10 (100)
|
5990
|
1180
|
3500
|
|
|
|
8075,2
|
27,54
|
|
ВНИИНП-225
|
0,20 - 0,45
|
|
20 (200)
|
4020
|
804
|
2500
|
|
|
|
(824)
|
(2,81)
|
|
ГОСТ 19782
|
|
230
|
10 (100)
|
3690
|
738
|
2000
|
|
|
|
|
|
|
|
|
|
20 (200)
|
3220
|
644
|
2000
|
|
|
|
|
28,42
|
|
ВНИИНП-275
|
0,10 - 0,20
|
200
|
30 (300)
|
2220
|
440
|
1500
|
0,960
(0,999)
|
|
|
|
|
(2,90)
|
|
ТУ38.101.891
|
|
|
|
|
|
|
|
|
|
|
|
|
ЦИАТИМ-201
|
|
|
10 (100)
|
19700
|
3950
|
12000
|
|
|
|
|
|
|
ГОСТ 6267
|
|
20
|
20 (200)
|
18700
|
3740
|
12000
|
|
|
|
|
|
|
|
0,14 - 0,21
|
|
30 (300)
|
17600
|
3520
|
11000
|
|
|
|
|
|
|
Солидол С
|
|
|
10 (100)
|
17200
|
3440
|
10000
|
I-A,
|
|
|
|
|
|
ГОСТ 4366
|
|
100
|
20 (200)
|
11700
|
2340
|
7000
|
Б, В
|
|
|
13622
|
29,4
|
|
|
|
|
30 (300)
|
9400
|
1880
|
6000
|
Г
|
16×2
|
30
|
(1390)
|
(3,00)
|
5
|
|
|
|
10 (100)
|
19700
|
3950
|
12000
|
|
16×4
|
|
|
|
|
ЦИАТИМ-221
|
|
20
|
20 (200)
|
18700
|
3740
|
12000
|
II-А
|
|
|
|
|
|
ГОСТ 9433
|
0,17 - 0,21
|
|
30 (300)
|
17600
|
3520
|
11000
|
|
|
|
|
|
|
|
|
|
10 (100)
|
17200
|
3440
|
10000
|
III-А
|
|
|
|
|
|
|
|
150
|
20 (200)
|
11700
|
2340
|
7000
|
|
|
|
|
|
|
|
|
|
30 (300)
|
9400
|
1850
|
6000
|
|
|
|
|
|
|
|
|
|
30 (300)
|
17900
|
3580
|
11000
|
|
|
|
|
|
|
|
|
20
|
35 (350)
|
12000
|
2400
|
8000
|
|
|
|
22638
|
37,04
|
|
ВНИИНП-232
|
0,12 - 0,14
|
|
50 (500)
|
8000
|
1600
|
5000
|
|
|
|
(2310)
|
(3,78)
|
|
ГОСТ 14068
|
|
|
30 (300)
|
14000
|
2800
|
9000
|
|
|
|
|
|
|
|
|
150
|
35 (350)
|
10000
|
2000
|
6500
|
|
|
|
|
|
|
|
|
|
50 (500)
|
6400
|
1280
|
4000
|
|
|
|
|
|
|
|
|
20
|
10 (100)
|
7300
|
1460
|
4500
|
|
|
|
9065
|
35,77
|
|
ВНИИНП-225
|
0,20 - 0,45
|
|
20 (200)
|
4900
|
980
|
3000
|
|
|
|
(925)
|
(3,65)
|
|
ГОСТ 19782
|
|
230
|
10 (100)
|
4500
|
850
|
3000
|
|
|
|
|
|
|
|
|
|
20 (200)
|
4000
|
560
|
3000
|
|
|
|
|
47,04
|
|
ВНИИНП-275
|
0,10 - 0,20
|
200
|
30 (300)
|
2220
|
440
|
1500
|
0,960
(0,999)
|
|
|
|
|
(4,80)
|
|
ТУ38.101.891
|
|
|
|
|
|
|
|
|
|
|
|
|
ЦИАТИМ-201
|
|
|
10 (100)
|
18820
|
3760
|
12000
|
|
|
|
|
|
|
ГОСТ 6267
|
|
20
|
20 (200)
|
13440
|
2690
|
12000
|
|
|
|
|
|
|
|
0,14 - 0,21
|
|
30 (300)
|
9720
|
1940
|
6000
|
|
|
|
|
|
|
Солидол С
|
|
|
10 (100)
|
15360
|
3080
|
9000
|
|
|
|
|
|
|
ГОСТ 4366
|
|
100
|
20 (200)
|
10560
|
2100
|
6500
|
I-A, Б, В,
|
|
|
|
|
|
|
|
|
30 (300)
|
8400
|
1680
|
5000
|
|
18×2
|
40
|
20678
|
48,61
|
5
|
|
|
|
10 (100)
|
18820
|
3760
|
12000
|
|
18×4
|
|
(2110)
|
(4,96)
|
|
|
|
20
|
20 (200)
|
13440
|
2690
|
12000
|
|
|
|
|
|
|
ЦИАТИМ-221
|
0,17 - 0,21
|
|
30 (300)
|
9720
|
1940
|
6000
|
II-А
|
|
|
|
|
|
ГОСТ 9433
|
|
|
10 (100)
|
15360
|
3080
|
9000
|
|
|
|
|
|
|
|
|
150
|
20 (200)
|
10560
|
2100
|
6500
|
III-А
|
|
|
|
|
|
|
|
|
30 (300)
|
8400
|
1680
|
5000
|
|
|
|
|
|
|
|
|
|
30 (300)
|
9040
|
1800
|
6000
|
|
|
|
|
|
|
|
|
20
|
35 (350)
|
7470
|
1490
|
4500
|
|
|
|
34496
|
61,25
|
|
ВНИИНП-232
|
0,12 - 0,14
|
|
50 (500)
|
4000
|
800
|
2500
|
|
|
|
(3520)
|
(6,25)
|
|
ГОСТ 14068
|
|
|
30 (300)
|
8200
|
1640
|
5000
|
|
|
|
|
|
|
|
|
150
|
35 (350)
|
6550
|
1310
|
4000
|
|
|
|
|
|
|
|
|
|
50 (500)
|
4000
|
800
|
2500
|
|
|
|
|
|
|
|
|
20
|
10 (100)
|
6990
|
1400
|
4500
|
|
|
|
13818
|
60,66
|
|
ВНИИНП-225
|
0,20 - 0,45
|
|
20 (200)
|
4650
|
930
|
3000
|
|
|
|
(1410)
|
(6,19)
|
|
ГОСТ 19782
|
|
230
|
10 (100)
|
4220
|
690
|
3000
|
|
|
|
|
|
|
|
|
|
20 (200)
|
3790
|
450
|
3000
|
|
|
|
|
57,62
|
|
ВНИИНП-275
|
0,10 - 0,20
|
200
|
30 (300)
|
2220
|
440
|
1500
|
0,960
(0,999)
|
|
|
|
|
(5,88)
|
|
ТУ38.101.891
|
|
|
|
|
|
|
|
|
|
|
|
|
ЦИАТИМ-201
|
|
|
10 (100)
|
12100
|
2420
|
7500
|
|
|
|
|
|
|
ГОСТ 6267
|
|
20
|
20 (200)
|
11100
|
2220
|
7000
|
|
|
|
|
|
|
|
0,14 - 0,21
|
|
30 (300)
|
5500
|
1100
|
3500
|
|
|
|
|
|
|
Солидол С
|
|
|
10 (100)
|
7900
|
1580
|
4000
|
|
|
|
|
|
|
ГОСТ 4366
|
|
100
|
20 (200)
|
6300
|
1260
|
4000
|
|
|
|
|
|
|
|
|
|
30 (300)
|
4400
|
880
|
3000
|
|
|
|
23324
|
59,98
|
|
|
|
20
|
10 (100)
|
12100
|
2420
|
7500
|
I-A,
|
|
|
(2380)
|
(6,12)
|
|
|
|
|
20 (200)
|
11100
|
2220
|
7000
|
Б, В,
|
20×2
|
40
|
|
|
5
|
ЦИАТИМ-221
|
0,17 - 0,21
|
|
30 (300)
|
5500
|
1100
|
3500
|
Г
|
20×4
|
|
|
|
(10)
|
ГОСТ 9433
|
|
|
10 (100)
|
7900
|
1580
|
4000
|
|
|
|
|
|
|
|
|
150
|
20 (200)
|
6300
|
1260
|
4000
|
II-А,
|
|
|
|
|
|
|
|
|
30 (300)
|
4400
|
880
|
3000
|
Б, В
|
|
|
|
|
|
|
|
|
30 (300)
|
7100
|
1420
|
4500
|
|
|
|
38808
|
74,58
|
|
|
|
20
|
35 (350)
|
6000
|
1200
|
4000
|
III-А,
|
|
|
(3960)
|
(7,61)
|
|
ВНИИНП-232
|
0,12 - 0,14
|
|
50 (500)
|
4000
|
800
|
2500
|
Б
|
|
|
|
|
|
ГОСТ 14068
|
|
|
30 (300)
|
6800
|
1360
|
4500
|
|
|
|
|
|
|
|
|
150
|
35 (350)
|
4000
|
800
|
2500
|
|
|
|
|
|
|
|
|
|
50 (500)
|
2100
|
420
|
1500
|
|
|
|
|
|
|
|
|
20
|
10 (100)
|
6200
|
1240
|
4000
|
|
|
|
15533
|
75,46
|
|
ВНИИНП-225
|
0,20 - 0,45
|
|
20 (200)
|
4000
|
800
|
2500
|
|
|
|
(1585)
|
(7,70)
|
|
ГОСТ 19782
|
|
230
|
10 (100)
|
4300
|
860
|
3000
|
|
|
|
|
|
|
|
|
|
20 (200)
|
3300
|
660
|
2000
|
|
|
|
|
103,78
|
|
ВНИИНП-275
|
0,10 - 0,20
|
200
|
30 (300)
|
2220
|
440
|
1500
|
0,960
(0,999)
|
|
|
|
|
(10,59)
|
|
ТУ38.101.891
|
|
|
|
|
|
|
|
|
|
|
|
|
ЦИАТИМ-201
|
|
|
10 (100)
|
11040
|
2210
|
7500
|
|
|
|
|
|
|
ГОСТ 6267
|
|
20
|
20 (200)
|
7680
|
1540
|
5000
|
|
|
|
|
|
|
|
0,14 - 0,21
|
|
30 (300)
|
4900
|
980
|
3000
|
|
|
|
|
|
|
Солидол С
|
|
|
10 (100)
|
7100
|
1420
|
4500
|
|
|
|
34731
|
107,60
|
|
ГОСТ 4366
|
|
100
|
20 (200)
|
5570
|
1110
|
3500
|
|
|
|
(3544)
|
(10,98)
|
|
|
|
|
30 (300)
|
3940
|
790
|
2500
|
I-A,
|
|
|
|
|
10
|
|
|
|
10 (100)
|
11040
|
2210
|
7500
|
Б, В,
|
22×2
|
50
|
|
|
|
|
|
20
|
20 (200)
|
7680
|
1540
|
5000
|
Г
|
22×4
|
|
|
|
|
ЦИАТИМ-221
|
0,17 - 0,21
|
|
30 (300)
|
4900
|
980
|
3000
|
|
24×5
|
|
|
|
|
ГОСТ 9433
|
|
|
10 (100)
|
7100
|
1420
|
4500
|
II-А,
|
|
|
|
|
|
|
|
150
|
20 (200)
|
5570
|
1110
|
3500
|
Б, В
|
|
|
|
|
|
|
|
|
30 (300)
|
3940
|
790
|
2500
|
|
|
|
|
|
|
|
|
|
30 (300)
|
6530
|
1310
|
4000
|
III-А,
|
|
|
57879
|
134,65
|
|
|
|
20
|
35 (350)
|
4800
|
960
|
3000
|
Б
|
|
|
(5906)
|
(13,74)
|
|
ВНИИНП-232
|
0,12 - 0,14
|
|
50 (500)
|
3000
|
600
|
2000
|
|
|
|
|
|
|
ГОСТ 14068
|
|
|
30 (300)
|
5380
|
1080
|
3500
|
|
|
|
|
|
|
|
|
150
|
35 (350)
|
3790
|
760
|
2500
|
|
|
|
|
|
|
|
|
|
50 (500)
|
2000
|
400
|
1300
|
|
|
|
|
|
|
|
|
20
|
10 (100)
|
5760
|
1150
|
3700
|
|
|
|
|
136,22
|
|
ВНИИНП-225
|
0,20 - 0,45
|
|
20 (200)
|
3740
|
750
|
2500
|
|
|
|
(2385)
|
(13,90)
|
|
ГОСТ 19782
|
|
230
|
10 (100)
|
4030
|
810
|
2500
|
|
|
|
|
|
|
|
|
|
20 (200)
|
3070
|
610
|
2000
|
|
|
|
|
|
|
ЦИАТИМ-201
|
|
|
10(100)
|
10560
|
2110
|
7000
|
0,960
(0,999)
|
|
|
|
|
|
|
ГОСТ 6267
|
|
20
|
20 (200)
|
7200
|
1440
|
4500
|
|
|
|
|
|
|
|
0,14 - 0,21
|
|
30 (300)
|
4800
|
960
|
3000
|
|
|
|
|
|
|
Солидол С
|
|
|
10 (100)
|
6910
|
1380
|
4500
|
|
|
|
|
|
|
ГОСТ
4366
|
|
100
|
20 (200)
|
5470
|
1090
|
3500
|
|
|
|
|
|
|
|
|
|
30 (300)
|
3840
|
770
|
2500
|
|
|
|
|
|
|
|
|
|
10 (100)
|
10560
|
2110
|
7000
|
|
|
|
37965
|
125,64
|
|
ЦИАТИМ-221
|
|
20
|
20 (200)
|
7200
|
1440
|
4500
|
|
|
|
(3874)
|
(12,83)
|
|
ГОСТ 9433
|
0,17 - 0,21
|
|
30 (300)
|
4800
|
960
|
3000
|
I-A, Б,
|
|
|
|
|
|
|
|
|
10 (100)
|
6910
|
1380
|
4500
|
В, Г
|
|
|
|
|
10
|
|
|
150
|
20 (200)
|
5470
|
1090
|
3500
|
|
26×2
|
50
|
|
|
|
|
|
|
30 (300)
|
3840
|
770
|
2500
|
II-А, Б,
|
26×5
|
|
|
|
|
|
|
|
30 (300)
|
16210
|
3240
|
10000
|
В
|
|
|
|
93,49
|
|
|
|
20
|
35 (350)
|
11810
|
2360
|
7000
|
|
|
|
|
(9,54)
|
|
ВНИИНП-232
|
0,12 - 0,14
|
|
50 (500)
|
6267
|
1250
|
4000
|
III-А, Б
|
|
|
|
|
|
ГОСТ 14068
|
|
|
30 (300)
|
15370
|
3700
|
9000
|
|
|
|
|
|
|
|
|
150
|
35 (350)
|
9250
|
1840
|
6000
|
|
|
|
|
|
|
|
|
|
50 (500)
|
7360
|
1460
|
4500
|
|
|
|
|
|
|
|
|
20
|
10 (100)
|
5570
|
1110
|
3500
|
|
|
|
25480
|
161,01
|
|
ВНИИНП-225
|
0,20 - 0,45
|
|
20 (200)
|
3770
|
750
|
2500
|
|
|
|
(2600)
|
(16,43)
|
|
ГОСТ 19782
|
|
230
|
10 (100)
|
3940
|
790
|
2500
|
|
|
|
|
|
|
|
|
|
20 (200)
|
2980
|
600
|
1900
|
|
|
|
|
|
|
ЦИАТИМ-201
|
|
|
10 (100)
|
10560
|
2110
|
7000
|
0,960
(0,999)
|
|
|
|
|
|
|
ГОСТ 6267
|
|
20
|
20 (200)
|
7200
|
1440
|
4500
|
|
|
|
|
|
|
|
0,14 - 0,21
|
|
30 (300)
|
4800
|
960
|
3000
|
|
|
|
|
|
|
Солидол С
|
|
|
10 (100)
|
6910
|
1380
|
4500
|
|
|
|
|
|
|
ГОСТ
4366
|
|
100
|
20 (200)
|
5470
|
1090
|
3500
|
|
|
|
|
144,94
|
|
|
|
|
30 (300)
|
3840
|
770
|
2500
|
|
|
|
|
(14,79)
|
|
|
|
|
10 (100)
|
10560
|
2110
|
7000
|
|
|
|
|
|
|
|
|
20
|
20 (200)
|
7200
|
1440
|
4500
|
|
|
|
|
|
|
ЦИАТИМ-221
|
0,17 - 0,21
|
|
30 (300)
|
4800
|
960
|
3000
|
I-А,
|
|
|
41189
|
|
|
ГОСТ 9433
|
|
|
10 (100)
|
6910
|
1380
|
4500
|
Б, В,
|
28×5
|
50
|
(4203)
|
|
10
|
|
|
150
|
20 (200)
|
5470
|
1090
|
3500
|
Г
|
|
|
|
|
|
|
|
|
30 (300)
|
3840
|
770
|
2500
|
|
|
|
|
|
|
|
|
|
30 (300)
|
16210
|
3240
|
10000
|
II-А,
|
|
|
|
107,11
|
|
|
|
20
|
35 (350)
|
11810
|
2360
|
7000
|
Б, В
|
|
|
|
(10,93)
|
|
ВНИИНП-232
|
0,12 - 0,14
|
|
50 (500)
|
6267
|
1250
|
4000
|
|
|
|
|
|
|
ГОСТ 14068
|
|
|
30 (300)
|
15370
|
3700
|
9000
|
III-
|
|
|
|
|
|
|
|
150
|
35 (350)
|
9250
|
1840
|
6000
|
А, Б
|
|
|
|
|
|
|
|
|
50 (500)
|
7360
|
1460
|
4500
|
|
|
|
|
|
|
|
|
20
|
10 (100)
|
5570
|
1110
|
3500
|
|
|
|
27460
|
184,53
|
|
ВНИИНП-225
|
0,20 - 0,45
|
|
20 (200)
|
3770
|
750
|
2500
|
|
|
|
(2802)
|
(18,83)
|
|
ГОСТ 19782
|
|
230
|
10 (100)
|
3940
|
790
|
2500
|
|
|
|
|
|
|
|
|
|
20 (200)
|
2980
|
600
|
1900
|
|
|
|
|
|
|
ЦИАТИМ-201
|
|
|
10 (100)
|
7260
|
1452
|
4500
|
0,960
(0,999)
|
|
|
|
|
|
|
ГОСТ 6267
|
|
20
|
20 (200)
|
5650
|
1122
|
3500
|
|
|
|
|
|
|
|
0,14 - 0,21
|
|
30 (300)
|
3470
|
654
|
2000
|
|
|
|
|
|
|
Солидол С
|
|
|
10 (100)
|
6700
|
1340
|
4500
|
|
|
|
|
|
|
ГОСТ 4366
|
|
100
|
20 (200)
|
4100
|
820
|
2500
|
|
|
|
|
211,58
|
|
|
|
|
30 (300)
|
2680
|
536
|
1500
|
|
|
|
|
(5608)
|
|
|
|
|
10 (100)
|
7260
|
1452
|
4500
|
|
|
|
|
|
|
|
|
20
|
20 (200)
|
5650
|
1122
|
3500
|
|
|
|
|
|
|
ЦИАТИМ-221
|
0,17 - 0,21
|
|
30 (300)
|
3470
|
654
|
2000
|
|
|
|
|
|
|
ГОСТ 9433
|
|
|
10 (100)
|
6700
|
1340
|
4500
|
I-A,
|
|
|
54958
|
|
|
|
|
150
|
20 (200)
|
4100
|
820
|
2500
|
Б, В,
|
30×6
|
63
|
(5608)
|
|
15
|
|
|
|
30 (300)
|
2680
|
536
|
1500
|
Г
|
|
|
|
|
|
|
|
|
30 (300)
|
10490
|
2080
|
6500
|
|
|
|
|
157,68
|
|
|
|
20
|
35 (350)
|
7430
|
1480
|
4500
|
II-А,
|
|
|
|
(16,09)
|
|
ВНИИНП-232
|
0,12 - 0,14
|
|
50 (500)
|
3970
|
780
|
2500
|
Б, В
|
|
|
|
|
|
ГОСТ 14068
|
|
|
30 (300)
|
9870
|
1960
|
6000
|
|
|
|
|
|
|
|
|
150
|
35 (350)
|
5810
|
1160
|
4000
|
III-Б
|
|
|
|
|
|
|
|
|
50 (500)
|
4870
|
960
|
3000
|
|
|
|
|
|
|
|
|
20
|
10 (100)
|
5150
|
1030
|
3000
|
|
|
|
36652
|
266,07
|
|
ВНИИНП-225
|
0,20 - 0,45
|
|
20 (200)
|
3270
|
654
|
2000
|
|
|
|
(3740)
|
(27,15)
|
|
ГОСТ 19782
|
|
230
|
10 (100)
|
3560
|
712
|
2500
|
|
|
|
|
|
|
|
|
|
20 (200)
|
2700
|
540
|
1500
|
|
|
|
|
|
|
ЦИАТИМ-201
|
|
|
10 (100)
|
6910
|
1380
|
4500
|
0,960
(0,999)
|
|
|
|
|
|
|
ГОСТ 6267
|
|
20
|
20 (200)
|
4900
|
980
|
3000
|
|
|
|
|
|
|
|
0,14 - 0,21
|
|
30 (300)
|
3400
|
680
|
2000
|
|
|
|
|
|
|
Солидол С
|
|
|
10 (100)
|
5660
|
1130
|
2500
|
|
|
|
|
|
|
ГОСТ 4366
|
|
100
|
20 (200)
|
3840
|
770
|
2500
|
|
|
|
|
228,34
|
|
|
|
|
30 (300)
|
2500
|
500
|
1500
|
|
|
|
|
(23,30)
|
|
|
|
|
10 (100)
|
6910
|
1380
|
4500
|
|
|
|
|
|
|
|
|
20
|
20 (200)
|
4900
|
980
|
3000
|
I-A,
|
|
|
|
|
|
ЦИАТИМ-221
|
0,17 - 0,21
|
|
30 (300)
|
3400
|
680
|
2000
|
Б, В
|
|
|
56252
|
|
|
ГОСТ 9433
|
|
|
10 (100)
|
5660
|
1130
|
3500
|
|
|
|
(5740)
|
|
|
|
|
150
|
20 (200)
|
3840
|
770
|
2500
|
II-А,
|
|
|
|
|
|
|
|
|
30 (300)
|
2500
|
500
|
1500
|
Б, В
|
32×6
|
63
|
|
|
15
|
|
|
|
30 (300)
|
10280
|
2050
|
6000
|
|
|
|
|
169,34
|
|
|
|
20
|
35 (350)
|
7280
|
1450
|
4000
|
III-Б
|
|
|
|
(17,28)
|
|
ВНИИНП-232
|
0,12 - 0,14
|
|
50 (500)
|
3890
|
760
|
2500
|
|
|
|
|
|
|
ГОСТ 14068
|
|
|
30 (300)
|
9680
|
1800
|
6000
|
|
|
|
|
|
|
|
|
150
|
35 (350)
|
5690
|
1130
|
3500
|
|
|
|
|
|
|
|
|
|
50 (500)
|
4770
|
940
|
3000
|
|
|
|
|
|
|
|
|
20
|
10 (100)
|
4800
|
960
|
3000
|
|
|
|
37475
|
288,90
|
|
ВНИИНП-225
|
0,20 - 0,45
|
|
20 (200)
|
3070
|
610
|
2000
|
|
|
|
(3824)
|
(29,48)
|
|
ГОСТ 19782
|
|
230
|
10 (100)
|
2690
|
540
|
1500
|
|
|
|
|
|
|
|
|
|
20 (200)
|
2590
|
520
|
1500
|
|
|
|
|
|
|
ЦИАТИМ-201
|
|
|
10 (100)
|
5090
|
1020
|
3000
|
0,960
(0,999)
|
|
|
|
|
|
|
ГОСТ 6267
|
|
20
|
20 (200)
|
3770
|
750
|
2500
|
|
|
|
|
|
|
|
0,14 - 0,21
|
|
30 (300)
|
2110
|
420
|
1500
|
|
|
|
|
|
|
Солидол С
|
|
|
10 (100)
|
4220
|
840
|
2600
|
|
|
|
|
|
|
ГОСТ 4366
|
|
100
|
20 (200)
|
4180
|
840
|
2600
|
|
|
|
|
|
|
|
|
|
30 (300)
|
1820
|
360
|
1200
|
|
|
|
|
300,86
|
|
|
|
|
10 (100)
|
5090
|
1020
|
3000
|
I- А,
|
|
|
|
(30,70)
|
|
|
|
20
|
20 (200)
|
3770
|
750
|
2500
|
Б, В
|
|
|
|
|
|
ЦИАТИМ-221
|
0,17 - 0,21
|
|
30 (300)
|
2110
|
420
|
1500
|
|
36×3
|
|
|
|
|
ГОСТ 9433
|
|
|
10 (100)
|
4220
|
840
|
2600
|
II-А,
|
36×6
|
63
|
67169
|
|
20
|
|
|
150
|
20 (200)
|
4180
|
840
|
2600
|
Б, В
|
38×3
|
|
(6854)
|
|
|
|
|
|
30 (300)
|
1820
|
360
|
1200
|
|
38×7
|
|
|
|
|
|
|
|
30 (300)
|
8340
|
1660
|
5000
|
III-Б
|
|
|
|
221,09
|
|
|
|
20
|
35 (350)
|
5620
|
1120
|
3500
|
|
|
|
|
(22,56)
|
|
ВНИИНП-232
|
0,12 - 0,14
|
|
50 (500)
|
2780
|
560
|
1500
|
|
|
|
|
|
|
ГОСТ 14068
|
|
|
30 (300)
|
6990
|
1800
|
1500
|
|
|
|
|
|
|
|
|
150
|
35 (350)
|
4030
|
800
|
2500
|
|
|
|
|
|
|
|
|
|
50 (500)
|
3550
|
710
|
2000
|
|
|
|
|
|
|
|
|
20
|
10 (100)
|
4320
|
860
|
3000
|
|
|
|
44786
|
385,14
|
|
ВНИИНП-225
|
0,20 - 0,45
|
|
20 (200)
|
3120
|
620
|
2000
|
|
|
|
(4570)
|
(39,30)
|
|
ГОСТ 19782
|
|
230
|
10 (100)
|
2300
|
460
|
1500
|
|
|
|
|
|
|
|
|
|
20 (200)
|
2110
|
420
|
1500
|
|
|
|
|
|
|
ЦИАТИМ-201
|
|
|
10 (100)
|
4030
|
810
|
2500
|
0,960
(0,999)
|
|
|
|
|
|
|
ГОСТ 6267
|
|
20
|
20 (200)
|
3820
|
760
|
2500
|
|
|
|
|
|
|
|
0,14 - 0,21
|
|
30 (300)
|
1730
|
350
|
1100
|
|
|
|
|
|
|
Солидол С
|
|
|
10 (100)
|
3820
|
760
|
2500
|
|
|
|
|
|
|
ГОСТ 4366
|
|
100
|
20 (200)
|
3740
|
750
|
2500
|
|
|
|
|
|
|
|
|
|
30 (300)
|
1340
|
270
|
1000
|
|
|
|
|
368,19
|
|
|
|
|
10 (100)
|
4030
|
810
|
2500
|
|
|
|
|
(37,57)
|
|
|
|
20
|
20 (200)
|
3820
|
760
|
2500
|
|
|
|
|
|
|
ЦИАТИМ-221
|
0,17 - 0,21
|
|
30 (300)
|
1730
|
350
|
1100
|
II- А,
|
40×6
|
63
|
75303
|
|
25
|
ГОСТ 9433
|
|
|
10 (100)
|
3820
|
760
|
2500
|
Б, В
|
40×7
|
|
(7684)
|
|
|
|
|
150
|
20 (200)
|
3740
|
750
|
2500
|
|
|
|
|
|
|
|
|
|
30 (300)
|
1340
|
270
|
1000
|
III-Б
|
|
|
|
|
|
|
|
|
30 (300)
|
5770
|
1150
|
3700
|
|
|
|
|
268,71
|
|
|
|
20
|
35 (350)
|
3600
|
720
|
2000
|
|
|
|
|
(27,42)
|
|
ВНИИНП-232
|
0,12 - 0,14
|
|
50 (500)
|
2120
|
420
|
1200
|
|
|
|
|
|
|
ГОСТ 14068
|
|
|
30 (300)
|
5370
|
1070
|
3300
|
|
|
|
|
|
|
|
|
150
|
35 (350)
|
3030
|
600
|
2000
|
|
|
|
|
|
|
|
|
|
50 (500)
|
2820
|
560
|
1000
|
|
|
|
|
|
|
|
|
20
|
10 (100)
|
3940
|
790
|
2500
|
|
|
|
50205
|
477,26
|
|
ВНИИНП-225
|
0,20 - 0,45
|
|
20 (200)
|
2500
|
500
|
1600
|
|
|
|
(5123)
|
(48,70)
|
|
ГОСТ 19782
|
|
230
|
10 (100)
|
2110
|
420
|
1500
|
|
|
|
|
|
|
|
|
|
20 (200)
|
2200
|
440
|
1500
|
|
|
|
|
|
|
ЦИАТИМ-201
|
|
|
10 (100)
|
4220
|
844
|
2600
|
0,960
(0,999)
|
|
|
|
|
|
|
ГОСТ 6267
|
|
20
|
20 (200)
|
2920
|
584
|
1800
|
|
|
|
|
|
|
|
0,14 - 0,21
|
|
30 (300)
|
1840
|
368
|
1200
|
|
|
|
|
|
|
Солидол С
|
|
|
10 (100)
|
3570
|
714
|
2000
|
|
|
|
|
|
|
ГОСТ 4366
|
|
100
|
20 (200)
|
2390
|
474
|
1500
|
|
|
|
|
579,96
|
|
|
|
|
30 (300)
|
1400
|
280
|
1000
|
|
44×3
|
|
|
(59,18)
|
10
|
|
|
|
10 (100)
|
4220
|
844
|
2600
|
|
|
|
|
|
|
|
|
20
|
20 (200)
|
2920
|
584
|
1800
|
|
|
|
|
|
|
ЦИАТИМ-221
|
0,17 - 0,21
|
|
30 (300)
|
1840
|
368
|
1200
|
II- Б,
|
|
80
|
103390
|
|
|
ГОСТ 9433
|
|
|
10 (100)
|
3570
|
714
|
2000
|
В
|
|
|
(10550)
|
|
|
|
|
150
|
20 (200)
|
2390
|
474
|
1500
|
|
|
|
|
|
|
|
|
|
30 (300)
|
1400
|
280
|
1000
|
|
|
|
|
|
|
|
|
|
30 (300)
|
5770
|
1150
|
3700
|
|
|
|
|
424,44
|
|
|
|
20
|
35 (350)
|
3600
|
720
|
2000
|
|
|
|
|
(43,31)
|
|
ВНИИНП-232
|
0,12 - 0,14
|
|
50 (500)
|
2120
|
420
|
1200
|
|
44×7
|
|
|
|
25
|
ГОСТ 14068
|
|
|
30 (300)
|
5370
|
1070
|
3300
|
|
44×8
|
|
|
|
|
|
|
150
|
35 (350)
|
3030
|
600
|
2000
|
|
|
|
|
|
|
|
|
|
50 (500)
|
2820
|
560
|
1000
|
|
|
|
|
|
|
|
|
20
|
10 (100)
|
4060
|
812
|
2500
|
|
|
|
60309
|
641,02
|
|
ВНИИНП-225
|
0,20 - 0,45
|
|
20 (200)
|
2540
|
508
|
1500
|
|
|
|
(6154)
|
(65,41)
|
|
ГОСТ 19782
|
|
230
|
10 (100)
|
2740
|
548
|
1700
|
|
|
|
|
|
|
|
|
|
20 (200)
|
2210
|
442
|
1500
|
|
|
|
|
|
|
ЦИАТИМ-201
|
|
|
10 (100)
|
4180
|
840
|
2600
|
0,960
(0,999)
|
|
|
|
|
|
|
ГОСТ 6267
|
|
20
|
20 (200)
|
2890
|
580
|
1800
|
|
|
|
|
|
|
|
0,14 - 0,21
|
|
30 (300)
|
1830
|
370
|
1200
|
|
|
|
|
|
|
Солидол С
|
|
|
10 (100)
|
3320
|
660
|
2100
|
|
50×3
|
|
|
|
10
|
ГОСТ 4366
|
|
100
|
20 (200)
|
2360
|
470
|
1500
|
|
|
|
|
|
|
|
|
|
30 (300)
|
1390
|
280
|
850
|
|
|
|
|
733,53
|
|
|
|
|
10 (100)
|
4180
|
840
|
2600
|
|
|
|
|
(74,85)
|
|
|
|
20
|
20 (200)
|
2890
|
580
|
1800
|
|
|
|
|
|
|
ЦИАТИМ-221
|
0,17 - 0,21
|
|
30 (300)
|
1830
|
370
|
1200
|
II- Б,
|
|
80
|
118893
|
|
|
ГОСТ 9433
|
|
|
10 (100)
|
3320
|
660
|
2100
|
В
|
|
|
(12132)
|
|
|
|
|
150
|
20 (200)
|
2360
|
470
|
1500
|
|
|
|
|
|
|
|
|
|
30 (300)
|
1390
|
280
|
850
|
|
|
|
|
|
|
|
|
|
10 (100)
|
4450
|
890
|
2900
|
|
|
|
|
538,02
|
|
|
|
20
|
20 (200)
|
2870
|
580
|
1800
|
|
|
|
|
(54,90)
|
|
ВНИИНП-232
|
0,12 - 0,14
|
|
30 (300)
|
1620
|
320
|
1100
|
|
50×8
|
|
|
|
25
|
ГОСТ 14068
|
|
|
10 (100)
|
4120
|
820
|
2800
|
|
|
|
|
|
|
|
|
150
|
20 (200)
|
2270
|
460
|
1450
|
|
|
|
|
|
|
|
|
|
30 (300)
|
1320
|
260
|
900
|
|
|
|
|
|
|
ЦИАТИМ-201
|
|
|
10 (100)
|
3450
|
690
|
2200
|
0,960
(0,999)
|
|
|
|
|
|
|
ГОСТ 6267
|
|
20
|
20 (200)
|
2410
|
480
|
1600
|
|
|
|
|
|
|
|
0,14 - 0,21
|
|
30 (300)
|
1520
|
300
|
1000
|
|
|
|
|
|
|
Солидол С
|
|
|
10 (100)
|
2890
|
580
|
1800
|
|
|
|
|
|
|
ГОСТ 4366
|
|
100
|
20 (200)
|
1880
|
380
|
1200
|
|
|
|
|
|
|
|
|
|
30 (300)
|
1060
|
220
|
700
|
|
|
|
144746
|
1121,71
|
|
|
|
|
10 (100)
|
3450
|
690
|
2200
|
|
|
|
(14770)
|
(114,46)
|
|
|
|
20
|
20 (200)
|
2410
|
480
|
1600
|
|
|
|
|
|
|
ЦИАТИМ-221
|
0,17 - 0,21
|
|
30 (300)
|
1520
|
300
|
1000
|
II- Б, В
|
60×8
|
80
|
|
|
30
|
ГОСТ 9433
|
|
|
10 (100)
|
2890
|
580
|
1800
|
|
60×9
|
|
|
|
|
|
|
150
|
20 (200)
|
1880
|
380
|
1200
|
|
|
|
|
|
|
|
|
|
30 (300)
|
1060
|
220
|
700
|
|
|
|
|
|
|
|
|
|
10 (100)
|
4450
|
890
|
2900
|
|
|
|
168854
|
881,71
|
|
|
|
20
|
20 (200)
|
2870
|
580
|
1800
|
|
|
|
(17230)
|
(89,97)
|
|
|
|
|
30 (300)
|
1620
|
320
|
1100
|
|
|
|
|
|
|
ВНИИНП-232
|
0,12 - 0,14
|
|
35 (350)
|
1250
|
240
|
800
|
|
|
|
|
|
|
ГОСТ 14068
|
|
|
10 (100)
|
4120
|
820
|
2800
|
|
|
|
|
|
|
|
|
150
|
20 (200)
|
2270
|
460
|
1450
|
|
|
|
|
|
|
|
|
|
30 (300)
|
1320
|
260
|
900
|
|
|
|
|
|
|
|
|
|
35 (350)
|
1050
|
200
|
700
|
|
|
|
|
|
|
ЦИАТИМ-201
|
|
|
10 (100)
|
3370
|
680
|
2000
|
0,960
(0,999)
|
|
|
|
|
|
|
ГОСТ 6267
|
|
20
|
20 (200)
|
2270
|
460
|
1500
|
|
|
|
|
|
|
|
0,14 - 0,21
|
|
30 (300)
|
1490
|
300
|
1000
|
|
|
|
|
|
|
Солидол С
|
|
|
10 (100)
|
2600
|
520
|
1500
|
|
|
|
|
|
|
ГОСТ 4366
|
|
100
|
20 (200)
|
1840
|
360
|
1200
|
|
|
|
209994
|
1784,87
|
|
|
|
|
30 (300)
|
1040
|
220
|
700
|
|
|
|
(21428)
|
(182,13)
|
|
|
|
|
10 (100)
|
3370
|
680
|
2000
|
|
|
|
|
|
|
|
|
20
|
20 (200)
|
2270
|
460
|
1450
|
II-Б,
|
|
|
|
|
|
ЦИАТИМ-221
|
0,17 - 0,21
|
|
30 (300)
|
1490
|
300
|
1000
|
В
|
70×10
|
100
|
|
|
30
|
ГОСТ 9433
|
|
|
10 (100)
|
2600
|
520
|
1500
|
|
|
|
|
|
|
|
|
150
|
20 (200)
|
1840
|
360
|
1200
|
|
|
|
|
|
|
|
|
|
30 (300)
|
1040
|
220
|
700
|
|
|
|
|
|
|
|
|
|
10 (100)
|
4450
|
890
|
2850
|
|
|
|
245000
|
1514,59
|
|
|
|
20
|
20 (200)
|
2870
|
580
|
1800
|
|
|
|
(25000)
|
(154,55)
|
|
|
|
|
30 (300)
|
1620
|
320
|
1100
|
|
|
|
|
|
|
ВНИИНП-232
|
0,12 - 0,14
|
|
35 (350)
|
1000
|
200
|
700
|
|
|
|
|
|
|
ГОСТ 14068
|
|
|
10 (100)
|
4120
|
820
|
2700
|
|
|
|
|
|
|
|
|
150
|
20 (200)
|
2270
|
460
|
1450
|
|
|
|
|
|
|
|
|
|
30 (300)
|
1320
|
260
|
900
|
|
|
|
|
|
|
|
|
|
35 (350)
|
820
|
160
|
500
|
|
|
|
|
|
|
ЦИАТИМ-201
|
|
|
10 (100)
|
3300
|
660
|
2100
|
0,960
(0,999)
|
|
|
|
|
|
|
ГОСТ 6267
|
|
20
|
20 (200)
|
2200
|
440
|
1500
|
|
|
|
|
|
|
|
0,14 - 0,21
|
|
30 (300)
|
1460
|
300
|
1000
|
|
|
|
|
|
|
Солидол С
|
|
|
10 (100)
|
2760
|
560
|
1700
|
|
|
|
|
|
|
ГОСТ 4366
|
|
100
|
20 (200)
|
1800
|
360
|
1200
|
|
|
|
|
|
|
|
|
|
30 (300)
|
1000
|
200
|
700
|
|
|
|
2242305
|
2316,43
|
|
|
|
|
10 (100)
|
3300
|
660
|
2100
|
|
|
|
(24725)
|
(236,37)
|
|
|
|
20
|
20 (200)
|
2200
|
440
|
1500
|
|
|
100
|
|
|
30
|
ЦИАТИМ-221
|
0,17 - 0,21
|
|
30 (300)
|
1460
|
300
|
1000
|
II- Б, В
|
80×10
|
|
|
|
|
ГОСТ 9433
|
|
|
10 (100)
|
2760
|
560
|
1700
|
|
|
|
|
|
|
|
|
150
|
20 (200)
|
1800
|
360
|
1200
|
|
|
|
|
|
|
|
|
|
30 (300)
|
1000
|
200
|
700
|
|
|
|
|
|
|
|
|
|
10 (100)
|
4450
|
890
|
2900
|
|
|
|
282691
|
1945,1
|
|
|
|
20
|
20 (200)
|
2870
|
580
|
1800
|
|
|
|
(28846)
|
(198,48)
|
|
ВНИИНП-232
|
0,12 - 0,14
|
|
30 (300)
|
1620
|
320
|
1100
|
|
|
|
|
|
|
ГОСТ 14068
|
|
|
35 (350)
|
1100
|
200
|
700
|
|
|
|
|
|
|
|
|
|
10 (100)
|
4120
|
820
|
2700
|
|
|
|
|
|
|
|
|
150
|
20 (200)
|
2270
|
460
|
1450
|
|
|
|
|
|
|
|
|
|
30 (300)
|
1320
|
260
|
900
|
|
|
|
|
|
|
|
|
|
10 (100)
|
3050
|
610
|
2000
|
0,960
(0,999)
|
|
|
|
|
|
|
ЦИАТИМ-201
|
|
20
|
20 (200)
|
2120
|
420
|
1500
|
|
|
|
|
|
|
ГОСТ 6267
|
|
|
30 (300)
|
1390
|
280
|
900
|
|
|
|
|
|
|
Солидол С
|
0,14 - 0,21
|
|
10 (100)
|
2640
|
520
|
1500
|
|
|
|
|
|
|
ГОСТ 4366
|
|
100
|
20 (200)
|
1720
|
340
|
1100
|
|
|
|
|
|
|
|
|
|
30 (300)
|
970
|
190
|
550
|
|
|
|
|
4333,07
|
|
|
|
|
10 (100)
|
3050
|
610
|
2000
|
|
|
|
|
(442,15)
|
|
|
|
20
|
20 (200)
|
2120
|
420
|
1500
|
|
|
|
|
|
|
ЦИАТИМ-221
|
0,17 - 0,21
|
|
30 (300)
|
1390
|
280
|
900
|
II-Б
|
100×12
|
120
|
364433
|
|
30
|
ГОСТ 9433
|
|
|
10 (100)
|
2460
|
520
|
1500
|
|
|
|
(37187)
|
|
|
|
|
150
|
20 (200)
|
970
|
190
|
550
|
|
|
|
|
|
|
|
|
|
30 (300)
|
1720
|
340
|
1100
|
|
|
|
|
|
|
|
|
|
10 (100)
|
5360
|
1070
|
3300
|
|
|
|
|
3112,19
|
|
|
|
20
|
20 (200)
|
2800
|
560
|
1700
|
|
|
|
|
(317,57)
|
|
ВНИИНП-232
|
0,12 - 0,14
|
|
30 (300)
|
1590
|
320
|
1100
|
|
|
|
|
|
|
ГОСТ 14068
|
|
|
10 (100)
|
4030
|
810
|
2500
|
|
|
|
|
|
|
|
|
150
|
20 (200)
|
2220
|
440
|
1500
|
|
|
|
|
|
|
|
|
|
30 (300)
|
1300
|
260
|
900
|
|
|
|
|
|
|
|
|
|
10 (100)
|
3050
|
610
|
2000
|
0,960
|
|
|
|
|
|
|
ЦИАТИМ-201
|
|
20
|
20 (200)
|
2120
|
420
|
1500
|
|
|
|
|
|
|
ГОСТ 6267
|
0,14 - 0,21
|
|
30 (300)
|
1390
|
280
|
900
|
|
|
|
|
|
|
Солидол С
|
|
|
10 (100)
|
2610
|
520
|
1500
|
|
|
|
|
|
|
ГОСТ 4366
|
|
100
|
20 (200)
|
1720
|
340
|
1100
|
|
|
|
|
|
|
|
|
|
30 (300)
|
970
|
190
|
550
|
|
|
|
573790
|
8291,19
|
|
|
|
|
10 (100)
|
3050
|
610
|
2000
|
|
|
|
(58550)
|
(846,04)
|
|
|
|
20
|
20 (200)
|
2120
|
420
|
1500
|
II-Б
|
120×14
|
160
|
|
|
30
|
ЦИАТИМ-221
|
0,17 - 0,21
|
|
30 (300)
|
1390
|
280
|
900
|
|
120×16
|
|
|
|
|
ГОСТ 9433
|
|
|
10 (100)
|
2640
|
520
|
1500
|
|
|
|
|
|
|
|
|
150
|
20 (200)
|
1720
|
340
|
1100
|
|
|
|
|
|
|
|
|
|
30 (300)
|
970
|
190
|
550
|
|
|
|
|
|
|
|
|
|
10 (100)
|
5360
|
1070
|
3300
|
|
|
|
|
5992,60
|
|
|
|
20
|
20 (200)
|
2800
|
560
|
1700
|
|
|
|
|
(611,49)
|
|
ВНИИНП-232
|
0,12 - 0,14
|
|
30 (300)
|
1590
|
320
|
1100
|
|
|
|
|
|
|
ГОСТ 14068
|
|
|
10 (100)
|
4030
|
810
|
2500
|
|
|
|
|
|
|
|
|
150
|
20 (200)
|
2220
|
440
|
1500
|
|
|
|
|
|
|
|
|
|
30 (300)
|
1300
|
260
|
900
|
Примечание: Вероятность
безотказной работы Р (t) в течение периода t рассчитана по
логарифмически-нормальному закону распределения отказов при доверительной вероятности - 0,9.
|
Таблица 4 - Характеристики резьбовых ходовых пар для
арматуры заказов МО РФ
Размер ходовой резьбы d×P, мм
|
Условный ход шпинделя, мм
|
Марка смазки
|
Коэффициент
трения
|
Температура в узле
трения Т, °С, не
более
|
Удельная нагрузка в
резьбе q, МПа (кгс/см2), не более
|
Параметры закона
распределения
|
Полный назначенный ресурс
Трн,
цикл
|
Вероятность безотказной работы Р
(Трн)
|
a
цикл
|
s
цикл
|
|
|
|
|
|
10 (100)
|
18720
|
3740
|
5000
|
0,999
|
|
|
|
|
20
|
20 (200)
|
13600
|
2720
|
4000
|
|
|
ЦИАТИМ-221
|
0,17 - 0,21
|
|
30 (300)
|
9760
|
1950
|
3000
|
|
|
ГОСТ 9433-80
|
|
|
10 (100)
|
15440
|
3080
|
5000
|
|
|
|
|
150
|
20 (200)
|
10560
|
2110
|
3000
|
|
|
|
|
|
30 (300)
|
8480
|
1690
|
2500
|
10×2
|
|
|
|
|
30 (300)
|
12800
|
2550
|
4000
|
12×2
|
|
|
|
20
|
35 (350)
|
10400
|
2080
|
3000
|
12×3
|
|
ВНИИНП-232
|
|
|
50 (500)
|
3600
|
720
|
1200
|
|
|
ГОСТ 14068-79
|
|
|
30 (300)
|
11200
|
2240
|
3000
|
|
|
|
|
150
|
35 (350)
|
8800
|
1760
|
2500
|
|
|
|
|
|
50 (500)
|
2100
|
420
|
700
|
|
|
ВНИИНП-276
|
0,1 - 0,14
|
250
|
30 (300)
|
11200
|
2240
|
3000
|
|
5
|
ТУ 38.101162-86
|
|
|
|
|
|
10 (100)
|
17600
|
3520
|
5000
|
|
|
|
|
20
|
20 (200)
|
13200
|
2640
|
5000
|
|
|
ЦИАТИМ-221
|
0,17 - 0,21
|
|
30 (300)
|
9250
|
1850
|
3000
|
|
|
ГОСТ 9433-80
|
|
|
10 (100)
|
14790
|
2960
|
5000
|
|
|
|
|
150
|
20 (200)
|
9840
|
1960
|
3000
|
|
|
|
|
|
30 (300)
|
8120
|
1620
|
3000
|
14×2
|
|
|
|
|
30 (300)
|
12400
|
2480
|
4000
|
14×3
|
|
|
|
20
|
35 (350)
|
9980
|
1990
|
3000
|
|
|
ВНИИНП-232
|
0,12 -
0,14
|
|
50 (500)
|
3200
|
640
|
1500
|
|
|
ГОСТ 14068-79
|
|
|
30 (300)
|
10840
|
2160
|
3000
|
|
|
|
|
150
|
35 (350)
|
8620
|
1720
|
3000
|
|
|
|
|
|
50 (500)
|
1700
|
340
|
700
|
|
|
ВНИИНП-276
|
0,1 - 0,14
|
250
|
30 (300)
|
10840
|
2160
|
3000
|
|
|
ТУ 38.101162-86
|
|
|
|
|
|
10 (100)
|
19700
|
3950
|
5000
|
0,999
|
|
|
|
|
20
|
20 (200)
|
18700
|
3740
|
5000
|
|
|
ЦИАТИМ-221
|
0,17 -
0,21
|
|
30 (300)
|
17600
|
3520
|
5000
|
|
|
ГОСТ 9433-80
|
|
|
10 (100)
|
17200
|
3440
|
5000
|
|
|
|
|
150
|
20 (200)
|
11700
|
2340
|
3000
|
|
|
|
|
|
30 (300)
|
9400
|
1880
|
3000
|
16×2
|
|
|
|
|
30 (300)
|
17900
|
3580
|
5000
|
16×4
|
|
|
|
20
|
35 (350)
|
12000
|
2400
|
4000
|
|
|
ВНИИНП-232
|
0,12 -
0,14
|
|
50 (500)
|
8000
|
1600
|
2500
|
|
|
ГОСТ 14068-79
|
|
|
30 (300)
|
14000
|
2800
|
4000
|
|
|
|
|
150
|
35 (350)
|
10000
|
2000
|
3000
|
|
|
|
|
|
50 (500)
|
6400
|
1280
|
2000
|
|
|
ВНИИНП-276
|
0,1 - 0,14
|
250
|
30 (300)
|
14000
|
2800
|
4000
|
|
|
ТУ 38.101162-86
|
|
|
|
|
|
10 (100)
|
18820
|
3760
|
5000
|
|
|
|
|
20
|
20 (200)
|
13440
|
2690
|
4000
|
|
5
|
|
|
|
30 (300)
|
9720
|
1940
|
3000
|
|
|
ЦИАТИМ-221
|
0,17 - 0,21
|
|
10 (100)
|
15360
|
3080
|
5000
|
|
|
ГОСТ 9433-80
|
|
150
|
20 (200)
|
10560
|
2100
|
3000
|
|
|
|
|
|
30 (300)
|
8400
|
1680
|
2500
|
18×2
|
|
|
|
|
30 (300)
|
9040
|
1800
|
3000
|
18×4
|
|
|
|
20
|
35 (350)
|
7470
|
1490
|
2500
|
|
|
ВНИИНП-232
|
0,12 - 0,14
|
|
50 (500)
|
5000
|
1000
|
1500
|
|
|
ГОСТ 14068-79
|
|
|
30 (300)
|
8200
|
1640
|
7500
|
|
|
|
|
150
|
35 (350)
|
6550
|
1310
|
2000
|
|
|
|
|
|
50 (500)
|
4000
|
800
|
1300
|
|
|
ВНИИНП-276
|
0,1 - 0,14
|
250
|
30 (300)
|
9250
|
1850
|
3000
|
|
|
ТУ 38.101162-86
|
|
|
|
|
|
10 (100)
|
12100
|
2420
|
4000
|
0,999
|
|
|
|
|
20
|
20 (200)
|
11100
|
2220
|
3000
|
|
|
ЦИАТИМ-221
|
0,17 -
0,21
|
|
30 (300)
|
5500
|
1100
|
2000
|
|
|
ГОСТ 9433-80
|
|
|
10 (100)
|
7900
|
1580
|
2500
|
|
|
|
|
150
|
20 (200)
|
6300
|
1260
|
2000
|
20×2
|
|
|
|
|
30 (300)
|
4400
|
880
|
1500
|
20×4
|
|
|
|
|
30 (300)
|
7100
|
1420
|
2500
|
22×2
|
|
|
|
20
|
35 (350)
|
6000
|
1200
|
2000
|
22×5
|
|
ВНИИНП-232
|
0,12 -
0,14
|
|
50 (500)
|
4000
|
800
|
1300
|
|
|
ГОСТ 14068-79
|
|
|
30 (300)
|
6800
|
1360
|
2000
|
|
|
|
|
150
|
35 (350)
|
4000
|
800
|
1300
|
|
|
|
|
|
50 (500)
|
2100
|
420
|
700
|
|
|
ВНИИНП-276
|
0,1 - 0,14
|
250
|
30 (300)
|
9250
|
1850
|
3000
|
|
|
ТУ
38.101162-86
|
|
10
|
|
|
|
10 (100)
|
11040
|
2210
|
3000
|
|
|
|
|
20
|
20 (200)
|
7680
|
1540
|
2500
|
|
|
ЦИАТИМ-221
|
0,17 -
0,21
|
|
30 (300)
|
4900
|
980
|
1500
|
|
|
ГОСТ 9433-80
|
|
|
10 (100)
|
7100
|
1420
|
2500
|
|
|
|
|
150
|
20 (200)
|
5570
|
1110
|
2000
|
|
|
|
|
|
30 (300)
|
3940
|
790
|
1300
|
|
|
|
|
|
30 (300)
|
6720
|
1340
|
2000
|
24×5
|
|
|
|
20
|
35 (350)
|
4800
|
960
|
1500
|
|
|
ВНИИНП-232
|
0,12 - 0,14
|
|
50 (500)
|
3000
|
600
|
1000
|
|
|
ГОСТ 14068-79
|
|
|
30 (300)
|
5380
|
1080
|
2000
|
|
|
|
|
150
|
35 (350)
|
3790
|
760
|
1300
|
|
|
|
|
|
50 (500)
|
2000
|
400
|
700
|
|
|
ВНИИНП-276
|
0,1 - 0,14
|
250
|
30 (300)
|
9250
|
1850
|
3000
|
|
|
ТУ 38.101162-86
|
|
|
|
|
|
10 (100)
|
10560
|
2110
|
3000
|
0,999
|
|
|
|
|
20
|
20 (200)
|
7200
|
1440
|
2500
|
|
|
ЦИАТИМ-221
|
0,17 - 0,21
|
|
30 (300)
|
4800
|
960
|
1500
|
|
|
ГОСТ 9433-80
|
|
|
10 (100)
|
6910
|
1380
|
2500
|
|
|
|
|
150
|
20 (200)
|
5470
|
1090
|
2000
|
26×2
|
|
|
|
|
30 (300)
|
3840
|
770
|
1300
|
26×5
|
10
|
|
|
|
10 (100)
|
16210
|
3240
|
5000
|
28×5
|
|
|
|
20
|
20 (200)
|
11810
|
2360
|
3500
|
|
|
ВНИИНП-232
|
0,12 -
0,14
|
|
30 (300)
|
6270
|
1250
|
2000
|
|
|
ГОСТ 14068-79
|
|
|
10 (100)
|
15370
|
3700
|
5000
|
|
|
|
|
150
|
20 (200)
|
9250
|
1840
|
3000
|
|
|
|
|
|
30 (300)
|
7360
|
1460
|
2000
|
|
|
ВНИИНП-276
|
0,1 - 0,14
|
250
|
30 (300)
|
9250
|
1850
|
3000
|
|
|
ТУ 38.101162-86
|
|
|
|
|
|
10 (100)
|
7260
|
1452
|
2500
|
|
|
|
|
20
|
20 (200)
|
5650
|
1122
|
2000
|
|
|
ЦИАТИМ-221
|
0,17 -
0,21
|
|
30 (300)
|
3470
|
694
|
1000
|
|
|
ГОСТ 9433-80
|
|
|
10 (100)
|
6700
|
1340
|
2500
|
|
|
|
|
150
|
20 (200)
|
4100
|
820
|
1500
|
|
|
|
|
|
30 (300)
|
2680
|
536
|
1000
|
30×6
|
15
|
|
|
|
10 (100)
|
10490
|
2080
|
3000
|
|
|
|
|
20
|
20 (200)
|
7430
|
1480
|
2500
|
|
|
ВНИИНП-232
|
0,12 -
0,14
|
|
30 (300)
|
3970
|
780
|
1000
|
|
|
ГОСТ 14068-79
|
|
|
10 (100)
|
9870
|
1960
|
3000
|
|
|
|
|
150
|
20 (200)
|
5810
|
1160
|
2000
|
|
|
|
|
|
30 (300)
|
4870
|
960
|
1500
|
|
|
ВНИИНП-276
|
0,1 - 0,14
|
250
|
30 (300)
|
6990
|
1390
|
2000
|
|
|
ТУ 38.101162-86
|
|
|
|
|
|
10 (100)
|
6910
|
1380
|
2000
|
0,999
|
|
|
|
|
20
|
20 (200)
|
4900
|
980
|
1500
|
|
|
ЦИАТИМ-221
|
0,17 - 0,21
|
|
30 (300)
|
3360
|
680
|
1000
|
|
|
ГОСТ 9433-80
|
|
|
10 (100)
|
5660
|
1130
|
2000
|
|
|
|
|
150
|
20 (200)
|
3840
|
770
|
1000
|
|
|
|
|
|
30 (300)
|
2500
|
500
|
1000
|
32×6
|
15
|
|
|
|
10 (100)
|
10280
|
2050
|
3000
|
|
|
|
|
20
|
20 (200)
|
7280
|
1450
|
2000
|
|
|
ВНИИНП-232
|
0,12 -
0,14
|
|
30 (300)
|
3890
|
760
|
1000
|
|
|
ГОСТ 14068-79
|
|
|
10 (100)
|
9680
|
1800
|
3000
|
|
|
|
|
150
|
20 (200)
|
5690
|
1130
|
2000
|
|
|
|
|
|
30 (300)
|
4770
|
940
|
1500
|
|
|
ВНИИНП-276
|
0,1 - 0,14
|
250
|
30 (300)
|
6990
|
1390
|
2000
|
|
|
ТУ 38.101162-86
|
|
|
|
|
|
10 (100)
|
5090
|
1020
|
2000
|
|
|
|
|
20
|
20 (200)
|
3770
|
750
|
1500
|
|
|
ЦИАТИМ-221
|
0,17 -
0,21
|
|
30 (300)
|
2110
|
420
|
1000
|
|
|
ГОСТ 9433-80
|
|
|
10 (100)
|
4220
|
840
|
1500
|
|
|
|
|
150
|
20 (200)
|
4180
|
830
|
1500
|
36×3
|
|
|
|
|
30 (300)
|
1820
|
360
|
650
|
36×6
|
|
|
|
|
10 (100)
|
8340
|
1660
|
3000
|
38×3
|
20
|
|
|
20
|
20 (200)
|
5620
|
1120
|
2000
|
38×7
|
|
ВНИИНП-232
|
0,12 -
0,14
|
|
30 (300)
|
2780
|
560
|
1000
|
|
|
ГОСТ 14068-79
|
|
|
10 (100)
|
6990
|
1390
|
2000
|
|
|
|
|
150
|
20 (200)
|
4030
|
800
|
1000
|
|
|
|
|
|
30 (300)
|
3550
|
710
|
1000
|
|
|
ВНИИНП-276
|
0,1 - 0,14
|
250
|
30 (300)
|
6990
|
1390
|
2000
|
|
|
ТУ 38.101162-86
|
|
|
|
|
|
10 (100)
|
4630
|
810
|
1500
|
0,999
|
|
|
|
|
20
|
20 (200)
|
3820
|
760
|
1300
|
|
|
ЦИАТИМ-221
|
0,17 -
0,21
|
|
30 (300)
|
1730
|
350
|
600
|
|
|
ГОСТ 9433-80
|
|
|
10 (100)
|
3820
|
760
|
1300
|
|
|
|
|
150
|
20 (200)
|
3740
|
750
|
1300
|
|
|
|
|
|
30 (300)
|
1340
|
270
|
500
|
|
|
|
|
|
10 (100)
|
5770
|
1150
|
2000
|
|
|
|
|
20
|
20 (200)
|
3600
|
720
|
1200
|
|
|
ВНИИНП-232
|
0,12 -
0,14
|
|
30 (300)
|
2120
|
420
|
500
|
|
|
ГОСТ 14068-79
|
|
|
10 (100)
|
5370
|
1070
|
1800
|
|
|
|
|
150
|
20 (200)
|
3030
|
600
|
1000
|
|
|
|
|
|
30 (300)
|
2820
|
560
|
500
|
|
|
ВНИИНП-276
|
0,1 - 0,14
|
250
|
30 (300)
|
4630
|
920
|
1500
|
40×6
|
25
|
ТУ 38.101162-86
|
|
|
|
|
|
10 (100)
|
4220
|
844
|
1500
|
|
|
|
|
20
|
20 (200)
|
2920
|
584
|
1000
|
|
|
ЦИАТИМ-221
|
0,17 -
0,21
|
|
30 (300)
|
1840
|
368
|
600
|
|
|
ГОСТ 9433-80
|
|
|
10 (100)
|
3570
|
714
|
1000
|
|
|
|
|
150
|
20 (200)
|
2390
|
474
|
1000
|
|
|
|
|
|
30 (300)
|
1400
|
280
|
500
|
|
|
|
|
|
10 (100)
|
5770
|
1150
|
2000
|
|
|
|
|
20
|
20 (200)
|
3600
|
720
|
1200
|
|
|
ВНИИНП-232
|
0,12 - 0,14
|
|
30 (300)
|
2120
|
420
|
500
|
|
|
ГОСТ 14068-79
|
|
|
10 (100)
|
5370
|
1070
|
1800
|
|
|
|
|
150
|
20 (200)
|
3030
|
600
|
1000
|
|
|
|
|
|
30 (300)
|
2820
|
560
|
500
|
|
|
ВНИИНП-276
|
0,1 - 0,14
|
250
|
30 (300)
|
4630
|
920
|
1500
|
|
|
ТУ 38.101162-86
|
|
|
|
|
|
10 (100)
|
4180
|
840
|
1500
|
0,999
|
|
|
|
|
20
|
20 (200)
|
2890
|
580
|
1000
|
|
|
ЦИАТИМ-221
|
0,17 -
0,21
|
|
30 (300)
|
1830
|
370
|
600
|
|
|
ГОСТ 9433-80
|
|
|
10 (100)
|
3320
|
660
|
1100
|
|
|
|
|
150
|
20 (200)
|
2360
|
470
|
800
|
|
|
|
|
|
30 (300)
|
1390
|
280
|
450
|
50×3
|
10
|
|
|
|
10 (100)
|
5770
|
1150
|
2000
|
|
|
|
|
20
|
20 (200)
|
3600
|
720
|
1200
|
50×8
|
25
|
ВНИИНП-232
|
0,12 -
0,14
|
|
30 (300)
|
2120
|
420
|
500
|
|
|
ГОСТ 14068-79
|
|
|
10 (100)
|
5370
|
1070
|
1800
|
|
|
|
|
150
|
20 (200)
|
3030
|
600
|
1000
|
|
|
|
|
|
30 (300)
|
2820
|
560
|
500
|
|
|
ВНИИНП-276
|
0,1 - 0,14
|
250
|
30 (300)
|
4630
|
920
|
1500
|
|
|
ТУ 38.101162-86
|
|
|
|
|
|
10 (100)
|
3450
|
690
|
1100
|
|
|
|
|
20
|
20 (200)
|
2410
|
480
|
900
|
|
|
ЦИАТИМ-221
|
0,17 -
0,21
|
|
30 (300)
|
1520
|
300
|
600
|
|
|
ГОСТ 9433-80
|
|
|
10 (100)
|
2890
|
580
|
1000
|
|
|
|
|
150
|
20 (200)
|
1880
|
380
|
700
|
60×8
|
|
|
|
|
30 (300)
|
1060
|
220
|
300
|
|
30
|
|
|
|
10 (100)
|
4450
|
890
|
1500
|
60×9
|
|
|
|
20
|
20 (200)
|
2870
|
580
|
1000
|
|
|
ВНИИНП-232
|
0,12 -
0,14
|
|
30 (300)
|
1620
|
320
|
500
|
|
|
ГОСТ 14068-79
|
|
|
10 (100)
|
4120
|
820
|
1500
|
|
|
|
|
150
|
20 (200)
|
2270
|
460
|
750
|
|
|
|
|
|
30 (300)
|
1520
|
300
|
500
|
|
|
ВНИИНП-276
|
0,1 - 0,14
|
250
|
30 (300)
|
1530
|
300
|
500
|
|
|
ТУ 38.101162-86
|
|
|
|
|
|
10 (100)
|
3370
|
680
|
1500
|
0,999
|
|
|
|
|
20
|
20 (200)
|
2270
|
460
|
750
|
|
|
ЦИАТИМ-221
|
0,17 -
0,21
|
|
30 (300)
|
1490
|
300
|
600
|
|
|
ГОСТ 9433-80
|
|
|
10 (100)
|
2600
|
520
|
900
|
|
|
|
|
150
|
20 (200)
|
1840
|
360
|
650
|
|
|
|
|
|
30 (300)
|
1040
|
220
|
300
|
|
|
|
|
|
10 (100)
|
4450
|
890
|
1500
|
70×10
|
30
|
|
|
20
|
20 (200)
|
2870
|
580
|
1000
|
|
|
ВНИИНП-232
|
П 11 П 11
|
|
30 (300)
|
1620
|
320
|
500
|
|
|
ГОСТ 14068-79
|
U, 1Z-U, 14-
|
|
10 (100)
|
4120
|
820
|
1500
|
|
|
|
|
150
|
20 (200)
|
2270
|
460
|
750
|
|
|
|
|
|
30 (300)
|
1520
|
300
|
500
|
|
|
ВНИИНП-276
|
0,1 - 0,14
|
250
|
30 (300)
|
1520
|
300
|
500
|
|
|
ТУ 38.101162-86
|
|
|
|
|
|
10 (100)
|
3300
|
660
|
1100
|
|
|
|
|
20
|
20 (200)
|
2220
|
440
|
700
|
|
|
ЦИАТИМ-221
|
0,17 -
0,21
|
|
30 (300)
|
1460
|
300
|
600
|
|
|
ГОСТ 9433-80
|
|
|
10 (100)
|
2760
|
560
|
900
|
|
|
|
|
150
|
20 (200)
|
1800
|
360
|
650
|
|
|
|
|
|
30 (300)
|
1000
|
200
|
500
|
80×10
|
30
|
|
|
|
10 (100)
|
4450
|
890
|
1500
|
|
|
|
|
20
|
20 (200)
|
2870
|
580
|
1000
|
|
|
ВНИИНП-232
|
0,12 -
0,14
|
|
30 (300)
|
1620
|
320
|
500
|
|
|
ГОСТ 14068-79
|
|
|
10 (100)
|
4120
|
820
|
1500
|
|
|
|
|
150
|
20 (200)
|
2270
|
460
|
750
|
|
|
|
|
|
30 (300)
|
1520
|
300
|
500
|
|
|
ВНИИНП-276
|
0,1 - 0,14
|
250
|
30 (300)
|
1520
|
300
|
500
|
|
|
ТУ 38.101162-86
|
|
|
|
|
|
10 (100)
|
3050
|
610
|
1000
|
0,999
|
|
|
|
|
20
|
20 (200)
|
2120
|
420
|
1000
|
|
|
ЦИАТИМ-221
|
0,17 - 0,21
|
|
30 (300)
|
1390
|
280
|
450
|
|
|
ГОСТ 9433-80
|
|
|
10 (100)
|
2460
|
520
|
900
|
|
|
|
|
150
|
20 (200)
|
1720
|
340
|
600
|
|
|
|
|
|
30 (300)
|
970
|
190
|
350
|
|
|
|
|
|
10 (100)
|
4350
|
1070
|
1300
|
100×12
|
30
|
|
|
20
|
20 (200)
|
2800
|
560
|
900
|
|
|
ВНИИНП-232
|
0,12 -
0,14
|
|
30 (300)
|
1570
|
300
|
500
|
|
|
ГОСТ 14068-79
|
|
|
10 (100)
|
4030
|
810
|
1300
|
|
|
|
|
150
|
20 (200)
|
2120
|
420
|
700
|
|
|
|
|
|
30 (300)
|
1500
|
300
|
500
|
|
|
ВНИИНП-276
|
0,1 - 0,14
|
250
|
30 (300)
|
1500
|
300
|
500
|
|
|
ТУ 38.101162-86
|
Примечания: 1. Вероятность безотказной работы в течение полного
назначенного ресурса рассчитана по логарифмически-нормальному закону распределения отказов при
заданном значении односторонней доверительной вероятности равной 0,95.
2. Полный назначенный срок службы 25 лет
|
Таблица 5 - Материалы резьбовых пар в зависимости от удельной
нагрузки в резьбе
Удельная нагрузка в резьбе q, МПа (кгс/см2), не более
|
Марка смазки
|
Втулка резьбовая
|
Шпиндель
|
Марка материала
|
Твердость
|
Марка материала
|
Твердость
|
НВ
|
HRC
|
НВ
|
|
|
ЛЖМц59-1-1
|
80
|
БрАЖМц10-3-1,5
|
-
|
170 - 200
|
ГОСТ 15527
|
|
ГОСТ 18175
|
|
|
ЛЦ38Мц2С2
|
70 - 90
|
БрАЖН10-4-4
|
-
|
200 - 240
|
(ЛМцС58-2-2)
|
|
ГОСТ 18175
|
|
|
ГОСТ 17711
|
|
|
|
|
10 (100)
|
ВНИИНП-232
ГОСТ 14068
|
СЧ 18-36 карбонитрированный
|
170 - 229
|
14Х17Н2
|
до 41
|
-
|
|
ГОСТ 5632
|
|
|
ГОСТ 1412
|
|
|
|
|
СЧ 15 -
сульфоцианированная
|
82
|
14Х17Н2
сульфоцианированная
|
до 29
|
-
|
ГОСТ 1412
|
|
ГОСТ 5632
|
|
|
20 (200)
|
ВНИИНП-232
ГОСТ 14068
|
СЧ 18-36 карбонитрированный
|
170 - 229
|
Ст. 35 карбонитрированная
|
-
|
до 187
|
ГОСТ 1412
|
|
ГОСТ 1050
|
|
|
СТ.20 -
сульфоцианированная
|
до 156
|
14Х17Н2 - сульфоцианированная
|
До 41
|
|
ГОСТ 1050
|
|
ГОСТ 5632
|
|
|
СТ.45 -
сульфоцианированная
|
до 156
|
12X17
|
-
|
до 156
|
ГОСТ 1050
|
|
ГОСТ 5632
|
|
|
ЛС 59-1
ГОСТ 1050
|
140 - 150
|
СТ.35
|
-
|
до 187
|
ГОСТ 1050
|
|
|
СТ.40Х
|
-
|
262 - 311
|
ГОСТ 4543
|
|
|
Ст.08Х18Н10Т
|
-
|
121 - 179
|
(12Х18Н10Т, 12Х18Н9Т)
|
|
|
ГОСТ 5632
|
|
|
Ст.08Х17Н15М3Т
|
-
|
до 200
|
ГОСТ 5632
|
|
|
Ст.15Х18Н12С4ТЮ
|
-
|
до 200
|
ГОСТ 5632
|
|
|
Ст.10Х17Н13М3ТГ
|
-
|
до 200
|
ОСТ 5632
|
|
|
30 (300)
|
ВНИИНП-232
ГОСТ 14068
ВНИИНП-276
ТУ 38.1011062
ЦИАТИМ-221
ГОСТ 9433
|
БрАЖМц10-3-1,5
ГОСТ 18175
|
170 - 200
|
Ст.35ХМ
|
-
|
320 - 270
|
ГОСТ 4543
|
|
|
ХН35ВТ
|
-
|
не более 209
|
ТУ 14-1-272
|
|
БрАЖН10-4-4
ГОСТ 18175
|
200 - 240
|
Ст.38Х2МЮА
|
-
|
229
|
ГОСТ 4543
|
|
|
Ст.20Х13
|
-
|
190 - 240
|
ГОСТ 5632
|
|
|
Ст.14Х17Н2
|
до 41
|
-
|
ГОСТ 5632
|
|
|
Ст.20ХН3А
|
-
|
262 - 311
|
ГОСТ 4543
|
|
|
Ст.40Х2Н2МА
|
-
|
не более 269
|
ГОСТ 4543
|
|
Ст.10Х32Н8
|
-
|
не более 277
|
ТУ 14-1-88-29
|
|
12Х18Н9Т
|
-
|
121 - 179
|
(08Х18Н10Т,
12Х18Н10Т)
|
|
|
ГОСТ 5632
|
|
|
Ст.08Х21Н6М2Т
|
-
|
140 - 200
|
ГОСТ 5632
|
|
|
Ст.08Х22Н6Т
|
-
|
140 - 200
|
ГОСТ 5632
|
|
|
40Х
|
-
|
не более 217
|
ГОСТ 4543
|
|
08Х18Н10Т -
сульфоцианированная
|
121 - 179
|
Ст.14Х17Н2 -
сульфоцианированная
|
до 29
|
-
|
ГОСТ 5632
|
|
ГОСТ 5632
|
|
|
35 (350)
|
ВНИИНП-232
ГОСТ 14068
|
ВЧ45
|
не более 255
|
Ст.20Х13
|
32 - 34
|
-
|
ГОСТ 7293
|
ГОСТ 5632
|
|
|
ЧН15Д3ХШ
|
не более 250
|
Ст.14Х17Н2
|
до 41
|
-
|
ГОСТ 7769
|
ГОСТ 5632
|
|
|
ЧН19Х3Ш
|
не более 255
|
|
|
|
ГОСТ 7769
|
|
|
|
ЧН15Д7Х2
|
120 - 170
|
Ст.35ХМ
|
-
|
320 - 370
|
ГОСТ 7769
|
|
ГОСТ 4543
|
|
|
ЧН17Д3Х2
|
120 - 170
|
|
|
|
СТ ЦКБА 050
|
|
|
|
|
ЧН5Г8
|
160 - 230
|
|
|
|
СТ ЦКБА 050
|
|
|
|
|
15Х18Н12С4ТЮ
|
не более 200
|
|
|
|
ГОСТ 5632
|
|
|
|
50 (500)
|
ВНИИНП-232
|
БрАЖН10-4-4
|
200 - 240
|
Ст.14Х17Н2
|
до 41
|
-
|
|
ГОСТ 14068
|
ГОСТ 18175
|
|
ГОСТ 5632
|
|
|
Примечания:
1.
Марки смазок приведены для арматуры заказа МО РФ
2. ВЧ45
и химико-термическое покрытие (сульфоцианирование и карбонитрирование) применять только со смазкой ВНИИНП-232, при этом температура в узле трения не должна превышать 20 °С.
3. Для удельной нагрузки 50 МПа (500 кгс/см2), через каждые 1000 циклов
наработки следует
производить смазку узла.
|
Таблица 6 - Гарантийные обязательства ходовых резьбовых пар
Марка применяемой смазки
|
Температура эксплуатации, °С
|
Гарантийный срок службы до заводского ремонта и хранения, год
|
В том числе
|
Гарантийный срок
хранения, год
|
Гарантийный срок службы до заводского ремонта, год
|
ЦИАТИМ-221
|
От минус 60 до 150
|
25
|
15
|
10
|
ГОСТ 9433
|
ВНИИНП-232
|
От минус 60 до 150
|
ГОСТ 14068
|
ВНИИНП-276
|
От минус 30 до 250
|
ТУ 38.1011062
|
Примечание: Гарантийная наработка равна полному назначенному ресурсу, указанному в таблице 4.
|
Ходовые
узлы должны изготавливаться следующих типов:
Тип
I - без подшипников
Тип
II - с подшипниками качения
Тип
III - с подшипниками скольжения
Ходовой
узел типа I имеет следующие исполнения,
которые представлены на рисунках А.1, А.2, А.3, А.4:
исполнение
А - усилие управления приложено к шпинделю;
исполнение
Б, В - усилие управления приложено к втулке;
исполнение
Г - усилие управления приложено к втулке с камерой смазки.
Ходовой
узел типа II имеет следующие исполнения,
которые представлены на рисунках А.5,
А.6, А.7:
исполнение
А - с выдвижным шпинделем, с одним подшипником качения;
исполнение
Б - с выдвижным шпинделем, с двумя подшипниками качения;
исполнение
В - с невыдвижным шпинделем, с двумя подшипниками качения.
Ходовой
узел типа III с подшипниками скольжения из
композиционных материалов, имеет исполнения А и Б, которые представлены на
рисунках А.8 и А.9.
Подшипник
скольжения выполнен из композиционных материалов по РД
24.207.12-90.
При
применении листового материала (рисунок А.9)
установку подшипника выполнять антифрикционным слоем к бурту втулки.
Конструкции
ходовых узлов типов I (исполнение А), II и III рекомендуется
применять для арматуры с ручным управлением или электроприводом, а тип I (исполнение Б, В, Г) - с ручным управлением.
Допускается
для арматуры на условное давление до 4,0 МПа замена гайки установочной (тип II и III - деталь 4) на
кольцо пружинное - по ГОСТ
13943.
Допускается
для узлов, работающих при удельной нагрузке в резьбе выше 30 МПа применять
варианты исполнения с камерой и каналами для смазки.
Допускается
кольцо сальниковое (тип II и III - деталь 5) для электроприводной арматуры не применять при
обеспечении невозможности попадания пыли и посторонних предметов на гайку
установочную (кольцо пружинное) (тип II и III - деталь 4).
Тип I
Исполнение А

1 - стойка; 2 - втулка резьбовая; 3 - винт; 4 - шпиндель
Рисунок А.1 - Ходовой узел без подшипников
(усилие управления приложено к шпинделю)
Исполнение Б

1 - стойка; 2 - втулка резьбовая; 3 - шпонка; 4 - маховик;
5 - гайка; 6 - шпиндель
Рисунок А.2 - Ходовой узел без подшипников (усилие
управления приложено к втулке)
Исполнение В

1 - стойка; 2 - втулка резьбовая; 4 - маховик; 5 - гайка; 6
- шпиндель
Рисунок А.3 - Ходовой узел без подшипников
(усилие управления приложено к втулке)
Исполнение Г

1 - стойка; 2 - втулка резьбовая; 3 - винт; 4 - рукоятка в
сборе; 5 - пробка;
6 - указатель; 7 - втулка упорная; 8 - шпиндель; 9 - камера смазки
Рисунок А.4 - Ходовой узел без подшипников (усилие
управления приложено к втулке с камерой смазки)
Тип II
Исполнение А

1 - стойка; 2 - втулка резьбовая; 3
- подшипник по ГОСТ
7872; 4 - гайка установочная;
5 - кольцо сальниковое; 6 - винт; 7 - шпиндель
Рисунок А.5 - Ходовой узел с выдвижным
шпинделем, с одним подшипником качения
Исполнение Б

1 - стойка; 2 - втулка резьбовая; 3 - подшипник по ГОСТ
7872; 4 - гайка установочная;
5 - кольцо сальниковое; 6 - винт; 7 - шпиндель
Рисунок А.6 - Ходовой узел с выдвижным шпинделем, с
двумя подшипниками качения
Исполнение В

1 - стойка; 2 - втулка кулачковая; 3 - подшипник по ГОСТ
7872; 4 - гайка установочная;
5 - кольцо сальниковое; 6 - винт; 7 - масленка; 8 - шпиндель; 9 - втулка
резьбовая; 10 - клин
Рисунок А.7 - Ходовой узел с невыдвижным шпинделем, с
двумя подшипниками качения
Тип III
Исполнение А

1 - стойка; 2 - втулка резьбовая; 3 - подшипник скольжения;
4 - гайка установочная;
5 - кольцо сальниковое; 6 - винт; 7 - шпиндель
Рисунок А.8 - Ходовой узел с подшипниками скольжения
Исполнение Б

1 - стойка; 2 - втулка резьбовая; 3 - подшипник скольжения;
5 - кольцо сальниковое;
7 - шпиндель; 8 - крышка; 9 - антифрикционный слой
Рисунок А.9 - Ходовой узел с подшипниками скольжения
Генеральный директор
ЗАО «НПФ «ЦКБА»
|
В.П. Дыдычкин
|
Первый заместитель генерального
директора - директор по научной работе
|
Ю.И. Тарасьев
|
Заместитель генерального директора -
главный конструктор
|
В.В. Ширяев
|
Заместитель главного конструктора -
начальник технического отдела
|
С.Н. Дунаевский
|
Начальник отдела 112
|
А.Ю. Калинин
|
Исполнители:
|
|
Инженер-исследователь 1 категории
|
Е.П. Никитина
|
Техник 121 отдела
|
Т.В. Демидова
|
Согласовано:
|
|
Председатель ТК 259
|
М.И. Власов
|
|
|
Представитель заказчика 1024 ВП МО РФ
|
А.А. Хапин
|
|