ФЕДЕРАЛЬНОЕ
АГЕНТСТВО
ПО ТЕХНИЧЕСКОМУ РЕГУЛИРОВАНИЮ И МЕТРОЛОГИИ
|

|
НАЦИОНАЛЬНЫЙ
СТАНДАРТ
РОССИЙСКОЙ
ФЕДЕРАЦИИ
|
ГОСТ Р
52954-2008
|
Нефтепродукты
ОПРЕДЕЛЕНИЕ
ТЕРМООКИСЛИТЕЛЬНОЙ
СТАБИЛЬНОСТИ ТОПЛИВ
ДЛЯ ГАЗОВЫХ ТУРБИН.
МЕТОД JFTOT

|
Москва
Стандартинформ
2008
|
Предисловие
Цели и принципы стандартизации в Российской Федерации установлены
Федеральным законом от
27 декабря 2002 г. № 184-ФЗ «О техническом регулировании», а правила
применения национальных стандартов Российской Федерации - ГОСТ Р
1.0-2004 «Стандартизация в Российской Федерации. Основные положения»
Сведения о стандарте
1 ПОДГОТОВЛЕН Открытым акционерным обществом «Всероссийский
научно-исследовательский институт по переработке нефти» (ОАО «ВНИИ НП») на
основе собственного аутентичного перевода стандарта, указанного в пункте 4
2 ВНЕСЕН Техническим комитетом по стандартизации ТК 31 «Нефтяные топлива
и смазочные материалы»
3 УТВЕРЖДЕН И ВВЕДЕН В ДЕЙСТВИЕ Приказом Федерального агентства по
техническому регулированию и метрологии от 27 августа 2008 г. № 193-ст
4 Настоящий стандарт
идентичен стандарту АСТМ Д 3241:2008 «Определение термоокислительной
стабильности авиационных турбинных топлив (метод JFTOT)» (ASTM D 3241:2008 «Standard test method for thermal oxidation stability of aviation turbine fuels (JFTOT procedure)».
Наименование настоящего стандарта
изменено относительно наименования указанного стандарта для приведения в
соответствие с ГОСТ
Р 1.5-2004 (подраздел 3.5).
При применении настоящего стандарта рекомендуется использовать вместо
ссылочных стандартов соответствующие им национальные стандарты Российской
Федерации, сведения о которых приведены в дополнительном приложении В
5 ВВЕДЕН ВПЕРВЫЕ
Информация об изменениях к настоящему стандарту
публикуется в ежегодно издаваемом информационном указателе «Национальные
стандарты», а текст изменений и поправок - в ежемесячно издаваемых информационных указателях «Национальные
стандарты». В случае пересмотра (замены) или отмены настоящего стандарта
соответствующее уведомление будет опубликовано в ежемесячно издаваемом
информационном указателе «Национальные стандарты». Соответствующая информация,
уведомление и тексты размещаются также в информационной системе общего
пользования - на официальном
сайте Федерального агентства по техническому регулированию и метрологии в сети
Интернет
СОДЕРЖАНИЕ
ГОСТ Р 52954-2008
НАЦИОНАЛЬНЫЙ СТАНДАРТ РОССИЙСКОЙ ФЕДЕРАЦИИ
Нефтепродукты
ОПРЕДЕЛЕНИЕ
ТЕРМООКИСЛИТЕЛЬНОЙ СТАБИЛЬНОСТИ ТОПЛИВ ДЛЯ ГАЗОВЫХ ТУРБИН.
МЕТОД JFTOT
Petroleum products.
Determination of thermal oxidation stability of gas turbine fuels. JFTOT method
|
Дата введения - 2009-01-01
1.1 Настоящий стандарт
распространяется на топлива для газовых турбин и устанавливает метод определения
их склонности к образованию в топливной системе продуктов разложения.
1.2 Величины, установленные в
единицах системы СИ, следует считать стандартными. Величины в единицах
«фунт/дюйм», приведенные в скобках, даны только для сведения. Перепад давления
в миллиметрах ртутного столба применим только к данному методу испытания.
1.3 Применение настоящего
стандарта связано с использованием в процессе испытания опасных материалов,
операций и оборудования. В настоящем стандарте не предусмотрено рассмотрение
всех вопросов обеспечения безопасности. Пользователь стандарта несет
ответственность за установление соответствующих правил техники безопасности и
охраны труда, а также определение пригодности нормативных ограничений до
применения настоящего стандарта. Особые требования к мерам предосторожности -
см. 6.1.1;
7.2;
7.2.1;
7.3;
11.1.1
и приложение A3.
2.1 В настоящем стандарте
использованы нормативные ссылки на следующие стандарты:
АСТМ Д 1655 Спецификация на
авиационные турбинные топлива
АСТМ Д 4306 Руководство по отбору
проб в контейнеры авиационных турбинных топлив для предотвращения влияния
следов загрязнений
АСТМ Е 177 Руководство по
применению терминов, касающихся прецизионности и отклонения, в методах
испытания АСТМ
АСТМ Е 691 Руководство по
проведению межлабораторных исследований по определению прецизионности метода
испытания
2.2 Дополнение АСТМ*
Цветовая шкала для оценки
отложений на трубке (колориметрический стандарт).
______________
* Приобретается по импорту.
3.1 В настоящем стандарте
применены следующие термины с соответствующими определениями:
3.1.1 отложения (deposits): Продукты окисления, образующиеся на поверхности трубки
подогревателя или осаждающиеся на прецизионном фильтре, или и то, и другое.
Пояснение
Топливные отложения обычно
образуются на самой горячей части трубки подогревателя на отрезке от 30 до 50
мм.
3.1.2 трубка подогревателя (heater tube): Отрезок трубки из алюминия с контролируемой повышенной температурой,
поверх которого прокачивается испытуемое топливо.
Пояснение
Трубка нагревается с помощью
резисторного нагревателя и температура контролируется термопарой, помещенной
внутрь трубки. Критическая площадь испытательной трубки - самый тонкий участок
длиной 60 мм между плечиками трубки. Ввод топлива к трубке находится в позиции
«0 мм», а выход топлива - в позиции «60 мм».
3.2 Обозначение
3.2.1 DР - перепад давления.
4.1 Для оценки термоокислительной
стабильности топлив для газовых турбин в условиях высоких температур применяют
установку для испытания реактивных топлив на термоокислительную стабильность (JFTOT), в которой испытуемое топливо подвергается
воздействию условий, близких к условиям, создающимся в топливной системе
газотурбинного двигателя. Топливо прокачивается с заданной постоянной объемной
скоростью через нагреватель, затем поступает на прецизионный фильтр из
нержавеющей стали, который улавливает продукты разложения топлива.
4.1.1 Для 2,5-часового испытания
на этой установке требуется 450 см3 топлива. Оцениваемыми
показателями являются количество осадка на алюминиевой трубке нагревателя и
скорость забивки прецизионного фильтра номинальной пористостью 17 мкм,
расположенного непосредственно за трубкой нагревателя.
5.1 Результаты испытаний,
проведенных в соответствии с настоящим стандартом, характеризуют
эксплуатационные характеристики топлива во время работы газовой турбины и могут
использоваться для оценки количества отложений, образующихся при
соприкосновении жидкого топлива с нагретой до определенной температуры
поверхностью.
6.1 Установка для испытания
топлив для газовых турбин на термоокислительную стабильность (JFTOT)
Можно использовать пять моделей
установок, указанных в таблице 1.
Таблица 1 - Модели
установки JETOT
Модель JFTOT
|
Руководство пользователя
|
Средство для создания повышенного давления
|
Тип насоса
|
Средство измерения перепада давления
|
202
|
202/203
|
Азот
|
Шестеренчатый
|
Ртутный манометр,
без записи
|
203
|
202/203
|
Азот
|
Шестеренчатый
|
Манометр +
графическая запись
|
215
|
215
|
Азот
|
Шестеренчатый
|
Датчик + запись на
принтере
|
230
|
230/240
|
Гидравлика
|
Шприц
|
Датчик + распечатка
|
240
|
230/240
|
Гидравлика
|
Шприц
|
Датчик + распечатка
|
230MkIII
|
230MkIII
|
Гидравлика
|
Шприц
|
Датчик + распечатка
|
6.1.1 Отдельные этапы метода могут быть автоматизированы.
Подробности приведены в инструкции для пользователя соответствующей модели JFTOT.
К
каждой испытательной установке прилагается общая инструкция, а самый последний
вариант инструкции находится в АСТМ в виде исследовательского отчета*.
_____________
* RR: D02-1395, RR:
D02-1396, RR: D02-1397.
Предупреждение - Прежде чем приступить к работе с установкой JFTOT, следует ознакомиться со всеми узлами и их
функциями.
6.1.2 Для достижения воспроизводимых
и правильных результатов очень важны определенные рабочие характеристики
установок JFTOT, приведенные в
таблице 2.
Таблица 2 -
Критические рабочие характеристики установки JFTOT
Позиция
|
Характеристика
|
Аппаратура
для испытания
|
Трубчатый
теплообменник (рисунок 1)
|
Испытательная
трубка:
|
|
трубка
подогревателя
|
Специально изготовленная
алюминиевая трубка с контролируемой температурой испытательной поверхности,
новая для каждого испытания
|
идентификация
трубки
|
Каждая трубка
JFTOT может быть идентифицирована по ее серийному
номеру, присвоенному изготовителем, что обеспечивает отслеживаемость партии
исходного материала
|
Материал
трубки
|
Алюминий
марки 6061-Т6, отвечающий следующим критериям:
|
а)
соотношение Mg:Si - не более 1,9:1
|
b) содержание Mg2Si - не более 1,85 %
|
Параметры
трубки:
|
Значение
|
Допуск
|
длина трубки,
мм
|
161,925
|
±0,254
|
длина
центрального отрезка, мм
|
60,325
|
±0,051
|
внешние
диаметры, мм:
|
|
|
плечики
|
4,724
|
±0,025
|
центральный
отрезок
|
3,175
|
±0,051
|
внутренний
диаметр
|
1,651
|
±0,051
|
Общее отклонение
индикатора потока, мм, не более
|
0,013
|
Механическая
шероховатость поверхности, нм, не более
|
50
|
Прецизионный
фильтр
|
Фильтрующий
элемент из нержавеющей стали пористостью 17 мкм для улавливания продуктов разложения
топлива, новый для каждого испытания
|
Параметры
аппарата:
|
Аэрируется
600 см3 пробы, после чего этим топливом заполняют резервуар,
оставляя пространство для поршня, в период испытания необходимо прокачать
(450 ± 45) см3
|
объем пробы
|
скорость
аэрации
|
1,5 дм3/мин
сухого воздуха через распределитель
|
скорость
потока во время испытания
|
3,0 см3/мин
± 10 % (от 2,7 до
3,3 см3/мин)
|
механизм
нагнетания
|
Принудительный:
шестеренчатый насос или помпа
|
охлаждение
|
Постоянный температурный
профиль трубки подогревателя при испытании поддерживается охлаждающей
жидкостью, протекающей через шину
|
Термопара
(ТС)
|
Тип J в оплетке или в чехле из иконеля или тип К в чехле из иконеля
|
Давление
рабочее:
|
|
система
|
3,45 МПа + 10
%: повышение давления достигается путем подачи
инертного
газа (азот) или гидравлически и ограничивается на выходе контрольным клапаном
|
на
прецизионном фильтре
|
Перепад
давления АР измеряется на
поверхности прецизионного фильтра с помощью ртутного манометра или
электронного преобразователя, мм рт.ст.
|
Температура
рабочая:
|
Значение
температуры устанавливается по спецификации на топливо
|
для испытаний
|
точность
поддержания температуры
|
Максимальное отклонение
от выбранной температуры - ±2 °С
|
калибровка
|
Чистое олово
- 232 °С только для моделей 230 и 240;
|
чистый свинец
- 327 °С - для высоких температур;
|
лед + вода -
для низких температур
|

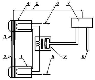
1 - впуск топлива; 2 -
охлаждающие шины; 3 - термопара; 4
- испытательный фильтр;
5 - выпуск топлива; 6 - испытательная секция подогревателя
Рисунок 1 - Секция
стандартного подогревателя, общая для всех JFTOT
6.2 Аппаратура для оценки
отложений, образующихся на трубке нагревателя
6.2.1 Устройство для визуальной
оценки трубки, тубератор (А1.6.1, приложение А1).
6.3 Так как термоокислительную стабильность
реактивного топлива определяют только настоящим методом, который связан с
использованием определенного оборудования, испытание должно проводиться только
на оборудовании, которое применяли для разработки настоящего метода, или
эквивалентном.
7.1 Для моделей 230 и 240
установки JFTOT при необходимости
используют дистиллированную (предпочтительно) или деионизированную воду в
опорожненном от пробы резервуаре.
7.2 В качестве
обычного растворителя для очистки используют метилпентан, 2,2,4 триметилпентан
или н-гептан (технический сорт чистотой не ниже 95 % мол.).
Этот
растворитель эффективно очищает внутренние металлические поверхности аппаратуры
перед испытанием, особенно поверхности перед испытательной секцией, которые
контактируют со свежим образцом.
Предупреждение - Чрезвычайно воспламеняем. Вреден при вдыхании (приложение A3).
7.2.1 Тройной растворитель (смесь ацетона, толуола,
изопропанола в равных частях) используют в качестве растворителя только для
очистки внутренней (рабочей) поверхности испытательной секции.
Предупреждение - Ацетон чрезвычайно воспламеняем, пары могут явиться причиной пожара;
толуол и изопропанол воспламеняемы. Пары всех трех растворителей вредны.
Раздражают кожу, глаза, слизистые оболочки.
7.3 В качестве осушителя воздуха для аэрации (в
аэрационной сушилке) используют гранулы, состоящие из смеси сульфата кальция и
хлорида кобальта (смесь 97 + 3). Гранулированный осушитель постепенно изменяет
цвет от голубого до розового, что указывает на степень поглощения воды.
Предупреждение - Осторожно. Вдыхание и проглатывание пыли может
вызвать расстройство желудка.
8.1 Стандартные условия
испытания:
8.1.1 Количество топлива - не
менее 450 см3 для испытания + приблизительно 50 см3 для
системы.
8.1.2 Подготовка топлива
Не более 1000 см3
образца топлива фильтруют через один слой беззольной фильтровальной бумаги
общего назначения, после чего проводят аэрацию воздухом со скоростью 1,5 дм3/мин
в течение 6 мин, используя трубку для подачи воздуха из боросиликатного стекла
диаметром 12 мм.
8.1.3 Давление в топливной
системе измеряют манометром диапазоном измерения до 3,45 МПа (500 psi) ± 10 %.
8.1.4 Положение термопары - на
уровне 39 мм.
8.1.5 Фильтр предварительной
очистки топливной системы - фильтровальная бумага пористостью 0,45 мкм.
8.1.6 Температуру трубки
подогревателя устанавливают предварительно, согласно спецификации на испытуемое
топливо.
8.1.7 Скорость потока топлива -
3,0 см3/мин ± 10 % или 20 капель топлива за (9,0 ± 1,0) с.
8.1.8 Минимальное количество
топлива, прокачиваемого во время испытания, составляет 405 см3.
8.1.9 Продолжительность испытания
- (150 ± 2) мин.
8.1.10 Скорость потока охлаждающей
жидкости - приблизительно 39 дм3/ч или центр зеленого диапазона на
счетчике охлаждающей жидкости.
8.1.11 Регулировка (установка)
мощности - от 75 до 100 для моделей без компьютеров; для моделей с компьютером
устанавливают компьютером.
9.1 Очистка и монтаж
испытательной секции подогревателя
9.1.1 Для удаления
всех отложений внутреннюю поверхность испытательной секции подогревателя
очищают нейлоновой щеткой, хорошо смоченной трехкомпонентным растворителем.
9.1.2
В соответствии с методикой, изложенной в А1.10 (приложение А1),
проверяют трубку подогревателя, которая будет применяться в испытании, на
наличие поверхностных дефектов и прямизну.
Чтобы не поцарапать плечико
трубки, проверку проводят аккуратно, т.к. для обеспечения герметичности в
условиях потока при испытании плечико трубки должно быть гладким.
9.1.3 Собирают секцию подогревателя, используя новые детали: визуально
проверенную трубку подогревателя, прецизионный фильтр и три кольцевые
прокладки. Проверяют изоляторы на наличие повреждений, осматривая их.
Примечание - Трубки
подогревателя нельзя использовать повторно. Испытания показывают, что в
условиях обычного испытания магний мигрирует к поверхности трубки подогревателя
и может снижать адгезию отложений на ее поверхности при повторном
использовании.
9.1.4 Во время сборки
секции подогревателя с трубкой обращаются аккуратно, чтобы не коснуться ее
центральной части. При касании центра трубки подогревателя трубку бракуют, т.к.
загрязненная поверхность может влиять на характеристики отложений, образующихся
на трубке.
9.2 Очистка и сборка остальных
испытательных компонентов
9.2.1 До начала испытания выполняют следующие этапы в указанном порядке.
Примечание -
Предполагается, что аппаратура была разобрана после предыдущего испытания
(приложение А2
или соответствующее руководство пользователя по монтажу и демонтажу).
9.2.2 Осматривают и очищают
составные части, контактирующие с испытуемым образцом, заменяют все уплотнения,
пришедшие в негодность, или при сомнении:
1) уплотнение на поршне (режущей
кромке);
2) кольцевые прокладки на крышке
резервуара и на всех линиях на крышке фильтра предварительной очистки.
9.2.3 Устанавливают
подготовленную секцию подогревателя (9.1.1 - 9.1.4).
9.2.4 Собирают фильтр
предварительной очистки с новым фильтрующим элементом и устанавливают его.
9.2.5 Термопару проверяют по
эталонным точкам на правильность ее положения, затем настраивают на рабочую
температуру.
9.2.6 Для моделей 230 и 240
установки JFTOT необходимо
удостовериться, что стакан для воды пуст.
10.1 Выполняют проверки ключевых
компонентов с указанной периодичностью (см. приложения или инструкцию для
пользователя).
10.1.1 Термопару калибруют при
первой установке и затем обычно после 30 - 50 испытаний, но не реже чем через
каждые 6 мес (А2.2.8).
10.1.2 Устройство измерения
перепада давления поверяют один раз в год или при установке нового элемента (А2.2.6).
10.1.3 Осушитель воздуха для
аэрации проверяют ежемесячно и меняют, если его цвет изменился, что указывает
на значительное поглощение воды (7.3).
10.1.4 Дозирующий насос
Проводят две проверки скорости потока
для каждого испытания, как указано в разделе 11.
10.1.5 Байпасный вентиль фильтра
для моделей 202, 203 и 215 установки JFTOT проверяют на утечку не реже одного раза в год (Х1.6).
11.1 Подготовка образца топлива
11.1.1 Образец топлива фильтруют и аэрируют в
стандартных рабочих условиях (А2.2.9).
Предупреждение
- Все реактивные топлива, за исключением JP5 и JP7, следует считать
легковоспламеняющимися. Пары их опасны для здоровья (A3.3,
A3.6
и A3.7).
Примечания
1
Перед работой следует обратить внимание на предупреждение в 6.1.1.
2 Результаты испытания по
настоящему методу очень чувствительны к следовым загрязнениям в контейнерах для
отбора образцов. Рекомендуемые контейнеры - по АСТМ Д 4306.
11.1.2 Во время аэрации
температуру образца поддерживают от 15 °С до 32 °С. Для изменения температуры,
при необходимости, резервуар с образцом помещают в горячую или холодную водяную
баню.
11.1.3 Период времени между
окончанием аэрации и началом нагревания образца не должен быть более 1 ч.
11.2 Окончательная сборка
11.2.1 Собирают секцию резервуара
(инструкция для пользователя).
11.2.2 Устанавливают резервуар и
соединяют линии согласно используемой модели JFTOT (инструкция для пользователя).
11.2.3 Удаляют защитный колпачок
и подсоединяют выпускное отверстие к секции подогревателя. Эту операцию
проводят быстро, чтобы свести к минимуму потерю топлива.
11.2.4 Проверяют все линии, чтобы
гарантировать герметичность.
11.2.5 Перепроверяют положение
термопары. Она должна быть расположена на уровне 39 мм.
11.2.6 Убеждаются, что приемник
конденсатной ловушки пустой (только для моделей 230 и 240 установки JFTOT).
11.3 Включение питания и
обеспечение давления
11.3.1 Включают тумблер «питание»
«POWER» в позицию
«включено» «ON».
11.3.2 Включают устройство
тревожной сигнализации «DР» в моделях с ручным включением этой сигнализации
(модели 202, 203 и 215 установки JFTOT).
11.3.3 Медленно повышают давление
системы приблизительно до 3,45 МПа, как указано в инструкциях для пользователей
для моделей 202, 203 и 215 установки JFTOT (А2.2.5).
11.3.4 Проверяют систему на герметичность.
При необходимости сбрасывают давление системы настолько, чтобы затянуть
соединительные части, имеющие утечку.
11.3.5 Регуляторы устанавливают в
соответствии со стандартными рабочими условиями.
11.3.6 Нагревают трубку подогревателя и контролируют ее температуру
термопарой, обеспечивая температуру испытания в соответствии с требованиями
спецификации на топливо. К показаниям термопары применяют поправку, полученную
при последней калибровке (А2.2.8).
Примечание - Испытание
на установке JFTOT можно
проводить до максимальной температуры трубки, равной 350 °С. Температура, при
которой следует проводить испытание, и критерии правильности результатов обычно
содержатся в спецификациях на топлива.
11.4 Пуск
11.4.1 Для каждой модели
используют процедуру, описанную в соответствующей инструкции для пользователя.
11.4.2 Некоторые модели JFTOT могут выполнять отдельные этапы автоматически, но
следует убедиться, что:
11.4.2.1 С начала аэрации до
начала нагревания прошло не более 1 ч.
11.4.2.2 Байпасный вентиль
манометра закрывается, как только температура трубки подогревателя достигает
уровня испытания, и топливо, таким образом, начинает протекать через
испытательный фильтр (А2.2.6).
11.4.2.3 Манометр установлен на
нуль (А2.2.6).
11.4.3 Проверяют скорость потока топлива по
стандартным рабочим условиям с помощью хронометража интервалов времени или подсчета
скорости подачи по каплям в течение первых 15 мин испытания (см. приложение Х1.5)
Примечание - При
подсчете скорости падения капель первую каплю считают нулевой и начинают отсчет
времени. При падении 20-й капли отмечают общее время.
11.5 Испытание
11.5.1 Во время испытания
регистрируют перепад давления на прецизионном фильтре каждые 30 мин (не реже).
11.5.2 Если перепад давления на
фильтре начинает резко увеличиваться, а требуется провести полное (150 мин)
испытание, общий для всех моделей байпасный вентиль должен быть открыт.
Подробности работы байпасной системы приведены в соответствующем руководстве
для пользователя (А2.2.2).
11.5.3 Проводят еще одну проверку
потока в течение заключительных 15 мин перед выключением (11.4.3
и примечание; приложение Х1.5).
11.6 Температурный профиль трубки
подогревателя
Если требуется температурный
профиль трубки подогревателя, то его определяют в соответствии с Х1.4.
11.7 Выключение
11.7.1 Только для моделей 202,
203 и 215 установки JFTOT:
11.7.1.1 Выключают подогреватель
«HEATER», затем насос «PUMP», установив соответствующие тумблеры в положение «OFF» (выключено).
11.7.1.2 Закрывают клапан подачи
азота «NITROGEN PRESSURE VALVE» и открывают ручной байпасный вентиль «MANUAL BYPASS VALVE».
11.7.1.3 Медленно открывают клапан
спуска азота «NITROGEN BLEED VALVE», при наличии, чтобы обеспечить снижение давления системы со скоростью
приблизительно 0,15 МПа/с.
11.7.2 Модели 230 и 240 установки
JFTOT выключаются
автоматически.
11.7.2.1 После выключения поворачивают
селекторный вентиль потока «FLOW SELECTOR VALVE» в положение «VENT» (вентиляция) для сброса давления.
11.7.2.2 Привод поршня
отключается автоматически.
11.7.2.3 Измеряют количество
конденсата в приемнике ловушки, после чего ее опустошают.
11.8 Демонтаж
11.8.1 Отсоединяют линию ввода
топлива в секцию подогревателя и закрывают впускное отверстие колпачком для
предотвращения утечки топлива из резервуара.
11.8.2 Отсоединяют секцию
подогревателя.
11.8.2.1 Аккуратно отсоединяют
трубку подогревателя от секции подогревателя, не касаясь центральной части
трубки, и снимают прецизионный фильтр.
11.8.2.2 Промывают трубку
растворителем (7.2)
сверху донизу, включая часть, за которую ее держали. Дают высохнуть, возвращают
трубку в исходный контейнер, маркируют идентификационным номером и сохраняют
для оценки.
11.8.3 Отсоединяют резервуар.
11.8.3.1 Измеряют количество
израсходованной жидкости, прокаченной во время испытания. Бракуют испытание,
если это количество меньше 405 см3.
11.8.3.2 Утилизируют
использованное топливо.
12.1 Отложения на трубке
подогревателя оценивают визуально в соответствии с приложением А1.
12.2 Трубку возвращают в первоначальный
контейнер, регистрируют данные, сохраняют трубку для повторной визуальной
оценки.
13.1 В отчет включают следующие
данные:
13.1.1 Контрольную температуру
трубки подогревателя, т.е. температуру топлива.
13.1.2 Оценку отложений на трубке
подогревателя.
13.1.3 Максимальный перепад
давления на прецизионном фильтре в течение испытания или время, необходимое для
достижения перепада давления, равного 25 мм рт.ст. Для моделей 202, 203
установки JFTOT записывают максимальный
зарегистрированный перепад давления АР, полученный в течение испытания.
13.1.4 Если обычное время испытания 150 мин не было выдержано, например
если испытание остановилось из-за неполадок, связанных с перепадом давления,
отмечают время испытания, соответствующее этой оценке осадка на трубке
подогревателя.
Примечание - Оценку
трубки или критерий DР, или оба фактора используют для определения: «выдерживает» или «не
выдерживает» образец топлива испытание при заданной температуре.
13.1.5 Отработанное топливо в
конце обычного испытания. Это - количество жидкости, находящейся над плавающим
поршнем, или общее количество жидкости в стакане после вытеснения воды в
зависимости от модели установки JFTOT.
13.1.6 Можно
записать серийный номер трубки подогревателя.
14.1 Межлабораторные испытания
методом JFTOT проводилось в
соответствии с АСТМ Е 691 в 11 лабораториях на
13 установках двух моделей установки JFTOT на пяти топливах при двух температурах всего на 10 образцах. Каждая лаборатория
по каждому образцу получила два результата.
14.1.1 Термины «повторяемость
(сходимость)» и «воспроизводимость» в настоящем разделе используют, как указано
в АСТМ Е 177.
14.2 Прецизионность
Прецизионность этого метода
нельзя установить, т.к. было определено, что результаты по методу испытания
нельзя анализировать с помощью стандартных статистических методов.
14.3 Отклонение
Отклонение метода невозможно
оценить, т.к. результаты испытания термоокислительной стабильности реактивного
топлива определяют только настоящим методом.
А1
Метод визуальной оценки испытательных трубок подогревателя JFTOT
А1.1 Область применения
А1.1.1 Настоящий метод устанавливает процедуру
визуальной оценки трубки подогревателя по настоящему стандарту, метод JFTOT.
А1.1.2 Окончательным результатом настоящего метода
испытания является оценка цвета отложения на трубке на основе шкалы,
установленной для данного метода испытания плюс два дополнительных критерия «да/нет»,
указывающих на наличие явно большого избытка отложений или необычного
отложения, или и того, и другого.
А1.2 Документы, на которые
имеются ссылки
А1.2.1 Приложение
Колориметрический стандарт для оценки отложений на
трубке*.
_____________
* См. сноску к 2.2.
А1.3 Терминология
А1.3.1 аномальный: Цвет отложения на трубке,
который не является «радужным» и не похож на цвета колориметрического
стандарта.
А1.3.1.1 Пояснение
Это относится к цветам отложений, таким как синие (голубые)
и серые, которые не соответствуют колориметрическому стандарту.
А1.3.2 «радужный» (хвост павлина):
Многокрасочное отложение на трубке, подобное радуге.
А1.3.2.1 Пояснение
Этот тип отложения вызван эффектом интерференции,
если толщина отложения превышает четверть длины волны видимого света.
А1.3.3 оценка трубки: Шкала, состоящая из 10
отдельных делений, от 0 до > 4 с промежуточными уровнями для каждого номера,
при этом, начиная с единицы, номер каждого уровня будет меньше следующего.
А1.3.3.1 Пояснение
Шкала взята из 5 цветов: 0; 1; 2; 3; 4 по
колориметрическому стандарту АСТМ.
Полная шкала составляет: 0, < 1, 1, < 2, 2,
< 3, 3, < 4, 4, > 4. Необязательно, чтобы каждое деление имело
одинаковую абсолютную величину. Чем выше номер, тем темнее отложение.
А1.4 Сущность метода
А1.4.1 В настоящем методе испытания использует
специально сконструированную световую камеру для осмотра трубки подогревателя.
Трубка закрепляется в камере с помощью специального держателя. Однородность
поверхности новой трубки оценивают в оптимальных световых условиях камеры. Цвет
отложения на трубке оценивают путем сравнения с пластиной колориметрического
стандарта, помещаемой в оптимальное положение сразу за трубкой при освещении и
увеличении.
А1.5 Значение и применение
А1.5.1 Предполагается, что окончательной оценкой
трубки является оценка состояния отложений на трубке от разложившегося топлива.
Эта оценка является основанием для заключения о
термоокислительной стабильности образца топлива.
А1.6 Аппаратура
А1.6.1 Аппаратура для
оценки отложения на трубке подогревателя. Цвета отложений на трубке
подогревателя оцениваются с помощью тубератора и колориметрического стандарта
АСТМ.
А1.7 Образцы для испытания
(испытуемые образцы)
А1.7.1 Следует аккуратно обращаться с трубкой подогревателя, не касаясь
ее центральной части.
Примечание - При
прикосновении к центру испытуемой трубки можно загрязнить ее поверхность или
нарушить поверхность отложений, или и то, и другое, которые должны оцениваться
в первоначальном состоянии.
А1.8 Стандартные рабочие условия
А1.8.1 Внутренняя сторона световой камеры - черная
непрозрачная.
А1.8.2 Источник света - три лампы накаливания по 30
Вт отражающего типа. Все лампы должны работать, обеспечивая оптимальные условия
осмотра.
А1.8.3 Две лампы расположены внизу, одна - сверху;
каждая лампа направлена к держателю трубки и колориметрическому стандарту.
А1.8.4 Двукратное увеличение области охвата
смотрового окошечка.
А1.8.5 Оценщики - лица, которые могут оценивать
цвета (т.е. они должны хорошо их различать).
А1.9 Калибровка и стандартизация
А1.9.1 Для этого испытательного оборудования стандартизация не
требуется. Известно, что колориметрический стандарт выцветает и его следует
хранить в темном месте.
Примечание - Срок службы
колориметрического стандарта не установлен и зависит от того, постоянно или
периодически стандарт подвергается воздействию света. Целесообразно хранить
отдельный стандарт в темноте для периодического сравнения с ним регулярно
применяемого стандарта. Во время сравнения оптимальными условиями являются
условия световой камеры для оценивания трубки.
А1.9.2 Стандартизация технических приемов оценки
А1.9.2.1 При оценке отложений на трубке
подогревателя наиболее важны самые темные отложения. Оценивают самое темное
однородное отложение, а не усредненный цвет площади отложения.
А1.9.2.2 При оценке отложений рассматривают участок
с самым темным сплошным цветом, который покрывает площадь, равную или больше,
чем круг размером, равным половине диаметра трубки.
А1.9.2.3 Игнорируют полоску отложений, которая по
ширине менее четверти диаметра трубки, не принимая во внимание длину этой
полоски.
А1.9.2.4 Игнорируют пятна, полоски или царапины на
трубке, рассматривая их как дефекты трубки. Обычно они отсутствуют, т.к. перед
использованием трубку осматривают, чтобы исключить бракованную.
А1.10
Предварительная оценка новых трубок
А1.10.1 Осматривают трубку без увеличения при
освещении лаборатории.
Если дефект виден, то трубку бракуют. Затем с
помощью устройства для визуальной оценки трубки (тубератора) рассматривают
центр (более тонкий участок) трубки между 5 и 55 мм выше нижнего плечика. Если
дефект замечен, устанавливают его размер. Если он более 2,5 мм2,
трубку бракуют. На рисунке А1.1 приведена иллюстрация дефектных площадей,
эквивалентных 2,5 мм2.

1 - длина испытательной площади - 60 мм;
2 - примеры площади 2,5 мм2:
квадрат, пятно, полоска шириной 0,8 мм
Рисунок А1.1 -
Дефектные площади
А1.10.2 Исследуют трубку на прямизну, катая ее по
плоской поверхности и отмечая зазор между плоской поверхностью и центральной
секцией. Любую изогнутую трубку бракуют.
А1.11 Проведение испытания
А1.11.1 Установка трубки подогревателя
А1.11.1.1 Верхний конец трубки защелкивают в зажиме
держателя трубки подогревателя.
А1.11.1.2 Продвигают трубку подогревателя в
держатель до упора.
А1.11.1.3 Передвигают держатель с нагревательной
трубкой по направляющему стержню в устройство для визуальной оценки отложений.
А1.11.1.4 Вращая держатель, располагают трубку
подогревателя так, чтобы была видна сторона с самым темным отложением.
А1.11.1.5 Вставляют колориметрический стандарт АСТМ
в устройство для визуальной оценки отложений на трубке.
А1.11.2 Оценка
А1.11.2.1 Сравнивают цвет самого темного отложения
на трубке подогревателя выше нижнего плечика между 5 и 55 мм с
колориметрическим стандартом АСТМ. Отложение оценивают только в том случае,
если площадь его более 2,5 мм2 и ширина полоски или пятна более 0,8
мм.
На рисунке А1.1 приведена иллюстрация
пятен или полосок площадью, равной 2,5 мм2.
А1.11.2.2 Если цвет самого темного отложения
соответствует колориметрическому стандарту, то следует записать его номер.
А1.11.2.3 Если цвет самого темного оцениваемого
отложения на трубке подогревателя находится в очевидно переходном состоянии
между любыми двумя смежными колориметрическими стандартами, оценку следует
записывать номером меньше, чем более темный стандарт (т.е. с более высокой
цифрой).
А1.11.2.4 В случае, если цвет отложения на трубке
подогревателя не соответствует цветам колориметрического стандарта, используют
следующие правила оценки. Используют стандартные термины:
- если отложение имеет цвет «радужный», оценивают
его как код Р, а также оценивают любое отложение, которое имеет нормальный
цвет, или
- если отложение имеет необычный аномальный цвет,
оценивают его как код А, а также оценивают любое отложение, которое имеет
нормальный цвет.
А1.11.3 Удаляют оцененную трубку подогревателя и
возвращают ее в первоначальный контейнер.
А1.12 Запись результатов
А1.12.1 Записывают числовую оценку трубки
подогревателя плюс А или Р, или то и другое, с дополнительным описанием при
необходимости.
А1.12.1.1 При записи полной оценки записывают
максимальную оценку, но если присутствуют цвета, которые не согласовываются с
колориметрическим стандартом, то их тоже записывают.
А1.12.1.2 Если присутствуют отложения только кодов Р или А, или и того,
и другого, записывают только их и не пытаются оценивать цифровой класс.
А1.12.2 Примеры
А1.12.2.1 Пример 1 - Трубка подогревателя имеет максимальное
отложение, попадающее между кодами 2 и 3 колориметрического эталона без наличия
других цветов. Общая оценка трубки будет менее 3.
А1.12.2.2 Пример 2 - Самое темное отложение на трубке соответствует
коду 3, но также присутствует «радужное» отложение. Полную оценку трубки
записывают как «3Р».
А1.12.2.3 Пример 3 - Трубка подогревателя имеет отложение, которое
соответствует коду 1 колориметрического стандарта, но также имеет аномальное
отложение. Полную оценку трубки записывают как «1А».
А1.13 Прецизионность и отклонение
А1.13.1 Прецизионность
Прецизионность процедуры данного метода измерения
оценки отложения на трубке находится в процессе определения.
А1.13.2 Отклонение
Поскольку значение оценки отложения на трубке
определяется только по настоящему методу, то определить отклонение в процедуре
оценки отложения на трубке не представляется возможным.
А2 Аппаратура
А2.1 Испытательная установка
А2.1.1 Установка JFTOT, описанная в настоящем приложении, является
установкой для определения термоокислительной стабильности авиационного
турбинного топлива. Существует 5 моделей JFTOT, к которым ниже даны описания. Все модели снабжены
устройством для подачи образца топлива однократно через испытательную систему
по металлической испытательной трубке и прецизионный фильтр. Имеются средства
контроля и измерения температуры пробного образца, давления в системе и
перепада давления на фильтре, а методы контроля и измерения меняются с каждой
моделью JFTOT.
Механизм подачи образца представляет собой
нагнетательный шестеренчатый насос или поршневой насос.
А2.2 Подробности испытания
А2.2.1 Общее описание
В настоящем аппарате используют фиксированный объем
реактивного топлива, который отфильтровали и затем аэрировали, насыщая образец
воздухом. Во время испытания топливо подают с постоянной скоростью вдоль
нагретой алюминиевой трубки, поддерживая относительно высокую температуру,
обычно 260 °С, однако она может быть выше в некоторых спецификациях.
Топливо, насыщенное посредством аэрации кислородом,
может разложиться на горячей алюминиевой трубке подогревателя, образуя
отложения в виде явной пленки. Кроме того, продукты разложения могут уходить с
потоком топлива и захватываться прецизионным фильтром. Для определения
окислительной стабильности топлива используют как увеличение перепада давления
на прецизионном фильтре, так и окончательную оценку трубки подогревателя.
А2.2.2
Топливная система
Свежефильтрованное
и аэрированное топливо в начальной стадии помещают в резервуар, затем один раз
прокачивают через установку в приемник для отработанного образца. Для
перемещения образца используют поршневой насос, поддерживающий скорость потока
3,0 см3/мин и преодолевающий любые воздействия на поток от
начального забивания фильтра. Допускается отклонение скорости потока 10 %. Если
забивание фильтра становится серьезным, то для того, чтобы закончить испытание,
можно открыть байпасный вентиль, расположенный перед прецизионным фильтром.
Затем любое отложение на трубке подогревателя можно оценивать на основе
законченного испытания.
А2.2.2.1 Основой испытательной системы является
трубчатый теплообменник или испытательная секция с находящейся в ней
испытательной трубкой подогревателя, поверх которой направляется поток топлива.
Важна центровка трубки подогревателя в испытательной секции подогревателя, как
показано на рисунке А2.1.
Этот узел является общим во всех моделях JFTOT и решающим в
получении воспроизводимых результатов.
А2.2.2.2 Есть некоторые другие моменты, касающиеся
топливной системы, которые заслуживают внимания:
- перед поступлением в испытательную секцию
подогревателя тотчас же по выходе из резервуара свежее топливо фильтруют сквозь
бумажный мембранный фильтр с размером пор 0,45 мкм;
- трубку подогревателя уплотняют в испытательной
секции подогревателя кольцевыми прокладками из эластомера (рисунок А2.2);
- прецизионный фильтр из нержавеющей стали
пористостью 17 мкм. Если этот фильтр вызывает увеличение перепада давления, то
подается звуковой сигнал (обычно при давлении 125 мм рт.ст.), предупреждающий
оператора. После этого, при необходимости, можно выполнить обвод фильтра;
- модели 202, 203 и 215 установки JFTOT используют один топливный резервуар с плавающей
крышей для разделения свежего топлива (на дне) и отработанного топлива
(наверху). В моделях 230 и 240 используются 2 резервуара: один - для свежего
топлива, другой - для отработанного;

1 - трубка
подогревателя; 2 - кожух трубки
подогревателя;
3 - плечико трубки подогревателя в центре сливного отверстия
Рисунок А2.1 - Расположение трубки подогревателя

Рисунок А2.2 - Сборочный чертеж испытательной секции трубки подогревателя
- потоком топлива во всех моделях можно управлять,
визуально подсчитывая капли топлива. Модели 230 и 240 установки JFTOT позволяют измерять объем потока в зависимости от
времени, что считается более точным измерением потока.
А2.2.2.3 Схемы потока топлива для трех основных
конфигураций JFTOT представлены на
рисунке А2.3.

1 - клапан для
сброса азота; 2 - клапан для
повышения давления азота; 3 -
ограничитель давления; 4 -
манометр; 4а - датчик абсолютного
давления (преобразователь);
5 - резервуар для
топлива вместе с поршнем и уплотнением; 5а - гидравлический топливный резервуар; 6 - насос дозирующий с постоянной
скоростью подачи;
7 - индикатор потока капель
(конденсатной ловушки); 8 -
мембранный фильтр предварительной очистки; 9 - регулятор давления; 10 - испытательный фильтр;
11 - испытательная секция стандартной
трубки подогревателя; 12 - ручной
сливной клапан; 13 -
байпасный вентиль фильтра; 14 -
поплавковый контрольный клапан;
15 - манометр; 16 - четырехходовой байпасный вентиль
преобразователя; 17 -
дифференциальный преобразователь жидкого топлива; 18 - трехходовой вентиляционный
(спускной) клапан; 19 -
пятиходовой вентиляционный (спускной) клапан; 20 - закрытое выходное отверстие; 21 - сосуд воздухоуловителя; 22 - отработанная жидкость;
23 - аккумулятор; 24 - обратный клапан
Рисунок А2.3 - Схема
топливной системы
А2.2.3 Система
нагревание/температурный контроль
Алюминиевая трубка подогревателя нагревается
электрическим током большой силы, поступающим от понижающего трансформатора.
Трубка подогревателя зажимается в сравнительно
тяжелых токопроводящих шинах, охлаждаемых водой, температура которых повышается
сравнительно мало.
А2.2.3.1 Регулятор температуры во всех моделях JFTOT служит в качестве индикатора и контроллера. В
автоматическом режиме контроллер обеспечивает постоянную температуру нагревания
во время испытания, меняя, по необходимости, мощность, для поддержания
заданного значения температуры. В ручном режиме контроллер обеспечивает только
индикацию температуры. Рабочий температурный диапазон испытания - от
температуры окружающей среды до 350 °С.
А2.2.3.2 Решающими факторами в температурном
контроле являются термопара и ее положение. Сама термопара должна быть
откалибрована для обеспечения необходимой точности. Положение кончика термопары
должно быть тщательно определено, чтобы показание температуры во время
автоматического контроля соответствовало значению температуры самого горячего
участка трубки подогревателя. Простая механическая устанавливающая система
обеспечивает легкое и точное размещение термопары.
А2.2.3.3 На рисунке А2.4 представлена схема
основной системы нагревания.

1 - нижняя шина; 2 - трубка
подогревателя; 3 - съемное соединение для термопары; 4 - верхняя
шина; 5 - провод термопары;
6 - охлаждающая вода; 7 - система контроля питания; 8 - понижающий трансформатор; 9 - электропитание
Рисунок А2.4 - Схема основной
системы нагревания трубки подогревателя и температурного контроля
А2.2.4 Система охлаждения
При обычной работе JFTOT необходимо охлаждение для удаления тепла,
поступающего в токопроводящие шины от горячей трубки подогревателя. Охлаждающая
вода циркулирует через каждую шину, при этом используют водопроводную воду
(модели 202, 203 и 215 JFTOT). Модели 230 и 240 JFTOT используют систему с внутренней циркуляцией и охлаждающим жидкостным
радиатором. Единственными мерами предосторожности для таких систем должно быть
наблюдение за ними, чтобы убедиться, что они работают, при этом избегать
применения хладагентов, содержащих примеси или соли, которые могут в конечном
счете полностью загрязнить систему.
А2.2.5
Повышение давления
При
температуре обычного испытания на установке JFTOT реактивное топливо обычно кипит при
температуре трубки подогревателя. Это затрудняет точный температурный контроль
и мешает формированию естественного отложения. Поэтому система должна работать
под суммарным давлением приблизительно 3,45 МПа (500 фунт/кв.дюйм). Этот
уровень давления поддерживается в каждой модели или с помощью азота (модели
202, 203 и 215 JFTOT),
или гидравлическим поршневым насосом (модели 230 и 240 JFTOT).
А2.2.5.1 Манометр или датчик используют для измерения
и управления давлением всей системы. Специфическим является то, что системы под
давлением газа эксплуатируются закрытыми, тогда как системы под гидравлическим
давлением имеют предохранительный клапан, через который жидкость проходит
постоянным потоком во время испытания. Для контроля за работой
предохранительного клапана при любом топливе используют ячейку вытеснительного
типа, куда отработанное топливо, вытесняя воду со дна, поступает в верхнюю
часть через предохранительный клапан. Клапан чувствителен только к воде и
работает надежно.
А2.2.6
Измерение перепада давления
В установках JFTOT используют приборы двух конструкций для измерения
перепада давления (DР) на прецизионном фильтре, т.к. во время испытания продукты разложения
топлива улавливаются фильтром. Модели 202 и 203 установки JFTOT (выпущенные до 1984 г.) оборудованы ртутными
манометрами с ленточным регистрирующим DР устройством.
Модели 215, 230 и 240 установки JFTOT используют электронный датчик DР. Подробности включения приборов этих двух конструкций в топливную
систему представлены на схемах (рисунок А2.3).
А2.2.6.1 Применение этих устройств измерения
перепада давления требует двух специальных мер: использования байпаса и удаления
воздуха. Первое позволяет потоку топлива обходить фильтр всякий раз, когда это
необходимо. Второе используют, чтобы удалить воздух или азот, которые время от
времени могут улавливаться камерами ячейки.
Показание манометра считывают как высоту столбика
ртути. Результат датчика должен появиться на экране в цифровом изображении.
А2.2.6.2 Система манометра по природе включает
отклонение из-за наличия над ртутью топлива вместо обычного воздуха. Это меняет
значение давления, выраженного высотой столбика ртути таким образом, что
результат приблизительно на 6 % выше истинного значения. Датчик не имеет этой
ошибки, поэтому, чтобы снять одни и те же показания с манометра и датчика, к
показаниям датчика прибавляют 6 % отклонения и, таким образом, получают то же
значение, что и для манометра.
А2.2.6.3 При эксплуатации применяемое устройство,
измеряющее DР, должно устанавливаться на нуле в условиях
фактически существующего потока в начале испытания, потому что, когда течет
топливо, в системе происходит небольшое падение давления.
Установка на нуль датчика или манометра в начале
испытания компенсирует влияние потока.
А2.2.7 Проверка правильности
измерения перепада давления DР
Точность измерения DР можно проверить с
помощью технических приемов снятия показаний давления, создаваемого столбиком
жидкости с известной плотностью на каждой стороне элемента для измерения DР.
Подробное описание этого приема включено отдельной
частью в каждую инструкцию по эксплуатации конкретной модели JFTOT. Данная операция в действительности является
проверкой работы элемента для измерения DР и не является истинной калибровкой элемента.
Калибровка должна выполняться изготовителями
элемента, если такое действие предполагается на основе результатов стандартизации.
А2.2.8
Калибровка термопары
Термопара
должна быть точной, и это важно. Используют метод калибровки термопары по
известным точкам плавления, подробно описанный в инструкции для пользователя
каждого аппарата JFTOT.
Для первых моделей JFTOT
в качестве металла-индикатора использовали чистое олово.
Начиная с моделей 230 и 240 JFTOT, для калибровки применяют два металла: чистое
олово при 232 °С и чистый свинец при 327 °С, для определения двух точек,
охватывающих обычный диапазон температур, используемый на установке. Для
установления нижней исходной точки 0 °С используют смесь лед/вода.
А2.2.8.1 Принцип калибровки, с использованием точки
плавления металла, заключается в погружении кончика термопары в расплавленный
металл, затем металлу дают охладиться. Поскольку металл проходит свою
температуру точки затвердения, показание температуры некоторое время будет
постоянным, указывая температуру затвердения для металла.
А2.2.8.2 Разница между известным значением
температуры точки затвердения металла и показываемой на экране измеренной
температурой является поправкой для установки температур испытания. Например,
при использовании олова с известной температурой кристаллизации 232 °С (рисунок
А2.5)
температура, зафиксированная термопарой в точке затвердения металла, выше 232
°С. Это указывает на то, что термопара дает завышенное показание и
установленная разница принимается за поправку, на которую снижают любую
температуру испытания. При использовании двух металлов и воды со льдом (нижняя
точка) принцип калибровки тот же, но поправка рассчитывается автоматически и
учитывается встроенным компьютером.

1 - переохлаждение; 2 -
застывание; 3 - твердое состояние
Рисунок А2.5 -
Характеристики застывания олова
А2.2.9 Система
аэрации топлива
Все
модели JFTOT
имеют устройства для аэрации образца перед испытанием. При отсутствии кислорода
в образце достоверность испытания подвергается сомнению. Отфильтрованный сухой
воздух дозируют через образец со скоростью ~ 1,5 дм3/мин в течение 6
мин. Эти 9 дм3 воздуха обеспечивают 97 %-ное насыщение образца.
А2.2.10 Измерение истекшего
времени
В зависимости от модели JFTOT существуют разные методы измерения времени
испытания. Индикатор истекшего времени обычно является используемым базисом, но
в некоторых моделях JFTOT отсчитывание времени
сбора данных DР выполняется другим таймером. Поскольку эти два таймера могут быть
разными, последняя точка данных может быть упущена, если испытание прекращается
до момента последнего отсчета данных по времени.
В руководстве пользователей для разных моделей
аппаратуры представляют технические приемы, чтобы избежать потери этих данных.
A3 Положение по технике безопасности
А3.1 Ацетон
A3.1.1 Следует держать дальше от тепла, искр и
открытого пламени.
А3.1.2 Емкость с ацетоном должна быть закрытой.
Используют соответствующую вентиляцию.
А3.1.3 Избегают образования паров и устраняют все
источники воспламенения, особенно взрывоопасную электроаппаратуру и
подогреватели.
A3.2 Толуол
A3.2.1 Избегают длительного или повторного вдыхания
паров или аэрозоля (распыленного тумана).
A3.2.2 Используют только соответствующую
вентиляцию.
A3.2.3 Раздражение глаз и головокружение являются
признаками отравления.
A3.2.4 Не следует принимать внутрь.
A3.2.5 Прием внутрь наносит вред, может явиться
причиной болезни или смерти.
A3.2.6 Избегают длительного или повторного контакта
с кожей.
A3.2.7 Следует беречь глаза от попадания толуола.
A3.2.8 Толуол может выделять токсичные пары при
соприкосновении с пламенем, раскаленными поверхностями или электрическими
дугами.
А3.3 Изопропанол (2-пропанол)
A3.3.1 Держат вдали от тепла, искр и открытого
пламени.
A3.3.2 Держат контейнер вдали от тепла, искр и
открытого пламени.
A3.3.3 Емкость должна быть закрыта.
A3.3.4 Обеспечивают соответствующую вентиляцию.
A3.3.5 Избегают образования паров и устраняют все
источники воспламенения, особенно взрывоопасные электроприборы и подогреватели.
A3.3.6 Избегают длительного вдыхания паров или
распыленного тумана.
A3.3.7 Избегают длительного и неоднократного
контакта с кожей.
А3.4 н-Гептан
А3.4.1 Держат подальше от тепла, искр и открытого
пламени.
А3.4.2 Контейнер держат закрытым.
А3.4.3 Обеспечивают соответствующую вентиляцию.
А3.4.4 Избегают длительного вдыхания паров или
распыленного тумана.
А3.4.5 Избегают длительного и неоднократного
контакта с кожей.
A3.5 Сжатые газы (азот)
A3.5.1 Клапан баллона должен быть закрыт (если
баллон не используют).
A3.5.2 Не следует входить в хранилище, где хранятся
баллоны, если оно не проветрено.
A3.5.3 Всегда следует пользоваться регулятором
давления.
A3.5.4 Прежде чем открыть баллон, ослабляют
натяжение регулятора.
A3.5.5 Не переносят в другой баллон, используют в
том, в котором газ получен.
A3.5.6 Не смешивают газы в баллонах.
A3.5.7 Не следует ронять баллоны.
A3.5.8 Удостоверяются, что баллон прочно
установлен.
A3.5.9 Когда открывают вентиль баллона, следует
стоять вдали от выходного отверстия баллона.
A3.5.10 Следует держать баллон вдали от солнца и
тепла.
A3.5.11 Оберегают баллон от коррозионной среды.
A3.5.12 Не используют баллон без этикетки.
A3.5.13 Не используют поврежденные баллоны.
A3.5.14 Используют только для технических целей.
A3.5.15 Не используют для вдыхания.
A3.6 Авиационное турбинное топливо (реактивное
топливо В (Jet-B) по АСТМ Д 1655)
A3.6.1 Держат дальше от тепла, искр и открытого
пламени.
A3.6.2 Емкость с топливом должна быть закрыта.
A3.6.3 Обеспечивают соответствующую вентиляцию.
A3.6.4 Избегают вдыхания паров или распыленного
тумана.
A3.6.5 Избегают длительного или повторного контакта
с кожей.
A3.7 Авиационное турбинное топливо (реактивное
топливо А или А-1 (Jet-А или А-1) по
АСТМ Д 1655)
A3.7.1 Держат вдали от тепла, искр и открытого
пламени.
A3.7.2 Емкость с топливом должна быть закрыта.
A3.7.3 Обеспечивают соответствующую вентиляцию.
A3.7.4 Избегают образования паров и устраняют все
источники воспламенения, особенно взрывоопасные электроприборы и подогреватели.
A3.7.5 Избегают вдыхания паров или распыленного
тумана.
A3.7.6 Избегают длительного и повторного
воздействия на кожу.
А3.8 Ртуть
A3.8.1 Не следует вдыхать пары.
A3.8.2 Контейнер с ртутью должен быть закрыт.
A3.8.3 Обеспечивают достаточную вентиляцию.
A3.8.4 Избегают попадания внутрь.
A3.8.5 Если возможно, то сводят к минимуму
испарения, поверхность покрывают водой.
A3.8.6 Не следует нагревать.
A3.8.7 Перед заменой или очисткой держат
отработанную ртуть в плотно закрытых емкостях.
A3.8.8 Не выливают в раковину или в мусор.
Х1
Расположение, обслуживание и специальные проверки
Х1.1.1 Испытательная установка должна быть
установлена на горизонтальном лабораторном столе, перед установкой должно быть
свободное пространство шириной от 200 до 300 мм. Должен быть обеспечен
свободный доступ к задней стенке для технического обслуживания. Необходимо,
чтобы вентиляционное отверстие на верхней крышке установки JFTOT было свободным во время монтажа или эксплуатации.
Следует обеспечить вентиляцию и использовать соответствующие способы обращения
с растворителями и углеводородами. Для первых моделей прибора может
потребоваться стабилизатор напряжения.
Используют однофазный ток: 115 В - 60 Гц - 15 А или
220 В - 50 Гц - 8 А с заземлением.
Х1.1.2 Для пневматической модели JFTOT следует удобно разместить баллон для подачи азота
с соответствующим регулятором, обеспечивающим давление 3,45 МПа, и соединить
его с установкой посредством трубки диаметром 3,2 мм. Требуется соответствующая
трубка диаметром 6,4 мм для соединения входного отверстия для воды «WATER INLET» с водопроводом, работающим под давлением от 200 до 700 кПа, другая
трубка диаметром 6,4 мм должна соединять сливное отверстие «WATER DRAIN» с водостоком, способным пропускать 80 дм3/ч.
Х1.2.1 Олово (и свинец при использовании),
находящееся в канале калибратора, следует заменить, если его количество ниже
минимального значения или в случае его загрязнения.
Х1.2.2 Для удаления металла переворачивают
калибратор и устанавливают его между верхней неподвижной шиной и нижней
плавающей шиной.
Х1.2.3 Помещают папиросную бумагу или тряпку под
канал для улавливания расплавленного металла.
Х1.2.4 Подают энергию к автокалибратору, как во
время обычной калибровки, и в то же самое время осторожно постукивают по каналу
до тех пор, пока не выйдет весь расплавленный металл.
Х1.2.5 Снимают автоматический калибратор,
устанавливают его вертикально и заполняют новой порцией металла. Для одного
заполнения необходимо: от 1,5 до 1,9 голова, от 3,3 до 4,7 г свинца.
Х1.3.1 Из-за повреждений или поломки термопару,
используемую для измерения и регулирования температуры трубки подогревателя JFTOT, необходимо периодически заменять.
Если не используют простую заглушку, то термопару
снимают, ослабляя ее зажим, зажим опоры и соединения термопары на задней
стороне регулятора температуры.
Х1.3.2 Устанавливают новую термопару в порядке,
обратном снятию старой.
Заменяют и затягивают винты, если требуется.
Затягивая винт Аллена зажима термопары, следят, чтобы кончик термопары был
установлен на одном уровне с верхней частью закрепленной верхней шины, когда
стрелка индикатора положения термопары установлена на контрольной отметке.
Х1.3.3 Проверяют калибровку термопары в реальных
рабочих условиях испытания.
Х1.4.1
Если требуется определить температурный профиль трубки подогревателя, то
измерение проводят по истечении первого часа испытания или перед тем, как будет
иметь место значительный перепад давления DР. Следуют методике, указанной в
инструкции для пользователя для конкретной модели JFTOT.
Х1.5 Проверка
скорости потока
Х1.5.1 Установка JFTOT с шестеренчатым насосом (модели 202, 213, 215)
Проверяют поток, наблюдая стекание капель в корпус
конденсатной ловушки и измеряя время для 20 капель. Время должно быть равно (9 ± 1) с.
Х1.5.2 Установка JFTOT с помповым насосом (модели 230, 240)
Х1.5.2.1 Метод по скорости падения капель из
конденсатной ловушки
Проверяют поток, наблюдая стекание капель и измеряя
время для 20 капель. Время должно быть равно (19 ± 1) с.
Х1.5.2.2 Объемный метод
Проверяют поток, измеряя время для сбора 15 см3
топлива в мерный цилиндр. Это время должно быть от 4 мин 33 с до 5 мин 33 с.
Х1.5.2.3 Для установки JFTOT с помповым насосом объемный метод является арбитражным.
Примечание - Подсчеты
скорости стекания капель начинают с нуля (капля «0», капля «1», капля «2»...
капля «20»), чтобы получить точное измерение времени, требуемого для 20 капель.
Х1.6.1
Обрабатывают прецизионный фильтр и пробку по боковой линии любым быстросохнущим
промышленным клеем. Устанавливают этот фильтр вместе с трубкой подогревателя в
испытательную секцию.
Х1.6.2 Байпасный вентиль «MAN BYPASS» в открытом положении обеспечивает циркуляцию чистого профильтрованного
топлива под давлением 3,45 МПа (нагрев не следует применять).
Х1.6.3 После того как в смотровом окне появится
устойчивый поток [20 капель за (9,0 ± 1,0) с], закрывают байпасный вентиль «MAN BYPASS» и сразу включают секундомер. Отмечают время, в течение которого
поплавок манометра достигнет перепада давления 100 мм DР. Сразу открывают байпасный вентиль «MAN BYPASS», чтобы возобновить нормальный поток жидкости.
Х1.6.4 Байпасный вентиль «MAN BYPASS» и топливный насос отвечают обычным эксплуатационным требованиям, если
время для достижения перепада давления 100 мм DР равно 60 с или менее.
Х1.6.5 Время, необходимое для достижения перепада давления
100 мм DР, может быть очень коротким; в некоторых установках
это может произойти почти мгновенно в зависимости от режима работы насоса
(состояния насоса) и конструкции системы. Такой быстрый подъем перепада
давления DР допустим и рассматривается как находящийся в диапазоне ожидаемой и
нормальной работы.
Х1.6.6 Если время, необходимое для достижения
перепада давления 100 мм DР, превышает 60 с, это означает утечку байпасного
вентиля или неудовлетворительные эксплуатационные характеристики насоса-дозатора.
В этом случае надо проверить работу насоса-дозатора, чтобы решить, что нужно
заменить - насос или байпасный вентиль на фильтре.
Х1.7.1 Устанавливают забитый фильтр, отработанную трубку
подогревателя и обеспечивают нормальный поток топлива.
Х1.7.2 После стабилизации потока регулируют вентиль
«MAN BYPASS», чтобы получить устойчивый перепад давления DР, равный 50 мм.
Х1.7.3 С помощью секундомера определяют время истечения
20 капель, видных через смотровое стекло.
Х1.7.4 Нормально работающий насос должен обеспечить
истечение 20 капель топлива за (9,0 ± 1,0) с. Насосы, время истечения 20 капель топлива
для которых более 10 с, требуют замены.
Х1.7.5 После установки нового насоса повторяют
проверку насоса.
Х1.7.6 Если скорость истечения 20 капель топлива
по-прежнему низкая, прочищают все трубопроводы и фитинги от испытательного
фильтра через насос-дозатор до топливного резервуара трехкомпонентным
раствором. Заменяют трубопроводы по мере необходимости. Снова проверяют насос.
Имеется инструкция технического обслуживания,
которая обеспечивает дополнительную информацию по этому вопросу, например
электросхема (внутри на задней дверце шкафа прибора JFTOT).
Все подробности работы с моделями JFTOT содержатся в инструкциях для пользователя,
прилагаемых к каждому прибору.
Х2 Определение точки проскока
Х2.1 Термин
Х2.1.1 точка проскока: Наивысшее значение
контрольной температуры по настоящему методу JFTOT, при которой топливо удовлетворяет требованиям
спецификации по оценке трубки нагревателя и перепада давления DР.
Х2.1.1.1 Пояснение
Это определение точки проскока описывает наивысшую
допустимую температуру испытания топлива. Следует учесть, что некоторые
опубликованные документы применяли термин «точка проскока» для описания самой
низкой температуры, равной температуре (х
+ 5) °С, на которую сделана ниже ссылка.
Х2.2 Определение точки проскока
Х2.2.1 Точку проскока можно получить, проведя ряд испытаний
при различных контрольных температурах, чтобы определить значение температуры х (°С), при которой топливо отвечает
требованиям спецификации как по оценке трубки нагревателя, так и по перепаду
давления DР, и когда результат испытания при температуре,
равной (х + 5) °С, выпадает (т.е. не
будет удовлетворять оценке трубки нагревателя или требованиям по DР).
Температуру х (°С) записывают как точку
проскока по настоящему методу.
Таблица В.1
Обозначение
ссылочного
стандарта
|
Обозначение и
наименование соответствующего национального стандарта
|
АСТМ Д 1655
|
ГОСТ
Р 52050-2006 Топливо авиационное для газотурбинных двигателей ДЖЕТ А-1 (Jet A-1).Технические условия
|
АСТМ Д 4306
|
*
|
АСТМ Е 177
|
*
|
АСТМ Е 691
|
*
|
* Соответствующий национальный стандарт
отсутствует. До его утверждения рекомендуется использовать перевод на русский
язык данного стандарта. Перевод данного стандарта находится в Федеральном информационном
фонде технических регламентов и стандартов.
|
Ключевые слова: перепад давления, разложение топлива, отложения от окисления,
отложения на испытательном фильтре, термическая стабильность, топливо для
газотурбинных двигателей
|