Информационная система
«Ёшкин Кот»

XXXecatmenu

РУКОВОДЯЩИЙ ДОКУМЕНТ

СОСУДЫ И АППАРАТЫ

Нормы и методы расчета на прочность
цилиндрических обечаек и выпуклых
днищ в местах присоединения штуцеров
при внешних статических нагрузках

РД 28.260.09-92

Издание официальное

Москва 1992

РУКОВОДЯЩИЙ ДОКУМЕНТ

Нормы и методы расчета на прочность
цилиндрических обечаек и выпуклых
днищ в местах присоединения штуцеров
при внешних статических нагрузках

РД 28.260.09-92

Дата введения 01.07.92

Настоящий руководящий документ устанавливает нормы и методы расчета на прочность цилиндрических обечаек и выпуклых днищ сосудов и аппаратов, работающих в химической, нефтехимической и смежных отраслях промышленности, в местах присоединения штуцеров под действием внешних однократных статических нагрузок*.

Руководящий документ применим при условии соблюдения требований ОСТ 26-291-87.

Разрешается для оценки прочности узла присоединения штуцера к корпусу сосуда применять другие методы при согласовании расчета со специализированными организациями в области прочности сосудов.

_________________

*) Определение условной однократной нагрузки приведено в ГОСТ 14249-89

1. ОБЩИЕ ТРЕБОВАНИЯ

1.1. Основные термины и условные обозначения соответствующих им величин, а также поясняющие их эскизы приведены в приложении 1.

1.2. Руководящий документ действителен при условии, что толщины стенок обечаек и днищ отвечают требованиям ГОСТ 14249-89 и выполняются условия укрепления отверстий по ГОСТ 24755-89.

1.3. Руководящий документ распространяется на расчет штуцеров, оси которых нормальны к поверхности обечайки.

1.4. Пределы применения расчетных формул в части отношения толщины стенки обечайки или днища к диаметру должны отвечать п.1.2 ГОСТ 24755-89, а в части размещения отверстий в краевых зонах обечаек и днищ - п. 1.5 ГОСТ 24755-89.

1.5. Руководящий документ распространяется на расчет узлов врезки штуцеров, для которых выполняется соотношение:

                                                                                                    (1)

1.6. В случае нагружения повторными статическими нагрузками с числом циклов нагружения более 1000 в дополнение к настоящему расчету должен быть выполнен расчет на малоцикловую прочность по ГОСТ 25859-83. Напряженное состояние в месте присоединения штуцера к корпусу определяется по специальной методика.

2. ЭФФЕКТИВНОЕ И ДОПУСКАЕМОЕ ВНЕШНЕЕ УСИЛИЕ

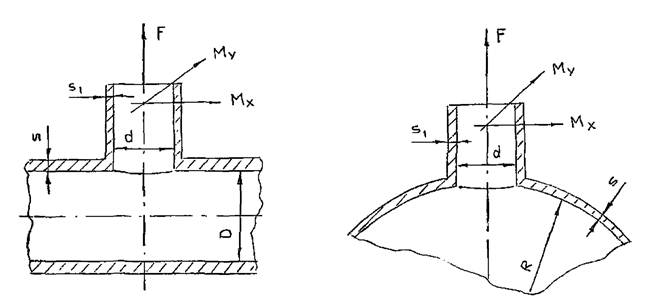
2.1. Внешние нагрузки, действующие на штуцер, указаны на черт. 1. Величины осевой силы F, изгибающих моментов Мх и Му определяются для соответствующего состояния (при экплуатации, испытании, монтаже) от действия собственной массы трубопровода, ветровой, снеговой и других нагрузок.

2.2. Приведенный момент, действующий на штуцер, определяется по формуле

                                                                                 (2)

2.3. Эффективное осевое усилие, действующее на штуцер, определяется по формуле

                                                                                            (3)

2.4. Допускаемое осевое усилие определяется по формуле

                                                 (4)

В случае использования накладного кольца шириной не менее  допускается в формуле (4) вместо (S - C) подставлять (S + S2 - С).

3. УСЛОВИЯ ПРОЧНОСТИ

3.1. В случае, если обечайка или днище, к которым приварен штуцер, нагруженный внешним изгибающим моментом и осевым усилием, работают под действием внутреннего давления, должны выполняться следующие условия прочности.

- при Fe > 0

(5)

- при Fe < 0

(6)

3.2. В случае, если обечайка или днище, к которым приварен штуцер, нагруженный внешним изгибающим моментом и осевым усилием, работают под действием наружного давления, должны выполняться следующие условия прочности:

- при Fe > 0

(7)

- при Fe < 0

(8)

3.3. Допускаемое внутреннее или наружное давление для сосуда, ослабленного отверстием, [Р] определяется по ГОСТ 24755-89.

ПРИЛОЖЕНИЕ 1
Обязательное

ТЕРМИНЫ И ИХ ОБОЗНАЧЕНИЯ

Термин

Обозначение

Расчетная прибавка к толщине стенки обечайки или днища, мм

С

Расчетный диаметр укрепляемого элемента, определяемый по п. 2.1 ГОСТ 24755-89, мм

Dp

Внутренний диаметр штуцера, мм

d

Осевое усилие, действующее на штуцер, Н

F

Эффективное осевое усилие, действующее на штуцер, Н

Fe

Допускаемое осевое усилие, действующее на штуцер, Н

[F]

Приведенный момент, действующий на штуцер, Н. мм

М

Изгибающий момент относительно оси X,. действующий на штуцер, Н. мм

Мх

Изгибающий момент относительно оси Y, действующий на штуцер, Н. мм

Му

Расчетное давление, МПа

P

Допускаемое давление для узла врезки штуцера, определенное по ГОСТ 24755-89, МПа

[P]

Исполнительная толщина стенки обечайки или днища, мм

S

Исполнительная толщина накладного кольца, мм

S2

Допускаемое напряжение для материала обечайки или днища при расчетной температуре, МПа

[6]

 

Внешние нагрузки

на цилиндрическую обечайку

на выпуклое днище

Черт. 1

ИНФОРМАЦИОННЫЕ ДАННЫЕ

1. РАЗРАБОТАН И ВНЕСЕН НИИХИММАЩем, ВНИИНЕФТЕМАШем

ИСПОЛНИТЕЛИ: Рачков В.И. -канд. техн. наук, Сухарникова И.В., Зусмановская С.И. -канд. техн. наук, Вольфсон Б.С.

2. УТВЕРЖДЕН НИИХИММАШ

ВВЕДЕН В ДЕЙСТВИЕ с 01.07.92 г. письмом № 7064-34-374 от 14.08.92 г.

3. ВВЕДЕН ВПЕРВЫЕ

4. ССЫЛОЧНЫЕ НОРМАТИВНО-ТЕХНИЧЕСКИЕ ДОКУМЕНТЫ:

Обозначение НТД, на который дана ссылка

Номер пункта, подпункта, перечисления, приложения

ГОСТ 14249-83

1.2

ГОСТ 24755-89

1.2; 1.4; Приложение 1

ОСТ 26-291-88

Вводная часть

СОДЕРЖАНИЕ

 



© 2013 Ёшкин Кот :-)