Информационная система
«Ёшкин Кот»

XXXecatmenu

Альбом технических решений.
Системы наружной теплоизоляции
фасадов зданий
"КНАУФ-Теплая стена" I
и
"КНАУФ-Теплая стена" II

2005 г.

СОДЕРЖАНИЕ

Часть 1: Узлы системы "КНАУФ-Теплая стена" I с теплоизоляцией из пенполистирола

№ поз.

Наименование

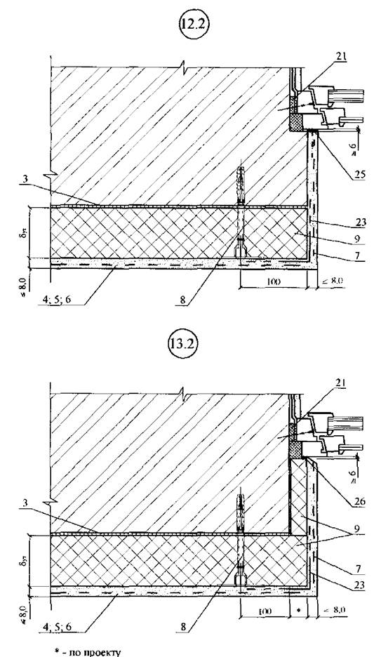
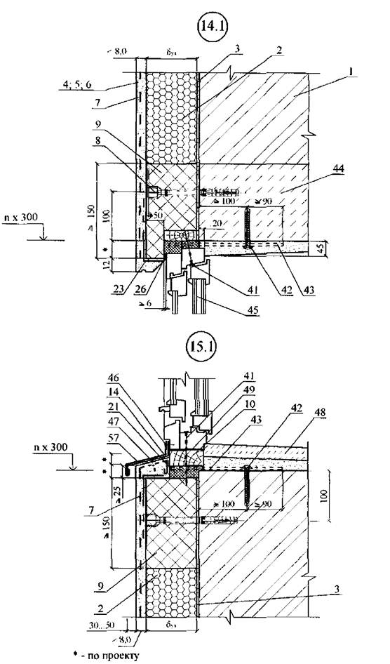
1

Стена (несущая часть)

2

Теплоизоляция из пенополистирольных плит

3

Клеевой слой из смеси КНАУФ- Севенер (ТУ 5745-025-04001508- 2003)

4

Базовый слой из смеси КНАУФ- Севенер (ТУ 5745-025-04001508- 2003)

5

Грунтовка КНАУФ-Изогрунд (ТУ 5772-031-04001508-2004)

6

Декоративный слой из смеси КНАУФ Диамант (ТУ 5745-024- 04001508-2003)

7

Армирующая сетка

8

Дюбель для крепления теплоизоляции

9

Теплоизоляция из минераловатных плит

10

Доска, пропитанная антипиреном; пластина 6´40 с болтом Ø 10 и шагом 600 мм, но не менее 2 штук на проем

11

Стык сеток внахлест 100 мм

12

Дополнительная сетка 300´500 на углах

13

Рейка 40´50, закрепленная к пробкам 50´60 шурупами. Пробки закреплены к стене дюбелями без шайбы (см. дюбельный комплект)

14

Оконный отлив

15

Защитный козырек ворот

16

Защитный козырек

17

Костыль защитного козырька

IS

Мастика

19

Прокладка уплотняющая из пенорезины сечением 8´8 по ТУ 38- 406316-87

20

Прокладка пенополиэтиленовая уплотняющая марки Вилатерм-СМ Ø 30; 40 (трубчатая), ТУ 6-05-221-872-86

21

Пена строительная

22

Профиль для деформационных швов

23

Усиливающий уголок со стеклосеткой

24

Профиль угловой с капельником

25

Профиль для примыкания к оконному или дверному блоку

26

Уплотнительная лента

27

Опорный профиль

28

Дюбель для крепления цокольного опорного профиля, Ø 8 мм

29

Отмостка по проекту

30

Гидроизоляция

31

Стены подвала

32

Пол подвала или 1-го этажа:

- линолеум;

- армированная стяжка - 30 мм;

- плита теплоизоляции;

- гидроизоляция;

- бетонная подготовка марки В7,5 - 80 мм.

33

Перекрытие подвала

34

Гидроизоляция т цементно-песчаного раствора

35

Щебень

36

Труба дренажная

37

Бортовой камень

38

Крупный песок

39

Термовставка из ячеистобетонных блоков по ГОСТ 21520-89

40

Фартук из оцинкованной стали

41

Гвоздь Ø 6 через деревянную прокладку с шагом 600 мм, но не менее 2 шт. на проем

42

Дюбель Ø 6 или 8 мм

43

Пластина, заранее скрепленная с окном шурупами

44

Железобетонная перемычка

45

Окно деревянное

46

Шуруп ГОСТ 1144-80

47

Дюбель из полиамида ТУ 36-941-79

48

Подоконник по проекту

49

Прокладка уплотнительная

50

Рама и полотно распашных складчатых ворот серии 1.435-28

51

Костыль MQA с шагом 700 мм, см. в серии ворот

52

Стальная планка для крепления рамы ворот, см. в серии ворот

53

Наличник деревянный

54

Обрамляющий уголок 50´4

55

Полоса 4´40, крепить к стене дюбелями

56

Антисептированная доска

57

Костыль оконного отлива

58

Дюбельный гвоздь

 

 

 

Часть 2: Узлы системы "КНАУФ-Теплая стена" II с теплоизоляцией из минераловатных плит

№ поз.

Наименование

1

Стена (несущая часть)

2

Теплоизоляция из пенополистиролъных плит

3

Клеевой слой из смеси КНАУФ- Севенер (ТУ 5745-025-04001508- 2003)

4

Базовый слой из смеси КНАУФ- Севенер (ТУ 5745-025-04001508- 2003)

5

Грунтовка КНАУФ-Изогрунд (ТУ 5772-031-04001508-2004)

6

Декоративный слой из смеси КНАУФ Диамант (ТУ 5745-024- 04001508-2003)

7

Армирующая сетка

8

Дюбель для крепления теплоизоляции

9

Теплоизоляция из минераловатных плит

10

Доска, пропитанная антипиреном; пластина 6´40 с болтом Ø 10 и шагом 600 мм, но не менее 2 штук на проем

11

Стык сеток внахлест 100 мм

12

Дополнительная сетка 300´500 на углах

13

Рейка 40´50, закрепленная к пробкам 50´60 шурупами. Пробки закреплены к стене дюбелями без шайбы (см. дюбельный комплект)

14

Оконный отлив

15

Защитный козырек ворот

16

Защитный козырек

17

Костыль защитного козырька

18

Мастака

19

Прокладка уплотняющая из пенорезины сечением 8´8 по ТУ 38- 406316-87

20

Прокладка пенополиэтиленовая уплотняющая марки Вилатерм-СМ Ø 30; 40 (трубчатая), ТУ 6-05-221-872-86

21

Пена строительная

22

Профиль для деформационных швов

23

Усиливающий уголок со стеклосеткой

24

Профиль угловой с капельником

25

Профиль для примыкания к оконному или дверному блоку

26

Уплотнительная лента

27

Опорный профиль

28

Дюбель для крепления цокольного опорного профиля, Ø 8 мм

29

Отмостка по проекту

30

Гидроизоляция

31

Стены подвала

32

Пол подвала или 1-го этажа;

- линолеум;

- армированная стяжка - 30 мм;

- плита теплоизоляции;

- гидроизоляция;

- бетонная подготовка марки В7,5 - 80 мм.

33

Перекрытие подвала

34

Гидроизоляция из цементно-песчаного раствора

35

Щебень

36

Труба дренажная

37

Бортовой камень

38

Крупный песок

39

Термовставка из ячеистобетонных блоков по ГОСТ 21520-89

40

Фартук из оцинкованной стали

41

Гвоздь Ø 6 через деревянную прокладку с шагом 600 мм, но не менее 2 шт. на проем

42

Дюбель Ø 6 или 8 мм

43

Пластина, заранее скрепленная с окном шурупами

44

Железобетонная перемычка

45

Окно деревянное

46

Шуруп ГОСТ 1144-80

47

Дюбель из полиамида ТУ 36-941-79

48

Подоконник по проекту

49

Прокладка уплотнительная

50

Рама и полотно распашных складчатых ворот серии 1.435-28

51

Костыль МС-1 с шагом 700 мм, см. в серии ворот

52

Стальная планка для крепления рамы ворот, см. в серии ворот

53

Наличник деревянный

54

Обрамляющий уголок 50´4

55

Полоса 4´40, крепить к стене дюбелями

56

Антисептированная доска

57

Костыль оконного отлива

58

Дюбельный гвоздь

 

 

 

 

 

 

 

 

 

 

 

 

 

 

 

 

 

Схемы установки дюбелей

1. Количество дюбелей. устанавливаемых на 1 м2 :системы, зависит от размеров плиты утеплителя. допустимой нагрузки на дюбель и высоты здания (h).

2. Границы краевой зоны расположены на расстоянии 1м £ h/8 £ 2м. где а - ширина торца здания.

3. Схемы установки дюбелей приведены для плит размером 1000´600мм.

 



© 2013 Ёшкин Кот :-)