Информационная система
«Ёшкин Кот»

XXXecatmenu

ОСТ 26.260.465-2000

СТАНДАРТ ОТРАСЛИ

 

УСТРОЙСТВА ДЛЯ УСТАНОВКИ ПРИБОРОВ
ИЗМЕРЕНИЯ ДАВЛЕНИЯ НА Ру 1,6 МПа
(с краном трехходовым)

Конструкция и размеры

 

ОАО «НИИхиммаш»

Зарегистрировано № 151 2000-09-13

Заместитель генерального директора

______________ В.В. Раков

 

 

Предисловие

1 РАЗРАБОТАН Дочерним открытым акционерным обществом Центральное конструкторское бюро нефтеаппаратуры ДАО ЦКБН

2 ПРИНЯТ И ВВЕДЕН В ДЕЙСТВИЕ Техническим комитетом 260 «Оборудование химическое и нефтегазоперерабатывающее»

3 ВЗАМЕН АТК 24.201.03-90 в части устройств с краном трехходовым

4 ВВЕДЕН ВПЕРВЫЕ

ОСТ 26.260.465-2000

СТАНДАРТ ОТРАСЛИ

УСТРОЙСТВА ДЛЯ УСТАНОВКИ ПРИБОРОВ ИЗМЕРЕНИЯ
ДАВЛЕНИЯ НА РУ 1,6 МПа
(с краном трехходовым)

Конструкция и размеры

Дата введения 2000-12-01

1 Область применения

Настоящий стандарт устанавливает пределы применения, конструкцию и основные размеры устройств для установки приборов измерения давления на трубопроводах и аппаратах, применяемых в химической, нефтехимической, газовой и других смежных отраслях промышленности на условное давление Ру 1,6 МПа (16 кгс/см2), температуру от минус 30 до 300 °С для неагрессивной среды со скоростью коррозии до 0,1 мм/год (для углеродистой стали), в том числе:

- природный газ с содержанием углекислоты до 1 % объемных, сероводорода не более 20 мг/нм3, нефтегазовая смесь, углеводородный конденсат, конденсированная вода, метанол, мехпримеси.

2 Нормативные ссылки

В настоящем стандарте использованы ссылки на следующие стандарты:

ОСТ 26.260.472-2000 Устройства для установки приборов измерения и отбора давления на условное давление от 1,6 до 16,0 МПа. Общие технические требования

ТУ 26-07-1061-84 Кран трехходовой натяжной муфтовый с контрольным фланцем Ру 1,6 МПа (16 кгс/см2) Ду 15 мм

3 Конструкция и размеры

3.1 По конструкции и размерам устройства имеют двенадцать исполнений:

исполнения 1 - 6 - рисунки 1 - 6, таблица 1

исполнения 7 - 12 - рисунки 7 - 12, таблица 1.

Исполнение 1

1 - штуцер ввертной М20´1,5-1 ОСТ 26.260.465

2 - гайка накидная 1 ОСТ 26.260.465

3 - ниппель шаровый 1 ОСТ 26.260.465

4 - прокладка 1 ОСТ 26.260.465

5 - трубка сифонная 1 ОСТ 26.260.465

6 - штуцер ввертной М22´1,5-1 ОСТ 26.260.465

7 - кран трехходовой 11Б18бк (14М1-1) ТУ 26-07-1061

Рисунок 1

Исполнение 2

Остальное см. исполнение 1

8 - тройник переходный 2 ОСТ 26.260.465

Рисунок 2

Исполнение 3

Остальное см. исполнение 1

8* - заглушка 3 ОСТ 26.260.465

Рисунок 3

Исполнение 4

Остальное см. исполнение 1

5 - трубка сифонная 4 ОСТ 26.260.465

Рисунок 4

Исполнение 5

Остальное см. исполнение 1

5 - трубка сифонная 4 ОСТ 26.260.465

8* - заглушка 3 ОСТ 26.260.465

Рисунок 5

Исполнение 6

Остальное см. исполнение 1

5 - трубка сифонная 4 ОСТ 26.260.465

8 - тройник переходный 2 ОСТ 26.260.465

Рисунок 6

Исполнение 7

Остальное см. исполнение 1

5 - трубка сифонная 7 ОСТ 26.260.465

Рисунок 7

Исполнение 8

Остальное см. исполнение 1

5 - трубка сифонная 7 ОСТ 26.260.465

8 - тройник переходный 2 ОСТ 26.260.465

Рисунок 8

Исполнение 9

Остальное см. исполнение 1

5 - трубка сифонная 7 ОСТ 26.260.465

8* - заглушка 3 ОСТ 26.260.465

Рисунок 9

Исполнение 10

Остальное см. исполнение 1

5 -трубка сифонная 10 ОСТ 26.260.465

8 - тройник переходный 2 ОСТ 26.260.465

Рисунок 10

Исполнение 11

Остальное см. исполнение 1

5 - трубка сифонная 10 ОСТ 26.260.465

Рисунок 11

Исполнение 12

Остальное см. исполнение 1

5 - трубка сифонная 10 ОСТ 26.260.465

8* - заглушка 3 ОСТ 26.260.465

Рисунок 12

_____________

* Заглушку поз. 8 в устройствах исполнений 3; 5; 9 и 12 для сосудов и аппаратов 1 и 2 группы применять с уплотнительной поверхностью «выступ» рисунок 21.

3.1.1 Конструкция и размеры штуцера ввертного устройства исполнения 1 должны соответствовать указанным на рисунке 13.

Рисунок 13

Примечание - Масса - 0,05 кг

Пример условного обозначения штуцера ввертного М20´1,5 устройства исполнения 1, материального исполнения 1:

Штуцер ввертной М20´1,5-1-1 ОСТ 26.260.465-2000

3.1.2 Конструкция и размеры гайки накидной устройства исполнения 1 должны соответствовать указанным на рисунке 14.

Рисунок 14

Примечание - Масса - 0,05 кг

Пример условного обозначения гайки накидной устройства исполнения 1, материального исполнения 1:

Гайка накидная 1-1 ОСТ 26.260.465-2000

3.1.3 Конструкция и размеры ниппеля шарового устройства исполнения 1 должны соответствовать указанным на рисунке 15.

Рисунок 15

Примечание - Масса - 0,03 кг

Пример условного обозначения ниппеля шарового устройства исполнения 1, материального исполнения 1:

Ниппель шаровый 1-1 ОСТ 26.260.465-2000

3.1.4 Конструкция и размеры прокладки устройства исполнения 1 должны соответствовать указанным на рисунке 16.

Рисунок 16

Примечание - Масса - 0,0003 кг

Пример условного обозначения прокладки устройства исполнения 1, из паронита марки ПОН:

Прокладка 1-ПОН ОСТ 26.260.465-2000

3.1.5 Конструкция и размеры штуцера ввертного устройства исполнения 1 должны соответствовать указанным на рисунке 17.

Рисунок 17

Примечание - Масса - 0,05 кг

Пример условного обозначения штуцера ввертного М22´1,5 устройства исполнения 1, материального исполнения 1

Штуцер ввертной М22´1,5 -1-1 ОСТ 26.260.465-2000

3.1.6 Конструкция и размеры трубки сифонной устройства исполнения 1 должны соответствовать указанным на рисунке 18.

Рисунок 18

Примечания

1 Длина развертки 680 мм

2 Масса - 0,54 кг

Пример условного обозначения трубки сифонной устройства исполнения 1, материального исполнения 1:

Трубка сифонная 1-1 ОСТ 26.260.465-2000

3.1.7 Конструкция и размеры тройника переходного устройства исполнения 2 должны соответствовать указанным на рисунке 19.

Рисунок 19

Примечание - Масса - 0,43 кг

Пример условного обозначения тройника переходного устройства исполнения 2, материального исполнения 1:

Тройник переходной 2-1 ОСТ 26.260.465-2000

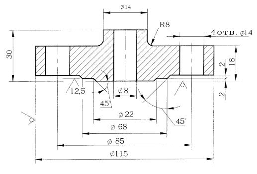
3.1.8 Конструкция и размеры заглушки устройства исполнения 3 должны соответствовать указанным на рисунке 20.

Рисунок 20

Примечание - Масса - 1 кг

Пример условного обозначения заглушки устройства исполнения 3, материального исполнения 1:

Заглушка 3-1 ОСТ 26.260.465-2000

3.1.9 Конструкция и размеры заглушки с выступом устройства исполнения 3 должны соответствовать указанным на рисунке 21.

Рисунок 21

Примечание - Масса - 1,16 кг

Пример условного обозначения заглушки с выступом устройства исполнения 3, материального исполнения 1:

Заглушка с выступом 3-1 ОСТ 26.260.465-2000

3.1.10 Конструкция и размеры трубки сифонной устройства исполнения 4 должны соответствовать указанным на рисунке 22.

Рисунок 22

Примечания

1 Длина развертки - 548 мм

2 Масса - 0,44 кг

Пример условного обозначения трубки сифонной устройства исполнения 4, материального исполнения 1:

Трубка сифонная 4-1 ОСТ 26.260.465-2000

3.1.11 Конструкция и размеры трубки сифонной устройства исполнения 7 должны соответствовать указанным на рисунке 23.

Рисунок 23

Примечания

1 Длина развертки - 162 мм

2 Масса - 0,12 кг

Пример условного обозначения трубки сифонной устройства исполнения 7, материального исполнения 1:

Трубка сифонная 7-1 ОСТ 26.260.465-2000

3.1.12 Конструкция и размеры трубки сифонной устройства исполнения 10 должны соответствовать указанным на рисунке 24

Рисунок 24

Примечание - Масса - 0,05 кг

Пример условного обозначения трубки сифонной устройства исполнения 10, материального исполнения 1:

Трубка сифонная 10-1 ОСТ 26.260.465-2000

Таблица 1

Ру 1,6 МПа

Исполнение

Температура среды, °С

Н, мм

Масса, кг

1

До 300

290

1,0

2

310

1,4

3

330

1,9

4

370

0,9

5

310

1,8

6

420

1,3

7

До 80

190

0,5

8

210

1,0

9

230

1,4

10

290

0,9

11

240

0,5

12

180

1,4

Пример условного обозначения устройства измерения давления исполнения 2, материального исполнения 1, на Ру 1,6 МПа:

Устройство измерения давления 2-1-1,6 ОСТ 26.260.465-2000

3.2 Технические требования - по ОСТ 26.260.472.

 

СОДЕРЖАНИЕ

 



© 2013 Ёшкин Кот :-)