Информационная система
«Ёшкин Кот»

XXXecatmenu

МЕЖГОСУДАРСТВЕННЫЙ СОВЕТ ПО СТАНДАРТИЗАЦИИ, МЕТРОЛОГИИ И СЕРТИФИКАЦИИ
(МГС)

INTERSTATE COUNCIL FOR STANDARDIZATION, METROLOGY AND CERTIFICATION
(ISC)

МЕЖГОСУДАРСТВЕННЫЙ
СТАНДАРТ

ГОСТ 28100-2007

(ИСО 7235:2003)

Акустика

ИЗМЕРЕНИЯ ЛАБОРАТОРНЫЕ
ДЛЯ ЗАГЛУШАЮЩИХ УСТРОЙСТВ,
УСТАНАВЛИВАЕМЫХ В ВОЗДУХОВОДАХ,
И ВОЗДУХОРАСПРЕДЕЛИТЕЛЬНОГО
ОБОРУДОВАНИЯ

Вносимые потери, потоковый шум и падение
полного давления

(ISO 7235:2003, MOD)

Москва

Стандартинформ

2008

Предисловие

Цели, основные принципы и основной порядок проведения работ по межгосударственной стандартизации установлены ГОСТ 1.0-92 «Межгосударственная система стандартизации. Основные положения» и ГОСТ 1.2-97 «Межгосударственная система стандартизации. Стандарты межгосударственные, правила и рекомендации по межгосударственной стандартизации. Порядок разработки, принятия, применения, обновления и отмены»

Сведения о стандарте

1 ПОДГОТОВЛЕН Открытым акционерным обществом «Научно-исследовательский центр контроля и диагностики технических систем» (ОАО «НИЦ КД») на основе собственного аутентичного перевода стандарта, указанного в пункте 4

2 ВНЕСЕН Федеральным агентством по техническому регулированию и метрологии Российской Федерации

3 ПРИНЯТ Межгосударственным советом по стандартизации, метрологии и сертификации (протокол № 32 от 24 октября 2007 г.)

За принятие стандарта проголосовали:

Краткое наименование страны
по МК (ИСО 3166) 004-97

Код страны
по МК (ИСО 3166) 004-97

Сокращенное наименование национального органа
по стандартизации

Азербайджан

AZ

Азстандарт

Беларусь

BY

Госстандарт Республики Беларусь

Казахстан

KZ

Госстандарт Республики Казахстан

Кыргызстан

KG

Кыргызстандарт

Молдова

MD

Молдова-Стандарт

Российская Федерация

RU

Ростехрегулирование

Таджикистан

TJ

Таджикстандарт

Узбекистан

UZ

Узстандарт

4 Настоящий стандарт модифицирован по отношению к международному стандарту ИСО 7235:2003 «Акустика. Лабораторные методики измерений для глушителей и воздухораспределителей, устанавливаемых в воздуховодах. Вносимые потери, потоковый шум и общие потери давления» (ISO 7235:2003 «Acoustics - Laboratory measurement procedures for ducted silencers and air-terminal units - Insertion loss, flow noise and total pressure loss»). При этом дополнительные слова и фразы, включенные в текст стандарта для учета потребностей национальной экономики указанных выше государств или особенностей межгосударственной стандартизации, выделены курсивом. Отличия настоящего стандарта от примененного в нем международного стандарта ИСО 7235:2003 указаны во введении.

Международный стандарт разработан техническим комитетом ИСО ТК 43 «Акустика».

Перевод с английского языка (en).

Полный перечень всех технических отклонений с разъяснением причин их внесения приведен в приложении J.

Степень соответствия - модифицированная (MOD)

5 Приказом Федерального агентства по техническому регулированию и метрологии от 4 марта 2008 г. № 27-ст межгосударственный стандарт ГОСТ 28100-2007 (ИСО 7235:2003) введен в действие в качестве национального стандарта Российской Федерации с 1 октября 2008 г.

6 ВЗАМЕН ГОСТ 28100-89

Информация о введении в действие (прекращении действия) настоящего стандарта публикуется в указателе «Национальные стандарты».

Информация об изменениях к настоящему стандарту публикуется в указателе «Национальные стандарты», а текст изменений - в информационных указателях «Национальные стандарты». В случае пересмотра или отмены настоящего стандарта соответствующая информация будет опубликована в информационном указателе «Национальные стандарты»

СОДЕРЖАНИЕ

1 Область применения. 3

2 Нормативные ссылки. 4

3 Термины и определения. 4

4 Символы и обозначения. 7

5 Испытательное оборудование и требования к средствам измерений. 8

5.1 Назначение и виды испытаний. 8

5.2 Оборудование для акустических испытаний глушителей. 8

5.3 Оборудование для акустических испытаний воздухораспределителей. 11

5.4 Оборудование для испытаний с потоком.. 12

5.5 Оборудование для динамических испытаний. 15

6 Проведение испытаний. 15

6.1 Общие положения. 15

6.2 Вносимые потери. 15

6.3 Потери при прохождении. 17

6.4 Уровень звуковой мощности потокового шума. 17

6.5 Объемный расход воздуха и коэффициент потерь давления. 17

7 Регистрируемая информация. 19

7.1 Описание испытуемого объекта. 19

7.2 Средства измерения. 20

7.3 Источник звука. 20

7.4 Измерительный, замещающий и передающий воздуховоды.. 20

7.5 Переходные элементы.. 20

7.6 Концевое поглощающее устройство. 20

7.7 Реверберационное помещение. 20

7.8 Результаты акустических испытаний. 20

7.9 Неопределенность измерений. 20

8 Протокол испытаний. 21

Приложение А. Устройство для создания звукового поля и его квалификационные испытания. 21

Приложение В. Передающий элемент. 22

Приложение С. Стенки воздуховода и предельные вносимые потери. 23

Приложение D. Преобразование значений снижения шума из третьоктавных в октавные полосы частот. 25

Приложение Е. Испытания больших глушителей с параллельными пластинами. 25

Приложение F. Измерение продольного ослабления основной моды.. 26

Приложение G. Концевое поглощающее устройство. 26

Приложение Н. Примеры конструкции испытательных установок. 27

Приложение J. Перечень технических отклонений настоящего стандарта от примененного в нем международного стандарта ИСО 7535:2003. 28

Библиография. 29

Введение

Настоящий стандарт устанавливает метод замещения для определения вносимых потерь заглушающих устройств, устанавливаемых в воздуховоде и метод для определения потерь при прохождении воздухораспределительного оборудования.

В методе замещения уровень звукового давления прошедшей волны сначала определяется для испытуемого объекта, затем при замене испытуемого объекта - замещающим каналом (воздуховодом). Уровень звукового давления прошедшего звука может быть измерен:

- в реверберационном помещении;

- измерительном канале за глушителем;

- существенно свободном звуковом поле.

Методы перечислены в порядке предпочтительности.

Акустические характеристики глушителей зависят от модального состава звукового поля на входе и отражений на выходе глушителя, от передачи звука обходными путями и соотношений между уровнями сигналов (соответствующих измеряемым величинам звукового давления) и потоковым шумом (или регенерированным звуком).

В настоящем стандарте приводится конструкция испытательного стенда на входе глушителя, обеспечивающая преобладание основной моды, испытывающей наименьшее ослабление. Для выходной части испытательного стенда приведены конструкции концевых поглощающих устройств и устанавливаются методы измерения, не чувствительные к отражениям или позволяющие определить соответствующие корректирующие поправки.

В настоящем стандарте приведены рекомендации по подавлению распространения шума побочными (обходными) путями.

Потери при прохождении воздухораспределительных устройств определяются на основе измерений в реверберационном помещении и теоретических коэффициентов отражений замещающего воздуховода.

Вносимые потери глушителя в общем случае зависят от потока. Поэтому, если глушитель предназначен для использования в воздуховодах с большими скоростями потока, вносимые потери предпочтительно измеряются в присутствии потока.

Для диссипативных глушителей, где максимальная скорость потока не превышает 20 м/с, поток почти не влияет на вносимые потери. В частности, может иметь место неравномерное распределение потока в поперечном сечении. Поэтому максимальная скорость не более 20 м/с может соответствовать конструктивной скорости от 10 до 15 м/с.

Проходящий через глушитель поток возбуждает шум (или регенерированный звук), определяющий наименьший уровень звукового давления, который может быть достигнут за счет применения глушителя. Следовательно, необходимо знать уровень звуковой мощности потокового шума (или регенерированного звука) за глушителем. Это определяется в реверберационном помещении, присоединенном к объекту через переходный элемент.

В соответствии с настоящим стандартом подлежат определению потери полного давления глушителя, используемого с потоком. Поэтому испытательный стенд оборудуется измерительными средствами и приборами для определения потерь полного давления.

В стандарте имеются отличия в стиле изложения, не заменяющие существа рассматриваемых положений и обусловленные требованиями к оформлению национальных стандартов в соответствии с ГОСТ 1.5.

ГОСТ 28100-2007
(ИСО 7235:2003)

МЕЖГОСУДАРСТВЕННЫЙ СТАНДАРТ

Акустика

ИЗМЕРЕНИЯ ЛАБОРАТОРНЫЕ ДЛЯ ЗАГЛУШАЮЩИХ УСТРОЙСТВ, УСТАНАВЛИВАЕМЫХ
В ВОЗДУХОВОДАХ, И ВОЗДУХОРАСПРЕДЕЛИТЕЛЬНОГО ОБОРУДОВАНИЯ

Вносимые потери, потоковый шум и падение полного давления

Acoustics. Laboratory measurements for ducted silencers and air-terminal units.
Insertion loss, flow noise and total pressure loss

Дата введения - 2008-10-01

1 Область применения

Настоящий стандарт устанавливает методы измерения:

- вносимых потерь в частотных полосах для заглушающих устройств (далее - глушителей), устанавливаемых в воздуховодах при наличии и отсутствии потока;

- уровня звуковой мощности в частотных полосах потокового шума (или регенерированного звука), возбуждаемого глушителями;

- потерь полного давления глушителей при испытаниях с потоком;

- потерь при прохождении в частотных полосах для воздухораспределительного оборудования (далее - воздухораспределителей).

Методы измерения используют для лабораторных измерений при нормальной температуре окружающей среды. Измерения для глушителей на месте установки регламентируются ГОСТ 31324.

Результаты, полученные в лаборатории в соответствии с настоящим стандартом, могут не совпадать с результатами измерений, полученными на месте установки глушителя, из-за возможных отличий звуковых и потоковых полей. Например, потери полного давления будут ниже, чем при измерениях на месте установки, но будут сравнимы для разных лабораторий.

Методы настоящего стандарта применимы:

- ко всем типам глушителей, устанавливаемых в воздуховоды, включая глушители для систем вентиляции и кондиционирования воздуха, для всасывающих и вытяжных дымовых систем, колен, Т-образных соединителей (тройников), фильтров, теплообменников и к другим аналогичным устройствам;

- к пассивным воздухораспределителям, устанавливаемым на конце воздуховода и соединяющим воздуховод с обслуживаемым помещением или открытым пространством.

Настоящий стандарт не применяется к реактивным глушителям двигателей внутреннего сгорания транспортных средств.

Примечания

1 В приложении А устанавливаются технические характеристики оборудования для создания звукового поля. В приложении В приведены требования для переходного элемента. В приложении С приведена детальная конструкция стенок воздуховода и методика измерения предельных вносимых потерь. В приложении D приводится метод преобразования величин снижения шума глушителем в третьоктавных полосах частот в октавные величины. В приложении Е устанавливаются требования для испытаний больших глушителей, имеющих большие размеры, с параллельными пластинами. Приложение F регламентирует метод определения продольного снижения основной моды. Приложение G содержит указания по проектированию концевых поглощающих устройств, в приложении Н приводятся примеры конструкций испытательных стендов.

2 Акустические испытания воздухораспределительных устройств и вентиляторных теплообменных модулей следует проводить так же, как для воздухораспределителей.

3 Измерения звуковой мощности воздухораспределительного оборудования устанавливаются ГОСТ 31338. Измерения потерь полного давления воздухораспределителей описаны в [1] - [3].

2 Нормативные ссылки

В настоящем стандарте использованы нормативные ссылки на следующие стандарты:

ГОСТ 8.586.1-2005 (ИСО 5167-1-2003) Государственная система обеспечения единства измерений. Измерение расхода и количества жидкостей и газов с помощью стандартных сужающих устройств. Часть 1. Принцип метода измерений и общие требования

ГОСТ 17168-82 Фильтры электронные октавные и третьоктавные. Общие технические требования и методы испытаний

ГОСТ 17187-81 Шумомеры. Общие технические требования и методы испытаний

ГОСТ 30457.3-2006 (ИСО 9614-3:2002) Акустика. Определение уровней звуковой мощности источников шума по интенсивности звука. Часть 3. Точный метод для измерений сканированием

ГОСТ 31274-2004 (ИСО 3741:1999) Шум машин. Определение уровней звуковой мощности по звуковому давлению. Точные методы для реверберационных камер

ГОСТ 31277-2002 (ИСО 3746:1995) Шум машин. Определение уровней звуковой мощности источников шума по звуковому давлению. Ориентировочный метод с использованием измерительной поверхности над звукоотражающей плоскостью

ГОСТ 31324-2006 (ИСО 11820:1996) Шум. Определение характеристик глушителей при испытаниях на месте установки

ГОСТ 31328-2006 (ИСО 14163:1998) Шум. Руководство по снижению шума глушителями

ГОСТ 31338-2006 (ИСО 5135:1997) Акустика. Определение уровней звуковой мощности воздухораспределительного оборудования, демпферов и клапанов в реверберационном помещении

ГОСТ 31352-2007 (ИСО 5136:2003) Шум машин. Определение уровней звуковой мощности, излучаемой в воздуховод вентиляторами и другими устройствами перемещения воздуха, методом измерительного воздуховода

Примечание - При пользовании настоящим стандартом целесообразно проверить действие ссылочных стандартов по соответствующему указателю стандартов, составленному по состоянию на 1 января текущего года, и по соответствующим информационным указателям, опубликованным в текущем году. Если ссылочный стандарт заменен (изменен), то при пользовании настоящим стандартом следует руководствоваться заменяющим (измененным) стандартом. Если ссылочный стандарт отменен без замены, то положение, в котором дана ссылка на него, применяется в части, не затрагивающей эту ссылку.

3 Термины и определения

В настоящем стандарте применены следующие термины с соответствующими определениями:

3.1 вносимые потери «испытуемого объекта» (insertion loss) Di, дБ: Снижение уровня звуковой мощности в воздуховоде сзади испытуемого объекта, обусловленное установкой испытуемого объекта вместо замещающего воздуховода.

Примечания

1 Вносимые потери рассчитывают по формуле

Di = LwII - LwI,                                                                                     (1)

где LwI - уровень звуковой мощности в рассматриваемой частотной полосе, излучаемой в измерительный воздуховод или в присоединенное реверберационное помещение, при установленном испытуемом объекте, дБ;

LwII - уровень звуковой мощности в рассматриваемой частотной полосе, излучаемой в измерительный воздуховод или в присоединенное реверберационное помещение, когда вместо испытуемого объекта установлен замещающий воздуховод, дБ.

2 При измерениях по настоящему стандарту вносимые потери глушителя равны его потерям при прохождении.

3.2 потери при прохождении «воздухораспределителя» (transmission loss) Dt, дБ: Разность между уровнями звуковой мощности, поступающей на вход испытуемого объекта и прошедшей через него.

Примечание - Потери при прохождении включают в себя потери звуковой мощности непосредственно на воздухораспределителе и потери при прохождении на открытом конце воздуховода.

3.3 входная скорость (face velocity) vf, м/с: Скорость потока на входе испытуемого объекта.

Примечание - Входную скорость рассчитывают по формуле

                                                                                       (2)

где qV - объемный расход, м3/с;

S1 - площадь поперечного сечения входного отверстия испытуемого объекта, м2.

3.4 потери полного давления «испытуемого объекта» (total pressure loss) Δpt, Па: Разность между полным давлением на входе и выходе испытуемого объекта.

3.5 коэффициент потерь полного давления (total pressure loss coefficient) ζ: Величина, равная отношению потерь полного давления к входному динамическому давлению.

Примечание - Коэффициент потерь полного давления рассчитывают по формуле

                                                                                    (3)

где Δрt - потери полного давления, Па;

ρ1 - плотность воздуха на входе глушителя, кг/м3;

vf - входная скорость, м/с.

3.6 передняя область (front): Место перед испытуемым объектом, где измеряют звуковой сигнал, соответствующий стороне источника.

3.7 задняя область (behind): Место сзади испытуемого объекта, где измеряют звуковой сигнал, соответствующий приемной стороне.

3.8 измерительный воздуховод (test duct): Прямой жесткий канал в передней и задней областях испытуемого объекта, имеющий постоянную площадь поперечного сечения.

3.9 переходный элемент (transition): Элемент канала, который соединяет две секции канала, отличающиеся размерами поперечного сечения.

Примечания

1 Переходные элементы, являющиеся частью глушителя, поставляемые производителем, рассматриваются как часть испытуемого объекта.

2 Переходные элементы называют еще диффузорами и конфузорами.

3.10 концевое поглощающее устройство (anechoic termination): Устройство, предназначенное для уменьшения отражений звука на приемном конце измерительного воздуховода.

3.11 передающий элемент (transmission element): Сегмент воздуховода, соединяющий измерительный воздуховод за испытуемым объектом с реверберационным помещением.

Примечание - Передающий элемент обычно изготовляют в виде рупора, обращенного широким сечением в сторону реверберационного помещения.

3.12 замещающий воздуховод (substitution duct): Жесткий не поглощающий звук сегмент воздуховода, имеющий такие же, как у испытуемого объекта, длину и размеры соединительных поперечных сечений.

3.13 реверберационное помещение (reverberation room): Испытательное помещение, удовлетворяющее требованиям ГОСТ 31274.

3.14 потоковый шум (flow noise, regenerated sound): Шум, вызванный условиями распространения потока в испытуемом объекте.

Примечание - Далее в стандарте для определенности используется термин «потоковый шум», в то время как в ИСО 7235 оба указанных выше в скобках термина применяются всегда одновременно. Как правило, последний термин применяют, если генерируемый потоком шум имеет тональный характер.

3.15 уровень фонового шума (background noise level), дБ: Уровень звукового давления, регистрируемый средством измерения при установленном замещающем воздуховоде и выключенном громкоговорителе.

Примечания

1 Главными составляющими фонового шума являются:

- шум воздушного потока от вентилятора;

- потоковый шум, генерируемый около микрофона;

- потоковый шум от системы воздуховодов;

- структурный шум вентилятора, распространяющийся вдоль стенок воздуховодов до точки измерения;

- воздушный шум, излучаемый вентилятором или громкоговорителем в испытательное помещение и проходящий к микрофону через стенки воздуховода;

- электрический шум измерительной системы.

2 Звук от громкоговорителя, передаваемый побочными путями, или потоковый шум, генерируемый испытуемым объектом, не является частью фонового шума, но обусловливает предельные вносимые потери.

3.16 коэффициент отражения (reflection coefficient), r: Отношение амплитуды звукового давления отраженного звука к амплитуде звукового давления звука, падающего на отражающий объект.

3.17 диапазон частот измерений (frequency range of interest): Третьоктавные полосы частот со среднегеометрическими частотами от 50 до 10000 Гц.

Примечание - Для определенных областей применения глушителей достаточно ограничиться измерениями в диапазоне от 100 до 5000 Гц.

3.18 предельные вносимые потери (limiting insertion loss), дБ: Максимальные вносимые потери, которые могут быть определены при заданных условиях испытаний без потока.

Примечание - Предельные вносимые потери обычно определяются побочной передачей звука вдоль стенок воздуховода.

3.19 испытуемый объект (test object): Глушитель в комплектации производителя/поставщика, одна или несколько параллельных звукопоглощающих пластин, установленных в замещающем воздуховоде, или воздухораспределитель, подготовленный для монтажа на испытательном стенде, включая его корпус и входные и выходные фланцы для присоединения к воздуховодам.

Примечания

1 Примеры глушителей приведены на рисунке 1 и в приложении Е. Другие элементы, к которым применимы методы настоящего стандарта, перечислены в разделе 1.

2 Вместо термина «параллельные пластины» применяют также термин «рассекатели» («splitters»).

а) Глушитель с параллельными пластинами без промежуточных слоев

b) Глушитель с отклонением потока

с) Круглый глушитель с концентрическим кожухом

d) Гибкий глушитель

Примечание - Осевая линия приведена только для глушителей с осевой симметрией поперечного сечения воздуховода.

Рисунок 1 - Примеры глушителей, лист 1

е) Глушитель с искрогасителем

f) Коленчатый глушитель

Рисунок 1, лист 2

4 Символы и обозначения

Используемые в настоящем стандарте величины с их обозначениями и единицами измерения указаны в таблице 1. Пояснения индексов приведены в таблице 2.

Таблица 1 - Символы

Наименование величины

Обозначение

Единица измерения

Пункт, подпункт, приложение настоящего стандарта

Разность между уровнем звуковой мощности, излучаемой в реверберационное помещение, и средним уровнем звукового давления в реверберационном помещении

С

дБ

6.4

Скорость звука

с

м/с

5.2.2.3, В.3

Потери при распространении

Da

дБ/м

Приложение F

Вносимые потери

Di

дБ

3.1, 6.2, 6.3, А.4

Потери при прохождении

Dt

дБ

3.2, 6.3

Потери при прохождении на открытом конце испытуемого объекта

Dtd

дБ

6.3, 6.4, В.3

Диаметр воздуховода

d

м

5.2.2.3, G.1.4

Эквивалентный диаметр

dе

м

6.5.2.2.1

Частота

f

Гц

В.3 (приложение В)

Граничная частота воздуховода*

fC

Гц

В.2.2 (приложение В), G.2.2, G.2.3.7 (приложение G)

Граничная частота воздуховода круглого поперечного сечения

fCd

Гц

5.2.2.3

Граничная частота воздуховода прямоугольного поперечного сечения

fCH

Гц

5.2.2.3

Высота (глушителя или замещающей модели)

Н

м

5.2.2.3, приложение Е

Минимальная длина переходного элемента

lmin

м

5.4.2.3, рисунок 7

Уровень звукового давления

Lp

дБ

6.2, 6.3, 6.4

Уровень звуковой мощности

LW

дБ

3.1,6.4

Давление

p

Па

Рисунок 6, таблица 4, 6.5.2.1, 6.5.2.2.1, 6.5.2.2.2, рисунок 9, 6.5.2.2.3

Массовый расход

qm

кг/с

5.4.2.2,6.5.1

Объемный расход

qV

м3

3.3, таблица 3, 6.5.1, 6.5.2.1, 6.5.2.2.1, 6.5.2.2.2, рисунок 9, 6.5.2.2.3

Универсальная газовая постоянная для воздуха, R = 287 Н · м/кг · К

R

Н · м/кг · К

6.5.2.1, 6.5.2.2.3

Коэффициент отражения (с индексами)

r

1

3.16, 5.4.2.6, таблица 5, В.2.1, В.3 (приложение В), G.2.1, G.2.3.6 (приложение G)

Радиус поворота

rt

м

5.2.2.4.3, рисунок 4

Площадь поперечного сечения (общее обозначение)

S

м2

6.5.2.1, В.3 (приложение В), приложение Е

Площадь поперечного сечения на входе

S1

м2

3.3, рисунок 6, рисунок 7, 6.5.2.1, 6.5.2.2.2, 6.5.2.2.3

Площадь поперечного сечения на выходе

S2

м2

Рисунок 7, 6.5.2.1

Площадь поперечного сечения испытуемого объекта

ST

м2

Рисунок 6

Ширина просвета в пластинчатом глушителе

s

м

Приложение Е

Толщина пластины

tb

м

Рисунок 6, приложение Е

Входная скорость

vf

м/с

3.3, 3.5

Ширина (глушителя или его модели)

w

м

Приложение Е

Разность между максимальным и минимальным уровнями звукового давления

ΔL

дБ

В.2.1 (приложение В), G.2.1, G.2.3.6 (приложение G)

Разность давлений

Δр

Па

3.4, 3.5, 6.5.2.1, 6.5.2.2.2, рисунок 6

Коэффициент потерь полного давления

ζ

1

3.5,6.5.2.1, 6.5.2.2.2, 6.5.2.2.3, 7.8

Температура на входе испытуемого объекта

θ1

°С

6.5.2.1, 6.5.2.2.1, 6.5.2.2.3

Плотность воздуха на входе испытуемого объекта

r1

кг/м3

3.5, 6.5.1, 6.5.2.2.3

Стандартное отклонение воспроизводимости вносимых потерь

σRi

дБ

7.9, таблица 7

Стандартное отклонение воспроизводимости уровня интенсивности

σRI

дБ

7.9, таблица 7

Стандартное отклонение воспроизводимости потерь при прохождении

σRt

дБ

7.9, таблица 7

Пространственный угол излучения звука на конце воздуховода

Ω

ср (стерадиан)

В.3 (приложение В)

* Граничная частота определяется как наименьшая частота, при которой в воздуховоде могут распространяться моды звуковой волны, отличные от основной (нулевой) моды.

Таблица 2 - Индексы

Обозначение

Назначение индекса

а

Внешний (окружающий)

d

Динамический

i

Вносимый

I

Интенсивность

n

Относящийся к величине расхода воздуха из выбранного для испытаний интервала расходов

R

Оборудование с приемной стороны (микрофон, система микрофонов)

R

Воспроизводимость

S

Оборудование источника звука (искусственный источник, громкоговоритель, система громкоговорителей)

s

Статический

t

Прохождение

Т

Испытуемый объект

tot

Общий

I

Относящийся к измерениям с испытуемым объектом

II

Относящийся к измерениям с замещающим воздуховодом, установленным вместо испытуемого объекта

5 Испытательное оборудование и требования к средствам измерений

5.1 Назначение и виды испытаний

В зависимости от назначения испытания подразделяются на следующие виды:

а) акустические испытания без потока: применяются для определения вносимых потерь глушителя как функционально полного устройства, подготовленного к установке на испытательном стенде, когда влияние потока на результаты испытаний незначительно (например, для диссипативных глушителей со скоростью потока менее 20 м/с), включают в себя также измерения с заменой глушителя замещающим воздуховодом (или набором звукопоглощающих пластин в замещающем воздуховоде, имеющем высоту не менее толщины одной пластины);

b) акустические испытания без потока: применяются для определения потерь при прохождении воздухораспределителя, который может быть установлен снаружи или внутри реверберационного помещения и может содержать регулятор расхода (задвижка с аэродинамическим, электрическим или пневматическим приводом) и распределительную коробку с раструбами и задвижками;

c) потоковые испытания: применяются для определения потерь полного давления испытуемого объекта и уровня звуковой мощности потокового шума;

d) динамические испытания с потоком: применяются для определения вносимых потерь глушите ля или набора пластин, когда нельзя пренебречь влиянием потока на результаты испытаний (например, для определенных типов реактивных глушителей и больших скоростей потока).

Акустические испытания (по сравнению с динамическими) допускают упрощенное присоединение источника звука к испытуемому объекту и не требуют высоких уровней звуковой мощности для перекрытия уровня потокового шума. Основные требования для потоковых и динамических испытаний следуют из необходимости обеспечения бесшумного всасывания.

5.2 Оборудование для акустических испытаний глушителей

5.2.1 Состав оборудования

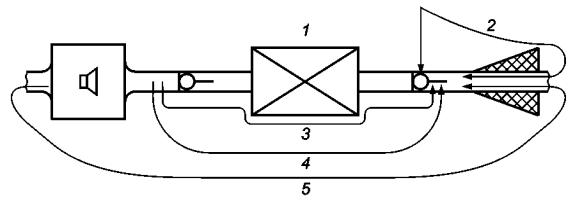
Установка для акустических испытаний включает в себя (см. рисунок 2):

- источник звука (см. 5.2.2);

- испытуемый объект;

- оборудование на приемной стороне (см. 5.2.4).

1 - источник звука; 2 - испытуемый объект; 3 - оборудование на приемной стороне

Рисунок 2 - Установка для акустических испытаний (схема)

5.2.2 Источник звука

5.2.2.1 Компоненты

Искусственный источник звука представляет собой специальное устройство, предназначенное для возбуждения перед испытуемым объектом звукового поля с преобладанием плоской волны. Источник звука должен включать в себя (см. рисунок 3):

1 - модуль громкоговорителя; 2 - модальный фильтр; 3 - переходный элемент;
rs - коэффициент отражения относительно указанной плоскости

Рисунок 3 - Примеры возможной компоновки источника звука (схема)

- электронное оборудование и модуль громкоговорителя (см. 5.2.2.2);

- модальный фильтр (см. 5.2.2.3);

- переходный элемент (рупор) между громкоговорителем и испытуемым объектом (см. 5.2.2.4).

Резонансы в воздуховоде перед испытуемым объектом должны быть устранены (см. 5.2.2.5).

5.2.2.2 Электронное оборудование и модуль громкоговорителя

Генератор случайного шума, подключенный через усилитель, должен возбуждать один или более громкоговорителей, установленных в акустически изолированном корпусе [см. рисунок А.1 (приложение А)]. Резонансы корпуса должны быть подавлены звукопоглощающей облицовкой. Следует принять меры для предотвращения передачи нежелательного структурного шума от модуля громкоговорителя присоединенному воздуховоду и обеспечить незначительное прохождение воздушного шума через стенки корпуса.

Чтобы избежать повреждения модуля громкоговорителя во время испытаний с потоком, в корпусе следует сделать отверстия для выравнивания давлений.

Излучаемая звуковая мощность должна быть достаточной для того, чтобы в исследуемом диапазоне частот и в любой точке измерения создаваемое звуковое давление превышало бы уровень фонового шума не менее чем на 6 дБ (желательно на 10 дБ).

5.2.2.3 Модальный фильтр

Модальный фильтр представляет собой воздуховод с поглощающими или реактивными элементами, предназначенными для сильного ослабления мод высшего порядка распространяющегося вдоль воздуховода звука при незначительном ослаблении основной моды. Дополнительно модальный фильтр применяется для акустической развязки источника звука и испытуемого объекта/замещающего воздуховода. Для этой цели в присоединенных воздуховодах следует обеспечить продольное ослабление основной моды не менее 3 дБ на низкой частоте и не менее 5 дБ на частотах выше граничной частоты.

Примечания

1 В качестве модального фильтра может быть использован, например, короткий глушитель, подобный испытуемому объекту.

2 В воздуховоде с круглым поперечным сечением частота возникновения первой моды рассчитывается по формуле

                                                                                             (4)

где c - скорость звука;

d - диаметр воздуховода.

В прямоугольном воздуховоде с наибольшим размером Н - по формуле

                                                                                               (5)

Метод определения продольного ослабления основной моды приведен в приложении F.

5.2.2.4 Переходный элемент

5.2.2.4.1 Общие положения

Переходный элемент должен быть жестким для предотвращения проникания шума, передающегося через стенки воздуховода. Он может располагаться как между громкоговорителем и модальным фильтром, так и между модальным фильтром и испытуемым объектом (см. рисунок 3).

Чтобы подавить моды высших порядков, возникающих в переходном элементе, он должен располагаться между громкоговорителем и модальным фильтром [см. рисунок 3а)]. Однако следует иметь в виду, что при любом положении модального фильтра его эффективность может быть ограничена взаимодействием отдельных волн на его конце.

5.2.2.4.2 Прямолинейные испытуемые объекты

В дополнение к требованиям 5.2.2.4.1 для прямолинейных глушителей переходный элемент должен быть прямым и соосным глушителю.

5.2.2.4.3 Изогнутые испытуемые объекты

В общем случае предпочтительно использовать прямые переходные элементы по 5.2.2.4.2. В случае изогнутых испытуемых объектов необходимо, чтобы ось источника звука совпадала с входной осью испытуемого объекта [(см. рисунок 4а)].

В противном случае допускается использовать два коленчатых переходных элемента, изогнутых под углом до 45° каждый. Радиус поворота rt должен быть не менее поперечных размеров воздуховода [см. рисунок 4b)].

1 - оборудование источника звука; 2 - испытуемый объект; 3 - оборудование приемной стороны

Рисунок 4 - Испытательный стенд для изогнутых испытуемых объектов (схема)

5.2.2.5 Общие требования к характеристикам источника звука в частотном диапазоне ниже граничной частоты

При выключенном громкоговорителе коэффициент отражения rs источника звука не должен превышать 0,3 в плоскости испытуемого объекта (см. рисунок 3). Выполнение этого условия проверяется измерением коэффициента отражения (стоячей волны) для чистых тонов в измерительном воздуховоде, замещающем испытуемый объект и возбуждаемом с противоположной от источника звука стороны на частотах ниже граничной частоты измерительного воздуховода [см. В.2 (приложение В) и формулы (4) и (5)].

Источник звука пригоден для испытаний в третьоктавных полосах, в которых соблюдаются требования для модального фильтра и максимумы в стоячих волнах превышают минимумы не более чем на 5 дБ по уровню на среднегеометрической частоте внутри исследуемого диапазона частот ниже граничной частоты.

5.2.3 Замещающий воздуховод

Стенки замещающего воздуховода не должны быть звукопоглощающими, их конструкция должна препятствовать прониканию воздушного шума и передаче структурного звука (см. приложение С).

Геометрия замещающего воздуховода должна быть указана в протоколе измерений.

Форма и размеры замещающего воздуховода должны совпадать с формой и соответствующими размерами испытуемого объекта и его входного и выходного отверстий. Допускается отличие в линейных размерах менее 5 %.

Стенки замещающего воздуховода для прямых испытуемых объектов должны быть прямыми и гладкими.

Если соединительные плоскости испытуемого объекта непараллельны, то замещающий воздуховод должен иметь одну из следующих форм:

а) полого кожуха испытуемого объекта, если это возможно и соблюдены необходимые требования;

b) плавно изогнутого воздуховода с максимальным радиусом кривизны в случае плавно изогнутого испытуемого объекта;

c) коленчатой секции воздуховода, геометрически подобной испытуемому объекту, в случае коленчатого объекта.

5.2.4 Оборудование приемной стороны

5.2.4.1 Технические требования, конфигурация приемной стороны и средства измерения

Оборудование приемной стороны должно позволять проводить измерения звукового давления для определения вносимых потерь испытуемого объекта. Для этой цели должны быть устранены передача звука побочными путями и другие явные помехи в точках измерения. При этом в качестве приемной стороны могут быть использованы (см. рисунок 5):

а) реверберационное помещение и передающий элемент, соединяющий испытуемый объект с помещением (см. 5.2.4.2);

b) измерительный воздуховод с концевым поглощающим устройством (см. 5.2.4.3);

c) условия существенно свободного поля вблизи открытого конца испытуемого объекта/замещающего воздуховода (см. 5.2.4.4).

Кроме того, при выполнении измерений на основе интенсивности звука допускаются любые внешние условия, удовлетворяющие ГОСТ 30457.3 (см. 5.2.4.5).

Для изогнутых испытуемых объектов применяют требования по 5.2.2.4.3.

5.2.4.2 Реверберационное помещение и передающий элемент

Предпочтительным методом акустических испытаний являются измерения в реверберационном помещении, соответствующем требованиям ГОСТ 31274.

1 - реверберационное помещение; 2 - измерительный воздуховод с поглощающим клином;
3 - существенно свободное звуковое поле; 4 - пол;
rR - коэффициент отражения относительно указанной плоскости

Рисунок 5 - Примеры возможной конфигурации оборудования приемной стороны (схема)

Объем помещения должен обеспечивать возможность проведения измерений в третьоктавной полосе со среднегеометрической частотой 125 Гц. Допускаются помещения объемом более 300 м3. По настоящему стандарту диапазон измерений в соответствии с ГОСТ 31274 может быть расширен вниз до третьоктавной полосы со среднегеометрической частотой 50 Гц.

Передающий элемент, соединяющий приемную сторону испытуемого объекта/замещающего воздуховода с реверберационным помещением, может иметь постоянное поперечное сечение или коническую форму. Для испытания реактивных глушителей воздуховод должен быть снабжен диссипативным глушителем, обеспечивающим вносимые потери, по крайней мере, 3 дБ в частотном диапазоне ниже граничной частоты [см. формулы (4) и (5)].

Примечание - Отражения, имеющие место на открытом конце воздуховода, как при наличии, так и в отсутствии испытуемого объекта, не влияют на измерения вносимых потерь в реверберационном помещении. Для диссипативных глушителей отражения на испытуемом объекте являются незначительными. Отражения на открытом конце замещающего воздуховода тоже малы, если коэффициент отражения rs < 0,3 (см. 5.2.2.5). Измерения для реактивных глушителей могут быть затруднены из-за многократных отражений от обоих концов воздуховода с постоянным поперечным сечением. Эти отражения уменьшаются внесением в воздуховод некоторого эффективного затухания.

5.2.4.3 Измерительный воздуховод с концевым поглощающим устройством

Измерения на приемном конце внутри измерительного воздуховода являются предпочтительными при отсутствии реверберационного помещения.

Измерительный воздуховод может быть присоединен к испытуемому объекту/замещающему воздуховоду как непосредственно, так и через конический переходный элемент (см. рисунок 5). Измерительный воздуховод должен иметь жесткие стенки и концевое поглощающее устройство. Измерительный воздуховод должен быть прямым и иметь прямоугольное или круглое поперечное сечение. Его длина должна быть равна половине длины волны, соответствующей среднегеометрической частоте самой низкой третьоктавной полосы из исследуемого диапазона, но не менее четырех размеров поперечного сечения воздуховода. Примеры концевых поглощающих устройств приведены в приложении G.

Коэффициент отражения rR для всей системы на приемной стороне (включая переходный элемент, если он используется) не должен превышать 0,3. Измеряют коэффициент отражения в соответствии с В.2 (приложение В) для чистых тонов в замещающем воздуховоде и измерительном воздуховоде на частотах ниже граничной частоты [см. формулы (4) и (5)]. Система является пригодной для третьоктавных полос, в которых максимумы стоячих волн превышают их минимумы менее чем на 5 дБ по уровню на среднегеометрических частотах.

Перекрытие просвета канала, создаваемое микрофоном и его креплением, не должно превышать 5 % площади поперечного сечения измерительного воздуховода. Необходимо иметь в наличии устройство ступенчатого или непрерывного перемещения микрофона вдоль прямой линии под углом к оси измерительного воздуховода на расстояние, превышающее четверть длины волны, соответствующей среднегеометрической частоте самого низкого третьоктавного фильтра в исследуемой области частот (см. рисунок 8).

5.2.4.4 Условия существенно свободного звукового поля

Можно считать, что условия существенно свободного звукового поля имеют место в точке расположения микрофона, если прямой звук от открытого конца испытуемого объекта или замещающего воздуховода превышает отражение от любой близко расположенной поверхности, по крайней мере, на 10 дБ по уровню в каждой частотной полосе исследуемого диапазона частот.

Измерения в условиях существенно свободного звукового поля требуют значительной звукоизоляции (или потерь при прохождении) стенок воздуховода от источника звука. Это требование выполняется, если предельные вносимые потери, полученные с замещающим воздуховодом, изолированным, как описано в С.2.2 (приложение С), по крайней мере, на 10 дБ выше вносимых потерь испытуемого объекта для каждой частотной полосы внутри исследуемого диапазона частот.

Возможным способом увеличения предельных вносимых потерь является установка эластичных прокладок до и после испытуемого объекта, нанесение на внешние стенки воздуховода вибродемпфирующих материалов, имеющих высокие внутренние потери, или применение утяжеленных стенок воздуховода.

Измерения в условиях существенно свободного звукового поля не допускаются, когда нежелательный шум, проникающий через стенки испытуемого объекта, или фоновый шум влияют на уровень звукового давления в точке расположения микрофона. Условие проверяется измерением уровня звукового давления при наличии и отсутствии воздуховода за испытуемым объектом, изолированным как описано в С.2.2 (приложение С). Если разность уровней менее 10 дБ в любой частотной полосе внутри исследуемого диапазона частот, то измерения в условиях существенно свободного звукового поля не допускаются.

5.2.4.5 Измерения интенсивности звука

Измерение интенсивности звука может быть полезно с целью разделения звука, излучаемого открытым концом испытуемого объекта (или присоединенного воздуховода), и нежелательного звука или для ослабления звука, передаваемого побочными путями. Эффективный уровень фонового шума может быть снижен вплоть до 15 дБ.

Выбор точек измерения должен производиться в соответствии с ГОСТ 30457.3.

5.2.4.6 Средства измерений

Средства для измерения звука должны включать в себя, по крайней мере, следующие элементы:

a) микрофон;

b) третьоктавный фильтр, соответствующий требованиям ГОСТ 17168;

c) шумомер или измеритель интенсивности.

Измерительная система, включающая в себя кабели, должна соответствовать требованиям для приборов 1-го класса точности по ГОСТ 17187 или, в случае интегрирующих шумомеров, требованиям [4].

Оборудование для измерения интенсивности звука должно соответствовать требованиям ГОСТ 30457.3.

5.3 Оборудование для акустических испытаний воздухораспределителей

5.3.1 Источник звука

Источник звука для испытаний должен быть таким, как описано в 5.2.2, за исключением наличия модального фильтра. Источник должен устанавливаться снаружи реверберационного помещения и присоединяться к испытуемому объекту со стороны высокого давления (нагнетания). Если испытуемый объект располагается внутри реверберационного помещения, то часть воздуховода, соединяющего сторону высокого давления с источником звука (снаружи), должна быть акустически изолирована. Во время испытаний раструбы и задвижки должны быть открыты.

5.3.2 Оборудование приемной стороны

Оборудование приемной стороны включает в себя реверберационное помещение, соответствующее требованиям ГОСТ 31274, и, если испытуемый объект располагается снаружи реверберационного помещения, передающий элемент, соединяющий испытуемый объект с реверберационным помещением. Этот элемент может быть подогнан по форме к имеющимся отверстиям в стене реверберационного помещения, если при этом сохранятся площадь его поперечного сечения. Выступание этого элемента внутрь реверберационного помещения должно быть отражено в протоколе измерений, как описано в ГОСТ 31338.

Измерительная аппаратура должна удовлетворять требованиям 5.2.4.6.

Если испытуемый объект может быть присоединен к передающему элементу только снаружи реверберационного помещения, то должен быть присоединен второй передающий элемент (имеющий те же поперечные размеры и/или площадь, что и выходное отверстие испытуемого объекта). Второй передающий элемент выдвигается вовнутрь реверберационного помещения.

5.4 Оборудование для испытаний с потоком

5.4.1 Состав оборудования

5.4.1.1 Потери полного давления

Примечание - Измерения расхода и потерь полного давления воздухораспределителей регламентируются стандартами [1], [2] и [3].

Испытательный стенд для измерения потерь полного давления включает в себя (см. рисунок 6):

- вентилятор для создания безвихревого потока воздуха при различных значениях расходах (5.4.2.1);

- аппаратуру для измерения расхода (см. 5.4.2.2);

- испытуемый объект/замещающий воздуховод (см. 5.2.3);

- измерительные воздуховоды с аэродинамическими переходными элементами, если необходимо, с обеих сторон испытуемого объекта (см. 5.4.2.3);

- средства для измерения разности среднего статического давления на входе и выходе испытуемого объекта (см. 5.4.2.4).

1 - место измерения входного статического давления; 2 - место измерения выходного статического давления (и в реверберационном помещении, и в измерительном воздуховоде, используя четыре точки отбора статического давления, соединенные пьезометрическим кольцом); 3 - манометр; - замещающий воздуховод; 4b - глушитель с параллельными пластинами; 5 - направление потока; 6 - измеритель расхода; tb - толщина звукопоглощающей пластины; l1 - расстояние между точкой отбора давления на входе и испытуемым объектом, l1 > 0,5tb; l2 - расстояние между точкой отбора давления на выходе и испытуемым объектом, l2 > 6tb; ST - площадь поперечного сечения испытуемого объекта; Δps1 - разность статических давлений в случае измерительного воздуховода без переходных элементов; pd - динамическое давление

а) Глушитель без переходных элементов

- испытуемый объект с интегрированным диффузором; 4d - испытуемый объект с интегрированным конфузором;
l3 - расстояние между точкой отбора давления на выходе и испытуемым объектом в случае, когда испытуемый объект
с диффузором,  
S1 - площадь поперечного сечения измерительного воздуховода;
Δps2 - разность статических давлений в случае испытуемого объекта с переходными элементами;
остальные обозначения те же, что на рисунке 6а)

b) Глушитель с переходными элементами

Рисунок 6 - Типичные схемы испытательных стендов для измерения расхода и потерь давления

5.4.1.2 Потоковый шум

Испытательный стенд для измерений потокового шума включает в себя:

- заглушенный вентилятор для создания бесшумного потока при различных значениях расхода (см. 5.4.2.1);

- аппаратуру для измерения расхода (см. 5.4.2.2);

- испытуемый объект/замещающий воздуховод (см. 5.2.3);

- аэродинамические переходные элементы, если необходимо, на обеих сторонах испытуемого объекта (см. 5.4.2.3);

- передающий элемент (см. 5.4.2.6) и реверберационное помещение, соответствующее требованиям ГОСТ 31274.

Потоковый шум испытуемого объекта всегда присутствует в совокупности со звуком, регенерируемым в присоединенных воздуховодах, особенно на приемной стороне. Чтобы подавить регенерируемый звук, максимальная скорость потока в испытуемом объекте должна превышать скорость потока в воздуховоде, присоединенном к реверберационному помещению. Это условие определяет выбор площади поперечного сечения и формы воздуховода.

Вихри и турбулентность способствуют увеличению потокового шума.

5.4.1.3 Дополнительные параметры

Атмосферное давление измеряют манометром с точностью 1000 Па (10 гПа).

Температуру окружающей среды измерят термометром с погрешностью ±1 °С.

5.4.2 Компоненты

5.4.2.1 Вентилятор и присоединяемые компоненты

Желательно, чтобы вентилятор имел регулируемую скорость вращения для возможности изменения расхода воздуха. Он должен быть виброизолирован от воздуховода.

При измерении потокового шума измерительный воздуховод должен быть оборудован глушителем для уменьшения шума вентилятора в реверберационном помещении, по крайней мере, на 10 дБ ниже уровня звука, генерируемого испытуемым объектом в каждой полосе частот исследуемого диапазона.

Для предотвращения возникновения вихрей на входе приборов измерения расхода и испытуемого объекта можно использовать спрямляющее поток устройство.

Поток воздуха не должен наталкиваться на какие-либо препятствия на расстоянии до 1 м от отверстия в реверберационном помещении.

5.4.2.2 Аппаратура для измерения расхода

В [5] устанавливается несколько методов измерения расхода в герметичных секциях воздуховода, поперечное сечение которых может быть круглым или прямоугольным (за исключением дифференциальной трубки Пито-Прандтля).

Примечание - По измерениям, выполненным в соответствии с [5], может быть вычислен массовый расход, а по известной плотности воздуха на входе испытуемого объекта может быть вычислен либо объем воздуха, либо средняя скорость потока на входе испытуемого объекта.

Аппаратура для измерения расхода не должна мешать акустическим измерениям.

Описание методов измерения параметров жидких и газообразных потоков приборами для измерения дифференциального давления (например, диафрагм, труб Вентури, сопел), размещаемыми в круглом поперечном сечении заполненных труб, приведено в ГОСТ 8.586.1.

Массовый расход qm следует измерять с использованием средств измерений, отвечающих требованиям [5] или ГОСТ 8.586.1.

Все приборы для измерения параметров потока должны иметь относительную погрешность, указанную в таблице 3.

Таблица 3 - Относительная погрешность при измерении параметров воздушного потока

Объемный расход qv, м3

Относительная погрешность, %

0,07 < qv 7

±2,5

0,007 < qv ≤ 0,07

±5,0

5.4.2.3 Измерительные воздуховоды и аэродинамические переходные элементы

Измерительные воздуховоды на обоих концах испытуемого объекта должны быть прямолинейными и иметь постоянные и равные поперечные сечения. Желательно, чтобы измерительные воздуховоды и испытуемый объект имели одинаковые поперечные размеры. Если для соединения испытуемого объекта и измерительного воздуховода, отличающихся размерами поперечного сечения, необходимы переходные элементы, то их следует проектировать исходя из следующих требований:

- для конических элементов: угол конуса должен быть приблизительно равен 10°;

- для элементов другой формы: минимальная длина lmin элемента определяется в зависимости от значений площади поперечных сечений S1 и S2 на концах элементов, как указано на рисунке 7. Отношение этих площадей должно быть от 1 до 4 или от 4 до 1.

5.4.2.4 Потери давления

Расположение элементов и состав средств измерения среднего статического давления на каждой стороне испытуемого объекта и потерь полного давления испытуемого объекта должны соответствовать рисунку 6.

Рисунок 7 - Минимальная длина переходного элемента как функция отношения площадей S2/S1

5.4.2.5 Измерение давления

Измерение давления в воздуховоде следует проводить калиброванным манометром. Предельное значение деления шкалы измерения давления не должно превышать значений, указанных в таблице 4 для соответствующих диапазонов измерения манометра.

Таблица 4 - Значение деления шкалы манометра в зависимости от диапазона измерения

Диапазон измерения давления р, Па

Предельное значение деления шкалы Δр, Па

р 25

1,0

25 < р ≤ 250

2,5

250 < р ≤ 500

5,0

р > 500

25

Для измерений параметров потока минимальное дифференциальное давление должно быть:

a) 25 Па - для манометров с наклонной трубкой или микроманометров;

b) 500 Па - для манометров с вертикальной трубкой.

Устанавливаются следующие пределы основной допускаемой погрешности средств измерения давления:

a) ±0,5 Па - для микроманометров с диапазоном измерений не более 25 Па;

b) ±1,0 Па - для микроманометров с диапазоном измерений не более 100 Па;

c) ±1 % от измеренного значения - для микроманометров с диапазоном измерений свыше 100 Па.

5.4.2.6 Передающий элемент

Конструкция передающего элемента, соединяющего испытуемый объект и реверберационное помещение, должна способствовать подавлению значительных резонансов на выходе испытуемого объекта и не иметь сколько-нибудь существенного поглощения в воздуховоде. В этом случае достаточно определить конечный коэффициента отражения r по методу В.2 (приложение В) или вычислить его по методу, приведенному в В.3 (приложение В). Конечный коэффициент отражения r не должен превышать предельных значений, указанных в таблице 5.

Коэффициент отражения испытуемого объекта rТ определяется путем измерения стоячей волны в измерительном воздуховоде, замещающем передающий элемент, когда измерительный воздуховод возбуждается на открытом конце на частотах, не превышающих граничной частоты [см. формулы (4) и (5)].

Примечание - Обычно диссипативные глушители обеспечивают слабое отражение.

Если коэффициент отражения испытуемого объекта rТ < 0,3, то им можно пренебречь.

Таблица 5 - Предельные значения коэффициента отражения для передающего элемента

Среднегеометрическая частота частотной полосы, Гц

Предельные значения коэффициента отражения r

50

0,7

63

0,6

80

0,5

100

0,4

125

0,3

Более 160

0,2

Примечание - Эти величины получены с использованием измерительного воздуховода площадью поперечного сечения не менее 2 м2 (без передающего элемента).

5.5 Оборудование для динамических испытаний

5.5.1 Состав оборудования

Испытательный стенд для динамических испытаний включает в себя (см. рисунок Н.2):

- вентилятор для создания потока с изменяемой скоростью (см. 5.4.2.1);

- аппаратуру для измерения расхода (см. 5.4.2.2);

- источник звука специальной конструкции (см. 5.5.2);

- испытуемый объект/замещающий воздуховод (см. 5.2.3);

- аэродинамические переходные элементы с обеих сторон испытуемого объекта (см. 5.4.2.3);

- специальное оборудование на приемной стороне (см. 5.5.3).

5.5.2 Источник звука для динамических испытаний

В дополнение к требованиям 5.2.2.1 источник звука должен создавать звуковую мощность, достаточную для того, чтобы во всем исследуемом диапазоне частот в каждой точке измерений превышение уровня звукового давления над уровнем потокового шума было не менее 10 дБ.

Отношение сигнал-шум может быть улучшено, если сигнал источника звука подавать в октавных или в третьоктавных полосах частот.

Примеры возможных конструкций модуля громкоговорителей вместе с методикой их аттестации приведены в приложении А.

5.5.3 Оборудование приемной стороны при динамических испытаниях

Если измерения звука проводятся в измерительном воздуховоде с концевым поглощающим устройством, то потоковый шум концевого поглощающего устройства не должен влиять на акустические измерения. Соответствующие конструкции приведены в приложении G и ГОСТ 31352.

Потоковый шум на микрофоне может быть ослаблен с помощью ветрозащитных экранов (например, конусного наконечника, поролонового шара или измерительного зонда). Разность между уровнем звукового давления шума источника, ослабленного испытуемым объектом, в сумме с потоковым шумом, порождаемым турбулентным потоком на микрофоне, и уровнем только потокового шума должна быть не менее 10 дБ в каждой частотной полосе в исследуемом диапазоне частот.

Примечание - В случае использования измерительного зонда, соответствующего требованиям ГОСТ 31352, могут возникнуть трудности из-за направленности измерительного зонда.

Если измерения звука производятся в реверберационном помещении, конструкция передающего элемента должна обеспечивать разность не менее 10 дБ для каждой частотной полосы исследуемого диапазона частот между уровнем суммы звукового давления потокового шума и источника звука, ослабленного испытуемым объектом и передающим элементом, и уровнем звукового давления, создаваемого только потоком.

Разность уровней между суммой сигнала источника звука и потоковым шумом и только потоковым шумом может быть получена измерениями при включенном и выключенном источнике звука.

6 Проведение испытаний

6.1 Общие положения

Коэффициенты отражения составных частей испытательного стенда определяют по измерениям на чистых тонах 50, 63 Гц и т.д. на всех среднегеометрических частотах третьоктавных полос частот вплоть до граничной частоты воздуховода [см. В.2 и формулы (4) и (5)].

Измерения вносимых потерь или потерь при прохождении испытуемого объекта выполняют в третьоктавных полосах случайного шума, возбуждаемого источником звука в исследуемом диапазоне частот. Потоковый шум измеряют в третьоктавных полосах со среднегеометрическими частотами от 50 до 10 кГц.

Предельные вносимые потери испытательного стенда определяют по измерениям без потока с замещающим воздуховодом вместо испытуемого объекта. Измерения выполняют с замещающим воздуховодом и без него при акустически заблокированном воздуховоде, как описано в С.2.2 (приложение С).

При необходимости вносимые потери, потоковый шум и потери полного давления испытуемого объекта измеряют в требуемом диапазоне скоростей потока.

Перед началом каждой серии акустических измерений и после их завершения производят калибровку микрофона с помощью звукового калибратора 1-го класса точности в соответствии с [6] с погрешностью ±0,3 дБ с целью проверки всей измерительной системы на одной или более частотах из исследуемого диапазона.

6.2 Вносимые потери

6.2.1 Измерение звукового давления

Вносимые потери Di следует вычислять на основе усредненных по пространству и по энергии уровням звукового давления  в идентичных точках или траекториях одного из следующих мест:

- в реверберационном помещении в соответствии с ГОСТ 31274;

- в измерительном воздуховоде сзади испытуемого объекта;

- на охватывающей поверхности вблизи открытого конца испытуемого объекта/замещающего воздуховода согласно ГОСТ 31277.

Примечание - Поскольку разность уровней звуковой мощности оценивают исходя из измерений, выполненных в одних и тех же точках, и поскольку открытые концы испытуемого объекта и замещающего воздуховода подобны по форме и расположены в тех же местах, достигаемая при этом точность измерений существенно выше, чем установлено ГОСТ 31277.

Сначала проводится серия измерений по определению  с установленным испытуемым объектом. Затем из другой серии измерений определяют  для замещающего воздуховода вместо испытуемого объекта.

Звуковой сигнал, излучаемый источником звука в обеих сериях испытаний, должен иметь один и тот же спектр звуковой мощности. Конфигурация испытательного стенда и окружающих объектов не должны изменяться.

Если измеряются локальные уровни звукового давления в реверберационном помещении, то измерения и усреднение следует проводить в соответствии с ГОСТ 31274.

Если измеряются локальные уровни звукового давления в измерительном воздуховоде сзади испытуемого объекта, то пространственное усреднение следует проводить по уровням звукового давления, измеренным, по крайней мере, в трех основных равномерно расположенных точках, как приведено на рисунке 8. Протяженность участка воздуховода, на котором размещаются точки измерения, должна быть не менее одной четверти длины волны, соответствующей среднегеометрической частоте выбранной третьоктавной полосы. Этот участок должен располагаться примерно на половине длины измерительного воздуховода. Микрофон желательно ориентировать вдоль оси воздуховода. Если разность между наименьшим и наибольшим уровнями из этих трех измерений превышает значения, приведенные в таблице 6, то следует использовать пять точек измерения. Допускается пространственное усреднение по непрерывным измерениям вдоль диагональной линии, пересекающей измерительный воздуховод.

1 - измерительный воздуховод круглого сечения; 2 - измерительный воздуховод прямоугольного сечения;
× - основные положения микрофона; о - дополнительные положения микрофона

Рисунок 8 - Положения микрофона

6.2.2 Измерения интенсивности звука

При отсутствии потока вносимые потери Di вычисляют по измерениям интенсивности звука на идентичных траекториях охватывающей поверхности вблизи открытого конца испытуемого объекта/замещающего воздуховода в соответствии с ГОСТ 30457.3 в первой серии измерений с установленным испытуемым объектом и в последующей серии измерений с замещающим воздуховодом вместо испытуемого объекта. Затем по средним интенсивностям вычисляются вносимые потери Di.

Таблица 6 - Предельные значения разности уровней для трех основных положений микрофона в измерительном воздуховоде

Частота, Гц

Значения разности уровней, дБ

50

10

63

10

80

8

100

8

125

7

Более 160

6

6.3 Потери при прохождении

Потери при прохождении Dt испытуемого объекта (воздухораспределителя) следует рассчитывать, исходя из усредненных энергетически и по пространству уровням звукового давления  и , в реверберационном помещении в соответствии с ГОСТ 31274 (см. 5.3) и по теоретическим значениям потерь при прохождении открытого конца испытуемого объекта Dtd, применяя формулу (6) (см. [7]). Сначала измеряется средний уровень звукового давления шума, проходящего через замещающий воздуховод в отсутствие испытуемого объекта . При необходимости выполняются измерения времени реверберации T1. Затем испытуемый объект присоединяют к передающему элементу, ведущему в реверберационное помещение, и измеряют средний уровень звукового давления шума, сниженного испытуемым объектом . Если испытуемый объект установлен внутри реверберационного помещения, то определяют время реверберации Т2. В противном случае предполагают, что Т2 = Т1. Потери при прохождении Dt вычисляют по формуле

Dt = Di + Dtd,                                                         (6)

где

Вычисление Dtd приведено в В.3 (приложение В).

Если установлен регулятор расхода воздуха, то это указывают в протоколе измерений.

6.4 Уровень звуковой мощности потокового шума

Уровень звуковой мощности потокового шума вычисляют для направления потока и входной скорости, идентичных условиям эксплуатации испытуемого объекта.

Рекомендуется вычислять уровень звуковой мощности в реверберационном помещении, соответствующем требованиям ГОСТ 31274, присоединенном к измерительному воздуховоду сзади испытуемого объекта. Если реверберационное помещение отсутствует, то используется метод испытаний в воздуховоде по ГОСТ 31352.

Выполняют две серии измерений. В первой серии определяют уровень фонового шума с замещающим воздуховодом вместо испытуемого объекта. Во второй серии измеряют уровень звукового давления потокового шума испытуемого объекта. В обеих сериях измерений все прочие условия испытаний (параметры потока, положение микрофона, размеры системы воздуховодов и т.п.) должны быть неизменными.

Уровень звуковой мощности потокового шума испытуемого объекта LW вычисляют в третьоктавных полосах по формуле

                                                           (7)

где  - усредненный энергетически и по пространству третьоктавный уровень звукового давления, вычисленный согласно ГОСТ 31274, но без коррекции на фоновый шум;

Dtd - потери при прохождении на открытом конце воздуховода, присоединенного к реверберационному помещению;

С - разность по уровню между звуковой мощностью, излучаемой в реверберационное помещение, и средним звуковым давлением в реверберационном помещении, которое определяется как прямым, так и косвенным методом по ГОСТ 31274.

Для воздуховодов с постоянным поперечным сечением значения потерь при прохождении Dtd рассчитывают по формуле (В.3) (приложение В).

Уровень звуковой мощности потокового шума, определенный для испытуемого объекта и замещающего воздуховода, должен быть занесен в протокол испытаний без коррекции на фоновый шум.

6.5 Объемный расход воздуха и коэффициент потерь давления

6.5.1 Входной объемный расход

Объемный расход qV на входе испытуемого объекта рассчитывают по формуле

                                                                    (8)

где qm - массовый расход, кг/с;

ρ1 - плотность воздуха на входе испытуемого объекта, кг/м3.

6.5.2 Средний коэффициент потерь полного давления

6.5.2.1 Упрощенный метод

Чтобы определить коэффициент потерь полного давления, следует провести пять раз измерение объемного расхода qV. Наименьший расход из этого набора значений должен обеспечивать разность давления более 10 Па.

Если между измерителем параметров потока и испытуемым объектом имеют место существенные отличия по температуре воздуха и статическому давлению так, что отношение плотностей воздуха  менее 0,98 или более 1,02, то необходимо применять коррекцию по формулам:

                                                                (9)

где                                                                                                                              (10)

и R = 287 Н · м/(кг · К).

Полное давление ptot в плоскости измерения должно быть равно сумме измеренного статического давления ps и динамического давления pd и рассчитано по формуле

                                                         (11)

Потери полного давления равны

       (12)

                                                           (13)

где S1 - площадь поперечного сечения входного отверстия измерительного воздуховода;

S2 - площадь поперечного сечения выходного отверстия измерительного воздуховода.

Коэффициент потерь полного давления рассчитывают по формуле

                                             (14)

Примечание - Как правило, S1 = S2.

Средний коэффициент потерь полного давления следует вычислять как среднеарифметическое всех измерений.

6.5.2.2 Основной метод

6.5.2.2.1 Метод и требования

Средний коэффициент потерь полного давления испытуемого объекта определяют, используя метод замещения. Выполняют две серии испытаний:

- с установленным испытуемым объектом;

- с замещающим воздуховодом вместо испытуемого объекта.

Каждая серия испытаний должна быть проведена как минимум при пяти равноотстоящих значениях расхода из заданного диапазона.

Входной измерительный воздуховод должен быть прямым как минимум на длине 5de или 2 м, в зависимости от того, что больше, где de - эквивалентный диаметр, рассчитываемый по формуле

где S - площадь поперечного сечения воздуховода.

Поток на входе измерительного воздуховода не должен иметь значительной турбулентности (см. 5.4.2.1).

Скорость во всем поперечном сечении измерительного воздуховода вблизи соединения с входным отверстием испытуемого объекта не должна отличаться от средней величины более чем на 10 %, исключая площадь полосы шириной 15 мм вблизи стенок воздуховода. Для проверки однородности потока следует измерить его скорость в десяти равномерно распределенных точках вдоль двух взаимно перпендикулярных осей на расстоянии около 1,5de от испытуемого объекта.

Статическое давление на входе воздуховода ps1 измеряют в четырех точках отбора статического давления на расстоянии 1,5de от входного соединения испытуемого объекта. Для прямоугольного воздуховода точки отбора давления должны быть расположены по центру каждой стороны, а для круглого воздуховода - равномерно распределены по окружности. Точки отбора давления должны быть соединены в пьезометрическое кольцо. Входное статическое давление рs1 измеряется относительно выходного давления испытуемого объекта (замещающего воздуховода) на выходе измерительного воздуховода или в присоединенном реверберационном помещении.

Для определения плотности воздуха статическое давление ps1(a) входного измерительного воздуховода должно также измеряться относительно внешнего (атмосферного) давления ра при установленном испытуемом объекте.

Температура воздуха измеряется вблизи измерителя параметров потока и на расстоянии 2de перед испытуемым объектом, а во время испытаний изменение температуры не должно быть более 3 °С.

В протоколе измерений указывают следующие данные:

a) входное статическое давление при установленном испытуемом объекте ps1(I), измеренное относительно давления на выходе;

b) входное статическое давление в измерительном воздуховоде ps1(a), измеренное относительно атмосферного давления;

Объемный расход (логарифмический масштаб)

Рисунок 9 - Требования к отношению расход/давление (график статического давления и соответствующего расхода в плоскости 1)

c) входное статическое давление с установленным замещающим воздуховодом ps1(II), измеренное относительно выходного давления;

d) атмосферное давление ра;

e) температура воздуха на входе испытуемого объекта θ1 в градусах Цельсия.

В каждом испытании должен измеряться объемный расход qV, как указано в 6.1.5, в соответствии с [5] или ГОСТ 31352.

6.5.2.2.2 Оценка среднего коэффициента потерь полного давления графическим методом

Выполняют построение следующих графиков:

a) lgps1(I) в зависимости от lgqV;

b) lgps1(II) в зависимости от lgqV;

c) lgps1(a) в зависимости от lgqV.

Затем через экспериментальные точки проводят прямые линии наилучшего приближения с угловым коэффициентом 2. Условием отнесения точки к данной прямой является нахождение соответствующей величины lgps1 внутри ±5 %-ного прямолинейного интервала около этой прямой (см. рисунок 9).

Величину расхода qV выбирают в середине исследуемого диапазона. Требуемый интервал полного давления Δptot,n испытуемого объекта вычисляют из следующего соотношения:

Δptot,n = Δpsn = ps1(I)n - ps1(II)n.                                               (15)

Динамическое давление входного потока pdn рассчитывают по формуле

                                                         (16)

где ρ1n - рассчитывают по формуле (10);

S1 - площадь поперечного сечения входного воздуховода, м.

Коэффициент потерь полного давления ζ, усредненный по скоростям потока, рассчитывают по формуле

                                                                (17)

Все потери полного давления, основанные на результатах испытаний, следует рассчитывать по среднему коэффициенту потерь полного давления.

6.5.2.2.3 Оценка среднего коэффициента потерь полного давления путем вычислений

Для расчета среднего коэффициента потерь полного давления может быть использована формула

                                             (18)

где N, M - число измерений с испытуемым объектом и с установленным замещающим воздуховодом соответственно.

                                                           (19)

                                                          (20)

в которых

                                                      (21)

                                           (22)

7 Регистрируемая информация

Регистрируется и заносится в протокол измерений информация, указанная в 7.1 - 7.9.

7.1 Описание испытуемого объекта

a) Тип испытуемого объекта и его назначение.

b) Размеры.

c) Направление потока.

7.2 Средства измерения

В протоколе указывают сведения обо всех используемых измерительных приборах, включая тип, заводской номер и дату последней поверки в соответствии со стандартами.

7.3 Источник звука

a) Тип и размеры модуля громкоговорителя.

b) Описание и способ присоединения модуля громкоговорителя к воздуховоду перед испытуемым объектом.

c) Продольное ослабление модального фильтра.

d) Коэффициент отражения источника звука.

7.4 Измерительный, замещающий и передающий воздуховоды

a) Толщина стенок, длина, размеры поперечного сечения, материал и конструкция воздуховодов.

b) Предельные вносимые потери, когда замещающий воздуховод заглушен, как описано в С.2.2 (приложение С).

c) Положение выходного отверстия воздуховода в реверберационном помещении.

7.5 Переходные элементы

a) Толщина стенок, длина, материал.

b) Максимальный угол раскрытия (раструба).

c) Площадь обоих открытых концов.

7.6 Концевое поглощающее устройство

Коэффициент отражения концевого поглощающего устройства, включая передающий и измерительный воздуховоды.

7.7 Реверберационное помещение

Объем реверберационного помещения.

7.8 Результаты акустических испытаний

Результаты испытаний, указанные в перечислениях а) - е) 7.8, должны быть представлены в форме таблицы, округленными до ближайшего целого числа, а также графиками функций от частоты в масштабе по оси абсцисс: 5 мм соответствуют третьоктавной полосе; по оси ординат: 20 мм соответствуют 10 дБ. Допускается пропорциональное изменение масштаба по обеим осям в одно и то же число раз.

a) Записывают вносимые потери в третьоктавных полосах со среднегеометрическими частотами от 50 до 10000 Гц (или от 100 до 5000 Гц; см. 3.17) для всех используемых значений расхода. Не позволяется экстраполировать результаты измерений температур за пределы диапазона от 250 °К до 330 °К и/или по давлению за пределы интервала от 0,8×105 до 1,2×105 Па.

Примечание - Данные о методах экстраполяции приведены в ГОСТ 31328.

При использовании переходных элементов в протокол вносят следующую фразу:

«Эти вносимые потери относятся к испытуемому объекту вместе с переходными элементами, поскольку влиянием переходных элементов не всегда можно пренебречь».

b) Записывают предельные вносимые потери испытательного стенда как функцию частоты.

c) Записывают уровень звуковой мощности потокового шума без испытуемого объекта для всех значений расхода на входе, при которых проводились измерения.

d) Записывают уровень звуковой мощности потокового шума испытуемого объекта во всех частотных полосах для всех значений расхода на входе, при которых проводились измерения.

e) Записывают потери при прохождении в третьоктавных полосах для воздухораспределителей или воздухораспределительных устройств, если применяются.

Дополнительно записывают средний коэффициент потерь полного давления (см. 5.4.1.1 и 6.5.2).

7.9 Неопределенность измерений

В настоящее время отсутствует достоверная информация о характеристиках систем и методов испытаний, необходимая для оценки достигаемой точности. Важными параметрами с точки зрения неопределенности измерений являются отношение геометрических размеров к длине волны звука, потери при прохождении стенок воздуховода, звукопоглощающие свойства испытуемого объекта и скорость потока. В таблице 7 приведены стандартные отклонения воспроизводимости σRi вносимых потерь, определенные при испытаниях пластинчатых глушителей прямоугольного поперечного сечения с параллельными пластинами длиной 1 м. Стандартные отклонения воспроизводимости для потерь при прохождении и интенсиметрических измерений оценивались на основе доступных опытных данных.

Испытания глушителей с круглым поперечным сечением описаны в [8].

При отсутствии уточняющей информации расширенная неопределенность измерений для доверительной вероятности 95 % вычисляется как удвоенное стандартное отклонение воспроизводимости, приведенной в таблице 7.

Таблица 7 - Стандартные отклонения воспроизводимости для различных частотных полос

Среднегеометрическая частота третьоктавной полосы, Гц

Стандартное отклонение воспроизводимости σRi вносимых потерь, дБ

Стандартное отклонение воспроизводимости σRt потерь при прохождении, дБ

Стандартное отклонение воспроизводимости уровня интенсивности, измеренного согласно ГОСТ 30457.3, дБ

От 50 до 1 00 включ.

1,5

3

3

От 125 до 500 включ.

1,0

3

1,5

От 630 до 1250 включ.

2,0

3

1

От 1600 до 10000 включ.

3,0

3

1*

* Максимальное значение частоты 5000 Гц.

8 Протокол испытаний

В протоколе испытаний указывают следующую информацию:

a) дату и время проведения измерений;

b) информацию в соответствии с 7.1 - 7.8.

В протоколе испытаний указывают также, что результаты получены в соответствии с требованиями настоящего стандарта.

Рекомендуется вносить сведения о неопределенности измерений в соответствии с 7.9.

Приложение А
(обязательное)

Устройство для создания звукового поля и его квалификационные испытания

А.1 Общие положения

Существует множество устройств, способных создать звуковое поле перед испытуемым объектом с преобладанием плоских акустических волн.

А.2 Модальный фильтр для измерений без потока

В качестве фильтра можно использовать прямолинейный воздуховод, облицованный звукопоглощающим материалом, если коэффициент поглощения звукопоглощающего слоя, умноженный на длину воздуховода, превышает диаметр его поперечного сечения. Если разместить воздуховод такой длины не представляется возможным, то можно уменьшить эффективный диаметр воздуховода. При этом в воздуховоде должна быть установлена перегородка (см. рисунок А.1).

Коэффициент поглощения облицовки на низких частотах увеличивается с толщиной облицовки.

1 - кожух; 2 - громкоговоритель; 3 - измерительный воздуховод;
4 - перегородка (панель); 5 - звукопоглощающий материал

Рисунок А.1 - Схематическое изображение панели громкоговорителей (реальный испытательный стенд)

А.3 Устройство для создания звукового поля при измерениях с потоком

Звуковое поле перед испытуемым объектом может быть создано с помощью различных конструкций. Однако для квалификационных испытаний в соответствии с А.4 следует обеспечить в звуковом поле перед испытуемым объектом преобладание плоских акустических волн.

На рисунке А.2 приведены возможные конструкции, в которых звуковое поле возбуждается панелью громкоговорителей внутри камеры источника, присоединяемой к измерительному воздуховоду перед испытуемым объектом.

1 - воздушный поток с поворотом;
2 - прямой воздушный поток

Рисунок А.2 - Схематическое изображение источника звукового поля в камере

Чтобы обеспечить условия однородности потока на входе испытуемого объекта, отношение площадей поперечного сечения камеры источника звука и измерительного воздуховода должно быть не менее 5:1.

Громкоговорители располагаются в камере таким образом, чтобы их передняя часть была обращена к входному отверстию измерительного воздуховода. Необходимо обеспечить выравнивание статического давления перед диффузорами громкоговорителей и позади них. Если применяется более одного громкоговорителя, они должны быть фазированными.

Предметом квалификационного испытания является выявление возможности использовать одно и то же звуковое поле для измерений с потоком и без потока.

А.4 Квалификационное испытание

Чтобы проверить пригодность модального фильтра (см. 5.2.2.3 и А.2), следует провести измерение продольного снижения шума в воздуховоде в соответствии с приложением F. Проверка пригодности источника звука для акустических измерений производится в соответствии с 5.2.2.5.

Устанавливаются следующие квалификационные испытания звукового поля при измерениях с потоком, основанные на сравнении измеренных вносимых потерь.

Испытания для каждой из интересующих частотных полос выполняют в следующей последовательности:

a) находят вносимые потери испытуемого объекта в соответствии с 6.2 (т.е. без потока), используя устройство для создания звукового поля, приведенное на рисунке А.1 (панель громкоговорителей);

b) находят вносимые потери испытуемого объекта в соответствии с 6.2 (т.е. без потока), выбирая устройство для создания звукового поля, описанное в А.3.

Конфигурации испытательного стенда, используемые на этапах а) и b), должны отличаться только способом возбуждения звукового поля.

Если вносимые потери, найденные на этапе a) Di 20 дБ, то вносимые потери, найденные на этапах а) и b), не должны отличаться более чем на 2 дБ.

Если вносимые потери, найденные на этапе a) Di > 20 дБ, то вносимые потери, найденные на этапах а) и b), не должны отличаться более чем на 3 дБ.

Если выполняются перечисленные выше требования, то источник звука, спроектированный в соответствии с А.3, пригоден для измерений в соответствующей полосе частот.

Приложение В
(обязательное)

Передающий элемент

В.1 Конструкция передающего элемента

В.1.1 При измерениях без потока допускается использовать конструкцию передающего элемента в виде рупора произвольной формы или звукопоглощающего патрубка, обеспечивающего коэффициент отражения, не более значений, указанных в таблице 5.

В.1.2 При измерении потокового шума важно, чтобы передающий элемент передавал большую часть звуковой мощности в присоединенное реверберационное помещение. Поэтому он должен обладать близкими к нулю диссипативными потерями и малым коэффициентом отражения от открытого конца. Значение коэффициента отражения следует рассчитывать в соответствии с В.3 (см. 5.4.2.6).

В.1.3 Передающий элемент не должен создавать потоковый шум, который влияет на измерения в реверберационном помещении (см. 5.5.3).

В.1.4 Чтобы предотвратить потери звуковой энергии через стенку передающего элемента, она должна обладать высокими потерями при прохождении (звукоизоляцией).

В.1.5 В качестве передающего элемента для измерения потокового шума можно использовать рупор, в котором угол раскрытия не превышает 15° и стенки являются акустически жесткими и тяжелыми (см. рисунок В.1).

Рисунок В.1 - Конусный передающий элемент

В.2 Измерение коэффициента отражения передающего элемента

В.2.1 Коэффициент отражения r передающего элемента рассчитывают по формуле

                                                        (В.1)

где ΔL - разность между максимальным и минимальным уровнями звукового давления в стоячей волне, измеряемыми в прямом воздуховоде с жесткими стенками.

B.2.2 Рекомендуется выполнять измерения коэффициента отражения с использованием чистых тонов на среднегеометрических частотах третьоктавных фильтров от 50 Гц до граничной частоты fC.

B.2.3 Допускается использовать методику двух микрофонов для определения комплексной функции передачи Н12 между сигналами двух микрофонов, размещенных вдоль оси измерительного воздуховода на расстоянии s < c/(4f), м, где с = 340 м/с и f - частота, Гц, на которой производится измерение. Значение коэффициента отражения рассчитывают по формуле ГОСТ 31352:

                                                        (В.2)

где j - мнимая единица.

В.3 Расчет потерь при прохождении и коэффициента отражения на открытом конце воздуховода

Потери при прохождении Dtd, дБ, на открытом конце прямого воздуховода с жесткими стенками рассчитывают по формуле

                                              (В.3)

где S - площадь поперечного сечения воздуховода, м2;

Ω - пространственный угол излучения на конце воздуховода, ср (см. таблицу В.1);

f - частота, Гц;

с - скорость звука в воздухе, м/с.

Коэффициент отражения рассчитывают по формуле

                                                  (В.4)

Таблица В.1 - Значение пространственного угла Ω для различных случаев расположения открытого конца воздуховода, приведенных на рисунке В.2

Обозначение на рисунке В.2

Пространственный угол Ω

А

2p

В

p

С

4p

D

2p

Е

4p

Рисунок В.2 - Размещение воздухораспределителей в испытательном помещении (см. таблицу В.1)

Приложение С
(обязательное)

Стенки воздуховода и предельные вносимые потери

С.1 Передача обходными путями

С.1.1 Общие положения

Предельные вносимые потери испытательного стенда ограничиваются передачей звука обходными путями за счет следующих явлений (см. рисунок С.1):

a) обходным путем звука, распространяющегося по структуре (см. С.1.2);

b) обходным путем (I) воздушного звука, проходящего сквозь стенки воздуховода и испытательного помещения (см. С.1.3);

c) обходным путем (II) воздушного звука, проходящего через отверстия воздуховода (см. С.1.4).

1 - испытуемый объект; 2 - внешний шум; 3 - обходной путь шума, распространяющегося по конструкции;
4 - обходной путь (
I) воздушного шума; 5 - обходной путь (II) воздушного шума

Рисунок С.1 - Обходные пути передачи звука в испытательном стенде при измерениях с воздуховодом

С.1.2 Обходной путь звука, распространяющегося по структуре

В общем случае распространение звука по конструкции испытательной установки является наиболее сильным. Передача по стенкам воздуховода может быть уменьшена следующими мерами:

- применением для стенок воздуховода материала с большими внутренними потерями или нанесением на воздуховоды вибропоглощающих облицовок;

- разделением измерительного воздуховода на секции с эластичными прокладками в местах соединения секций.

С.1.3 Обходной путь (I) воздушного звука

Распространение воздушного звука по обходному пути (I) сквозь стенки воздуховода и помещения может быть устранено применением утяжеленных стенок воздуховода и/или двухслойной конструкцией стенок испытательного помещения с вносимыми потерями не менее 30 дБ. Не допускаются щели и отверстия.

С.1.4 Обходной путь (II) воздушного звука

Воздушный звук, распространяющийся по обходному пути (II) через входное и выходное отверстия воздуховода, может быть ослаблен:

- размещением воздуховода так, чтобы его противоположные отверстия находились в разных помещениях;

- установкой глушителей или концевых звукопоглощающих устройств на концах воздуховодов.

С.2 Устройство испытательного стенда для определения предельных вносимых потерь

С.2.1 Допускаются два метода определения вносимых потерь (см. рисунок С.2), указанные в С.2.2 и С.2.3.

С.2.2 Измерительные воздуховоды в области, где размещается испытуемый объект, следует перекрыть перегородкой с хорошей звукоизоляцией, например бетонной заслонкой, наглухо уплотняющей стенки воздуховода. На этой изолирующей заслонке сторона, обращенная к источнику шума, должна быть покрыта слоем хорошо поглощающего звук материала.

Примечание - Без звукопоглощающего слоя устанавливается режим стоячих волн, и измерение вносимых потерь дает неверные результаты.

а) Испытуемый объект

b) Заслонка в соответствии с С.2.2

с) Заслонка в соответствии с С.2.3

Рисунок С.2 - Устройство испытательного стенда для определения предельных вносимых потерь

Методика измерения предельных вносимых потерь должна быть такой же, как методика измерения вносимых потерь испытуемого объекта (см. 6.1).

С.2.3 Устанавливают испытуемый объект и закрывают измерительные воздуховоды заслонками из древесно-стружечных или гипсокартонных панелей, чтобы обеспечить герметичную изоляцию.

Измеряют вносимые потери испытательного стенда, используя метод, описанный в 6.2.

Если добавление панелей увеличивает вносимые потери, по меньшей мере, на 10 дБ, то передача звука обходными путями не оказывает влияния на измерение вносимых потерь испытуемого объекта.

Примечание - В этом случае предельные вносимые потери испытательного стенда могут быть больше, чем вносимые потери, измеренные при изолированной перегородке. Реальные предельные вносимые потери стенда могут быть получены при последовательном добавлении новых панелей до тех пор, пока не прекратится дальнейшее увеличение потерь.

Если увеличение измеряемых вносимых потерь, обусловленное добавлением панелей, менее 10 дБ, и добавление панелей не увеличивает вносимых потерь, значит, предельные потери испытательного стенда достигнуты.

Приложение D
(обязательное)

Преобразование значений снижения шума из третьоктавных в октавные полосы частот

В соответствии с настоящим стандартом измерение шума проводится в третьоктавных полосах частот. Преобразование этих значений в соответствующие значения в октавных полосах следует выполнять по формуле

                                              (D.1)

где D1/1 - значение снижения шума для данной октавной полосы в целом, дБ;

от D1/3,1 до D1/3,3 значения снижения шума для третьоктавных полос, составляющих данную октавную полосу, дБ.

Для широкополосного шума и широкополосных глушителей рекомендуется определять значение снижения шума в октавных полосах частот. Для тонального шума и узкополосных резонансных глушителей - в третьоктавных полосах.

Примечание - Октавные значения снижения шума могут существенно зависеть от характера спектра звука [см. ГОСТ 31328 (приложение В)].

Приложение Е
(обязательное)

Испытания больших глушителей с параллельными пластинами

Глушители пластинчатого типа могут иметь слишком большие размеры, исключающие возможность использования испытательной установки в соответствии с настоящим стандартом для проведения измерений единым модулем.

В этом случае должна испытываться модель глушителя, имеющая уменьшенную ширину и высоту. Звукопоглощающие панели модели глушителя должны размещаться внутри замещающего воздуховода. Замещающий воздуховод может иметь любую высоту, превышающую толщину звукопоглощающих панелей.

Примечание 1 - Стандартная высота испытуемых пластин составляет 500 или 600 мм.

Модель глушителя должна иметь такие же характеристики, как испытуемый тип глушителя (тип панелей, длину и ширину, ширину промежутков между панелями; см. также примечание 2), т.е. модель должна быть «вырезкой» из испытуемого глушителя. Примеры подходящих вырезаемых моделей приведены на рисунке Е.1.

Рисунок Е.1 - Схематичное представление реального глушителя, используемого
как пример трех возможных вырезок: А, В, С

Следующие параметры модели должны быть такими же, как у реального глушителя:

- тип звукопоглощающей панели (симметричная или нет);

- длина панели;

- ширина промежутка между панелями (целая или половинная, см. примечание 2).

Панели должны быть плотно вставлены между верхними и нижними стенками секции испытательного воздуховода.

Примечание 2 - В общем случае самые крайние воздушные промежутки (или панели, соответственно) глушителя составляют половину ширины внутренних промежутков (или панелей), так как для стенок воздуховода справедливы геометрические законы отражения звука.

Примечание 3 - Обычно между верхом пластины и верхней стенкой воздуховода (как правило, съемной) используют эластичные прокладки.

Модель глушителя может содержать следующие элементы:

а) для глушителя с симметричными панелями:

- панели полной ширины между двумя воздушными промежутками полной ширины (как в вырезках А, В и С в приведенном ниже примере);

- панели полной ширины с воздушным промежутком половинной ширины со стороны, обращенной к стенке воздуховода, и с воздушным промежутком полной ширины с другой стороны (как в вырезках В и С в приведенном ниже примере);

- панели половинной ширины, установленные плотно к стенке испытательного воздуховода (как в вырезке В в приведенном ниже примере).

Из-за аэродинамических условий предпочтительными являются пластины полной ширины.

Примечание 4 - Из приведенных примеров только для примера С допускается глушитель с асимметричными пластинами;

b) для глушителя с асимметричными панелями не допускается использовать панели половинной ширины;

c) при измерении вносимых потерь модели глушителя рассматриваемым методом подразумевается, что для реального глушителя, имеющего другую высоту и ширину, все другие характеристики идентичны.

Уровень звуковой мощности потокового шума реального глушителя может быть вычислен по результатам измерений с использованием модели по формуле

LW, flow, sil = LW, flow, test + 10lg(Ssil/Stest),                                  (E.1)

где LW, flow, sil - ожидаемый уровень звуковой мощности потокового шума для реального глушителя, дБ;

LW, flow, test - уровень звуковой мощности потокового шума, измеренный на модели, дБ;

Ssil - площадь поперечного сечения реального глушителя, м2;

Stest - площадь поперечного сечения модели глушителя, м2.

Никакие коррекции к коэффициенту потери давления модели не применяются.

Пример - Вырезки из глушителя с идентичными панелями.

Ширина w:

1700 мм;

Высота Н:

7200 мм;

Толщина панели tb

200 мм;

Ширина воздушного промежутка s:

83 мм.

На рисунке Е.1 размеры вырезок следующие:

567×500 мм - для А;

708×500 мм - для В;

850×500 мм - для С;

НA = НВ = НС = 500 мм;

wA = 567 мм;

wB = 708 мм;

wC = 850 мм.

Приложение F
(обязательное)

Измерение продольного ослабления основной моды

Продольное ослабление в воздуховоде с постоянным поперечным сечением и неизменной конфигурацией в продольном направлении измеряется с помощью микрофона, перемещаемого вдоль оси воздуховода. Уменьшение уровня звукового давления на единицу длины в среднем сечении воздуховода равно потерям при распространении Da. Продольное затухание основной моды в диапазоне частот измерений определяется произведением Dalm, где lm - длина поглощающего слоя.

Приложение G
(справочное)

Концевое поглощающее устройство

G.1 Руководство по проектированию и изготовлению концевого поглощающего устройства

G.1.1 Основная конструктивная особенность концевого поглощающего устройства - плавное изменение профиля воздуховода для предотвращения отражения звуковых волн обратно в воздуховод, где они будут создавать помехи измерению уровня звука. Требования для предельно допустимого коэффициента отражения указаны в 5.2.4.3. Методика проверки соответствия концевого поглощающего устройства требованиям 5.2.4.3 приведена в G.2.

G.1.2 Варианты конструкций, соответствующих требованиям 5.2.4.3, описаны в [2], ГОСТ 31352, [8] - [10].

G.1.3 В конструкциях, описанных в ГОСТ 31352, плавное изменение профиля в поперечном сечении воздуховода аппроксимирует экспоненциальный или катеноидальный рупор. Последний обеспечивает несколько лучшие характеристики, чем экспоненциальный рупор. В наиболее эффективных концевых поглощающих устройствах часть рупора заполняют поглощающим материалом, чтобы обеспечить ослабление шума механизмов, устанавливаемых вслед за рупором по направлению потока. Подробные технические характеристики этих рупоров и влияние различных конструктивных особенностей на их эффективность приведены в [8] и [10].

Необязательно строго выдерживать экспоненциальный или катеноидальный профиль. Допускается аппроксимация этих профилей экспоненциальными или конусными секциями и ступенчатыми концевыми поглощающими устройствами, показанными на рисунке G.1.

G.1.4 Для того чтобы входное отверстие концевого поглощающего устройства и выходное отверстие воздуховода образовали гладкий переход, их внутренние диаметры в месте соединения должны быть равны, как показано на рисунке G.1. Некоторые размеры концевого поглощающего устройства приведены в масштабе внутреннего диаметра d испытательного воздуховода.

Не следует изменять соотношение диаметров вне установленных пределов, поскольку это может изменить отношение длины волны к размерам.

Внешняя оболочка оконечного устройства может быть сделана из любого материала достаточной прочности, позволяющего сохранять его размеры.

В концевом поглощающем устройстве, показанном на рисунке G.1, аэродинамический просвет рупора определяется внутренней оболочкой, выполненной из перфорированного металлического листа с коэффициентом перфорации около 35 %. Объем между перфорированным листом и цилиндрической секцией оболочки рупора заполняется пористым звукопоглощающим материалом.

1 - пористый звукопоглощающий материал; 2 - устройство измерения параметров потока

Рисунок G.1 - Пример концевого поглощающего устройства

G.2 Оценка характеристик

G.2.1 В настоящем разделе приводится пример определения коэффициента отражения по давлению. Коэффициент отражения по давлению r вычисляется по формуле (В.1) по измеренной разности ΔL между максимальным и минимальным уровнями звукового давления образующейся в воздуховоде в стоячей волне в результате интерференции падающей и отраженной плоских волн на каждой среднегеометрической полосе частот.

G.2.2 Рекомендуется измерять коэффициент отражения по давлению от 50 Гц до частоты fC возникновения первой поперечной моды, определяемой формулами (4) и (5).

Примечание - Только для частот ниже fC можно гарантировать существование в воздуховоде плоских волн.

G.2.3 Методика оценки характеристик концевого поглощающего устройства приведена в G.2.3.1 - G.2.3.7.

G.2.3.1 После присоединения испытательного воздуховода к концевому поглощающему устройству устанавливают высококачественный громкоговоритель на панели, которая перекрывает входное отверстие испытательного воздуховода.

G.2.3.2 Подготавливают устройство для перемещения микрофона вдоль всей длины центральной линии измерительного воздуховода.

G.2.3.3 Сигнал чистого тона от генератора звуковой частоты подают на громкоговоритель (при необходимости через усилитель) на центральной частоте выбранной третьоктавной полосы.

G.2.3.4 Сигнал микрофона фильтруют через узкополосный фильтр или третьоктавный анализатор и записывают его с помощью графического самописца уровня.

Если графический самописец уровня отсутствует, то допускается ручная запись максимальных и минимальных значений уровней звукового давления.

G.2.3.5 Перемещают микрофон вдоль оси измерительного воздуховода и определяют разность между максимальным и минимальным уровнями звукового давления DL на выходе графического самописца уровня.

G.2.3.6 Коэффициент отражения г вычисляют по формуле (В.1) и сравнивают его со значениями, приведенными в 5.2.4.3.

G.2.3.7 Повторяют шаги с G.2.3.3 до G.2.3.5 для всех среднегеометрических частот третьоктавных полос от 50 Гц и до fC.

G.2.3.8 Если концевое поглощающее устройство оснащено устройствами регулировки расхода, повторяют шаг G.2.3.7 при положении задвижки, обеспечивающем наибольший расход, а затем - при положении, дающем наименьший расход.

Приложение Н
(справочное)

Примеры конструкции испытательных установок

Примеры приведены на рисунках Н.1 и Н.2.

1 - модуль громкоговорителя; 2 - испытательный воздуховод перед испытуемым объектом; 3 - переходные элементы;
- испытуемый объект; 4
b - замещающий воздуховод; 5 - испытательный воздуховод за испытуемым объектом;
6 - передающий элемент (вместе с 7 как альтернатива 10); 7 - реверберационное помещение (вместе с 6 как альтернатива 10);
8 - положения микрофона позади испытуемого объекта (как альтернатива 9);
9 - положения микрофона в реверберационном помещении (как альтернатива 8);
10 - концевое поглощающее устройство (как альтернатива 6 и 7); 11 - положения микрофона

Рисунок Н.1 - Примеры конфигурации испытательной установки для измерений вносимых потерь без потока

а) Испытательная установка для измерений в воздуховоде

b) Испытательная установка с использованием реверберационного помещения

1 - модуль громкоговорителя в камере источника; 2 - испытательный воздуховод перед испытуемым объектом;
3 - переходные элементы; - испытуемый объект; 4
b - замещающий воздуховод; 5 - испытательный воздуховод
за испытуемым объектом; 6 - передающий элемент, используемый также как диффузор потока; 7 - реверберационное
помещение; 8 - защищенный от потока микрофон (как альтернатива 9); 9 - положения микрофона в реверберационном
помещении (как альтернатива 8); 10 - вентилятор (устанавливается для создания прямого и обратного потока
относительно направления распространения звука); 11 - глушители вентилятора; 12 - эластичные секции воздуховода;
13 - виброизоляция; 14 - сопло для измерения расхода (альтернативы: диафрагма или насадка Вентури);
15 - концевое поглощающее устройство; 16 - измеритель статического давления

Рисунок Н.2 - Примеры конфигурации испытательной установки для измерения вносимых потерь
с потоком и/или потоковым шумом

Приложение J
(справочное)

Перечень технических отклонений настоящего стандарта от примененного в нем
международного стандарта ИСО 7535:2003

Таблица J.1

Раздел, подраздел, пункт, таблица, приложение

Модификация

1 Область применения

Ссылка на ИСО 1 1820 заменена ссылкой на ГОСТ 31324.

Ссылка на ИСО 5135 заменена ссылкой на ГОСТ 31338.

Ссылка на ЕН 12238, ЕН 12239 и ЕН 12589 заменена ссылкой на пункты [1] - [3] структурного элемента «Библиография»

2 Нормативные ссылки

Ссылка на «ИСО 5167-1 Измерение характеристик потока жидкости с использованием приборов для измерения перепада давления, помещенных в заполненные трубопроводы круглого сечения. Часть 1. Общие принципы и требования» заменена ссылкой на «ГОСТ 8.586.1-2005 (ИСО 5167-1- 2003)1) ГСП. Измерение расхода и количества жидкостей и газов с помощью стандартных сужающих устройств. Часть 1. Принцип метода измерений и общие требования».

Ссылка на «МЭК 61260 Электроакустика. Фильтры октавные и на часть октавы» заменена ссылкой на «ГОСТ 17168 - 822 Фильтры электронные октавные и третьоктавные. Общие технические требования и методы испытаний».

Ссылка на «МЭК 60651:2001 Электроакустика. Шумомеры» заменена ссылкой на «ГОСТ 17187-812) Шумомеры. Общие технические требования и методы испытаний».

Ссылка на «ИСО 9614-3 Акустика. Определение уровней звуковой мощности источников шума по интенсивности звука. Часть 3. Точный метод для измерений сканированием» заменена ссылкой на «ГОСТ 30457.3-2006 (ИСО 9614-3:2002)1) Акустика. Определение уровней звуковой мощности источников шума по интенсивности звука. Часть 3. Точный метод для измерений сканированием».

Ссылка на «ИСО 3741:1999 Акустика. Определение уровней звуковой мощности по звуковому давлению. Точные методы для реверберационных камер» заменена ссылкой на «ГОСТ 31274-2004 (ИСО 3741:1999)1) Шум машин. Определение уровней звуковой мощности по звуковому давлению. Точные методы для реверберационных камер».

Ссылка на «ИСО 3746» Акустика. Определение уровней звуковой мощности источников шума по звуковому давлению. Ориентировочный метод с использованием измерительной поверхности над звукоотражающей плоскостью» заменена ссылкой на «ГОСТ 31277-2002 (ИСО 3746:1995)1) Шум машин. Определение уровней звуковой мощности источников шума по звуковому давлению. Ориентировочный метод с использованием измерительной поверхности над звукоотражающей плоскостью».

Дополнить ссылкой на «ГОСТ 31324-2006 (ИСО 11820:1996) Шум. Определение характеристик глушителей при испытаниях на месте установки»3).

Дополнить ссылкой на «ГОСТ 31328-2006 (ИСО 14163:1998) Шум. Руководство по снижению шума глушителями»3).

Дополнить ссылкой на «ГОСТ 31338-2006 (ИСО 5135:1997) Акустика. Определение уровней звуковой мощности воздухораспределительного оборудования, демпферов и клапанов в реверберационном помещении»3).

Дополнить ссылкой на «ГОСТ 31352-2007 (ИСО 5136:2003) Шум машин. Определение звуковой мощности, излучаемой в воздуховод вентиляторами и другими устройствами перемещения воздуха, методом измерительного воздуховода»3).

Ссылка на «МЭК 60804:2000 Электроакустика. Интегрирующие шумомеры» исключена в связи с заменой на «МЭК 61672-1:2002 Электроакустика. Шумомеры. Часть 1. Технические требования», ссылка на который помещена в структурный элемент «Библиография» под номером [4].

Ссылка на «ИСО 5221:1984 Распределение и диффузия воздуха. Правила и методы измерения параметров воздушного потока в воздуховоде» исключена и помещена в структурный элемент «Библиография» под номером [5].

Ссылка на «МЭК 60942:1997 Электроакустика. Акустические калибраторы» исключена и помещена в структурный элемент «Библиография» под номером [6].

3 Термины, определения и обозначения

Определения терминов 3.1, 3.2, содержащие более одной фразы, отредактированы в виде одной фразы. Исключенный текст оформлен в виде дополнительных примечаний.

Нумерация примечаний приведена в соответствие с требованиями ГОСТ 1.5-2001.

Исключены примечания, содержащие ссылки на международные стандарты, из которых заимствованы определения терминов.

Исключены примечания, указывающие единицы измерения величин. Обозначения единиц измерения включены в определение термина.

3.9

Дополнить: примечание «2 Переходные элементы называют еще диффузорами и конфузорами».

3.11

Дополнить: «Примечание - Передающий элемент обычно изготовляют в виде рупора, обращенного широким сечением в сторону реверберационного помещения».

3.14

Дополнить: «Примечание - Далее в стандарте для определенности используется термин «потоковый шум», в то время как в ИСО 7235 оба указанных выше в скобках термина применяются всегда одновременно. Как правило, последний термин применяют, если генерируемый потоком шум имеет тональный характер»

4 Символы и обозначения

Добавить сноску в таблице 1 к наименованию величины «граничная частота воздуховода»: «Граничная частота определяется как наименьшая частота, при которой в воздуховоде могут распространяться моды звуковой волны, отличные от основной (нулевой) моды»

5.4.2.2

Исключить фразы4):

«Средства измерения характеристик потока могут калиброваться с помощью трубки Пито в соответствии с ИСО 3966»;

«Средства измерения характеристик потока должны калиброваться через соответствующие интервалы времени, не превышающие 12 месяцев»

Библиография

Исключены источники, на которые отсутствуют ссылки в тексте стандарта. Источники расположены в порядке упоминания

1) Степень соответствия - MOD.

2) Степень соответствия - NEQ.

3) Ссылки добавлены при одновременном исключении из структурного элемента «Библиография» международных стандартов, на основе которых разработаны соответствующие межгосударственные стандарты.

4) Фразы исключены в связи с тем, что требования к методам и срокам калибровки средств измерений характеристик потока определяются стандартами ГСИ.

Библиография

[1] EH 12238:2001

Вентиляция зданий. Воздухораспределительные устройства. Аэродинамические испытания и оценка применения для вентиляции по типу смешиваемых потоков

(EN 12238:2001)

(Ventilation for buildings - Air terminal devices - Aerodynamic testing and rating for mixed flow application)

[2] EH 12239:2001

Вентиляция зданий. Воздухораспределительные устройства. Аэродинамическое испытание и оценка применения для вентиляции замещающего типа

(EN 12239:2001)

(Ventilation for buildings - Air terminal devices - Aerodynamic testing and rating for displacement flow applications)

[3] EH 12589:2001

Вентиляция зданий. Воздухораспределительные устройства. Аэродинамические испытания и оценка воздухораспределительных систем с постоянным и переменным расходом воздуха

(EN 12589:2001)

(Ventilation for buildings - Air terminal units - Aerodynamic testing and rating of constant and variable rate terminal units)

[4] IEC 61672-1:2002

Электроакустика. Шумомеры. Часть 1. Технические требования

(IEC 61672-1:2002)

Electroacoustics - Sound level meters - Part 1: Specifications

[5] ИСО 5221:1984

Распределение и диффузия воздуха. Правила и методы измерения параметров воздушного потока в воздуховоде

(ISO 5221:1984)

(Air distribution and air diffusion - Rules to methods of measuring airflow rate in an air handling duct)

[6] МЭК 60942:1998

Электроакустика. Акустические калибраторы

(IEC 60942:1998)

(Electroacoustics - Sound calibrators)

[7] Nordtest NT ACOU 105:2000-04

Air terminal devices - Acoustic transmission loss

[8] BOLTON, A.N. and MARGETTS, E.J. Anechoic terminations for in-duct fan noise measurements. International Conference on Fan Design and Applications, Guildford, England, Sept. 7 - 9, 1982, pp. 311 - 325

[9] Nordtest NT ACOU 095:96

Ducted silencers: Transmission loss, transfer function

[10] SHENODA, F.B. Reflexionsarme Abschlusse für durchströmte Kanäle. Akustik und Schwingungstechnik, VDE-Verlag GmbH, Berlin, 1972, p. 269

 

Ключевые слова: вносимые потери глушителя, снижение полного давления, измерительный воздуховод, уровень звуковой мощности, система вентиляции, уровень мощности потокового шума, реверберационное помещение, потери полного давления

 



© 2013 Ёшкин Кот :-)