Информационная система
«Ёшкин Кот»

XXXecatmenu

ФЕДЕРАЛЬНОЕ АГЕНТСТВО
ПО ТЕХНИЧЕСКОМУ РЕГУЛИРОВАНИЮ И МЕТРОЛОГИИ

НАЦИОНАЛЬНЫЙ
СТАНДАРТ
РОССИЙСКОЙ
ФЕДЕРАЦИИ

ГОСТ Р
52895-
2007
(ИСО 8579-1:2002)

Шум машин

ПРИЕМОЧНЫЕ ИСПЫТАНИЯ
ЗУБЧАТЫХ РЕДУКТОРОВ НА ШУМ

ISO 8579-1:2002
Acceptance code for gear units -
Part 1: Test code for airborne sound
(MOD)

Предисловие

Цели и принципы стандартизации в Российской Федерации установлены Федеральным законом от 27 декабря 2002 г. № 184-ФЗ «О техническом регулировании», а правила применения национальных стандартов Российской Федерации - ГОСТ Р 1.0-2004 «Стандартизация в Российской Федерации. Основные положения»

Сведения о стандарте

1 ПОДГОТОВЛЕН Открытым акционерным обществом «Научно-исследовательский центр контроля и диагностики технических систем» (ОАО «НИЦ КД») на основе собственного аутентичного перевода стандарта, указанного в пункте 4

2 ВНЕСЕН Техническим комитетом по стандартизации ТК 358 «Акустика»

3 УТВЕРЖДЕН И ВВЕДЕН В ДЕЙСТВИЕ Приказом Федерального агентства по техническому регулированию и метрологии от 27 декабря 2007 г. № 589-ст

4 Настоящий стандарт является модифицированным по отношению к международному стандарту ИСО 8579-1:2002 «Приемочные испытания редукторов. Часть 1. Испытания на шум» (ISO 8579-1:2002 «Acceptance code for gear units - Part 1: Test code for airborne sound») путем изменения отдельных фраз, которые выделены курсивом, и внесения технических отклонений, объяснение которых приведено в дополнительном приложении Е.

Наименование настоящего стандарта изменено для приведения в соответствие с ГОСТ Р 1.5-2004 (подраздел 3.5)

5 ВВЕДЕН ВПЕРВЫЕ

Информация об изменениях к настоящему стандарту публикуется в ежегодно издаваемом информационном указателе «Национальные стандарты», а текст изменений и поправок - в ежемесячно издаваемых информационных указателях «Национальные стандарты». В случае пересмотра (замены) или отмены настоящего стандарта соответствующее уведомление будет опубликовано в ежемесячно издаваемом информационном указателе «Национальные стандарты». Соответствующая информация, уведомление и тексты размещаются также в информационной системе общего пользования - на официальном сайте Федерального агентства по техническому регулированию и метрологии в сети Интернет

СОДЕРЖАНИЕ

1 Область применения. 2

2 Нормативные ссылки. 2

3 Термины и определения. 2

4 Типы редукторов и акустические условия. 2

5 Определение уровня звуковой мощности. 3

6 Определение уровня звука излучения. 10

7 Установка и монтаж.. 10

8 Режим работы.. 10

9 Регистрируемая информация. 11

10 Протокол испытаний. 11

11 Заявление и подтверждение значений шумовых характеристик. 11

Приложение А (рекомендуемое) Примеры размещения микрофонов на измерительной поверхности для редукторов различных типов и размеров. 11

Приложение В (рекомендуемое) Типичные уровни шума редукторов различных типов и размеров (корректированный по А уровень звуковой мощности и уровень звука излучения) 15

Приложение С (справочное) Сведения о методах определения уровней звуковой мощности на основе ГОСТ Р 51401 и ГОСТ Р 51402. 23

Приложение D (справочное) Сведения о соответствии ссылочных международных стандартов национальным стандартам Российской Федерации, использованным в настоящем стандарте в качестве нормативных ссылок. 28

Приложение Е (справочное) Отличия настоящего стандарта от примененного в нем международного стандарта ИСО 8579-1:2002. 28

Библиография. 29

ГОСТ Р 52895-2007
(ИСО 8579-1:2002)

национальный стандарт российской федерации

Шум машин

ПРИЕМОЧНЫЕ ИСПЫТАНИЯ ЗУБЧАТЫХ РЕДУКТОРОВ НА ШУМ

Noise of machines. Acceptance test code of gear units for airborne sound

Дата введения - 2008-07-01

1 Область применения

Настоящий стандарт устанавливает методы определения шума зубчатых редукторов и мотор-редукторов, указанных в разделе 4.

Шум характеризуют уровнями звука излучения в заданных контрольных точках и уровнем звуковой мощности. Определение этих величин необходимо:

a) изготовителям редукторов (мотор-редукторов) для заявления значений шумовых характеристик;

b) для сравнения шума редукторов (мотор-редукторов) при функционировании;

c) для контроля шума при изготовлении редукторов (мотор-редукторов).

Допускаются измерения шума техническим (степень точности 2) и ориентировочным (степень точности 3) методами.

2 Нормативные ссылки

В настоящем стандарте использованы нормативные ссылки на следующие стандарты:

ГОСТ Р 51400-99 (ИСО 3743-1-94, ИСО 3743-2-94) Шум машин. Определение уровней звуковой мощности источников шума по звуковому давлению. Технические методы для малых переносных источников шума в реверберационных полях в помещениях с жесткими стенами и в специальных реверберационных камерах

ГОСТ Р 51401-99 (ИСО 3744-94) Шум машин. Определение уровней звуковой мощности источников шума по звуковому давлению. Технический метод в существенно свободном звуковом поле над звукоотражающей плоскостью

ГОСТ Р 51402-99 (ИСО 3746-95) Шум машин. Определение уровней звуковой мощности источников шума по звуковому давлению. Ориентировочный метод с использованием измерительной поверхности над звукоотражающей плоскостью

ГОСТ 27243-2005 (ИСО 3747:2000) Шум машин. Определение уровней звуковой мощности по звуковому давлению. Метод сравнения на месте установки

ГОСТ 30457-97 (ИСО 9614-1-93) Акустика. Определение уровней звуковой мощности источников шума на основе интенсивности звука. Измерение в дискретных точках. Технический метод

ГОСТ 30691-2001 (ИСО 4871-96) Шум машин. Заявление и контроль значений шумовых характеристик

ГОСТ 30720-2001 (ИСО 11203-95) Шум машин. Определение уровней звукового давления излучения на рабочем месте и в других контрольных точках по уровню звуковой мощности

ГОСТ 31171-2003 (ИСО 11200:1995) Шум машин. Руководство по выбору метода определения уровней звукового давления излучения на рабочем месте и в других контрольных точках

ГОСТ 31252-2004 (ИСО 3740:2000) Шум машин. Руководство по выбору метода определения уровней звуковой мощности

Примечание - При пользовании настоящим стандартом целесообразно проверить действие ссылочных стандартов в информационной системе общего пользования - на официальном сайте Федерального агентства по техническому регулированию и метрологии в сети Интернет или по ежегодно издаваемому информационному указателю «Национальные стандарты», который опубликован по состоянию на 1 января текущего года, и по соответствующим ежемесячно издаваемым информационным указателям, опубликованным в текущем году. Если ссылочный стандарт заменен (изменен), то при пользовании настоящим стандартом следует руководствоваться заменяющим (измененным) стандартом. Если ссылочный стандарт отменен без замены, то положение, в котором дана ссылка на него, применяется в части, не затрагивающей эту ссылку.

3 Термины и определения

В настоящем стандарте применены термины по ГОСТ 30457, ГОСТ 30691 и ГОСТ 31252 (приложение 7).

4 Типы редукторов и акустические условия

4.1 Типы редукторов

Настоящий стандарт распространяется на редукторы и мотор-редукторы общемашиностроительного применения с цилиндрическими, коническими и червячными передачами:

a) редукторы, исключая привод или систему привода;

b) мотор-редукторы (двигатель объединен с редуктором);

c) редукторы с приводом (двигатель или устройство привода установлены на общее основание с другим требуемым вспомогательным оборудованием).

Потребитель и изготовитель должны иметь договоренность о том, какой шум подлежит измерению: устройства в целом или только редуктора.

Устройства защиты: ограждения карданного вала или муфты, звукоизолирующие кожухи (если предусмотрены), - должны быть установлены при испытаниях на шум.

4.2 Акустические условия

Настоящий стандарт допускает проводить испытания на шум редуктора (мотор-редуктора) каждого типа при акустических условиях, обеспечиваемых:

- в специальных установках, предназначенных для акустических измерений (7.2.2);

- на испытательном стенде в цехе (7.2.3);

- на месте эксплуатации (7.2.4).

5 Определение уровня звуковой мощности

5.1 Общие положения

Если не установлено иное, то определяют корректированный по частотной характеристике А шумомера (далее - корректированный по А) уровень звуковой мощности путем испытаний на испытательном стенде изготовителя и выбранным им методом.

5.2 Методы

При выборе метода определения уровня звуковой мощности принимают во внимание его степень точности и неопределенность измерений, указываемые в соответствующем стандарте.

Пример - Стандартное отклонение воспроизводимости s, характеризующее неопределенность измерений техническим методом, указано в таблице 1.

Таблица 1 - Неопределенность определения уровней звуковой мощности по ГОСТ 30457

Среднегеометрическая частота, Гц

Стандартное отклонение воспроизводимости s, дБ (дБА)

октавной полосы

третьоктавной полосы

Технический метод (степень точности 2)

Ориентировочный метод (степень точности 3)

От 63 до 125

От 50 до 160

3

-

250

От 200 до 315

2

-

От 500 до 4000

От 400 до 5000

1,5

-

-

6300

2,5

-

Корректированный по А уровень звуковой мощности1)

-

1,52)

4

1) В диапазоне частот, соответствующем октавным полосам от 63 до 400 Гц или третьоктавным полосам от 50 до 6300 Гц.

2) Действительное значение коррективного по А уровня звуковой мощности с вероятностью 95 % лежит в интервале ± 3 дБА от измеренного значения.

Примечание – Указанная оценка для коррективного по А уровня звуковой мощности недействительна, если уровень звуковой мощности в диапазоне
частот вне третьоктавных полос от 400 до 5000 Гц выше уровня звуковой мощности в этом диапазоне. В этом случае используют оценки только
в полосах частот.

Предпочтительны технические методы определения уровня звуковой мощности по ГОСТ 30457, ГОСТ Р 51400 (метод сравнения в гулком помещении), ГОСТ Р 51401 или [1].

Если технические методы неприменимы, то измерения проводят ориентировочными методами по ГОСТ 30457, ГОСТ Р 51402 или [1].

Если ни один из указанных методов неприменим, то может быть применен метод по [2].

Выбирают стандарт на метод определения уровня звуковой мощности редукторов (мотор-редукторов) в соответствии с таблицами 2 и 3. Таблица 2 относится к измерению шума редукторов и редукторов с приводом. В последнем случае измерение шума непосредственно редукторов является более трудоемким. Таблица 3 соответствует относительно более простым измерениям шума мотор-редукторов как компактной конструкции, когда не требуется определять отдельно шум редуктора и двигателя. Под термином «мотор-редуктор» также подразумевают иные компактные механизмы, шум составных частей которых не может быть определен по отдельности. К таким механизмам могут быть отнесены редуктор, сочлененный с генератором, и гидромотор.

Примечание - Указанные в таблицах 2 и 3 стандарты применительно к настоящему стандарту имеют следующие особенности (полная характеристика дана в ГОСТ 31252):

ГОСТ 27243 устанавливает технический или ориентировочный метод определения (с использованием образцового источника шума) уровней звуковой мощности в октавных полосах частот и корректированного по А уровня звуковой мощности преимущественно стационарных машин непосредственно на месте их установки в производственном помещении с относительно низким уровнем фонового шума. Измерения проводят в октавных полосах частот, по результатам которых рассчитывают корректированный по А уровень звуковой мощности.

ГОСТ Р 51400 устанавливает метод измерений с использованием образцового источника шума в помещении с акустически жесткими стенами при низком уровне фонового шума. Измерения проводят в октавных полосах частот, по результатам которых рассчитывают корректированный по А уровень звуковой мощности.

ГОСТ Р 51401 устанавливает метод измерений в существенно свободном звуковом поле над звукоотражающей плоскостью при низком уровне фонового шума. Корректированный по А уровень звуковой мощности рассчитывают по измеренным уровням звука или октавным или третьоктавным уровням звукового давления.

ГОСТ Р 51402 менее требователен к звуковому полю, чем ГОСТ Р 51401. Корректированный по А уровень звуковой мощности рассчитывают по измеренным уровням звука.

ГОСТ 30457 и [1] могут быть применены для измерений в любом испытательном пространстве, в том числе при наличии значительной реверберации и посторонних источников шума. Корректированный по А уровень звуковой мощности или уровни звуковой мощности в октавных полосах частот рассчитывают по результатам измерений уровней нормальной составляющей интенсивности звука. По ГОСТ 30457 измерения выполняют в дискретных точках, число которых значительно больше, чем в соответствии с методами, основанными на измерениях уровней звукового давления. По [1] измерения проводят сканированием по измерительной поверхности (общей или по частям в зависимости от конфигурации испытуемой машины), что требует меньшего времени, чем при измерениях по дискретным точкам.

Метод по [2] основан на измерениях виброскорости в точках на поверхности корпуса редуктора или мотор-редуктора. Он обеспечивает оценку корректированного по А уровня звуковой мощности или уровней звуковой мощности в октавных (третьоктавных) полосах частот.

Таблица 2 - Выбор стандарта для определения уровня звуковой мощности редуктора и редуктора с приводом

Испытательное пространство

Метод измерений

Стандарт для определения уровня звуковой мощности

Входная мощность редуктора или мощность привода, кВт

От 0,1 до 10

Св. 10 до 300

Св. 300

Специальная установка для акустических измерений1), 2)

Технический (степень точности 2)

ГОСТ Р 514013), 4)

ГОСТ 30457 и [1]

ГОСТ 30457 и [1]

ГОСТ Р 514005)

ГОСТ Р 514013)

 

ГОСТ 30457 и [1]

 

 

Испытательный стенд в цехе1)

Технический

ГОСТ 304572) и [1]2)

Испытания не проводят

Ориентировочный (степень точности 3)

ГОСТ 30457 и [1]

ГОСТ 30457 и [1]

ГОСТ Р 514026)

На месте эксплуатации

Технический

ГОСТ 304572), 6) и [1]2), 6)

Испытания не проводят

ГОСТ 27243

Ориентировочный

ГОСТ 304576) и [1]4)

ГОСТ 304576) и [1]6)

ГОСТ Р 514024), 6)

[2]7)

ГОСТ 27243

ГОСТ 27243

1) Не всегда возможно провести испытания при входной мощности, необходимой по условиям эксплуатации.

2) Слишком большие размеры редуктора могут не позволить довести измерения в полном соответствии со стандартом.

3) Обычно требуется заглушённая акустическая камера со звукоотражающим полом.

4) При слишком близком расположении привода к редуктору измерения шума редуктора могут оказаться невыполнимыми из-за невозможности построения необходимой измерительной поверхности.

5) Обычно требуется реверберационное помещение.

6) Фоновый шум может быть слишком велик, что не позволит правильно выполнить измерения.

7) Затраты времени для проведения измерений могут оказаться слишком велики.

Примечания

1 Полужирным шрифтом выделены предпочтительные стандарты, применение которых возможно при любых обстоятельствах.

2 Для каждой ситуации выбор стандарта проводят в порядке перечисления.

Таблица 3 - Выбор стандарта для определения уровня звуковой мощности мотор-редуктора

Испытательное пространство

Метод измерений

Стандарт для определения уровня звуковой мощности

Номинальная мощность мотор-редуктора, кВт

От 0,1 до 300

Св. 300

Специальная установка для акустических измерений1), 2)

Технический (степень точности 2)

ГОСТ Р 514013)

ГОСТ 30457 и [1]

ГОСТ 30457 и [1]

ГОСТ Р 514013)

Испытательный стенд в цехе1)

Технический

ГОСТ Р 514013)

ГОСТ 304572) и [1]2)

ГОСТ 30457 и [1]

 

Ориентировочный (степень точности 3)

ГОСТ Р 514024)

ГОСТ 304572) и [1]2)

На месте эксплуатации2)

Технический

ГОСТ 30457 и [1]

ГОСТ 30457 и [1]

ГОСТ Р 514015)

ГОСТ 27243

ГОСТ 27243

 

Ориентировочный

ГОСТ Р 514025)

ГОСТ 30457 и [1]

ГОСТ 30457 и [1]

ГОСТ Р 514025)

ГОСТ 27243

ГОСТ 27243

1) Не всегда возможно провести испытания при входной мощности, необходимой по условиям эксплуатации.

2) Слишком большие размеры редуктора могут не позволить провести измерения в полном соответствии со стандартом.

3) Обычно требуется заглушённая акустическая камера со звукоотражающим полом.

4) Обычно требуется реверберационное помещение.

5) Фоновый шум может быть слишком велик, что не позволит правильно выполнить измерения.

Примечания

1 Полужирным шрифтом выделены предпочтительные стандарты, применение которых возможно при любых обстоятельствах.

2 Для каждой ситуации выбор стандарта проводят в порядке перечисления.

5.3 Огибающий параллелепипед, измерительная поверхность, положения микрофонов и акустического зонда

5.3.1 Общие положения

Применяют ГОСТ 30457, ГОСТ Р 51401, ГОСТ Р 51402 или [1] в соответствии с 5.3.2 - 5.3.4.

5.3.2 Огибающий параллелепипед

Огибающий параллелепипед в общем случае представляет собой воображаемую поверхность простой формы минимального объема (параллелепипед), охватывающую зубчатый механизм, исключая вспомогательные элементы трансмиссии и привода. Огибающий параллелепипед для редуктора с приводом должен охватывать все устройство. Огибающий параллелепипед оканчивается на звукоотражающей плоскости (на твердом полу или на поверхности воды). Примеры огибающего параллелепипеда приведены на рисунках 1 - 3.

Примечание - Небольшие части испытуемого объекта, шум которых незначителен, в огибающий параллелепипед не включают.

5.3.3 Измерительная поверхность

Измерительная поверхность обычно охватывает огибающий параллелепипед на заданном расстоянии, называемом измерительным расстоянием d, которое зависит от примененного метода измерений и должно быть:

- по ГОСТ Р 51401 предпочтительно 1 м;

- по ГОСТ 30457 более 0,5 м;

- по [1] d ³ 0,2 м.

Типичные измерительные поверхности показаны на рисунках 1 - 3. Измерительная поверхность опирается на звукоотражающую плоскость. Измерительная поверхность оканчивается на звукоотражающей плоскости, которая лежит на расстоянии, меньшем или равном измерительному расстоянию d. Другие отражающие поверхности должны быть расположены на расстоянии не менее 2 d (см. рисунки 4 - 6).

1 - пол; 2 - редуктор; 3 - огибающий параллелепипед; 4 - измерительная поверхность;
5 - двигатель; 6 - нагрузочное устройство

Рисунок 1 - Огибающий параллелепипед и измерительная
поверхность для редуктора

1 - пол; 2 - редуктор; 3 - огибающий параллелепипед;
4 - измерительная поверхность; 5 - нагрузочное устройство

Рисунок 2 - Огибающий параллелепипед и измерительная
поверхность для редуктора с приводом

1 - пол; 2 - редуктор; 3 - огибающий параллелепипед;
4 - измерительная поверхность

Рисунок 3 - Огибающий параллелепипед
и измерительная поверхность для мотор-редуктора

5.3.4 Положения микрофонов и акустического зонда

Положения микрофонов и акустического зонда должны соответствовать требованиям стандарта, примененного для измерений.

Типичные положения микрофонов для измерения звукового давления показаны на рисунках 4 - 11. Положения акустического зонда и расстояние d при измерениях по ГОСТ 30457 и [1] могут отличаться от указанных на рисунках 4 - 11.

Следует тщательно выбирать положения микрофонов и акустического зонда относительно редуктора, чтобы они соответствовали его конструкции, и относительно стен или звукоотражающих поверхностей. В противном случае найденная звуковая мощность может отличаться от действительной.

Примеры возможного положения микрофонов для редукторов и мотор-редукторов различных типов и размеров приведены в приложении А.

1 - решетчатый настил

Рисунок 4 - Примеры установки редуктора на полу и у стены

1 - огибающий параллелепипед; 2 - измерительная поверхность

Рисунок 5 - Точки измерений для рисунка 4

1 - решетчатый настил

Рисунок 6 - Примеры установки редуктора на полу и вблизи стены

1 - огибающий параллелепипед; 2 - измерительная поверхность

Рисунок 7 - Точки измерений для рисунка 6

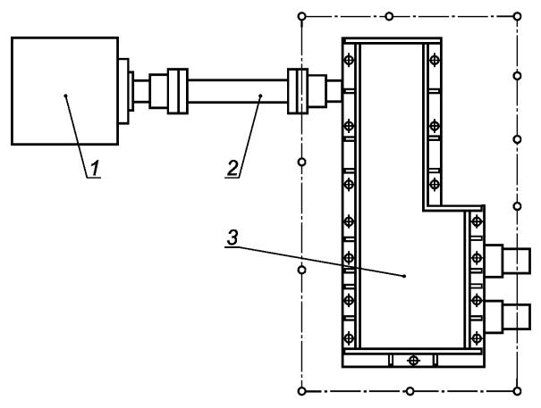
Рисунок 8 - Пример редуктора, установленного в колодце с акустически
жесткими звукоотражающими стенками

1 - огибающий параллелепипед; 2 - измерительная поверхность

Рисунок 9 - Точки измерений для рисунка 8

Рисунок 10 - Пример редуктора, установленного на большом расстоянии
от звукоотражающей поверхности

1 - огибающий параллелепипед; 2 - измерительная поверхность

Рисунок 11 - Точки измерений для рисунка 10

5.4 Неопределенность измерений

Неопределенность измерений соответствует установленной примененным стандартом.

Примечание - Результаты измерений могут быть искажены влиянием условий измерений (вибрацией, электрическим и магнитным полями, ветром или газовым потоком, ненормальной температурой и т.д.).

6 Определение уровня звука излучения

6.1 Основной стандарт

Уровень звука излучения на рабочем месте (см. 6.2) определяют по ГОСТ 30720 (метод с рассчитываемым значением величины Q2, определяющей связь уровня звука излучения с корректированным по А уровнем звуковой мощности), который позволяет рассчитать средний на измерительной поверхности (см. 5.3.3) уровень звука излучения по известному корректированному по А уровню звуковой мощности. Если значение Q2 не может быть определено, то метод измерения уровня звука излучения выбирают по ГОСТ 31171.

6.2 Рабочее место

Если рабочее место у редуктора отсутствует, то в качестве условного рабочего места принимают точку на расстоянии 1 м от огибающего параллелепипеда по 5.3.2.

7 Установка и монтаж

7.1 Степень точности измерений

Степень точности измерений зависит от условий установки и монтажа испытуемого объекта. Для обеспечения одинаковой степени точности требования к условиям измерений интенсивности звука менее жесткие, чем к условиям измерений уровней звукового давления, так как метод звуковой интенсиметрии позволяет значительно снизить влияние посторонних источников шума.

7.2 Акустические условия

7.2.1 Общие положения

Установка и монтаж редуктора зависят от акустических условий.

7.2.2 Испытательная установка для акустических измерений

Испытательная установка, предназначенная для акустических измерений, должна соответствовать следующим минимальным требованиям:

- иметь малошумные привод и тормозное устройство;

- не допускать образования стоячих звуковых волн;

- виброизолировать редуктор от опорной конструкции для предотвращения распространения звуковой вибрации;

- не иметь механических резонансов;

- в случае определения только шума редуктора иметь акустический экран или кожух для трансмиссии, тормозного устройства и приводного двигателя.

Установка, предназначенная для измерений техническим методом, может быть аттестована.

7.2.3 Испытательный стенд в цехе

Шум нагрузочного устройства, присоединяемого к редуктору, и шум вспомогательного оборудования не должны влиять на результаты измерений. Предпочтительно использовать малошумное нагрузочное устройство.

Должно быть предусмотрено:

- капотирование присоединяемых механизмов и устройств;

- сведение до минимума числа других работающих источников шума;

- экранирование на время испытаний приводного двигателя, трансмиссии и нагрузочного устройства;

- покрытие на время испытаний звукопоглощающим материалом звукоотражающих поверхностей.

7.2.4 На месте эксплуатации

Если возможно, то принимают следующие меры для улучшения акустических условий:

- сводят к минимуму число других работающих источников шума;

- на время испытаний экранируют приводной двигатель, трансмиссию и нагрузочное устройство;

- на время испытаний покрывают звукоизолирующим материалом звукоотражающие поверхности.

8 Режим работы

8.1 Общие положения

Если не установлено иное, то потребитель и изготовитель/продавец согласовывают условия испытаний по 8.2 - 8.4.

Если обычный рабочий режим не может быть установлен при испытаниях из-за ограничений по мощности или по другим причинам, то изготовитель и потребитель согласовывают условия испытаний с пониженной нагрузкой.

8.2 Условия испытаний

Соблюдают следующие условия испытаний:

- редуктор испытывают при вращении в рабочем направлении, а если он реверсивный, то в обоих направлениях;

- измерения проводят при работающей масляной системе и вязкости масла, как при эксплуатации;

- измерения проводят при рабочей температуре редуктора, соответствующей условиям эксплуатации.

8.3 Частота вращения

Редуктор испытывают при эксплуатационной частоте вращения.

Редуктор, предназначенный для работы при различных частотах вращения, испытывают в интервалах диапазона частот вращения, если договоренностью изготовителя и потребителя не установлено иное. В общем случае рекомендуется проводить испытания при частоте вращения, при которой шум максимален.

8.4 Рабочая нагрузка

Измерения проводят при номинальной или обусловленной соглашением нагрузке. Нагрузка может быть равна:

- номинальной;

- установленной по соглашению сторон (если она не совпадает с номинальной);

- номинальной при максимальном коэффициенте полезного действия.

Примечание - Если имеется договоренность о возможности испытаний на холостом ходу, то их проводят, если шум при нагрузке труднопереносим.

9 Регистрируемая информация

Регистрируют информацию, соответствующую требованиям примененного при испытаниях стандарта.

10 Протокол испытаний

В протокол испытаний включают данные, необходимые изготовителю для заявления значений шумовых характеристик или потребителю для подтверждения заявленных значений. Как минимум, в протокол испытаний включают следующие данные:

a) сведения, идентифицирующие редуктор;

b) технические характеристики редуктора;

c) ссылку на настоящий стандарт и стандарт, выбранный из числа допустимых настоящим стандартом. Если стандарт по испытаниям на шум редуктора рекомендует применить технический метод измерений, но применен ориентировочный метод, то приводят обоснование невозможности применить технический метод;

d) запись о том, что требования настоящего и примененного стандартов соблюдены полностью, кроме случая, когда согласно приложению С (С.3.1.4) измерения выполняют в единственной точке;

e) описание условий и режима работы, включая эскиз с указанием размеров испытательного помещения, положения редуктора, положения точек измерений, измерительные расстояния и результаты измерений по точкам (см. раздел 7);

f) перечень средств измерений и сведения о поверке;

g) уровень звука излучения или корректированный по A уровень звуковой мощности и, если требуется, уровни звуковой мощности в октавных полосах частот.

11 Заявление и подтверждение значений шумовых характеристик

Заявление значений шумовых характеристик является обязанностью изготовителя. Заявление оформляют по ГОСТ 30691.

Рекомендуется заявлять корректированный по A уровень звуковой мощности и уровень звука излучения на рабочем месте (см. 6.2). В заявлении необходимо указать, что значения шумовых характеристик получены в соответствии с настоящим стандартом и примененным стандартом по определению уровня звуковой мощности. Если требования стандартов не соблюдены, то в заявлении указывают отклонения от настоящего или примененного стандарта, или от обоих.

Рекомендуется применять метод заявления по ГОСТ 30691 (приложение А).

При подтверждении заявленных значений испытания проводят при тех же условиях, что при определении значений шумовых характеристик. Для подтверждения заявленных значений применяют метод контроля по единичной машине по ГОСТ 30691 (подраздел 6.2).

Дополнительно в заявлении могут быть указаны уровни звуковой мощности в октавных полосах частот и значения других измеренных величин, характеризующих шум. При этом во избежание недоразумений поясняют, что эти величины являются дополнительными и не относятся к заявленным.

Приложение А
(рекомендуемое)

Примеры размещения микрофонов на измерительной поверхности
для редукторов различных типов и размеров

1 - пол; 2 - редуктор; 3 - двигатель; 4 - нагрузочное устройство; ○ - точки измерений

Рисунок А.1 - Одноступенчатый цилиндрический редуктор

1 - пол; 2 - редуктор; 3 - двигатель; 4 - нагрузочное устройство;
○ - точки измерений

Рисунок А.2 - Трехступенчатый коническо-цилиндрический редуктор
для привода дробилки

1 - пол; 2 - редуктор; 3 - двигатель;
○ - точки измерений

Рисунок А.3 - Цилиндрический редуктор по развернутой схеме

1 - пол; 2 - мотор-редуктор;
○ - точки измерений

Рисунок А.4 - Цилиндрочервячный мотор-редуктор

1 - пол; 2 - первый редуктор; 3 - второй редуктор; 4 - двигатель;
○ - точки измерений

Рисунок А.5 - Быстроходный испытательный стенд замкнутого контура
для испытаний цилиндрических редукторов

1 - двигатель; 2 - муфта; 3 - испытуемый редуктор (смеситель для резиновых смесей);
○ - точки измерений (вид сверху)

Рисунок А.6 - Удобный цеховой стенд для измерений шума

1 - двигатель; 2 - смеситель; 3 - редуктор; 4 - система смазки;
○ - точки измерений (показаны положения акустического зонда для каждой части при виде сверху)

Рисунок А.7 - Типовая испытательная установка на месте эксплуатации
для определения уровней шума составных частей

1 - двигатель; 2 - редуктор; 3 - нагрузочное устройство; 4 - устройство контроля крутящего момента;
5 - звукопоглощающая стена; ○
- точки измерений

Рисунок А.8 - Схема специальной испытательной установки в заглушённой камере

1 - испытуемый редуктор; 2 - зубчатая муфта; 3 - отбалансированный карданный вал;
4 - повышающий редуктор; 5 - приводной двигатель; 6 - электронагружатель;
○ - точки измерений (показаны в поперечном сечении при малошумном повышающем редукторе)

Рисунок А.9 - Схема испытательного стенда с повышающим редуктором
(мультипликатором) и электронагружателем

Приложение В
(рекомендуемое)

Типичные уровни шума редукторов различных типов и размеров
(корректированный по А уровень звуковой мощности и уровень звука излучения)

B.1 Назначение

В настоящем приложении указаны типичные значения уровней шума закрытых редукторов.

Примечание - Уровень звуковой мощности и уровень звука излучения представляют собой различные величины и не подлежат сравнению.

B.2 Типичные уровни звука излучения

B.2.1 Общие положения

Источники шума редукторов с приводами значительны. Опыт измерений шума редукторов общемашиностроительного применения в условиях эксплуатации и при испытаниях показал, что уровни звука излучения зависят от частоты вращения и испытательной нагрузки. Уровни звука излучения могут быть получены по результатам испытаний одинаковых или сравнимых устройств, экстраполяцией по результатам измерений шума подобных устройств или обоими методами. Уровни звука излучения обычно не включают в себя шум приводимого в действие посредством редуктора оборудования или шум привода. Если редуктор установлен на месте эксплуатации, то прогнозирование или оценка его уровня звука излучения затруднены, так как редуктор является только частью акустической системы, которая, кроме редуктора, включает в себя приводной двигатель, приводимое в действие оборудование, монтажную арматуру и окружающие объекты в испытательном пространстве.

B.2.2 Типичные максимальные значения

Типичные максимальные значения уровней звука излучения представительных типов редукторов показаны на рисунках В.1 - В.7 (приведенные данные следует рассматривать как справочные). Линии максимальных уровней на рисунках В.1 - В.3 построены по результатам измерений, указанных на рисунках точками. Графики для мотор-редукторов на рисунке В.2 получены с учетом уровней шума электродвигателя.

а - типичный график максимальных значений; b - график средних значений

Рисунок В.1 - Типичные графики максимальных и средних уровней звука излучения
одно-, двух- и трехступенчатых редукторов без охлаждающего вентилятора в зависимости
от максимальной скорости по делительной окружности на холостом ходу
или при малой нагрузке

а - типичный максимум: мотор-редуктор (с закрытым охлаждаемым вентилятором двигателем, 1800 об/мин);
b - типичный максимум: мотор-редуктор (с каплезащищенным двигателем, 1800 об/мин);
с - типичный максимум: цилиндрический понижающий и повышающий редуктор по развернутой схеме (без двигателя);
d - среднее значение: цилиндрический понижающий и повышающий редуктор по развернутой схеме (без двигателя)

Рисунок В.2 - Типичные графики максимальных и средних уровней звука излучения мотор-редукторов,
понижающих и повышающих одно-, двух- и трехступенчатых редукторов без вентилятора на холостом ходу
или при малой нагрузке в зависимости от номинальной мощности

а - типичный график максимальных значений; b - график средних значений

Рисунок В.3 - Уровень звука излучения быстроходных косозубых и сдвоенных косозубых
одноступенчатых редукторов на расстоянии 0,9 м от корпуса на холостом ходу
или при малой нагрузке в зависимости от максимальной скорости по делительной окружности

Приращение уровня звука излучения определяют по формуле

а - типичный график максимальных значений; b - график средних значений

Рисунок В.4 - Приращение уровня звука излучения (DLpA) косозубого редуктора
относительно уровня звука излучения при частоте вращения входного вала 1750 об/мин

По опубликованным литературным данным приращение уровня звука излучения DLpA определяют по формуле DLpA = LpA,n - LpA,n = 0.

Р - передаваемая мощность, кВт; Pat - номинальная мощность, кВт

Рисунок В.5 - Приращение уровня звука излучения DLpA относительно уровня
на холостом ходу в зависимости от Р/Р
at

По данным изготовителя для косозубых, шевронных, конических передач с круговым зубом и червячных зубчатых передач приращение уровня звука излучения DLpA определяют по формуле DLpA = LpA,n - LpA,n = 0.

Р - передаваемая мощность, кВт; PR - номинальная мощность, кВт

Рисунок В.6 - Приращение уровня звука излучения DLpA относительно уровня
на холостом ходу в зависимости от Р/Р
R

а - типичный график максимальных значений; b - график средних значений

Рисунок В.7 - Уровень звука излучения одноступенчатого червячного редуктора
с охлаждающим вентилятором при частоте вращения входного вала 1750 об/мин
на расстоянии 1,5 м от корпуса на холостом ходу или при малой нагрузке
в зависимости от межцентрового расстояния

B.2.3 Влияние частоты вращения

Типичная зависимость уровней звука излучения от частоты вращения (в оборотах в минуту) показана на рисунке В.4.

B.2.4 Влияние нагрузки

Одним из параметров, наиболее сильно влияющих на уровень шума редуктора, является нагрузка. Во многих литературных источниках указано на возрастание уровня шума при возрастании нагрузки (см. рисунок В.5). Некоторые данные показывают, что уровень шума цилиндрического редуктора возрастает более чем на 20 дБА при работе под нагрузкой по сравнению с холостым ходом. Однако экспериментальные данные, собранные по всем редукторам общемашиностроительного применения, показывают, что не всегда шум возрастает с ростом нагрузки. В некоторых случаях наблюдается обратная картина, если профиль зубьев деформируется под действием нагрузки и рабочей температуры. Но до достижения некоторых предельных значений нагрузки и температуры зубчатое зацепление может оставаться шумным. Среднестатистическое возрастание уровня шума зубчатого механизма при полной нагрузке по сравнению с холостым ходом приблизительно равно 4 дБА (см. рисунок В.6 для косозубых, шевронных, спиральнозубых конических и червячных зубчатых передач).

Наблюдалось максимальное возрастание уровня шума при полной нагрузке по сравнению с холостым ходом на 12 дБА. Данные показывают, что приблизительно у 2/3 зубчатых механизмов шум возрастает с ростом нагрузки, приблизительно у 1/5 шум не возрастает с ростом нагрузки, а у остальной части шум снижается с ростом нагрузки.

У большинства закрытых редукторов среднее возрастание уровня шума составляет 4 дБА. Для подобных редукторов с приводом этой величиной можно руководствоваться при оценке ожидаемой разности уровней шума при испытаниях на цеховом стенде и при работе под нагрузкой в эксплуатации.

B.3 Типичные уровни звуковой мощности

Корректированные по А уровни звуковой мощности, определенные при приемочных испытаниях редукторов различных типов в зависимости от нагрузки, показаны на рисунках В.8 - В.12.

а - 80 %-ная линия. Эта параллельная линии регрессии линия показывает,
 что 80 % статистических данных по шуму редуктора лежат ниже нее

Тип: цилиндрические зубчатые передачи с внешним зацеплением со следующими преобладающими характеристиками (более чем у 80 %)

Корпус

Литой

Опоры

Подшипники качения

Смазка

Разбрызгиванием

Монтаж

На жесткой стальной плите или бетонном основании

Мощность

От 0,7 до 2400 кВт

Частота вращения входного вала (максимальная)

От 1000 до 5000 об/мин (преимущественно 1500 об/мин)

Скорость вращения по делительной окружности

От 1 до 20 м/с

Крутящий момент

От 100 до 200000 Н · м

Число ступеней

От 1 до 3

Сведения о зубчатой передаче

Косозубое зубчатое колесо (угол наклона зуба b = 10° - 30°) с наибольшей скоростью вращения закалено, финишное шлифование до степеней точности 5 - 8 по [4]

Рисунок В.8 - Корректированные по А уровни звуковой мощности
цилиндрических редукторов общемашиностроительного применения

а - 80 %-ная линия

Тип: цилиндрические зубчатые передачи с внешним зацеплением со следующими преобладающими характеристиками (более чем у 80 %)

Корпус

Литой

Опоры

Подшипники качения

Смазка

Система смазки с впрыском под давлением

Монтаж

На жесткой стальной плите или бетонном основании

Мощность

От 380 до 42000 кВт

Частота вращения входного вала (максимальная)

От 1000 до 12700 об/мин

Скорость вращения по делительной окружности

Более 35 м/с

Крутящий момент

От 3600 до 460200 Н · м

Число ступеней

От 1 до 2

Сведения о зубчатой передаче

Большинство косозубых зубчатых колес (b = 10° - 30°) с двумя венцами закалено, финишное шлифование до степеней точности от 3 до 5 по [4]

Рисунок В.9 - Корректированные по А уровни звуковой мощности
цилиндрических турбинных редукторов

а - 80 %-ная линия

Тип: конические и коническо-цилиндрические зубчатые передачи со следующими преобладающими характеристиками (более чем у 80 %)

Корпус

Литой и сварной

Опоры

Роликовые подшипники, шестерня на конических подшипниках

Смазка

Разбрызгиванием

Монтаж

На жесткой стальной плите или бетонном основании

Мощность

От 2 до 1800 кВт

Частота вращения входного вала (максимальная)

От 970 до 3000 об/мин

Скорость вращения по делительной окружности

От 2 до 24 м/с

Крутящий момент

От 3600 до 190000 Н · м

Число ступеней

От 1 до 3

Сведения о зубчатой передаче

Коническая передача (высшей ступени) с поверхностным упрочнением и шлифованием; спирально-зубая коническая передача без осевого смещения

Рисунок В.10 - Корректированные по А уровни звуковой мощности
конических и коническо-цилиндрических редукторов

а - 80 %-ная линия

Тип: планетарные редукторы со следующими преобладающими характеристиками (более чем у 80 %)

Корпус

Литой

Опоры

Для тихоходных - подшипники качения; для быстроходных - подшипники скольжения

Смазка

Вспрыскиванием

Монтаж

На жесткой стальной плите или бетонном основании

Мощность

От 6 до 12500 кВт

Частота вращения входного вала (максимальная)

От 350 до 16500 об/мин

Крутящий момент

От 1000 до 330000 Н · м

Число ступеней

От 1 до 2

Сведения о зубчатых передачах:

 

- тихоходные

Прямозубые

- быстроходные

Косозубые (b = 25° - 30°)

Зубчатые колеса внутреннего зацепления термообработаны, центральное зубчатое колесо и сателлиты закалены

Рисунок В.11 - Корректированные по А уровни звуковой мощности
планетарных редукторов

а - 80 %-ная линия

Тип: червячные редукторы со следующими преобладающими характеристиками (более чем у 80 %)

Корпус

Ребристый (теплорассеивающий)

Опоры

Подшипники качения

Смазка

Разбрызгиванием

Монтаж

На жесткой стальной плите

Мощность

От 0,7 до 56 кВт

Частота вращения входного вала (максимальная)

От 1360 до 3800 об/мин

Крутящий момент

От 67 до 330000 Н · м

Число ступеней

1, простой червячный редуктор

Число заходов червяка

От 1 до 6

От 1 до 3

Сведения о зубчатой передаче

Червяк поверхностно упрочнен, червячное колесо - бронзовое

Рисунок В.12 - Корректированные по А уровни звуковой мощности
червячных редукторов

В.4 Типичные уровни звука излучения

Типичные уровни звука излучения одноступенчатого редуктора с параллельными валами с зубьями четвертой или меньшей степени точности в 1 м от корпуса в зависимости от передаваемой мощности показаны на рисунке В.13 [3].

Рисунок В.13 - Типичные уровни звука излучения

В.5 Типичные уровни звуковой мощности, определенные по интенсивности звука

Корректированные по А уровни звуковой мощности редукторов (мощностью до 5 МВт), определенные по интенсивности звука, показаны на рисунке В.14. Применение метода звуковой интенсиметрии позволяет уменьшить влияние посторонних источников шума и реверберации.

Рисунок В.14 - Удельный корректированной по А уровень звуковой мощности

Приложение С
(справочное)

Сведения о методах определения уровней звуковой мощности
на основе
ГОСТ Р 51401 и ГОСТ Р 51402

С.1 Назначение

Настоящее приложение содержит пояснения по применению ГОСТ Р 51401 и ГОСТ Р 51402 при измерениях по настоящему стандарту.

Из-за инструментальных ошибок, помех при измерениях неопределенность определения корректированного по А уровня звуковой мощности по настоящему стандарту равна ± 2 дБА

Примечание - Если распределение результатов измерений нормальное и стандартное отклонение s равно 1 дБА, то с вероятностью 70 % неопределенность может быть менее ± 1 дБА и с вероятностью 95 % - менее ± 2 дБА

С.2 Аппаратура и условия измерений

Принято, что аппаратура соответствует ГОСТ Р 51401 или ГОСТ Р 51402, условия измерений соответствуют настоящему стандарту.

С.3 Измерительная поверхность, измерительное расстояние, положение и число точек измерений

С.3.1 Положение и число точек измерений

С.3.1.1 Общие положения

Точки измерений располагают одним из способов по С.3.1.2 - С.3.1.4.

С.3.1.2 Полное число точек

Точки измерений выбирают в соответствии с размерами огибающего параллелепипеда; их расположение показано на рисунках 5, 7, 9 и 11. Число точек измерений увеличивают, если расстояние по горизонтали между соседними точками превышает 2 м или если разность в децибелах между наибольшим и наименьшим уровнями звукового давления превышает число точек измерений. Точки измерений равномерно располагают в пространстве так, чтобы микрофон находился вне воздушного потока от выпускных отверстий или вращающихся частей.

С.3.1.3 Уменьшенное число точек измерений

Основные точки измерений показаны на рисунках 5, 7, 9 и 11, но число точек может быть уменьшено, если установлено при испытаниях редуктора данного типа, что звуковое поле существенно равномерное, так что уровень шума (корректированный по А уровень звуковой мощности), определенный по уменьшенному числу точек измерений, не отличается более чем на 1 дБА от уровня, определенного по полному числу точек.

С.3.1.4 Измерения в единственной точке в приемочных испытаниях

В целях сокращения затрат испытание серийного образца редуктора может быть проведено измерением уровня звукового давления в единственной точке. Это возможно, если:

- испытательное пространство и тип испытуемого объекта те же, что при испытаниях с измерениями по полному числу точек по С.3.1.2;

- точка измерений уровня звукового давления выбрана в той части измерительной поверхности, где отклонение уровня звукового давления от его среднего значения по измерительной поверхности минимально.

Метод измерений по единственной точке может быть применен только по соглашению между изготовителем и потребителем и на основании предварительных исследований, предотвращающих грубую ошибку. При применении метода в протоколе испытаний и заявлении делают запись об этом и указывают, что условия испытаний соответствуют ГОСТ Р 51401 (ГОСТ Р 51402).

С.4 Испытательное помещение

Шум редуктора может быть измерен, если влияние реверберации в помещении на шум вблизи точек измерений не более 3 дБ (дБА). Это требование удовлетворено, если показатель акустических условий К £ 3 дБА (см. С.6.2). Указанное значение является промежуточным для значений по ГОСТ Р 51401 и ГОСТ Р 51402.

Если расстояние от измерительной поверхности до ближайшей плоской поверхности, включая стены и другие машины, по меньшей мере вдвое больше измерительного расстояния, то испытательное помещение можно считать пригодным при условии, что внутренний объем помещения численно приблизительно равен ста или более площадям измерительной поверхности, в квадратных метрах. Если объем помещения не удовлетворяет этому требованию, то его пригодность можно определить следующим образом.

Устанавливают широкополосный источник шума в точку, соответствующую геометрическому центру испытуемого редуктора. Используя этот источник, определяют средние по множеству измерений уровни звукового давления (уровни звука) в двух точках. Эти точки должны:

a) быть предварительно выбранными;

b) находиться на удвоенном или на половинном измерительном расстоянии от источника шума, но не в ближнем звуковом поле.

Помещение пригодно, если разность между средними значениями по каждой серии измерений составляет не менее 5 дБ (дБА).

Результаты измерений корректируют по С.6.1.4.

Если показатель акустических условий К > 3 дБА, то результаты измерений не могут быть корректированы по С6.1.4, так как влияние шума посторонних источников становится чрезмерным. В этом случае проверку пригодности помещения повторяют при меньшем измерительном расстоянии или устанавливают висячие звукопоглощающие преграды и дополнительно наносят звукопоглощающие покрытия на отражающие поверхности, или выбирают более подходящее помещение.

С.5 Методика измерения уровня звукового давления

С.5.1 Общие положения

До проведения измерений проверяют условия в испытательном пространстве на соответствие применяемому стандарту, чтобы определить необходимые коррекции.

С.5.2 Измерение уровней звука

В каждой точке измерений измеряют уровень звука LpAS при временной характеристике шумомера S («медленно»). По результатам измерений определяют эквивалентный уровень звука LpASm. Продолжительность измерений выбирают так, чтобы зафиксированный уровень соответствовал нормальному рабочему режиму.

С.5.3 Определение спектра уровней звукового давления

Спектр уровней звукового давления в общем случае определяют, не прибегая к частотному взвешиванию в октавных полосах. Измерения в каждой точке в каждой октавной полосе рекомендуются, если имеются чистые тоны, при которых может потребоваться третьоктавный, узкополосный анализ или анализ на основе преобразования Фурье.

С.5.4 Фоновый шум

С.5.4.1 При неработающем редукторе измеряют уровни фонового шума в каждой точке измерений и регистрируют результаты по С.5.2 и С.5.3. Эти уровни должны быть достаточно низкие, чтобы не влиять на результаты измерений шума редуктора. Это гарантировано, если уровень звукового давления фонового шума в каждой полосе частот (уровень звука) на 10 дБ (дБА) или более ниже звукового давления (уровня звука) при работе редуктора. Если это условие не соблюдено, то можно попытаться уменьшить фоновый шум по С.5.4.2 - С.5.4.5.

С.5.4.2 При возможности удаляют с испытательной площадки большинство источников фонового шума.

С.5.4.3 Источники фонового шума, если возможно, экранируют. При этом принимают во внимание возможность отражения звука редуктора от экранов.

С.5.4.4 По соглашению сторон режим работы может быть изменен с целью избежать, например, структурного резонанса на испытательной площадке.

С.5.4.5 Если указанные выше меры не позволяют существенно снизить фоновый шум, то выполняют коррекции на фоновый шум, если его значение на 3 - 9 дБ (дБА) ниже измеренных по С.5.2 и С.5.3 значений.

С.5.5 Расчет S и LS

Площадь измерительной поверхности S, м2, равна:

S = 4(аb + ас + bc) (см. рисунок 5);

S = 2(2аb + 2ас + bc) (см. рисунок 7);

S = 4ab (см. рисунок 9);

S = 4(2ab + ac + bc) (см. рисунок 11).

Величина LS, дБ (дБА), учитывающая площадь измерительной поверхности S при определении уровня звуковой мощности, равна

где S0 - опорная площадь (S0 = 1 м2).

В таблице С.1 приведены значения LS в зависимости от S. При отличии значений площади измерительной поверхности от значений, указанных в таблице, от минус 20 % до плюс 25 % ошибка определения LS не превысит 1 дБ (дБА).

Таблица С.1 - Значения LS при опорной площади S0 = 1 м2

Площадь измерительной поверхности, м2

Ls, дБ (дБА)

Площадь измерительной поверхности, м2

Ls, дБ (дБА)

0,63

-2

4

+6

0,8

-1

5

+7

1

0

6,3

+8

1,25

+1

8

+9

1,6

+2

10

+10

2

+3

12,5

+11

2,5

+4

16

+12

3,2

+5

20

+13

25

+14

160

+22

32

+15

200

+23

40

+16

250

+24

50

+17

320

+25

63

+18

400

+26

80

+19

500

+27

100

+20

630

+28

125

+21

С.6 Определение корректированного по А уровня звуковой мощности

С.6.1 Определение среднего на поверхности уровня звука

С.6.1.1 Общие положения

Средний на поверхности уровень звука , дБА, определяют по С.6.1.3 - С.6.1.4 по результатам измерений звукового давления на измерительной поверхности.

С.6.1.2 Эквивалентные уровни звука (звукового давления)

Значения, полученные по С.5.2 и С.5.3, являются эквивалентными уровнями (усредненными по времени).

С.6.1.3 Коррекция на фоновый шум

Если необходимо учесть влияние фонового шума, то рекомендуется определить коррекцию К1 на фоновый шум для каждой точки измерений по таблице С.2 в зависимости от разности результатов измерений по С.5.2 и С.5.3 и результатов измерений фонового шума.

Если разность менее 3 дБ (дБА) в любой из точек, то результаты измерений недействительны. Однако они могут быть внесены в протокол испытаний и служить верхней оценкой шума.

Средний на поверхности уровень звукового давления на расстоянии 1 м принимают в качестве уровня звукового давления на типовом рабочем месте. Если измерения проведены на расстоянии, отличном от 1 м, то уровень на рабочем месте рассчитывают по имеющимся значениям.

Таблица С.2 - Коррекции на фоновый шум К1

Разность между значениями, определенными по С.5.2 и С.5.4, дБ (дБА)

Коррекция К1, вычитаемая из значения, определенного по С.5.2, дБ (дБА)

3

3

От 4 до 5

2

От 6 до 9

1

С.6.1.4 Средний на поверхности уровень звука

Средний на поверхности уровень звука , дБА рассчитывают по корректированным по С.6.1.3 эквивалентным уровням звука во всех точках измерений по формуле

С.6.2 Определение показателя акустических условий К2 (К2А)

С.6.2.1 Общие положения

Влияние акустических условий на месте испытаний на уровень звука на поверхности, определяемый по С.6.1.4, в основном зависит от звукопоглощения испытательного помещения и от отношения объема помещения V к площади измерительной поверхности S.

Показатель акустических условий К2 (К2А) определяют по ГОСТ Р 51401, ГОСТ Р 51402, таблице С.3 или с помощью образцового источника шума.

Образцовый источник шума должен быть широкополосным в диапазоне частот измерений без существенной направленности и чистых тонов.

Уровень звука считают постоянным, если результаты измерений на временной характеристике шумомера «медленно» в фиксированной точке не изменяются более чем на 1 дБА в течение 1 ч.

Зона ближнего звукового поля для образцового источника шума должна быть известна во всем диапазоне частот измерений.

Примечание - В общем случае малые источники шума имеют менее протяженную зону ближнего звукового поля. Особенно это характерно для небольших редукторов для вентиляторов с регулируемой частотой вращения (например, пылесосов с регулятором частоты вращения).

Таблица С.3 - Показатель акустических условий К2 (К2А) для испытательных помещений различных типов и отношения V/S

Характеристика помещения

К2 (К2А) для обычных машин и испытательных помещений в зависимости от площади измерительной поверхности, дБ (дБА)

Отношение V/S*

25

32

40

50

63

80

100

125

160

200

250

320

400

500

630

800

1000

А Помещение со звукоотражающими стенами (например, кафельными, плоскими бетонными или оштукатуренными)

 

3

2

1

0

В Помещение без свойств по А и С

 

3

2

1

0

С Помещение со слабым звукоотражением от поверхностей с несколькими участками звукопоглощающих поверхностей

 

3

2

1

0

* Площадь измерительной поверхности S, м2, характеристики помещения и его объем V, м3, известны.

Примечание - Настоящая таблица позволяет оценить К2А без измерений шума по частотам. Однако проверка пригодности помещения по результатам прямых измерений необходима, если применение настоящей таблицы сомнительно или когда показатель К2 (К2А) более 3 дБ (дБА) (как может быть в заштрихованной части таблицы).

С.6.2.2 Определение К2 (К2А)

Образцовый источник шума устанавливают в испытательном помещении на месте, соответствующем геометрическому центру испытуемого редуктора. Во всех точках измерений определяют уровень звуковой мощности или уровни звуковой мощности в октавных полосах частот LW1 по С.6.

Определение уровня звуковой мощности LW1 образцового источника шума повторяют для другого расположения точек измерений вблизи источника, но вне ближнего звукового поля. Рекомендуется уменьшить по крайней мере вдвое начальное измерительное расстояние. Результат второго определения обозначают LW2.

Показатель акустических условий К2 (К2А) или для измерений октавных уровней звуковой мощности К2 рассчитывают по формуле

K2 (K2А) = LW1 - LW2.

С.6.2.3 Расчет корректированного среднего на поверхности уровня звука

Показатель акустических условий K2А используют для расчета корректированного среднего на поверхности уровня звука  по формуле

С.6.3 Расчет корректированного по А уровня звуковой мощности LWA

Корректированный по А уровень звуковой мощности LWA, дБА, обычно представляют суммой корректированного среднего на поверхности уровня звука и величины LS, учитывающей влияние площади измерительной поверхности (см. С.5.5), по формуле

С.7 Протокол испытаний

С.7.1 Общие положения

В протокол испытаний включают сведения согласно разделу 10 и С.7.2.

С.7.2 Измерения при испытаниях и результаты

В протокол включают:

a) уровень звука LpASm (С.5.2) в каждой точке измерений;

b) уровень фонового шума и коррекцию на фоновый шум K1 в каждой точке измерений (С.6.1.3);

c) средний на поверхности уровень звука , рассчитанный по LpASm и K1 в каждой точке измерений (С.6.1.4);

d) показатель акустических условий K2 (K2A) (С.6.2);

e) значение величины LS (С.5.5);

f) корректированный по А уровень звуковой мощности LWA (С.6.3);

д) уровень звукового давления излучения на рабочем месте по С.6.1.4, определенный или рассчитанный для расстояния 1 м;

h) точные сведения о любых дополнительно выбранных точках или точках, которые были использованы.

С.8 Методика расчета уровня звука или корректированного по А уровня звуковой мощности по уровням звукового давления в октавных (третьоктавных) полосах частот

С.8.1 Средний уровень звука , дБА рассчитывают по формуле

где Cj - поправка на частотное взвешивание по характеристике А шумомера в j-й октавной или третьоктавной полосе (см. С.8.2 или С.8.3);

 - средний уровень звукового давления в октавной полосе частот, дБА.

Примечание - По этой же формуле рассчитывают корректированный по А уровень звуковой мощности LWA, заменяя в ней величину  на средний уровень звуковой мощности в октавной полосе .

С.8.2 Для расчета по результатам измерений в третьоктавных полосах (jmax = 21) значения поправок Cj берут по таблице С.4.

С.8.3 Для расчета по результатам измерений в октавных полосах (jmax = 7) значения поправок Cj берут по таблице С.5.

Таблица С.4 - Значения поправок Сj для третьоктавных полос

Номер третьоктавной полосы j

Среднегеометрическая частота третьоктавной полосы, Гц

Cj, дБ

1

100

-19,1

2

125

-16,1

3

160

-13,4

4

200

-10,9

5

250

-8,6

6

315

-6,6

7

400

-4,8

8

500

-3,2

9

630

-1,9

10

800

-0,8

11

1000

0,0

12

1250

0,6

13

1600

1,0

14

2000

1,2

15

2500

1,3

16

3150

1,2

17

4000

1,0

18

5000

0,5

19

6300

-0,1

20

8000

-1,1

21

10000

-2,5

Таблица С.5 - Значения поправок Сj для октавных полос

Номер октавной полосы j

Среднегеометрическая частота октавной полосы, Гц

Cj, дБ

1

125

-16,1

2

250

-8,6

3

500

-3,2

4

1000

0,0

5

2000

1,2

6

4000

1,0

7

8000

-1,1

С.9 Последовательность действий

На рисунке С.1 показана последовательность действий при определении корректированного по А уровня звуковой мощности.

Рисунок С.1 - Диаграмма последовательности действий
при определении звуковой мощности по звуковому давлению

Приложение D
(справочное)

Сведения о соответствии ссылочных международных стандартов национальным стандартам
Российской Федерации, использованным в настоящем стандарте
в качестве нормативных ссылок

Таблица D.1

Обозначение ссылочного
национального или
межгосударственного стандарта

Обозначение и наименование ссылочного международного стандарта
и условное обозначение степени его соответствия ссылочному
национальному стандарту Российской Федерации

ГОСТ Р 51400-99

(ИСО 3743-1-94,

ИСО 3743-2-94)

ИСО 3743-1:1994 «Акустика. Определение уровней звуковой мощности источников шума по звуковому давлению. Технические методы для малых переносных источников шума в реверберационных полях. Часть 1. Метод сравнения для испытательных помещений с жесткими стенами» (MOD)

ИСО 3743-2:1994 «Акустика. Определение уровней звуковой мощности источников шума по звуковому давлению. Технические методы для малых переносных источников шума в реверберационных полях. Часть 2. Методы для специальных реверберационных камер» (MOD)

ГОСТ Р 51401-99

ИСО 3744:1994 «Акустика. Определение уровней звуковой мощности источников шума по звуковому давлению. Технический метод в существенно свободном звуковом поле над звукоотражающей плоскостью» (MOD)

(ИСО 3744-94)

ГОСТ Р 51402-99

ИСО 3746:1995 «Акустика. Определение уровней звуковой мощности источников шума по звуковому давлению. Ориентировочный метод с применением охватывающей поверхности над звукоотражающей плоскостью» (MOD)

(ИСО 3746-95)

ГОСТ 27243-2005

ИСО 3747:2000 «Акустика. Определение уровней звуковой мощности источников шума по звуковому давлению. Метод сравнения на месте установки» (MOD)

(ИСО 3747:2000)

ГОСТ 30457-97

ИСО 9614-1:1993 «Акустика. Определение уровней звуковой мощности источников шума по интенсивности звука. Часть 1. Измерение в дискретных точках» (MOD)

(ИСО 9614-1-93)

ГОСТ 30691-2001

ИСО 4871:1996 «Акустика. Заявление и подтверждение значений шумовых характеристик машин и оборудования» (MOD)

(ИСО 4871-96)

ГОСТ 30720-2001

ИСО 11203:1995 «Акустика. Шум машин и оборудования. Определение уровней звукового давления излучения на рабочем месте и в других контрольных точках по уровню звуковой мощности» (MOD)

(ИСО 11203-95)

ГОСТ 31171-2003

ИСО 11200:1995 «Акустика. Шум машин и оборудования. Руководство по применению основополагающих стандартов по определению уровней звукового давления излучения на рабочем месте и в других контрольных точках» (MOD)

(ИСО 11200:1995)

ГОСТ 31252-2003

ИСО 3740:2000 «Акустика. Определение уровней звуковой мощности источников шума. Руководство по применению основополагающих стандартов» (MOD)

(ИСО 3740:2000)

Примечание - B настоящей таблице использовано следующее условное обозначение степени соответствия стандартов:

- MOD - модифицированные стандарты.

Приложение Е
(справочное)

Отличия настоящего стандарта от примененного в нем
международного стандарта ИСО 8579-1:2002

Е.1 Исключено введение в соответствии с ГОСТ Р 1.5-2004 (8.1.5).

Е.2 Из раздела 2 исключена ссылка на ИСО 3745 (отечественный аналог - ГОСТ 31273), не используемый в ИСО 8579-1, и ссылки на невведенные ИСО 9614-2 и ИСО/ТО 7849.

Е.3 В 5.2 таблица 1 оформлена в виде примера по ГОСТ 1.5-2001 (4.11).

Е.4 В примечание 5.2 дополнительно внесены сведения о ГОСТ 27243. Из примечания исключены сведения об ИСО 3745, не применяемом в стандарте.

Е.5 Таблицы 2 и 3 дополнены ГОСТ 27243, специально предназначенным для измерений шума на месте эксплуатации в производственном помещении. Из сносок в таблицах исключена сноска, относящаяся к ИСО 3745:

«с Маловероятно, чтобы ИСО 3745 мог быть применен для измерений техническим методом в специальной установке».

Сноска исключена в связи с неприменением ИСО 3745 в ИСО 8579-1.

Сноска g) в таблице 2, имеющая редакцию «При слишком близком расположении частей оборудования может оказаться недостаточно места для выполнения измерений», изменена с целью пояснения ее смысла. Действие сноски распространено на условия применения ГОСТ Р 51401.

Соответствующим образом изменены обозначение и порядок следования сносок.

Е.6 В 5.3.3 уточнено измерительное расстояние d: вместо «d ³ 0,5 м» указано «более 0,5 м» в соответствии со ссылочным стандартом.

Е.7 В наименовании приложения С указаны национальные стандарты, соответствующие действующим ИСО 3744 и ИСО 3746. В связи с этим приложение приведено в соответствие национальным стандартам.

Е.8 В С.1 исключена как утратившая актуальность и заменена другой (выделена курсивом) часть текста первого абзаца, имеющая редакцию:

«... исторические сведения по определению звукового излучения редукторов, изложенные в первом издании ИСО 8579-1 и основанные на ИСО 3744:1981 и ИСО 3746:1979 по измерениям над звукоотражающей плоскостью».

Е.9 В С.3.1.3 уточнено в соответствии с ГОСТ Р 51401 условие, при котором возможны измерения с уменьшенным числом точек измерений.

В ИСО 8579-1 этот пункт имеет редакцию:

«С.3.1.3 Уменьшенное число точек измерений

Основные точки измерений показаны на рисунках 5, 7, 9 и 11 или может быть достаточна даже более простая сеть точек, если установлено при испытаниях данного типа редуктора, что звуковое поле существенно равномерное, так что измеренный уровень шума больше или равен значению, определенному по полному числу точек».

Е.10 В С.3.1.4 исключено первое перечисление, имеющее редакцию:

« - по измерениям в единственной точке не может быть правильно определен уровень звуковой мощности;».

Перечисление исключено, так как оно не согласуется с указанными далее условиями, при которых возможно использование одной точки измерений.

Е.11 В С.4 ошибочная ссылка на С.6.1.4 заменена ссылкой на С.6.2.

Е.12 Во втором абзаце С.6.1.3 выражение «..., то корректированный таким образом уровень звукового давления неточен» заменено на следующий текст: «... то результаты измерений недействительны. Однако они могут быть внесены в протокол испытаний и служить верхней оценкой шума».

Изменение внесено в соответствии с ГОСТ Р 51401 (7.4).

Е.13 На рисунке С.1 формула для расчета среднего на поверхности уровня звука  заменена на формулу, используемую в С.6.1.4, для приведения в соответствие рисунка С.1 и С.6.1.4.

Е.14 Другие не указанные в настоящем приложении незначительные редакционные отличия или сокращения текста имеют целью приведение его в соответствие с требованиями ГОСТ Р 1.5-2004.

Библиография

[1]

ИСО 9614-2:1996

Акустика. Определение уровней звуковой мощности источников шума по интенсивности звука. Часть 2. Измерения сканированием

 

(ISO 9614-2:1996)

(Acoustics - Determination of sound power levels of noise sources using sound intensity - Part 2: Measurement by scanning)

[2]

ИСО/ТО 7849:1987

Акустика. Оценка воздушного звукового излучения машин по вибрации

 

(ISO/TR 7849:1987)

(Acoustics - Estimation of airborne noise emitted by machinery using vibration measurement)

[3]

ИСО 1328-1:1995

Цилиндрические редукторы. Система точности ИСО. Часть 1. Определения и допускаемые отклонения профиля зубьев зубчатой передачи

 

(ISO 1328:1995)

(Cylindrical gears - ISO system of accuracy - Part 1: Definition and allowable values of deviations relevant to corresponding flanks of gear teeth)

[4]

ДИН 3960

Определения, параметры и уравнения для эвольвентных цилиндрических редукторов и зубчатых пар

 

(DIN 3960)

(Definition, parameters and equations for involute cylindrical gears and gear pairs)

 

Ключевые слова: зубчатые редукторы и мотор-редукторы, методы измерения шума, корректированный по А уровень звуковой мощности, уровень звука излучения, испытания в специальной установке, испытания на цеховом стенде, испытания на месте эксплуатации, условия испытаний, измерительная поверхность, точки измерений, заявление и подтверждение значений шумовых характеристик

 



© 2013 Ёшкин Кот :-)