Информационная система
«Ёшкин Кот»

XXXecatmenu

ФЕДЕРАЛЬНОЕ АГЕНТСТВО
ПО ТЕХНИЧЕСКОМУ РЕГУЛИРОВАНИЮ И МЕТРОЛОГИИ

НАЦИОНАЛЬНЫЙ
СТАНДАРТ
РОССИЙСКОЙ
ФЕДЕРАЦИИ

ГОСТ Р ИСО
15665-2007

Шум

РУКОВОДСТВО ПО АКУСТИЧЕСКОЙ ИЗОЛЯЦИИ
ТРУБ И АРМАТУРЫ ТРУБОПРОВОДОВ

ISO 15665:2003
Acoustics - Acoustic insulation for pipes, valves and flanges
(IDT)

Москва

Стандартинформ

2008

Предисловие

Цели и принципы стандартизации в Российской Федерации установлены Федеральным законом от 27 декабря 2002 г. № 184-ФЗ «О техническом регулировании», а правила применения национальных стандартов Российской Федерации - ГОСТ Р 1.0-2004 «Стандартизация в Российской Федерации. Основные положения»

Сведения о стандарте

1 ПОДГОТОВЛЕН Открытым акционерным обществом «Научно-исследовательский центр контроля и диагностики технических систем» (ОАО «НИЦ КД») на основе собственного аутентичного перевода стандарта, указанного в пункте 4

2 ВНЕСЕН Техническим комитетом по стандартизации ТК 358 «Акустика»

3 УТВЕРЖДЕН И ВВЕДЕН В ДЕЙСТВИЕ Приказом Федерального агентства по техническому регулированию и метрологии от 27 декабря 2007 г. № 588-ст

4 Настоящий стандарт является идентичным по отношению к международному стандарту ИСО 15665:2003 «Акустика. Акустическая изоляция труб, клапанов и фланцев» (ISO 15665:2003 «Acoustics - Acoustic insulation for pipes, valves and flanges») с учетом технической поправки 1 к нему от 15.03.2004, выделенной в подразделе 5.2 двойной вертикальной линией, расположенной слева от текста.

Наименование настоящего стандарта изменено относительно наименования указанного международного стандарта для приведения в соответствие с ГОСТ Р 1.5-2004 (подраздел 3.5).

При применении настоящего стандарта рекомендуется использовать вместо ссылочных международных стандартов соответствующие им национальные стандарты Российской Федерации, сведения о которых приведены в дополнительном приложении D

5 ВВЕДЕН ВПЕРВЫЕ

Информация об изменениях к настоящему стандарту публикуется в ежегодно издаваемом информационном указателе «Национальные стандарты», а текст изменений и поправок - в ежемесячно издаваемых информационных указателях «Национальные стандарты». В случае пересмотра (замены) или отмены настоящего стандарта соответствующее уведомление будет опубликовано в ежемесячно издаваемом информационном указателе «Национальные стандарты». Соответствующая информация, уведомление и тексты размещаются также в информационной системе общего пользования - на официальном сайте Федерального агентства по техническому регулированию и метрологии в сети Интернет

СОДЕРЖАНИЕ

1 Область применения. 2

2 Нормативные ссылки. 2

3 Термины и определения. 2

4 Классы звукоизоляции. 2

5 Руководство по снижению шума труб. 4

5.1 Требуемые вносимые потери (стадия проектирования) 4

5.2 Требуемые вносимые потери при работе предприятия. 5

5.3 Длина облицованного участка трубы.. 6

5.4 Особенности проектирования трубопровода. 7

5.5 Определение снижения уровня шума. 7

5.6 Типичные значения снижения суммарного уровня шума. 8

6 Типичные конструкции акустической изоляции. 8

6.1 Общие положения. 8

6.2 Обшивка. 8

6.3 Пористый слой. 9

6.4 Опора для обшивки. 9

7 Монтаж.. 9

7.1 Общие положения. 9

7.2 Класс звукоизоляции и длина облицованного участка трубы.. 9

7.3 Торцевые заглушки. 9

7.4 Акустические ограждения. 10

7.5 Предотвращение механических повреждений. 10

8 Теплоакустическая изоляция. 10

8.1 Общие положения. 10

8.2 Горячие трубы.. 10

8.3 Холодные трубы.. 10

9 Конструкции акустической изоляции, обеспечивающие требуемый класс звукоизоляции. 10

9.1 Общие положения. 10

9.2 Материалы.. 11

9.3 Виброизолирующий материал для опоры трубы.. 11

10 Испытания акустической изоляции. 11

10.1 Общие положения. 11

10.2 Метод измерения в реверберационной камере. 11

10.3 Испытательная установка. 12

10.4 Испытуемый объект. 13

10.5 Измерения. 13

10.6 Результаты.. 13

10.7 Протокол испытаний. 13

Приложение А (рекомендуемое) Формулы для расчета минимальных требуемых вносимых потерь DW, min для классов звукоизоляции. 14

Приложение В (рекомендуемое) Общая конструкция акустической изоляции. 14

Приложение С (рекомендуемое) Примеры типовых конструктивных элементов. 15

Приложение D (справочное) Сведения о соответствии национальных стандартов Российской Федерации ссылочным международным стандартам.. 19

Библиография. 19

НАЦИОНАЛЬНЫЙ СТАНДАРТ РОССИЙСКОЙ ФЕДЕРАЦИИ

Шум

РУКОВОДСТВО ПО АКУСТИЧЕСКОЙ ИЗОЛЯЦИИ ТРУБ
И АРМАТУРЫ ТРУБОПРОВОДОВ

Noise. Guidelines for acoustic insulation of pipes and valves

Дата введения - 2008-07-01

1 Область применения

Настоящий стандарт устанавливает три класса (А, В, С) звукоизоляции трубопроводов и требования, которые обеспечивают звукоизоляцию соответствующего класса. Кроме того, стандарт устанавливает метод испытаний для определения звукоизоляции как существующих, так и новых конструкций акустической изоляции для оценки ее соответствия классам звукоизоляции.

Стандарт распространяется на стальные цилиндрические трубопроводы с трубами диаметром до 1 м и минимальной толщиной стенки: 4,2 мм - для диаметров менее 300 мм и 6,3 мм - для диаметров 300 мм и более. Стандарт не распространяется на прямоугольные трубопроводы, резервуары и оборудование.

Стандарт охватывает стадии проектирования и монтажа акустической изоляции трубопроводов и является руководством по определению требуемого класса звукоизоляции и выбору конструктивных решений и других мер для его обеспечения в конкретных случаях. Приведены типичные примеры рекомендуемых конструкций акустической изоляции.

Следует иметь в виду, что свойства акустической изоляции отличаются от свойств теплоизоляции. Детально теплоизоляцию настоящий стандарт не рассматривает.

2 Нормативные ссылки

В настоящем стандарте использованы нормативные ссылки на следующие международные стандарты:

ИСО 354:2003 Акустика. Измерение звукопоглощения в реверберационной камере

ИСО 3741:1999 Акустика. Определение уровней звуковой мощности источников шума по звуковому давлению. Точные методы для реверберационных камер

ИСО 3744:1994 Акустика. Определение уровней звуковой мощности источников шума по звуковому давлению. Технический метод в существенно свободном звуковом поле над звукоотражающей плоскостью

3 Термины и определения

В настоящем стандарте применены следующие термины с соответствующими определениями:

3.1 трубопровод (piping): Совокупность цилиндрических труб, устанавливаемой на них арматуры (клапаны, фланцы, сильфоны и т.д.) и опор.

3.2 акустическая изоляция (acoustic insulation, acoustic lagging): Внешнее покрытие, предназначенное для снижения шума, излучаемого трубой.

Примечание - Акустическая изоляция обычно состоит из звукопоглощающих и/или упругих материалов («пористый слой») и герметичного покрытия («обшивка»).

3.3 сопротивление продуванию (airflow resistivity): Падение давления на единицу толщины пористого материала при продувании его воздушным потоком с постоянной скоростью.

Примечания

1 Сопротивление продуванию равно падению давления, деленному на произведение скорости воздушного потока на толщину испытуемого образца материала.

2 Единицей измерения сопротивления продуванию является Н · с/м4 = Па · с/м2.

3 Метод определения сопротивления продуванию установлен [1].

3.4 вносимые потери DW (insertion loss, sound power insulation), дБ: Разность октавных или третьоктавных уровней звуковой мощности источника шума до и после монтажа акустической изоляции.

Примечание - См. примечание к 3.5.

3.5 звукоизоляция по звуковому давлению Dp (sound pressure insulation), дБ: Разность октавных или третьоктавных уровней звукового давления в заданной контрольной точке до и после монтажа акустической изоляции.

Примечание - Для источников шума, установленных в помещении, особенно при лабораторных измерениях, обычно определяют вносимые потери DW. Значение DW можно определять в реверберационной камере или по интенсивности звука. Для трубопроводов вне помещений более легким, но менее точным является определение звукоизоляции по звуковому давлению Dp. Точку измерений при определении звукоизоляции по звуковому давлению выбирают в общем случае на окружности вокруг трубы. Предпочтительны измерения на расстоянии 1 м от поверхности трубы или на расстоянии, в 2,5 раза превышающем диаметр трубы (при диаметре трубы менее 330 мм), чтобы минимизировать влияние ближнего звукового поля. Точка измерений должна быть постоянной при измерениях до и после монтажа акустической изоляции. Если звуковое излучение до и после монтажа акустической изоляции является ненаправленным (при измерениях на цилиндрической поверхности, охватывающей трубу), то значения DW и Dp будут равны.

4 Классы звукоизоляции

Классы звукоизоляции А, В и С установлены в зависимости от требуемых минимальных вносимых потерь, обеспечиваемых акустической изоляцией. Минимальные вносимые потери указаны в таблице 1 и на рисунках 1 - 3. Формулы для приблизительного расчета требуемых вносимых потерь (с точностью до 0,5 дБ) приведены в приложении А.

Вносимые потери соотнесены с диаметрами труб. Трубы разделены по диаметру на три группы, и класс звукоизоляции обозначают буквой с цифрой, соответствующей диаметру трубы.

Цифры соответствуют следующим номинальным диаметрам труб:

1 - менее 300 мм;

2 - более или равный 300 мм, но менее 650 мм;

3 - более или равный 650 мм, но менее 1000 мм.

Таблица 1 - Минимальные требуемые вносимые потери для классов звукоизоляции

Класс звукоизоляции

Номинальный диаметр трубы D, мм

Среднегеометрическая частота октавной полосы, Гц

125

250

500

1000

2000

4000

8000

Минимальные вносимые потери, дБ

А1

Менее 300

-4

-4

2

9

16

22

29

А2

300 D < 650

-4

-4

2

9

16

22

29

A3

650 D < 1000

-4

2

7

13

19

24

30

В1

Менее 300

-9

-3

3

11

19

27

35

В2

300 D < 650

-9

-3

6

15

24

33

42

В3

650 D < 1000

-7

2

11

20

29

36

42

С1

Менее 300

-5

-1

11

23

34

38

42

С2

300 D < 650

-7

4

14

24

34

38

42

С3

650 D < 1000

1

9

17

26

34

38

42

Чтобы соответствовать данному классу, вносимые потери во всех семи октавных полосах должны быть не менее указанных в таблице значений. Звукоизоляцию, не отвечающую данному требованию, считают внеклассной.

 - классы А1 и А2;  - класс A3

Рисунок 1 - Минимальные вносимые потери для класса А

 - класс В1;  - класс В2;  - класс В3

Рисунок 2 - Минимальные вносимые потери для класса В

 - класс С1;  - класс С2;  - класс С3

Рисунок 3 - Минимальные вносимые потери для класса С

Примечания

1 Снижение уровня звука зависит от спектра источника шума. Некоторые типичные примеры приведены в 5.5 и 5.6.

2 Акустическая изоляция может уменьшить звуковое излучение трубы, но при этом возникает противоположный эффект: поскольку площадь обшивки больше площади поверхности трубы без акустической изоляции (далее - необлицованная труба), излучение из-за вибрации обшивки может уменьшить звукоизоляцию. Кроме того, на низких частотах обшивка может излучать более интенсивно, чем труба. Эти эффекты, более значительно проявляющиеся на трубах малого диаметра, ограничивают обеспечение требуемого класса звукоизоляции.

Акустическая изоляция может также резонировать на низкой частоте в зависимости от массы обшивки, упругости воздуха в замкнутом объеме и упругости пористого слоя. Резонансную частоту f0, Гц, если влияние жесткости пористого материала невелико, приблизительно рассчитывают по формуле

где т" - поверхностная плотность обшивки, кг/м2;

d - расстояние между стенкой трубы и обшивкой, м.

Вносимые потери могут быть отрицательны на частотах ниже 1,4f0.

3 Минимальные вносимые потери в таблице 1 получены при лабораторных измерениях шума свыше 60 различных (стандартных) необлицованных и облицованных труб в результате статистической обработки данных испытаний для каждого класса звукоизоляции. Для каждой октавной полосы минимальные требуемые вносимые потери рассчитаны как разность между среднеарифметическим значением и стандартным отклонением (типичное значение стандартного отклонения равно 3 дБ в октавных полосах от 125 до 1000 Гц и 9 дБ - в полосах от 2000 до 8000 Гц). Эти линейно аппроксимированные зависимости представлены на рисунках 1 - 3.

5 Руководство по снижению шума труб

5.1 Требуемые вносимые потери (стадия проектирования)

5.1.1 Определение уровней звукового давления

Определяют уровень звукового давления Lр(1, r) на расстоянии 1 м от стенки необлицованной трубы. Если он неизвестен, то необходимая информация может быть получена от поставщика оборудования, устанавливаемого на трубу вверх по потоку. Участки трубопровода, по которым шум распространяется вверх и вниз по потоку от установленного на трубе источника шума, рассматривают по отдельности.

Определяют октавные уровни звукового давления и уровень звука. Метод определения зависит от рассматриваемого источника шума, устанавливаемого на трубе.

Примечания

1 В таблице 2 приведены типичные октавные спектры для наиболее общих источников шума, устанавливаемых на трубе.

2 Данные о шуме труб с оборудованием, имеющим вращающиеся части, или методы прогнозирования такого шума часто отсутствуют. Если надежных данных нет, то рекомендуется выполнить измерения на трубах подобных размеров, включая толщину стенки, на которых устанавливают это оборудование.

5.1.2 Сравнение уровней звукового давления с нормативным значением

Если труба является единственным источником шума и излучает в условиях свободного звукового поля, то уровень звукового давления, измеренный в заданном месте, сравнивают с его нормативным значением на рабочем месте. Требуемую звукоизоляцию по звуковому давлению определяют вычитанием из измеренного уровня звукового давления нормативного значения на рабочем месте.

Если имеются другие источники шума, то определяют суммарный уровень шума и сравнивают его с нормой шума на рабочем месте (см. также 5.1.4).

5.1.3 Определение уровней звуковой мощности

Уровень звуковой мощности LW, дБ, трубы определяют по уровням звукового давления, измеренным в существенно свободном звуковом поле в соответствии с ИСО 3744 по формуле

                                        (1)

где s - длина трубы (s значительно больше r), м;

S0 = 1 м2;

r - расстояние от оси трубы (предпочтительно r = l + 1/2D, где l - расстояние от стенки трубы, м), м;

D - номинальный диаметр трубы, м;

 - средний уровень звукового давления на цилиндрической измерительной поверхности на расстоянии r от оси трубы и на расстоянии хот источника шума, полученный по результатам измерений вдоль трубы в существенно свободном звуковом поле, дБ.

Примечание - Предпочтительное значение х равно 1 м. Если затухание звука вдоль трубы пренебрежимо мало, то значение х может быть больше.

Если труба длинная и измерения не могут быть проведены на всей длине, то следует измерить уровень звукового давления Lp(1, r) вблизи источника шума и, учитывая затухание звука вдоль трубы, рассчитать уровень звукового давления Lp(x, r) в интересующей точке с координатами (х, r) по формуле

Lp(x, r) = Lp(1, r) - βx/D,                                                     (2)

где Lp(1, r) - уровень звукового давления на расстоянии 1 м от источника шума при расстоянии от оси трубы r, дБ;

β - коэффициент затухания.

По экспериментальным данным коэффициент затухания может быть равен 0,06 дБ для газовых или паровых труб (затухание 3 дБ на длине, равной 50 диаметрам трубы) и 0,017 дБ для гидравлических труб (затухание 3 дБ на длине, равной 175 диаметрам трубы). Если в конкретном случае коэффициент затухания имеет другое значение, то следует использовать его. Длина трубы, при которой принимают во внимание затухание звука вдоль трубы, должна превышать отношение 3D/β.

Исходя из формулы (2) уровень звуковой мощности LW длинной трубы может быть рассчитан по формуле

                                       (3)

где β' - числовое значение коэффициента затухания (не в дБ).

Примечания

1 Формула, определяющая связь между LW(s) и Lp(1, r) для произвольного расстояния s, имеет вид

                                           (4)

Можно показать, что формула (4) преобразуется в формулу (1) при малых значениях β's/D и в формулу (3) для очень длинных труб.

2 Ошибка при применении формулы (1) для труб, имеющих длину более 3D/β, и формулы (3) для коротких труб составляет менее 3 дБ.

3 Шум трубопровода может передаваться через жидкость или стенку трубы или обоими путями. Акустическая изоляция эффективна в обоих случаях. Прогнозирование распространения шума через стенку трубы затруднительно.

5.1.4 Шум в реверберационном помещении или в окружающей среде

В реверберационном помещении уровень шума определяют сложением шума трубопровода, рассчитанного по его уровню звуковой мощности, с шумом других источников.

При определении шума в окружающей среде следует рассчитать долю шума трубопровода в уровне звуковой мощности предприятия (установки) или в уровне звукового давления в заданной точке вблизи предприятия.

5.2 Требуемые вносимые потери при работе предприятия

При работе предприятия шум трубопровода оценивают на основе измерений. Если фоновый шум незначителен, то уровни звукового давления шума трубопровода могут быть измерены непосредственно. Кроме того, участки трубопроводов, на которых шум распространяется вверх и вниз по потоку от установленного на трубе источника шума, рассматривают по отдельности.

Если фоновый шум значителен, то шум трубопровода часто может быть определен по измерениям интенсивности звука. Однако измерение интенсивности звука на месте эксплуатации может быть затруднительно, для этого требуются специальное оборудование и опыт.

Третий способ оценки шума трубопровода состоит в измерении уровня виброскорости на поверхности трубы и определении излучения по формуле (см. [2])

Lp(x, r) = Lv + 10lgσ + 10lg(D/2r),                                              (5)

где Lv - уровень виброскорости стенки трубы, равный 10lg(v/v0)2, дБ;

v0 = 5 · 10-8 м/с;

10lgσ - эффективность излучения (величина 10lgσ отрицательна при 0 < σ < 1).

Значение σ определяют по формуле [2]

                                                                  (6)

где c - скорость звука в воздухе, м/с;

f - среднегеометрическая частота октавной полосы, Гц.

Примечание - Этот метод не является предпочтительным, так как точность оценки излучения мала. Он требует специального оборудования и опыта. Однако данный метод может оказаться единственно возможным при высоких уровнях фонового шума или в условиях, которые не обеспечивают точности измерений интенсивности звука.

5.3 Длина облицованного участка трубы

Шум, излучаемый стенкой трубы, обычно генерируется присоединенным к ней оборудованием (компрессорами, насосами, клапанами или эжекторами). При этом шум излучают длинные участки трубы, так как шум по ней распространяется с небольшим затуханием.

Если в результате оценки ожидаемого шума будет установлено, что трубу следует акустически изолировать, то необходимое снижение шума указывают в октавных полосах. По разделу 4 определяют требуемый класс звукоизоляции.

Трубы обычно изолируют, начиная от ближайшего источника шума (иногда изолируют и сами источники): глушителя шума, резервуара, теплообменника, фильтра и т.д., - кроме случая, когда показано, что вследствие затухания вдоль трубы шум в некоторых имеющих важное значение точках ниже и выше по потоку от источника шума существенно уменьшается и не требуется дополнительных мер по изоляции. Таковыми могут быть точки, где уровень шума трубы ниже уровня, принимаемого в качестве контрольного значения, определенного по формуле (2).

Если уровень звуковой мощности трубы необходимо уменьшить, то потребную длину облицованного участка l, м, определяют по формуле

                                                            (7)

где D - диаметр трубы, м;

ΔLW - желаемое снижение уровня звуковой мощности, дБ, равное ΔLW = LW, with - LW, without, где Lwith - уровень звуковой мощности облицованной трубы, Lwithout - уровень звуковой мощности необлицованной трубы;

DW - вносимые потери (раздел 4), дБ.

Графически формула (7) представлена на рисунке 4 при коэффициенте затухания β = 0,06. График показывает, что снижение уровня звуковой мощности ограничивается вносимыми потерями, т.е. значение R должно быть больше а. График также показывает, что экономически выгодней выбрать класс с более высокой звукоизоляцией, поскольку в этом случае требуется более короткий облицованный участок трубы.

Примечание - Формула (7) и рисунок 4 применимы как для уровня звуковой мощности октавных полос, так и корректированного по частотной характеристике А уровня звуковой мощности.

Рисунок 4 - Длина облицованного участка трубы (в диаметрах трубы) для заданного снижения уровня звуковой мощности
в зависимости от вносимых потерь при коэффициенте затухания
β = 0,06

5.4 Особенности проектирования трубопровода

На каждом этапе проектирования важно обеспечить, чтобы конструкция трубопровода предусматривала достаточное пространство для монтажа акустической изоляции определенной толщины и массы. Монтаж изоляции затруднен, если пространство между соседними трубами недостаточно и трубопровод расположен высоко над землей.

Поэтому проектант должен оценивать уровни шума основных трубопроводов на начальной стадии проектирования, учитывая, при необходимости, оценки данных по шуму. Необходимо, используя схемы трубопроводов, схемы течений потоков и другие документы, выделить участки труб, подлежащие акустической изоляции. В то же время следует рассмотреть ситуации, когда целесообразнее заменить источник шума на менее шумный или применить глушитель.

При проектировании опор и кронштейнов следует обеспечить достаточное пространство для монтажа акустической изоляции.

Если трубопровод подвешен или опирается на стальные конструкции, то применяют упругие опоры и кронштейны. Упругие опоры должны иметь механические упоры для ограничения перемещения труб при разрушении упругих элементов опор. Способ опирания должен быть согласован между проектантами механической части трубопровода и его акустической изоляции.

Примечание - Подпружиненные кронштейны, применяемые для компенсации тепловых расширений подвесных трубопроводов, не всегда имеют удовлетворительную звукоизоляцию.

5.5 Определение снижения уровня шума

Решение о применении акустической изоляции обычно принимают по результатам измерений или расчета уровня звука или корректированного по А уровня звуковой мощности необлицованной трубы. Однако расчет для определения эффективности акустической изоляции, в децибелах, может быть проведен только по октавному спектру шума.

Если возможно, то должен быть получен реальный спектр шума рассматриваемой трубы.

Если известен только уровень звука или корректированный по А уровень звуковой мощности (далее - суммарный уровень шума), то октавный спектр шума может быть оценен с помощью таблицы 2. В таблице в качестве примера представлены типовые значения разностей между суммарным уровнем шума и уровнем шума в октавных полосах для трубы с присоединенными к ней различными источниками шума. Значения разностей по таблице 2 вычитают из суммарного уровня шума и получают октавный спектр уровней шума.

Таблица 2 - Примеры значений разностей между суммарным уровнем шума и уровнем шума в октавной полосе для трубы с присоединенными к ней различными источниками шума

Источник шума

Среднегеометрическая частота октавной полосы, Гц

125

250

500

1000

2000

4000

8000

Разность между суммарным уровнем шума и уровнем шума в октавной полосе, дБ

Управляющий клапана)

20

16

17

9

6

5

7

Центробежный компрессорb)

15

12

9

7

3

10

12

Центробежный насос

4

2

4

5

7

9

12

Поршневой насос

3

4

5

6

8

8

8

а) В газовых коммуникациях, где скорость газа достигает скорости звука, клапан обычно соответствует номинальному диаметру трубы от 150 до 350 мм.

b) Типичный диаметр трубы более 300 мм.

Результат, достигаемый установкой акустической изоляции, получают вычитанием вносимых потерь примененного класса звукоизоляции по октавам. Суммарный уровень шума после установки акустической изоляции получают, сложив корректированные по А октавные уровни. Снижение суммарного уровня шума равно разности между суммарными уровнями шума необлицованной и облицованной трубы.

В таблице 3 приведены примеры расчета снижения уровня шума трубы диаметром 200 мм со звукоизоляцией класса А и присоединенным управляющим клапаном. Уровень 100 дБА необлицованной трубы приведен только как пример для расчета.

Таблица 3 - Пример расчета

Уровни шума в дБ (дБА)

Параметр

Среднегеометрическая частота октавной полосы, Гц

Суммарный уровень шума

125

250

500

1000

2000

4000

8000

Суммарный уровень шума необлицованной трубы с присоединенным управляющим клапаном

Не определяют

100

Коррекция для клапана по таблице 2

20

16

17

9

6

5

7

Не определяют

Октавный спектр необлицованной трубы

80

84

83

91

94

95

93

Вносимые потери по классам А1 и А2 по таблице 1

-4

-4

2

9

16

22

29

Октавный спектр облицованной трубы

84

88

81

82

78

73

64

Суммарный уровень шума облицованной трубы

68

79

78

82

79

74

63

86

Снижение суммарного уровня шума

Не определяют

14

Условия измерений в эксплуатации при определении вносимых потерь и качество реальной акустической изоляции могут существенно отличаться от лабораторных. Учитывающие это коррекции должны быть оценены проектантом. Основные причины отличий следующие:

- шум, излучаемый опорами трубы;

- шум, излучаемый оборудованием и небольшими трубами, присоединенными к трубе;

- отступления от проектных требований при монтаже акустической изоляции.

Отличия обычно более значительны для высоких классов звукоизоляции. Вероятно, например, что разность между определенными в лаборатории и в условиях эксплуатации вносимыми потерями для классов В и С больше, чем для класса А.

5.6 Типичные значения снижения суммарного уровня шума

Типичные значения снижения суммарного уровня шума рассчитывают для различных источников шума и классов звукоизоляции.

По данным таблицы 2 и вносимым потерям (таблица 1) получены указанные в таблице 4 приблизительные значения снижения суммарного уровня шума для различных классов звукоизоляции и типов источников шума. Проектант должен получить собственную оценку, основываясь на реальных данных.

Таблица 4 - Типичные значения снижения суммарного уровня шума облицованной трубы с присоединенными источниками шума различного типа

Класс звукоизоляции

Диаметр трубы D, мм

Расчетное снижение суммарного уровня шума, дБА

Центробежные насосы

Центробежные компрессоры

Управляющие клапаны

Поршневые компрессоры

А1 и А2

Менее 650

4а)

10

14

5

A3

650 D < 1000

9

15

18

9а)

В1

Менее 300

5

11

16

5

В2

300 D < 650

6

14

18

6

В3

D 650

10

18

22

10а)

С1

Менее 300

9

18

22

9

С2

300 D < 650

11

20

24

10

С3

650 D < 1000

17

25

29

17а)

а) Акустическая изоляция может быть недоступной по стоимости или редко применяемой.

6 Типичные конструкции акустической изоляции

6.1 Общие положения

В настоящем разделе указаны материалы акустической изоляции и их акустические свойства, которые должны соответствовать максимальной рабочей температуре и химическим свойствам окружающей среды. Приведенные примеры не исключают применение других материалов. Также могут быть применены различные дополнительные (промежуточные) покрытия. Следует осторожно относиться к замене материалов, так как многие однотипные по температурным свойствам материалы непригодны для акустической изоляции, особенно жесткие материалы.

В приложении В показана основная конструкция акустической изоляции. В приложении С приведены примеры типовых конструктивных элементов.

6.2 Обшивка

6.2.1 Общие положения

Обшивка предназначена:

- препятствовать звуковому излучению трубы. Обшивка может иметь дополнительный слой, увеличивающий ее массу, и/или демпфирующее покрытие;

- защищать пористый слой от механических повреждений и от воздействия атмосферных факторов на пористый слой и поверхность трубы. Поэтому обшивка должна быть достаточно прочной и долговечной.

Для обеспечения эффективности обшивки, особенно для высоких классов звукоизоляции, не следует допускать акустических утечек, предусматривая, например, соответствующие перекрытия краев обшивки и герметизацию. Отверстия герметизируют мастикой. Принимают меры по предотвращению ослабления крепежа под воздействием вибрации.

6.2.2 Материалы для обшивки

Как пример, пригодны следующие материалы:

- сталь с гальваническим покрытием или плакированная алюминием;

- антикоррозионная сталь;

- алюминий;

- свинец (следует избегать из-за токсичности);

- пластик или резина.

Гальваническое покрытие обшивки не применяют, если она изготовлена из аустенитных антикоррозионных или аустенитных никелевых сталей.

6.2.3 Материалы для дополнительного покрытия

Чтобы увеличить вносимые потери при заданной толщине акустической изоляции, на обшивку наносят дополнительный слой, увеличивающий ее массу. Это целесообразно при недостатке пространства, необходимого для монтажа акустической изоляции.

Дополнительное покрытие применяют также для механического демпфирования обшивки (для увеличения коэффициента потерь) и, как следствие, для снижения звукового излучения. Демпфирующее покрытие должно быть в непосредственном контакте с обшивкой. Демпфирующее покрытие предохраняет обшивку от разрушения в местах ее соприкасания с трубой.

Примеры материалов для дополнительного покрытия:

- листы из мягкой резины или пластика с большой поверхностной массой;

- демпфирующие материалы на основе битума;

- вязкоупругие полимеры с демпфирующими компаундами (листы, слои напыления);

- слоеные покрытия (сэндвичи) из стальных или алюминиевых листов;

- двухслойная обшивка из тонких металлических листов (потери из-за трения и компрессии воздушного слоя).

6.2.4 Виброакустическая изоляция

Следует избегать соприкасания обшивки и вибрирующих элементов трубопровода, например фланцев. С этой целью, а также для заделки щелей применяют герметики, закрывающие короткие каналы, по которым происходят акустические утечки [рисунки С.1 и С.2 (приложение С)].

Пригодны следующие материалы для виброакустической изоляции:

- синтетический и натуральный каучук;

- негорючий войлок.

Если эти материалы не выдерживают рабочую температуру, то щели герметизируют набивкой в них материала, из которого изготовляют пористый слой (6.3).

6.3 Пористый слой

Пористый слой применяют в целях:

- упругого опирания обшивки для ее виброизоляции;

- преобразования звуковой и вибрационной энергии в тепловую.

Поэтому он должен иметь оптимальное сопротивление продуванию пульсирующими потоками, возникающими в звуковых полях при колебаниях звукового давления.

Пористый слой обычно изготовляют в форме матов или цилиндрических секций.

Для предотвращения передачи через обшивку шума, порождаемого вибрацией, выбирают материалы с механической жесткостью менее 105/t, Н/м3, где t - толщина пористого материала, м.

Малую эффективную жесткость можно также обеспечить уменьшением толщины пористого слоя, чтобы имелся воздушный зазор между ним и обшивкой. В этом случае упругую опору для обшивки выбирают по 6.4.

Для изготовления пористого слоя пригодны следующие материалы:

- минеральное волокно (стекло, базальт, керамика);

- вспененный пластик с открытыми порами.

Волокна пористого слоя, перпендикулярные к стенке трубы, могут увеличить его жесткость и поэтому ухудшить акустические характеристики.

Жесткие материалы (например, пенополиуретан или пенополиизоцианурат, пеностекло и силикат кальция) не обеспечивают необходимые акустические свойства, но могут потребоваться по другим причинам. Эти материалы используют как дополнительные, но не заменяющие пористый слой.

6.4 Опора для обшивки

Если пористый слой набран из полужестких секций и трубопровод горизонтален, то обычно опоры для обшивки не требуются. Если слой мягкий или между ним и обшивкой имеется воздушный зазор, то необходимы специальные опоры для обшивки.

Жесткие дистанционные распорные кольца, используемые при теплоизоляции, не следует применять для акустической изоляции. Кольца должны иметь упругие элементы с упорами в направлении, перпендикулярном к оси трубы, для ограничения деформации обшивки [рисунок С.3 (приложение С)].

Опорные кольца [рисунок С.4 (приложение С)], воспринимающие вес вертикальных участков акустической изоляции, должны иметь упругие элементы. Упругие элементы должны по возможности иметь ту же жесткость в поперечном и продольном направлениях, что и дистанционные распорные кольца. Упругие элементы опорных колец должны иметь механические упоры в поперечном и продольном направлениях для ограничения перемещения изоляции в случае разрушения упругих элементов.

Если рабочая температура не позволяет применить натуральный или искусственный каучук в конструкции упругих элементов, то должны быть использованы другие материалы, например стальные упругие опоры в виде гофрированных полос или плетеной металлической сетки.

7 Монтаж

7.1 Общие положения

Существенной особенностью конструкции акустической изоляции является то, что обшивка не должна непосредственно или через соединительные элементы касаться трубы (металл по металлу). Любое касание передает вибрацию на обшивку, уменьшая или полностью исключая снижение шума. Касание может даже усилить шум, поскольку площадь поверхности обшивки велика.

Упругие элементы не должны иметь предварительного сжатия или растяжения, превышающего пределы их рабочей деформации.

Акустически изолируемая труба не обязательно должна быть горячей. Следует обращать внимание на предотвращение коррозии обшивки, попадания дождевых капель и конденсации водяных паров внутри и снаружи изоляции. Предотвращать конденсацию водяных паров особенно важно для трубопроводов, эксплуатируемых в холодном состоянии. Стыки тщательно герметизируют для предотвращения протеканий.

Хотя материалы для теплоизоляции могут быть пригодными и для акустической изоляции, к последним предъявляют особые требования. Особое внимание следует уделять устранению акустических утечек через щели и элементы виброизоляции, чтобы не допустить передачу вибрации на обшивку или опоры.

Примечание - На рисунках С.1 - С.6 (приложение С) показаны типовые конструкции акустической изоляции, но при реальном монтаже детали конструкций могут различаться в зависимости от конкретной ситуации.

7.2 Класс звукоизоляции и длина облицованного участка трубы

Класс звукоизоляции и длину облицованного участка трубы устанавливает проектант акустической изоляции.

7.3 Торцевые заглушки

В месте, где заканчивается акустическая изоляция, устанавливают торцевую заглушку [рисунки С.1 и С.2 (приложение С)]. Заглушка должна быть возможно ближе к фланцу, но не должна затруднять демонтаж болтов на фланце. Жесткие заглушки изолируют от трубы герметиком (6.2.4).

7.4 Акустические ограждения

Если необходимо уменьшить шум, излучаемый корпусом клапана, то его помещают в акустическое ограждение. Фланцы также помещают в ограждение или под съемный звукоизолирующий кожух. Акустическое ограждение должно быть легкодемонтируемым для обеспечения доступа к фланцу или клапану.

Акустическое ограждение должно иметь поверхностную плотность обшивки, по меньшей мере равную плотности обшивки примыкающих труб. Пористый слой ограждения должен быть изготовлен из того же материала и иметь ту же жесткость, что и пористый слой на трубе, и закреплен так, чтобы обеспечивать неизменность акустических характеристик при повторной установке. Соединения герметизируют для устранения акустических утечек. Примеры приведены на рисунках С.7 - С.9 (приложение С).

Демонтируемые части ограждения должны иметь проушины для подъема, если их масса более 25 кг.

Гибкие соединения (сильфоны) также помещают в акустическое ограждение или под съемную акустическую изоляцию. Их конструкция должна учитывать возможные тепловые расширения гибкого соединения.

В некоторых случаях требуется вентилирование акустических ограждений гибких соединений, так как через неплотности соединения возможна утечка опасных газов и/или тепла (замкнутые акустические заграждения могут быть причиной превышения температуры сверх допустимой для сильфонов некоторых типов). При вентилируемых акустических ограждениях достигаемая звукоизоляция часто оказывается пониженной. На рисунке С.10 (приложение С) показан пример вентилируемого акустического ограждения.

Если акустическое ограждение устанавливают вокруг фланцевого соединения, то оно должно перекрывать обшивку трубы. Для невентилируемых ограждений перекрытие должно быть равно, по меньшей мере, толщине акустической изоляции [рисунок С.7 (приложение С)], а для вентилируемых ограждений - по меньшей мере 100 мм для класса звукоизоляции А, 200 мм - для класса В и 300 мм - для класса С (рисунок С.10).

Акустическое ограждение должно позволять его повторную установку и иметь пористый слой и обшивку. Испытаниями должно быть подтверждено, что оно обеспечивает достаточные вносимые потери.

7.5 Предотвращение механических повреждений

Если акустическая изоляция подвержена механическим повреждениям, то принимают меры по ее защите. Например, если она ступенчатая, то ставят опору под каждую ступень. Если нельзя избежать механической нагрузки, то обшивку усиливают ребрами жесткости и дополнительными дистанционными кольцами.

8 Теплоакустическая изоляция

8.1 Общие положения

Требования к теплоизоляции не рассмотрены в настоящем стандарте. Следует иметь в виду, что они могут быть несовместимыми с требованиями к акустической изоляции. Некоторые трубы должны иметь теплоизоляцию, и их акустически не изолируют, и наоборот. Любые подходящие резиновые или пористые изолирующие материалы могут быть пригодны для теплоизоляции, но жесткая теплоизоляция (например, силикат кальция) малопригодна для акустической изоляции.

8.2 Горячие трубы

Если требуется теплоакустическая изоляция, то некоторые материалы пригодны для обеих целей, если они соответствуют 6.3. Толщина пористого слоя должна быть определена со строгим учетом обоих требований.

8.3 Холодные трубы

Теплоизолирующие покрытия часто изготовляют из жестких незвукопоглощающих материалов. Если требуется теплоакустическая изоляция холодных труб, то вначале наносят теплоизолирующее покрытие, а поверх него акустическую изоляцию. Чтобы избежать конденсации на границе их раздела, дополнительно наносят пароизолирующее покрытие с внешней стороны пористого слоя. Принимают меры по предотвращению повреждений пароизолирующего покрытия, когда на него накладывают обшивку. Заклепки или самонарезные винты для крепления обшивки в этом случае не применяют.

9 Конструкции акустической изоляции, обеспечивающие требуемый класс звукоизоляции

9.1 Общие положения

Применяют акустическую изоляцию различной конструкции. Ее акустические свойства определяют испытаниями для подтверждения соответствия звукоизоляции заданному классу (раздел 10).

Основные конструктивные параметры акустической изоляции, приведенные в таблице 5, могут обеспечить вносимые потери соответствующего класса звукоизоляции без экспериментальной проверки при условии правильного монтажа с детальным соблюдением всех требований.

Таблица 5 - Основные конструктивные параметры акустической изоляции для классов звукоизоляции

Класс звукоизоляции

Параметры применяемых материалов

Значения параметров материалов

А

Минимальная толщина пористого покрытия

50 мм

 

Максимальная жесткость пористого покрытия

2,0 · 106 Н/м3

 

Минимальная поверхностная плотность металлической обшивки

4,5 кг/м2 (например, стальной лист толщиной 0,6 мм)

В

Минимальная толщина пористого покрытия

100 мм

 

Максимальная жесткость пористого покрытия

106 Н/м3

 

Минимальная поверхностная плотность металлической обшивки

6,0 кг/м2 (например, стальной лист толщиной 0,8 мм)

С

Минимальная толщина пористого покрытия

100 мм

 

Максимальная жесткость пористого покрытия

106 Н/м3

 

Минимальная поверхностная плотность металлической обшивки:

 

 

- для труб диаметром менее 300 мм

7,8 кг/м2 (например, стальной лист толщиной 1,0 мм)

 

- для труб диаметром 300 мм или более

10,0 кг/м2 (например, стальной лист толщиной 1,3 мм)

Примечания

1 Если требуется высокая поверхностная плотность обшивки, то ее можно выполнять двухслойной. Например, подходящей конструкцией является стальной или алюминиевый лист снаружи и под ним для обеспечения требуемой массы виниловая пленка с наполнителем из оксида или сульфата бария.

2 Характеристики акустической изоляции зависят от толщины стенки трубы. Конструкции в таблице 5 предназначены для стандартных толщин стенок труб (см. также 10.3.3). Тонкие стенки могут отрицательно влиять на характеристики акустической изоляции, но увеличение толщины стенки может не оказать существенного влияния на них.

Если не установлено иное, то арматура трубопровода должна иметь тот же класс звукоизоляции, что прямые участки труб.

Если трубопровод опирается на стальные опоры, то он должен быть виброизолирован от опор.

Классы звукоизоляции имеют следующие особенности.

Класс А: на фланцы и клапаны акустическую изоляцию не устанавливают.

Классы В и С: по возможности не применяют дистанционные и опорные кольца. Если их применяют, то они должны соответствовать 6.4. Все фланцы и клапаны изолируют по тому же классу, что и трубу согласно 7.4, исключая случаи, когда по соображениям безопасности это не допускается [например, при эксплуатации водородных систем требуется вентилируемое акустическое ограждение (рисунок С.10 приложения С)]. Опоры трубы, если необходимо, должны быть изолированы от бетонных или стальных оснований [рисунок С.5 (приложение С)] или, в альтернативе, установлены на виброизоляторы.

9.2 Материалы

9.2.1 Общие положения

В настоящем подразделе указаны дополнительные к разделу 6 требования к материалам для акустической изоляции.

9.2.2 Обшивка

Минимальная поверхностная масса обшивки должна соответствовать указанной в таблице 5 для соответствующего класса звукоизоляции.

9.2.3 Пористый слой

Пористый слой должен быть в виде покрывала из отформованных по геометрии трубы секций. Для фитингов (коленчатых патрубков или тройников) применяют отформованные секции. Если они не подходят, то разрезают секции или используют те же плоские материалы, как и для изоляции труб. Их вырезают клиньями и подгоняют по месту. Минимизируют зазоры между частями покрытия.

Материалы для пористого слоя указаны в 6.3. Удельное сопротивление продуванию должно быть от 25000 до 75000 Н · с/м4. Это обычно свойственно материалам с объемной плотностью от 80 до 120 кг/м3.

9.2.4 Виброакустическая изоляция

Виброакустическую изоляцию применяют в местах, где имеются касания металла по металлу (6.2.4, приложение В и рисунок С.1 приложения С). Она должна быть толщиной не менее 3 мм и шириной не менее 50 мм.

Кромки обшивки и торцевой заглушки (7.3) должны быть отогнуты для закладки виброакустической изоляции. Если она представляет собой пористый материал, то его внешний край пароизолируют мастичным компаундом.

9.3 Виброизолирующий материал для опоры трубы

Если труба опирается на стальную опору, то для предотвращения распространения звуковой вибрации от стенки трубы на опору и звукового излучения опоры под воздействием вибрации на опору накладывают виброизолирующий материал.

Это не требуется, если трубы укладывают на грунт, бетонные опоры или на фундамент, даже если он имеет в своей конструкции металлическую плиту, на которую устанавливают опору трубы.

Материал должен быть пригоден для условий окружающей среды.

10 Испытания акустической изоляции

10.1 Общие положения

В настоящем разделе описан метод лабораторных испытаний для определения вносимых потерь акустической изоляцией труб диаметром от 100 до 1000 мм. Требования к средствам измерений, испытательной установке и т.д. устанавливают соответствующие основополагающие стандарты на методы измерения шума. Для определения уровней звуковой мощности для расчета вносимых потерь применяют методы на основе ИСО 3741 и [3].

Примечание - Технические методы определения уровней звуковой мощности малых переносных источников шума установлены [4] и [5]. Поскольку они имеют ограничения по максимальным размерам источника шума, то могут оказаться малопригодными для испытаний по настоящему разделу.

Вносимые потери зависят от применяемых материалов, способа монтажа, размеров трубы (толщина стенки, диаметр) и механизма генерации звукового излучения (громкоговоритель в лаборатории, шум потока, шум клапана и оборудования в условиях эксплуатации). По этим причинам лабораторный результат может отличаться от полученного в сходных условиях на практике. Результаты могут быть использованы для целей проектирования и сравнения различных конструкций акустической изоляции.

10.2 Метод измерения в реверберационной камере

Испытуемую трубу устанавливают в реверберационной камере. Шум в трубе создают громкоговорителем или акустическим возбудителем, установленным на ее конце. Измеряют уровни звукового давления необлицованной и облицованной трубы. Поскольку измерения проводят, используя одну и ту же измерительную поверхность, то вносимые потери определяют по разности соответствующих уровней звукового давления с коррекцией на изменение звукопоглощения в камере из-за влияния обшивки.

Примечание - Если обшивка изготовлена из звукоотражающего материала (например, стали или алюминия), то звукопоглощение в камере практически остается таким же, как при необлицованной трубе. В этом случае коррекция на изменение звукопоглощения не требуется.

Результаты получают в третьоктавных полосах от 100 до 10000 Гц или в октавных полосах от 125 до 8000 Гц. Точность на низких частотах в значительной степени зависит от размеров реверберационной камеры.

10.3 Испытательная установка

10.3.1 Испытательная камера

Требования к объему камеры зависят от желаемой точности, диапазона частот измерений и размеров испытуемого объекта.

Камера должна соответствовать требованиям ИСО 3741. Это относится к объему, форме и звукопоглощению в камере, фоновому шуму, температуре и влажности.

Минимальный объем камеры указан в ИСО 3741 (таблица 3). Пригодность камер для измерений широкополосного шума объемом менее указанного в таблице для диапазона частот измерений или объемом более 300 м3 должна быть проверена по ИСО 3741 (приложение А). Предпочтительно, чтобы объем испытуемого объекта, включая акустическую изоляцию, был не более 2 % объема реверберационной камеры.

10.3.2 Монтаж

Испытуемую трубу устанавливают таким образом, чтобы шум от других источников был пренебрежимо мал по сравнению с ее шумом (рисунок 5). Это особенно важно в отношении шума, передаваемого побочными путями, который должен не менее чем на 10 дБ быть ниже шума испытуемого объекта.

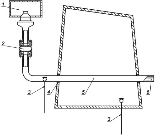
1 - камера для установки громкоговорителя; 2 - гибкая вставка, уменьшающая передачу вибрации; 3 - микрофон; 4 - упругий сальник; 5 - испытуемая труба (необлицованная и облицованная соответственно); 6 - концевое поглощающее устройство

Рисунок 5 - Схема испытательной установки для определения вносимых потерь облицованной трубы

По этой причине трубу монтируют на упругих опорах по обоим концам вне реверберационной камеры. Труба проходит через стенки реверберационной камеры без жесткой связи с ними. Отверстия в стенках камеры соответствующим образом изолируют.

Примечание - В [3], дополнение Х1 описан метод измерения побочного шума при определении максимальных вносимых потерь.

Требования к фоновому шуму - по ИСО 3741. Если фоновый шум выше, то необходимо акустически изолировать трубу вне реверберационной камеры.

Труба должна иметь концевое поглощающее устройство вне реверберационной камеры. Коэффициент отражения (по звуковой мощности) должен быть менее 10 % в диапазоне частот измерений по 10.5.

10.3.3 Размеры трубы

Труба должна иметь длину не менее 4 м и диаметр от 100 до 1000 мм. Для стандартных условий испытаний внешний диаметр трубы должен быть от 100 до 300 мм при минимальной толщине стенки 4,2 мм. Трубы диаметром от 300 до 1000 мм должны иметь минимальную толщину стенки 6,3 мм.

Исходя из практики не рекомендуют большие толщины стенки, так как это может затруднить измерения шума. Опытом показано, что измеренные вносимые потери действительны также для труб со стенкой большей толщины, чем была при испытаниях.

10.3.4 Источник шума

Вне реверберационной камеры на испытуемую трубу устанавливают источник шума с достаточным излучением, позволяющим измерить вносимые потери. Источник шума должен генерировать белый шум в каждой третьоктавной или октавной полосе. Измерения проводят одновременно в одной или нескольких полосах частот.

Внутри трубы устанавливают микрофон для контроля шума источника до и после монтажа акустической изоляции. Источник шума присоединяют к трубе через гибкую вставку для предотвращения передачи звуковой вибрации на трубу. Она представляет собой устройство (например, патрубок) между источником шума и трубой, чтобы исключить или значительно снизить высокочастотные моды колебаний трубы.

Изменение звукопоглощения в реверберационной камере из-за влияния обшивки может быть определено с помощью образцового источника шума, устанавливаемого в реверберационной камере (другого, чем присоединен к трубе) по ИСО 354.

10.4 Испытуемый объект

Акустическую изоляцию монтируют в соответствии с инструкцией изготовителя.

Зазоры в отверстиях стенок реверберационной камеры, через которые проходит труба (необлицованная или облицованная), герметизируют упругим звукоизолирующим материалом, чтобы исключить существенное влияние шума, излучаемого стенками камеры.

10.5 Измерения

Последовательно проводят следующие измерения.

a) Измерения с необлицованной трубой:

- возбуждают трубу широкополосным шумом или последовательно шумом в третьоктавных полосах со среднегеометрическими частотами от 100 до 10000 Гц с помощью установленного на трубе вне реверберационной камеры источника шума;

- определяют средний уровень звукового давления Lb в камере по ИСО 3741;

- определяют средний уровень звукового давления Lbr, создаваемый образцовым источником шума в камере при отключенном источнике шума вне камеры.

b) Измерения с облицованной трубой:

- повторно возбуждают трубу;

- определяют средний уровень звукового давления Lс в камере;

- определяют средний уровень звукового давления Lcr в камере при работе образцового источника шума.

Во время испытаний сохраняют неизменными:

- шум, излучаемый в трубу;

- настройку образцового источника шума;

- положение источника шума в камере;

- положения микрофонов или траектории микрофона.

Необходимо контролировать и, если требуется, принимать меры по предотвращению распространения звуковой вибрации через место соприкасания испытуемого объекта со стенкой камеры. После испытаний каждой модификации объекта необходимо провести уборку камеры, чтобы не допустить изменения звукопоглощения в камере. Последовательность измерений (без изоляции и с изоляцией) может быть изменена по желанию.

10.6 Результаты

В каждой полосе частот измерений вносимые потери DW, дБ, рассчитывают по формуле

DW = Lb - Lc - (Lbr - Lcr),                                                       (8)

где Lb - средний уровень звукового давления в камере при необлицованной трубе, дБ;

Lc - средний уровень звукового давления в камере при облицованной трубе, дБ;

Lbr - средний уровень звукового давления при работе образцового источника шума в камере при необлицованной трубе, дБ;

Lcr - средний уровень звукового давления при работе образцового источника шума в камере при облицованной трубе, дБ.

Примечание - Относительно значения разности (Lbr - Lcr), которая учитывает изменение звукопоглощения в камере из-за влияния обшивки, см. примечание к 10.2.

Вносимые потери в октавной полосе DW, oct, дБ, рассчитывают по вносимым потерям в третьоктавных полосах по формуле

                                              (9)

где DWj - вносимые потери в каждой из третьоктавных полос, образующих соответствующую октавную полосу, дБ.

10.7 Протокол испытаний

В протокол испытаний включают следующую информацию.

a) Объект испытаний:

- описание трубы и акустической изоляции (размеры и материалы);

- характерные особенности монтажа акустической изоляции в реверберационной камере, если способ монтажа отличается от обычного;

- положение испытуемого объекта в камере;

- положение источника шума в камере.

b) Акустические условия:

- описание камеры, включая размеры (в метрах), обработку стен, потолка и пола; схема расположения источника шума и других объектов в камере;

- температура воздуха, °С, относительная влажность (в процентах), барометрическое давление, Па;

- диапазон частот, для измерений в котором камера пригодна по ИСО 3741.

c) Средства измерений, включая наименование, тип, серийный номер и наименование изготовителя:

- дата, место и методы калибровки средств измерений;

- копия сертификата о калибровке.

d) Акустические данные:

- положение и ориентация траектории микрофона или положения точек измерений (с приложением эскиза, если необходимо);

- коррекции на фоновый шум в каждой полосе частот, дБ;

- вносимые потери в октавных полосах в табличной форме, вносимые потери в третьоктавных полосах в графической форме с округлением до 0,5 дБ;

- дата и время проведения измерений;

- информация о лицах и организациях, проводивших испытания.

В протоколе испытаний должна быть запись о том, что уровни звуковой мощности получены в соответствии с настоящим стандартом. Если имеются отступления от требований стандарта, то указывают каждое отступление и оценивают возможное влияние его на результат испытаний.

Если объем испытуемой трубы по отношению к объему реверберационной камеры является причиной увеличения значения неопределенности измерений в заданных полосах частот более указанного в ИСО 3741(таблица 2), то это должно быть подробно объяснено (см. 10.3.1).

Приложение А
(рекомендуемое)

Формулы для расчета минимальных требуемых вносимых потерь DW, min для классов звукоизоляции

Требуемые вносимые потери DW, min классов звукоизоляции в октавных полосах частот от 125 до 8000 Гц приблизительно (с точностью до 0,5 дБ) рассчитывают по эмпирическим формулам таблицы А.1.

Таблица А.1 - Расчет минимально требуемых вносимых потерь

Класс звукоизоляции

Среднегеометрическая частота октавной полосы f, Гц

Требуемые вносимые потери DW, min, дБ

А1 и А2

125 ≤ f 250

-4

 

250 < f 8000

22lg f/f0 - 57

A3

125 f 8000

19lg f/f0 - 44

В1

125 < f 500

20lg f/f0 - 51

 

500 < f 8000

27lg f/f0 - 70

В2

125 < f 250

20lg f/f0 - 51

 

250 < f 8000

30lg f/f0 - 75

В3

125 < f 2000

30lg f/f0 - 70

 

2000 < f 8000

22lg f/f0 - 43,5

С1

125 f 250

13lg f/f0 - 32

 

250 < f 2000

39lg f/f0 - 94,5

 

2000 < f 8000

13,5lg f/f0 - 10,5

С2

125 < f 2000

34lg f/f0 - 78

 

2000 < f 8000

13,5lg f/f0 - 10,5

С3

125 f 2000

27lg f/f0 - 55,5

 

2000 < f 8000

13,5lg f/f0 - 10,5

Примечание - f0 = 1 Гц.

Приложение В
(рекомендуемое)

Общая конструкция акустической изоляции

Общая типовая конструкция акустической изоляции, показанная на рисунках В.1 и В.2, не является обязательной.

1 - труба; 2 - пористое покрытие; 3 - дополнительная масса и/или демпфирующее покрытие; 4 - обшивка

Примечание - Обшивка может быть скреплена заклепками, самонарезными винтами, коррозионно-стойкими стальными бандажными кольцами.

Рисунок В.1 - Общая конструкция акустической изоляции

Рисунок В.2 - Перекрытие по шву (для предотвращения попадания дождевых капель под обшивку)

Приложение С
(рекомендуемое)

Примеры типовых конструктивных элементов

Типовые конструктивные элементы акустической изоляции, показанные на рисунках С.1 - С.10, не являются обязательными.

1 - труба; 2 - торцевая заглушка; 3 - виброакустическая изоляция [рисунок С.2а)]; 4 - бандажное кольцо; 5 - пористый слой;
6 - перекрытие по шву (продольный шов на деталях 4 и 5 для предохранения от попадания влаги); 7 - обшивка;
8 - крепление обшивки: заклепки, винты (не применяют, когда обшивку накладывают непосредственно на пароизолирующее покрытие)
или коррозионно-стойкие стальные скобы

Рисунок С.1 - Типичные элементы акустической изоляции с обшивкой и торцевой заглушкой

1 - труба; 2 - клейкое герметизирующее покрытие; 3 - виброакустическая изоляция; 4 - бандажное кольцо; 5 - кольцо с заплечиком

а) виброакустическая изоляция

1 - торцевая заглушка; 2 - мастичный герметик

b) торцевая заглушка для герметизации обшивки

Рисунок С.2 - Торцевая заглушка акустической изоляции трубы

1 - упругая подушка; 2 - упругая опора обшивки; 3 - бандажное кольцо; 4 - опорное кольцо для обшивки;
5 - обшивка; 6 - воздушный зазор (может быть предусмотрен при наличии пористого слоя)

а)

b)

Рисунок С.3 - Типичная конструкция опоры обшивки

1 - виброизолирующая подушка; 2 - стенка трубы; 3 - обшивка; 4 - ребро, к которому привулканизована подушка; 5 - опора акустической изоляции

Рисунок С.4 - Типичные элементы виброизоляции обшивки и опоры звукопоглощающего покрытия вертикальной трубы

1 - виброизолирующая подушка; 2 - виброакустическая изоляция; 3 - мастичный герметик

Примечание - Для класса звукоизоляции А Т-образная конструкция (подобная изображенной на рисунке С.6) допускается для труб номинальным диаметром до 100 мм, для классов В и С - до 150 мм.

Рисунок С.5 - Опора вертикальной трубы

1 - труба; 2 - обшивка; 3 - пористый слой; 4 - винты или заклепки;
5 - мастичный герметик; а - верхний патрубок;
b - нижний патрубок

Рисунок С.6 - Типичная конструкция акустической изоляции при наличии отводов и тройников

1 - крепление обшивки: заклепки (не применяют, если обшивку накладывают непосредственно на пароизолирующее покрытие) или коррозионно-стойкие стальные скобы

а)

1 - зазор, равный длине болта плюс 30 мм; 2 - перекрытие толщиной, равной толщине пористого слоя; 3 - замковое соединение;
4 - деталь крепления пористого слоя; а - полость, которая может быть заполнена пористым материалом

b)

Рисунок С.7 - Конструкция акустической изоляции фланцевых соединений

1 - обшивка облицованной трубы; 2 - клейкий мастичный герметик; 3 - формованный профиль;
4 - бандажное кольцо (коррозионно-стойкое); 5 - обшивка

Рисунок С.8 - Конструктивные детали торцевой заглушки ограждения

1 - перфорированный лист; 2 - пористый слой; 3 - направляющий буртик съемной части акустического ограждения;
4 - конструкция, поддерживающая фланцевое соединение (с виброизолирующей подушкой); 5 - виброакустическая изоляция

Рисунок С.9 - Пример акустического ограждения клапана

1 - опора; 2 - вентиляционное отверстие; 3 - детали крепления обшивки: заклепки,
винты (не применяют, если обшивку накладывают непосредственно на пароизолирующее покрытие)
или коррозионно-стойкие стальные скобы

а)

1 - перекрытие от 100 до 300 мм; 2 - обшивка; 3 - стеклоткань; 4 - перфорированный лист;
5 - виброизолирующий герметик (если требуется торцевая заглушка)

b)

Рисунок С.10 - Вентилируемое акустическое ограждение фланцевых соединений и сильфонов

Приложение D
(справочное)

Сведения о соответствии национальных стандартов Российской Федерации
ссылочным международным стандартам

Таблица D.1

Обозначение ссылочного международного стандарта

Обозначение и наименование соответствующего национального стандарта

ИСО 354:2003

*

ИСО 3741:1999

ГОСТ 31274-2004 (ИСО 3741:1999) Шум машин. Определение уровней звуковой мощности по звуковому давлению. Точные методы для реверберационных камер

ИСО 3744:1994

ГОСТ Р 51401-99 (ИСО 3744-94) Шум машин. Определение уровней звуковой мощности источников шума по звуковому давлению. Технический метод в существенно свободном звуковом поле над звукоотражающей плоскостью

* Соответствующий национальный стандарт отсутствует. До его утверждения рекомендуется использовать перевод на русский язык данного международного стандарта. Перевод данного международного стандарта находится в Федеральном информационном фонде технических регламентов и стандартов.

Библиография

[1]

ИСО 9053:1991

Акустика. Материалы акустические. Определение сопротивления продуванию

 

(ISO 9053:1991)

(Acoustics - Materials for acoustical applications - Determination of airflow resistance)

[2]

Стандарт союза немецких инженеров VDI 3733-1977

Шум труб (Noise at pipes)

[3]

Стандарт ASTM Е 1222:1990

Стандартный метод лабораторных измерений вносимых потерь облицовкой трубы

 

(Standard Test Method for Laboratory Measurement of the Insertion Loss of Pipe Lagging Systems)

[4]

ИСО 3743-1:1994

Акустика. Определение уровней звуковой мощности источников шума по звуковому давлению. Технические методы для малых переносных источников в реверберационных полях. Часть 1. Метод сравнения в испытательных помещениях с жесткими стенами

 

(ISO 3743-1:1994)

(Acoustics - Determination of sound power levels of noise sources using sound pressure - Engineering methods for small, movable sources in reverberant fields - Part 1: Comparison method for hard walled test rooms)

[5]

ИСО 3743-2:1994

Акустика. Определение уровней звуковой мощности источников шума по звуковому давлению. Технические методы для малых переносных источников в реверберационных полях. Часть 2. Методы для специальных реверберационных камер

 

(ISO 3743-2:1994)

(Acoustics - Determination of sound power levels of noise sources using sound pressure - Engineering methods for small, movable sources in reverberant fields - Part 2: Methods for special reverberation rooms)

 

Ключевые слова: звукоизоляция, класс звукоизоляции, вносимые потери, акустическая изоляция, пористый слой, обшивка, звукоизолирующие материалы, труба, фланец, клапан, акустическое ограждение, торцевая заглушка, определение вносимых потерь, реверберационная камера, испытательная установка, измерения, расчет, протокол испытаний, конструкция акустической изоляции

 

 



© 2013 Ёшкин Кот :-)