Информационная система
«Ёшкин Кот»

XXXecatmenu

ГОССТРОЙ СССР

ЦЕНТРАЛЬНЫЙ НАУЧНО-ИССЛЕДОВАТЕЛЬСКИЙ
И ПРОЕКТНО-ЭКСПЕРИМЕНТАЛЬНЫЙ ИНСТИТУТ ОРГАНИЗАЦИИ,
МЕХАНИЗАЦИИ И ТЕХНИЧЕСКОЙ ПОМОЩИ СТРОИТЕЛЬСТВУ
(ЦНИИОМТП)

МЕТОДИЧЕСКИЕ РЕКОМЕНДАЦИИ
О ПРИМЕНЕНИЮ НАГРЕВАТЕЛЬНЫХ
ПРОВОДОВ И КАБЕЛЕЙ
ПРИ ВЫПОЛНЕНИИ
ОБЩЕСТРОИТЕЛЬНЫХ РАБОТ
В ЗИМНИХ УСЛОВИЯХ

МОСКВА-1986

Рекомендовано к изданию решением секции «Технология строительного производства» Научно-технического совета ЦНИИОМТП Госстроя СССР.

Методические рекомендации по применению нагревательных проводов и кабелей при выполнении общестроительных работ в зимних условиях, М., 1986, 88 с. (Госстрой СССР. Центр. науч.-исслед. и проектно-эксперим. ин-т организации, механизации и техн. помощи стр-ву. ЦНИИОМТП).

В методических рекомендациях рассмотрен способ электрообогрева нагревательными проводами при отрицательной температуре наружного воздуха монолитного бетона, кирпичной кладки, эксплуатируемых сооружений, трубопроводов и др.

Приведена методика выбора и расчета технологических параметров электрообогрева бетона. Определена экономическая эффективность применения нового способа.

Рекомендации предназначены для инженерно-технических работников проектно-технологических институтов и предприятий строительной индустрии.

Методические рекомендации подготовлены отделом бетонных работ ЦНИИОМТП Госстроя СССР (канд. техн. наук В.В. Шишкин).

Ежегодно в нашей стране при отрицательной температуре воздуха укладывают в различные монолитные конструкции более 40 млн.м3 бетона, значительную часть объема которого подвергают дополнительной тепловой обработке. В основном для этих целей используют электроэнергию. Ежегодно на электропрогрев бетона расходуют более 4 млрд. кВт-ч электроэнергии, 220 тыс.т стальной катанки, 20 тыс.т цветных металлов. Кроме того, дополнительные затраты труда при выполнении таких работ составляют около 18 тыс.чел.-лет.

Возможность укладки в конструкции бетонной смеси с минимально допустимой температурой, в том числе на неотогретое основание, при условии обеспечения равномерного обогрева с докритическими температурными градиентами по сечениям позволяет исключить из технологической цепочки подготовительные работы по предварительному отогреву опалубки, арматуры и основания.

Одним из путей, обеспечивающих возможность производства работ в зимнее время, является применение нагревательных проводов.

Нагревательные провода с изолированной токонесущей жилой впервые в нашей стране стали использоваться с 1957 г. в сельском хозяйстве для обогрева животноводческих помещений. В настоящее время для нужд сельского хозяйства налажен серийный выпуск нагревательных проводов с пластмассовой изоляцией марок ПОСХВ, ПОСХП и др. В результате лабораторных исследований, проводимых в ЦНИИОМТП Госстроя СССР с 1974 г., установлена практическая целесообразность использования данных нагревательных проводов для обогрева монолитного бетона и железобетона, а также строительных конструкций из различных материалов. Определена область рационального применения аналогичных по конструкции проводов других марок (например, трансляционного провода марки ПВЖ и др.), а также проводов с токонесущими жилами из цветных металлов к сплавов с высоким омическим сопротивлением.

Новый способ электрообогрева при технической помощи Бюро внедрения ЦНИИОМТП широко применяется на стройках страны, в частности, на строительстве объектов Оскольского электрометаллургического комбината им. Л.И. Брежнева, где благодаря применению предложенного автором способа было успешно завершено возведение монолитных густоармированных колонн и перекрытий цехов окомкования и фильтрации (зима 1980 - 1981 г.г.).

Технология зимнего бетонирования с использованием нагревательных проводов внедрена в трестах: № 48 «Новгородстрой» (стыки ребристого перекрытия Драматического театра), «Кинешмастрой» Главивановостроя (подготовки под полы, стенки резервуаров фабрики «Красная Ветка»*), «Мосспецмонолит» Главмосмонтажспецстроя (плиты перекрытий Дома книги**), «Ригастрой» (монолитные жилые дома***) и еще более чем в 200 организациях.

Нагревательные провода применялись для обогрева выполняемых яри отрицательной температуре воздуха кирпичной кладки, монолитной штукатурки и облицовки из штучных естественных и искусственных материалов, обогрева мерзлых грунтовых и бетонных оснований (управление «Тбилтоннельстрой», трест «Ленмостострой» и др.).

Результаты, полученные при внедрении, а также обобщение опыта организаций по электрообогреву помещений (красноярский ПромстройНИИпроект Минтяжстроя СССР), лестничных пешеходных переходов (ВНИИКП Минэлектротехпрома СССР, Метрогипротранс Минтрансстроя СССР), трубопроводов и резервуаров (СКБ «Транснефтеавтоматика» Главнефтеснаба РСФСР, ПТФ Сиборггазстрой) позволили уточнить основные технологические параметры, приведенные в соответствующих разделах настоящей работы.

Начиная с 1976 г. при техническом содействии ЦНИИОМТП с применением нагревательных проводов возведено более 800 тыс.м3 густоармированных и тонкостенных монолитных конструкций в различных регионах страны. Разработка по техническим требованиям ЦНИИОМТП и серийное изготовление дешевых нагревательных проводов одноразового применения, рассчитанных для закладки в обогреваемый ими бетон, а также нагревательных кабелей повышенного качества для греющей оснастки, намеченное с 1988 г. кабельными заводами Минэлектротехпрома СССР, будет способствовать широкому внедрению в производство нового способа зимнего бетонирования.

* Шишкин В.В. и др. Электрообогрев бетона в зимних условиях (из опыта треста «Кинешмастрой»).//Промышленное строительство. 1983, № 4.

** Шишкин В.В. и др. Зимнее бетонирование перекрытий Дома книги в Москве.//На стройках России. 1985, № 2.

*** Шишкин В.В., Лейбович С.С. Для прогрева бетона.//Строитель. 1986, № 5.

1. ОБЩИЕ ПОЛОЖЕНИЯ

1.1. При зимнем бетонировании, осуществляемом при суточной температуре наружного воздуха ниже 0 °С и ожидаемой среднесуточной температуре ниже -5 °С, необходимо обеспечить твердеющему бетону, уложенному в различные монолитные конструкции, оптимальные температурно-влажностные условия.

1.2. Действующей главой СНиП III-15-76 «Бетонные и железобетонные конструкции монолитные. Правила производства и приемки работ»* запрещено замораживание бетона или охлаждение его ниже расчетной температуры при достижении им прочности менее указанной в табл. 1.

* С 1987 г. заменяется СНиП 03.03.01 «Несущие и ограждающие конструкции». Раздел 1. «Монолитные железобетонные конструкции».

Таблица 1

Марка бетона, до

Прочность бетона, % проектной

без противоморозных добавок

с противоморозными добавками

А

Б

Г

Д

150

50

70

80

100

-

200

40

30

300

40

25

400

30

20

500

30

-

Примечание. А - в обычных конструкциях; Б - в конструкциях, подвергающихся по окончании выдерживания переменному оттаиванию и замораживанию; Г - с предварительно напрягаемой арматурой; Д - подвергающихся после окончания выдерживания действию расчетного давления воды, с повышенными требованиями по морозостойкости, газо- и водонепроницаемости.

1.3. Бетон монолитных конструкций с модулем поверхности более 6 обычно подвергают дополнительному тепловому воздействию. Наиболее экономичен метод электрообогрева нагревательными проводами, позволяющий создать оптимальные температурно-влажностные условия для твердения бетона.

1.4. Нормативная нагрузка на монолитные конструкции допустима после оттаивания бетона и выдерживания его в условиях, обеспечивающих получение проектной прочности.

Режимы обогрева должны обеспечивать (к моменту разопалубливания остывших несущих монолитных конструкций и частичного их загружения) достижение бетоном прочности, указанной в табл. 2.

Таблица 2

Конструкции

Прочность бетона (% проектной) при фактической нагрузке

свыше 70 % расчетной

менее 70 % расчетной

Находящиеся в мерзлом грунте

100

70 - 85*

Несущие длиной менее 6 м

100

70

Несущие длиной 6 м и более

100

80

* При отсутствии в бетоне химических добавок-ускорителей твердения и противоморозных.

1.5. Обогрев возводимых монолитных конструкций, кирпичной кладки, штукатурки, облицовок из естественных и искусственных материалов, цементно-песчаных стяжек, а также эксплуатируемых сооружений, технологического оборудования и оснастки (резервуаров, трубопроводов, бункеров, термоактивной опалубки и т.п.) с помощью изолированных проволочных и кабельных электронагревателей имеет значительные преимущества по сравнению с обогревом паром, горячей водой, инфракрасным прогревом и пр.

1.6. Сущность способа заключается в передаче контактным путем выделяемой проводами теплоты в бетон (раствор), где она распространяется теплопроводностью. Способ легко регулируем по требуемой тепловой мощности.

1.7. Провода с металлической токонесущей изолированной жилой, подключаемые в электрическую сеть, работают как нагреватели сопротивления. Нагревательные провода могут быть заложены непосредственно в массив монолитной конструкции, кирпичной кладки, штукатурки или использованы для внешнего электрообогрева бетона.

1.8. Основными требованиями для обеспечения нормального обогрева с помощью нагревательных проводов, закладываемых в бетон, являются отсутствие механических повреждений изоляции и устранение возможности коротких замыканий токонесущей жилы с арматурой, стальной опалубкой и другими металлическими элементами в процессе монтажа опалубки, арматуры и укладки бетонной смеси. Контактные соединения должны быть плотными, не вызывать искрения и иметь надежную изоляцию. Подключать провода под напряжение разрешается только после полной заливки их бетонной смесью.

1.9. Положительной особенностью способа по сравнению с электродным прогревом является отсутствие разности электрических потенциалов в самой массе бетона (раствора). Благодаря этому достигается достаточно высокий уровень электробезопасности работ. Заземление арматуры железобетонных конструкций и использование ее в качестве защитной экранной сетки позволяет понизить шаговое напряжение и выровнять электрический потенциал на поверхности бетона при нарушении изоляции нагревательного провода.

1.10. Бетон обладает хорошими теплоаккумулирующими свойствами, что позволяет допускать перерывы в электроснабжении от 2-8 ч в зависимости от отрицательной температуры наружного воздуха, толщины обогреваемых монолитных конструкций и утеплителя. В связи с этим возможно осуществлять работу нагревателей в основном в ночное время, когда линии электроснабжения наименее загружены.

1.11. При обогреве монолитных железобетонных конструкций с заземленной арматурой допустимо питание нагревательных проводов от сети напряжением 220 В, в результате чего капитальные затраты на термообработку бетона снижаются.

1.12. По сравнению с электропрогревом бетона трудоемкость работ снижается в 3-4 раза, безвозвратные потери сокращаются в 6-10 раз. стоимость работ по дополнительным затратам уменьшается от 1,5-8,7 руб. на 1 м3 монолитных конструкций различного типа и толщины. Использование автоматических устройств регулирования температурных режимов обогрева бетона и грунта позволяет повысить качество термообработки и более рационально использовать электроэнергию, за счет чего до 32 % снижается удельная энергоемкость работ.

2. ОБЛАСТЬ ПРИМЕНЕНИЯ СПОСОБА ЭЛЕКТРООБОГРЕВА НАГРЕВАТЕЛЬНЫМИ ПРОВОДАМИ

2.1. Нагревательные провода можно применять для обогрева монолитных конструкций различных типов с любой степенью армирования, с модулем поверхности от 2 и выше в зимних условиях при температуре наружного воздуха до -50 °С. Однако экономически целесообразно нагревательные провода использовать для обогрева бетона, (уложенного в стыки, швы и местные заделки, тонкостенные бетонные и густоармированные монолитные, конструкции, подливки под оборудование, подготовки под полы и дорожные основания толщиной до 300 мм, колонны, перекрытия, перегородки и т.п.

2.2. Обогрев бетона нагревательными проводами может быть совмещен с другими способами интенсификации твердения бетона: с предварительным электроразогревом бетонной смеси, с использованием высокомарочных и быстротвердеющих бетонов и химических добавок - ускорителей твердения и противоморозных, термообработкой в термоактивной опалубке и т.д.

2.3. Применение нагревательных проводов позволяет возводить монолитные конструкции с модулем поверхности более 20 м-1. Использование проволочных нагревателей, заложенных в бетон или уложенных на открытой поверхности забетонированных конструкций, дает возможность независимо от изменения температуры наружного воздуха компенсировать теплопотери и выдерживать температуру бетона в заданных пределах, регулировать продолжительность остывания монолитных конструкций по заданным режимам.

2.4. Нагревательные провода можно использовать для предотвращения замерзания грунтовых оснований во время монтажа на них опалубки и арматуры. При этом провода закладывают в подстилающий песчаный слой или бетонную подготовку и мощность их расходуется лишь для компенсации тепловых потерь грунта.

2.5. Оставляемые в бетоне нагревательные провода (кабели) применяют в дальнейшем для удаления наледи на отдельных участках дорог, тротуаров, подогрева стенок резервуаров, трубопроводов, тоннелей, лучистого отопления помещений и т.п. В этих случаях рекомендуют использовать нагревательные провода (кабели) повышенного качества, выпускаемые отечественной промышленностью.

2.6. Нагревательные провода можно закладывать в процессе возведения в кирпичную кладку, цементно-песчаную кровельную стяжку, облицовку естественными и искусственными материалами, монолитную штукатурку и др. для их обогрева и ускорения набора ими прочности.

2.7. Нагревательные провода по предложению ЦНИИОМТП целесообразно закладывать в защитном слое, в зоне стыковых соединений сборных железобетонных элементов, при их изготовлении на заводах ЖБИ.

Это позволяет резко сократить затрата труда по заделке стыков и повысить качество работ.

2.8. Нагревательные кабели, рассчитанные на работу в температурном диапазоне -50 °С...+300 °С, рекомендуется использовать в термоактивной опалубке, электроотопительных приборах и нагревательных панелях для обогрева помещений. Нагревательные панели можно конструктивно выполнять с теплоаккумуляционным элементом путем замоноличивания кабельного нагревателя в бетонную плиту толщиной от 40-100 мм. Для уменьшения тепловой инерционности элемента в нем следует сделать прослойку из теплопроводного цемента.

2.9. Нагревательные кабели, изоляция которых рассчитана на температуру до +150 ºС, рекомендуется применять для обогрева пешеходных дорожек, тротуаров, площадок для молодняка в сельском хозяйстве, резервуаров, трубопроводов, технологического оборудования, лучистого обогрева помещений и вагончиков-бытовок*.

* Руководство по проектированию и устройству обогреваемых полов жилых и общественных зданий, строящихся в Северной строительно-климатической зоне. Красноярский ПромстройНИИпроект. - М.; Стройиздат, 1983.

3. ТЕХНИЧЕСКИЕ ТРЕБОВАНИЯ К НАГРЕВАТЕЛЬНЫМ ПРОВОДАМ, КАБЕЛЯМ И СИЛОВОМУ ЭЛЕКТРООБОРУДОВАНИЮ

3.1. Для обогрева монолитного бетона и железобетона, кирпичной кладки и других строительных конструкций могут быть использованы как специальные нагревательные провода марок ПОСХВ, ПОСХП, ПОСХВТ, ПНВСВ и др., так и провода, выпускаемые для других целей, со стальной оцинкованной жилой (например, трансляционные марки ПВЖ и др.). Технические характеристики нагревательных проводов приведены в приложении 1.

3.2. Наиболее рационально применять для токонесущей жилы нагревательных проводов стальную оцинкованную или неоцинкованную проволоку диаметром 1-3 мм. для стальной жилы берут обычную товарную проволоку из Ст10кп. Стальная оцинкованная проволока должна удовлетворять требованиям ГОСТ 1526-70 и ГОСТ 1668-73. Для нагревательных проводов повышенного качества (марки КНРПВ) применяют углеродистую (канатную) стальную проволоку (ГОСТ 360-73) с большим удельным сопротивлением.

Для обогрева незначительных объемов бетона (стыки, местные заделки и т.п.), где требуются нагреватели небольшой длины, следует применять проволоку из материалов с высоким удельным омическим сопротивлением - нихром, константан и др. (приложение 2).

3.3. В качестве изоляции жилы рекомендуется применять пластифицированный поливинилхлорид или модифицированный полиэтилен, а для проводов, используемых в инвентарных греющих элементах для обогрева монолитного бетона, грунтовых и искусственных оснований, - из кремнийорганических (силиконовых) и фторопластовых материалов, позволяющих выдерживать длительный нагрев при температуре 150-220 °С. Толщина изоляции токонесущей жилы должна составлять 0,5-1 мм.

Эти материалы удовлетворяют требованиям к изоляции нагревательных проводов, применяемых для обогрева различных монолитных конструкций при практически любых сочетаниях технологических параметров.

3.4. Полиэтилен и поливинилхлорид являются химически стойкими термопластичными материалами, однако температура размягчения у них составляет соответственно +70 и +170 °С. Нагревательные провода с полихлорвиниловой изоляцией рекомендуется применять для обогрева армированных монолитных конструкций, а провода с полиэтиленовой изоляцией - для неармированных. Это вызвано тем, что при критическом нагреве при максимально допустимых погонных нагрузках на провода полиэтилен, в отличие от полихлорвинила, плавится, и токопроводящая жила может прорезать изоляцию и замкнуть на арматуру. В то же время при температуре ниже -10 °С провода с полихлорвиниловой изоляцией, в отличие от полиэтиленовой, теряют гибкость, и при монтаже изоляция подвержена растрескиванию. Если нагревательные провода с полиэтиленовой изоляцией используют для обогрева армированных конструкций, при монтаже необходимо в местах контакта с арматурой подкладывать дополнительную изоляцию или погонную нагрузку на провод назначать такой, чтобы соответствующая ей температура нагрева не превышала температуру плавления изоляции.

3.5. При работе в условиях с повышенной опасностью поражения электрическим током (рабочее напряжение свыше 60 В, сырые и влажные условия, химически активная среда, отсутствие автоматики и понижающего трансформатора, питающего нагреватели) следует исключить из конструкции систем электрообогрева заземленную стальную сетку-экран, подверженную коррозии.

3.6. Для обогрева различного оборудования, трубопроводов, резервуаров, во взрывоопасных условиях рекомендуется применять плоские нагревательные кабели с развитой поверхностью контакта с обогреваемой конструкцией (например, ленточные многожильные нагреватели ЭНГЛ-180, технические характеристики которых приведены в приложении 3). Это позволяет по сравнению с обычным кабелем при одинаковой погонной нагрузке в 2-3 раза уменьшить температуру их нагрева. При использовании кабелей круглого поперечного сечения повышают их теплоотдачу и устраняют перегрев за счет увеличения площади контакта с помощью теплопроводящего цементного состава. Состав наносят с помощью специального шприца по всей длине кабеля, жестко зафиксированного на стальной тепловоспринимающей поверхности. Количество нанесенного состава должно обеспечивать полное заполнение объема защитного кожуха, устанавливаемого над кабелем. Защитный кожух выполняется из листовой нержавеющей стали или алюминия толщиной 0,8 мм в виде полуцилиндра с диаметром, равным трем диаметрам кабеля. Целесообразно применение для этих целей нагревателей в виде электроизолированных лент из углеродной ткани с параллельно расположенными токонесущими проводами. Благодаря такой конструкции можно иметь постоянную погонную нагрузку на нагреватель независимо от изменения его длины.

3.7. Нагревательные кабели с магнезиальной изоляцией марки КНМС (приложение 4) рекомендуется применять в термоактивной опалубке для обогрева бетона, электрообогревательных установках, рассчитанных на длительную эксплуатацию, в том числе во взрывоопасных и химически агрессивных средах.

3.8. При обогреве в стационарных условиях трубопроводов, резервуаров, технологического оборудования нагревательными кабелями марки КНМС подвод к ним электропитания от пульта управления рекомендуется осуществлять кабелем с магнезиальной изоляцией и медной жилой.

3.9. Концы нагревательного кабеля марки КНМС сращивают с помощью соединительных муфт. Соединение выполняется в следующей последовательности: концы кабеля разделывают на длину 10-15 мм; на оболочку кабеля надевают стальную трубку (муфту) длиной 30-40 мм, производят опрессовку или спайку встык высокотемпературным припоем токопроводящих жил; на жилы надевают разборную керамическую втулку, сделанную в виде двух полуцилиндров, и, передвигая трубку (муфту), закрывают стыковой узел. Затем производят кольцевую пайку трубки с оболочкой кабеля.

3.10. Для подвода электроэнергии к кабельным нагревателям марки КНМС при работе в обогревательных установках, подвергающихся вибрации, механическим воздействиям (например, в термоактивных опалубочных щитах), рекомендуется применять клеммник конструкции ЦНИИОМТП (рис. 1), рассчитанный на групповое подключение нагревателей и позволяющий жестко зафиксировать металлическую оболочку кабеля и токопроводящую жилу. При эксплуатации во взрывоопасной среде клеммы для крепления токопроводящих жил кабеля выполняют с ребрами для охлаждения, а полость между клеммами крепления жил и оболочек заливают теплостойким компаундом.

3.11. Магнезиальная изоляция нагревательных кабелей обладает повышенной гигроскопичностью; при увлажнении ее сопротивление резко уменьшается. В целях защиты концов кабеля рекомендуется заливать их эмалями следующего состава.

Состав эмалей, %, при температуре плавления, + °С

650

700

Свинцовый глет (PbO) - 70

Свинцовый сурик (Pb3O4) - 60,4

Борная кислота (H3B3) - 27

Борная кислота (H3B3) - 19,6

Перекись марганца (MnO2) - 3

Перекись марганца (MnO2) - 10,5

Кварц (порошок) - 9,5

Эмали заливают с помощью муфеля, представляющего собой фарфоровый сердечник с диаметром внутреннего отверстия, равным диаметру кабеля, на который намотан нихромовый спиральный электронагреватель с утеплением асбестовым шнуром.

3.12. Электропитание нагревательных проводов, как правило, осуществляют при пониженном напряжении 24-120 В. При соответствующем техническом обеспечении безопасного производства работ и экономическом обосновании провода можно подключать непосредственно к промышленной сети напряжением 380/220 В.

3.13. Для питания нагревательных проводов можно использовать различные понижающие трансформаторы: сухие (ТС) на 24 и 36 В, предназначенные для питания ручного электрифицированного инструмента и временного освещения; сварочные; специальные силовые понижающие масляные и др.

3.14. Предпочтительнее использовать специальные понижающие масляные трансформаторы типа ТМО и комплектные подстанции на их базе (типа КТП-63-0Б)*, имеющие несколько ступеней пониженного напряжения от 49-103 В, что дает возможность регулировать в широком диапазоне тепловую мощность проводов при изменении температуры наружного воздуха. Технические характеристики понижающих трансформаторов, применяемых для электропитания нагревательных проводов, приведены в приложении 5.

* Взамен КТП-63-0Б с 1987 г. будет выпускаться автоматизированная комплектная трансформаторная подстанция типа КТПТО-80/VI для электротермообработки бетона и грунта в зимних условиях, питания электрифицированных ручных машин и временного освещения мощностью 80 кВ-А с напряжением на вторичной обмотке 36, 42, 50, 60, 70, 80, 90 В, ток 520-600 А.

Рис. 1. Клеммник конструкции ЦНИИОМТП:

1 - болтовые соединения для крепления токопроводящих проводов; 2 - клеммы для крепления токопроводящих жил кабеля; 3 - токопроводящая жила; 4 - клеммы для фиксации оболочек кабеля марки КНМС; 5 - нагревательный кабель; 6 - стальная скоба для крепления клеммника; 7 - диэлектрическая плита

3.15. Понижающие трансформаторы небольшой мощности при выполнении значительных объемов работ по электрообогреву могут быть смонтированы на общей платформе, оборудованной шкафами для инвентарной кабельной разводки и силовой аппаратуры с системой автоматического регулирования температуры обогрева. Платформа может перемещаться по стройплощадке на пневмоходу или полозьях.

3.16. Однофазные трансформаторы для работы от трехфазной силовой сети напряжением 380 В группируют по три путем соединения в «звезду» или «треугольник».

3.17. Для подключения нагревательных проводов к питающей электросети рекомендуется применять инвентарные кабельные разводки и переносные секции шинопроводов.

3.18. Для регулирования температуры бетона, кирпичной кладки и обеспечения безаварийной работы проволочных нагревателей рекомендуется использовать системы автоматики температурного контроля (например, блок-приставку к КТП-63-0Б, разработанную ЦНИИОМТП).

3.19. Блок-приставку при незначительных изменениях в схеме можно подключать и к другим силовым понижающим трансформаторам. Ее применение позволяет соблюдать заданную температуру изотермического выдерживания бетона с точностью ±2 °С с автоматическим отключением и включением трансформатора под напряжение по сигналу выносного термодатчика, помещенного в обогреваемой конструкции.

4. ЭЛЕКТРИЧЕСКИЙ РАСЧЕТ НАГРЕВАТЕЛЬНЫХ ПРОВОДОВ И КАБЕЛЕЙ

4.1. Электрический расчет сводится к определению рабочего напряжения при минимально допустимой длине проволочного нагревателя и максимально допускаемой на него мощности.

Выбор длины проволочного нагревателя является не только технической, но и экономической задачей, так как завышение длины сверх оптимальной приводит к перерасходу провода, более плотной навивке в монолитной конструкции, к увеличению трудоемкости работ, а в ряде случаев затрудняет укладку бетонной смеси. Уменьшение длины провода приводит к его перегреву, возникновению опасных деструктивных явлений из-за больших температурных перепадов, местному пересушиванию бетона и в конечном результате к снижению его качественных характеристик.

4.2. Основным расчетным параметром при определении длины проволочного нагревателя является линейная (погонная) электрическая нагрузка, приходящаяся на единицу его длины. Для условий теплоотдачи в твердеющем бетоне оптимальная погонная нагрузка (р) на проволочные нагреватели определена экспериментально и составляет: для армированных монолитных конструкций - 30-35 Вт/м; для неармированных конструкций - 35-40 Вт/м.

4.3. Максимальная погонная нагрузка на провод не должна превышать 45-50 Вт/м, т.к. при большей величине нагрузки температура его превышает 100 °С. Это может привести к структурным нарушениям и снижению качественных характеристик бетона. Такую нагрузку в течение всей продолжительности электротермообработки монолитного бетона выдерживают нагревательные провода с поливинилхлоридной и другими видами теплостойкой изоляции в отличие от проводов с полиэтиленовой изоляцией, у которых ее повреждение из-за перегрева приводит к короткому электрозамыканию токонесущей жилы на стальную арматуру и закладные детали.

4.4. Длину проволочных электронагревателей (l) определяют по

                                                                          (1)

где υ - рабочее напряжение питания, В;

S - сечение токонесущей жилы, мм;

ρt - удельное сопротивление жилы при рабочей температуре, Ом · мм2/м;

р - оптимальная погонная нагрузка на провод, Вт/м;

- сопротивление жилы, приведенное на погонный метр нагревателя, Ом · м.

4.5. Учитывая, что удельное сопротивление нагревательных проводов различных марок может значительно меняться в зависимости от химического состава и качества токопроводящих жил, длину нагревателя рекомендуется рассчитывать в каждом отдельном случае, уточнив предварительно величину удельного сопротивления.

4.6. Сопротивление токонесущей жилы провода при нагреве увеличивается. Сопротивление нагретой жилы (Rt) в зависимости от рабочей температуры (t) определяют по формуле

                                                                    (2)

где R0 - сопротивление жилы при нормальной (20 °С) температуре, Ом;

α - температурный коэффициент сопротивления, равный для стальной жилы 0,0046 °С-1 (см. приложение 2).

4.7. Сопротивление стальных токонесущих жил постоянному току при нормальной температуре (R0) нагревательных проводов марки ПОСХВ, ПОСХП, а также применительно к ним трансляционных проводов марок ПВЖ, ППЖ и др. (ГОСТ 1526-70, ГОСТ 1668-73) может быть определено по табл. 3.

Таблица 3

Стальная оцинкованная жила

Электрическое сопротивление при 20 °С, Ом · км

диаметром, мм

сечением, мм2

0,6

0,283

550

1,1

0,950

145

1,2

1,131

140

1,4

1,540

100

1,8

2,542

70

2,0

3,140

48

3,0

7,060

21

4,0

12,560

12

4.8. Для определения сопротивления стальных жил нагревательных проводов переменному току табличные значения сопротивления следует умножить на коэффициент, зависящий от температуры нагрева жилы, численные значения которого приводятся в табл. 4 (экспериментальные данные).

Таблица 4

Рабочая температура, °С

Переводной коэффициент

50

1,01

60

1,02

70

1,04

80

1,06

90

1,10

100

1,20

4.9. Максимальная установившаяся температура (t) нагрева в бетоне нагревательного провода в зависимости от погонной нагрузки (р) приближенно может быть определена по табл. 5 (экспериментальные данные).

Таблица 5

Максимальная установившаяся температура, °С

Погонная нагрузка на провод, Вт/м

50

10

65

15

75

20

85

25

92

30

98

35

103

40

112

50

123

60

4.10. Сопротивление стальной токонесущей жилы различного сечения при рабочей температуре (Rt) для проводов марок ПОСХВ, ПОСХП, ПВЖ и др. в зависимости от погонной нагрузки можно определить по табл. 6 (экспериментальные данные).

Таблица 6

Диаметр токонесущей стальной жилы, мм

Электрическое сопротивление токонесущей хилы (Ом · м) при погонной нагрузке на провод, Вт/м

10

15

20

25

30

35

40

50

0,6

0,682

0,734

0,776

0,827

0,870

0,940

0,977

1,017

1,1

0,180

0,192

0,206

0,210

0,229

0,248

0,257

0,268

1,2

0,170

0,181

0,194

0,210

0,222

0,235

0,240

0,259

1,4

0,124

0,134

0,141

0,146

0,158

0,166

0,177

0,185

1,8

0,088

0,094

0,099

0,108

0,111

0,120

0,124

0,130

2,0

0,059

0,064

0,068

0,072

0,076

0,082

0,085

0,089

3,0

0,032

0,034

0,035

0,036

0,037

0,0375

0,038

0,039

4,0

0,015

0,016

0,017

0,013

0,019

0,020

0,021

0,022

4.11. Длина нагревателей из проводов марок ПОСХВ, ПОСХП, ПВЖ, ППЖ и других, имеющих стальную оцинкованную жилу с сопротивлением, соответствующим значениям, приводимым в табл. 3 и 6, может быть определена по номограмме (рис. 2).

4.12. Длина гибких ленточных электронагревателей марки ЭНГЛ с токонесущими жилами разных диаметров и различными схемами соединений, а также погонная нагрузка и общая мощность могут быть определены по номограмме (рис. 3). Номограмма позволяет при любом заданном параметре ленточного нагревателя найти остальные параметры.

Пример. Требуется нагреватель с мощностью 1000 Вт. Проводя вертикаль от значения 1000 Вт, можно подобрать ленточные нагреватели с различной длиной и схемами соединений. При диаметре жил 0,4 мм и П схеме соединений длина составляет 10 м. Погонная нагрузка при этом составляет 100 Вт/м. Общее омическое сопротивление нагревателя можно определить, проведя вертикальную линию от значения 1000 Вт до пересечения с линией сопротивления, а затем горизонтальную линию из точки пересечения до оси ординат. Найденное значение составляет 43 Ом.

4.13. Кабели нагревательные с кремнийорганической изоляцией повышенного качества марки КНРПВ и экранизированные марки КНРПЭВ имеют жилу из семи скрученных оцинкованных проволок общим сечением 0,35 мм2. Сопротивление жилы при 20 °С составляет 0,53 Ом · м. Длина кабеля при сетевом напряжении 220 В, погонной нагрузке 20 Вт/м составляет 60 пог.м.

Рис. 2. Номограмма для определения длины проволочных электронагревателей со стальной токонесущей жилой

Рис. 3. Номограмма для определения основных параметров гибких ленточных нагревателей ЭНГЛ для напряжения 220 В

5. МОНОЛИТНЫЕ БЕТОННЫЕ И ЖЕЛЕЗОБЕТОННЫЕ РАБОТЫ

5.1. Методика выбора и расчета технологических параметров электрообогрева бетона.

5.1.1. Нагревательные провода размещают, имитируя условия внешнего обогрева, в монолитных конструкциях - в периферийных слоях, в железобетонных - в уровне арматурных сеток и каркасов. Температура во внутренних зонах конструкций поднимается за счет экзотермии цемента и передачи теплоты от более разогретых периферийных слоев.

5.1.2. Основным технологическим параметром является удельная электрическая (тепловая) мощность, приходящаяся на единицу площади обогреваемых конструкций (Руд).

                                                                               (3)

где Р - суммарная электрическая мощность нагревателей, Вт;

F - площадь обогрева, м2.

5.1.3. При расчете определяют необходимую электрическую тепловую мощность, обеспечивающую нагрев бетона до требуемой температуры. При этом удельная мощность может быть выбрана для трех характерных случаев:

нагрева бетона с максимально допустимой скоростью, регламентируемой действующими нормами. Температуру изотермического выдерживания следует регулировать во избежание местных перегревов;

нагрева бетона до вполне определенной температуры, обеспечиваемой подбором необходимой мощности для конкретных внешних условий теплообмена по так называемому саморегулирующемуся режиму, при котором отпадает надобность в устройствах для регулирования температуры бетона;

лишь для компенсации тепловых потерь предварительно разогретой бетонной смеси, уложенной в опалубку по способу «управляемого термоса».

5.1.4. Потребная удельная электрическая мощность проволочных нагревателей зависит от массивности обогреваемых монолитных конструкций, расчетной температуры наружного воздуха и скорости ветра, коэффициента теплопередачи утеплителя. Удельная мощность для всех трех случаев может быть определена графическим путем. (рис. 4, 5, 6). Однако в первом случае для обеспечения нагрева бетона с максимально допустимой скоростью требуется большое количество провода и электроэнергии. В связи с этим обогрев по этому способу в практике применяется редко.

Рис. 4. Номограмма для определения удельной мощности нагревателей, обеспечивающей максимально допустимую скорость подъема температуры бетона

Рис. 5. Номограмма для определения удельной мощности нагревателей при саморегулирующемся режиме

Рис. 6. График для определения удельной мощности нагревателей при использовании предварительно разогретой бетонной смеси и применении метода «управляемого термоса»

5.1.5. Другим важным технологическим параметром является равномерность температурного поля на обогреваемой поверхности конструкции, обеспечиваемая необходимой плотностью укладки нагревательного провода, или расстоянием (шагом) между смежными витками провода (b).

5.1.6. Шаг (b) проволочных нагревателей и количество рядов нагревателей в монолитной конструкции обусловлены требуемой удельной мощностью по расчету.

Шаг проволочных нагревателей можно определить по формуле

                                                                          (4)

где Руд - удельная мощность, Вт/м2;

Р - погонная нагрузка на провод, Вт/м.

5.1.7. В монолитных конструкциях шаг нагревателей должен находиться в пределах 50-150 мм; для конструкций, контактирующих с грунтом (подготовки под полы, каменные и искусственные основания и т.п.), шаг может приниматься 150-200 мм.

5.1.8. В стыках сборных железобетонных элементов, цементно-песчаных подливках под колонны и оборудование, местных заделках шаг нагревателей обычно принимают 25-70 мм.

5.1.9. В ответственных монолитных элементах и несущих конструкциях при шаге нагревателей менее 30 мм и их многорядном размещении возможность закладки провода в бетон должна быть согласована с проектной организацией.

5.1.10. Эффективность обогрева зависит от качества и толщины утеплителя. При возведении монолитных конструкций толщину и вид утеплителя (или теплозащитные свойства разных видов утеплителя) в опалубке и уложенного в открытые бетонные поверхности рекомендуется принимать одинаковой.

5.1.11. Коэффициенты теплопередачи основных теплоизоляционных материалов различной толщины, характеристики которых приведены в приложении 6, приближенно определяют по формуле

                                                         (5)

где δi - толщина слоя теплоизоляционного материала, м;

λi - коэффициент теплопроводности материала слоя, Вт/(м · °С);

αλ - коэффициент передачи теплоты от утеплителя и опалубки излучением, принимаемый равным 2,5 Вт(м2 · ºC);

αк - коэффициент передачи теплоты конвекцией, принимаемый равным при скорости ветра до 5 м/с - 19 Вт/(м2 · °С); до 10 м/с - 30 Вт/(м2 · °С); до 15 м/с - 43 Вт/(м2 · °С).

5.1.12. Средние значения коэффициентов теплопередачи утеплителя различных видов, используемого для утепления открытых горизонтальных бетонных поверхностей, приведены в табл. 7.

Таблица 7

Вид утеплителя нормальной влажности с пленочным укрытием

Коэффициент теплопередачи, Вт/(м2 · °С), при скорости ветра, м/с

0

5

15

Сосновые опилки при толщине слоя 100 мм

0,74

0,89

0,90

Минераловатные маты на синтетическом связующем толщиной 50 мм

1,01

1,31

1,37

Шлак при толщине слоя 150 мм

1,27

1,77

1,87

5.1.13. Коэффициент теплопередачи стальных опалубочных щитов, утепленных минераловатными матами различной толщины, может быть определен по номограмме (рис. 7).

Рис. 7. Номограмма для определения коэффициентов теплопередачи стальных опалубочных щитов

5.1.14. При обеспечении максимально допускаемой температуры обогрева для характерных типов монолитных конструкций следует выдерживать режимы обогрева, приведенные на рис. 8, 9, 10. Продолжительность термообработки и выдерживания бетона должна, при необходимости, корректироваться работниками строительной лаборатории путем сопоставления фактического режима обогрева с рекомендуемым.

5.2. Конструирование и расчет термоактивной опалубки

5.2.1. В термоактивную может быть переоборудована любая инвентарная стальная опалубка каркасной конструкции путем установки во внутреннюю полость электронагревателей и утеплителя. Теплота от нагревателей передается контактным способом через палубу щита в бетон. В бетоне теплота распространяется в основном за счет теплопроводности.

5.2.2. В качестве утеплителя рекомендуется использовать минераловойлочные маты и плиты ПП на синтетическом связующем, холстопрошивной стекломатериал (ХПС), а также заливную теплоизоляцию на основе пенополиуретана и фенопластов с устройством воздушной прослойки толщиной до 20 мм, если температура теплостойкости материала утеплителя превышена. При устройстве теплоизоляции следует закрыть утеплителем все промежуточные ребра каркаса щита, являющиеся «мостиками холода». Коэффициент теплопередачи утепленных щитов не должен превышать 3,5 Вт/(м2 · °С).

5.2.3. Если объем бетонных работ невелик, в термоактивной опалубке, используемой для замоноличивания стыков сборных железобетонных конструкций, местных заделок, в качестве электронагревателей может быть применен провод марок ПОСХВ, ПОСХП, ПВЖ, ППЖ, ПРСП.

Провод для повышения теплостойкости электроизоляции помещают между слоями стеклоткани, пропитанной эпоксидным компаундом. Технологическая последовательность операций по изготовлению термоактивной опалубки такой конструкции следующая:

очистка и обезжиривание внутренней полости стальных щитов;

наклейка внутри на палубу размером на ячейку щита слоя стеклоткани, пропитанной эпоксидным компаундом состава: эпоксидная смола ЭД-20-7 частей, полиэтиленполиамин (отвердитель) - 2 части, дибутилфталат (пластификатор) - 1 часть;

укладка в ячейки щитов шаблонов с проволочными нагревателями;

наклейка на эпоксидном компаунде второго слоя стеклоткани поверх нагревателей;

коммутация нагревателей к инвентарному штепсельному разъему, установленному в щите;

установка утеплителя и защитной крышки из фанеры толщиной 3 мм.

Рис. 8. Номограмма для определения продолжительности термообработки монолитных стен и перекрытий

Рис. 9. Номограмма для определения продолжительности термообработки монолитных колонн, ригелей, балок и фундаментов средней массивности столбчатого типа высотой более 1 м

Рис. 10. Номограмма для определения продолжительности термообработки монолитных массивных фундаментов столбчатого типа высотой более 1 м

5.2.4. Для замоноличивания стыков сборных железобетонных элементов можно использовать гибкую опалубку («бандаж») с ленточными электронагревателями марки ЭНГЛ-180.

Конструктивно гибкая опалубка состоит из влагонепроницаемого чехла из прорезиненной стеклоткани, внутри которого размещена нагревательная панель из слоя стеклохолста с закрепленными на ней ленточными электронагревателями и двух слоев утеплителя из холстопрошивного стекломатериала марки ХПС «Бандажом» оборачивают стык по поверхности металлической опалубки или цементно-песчаной зачеканки, фиксируют на них с помощью завязок и при помощи инвентарного кабельного разъема подключают в сеть.

5.2.5. Наиболее экономичной и простой в изготовлении является термоактивная опалубка с кабельными нагревателями. Долговечность кабельных электронагревателей во многом зависит от качества их укладки и способа крепления в термоактивной опалубке. Ухудшение теплового контакта, например, при попадании утеплителя между палубой и нагревательным кабелем, приводит к местному перегреву, повреждению или выходу из строя нагревательного кабеля раньше, чем погонная нагрузка на него станет максимально допустимой.

5.2.6. Крепить нагревательный кабель в опалубочных щитах следует с помощью съемных кляммер или пружинных прижимов, обеспечивая плотное его прилегание к палубе щита.

5.2.7. При рабочей температуре нагревательного кабеля, превышающей +150 ºС, рекомендуется над ним в щите установить теплоотражающий экран из алюминиевой фольги.

5.2.8. Электрический расчет термоактивной опалубки заключается в определении необходимой мощности электронагревателей в каждом щите, зависящей от удельной мощности и оптимального шага кабельных нагревателей, обеспечивающего при максимально допускаемой погонной нагрузке на кабель равномерное температурное поле на палубе.

5.2.9. Мощность электронагревателей в термоактивном опалубочном щите (Р) определяют по формуле

Р = Рп + Рр,                                                                          (6)

где Рп = Fп · Руд;

Рр = Fр · Рруд;

Рп - мощность нагревателей палубы, Вт;

Fп - площадь палубы, соприкасающейся с бетоном, м2;

Руд - удельная мощность нагревателей палубы, Вт/м2;

Рр - мощность нагревателей у открытых ребер жесткости каркаса щита («мостиков холода»), Вт;

Fр - площадь открытых поверхностей ребер жесткости, м2;

Рруд - удельная мощность нагревателей у «мостиков холода», определяемая теплотехническим расчетом, Вт/м2.

Ориентировочно удельную мощность нагревателей у «мостиков холода» при толщине ребер до 10 мм и высоте до 100 мм назначают равной 0,5Руд. При невозможности установить отдельные нагреватели такой мощности следует по периметру открытых ребер каркаса уменьшить вдвое шаг кабельных нагревателей на участке палубы шириной 100 мм от края ребра.

5.2.10. Удельная мощность комплекта термоактивной опалубки принимается постоянной в течение всей продолжительности обработки и может быть определена по номограмме и графику (см. рис. 4, 5).

5.2.11. Температурный перепад на палубе термоактивной опалубки в зоне между смежными кабельными электронагревателями определяют по формуле

                     (7)

где Руд - удельная мощность нагревателей в щите, Вт/м2;

b - шаг кабельных нагревателей, м;

λп - коэффициент теплопроводности материала палубы щитов, принимаемый для стали 45,4 Вт/(м · ºС);

е ≈ 2,72;

λб - коэффициент теплопроводности бетона, принимаемый равным 1,4 Вт/(м · ºС);

 где δп - толщина палубы щитов, м.

5.2.12. Максимально допустимая погонная нагрузка на нагревательные кабели должна удовлетворять выражению:

                                                                (8)

5.2.13. Шаг кабельных электронагревателей наружным диаметром до 6 мм в стальных термоактивных щитах при допустимых температурных градиентах на поверхности обогреваемых конструкций до 0,4-0,5 °С/см может быть определен по номограмме (рис. 11).

5.2.14. Максимальную установившуюся температуру кабельных электронагревателей диаметром до 6 мм (например, марки КНМС) в термоактивной опалубке при обогреве бетона принимают по табл. 8.

Таблица 8

Электрическая погонная нагрузка на кабельный нагреватель, Вт/м

Температура нагревателя, °С

1

2

10

42

20

79

30

103

40

125

50

148

60

165

70

184

80

203

90

220

100

236

110

250

120

265

130

278

140

290

150

300

160

310

Рис. 11. Номограмма для определения оптимального шага кабельных электронагревателей диаметром до 6 мм в стальной термоактивной опалубке

5.2.15. Технология возведения различных монолитных конструкций в термоактивной опалубке подробно изложена в руководствах, разработанных ЦНИИОМТП и другими организациями*.

* Руководство по бетонированию монолитных конструкций с применением термоактивной опалубки (ЦНИИОМТП). - М.; Стройиздат, 1977.

Руководство по производству бетонных работ в зимних условиях в районах Дальнего Востока, Сибири и Крайнего Севера (ЦНИИОМТП). - М.: Стройиздат, 1982.

5.3. Особенности производства работ по электрообогреву монолитных железобетонных конструкций

Отогрев мерзлых грунтовых оснований и защита их от промерзания

5.3.1. Подготовка конструкции к бетонированию в зимних условиях ведется обычным способом. Грунтовое или искусственное основание, как правило, отогревают на всю глубину промерзания до температуры 5-10 °С.

5.3.2. При большой толщине мерзлого слоя грунтовое основание необходимо оттаивать не менее чем на 3/4 глубины промерзания и не менее чем на 500 мм для пучинистых и 300 мм для непучинистых грунтов.

5.3.3. Размеры участков отогретого основания должны выступать за внешний обрез бетонируемых конструкций по всему их периметру на двойную глубину оттаивания, но не менее чем на 1 м.

5.3.4. Открытые поверхности отогретого основания ранее забетонированных конструкций, с которыми будет соприкасаться укладываемая бетонная смесь, должны быть утеплены. Коэффициент теплопередачи утеплителя не должен быть более 2 Вт/(м2 · °С).

5.3.5. Если укладке бетонной смеси на отогретое основание предшествуют работы по установке арматурных сеток и каркасов, монтажу опалубки, продолжительность которых превышает допустимое время нахождения на морозе отогретого грунта (табл. 9), следует принимать меры по его защите от промерзания. Для этого заблаговременно, до наступления морозов закладывают нагревательные провода в песчаную подсыпку или монолитную подготовку и подключают нагреватели под нагрузку только для компенсации тепловых потерь. Удельную мощность нагревателей принимают в пределах 50-300 Вт/м2 при температуре наружного воздуха до -40 °С.

Таблица 9

Расчетная температура воздуха, °С

Время нахождения в оттаявшем состоянии до момента замерзания, мин

-5

110

-10

80

-15

70

-20

60

-30

40

-40

30

-50

20

Время начала замерзания грунта в открытом, не защищенном от ветра основании определяют по формуле

τз = tн.в + 2υ,

где τз - время замерзания грунта, ч;

tн.в - температура наружного воздуха;

υ - скорость ветра, м/с.

5.3.6. Перед отогревом основание необходимо тщательно очистить от снега и наледи, неровности заполнить сухим песком и обеспечить отвод талой воды за зону обогрева.

5.3.7. Для отогрева мерзлых оснований оптимальной температурой является +80...+90 ºС. Этому условию отвечают разработанные в ЦНИИОМТП термоактивные гибкие покрытия с тканевыми углеродными электронагревателями (ТАГП), а также инвентарные греющие плоские элементы с проволочными электронагревателями (ГЭП).

5.3.8. ГЭПы так же, как и ТАГП, являются универсальной греющей оснасткой. Их можно использовать для отогрева мерзлого грунтового основания, «старого» бетона, удаления наледи с цементно-песчаной стяжки и т.п. Более подробно особенности технологии работ по внешнему электрообогреву бетона изложены в разработанных ЦНИИОМТП Госстроя СССР «Методических рекомендациях по технологии изготовления термоактивных гибких покрытий способом горячей вулканизации и применения их при зимнем бетонировании монолитных конструкций».

5.3.9. Конструкция внешних инвентарных греющих элементов может быть различной. Проволочные нагреватели можно запрессовывать между слоями диэлектрика (резины, оргалита, стеклоткани, пропитанной теплостойкими синтетическими компаундами и пр.). Такие элементы имеют различные размеры и мощность. В приложении 7 приведено описание технологии изготовления простых по конструкции инвентарных греющих плоских элементов (ГЭП), хорошо зарекомендовавших себя в производстве. Оборачиваемость ГЭП составляет не менее 100 циклов до полного износа.

5.3.10. ГЭПы укладывают вплотную к друг другу на подготовленное основание. На ГЭПы укладывается утеплитель любого вида опилки, совелитовые щиты, минераловатные маты и др.).

5.3.11. Для утепления отогреваемого основания рекомендуется применять инвентарное гибкое теплоизоляционное покрытие (ТИГП), предложенное ЦНИИОМТП. Оно представляют собой влагонепроницаемый чехол из прорезиненной ткани, внутри которого находится утеплитель из холстопрошивного стекломатериала марки ХПС. Толщина утеплителя - 30 мм. Оборачиваемость ТИГП составляет не менее 200 циклов.

Технология возведения монолитных конструкций

5.3.12. Нагревательные провода размещают в конструкции перед бетонированием. В монолитных стенах, колоннах и т.п. применяется вертикальная навивка нагревательного провода, так как горизонтальная навивка требует увеличения промежуточных точек его крепления на арматурный каркас во избежание провисания при укладке бетонной смеси. В армированных конструкциях провод навивают снаружи на арматурные сетки и каркасы с тем, чтобы он располагался в наиболее защищенной от механических воздействий зоне при бетонировании - между арматурой и опалубкой. В бетонных конструкциях провод навивают на шаблоны, которые укладывают в бетон по мере бетонирования. Шаблоны рекомендуется делать инвентарными.

5.3.13. Перед началом работ рекомендуется заготовить проволочные нагреватели расчетной длины. Если применяют нагреватели различной длины или сечения соответственно для обогрева разнотипных конструкций (стен, перекрытий, колонн и т.п.), рекомендуется использовать провода с разной окраской изоляции. Навивку проводов на арматуру следует осуществлять с помощью «рогатки».

5.3.14. При возведении однотипных монолитных конструкций значительной площади (дорожные основания, перекрытия, откосы, подпорные стенки и т.п.) длину проволочных нагревателей следует назначать кратной ширине, длине или высоте конструкции. При этом осуществляют непрерывную раскладку провода и делают через расчетное количество петель выводы или подключают отводы из монтажного провода.

Решением обратной задачи по номограмме, приведенной на рис. 2, можно определить требуемое рабочее напряжение питания для нагревателя определенной длины. В этом случае отпадает необходимость в предварительной заготовке нагревателей расчетной длины, а весь нагревательный провод для удобства в работе может быть уложен в бухтодержатель или навит на переносном инвентарном барабане. Бухтодержатель конструктивно представляет собой крестовину или диск диаметром 600 мм, в центре которых перпендикулярно закреплен стержень длиной 500 мм.

5.3.15. Нагревательный провод крепят в конструкции без сильного натяжения (с усилием до 3-5 кгс), а в углах с режущими кромками под проводом устраивают дополнительную изоляцию из рубероида, битуминизированной бумаги и т.п.

Во избежание обгорания изоляции, замыкания на массу и перегорания токопроводящих жил в армированных конструкциях следует на концы нагревательного провода надевать трубки из ПВХ, термоусаживающегося полиэтилена или устраивать из бетона выводы монтажным проводом расчетного сечения (обычно 2,5-4,0 мм2). Вывод, как правило, приходится устраивать при применении нагревательных проводов в полиэтиленовой изоляции при погонной нагрузке, превышающей 25 Вт/м.

5.3.16. В целях снижения трудоемкости работ рекомендуется выполнять выводы монтажным проводом от группы из нескольких нагревателей с минимальным количеством узлов соединений. Этого достигают путем подключения концов смежных нагревателей в одной точке к выводу или увеличением рабочего напряжения в питающей электролинии (а, следовательно, и длины отдельного нагревателя). Все узлы соединений необходимо заизолировать электроизоляционной лентой или трубками из ПВХ. Сечение вывода от группы нагревателей выбирают исходя из суммарной токовой нагрузки, приходящейся на нагреватели (приложение 8). Выводы нагревателей следует располагать с одной стороны монолитных конструкций или по осевым линиям, отмечая их узелками, для удобства коммутации к питающей сети.

5.3.17. Коммутацию проволочных нагревателей осуществляют с помощью кабельной разводки или инвентарных секций шинопроводов, к которым подсоединяют отводы. При этом необходимо соблюдать равномерность загрузки фаз питающей электросети.

5.3.18. Датчики системы автоматики регулирования температуры бетона рекомендуется устанавливать в специальные скважины.

5.3.19. В зависимости от толщины монолитных конструкций провод закладывают в бетон в один или несколько рядов, а также применяют инвентарные термоактивные гибкие покрытия (ТАГП) и греющие плоские элементы (ГЭП) для внешнего электрообогрева*.

* Технологическая карта на электрообогрев нагревательными проводами монолитных конструкций, возводимых в зимних условиях. - ЦНИИОМТП, выпуск 2776/124, 1985.

5.3.20. При толщине монолитных оснований до 200 мм и температуре наружного воздуха до -20 °С на подготовленный и отогретый подстилающий песчаный слой укладывают в один ряд зигзагообразно нагревательный провод. Провод может быть навит на шаблоны или на штыри (обрезки электродов, каталки, гвозди, деревянные колышки и т.п.), забитые в грунт с расчетным шагом. При более низкой температуре наружного воздуха шаг провода уменьшают или укладывают еще ряд проводов в верхней зоне монолитного основания. После укладки бетонной смеси открытую поверхность монолитного основания укрывают пароизоляционным материалом (пленкой, битуминированной бумагой и т.д.) и утепляют.

5.3.21. При толщине монолитных оснований свыше 300 мм или температуре воздуха ниже -20 °С рекомендуется комбинированный обогрев проводами, закладываемыми в бетон в зоне контакта с грунтом, и инвентарными греющими плоскими элементами (ГЭП), укладываемыми на открытые бетонные поверхности. Применение ГЭП позволяет отказаться от укладки провода в верхней зоне монолитного основания. Устройство монолитного дорожного основания с комбинированным электрообогревом в зимних условиях представлено на рис. 12.

5.3.22. Температура бетонной смеси, уложенной в опалубку, не должна быть менее 5 °С. В целях сокращения продолжительности термообработки бетона рекомендуется укладка предварительно разогретой бетонной смеси с температурой 50-60 °С.

5.3.23. При условии размещения в зоне контакта с грунтовым основанием нагревательного провода допускается укладка бетонной смеси с температурой около 5 °С на неотогретое непучинистое основание. По мере бетонирования захваток конструкции с отдельными секциями проволочных нагревателей их следует немедленно подключить под обогрев во избежание подмораживания приконтактного слоя бетона.

5.3.24. Водоцементное отношение бетонной смеси должно быть минимально допустимым исходя из условия ее удобоукладываемости в конструкцию. Для уменьшения расхода воды и цемента (до 10 %) в бетонную смесь следует вводить пластификаторы, воздухововлекающие поверхностно-активные вещества (ПАВ) и ускорители твердения. Для бетонирования густоармированных конструкций рекомендуется применять литую бетонную смесь.

5.3.25. При укладке бетонной смеси горизонтальными слоями в массивные сооружения и железобетонные конструкции значительной высоты (стенки, колонны и пр.) отдельные проволочные нагреватели следует размещать в зоне этих слоев. После перекрытия бетонной смесью очередного слоя нагреватели, размещенные в нем, рекомендуется подключить под рабочую нагрузку. Толщина укладываемого слоя не должна превышать 50 см.

5.3.26. Для уплотнения бетонной смеси, уложенной в конструкцию, предпочтительнее применять поверхностные вибраторы, например, для уплотнения слоя толщиной не более 250 мм в неармированных или с одиночной арматурой монолитных конструкциях и до 120 мм - в конструкциях с двойной арматурой. При толщине уплотняемых слоев, превышающей эти значения, используют глубинные вибраторы. При этом не допускаются резкие удары и быстрое опускание рабочей части вибратора в опалубку во избежание повреждения изоляции и обрывов нагревательного провода. По этой же причине запрещается использовать для уплотнения бетонной смеси штыковки и другой инвентарь с режущими кромками. Для уплотнения бетонной смеси в стыках и густоармированных конструкциях следует применять различные насадки и наконечники на глубинные вибраторы.

Рис. 12. Устройство монолитного дорожного основания с комбинированным электрообогревом в зимних условиях:

1 - инвентарные трехфазные секции шинопроводов; 2 - трансформаторная подстанция типа КТП-63-0Б с блок-приставкой АРТ-2; 3 - нагревательный провод; 4 - штыри; 5 - песчаное (щебеночное) основание; 6 - обогреваемый бетон; 7 - ГЭПы; 8 - утеплитель; 9 - коммутирующий кабель с клеммной (распределительной) коробкой; 10 - битуминированная бумага; 11 - температурный датчик; 12 - отводы

5.3.27. Открытые поверхности бетона укрывают пленкой (или битуминированной бумагой), при необходимости укладывают ГЭПы и утепляют слоем сухих опилок толщиной 100 мм или минераловатными матами толщиной 40-50 мм.

Производят коммутацию ГЭП, а при комбинированном обогреве и проволочных нагревателей к питающей электролинии через понижающий трансформатор и ведут термообработку бетона продолжительностью, обусловленной технологией работ и требуемой его конечной прочностью. Длину проволочных нагревателей следует выбирать исходя из рабочего напряжения ГЭП, так как питание их производится от общего трансформатора.

При погонных нагрузках на провода, превышающих 30 Вт/м в армированных монолитных конструкциях, рекомендуется подключать их вначале под напряжение на ступень меньше расчетного, а после 5-6 ч обогрева бетона переключить трансформатор на расчетное напряжение.

5.3.28. После окончания изотермического выдерживания бетона ГЭП демонтируют и переносят на новую захватку. Остывает бетон под слоем утеплителя или ТИГП. Скорость остывания бетона при резком понижении температуры наружного воздуха поддерживают в заданных пределах путем периодических включений под рабочую нагрузку на 0,3-0,5 ч проволочных нагревателей, заложенных в бетоне.

5.3.29. При укладке бетонной смеси с повышенной подвижностью, в том числе литой, в монолитные конструкции, к качеству открытой горизонтальной поверхности которых предъявляются повышенные требования (плиты перекрытия, дорожные покрытия, полы и т.д.), в целях возможности перемещения людей по забетонированным захваткам при укладке утеплителя рекомендуется применять вакуумирование бетона.

Можно также использовать крупноразмерные утепленные облегченные щиты, укладываемые на промежуточные точечные опоры.

5.3.30. Продолжительность обогрева зависит от температуры и от требуемой конечной прочности бетона. Прочность бетона в зависимости от температуры выдерживания может быть определена по графикам (рис. 13, а, б, в, г). С помощью этих графиков возможно определить режимы с изменяющейся температурой в процессе термообработки.

Рис. 13,а, б, в, г. Графики набора прочности бетоном М 200 при различной температуре его выдерживания

Пример. Определить прочность бетона М200 в конструкции с Мц = 8 м-1 на портландцементе М400 при скорости подъема температуры 5 °С/ч, температуре изотермического обогрева 60 °С, его продолжительности 16 ч и остывания со скоростью 5 °С/ч до конечной температуры 0 °С; температура бетонной смеси после укладки в опалубку 10 °С.

Решение. Определяют относительную прочность за период подъема температуры (60 - 10)/5 = 10 ч при средней температуре (60 + 10)/2 = 35 °С.

Для этого из точки А (см. рис. 13б) проводят перпендикуляр до пересечения с аппроксимированной кривой прочности при 35 °С (точка Б). Численное значение прочности за время подъема температуры определяется проекцией точки Б на ось ординат (точка В) и составляет 23 % R28. Находят прирост прочности при изотермическом обогреве за 16 ч как проекцию участка ПН-ГД кривой прочности при 60 °С (отрезок ВЖ), что соответствует (61 - 23) = 38 % R28. Участок ПН определяется: (5 + 16) = 21 ч. Определяют прирост прочности бетона за (60 - 0)/5 = 12 ч при средней температуре (60 + 0)/2 = 30 °С как проекцию участка КЛ-ЗИ кривой прочности при 30 °С на ось ординат. Отрезок КЛ (58 + 12) = 70 ч определяют проекцией точки Ж на кривую прочности при 30 °С (точка З) и далее на ось абсцисс (точка К). Отрезок МЖ соответствует 6 % R28. За весь цикл обогрева бетон приобретает прочность 23 + 38 + 6 = 67 % R28.

Замоноличивание стыков сборных железобетонных элементов

5.3.31. Стыки сборных железобетонных элементов по степени насыщенности стальной арматурой и закладными деталями условно можно разделить на три группы: густоармированные (стыки колонн, перекрытий в безригельных каркасных зданиях, сборных стеновых элементах резервуаров); слабоармированные (ригеля с колонной, стеновых панелей) и неармированные (стыки колонн с фундаментами стаканного типа).

5.3.32. Объем монолитной заделки и количество сопрягаемых сборных элементов в различных стыках изменяются соответственно от 0,01-1,6 м3 и от 2-9 единиц.

5.3.33. Экономически и технически целесообразно замоноличивать различные типы стыков с применением термоактивной опалубки, нагревательных проводов, индукционного нагрева, с противоморозными добавками в бетонной смеси или комбинациями этих способов.

5.3.34. Полость стыка перед замоноличиванием должна быть подготовлена, т.е. очищена от мусора, снега, наледи и отогрета до положительной температуры (не менее +5 °С).

5.3.35. Если технически невозможно отогреть стыкуемые элементы до положительной температуры, допускается в очищенный стык укладывать предварительно разогретую бетонную смесь. При этом теплозапас смеси должен обеспечить нагрев до положительной температуры стыкуемых элементов с проведением более длительного (не менее, чем на 25° по сравнению с летним временем) повторного вибрирования ее с целью улучшения теплообмена и выравнивания температуры между бетонной смесью и стыкуемыми элементами.

5.3.36. При неблагоприятных условиях (очень низкая температура наружного воздуха, невозможность предварительного отогрева стыкуемых элементов, малый объем стыка и большая площадь охлаждения) возникает опасность замерзания бетонной (растворной) смеси в полости стыка до начала обогрева. В этом случае в бетонную (растворную) смесь требуется вводить противоморозные добавки в пропорции до 12 % от массы цемента в зависимости от расчетной отрицательной температуры воздуха.

5.3.37. Замоноличивание бетонной (растворной) смесью с противоморозными добавками при температуре воздуха ниже -25 °С без последующего обогрева рекомендуется применять в стыках, не воспринимающих расчетные нагрузки, так как нарастание в них прочности труднопрогнозируемо и зависит от погодных условий.

5.3.38. Отогрев сборных стыкуемых элементов до положительной температуры может быть осуществлен с помощью термоактивной опалубки или нагревателей, помещенных в стык. Например, для отогрева стаканов монолитных фундаментов под колонны внутрь их помещают трубчатый электронагреватель (ТЭН) мощностью 0,5-1,5 кВт (220 В). Стакан сверху укрывают утепленной деревянной крышкой, обитой кровельной сталью. Наружные открытые бетонные поверхности фундамента утепляют. Продолжительность отогрева составляет 4-8 ч.

5.3.39. В неармированные и слабоармированные стыки нагревательные провода, навитые на шаблоны, укладывают перед их замоноличиванием. Шаблоны делают в виде пластмассовых или сварных рамок из стальной проволоки диаметром 4 мм.

5.3.40. В густоармированных стыках нагревательные провода навивают на арматурный каркас и закрепляют скрутками из вязальной проволоки (рис. 14а). Нагревательные провода навивают по периметру арматурного каркаса стеновой панели с шагом 50-60 мм. Концы провода при бетонировании выводят наружу или подключают к клеммнику, устанавливаемому в нижней части панели с внутренней стороны. После монтажа стеновых панелей нагревательные провода подключают к питающей электросети с напряжением 36-85 В. Через 1-3 ч обогрева стыкуемые поверхности панелей приобретают положительную температуру. Это позволяет производить замоноличивание монтажных стыков и швов по способу, применяемому в летних условиях, а также вести монтаж панелей верхнего яруса, нагреватели которых также подключают к питающей электросети. Продолжительность обогрева бетона замоноличивания до набора им проектной прочности при температуре +70 °С в среднем составляет 18 ч. Приведенная мощность нагревателей на 1 пог.м стыка стеновых панелей толщиной 220 мм составляет от 180-250 Вт/м при температуре наружного воздуха от 0...-40 °С соответственно. Средний расход электроэнергии составляет 3,6 кВт · ч/пог.м стыка.

5.3.41. При отсутствии нагревательного провода с высоким омическим сопротивлением и незначительным его расходом на стык проволочные нагреватели (марки ПОСХВ и др.) нескольких стыков соединяют последовательно и подключают к питающей сети. Коммутацию проволочных нагревателей между стыками и к питающей сети производят монтажным проводом сечением 4-6 мм2.

5.3.42. Протяженные стыки с малым объемом замоноличивания (например, между железобетонными стеновыми панелями сборных жилых и производственных зданий) по предложению ЦНИИОМТП рекомендуется обогревать с помощью нагревательных проводов, заделанных в сборные железобетонные конструкции при их централизованном изготовлении на заводах ЖБИ (рис. 14б).

5.3.43. Обогрев нагревательными проводами, заделанными в бетон, применяют для удаления наледи с поверхности стеновых панелей. Для этого панели перед монтажом укрывают брезентом и нагреватели в них подключают под напряжение на 1-2 ч. При «монтаже с колес» готовых панелей с замоноличенными нагревательными проводами и обогреве ими бетона стыковых соединений создаются условия для высокого темпа строительства многоэтажных панельных зданий, не зависящего от суровых климатических условий.

Обогрев бетона с противоморозными добавками

5.3.44. Химические добавки, вводимые в бетонную смесь, улучшают физико-механические свойства бетона, а в ряде случаев позволяют сократить удельный расход цемента и энергоресурсов.

5.3.45. Противоморозные добавки целесообразно вводить в бетонную смесь, подвергаемую электрообогреву, для понижения температуры льдообразования и сохранения более значительного срока удобоукладываемости смеси в случаях, когда условия транспортирования и укладки ее при отрицательной температуре наружного воздуха не позволяют сохранить положительную температуру смеси до начала обогрева.

Рис. 14. Способ обогрева стыков сборных железобетонных элементов нагревательными проводами:

а - с укладкой нагревательного провода в стык колонн на стройплощадке; б - с замоноличиванием проводов в стеновую панель на заводе (армирование условно не показано); 1 - сборные железобетонные колонны; 2 - нагревательный провод; 3 - проводочные скрутки; 4 - клеммник; 5 - стеновая панель

5.3.46. Рекомендуется применять следующие противоморозные добавки: смеси хлористого кальция и хлористого натрия (CaCl + NaCl), хлористого кальция и нитрита натрия (CaCl + NaNO2), нитрит-нитрат-хлорид кальция Ca(NO2)2 + Ca(NO3)2 + CaCl2 и нитрит натрия (NaNO2). Бетонная смесь с добавкой нитрит-нитрат-хлорид кальция характеризуется ускоренным сроком загустевания, поэтому дополнительно в нее рекомендуется вводить замедлители схватывания цемента - сульфитно-дрожжевую бражку (СДБ) в количестве до 0,5 % массы цемента.

5.3.47. Запрещается вводить в обогреваемый бетон поташ, что приводит к недобору прочности более 30 % и снижению морозостойкости, а также добавки, содержащие мочевину, которая разлагается при температуре выше +40 °С.

5.3.48. При обогреве бетона с противоморозными добавками нагревательными проводами и кабелями не требуется выполнять специфические технологические требования, так как на кинетику роста прочности бетона оказывает действие только тепловой фактор. В зависимости от содержания противоморозных добавок в бетоне значения допускаемой температуры его остывания до начала обогрева приведены в табл. 10.

Таблица 10

Допускаемая температура остывания бетона до начала обогрева, ºC

Количество добавок в расчете на безводную соль, % массы воды затворения

от

до

CaCl + NaCl

CaCl + NaNO2

Ca(NO2)2 + Ca(NO3)2 + CaCl2

NaNO2

0

-5

0 + 4

2,5 + 2,5

3 + 3

6

-6

-10

0 + 5

3 + 3

6 + 6

10

-11

-15

1 + 5

6 + 6

10 + 10

16

-16

-20

3 + 7

9 + 9

-

20

6. КОНТРОЛЬ КАЧЕСТВА БЕТОНА

6.1. При предварительном отогреве мерзлого основания следует измерять один раз в смену температуру грунта на глубине 0,3 м, а в случае пучинистых грунтов - на глубине 0,5 м.

6.2. Перед началом бетонирования должно быть проверено наличие утепляющих материалов, проволочных нагревателей и ГЭП в объемах, предусмотренных технологической картой, а также токоизмерительных клещей, вольтметра, диэлектрических ковриков, перчаток и др. Следует проконтролировать отсутствие механических повреждений изоляции проводов, ГЭП, коммутационной сети, понижающих трансформаторов и другого электрооборудования, систем автоматики температурного контроля.

6.3. Не реже двух раз в смену измеряют температуру бетонной смеси в кузовах автосамосвалов, барабанах автобетоносмесителей, в бадьях и после укладки каждого слоя в конструкцию - на глубине 5-10 см.

6.4. До начала укладки бетонной смеси должно быть проверено качество очистки от снега и наледи основания и арматуры. Для удаления остатков снега и наледи опалубочную форму укрывают брезентом и подают в нее пар или горячий воздух от калориферов.

6.5. После бетонирования следует проконтролировать укрытие открытых поверхностей конструкций пленкой и толщину утеплителя поверх нее.

6.6. Контроль температуры обогреваемого бетона следует производить техническими термометрами или дистанционно с помощью термопар, устанавливаемых в скважины. Для измерения температуры рекомендуется использовать электротермометр конструкции Уральского ПромстройНИИпроекта. Число точек измерения температуры устанавливается в среднем из расчета не менее одной точки на каждые 3 м3 бетона, 6 м длины конструкции, 10 м площади перекрытия, 40 м площади подготовок полов, днищ и т.д. Температуру бетона измеряют в процессе обогрева не реже чем через 2 ч. В процессе остывания температуру тонкостенных конструкций толщиной до 10 см измеряют через 4 ч, а среднемассивных конструкций толщиной более 15 см - один раз в смену. Точки измерения температуры следует назначать в наиболее нагреваемых и охлаждаемых зонах конструкций. Один-два раза в смену замеряют температуру наружного воздуха; результаты замеров фиксируют в ведомости.

6.7. Не реже двух раз в смену, а в первые 3 ч с начала обогрева бетона через каждый час следует измерять силу тока и напряжение в питающей цепи. Визуальным осмотром проверяется отсутствие искрения в местах электрических соединений. Сопротивление изоляции нагревателей должно составлять не менее 1 МОм в холодном и 0,5 МОм в горячем состоянии.

6.8. Прочность бетона обычно проверяют по фактическому температурному режиму на наименее нагретых участках. Рекомендуется после разопалубливания определять прочность обогретого бетона, имеющего положительную температуру, с помощью молотка НИИ Мосстроя, молотка Кашкарова, ультразвуковым способом, высверливанием и испытанием кернов. Если бетон после обогрева к моменту остывания до 0 °С имеет 70-75 % R28, то после оттаивания и 28-суточного твердения в естественных условиях при температуре 18-20 °С достигает примерно 100 % R28.

6.9. Общие требования к контролю качества бетона приведены в главе СНиП III-15-76 «Бетонные и железобетонные конструкции монолитные. Правила производства и приемки работ».

7. ЭЛЕКТРООБОГРЕВ В КАМЕННЫХ И ОТДЕЛОЧНЫХ РАБОТАХ

7.1. Электрообогрев кирпичной кладки

7.1.1. При возведении в зимних условиях кирпичных несущих конструкций зданий и сооружений способом «на замораживание» вводятся определенные ограничения по высоте кладки, а также требуются дополнительные теплозащитные меры от воздействия солнечной радиации и по обеспечению равномерного оттаивания ее при потеплении. Обогрев кирпичной кладки нагревательными проводами марок ПОСХВ, ПОСХП и др. возможен одновременно с ее возведением; кроме того, он позволяет устранить недостатки способа «на замораживание».

7.1.2. Шаг проволочных нагревателей рекомендуется принимать равным 150-180 мм, погонную нагрузку - не более 30-40 Вт/м.

7.1.3. Проволочные нагреватели следует закладывать в слой раствора по высоте кладки через 6-7 рядов (рис. 15).

7.1.4. Рекомендуется обогреваемые участки кладки укрывать брезентовыми полотнищами или утепленными щитами, обеспечив плотное прилегание их к кирпичным конструкциям.

Рис. 15. Электрообогрев кирпичной кладки и каменной облицовки в зимних условиях:

1 - нагревательный провод; 2 - слой цементно-песчаного раствора; 3 - утепленный брезент; 4 - каменные облицовочные плиты; 5 - кирпичная кладка

7.2. Производство монолитных штукатурных и облицовочных работ

7.2.1. Монолитные штукатурные и облицовочные работы следует производить при положительной температуре окружающего воздуха. Применение нагревательных проводов позволяет качественно выполнять эти работы при температуре наружного воздуха до -20 °С. Однако, в связи со значительным расходом провода и повышенной трудоемкостью применять этот способ рекомендуют при небольших объемах работ (например, ремонтных).

7.2.2. Растворную смесь следует подавать к месту производства работ в утепленных ящиках с брезентовым верхом. Температура смеси должна быть не ниже +15 °С. При температуре наружного воздуха ниже -10 °С в растворную смесь необходимо при приготовлении вводить противоморозную добавку (например, нитрит натрия) в количестве до 2 % от массы цемента.

7.2.3. Нагревательный провод закрепляют на подготовленной поверхности с помощью стальных скобок или липкой ленты. Отдельные проволочные нагреватели или их группы следует укладывать в пределах площади, условно разбитой на захватки.

7.2.4. Шаг нагревательного провода рекомендуется принимать в пределах 50-100 мм соответственно для температуры наружного воздуха от -20 °С...+5 °С. Погонную нагрузку на провод назначают в пределах, не превышающих 25-40 Вт/м.

7.2.5. По мере окончания штукатурных или облицовочных работ на захватке, при условии полного замоноличивания в ее пределах проволочных нагревателей, немедленно следует укрыть захватку брезентом или утепленными щитами и подключить ее под обогрев (см. рис. 15).

8. ОСОБЕННОСТИ МОНТАЖА СИСТЕМ ЭЛЕКТРООБОГРЕВА В ЭКСПЛУАТИРУЕМЫХ СТРОИТЕЛЬНЫХ КОНСТРУКЦИЯХ И СООРУЖЕНИЯХ

8.1. Противообледенительная система на скатных крышах зданий

8.1.1. При частой смене оттепелей и морозов на скатных крышах с внешним организованным водостоком образуются наледи и сосульки. Удаление их вручную трудоемко, небезопасно и, как правило, приводит к повреждению кровли и последующим протечкам атмосферных осадков внутрь помещений. Для этой цели применяют электрообогрев.

8.1.2. Электрообогрев эксплуатируемых сооружений и конструкций по сравнению с другими видами нагрева более экономичен; так за счет применения простых устройств автоматического регулирования температурных режимов достигается экономия теплоты до 30-40 %. Кроме того, при электрообогреве не загрязняется окружающая среда.

8.1.3. Нагревательные кабели марок КНРПЭВ, КНМС, ЭНГЛ-180 и др. укладывают на элементах кровли открыто или в трубах. В трубы целесообразно укладывать кабели с более низкой теплостойкостью. Два нагревательных кабеля, подключенных параллельно в электрическую цепь, укладывают в водоотводящий желоб и водосточную трубу. При открытой укладке расстояние между кабелями назначают 100-150 мм.

8.1.4. Для фиксации кабелей относительно друг друга используют пластмассовые или стальные фиксаторы (кляммеры), устанавливаемые с шагом 0,5 м.

8.1.5. Для уменьшения тяги в водосточной трубе в нижней части следует установить заглушку с отверстием диаметром 20 мм для отвода воды.

8.1.6. При ширине кровельных сливов более 300 мм рекомендуется по их внешнему краю дополнительно укрепить с помощью скруток из нержавеющей проволоки нагревательный кабель марки КНМС.

8.1.7. Погонную нагрузку на нагревательные кабели с пластмассовой и резиновой изоляцией следует назначать 20-25 Вт/м, на кабель марки КНМС - 80-100 Вт/м, на ленточный кабель марки ЭНГЛ-180 - 50-70 Вт/м.

8.1.8. Концы нагревательных кабелей выводят через сальниковые уплотнения в герметичную соединительную коробку и подключают к силовому кабелю.

8.1.9. Для обеспечения безаварийной и долговечной работы нагревательных кабелей рекомендуется использовать автоматическую систему терморегулирования с манометрическим датчиком. Датчик закрепляют непосредственно на поверхности нагревательного кабеля с помощью проволочных скруток.

8.2. Лучистый обогрев помещений

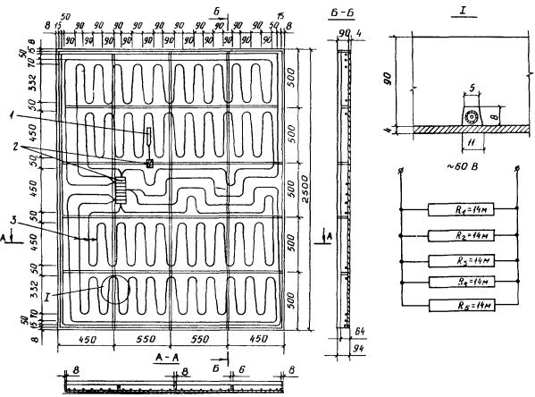
8.2.1. Нагревательные кабели для обогрева помещений укладывают в стены и перекрытия зданий (рис. 16).

В кирпичных стенах кабели заделывают под слоем штукатурки, в монолитных - внутри при их бетонировании. В перекрытиях кабели размещают в слое монолитной бетонной подготовки оснований под полы.

8.2.2. Для создания комфортных условий в жилых и производственных зданиях удельная мощность кабельных нагревателей в зависимости от климатических условий и толщины стен принимается равной 100-200 Вт/м2.

Рис. 16. Схема монтажа нагревательного кабеля при обогреве помещения:

1 - секции нагревательного кабеля; 2 - клеммная коробка со ступенчатым регулятором мощности; 3 - крепежный держатель; 4 - дюбель; 5 - монтажная планка (шаблон)

8.2.3. Погонную нагрузку на кабельные нагреватели следует принимать равной 10-25 Вт/м, шаг нагревателей - в пределах 10-20 см. Нагревательные кабели рекомендуется укладывать на расстоянии 300-400 мм от внутренних стен и 100-150 мм от наружных.

8.2.4. Максимальная температура на поверхности обогреваемых кабельными нагревателями стен не должна превышать 35 °С, полов - 24 °С.

8.3. Обогрев лестничных переходов и открытых площадок

8.3.1. Нагревательные кабели закладывают под основание ступеней лестничных переходов на бетонную подготовку и тщательно заливают цементно-песчаным раствором. Такой обогрев позволяет при отрицательной температуре наружного воздуха устранять со ступеней лестниц снежные наносы и наледь.

8.3.2. Чтобы регулировать температуру обогрева при изменении температуры наружного воздуха от 0...-40 °С, рекомендуется нагревательные кабели разделить на три автономные группы. Последовательное включение их в сеть ступенчатым регулятором мощности должно обеспечивать соответственно удельные мощности 200, 300, 400 Вт/м2.

8.3.3. Шаг кабельных нагревателей следует назначать не более 120 мм, погонную нагрузку не более 40 Вт/м.

8.3.4. При устройстве обогреваемых открытых площадок (участки тротуаров, автодорог, полов и т.п.) нагревательные провода и кабели обычно заделывают в толщу бетонной подготовки на глубину 5-10 см. Рекомендуется применять нагревательные кабели с металлической оплеткой, подключаемой к заземляющему устройству. В бетонных площадках, используемых в сельском хозяйстве для местного обогрева молодняка животных и птицы, при напряжении питания свыше 36 В над нагревателями на глубине около 2 см от поверхности закладывают экранную заземленную сетку из стальной проволоки диаметром 3-4 мм с ячейкой 50×50 мм. Сетка защищает поверхность при нарушении электрической изоляции нагревателей, выравнивает потенциал и защищает животных от шагового напряжения.

8.3.5. При перегреве во избежание обгорания концов кабеля, выходящих наружу из бетона или цементно-песчаной стяжки, необходимо устраивать выводы («холодные» жилы) кабелем с медной или алюминиевой жилой, сопротивление которых меньше, чем у нагревателя. Соединение холодных и горячих жил кабелей осуществляют сваркой, пайкой или опрессовкой; на место соединения ставят герметичную муфту. Для периодического осмотра и профилактического ремонта выводы следует ввести в герметичную присоединительную коробку и подключить к питающему кабелю. Присоединительную коробку рекомендуется установить в удобном для обслуживания месте.

8.4. Электроподогрев трубопроводов и резервуаров

8.4.1. Электроподогрев трубопроводов и резервуаров осуществляется двумя способами: прямым нагревом и косвенным (контактным и индукционным).

8.4.2. Прямой нагрев используют в основном для стальных трубопроводов (рис. 17,а). При этом подверженные сильному охлаждению участки или весь трубопровод подключают к понижающему трансформатору с рабочим напряжением на выходе до 60 В. Переменный ток значительной силы протекает непосредственно по трубопроводу и нагревает его стенки. В целях безопасности работ прямой нагрев, как правило, применяют в аварийных ситуациях для обогрева замерзших или застывших в трубопроводе продуктов.

8.4.3. При контактном нагреве теплота передается от кабельных или ленточных электронагревателей, проложенных параллельно или спирально намотанных на стенки трубопровода или резервуара (рис. 17,б). В железобетонных трубопроводах и резервуарах нагревательный кабель замоноличивают в их стенки и днище. Во избежание местных перегревов и теплового повреждения электроизоляции нагреватели должны иметь по всей длине плотный контакт с обогреваемыми поверхностями.

При максимальных погонных нагрузках на нагреватели рекомендуется устраивать их крепление с обеспечением надежного теплового контакта с помощью тепло про водящего цементного состава (смеси глиноземистого цемента, графита, металлической пыли, кремнийорганического полимера на основе диэтилполисилоксановых соединений и толуола) и защитного металлического кожуха треугольного или полукруглого сечения.

Существенным недостатком этого способа является большая трудоемкость работ по замене поврежденного нагревателя, связанная с разборкой теплоизоляции.

8.4.4. Для удобства демонтажа нагревателей без разборки теплоизоляционного покрытия нагревательные кабели могут быть проложены внутри трубопровода или резервуара, что также эффективно по условиям теплопередачи. При обогреве неагрессивных и слабовязких продуктов (вода, масло) нагревательные кабели укладывают в основном внутри подземных трубопроводов. Концы кабеля выводят наружу через сальниковые уплотнения через фланцы штуцеров или тройников и с помощью соединительной герметичной коробки, крепящейся на трубопроводе, подключают к питающей электролинии. При обогреве агрессивных, высоковязких и абразивосодержащих продуктов (нефтепродукты, химические реагенты, пульпа) нагревательные кабели следует размещать в стальных трубах-спутниках, помещенных внутри трубопроводов или резервуаров. Трубы-спутники могут быть приварены к внутренним стенкам трубопроводов или установлены в их центре. Концы труб выводят наружу и тщательно заваривают электросваркой стык. В аварийных ситуациях, а также при недостаточных электрических мощностях в трубы-спутники может подаваться перегретый пар или продукты сгорания газообразного или жидкого топлива.

8.4.5. Индукционный способ обогрева стальных или железобетонных трубопроводов и резервуаров основан на использовании магнитной составляющей переменного электромагнитного поля для нагрева стали вследствие теплового воздействия электрического тока. Индукционный обогрев производят по схеме индуктивной катушки с железом или по схеме трансформатора с сердечником.

8.4.6. Обогрев по схеме индуктивной катушки с железом осуществляется когда трубопровод находится в полости индукционной обмотки, выполненной в виде цилиндрического селеноида. Теплота в основном выделяется в ферромагнитных элементах, направление которых совпадает с осью селеноида. Теплота от нагреваемых стальных стенок трубопровода теплопроводностью передается продукту.

8.4.7. Обогрев по схеме трансформатора с сердечником применяют, когда внутри трубопровода (резервуара) расположен один или несколько магнитопроводов с индукционной обмоткой. Теплота выделяется в замкнутой металлической системе, полость которой перпендикулярна оси магнитопровода.

8.4.8. Индукционный способ обогрева протяженных трубопроводов с помощью вспомогательных трубопроводов-спутников (так называемый поверхностный или «скин»-эффект) основан на выделении теплоты в результате взаимоиндукции двух коаксиально расположенных проводников с взаимно противоположным направлением в них тока (рис. 17,в).

Рис. 17. Электроподогрев трубопроводов:

а - прямой нагрев; б - контактный обогрев (б1 - с внешней прокладкой кабельных нагревателей; б2 - с внутренней прокладкой; б3 - с прокладкой в трубах, врезанных в трубопровод); в - индукционный нагрев;

1 - трубопровод; 2 - токоподводящие медные шины; 3 - токоведущий (силовой) кабель: 4 - теплоизоляция; 5 - трубы-спутники; 6 - нагревательный кабель; 7 - крепежные хомуты; 8 - фланец с сальниковым уплотнителем

8.4.9. В нагревательной стальной трубе-спутнике диаметром от 15-50 мм проложен токоведущий кабель с теплостойкой изоляцией (например, силовые и специальные кабели марок КОБД, КРПТ, ТГВШ, КТО и др. с медными и алюминиевыми жилами). С одной, стороны конец кабеля соединен с нагревательной трубой, другой конец кабеля и трубу подключают к питающей электролинии. Нагревательная труба с помощью сварки прерывистым швом с шагом 100 мм крепится к трубопроводу (резервуару) и защищается вместе с ним теплоизоляцией. Для удобства монтажа кабеля труба может быть заменена на стальной уголок. Стенки труб разогревают за счет возникновения в них вихревых и продольных токов. Положительной особенностью этого способа является отсутствие напряжения на наружной поверхности нагревательной трубы при условии, если толщина ее стенки превышает длину электромагнитной волны в стали при частоте тока 50 Гц. В этом случае наибольшая плотность тока концентрируется на внутренней стороне трубы.

Для обеспечения равномерного обогрева с допускаемыми температурными перепадами на поверхности до 10 °С устанавливают на трубопровод диаметром до 250 мм одну нагревательную трубу, две трубы при диаметре до 450 мм, три трубы - при 630 мм и т.д.

Погонная нагрузка на нагревательные трубы составляет 30-150 Вт/м, рабочее напряжение в зависимости от протяженности трубопровода от 220 В - 10 кВ. Трубопровод должен быть многократно заземлен через каждые 100-200 м.

Для аварийного отогрева трубопроводов небольшой длины и поперечного сечения рекомендуется использовать передвижные силовые установки с инвентарными секциями выносных утепленных магнитных индукторов.

8.4.10. Расчет параметров и выбор режима индукционного обогрева подробно освещен в «Руководстве по производству бетонных работ в зимних условиях в районах Дальнего Востока, Сибири и Крайнего Севера», - М.: Стройиздат, 1982, разработанном ЦНИИОМТП с участием других организаций.

8.4.11. Удельные теплопотери с 1 м2 изолированного трубопровода (резервуара) определяют по формуле

Рп = К · (tпр - tн.в),                                                                (9)

где К - коэффициент теплопередачи утеплителя, определяемый по формуле 5;

tпр - температура продукта в трубопроводе, °С;

tн.в - температура наружного воздуха, °С.

Теплопотери и требуемую мощность для подогрева изолированных минераловатной толщиной 25 мм трубопроводов различного диаметра можно определить по графикам (рис. 18). При другой толщине теплоизоляции в расчет вносится поправочный коэффициент К1, равный при разнице температуры между продуктом и окружающей средой (Δt) для толщины 40 мм - 0,8; 50 мм - 0,7, а также коэффициент К2 = 1,2 неучтенных теплопотерь за счет местного уплотнения и увлажнения изоляции.

Рис. 18. Графики для определения мощности:

а - для компенсации теплопотерь 1 пог.м теплоизолированных трубопроводов; б - для разогрева 1 пог.м теплоизолированного трубопровода в течение 1 ч

Пример. Необходимо определить требуемую мощность для подогрева за 1 ч до температуры +80 °С 1 м заполненного продуктом трубопровода диаметром 150 мм с температурой +10 °С; толщина теплоизоляции 50 мм.

P = qл · К1 · К2.

По графику для Δt = 80 - 10 = 70 °С,

qл = 1100 Вт/м, К1 = 0,7; К2 = 1,2.

Отсюда требуемая мощность Р = 1100 · 0,7 · 1,2 = 924 Вт/м.

9. ОБЕСПЕЧЕНИЕ БЕЗОПАСНОСТИ ПРИ ЭЛЕКТРООБОГРЕВЕ НАГРЕВАТЕЛЬНЫМИ ПРОВОДАМИ И КАБЕЛЯМИ

9.1. При эксплуатации ГЭП, нагревательных проводов, кабелей и силового питающего электрооборудования, помимо общих правил безопасного производства работ, согласно СНиП III-4-80 «Техника безопасности в строительстве» следует руководствоваться «Правилами технической эксплуатации и безопасности обслуживания электроустановок промышленных предприятий» и положениями данного раздела.

9.2. Технический персонал, обслуживающий системы электрообогрева, должен пройти обучение, проверку знаний квалификационной комиссией по технике безопасности и получить соответствующие удостоверения. Дежурные электромонтеры должны иметь квалификацию не ниже III группы.

9.3. Рабочие по электрообогреву бетона снабжаются резиновыми сапогами или диэлектрическими галошами, а электромонтеры, кроме того, - резиновыми перчатками.

9.4. Подключение к сети ГЭП, нагревательных проводов, замеры температуры техническими термометрами осуществляют при отключенном напряжении.

9.5. Зона, где производится электрообогрев бетона, должна быть ограждена, хорошо освещена в ночное время. На видном месте необходимо повесить предупредительные плакаты, правила по технике безопасности, разместить противопожарные средства. В местах ограждения должны быть установлены красные лампочки, автоматически загорающиеся при подаче напряжения в линии обогрева.

9.6. Передвижение людей, размещение посторонних предметов на поверхности ГЭП, включенных под напряжение, не разрешается. Доступ посторонних в зону обогрева запрещается.

9.7. Все металлические нетоковедущие части электрооборудования, обогреваемых конструкций (трубопроводы, резервуары, кровля), арматуру следует надежно заземлить, присоединив к ним нулевой провод (жилу) питающего кабеля. При использовании защитного контура заземления перед включением напряжения следует проверять сопротивление контура, которое должно быть не более 4 Ом. Около трансформаторов, рубильников, распределительных щитов устанавливаются деревянные настилы, покрытые резиновыми ковриками.

9.8. Участок электрообогрева при производстве строительных работ должен постоянно находиться под надзором дежурного электрика.

9.9. Запрещается:

переносить ГЭП волоком за кабельные отводы;

укладывать ГЭП на неподготовленную поверхность, имеющую штыри, режущие кромки, которые могут повредить целостность диэлектрической изоляции проволочных нагревателей;

укладывать ГЭП с нахлестом одно на другое, а также на поверхности, имеющие впадины, ямы и пр., что может нарушить теплоотдачу и вызвать местные перегревы;

подключать ГЭП в сеть с напряжением, превышающим рабочее для конкретных технологических факторов;

подключать под рабочую нагрузку находящиеся на воздухе нагревательные провода, если они не забетонированы в конструкции (частично или полностью) или не зарыты в грунт;

подключать под напряжение ГЭП и нагревательные провода с механическими повреждениями изоляции, ненадежно выполненными коммутационными соединениями;

подключать нагреватели в сеть с напряжением выше 220 В.

9.10. Допускается измерение температуры вручную термометрами и бетонирование монолитных конструкций (в том числе с послойной укладкой бетонной смеси) при неотключенных ГЭП и нагревательных проводах от сети с напряжением не более 60 В, если соблюдены следующие требования:

в зону действия глубинного вибратора не попадают нагревательные провода и отводы, находящиеся под напряжением;

арматура заземлена;

персонал имеет квалификационную группу не ниже второй и работает в резиновой диэлектрической обуви и рукавицах;

работы выполняются под наблюдением электрика.

10. ЭКОНОМИЧЕСКАЯ ЭФФЕКТИВНОСТЬ ПРИМЕНЕНИЯ ЭЛЕКТРООБОГРЕВА НАГРЕВАТЕЛЬНЫМИ ПРОВОДАМИ

10.1. Расчетами, выполненными ЦНИИОМТП Госстроя СССР в соответствии с требованиями «Инструкции по определению экономической эффективности использования в строительстве новой техники, изобретений и рационализаторских предложений» (СИ 509-78), определена эффективность электрообогрева нагревательными проводами возводимых в зимних условиях монолитных железобетонных конструкций типа стен и перекрытий по минимуму приведенных затрат в сопоставимых условиях.

Величину удельного экономического эффекта, приходящегося на 1 м3 бетона, определяют по разности приведенных затрат:

Эу = Пу1 - Пу2 = (С1у1 + ЕнКу1) - (С1у2 + ЕнКу2) + Энр =

 = (С1у1 - С1у2) + Ен(Ку1 - Ку2) + Энр,                                   (10)

где Пу1 и Пу2 - удельные приведенные затраты потребителя;

С1у1 и С1у2 - удельные текущие затраты потребителя без учета накладных расходов;

Ен = 0,15 - нормативный коэффициент эффективности;

Ку1 и Ку2 - удельные капитальные вложения потребителя;

Энр - экономия накладных расходов от сокращения затрат труда и заработной платы.

10.2. Возведение плоского массива стены из монолитного железобетона высотой более 2 м, толщиной 200-1000 мм в стальной утепленной опалубке (К = 2,8 Вт/(м2 · °С) при температуре воздуха -20 °С с обогревом нагревательными проводами, заложенными в бетон, сопоставляли с возведением тех же конструкций со стержневым электропрогревом. В расчете учитывался бетон М 200 с начальной температурой 10 ºС и максимальной температурой обогрева 60 °С.

10.3. В аналогичных условиях сопоставляли возведение монолитных перекрытий (дорожных оснований) с обогревом нагревательными проводами, закладываемыми в массив конструкций, и прогревом бетона накладными электродными панелями. Графики экономической эффективности по дополнительным затратам и трудоемкости на 1 м3 бетона приведены на рис. 19.

Рис. 19,а, б, в, г. Графики экономического эффекта электрообогрева бетона нагревательными проводами:

а, б - при возведении протяженных железобетонных конструкций типа стен, перегородок; в, г - при возведении железобетонных перекрытий, дорожных оснований и покрытий

10.4. При электрообогреве монолитных конструкций в утепленной опалубке (К = 2,8 Вт/(м2 · °С) при различной температуре наружного воздуха дополнительные затраты изменяются в основном за счет затрат на электроэнергию, что позволяет легко вносить в расчет необходимые коррективы. Например, при стоимости 1 кВт-ч электроэнергии 0,02 руб. при изменении температуры воздуха на каждые 5 °С относительно учтенной в расчетах температуры воздуха -20 °С дополнительные затраты изменяются приближенно на 0,05 руб.

10.5. Экономический эффект от применения блок-приставки автоматического регулирования температуры к трансформаторной подстанции типа КТП-63-0Б при обогреве бетона составляет 2358,7 руб., при этом затраты труда снижаются до 675 чел.-ч в год.

10.6. Обогрев бетона нагревательными проводами с применением автоматического регулирования температуры с помощью блок-приставки к КТП-63-0Б по сравнению с электропрогревом снижает удельную материалоемкость и энергоемкость работ. При этом на 1 м3 бетона монолитных конструкций средней массивности в натуральных показателях можно сэкономить 0,01 м3 пиломатериалов, 18,0 кг цемента, 7,6 кг стали, 0,12 кг цветных металлов, 20 кВт-ч электроэнергии.

В приложении 9 даны примеры расчета нагревательных элементов из провода ПОСХП и кабельных нагревателей термоактивного опалубочного щита.

За дополнительными материалами обращаться по адресу: 127434, Москва, Дмитровское шоссе, 9, ЦНИИОМТП Госстроя СССР.

Приложение 1

Технические характеристики нагревательных проводов и кабелей в
пластмассовой изоляции со стальной оцинкованной жилой

Марка провода

Технические условия или ГОСТ на изготовление

Число и номинальный диаметр жилы, мм

Материал изоляции

Номинальный диаметр провода, мм

Максимальная рабочая температура на воздухе при 20 ºС

Завод-изготовитель

Нагревательные провода

ПОСХВ

ТУ 16-505.524-73

1×1,1

Поливинилхлоридный пластикат (ПВХ)

2,9

60

«Молдсельхозтехника» г. Котовск, Молд. ССР)

ПОСХП

 

1×1,1

Полиэтилен

3,4

90

ПОСХВТ

 

1×1,4

Модифицированный полиэтилен

2,3

105

ПНВСВ

ТУ 16-705.526-83

1×1,2

ПВХ, лавсановая или фторопластовая лента, металлическая оплетка, трубка ПВХ

5,8

80

Кабельный завод «Уралкабель» (г. Свердловск)

Нагревательные кабели

КНРПВ

ТУ 16-705.141-80

1×(7×0,25)

Кремнийорганическая резина, самозатухающий полиэтилен, трубка ПВХ

5,55

80

Кабельный завод «Электропровод» (Москва)

КНРПЭВ

 

1×(7×0,25)

То же, с экранирующей оплеткой

6,35

80

-"-

Трансляционные провода

ПВЖ

ГОСТ 10254-75

1×1,4

Поливиниловый пластикат

3,0

60

Кабельный завод «Кирскабель» (г. Кирс Кировской обл.)

ППЖ

 

1×1,8

Модифицированный полиэтилен

3,4

70

ПРСП

 

1×2,0

1×3,0

1×4,0

То же

4,0

5,4

6,4

70

Приложение 2

Технические характеристики основных проводниковых материалов*

* Указаны средние значения удельного электрического сопротивления и температурного коэффициента сопротивления в интервале температур от 0...20 °С.

Наименование металла или сплава (химический состав)

Плотность, 103 кг/м3

Удельное электрическое сопротивление, Ом · мм2

Температурный коэффициент сопротивления 10-4 °С-1

Максимальная рабочая температура, °С

1

2

3

4

5

Алюминий (проволока техническая)

2,70

0,028

43,0

400

Бронза фосфористая техническая

8,90

0,080

40,0

500

Железо (проволока)

7,88

0,152

46,0

500

Латунь

8,65

0,067

30,0

500

Медь красная (проволока электролитическая)

8,93

0,018

40,0

500

Никель

8,90

0,100

50,0

800

Сталь нержавеющая

7,89

0,103

58,0

800

Цинк

7,15

0,059

35,0

350

Сплавы с высоким омическим сопротивлением

Константин (58,8 Cu; 40 Ni; 1,2 Mn)**

8,88

0,44 - 0,52

±0,1

500

Манганин (85 Cu; 12 Mn; 3 Ni)

8,50

0,42 - 0,48

±0,3

100

Нейзильбер (65 Cu; 20 Zn; 15 Ni)

8,70

0,28 - 0,35

±0,4

150 - 200

Никелин (54 Cu; 20 Zn; 26 Ni)

8,77

0,39 - 0,45

1,6

150 - 200

Нихром (67,5 Ni; 15 Cr; 16 Fe; 1,5 Mn)

8,20

1,00 - 1,10

2,0

1000

Реотан (84 Cu; 12 Mn; 4 Zn)

 

0,45 - 0,52

4,0

150 - 200

Фехраль (80 Fe; 14 Cr; 6 Al)

 

1,10 - 1,30

1,0

900

Хромель (89 % Ni + 9,8 % Cr + 1 % Fe + 0,2 % Mn)

8,72

0,68 ± 0,05

6,0

900

Копель (55 % Cu + 45 % Ni)

8,90

0,33 ± 0,05

2,0

600

Алюмель (94 % Ni + 2 % Al + 2,5 Mn + 1 % Si + 0,5 % Fe)

8,40

0,47 ± 0,05

4,0

1000

Неметаллические смеси

Селит- смесь углерода и кремния

9,8

9,8

±2,5

1400

Криптол - смесь угля, графита и карбидов кремния

 

14,0

±3,0

1400

** Значения температурного коэффициента сопротивления для константана изменяются от -0,00004...0,00001 °С-1 в зависимости от химического состава сплава. Минус при температурном коэффициенте указывает, что с увеличением температуры сопротивление уменьшается.

Приложение 3

Типоразмеры и электрические характеристики
гибких ленточных электронагревателей ЭНГЛ-180*

* Разработчик - Ленинградский отдел СКБ Транснефтеавтоматика Главнефтеснаба РСФСР.

Способ подключения к источнику питания

Удельная мощность, Вт/м

Номинальная мощность, кВт

Длина активной части, м

Сопротивление, Ом

Масса, кг

Индивидуальное (без токоведущих проводов)

40

0,17

0,33

0,66

4,07

8,22

16,52

297

146

73

0,90

1,45

2,78

 

 

1,33

33,12

36

6,86

 

60

0,20

3,32

237

0,68

 

 

0,41

6,72

118

1,22

 

 

0,82

13,52

59

2,29

 

 

1,63

27,12

29

5,56

 

80

0,23

2,86

206

0,50

 

 

0,47

5,80

102

1,06

 

 

0,94

11,67

51,5

2,00

 

 

1,88

23,44

26

4,94

 

100

0,26

2,55

183

0,54

 

 

0,53

5,18

92

0,95

 

 

1,05

10,44

46

1,80

 

 

2,10

20,96

23

4,37

Последовательное соединение в нагревательную цепь (с токоведущими проводами)

40

1,33

33,12

36

8,26

60

1,63

27,12

29

6,66

80

1,88

23,44

26

6,84

100

2,10

20,96

23

5,22

Максимальная рабочая температура +180 °С. Сечение - 28×4 мм

Приложение 4

Характеристики нагревательных (нагревостойких) кабелей марки КНМС с минеральной
изоляцией в оболочке из нержавеющей стали или сплава ХН78Т, токопроводящими
жилами из нержавеющей стали, никеля и нихрома по ТУ 16-505.564-75*

* Разработчик - НИИКП Минэлектротехпрома СССР.

Марка кабеля

Число и номинальное сечение жил, мм2

Номинальный диаметр жил, мм

Удельное сопротивление жил Ом/м

Номинальный диаметр кабеля, мм

Номинальная толщина оболочки, мм

Расчетная масса кабеля, кг/км

Максимальная длина кабеля, м

Прейскурантная цена, руб./км (в ценах на 1.01.82 г.)

КНМСС

1×0,070

0,30

13,5

1,5

0,25

10,0

300

455

КНМСпС

1×0,159

0,45

6,2

2,0

0,20

16,0

250

535

КНМСпСп

1×0,025

0,18

-

0,9

0,15

3,7

1200

-

 

2×0,025

0,18

-

0,9

0,15

3,8

1200

-

 

2×0,050

0,26

-

1,3

0,22

8,0

650

-

КНМСС

1×0,283

0,60

3,0

3,0

0,35

37,0

100

1005

КНМСпС

1×0,502

0,80

1,0

4,0

0,55

70,0

50

1570

 

1×0,785

1,00

0,9

5,0

0,65

106,0

30

2180

 

1×1,131

1,20

0,7

6,0

0,75

158,0

20

2860

КНМС Н

1×0,070

0,30

1,5

1,5

0,25

10,5

300

460

КНМСпН

1×0,159

0,45

0,7

2,0

0,20

16,0

250

545

КНМС Н

1×0,283

0,60

0,5

3,0

0,35

37,0

100

1015

КНМСпН

1×0,502

0,80

0,3

4,0

0,55

70,0

50

1590

 

1×0,785

1,00

0,2

5,0

0,65

107,0

30

2220

 

1×1,131

1,20

0,15

6,0

0,75

159,0

20

2910

 

2×0,636

0,90

-

5,0

0,62

107,0

30

2270

 

4×0,708

0,95

0,2

6,0

0,60

158,0

20

3360

КНМСНХ

1×0,070

0,30

21,0

1,5

0,25

10,0

300

465

КНМСНХ-Н

1×0,159

0,45

9,2

2,0

0,20

16,0

250

550

КНМСпНХ

1×0,283

0,60

4,5

3,0

0,35

37,0

100

1035

КНМСпНХ-Н

1×0,502

0,80

2,5

4,0

0,55

70,0

50

1610

 

1×0,785

1,00

1,5

5,0

0,65

107,0

30

2260

 

1×1,131

1,20

1,0

6,0

10,75

159,0

20

2970

Максимальная рабочая температура +600 °С

Приложение 5

Технические характеристики силовых понижающих трансформаторов

Марка и тип трансформатора

Мощность, кВт

Напряжение, В

Ток, А

Масса, кг

Габаритные размеры, мм

обмотка

ВН

НН

ВН

НН

1

2

3

4

5

6

7

8

Силовые трансформаторы

ТМОА-50. Масляный трехфазный

50

380

121; 103; 85; 70; 60; 49

76; 65; 53

239; 413

530

1020×804×1308

КТП-63-0Б. Трансформаторная подстанция на базе масляного трехфазного трансформатора ТМОБ-63

63

380

121; 103; 85; 70; 60; 49

95,8; 81,6; 69,3

301; 520

900

1300×1200×1600

ТСЗИ-2,5У2. Сухие однофазные или трехфазные для питания электроинструмента или ламп местного освещения ТСЗИ-4,0У2

2,5

380/220

12; 36; 42: 220 - 127

-

70, 60

33,5

400×196×430

4,0

380/220

36; 42; 220 - 127

-

111, 95

47,5

400×208×505

ТПТ-63/50ПКУ4. Трехфазные воздушные для электропечей

63

380

56; 5; 75; 2; 32; 7 37,5; 43,5 51,9 64,8; 90

-

403; 700

515

1060×580×1060

ОСУ-100/0,5-А. Сухой однофазный или трехфазный для нагревательных установок

90

380/220

183,6; 137,2; 91,8; 38,6; 45,9; 34,3

-

490; 980

460

800×580×970

АТ-10. Автотрансформатор трехфазный воздушный

10

380

70; 80; 90; 100; 110; 120; 130; 140; 160; 180; 200; 220

-

-

-

462×230×520

ТСПК-20А. Воздушный трехфазный для прогрева кабелей

20

380

101,3; 76; 50,6; 38; 25,3; 12,6

-

120; 160; 240; 320; 480

260

Æ 930×500

Сварочные трансформаторы

ТДФ-1001. Воздушный трехфазный

80

380

44 + 71

220; 360

1000

740

825×1110×1188

ТДФ-1601. То же

182

380

95 + 105

-

1600

1000

1200×830×1200

ТД-500. То же

32

380

30 + 60

-

500

210

720×580×850

ТСД-1000. Воздушный однофазный

76

380/220

42

345; 200

400 + 1200

585

950×818×1215

ТСД-500. То же

42

380/220

40

185; 180

200 + 600

450

950×818×1215

СТН-700. То же

48,6

380/220

60

198; 114

200 + 900

380

790×423×840

СТН-500. То же

32

380/220

65

145; 84

150 + 700

270

796×410×840

СТАН-1. То же

24

380/220

70

63; 110

60 + 480

185

870×520×800

СТЭ-24. Воздушный однофазный, двухкорпусной

24

380/220

65

63; 110

70 + 500

140

90

648×314×800

594×920×545

СТЭ-34. То же

34

380/220

60

90; 155

150 + 700

200

120

690×370×660

660×320×545

Приложение 6

Теплофизические характеристики основных теплоизоляционных материалов

Материал

Объемная масса, 103 кг/м3

Расчетный коэффициент теплопроводности в зависимости от средней температуры слоя tср, Вт/(м · ºС)

Максимальная рабочая температура применения, °С

Бумага битуминированная

0,87

0,14

90

Вата минеральная

0,15

0,053 + 0,00019tср

600

Материалы теплоизоляционные из минеральной ваты(на синтетическом связующем):

 

 

 

плиты мягкие и маты (ПМ)

0,10

0,049 + 0,0002tср

350

плиты полужесткие (ПП) и жесткие (ПЖ)

0,15 - 0,175

0,051 + 0,0002tср

350

Плиты теплоизоляционные жесткие из минеральной ваты на битумном связующем

0,275

0,074 + 0,00025tср

70

Холстопрошивной материал из стеклянного волокна (ХПС)

0,05

0,042 + 0,00035tср

200

Стеклоткань (ТР)

0,2

0,039 + 0,00025tср

450

Ткань асбестовая

0,6

0,122 + 0,000159tср

450

Перлит вспученный

0,18

0,06 + 0,0001tср

800

Плиты совелитовые

0,35

0,075 + 0,00019tср

500

Камышит (плиты)

0,3

0,105

100

Пенобетон

0,3-1,2

0,07 - 0,32 + 0,0003tср

400

Пенопласт (ПХВ)

0,1-0,20

0,043 - 0,058

70

Торфоплиты

0,15-0,25

0,047 - 0,07

100

Шлак котельный

0,9-1,3

0,233 - 0,372

600

Плиты ДСП

1,0

0,29

120

Оргалит

0,2-0,3

0,14 - 0,16

110

Фанера клееная

0,6

0,17

120

Опилки

0,25

0,24

110

Снег свежевыпавший

0,08-0,19

0,105

-

Снег уплотненный

0,2-0,4

0,35

-

Снег, начавший таять

0,5-0,7

0,64

-

Приложение 7

Технология изготовления инвентарных греющих плоских элементов (ГЭП)

1. Инвентарные греющие плоские элементы (ГЭП) могут быть изготовлены в мастерских силами строительных организаций (рис. 1).

2. Греющие элементы изготовляют из листов оргалита, к которым с одной стороны крепят нагревательный провод (например, марки ПОСХВ, ПОСХП, ПОСХВТ, ПВЖ и др.). Размеры и конфигурация ГЭП могут приниматься любыми, обуславливаемыми технологией работ и удобством их монтажа и демонтажа.

3. Основу из оргалита пропитывают предварительно подогретой до 40-50 °С олифой, наносимой на поверхность вручную (кистью или валиком) или механизированным способом с помощью распылителя.

4. После сушки на оргалите с помощью шаблона наносят разметку раскладки проволочных нагревателей. С помощью электродрели или вручную шилом делают отверстия для крепежа проволочных нагревателей.

5. На оргалите устанавливают текстолитовый клеммник и закрепляют коммутирующий провод; на другой плоскости оргалита производят раскладку и закрепление электронагревателей скрутками из стальной или медной проволоки диаметром 0,5-0,8 мм. Длину проволочных нагревателей выбирают согласно расчету или по номограмме (см. рис. 2) исходя из рабочего напряжения и максимально допустимой погонной нагрузки. Соединение проволочных электронагревателей в электрической цепи может быть параллельным при однофазной сети, в «треугольник» или «звезду» - при трехфазной сети.

6. Проволочные нагреватели подсоединяют к коммутирующему проводу и изоляционной лентой защищают места соединения. К клеммнику подсоединяют кабельный отвод длиной 1,5 м с инвентарным разъемом.

Рис. 1. Инвентарный греющий плоский элемент (ГЭП):

1 - стеклоткань, пропитанная эпоксидным компаундом; 2 - коммутирующий провод; 3 - кабельный отвод со штепсельной вилкой; 4 - клеммник; 5 - болты М6; 6 - нагревательный провод; 7 - проволочные скрутки; 8 - оргалит

7. Для защиты нагревателей от механических повреждений наносят шпателем или кистью на греющий элемент (со стороны размещения нагревателей) фенолоформальдегидный или эпоксидный компаунд следующего состава: эпоксидная смола ЭД-20 - 7 частей, отвердитель (полиэтиленполиамин) - 2 части, пластификатор (дибутилфталат) - 1 часть.

Слой компаунда должен иметь толщину не менее 0,5-0,8 мм. На поверхность с нанесенным компаундом наклеивают слой стеклоткани марки Т или ТСТ толщиной до 1 мм. После отвердения компаунда на поверхность стеклоткани наносят накрывочный слой из компаунда того же состава. Для ускорения сушки и полимеризации компаунда греющие элементы подключают под напряжение, обеспечивающее нагрев рабочей поверхности до температуры 50-60 °С.

Стендовые испытания и маркировка

8. После изготовления каждый ГЭП должен быть подвергнут стендовым испытаниям.

9. ГЭП фиксируют в горизонтальном положении активной поверхностью вниз и подключают к электросети с рабочим напряжением.

10. Токоизмерительными клещами типа Ц-91 производят измерение силы тока, которая не должна превышать расчетной величины. Если сила тока не соответствует расчетной величине, ГЭП следует отключить и устранить неисправность, после чего элемент подвергают вторичному испытанию.

11. Проверку работоспособности всех проволочных нагревателей производят путем измерения температуры на поверхности ГЭП в зоне размещения каждого из них. Визуальным осмотром проверяют отсутствие искрения в местах соединений.

12. Маркировка ГЭП состоит в следующем: на неактивной (негреющей) стороне каждого элемента стойкой несмываемой краской в верхнем правом углу с помощью трафарета наносят:

марку изделия - ГЭП с индексом 1 или 3, указывающим на питание от однофазной или трехфазной сети (например, ГЭП/3);

рабочее напряжение, В;

удельную мощность, кВт/м2;

силу тока, А;

полную электрическую мощность, кВт.

Приложение 8

Допускаемые токовые нагрузки на магистральные силовые провода
и кабели с коэффициентами на фактическую температуру воздуха

Таблица 1

Токовая нагрузка на монтажные провода и шнуры в резиновой или полихлорвиниловой изоляции*

* Для открытой прокладки проводов при допустимой температуре нагрева жил до 550 ºС и температуре окружающего воздуха 25 °С.

Сечение токопроводящей жилы, мм2

Нагрузка на жилу провода, А

медную

алюминиевую

4

41

32

6

50

39

10

80

55

16

100

80

25

140

105

35

170

130

50

215

165

70

270

210

95

330

255

120

385

295

180

440

340

185

510

390

240

605

465

300

695

535

Таблица 2

Токовая нагрузка на силовые кабели ППШ, КРТП, ГРШС, легкие и средние переносные шланговые провода ШРПЛ и ШРПС**

** Токовые нагрузки приняты из расчета нагрева жил до температуры 65 °С при температуре окружающего воздуха 25 °С.

Тип кабеля

Допускаемая нагрузка (А) при сечении медной токопроводящей жилы, мм2

2,5

4

6

10

16

25

35

50

70

Одножильный

40

50

65

90

120

160

190

235

240

Двухжильный

33

43

55

75

95

125

150

185

235

Трехжильный

28

36

45

60

80

105

130

160

200

Поправочные коэффициенты для токовых нагрузок на шнуры и кабели при фактической температуре воздуха, °С

Фактическая температура воздуха, °С

Провода и шнуры

Кабели

-30

1,62

1,46

-25

1,6

1,43

-20

1,57

1,40

-15

1,52

1,36

-10

1,47

1,34

-5

1,41

1,32

0

1,35

1,27

+5

1,29

1,22

+10

1,23

1,17

+15

1,15

1,12

+20

1,08

1,06

+25

1,00

1,00

+30

0,91

0,94

+35

0,82

0,87

+40

0,71

0,79

+45

0,58

0,71

+50

0,41

0,61

Приложение 9

1. Пример расчета нагревательных элементов из провода ПОСХП

Исходные данные. Требуется рассчитать нагревательные элементы из провода ПОСХП, закладываемого в монолитное перекрытие размерами 600×300×25 см, возводимое в инвентарной стальной утепленной опалубке..

Утеплитель - минераловатные маты толщиной 6 см. Размеры опалубочных щитов 200×100 см. Площадь поверхности открытых ребер щитов 300 см2. Бетон с расходом портландцемента 300 кг/м3, температура изотермического выдерживания 45 °С, режим обогрева - саморегулирующийся. По данным метеостанции, температура наружного воздуха ожидается днем -16 °С, ночью -24 °С, скорость ветра 2 м/с. Электропитание осуществляют от трансформаторной подстанции типа КТП-63-0Б.

Решение. Средняя температура наружного воздуха в течение суток равна ((-16)+(-24))/2 = -20 °С. Модуль поверхности монолитного перекрытия равен Мп = 2/0,25 = 8 м-1.

Коэффициент теплопередачи утепленных опалубочных щитов с отношением периметра ребер каркаса к площади щита, равным 3:1, определяется по номограмме, приведенной на рис. 7:

К = 1,8 Вт/(м2 · °С).

Таким же по величине принимается коэффициент теплопередачи утеплителя, укладываемого на открытую бетонную поверхность.

По номограмме (см. рис. 5) определяется потребная удельная мощность нагревательных элементов при температурном перепаде [45 - (-20)] = 65 °С

Руд = 210 Вт/м2.

Определяют шаг проволочных нагревателей по формуле (4)

Определяют потребное количество провода (l) для укладки с шагом 10 см в перекрытие с одной из сторон по формуле

l = B(A/B + 1) + A = 3(6/0,1 + 1) + 6 = 189 м,

где В - длина перекрытия, м;

А - ширина перекрытия, м;

b - шаг провода, м.

Общий расход нагревательного провода на обогрев перекрытия при укладке его в два ряда в уровне верхней и нижней арматурной сетки составит 189×2 = 378 м.

По номограмме (см. рис. 2) подбирают длину нагревателя, кратную длине 189 м. Наиболее близкими по значениям являются шесть нагревателей длиной по 33 мм при рабочем напряжении питания 70 В.

Удельный расход провода на 1 м3 бетона перекрытия составит 378/4,5 = 84 м. Расход нагревательного провода может быть уменьшен вдвое, если вместо укладки его в уровне верхней арматурной сетки применить обогрев с помощью ГЭП.

2. Пример расчета кабельных нагревателей термоактивного опалубочного щита

Требуется переоборудовать стальной опалубочный щит размерами 2500×2000×94 мм (рис. II) в термоактивный с использованием в качестве теплоисточника нагревательного кабеля марки КНМСН со следующими характеристиками: наружный диаметр кабеля 6 мм, диаметр токопроводящей жилы 1,2 мм, удельное сопротивление жилы 0,15 Ом/м.

Опалубка предназначена для возведения монолитных конструкций с модулем опалубливаемой поверхности 10 м-1 при расчетной температуре наружного воздуха -15 °С и скорости ветра до 1 м/с. Максимальные температурные градиенты на палубе - 0,45 °С/см. Электропитание нагревателей опалубки осуществляется при напряжении 60 В от понижающего трансформатора. Режим регулирования температуры обогрева бетона полуавтоматический.

Порядок расчета

1. Принимаемая конструкция утеплителя состоит из минераловатного мата толщиной 60 мм и листа фанеры толщиной 3 мм, укрывающего средние ребра жесткости каркаса щита. По номограмме (см. рис. 7) коэффициент теплопередачи опалубочного щита при площади поверхности открытых ребер 1,04 м2 и отношении периметра ребер каркаса к площади щита 1,8:1 равен 1,6 Вт/(м2 · °С).

2. По номограмме, приведенной на рис. 4, определяют: удельную мощность электронагревателей щита - Руд = 700 Вт/м2, максимальную температуру обогрева +70 °С.

Рис. II. Схема раскладки нагревательного кабеля в термоактивном опалубочном щите:

1 - кабельные нагреватели; 2 - температурное реле; 3 - щитовая вилка

3. По номограмме (см. рис. II) определяют: шаг нагревательного кабеля, укладываемого внутри щита вплотную к палубе, - b = 90 мм; максимально допустимую нагрузку на единицу длины электронагревателя

4. Определяют необходимую длину кабельного электронагревателя (l) при укладке его в щите с шагом 90 мм по формуле

l = B(A/b + 1) + A,

где А - ширина щита, см;

В - длина щита, см;

b - шаг кабельного электронагревателя, см.

Длина кабеля l = 250(200/9 + 1) + 200 = 6000 см.

Для компенсации тепловых потерь через открытые ребра по периметру укладывают дополнительную нитку кабеля. Поэтому общую длину нагревательного кабеля конструктивно принимают

lн = = 6000 + 900 = 6900 см.

5. Определяют требуемую мощность нагревателей щита.

Площадь щита 2,5×2 = 5 м2

Мощность нагревателей палубы Рп = 700 Вт/м2 · 5 = 3500 Вт.

Мощность нагревателей у открытых ребер жесткости по периметру щита

Требуемая мощность нагревателей щита Рщ = Рп + Рр = 3500 + 297 = 3797 Вт.

6. Для определения необходимого количества электронагревателей удовлетворяющих требованиям мощности и суммарной длине, производят расчет электрических характеристик кабельных электронагревателей КНМСН при рабочем напряжении 60 В. Порядок расчета дан в табличной форме.

Нормальная температура, °С

Длина кабельного нагревателя, l, м

Сопротивление нагревателя, Ом

R0 = ρ0 · l

Сила тока, А

J = υ/R0

Мощность, Вт

Р = J · υ

Погонная нагрузка, Вт/м

p = P/l

+20

13,5

2,025

29,6

1776

131,6

 

14,0

2,100

28,6

1716

122,6

 

14,5

2,175

27,6

1655

114,1

Продолжение таблицы

Рабочая температура, °С (из табл. 8)

Сопротивление нагревателя, Ом

Rt = R0(1 + αt), где α из прилож. 2

Сила тока, А

Jt = υ/Rt

Мощность, Вт

Рt = Jt · υ

Погонная нагрузка, Вт/м

pt = Pt/l

280

4,56

13,10

786

58,2

269

4,64

12,93

776

55,4

256

4,68

12,80

769

53,1

Наиболее близкими по требуемым величинам являются показатели нагревателей длиной по 14 м каждый (14×5 = 70 м), их суммарная мощность (776×5) составляет 3880 Вт.

7. Производят проверку нагрузки, приходящейся на единицу длины электронагревателя: 55,4 < 64,7 Вт/м.

8. Суммарный ток нагревателей составляет 12,93×5 ≈ 64,7 А. Для подвода к электронагревателям напряжения в щите устанавливают щитовую штепсельную вилку, рассчитанную на силу тока не менее 64,7 А.

С учетом переключения на большее напряжение, если понижена температура наружного воздуха или изменены технологические параметры с соответствующим увеличением в них токовой нагрузки, устанавливают штепсельную вилку, например, типа ВПС 100-4 (по ТУ 526.042-71), рассчитанную на силу тока 100 А.

9. Вмонтированный в щит термодатчик (например, типа ТР-200 по ТУ 16.523.200-69) устанавливают на температуру срабатывания, равную +70 °С.

10. При подключении термоактивных щитов к трехфазным понижающим трансформаторам соблюдают равномерность загрузки фаз. Этого достигают соответствующим подключением щитов к распределительным клеммам коробки, монтируемых на подводящих силовых кабелях от понижающих трансформаторов.

 

СОДЕРЖАНИЕ

1. Общие положения

2. Область применения способа электрообогрева нагревательными проводами

3. Технические требования к нагревательным проводам, кабелям и силовому электрооборудованию

4. Электрический расчет нагревательных приборов и кабелей

5. Монолитные бетонные и железобетонные работы

6. Контроль качества бетона

7. Электрообогрев в каменных и отделочных работах

8. Особенности монтажа систем электрообогрева в эксплуатируемых строительных конструкциях и сооружениях

9. Обеспечение безопасности при электрообогреве нагревательными проводами и кабелями

10. Зкономическая эффективность применения электрообогрева нагревательными проводами

Приложение 1. Технические характеристики нагревательных проводов и кабелей в пластмассовой изоляции со стальной оцинкованной жилой

Приложение 2. Технические характеристики основных проводниковых материалов

Приложение 3. Типоразмеры и электрические характеристики гибких ленточных электронагревателей ЭНГЛ-180

Приложение 4. Характеристики нагревательных (нагревостойких) кабелей марки КНМС с минеральной изоляцией в оболочке из нержавеющей стали или сплава ХН78Т, токопроводящими жилами из нержавеющей стали, никеля и нихрома по ТУ 16-505.564-75

Приложение 5. Технические характеристики силовых понижающих трансформаторов

Приложение 6. Теплофизические характеристики основных теплоизоляционных материалов

Приложение 7. Технология изготовления инвентарных греющих плоских элементов (ГЭП)

Приложение 8. Допускаемые токовые нагрузки на магистральные силовые провода и кабели с коэффициентами на фактическую температуру воздуха

 

 



© 2013 Ёшкин Кот :-)