Информационная система
«Ёшкин Кот»

XXXecatmenu

ОТКРЫТОЕ АКЦИОНЕРНОЕ ОБЩЕСТВО «ЦЕНТРАЛЬНЫЙ НАУЧНО-ИССЛЕДОВАТЕЛЬСКИЙ И ПРОЕКТНО-ЭКСПЕРИМЕНТАЛЬНЫЙ ИНСТИТУТ ПРОМЫШЛЕННЫХ ЗДАНИЙ И СООРУЖЕНИЙ»
ОАО «ЦНИИПРОМЗДАНИЙ»

 

УТВЕРЖДАЮ

Генеральный директор
ОАО «ЦНИИпромзданий»

______________________ В.В. Гранёв

«15» 01 2006 г.

ПОЛЫ
«Методы оценки скользкости покрытий пола»

стандарт организации

СО-003-02495342-2006

Москва 2006

СТАНДАРТ ОРГАНИЗАЦИИ

ПОЛЫ
«Методы оценки скользкости покрытий пола»

Дата введения 15 января 2006 года

ПРЕДИСЛОВИЕ

РАЗРАБОТАН Сектором полов ОАО «Центральный научно-исследовательский и проектно-экспериментальный институт промышленных зданий и сооружений (ОАО ЦНИИПромзданий)

1 ОБЛАСТЬ ПРИМЕНЕНИЯ

Настоящий стандарт распространяется на методы оценки скользкости покрытий полов зданий различного назначения.

2 НОРМАТИВНЫЕ ССЫЛКИ

В настоящем стандарте использованы ссылки на следующие стандарты.

ГОСТ 1.1-2002 Межгосударственная система стандартизации. Термины и определения

ГОСТ Р 1.4-2004 Стандартизация в Российской Федерации. Стандарты организаций. Общие положения

ГОСТ Р 1.5-2004 Стандартизация в Российской Федерации. Стандарты национальные Российской Федерации. Правила построения, изложения, оформления и обозначения

ГОСТ Р 1.12-2004 Стандартизация в Российской Федерации. Термины и определения

ГОСТ 2874-82 Вода питьевая. Гигиенические требования и контроль за качеством.

ГОСТ 4598-86 Плиты древесноволокнистые. Технические условия

ГОСТ 9416-83 Уровни строительные. Технические условия

ГОСТ 10541-78 Масла моторные универсальные и для автомобильных карбюраторных двигателей. Технические условия.

ГОСТ 12632-79 Пластины и детали резиновые пористые для низа обуви.

ГОСТ 13454-77 Стекло витринное полированное. Технические условия

ГОСТ14637-89 Прокат тонколистовой из углеродистой стали обыкновенного качества. Технические условия.

ГОСТ 18124-95 Листы асбестоцементные плоские. Технические условия.

ГОСТ 17311-71 Подошвы, каблуки и набойки резиновые формованные износоустойчивые. Технические условия.

ГОСТ 2644.0-85 Система обеспечения точности геометрических параметров в строительстве. Правила выполнения измерений. Общие положения

ГОСТ 2644.1-89 Система обеспечения точности геометрических параметров в строительстве. Правила выполнения измерений. Элементы заводского изготовления

ТУ 2244-056-04696843-2001 Утеплитель «Пенофол».

3 ТЕРМИНЫ И ОПРЕДЕЛЕНИЯ

В настоящем стандарте применены термины по ГОСТ Р 1.12-2004, а также следующие термины с соответствующими определениями:

3.1 Покрытие пола - верхний слой пола, непосредственно подвергающийся эксплуатационным воздействиям.

3.2 Скользкость пола - свойство поверхности покрытия пола, характеризующее степень опасности передвижения по полу людей.

3.3 Показатель скользкости - статический и динамический коэффициенты трения или угол скольжения.

3.4 Коэффициент трения скольжения (Ктр.) - константа пропорции, выражающая отношение силы трения к прижимающей силе данной пары трущихся поверхностей.

3.5 Статический коэффициент трения скольжения (Ктр статический) - коэффициент трения скольжения в момент перехода пары трущихся поверхностей от состояния покоя к скольжению.

3.6 Динамический коэффициент трения скольжения (Ктр динамический) - коэффициент трения скольжения при данной постоянной скорости скольжения данной пары трущихся поверхностей

3.7 Угол скольжения - величина угла наклона в градусах поверхности образца покрытия пола при начале скольжения по ней рабочего эталона подошвы обуви или эталонного образца, имитирующего подошву ноги человека.

3.8 Допустимые коэффициенты трения - значения статического коэффициента трения скольжения (Кдоптр статический) и динамического коэффициента трения скольжения (Кдоптр динамический), при которых обеспечивается безопасность передвижения людей по покрытию пола.

3.9 Рабочий эталон подошвы обуви - образец, моделирующий подошву обуви, из пористой резины марки Б по ГОСТ 12632-79.

3.10 Рабочий эталон подошвы ноги человека - образец, имитирующий подошву ноги человека, из пенополиэтилена марки Пенофол-А по ТУ 2244-056-04696843-2001.

3.11 Эталонный образец покрытия пола - стекло витринное полированное по ГОСТ 13454-77, предназначенное для поверки работоспособности установки и определения поправочного коэффициента к получаемым результатам испытаний исследуемых образцов покрытий полов.

4 СРЕДСТВА ИСПЫТАНИЙ

4.1 Для определения противоскользящих свойств поверхности покрытия пола используется универсальный испытательный стенд, позволяющий производить оценку безопасности передвижения по полу людей по значениям коэффициентов трения.

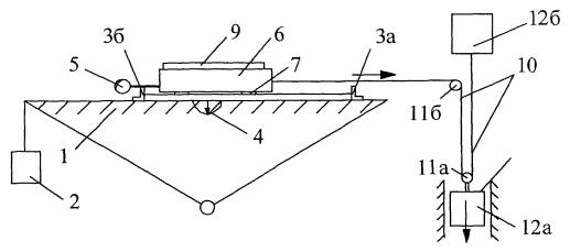
4.2 Испытательный стенд (рисунок 1) состоит из двухконсольной платформы (1) размером 950×700 мм с жестким дном, закреплённой посредине её длины на горизонтальной оси к станине. Один из торцов платформы соединён с винтовым домкратом (2), позволяющим изменять её угол наклона от 0 до 50. На платформе расположены два упорных ребра (3) и уровнемер (4). Ребро (3а) жестко закреплено к платформе, а ребро (3б) способно перемешаться по ней. На упорном ребре (3б) установлен индикатор часового типа (5). Подвижная грузовая платформа (6) размером 130×255 мм, которая устанавливается на образец исследуемого покрытия пола (7), размещенный на двухконсольной платформе, выполнена в виде стальной коробки, с наклеенным на её опорной части рабочим эталоном подошвы обуви или рабочим эталоном подошвы ноги человека (8). Размеры и форма эталонного образца подошвы обуви, а также схема его крепления на опорной части подвижной грузовой платформы приведены на рисунке 2, а размер и форма эталонного образца подошвы ноги человека, а также схема его крепления на опорной части подвижной грузовой платформы приведены на рисунке 3. В передвижную платформу устанавливаются две гири массой по 20 кг каждая (9), что с учётом массы самой платформы обеспечивает создание прижимной силы 430 ± 0,5 Н. При принятых размерах эталонного образца подошвы обуви и эталонного образца подошвы ноги человека данная прижимная сила обеспечивает передачу на поверхность образца покрытия пола удельного давления, равного 10,7 Н/см2, что соответствует удельному давлению от человека массой 75 кг. К платформе закреплён трос (10), который через систему блоков (11) подсоединён к измерительной части разрывной машины (12). Блок (11а) располагается на подвижной нижней части разрывной машины (12а) а блок (11б) на верхней измерительной части разрывной машины (12б).

Рис. 1 Принципиальная схема испытательного стенда

1 - двухконсольная платформа; 2 - винтовой домкрат; 3а и 3б - упорные ребра; 4 - уровнемер; 5 - индикатор часового типа; 6 - подвижная грузовая платформа; 7 - образец покрытия пола; 8 - эталонный образец подошвы обуви; 9 - гири; 10 - трос; 11а и 11б - система блоков; 12 - разрывная машина.

Требования к экспериментальной установке:

1. Горизонтальность двухконсольной платформы - величина уклона в продольном и поперечном направлении не более 0,1 %;

2. Прижимная сила 430 ± 0,5 Н;

3. Сдвигающая сила - до 1000 Н;

4. Скорость перемещения грузовой платформы 500 мм/мин;

5. Длина пути перемещения грузовой платформы - не менее 250 мм.

Рис. 2 Эталонный образец подошвы обуви

Рис. 3 Эталонный образец подошвы ноги человека

5 ПОДГОТОВКА К ИСПЫТАНИЮ

5.1 Испытание проводят на образцах покрытия пола, изготавливаемых в лабораторных условиях или выпиливаемых из полов, выполненных на объектах строительства. Образцы пола должны быть прямоугольной формы с длинами сторон, при которых они могут быть установлены и закреплены на двухконсольной платформе испытательного стенда и обеспечивается возможность размещения на них подвижной грузовой платформы, а также необходимая длина пути скольжения закреплённых на ней рабочего эталона подошвы обуви или рабочего эталона подошвы ноги человека, но не мене 400×200 мм и не более 800×650 мм.

5.2 Опытные образцы покрытий полов из рулонных материалов (линолеум, ковровые покрытия), паркетных планок, мелкоразмерных керамических или керамогранитных плиток, а также мастичного наливного состава на основе термореактивных полимеров должны выполняться по жесткому подстилающему слою из стального листа по ГОСТ 14637-89, асбоцементного плоского листа по ГОСТ 18124-95 или древесноволокнистых плит по ГОСТ 4598-86, имитирующих бетонное основание или выравнивающую бетонную стяжку.

5.3 Образцы бетонных, полимерцементнобетонных, асфальтобетонных, ксилолитовых и мозаичных покрытий полов изготавливаются без дополнительного подстилающего слоя.

5.4 Материалы, из которых выполняется опытный образец покрытия пола, а также технология его должны удовлетворять требованиям соответствующих нормативных документов.

Испытания проводят после достижения материалами покрытия прочности в проектном возрасте, регламентируемом соответствующими нормативными документами.

5.5 Перед испытанием следует проверить отсутствие отслоения покрытия пола от подстилающего слоя простукиванием поверхности опытного образца пола.

5.6 Испытания крупноразмерных керамических или керамогранитных плиток, бетонных или мозаичных плит, а также паркетных досок и ламината допускается проводить при укладке их «насухо» на платформу испытательного стенда.

5.7 Выпиливание образцов из полов на объектах строительства выполняется с помощью распиловочных станков типов УРБ-175 по ТУ 34-13-10500 или УРБ-300 по ТУ 34-13-10910 с режущим инструментом в виде отрезных алмазных дисков типа АОК по ГОСТ 10110 или алмазных сегментных кругов по ГОСТ 16115, или фрез по ТУ 2-037-415 или ТУ 2-037-391. Выпиливание осуществляется на всю толщину конструкции пола - до грунта или плиты перекрытия.

5.8 Изготовленные образцы должны иметь маркировку, отражающую их принадлежность к конкретному объекту с приложением схемы места их отбора.

5.9 Опорная поверхность образца должна быть, в случае необходимости, выровнена цементно-песчаным раствором марки не ниже М 150 с целью обеспечения плотности его опирания на платформу испытательного стенда и обеспечения горизонтальности положения.

5.10 Перед началом испытаний горизонтальность положения платформы испытательного стенда в соответствии с требованиями ГОСТ 2644.0-85 и ГОСТ 2644.1-89 проверяют уровнем по ГОСТ 9416-83.

5.11 Эталонный образец подошвы обуви и поверхность образца покрытия пола должны быть очищены от пыли при помощи мягкой щетки.

5.12 В помещении для проведения испытаний температура воздуха должна составлять +18 ± 2 °С, а относительная влажность - не более 60 %. Кондиционирование приготовленных к испытанию образцов покрытий полов осуществляется в течение не менее 8 часов.

6 ПРОВЕДЕНИЕ ИСПЫТАНИЙ

А). Определение статического коэффициента трения скольжения (Ктр статический)

6.1 Метод базируется на определении угла скольжения эталонного образца подошвы обуви или эталонного образца подошвы ноги человека по исследуемому образцу покрытия пола (Уск.).

6.2 Определение угла скольжения эталонного образца подошвы обуви или эталонного образца подошвы ноги человека по исследуемому образцу покрытия пола включает следующие этапы.

6.2.1 Эталонный образец покрытия пола размещается на расположенной горизонтально платформе испытательного стенда таким образом, чтобы он упирался в неподвижное упорное ребро (3а).

6.2.2 При определении величины угла скольжения по покрытию пола с мокрой или замасленной поверхностью поверхность эталонного образца и поверхность эталонного образца подошвы обуви (при исследовании покрытий полов, предназначенных для передвижения по ним людей в обуви) или эталонного образца подошвы ноги человека (при исследовании покрытий полов, предназначенных для передвижения по ним людей босыми ногами) при помощи пульверизатора смачивается водой по ГОСТ 2874-82 или замасливается моторным маслом по ГОСТ 10541-78.

6.2.3 Подвижная грузовая платформа (6) с прикреплённым на ней эталонным образцом подошвы обуви или эталонным образцом подошвы ноги человека (8), подготовленный в соответствии с требованием п. 5.11, устанавливается на образец эталонного покрытия пола так, чтобы её продольная ось совпадала с направлением скольжения, и затем загружается прижимающим грузом массой 40 кг (9).

6.2.4 После перемещения подвижного упорного ребра (3б) с размещенным на нем индикатором часового типа (5) до контакта его с подвижной грузовой платформой (6), оно закрепляется.

6.2.5 При помощи винтового домкрата (2) осуществляется наклон двухконсольной платформы испытательного стенда со скоростью не более 10 град./мин, фиксируя при этом часовым индикатором начало перемещения подвижной грузовой платформы, за которое принимается значение перемещения, равное 2 мм.

6.2.6 Угол наклона двухконсольной платформы испытательного стенда, определённый по уровнемеру (4), соответствующий перемещению грузовой платформы на 2 мм, определяет величину угла скольжения эталонного образца подошвы обуви или эталонного образца подошвы ноги человека по эталонному образцу покрытия пола (Ускзт).

6.2.7 После окончания каждого разового скольжения при испытании покрытия пола с сухой поверхностью эталонный образец подошвы обуви перед каждым следующим испытанием очищается в соответствии с требованием п. 5.11, подвижная грузовая платформа возвращается в исходное положение, а эталонный образец покрытия пола перемещается таким образом, чтобы следующее скольжение осуществлялось по новой поверхности.

6.2.8 Результирующее значение угла скольжения эталонного образца подошвы обуви или эталонного образца подошвы ноги человека по эталонному образцу покрытия пола (Ускэт) определяется среднеарифметическим значением замеров по результатам трех измерений. Если разница между значениями замеров составляет более 10 %, проводятся дополнительные замеры.

6.2.9 Используя полученное результирующее значение угла скольжения эталонного образца подошвы обуви или эталонного образца подошвы ноги человека по эталонному образцу покрытия пола (Ускэт) производится расчёт поправочного коэффициента (ΔКуг), учитывающего износ эталонного образца подошвы обуви или эталонного образца подошвы ноги человека, по формулам:

Для сухой поверхности при движении по покрытию пола в обуви

ΔКуг = 33°/Ускэт

Для влажной поверхности при движении по покрытию пола в обуви

ΔКуг = 24°/Ускэт

Для замасленной поверхности при движении по покрытию пола в обуви

ΔКуг = 17°/Ускэт

Для влажной поверхности при движении по покрытию пола босыми ногами

ΔКуг = 12°/Ускэт, где

33° - нормативный угол скольжения эталонного образца подошвы обуви по эталонному образцу покрытия пола с сухой поверхностью;

24° - нормативный угол скольжения эталонного образца подошвы обуви по эталонному образцу покрытия пола с влажной поверхностью;

17° - нормативный угол скольжения эталонного образца подошвы обуви по эталонному образцу покрытия пола с замасленной поверхностью;

12° - нормативный угол скольжения эталонного образца подошвы ноги человека по эталонному образцу покрытия пола с влажной поверхностью;

Ускэт - результирующее значение угла скольжения эталонного образца подошвы обуви или эталонного образца подошвы ноги человека по эталонному образцу покрытия пола.

Должно соблюдаться условие 0,9 ≤ ΔКуг ≤ 1,1. В противном случае необходимо заменить эталонный образец подошвы обуви или эталонный образец подошвы ноги человека.

6.2.10 При испытании исследуемого образца покрытия пола он размещается на расположенной горизонтально платформе испытательного стенда таким образом, чтобы упирался в неподвижное упорное ребро (3а).

6.2.11 Испытания исследуемого образца покрытия пола производят в последовательности и по указаниям, изложенных в п.п. 6.2.1 - 6.2.7.

6.2.12 Угол наклона двухконсольной платформы испытательного стенда, определённый по уровнемеру (4), соответствующий перемещению грузовой платформы на 2 мм, определяет величину угла скольжения эталонного образца подошвы обуви или эталонного образца подошвы ноги человека по исследуемому образцу покрытия пола - Ускэкс.

6.2.13 Результирующее значение угла скольжения эталонного образца подошвы обуви или эталонного образца подошвы ноги человека по исследуемому образцу покрытия пола Уск определяется среднеарифметическим значением замеров по результатам трех измерений. Если разница между значениями замеров составляет более 10 %, проводятся дополнительные замеры.

6.3 Используя полученное результирующее значение угла скольжения эталонного образца подошвы обуви или эталонного образца подошвы ноги человека по исследуемому образцу покрытия пола (Уск) с учётом поправочного коэффициента (ΔКуг), учитывающего износ эталонного образца подошвы обуви или эталонного образца подошвы ноги человека, статический коэффициент трения скольжения (Ктрстатический) рассчитывается по формуле:

Ктрстатический = tg(ΔКуг · Уск), где

ΔКуг - поправочный коэффициент, учитывающий износ эталонного образца подошвы обуви или эталонного образца подошвы ноги человека;

Уск - результирующее значение угла скольжения эталонного образца подошвы обуви или эталонного образца подошвы ноги человека по эталонному образцу покрытия.

Б). Определение динамического коэффициента трения скольжения трдинамический)

6.4.1 Определение динамического коэффициента трения скольжения (Ктрдинамический) включает этапы, указанные в п.п. 6.2.1 - 6.2.4.

6.4.2 К платформе закрепляется трос (10), который через систему блоков (11) подсоединяется к измерительной части разрывной машины (12).

6.4.3 Включается разрывная машина, устанавливается скорость передвижения эталонного образца подошвы равная 500 мм/мин и на регистрирующем приборе разрывной машины получают график зависимости силы от перемещения. Вид зависимости приведён на рисунке 4. Длина пути скольжения рабочего эталона подошвы обуви или эталонного образца подошвы ноги человека должна составлять приблизительно 120 мм.

Рис. 4 Принципиальная схема зависимости сдвигающей силы от перемещения

6.4.4 После окончания каждого разового скольжения при испытании покрытия пола с сухой поверхностью эталонный образец подошвы обуви очищается в соответствии с требованием п. 5.11, возвращается в исходное положение, а эталонный образец покрытия пола перемещается таким образом, чтобы следующее скольжение осуществлялось по новой поверхности.

6.4.5 Исходя из графических записей определяется значение сдвигающей силы при скольжении эталонного образца подошвы обуви или эталонного образца подошвы ноги человека по эталонному образцу покрытия пола. За основу берётся средний отрезок записи, соответствующий длине скольжения 100 мм. Значение сдвигающей силы определяется планиметрически или путём разбивки полученного графика прямой, параллельной оси абсцисс, таким образом, чтобы сумма плоскостей, расположенных над прямой, была равна сумме плоскостей, расположенных под ней. В точке пересечения прямой с осью ординат отсчитывается значение сдвигающей силы в Ньютонах. Результирующее значение сдвигающей силы определяется среднеарифметическим значением замеров по результатам трех измерений. Если разница между значениями замеров составляет более 10 %, проводятся дополнительные замеры.

6.4.6 Используя полученное результирующее значение сдвигающей силы при скольжении эталонного образца подошвы обуви или эталонного образца подошвы ноги человека по эталонному образцу покрытия пола (Fтрэт) производится расчёт поправочного коэффициента (ΔКтр), учитывающего износ эталонного образца подошвы обуви или эталонного образца подошвы ноги человека, по формулам:

Для сухой поверхности при движении по покрытию пола в обуви

ΔКд = 259/Fтрэт

Для влажной поверхности при движении по покрытию пола в обуви

ΔКд = 172/Fтрэт

Для замасленной поверхности при движении по покрытию пола в обуви

ΔКд = 113/Fтрэт

Для влажной поверхности при движении по покрытию пола босыми ногами

ΔКд = 60/Fтрэт, где

259 - нормативное значение сдвигающей силы при скольжении эталонного образца подошвы обуви по эталонному образцу покрытия пола с сухой поверхностью (в Ньютонах);

172 - нормативное значение сдвигающей силы при скольжении эталонного образца подошвы обуви по эталонному образцу покрытия пола с влажной поверхностью (в Ньютонах);

113 - нормативное значение сдвигающей силы при скольжении эталонного образца подошвы обуви по эталонному образцу покрытия пола с замасленной поверхностью (в Ньютонах);

60 - нормативное значение сдвигающей силы при скольжении эталонного образца подошвы ноги человека по эталонному образцу покрытия пола с влажной поверхностью (в Ньютонах);

Fтрэт - сдвигающая сила при скольжении эталонного образца подошвы обуви или эталонного образца подошвы ноги человека по эталонному образцу покрытия пола (в Ньютонах).

Должно соблюдаться условие 0,9 ≤ ΔКд ≤ 1,1. В противном случае необходимо заменить эталонный образец подошвы обуви или эталонный образец подошвы ноги человека.

6.4.7 При испытании исследуемого образца покрытия пола он размещается на расположенной горизонтально платформе таким образом, чтобы упирался в неподвижное упорное ребро (3а).

6.4.8 При определении величины угла скольжения по покрытию пола с мокрой или замасленной поверхностью поверхность эталонного образца и поверхность эталонного образца подошвы обуви или эталонного образца подошвы ноги человека при помощи пульверизатора смачивается водой по ГОСТ 2874-82 (при исследовании покрытий полов, предназначенных для передвижения по ним людей в обуви) или замасливается моторным маслом по ГОСТ 10541-78 (при исследовании покрытий полов, предназначенных для передвижения по ним людей босыми ногами).

6.4.9 Подвижная грузовая платформа (6) с прикреплённым на ней эталонным образцом подошвы обуви или эталонным образцом подошвы ноги человека (8), подготовленный в соответствии с требованием п. 5.11, устанавливается на образец исследуемого покрытия пола так, чтобы её продольная ось совпадала с линией действия сдвигающей силы, создаваемой разрывной машиной, и затем загружается прижимающим грузом массой 40 кг (9).

6.4.10 К платформе закрепляется трос (10), который через систему блоков (11) подсоединяется к измерительной части разрывной машины (12).

6.4.11 Включается разрывная машина, устанавливается скорость передвижения эталонного образца подошвы равная 500 мм/мин и на регистрирующем приборе разрывной машины получают график зависимости силы от перемещения. Вид зависимости приведён на рисунке 4. Длина пути скольжения рабочего эталона подошвы обуви или эталонного образца подошвы ноги человека должна составлять приблизительно 120 мм.

6.4.12 После окончания каждого разового скольжения при испытании покрытия пола с сухой поверхностью эталонный образец подошвы обуви очищается в соответствии с требованием п. 5.11, возвращается в исходное положение, а исследуемый образец покрытия пола перемещается таким образом, чтобы следующее скольжение проводилось по новой поверхности.

6.4.13 Исходя из графических записей определяется значение сдвигающей силы при скольжении эталонного образца подошвы обуви или эталонного образца подошвы ноги человека по исследуемому образцу покрытия пола. За основу берётся средний отрезок записи, соответствующий длине скольжения 100 мм. Значение сдвигающей силы определяется планиметрически или путём разбивки полученного графика прямой, параллельной оси абсцисс, таким образом, чтобы сумма плоскостей, расположенных над прямой, была равна сумме плоскостей, расположенных под ней. В точке пересечения прямой с осью ординат отсчитывается значение сдвигающей силы в Ньютонах. Результирующая сдвигающая сила определяется среднеарифметическим значением замеров по результатам трех измерений. Если разница между значениями замеров составляет более 10 %, проводятся дополнительные замеры.

6.5 Используя полученное результирующее значение сдвигающей силы при скольжении эталонного образца подошвы обуви или эталонного образца подошвы ноги человека по исследуемому образцу покрытия пола (Fтр) и поправочный коэффициент (ΔКд), учитывающий износ эталонного образца подошвы обуви или эталонного образца подошвы ноги человека, рассчитывается динамический коэффициент трения скольжения (Ктрдинамический) по формуле:

Ктрдинамический = ΔКд · Fтр/FN, где

ΔКд - поправочный коэффициент, учитывающий износ эталонного образца подошвы обуви или эталонного образца подошвы ноги человек

Fтр - сила трения при скольжении эталонного образца подошвы обуви или эталонного образца подошвы ноги человека по исследуемому образцу покрытия пола;

FN - прижимная сила от прижимного груза и массы платформы, равная 430 ± 0,5 Н.

7. ОЦЕНКА СКОЛЬЗКОСТИ ПОКРЫТИЙ ПОЛОВ

7.1 Допускаемые коэффициенты трения для различных областей применения покрытия пола из условия безопасности передвижения по нему людей приведены в приложении А. Покрытие считается безопасным для перемещения человека при условии, что величина статического и динамического коэффициентов трения выше величины допускаемого значения коэффициента трения в конкретной области применения покрытия пола.

ПРИЛОЖЕНИЕ А

(справочное)

Допустимые коэффициенты трения в зависимости от области применения покрытий полов

Таблица А.1

Допустимый коэффициент трения

Условия передвижения людей

не менее 0,35

В обуви по сухим покрытиям полов в жилых, общественных и производственных помещениях

не менее 0,4

То же по влажным покрытиям полов

не менее 0,5

То же по замасленным покрытиям полов

не менее 0,4 и не более 0,6

В обуви по сухим покрытиям полов в спортивных залах

не менее 0,2

Босыми ногами по влажным покрытиям полов в комнатах для переобувания

не менее 0,3

Босыми ногами по влажным покрытиям полов в душевых помещениях и бассейнах

не менее 0,5

Босыми ногами по подводным лестницам

Примечание: При ходьбе по наклонной плоскости (по прямой линии уклона) под углом α

К'тр предельный = Ктр предельный + tgα

При ходьбе по горизонтальной плоскости с дополнительным горизонтальным усилием (к примеру - переноска тяжестей)

К"тр предельный = Ктр предельный + Fn/(G · 9,81), где

Fn - дополнительное горизонтальное усилие в ньютонах;

G - средняя масса человека, равная 75 кг.

При ходьбе по наклонной плоскости с дополнительным усилием, прилагаемым параллельно к поверхности плоскости

К"'тр предельный = Ктр предельный + tgα + Fn/(G · cos α · 9,81).

СОДЕРЖАНИЕ

 



© 2013 Ёшкин Кот :-)