Информационная система
«Ёшкин Кот»

XXXecatmenu

Открытое акционерное общество

Проектно-конструкторский и технологический институт промышленного строительства

ОАО ПКТИпромстрой

УТВЕРЖДАЮ

Генеральный директор, к.т.н.

_____________ С.Ю. Едличка

«19» ___12____ 2005 г.

ТЕХНОЛОГИЧЕСКАЯ КАРТА
НА МОНТАЖ И ДЕМОНТАЖ
ОПАЛУБКИ «МЕВА» ПРИ
БЕТОНИРОВАНИИ СТЕН ЗДАНИЯ
(СИСТЕМЫ «АЛУ СТАР» И «СТАР ТЕК»)

123-05 ТК

Главный инженер

_____________ А.В. Колобов

Начальник отдела

_____________ Б.И. Бычковский

2005

Технологическая карта на монтаж и демонтаж опалубки «Мева» при бетонировании стен зданий является обязательным организационно-технологическим документом, регламентирующим правила производства работ по бетонированию стен здания.

В карте приведены указания по организации и технологии монтажа и демонтажа опалубки «Мева» при бетонировании стен здания, представлены схемы механизации, а также приведены данные по контролю качества и приемке работ, требования безопасности и охраны труда, экологической и пожарной безопасности при производстве работ.

Технологическая карта предназначена для производителей работ, мастеров и бригадиров организаций, производящих бетонирование стен здания, а также работников технического надзора заказчика и инженерно-технических работников строительных и проектно-технологических организаций.

Технологическая карта разработана сотрудниками ОАО ПКТИпромстрой в составе:

Савина О.А. - разработка технологической карты, компьютерная обработка и графика;

Черных В.В. - общее технологическое сопровождение;

Бычковский Б.И. - разработка технологической карты, техническое руководство, корректура и нормоконтроль;

Колобов А.В. - общее техническое руководство разработкой технологических карт;

Едличка С.Ю., к.т.н., - общее руководство разработкой технологической документации.

СОДЕРЖАНИЕ

1 ОБЩИЕ ДАННЫЕ

1.1 Опалубка «Мева» представляет собой универсальную модульную систему сборно-разборной переставной щитовой опалубки, предназначенной для возведения монолитных бетонных и железобетонных конструкций различного назначения, в т.ч. стен, при строительстве жилых, административных и промышленных зданий.

1.2 Для возведения монолитных стен предназначены 4 системы опалубки «Мева»: «Alu Star», «Star Tec», «Mammut» и «Eko As».

В настоящей технологической карте на бетонирование монолитных бетонных и железобетонных стен рассматриваются полностью взаимозаменяемые опалубочные системы «Star Tec» и «Alu Star», которые позволяют бетонировать стены высотой до 2,70 м и шириной 2,4 м без наращивания щитов при соблюдении требований норм и стандартов по качеству выполняемых работ.

1.3 Технологическая карта, входящая в состав ППР, может использоваться инженерно-техническими работниками и другими сотрудниками организации, ведущей строительные работы при бетонировании стен зданий и сооружений, в составе разработанного по тематике проекта производства работ.

1.4 При привязке карты к конкретным объектам и условиям производства работ подлежат уточнению объемы работ по разногабаритным щитам, потребности в материально-технических ресурсах, калькуляция затрат труда и машинного времени и календарный план производства работ.

1.5 Форма использования технологической карты предусматривает обращение ее в сфере информационных технологий с включением в базу данных по технологии и организации строительного производства автоматизированного рабочего места технолога строительного производства (АРМ ТСП), подрядчика и заказчика.

2 ОРГАНИЗАЦИЯ И ТЕХНОЛОГИЯ СТРОИТЕЛЬНОГО ПРОЦЕССА

2.1 Все системы опалубки стен фирмы «Мева» имеют следующий набор элементов:

- щиты рамной конструкции;

- угловые элементы;

- доборы;

- опалубочные замки «Мева»;

- направляющие опоры;

- консоли для подмостей;

- подкосы;

- фланцевые болты;

- специальные гайки с резьбой.

2.2 Система опалубки «Alu Star» согласно рисунку 1 представляет собой систему каркасной опалубки из алюминиевого профиля с полимерным покрытием и предназначена для возведения монолитных бетонных и железобетонных конструкций, а также при реконструкционных и ремонтных работах без использования подъемных кранов.

Рисунок 1 - Опалубка системы «Alu Star»

Щиты опалубки имеют следующие размеры:

- высота, см - 90, 135, 270;

- ширина, см - 24, 25, 30, 40, 45, 49, 50, 55, 75, 90.

Щиты можно устанавливать как в вертикальном, так и в горизонтальном положении.

Наибольший размер щита 270´90 см, масса - 52 кг.

Масса полного комплекта опалубки, включая принадлежности, составляет около 30 кг/м2.

Алюминиевая опалубка «Alu Star» рассчитана на высокое давление бетона, т.е. при одноярусном использовании (без надстройки опалубки) укладку бетона можно производить без учета скорости укладки бетона. Элементы имеют палубу из многослойной фанеры толщиной 15 мм, закрепляемую самонарезными винтами.

Масса двухстороннего покрытия из синтетической смолы составляет около 330 - 420 г/м2. В месте соединения с рамой палуба имеет дополнительную защиту силиконом.

Выдерживает нагрузку от давления свежеуложенного бетона, равную 60 кН/м2.

Система «Alu Star» полностью совместима с системой «Star Tec» как в вертикальном, так и в горизонтальном положении без каких-либо переходных или других дополнительных деталей.

2.3 Система опалубки «Star Tec», приведенная на рисунке 2, представляет собой систему каркасной опалубки с высокопрочными рамами, предназначена для возведения фундаментов и стен из монолитного бетона и железобетона в жилищном, коммунальном и промышленном строительстве. При размере элементов 270/90 см собирается опалубка вручную без помощи крана, а с применением грузоподъемных кранов ведется монтаж щитов большего размера.

Рисунок 2 -Опалубка системы «Стар Тек»

Щиты опалубки имеют следующие размеры:

- высота, см - 90, 135, 270;

- ширина, см - 24, 25, 30, 40, 45, 49, 50, 55, 75, 90, 135, 240.

Установку щитов опалубки осуществляют как в вертикальном, так и в горизонтальном положении.

Наибольший размер щита 270´240 см, масса - 182 кг.

Масса полного комплекта опалубки, включая принадлежности, составляет:

- при ширине элементов до 90 см около 40 кг/м2;

- при ширине элементов до 240 см около 55 кг/м2.

При одноярусном использовании (без надстройки опалубки) укладку бетона можно производить без учета скорости укладки бетона.

Элементы размером 270´90 и 270´75 имеют для облегчения по 5 алюминиевых распорок. Элементы шириной до 90 см имеют палубу из многослойной фанеры толщиной 15 мм, элементы шириной 135 и 240 см - из многослойной фанеры толщиной 18 мм. Многослойные плиты из высококачественной фанеры закрепляются гвоздями на раме элемента с помощью монтажного пистолета. Масса двустороннего покрытия из синтетической смолы - около 330 - 420 г/м2. В месте соединения с рамой палуба имеет дополнительную защиту силиконом.

Допустимое давление свежеуложенного бетона по ДИН 18218 при условии выдерживания допусков по ровности поверхности составляет 70 кН/м2.

Система «Star Tec» полностью совместима с системой «Alu Star».

2.4 Изготовленная на заводе и подготовленная к отправке потребителю опалубка должна быть фрагментарно собрана на заводе и испытана с целью контроля ее соответствия проекту. Схема фрагмента определяется заказчиком по согласованию с заводом-изготовителем. Программу испытаний разрабатывает организация-разработчик опалубки, завод-изготовитель и заказчик.

2.5 Приемка и установка опалубки, распалубливание монолитных стен, очистка и смазка производятся в соответствии с проектом производства работ или технологической картой.

2.6 До начала производства работ по установке щитов опалубки стен здания необходимо:

- выполнить все строительно-монтажные работы по возведению основания фундаментной плиты подземной части здания или междуэтажного перекрытия надземной части здания со сдачей этих работ по акту;

- выполнить геодезическую разбивку осей здания с принятием их по акту согласно СНиП 3.01.03-84 «Геодезические работы в строительстве»;

- организовать площадки складирования щитов опалубки, доборов, подкосов, угловых элементов, консолей, выравнивающих балок, направляющих опор, болтов и других элементов;

- завезти на стройплощадку необходимые машины, механизмы, приспособления, оборудование и элементы опалубки;

- проверить комплектность и техническое состояние опалубки;

- организовать площадку укрупнительной сборки элементов опалубки. Все площадки складирования должны находиться в зоне действия крана, а элементы опалубки должны быть разложены по маркам и типоразмерам с учетом очередности монтажа;

- выполнить противопожарные мероприятия;

- выполнить мероприятия, обеспечивающие безопасность производства работ.

2.7 Опалубка стен систем «Star Tec» и «Alu Star» состоит из щитов рамной конструкции, наружных и внутренних углов и замков опалубки. Палуба щита выполнена из многослойной финской фанеры толщиной 15 и 18 мм, закрепляемой к раме самонарезающимися винтами. Каркас щита изготовлен из закрытого стального или алюминиевого опалубочного профиля с полимерным покрытием. Соединение щитов между собой осуществляется посредством стержней, замков и выравнивающих балок.

Все элементы могут устанавливаться как вертикально, так и горизонтально при одном и том же соединении с помощью замка опалубки.

Марки и тины щитов опалубки для стен систем «Star Tec» и «Alu Star» приведены в таблицах 1 и 2.

Таблица 1 - Технические характеристики элементов опалубки «Star Tec»

Высота щита, м

Артикул

Марка, тип элементов

Размеры щитов, мм

Площадь щитов, м2

Масса одного щита, кг

1

2

3

4

5

6

Стандартные элементы

2,70

21-200-02

Элемент ST

270´240

6,48

340

21-200-05

Элемент ST

270´135

3,65

172

21-200-10

Элемент ST

270´90

2,43

70

21-200-25

Элемент ST

270´75

2,03

65

21-200-45

Элемент ST

270´55

1,49

59

21-200-50

Элемент ST

270´50

1,35

57

21-200-51

Элемент ST

270´49

1,32

57

21-200-55

Элемент ST

270´45

1,22

55

21-200-60

Элемент ST

270´40

1,08

52

21-200-70

Элемент ST

270´30

0,81

42

21-200-75

Элемент ST

270´25

0,68

39

21-200-77

Элемент ST

270´24

0,65

39

1,35

21-210-05

Элемент ST

135´135

1,82

62

21-210-10

Элемент ST

135´90

1,22

44

21-210-25

Элемент ST

135´75

1,01

39

21-210-45

Элемент ST

135´55

0,74

33

21-210-50

Элемент ST

135´50

0,68

31

21-210-51

Элемент ST

135´49

0,66

31

21-210-55

Элемент ST

135´45

0,61

29

21-210-60

Элемент ST

135´40

0,54

27

21-210-70

Элемент ST

135´30

0,41

23

21-210-75

Элемент ST

135´25

0,34

21

0,90

21-210-77

Элемент ST

135´24

0,32

21

21-211-10

Элемент ST

90´90

0,81

34

21-211-25

Элемент ST

90´75

0,68

30

21-211-45

Элемент ST

90´55

0,50

25

21-211-50

Элемент ST

90´50

0,45

23

21-211-75

Элемент ST

90´25

0,23

16

Промежуточные размеры

2,70

21-200-00

Элемент ST

270´270

7,29

320

21-200-35

Элемент ST

270´65

1,76

59

21-200-40

Элемент ST

270´60

1,62

57

21-200-65

Элемент ST

270´35

0,95

49

21-200-80

Элемент ST

270´20

0,54

37

1,35

21-210-35

Элемент ST

135´65

0,88

38

21-210-40

Элемент ST

135´60

0,81

36

21-210-65

Элемент ST

135´35

0,47

25

21-210-80

Элемент ST

135´20

0,27

19

Таблица 2 - Технические характеристики опалубки «Alu Star»

Высота щита, м

Артикул

Марка, тип элементов

Размеры щитов, мм

Площадь щитов, м2

Масса одного щита, кг

Стандартные элементы

2,70

22-083-00

Элемент AS

270´90

2,43

52

22-084-00

Элемент AS

270´75

2,03

45

22-084-30

Элемент AS

270´55

1,49

34

22-084-35

Элемент AS

270´50

1,35

32

22-084-36

Элемент AS

270´49

1,32

30

22-084-45

Элемент AS

270´45

1,22

29

22-084-55

Элемент AS

270´40

1,08

27

22-084-70

Элемент AS

270´30

0,81

23

22-084-75

Элемент AS

270´25

0,68

21

22-084-80

Элемент AS

270´24

0,65

21

1,35

22-085-00

Элемент AS

135´90

1,22

26

22-086-00

Элемент AS

135´75

1,01

21

22-086-30

Элемент AS

135´55

0,74

17

22-086-35

Элемент AS

135´50

0,68

16

22-086-36

Элемент AS

135´49

0,66

16

22-086-45

Элемент AS

135´45

0,61

14

22-086-55

Элемент AS

135´40

0,54

14

22-086-70

Элемент AS

135´30

0,41

12

22-086-75

Элемент AS

135´25

0,34

11

22-086-80

Элемент AS

135´24

0,32

11

Промежуточные размеры

2,70

22-084-10

Элемент AS

270´65

1,76

41

22-084-20

Элемент AS

270´60

1,62

34

22-084-65

Элемент AS

270´35

0,95

25

22-084-85

Элемент AS

270´20

0,54

20

1,35

22-086-10

Элемент AS

135´65

0,88

18

22-086-20

Элемент AS

135´60

0,81

18

22-086-65

Элемент AS

135´35

0,47

13

22-086-85

Элемент AS

135´20

0,27

10

2.8 При установке монтажных элементов щитов опалубки должны быть обеспечены:

- устойчивость и неизменяемость их положения на всех стадиях монтажа;

- безопасность производства работ;

- точность их положения с помощью постоянного геодезического контроля;

- прочность монтажных соединений.

Щиты опалубки устанавливаются на очищенные от мусора и ровные поверхности одновременно на всей захватке длиной 20 - 30 м из расчета бетонирования стен краном в объеме V = 25 - 30,0 м3 в смену.

Монтаж щитов опалубки Т-образного стыка стен следует выполнять в следующей технологической последовательности:

- подготовить опорные поверхности для опалубки;

- очистить и смазать щиты опалубки;

- собрать отдельные щиты при необходимости на площадке укрупнительной сборки в панель прямоугольной формы, в Г-образную или угловую формы;

- застроишь и подать краном укрупненные щиты опалубки (Г-образные) к месту установки их в проектное положение;

- смонтировать панель с наружной стороны стены, начиная с угла здания или опорной точки;

- смонтировать щит Г-образной формы с раскреплением его двумя консольными подпорками с выверкой в вертикальном положении, соединив его стержнями Dywidag с ранее установленными наружными щитами;

- смонтировать второй щит опалубки Г-образной формы, соединяя его с ранее установленными щитами стержнями Dywidag и замками опалубки.

Установку двух Г-образной и одного прямоугольной формы щитов опалубки выполнять после установки арматурного каркаса стены и сдачи его по акту. Для стягивания щитов при двухсторонней опалубке используются стержни Dywidag диаметром 15 мм и фланцевая гайка 100 с резьбой типа DW15, а между фанерой в стяжные отверстия устанавливаются две конусные втулки в полиэтиленовой трубке.

Крепление консольных подпорок с помощью соединительных шарниров на функциональных распорках фланцевыми болтами 18 и расстроповку опалубки выполнять с площадки монтажника высотой Нр.н. = 1,50 м.

Консоли для мостков 90 (или 125) навешивается с помощью встроенного самофиксирующего замка в одну функциональную распорку и фиксируется с помощью одного фланцевого винта в другой функциональной распорке. Расстояние между консолями зависит от поперечного сечения досок настила. Настил укладывается на консоли.

Стойка перил 100 устанавливается во втулку, приваренную на консоли для мостков.

На рисунке 3 представлен вариант Т-образного стыка стены с двумя внутренними углами и размещением опалубки перекрытия при возведении стен вышележащего этажа.

Рисунок 3 - Вариант Т-образного стыка стены

2.9 Все элементы опалубки к месту их установки подаются краном с применением захватного устройства (по «Техническому руководству - крюка крана AS) грузоподъемностью Q = 1,50 т, представленным на рисунке 4. Щит одинарный стропят за одну точку, а панель Г-образной и прямоугольной формы, состоящую из двух щитов - за две точки.

Артикул

Размер, см

Площадь, м2

Масса, кг

29-203-89

-

-

6,0

Рисунок 4 - Конструкция захватного устройства (крюка крана AS)

Для работы с крюком крана грузоподъемностью 1,5 т, предназначенным для строповки опалубки за стык элементов, согласно «Техническому руководству» и рисунку 5а общего вида необходимо:

- открыть до упора предохранительную скобу (рисунок 5б);

- установить крюк на профиль так, чтобы его выступ полностью вошел в гофр;

- зафиксировать крюк крана, установив предохранительную скобу в исходное положение (рисунок 5в).

Рисунок 5 - Захватное устройство (крюк крана) для опалубки «Мева»

Схемы строповки приведены на рисунке 6.

Для обеспечения жесткости на изгиб в обоих направлениях при подъеме и опускании блоков надстроенных элементов опалубки на них устанавливаются выравнивающие балки с фланцевыми болтами. При горизонтальной установке элементов крюк крана для предотвращения соскальзывания следует крепить над поперечной распоркой.

При перемещении блоков опалубки шириной до 5,4 м при установке третьего замка на стыке элементов можно отказаться от дополнительных элементов жесткости по горизонтали - выравнивающих балок.

а) строповка одноветвевым стропом; б) с третьим замком опалубки на стыке элементов; в) с тремя выравнивающими балками M-RS 250 и одной выравнивающей балкой AS-RS 50; г) с тремя выравнивающими балками M-RS 180 и двумя выравнивающими балками AS-RS 50

Рисунок 6 - Схемы строповок элементов опалубки

2.10 Соединение щитов опалубки ST/AS фирмы «Мева» с силовым замыканием и без смещения обеспечивается соединительной деталью одного типа - замком опалубки AS, устанавливаемым при расположении щитов как вертикально один над другим, так и горизонтально рядом друг с другом. Благодаря опиранию по пяти точкам, замок позволяет стянуть и выровнять элементы опалубки одним ударом молотка, в результате чего осуществляется мгновенная автоматическая фиксация. Схема установки замка опалубки представлена на рисунке 7.

Рисунок 7 - Схема соединения элементов опалубки замком

2.11 Наружный уголок 90° из алюминия с полимерным покрытием в сочетании с элементами опалубки «Star Tec» и «Alu Star» и замком AS опалубки «Мева» представляет собой конструкцию из двух профильных алюминиевых балок с полимерным покрытием представленных на рисунке 8а, сваренных между собой для опалубливания наружных углов 90°. Плоскости с использованием опалубки стен «Мева» образуются, как показано на рисунке 8б, с помощью наружных углов и стандартных элементов (панелей) опалубки различного сечения и высоты. Для соединения щитов высотой 270 см между собой достаточно установить три замка на один вертикальных стык, для высоты 135 см достаточно двух замков опалубки.

Рисунок 8 - Оснастка наружного угла 90° опалубки «Мева» систем Star Tec и Alu Star

В сочетании с элементами опалубки ST и опалубочным замком AS наружный уголок AS обеспечивает прочность на растяжение щитов опалубки под углом 90°.

В сочетании с элементами опалубки AS и опалубочным замком AS наружный уголок AS обеспечивает прочность на растяжение щитов опалубки под углом 90°.

Внутренний уголок 90° опалубки Star Тес, состоящий из двух частей, как показано на рисунке 9а, со сменным металлическим кожухом с полимерным покрытием, и внутренний уголок опалубки «Alu Star» из алюминия с полимерным покрытием, показанный на рисунке 9б, соединяются в точках стяжки как стандартные элементы с помощью двух замков опалубки с каждой стороны, как видно на рисунке 9в. Длина полок по 25 см.

Внутренний уголок 90° с деревянным доборным элементом соединяется с помощью двух универсальных замков опалубки на высоту элемента. Для обеспечения жесткости на каждой функциональной распорке устанавливается одна выравнивающая балка AS.

Рисунок 9 - Оснастка внутреннего угла 90° систем «Star Tec» и «Alu Star»

2.12 Внутренние и наружные уголки AS 135° из алюминиевых профилей с полимерным покрытием, показанные на рисунке 10, используются для образования стыков стен до 135°.

Рисунок 10 - Конструкция уголков AS 135°

2.13 Раскрепление установленных в проектное положение щитов систем «Alu Star» и «Star Tec» опалубки «Мева» при бетонировании стен высотой 2,7 м выполняется с помощью консольных подпорок или подкосов с креплением их к щитам опалубки (2 шт.) через соединительные шарниры фланцевыми болтами 18 на функциональных распорках согласно рисунку 11, а в плоскости стен - с помощью замка опалубки AS с соединительной муфтой на стыке смежных элементов на любой высоте.

При высоте опалубки более 6,0 м дополнительно используются подкосы типа Triplex R, представленные на рисунке 11.

Если консольные подпорки или подкосы используются только для выравнивания опалубки, расстояние между ними рекомендуется устанавливать не более 3,75 м. Если возникает необходимость дополнительного крепления при наличии ветра, это расстояние уменьшается до 2,7 м.

Крепление и фиксация каждой подпорки к плитам перекрытия осуществляется пристрелкой не менее, чем двумя дюбелями длиной 50 - 60 мм при наборе бетоном прочности не менее 80 % от проектной.

Наименование

Арт. №

Подкос R 160

29-109-40

Подкос R 250

29-109-60

Подкос R 460

29-109-80

Распорка SRL 120

29-108-80

Распорка SRL 170

29-108-90

Консольная подпорка 250 с комбинированным замком опалубки

29-109-22

Консольная подпорка 250 с соединительным шарниром

29-109-20

Рисунок 11 - Раскрепление щитов опалубки

2.14 После установки и выверки щитов опалубки «Мева» в проектное положение при помощи винтов консольных подпорок два элемента опалубки соединяют между собой, как правило, двумя замками опалубки, как показано на рисунке 12. Точность установки щита опалубки проверяют по отвесу и уровню. Панели, образующие угол 90°, соединяются между собой в наружных углах установкой трех замков опалубки.

Рисунок 12 - Соединение элементов опалубки

2.15 Завершающим этапом установки опалубки стен является заделка торцов опалубки с наружными уголками. Установленные щиты и наружные уголки AS зажимается фланцевыми болтами 18, либо фланцевыми болтами 18 и выравнивающими балками по схемам, представленным на рисунке 13.

а) заделка концов с наружными уголками AS при длине элементов менее 50 см; б) заделка концов с наружными уголками AS и выравнивающими балками; в) установка фланцевых болтов

Рисунок 13 - Схема заделки торцов опалубки ST/AS

2.16 Установку консолей для мостков с перильным ограждением, показанных на рисунках 14 - 17, выполнять при отсутствии площадки монтажника, и только убедившись в надежности раскрепления щитов опалубки подкосами или консольными подпорками. Консоли для мостков 90 или 125 вставляются в функциональную распорку и фиксируются одним фланцевым болтом 18 в функциональной распорке, расположенной под ней. Настил можно крепить на консоли. Сюда же устанавливаются и стойки перил 100.

Максимальное расстояние между консолями при нагрузке 150 кг/м2 должно быть не более 2,5 м в зависимости от настила.

2.17 Расстроповку щитов опалубки необходимо производить только после жесткого раскрепления их подпорками в двух направлениях с площадки монтажника Нр.н. = 1,50 м (проект 4624 ГП Мосоргстрой).

Рисунок 14 - Конструкция консоли для мостков 90

Рисунок 15 - Конструкция консоли для мостков 125

Рисунок 16 - Стойки перил 100

Рисунок 17 - Консольная подпорка

2.18 Демонтаж опалубки разрешается производить только после достижения бетоном требуемой прочности согласно СНиП 3.03.01-87 «Несущие и ограждающие конструкции».

2.18.1 Демонтаж опалубки «Мева» производить в обратной последовательности ее монтажу укрупненными панелями, предварительно выполнив их строповку.

Сначала снимают замки опалубки AS, при этом сторона, не подпираемая подпорками, должна сразу же фиксироваться от опрокидывания или удаляться в первую очередь.

Снятие опалубки следует производить только после предварительного отрыва ее от бетона.

После легкого натяжения стропов краном монтажники снимают консольные подпорки, замки и дают команду машинисту крана на подъем опалубки.

2.18.2 При перестановке щитов опалубки в пределах одного объекта их удаляют вместе с консолями для мостков и настилом, затем очищают в вертикальном положении. Освобожденные и очищенные щиты опалубки переносят краном к месту их новой установки.

Если опалубка в дальнейшем не будет применяться, то с блоков в горизонтальном положении демонтируют леса и подпоры, очищают палубу, после чего щиты складируют в установленных проектом производства работ местах.

2.18.3 Щиты опалубки стен каждый раз после демонтажа надо очищать от налипшего цементного раствора.

Применение опалубки предусматривает обязательную очистку и смазку палубы щитов.

2.18.4 В качестве дополнительных средств подмащивания при установке и демонтаже щитов опалубки необходимо использовать площадку монтажника высотой Нр.н. = 1,50 м (проект 4624 ГП Мосоргстрой).

2.19 Монтаж и демонтаж щитов и других элементов опалубочных систем «Алу Стар» и «Стар Тек» при возведении монолитных стен зданий и сооружений следует осуществлять, соблюдая требования правил производства и приемки работ согласно СНиП 3.03.01-87 «Несущие и ограждающие конструкции», требования завода-изготовителя, изложенные в «Техническом руководстве» по устройству и эксплуатации опалубки.

3 ТРЕБОВАНИЯ К КАЧЕСТВУ И ПРИЕМКЕ РАБОТ

3.1 Контроль качества по установке щитов опалубки стен осуществляется мастером или прорабом.

3.2 Производственный контроль качества работ должен включать входной контроль рабочей документации, операционный контроль технологических процессов сборки опалубки и оценку соответствия смонтированных щитов опалубки нормативным требованиям.

3.3 При входном контроле рабочей документации должна производиться проверка ее комплектности и достаточности содержащейся в ней технической информации для производства работ.

При входном контроле панелей опалубки, изделий, материалов и оборудования следует проверять внешним осмотром их соответствие требованиям стандартов или других нормативных документов и рабочей документации, а также наличие и содержание паспортов, сертификатов и других сопроводительных документов.

3.4 Инвентарная опалубка «Мева» должна поставляться на объект комплектно в соответствии с заявочной спецификацией заказчика. Завод-изготовитель должен сопровождать комплект опалубки паспортом с руководством по эксплуатации.

3.5 Результаты входного контроля должны регистрироваться в «Журнале входного учета и контроля качества получаемых деталей, материалов, конструкций и оборудования».

3.6 При приемке установленной опалубки проверяется вертикальность щитов, а также установка крепежных подкосов и надежность крепления их к щитам собранной опалубки, смещение осей опалубки от проектного положения, правильность установки закладных деталей. Результаты проверки установленной опалубки регистрируются в «Журнале производства работ».

3.7 Точность изготовления и установки опалубки, а также допустимая прочность бетона при распалубливании должны соответствовать требованиям, приведенным в таблице 3.

3.7 Состав производственного контроля качества опалубочных работ приведен в таблице 4.

Таблица 3 - Требования, предъявляемые к опалубке (СНиП 3.03.01-87)

Технические требования

Предельные отклонения

Контроль (метод, объем, вид регистрации)

Точность изготовления опалубки:

 

 

инвентарной

По рабочим чертежам и техническим условиям не ниже Н14; h14; по ГОСТ 25346-89 и ГОСТ 25347-82*; для формообразующих элементов - h14

Технический осмотр, регистрационный

Точность установки инвентарной опалубки:

 по ГОСТ 25346-89 и ГОСТ 25347-82*

Измерительный, всех элементов, журнал работ

в том числе:

 

уникальных и специальных сооружений

Определяется проектом

малооборачиваемой и (или) неинвентарной при возведении конструкций, к поверхности которых не предъявляются требования точности

По согласованию с заказчиком может быть ниже

для конструкций, готовых под окраску без шпатлевки

Перепады поверхностей, в том числе стыковых, не более 2 мм

для конструкций, готовых под оклейку обоями

То же, не более 1 мм

Прогиб собранной опалубки:

 

 

вертикальных поверхностей

1/400 пролета

Контролируется при заводских испытаниях и на строительной площадке

Минимальная прочность бетона незагруженных монолитных конструкций при распалубке поверхностей:

 

 

вертикальных из условия сохранения формы

0,2 - 0,3 МПа

Измерительный по ГОСТ 10180-90; ГОСТ 18105-86*, журнал работ

Минимальная прочность бетона при распалубке загруженных конструкций, в том числе от вышележащего бетона (бетонной смеси)

Определяется ППР и согласовывается с проектной организацией, обычно устанавливается 100 %

То же

Таблица 4 - Состав операций и средств контроля

Вид контроля

Контролируемые операции

Контроль (метод, объем)

Документация

Входной

Проверить:

 

 

- наличие документов о качестве и использовании опалубки;

Визуальный

Паспорт (сертификат), общий журнал работ

- качество подготовки и отметки несущего основания;

То же

- наличие и состояние крепежных элементов, средств подмащивания

Визуальный, измерительный

Операционный

Контролировать:

 

 

- соблюдение порядка сборки щитов опалубки, установки крепежных элементов, средств подмащивания, закладных элементов;

Технический осмотр

Общий журнал работ (журнал бетонных работ)

- плотность сопряжения щитов опалубки между собой и с ранее уложенным бетоном;

Измерительный, всех элементов

- соблюдение геометрических размеров и проектных наклонов плоскостей опалубки;

То же

- надежность крепления щитов опалубки

Технический осмотр

Оценка качества

Проверить:

 

 

- соответствие геометрических размеров опалубки проектным;

Измерительный, всех элементов

Общий журнал работ (журнал бетонных работ)

- положение опалубки относительно разбивочных осей в плане и по вертикалям, в т.ч. обозначение проектных отметок верха бетонируемой конструкции внутри поверхности опалубки;

Измерительный

- правильность установки и надежного закрепления пробок и закладных деталей, а также всей системы в целом

Технический осмотр

3.8 Для проведения контроля качества опалубочных работ следует применять контрольно-измерительный инструмент: рулетку, линейку металлическую, отвес строительный, нивелир и теодолит, соответствующим образом аттестованные и поверенные в установленном порядке.

3.9 Операционный контроль должен осуществлять мастер (прораб), а также геодезист в процессе выполнения работ. Оценку соответствия осуществляют работники службы контроля качества работ, мастер (прораб), представители технадзора заказчика.

4 ТРЕБОВАНИЯ БЕЗОПАСНОСТИ И ОХРАНЫ ТРУДА, ЭКОЛОГИЧЕСКОЙ И ПОЖАРНОЙ БЕЗОПАСНОСТИ

4.1 Все рабочие, выполняющие опалубочные работы, должны иметь удостоверение на право производства данного вида работ, а также пройти первичный инструктаж на рабочем месте по безопасности труда в соответствии с требованиями ГОСТ 12.0.004-90.

4.2 При монтаже щитов опалубки особое внимание необходимо обратить на строгое соблюдение требований технологической карты по их установке, устойчивости при закреплении подкосами и правильность строповки.

4.3 Способы строповки элементов опалубки должны обеспечивать их подачу к месту установки в положении, близком к проектному.

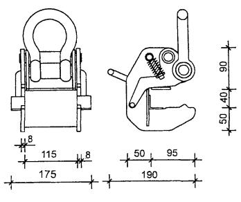
На стройплощадке до начала работы необходимо регулярно проверять состояние захватного устройства (крюка крана) как минимум перед началом каждой смены, но не реже 500 нагрузочных циклов. Превышение допустимой грузоподъемности может привести к остаточному удлинению и остаточной деформации, нарушающим надежность работы крюка крана.

Контролю подлежит и размер зева захватного устройства (крюка крана). Если контрольный размер превышает 43 мм, то крюк крана необходимо сразу же заменить. Это относится и к случаю, когда контрольный размер превышен только на одной полке крюка, как показано на рисунке 18.

Данные по проверке контрольных размеров заносятся в паспорта каждого из крюков.

Рисунок 18 - Критерий для выбраковки захватного устройства (крюка крана)

4.4 Элементы монтируемой опалубки во время перемещения должны удерживаться от раскачивания и вращения гибкими оттяжками.

4.5 Устанавливать щиты или панели опалубки следует с соблюдением следующих правил:

- устанавливаемые панели должны быть надежно скреплены;

- освобождать щит или панели опалубки от крюка крана разрешается после их надежного закрепления консольными подпорками.

4.6 Приготовление и нанесение смазок на палубу опалубки необходимо производить с обязательным соблюдением всех условий санитарии и охраны труда.

4.7 При установке опалубки в несколько ярусов каждый последующий ярус следует устанавливать только после закрепления нижнего яруса.

4.8 К разборке опалубки стен можно приступать только после достижения бетоном заданной в проекте прочности с разрешения производителя работ.

4.9 При производстве опалубочных работ запрещается:

- размещать на опалубке оборудование и материалы, не предусмотренные проектом производства работ, а также пребывание людей, непосредственно не участвующих в производстве работ, на настиле опалубки;

- работать неисправным инструментом и на неисправном оборудовании;

- ходить по смазанной поверхности щитов опалубки;

- складывать на подмостях или на рабочем настиле разбираемые элементы опалубки, а также сбрасывать их;

- работать с приставных лестниц;

- загромождать проходы и доступы к противопожарному инвентарю, огнетушителям и гидрантам;

- курить в местах, специально не отведенных для курения;

- разводить огонь на опалубке или устанавливать нагревательные электроприборы, которые не предусмотрены проектом производства работ;

- допуск посторонних лиц на строящийся объект;

- одновременное производство работ в двух и более ярусах по одной вертикали без защитных устройств (настилов, навесов);

- производить работы на опалубке во время грозы или при силе ветра более шести баллов.

4.10 Приказом по строительному управлению назначить ответственного из числа ИТР за охрану труда, и выдачу наряд-допуска и пожарную безопасность.

Ответственность за пожарную безопасность на строительной площадке, за соблюдение противопожарных требований, своевременное выполнение противопожарных мероприятий, обеспечение и исправное содержание средств пожаротушения несет начальник строительного участка, назначенный приказом по строительной организации.

4.11 Все лица, находящиеся на строительстве, обязаны носить защитные каски.

4.12 Рабочие, занятые на работах с электроинструментом, должны быть аттестованы на II группу электробезопасности.

4.13 Строповку грузов краном производить аттестованными стропальщиками.

4.14 На всех рабочих местах должны находиться щиты со схемами строповок.

4.15 Для крепления монтажных поясов при подстраховке рабочих по перекрытию уложить и надежно закрепить страховочные тросы. Площадку монтажника следует пристрелить к перекрытию дюбелями.

4.16 При производстве опалубочных работ необходимо строго соблюдать требования СНиП 12-03-2001 «Безопасность труда в строительстве. Часть 1. Общие положения», СНиП 12-04-2002 «Безопасность труда в строительстве. Часть 2. Строительное производство», ППБ 01-03 «Правила пожарной безопасности в Российской Федерации», СанПиН 2.2.3.1384-03 «Гигиенические требования к организации строительного производства и строительных работ», СП 12-135-2003 «Безопасность труда в строительстве. Отраслевые типовые инструкции по охране труда».

5 ПОТРЕБНОСТЬ В МАТЕРИАЛЬНО-ТЕХНИЧЕСКИХ РЕСУРСАХ

5.1 Потребность в машинах, оборудовании и механизмах для установки щитов опалубки при возведении стен здания, приведенных в таблице 5, определяется с учетом объемов выполняемых работ и технических характеристик.

Таблица 5 - Ведомость потребности в машинах, механизмах, инструментах и приспособлениях

№ п/п

Наименование

Тип, марка, ГОСТ

Техническая характеристика

Назначение

Количество на звено, шт.

1

2

3

4

5

6

1

Кран

Согласно ППР

Монтаж и демонтаж опалубки

1

2

Машина ручная сверлильная электрическая

ИЭ-1035Э

 

Подготовительные, монтажные и демонтажные работы по установке опалубки

1

3

Машина ручная сверлильная пневматическая

ИП-1008

 

1

4

Гайковерт ручной электрический

ИЭ-3119

 

1

5

Машина ручная зачистная угловая пневматическая

ИП-2104

 

1

6

Установка компрессорная передвижная

СО-7Б

 

 

1

7

Ключи гаечные с открытыми зевами, двусторонние

ГОСТ 2839-80*

 

 

1

8

Лом монтажный

ЛМ-24

L = 1180 мм

Р = 4,2 кг

 

1

9

Кувалда кузнечная остроносая

ГОСТ 11402-75

 

 

2

10

Валик малярный

ВМ ГОСТ 10831-87

 

 

1

11

Щетка ручная из проволоки

 

 

 

1

12

Зубило слесарное

ГОСТ 7211-86*

 

 

2

13

Молоток плотничий с круглым бойком

МПЛ ГОСТ 2310-73*

 

 

2

14

Захват опалубки широкий

ОПРУС-1М

Грузоподъемность Q = 1,5 т

Строповка щитов опалубки

4

15

Строп двухветвевой

2СК-3,2/2000

ГОСТ 25573-82*

L = 2,0 м

Q = 3,2 т

Монтаж и демонтаж щитов опалубки

1

16

Строп одноветвевой

1СК-3,2/2000

ГОСТ 25573-82*

L = 2,0 м

Q = 3,2 т

Монтаж узких щитов

1

17

Лестница приставная

Р.ч. 3257.04

L = 3,0 м

Установка и крепление щитов опалубки в проектное положение

2

18

Площадка монтажника

4624 Мосоргстрой

Нр.н. = 1,5 м

Р = 28 кг

2

19

Стремянка

Пр. 0472.00

Нр.н. = 2,0 м

 

2

20

Ящик инструментальный 3-х секционный

Р.ч. 1.111.00

 

Для хранения инструмента

1

21

Ведро

ГОСТ 20558-82*

V = 8 - 10 л

 

3

22

Рулетка измерительная металлическая

РЗ-10 ГОСТ 7502-98

 

Для линейных измерений

1

23

Отвес стальной строительный

ОТ-400

ГОСТ 7948-80

 

Для линейных измерений

2

24

Уровень строительный

УС4-500

ГОСТ 9416-83

 

1

25

Уровень гибкий водяной

ТУ 25-11-760-72

 

1

26

Шнур разметочный в корпусе

ТУ 22-4633-80

 

1

27

Шнур капроновый

ГОСТ 1765-89

 

2

28

Карандаш

Р-7

 

10

29

Метр складной деревянный

 

 

2

30

Рейка с отвесом

Р.ч. № 175

 

1

31

Угольник металлический

ТУ 22-4400-79

500´240

2

32

Каска строительная

ГОСТ 12.4.087-84

 

 

3

6 ТЕХНИКО-ЭКОНОМИЧЕСКИЕ ПОКАЗАТЕЛИ

6.1 Работы по установке щитов опалубки стен выполняются комплексной бригадой в следующем составе:

машинист крана                5 разряда                   - 1 человек

такелажники                      2 разряда                   - 2 человека

слесарь строительный      4 разряда                   - 1 человек

3 разряда                   - 2 человека

ИТОГО                      - 6 человек

6.2 Затраты труда и машинного времени подсчитаны из расчета установки щита опалубки стены размером 5,4´2,7 м при высоте типового этажа здания Н = 2,7 м с использованием башенного крана.

Подсчет выполнен по «Единым нормам и расценкам на строительные, монтажные и ремонтно-строительные работы», сборник 4 «Монтаж сборных и устройство монолитных железобетонных конструкций», выпуск 1 «Здания и промышленные сооружения», введенным в действие в 1987 г., и приведен в таблице 6.

Таблица 6 - Калькуляция затрат труда и машинного времени на установку опалубки монолитных стен здания

Измеритель конечной продукции - 14,58 м2

№ п/п

Обоснование (ЕНиР и др. нормы)

Наименование работ

Ед. изм.

Объем работ

Нормы времени

Затраты труда

рабочих, чел.-ч.

машинистов, чел.-ч., (работа машин, маш.-ч.)

рабочих, чел.-ч.

машинистов, чел.-ч., (работа машин, маш.-ч.)

1

Е1-6

№ 17 а, в

Подача щитов «Алу Стар» для укрупнительной сборки

100 т

0,312

23,0

11,5

(11,5)

7,18

3,59

(3,59)

2

Е4-1-40

№ 1

Укрупнение щитов площадью до 5 м2

1 м2

14,58

0,38

-

5,54

-

3

Е1-7

№ 28

а + в

б + г

Подача щитов опалубки башенным краном на высоту до 18 м

100 т

0,312

15,4

7,6

(7,6)

4,8

2,4

(2,4)

4

Е4-1-37Б

№ 2а

Установка щитов опалубки в проектное положение с раскреплением их подкосами

1 м2

14,58

0,24

-

3,5

-

5

Е4-1-37Б

№ 2б

Демонтаж щитов опалубки

1 м2

14,58

0,14

-

2,04.

-

6

Е1-7

№ 28

а + в

б + г

Подача щитов опалубки башенным краном на площадку

100 т

0,312

15,4

7,6

(7,6)

4,8

2,4

(2,4)

 

 

ИТОГО:

 

 

 

 

27,86

8,39

(8,39)

6.3 График производства работ приведен в таблице 7.

Таблица 7 - График производства работ

Измеритель конечной продукции - 14,58 м2

6.4 Технико-экономические показатели при установке щитов опалубки стены здания общей площадью 14,58 м2 составляют:

затраты труда, чел.-час:

- рабочих                                                   - 27,86

- машиниста                                              - 8,39

затраты машинного времени, маш.-час.                     - 8,39

продолжительность работ, часов                                 - 8,4

7 ПЕРЕЧЕНЬ НОРМАТИВНО-ТЕХНИЧЕСКОЙ ЛИТЕРАТУРЫ

1 СНиП 3.01.03-84 Геодезические работы в строительстве.

2 СНиП 3.03.01-87 Несущие и ограждающие конструкции.

3 СНиП 12-01-2004 Организация строительства.

4 СНиП 12-03-2001 Безопасность труда в строительстве. Часть 1. Общие требования.

5 СНиП 12-04-2002 Безопасность труда в строительстве. Часть 2. Строительное производство.

6 ГОСТ 12.0.004-90 ССБТ. Организация обучения безопасности труда. Общие положения.

7 ГОСТ 12.3.002-75* ССБТ. Процессы производственные. Общие требования безопасности.

8 ГОСТ 12.4.010-75* ССБТ. Средства индивидуальной защиты. Рукавицы специальные. Технические условия.

9 ГОСТ 12.4.011-89 ССБТ. Средства защиты работающих. Общие требования и классификация.

10 ГОСТ Р 12.4.026-2001 ССБТ. Цвета сигнальные, знаки безопасности и разметка сигнальная. Назначение и правила применения. Общие технические требования и характеристики. Методы испытаний.

11 ГОСТ 12.4.087-84 ССБТ. Строительство. Каски строительные. Технические условия.

12 ГОСТ 5547-93 Плоскогубцы комбинированные. Технические условия.

13 ГОСТ 7211-86* Зубила слесарные. Технические условия.

14 ГОСТ 7502-98 Рулетки измерительные металлические. Технические условия.

15 ГОСТ 7948-80 Отвесы стальные строительные. Технические условия.

16 ГОСТ 9416-83 Уровни строительные. Технические условия.

17 ГОСТ 11042-90 Молотки слесарные стальные. Технические условия.

18 ГОСТ 25573-82* Стропы грузовые канатные для строительства. Технические условия.

19 ПБ 10-382-00 Правила устройства и безопасной эксплуатации грузоподъемных кранов. Госгортехнадзор России, М., 2000.

20 ППБ 01-03 Правила пожарной безопасности в Российской Федерации. МЧС России, М., 2003 г.

21 ЕНиР. Единые нормы и расценки на строительные, монтажные и ремонтно-строительные работы. Сборник 4. Монтаж сборных и устройство монолитных железобетонных конструкций. Выпуск 1. Здания и промышленные сооружения.

22 СП 12-135-2003 «Безопасность труда в строительстве. Отраслевые типовые инструкции по охране труда».

23 СанПиН 2.2.3.1384-03 «Гигиенические требования к организации строительного производства и строительных работ».

24 Рекомендации по технологии возведения конструкций из монолитного бетона и железобетона. 2-я редакция, ОАО ПКТИпромстрой, М., 1999 г.



© 2013 Ёшкин Кот :-)