Информационная система
«Ёшкин Кот»

XXXecatmenu

ФЕДЕРАЛЬНОЕ АГЕНТСТВО
ПО ТЕХНИЧЕСКОМУ РЕГУЛИРОВАНИЮ И МЕТРОЛОГИИ

НАЦИОНАЛЬНЫЙ
СТАНДАРТ
РОССИЙСКОЙ
ФЕДЕРАЦИИ

ГОСТ Р ЕН ИСО
20846-2006

НЕФТЕПРОДУКТЫ

Определение содержания серы
методом ультрафиолетовой
флуоресценции

EN ISO 20846:2004

Petroleum products - Determination of sulfur
content of automotive fuels - Ultraviolet fluorescence
method
(IDT)

 

Москва
Стандартинформ
2007

 

Предисловие

Цели и принципы стандартизации в Российской Федерации установлены Федеральным законом от 27 декабря 2002 г. № 184-ФЗ «О техническом регулировании», а правила применения национальных стандартов Российской Федерации - ГОСТ Р 1.0-2004 «Стандартизация в Российской Федерации. Основные положения»

Сведения о стандарте

1 ПОДГОТОВЛЕН Открытым акционерным обществом «Всероссийский научно-исследовательский институт по переработке нефти» (ОАО «ВНИИНП») на основе собственного аутентичного перевода стандарта, указанного в пункте 4

2 ВНЕСЕН Техническим комитетом по стандартизации ТК 31 «Нефтяные топлива и смазочные материалы»

3 УТВЕРЖДЕН И ВВЕДЕН В ДЕЙСТВИЕ Приказом Федерального агентства по техническому регулированию и метрологии от 27 декабря 2006 г. № 440-ст

4 Настоящий стандарт идентичен региональному стандарту ЕН ИСО 20846:2004 «Нефтепродукты. Определение содержания серы в моторных топливах. Метод ультрафиолетовой флуоресценции» (EN ISO 20846:2004 «Petroleum products - Determination of sulfur content of automotive fuels - Ultraviolet fluorescence method»).

Наименование настоящего стандарта изменено относительно наименования указанного стандарта для приведения в соответствие с ГОСТ Р 1.5-2004 (подраздел 3.5).

При применении настоящего стандарта рекомендуется использовать вместо ссылочных международных стандартов соответствующие им национальные стандарты Российской Федерации, сведения о которых приведены в дополнительном приложении А

5 ВВЕДЕН ВПЕРВЫЕ

Информация об изменениях к настоящему стандарту публикуется в ежегодно издаваемом информационном указателе «Национальные стандарты», а текст изменений и поправок - в ежемесячно издаваемых информационных указателях «Национальные стандарты». В случае пересмотра (замены) или отмены настоящего стандарта соответствующее уведомление будет опубликовано в ежемесячно издаваемом информационном указателе «Национальные стандарты». Соответствующая информация, уведомление и тексты размещаются также в информационной системе общего пользования - на официальном сайте Федерального агентства по техническому регулированию и метрологии в сети Интернет

НАЦИОНАЛЬНЫЙ СТАНДАРТ РОССИЙСКОЙ ФЕДЕРАЦИИ

НЕФТЕПРОДУКТЫ

Определение содержания серы методом ультрафиолетовой флуоресценции

Petroleum products.
Determination of sulfur content by ultraviolet fluorescence method

Дата введения - 2008-01-01

1 Область применения

Настоящий стандарт распространяется на:

- автомобильные бензины, включая бензины с массовой долей кислорода не более 2,7 %;

- дизельные топлива, включая дизельное топливо с содержанием метилового эфира жирной кислоты (МЭЖК) не более 5 % (по объему), и устанавливает метод определения концентрации серы в диапазоне от 3 до 500 мг/кг ультрафиолетовой (УФ) флуоресценцией.

Данный метод применим для испытаний других продуктов и определения других концентраций серы, однако для продуктов, отличных от моторных топлив, и результатов вне установленного диапазона прецизионность не установлена. Галогены концентрации более 3500 мг/кг мешают обнаружению серы.

Примечания

1 Катализаторы некоторых процессов, используемые в нефтяной и химической промышленности, могут быть загрязнены следовыми количествами серосодержащих материалов, содержащихся в исходном сырье.

2 Настоящий метод испытания можно использовать для определения серы в технологических потоках, а также для контроля концентрации серы в стоках.

3 В настоящем стандарте термины «% (по массе)» и «% (по объему)» используют для представления соответственно массовой или объемной доли материала.

Настоящий стандарт допускает применение опасных веществ, операций, оборудования. Стандарт не устанавливает меры по технике безопасности. Ответственность за установление правил техники безопасности и обязательных ограничений до применения стандарта возлагается на его пользователя.

2 Нормативные ссылки

В настоящем стандарте использованы нормативные ссылки на следующие международные стандарты:

ИСО 1042:1998 Стеклянная лабораторная посуда. Мерные колбы с одним делением

ИСО 3170:2004 Нефтяные жидкости. Отбор проб вручную

ИСО 3171:1988 Нефтяные жидкости. Автоматический отбор проб из трубопровода

ИСО 3675:1998 Сырая нефть и жидкие нефтепродукты. Лабораторное определение плотности. Метод с применением ареометра

ИСО 12185:1996 Сырая нефть и нефтепродукты. Определение плотности. Метод с использованием колеблющейся U-образной трубки (включая техническое изменение 1:2001)

3 Сущность метода

Образец топлива впрыскивают непосредственно в камеру детектора УФ-флуоресценции, после чего он поступает в трубку для сжигания, где при температуре от 1000 °С до 1100 °С в атмосфере, богатой кислородом, сера, присутствующая в образце, окисляется до двуокиси серы (SО2). Воду, образующуюся во время сжигания образца, удаляют, а полученные газы сгорания подвергают действию УФ-света. Двуокись серы, присутствующая в газах, абсорбирует энергию УФ-света и преобразуется в возбужденную двуокись серы (SО2). Сигнал флуоресценции, излучаемый возбужденной двуокисью серы, по мере того, как она возвращается в стабильное состояние, и регистрируемый трубкой фотоумножителя, соответствует содержанию серы в образце.

4 Аппаратура

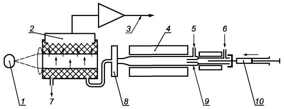
Примерная схема применяемой аппаратуры приведена на рисунке 1.

1 - УФ-источник; 2 - фотоумножитель; 3 - выходной сигнал; 4 - печь с температурой 1000 °С - 1100 °С; 5 - ввод кислорода;
6 - ввод инертного газа; 7 - выход газов; 8 - паросушитель; 9 - кварцевая трубка для сжигания; 10 - микролитровый
шприц

Рисунок 1 - Схема аппаратуры

4.1 Печь с электрическим устройством, способным поддерживать температуру, достаточную для пиролиза всего образца и окисления всей серы до двуокиси серы (SО2). Печь можно устанавливать в горизонтальном или вертикальном положении.

4.2 Кварцевая трубка для сжигания, обеспечивающая непосредственное впрыскивание образца в нагретую зону окисления печи. Трубка для сжигания должна иметь два боковых отвода для ввода кислорода и газа-носителя. Секция зоны окисления должна обеспечивать полное сжигание образца. Ее можно устанавливать в горизонтальном или вертикальном положении.

4.3 Регуляторы (контроллеры) потока, обеспечивающие поддержание постоянной подачи кислорода и газа-носителя.

4.4 Паросушитель, обеспечивающий удаление водяного пара, образовавшегося во время сжигания, до измерения детектором.

4.5 Детектор УФ-флуоресценции

Селективный детектор для количественного определения серы, обеспечивающего измерение света, излучаемого при флуоресценции двуокиси серы под действием УФ-света.

Предупреждение - Осторожно. Воздействие избыточного ультрафиолетового (УФ) света вредно для здоровья. Оператор должен избегать воздействия на него (особенно следует беречь глаза) непосредственно УФ-света, но также вторичной или рассеянной радиации, которая может иметь место.

4.6 Микролитровый шприц, обеспечивающий точную подачу образца в количестве от 5 до 50 мкл. Необходимую длину иглы определяют по инструкции изготовителя аппаратуры. Для вертикального положения рекомендуются шприцы с плунжером из политетрафторэтилена (ПТФЭ).

4.7 Система ввода образца может располагаться вертикально или горизонтально. Система должна иметь входное отверстие для непосредственного количественного впрыскивания анализируемого образца в поток носителя, который направляет образец в зону окисления с контролируемой и постоянной скоростью, приблизительно равной 1 мкл/с, для чего используют механизм микролитрового шприца.

Примечание - Для ввода образца можно применять лодочки, если эта система ввода образца удовлетворяет требованиям раздела 12.

4.8 Весы, обеспечивающие взвешивание с точностью до 0,0001 г.

4.9 Мерные колбы с одной меткой класса А по ИСО 1042 соответствующей вместимости для приготовления исходного раствора (5.5) и калибровочных стандартов (5.6).

5 Реактивы и материалы

5.1 Инертный газ, аргон или гелий, высокого класса чистоты с минимальной чистотой 99,998 % (по объему).

5.2 Кислород высокого класса чистоты с минимальной чистотой 99,75 % (по объему).

Предупреждение - Осторожно. Кислород интенсивно ускоряет сжигание.

5.3 Растворитель

5.3.1 Используют растворители, указанные в 5.3.2 или 5.3.3. Допускается применение растворителей, аналогичных присутствующим в анализируемом образце. Проводят корректировку на вклад серы, присутствующей в растворителях, используемых при приготовлении стандартных растворов или разбавлении анализируемых образцов. Применение растворителя, в котором сигнал серы отсутствует, делает корректировку ненужной.

5.3.2 Толуол класса «х.ч.».

5.3.3 Изооктан класса «х.ч.».

Предупреждение - Осторожно. Воспламеняющиеся реактивы.

5.4 Соединения серы

5.4.1 Соединения серы должны быть чистотой не менее 99 % (по массе) (5.4.1.1 - 5.4.1.3). Если чистота этих соединений менее 99 % (по массе), то концентрация и природа всех загрязнений должны быть установлены.

Альтернативой веществам, перечисленным в 5.4.1.1 - 5.4.1.3, являются сертифицированные эталонные материалы (СЭМ) от аккредитованных поставщиков.

Примечание - Когда содержание серы известно точно, можно применять корректировку на химические примеси.

5.4.1.1 Дибензотиофен (ДБТ) молекулярной массой 184,26 и с содержанием серы 17,399 % (по массе).

5.4.1.2 Дибутилсульфид (ДБС) молекулярной массой 146,29 и с содержанием серы 21,915 % (по массе).

5.4.1.3 Тионафтен (бензотиофен) (ТНА) молекулярной массой 134,20 и с содержанием серы 23,890 % (по массе).

5.5 Исходный раствор серы с концентрацией серы 1000 мг/дм3

Для приготовления исходного раствора в мерную колбу вместимостью 100 см3 (4.9) взвешивают точно необходимое количество соединения серы (5.4), равное: для ДБТ - 0,5748 г, для ДБС - 0,4563 г, для ТНА - 0,4186 г, и доводят до метки растворителем (5.3), обеспечив полное растворение соединения. Концентрацию серы в исходном растворе рассчитывают с точностью до 1 мг/дм3; исходный раствор используют для приготовления калибровочных стандартов.

В качестве альтернативы исходный раствор с содержанием серы приблизительно 1000 мг/кг можно приготовить, взвесив мерную колбу вместе с соответствующим количеством соединения серы (5.4), и повторно, когда она будет заполнена до метки растворителем (5.3).

Чтобы избежать погрешностей при взвешивании, при приготовлении исходного раствора принимают меры предосторожности для предотвращения потерь растворителя и соединения серы за счет испарения (см. раздел 6).

Примечание - Срок годности исходного раствора - приблизительно три месяца при хранении при низкой температуре, обычно в холодильнике.

5.6 Калибровочные стандарты

Калибровочные стандарты готовят разбавлением исходного раствора (5.5) выбранным растворителем (5.3). Рассчитывают точное содержание серы каждого калибровочного стандарта. Калибровочные стандарты с известной концентрацией серы в миллиграммах на кубический дециметр (или содержание в миллиграммах на килограмм) можно получить разбавлением «объем/объем» (или «масса/масса» соответственно) исходного раствора в 1000 мг/дм3 (или мг/кг соответственно). Возможны другие способы, но при применении вышеупомянутых способов устраняется введение поправки на плотность. Новые калибровочные стандарты следует готовить регулярно в зависимости от частоты применения и срока годности. При хранении при низкой температуре, обычно в холодильнике, калибровочные стандарты с содержанием серы более 30 мг/кг (или мг/дм3) пригодны к использованию в течение одного месяца. При содержании серы ниже 30 мг/кг срок годности сокращается.

5.7 Образцы контроля качества результатов испытаний

Образцы контроля качества - стабильные представительные образцы анализируемых материалов с известным содержанием серы, определяемым по данному методу испытания на период времени проведения контрольных испытаний. Возможно применение товарных стандартных материалов с сертифицированным значением концентрации серы. Перед применением проверяют срок годности материала.

5.8 Стекловата (кварцевая)

При применении следуют рекомендациям изготовителя.

6 Отбор проб

6.1 Отбор проб проводят в соответствии с ИСО 3170, ИСО 3171.

Чтобы сохранить летучие компоненты, пробу хранят в закрытой емкости при пониженной температуре и не открывают емкость на долгое время. Пробу после отбора следует анализировать по возможности быстро, чтобы предотвратить потерю серы в пробе или загрязнение пробы при контакте с контейнером для образца.

Примечание - Пробы, отобранные при температуре ниже температуры дальнейшего хранения, могут расшириться и нарушить герметичность емкости. В этом случае емкость для пробы не заполняют до верха, над пробой оставляют воздушное пространство.

6.2 Перед отбором образца для испытания пробу перемешивают в контейнере.

7 Подготовка аппаратуры

7.1 Аппаратуру собирают и проверяют на утечку согласно инструкциям изготовителя.

7.2 Регулируют давление на входе и скорость потока каждого газа согласно инструкциям изготовителя.

7.3 В соответствии с инструкциями изготовителя устанавливают необходимую температуру печи (4.1). Для печи с однотемпературной зоной, чтобы обеспечить пиролиз и окисление всей серы, необходима температура 1100 °С; для печи с двухтемпературной зоной для пиролиза устанавливают температуру 750 °С и для окисления - от 1000 °С до 1100 °С.

7.4 Регулируют чувствительность прибора и стабильность базовой линии и выполняют холостой опыт по инструкциям изготовителя.

Примечание - Для прогревания аппаратуры обычно требуется не менее 30 мин.

8 Калибровка и поверка аппаратуры

8.1 Многоточечная калибровка

8.1.1 Выбирают одну из кривых, данные для которых указаны в таблице 1.

Таблица 1 - Калибровочные стандарты

Кривая I. Концентрация серы, мг/дм3 или мг/кг

Кривая II. Концентрация серы, мг/дм3 или мг/кг

Кривая III. Концентрация серы, мг/дм3 или мг/кг

0,5

5

50

2

10

150

5

30

350

10

60

500

Готовят серию калибровочных стандартов необходимого диапазона концентраций серы (5.6), выполняя разбавления исходного раствора (5.5) выбранным растворителем (5.3). Количество калибровочных стандартов, используемых при построении калибровочной кривой, может быть разным, но их не должно быть менее четырех.

8.1.2 Микролитровый шприц (4.6) обильно промывают несколько раз анализируемым раствором, окончательный столбик жидкости не должен содержать пузырьков воздуха.

8.1.3 Перед использованием приемов, указанных в 8.1.3.1 или 8.1.3.2, определяют размер образца по рекомендациям изготовителя аппарата.

Примечание - Впрыскивание постоянного или близкого к нему количества образца для всех материалов, анализируемых в выбранном рабочем диапазоне, способствует устойчивым условиям испытания.

8.1.3.1 Для объемного измерения шприц заполняют до выбранного уровня (по рекомендациям изготовителя) и отводят плунжер так, чтобы воздух вышел, а нижний мениск жидкости попал на отметку шкалы «10 %». Записывают объем жидкости в шприце. После впрыскивания снова отводят плунжер так, чтобы нижний мениск жидкости попал на отметку шкалы «10 %», и записывают объем жидкости в шприце. Разность между двумя этими показаниями объема и есть объем впрыснутого образца.

Примечание - Вместо описанной ручной процедуры впрыскивания можно применять устройство автоматического отбора проб и впрыскивания.

8.1.3.2 При измерении по массе взвешивают шприц вместе с заполненной иглой перед вводом и шприц и иглу после ввода, чтобы определить массу введенной (испытуемой) порции для испытания.

Примечание - Для менее летучих образцов измерение массы может быть более точным, чем измерение по объему, если используют весы с точностью не менее ± 0,0001 г.

8.1.4 Когда количество образца определено и образец помещен в шприц (4.6), образец сразу количественно переносят в аппарат. При непосредственном вводе шприц тщательно вставляют во входное отверстие трубки для сжигания (4.2) и привода шприца. Дают время остаткам образца на игле сгореть (пустая игла). После этого, когда установится базовая линия, незамедлительно начинают испытание образца.

8.1.5 Каждую калибровочную кривую строят одним из способов, описанных в 8.1.5.1 и 8.1.5.2.

8.1.5.1 Для ручного построения калибровочной кривой калибровочные стандарты и холостой раствор анализируют три раза по процедуре, изложенной в 8.1.2 - 8.1.4. Перед определением среднего интегрированного сигнала вычитают из каждого анализа калибровочного стандарта средний сигнал холостого раствора. Строят кривую, нанося средний интегрированный сигнал детектора по оси Y, а по оси Х - количество введенной серы Q в нанограммах. Кривая должна быть линейной с коэффициентом корреляции не менее 0,995.

Количество введенной серы Q рассчитывают по формуле

Q = mcwSc                                                                (1)

или

Q = VCCS,                                                                (2)

где тс - масса введенного калибровочного стандарта, мг, измеренная непосредственно или рассчитанная из измеренного введенного объема и плотности по следующему уравнению

тс = Vc ρc;                                                          (3)

wSc - концентрация серы в калибровочном стандарте, мг/кг;

Vc - объем введенного калибровочного стандарта, мл;

Cs - концентрация серы калибровочного стандарта, мг/дм3;

ρс - плотность калибровочного стандарта при температуре измерения, г/см3.

8.1.5.2 Если аппарат отображает на экране шаблон внутренней калибровки, анализируют калибровочные стандарты и холостой опыт три раза по 8.1.2 - 8.1.4. Если требуется корректировка холостого опыта, а сера отсутствует, сигнал анализатора корректируют посредством среднего отклика для каждого стандарта в зависимости от количества серы в соответствии с 8.1.5.1. Кривая должна быть линейной с коэффициентом корреляции не менее 0,995.

Примечание - Для кривой III (таблица 1) корректировку по холостому опыту можно опустить.

8.1.6 Калибровку анализатора можно выполнить подругой калибровочной кривой, а не по тем, что приведены в таблице 1. Широко практикуется построение калибровочной кривой таким способом, что содержание серы анализируемого образца находится в середине калибровочной кривой.

8.2 Калибровка по одной точке

8.2.1 Готовят калибровочный стандарт (5.6) с концентрацией серы, близкой к концентрации серы в анализируемом образце (не более ± 50 %), выполняя разбавление исходного раствора (5.5). Калибровочный стандарт с концентрацией серы более 50 % от концентрации серы образца можно использовать, если предварительно была проверена линейность аппаратуры.

По необходимости концентрацию серы в калибровочном стандарте следует корректировать по содержанию серы выбранного растворителя (5.3.1).

Примечание - Для измерения концентрации серы в выбранном растворителе удовлетворительные результаты дает метод стандартных добавок растворителя.

8.2.2 Калибровочный стандарт анализируют по процедуре, описанной в 8.1.2 - 8.1.4, минимально три раза, используя соответственно порцию образца, как указано изготовителем аппаратуры.

8.2.3 Рассчитывают калибровочный коэффициент К, равный отношению числа одиночных импульсов к количеству серы в нанограммах, по формулам:

                                                        (4)

или

                                                         (5)

где Aс - интегрированный отклик детектора для калибровочного стандарта, выраженный числом одиночных импульсов. Рассчитывают среднее значение калибровочного коэффициента и проверяют, чтобы стандартное отклонение находилось в пределах принятого допуска. Когда известна концентрация серы в калибровочных стандартах в миллиграммах на килограмм и выполнены впрыскивания объема, то необходима корректировка расхождения плотности между стандартами.

8.3 Проверка

8.3.1 Проверяют достоверность калибровки, используя образцы для контроля качества результатов испытания с известной концентрацией серы, в начале серии анализов и через каждые 20 анализов в течение длительной серии испытаний.

8.3.2 Результаты сравнивают с известными значениями и связанными с ними неопределенностями. Результаты, выходящие за пределы, должны быть проанализированы. Контрольные границы устанавливают по лабораторным статистическим контрольным картам, но исходные значения контрольных границ следует установить до построения карт. Приемлемыми значениями контрольных границ являются значения предела повторяемости этого метода и значение, равное 0,7, умноженное на значение воспроизводимости.

9 Проведение испытания

9.1 Плотность пробы топлива определяют в соответствии с ИСО 3675 или ИСО 12185. Если температура впрыскивания образца более чем на 3 °С отличается от температуры определения плотности или если используемая плотность определена при эталонной температуре, то для расчета плотности при температуре впрыскивания можно использовать ИСО 91-1.

9.2 Оценивают концентрацию серы в пробе, подготавливают испытуемый образец, выбирают калибровочную кривую необходимого диапазона концентраций серы, если выбрана многоточечная калибровка или если выбрана калибровка с одной точкой, готовят калибровочный стандарт (8.2). Если предполагаемая концентрация серы выше концентрации калибровочных стандартов, готовят раствор, разбавленный подобранным растворителем по объему или по массе. Когда концентрация серы в образце более 500 мг/кг, то его разбавляют до более подходящего уровня концентрации серы.

9.3 По процедуре 8.1.2 - 8.1.4 анализируют образец соответствующего размера, как указано изготовителем.

9.4 После проведения анализа проверяют полноту окисления испытуемого образца, обследуя трубку для сжигания и другие компоненты аппаратуры, по которым проходит поток газов. При обнаружении отложений испытание повторяют по 9.4.1 и 9.4.2.

9.4.1 Если присутствует кокс или сажа, то все части трубки сжигания чистят в соответствии с инструкциями изготовителя. После очистки и регулировки аппарат собирают и проверяют на утечки. Выполняют проверку на качество калибровки.

9.4.2 Используют уменьшенное количество образца или снижают скорость впрыскивания, или проводят и то и другое.

10 Обработка результатов

10.1 Использование многоточечной калибровки

Для анализаторов, калиброванных с использованием стандартной кривой, концентрацию серы ws, мг/кг, в образце рассчитывают по формуле

                                                      (6)

или

                                                    (7)

где m - масса впрыснутого испытуемого образца, мг, непосредственно измеренная или рассчитанная из измеренного впрыснутого объема и плотности по формуле

т = Vρ,                                                               (8)

где V - объем впрыснутого испытуемого образца, выраженный в микролитрах (10-3 см3);

ρ - плотность испытуемого образца при температуре измерения, г/см3;

А - интегрированный отклик детектора для испытуемого образца, выраженный в числе одиночных импульсов (количестве подсчетов);

Ss - наклон стандартной кривой, выраженный в числе одиночных импульсов на нанограмм серы;

Y - у-пересечение стандартной кривой, выраженное в количестве одиночных импульсов (подсчетов);

Fg - коэффициент гравиметрического разбавления, масса испытуемого образца/масса испытуемого образца и растворитель, г/г;

Fv - коэффициент объемного разбавления, получаемый как отношение массы испытуемого образца к сумме объемов испытуемого образца и разбавителя, г/см3.

10.2 Применение калибровки по одной точке

Рассчитывают концентрацию серы ws в образце, мг/кг, по формулам:

                                                       (9)

или

                                                      (10)

где K - см. 8.2.3.

Если проводится разбавление при низком содержании серы, то в расчете должна быть учтена корректировка концентрации серы в растворителе.

10.3 Рассчитывают среднюю концентрацию серы образца по трем определениям.

11 Запись результатов

Записывают концентрацию серы в образце (мг/кг) до ближайшего 1 мг/кг - свыше 60 мг/кг и до ближайшего 0,1 мг/кг - ниже 60 мг/кг.

12 Прецизионность

12.1 Общие положения

Прецизионность, определенная статистическим исследованием в соответствии с ИСО 4259, указана в 12.2 и 12.3.

В таблице 4 приведены оценки прецизионности для разных топлив.

12.2 Повторяемость r

Расхождение между двумя результатами испытания, полученными одним лаборантом на одной и той же аппаратуре при постоянно действующих условиях на идентичном материале для исследования при обычной и правильной эксплуатации метода испытания, может превышать значения, приведенные в таблице 2, только в одном случае из двадцати.

Таблица 2 - Данные повторяемости

Концентрация серы, мг/кг

Автомобильные бензины

Дизельные топлива

От 3 до 60

r = 0,0631Х + 0,35

r = 0,0553Х + 0,55

Св. 60 до 500

r = 0,0417Х + 1

r = 0,0285Х + 2

Примечание - X - среднее значение сравниваемых результатов, мг/кг.

12.3 Воспроизводимость R

Расхождение между двумя единичными и независимыми результатами, полученными разными лаборантами, работающими в разных лабораториях, на идентичном материале для исследования при обычной и правильной эксплуатации метода испытания, может превышать значения, приведенные в таблице 3, только в одном случае из двадцати.

Таблица 3 - Данные воспроизводимости

Концентрация серы, мг/кг

Автомобильные бензины

Дизельные топлива

От 3 до 60

R =0,1749Х + 0,96

R =0,1120Х + 1,12

Св. 60 до 500

R =0,1573Х + 2

R =0,1080Х + 2

Примечание - X - среднее значение сравниваемых результатов, мг/кг.

Таблица 4 - Повторяемость r и воспроизводимость R

Концентрация серы, мг/кг

Повторяемость

Воспроизводимость

Автомобильные бензины

Дизельные топлива

Автомобильные бензины

Дизельные топлива

10

1,0

1,1

2,7

2,2

30

2,2

2,2

6,2

4,5

50

3,5

3,3

9,7

6,7

100

5

5

18

13

350

16

12

57

40

500

22

16

81

56

13 Протокол испытания

Протокол испытания должен содержать следующее:

- ссылку на настоящий стандарт;

- тип и полную идентификацию испытуемого продукта;

- результат испытания (раздел 12);

- любое отклонение испытания по данной методике от стандартных методик;

- дату испытания.

Приложение А

(справочное)

Сведения о соответствии национальных стандартов Российской Федерации
ссылочным международным стандартам

Таблица А.1

Обозначение ссылочного международного стандарта

Обозначение и наименование соответствующего национального стандарта

ИСО 91-1:1992

*

ИСО 1042:1998

ГОСТ 1770-74 Посуда мерная лабораторная стеклянная. Цилиндры, мензурки, колбы, пробирки. Общие технические условия

ИСО 3170:2004

*

ИСО 3171:1988

*

ИСО 3675:1998

*

ИСО 4259:1992

ГОСТ Р 8.580-2001 Государственная система обеспечения единства измерений. Определение и применение показателей прецизионности методов испытаний нефтепродуктов

ИСО 12185:1996

*

* Соответствующий национальный стандарт отсутствует. До его утверждения рекомендуется использовать перевод на русский язык данного международного стандарта. Перевод данного международного стандарта находится в Федеральном информационном фонде технических регламентов и стандартов.

Библиография

[1]

ИСО 91-1:1992

Таблицы измерения параметров нефти и нефтепродуктов. Часть 1. Таблицы, основанные на температурах 15 °С и 60 °F

[2]

ИСО 4259:1992

Нефтепродукты. Определенней применение показателей прецизионности, касающихся методов испытаний

[3]

ИСО 4259:1992

Техническое изменение 1:1993

 

Ключевые слова: нефтепродукты, бензин, дизельное топливо, сера, ультрафиолетовая флуоресценция

СОДЕРЖАНИЕ

 

 



© 2013 Ёшкин Кот :-)