Информационная система
«Ёшкин Кот»

XXXecatmenu

ОАО «ЦНИИПРОМЗДАНИЙ»

КОНСТРУКЦИИ
СТЕН, ПОКРЫТИЙ И ПОЛОВ С ТЕПЛОИЗОЛЯЦИЕЙ
ИЗ ЭКСТРУЗИОННЫХ ВСПЕНЕННЫХ ПЕНОПОЛИСТИРОЛЬНЫХ
ПЛИТ «ПЕНОПЛЭКС»

Материалы для проектирования и рабочие чертежи узлов

Шифр М24.24/04

 

 

Москва, 2004 г.

Шифр М24.24/04

Зам. генерального директора _______________C.M. Гликин

Руководитель отдела __________________ А.М. Воронин

 

 

СИСТЕМА СЕРТИФИКАЦИИ ГОСТ Р
ГОССТАНДАРТ РОССИИ

СЕРТИФИКАТ СООТВЕТСТВИЯ

№ РОСС RU.CP48 С00162

Срок действия с 22.11.2004 по 22.11.2007

ГОССТРОЙ РОССИИ  № 0313863*

ОРГАН ПО СЕРТИФИКАЦИИ

ОРГАН ПО СЕРТИФИКАЦИИ ПРОЕКТНОЙ ПРОДУКЦИИ МАССОВОГО ПРИМЕНЕНИЯ В СТРОИТЕЛЬСТВЕ - ОС «ГУП ЦПП» № РОСС RU 9001.11СР48 от 11.07.02

127238, Москва Дмитровское шоссе, д. 46, корп. 2, Россия

тел. 482-07-78

ПРОДУКЦИЯ                                                                                           код ОК 005 (ОКП):

ПРОЕКТНАЯ ДОКУМЕНТАЦИЯ «КОНСТРУКЦИИ СТЕН. ПОКРЫТИЙ И ПОЛОВ С ТЕПЛОИЗОЛЯЦИЕЙ ИЗ ЭКСТРУЗИОННЫХ ВСПЕНЕННЫХ ПЕНОПОЛИСТИРОЛЬНЫХ ПЛИТ «ПЕНОПЛЭКС». МАТЕРИАЛЫ ДЛЯ ПРОЕКТИРОВАНИЯ И РАБОЧИЕ ЧЕРТЕЖИ УЗЛОВ» ШИФР М24.24/04

СООТВЕТСТВУЕТ ТРЕБОВАНИЯМ НОРМАТИВНЫХ ДОКУМЕНТОВ

код ТН ВЭД:

СНиП 31-01-2003, СНиП II-22-81* (издание 2004 г.),

СНиП 31-03-2001, СНиП 21-01-97* (издание 2004 г.).

СНиП 31-05-2003, СНиП 2.09.04-87* (издание 2001 г.),

СНиП 23-02-2003, СНиП 2.03.13-88, СНиП II-26-76

ИЗГОТОВИТЕЛЬ

ОАО «ЦНИИПРОМЗДАНИЙ»

Россия, 127238, Москва, Дмитровское шоссе, 46, корп. 2; тел. 482-18-23

ИНН 7713006939

СЕРТИФИКАТ ВЫДАН

ОАО «ЦНИИПРОМЗДАНИЙ»

НА ОСНОВАНИИ

экспертного заключения № 348с/04 от 18.11.04, выполненного органом по сертификации проектной продукции массового применения в строительстве № РОСС RU 9001.11СР48 от 11.07.02

ДОПОЛНИТЕЛЬНАЯ ИНФОРМАЦИЯ

Сертификация по схеме 1.

Маркировка проектной документации производится знаком соответствия органа по сертификации «ГУП ЦПП» № РОСС RU 9001.11СР48 в правом верхнем углу титульного листа

Руководитель органа     ______________________    _______Г.П. Володин________

                                                                                 подпись                                          инициалы фамилия

Эксперт                                        ___________               ___________Л.А. Кан_______

                                                                                 подпись                                          инициалы фамилия

Сертификат не применяется при обязательной сертификации.

 

СОДЕРЖАНИЕ

1. Общие положения. 3

2. Теплоизоляция. 4

3. Нормы теплозащиты и данные по толщине теплоизоляции. 5

4. Конструктивные решения стен. 20

5. Отделка фасадов штукатурными растворами. 23

6. Стены подвалов. 24

7. Ограждающие конструкции мансард. 25

8. Железобетонные покрытия с традиционной кровлей. Новое строительство. 25

9. Железобетонные покрытия с инверсионной кровлей. Новое строительство. 27

10. Железобетонные покрытия с традиционной кровлей. Реконструкция. 27

11. Железобетонные покрытия с инверсионной кровлей. Реконструкция. 28

12. Покрытия с профилированным настилом и традиционной кровлей. 28

13. Конструктивные решения полов. 28

14. Полы холодильников. 29

1. Стены.. 29

1.1. Стены с защитно-декоративным слоем из штукатурки. Новое строительство и реконструкция. 31

1.2. Стены с отделочным слоем из кирпича. Новое строительство. 48

1.3. Стены с отделочным слоем из кирпича. Реконструкция. 66

1.4. Стены с теплоизоляционным слоем, размещенным со стороны помещения. Реконструкция. 79

1.5. Стены подвала. 91

1.6. Ограждающие конструкции мансард. 93

2. Полы.. 96

2.1. Полы жилых и промышленных зданий. 96

2.2. Полы холодильников. 99

3. Покрытия. 101

3.1. Покрытия со сборным или монолитным железобетонным основанием.. 101

3.2. Покрытия по стальным профилированным настилам с традиционной кровлей. 124

4.1. Изделия комплектующие. 134

Приложение 1 Пример расчета толщины теплоизоляции стены подвала. 141

Приложение 2 Пример расчета повышения теплозащиты стены.. 142

Приложение 3 Пример расчета парозащиты стены.. 143

Приложение 4 Пример определения показателя теплоусвоения поверхности пола по СНиП 23-02-2003. 144

Приложение 5 Пример определения возможности конденсации влаги внутри стены подвала жилого дома в г. Москве при условии, что стена при реконструкции утеплена со стороны помещения подвала плитами Пеноплэкс толщиной 30 мм и оштукатурена цементно-песчаным раствором толщиной 30 мм. 146

Приложение 6 Пример определения возможности накопления влаги и необходимости устройства дополнительной пароизоляции в многослойном покрытии при реконструкции производственного здания в г. Тамбове. 148

Приложение 7 Обеспечение пожарной безопасности при использовании в стенах и покрытиях теплоизоляции из плит Пеноплэкс марки 35. 150

Приложение 8 Рекомендуемые материалы, при проектировании плит Пеноплэкс. 153

1. ОБЩИЕ ПОЛОЖЕНИЯ

1.1. Альбом содержит материалы для проектирования и рабочие чертежи наружных стен, стен подвалов, покрытий, стен и покрытий мансард, а также полов холодильников и полов подвалов зданий различного назначения с теплоизоляцией из плит пенополистирольных вспененных экструзионных ПЕНОПЛЭКС ТУ 5767-001-56925804-2003.

1.2. Материалы разработаны для следующих условий:

здания одно- и многоэтажные высотой до 75 м, I - IV степени огнестойкости с сухим и нормальным температурно-влажностным режимом для строительства на всей территории страны;

стены несущие или самонесущие из штучных материалов (кирпич, камни, бетонные блоки) или монолитного железобетона;

температура холодной пятидневки обеспеченностью 0,92 - до минус 55 °С.

1.3. Проектирование следует вести с учетом указаний следующих действующих нормативных документов:

СНиП 31-01-2003 «Здания жилые многоквартирные»;

СНиП 31-05-2003 «Общественные здания административного назначения»;

СНиП 31-03-2001 «Производственные здания»;

СНиП 2.09.04-87* «Административные и бытовые здания» (изд. 2001);

СНиП 23-02-2003 «Тепловая защита зданий»;

СНиП II-22-81 «Каменные и армокаменные конструкции»;

СНиП 21-01-97* «Пожарная безопасность зданий и сооружений»;

СНиП 23-01-99 «Строительная климатология»;

СНиП II-26-76 «Кровли»;

СНиП 2.03.13-88 «Полы»;

«Кровли, Руководство по проектированию, устройству, правилам приемки и методам оценки качества», М., ОАО «ЦНИИПромзданий», 2002 г.;

«Полы. Технические требования и правила проектирования, устройства, приемки, эксплуатации и ремонта», М., ОАО «ЦНИИПромзданий», 2004 г.

2. ТЕПЛОИЗОЛЯЦИЯ

2.1. В качестве теплоизоляции применяются изделия из плит пенополистирольных ПЕНОПЛЭКС марки 35 и 45 (ТУ 5767-001-56925804-2003).

Плиты марки 45 рекомендуется применять только в железобетонных покрытиях с эксплуатируемой кровлей под автостоянки.

2.2. Плиты марки 35 изготовляют номинальным размером 1200×600×(23; 30, 40; 50; 60; 80; 100) мм.

Плиты марки 45 изготовляют номинальным размером (2400, 4000; 4500)×600×(40; 50; 60; 80; 100).

2.3. Показатели физико-технических свойств плит пенополистирольных ПЕНОПЛЭКС приведены в таблице 1.

Таблица 1

Физико-технические свойства плит из пенополистирола ПЕНОПЛЭКС

Наименование показателя

Размерность

Марка

35

45

1. Плотность

кг/м3

от 33,0 до 38,0

от 38,1 до 45,0

2. Прочность на сжатие при 10 % линейной деформации, не менее

МПа

0,25

0,5

3. Предел прочности при статическом изгибе

МПа

0,4 - 0,9

0,4 - 0,7

4. Водопоглощение за 24 часа, не более

% по объему

0,1

0,2

5. Водопоглощение за 30 суток, не более

% по объему

0,4

0,4

6. Коэффициент теплопроводности при (25 ± 5) °С, не более

Вт/м · К

0,028

0,030

7. Расчетный коэффициент при условиях эксплуатации «А» (влажность по массе 2 %)

Вт/м · К

0,029

0,031

8. Расчетный коэффициент при условиях эксплуатации «Б» (влажность по массе 5 %)

Вт/м · К

0,030

0,032

9. Теплоусвоение при условиях «А» (при периоде 24 часа)

Вт/м2 · °С

0,36

0,40

10. Теплоусвоение при условиях «Б» (при периоде 24 часа)

Вт/м2 · °С

0,37

0,42

11. Диапазон рабочих температур

°С

минус 50 ÷ плюс 75

12. Коэффициент паропроницаемости

мг/(м · ч · Па)

0,018

0,015

2.4. Согласно сертификатам пожарной безопасности плиты имеют следующие характеристики пожарной опасности:

Плиты марки 35

- группа горючести Г1 по ГОСТ 30244;

- группа воспламеняемости В2 по ГОСТ 30244;

- группа дымообразующей способности Д3 по ГОСТ 12.1.044;

- группа распространения пламени РП1 по ГОСТ 30444.

Плиты марки 45

- группа горючести Г4 по ГОСТ 30244;

- группа воспламеняемости В3 по ГОСТ 30244;

- группа дымообразующей способности Д3 по ГОСТ 12.1.044;

- группа распространения пламени РП4 по ГОСТ 30444.

Покрытия и стены настоящего выпуска с использованием плит ПЕНОПЛЭКС марки 35 с защитным слоем из штукатурки при размещении теплоизоляции с наружной стороны могут применяться в зданиях II и III степеней огнестойкости классов пожарной опасности С1 по СНиП 21-01.

Покрытие по железобетонным плитам толщиной по полю не менее 50 мм и стены с защитным слоем из кирпича шириной 120 мм могут применяться в зданиях I - III степеней огнестойкости классов пожарной опасности С0 по СНиП 21-01.

3. НОРМЫ ТЕПЛОЗАЩИТЫ И ДАННЫЕ ПО ТОЛЩИНЕ ТЕПЛОИЗОЛЯЦИИ

3.1. Минимальное допустимое сопротивление теплопередаче стен и покрытий зданий различного назначения и разных климатических условий регламентировано СНиП 23-02-2003 «Тепловая защита зданий».

Сопротивление теплопередаче стен подвалов принимается с учетом расчетной температуры воздуха подвала как для наружных стен.

Показатель теплоусвоения полов общественных и производственных зданий не должен превышать значений, приведенных в СНиП 23-02-2003. В противном случае предусматривается устройство слоя дополнительной теплоизоляции из плит

3.2. По назначению рассматриваемые в работе здания образуют три группы:

1. Жилые, лечебно-профилактические и детские учреждения, школы, интернаты;

2. Общественные, кроме указанных выше, административные и бытовые, за исключением помещений с влажным режимом;

3. Производственные с сухим и нормальным режимами.

3.3. При новом строительстве необходимая толщина слоя теплоизоляции из плит экструзионных пенополистирольных определялась с учетом следующих условий.

Стены имеют несущую часть из полнотелого керамического кирпича или камней толщиной 380 мм и наружную защитно-декоративную стенку из штукатурки толщиной 25 - 30 мм или из кирпича толщиной 120 мм. В зданиях 1 и 2 группы стена с внутренней стороны имеет отделочный штукатурный слой толщиной 20 мм. Коэффициент теплотехнической однородности 0,95, без учета откосов проемов и других теплопроводных включений. Возможен вариант наружного защитно-декоративного слоя из лицевого кирпича толщиной 120 мм.

Стены подвала имеют несущую часть, выполненную из кирпича или камней толщиной 510 мм или из бетонных блоков толщиной 500 мм с отделочным штукатурным слоем толщиной 20 мм со стороны помещения.

Покрытия - совмещенные из сборных железобетонных ребристых плит по серии 1.465.1-21 или многопустотных железобетонных плит толщиной 220 мм по ГОСТ 9561-91 или монолитного железобетона и кровлей по керамзитобетонной стяжке в 30 мм.

3.4. При реконструкции толщина слоя дополнительной теплоизоляции определялась с учетом следующих условий:

Стены выполнены из полнотелого керамического кирпича толщиной в зависимости от назначения здания и района строительства - 380, 510, 640 или 770 мм со штукатуркой 20 мм для зданий 1 и 2 группы и без штукатурки - для зданий 3 группы.

Защитно-декоративный слой выполнен, как правило, из штукатурки толщиной 25 - 30 мм, армированной стальной цельнопаянной сеткой. А на высоту не менее 2,5 м от планировки должен выполняться из кирпича толщиной 120 мм, плиточного материала или из штукатурки с армированием двойной стальной сеткой.

При утеплении стен зданий 1 и 2 группы со стороны помещения в качестве отделочного слоя предусмотрены гипсокартонные или гипсоволокнистые листы, а в зданиях 3 группы штукатурка толщиной 20 мм.

При утеплении стен подвала со стороны помещения отделочный слой предусмотрен из штукатурки толщиной 20 мм.

Существующие покрытия имеют сопротивление теплопередаче, равное его значению, определенному по формуле 1 главы СНиП II-3-79** для tв = 18 °C и φв = 55 %. Дополнительная теплоизоляция предусматривается по существующему покрытию с учетом кровли.

3.5. При стенах подвала из легкого или монолитного железобетона определяется сопротивление теплопередаче стены при этих материалах и соответственно корректируется необходимая толщина теплоизоляции. Например, для третьей группы зданий в г. Москве при стене из керамзитобетона γ = 1200 кг/м3 (λб = 0,525 Вт/(м · °С)) толщиной 300 мм с существующим сопротивлением теплопередаче.

Rсущ = 1/8,7 + 0,3/0,52 + 1/23 = 0,74 м2 · °С.

Толщина дополнительной теплоизоляции составит:

δ = (Rтр - Rсущ)×λ; где по табл. 2б Rтр = 1,92 м2 · °С/Вт;

δ = (1,92 - 0,74)×0,031 = 0,037 м = 3,7 см.

3.6. Теплоизоляция стен подвала рассчитывается только для «теплых» подвалов, в которых предусмотрена нижняя разводка труб систем отопления, горячего водоснабжения, а также труб систем водоснабжения и канализации.

При необходимости влажностный режим стены подвала должен быть проверен в соответствии с указаниями СНиП 23-02-2003 г.; зона возможной конденсации влаги при этом совпадает с наружной поверхностью теплоизоляции.

3.7. Требуемое сопротивление теплопередаче стен подвала над уровнем земли принимается равным сопротивлению теплопередаче наружных стен здания, которое находится по табл. 4 СНиП 23-02-2003 в зависимости от значения градусо-суток отопительного периода.

3.8. Градусо-сутки отопительного периода вычисляются по формуле:

ГСОП = (tв - tот.п.) · Zот.п.;

где tв - расчетная температура внутреннего воздуха в помещении 1-го этажа, °С;

tот.п., Zот.п. - средняя температура, °С, и продолжительность, сут., периода со средней суточной температурой воздуха, ниже или равной 8 °С по СНиП 23-01-99.

3.9. Требуемая толщина теплоизоляции стены подвала, расположенной выше уровня земли, принимается равной толщине теплоизоляции наружной стены и вычисляется по формуле:

где Rоприв - приведенное сопротивление теплопередаче наружной стены, принятое в зависимости от значения ГСОП, м2 · °С/Вт;

δ - толщина несущей части стены, м;

λ - коэффициент теплопроводности материала несущей части стены, Вт/(м · °С).

3.10. Приведенное сопротивление теплопередаче, м2 · °С/Вт, стены подвала, расположенной ниже уровня земли, определяется по формуле:

где δут - толщина теплоизоляции, м;

λут - коэффициент теплопроводности материала теплоизоляции, Вт/(м · °С).

3.11. Требуемая толщина теплоизоляции стены подвала, расположенной ниже уровня земли, находится из условия Rо = Rоприв и вычисляется по формуле:

3.12. Необходимая толщина слоя теплоизоляции из плит пенополистирола для стен и покрытий, перечисленных выше трех групп зданий, для всех областных и республиканских центров РФ приведена в таблицах 2 и , в стенах подвала в таблице . В ограждающих конструкциях мансард толщину теплоизоляции следует принимать по таблице .

3.13. Требуемая толщина теплоизоляции из плит ПЕНОПЛЭКС в полах холодильников, установленная с учетом требований СНиП 2.11.02-87 приведена в таблицах , и .

3.14. Требуемая толщина теплоизоляции в полах по необогреваемому грунту принимается по расчету в соответствии с указаниями СНиП 23-02-2003. При этом пол должен удовлетворять требованиям по показателю теплоусвоения.

Таблица 2

№ п/п

Город РФ

Условия эксплуатации

Градусо-сутки

Тип помещения

СТЕНЫ

Новое строительство

Реконструкция

Rотр, м2 · °С/Вт

Толщина теплоизоляции, мм

Rосущ,

м2 · °С/Вт

Толщина дополнительной теплоизоляции, мм

1

2

3

4

5

6

7

8

9

1

Архангельск

Б

6170

1

3,56

100

0,97

80

 

 

 

5670

2

2,90

70

0,78

70

 

 

 

3

2,13

40

0,69

40

2

Астрахань

А

3540

1

2,64

60

0,82

50

 

 

 

3200

2

2,08

40

0,66

40

 

 

 

3

1,64

30

0,57

30

3

Анадырь

Б

9500

1

4,72

130

1,13

110

 

 

 

8900

2

3,87

100

0,93

100

 

 

 

3

2,76

70

0,81

60

4

Барнаул

А

6120

1

3,54

90

1,12

70

 

 

 

5680

2

2,90

70

0,91

60

 

 

 

3

2,13

40

0,8

40

5

Белгород

А

4180

1

2,86

70

0,82

60

 

 

 

3800

2

2,32

50

0,66

50

 

 

 

3

1,76

40

0,57

40

6

Благовещенск

Б

6670

1

3,74

100

1,02

90

 

 

 

6240

2

3,07

80

0,83

70

 

 

 

3

2,25

50

0,73

50

7

Брянск

Б

4570

1

3,00

80

0,87

70

 

 

 

4160

2

2,45

60

0,7

60

 

 

 

3

1,83

40

0,62

40

8

Волгоград

А

3950

1

2,78

70

0,85

60

 

 

 

3600

2

2,24

40

0,69

40

 

 

 

3

1,72

30

0,6

40

9

Вологда

Б

5570

1

3,35

90

0,97

80

 

 

 

5100

2

2,73

60

0,78

60

 

 

 

3

2,02

40

0,69

40

10

Воронеж

А

4530

1

3,0

70

0,87

70

 

 

 

4140

2

2,44

50

0,7

50

 

 

 

3

1,83

40

0,62

40

11

Владимир

Б

5000

1

3,3

80

0,91

80

 

 

 

4580

2

2,57

60

0,74

60

 

 

 

3

1,91

40

0,64

40

12

Владивосток

Б

4680

1

3,04

80

0,83

70

 

 

 

4300

2

2,49

60

0,67

60

 

 

 

3

1,86

40

0,59

40

13

Владикавказ

А

3410

1

2,59

60

0,72

60

 

 

 

3060

2

2,02

40

0,58

40

 

 

 

3

1,61

30

0,50

40

14

Грозный

А

3060

1

2,47

50

0,72

50

 

 

 

2740

2

1,9

40

0,58

40

 

 

 

3

1,55

30

0,5

30

15

Екатеринбург

А

5980

1

3,49

90

1,04

70

 

 

 

5520

2

2,85

70

0,85

60

 

 

 

3

2,10

40

0,74

40

16

Иваново

Б

5230

1

3,23

80

0,93

80

 

 

 

4800

2

2,64

60

0,75

60

 

 

 

3

1,96

40

0,66

40

17

Игарка

Б

9660

1

4,78

130

1,28

110

 

 

 

9090

2

3,93

100

1,06

90

 

 

 

3

2,82

70

0,92

60

18

Иркутск

А

6480

1

3,79

90

1,06

80

 

 

 

6360

2

3,12

70

0,86

70

 

 

 

3

2,27

50

0,76

40

19

Ижевск

Б

5680

1

3,39

90

1,08

80

 

 

 

5240

2

2,77

70

0,88

60

 

 

 

3

20,5

40

0,8

40

20

Йошкар-Ола

Б

5520

1

3,33

80

1,02

80

 

 

 

5080

2

2,72

60

0,83

60

 

 

 

3

2,02

40

0,73

40

21

Казань

Б

5420

1

3,30

80

0,98

80

 

 

 

4990

2

2,70

60

0,8

60

 

 

 

3

2,0

40

0,7

40

22

Калининград

Б

3650

1

2,68

60

0,72

60

 

 

 

3260

2

2,10

40

0,58

50

 

 

 

3

1,65

30

0,5

40

23

Калуга

Б

4810

1

3,08

80

0,89

70

 

 

 

4400

2

2,52

60

0,72

60

 

 

 

3

1,88

40

0,63

40

24

Кемерово

А

6540

1

3,69

90

1,12

80

 

 

 

6080

2

3,02

70

0,91

70

 

 

 

3

2,21

40

0,8

40

25

Вятка

Б

5870

1

3,45

90

1,0

80

 

 

 

5400

2

2,82

70

0,82

60

 

 

 

3

2,08

40

0,71

40

26

Кострома

Б

5300

1

3,25

80

0,97

70

 

 

 

4860

2

2,66

60

0,78

60

 

 

 

3

1,97

40

0,69

40

27

Краснодар

А

2680

1

2,34

50

0,74

50

 

 

 

2380

2

1,75

30

0,59

40

 

 

 

3

1,48

20

0,52

30

28

Красноярск

А

6340

1

3,62

90

1,13

70

 

 

 

5870

2

2,96

70

0,93

60

 

 

 

3

2,17

40

0,81

40

29

Курган

А

5980

1

3,49

80

1,08

70

 

 

 

5550

2

2,86

70

0,88

60

 

 

 

3

2,11

40

0,77

40

30

Курск

Б

4400

1

2,95

80

0,87

60

 

 

 

4040

2

2,41

60

0,7

60

 

 

 

3

1,80

40

0,62

40

31

Кызыл

А

7880

1

4,16

90

1,26

80

 

 

 

7430

2

3,43

70

1,06

60

 

 

 

3

2,49

40

0,64

50

32

Липецк

А

4730

1

3,06

70

0,89

70

 

 

 

4320

2

2,50

50

0,72

50

 

 

 

3

1,86

40

0,63

40

33

Магадан

Б

7800

1

4,13

110

0,93

100

 

 

 

7230

2

3,37

90

0,91

80

 

 

 

3

2,45

60

0,8

50

34

Махачкала

А

2560

1

2,30

40

0,64

50

 

 

 

2260

2

1,7

30

0,51

40

 

 

 

3

1,45

20

0,45

30

35

Москва

Б

4940

1

3,13

80

0,87

70

 

 

 

4520

2

2,55

60

0,73

60

 

 

 

3

1,9

40

0,61

40

36

Мурманск

Б

6380

1

3,63

100

0,89

90

 

 

 

5830

2

2,95

80

0,72

70

 

 

 

3

2,17

50

0,63

50

37

Нальчик

А

3260

1

2,54

50

0,72

50

 

 

 

2920

2

1,97

40

0,58

40

 

 

 

3

1,58

30

0,5

30

38

Нижний Новгород

Б

5180

1

3,21

80

0,97

70

 

 

 

4750

2

2,63

60

0,78

60

 

 

 

3

1,95

40

0,67

40

39

Новгород

Б

4930

1

3,13

80

0,89

70

 

 

 

4490

2

2,55

60

0,72

60

 

 

 

3

1,9

40

0,63

40

40

Новосибирск

А

6600

1

3,71

90

1,12

80

 

 

 

6140

2

3,04

70

0,91

70

 

 

 

3

2,23

40

0,8

40

41

Омск

А

6280

1

3,60

90

1,08

70

 

 

 

5840

2

2,85

70

0,88

60

 

 

 

3

2,17

40

0,77

40

42

Оренбург

А

5310

1

3,26

70

0,97

70

 

 

 

4900

2

2,67

60

0,78

60

 

 

 

3

1,98

40

0,69

40

43

Орел

Б

4650

1

3,03

80

0,87

70

 

 

 

4250

2

2,48

60

0,7

60

 

 

 

3

1,85

40

0,62

40

44

Пенза

А

5070

1

3,17

70

0,94

70

 

 

 

4660

2

2,60

60

0,75

60

 

 

 

3

1,93

40

0,66

40

45

Пермь

Б

5930

1

3,48

90

1,05

80

 

 

 

5470

2

2,84

70

0,84

60

 

 

 

3

2,09

40

0,75

40

46

Петрозаводск

Б

5540

1

3,34

80

0,94

80

 

 

 

5060

2

2,85

70

0,75

70

 

 

 

3

2,10

40

0,66

40

47

Петропавловск-Камчатский

Б

4760

1

3,07

80

0,76

80

 

 

 

4250

2

2,48

60

0,61

60

 

 

 

3

1,85

40

0,53

40

48

Псков

Б

4580

1

3,0

80

0,87

70

 

 

 

4160

2

2,45

60

0,7

60

 

 

 

3

1,83

40

0,62

40

49

Ростов-на-Дону

А

3520

1

2,63

50

0,83

40

 

 

 

3180

2

2,07

40

0,64

40

 

 

 

3

1,64

30

0,55

30

50

Рязань

Б

4890

1

3,11

80

0,89

70

 

 

 

4470

2

2,54

60

0,72

60

 

 

 

3

1,90

40

0,64

40

51

Самара

Б

5110

1

3,19

80

0,95

70

 

 

 

4710

2

2,61

60

0,77

60

 

 

 

3

1,94

40

0,68

40

52

Санкт-Петербург

Б

4800

1

3,08

80

0,87

70

 

 

 

4360

2

2,51

60

0,7

60

 

 

 

3

1,87

40

0,62

40

53

Саранск

А

5120

1

3,19

70

0,95

70

 

 

 

4700

2

2,61

60

0,77

60

 

 

 

3

1,94

40

0,68

40

54

Саратов

А

4760

1

3,07

70

0,89

70

 

 

 

4370

2

2,51

50

0,72

50

 

 

 

3

1,87

40

0,64

40

55

Салехард

Б

9170

1

4,61

130

1,17

110

 

 

 

8590

2

3,78

100

0,96

90

 

 

 

3

2,72

60

0,85

60

56

Смоленск

Б

4820

1

3,09

80

0,87

70

 

 

 

4400

2

2,52

60

0,7

60

 

 

 

3

1,88

40

0,62

40

57

Ставрополь

А

3210

1

2,52

50

0,74

50

 

 

 

2880

2

1,95

40

0,59

40

 

 

 

3

1,58

30

0,52

30

58

Сыктывкар

Б

6320

1

3,61

100

1,06

80

 

 

 

5830

2

2,95

80

0,86

60

 

 

 

3

2,17

40

0,76

40

59

Тамбов

А

4760

1

3,07

70

0,91

70

 

 

 

4360

2

2,51

50

0,73

50

 

 

 

3

1,87

40

0,66

40

60

Тверь

Б

5010

1

3,15

80

0,93

70

 

 

 

4580

2

2,57

60

0,75

60

 

 

 

3

1,92

40

0,66

40

61

Томск

Б

6700

1

3,75

100

1,13

80

 

 

 

6230

2

3,07

80

0,93

70

 

 

 

3

2,25

50

0,82

40

62

Тула

Б

4760

1

3,07

80

0,89

70

 

 

 

4350

2

2,50

60

0,72

60

 

 

 

3

1,87

40

0,64

40

63

Тюмень

А

6120

1

3,54

90

1,08

70

 

 

 

5670

2

2,90

70

0,88

60

 

 

 

3

2,13

40

0,78

40

64

Ульяновск

А

5380

1

3,29

70

0,97

70

 

 

 

4960

2

2,69

60

0,78

60

 

 

 

3

1,99

40

0,69

40

65

Улан-Удэ

А

7200

1

3,92

90

1,08

90

 

 

 

6730

2

3,22

70

0,88

70

 

 

 

3

2,35

50

0,78

40

66

Уфа

А

5520

1

3,33

80

1,04

50

 

 

 

5090

2

2,73

60

0,84

60

 

 

 

3

2,02

40

0,75

40

67

Хабаровск

Б

6180

1

3,56

100

0,97

80

 

 

 

5760

2

2,93

70

0,78

70

 

 

 

3

2,15

40

0,68

40

68

Чебоксары

Б

5400

1

3,29

80

0,98

80

 

 

 

4970

2

2,70

60

0,8

60

 

 

 

3

2,00

40

0,71

40

69

Челябинск

А

5780

1

3,43

90

1,02

70

 

 

 

5340

2

2,80

70

0,83

60

 

 

 

3

2,07

40

0,73

40

70

Чита

А

7600

1

4,06

100

1,1

90

 

 

 

7120

2

3,34

80

0,89

70

 

 

 

3

2,42

50

0,79

50

71

Элиста

А

3670

1

2,68

60

0,82

60

 

 

 

3320

2

2,13

40

0,66

40

 

 

 

3

1,66

30

0,58

30

72

Южно-Сахалинск

Б

5590

1

3,36

90

0,83

80

 

 

 

5130

2

2,74

60

0,67

60

 

 

 

3

2,03

40

0,59

40

73

Якутск

А

10400

1

5,04

130

1,42

110

 

 

 

9900

2

4,17

100

1,17

90

 

 

 

3

2,98

70

1,03

60

74

Ярославль

Б

5300

1

3,26

80

0,97

70

 

 

 

4860

2

2,66

60

0,78

60

 

 

 

3

1,97

40

0,69

40

Таблица 2а

№ п/п

Город РФ

Условия эксплуатации

Градусо-сутки

Тип помещения

ПОКРЫТИЯ

Новое строительство

Реконструкция

Rотр, м2 · °С/Вт

Толщина теплоизоляции, мм

Rосущ, м2 · °С/Вт

Толщина дополнительной теплоизоляции, мм

1

2

3

4

5

6

7

8

9

1

Архангельск

Б

6170

1

5,29

160

1,48

120

 

 

 

5670

2

3,86

110

1,03

90

 

 

 

3

2,91

80

0,78

70

2

Астрахань

А

3540

1

3,97

110

1,25

80

 

 

 

3200

2

2,88

80

0,86

60

 

 

 

3

2,30

60

0,66

50

3

Анадырь

Б

9500

1

6,95

200

1,74

160

 

 

 

8900

2

5,16

150

1,22

120

 

 

 

3

3,72

110

0,93

90

4

Барнаул

А

6120

1

5,26

150

1,71

110

 

 

 

5680

2

3,87

110

1,20

80

 

 

 

3

2,92

80

0,91

60

5

Белгород

А

4180

1

4,29

120

1,25

90

 

 

 

3800

2

3,12

80

0,86

70

 

 

 

3

2,45

70

0,66

50

6

Благовещенск

Б

6670

1

5,54

160

1,57

120

 

 

 

6240

2

4,10

120

1,09

90

 

 

 

3

3,06

90

0,83

70

7

Брянск

Б

4570

1

4,49

130

1,33

100

 

 

 

4160

2

3,26

90

0,92

70

 

 

 

3

2,54

70

0,70

60

8

Волгоград

А

3950

1

4,17

120

1,31

90

 

 

 

3600

2

3,04

80

0,90

70

 

 

 

3

2,40

60

0,69

50

9

Вологда

Б

5570

I

4,98

140

1,48

110

 

 

 

5100

2

3,64

110

1,03

80

 

 

 

3

2,77

70

0,78

60

10

Воронеж

А

4530

1

4,47

130

1,33

120

 

 

 

4140

2

3,26

90

0,92

80

 

 

 

3

2,53

70

0,70

60

11

Владимир

Б

5000

1

4,70

140

1,39

110

 

 

 

4580

2

3,43

100

0,97

70

 

 

 

3

2,64

70

0,74

60

12

Владивосток

Б

4680

1

4,54

130

1,28

100

 

 

 

4300

2

3,32

90

0,88

70

 

 

 

3

2,57

70

0,67

60

13

Владикавказ

А

3410

1

3,91

110

1,10

90

 

 

 

3060

2

2,82

80

0,76

60

 

 

 

3

2,26

60

0,58

50

14

Грозный

А

3060

1

3,73

110

1,10

80

 

 

 

2740

2

2,70

80

0,76

60

 

 

 

3

2,18

60

0,58

50

15

Екатеринбург

А

5980

1

5,19

150

1,60

110

 

 

 

5520

2

3,81

110

1,11

80

 

 

 

3

2,88

80

0,85

60

16

Иваново

Б

5230

1

4,82

140

1,42

110

 

 

 

4800

2

3,52

100

0,99

80

 

 

 

3

2,70

70

0,75

60

17

Игарка

Б

9660

1

7,03

200

1,97

160

 

 

 

9090

2

5,24

160

1,39

120

 

 

 

3

3,77

110

1,06

90

18

Иркутск

А

6480

1

5,62

170

1,62

120

 

 

 

6360

2

4,16

120

1,13

90

 

 

 

3

3,10

80

0,86

70

19

Ижевск

Б

5680

1

5,04

150

1,65

150

 

 

 

5240

2

3,70

110

1,16

80

 

 

 

3

2,81

70

0,88

60

20

Йошкар-Ола

Б

5520

1

4,96

140

1,57

110

 

 

 

5080

2

3,63

100

1,09

80

 

 

 

3

2,77

70

0,83

70

21

Казань

Б

5420

1

4,91

140

1,51

140

 

 

 

4990

2

3,60

100

1,05

100

 

 

 

3

2,75

70

0,80

60

22

Калининград

Б

3650

1

4,03

110

1,10

90

 

 

 

3260

2

2,90

80

0,76

70

 

 

 

3

2,31

60

0,58

60

23

Калуга

Б

4810

1

4,61

130

1,36

130

 

 

 

4400

2

3,36

90

0,95

70

 

 

 

3

2,60

70

0,72

70

24

Кемерово

А

6540

1

5,48

160

1,71

110

 

 

 

6080

2

4,03

110

1,20

90

 

 

 

3

3,02

80

0,91

70

25

Вятка

Б

5870

1

5,13

150

1,54

110

 

 

 

5400

2

3,76

110

1,07

80

 

 

 

3

2,85

80

0,82

60

26

Кострома

Б

5300

1

4,85

140

1,42

110

 

 

 

4860

2

3,53

100

1,03

80

 

 

 

3

2,71

70

0,78

60

27

Краснодар

А

2680

1

3,54

100

1,13

80

 

 

 

2380

2

2,56

70

0,78

50

 

 

 

3

2,10

50

0,59

50

28

Красноярск

А

6340

1

5,37

160

1,74

110

 

 

 

5870

2

3,95

110

1,22

80

 

 

 

3

2,97

80

0,93

60

29

Курган

А

5980

1

5,20

150

1,65

110

 

 

 

5550

2

3,82

110

1,16

80

 

 

 

3

2,88

80

0,88

60

30

Курск

Б

4400

1

4,42

120

1,33

90

 

 

 

4040

2

3,21

90

0,92

70

 

 

 

3

2,51

70

0,70

60

31

Кызыл

А

7880

1

6,14

180

1,97

130

 

 

 

7430

2

4,57

130

1,39

100

 

 

 

3

3,35

90

1,06

70

32

Липецк

А

4730

1

4,57

130

1,36

100

 

 

 

4320

2

3,33

90

0,95

80

 

 

 

3

2,58

70

0,72

60

33

Магадан

Б

7800

1

6,10

180

1,71

140

 

 

 

7230

2

4,49

130

1,20

100

 

 

 

3

3,48

90

0,91

80

34

Махачкала

А

2560

1

3,33

90

0,99

80

 

 

 

2260

2

2,50

70

0,67

60

 

 

 

3

2,06

50

0,51

50

35

Москва

Б

4940

1

4,67

140

1,33

110

 

 

 

4520

2

3,41

90

0,92

70

 

 

 

3

2,63

70

0,70

60

36

Мурманск

Б

6380

1

5,39

160

1,36

140

 

 

 

5830

2

3,93

110

0,95

90

 

 

 

3

2,96

80

0,72

70

37

Нальчик

А

3260

1

3,83

110

1,10

80

 

 

 

2920

2

2,78

80

0,76

60

 

 

 

3

2,24

60

0,58

50

38

Нижний Новгород

Б

5180

1

4,80

140

1,45

110

 

 

 

4750

2

3,50

100

1,01

70

 

 

 

3

2,69

70

0,77

60

39

Новгород

Б

4930

1

4,67

140

1,36

110

 

 

 

4490

2

3,40

90

0,95

70

 

 

 

3

2,63

70

0,72

60

40

Новосибирск

А

6600

1

5,50

160

1,71

120

 

 

 

6140

2

4,06

110

1,20

90

 

 

 

3

3,04

80

0,91

70

41

Омск

А

6280

1

5,39

160

1,65

110

 

 

 

5840

2

3,94

110

1,16

80

 

 

 

3

2,96

80

0,88

70

42

Оренбург

А

5310

1

4,85

140

1,48

110

 

 

 

4900

2

3,56

100

1,03

80

 

 

 

3

2,73

80

0,78

60

43

Орел

Б

4650

1

4,53

130

1,33

100

 

 

 

4250

2

3,30

100

0,92

70

 

 

 

3

2,56

70

0,70

60

44

Пенза

А

5070

1

4,74

140

1,42

110

 

 

 

4660

2

3,46

100

0,99

80

 

 

 

3

2,66

70

0,75

60

45

Пермь

Б

5930

1

5,15

150

1,60

110

 

 

 

5470

2

3,81

110

1,11

90

 

 

 

3

2,88

80

0,85

60

46

Петрозаводск

Б

5540

1

4,97

140

1,42

110

 

 

 

5060

2

3,62

100

0,99

80

 

 

 

3

2,53

70

0,75

60

47

Петропавловск-Камчатский

Б

4760

1

4,58

130

1,16

110

 

 

 

4250

2

3,30

90

0,80

80

 

 

 

3

2,56

70

0,61

60

48

Псков

Б

4580

1

4,49

130

1,33

100

 

 

 

4160

2

3,26

90

0,92

70

 

 

 

3

2,54

70

0,70

60

49

Ростов-на-Дону

А

3520

1

3,96

110

1,22

80

 

 

 

3180

2

2,87

80

0,84

60

 

 

 

3

2,29

60

0,64

50

50

Рязань

Б

4890

1

4,65

140

1,36

100

 

 

 

4470

2

3,39

90

0,95

70

 

 

 

3

2,62

70

0,72

60

51

Самара

Б

5110

1

4,76

140

1,45

110

 

 

 

4710

2

3,78

110

1,01

100

 

 

 

3

2,68

100

0,77

60

52

Санкт-Петербург

Б

4800

1

4,60

130

1,33

100

 

 

 

4360

2

3,34

90

0,92

70

 

 

 

3

2,59

70

0,70

60

53

Саранск

А

5120

1

4,76

140

1,45

110

 

 

 

4700

2

3,48

100

1,01

80

 

 

 

3

2,62

80

0,77

60

54

Саратов

А

4760

1

4,58

130

1,36

110

 

 

 

4370

2

3,34

90

0,95

80

 

 

 

3

2,59

70

0,72

60

55

Салехард

Б

9170

1

6,78

200

1,78

160

 

 

 

8590

2

5,04

150

1,26

120

 

 

 

3

3,65

110

0,96

80

56

Смоленск

Б

4820

1

4,61

130

1,33

100

 

 

 

4400

2

3,36

90

0,92

70

 

 

 

3

2,60

70

0,70

60

57

Ставрополь

А

3210

1

3,80

110

1,13

80

 

 

 

2880

2

2,75

80

0,78

60

 

 

 

3

2,22

60

0,59

50

58

Сыктывкар

Б

6320

1

5,37

160

1,62

120

 

 

 

5830

2

3,95

110

1,13

90

 

 

 

3

2,97

80

0,86

70

59

Тамбов

А

4760

1

4,58

130

1,39

100

 

 

 

4360

2

3,35

90

0,97

80

 

 

 

3

2,59

70

0,74

60

60

Тверь

Б

5010

1

4,70

140

1,42

110

 

 

 

4580

2

3,43

90

0,99

70

 

 

 

3

2,64

70

0,75

60

61

Томск

Б

6700

1

5,55

180

1,74

120

 

 

 

6230

2

4,09

120

1,22

90

 

 

 

3

3,09

90

0,93

70

62

Тула

Б

4760

1

4,58

130

1,36

100

 

 

 

4350

2

3,33

90

0,95

70

 

 

 

3

2,58

70

0,72

60

63

Тюмень

А

6120

1

5,26

150

1,65

110

 

 

 

5670

2

3,87

110

1,16

80

 

 

 

3

2,92

80

0,88

60

64

Ульяновск

А

5380

1

4,90

140

1,48

110

 

 

 

4960

2

3,58

100

1,03

80

 

 

 

3

2,69

80

0,78

60

65

Улан-Удэ

А

7200

1

5,80

170

1,65

130

 

 

 

6730

2

4,29

120

1,16

100

 

 

 

3

3,18

90

0,88

70

66

Уфа

А

5520

1

4,96

140

1,60

110

 

 

 

5090

2

3,64

100

1,11

80

 

 

 

3

2,78

80

0,95

60

67

Хабаровск

Б

6180

1

5,30

160

1,48

120

 

 

 

5760

2

3,90

110

1,03

90

 

 

 

3

2,94

80

0,78

70

68

Чебоксары

Б

5400

1

4,90

140

1,51

110

 

 

 

4970

2

3,60

100

1,05

80

 

 

 

3

2,75

70

0,80

60

69

Челябинск

А

5780

1

5,10

140

1,57

110

 

 

 

5340

2

3,74

110

1,09

80

 

 

 

3

2,84

80

0,83

60

70

Чита

А

7600

1

6,0

170

1,68

140

 

 

 

7120

2

4,45

130

1,18

100

 

 

 

3

3,28

90

0,90

80

71

Элиста

А

3670

1

4,04

110

1,25

80

 

 

 

3320

2

2,93

80

0,86

60

 

 

 

3

2,33

60

0,66

50

72

Южно-Сахалинск

Б

5590

1

4,99

140

1,28

120

 

 

 

5130

2

3,65

110

0,88

90

 

 

 

3

2,78

70

0,67

70

73

Якутск

А

10400

1

7,40

220

2,18

160

 

 

 

9900

2

5,56

160

1,53

130

 

 

 

3

3,98

110

1,17

90

74

Ярославль

Б

5300

1

4,85

140

1,48

110

 

 

 

4860

2

3,54

100

1,03

80

 

 

 

3

2,72

70

0,76

60

Таблица 2б

№ п/п

Город РФ

Условия эксплуатации

Градусо-сутки

Тип помещения

СТЕНЫ ПОДВАЛА

Выше уровня земли

Ниже уровня земли

Rотр, м2 · ºС/Вт

Толщина теплоизоляции, мм

Толщина теплоизоляции, мм

1

2

3

4

5

6

7

8

1

Архангельск

Б

6170

1

3,56

90

70

 

 

 

5670

2

2,90

70

50

 

 

 

3

2,13

50

40

2

Астрахань

А

3540

1

2,64

60

70

 

 

 

3200

2

2,08

50

40

 

 

 

3

1,64

30

20

3

Анадырь

Б

9500

1

4,72

130

100

 

 

 

8900

2

3,87

100

80

 

 

 

3

2,76

70

50

4

Барнаул

А

6120

1

3,54

90

70

 

 

 

5680

2

2,90

70

50

 

 

 

3

2,13

50

40

5

Белгород

А

4180

1

2,86

70

50

 

 

 

3800

2

2,32

50

40

 

 

 

3

1,76

40

30

6

Благовещенск

Б

6670

1

3,74

100

80

 

 

 

6240

2

3,07

80

60

 

 

 

3

2,25

50

40

7

Брянск

Б

4570

1

3,00

70

50

 

 

 

4160

2

2,45

60

50

 

 

 

3

1,83

40

30

8

Волгоград

А

3950

1

2,78

70

50

 

 

 

3600

2

2,24

50

40

 

 

 

3

1,72

40

30

9

Вологда

Б

5570

1

3,35

90

70

 

 

 

5100

2

2,73

70.

50

 

 

 

3

2,02

50

40

10

Воронеж

А

4530

1

3,0

80

60

 

 

 

4140

2

2,44

60

50

 

 

 

3

1,83

40

30

11

Владимир

Б

5000

1

3,3

80

60

 

 

 

4580

2

2,57

60

50

 

 

 

3

1,91

40

30

12

Владивосток

Б

4680

1

3,04

70

50

 

 

 

4300

2

2,49

60

50

 

 

 

3

1,86

40

30

13

Владикавказ

А

3410

1

2,59

60

50

 

 

 

3060

2

2,02

40

30

 

 

 

3

1,61

30

20

14

Грозный

А

3060

1

2,47

60

50

 

 

 

2740

2

1,9

40

30

 

 

 

3

1,55

30

20

15

Екатеринбург

А

5980

1

3,49

90

70

 

 

 

5520

2

2,85

70

50

 

 

 

3

2,10

50

40

16

Иваново

Б

5230

1

3,23

80

60

 

 

 

4800

2

2,64

60

50

 

 

 

3

1,96

40

30

17

Игарка

Б

9660

1

4,78

130

100

 

 

 

9090

2

3,93

100

80

 

 

 

3

2,82

70

50

18

Иркутск

А

6480

1

3,79

100

80

 

 

 

6360

2

3,12

80

60

 

 

 

3

2,27

50

40

19

Ижевск

Б

5680

1

3,39

80

60

 

 

 

5240

2

2,77

70

50

 

 

 

3

20,5

40

30

20

Йошкар-Ола

Б

5520

1

3,33

80

60

 

 

 

5080

2

2,72

60

50

 

 

 

3

2,02

40

30

21

Казань

Б

5420

1

3,30

80

60

 

 

 

4990

2

2,70

60

50

 

 

 

3

2,0

40

30

23

Калуга

Б

4810

1

3,08

80

60

 

 

 

4400

2

2,52

60

50

 

 

 

3

1,88

40

30

24

Кемерово

А

6540

1

3,69

90

70

 

 

 

6080

2

3,02

70-

50

 

 

 

3

2,21

50

40

25

Вятка

Б

5870

1

3,45

90

70

 

 

 

5400

2

2,82

70

50

 

 

 

3

2,08

500

40

26

Кострома

Б

5300

1

3,25

80

60

 

 

 

4860

2

2,66

60

50

 

 

 

3

1,97

40

30

27

Краснодар

А

2680

1

2,34

50

40

 

 

 

2380

2

1,75

30

20

 

 

 

3

1,48

30

20

28

Красноярск

А

6340

1

3,62

90

70

 

 

 

5870

2

2,96

70

50

 

 

 

3

2,17

50

40

29

Курган

А

5980

1

3,49

90

70

 

 

 

5550

2

2,86

70

50

 

 

 

3

2,11

50

40

30

Курск

Б

4400

1

2,95

70

50

 

 

 

4040

2

2,41

60

50

 

 

 

3

1,80

40

30

31

Кызыл

А

7880

1

4,16

110

90

 

 

 

7430

2

3,43

90

70

 

 

 

3

2,49

60

50

32

Липецк

А

4730

1

3,06

80

60

 

 

 

4320

2

2,50

60

50

 

 

 

3

1,86

40

30

33

Магадан

Б

7800

1

4,13

110

90

 

 

 

7230

2

3,37

80

60

 

 

 

3

2,45

60

50

34

Махачкала

А

2560

1

2,30

50

40

 

 

 

2260

2

1,7

30

20

 

 

 

3

1,45

30

20

35

Москва

Б

4940

1

3,13

80

60

 

 

 

4520

2

2,55

60

50

 

 

 

3

1,9

40

30

36

Мурманск

Б

6380

1

3,63

90

70

 

 

 

5830

2

2,95

70

60

 

 

 

3

2,17

50

40

37

Нальчик

А

3260

1

2,54

60

50

 

 

 

2920

2

1,97

40

30

 

 

 

3

1,58

30

20

38

Нижний Новгород

Б

5180

1

3,21

80

60

 

 

 

4750

2

2,63

60

50

 

 

 

3

1,95

40

30

39

Новгород

Б

4930

1

3,13

80

60

 

 

 

4490

2

2,55

60

50

 

 

 

3

1,9

40

30

40

Новосибирск

А

6600

1

3,71

90

70

 

 

 

6140

2

3,04

70

60

 

 

 

3

2,23

50

40

41

Омск

А

6280

1

3,60

90

70

 

 

 

5840

2

2,85

70

60

 

 

 

3

2,17

50

40

42

Оренбург

А

5310

1

3,26

80

60

 

 

 

4900

2

2,67

60

50

 

 

 

3

1,98

40

30

43

Орел

Б

4650

1

3,03

70

50

 

 

 

4250

2

2,48

60

50

 

 

 

3

1,85

40

30

44

Пенза

А

5070

1

3,17

80

60

 

 

 

4660

2

2,60

60

50

 

 

 

3

1,93

40

30

45

Пермь

Б

5930

1

3,48

90

70

 

 

 

5470

2

2,84

70

50

 

 

 

3

2,09

50

40

46

Петрозаводск

Б

5540

1

3,34

80

60

 

 

 

5060

2

2,85

70

50

 

 

 

3

2,10

40

30

47

Петропавловск-Камчатский

Б

4760

1

3,07

70

50

 

 

 

4250

2

2,48

60

50

 

 

 

3

1,85

40

30

48

Псков

Б

4580

1

3,0

70

50

 

 

 

4160

2

2,45

60

50

 

 

 

3

1,83

40

30

49

Ростов-на-Дону

А

3520

1

2,63

60

50

 

 

 

3180

2

2,07

40

30

 

 

 

3

1,64

30

20

50

Рязань

Б

4890

1

3,11

80

60

 

 

 

4470

2

2,54

60

50

 

 

 

3

1,90

40

30

51

Самара

Б

5110

1

3,19

80

60

 

 

 

4710

2

2,61

60

50

 

 

 

3

1,94

40

30

52

Санкт-Петербург

Б

4800

1

3,08

70

50

 

 

 

4360

2

2,51

60

50

 

 

 

3

1,87

40

30

53

Саранск

А

5120

1

3,19

80

60

 

 

 

4700

2

2,61

60

50

 

 

 

3

1,94

40

30

54

Саратов

А

4760

1

3,07

70

50

 

 

 

4370

2

2,51

60

50

 

 

 

3

1,87

40

30

55

Салехард

Б

9170

1

4,61

120

100

 

 

 

8590

2

3,78

100

80

 

 

 

3

2,72

60

50

56

Смоленск

Б

4820

1

3,09

80

60

 

 

 

4400

2

2,52

60

50

 

 

 

3

1,88

40

30

57

Ставрополь

А

3210

1

2,52

60

50

 

 

 

2880

2

1,95

40

30

 

 

 

3

1,58

30

20

58

Сыктывкар

Б

6320

1

3,61

90

70

 

 

 

5830

2

2,95

70

50

 

 

 

3

2,17

50

40

59

Тамбов

А

4760

1

3,07

80

60

 

 

 

4360

2

2,51

60

50

 

 

 

3

1,87

40

30

60

Тверь

Б

5010

1

3,15

80

60

 

 

 

4580

2

2,57

60

50

 

 

 

3

1,92

40

30

61

Томск

Б

6700

1

3,75

100

80

 

 

 

6230

2

3,07

70

50

 

 

 

3

2,25

50

40

62

Тула

Б

4760

1

3,07

80

60

 

 

 

4350

2

2,50

60

50

 

 

 

3

1,87

40

30

63

Тюмень

А

6120

1

3,54

90

70

 

 

 

5670

2

2,90

70

50

 

 

 

3

2,13

50

40

64

Ульяновск

А

5380

1

3,29

80

60

 

 

 

4960

2

2,69

60

50

 

 

 

3

1,99

40

30

65

Улан-Удэ

А

7200

1

3,92

100

80

 

 

 

6730

2

3,22

80

60

 

 

 

3

2,35

50

40

66

Уфа

А

5520

1

3,33

80

60

 

 

 

5090

2

2,73

70.

50

 

 

 

3

2,02

40

30

67

Хабаровск

Б

6180

1

3,56

90

70

 

 

 

5760

2

2,93

70

50

 

 

 

3

2,15

50

40

68

Чебоксары

Б

5400

1

3,29

80

60

 

 

 

4970

2

2,70

60

50

 

 

 

3

2,00

40

30

69

Челябинск

А

5780

1

3,43

90

70

 

 

 

5340

2

2,80

70

50

 

 

 

3

2,07

50

40

70

Чита

А

7600

1

4,06

110

90

 

 

 

7120

2

3,34

80

60

 

 

 

3

2,42

60

50

71

Элиста

А

3670

1

2,68

60

50

 

 

 

3320

2

2,13

50

40

 

 

 

3

1,66

30

20

72

Южно-Сахалинск

Б

5590

1

3,36

80

60

 

 

 

5130

2

2,74

60

50

 

 

 

3

2,03

40

30

73

Якутск

А

10400

1

5,04

140

110

 

 

 

9900

2

4,17

110

90

 

 

 

3

2,98

70

50

74

Ярославль

Б

5300

1

3,26

80

60

 

 

 

4860

2

2,66

60

50

 

 

 

3

1,97

40

30

Таблица 2в

Температура воздуха в более теплом помещении, °С

Требуемая толщина теплоизоляции из экструзионного пенополистирола ПЕНОПЛЭКС, мм, внутренних стен, перегородок и междуэтажных перекрытий охлаждаемых помещений, при температуре воздуха в более холодном помещении, °С

Минус 30

Минус 20

Минус 10

Минус 5

0

5

12

Минус 30

60

-

-

-

-

-

-

Минус 20

70

60

-

-

-

-

-

Минус 10

110

90

60

-

-

-

-

Минус 5

120

110

70

60

-

-

-

0

140

120

90

70

60

-

-

5

140

120

110

90

70

60

-

10

160

140

120

110

90

70

60

20

180

160

140

120

90

70

70

Таблица 2г

Температура воздуха в охлажденных помещениях, °С

Требуемая толщина теплоизоляции из экструзионного пенополистирола «ПЕНОПЛЭКС», мм, полов на обогреваемых грунтах

Минус 1

90

Минус 10

110

Минус 20

160

Минус 30

190

Таблица 2д

Среднегодовая температура наружного воздуха в районе строительства, °С

Требуемая толщина теплоизоляции из экструзионного пенополистирола ПЕНОПЛЭКС, мм, перекрытий над проветриваемыми подпольями для различных районов СНИП 23-01-99, при температуре воздуха в более холодном помещении, °С

Минус 30

Минус 20

Минус 10

Минус 5

0 и не нормируется

3 и ниже

160

120

110

90

90

выше 3 и ниже 9

160

140

120

90

90

9 и выше

180

160

140

120

110

4. КОНСТРУКТИВНЫЕ РЕШЕНИЯ СТЕН

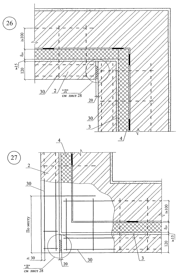
4.1. Стена при новом строительстве может быть несущей или самонесущей и представляет собой трехслойную конструкцию с несущим слоем из полнотелого керамического кирпича толщиной 380 мм, бетонных блоков или железобетона (со слоем внутренней штукатурки 20 мм для помещений 1 и 2 группы и без штукатурки - для третьей группы), слоем теплоизоляции из плит ПЕНОПЛЭКС и защитно-декоративным наружным слоем из кирпича толщиной 120 мм или известково-цементной штукатурки.

Для защитной стенки может применяться кирпич или камни керамические лицевые (ГОСТ 7484-78) или отборные стандартные (ГОСТ 530-95) предпочтительно полусухого прессования, а также силикатный кирпич (ГОСТ 379-95). При облицовке силикатным кирпичом цоколь, пояса, парапеты и карниз выполняют из керамического кирпича.

При новом строительстве защитная стенка из кирпича может выполняться на всю высоту здания. При этом она может быть самонесущей до высоты 6...7 м, а далее навесной с опиранием на пояса, выступающие из несущей стены через каждые 2 этажа (6...7 м) по высоте здания.

При реконструкции кирпичная защитная стенка обязательна в виде цоколя высотой не менее 2,5 м от планировочной отметки. По архитектурным соображениям она может быть выполнена самонесущей и большей высоты.

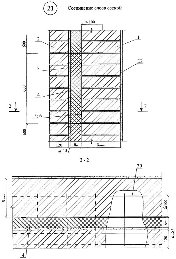
4.2. При защитной стенке из кирпича кладка ведется с обязательным заполнением раствором горизонтальных и вертикальных швов и расшивкой с фасадной стороны.

Рихтовочный зазор между теплоизоляцией и защитной стенкой, который может быть при неровной наружной плоскости стены до 15 мм, засыпается сухим песком ярусами высотой не более 600 мм.

Шаг температурных швов в кирпичной облицовке принимается по СНиП II-22-81* как для неотапливаемых зданий.

При защитно-декоративном слое из штукатурки необходимо, чтобы:

- штукатурка имела нулевой предел распространения огня и была выполнена по закрепленной к стене стальной сетке;

- толщина ее составляла 25...30 мм;

- в уровне перекрытий, но не реже чем через 4 м по вертикали следует предусматривать рассечки из негорючих материалов (обычно из минераловатных плит) на всю толщину слоя теплоизоляции и на толщину перекрытия, но не менее, чем 150 мм.

- в местах примыкания теплоизоляции к оконным и дверным проемам толщина штукатурки должна быть увеличена до 35...45 мм;

- штукатурка на высоту 2,5 м от планировки должна иметь защиту от механических повреждений.

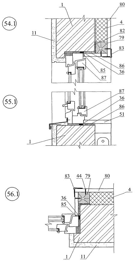
4.3. По контуру оконных и дверных проемов должен предусматриваться слой негорючей теплоизоляции шириной 100 - 120 мм из минераловатной плиты см. «Пособие по определению пределов огнестойкости конструкций, пределов распространения огня по конструкциям и групп возгораемости материалов (к СНиП II-2-80)», М, ЦНИИСК, 1985 г. табл. 10 п.п. 1, 2.30 и табл. 3.

4.4. При облицовке кирпичной кладкой в новом строительстве последняя армируется с несущей частью стены сварными арматурными сетками, располагаемыми с шагом по высоте 600 мм; площадь поперечных стержней (связей) должна быть не менее 0,4 см22 (глава СНиП II-22-81, п. 6.32).

Для армирования кирпичной кладки может быть также использована базальто-пластиковая арматура БПА-Гален (ТУ 57 1490-002-13101102-2002).

При реконструкции кирпичная облицовка связывается с существующей кладкой с помощью кронштейнов закрепленных на дюбелях. При этом рекомендуются дюбели типа HPS-I фирмы «Хилти» (табл. 3) или дюбели ДГ.

Таблица 3

Тип дюбелей

Фирма-изготовитель

Æ нар., мм

Глубина заделки, мм

Расчетное выдергивающее усилие, кгс

Комплект Д1 В3-1 Ш Ст. 5,5-L-l

Бийский завод стеклопластиков

ТУ 2296-001-20994511-00

8

45

30*

HPS-I

«Хилти»

т. (095) 792-52-52

6

8

40

50

25*

40*

ДГ 3,7×40

ДГ 4,5×40

ТУ 14-4-1231-83

3,7

4,5

35

40**

25***

* В бетоне В ≥ 15, кладке из полнотелого керамического кирпича. В кладке из дырчатого кирпича или легкого бетона расчетное усилие уменьшается на половину.

** В бетоне В ≥ 12,5.

*** В кладке из полнотелого кирпича.

4.5. При отделке фасадов штукатуркой теплоизоляционные плиты и сетку, армирующую штукатурный слой, крепят к несущему слою стены распорными дюбелями. Принятые типы дюбелей и условия их применения даны в табл. 3. Эскизы дюбельного комплекта Бийского завода стеклопластиков даны в Приложении 3.

4.6. Штукатурка выполняется из известково-цементного раствора, приготавливаемого на месте из извести, песка, цемента, воды и добавок, в том числе обязательно пластифицирующих, или из готовых растворных смесей, и армируется стальной сеткой.

4.7. В качестве вяжущего рекомендуется портландцемент или шлакопортландцемент по ГОСТ 10178-85* марок 300; 400 и известь строительная по ГОСТ 9179-77 в виде известкового теста (γ = 1400 кг/м3). Технические требования - по ГОСТ 28013-98 «Растворы строительные. Общие технические условия». Приготовление раствора в соответствии с указаниями Инструкции по приготовлению и применению строительных растворов, СН 290-74.

Рекомендуемые рецептуры штукатурных смесей приведены в табл. 4.

Таблица 4

Составляющие

Состав в %, для смесей

№ 1

№ 2

№ 3

1. Цемент

8,9

8,9

10

2. Известь

9

9

8

3. Заполнитель

82

82

81

4. Добавки

0,1

0,1

0,5

5. Пигмент

-

-

0,5

4.8. Штукатурка выполняется улучшенного качества или высококачественная с нанесением ее соответственно в 2 или 3 слоя. После грунтовки поверхности плит пластичным раствором слоем в 3...5 мм, он разравнивается в горизонтальном направлении зубчатым шпателем, образующем борозды глубиной 2...3 мм. После выдержки в течение 1...3 суток наносят нижний слой грунта толщиной 7...8 мм. После схватывания этого слоя (24...36 час) раскатывается армирующая сетка и крепится через штукатурку и теплоизоляцию к несущей части дюбелями Бийского завода при установке в среднем 8 дюбелей/м2 поверхности. Затем наносят второй слой грунта толщиной 7...8 мм с выравниванием его «под правило». При высококачественной штукатурке наносят третий, отделочный слой толщиной 2 - 5 мм в зависимости от вида отделки (см. ниже).

Из приведенных в табл. 4 смесей № 1 служит для приготовления грунтовки, № 2 - для грунта и № 3 - для отделочного слоя, окрашенного в массе (см. ниже).

4.9. При улучшенной штукатурке (под окраску) общая толщина штукатурного слоя доводится до 30 мм и поверхность ее выравнивается «под правило».

При высококачественной штукатурке и окраске фасадов второй слой грунта выравнивают по маякам и после его схватывания наносят отделочный слой - накрывку толщиной 1 - 2 мм из мелкозернистого раствора, который затирается гладилками или затирочно-шлифовальными машинами. При отделке цветным раствором толщина выполненного к этому моменту штукатурного слоя должна составлять около 25...27 мм.

4.10. После полного затвердевания штукатурки ее в соответствии с проектом прорезают на всю толщину горизонтальными и вертикальными деформационными швами шириной 6 мм с шагом не более 8 м. Крайний вертикальный шов должен располагаться не ближе 150 мм от угла фасада (наружного или входящего). Затем швы заделывают вулканизующейся мастикой.

4.11. Между штукатурным слоем и элементами заполнения проемов окон, дверей, ворот и др. предусматривается паз на всю толщину штукатурки, заполняемый вулканизующейся мастикой, в качестве которой рекомендуются силиконовые или тиоколовые составы - клей-герметик кремний-органический марок «Эластосил 11-06» (ТУ 6-02-775-76) и «Эластосил 137-181» (ТУ 6-02-1-362-84), выпускаемые Данковским химзаводом (Липецкая обл.), и мастика тиоколовая марки «АМ-0,5» (ТУ 84-246-95), выпускаемая Московским заводом строительных красок.

4.12. Армирование штукатурного слоя выполняется стальной цельнопаянной оцинкованной тканой сеткой по ГОСТ 2715-75 с размером ячейки 20 мм и диаметром проволоки 1 - 1,6 мм.

4.13. Парапеты, пояса, подоконники и т.п. должны иметь надежные сливы из оцинкованной стали, которые обеспечивают отвод атмосферной влаги и исключают возможность ее сбегания непосредственно по стене. Крепление костылей к парапету может выполняться к деревянным антисептированным брускам, а при парапете из полнотелого керамического кирпича или бетона непосредственно к кирпичной кладке и бетону с помощью дюбелей.

4.14. Все открытые поверхности стальных элементов, выходящих на фасад, и анкера, устанавливаемые в кладке, должны быть защищены от коррозии металлизацией слоем толщиной 120 мкм или лакокрасочными покрытиями (п. 2.40 - 2.45 СНиП 2.03.11-85).

4.15. Слой эффективной теплоизоляции следует располагать с наружной стороны стены. Устройство дополнительного утепления стен с расположением теплоизоляционного слоя со стороны помещения следует использовать при условии недопустимости изменения фасада здания.

4.16. Плиты ПЕНОПЛЭКС в стенах жилых и общественных зданий при расположении утеплителя со стороны помещения размещают между стойками деревянного или стального каркаса, располагаемых с шагом до 600 мм и крепят к стенам дюбелями, количество которых принимается из расчета два дюбеля на каждые 0,6 м2 плиты.

4.17. В зданиях производственного назначения крепление плит ПЕНОПЛЭКС к несущей стене также осуществляется дюбелями, схема размещения которых приведена на стр. 64.

4.18. В качестве отделочного слоя в стенах жилых и общественных зданий рекомендуется использовать облицовку из гипсокартонных (ГОСТ 6266-97) или гипсоволокнистых листов (ГОСТ Р 51829), которые крепят к элементам деревянного или стального каркаса на самонарезающих шурупах.

4.19. В зданиях производственного назначения в качестве отделочного слоя следует использовать штукатурку из цементно-известкового раствора, наносимого по стальной оцинкованной сетке, закрепленной к изолируемой поверхности стены на дюбелях.

4.20. Устройство облицовки из гипсокартонных (ГКЛ) и гипсоволокнистых (ГВЛ) листов следует выполнять в соответствии с указаниями СП 55-101-2000 и СП 55-102-2001.

4.21. Необходимость устройства в стене специального слоя пароизоляции определяется расчетом. При необходимости пароизоляция устраивается, между несущим и теплоизоляционным слоями стены. Пароизоляция может быть окрасочной, представляя собой 2-х - 4-х слойное покрытие, или оклеенной из рулонных материалов.

5. ОТДЕЛКА ФАСАДОВ ШТУКАТУРНЫМИ РАСТВОРАМИ

5.1. Фасады отделывают нанесением слоя цветного раствора (цветной накрывки) или окрашиванием поверхности. Первый вариант предпочтительнее из-за меньшей стоимости, большей прочности поверхности и практичности отделки, на которой незаметны мелкие дефекты.

5.2. Отделочный слой выполняется также из известково-цементного раствора с добавлением необходимых пигментов (от 3 до 12 % к весу сухого вяжущего). Подробные рекомендации содержатся в «Инструкции по приготовлению и применению строительных растворов СН 290-74». Оптимальным является применение раствора, получаемого из сухих смесей заводского изготовления.

5.3. Отделочный слой из цветного раствора наносится с помощью пневматической форсунки непосредственно по 2-му слою штукатурки (грунту).

Таблица 5

№ п/п

Шероховатость

Наибольший размер зерна, мм

Условная толщина слоя, мм

Масса (сухого слоя), кг/м2

1

Грубая

5

5

10

2

Средняя

3

3,5

7

3

Мелкая

1

2

4

5.4. Для цветовой отделки рекомендуются известково-цементные или цементные краски, которые отличаются высокой атмосферостойкостью и представляют собой смесь белого портландцемента и извести со щелочестойкими пигментами и добавками хлористого кальция.

Могут быть применены также и другие долговечные и атмосферостойкие краски, перечень которых приведен в Приложении 3 СНиП 2.03.11-85, в том числе полимерцементные краски на основе поливинилацетатной дисперсии, алкидные, перхлорвиниловые и хлоркаучуковые эмали.

5.5. При отсутствии требований к получению особо гладкой поверхности краску наносят без какой-либо дополнительной обработки выполненной штукатурки с расходом ее около 0,9 кг/м2.

5.6. Для получения особо гладкой поверхности по грунту выполняют слой накрывки толщиной до 2 мм из мелкозернистого раствора (крупностью зерна до 1 мм). В этом варианте нет необходимости в тщательной затирке поверхности 2-го слоя штукатурки (грунта); она должна быть лишь ровной после ее выравнивания правилом. По накрывке наносится краска с расходом ее около 0,8 кг/м2.

5.7. Отделку цоколя рекомендуется выполнять из материалов повышенной прочности и декоративности, допускающих их очистку и мойку, например, из лицевого кирпича, плит из натурального или искусственного камня, керамической и стеклянной плитки и др.

Верхняя кромка этой защитно-декоративной отделки должна располагаться не ниже 2,5 м от уровня планировки.

Аналогичную отделку могут иметь углы стен, порталы дверей, арок, ворот, оконные наличники или отдельные участки глухих стен.

5.8. Продолжительность эксплуатации наружной штукатурки из сложного раствора до капитального ремонта устанавливают в соответствии с «Положением об организации и проведении реконструкции, ремонта и технического обслуживания зданий, объектов коммунального и социально-культурного назначения. Нормы проектирования», (ВСН 58-88 (р), Госкомархитектуры, М., 1990) составляет 30 лет.

6. СТЕНЫ ПОДВАЛОВ

6.1. Теплоизоляция стен подвалов необходима при размещении в подвалах служебно-вспомогательных помещений, складов и т.п. В результате достигается снижение затрат на отопление, исключается возможность образования конденсата на стенах, повышается комфортность и улучшаются условия работы конструкций.

6.2. Плитная теплоизоляция располагается по выровненной наружной поверхности стен подвала после выполнения по ней гидроизоляции, которая в зависимости от гидроусловий может быть окрасочной или оклеечной (см. «Рекомендации по проектированию гидроизоляции подземных частей зданий и сооружений», М., ЦНИИПромзданий, 1996 г.).

6.3. При невозможности устройства теплоизоляции с наружной стороны поверхности стен подвала допускается размещение ее с внутренней стороны. При этом обязательна проверка стены подвала, согласно СНиП 23-02-2003, на возможность накопления в ней конденсационной влаги.

6.4. Плиты ПЕНОПЛЭКС к стене крепят на битумно-цементном клее. В зоне цоколя обязательна установка дюбелей из расчета 4 дюбеля на плиту 1200×600 мм.

Примыкание изоляции к окнам и дверям наружных стен подвальных помещений выполняется аналогично таковым для надземной части.

6.5. Работы по теплоизоляции стен, расположенных ниже уровня земли следует выполнять после завершения гидроизоляционных работ.

6.6. Крепление теплоизоляционных плит к гидроизолированной поверхности производят в следующей последовательности: битуминозный покровный слой гидроизоляции подплавляют в трех - пяти точках и к ним плотно прижимают теплоизоляционную плиту.

6.7. Каждую теплоизоляционную плиту с четвертями укладывают вплотную к соседним плитам с последующей проклейкой швов (стыков) полосой «Герлена» шириной 100 мм.

6.8. Теплоизоляция стены подвала со стороны помещения может быть также приклеена к поверхности стены, либо закреплена механическим способом с последующим устройством отделочного слоя.

7. ОГРАЖДАЮЩИЕ КОНСТРУКЦИИ МАНСАРД

7.1. Несущие конструкции мансард могут быть выполнены из дерева или стали марок С235, С245, С255, С345 по ГОСТ 27772-88*.

7.2. В поперечнике несущие конструкции мансард представляют собой раму. Шаг рам и сечения элементов определяются расчетом.

7.3. Соединения металлоконструкций предусматривается на сварке и монтажных болтах или на постоянных болтах.

7.4. Сечения узловых элементов и величина сварных швов определяются расчетом.

7.5. Деревянные несущие конструкции следует выполнять из пиломатериалов хвойных пород двух сортов по ГОСТ 8486-86*.

7.6. Для изготовления настилов и обрешетки применяется древесина 3 сорта, а для несущих элементов стропильной системы (стропильные ноги, ендов, мауэрлатов, прогонов, стоек, подкосов, связей) - древесина 2 сорта.

7.8. Для устройства деревянных несущих конструкций должны применяться элементы с глубокой антипереновой пропиткой.

7.9. Огнезащитная облицовка стальных и деревянных несущих конструкций предусмотрена гипсокартонными листами марок ГКЛО или ГКЛВО (ГОСТ 6266-97), а также гипсоволокнистыми листами марок ГВЛ и ГВЛВ (ГОСТ Р 51829).

7.10. Устройство огнезащитной облицовки несущих стальных и деревянных конструкций следует выполнять в соответствии с указаниями СП 55-101-2000 и СП 55-102-2001.

7.11. Кровлю мансард рекомендуется выполнять из кровельной стали, мягкой черепицы, керамической или цементно-песчаной черепицы. При этом во избежание образования конденсата в конструкции покрытия должен быть предусмотрен продух.

7.12. Для естественного освещения мансардных помещений в ограждающие конструкции встраиваются окна «Велюкс».

8. ЖЕЛЕЗОБЕТОННЫЕ ПОКРЫТИЯ С ТРАДИЦИОННОЙ КРОВЛЕЙ. НОВОЕ СТРОИТЕЛЬСТВО

8.1. До начала изоляционных работ должны быть выполнены и приняты все строительно-монтажные работы на изолируемых участках, включая замоноличивание швов между плитами, устройство выравнивающей стяжки из раствора, установку и закрепление к плитам чаш водосточных воронок, компенсаторов деформационных швов, патрубков (или стаканов) для пропуска инженерного оборудования и т.п. Кирпичные парапеты должны быть оштукатурены и иметь необходимые закладные детали.

8.2. Плиты наклеивают на горячей битумной мастике (t = 75 °С) толщиной 2 мм (ГОСТ 2889-80). При наклейке плиты плотно прижимают друг к другу и к основанию. Точечная либо полосовая приклейка должна быть равномерной и составлять 25 - 35 % склеиваемых поверхностей.

8.3. По плитам теплоизоляции выполняют стяжку из цементно-песчаного раствора марки «50» толщиной не менее 30 мм.

В стяжке предусматривают температурно-усадочные швы шириной 5 - 10 мм, разделяющие ее поверхность на участки размером не более 6×6 м. Швы должны располагаться над торцевыми швами несущих плит.

8.4. Уклон кровли определяется конструкцией покрытия и при рулонных материалах не должен превышать 25 %. При этом на уклонах более 10 % рекомендуется механическое закрепление кровельного ковра к основанию.

8.5. Кровля может быть выполнена многослойной из рулонных битумно-полимерных материалов, или однослойной из полимерных рулонных материалов.

8.6. При кровле из наплавляемых битумно-полимерных материалов возможно решение с выходом паров или с созданием по плитам непрерывного паробарьера, необходимое сопротивление паропроницанию которого определяется расчетом в соответствии с указаниями СНиП 23-02-2003 и СП 23-101-2000 «Проектирование тепловой защиты зданий».

Наклейку рулонного ковра следует выполнять методом подплавления.

При кровлях из битумно-полимерных рулонных материалов цементно-песчаная стяжка должна быть прогрунтована раствором тугоплавкого битума БНК 90/10, БНК 90/30 (ГОСТ 9548-74*) в керосине или соляровом масле в соотношении 1:3.

Защитный слой при необходимости может быть выполнен из гравия светлых тонов фракцией 5 - 10 мм (ГОСТ 8268-82) толщиной 10 мм, втопленного в 2-х мм слой горячей битумной антисептированной мастики.

8.7. При однослойной кровле из полимерной пленки конструкция кровли должна предусматривать возможность выхода водяных паров в зоне парапетов, перепада высот и конька, что обеспечивается полосовой приклейкой уложенного по скату слоя рулонного материала с выводом его на вертикальную поверхность парапетов с точечной приклейкой к последним; выход водяных паров обеспечивается через неприклеенные к основанию полосы водоизоляционого ковра.

Стяжка из цементно-песчаного раствора грунтуется смесью клеящей мастики и растворителя в соотношении по массе 1:3 (расход мастики - 200 г/м2).

С наружной стороны пленочная кровля окрашивается за 2 раза раствором бутилкаучуковой мастики в растворителе (бензин, нефрас и т.п.) в соотношении 1:2 с добавкой 15 % алюминиевой пудры ПАК-3 или ПАК-4 по ГОСТ 5494-95; расход мастики - 200 г/м2.

8.8. Работы выполняются в соответствии с требованиями главы СНиП 3.04.01-87 «Изоляционные и отделочные работы», СНиП III-4-80* «Техника безопасности в строительстве», а также Пособия «Кровли. Руководство по проектированию, устройству, правилам приемки и методам оценки качества», ОАО ЦНИИПромзданий, 2002 г.

9. ЖЕЛЕЗОБЕТОННЫЕ ПОКРЫТИЯ С ИНВЕРСИОННОЙ КРОВЛЕЙ. НОВОЕ СТРОИТЕЛЬСТВО

9.1. Вариант покрытия с теплоизоляцией из пенополистирольных плит ПЕНОПЛЭКС:

железобетонные плиты;

стяжку толщиной 20 мм из цементно-песчаного раствора;

кровельный ковер;

слой теплоизоляции;

фильтрующий слой (табл. 6);

пригрузочный слой.

9.2. Инверсионные кровли рекомендуется выполнять на покрытиях с уклоном 1,5...3 %, ендовы выполняются без уклона.

9.3. Подготовка поверхности покрытия, включая устройство по несущим плитам выравнивающей стяжки или уклонообразующего слоя из легкого бетона и выравнивающей затирки (стяжки) - в соответствии с указаниями п. 5.1.

9.4. Плиты теплоизоляции приклеивают к кровле горячим битумом. Температура приклеивающего состава не должна превышать 75 °С. Приклейка может быть полосовой или точечной, но равномерной.

9.5. По плитам теплоизоляции устраивают фильтрующий слой из негниющих вод водопропускающих материалов типа геотекстиль (табл. 6). Затем выполняют пригрузку плит теплоизоляции гравием фракцией 20...40 мм из расчета 50 кг/м2 покрытия.

9.6. В любом случае конструкцию покрытия проверяют на несущую способность, а кровлю на ветровой отсос. В случае необходимости участки кровли с отрицательным давлением ветра (конек, парапет) пригружают дополнительно.

9.7. Наряду с традиционной воронкой для отвода атмосферной влаги с кровли может быть использована воронка фирмы HL (Австрия), которая при необходимости комплектуется встроенным саморегулирующимся электрокабелем мощностью 10 - 30 Вт.

Таблица 6

Фильтрующие материалы (Геотекстиль)

Наименование материала, марка, фирма

Наименование показателей

Поверхностная плотность, г/м2

Толщина при нагрузке 2 кН/м2, мм

Разрывная нагрузка, кгс, вдоль/поперек

Относительное удлинение, %, вдоль/поперек

Дорнит, ООО «Полилайн» ТУ 8391-001-50099417-2001

300; 350

3,5; 4,0

30; 35/60; 70

120/120

Typar®, фирма Du Pont (США)

110...190

0,41...0,52

40/80...80/80

60/60...65/65

Дорнит, ЗАО «Химволокно» ТУ 8397-001-51414105-03

300...400

2,4...3,5

21/33...56/77

84/70...115/95

10. ЖЕЛЕЗОБЕТОННЫЕ ПОКРЫТИЯ С ТРАДИЦИОННОЙ КРОВЛЕЙ. РЕКОНСТРУКЦИЯ

10.1. Дополнительная теплоизоляция устраивается по существующей рулонной кровле, отремонтированной в соответствии с рекомендациями «Кровли. Руководство по проектированию, устройству, правилам приемки и методам оценки качества» ОАО «ЦНИИПромзданий» 2002 г., при этом особое внимание обращается на состояние примыкания кровли к деформационным швам, парапетам, вентшахтам, трубам. В зоне воронок внутреннего водостока полностью удаляются старая теплоизоляция и кровля. Воронки поднимаются на новый уровень; кровля в зоне примыкания к воронке должна быть понижена относительно прилегающих участков на 15...20 мм.

10.2. Над существующими в старой кровле разжелобками плиты пенополистирола по разметке прорезают дисковой пилой, обеспечивая их плотное прилегание к основанию.

11. ЖЕЛЕЗОБЕТОННЫЕ ПОКРЫТИЯ С ИНВЕРСИОННОЙ КРОВЛЕЙ. РЕКОНСТРУКЦИЯ

11.1. Дополнительная теплоизоляция устраивается по существующей рулонной кровле (см. п. 10.1).

11.2. Укладывают дополнительный теплоизоляционный слой из плит пенополистирола, указанных в п. 2.4 с фильтрующим слоем и пригрузкой гравием (см. п. 9.5 и далее).

Над существующими в старой кровле разжелобками (конек, ендова) плиты теплоизоляции прирезают друг к другу по разметке, обеспечивая их плотное прилегание к основанию.

12. ПОКРЫТИЯ С ПРОФИЛИРОВАННЫМ НАСТИЛОМ И ТРАДИЦИОННОЙ КРОВЛЕЙ

12.1. Покрытие включает следующие конструкционные слои:

- стальной профилированный настил;

- пароизоляционный слой (по расчету);

- теплоизоляцию из плит ПЕНОПЛЭКС марки 35;

- водоизоляционный ковер из рулонных материалов.

12.2. В местах примыкания профнастила к стенкам парапетов, к деформационным швам, к водосточным воронкам, а также с каждой стороны конька и ендовы следует предусматривать заполнение пустот ребер настилов (со стороны теплоизоляции) на длину 250 мм заглушками из негорючих минераловатных или стекловатных материалов.

12.3. Теплоизоляционные плиты ПЕНОПЛЭКС могут закрепляться к профнастилу наклейкой или механическим креплением.

12.4. Точечная наклейка выполняется горячим битумом с температурой нагрева не более 75 °С. Наклейка должна быть равномерной и составлять 25 - 35 % площади наклеиваемых плит. Стыки плит должны располагаться на полках профнастила.

12.5. При механическом креплении теплоизоляционные плиты ПЕНОПЛЭКС крепежным элементом закрепляют к основанию вместе со слоем рулонного кровельного материала и с пароизоляционным слоем. Количество креплений для различных участков покрытия должно устанавливаться расчетом в соответствии с требованиями СНиП 2.01.07-85 «Нагрузки и воздействия», но не менее, чем одно крепление на 1 м2 плит.

13. КОНСТРУКТИВНЫЕ РЕШЕНИЯ ПОЛОВ

13.1. Полы с тепло-звукоизоляционным слоем из плит ПЕНОПЛЭКС могут выполняться по подстилающему бетонному слою (в полах по грунту) или по железобетонному перекрытию.

13.2. В качестве тепло-звукоизоляции должны использоваться плиты ПЕНОПЛЭКС марки 35 или 45.

13.3. В полах по грунту плиты ПЕНОПЛЭКС должны, как правило, укладываться на слой гидроизоляции.

13.4. Теплоизоляционный слой должен предусматриваться в полах на грунте в подвальных помещениях с нормируемым теплоусвоением.

13.5. Полы на грунте в помещениях с нормируемой температурой внутреннего воздуха, расположенные выше отмостки здания или ниже ее не более, чем на 0,5 м, должны быть утеплены в зоне примыкания пола к наружным стенам или стенам, отделяющим отапливаемые помещения от неотапливаемых на ширину 0,8 м путем укладки по грунту слоя плит ПЕНОПЛЭКС толщиной, определяемой из условия обеспечения термического сопротивления этого слоя утеплителя не менее термического сопротивления наружной стены.

13.6. Требуемая толщина теплоизоляционного слоя должна устанавливаться расчетом в соответствии с указаниями СНиП 23-02-2003.

13.7. В полах по железобетонному перекрытию плиты ПЕНОПЛЭКС укладываются на предварительно выровненную поверхность перекрытия, а при необходимости на слой пароизоляции.

13.8. Необходимость устройства пароизоляции в каждом конкретном случае должна определяться расчетом сопротивления паропроницанию в соответствии с указаниями СНиП 23-02-2003 «Тепловая защита зданий».

13.9. По тепло-звукоизоляционному слою из плит ПЕНОПЛЭКС должна быть выполнена монолитная стяжка или сборная стяжка из гипсоволокнистых листов.

13.10. Монолитная стяжка выполняется на основе цементного или гипсового вяжущего и должна быть толщиной не менее 40 мм.

13.11. Прочность стяжки на изгиб должна быть не менее 2,5 МПа (СНиП 2.03.13-88 «Полы»).

13.12. При сосредоточенных нагрузках на пол более 20 кН толщина монолитной стяжки по тепло-звукоизоляционному слою должна устанавливаться расчетом из условия исключения деформации последнего (СНиП 2.03.13-88 «Полы»).

13.13. В местах сопряжения стяжек, выполненных по тепло-звукоизоляционному слою с другими конструкциями здания (стенами, перегородками и т.п.) должны быть предусмотрены зазоры шириной 25 - 30 мм на всю толщину стяжки, заполняемые звукоизоляционным материалом.

13.14. Сборные стяжки следует выполнять из спаренных гипсоволокнистых листов размером 1500×500 мм в соответствии с указаниями СП 55-102-2001.

13.15. Общая толщина сборной стяжки склеенных из двух гипсоволокнистых листов составляет 20 мм.

13.16. При стыковке сборной стяжки из спаренных гипсоволокнистых листов на фальцы уложенных элементов стяжки сплошным слоем наносится дисперсия ELBA или клеящая мастика с последующим скреплением фальцев шурупами длиной не менее 19 мм, располагаемых с шагом 300 мм.

13.17. В местах примыкания сборной стяжки к стенам, перегородкам и т.п. конструкциям следует предусматривать зазор толщиной 8 - 10 мм, который заполняют кромочной лентой.

14. ПОЛЫ ХОЛОДИЛЬНИКОВ

14.1. Конструкции полов холодильников представлены:

на междуэтажных перекрытиях многоэтажных холодильников;

на обогреваемых грунтах;

над вентилируемыми подпольями.

14.2. Сборный железобетонный каркас многоэтажных холодильников принят по серии 1.420.1-14 для сетки колонн 6×6 м.

14.3. Несущие конструкции перекрытий над проветриваемыми подпольями приняты по серии 1.44-ЗМ\92. «Конструкции железобетонные над холодными вентилируемыми подпольями».

14.4. Требуемое сопротивление паропроницанию полов принимается по главе СНиП 2.11.02-87 «Холодильники»: для перекрытий над подпольем - по табл. 9, междуэтажных перекрытий - по табл. 10 и для полов на грунте - по табл. 11.

Пароизоляция выполняется оклеечной - из битумно-полимерных рулонных материалов или из полимерной пленки, и располагается, как правило, между плитой перекрытия или подготовкой под полы и теплоизоляционным слоем.

1. СТЕНЫ

№ поз.

Наименование

№ поз.

Наименование

1

Стена (несущая часть)

42

Дюбель HPS-I, «Хилти», Æ 6 или 8

2

Защитно-декоративная кладка

43

Дюбель из полиамида ТУ 36-941-79

3

Рихтовочный зазор (засыпка из песка)

44

Шуруп ГОСТ 1144-80

4

Теплоизоляция из экструзионных пенополистирольных плит ПЕНОПЛЭКС

45

Шуруп ГОСТ 1144-80

5

Клеевой состав для приклейки плит теплоизоляции, сухая смесь № 51

46

Гвоздь Æ 6 через деревянную прокладку с шагом 600 мм, но не менее 2 шт. на проем

6

Выравнивающая штукатурка, сухая смесь № 12, 15*

47

Окно деревянное

Грунтовки «БИРСС-ГРУНТ-УНИВЕРСАЛ»

48

Рама и полотно распашных складчатых ворот серии 1.435-28

7

Сварная оцинкованная металлическая сетка 20×20 Æ 1,0...1,6 по ТУ 14-4-647-95 Солнечногорского завода металлических сеток «Лепсе» (тел. 593-31-17); или по ГОСТ 2715-75

49

Костыль МС-1 с шагом 700 мм, см в серии ворот

8

Два ряда металлической сетки

50

Стальная планка для крепления рамы ворот, см. в серии ворот

9

Стык сеток внахлест 100 мм

51

Подоконник по проекту

10

Дополнительная сетка 250×400 на скрутках

52

Капельник

10а

П-образная сетка

53

Отмостка по проекту

10б

Z-образная сетка

54

Гидроизоляция - цементно-песчаный раствор

10в

Г-образная сетка

55

Гидроизоляция

56

Фундаментная балка

10г

-образная сетка

57

Костыль под фундаментную балку

10д

-образная сетка

58

Стена подвала

11

Наружная штукатурка

59

Пол подвала или 1-го этажа:

- линолеум;

- стяжка из цементно-песчаного раствора М 50 - 30 мм;

- плита теплоизоляции ПЕНОПЛЭКС 20 - 30 мм;

- гидроизоляция;

- бетонная подготовка марки В7,5 - 80 мм.

11а

Грунтовка, сухая смесь № 51

60

Щебень

11б

Нижний слой грунта, штукатурная цементно-песчаная смесь № 16

61

Труба дренажная

11в

Второй слой грунта, цементно-известково-песчаная штукатурная смесь № 15; 41*

62

Бортовой камень

11г

Поверхность хорошо увлажнить или обработать эмульсией «БИРСС-ГРУНТ-УНИВЕРСАЛ»

63

Перекрытие подвала

11д

Отделочный слой, смесь штукатурная декоративная № 31; 32*

64

Крупный песок

12

Внутренняя штукатурка

65

Термовставка из ячеистобетонных блоков по ГОСТ 21520-89

13

Плитка облицовочная глазурованная

66

Кровля и примыкание кровли к парапету даны в узлах раздела 2

13а

Выравнивающая цементно-песчаная штукатурная смесь № 12

68

Несущая балка - пояс

13б

Клей для плитки облицовочной «Мраморит-26»

69

Декоративная плитка

14

Дюбельный комплект - см. Приложение 8

71

Защитная бетонная стенка

15

Рассечка из минераловатных плит марки 125; 150 ТУ 5726-010-04001485-99

72

Железобетонная перемычка

16

Доска, пропитанная антипиреном;

73

Цементный раствор

16а

Пластина 6×40 с болтом Æ 10 и шагом 600 мм, но не менее 2 штук на проем

74

Прокладка уплотняющая

17

Рейка 40×50, закрепленная к пробкам 50×60 шурупами. Пробки закреплены к стене дюбелями без шайбы (см. дюбельный комплект)

75

Пластина 6×40, заранее скрепленная с окном шурупами

* Рецептура клев и штукатурных смесей взяты по каталогу завода «БИРСС» (Бирюлевские сухие смеси).

76

Наличник деревянный

18

Антисептированная доска

77

Обрамляющий уголок 50×4

19

Защитная стенка из кирпича

78

Полоса 4×40, крепить к стене дюбелями

20

Слив С1

79

Брусок 60×50 мм деревянного каркаса

21

Слив С2

80

Гипсокартонный лист

22

Слив С3

81

Стальной профиль каркаса, δ = 0,55 мм

23

Слив С5

82

Уплотнительная лента

24

Слив С4

83

Угловой защитный профиль ПУА

25

Костыль К1

84

Армирующая лента

26

Костыль К2

85

Шпаклевка

27

Костыль К3

86

Клей «ГМ»

28

Вязальная проволока ГОСТ 3282-74

87

Оконный блок

29

Закладная сетка M1

88

Защитная перфорированная металлизированная лента

30

Закладная сетка М2

89

Стропила стальные

31

Закладная петля ЗП1

90

Стропила деревянные

32

2 Æ 6

91

Металлическая кровля

33

Анкер А1

92

Обрешетка

34

Анкер А2

93

Брус 150×50 мм

35

Уголок-перемычка с опиранием на боковую кладку проема не менее 120 мм

94

Стальной профлист

36

Мастика

95

Деревянный брусок 40×30 мм

37

Прокладка уплотняющая из пенорезины сечением 8×8 по ТУ 38-406316-87

96

Деревянный брусок 60×40 мм

38

Прокладка пенополиэтиленовая уплотняющая марки Вилатерм-СМ Æ 30; 40 (трубчатая), ТУ 6-05-221-872-86

97

Вкладыш из гипсокартонного листа

39

Пена строительная

98

Ветрозащитная пленка «Тайвек»

40

Горизонтальный шов

99

Пароизоляция

41

Вертикальный шов

100

Обвязочный брусок

1.1. СТЕНЫ С ЗАЩИТНО-ДЕКОРАТИВНЫМ СЛОЕМ ИЗ ШТУКАТУРКИ. НОВОЕ СТРОИТЕЛЬСТВО И РЕКОНСТРУКЦИЯ

СХЕМА № 1. Расположение плит утеплителя, рассечек, сетки и штукатурки

СХЕМА № 2. Расположение анкеров в углах, температурных швах и у проемов

СХЕМА № 3

Вариант с поверхностным сбросом дождевой воды

Вариант с дренажем

1.2. СТЕНЫ С ОТДЕЛОЧНЫМ СЛОЕМ ИЗ КИРПИЧА. НОВОЕ СТРОИТЕЛЬСТВО

СХЕМА № 4. Расположение плит утеплителя, рассечек, защитно-декоративной кладки, несущей балки-пояса

СХЕМА № 5. Расположение анкеров в углах, температурных швах и у проемов

Максимальный шаг температурных швов в защитно-декоративной стене L, м

Таблица 1

Вид кладки

Средняя температура наружного воздуха наиболее холодной пятидневки

минус 40 °С и ниже

минус 30 °С

минус 20 °С и выше

Из кирпича, в т.ч. лицевого на растворе марки 50 и более

30

42

70

Из силикатного кирпича на растворе марки 50

21

30

42

СХЕМА № 6

* - размеры по проекту

СХЕМА № 7

* - размеры по проекту

1. Узлы 39; 40 - возможные варианты соединения слоев кладки

* - размеры по проекту

1.3. СТЕНЫ С ОТДЕЛОЧНЫМ СЛОЕМ ИЗ КИРПИЧА. РЕКОНСТРУКЦИЯ

СХЕМА № 8. Расположение плит утеплителя, рассечек

СХЕМА № 9. Расположение анкеров в углах, температурных швах и у проемов

Максимальный шаг температурных швов в защитно-декоративной стене L1 см. в таблице № 1 на листе 2 докум. М24.39/04-1.2

СХЕМА № 10

* - размеры по проекту

СХЕМА № 11

* - размеры по проекту

* - размеры по проекту

1.4. СТЕНЫ С ТЕПЛОИЗОЛЯЦИОННЫМ СЛОЕМ, РАЗМЕЩЕННЫМ СО СТОРОНЫ ПОМЕЩЕНИЯ. РЕКОНСТРУКЦИЯ

СХЕМА № 12. Расположение утеплителя и отделочных слоев

СХЕМА № 13

СХЕМА № 14

1.5. СТЕНЫ ПОДВАЛА

1.6. ОГРАЖДАЮЩИЕ КОНСТРУКЦИИ МАНСАРД

2. ПОЛЫ

2.1. ПОЛЫ ЖИЛЫХ И ПРОМЫШЛЕННЫХ ЗДАНИЙ

поз.

Наименование

№ поз.

Наименование

1

Покрытие пола

9

Пароизоляция

2

Клеевой слой

10

Полиэтиленовая пленка

3

Сборная стяжка из гипсоволокнистых листов

11

Подстилающий слой из песка

4

Монолитная стяжка из раствора на основе цемента или гипса

12

Покрытие пола из железобетона

5

Плиты ПЕНОПЛЭКС марки 35

13

Утрамбованный щебень

6

Перекрытие

14

Грунт

7

Бетонный подстилающий слой

15

Система обогрева

8

Гидроизоляция

16

Армированная цементно-песчаная стяжка

2.2. ПОЛЫ ХОЛОДИЛЬНИКОВ

поз.

Наименование

№ поз.

Наименование

1

Монолитное бетонное покрытие класса В22,5 - 40 мм

15

Железобетонная наружная стеновая панель с теплоизоляцией

2

Армобетонная стяжка - 80 мм

16

Монолитное бетонное покрытие класса В22,5 - 40 мм

3

Слой пергамина насухо с промазкой швов битумной мастикой

17

Фольгоизол по битумной грунтовке - 5 мм

4

Теплоизоляция - экструзионный пенополистирол ПЕНОПЛЭКС

18

Стяжка из цементно-песчаного раствора марки 100 - 20 мм

5

Оклеенная пароизоляция

19

Уплотненный песок влажностью 10 % - 200 мм

7

Железобетонная плита перекрытия подполья

20

Бетонная подготовка класса В20 с электронагревателями

8

Ригель перекрытия

21

Гидроизоляция оклеечная (по расчету)

9

Сборные железобетонные плиты 500×500×40 мм

22

Стяжка из бетона В10 с выравниванием поверхности под гидроизоляцию - 50 мм

10

Прослойка из цементно-песчаного раствора марки 300 - 15 мм

23

Подсыпка местным грунтом с уплотнением

11

Стяжка из бетона класса В15, армированная сеткой 60-3,0-0 по ГОСТ 5336-80 - 80 мм

24

Грунт основания

12

Железобетонная плита безбалочного перекрытия - 160 мм

25

Наружная стена холодильника

13

Цементно-песчаный раствор марки 200 по металлической сетке 35-2,0-0 по ГОСТ 5336-80

26

Теплоизоляция стены из экструзионных пенополистирольных плит ПЕНОПЛЭКС

14

Противопожарный пояс из пенобетона γ = 500 кг/м

 

 

3. ПОКРЫТИЯ

3.1. ПОКРЫТИЯ СО СБОРНЫМ ИЛИ МОНОЛИТНЫМ ЖЕЛЕЗОБЕТОННЫМ ОСНОВАНИЕМ

поз.

Наименование

№ поз.

Наименование

1

Железобетонная плита покрытия

40

Водоприемная воронка

2

Выравнивающая затирка цементно-песчаным раствором марки 50 толщиной 5...15 мм

- грунтовка раствором битума в керосине (1:3);

- пароизоляция (по расчету) - слой стеклорубероида «Бикрост» - 3 мм, ТУ 21-00288739-42-93

41

Защитная решетка

3

Точечная приклейка теплоизоляции битумом (температура до +75 °С)

42

Гравийная засыпка

4

Теплоизоляция - плиты ПЕНОПЛЭКС марки 35

43

Пригрузочный слой из гравия ГОСТ 8268-88*

5

Стяжка из цементно-песчаного раствора марки 50 - 30 мм

44

Предохранительный (фильтрующий) слой - холст из синтетических волокон ТУ 6-19-290-83

6

Кровельный ковер

45

Кровельный ковер - два слоя наплавляемого рулонного материала из филизола или один слой полимерной пленки «Кровлен», наклеенной на мастике

7

Уплотняющие прокладки - ПРП-40К (2 шт.), ГОСТ 19177-81, перевить; или типа «Вилатерм-СМ»

46

Слой кровельного материала

8

Заделка стыка цементно-песчаным раствором

47

Водоприемный стояк

9

Дополнительные слои кровельного ковра

48

Прижимной фланец, устанавливаемый на мастику толщиной 5 мм

10

Минеральная вата

49

Легкий бетон выравнивающего слоя ендовы

11

Компенсатор из оцинкованной стали толщиной 0,8 мм

50

Пробка деревянная антисептированная 65×120×120 через 510

12

Выкружка из оцинкованной стали толщиной 0,8 мм

51

Рейка деревянная антисептированная сеч. 25×60

13

Стеклоткань

52

Патрубок

14

Рулонный битумно-полимерный, уложенный насухо

53

Стальная полоса сеч. 4×40

15

Негорючая теплоизоляция, толщина по теплотехническому расчету

54

Гвозди К3×70, ГОСТ 4028-63

16

Деревянный антисептированный брусок 40×40×h - 4 шт.

55

Рамка из стального уголка

17

Уплотнитель - ПРП по ГОСТ 19177-81

56

Легкий бетон

18

Зажимной хомут

57

Пароизоляция

19

Опора из легкого бетона

58

Плиты тротуарные, ГОСТ 17608-91

20

Фундамент под вентилятор

59

Костыль из стальной полосы 4×40

21

Гвоздь с шайбой

60

Слив из оцинкованной кровельной стали

22

Цементно-песчаный раствор марки 50

61

Слой песка с размерами частиц да 4-х мм

23

Защитный фартук из кровельной стали

62

Опоры из атмосферостойкой резиновой пластины по ГОСТ 7338-90*, 1 класса, вида Ф, с присоединенными к ней вулканизацией ребрами из той же резины

24

Герметизирующая мастика

63

Слой щебня (гравия) фракцией 10...20 мм

25

Кожух вентилятора

64

Уклонообразующий слой из легкого бетона класса В 7,5 с затиркой раствором или стяжка из цементно-песчаного раствора марки 100

26

Колпак водоприемной воронки

65

Камень брусчатый по ГОСТ 23668-79

27

Пропускаемая труба

66

Огрунтовка поверхности под кровлю

28

Зонт из оцинкованной стали

67

Бортовой камень

29

Патрубок с фланцем

68

Наклонный бортик из цементно-песчаного раствора

30

Грунтовочный слой

69

Слой кровельного материала (усиление ковра)

31

Разделительный слой из кровельного рулонного материала

70

Стенка деформационного шва

32

Противокорневой слой

71

Крепежный элемент

33

Дренажный слой из гравия

72

Существующее покрытие

34

Фильтрующий слой

73

Восстановленный кровельный ковер

35

Растительный слой

74

Новый водоизоляционный ковер

36

Тротуар из цементно-песчаного раствора или бетонных плиток, асфальтобетона

75

Сплошная приклейка плит теплоизоляции 1,5 м с каждой стороны ската

37

Стальной стакан с фланцем

76

Полоса кровельного материала

38

Парапетная плита

77

Водоприемный патрубок с фланцем

39

Ограждение кровли

78

Песок строительный

Парапет стены при традиционной эксплуатируемой кровле

Воронка внутреннего водостока при традиционной эксплуатируемой кровле

Повышение теплозащиты покрытия с традиционной кровлей

Повышение теплозащиты покрытия с инверсионной кровлей

Повышение теплозащиты в коньке

Повышение теплозащиты в ендове

3.2. ПОКРЫТИЯ ПО СТАЛЬНЫМ ПРОФИЛИРОВАННЫМ НАСТИЛАМ С ТРАДИЦИОННОЙ КРОВЛЕЙ

поз.

Наименование

№ поз.

Наименование

1

Заглушка из минераловатной плиты группы НГ

27

Компенсатор из оцинкованной стали, δ = 0,8 мм

2

Стальная гребенка

28

Крепежный элемент

3

Оцинкованная сталь, δ = 0,8 мм

29

Полоса стальная 4×40 мм

4

Мастика герметизирующая

30

Болт M10×30-011 с шайбой и гайкой

5

Приклеивающий состав

31

Стальная пластина 220×120×10 мм

6

Бортик из плит ПЕНОПЛЭКС

32

Антисептированный и антиперированный брусок

7

Слой кровельного материала (усиление кровли в ендове)

33

Стена здания повышенного пролета

8

Дополнительный слой водоизоляционного ковра

34

Плиты теплоизоляционные ПЕНОПЛЭКС

9

Костыль из стальной полосы 4×40 мм

35

Оцинкованная сталь, δ = 0,8 мм

10

Защитный фартук из оцинкованной стали, δ = 0,8 мм

36

Болт M16×70-001 с шайбой и гайкой

11

Дюбель ДГ 3,7×70Ц6

37

Уголок 125×80×7

12

Ограждение кровли

38

Прогон

13

Парапет

39

Компенсатор из оцинкованной стали, δ = 2 мм

14

Точечная приклейка рулонного материала

40

Заклепка комбинированная ЗК-12

15

Слой кровельного материала (усиление кровли в коньке)

41

Элемент механического крепления

16

Заклепка комбинированная ЗК-10

42

Плиты или маты минераловатные

17

Стальной поддон

43

Выкружка из оцинкованной стали толщиной δ = 1,5 мм

18

Патрубок с фланцем

44

Слой кровельного материала «насухо» крупнозернистой посыпкой вниз

19

Стальной хомут

45

Винт самонарезающий В6×25

20

Защитный колпак

46

Труба

21

Прижимной фланец

47

Стальной стакан

22

Дополнительные прогоны

48

Хомут из стальной полосы 4×40 мм

23

Местное понижение вокруг воронки

49

Основной водоизоляционный ковер

24

Опорный столбик

50

Стальной профилированный настил

25

Дополнительные слои кровельного материала вокруг воронки

51

Пароизоляция

26

Бортик из гнутого швеллера

52

Защитный слой

План кровли

Общее замечание: Направление профилированных настилов выбрано произвольно.

4.1. ИЗДЕЛИЯ КОМПЛЕКТУЮЩИЕ

АНКЕР А1

* поз. 2 - оцинковать

Марка изделия

№ поз.

Наименование

Кол

Масса ед., кг

Примечание

А1

1

6 А-III, ГОСТ 5781-82, L = 150

1

0,03

0,31...0,43

2*

L = 200...350

1

0,3...0,4

АНКЕР А2

Марка изделия

№ поз.

Наименование

Кол.

Масса ед., кг

Примечание

А2

1

6 А-III, ГОСТ 5781-82, L = 240

2

0,053

0,42

2

1

0,314

ЗАКЛАДНАЯ СЕТКА M1

ЗАКЛАДНАЯ СЕТКА М2

ЗАКЛАДНАЯ ПЕТЛЯ ЗП1

ЗП1 и М2 - оцинковать

СЛИВ C1

СЛИВ С2

СЛИВ С3

СЛИВ С4

УГОЛОК С5

* - толщина слива С2, С3 - 1 мм

 

КОСТЫЛЬ К1

КОСТЫЛЬ К2

КОСТЫЛЬ К3

1. * Уточняется в проекте.

2. Костыли окрасить за 2 раза или оцинковать.

ПРИМЕР: Сборная несущая балка из керамзитобетона плотностью 1400 кг/м3 класса В12,5

* а = 30...140 (по толщине теплоизоляции).

Приложение 1

ПРИМЕР РАСЧЕТА ТОЛЩИНЫ ТЕПЛОИЗОЛЯЦИИ СТЕНЫ ПОДВАЛА

Тип здания - жилой дом с нижней разводкой систем отопления и горячего водоснабжения;

Место строительства - Москва;

Конструкция стены - кирпичная с толщиной несущей части 640 мм, утепленная плитным экструзионным пенополистиролом ПЕНОПЛЭКС с λБ = 0,031 Вт/(м · °С) и защитным слоем из цементно-известковой штукатурки толщиной 30 мм.

1. Определяем значение градусо-суток отопительного периода:

ГСОП = (tв - tот.п.) · Zот.п. = (20 + 3,1) · 214 = 4943

2. По СНиП 23-02-2003 г. находим значение приведенного сопротивления теплопередачи:

2,8 + 0,3 = 3,1 (м2 · °С)/Вт.

3. Требуемая толщина теплоизоляции стены подвала, расположенной выше уровня земли:

δутн.з. = (3,1 - 0,16 - 0,64/0,7 - 0,03/0,7) · 0,031 = 0,062 м.

Принимаем толщину теплоизоляции равной 70 мм;

4. Вычисляем толщину теплоизоляции стены подвала, расположенной ниже уровня земли:

δутп.з. = (3,1 - 1,05 - 0,64/0,7) · 0,031 = 1,14 · 0,031 = 0,035 м.

Принимаем толщину теплоизоляции равной 40 мм;

При размещении теплоизоляционного слоя с внутренней стороны стены определяют расположение зоны конденсации графическим способом.

Приложение 2

ПРИМЕР РАСЧЕТА ПОВЫШЕНИЯ ТЕПЛОЗАЩИТЫ СТЕНЫ

Административное здание в г. Москве.

Усиление теплозащиты выполнено с применением плит ПЕНОПЛЭКС марки 35 Принятая конструкция стены дана на расчетной схеме.

Расчетная схема стены.

1 - цементно-известковая штукатурка, λ1 = 0,87 Вт/(м · °С); 2; 4 - кирпичная кладка, λ2 = 0,81 Вт/(м · °С); 3 - плита пенополистирола ПЕНОПЛЭКС марки 35, λ3 = 0,031 Вт/(м · °С).

Требуемое сопротивление теплопередаче стены является функцией числа градусо-суток отопительного периода (ГСОП):

ГСОП = (tв - tот.пер) · Zот.пер,

где: tв - расчетная температура внутреннего воздуха, °С;

tom.пер, Zom.пер - средняя температура, °С и продолжительность, сут. периода со средней суточной температурой воздуха ниже или равной 8 °С по СНиП 23-01-99 «Строительная климатология».

Для г. Москвы ГСОП = 4600 и Rтр = 2,58 м2 · °С/Вт.

Требуется усиление теплозащитной способности стены на:

ΔR = Rотр + Rосущ = 2,58 - 0,81 = 1,77; м2 · °С/Вт,

а за вычетом R облицовочного слоя из кирпича, равного 0,148 м2 · °С/Вт, получаем

М = 1,77 - 0,148 = 1,622; м2-°С/Вт

Толщина слоя дополнительной теплоизоляции при λ3 = 0,031 Вт/(м · °С) и коэффициенте теплотехнической однородности r = 0,92 составит:

Принимаем слой изоляции равным 60 мм, тогда фактическое сопротивление теплопередаче составит:

Rофак = Rосущ + (R3 · r) + R4 =

Приложение 3

ПРИМЕР РАСЧЕТА ПАРОЗАЩИТЫ СТЕНЫ

(Наружная стена)

1. Цель расчета - определение необходимости устройства специальной парозащиты в многослойной стене.

Расчет выполнен по СНиП 23-02-2003 «Тепловая защита зданий».

2. Исходные данные - административное здание в г. Москва

tвн = 18 °С; φвн = 50 %; Rфак = 2,67 м2 · °С/Вт (см. расчет теплозащиты стены).

3. Конструкция стены:

1 - цементно-известковая штукатурка, λ = 0,87 Вт/м · °С; μ = 0,098 мг/м · ч · Па; 2; 4 - кирпичная кладка, λ = 0,81 Вт/м · °С; μ = 0,11 мг/м · ч · Па; 3 - плита пенополистирола ПЕНОПЛЭКС марки 35 λ = 0,031 Вт/м · °С; μ = 0,018 мг/м · ч · Па

а-а - плоскость возможной конденсации

Сопротивление теплопередаче внутренних слоев составит:

4. Требуемое сопротивление паропроницанию слоев стены до плоскости возможной конденсации должно быть не менее его значения:

по формуле:  или

по формуле:

5. Проверка возможности влагонакопления за годовой период.

Значения среднемесячных температур наружного воздуха для Москвы по СНиП 23-01-99 «Строительная климатология» приведены в таблице, Zo по тому же СНиПу (стр. 8) и средней упругости водяных паров наружного воздуха по СНиП 2.01.01-82 «Строительная климатология геофизика», т.к. в новом СНиПе эти данные отсутствуют.

Месяц

1

2

3

4

5

6

7

8

9

10

11

12

Тн, °С

-10,2

-9,2

-4,3

4,4

11,9

16,0

18,1

16,3

10,7

4,3

-1,9

-7,3

ен, гПа

2,8

2,9

3,7

6

8,9

12,4

14,7

14,2

10,4

6,9

4,8

3,6

Zо = 145 сут

Сезонные и среднемесячные температуры:

Z1 = 3 мес; tн1 = -8,9 °С;

Z2 = 4 мес; tн2 = +0,625 °С;

Z3 = 5 мес; tн3 = +14,6 °C.

Температура в плоскости возможной конденсации, соответствующая среднезонным температурам, определяется по формуле: τв = tв - (tв - tн) · Rов/Rфак,

τ1 = 18 - (18 + 8,9) · 2,49/2,67 = -7,0 °С;

τ2 = 18 - (18 - 0,625) · 2,49/2,67 = +1,9 °С;

τ3 = 18 - (18 - 14,6) · 2,49/2,67 = +14,8 °С;

соответственно Е1 = 337 Па; Е2 = 701 Па; Е3 = 1683 Па, тогда

Е = (337 · 3 + 701 · 4 + 1683 · 5)/12 = 1019 Па

ев = 1032 Па;

ен = 761 Па (см. таблицу выше).

Rп.нар.слоя = 0,12/0,11 = 1,09 м2 · ч · Па/мг;

Rп.внут.слоя = 0,06/0,018 + 0,51/0,11 + 0,02/0,098 = 8,16 м2 · ч · Па/мг.

По формуле

RП1 = (1032 - 1019) · 1,09/(1019 - 761) = 0,054 < 8,16 м2 · ч · Па/мг,

то есть по этому условию устройство парозащиты не требуется.

6. проверка возможности влагонакопления за период с отрицательными среднемесячными температурами.

Средняя упругость водяного пара наружного воздуха за период Z0 (см. таблицу выше).

ено = 356 Па.

Средняя температура наружного воздуха за тот же период

tно = -6,58 ºС.

По формуле:

этой температуре соответствует Ео = 401 Па.

По формуле:

η = 0,0024 · (401 - 356) · 145/1,09 = 14,37.

При γ = 35 кг/м3; δ = 0,06 м; ΔWcp = 25 %, находим.

RП2 = 0,0024 · 145 · (1032 - 401)/(25 · 0,06 · 25 + 14,37) = 4,23 < 8,16 м2 · ч · Па/мг, то есть по этому условию устройство дополнительной пароизоляции также не требуется.

Приложение 4

ПРИМЕР ОПРЕДЕЛЕНИЯ ПОКАЗАТЕЛЯ ТЕПЛОУСВОЕНИЯ ПОВЕРХНОСТИ ПОЛА по СНиП 23-02-2003

Исходные данные: пол подвала жилого дома.

Конструкция пола:

Таблица физико-технических характеристик составляющих пола

№ п/п

Материал

Толщина слоя, м

Плотность материала в сухом состоянии, γ0, кг/м3

Коэффициенты при условии эксплуатации А

Теплотермическое сопротивление, R, м2 · °С/Вт

Теплопроводность, λ, Вт/м · °С

Теплоусвоения, s, Вт/м2 · °С

1

Линолеум

0,003

1600

0,33

7,52

0,009

2

Мастика водостойкая

0,001

1000

0,18

4,56

0,0055

3

Стяжка из цементно-керамзитового раствора

0,03

1200

0,47

6,16

0,06

4

Теплоизоляция из плит ПЕНОПЛЭКС

0,02

35

0,03

0,36

0,67

5

Бетонный подстилающий слой

0,08

2400

1,74

16,77

0,046

Тепловую инерцию каждого слоя определяем по формуле:

D1 = R1 · S1 = 0,009 · 7,52 = 0,068;

D2 = R2 · S2 = 0,0055 · 4,56 = 0,025;

D3 = R3 · S3 = 0,06 · 6,16 = 0,37;

D5 = R5 · S5 = 0,046 · 16,77 = 0,77.

Т.к. суммарная тепловая инерция первых трех слоев D1 + D2 + D3 = 0,068 + 0,025 + 0,37 = 0,463 < 0,5, а суммарная тепловая инерция трех плюс пятый слой D1 + D2 + D3 + D5 = 0,463 + 0,77 + 1,23 > 0,5. Следовательно показатель теплоусвоения пола Yп следует определять последовательно расчетом показателей теплоусвоения поверхностей слоев конструкции, начиная с третьего слоя:

что не удовлетворяет требованиям СНиП предъявляемым к теплоусвоению поверхности пола в жилых, больничных и других подобных зданиях (1 группа зданий и помещений). Поэтому вводим в конструкцию пола дополнительный слой из плит ПЕНОПЛЭКС:

Таким образом, выбранная конструкция отвечает требованиям СНиП для зданий и помещений всех трех групп.

Приложение 5

ПРИМЕР ОПРЕДЕЛЕНИЯ ВОЗМОЖНОСТИ КОНДЕНСАЦИИ ВЛАГИ ВНУТРИ СТЕНЫ ПОДВАЛА ЖИЛОГО ДОМА В Г. МОСКВЕ ПРИ УСЛОВИИ, ЧТО СТЕНА ПРИ РЕКОНСТРУКЦИИ УТЕПЛЕНА СО СТОРОНЫ ПОМЕЩЕНИЯ ПОДВАЛА ПЛИТАМИ ПЕНОПЛЭКС ТОЛЩИНОЙ 30 ММ И ОШТУКАТУРЕНА ЦЕМЕНТНО-ПЕСЧАНЫМ РАСТВОРОМ ТОЛЩИНОЙ 30 ММ.

1. Определяем сопротивление паропроницанию слоев стены:

Rпкл = 0,64/0,11 = 5,82 м2 · ч · Па/мг;

Rпут = 0,03/0,018 = 1,66 м2 · ч · Па/мг;

Rпц.п. = 0,03/0,09 = 0,33 м2 · ч · Па/мг;

Rпо = 5,82 + 1,66 + 0,33 = 7,8 м2 · ч · Па/мг;

2. Вычерчиваем стену в масштабе сопротивлений паропроницаемости (рис. 1)

Рис. 1 Зона конденсации влаги в стене подвала, утепленной со стороны помещения

1 - стена подвала; 2 - теплоизоляция; 3 - облицовка; 4 - зона конденсации

3. Температуры на границах слоев стены определяются по формуле:

4. Данным температурам соответствуют следующие значения упругости водяного пара:

Ев = 1865 Па; E1 = 1807 Па; Е2 = 517 Па; Ен = 157 Па.

5. Значения действительной упругости водяного пара при относительной влажности воздуха в помещении φ = 60 % и наружного воздуха φ = 80 % составляет:

ев = 2064 · 0,6 = 1238 Па;

ен = 45 · 0,8 = 36 Па.

6. Количество водяного пара, поступающего к зоне конденсации:

7. Количество водяного пара, уходящего от левой зоны конденсации:

8. Количество водяного пара, конденсирующего в стене:

Р = Р1 - Р2 = 362 - 87 = 275 мг/(м2 · ч · Па).

9. В течение месяца в стене сконденсируется влаги:

10. Определим скорость удаления влаги в летнее время при следующих исходных параметрах воздуха: tн = 16 °С; φн = 75; ен = 2064 · 0,75 = 1548 Па.

11. Температура в плоскости прилегания пенополистирольной плиты к кирпичной стене:

R = Rв + R1 + R2 = 0,115 + 0,94/0,76 + 0,03/0,031 = 1,12 м2 · ч · Па/мг

12. Этой температуре соответствует максимальная упругость водяного пара Ез.к. = 1974 Па;

13. Другая поверхность зоны конденсации отстоит от внутренней поверхности кирпичной стены на расстоянии: δ = 0,6 · 0,11 = 0,07 м;

где 0,11 мг/(м2 · ч · Па) - коэффициент паропроницаемости кирпичной кладки.

14. Термическое сопротивление зоны конденсации:

Rз.к. = 0,07/0,7 = 0,1 (м2 · °С)/Вт;

15. Температура этой поверхности τх составит:

16. Этой температуре соответствует максимальная упругость водяного пара Ез.к. = 1937 Па;

17. Так как Ез.к. = 1937 Па > ев = 1238 Па, то высыхание будет происходить в обоих направлениях;

18. Количество влаги, удаляемой в сторону помещения:

19. Количество влаги, удаляемой по направлению к наружной стороне стены:

20. Тогда: Рвыс = Р1 + Р2 = 0,351 + 0,075 = 0,426 г/(м2 · ч · Па).

21. Количество влаги, удаляемой из стены в течение месяца:

Рвыс = (0,426 · 24 · 30)/1000 = 0,31 кг/м2, что больше, чем Rw = 0,26 кг/м2

откуда следует, что сконденсирующаяся влага будет удаляться за летний период.

Приложение 6

ПРИМЕР ОПРЕДЕЛЕНИЯ ВОЗМОЖНОСТИ НАКОПЛЕНИЯ ВЛАГИ И НЕОБХОДИМОСТИ УСТРОЙСТВА ДОПОЛНИТЕЛЬНОЙ ПАРОИЗОЛЯЦИИ В МНОГОСЛОЙНОМ ПОКРЫТИИ ПРИ РЕКОНСТРУКЦИИ ПРОИЗВОДСТВЕННОГО ЗДАНИЯ В Г. ТАМБОВЕ (РИС. 2)

Исходные данные:

tв = 18 °C и φв = 82 %.

1. Фактическое сопротивление теплопередаче покрытия Rо2 · °С)/Вт, равно:

Рис. 2 Конструкция покрытия с дополнительным слоем теплоизоляции:

1 - гравий на мастике; 2 - 2 слоя битумно-полимерного наплавляемого материала; 3 - стяжка из цементно-песчаного раствора; 4 - экструзионный пенополистирол ПЕНОПЛЭКС, γ = 35 кг/м3; 5 - 4 слоя рубероида на мастике (существующая кровля); 6 - стяжка из цементно-песчаного раствора; 7 - теплоизоляция из пенобетона, γ = 600 кг/м3; 8 - пароизоляция из слоя рубероида на битумной мастике; 9 - железобетонная плита γ = 2500 кг/м3

2. По СНиП 23-01-99 выписываем в таблицу значения среднемесячных температур и давления водяных паров наружного воздуха

Месяц

1

2

3

4

5

6

7

8

9

10

11

12

tв, °С

-10,9

-9,5

-4,6

6,0

14,1

18,1

19,8

18,6

12,5

5,2

-1,4

-7,3

ев, ГПа

2,4

2,5

4,1

93

16,0

20

23,0

21,0

14,5

8,8

5,4

3,3

Zо.п. = 140 cyт.

3. Значения Rп.н. и Rп.в., как сумма Rп.:

(μ = 0,018 мг/(м · ч · Па) - для плит ПЕНОПЛЭКС марка 35).

4. Вычисляем сопротивление теплопередаче слоев покрытия от внутренней поверхности до плоскости возможной конденсации:

5. Продолжительность сезонов и среднемесячные температуры наружного воздуха по СНиП 23-01-99.

Зима (январь, февраль, декабрь): Z1 = 3 мес.

tнl = (-10,9 - 9,5 - 7,3):3 = -9,5 °С.

Весна - осень (март, апрель, октябрь, ноябрь): Z2 = 4 мес.

tн2 = (-4,6 + 6,0 + 5,2 - 1,4):4 = 5,2 °С.

Лето (май, июнь, июль, август, сентябрь): Z3 = 5 мес.

Tн3 = (14,1 + 18,1 + 19,8 + 18,6 + 12,5):5 = 16,6 °С.

6. Соответственно значение температур τ:

7. Среднемесячным τ соответствует:

Е1 = 296 Па; Е2 = 916 Па; Е3 = 1901 Па.

8. Средние значения:

ев = 1063 · 0,6 = 1238 Па; при φв = 60 %;

ев = 1091 · 0,82 = 894 Па.

9. Определяем:

т.е. по этому условию дополнительной пароизоляции не требуется.

10. Проверяем возможность влагонакопления за период с отрицательными среднемесячными температурами, для чего определяем упругость водяного пара наружного воздуха за период Zо.п.:

Средняя температура наружного воздуха за тот же период:

tн.о. = (-10,9 - 9,5 - 4,6 - 1,4 - 7,3):5 = -6,9 °С

этой температуре соответствуют Ео = 319 Па;

γут = 100 кг/м3; δут = 0,06 м; ΔWcp = 25 %.

Вычисляем:

т.е. по этому условию дополнительной пароизоляции не требуется.

Приложение 7

ОБЕСПЕЧЕНИЕ ПОЖАРНОЙ БЕЗОПАСНОСТИ ПРИ ИСПОЛЬЗОВАНИИ В СТЕНАХ И ПОКРЫТИЯХ ТЕПЛОИЗОЛЯЦИИ ИЗ ПЛИТ ПЕНОПЛЭКС МАРКИ 35

В соответствии с сертификатами пожарной безопасности плиты пенополистирольные имеют группу горючести - Г1 по ГОСТ 30244, группу воспламеняемости - В2 по ГОСТ 30402, группу дымообразующей способности - Д3 по ГОСТ 12.1.044.

При определении области применения плит пенополистирольных учитывались результаты испытаний фрагментов стен с полимерными утеплителями, письмо ГУ ГПС МВД России и Минстроя России «Об утеплении наружных стен зданий», а также справочные данные «Пособия по определению пределов огнестойкости, пределов распространения огня по конструкциям и групп возгораемости материалов» ЦНИИСК им. Кучеренко. Применение плит пенополистирольных рекомендуется при следующих конструктивных решениях стен и покрытий.

В зданиях II и III степеней огнестойкости классов конструктивной пожарной опасности C1.

·       для утепления с внешней стороны несущих, самонесущих кирпичных стен толщиной не менее 250 мм; бетонных стен толщиной не менее 200 мм при устройстве наружного защитного слоя из штукатурки толщиной не менее 25 мм и защитного слоя из негорючих армированных материалов в местах примыкания утеплителя к проемам и другим отверстиям шириной не менее - 50 мм в зданиях III степени огнестойкости; - 100 мм в зданиях II степени огнестойкости, а также для утепления стен со стороны помещения с отделочным слоем из штукатурки толщиной не менее 25 мм, из гипсокартонных листов ГКЛВО или гипсоволокнистых листов ГВЛ.

·       для теплоизоляции в покрытиях по железобетонным плитам толщиной не менее 30 мм в зданиях II и III степеней огнестойкости.

·       для теплоизоляции в покрытиях по стальному профнастилу в зданиях II и III степеней огнестойкости.

В зданиях I - III степеней огнестойкости, классов конструктивной пожарной опасности С0.

·       для утепления с внешней стороны несущих, самонесущих кирпичных стен толщиной не менее 250 мм; бетонных стен толщиной не менее 200 мм в зданиях I - III степеней огнестойкости классов пожарной опасности С0 при устройстве наружного защитного слоя из кирпича и защитного слоя

·       из негорючих армированных материалов в местах примыкания утеплителя к проемам и другим отверстиям шириной не менее - 50 мм в зданиях III степени огнестойкости; - 100 мм в зданиях II степени огнестойкости; - 150 мм в зданиях I степени огнестойкости. для теплоизоляции в покрытиях по железобетонным плитам толщиной не менее 30 мм в зданиях II и III степеней огнестойкости; - 50 мм в зданиях I степени огнестойкости. Конструктивные решения, удовлетворяющие требованиям II и III степеней огнестойкости класса конструктивной пожарной опасности С1 (с защитным слоем из штукатурки) в соответствии с требованиями действующих нормативных документов могут быть в зданиях, имеющих следующие параметры.

ПРОИЗВОДСТВЕННЫЕ ЗДАНИЯ
(в соответствии со СНиП 31-03-2001
)

Категория зданий или пожарных отсеков

Высота здания*, м

Степень огнестойкости здания

Класс конструктивной пожарной опасности здания

Площадь этажа в пределах пожарного отсека, м2 зданий

одноэтажных

в два этажа

в три этажа и более

Г

30

III

С1

не огр.

10400

7800

Д

30

III

С1

не огр.

25000

10400

* Высота здания в данной таблице измеряется от пола 1-го этажа до потолка верхнего этажа, включая технический; при переменной высоте потолка принимается средняя высота этажа.

Высота одноэтажных зданий класса пожарной опасности С1 не нормируется.

СКЛАДСКИЕ ЗДАНИЯ
(в соответствии со СНиП 31-04-2001)

Категория склада

Высота здания*, м

Степень огнестойкости здания

Класс конструктивной пожарной опасности здания

Площадь этажа в пределах пожарного отсека, м2 зданий

одноэтажных

в два этажа

в три этажа и более

Д

36

III

С1

не огр.

7800

5200

* Высота здания в данной таблице измеряется от пола 1-го этажа до потолка верхнего этажа, включая технический; при переменной высоте потолка принимается средняя высота этажа.

АДМИНИСТРАТИВНЫЕ И БЫТОВЫЕ ЗДАНИЯ
(в соответствии со СНиП 2.09.04-87*)

Степень огнестойкости здания

Класс конструктивной пожарной опасности здания

Допустимая высота здания*, м

Площадь этажа в пределах пожарного отсека, м2 при числе этажей

1

2

3

4 - 5

6 - 9

10 - 16

II

С1

28

5000

3000

3000

2000

1200

-

III

С1

12

2000

1400

1200

800

-

-

ЗДАНИЯ ЖИЛЫЕ МНОГОКВАРТИРНЫЕ
(в соответствии со СНиП 31-01-2003)

Степень огнестойкости здания

Класс конструктивной пожарной опасности здания

Допустимая высота здания*, м

Площадь этажа в пределах пожарного отсека, м2 при числе этажей

II

С1

28

2200

III

С1

15

1800

Конструктивные решения, удовлетворяющие требованиям I, II и III степеней огнестойкости класса конструктивной пожарной опасности С0 (с защитным слоем из кирпича) в соответствии с требованиями действующих нормативных документов могут быть в зданиях, имеющих следующие параметры.

ПРОИЗВОДСТВЕННЫЕ ЗДАНИЯ
(в соответствии со СНиП 31-03-2001)

Категория зданий или пожарных отсеков

Высота здания*, м

Степень огнестойкости здания

Класс конструктивной пожарной опасности здания

Площадь этажа в пределах пожарного отсека, м2 зданий

одноэтажных

в два этажа

в три этажа и более

А, Б

36

I

С0

не огр.

5200

3500

А

36

24

II

III

С0

С0

не огр.

7800

5200

3500

3500

2600

Б

36

24

II

III

С0

С0

не огр.

7800

10400

3500

7800

2600

В

48

24

I, II

III

С0

С0

не огр.

25000

25000 7800**

10400 5200**

10400 5200**

5200   3600**

Г

54

36

I, II

III

С0

С0

не огр.

не огр.

не огр.

25000

не огр.

10400

Д

54

36

I, II

III

С0

С0

не огр.

не огр.

не огр.

50000

не огр.

15000

* Высота здания в данной таблице измеряется от пола 1-го этажа до потолка верхнего этажа, включая технический; при переменной высоте потолка принимается средняя высота этажа.

Высота одноэтажных зданий класса пожарной опасности С0 и С1 не нормируются.

** Для деревообрабатывающих производств.

СКЛАДСКИЕ ЗДАНИЯ (в соответствии со СНиП 31-04-2001)

Категория склада

Высота здания*, м

Степень огнестойкости здания

Класс конструктивной пожарной опасности здания

Площадь этажа в пределах пожарного отсека, м2 зданий

одноэтажных

в два этажа

в три этажа и более

А

-

-

I, II

III

С0

С0

5200

4400

-

-

-

-

Б

18

-

I, II

III

С0

С0

7800

6500

5200

-

5200

-

В

36

24

I, II

III

С0

С0

10400

10400

7800

5200

5200

2600

Д

не огр.

36

I, II

III

С0

С0

не огр.

не огр.

10400

7800

7800

5200

* Высота здания в данной таблице измеряется от пола 1-го этажа до потолка верхнего этажа, включая технический; при переменной высоте потолка принимается средняя высота этажа.

АДМИНИСТРАТИВНЫЕ И БЫТОВЫЕ ЗДАНИЯ
(в соответствии со СНиП 2.09.04-87*)

Степень огнестойкости здания

Класс конструктивной пожарной опасности здания

Допустимая высота здания*, м

Площадь этажа в пределах пожарного отсека, м2 при числе этажей

1

2

3

4-5

6-9

10-16

I

С0

50

6000

5000

5000

5000

5000

2500

II

C0

50

6000

4000

4000

4000

4000

2200

III

C0

15

3000

2000

2000

1200

-

-

ЗДАНИЯ ЖИЛЫЕ МНОГОКВАРТИРНЫЕ
(в соответствии со СНиП 31-01-2003)

Степень огнестойкости здания

Класс конструктивной пожарной опасности здания

Допустимая высота здания*, м

Площадь этажа в пределах пожарного отсека, м2 при числе этажей

I

С0

75

2500

II

С0

50

2500

III

С0

28

1800

Приложение 8

РЕКОМЕНДУЕМЫЕ МАТЕРИАЛЫ, ПРИ ПРОЕКТИРОВАНИИ ПЛИТ ПЕНОПЛЭКС

Фильтрующие материалы (Геотекстиль)

Наименование материала, марка, фирма

Наименование показателей

Поверхностная плотность, г/м2

Толщина при нагрузке 2 кН/м2, мм

Разрывная нагрузка, кгс/5 см, вдоль/поперек

Относительное удлинение, %, вдоль/поперек

Дорнит, ООО «Полилайн»

ТУ 8391-001-50099417-2001

300; 350

3,5; 4,0

30; 35/60; 70

120/120

Typar®, фирма Du Pont (США), SF32PRO...SF56

110...190

0,41...0,52

40/40...80/80

60/60...65/65

Дорнит, ЗАО «Химволокно»

ТУ 8397-001-51414105-03

300...400

2,4...3,5

21/33...56/77

84/70...115/95

Polyfelt (Германия), TS 10...80, Р 006

105...500

1,0...4,0

38/38...158/158

75/35...80/65

РУЛОННЫЕ ГИДРОИЗОЛЯЦИОННЫЕ МАТЕРИАЛЫ

Рулонные битумно-полимерные материалы

Материал, ТУ

Масса 1 м2, кг

Масса 1 м2 вяжущего с наплавляемой стороны, кг

Масса 1 м2 основы, гр.

Разрывная сила при растяжении в продольном направлении, кгс/50 мм

Относительное удлинение в продольном направлении, %

Теплостойкость, °С

Водопоглощение через 24 ч, % масс

Гибкость при температуре, °С

Стандарт Петроэласт

«Петрофлекс» ТУ 5775-004-45510767-2002

2,5 - 5,0

2,5 - 6,0

2,0

2,0

 

83

78

70

70

95

100

< 1,0

< 1,0

-15

-30

Техноэласт

«ТехноНиколь» ТУ 5774-003-00287852-99

3,0 - 5,5

2,0

90...250

50...87

13...53

100

< 1,0

-35

Вестопласт

«Завод Технофлекс» ТУ 5774-009-17925162-2002

3,0 - 5,0

2,0

50...250

77

50

130

< 1,0

-15

Унифлекс

«Завод Технофлекс» ТУ 5774-001-17925162-99

3,0 - 5,5

2,0

50...250

30...60

5...7

90

< 1,0

-15

Экофлекс

«Завод Технофлекс» ТУ 5774-003-17925162-00

3,0 - 5,5

1,5

50...250

80

10

130

< 1,0

-10

Биполь «Завод Технофлекс» ТУ 5774-003-17925162-00

3,0 - 5,0

1,5

50...250

80

10

85

< 1,0

-15

Линокром

«ТехноНиколь Воскресенск» ТУ 5774-008-17925162-2002

3,0 - 5,0

1,5

50...250

39…67

10...15

80

< 1,0

0

Рулонные битумно-полимерные материалы

Изопласт К

Изопласт П

«Изофлекс» ТУ 5774-005-05766480-2002

4,0 - 5,0

3,0 - 5,5

2,0

2,0

250

200

60...80

36

20...30

3...30

120

120

1,0

1,0

-15

-15

Изоэласт К

Изоэласт П

«Изофлекс» ТУ 5774-007-05766480-2002

4,0 - 6,0

3,0 - 5,5

2,0

2,0

250

200

60

36

30...40

30...40

90

90

1,0

1,0

-30

-30

Новопласт К

Новопласт П

«Изофлекс» ТУ 5774-001-58590414-2002

4,0 - 5,0

3,0 - 4,0

2,0

2,0

250

200

60

36...80

20...30

3...30

120

120

1,0

0,6

-15

-15

 

Материал на основе ПВХ, ТПО, ЭПДМ

Материал, ТУ

Масса 1 м2, кг

Толщина, мм

Условная прочность при растяжении, МПа

Относительное удлинение, %

Теплостойкость, ºС

Водопоглощение через 24 ч, % масс

Гибкость при температуре, ºС

ПОЛИКРОМ Р

ПОЛИКРОМ ПнГ

ЗАО «Поликром» ТУ 5774-001-46439362-99

1,43

1,43

1,2

1,2

6,0

3,5

300

200

120

120

0,2

0,3

-60

-60

АЛЬКОРПЛАН, ПВХ, фирма «ALKOR DRAKA N.V.» (Бельгия), ТУ 5774-001-472707006-04

1,4 - 1,5

1,2 - 1,5

20,0

17,2

80

0,05

-40

ПВХ «Эвергард», фирма FLAG S.р.А. (Италия)

3,3

2,5

16,9

275

85

1,4

-20

ТПО «Эвергард», фирма FLAG S.р.А. (Италия)

1,31

1,2

11,1

976

100

0

-60

ЭПДМ Resitrix

фирма «PHOENIX AG» (Германия)

3,5

3,1

9,2

533

120

0,2

-60

 

Дюбельный комплект ТАРЕЛЬЧАТОГО ТИПА

Тип дюбеля

Наименование показателя

Фирма-изготовитель

Æ нар., мм

Глубина заделки, мм

Расчетное вырывающее усилие, кгс

Комплект Д1 В3-1 Ш

Ст. 5,5-L-l

Бийский завод стеклопластиков

ТУ 2296-001-20994511-00

8

45

30*

Анкер IDP

HILTI (Хилти)

тел.: (095) 792-52-52

8

50 - 30

20...50*

Анкер IZ

HILTI (Хилти)

тел.: (095) 792-52-52

8

60 - 40

66...103*

* В бетоне В ≥ 15, кладке из полнотелого керамического кирпича В кладке из дырчатого кирпича или легкого бетона расчетное усилие уменьшается на половину.

 

 



© 2013 Ёшкин Кот :-)