ГОССТРОЙ РОССИИ
АКАДЕМИЯ КОММУНАЛЬНОГО ХОЗЯЙСТВА им. К.Д. ПАМФИЛОВА
Утверждены
|
приказом Министерства жилищно-
|
коммунального хозяйства РСФСР
|
от 14 апреля 1986 г. № 198/ДСП
|
УКАЗАНИЯ
ПО ОРГАНИЗАЦИИ ПОДГОТОВКИ
И ПРОВЕДЕНИЯ РАБОТ
ПО ВОССТАНОВЛЕНИЮ
ВОДОПРОВОДНО-КАНАЛИЗАЦИОННОГО
ХОЗЯЙСТВА ГОРОДА В ОСОБЫЙ ПЕРИОД
МОСКВА 2002
В настоящих Указаниях освещены
вопросы планирования, организации и производства восстановительных работ в городских
системах водоснабжения и канализации в военное время. Представлены технические
решения, рекомендуемые при производстве восстановительных работ, и технология
выполнения этих работ.
Указания
разработаны НИИ КВОВ АКХ им. К.Д. Памфилова (канд. техн. наук М.М. Кирсанова)
совместно с проектным институтом Гипрокоммун-водоканал (инж. Н.А. Катчева) и МО
СССР (инж. С.Л. Зезюлин) и предназначены для использования производственными
управлениями водопровода и канализации (ПУВКХ) городов при подготовке, организации
и производстве восстановительных работ в военное время. Кроме того, настоящими
Указаниями рекомендуется руководствоваться и в мирное время при восстановлении
сетей, сооружений и оборудования городских систем водоснабжения и канализации,
пострадавших в результате производственных аварий или стихийных бедствий.
Замечания и
предложения по Указаниям просьба направлять по адресу: 123371, Москва,
Волоколамское шоссе, 116, НИИ КВОВ АКХ им. К.Д. Памфилова.
I. ОБЩИЕ ПОЛОЖЕНИЯ
1. В настоящих Указаниях освещены вопросы, касающиеся путей
и способов производства восстановительных работ в системах водоснабжения и
канализации городов.
2. Восстановительные работы следует подразделять на
строительно-монтажные и ремонтно-восстановительные.
Строительно-монтажные работы включают работы по
восстановлению строительной части сооружений, а также по демонтажу и монтажу
технологического оборудования. Выполняются преимущественно производственным
персоналом предприятия с привлечением подрядных строительных организаций.
Ремонтно-восстановительные работы включают работы по ремонту
технологического и прочего оборудования. Выполняются преимущественно
производственным персоналом предприятия с привлечением специализированных
ремонтных подразделений города (области).
3. Количественно объемы восстановительных работ оцениваются
посредством следующих показателей: ущерба, причиняемого основным фондам (ОПФ)
предприятия; стоимости восстановительных работ; трудоемкости выполнения
восстановительных работ; количества материальных ресурсов, потребных для
выполнения восстановительных работ.
4. Под ущербом понимаются капитальные вложения, необходимые
для восстановления функционирования предприятия на полную производственную
мощность, которой оно обладало до поражения.
Под стоимостью восстановительных работ понимаются
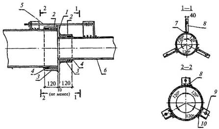
капитальные вложения, необходимые для восстановления эксплуатационных качеств
тех основных производственных фондов, которые получили степень разрушения не
более средней, поскольку полностью или сильно разрушенные основные
производственные фонды водопроводно-канализационного хозяйства, как правило, не
восстанавливаются, а заменяются на новые.
5. Здания и сооружения восстанавливаются:
при слабой степени разрушения - посредством выполнения
ремонта, затраты на который примерно соответствуют четырехкратным затратам на
текущий ремонт согласно нормативам мирного времени и в среднем составляют 10 %
их сметной стоимости;
при средней степени разрушения - посредством выполнения
ремонта, затраты на который примерно соответствуют затратам на капитальный ремонт
и в среднем составляют 30 % их сметной стоимости.
Применительно к технологическому и прочему оборудованию
слабая степень повреждения отождествляется с малым ремонтом, средняя - со
средним и сильная - с капитальным ремонтом.
II.
СОСТАВ И СОДЕРЖАНИЕ МЕРОПРИЯТИЙ
ПО ЗАБЛАГОВРЕМЕННОЙ ПОДГОТОВКЕ
ВОДОПРОВОДНО-КАНАЛИЗАЦИОННОГО ХОЗЯЙСТВА
К ВОССТАНОВЛЕНИЮ
6. Анализ возможных заблаговременных мероприятий показал,
что все мероприятия такого типа на предприятиях водопроводно-канализационного
хозяйства категорированного города условно могут быть разбиты на пять групп и
направлены на:
1) повышение механической сопротивляемости объектов
воздействию ударной волны ядерного взрыва;
2) приобретение необходимых машин и механизмов, резервных
энергоисточников, материалов, горючего;
3) проведение организационно-технических мероприятий,
способствующих ускорению восстановительных работ в военное время;
4) профилактику и защиту работающих от воздействия
поражающих факторов ядерного оружия;
5) подготовку и приобретение всей технической документации,
необходимой для восстановления объектов отрасли в военное время.
7. Первая группа мероприятий касается лишь большинства
наземных сооружений. Что касается всех подземных сооружений (трубопроводы, заглубленные
резервуары и насосные станции), то их устойчивость достаточно высока и, как
показал проведенный нами анализ, никакие подготовительные мероприятия по
усилению их не являются эффективными.
Устойчивость наземных сооружений зависит от их прочности,
массы, общего конструктивного решения и пластичности материалов. Существенное
влияние на прочность оказывает упругость каркаса, прочность балок и угловых
соединений, количество стоек и диагональных связок в каркасной конструкции.
Наиболее прочными являются сооружения с тяжелыми стальными железобетонными
каркасами.
Сооружения, имеющие несущие стены из кирпича или бетонных
блоков без жесткого каркаса, обладают невысокой устойчивостью к действию
ударной волны. Причиной этого является малая упругость материала сооружений и
незначительная прочность соединений, подвергающихся воздействию горизонтальной
составляющей нагрузки от ударной волны. При усилении сооружений этого типа
стальным каркасом значительно увеличивается их прочность.
Горизонтальная нагрузка, создаваемая ударной волной ядерного
взрыва, носит скорее динамический, чем статический характер. Эта нагрузка
действует в течение короткого промежутка времени (примерно около 1 с). Инерция,
определяемая массой сооружения или его частей, является важным фактором,
который следует учитывать при оценке устойчивости сооружений к горизонтальной
динамической нагрузке, хотя этот фактор не имеет существенного значения при
статической нагрузке.
Из существующих типов сооружений
водопроводно-канализационного хозяйства наиболее устойчивыми будут
сейсмоустойчивые сооружения, способные выдерживать боковые нагрузки, равные
приблизительно 10 % их массы.
Такие сооружения, усиленные прочными внутренними поперечными
стенами и не имеющие разрывов в соединениях, смогут противостоять без серьезных
повреждений действию значительных горизонтальных сил. Существенное влияние на
устойчивость сооружений оказывает пластичность их материала, т.е. способность
последнего неупруго поглощать энергию, не разрушаясь. Чем больше пластичность,
тем больше способность сооружения противостоять действиям разрушающихся сил.
Хрупкие материалы имеют плохую пластичность и легко разрушаются. Если
деформация от атомного взрыва является упругой, то после снятия нагрузки
материал приобретает свою первоначальную форму. В случае пластической
деформации материал после снятия нагрузки не восстанавливает полностью своей
первоначальной формы, хотя разрушения еще не произойдет. Разрушение наступает,
когда напряжение достигает предела прочности.
Пластичностью в полной мере обладают конструктивная сталь и
стальная арматура. Они способны поглощать большое количество энергии ударной
волны, не разрушаясь, и, таким образом, уменьшать вероятность разрушения
сооружения, в котором они используются. Кроме того, сталь имеет то преимущество,
что ее предел упругости при динамических нагрузках выше, чем при статических.
Бетон не является пластичным материалом, но при его применении вместе со сталью
в железобетонных конструкциях пластичность стали становится, как правило,
свойством конструкции в целом.
Кирпичные и каменные стены без усиления их каркасом
совершенно не обладают пластичностью и разрушаются.
В существующих сооружениях водопроводно-канализационного
хозяйства возможно проведение комплекса мероприятий, повышающих механическую
сопротивляемость их воздействию ударной волны ядерного взрыва. Решение этой
проблемы, однако, гораздо сложнее, чем осуществление соответствующих защитных
мер при проектировании новых сооружений.
Для выявления состава мероприятий предварительно необходимо
тщательно обследовать здание (сооружение) и установить его слабые места. Затем
можно определить наилучшие способы его усиления. Как правило, усиление каркаса
железобетонного здания не представляется возможным, однако там, где это
возможно, повышение сопротивляемости здания разрушению может быть достигнуто
путем замены внутренних стен стенами, рассчитанными на сдвигающие нагрузки.
Для повышения устойчивости здания (сооружения) со стальным
каркасом эффективным средством может явиться установка дополнительных колонн и
балок, сопротивляющихся сдвигающим усилиям стен. Эффективность таких стен будет
зависеть от их прочности, а также от прочности их связей перекрытиями, так как
для того чтобы такие стены были эффективными, они должны передавать боковые
нагрузки на фундамент. Наличие таких стен в каркасном здании значительно
повышает его устойчивость.
Для первой
группы прежде всего необходимо разработать проектные решения по усилению
устойчивости всех типовых зданий и сооружений водопроводно-канализационного
хозяйства города. Реализация мероприятий первой группы сокращает величину
необходимых капитальных затрат и продолжительность восстановления пораженной
части хозяйства.
8. Вторая
группа мероприятий особых пояснений не требует. Следует лишь добавить, что
приобретенные технические средства по возможности должны максимально
использоваться и в условиях мирного времени, что является залогом максимальной
эффективности их использования и постоянной готовности к функционированию в
военное время.
Все
резервные материалы и горючее должны храниться на ремонтно-производственной
базе (РПБ), организованной за городом, и обновляться по мере истечения срока
хранения.
В
качестве резервных автономных энергоисточников следует приобретать источники
как малых мощностей (3 - 5 кВт), так и больших (400 - 600 кВт). Первые
потребуются для питания электроинструмента при производстве
ремонтно-восстановительных работ, вторые - для оперативного обеспечения
энергией важнейших предприятий категорированного города в период до подачи
энергии от восстановленной энергосистемы.
9. В
состав третьей группы мероприятий входит подготовка в загородной зоне
резервной РПБ, а в городской зоне - защищенных пунктов управления
восстановительными работами и резервного защищенного оперативно-диспетчерского
пункта предприятия, улучшение состояния подъездных путей и возможностей
подъезда ко всем сооружениям.
10. Четвертая
группа мероприятий направлена на сохранение людских резервов, участвующих в
восстановлении разрушенного хозяйства. При этом от количества сохранившихся трудовых
ресурсов зависит скорость восстановления.
Для сохранения людей необходимо: заблаговременное
строительство защитных сооружений, подготовка помещений, оборудования и
материалов для организации предприятий санитарно-бытового обслуживания,
приобретение спецодежды и средств личной защиты для рабочих и служащих.
11.
Мероприятия пятой группы проводятся с целью обеспечения производителей
восстановительных работ необходимой технической документацией. В частности,
сюда могут входить разработка упрощенных вариантов временных сооружений
водопроводно-канализа-ционного хозяйства и систем водоснабжения, разработка
предварительных планов проведения восстановительных работ на объектах,
приобретение комплектов полной технической документации и выбор надежных мест
хранения ее.
III. ВОССТАНОВИТЕЛЬНЫЕ РАБОТЫ
В СИСТЕМАХ ВОДОСНАБЖЕНИЯ И КАНАЛИЗАЦИИ ГОРОДОВ
Состав и объем восстановительных работ
12. Для
определения состава и объема восстановительных работ (ВР) на предприятиях
городского водопровода и канализации необходимо предварительно оценить
состояние сетей и сооружений предприятий после получения ими повреждений. При
этом объем восстановительных работ осуществляется для двух вариантов:
для
варианта полного восстановления всей производительности водопровода, которой он
обладал до повреждения;
для
варианта восстановления части оборудования и производительности, достаточной
для водоснабжения только тех потребителей, функционирование которых
предусмотрено планом на особый период.
Состав и объем
восстановительных работ определяются путем составления проектов восстановления
систем водоснабжения и канализации.
Планирование восстановительных работ
13. Система водоснабжения города - одна из
важнейших отраслей коммунального хозяйства, она обеспечивает жизнедеятельность
населения и работу предприятий и учреждений.
Все
работы по восстановлению систем водоснабжения отдельных объектов, а также
городской водопроводной сети в целом выполняют в соответствии с планом
восстановительных работ, который устанавливает величины вводимых
производительностей водопровода и суточные графики пользования водой
подключаемых потребителей.
При общем планировании восстановительных работ в
первую очередь должно быть восстановлено водоснабжение сохранившихся и
продолжающих работу в особый период промышленных предприятий, медицинских
учреждений, коммунально-бытовых предприятий, предприятий связи, пищевой и
хлебопекарной промышленности. Список указанных предприятий и учреждений
выявляют заблаговременно до наступления особого периода.
14. Для
разработки плана производства работ используют следующие документы и материалы:
список
потребителей воды, продолжающих работу в особый период;
заявки
потребителей на восстановление водоснабжения с указанием максимальной величины
требуемой производительности и графика пользования водой;
техническую
и справочную документацию на поврежденные (пораженные) объекты водоснабжения;
ведомости
требуемых объемов работ на поврежденных водопроводных объектах в натуральном и
ценностном выражениях;
действующие
нормы затрат труда и заработной платы работающих, откорректированные с учетом
условий военного времени, показатели выработки строительных машин, механизмов и
оборудования, нормы расхода строительных и сантехнических материалов и
оборудования;
разрешение штаба ГО города на начало производства
работ с указанием даты, времени и уровня радиации в зоне на момент начала
работ.
15. При планировании работ по восстановлению
системы водоснабжения города следует ориентироваться в основном на собственные
сохранившиеся силы и средства, составляющие соответственно 75 и 70 % исходного
состава сил и средств формирований.
При наличии в городе строительных или
специализированных ремонтно-строительных организаций следует заблаговременно
выявить возможность привлечения их к работам по восстановлению элементов и
сооружений системы водопровода, запланировать и согласовать максимальный объем
выделенных системе водопровода подрядных сил и средств.
С целью ускорения подачи воды потребителям следует
предусматривать временное привлечение к восстановлению системы водоснабжения
всех слесарей-сантехников коммунально-технических служб, имеющихся в городе.
16.
Выполнение полного объема восстановительных работ на водопроводе и канализации
следует планировать на срок один год со следующей ориентировочной разбивкой по
этапам:
I - один месяц (в том
числе три - пять дней на специальные и неотложные аварийно-восстановительные
работы (СНАВР);
II - шесть месяцев;
III - один год.
К исходу первого этапа работ реализуемая
производительность водопровода должна составлять не менее 50 % ее
первоначального уровня; к исходу второго этапа - 100 % части, получившей
разрушение не более среднего, к исходу третьего этапа - 100 % ее
первоначального уровня. При этом в силу того, что система обслуживания города
является не производящим, а обслуживающим предприятием, очередность
восстановления объектов ее прежде всего должна диктоваться требованием
первоначального обеспечения водой наиболее ответственных потребителей,
функционирующих в военное время.
Наилучшим считается вариант восстановления
водоснабжения, при котором суммарный объем восстановительных работ является
минимальным независимо от степени поражения отдельных элементов
восстанавливаемой системы водоснабжения. В некоторых случаях предпочтение должно
быть отдано более дорогостоящему варианту, характеризующемуся, однако, в
рассматриваемых условиях простотой и высокой скоростью реализации.
17. При
планировании и проведении восстановительных работ, особенно на первом этапе,
следует ориентироваться на исключительное использование местных строительных
материалов, сохранившихся деталей и конструкций водопроводных и канализационных
сооружений и сетей, запасов оборудования, сантехнических и горюче-смазочных
материалов, имеющихся в распоряжении ПУВКХ.
С целью скорейшего восстановления водоснабжения
всех потребителей города в проектах восстановления следует широко использовать
временные и ускоренные методы и предусматривать применение упрощенных
технологий водоподготовки и водоочистки.
18. Для успешного проведения комплекса
восстановительных работ в системе водоснабжения в условиях военного времени
необходимо заблаговременно запланировать и осуществить ряд подготовительных
мероприятий:
оборудовать в городской зоне основной пункт
управления восстановительными работами сооружений и сетей водоснабжения и
водоотведения с обеспечением его необходимой проектно-справочной документацией
и средствами телефонной связи;
обеспечить ПУВКХ автономными передвижными
источниками электроснабжения различной мощности, специальными бензиновыми и
дизельными электростанциями (прил. 5);
построить и оборудовать в загородной зоне резервную
ремонтно-производственную бригаду (РПБ) ПУВКХ;
на РПБ загородной зоны создать резервы
строительных, сантехнических, электротехнических и горюче-смазочных материалов
и оборудования;
разработать и хранить на пунктах управления
предварительные планы проведения восстановительных работ на объектах и сетях
систем водоснабжения и канализации.
19. При планировании
восстановительных работ необходимо предусматривать концентрацию
материально-технических и трудовых ресурсов на объектах пусковых комплексов, а
также интенсификацию и максимально возможное совмещение во времени различных
строительных и монтажных работ. Следует увеличивать сменность выполнения тех
работ, от продолжительности которых зависит срок ввода объекта в эксплуатацию.
До начала
производства работ следует рассмотреть и решить вопрос о возможности подъезда
автотранспорта, машин и механизмов к восстанавливаемым объектам на сетях и
сооружениях систем водоснабжения и канализации.
Организация восстановительных работ
20. Все
работы по восстановлению пораженных объектов на сетях и сооружениях систем
водоснабжения и канализации выполняются коммунально-технической службой ПУВКХ
(КТС ВКХ) города, сформированной, главным образом, из числа работников
предприятия на базе имеющихся производственных мощностей, включая парк машин,
механизмов и приспособлений, станочный парк, запасы деталей и оборудования.
Во главе
КТС ВКХ стоит командование в составе начальника, главного инженера, начальника
штаба ГО и главного диспетчера. В составе службы сохраняется часть
подразделений ПУВКХ общего назначения (отдел кадров, бухгалтерия, абонентская
группа) и создаются новые или преобразуются старые подразделения.
Создаются
вновь группы - обеспечения безопасность проведения работ (ОБР), обследования
состояния объектов сети (ОС). Плановый, производственный и технический отделы
преобразуются в группу планирования и организации восстановительных работ
(ПОВР), оперативно-диспетчерская служба - в группу эксплуатации. На базе
существующих технических средств создаются группы средств механизации (СМ).
Расширяется
и укрепляется группа материально-технического обеспечения (МТО). Из персонала
эксплуатационной службы ПУВКХ, отдела капитального строительства и частично
группы СМ формируются основные группы восстановительных работ. В загородной
зоне на удалении 40 км от черты города в заблаговременно приспособленном
помещении организуется дублер городской РПБ с цехом централизованного ремонта
оборудования (ЦРО). Оснащение цеха необходимым оборудованием осуществляется
путем эвакуации его основной РПБ в особый период по команде штаба ГО области.
Обслуживание функционирующей части городской сети
осуществляется группой эксплуатации, созданной на базе оперативно-диспетчерской
службы ПУВКХ.
21.
Восстановительные работы в системе водоснабжения города следует производить с
помощью комплексных бригад, состоящих из рабочих различных профессий, что позволит
сократить сроки введения в строй соответствующих объектов системы
водоснабжения. Комплексные бригады должны иметь в своем составе машинистов
специальных и строительных машин, обслуживающих эти бригады. Число и состав
бригады зависят от вида, объема и сложности выполняемых работ.
Для
оперативного производства восстановительных работ целесообразно создание
комплексных специализированных бригад, оснащенных передвижными мастерскими на
автомашинах и автоприцепах, в частности, использование специальных автомашин
для аварийных работ. Передвижные мастерские должны быть оборудованы необходимым
инвентарем, механизмами, приспособлениями и инструментом для выполнения всех
видов работ.
Управление восстановительными работами
22. Производство восстановительных работ начинается
после соответствующего распоряжения командования КТС области и согласования его
с городским штабом ГО.
Начальник
КТС ВКХ города через главного инженера поручает группе ОС выявить состояние
всех объектов городской системы водоснабжения и водоотведения, степень и
характер разрушений. На основании данных технической разведки составляют
дефектную ведомость по всем поврежденным элементам систем водоснабжения и
канализации.
Одновременно
абонентская группа налаживает связь с абонентами (потребителями воды), выявляет
величины требуемых расходов воды, требуемые сроки ввода системы водоснабжения в
эксплуатацию.
23. На основании данных группы обследования группа
ПОВР разрабатывает план производства восстановительных работ в масштабе всего
ПУВКХ, подбирает необходимую техническую документацию по поврежденным объектам,
принимает решение об оптимальном варианте восстановления водоснабжения
потребителей, определяет потребности в силах и средствах, материалах и
оборудовании на каждом объекте, разрабатывает сокращенный проект производства
работ (ППР).
24. Группе МТО выдают задание на обеспечение групп
восстановительных работ необходимыми материалами и оборудованием (запасные
части, узлы, блоки, детали, изделия, агрегаты) согласно комплектовочным
ведомостям, разработанным группой ПОВР. Список недостающих в хозяйстве
материалов и комплектующих изделий передают начальнику КТС ВКХ города для
принятия окончательного решения о возможности их приобретения или способе
восстановления.
25.
Группа СМ осуществляет эксплуатационное обслуживание всего парка технических
средств (машин, механизмов, приспособлений). Состав группы СМ, как правило,
входит в состав специализированных и комплексных бригад группы ВР и имеет
двойное подчинение: административное - группе СМ и оперативное - группе ВР.
Характер и объем восстановительных работ, выполненных группой СМ, определяется
заданиями на производство работ, возлагаемыми на группу ВР.
Все работы по ремонту и восстановлению объектов
системы водоснабжения (водоотведения) проводятся как непосредственно на
объектах, так и централизованно на ЦРО в загородной зоне.
Все объекты, включенные в план восстановления,
разделяются на участки, которыми руководит старший производитель работ
(начальник участка), которому подчиняются производители работ и мастера.
Руководство каким-либо видом или комплексом работ осуществляет мастер, на
которого возлагается непосредственное руководство бригадами, расстановка
рабочих по рабочим местам. Мастер вместе с начальником участка подготавливает
наряды бригадам, измеряет и учитывает выполненные работы, участвует в сдаче
восстановленных объектов группе эксплуатации. Общее руководство работой
указанных подразделений осуществляется главным инженером, кроме того, в его
ведении находятся две группы подготовки производства (ОС, ПОВР).
26.
Начальник штаба ГО службы, в ведении которого находится группа обеспечения
безопасности производства работ, согласовывает все выходные материалы,
разрабатываемые группой ПОВР. Без указанного согласования материал считается
недействительным, отсутствующая подпись начальника штаба ГО может быть заменена
лишь подписью начальника КТС ВКХ города.
Начальник КТС ВКХ города подчиняется
непосредственно командованию КТС области. По распоряжению последнего он обязан
передавать часть своих формирований для работ на объектах других КТС города или
других городов области.
27.
Управление восстановительными работами организуется с использованием созданных
заблаговременно защищенных городских и загородных пунктов управления или при их
отсутствии - существующих диспетчерских пунктов по всем сохранившимся либо
созданным вновь каналам связи, а также с помощью имеющихся подвижных средств.
В
зависимости от масштаба городской территории целесообразно организовывать
несколько пунктов управления, один из которых считать центральным с размещением
в нем командования КТС ВКХ города с диспетчерским пунктом ВР, а остальные - для
размещения руководства различных групп ВР.
Порядок производства восстановительных работ
в системах водоснабжения и канализации города
28. Аварийно-восстановительные работы (АВР) в
первую очередь должны способствовать проведению спасательных работ в зоне
разрушения и должны быть направлены на обеспечение работы уцелевших и
действующих объектов водопровода и канализации, резервного оборудования, на
использование подземных водозаборов, источников энергопитания, а также на
локализацию и ликвидацию тех аварий, которые угрожают целостности водопроводных
и канализационных сооружений, вызывают затопление подвалов, убежищ и укрытий,
пониженных районов города, территорий промышленных предприятий, складов, а
также подходов и подъездов к ним.
Прежде
всего восстанавливаются те сооружения и коммуникации, без которых невозможно
обеспечить функционирование систем водоснабжения и. канализации города (или
отдельных его районов), например водозаборы, основные водоводы и коллектор и
т.д.
АВР
выполняют непосредственно после момента разрушения или повреждения объектов в
кратчайшие сроки, исчисляемые часами или сутками.
Так как АВР должен осуществляться в сжатые сроки и учитывая,
что восстанавливаемые по временной схеме объекты водопровода и канализации
будут работать (как временные) относительно короткий период времени, их
восстановление должно производиться упрощенными методами и способами с широким
применением местных строительных материалов и наличных средств механизации, по
техническим решениям, эскизно разрабатываемым или оперативно принимаемым на
местах, исходя из конкретных условий. Капитальное восстановление осуществляется
позднее и не входит в задачу АВР.
АВР в зоне разрушения проводятся в первую очередь
на объектах водоснабжения.
29.
Восстановление канализации может быть начато несколько позднее и приурочено к
моменту восстановления подачи воды в канализационные районы города в
количестве, обеспечивающем достаточную нагрузку канализационной сети и создание
в ней заполнений и скоростей, необходимых для ее действия.
30. АВР
следует выполнять, как правило, в последовательности, учитывающей возможность
частичного ввода в эксплуатацию отдельных технологических линий с тем, чтобы в
дальнейшем параллельно с эксплуатацией проводились работы по восстановлению
других сооружений.
При
производстве АВР с целью их ускорения необходимо учитывать, что отдельные
сооружения и оборудование водопровода и канализации могут работать по временным
схемам, а некоторые сооружения и оборудование в зависимости от климатических
условий, времени года и конкретной обстановки могут функционировать без
возведения капитальных зданий и сооружений (под навесами, во временных
строениях, в палатках и т.п.).
Для
выполнения АВР и эксплуатации сооружений и сетей при различных аварийных
положениях на всех объектах городского водопровода и канализации должны быть
созданы основные подразделения коммунально-технической службы из числа рабочих
и служащих предприятия. При больших объемах разрушений, большом объеме АВР и
срочном их выполнении к ликвидации аварий на объектах ВКХ надлежит привлекать
специализированные строительно-монтажные организации, которые придаются
временно или постоянно ПУВКХам и выполняют работы совместно с объектовыми
командами под руководством специалистов ПУВКХ.
В прил. 1 - 4 приведены
типовые штаты аварийно-технической команды, звена, а также группы
водопроводно-канализационных связей и оснащение их техникой.
Ниже
рассматриваются некоторые способы производства АВР по основным элементам и
сооружениям водопроводных и канализационных систем.
Водоснабжение
Водозаборные сооружения
31. Восстановление
сооружений для забора подземных вод. При частичном разрушении сооружений,
входящих в комплекс водозабора, для восстановления полной или частичной подачи
воды в город необходимо:
силами специализированной буровой бригады
произвести ремонт повреждений обсадных труб путем подварки или замены верхней
части этих труб, очистку скважин от упавшего водоподъемного оборудования или
других предметов (например, строительного мусора, упавшего инструмента);
оборудовать скважину погружным насосом с подводкой
к нему электроэнергии.
32. В
случае выявления больших повреждений на скважине и невозможности ее
восстановления скважина подлежит обязательному тампонажу (ликвидации). При этом
водоносные слои засыпают фильтрующим материалом - гравием, щебнем, а
водоупорные слои - глиной со щебнем или заливают цементным раствором 1:3 - 1:4.
33. Тампонаж скважин, не подлежащих восстановлению,
является обязательной санитарной мерой, предохраняющей водоносный горизонт от
загрязнения; производится под наблюдением санитарных органов (СЭС).
34. При восстановлении работы ранее бездействующих
отдельно стоящих скважин по требованию санитарного надзора может быть
организовано временное обеззараживание подаваемой воды из отдельных скважин
путем применения жидкого хлора, нейтрального гипохлорита кальция (НГК) или
хлорной извести.
35. В
условиях отсутствия в пострадавшем городе или населенном пункте электроэнергии
для обеспечения ею водоподъемного оборудования можно использовать передвижные
электростанции различных типов - ЖЭС-30, ЖЭС-60, ПЭС-15, ПЭС-60, ПЭС-100 или
двигатели внутреннего сгорания (прил. 5).
36. Восстановление
оголовка. При полном разрушении оголовка в первую очередь необходимо
проверить возможность забора воды через сохранившуюся часть самотечных труб с
укреплением их в случае необходимости сваями, каменной обсыпкой или другим
способом.
37. Для защиты от подсасывания грунта, рыбы или
попадания в самотечные трубы посторонних предметов можно рекомендовать
следующие мероприятия:
в конец сохранившейся самотечной трубы на длину 0,5
- 0,8 м вводится кусок стальной трубы соответствующего диаметра с приваренным к
нему коленом того же диаметра и патрубком, направленным вверх и в сторону (вниз
по течению реки). Отверстие патрубка защищается металлическими прутками,
направленными вертикально снизу вверх, для возможности их периодической
прочистки с лодки или со льда обычными граблями;
на конец самотечной трубы можно опустить ряжевый
ящик, рубленный из пластин и бревен, загруженный камнем и снабженный окнами или
щелями для приема воды на более высоком уровне от дна или сверху. Ящик обсыпают
с тыловой стороны камнем.
38. Восстановление
самотечных и всасывающих трубопроводов. Работы по замене поврежденных труб
при небольшой глубине реки производятся в шпунтовом ограждении с непрерывной
откачкой воды. Работы при значительной глубине производят водолазы.
Перед
принятием решения о восстановлении поврежденного водозабора следует рассмотреть
вопрос о его целесообразности, применив устройство упрощенного водозабора в
виде выпуска труб в реку на сваях с присоединением их к всасывающим трубам
насосов 1 подъема, минуя колодец.
39. Восстановление
береговых колодцев. При восстановительных работах по береговым колодцам
заделывают трещины, пробоины в стенах, перекрытии и ставят внутри сооружения
дополнительные крепления (ригели, рамы).
При
повреждениях берегового колодца, сопровождающихся утечкой воды, следует
соединить всасывающие трубы с самотечными, для чего: на тройники всасывающего
стояка ставят заглушку или задвижку; донный клапан закрывают; открывают
задвижку на трубопроводе, соединяющем всасывающую линию насосов 1 подъема с
самотечными линиями.
Если
береговой колодец разрушен и реконструкция трубопроводов в нем невозможна, то
для соединения всасывающих линий с самотечными прокладывают обводную линию.
Насосные станции
40. При разрушении или сильном повреждении насосной
станции 1 подъема, сопровождающемся повреждением насосного оборудования,
целесообразно до ее полного восстановления использовать в качестве водозаборных
и водоподъемных сооружений временные стационарные или передвижные насосные
станции.
41. Устройство временных береговых насосных станций
возможно осуществить одним из следующих способов:
при крутом береге и достаточной глубине реки - на берегу
во временной будке на металлической свайной или деревянной раме устанавливают
насос с забором воды гибким шлангом, конец которого подвешен к поплавку, спущен
в воду и снабжен защитным дырчатым колпаком. Для того чтобы не забирать воду
около берега, следует предусмотреть удлинение шлангов, выдвигаемых в реку. Ось
насосов следует располагать с учетом высоты всасывания при наинизшем уровне
воды в водоеме;
при пологом береге - насос устанавливают в будке на
свайном помосте, выдвинутом в реку, со всасывающей трубой, спущенной
вертикально вниз. В этом случае следует предусматривать защиту электромоторов и
электротехнического оборудования от заливания водой и производить околку льда в
месте погружения всасывающих труб в воду.
42. Плавучие насосные станции монтируются в
зависимости от местных условий на барже, катере, поплавках или на понтонах. Эти
плавучие насосные станции могут отбуксироваться катером в заранее выбранное
место, где закрепляются якорями и растяжками. При отсутствии электроэнергии
насосы могут приводиться в действие от вала отбора мощности трактора, через
карданный вал автомобильного типа или двигателя другого типа. Соединение насоса
с напорными и всасывающими трубопроводами производится с помощью гибких
шлангов. На месте установки насоса и двигателя устраивается закрытое помещение
легкого типа. Здесь же, на плавучей насосной станции, монтируется временная
установка для хлорирования воды и в специальной емкости хранится запас
горючего.
43. Для
устройства напорных линий от передвижных насосных станций в зависимости от
производительности и напора насосов используются пожарные, резинотканевые и
резинотканевые с металлической спиралью рукава, а также стальные трубы.
44. При
повреждении зданий и оборудования насосных станций рекомендуются следующие работы:
при
повреждении перекрытий станций и сохранившихся стенах для предотвращения угрозы
обрушения необходимо поставить подпорки в виде деревянных или металлических
стоек и колонн;
если
стены сильно ослаблены и имеют большие трещины и проломы, то их крепление может
быть осуществлено с помощью каркаса из швеллеров;
при
расположении агрегатов в подземной поврежденной части станции следует принять
меры к обеспечению водонепроницаемости днища. Следует также предусмотреть
откачку просачивающейся воды.
45. При восстановлении
разрушенных коммуникаций при отсутствии каналов и лотков в полу машинного зала
можно размещать трубопроводы и задвижки по полу или стенам, учитывая при этом,
чтобы временное размещение насосов и трубопроводов не помешало впоследствии
проведению капитально-восстановительных работ.
Число
устанавливаемых задвижек у насоса может быть принято равным одной - на напорной
линии, если его ось расположена выше уровня воды в резервуаре. Если насос
установлен под залив, то необходимо ставить задвижку и на всасывающей линии.
Очистные сооружения
46.
Основным первоочередным мероприятием при производстве АВР на существовавших или
устраиваемых новых временных очистных сооружениях является организация
обеззараживания сырой воды.
Подача в
водопроводную сеть воды без ее предварительного обеззараживания допускается
только для воды из подземных источников с разрешения органов санитарного
надзора.
47. Реагентное
хозяйство. При выходе из строя реагентного хозяйства затворные и растворные
баки могут быть заменены любыми деревянными баками, бочками или ящиками,
обмазанными цементным раствором толщиной слоя 1,5 - 2 см.
48. В отдельных случаях возможен перенос временного
реагентного хозяйства на станцию 1 подъема, где подача реагента производится во
всасывающую трубу насоса. Такое решение особенно целесообразно при разрушении
смесителя. При этом длина участка трубы, используемого в качестве смесителя,
должна быть равна или больше 50 диаметров трубопровода.
49. Основные
технологические сооружения. При частичном разрушении отстойников возможны
следующие исправления:
замена
кольцевых железобетонных переливных желобов в вертикальном отстойнике на
деревянные, располагаемые радиально или в виде квадрата и шестиугольника;
замена
поврежденной центральной железобетонной трубы отстойника деревянной (круглой
или квадратной) или отрезком стальной трубы;
большие
проломы и трещины в стенах резервуаров заделывают каменной или кирпичной
кладкой, бетоном или железобетоном.
Аналогично
производят заделку трещин в днищах и стенках отстойников и фильтров.
50. При
полном разрушении отстойников вода, не содержащая бактериальных и других
вредных веществ, может быть подана прямо на фильтры.
На время
паводка могут быть выстроены временные земляные горизонтальные отстойники по
типу пожарных водоемов, с легкими перекрытиями (для работы в теплое время
года), с устройством распределительных желобов и колодцев для впуска и выпуска
воды.
51. При
восстановлении безнапорных труб и каналов можно применять деревянные лотки,
устанавливая на них в качестве запорной арматуры деревянные щиты и шибера.
52.
Восстановление крупных сильно поврежденных водоочистных станций - процесс
длительный и трудоемкий. Поэтому необходимо при наличии в городе подземных вод
максимально использовать их для водоснабжения путем использования имеющихся
скважин, а также бурения новых. При отсутствии подземных вод по согласованию с
санитарными органами следует ограничиваться подачей сырой воды, обеззараженной
хлором.
53. Если
город сильно разрушен и водопотребление в прежнем объеме не требуется,
целесообразно построить временные водоочистные сооружения или восстановить
только часть существующих для работы по временным схемам. При этом, как
правило, следует предусматривать хлорирование, коагулирование, отстаивание и
фильтрацию воды.
Обеззараживание воды и сооружений водопровода
54. Для
дегазации и дезинфекции местности, зданий и сооружений в основном применяют
химические способы с использованием растворов или сухих дегазирующих и
дезинфицирующих веществ, для дезактивации - механические способы: смыв,
сметание, снятие зараженного слоя грунта.
В
условиях водоочистных станций чаще всего применяют жидкий или газообразный
хлор, хлорную известь, НГК, едкий натр, хлорамин и другие вещества.
55. Помимо
обеззараживания воды на очистных сооружениях дополнительное хлорирование воды
может явиться необходимым (по требованию санитарной службы) на резервуарах,
расположенных по городской территории и вне ее, на временных водозаборах,
передвижных насосных станциях и др.
56. При
подаче воды в сеть насосами первого подъема хлор следует вводить перед насосом.
При этом раствор хлорной извести или гипохлорита кальция может подаваться
непосредственно во всасывающую трубу насоса, газообразный хлор должен предварительно
растворяться в воде и дозироваться в виде хлорной воды.
Примечание. Подачу хлора во всасывающую трубу можно
производить только временно на срок 3-5 сут. во избежание порчи насоса из-за
его коррозии хлором.
Использование гипохлорита кальция, хлорной извести
и жидкого хлора, его эксплуатация и хранение должны производиться в строгом
соответствии с действующими правилами безопасность при эксплуатации
водопроводно-канализационньгх сооружений.
Водоводы
57. В первую очередь восстанавливаются наиболее
сохранившиеся нитки водоводов, которые можно использовать для подачи воды,
путем соединения их через сохранившиеся перемычки или обводные линии.
Восстановление водовода проводят отдельными участками, начиная с того конца,
откуда восстанавливаемый водовод может заполняться водой для проведения
гидравлического испытания восстановленного участка.
При
восстановлении водоводов из чугунных труб все поврежденные участки труб
выбрасывают и на их место укладывают новые.
Если нет
труб того же диаметра, то укладывают имеющиеся близкие по диаметру трубы. Для
возможности их укладки ставятся заготовленные на месте стальные переходы или
соединения по типу, указанному на рис. 8.
58. Для чеканки раструбов чугунных труб применяют
асбестоцемент и серосплав. Состав серосплавов приведен в прил. 6. Для асбестоцемента обычно применяют
быстросхватывающийся цемент. Несмотря на это, заделанные асбестоцементом
раструбы требуют выдержки в течение двух суток. Водовод, смонтированный на
серосплаве, может быть пущен в эксплуатацию немедленно.
59. Все
расстроенные стыки расчеканиваются и заделываются вновь. Осмотр и переделку
стыков на водоводе необходимо производить по обе стороны от места поражения до
тех пор, пока не встретятся неисправные стыки и трубы.
60.
Вместо поврежденных единичных труб укладывают новые. Соединение вновь уложенной
трубы с существующим трубопроводом производится с одного конца - в раструб
трубы, а с другого - с помощью проходной надвижной муфты (см. рис.
7).
61.
Наибольшие продольные и поперечные трещины в трубах, которые не увеличиваются
от удара молотка при простукивании, заделываются постановкой на резине складной
муфты на болтах или накладки с установкой хомута, в зависимости от длины
трещины (см. рис. 4, 5).
62.
Поврежденные фасонные части, задвижки и другую арматуру выбрасывают и на их
место устанавливают куски труб; вантузы для выпуска воздуха в случае их
повреждения должны ремонтироваться и устанавливаться на место; до окончания
ремонта на их место должны устанавливаться вентили для выпуска воздуха при
пуске в эксплуатацию поврежденного водовода.
63. В
процессе проведения восстановительных работ на стальных водоводах проводятся
следующие мероприятия:
образовавшиеся
на стальных трубопроводах продольные трещины, отдельные пробоины в теле труб
подлежат заварке, поврежденные стыковые соединения перевариваются;
трубы,
приведенные в негодное состояние, заменяют. При отсутствии труб необходимого
диаметра допускается временная разборка части одной нитки водовода для ремонта
другой. Во всех случаях, когда производится вставка нового участка труб,
следует тщательно устанавливать и центрировать концы вновь устанавливаемой
трубы, и лишь убедившись в правильности установки, следует приступать к сварке.
64. Для
производства восстановительных работ могут быть рекомендованы следующие
механизмы:
для разборки завала и выемки обломков труб из
воронки - автокраны грузоподъемностью 3 - 5 т с любой длиной вылета стрелы;
для разборки усовершенствованного дорожного
покрытия, рыхления мерзлого грунта и разбивки глыб в завале - отбойные молотки
с передвижными компрессорами;
для
откачки воды - насосы, установленные на специальных машинах типа АВМ-1, АРВМ-2,
изготовляемых заводом «Водмашоборудование» Минжилкомхоза РСФСР, а также
диафрагмовые передвижные насосы типа «Атлантик», изготавливаемые заводом
«Мосводоприбор» и Елецким механическим заводом, и другие передвижные или временно
устанавливаемые насосы;
для
раскопки грунта на месте повреждения труб - одноковшовые экскаваторы типа
«Комсомолец» и «Беларусь» с емкостью ковша 0,25 м3.
65. До
пуска водовода в эксплуатацию он должен быть промыт водой и продезинфицирован
хлором.
Участок
водовода промывают водой до полного удаления запаха хлора. Обычно при
дезинфекции участок трубопровода заполняют хлорной водой с концентрацией 25
мг/л и выдерживают 24 ч.
Водопроводные сети и колодцы
66. АВР
на водопроводных сетях и колодцах проводятся для:
восстановления
пропускной способности трубопроводов и обеспечения подачи воды на
хозяйственно-питьевые и промышленные нужды к наиболее важным объектам города, а
также на тушение пожаров;
предупреждения
и ликвидации угрозы затопления убежищ и подвалов, участков дорог и проездов,
размыва дорожного полотна и затопления пониженных районов города;
обеспечения
спасательных работ в очаге поражения.
67.
Повреждение водопроводной сети может быть вызвано прямым разрушением отдельных
участков (раздробление и разрыв труб), расстройством стыковых соединений,
образованием вмятин, свищей, продольных и поперечных трещин и пробоин в стенах
труб, разрушением или повреждением смотровых колодцев, камер переключения и
повреждением фасонных частей и арматуры (задвижек, вентилей, вантузов, пожарных
гидрантов, водозаборных колонок, обратных клапанов и т.д.), установленной на
сети. В зимнее время возможны случаи размыва трубопроводов и арматуры на
замерзших участках сети.
68. При изливе воды из разрушенных участков сети
необходимо: отключить поврежденный участок с помощью задвижек, установленных в
смотровых колодцах, а при разрушении колодцев и порче задвижек - путем
постановки герметических заглушек и пробок на концах разрушенного трубопровода;
ликвидировать угрозу затопления близлежащих районов путем устройства временных
земляных валов, отводных каналов, лотков или перепускных труб для удаления
поступающей воды в близлежащие канализационные и водосточные колодцы,
естественные впадины (балки, овраги) или соседние улицы и проезды, где
опасности затопления не возникает; откачать воду передвижными насосами для
осушения места аварии и произвести ремонт разрушенного участка сети.
69.
Снабжение потребителей водой при отключении разрушенного участка осуществляется
по закольцованным участкам сети или организованной раздачей в ручную тару.
Необходимые
переключения на сети производятся аварийно-технической командой (группой,
звеном), прибывшей на место аварии и имеющей у себя схему водопроводно-канализационных
сетей.
70. При
невозможности подачи воды по существующим линиям в обход разрушенного участка и
невозможности быстрого восстановления отключенной линии необходимо произвести
отрытие труб в наиболее доступных местах (при минимальном объеме работ по
расчистке завалов и обрушений) с обеих сторон места аварии, врезать или
установить фасонные части, между ними проложить временную обводную линию. Для
ускорения работ обводную линию можно проложить по поверхности земли, защитив ее
от механического повреждения, и выполнить ее из резинотканевых шлангов или
пожарных рукавов, а также из стальных труб. Обводная линия может быть
присоединена к стендерам, установленным на пожарные гидранты, расположенные по
обе стороны от места разрушения. При длительном пользовании в зимнее время
обводную линию необходимо утеплить.
71.
Соединить чугунные трубы между собой можно путем заделки раструбных стыков
смоляной прядью и зачеканивая асбестоцементом или быстросхватывающимися
серопесчаными сплавами, а гладкие концы труб - путем постановки надвижной муфты
(состав серосплава приведен в прил. 6).
72. При отсутствии надвижных муфт кладку чугунных
труб (см. рис. 7) производят следующим образом: необходимое число
труб укладывают с незаделанными стыками на подпорки разной высоты (трубы
ложатся в виде пологой арки с углом поворота между осями труб не более 1°).
Затем подпорки постепенно снимают (пока трубы не примут горизонтального
положения), и после этого раструбы труб заделывают обычным способом.
73. При
укладке стальных трубопроводов концы труб соединяют путем газо- или
электросварки или на фланцах.
74.
Соединение труб разных диаметров при отсутствии стандартных фасонных частей
можно производить при помощи упрощенных сварных переходов (см. рис.
8) или при помощи деревянных клиньев, плотно забиваемых в зазор между
концами вставленных одна в другую труб и закрепленных упорным хомутом из
полосового железа, установленного на трубе меньшего диаметра (см. рис.
10).
75. При соединении труб разных диаметров при помощи
заливки стыков серопесчаным составом порядок работы и способы соединения
следующие:
на конец трубы меньшего диаметра наматывают проволоку или
смоляную прядь для предохранения от выпирания внутрь трубы конопатки;
трубу вставляют на глубину 2 - 3
диаметров меньшей трубы, но не более 60 см;
производится конопатка смоляной
прядью, причем первый виток делается крепко скрученным и туго входящим в зазор,
каждый виток конопатится сильнее;
по окончании конопатки заливают
стык серопесчаным сплавом;
при заборе более 20 мм и трубе
диаметром 400 мм и более заливку следует закрепить от выпирания стяжным хомутом
из полосового железа.
76.
Стальные трубопроводы, укладываемые в землю или по поверхности, необходимо
покрыть битумной грунтовкой или другим антикоррозионным составом.
77.
Отогрев замерзших участков труб следует производить горячей водой или паром от
передвижных паровых котлов или электрообогревателей. В последнем случае для
стальных труб можно использовать сварочные аппараты, заменив в них лишь
амперметр, поскольку отогрев рекомендуется при напряжении 10 В и силе тока
около 600 А.
78. До
пуска в эксплуатацию новый участок трубопровода должен быть промыт водой и продезинфицирован
хлором.
79.
Работы по устранению небольших повреждений и заделке мест утечек заключаются в
ремонте раструбных и сварных соединений, сетевой арматуры и заделке трещин.
Течи в
раструбных сетях устраняются подчеканкой стыка свинцом или быстротвердеющими
составами (цемент, асбесбестоцемент, серосплав); сварные стыки, свищи и трещины
на стальных трубопроводах - путем заварки их газо- и электросваркой и
наложением приварных заплат; небольшие продольные и поперечные трещины на
чугунных, асбестоцементных и стальных трубах могут быть заделаны путем
установки металлических накладок с резиновыми прокладками. Накладки плотно
прижимают к трубе хомутами (см. рис. 4, 5);
поврежденная сетевая арматура (задвижки, вентили, гидранты и др.) подлежат
замене или ремонту. При отсутствии исправной арматуры вставляются патрубки,
соединяемые с трубой на фланцах или сваркой.
80.
Колодцы и камеры переключения на сети очищают от завалов, разрушений, мусора и
поврежденных фасонных частей и арматуры. В зависимости от местных условий
восстановление колодца может быть полным или частичным:
стенки и
днища восстанавливают из бетона, кирпича или дерева;
разбитый
чугунный люк заменяют временной деревянной крышкой;
отключаемые
в колодцах и камерах ответвления при поврежденной арматуре закрывают приварными
заглушками или пробками;
при
повреждении вантузов необходимо установить вентили или задвижки с последующей
заменой их вантузами.
Водонапорные башни и резервуары
81. Водонапорные башни и резервуары
(контррезервуары) служат для регулирования требуемых напоров воды и подачи ее в
сеть в соответствии с режимом водопотребления. Кроме того, они являются
емкостями для хранения некоторых запасов воды.
82. При
повреждениях водонапорных башен и резервуаров очередность проведения АВР
устанавливается с учетом их значения в общей схеме водоснабжения. В первую
очередь восстанавливаются те емкости, которые расположены вблизи действующих
очистных сооружений, насосных станций, важных потребителей воды и регулируют
режим водопотребления данного района, а также те емкости, к которым сохранились
подающие трубопроводы.
83.
Характер и объем АВР зависит от степени разрушения емкостей и конструктивных
особенностей сооружения.
При
сильном разрушении и большой трудоемкости АВР сооружения отключаются от
водопроводной сети путем устройства или задействования обводных линий. При
разрушении внешних коммуникаций они отключаются от сети для сохранения запасов
воды.
Канализация
84.
Неотложные и первоочередные мероприятия должны предусматривать частичное
восстановление эксплуатации канализационной системы для обеспечения спуска
сточных вод с наиболее важных для жизни города объектов (промпредприятий,
хлебозаводов, пунктов санитарной обработки людей) и предотвращение затопления
отдельных объектов территории города.
Канализационные сети и коллекторы
85. Производство АВР по возобновлению пропускной
способности разрушенных и поврежденных канализационных сетей и коллекторов
осуществляется: восстановлением разрушенных участков по старым трассам;
прокладкой труб по новым трассам в обход разрушенного участка.
86. Для
восстановления пораженных участков сети применяются в зависимости от наличия
железобетонные, асбестоцементные, керамические, чугунные и металлические трубы.
87.
Замену поломанных труб в местах просадки грунта, а также ликвидацию засоров с
заменой отдельных звеньев труб и восстановлением стыковых соединений следует
производить в открытых траншеях, предварительно установив места требуемых
разрытии с помощью проволоки, протаскиваемой из колодцев до перелома или
засора.
88. В отдельных случаях заделку мелких трещин в
бетонных трубах можно выполнять их конопаткой просмоленной прядью или
мешковиной с покрытием снаружи цементным раствором. Пробоины, особенно мелкие,
можно заделывать деревянными пробками или клиньями.
89.
Устранение повреждений в напорных металлических трубопроводах следует
производить так же, как и для водопроводных труб.
90. При
повреждении или разрушении смотровых колодцев допускается восстановление не
всех колодцев на поврежденном участке сети, а через один-два колодца, заменив
их для пропуска стоков вставками из труб.
91. Для
ликвидации засоров на сети следует использовать обычные способы и
приспособления: проволоку, шланги, спиральный вал, подмыв водой под напором из
нижнего колодца; при невозможности ликвидации засоров указанными способами
следует произвести разрытие траншеи над местом засора и заменить
соответствующие секции труб новыми.
92. Для
устройства обводных линий могут быть применены следующие материалы: трубы
стальные, чугунные, асбестоцементные, железобетонные; деревянные короба и лотки
прямоугольного и трапецеидального сечения размером не менее 15´15 см из звеньев длиной 2 - 4 м. Отдельные звенья коробов и
лотков могут иметь сборно-разборные соединения. Места соединений должны
герметизироваться глиняным замком слоем не менее 30 см.
93. Для отведения сточных вод в отдельных случаях
могут быть использованы дорожные кюветы и лотки, земляные каналы с укреплением
дна и откосов досками против размыва грунта.
Насосные станции
94.
Насосные станции являются важным звеном в системе канализации по отводу
поступающих сточных вод и должны восстанавливаться в числе первоочередных
объектов.
95. При восстановлении
разрушенных коммуникаций в случае отсутствия каналов и лотков можно размещать
трубопроводы и задвижки по полу или стенам. Одновременно надо учитывать, что
временное размещение насосов и трубопроводов не помешало в последствии
проведению капитальных работ.
96. АВР
на канализационных насосных станциях должны проводиться оперативно с
привлечением средств механизации и в увязке с другими мероприятиями по
восстановлению канализации города или объекта в целом.
В случае,
если повреждены сооружения по подаче электроэнергии, необходимо решить вопрос о
возможности получения-электроэнергии от другого источника или использовать
двигатели внутреннего сгорания и передвижные электростанции.
97.
Насосные станции должны иметь аварийные выпуски, закрытые и опломбированные в
мирное время.
Очистные сооружения
98. При выходе из строя части сооружений они
выключаются из работы, и сточная жидкость по отводным лоткам и каналам
передается на сохранившиеся сооружения, которые временно будут работать с
перегрузкой, или по согласованию с санитарными органами сбрасывается в водоем.
IV. РЕКОМЕНДУЕМЫЕ ТЕХНИЧЕСКИЕ РЕШЕНИЯ
ПРИ ПРОИЗВОДСТВЕ АВР
99.
Технические решения по производству АВР принимаются на месте, исходя из
конкретных условий и выполняются по эскизам и схемам, составляемым, как
правило, специалистами ПУВКХ или проектных организаций с использованием
имеющейся исполнительной технической документации и технических решений,
вытекающих из опыта ликвидации аварий, возникающих в обычных условиях
эксплуатации.
100. Учитывая
разнообразный характер разрушений водопроводных и канализационных сооружений,
сетей и отдельных узлов, рекомендуются следующие технические решения по
некоторым основным видам аварийно-восстановительных работ:
устройство
временного обводного трубопровода путем присоединения его через тройник на
сохранившемся участке сети (рис. 1);
устройство
обводной линии в обход разрушенного участка с присоединением ее через пожарные
гидранты (рис. 2);
устройство
упрощенного стендера для присоединения обводных линий (рис. 3);
схема
заделки продольных трещин на чугунных и стальных трубопроводах (рис.
4);
способы
заделки поперечных трещин на стальных и чугунных трубах (рис. 5);
заделка
повреждения трубопроводов обмоткой брезентом или только в 6 - 8 слоев с
покрытием поверху кровельным железом и постановкой хомутов (рис.
6);
способ замены поврежденных труб на ремонтных муфтах (рис. 7);
способы соединения труб различных диаметров (рис.
8);
заглушение концов труб диаметром до 600 м (рис.
9);
соединение труб различных диаметров с помощью деревянных клиньев
и заделка труб при помощи серопесчаного сплава (рис. 10, прил. 6).
101. На резервуарах чистой воды рекомендуется провести
защитные мероприятия:
резервуары, предназначенные для раздачи воды в передвижную
тару, должны быть герметизированы и оборудованы спецвентиляцией -
фильтрами-поглотителями (ФП). При опорожнении резервуаров в них через
вентиляционные стояки происходит интенсивное засасывание наружного воздуха,
который может быть заражен, через воздух будет заражена вода, а следовательно,
и население. Для предотвращения этого следует установить ФП. Схема забора воды
мотопомпами из резервуаров, оборудованных ФП, приведена на рис.
11;
воду, собранную в резервуаре, не следует спускать в
разрушенную водопроводную сеть, а выдавать населению путем наполнения ею
передвижной тары. Воду из резервуара получают через временно установленный
пожарный гидрант с помощью мотопомпы;
одновременно с установкой ФП следует производить герметизацию
неиспользуемых вентиляционных стояков путем установления заглушек (рис. 12).
102. Рекомендуемые технические решения при производстве АВР
на канализационных сетях по устройству перепуска сточной жидкости приведены на рис. 13, 14, а откачка ее в отводной желоб -
на рис. 15.
Схемы устройства простейшего водозабора и водоочистной
установки, а также фильтра и простейшего фильтра приведены на рис.
16 - 19.

Рис. 1. Устройство присоединения временного обводного
трубопровода
через тройник на сохранившемся участке сети
1 - засыпка местным грунтом; 2 -
патрубки Д = 50 мм с соединительной головкой;
3 - обводной трубопровод; 4 - начало поврежденного участка
трубопровода

Рис. 2. Схема временного
водоснабжения. Устройство временной линии в
обход разрушенного участка с присоединением ее через ближайшие
гидранты
1 - стендеры; 2 - открытые задвижки;
3 - пожарные гидранты;
4 - пожарный рукав; 5 - заглушки

Рис. 3. Специальный упрощенный
стендер
1 - рукоятка ключа; 2 - крышка
сальника; 3 - набивка сальника; 4 - направление для штанги ключа
из газовой трубы и полосового железа; 5 - стальная труба Д = 125 мм;
6 - ключ на квадрате гидранта; 7 - резьба под головку пожарного
гидранта; 8 - патрубок Д = 100 мм

Рис. 4. Схема заделки продольных трещин на чугунных
и стальных трубопроводах
1 - стальная или чугунная труба; 2 -
резиновая прокладка толщиной 5 - 10 мм;
3 - листовая сталь толщиной 2 - 3 мм; 4 - скрутка из мягкой
стальной
проволоки; 5 - хомут из стали толщиной 5 мм и болт М12

Рис. 5. Схема заделки поперечных
трещин на чугунных и стальных
трубопроводах
1 - резиновая прокладка; 2 - хомут
из листовой и полосовой стали; 3 - просмоленный канат;
4 - чеканка асбестоцементной смесью или цементным раствором;
5 - поперечная трещина на стыке; 6 - обмотка просмоленным канатом

Рис. 6. Схема заделки поперечных
трещин брезентом или толью в 6 - 8
слоев с покрытием поверху кровельным железом с постановкой хомутов
1 - брезент (при обмотке покрывается
гудроном); 2 - кровельное железо;
3 - обмотка из брезента; 4 - хомуты

Рис. 7. Схема замены поврежденных
труб с помощью ремонтной муфты
1 - ремонтная муфта; 2 - засыпка
местным гравием; 3 - козлы; 4 - подсыпка песком

Рис. 8. Схема соединения труб
разных диаметров при помощи сварного
перехода
1 - стальной фланец; 2 - кольца из
стальной трубы или полосовой стали толщиной 6 - 10 мм;
3 - просмоленные канаты; 4 - чеканка асбестоцементной смесью или
цементным раствором;
5 - болт; 6 - зазор 10 - 12 мм; 7 - сварка на монтаже; 8
- уголки 100´10;
9 - отверстие Д =1 8 мм под болт М16; 10 - сварка на монтаже шва
6 мм

Рис. 9. Схема заглушения концов
труб диаметром до 600 мм
1 - шар из кордовой резины; 2 -
анкерные болты; 3 - деревянные пробки;
4 - хомуты из полосового железа

Рис. 10. Схема соединения труб
разных диаметров с помощью деревянных
клиньев и заделка труб серопесчаным сплавом
1 - хомут из полосового железа; 2 -
хомут для закрепления клиньев;
3 - конопатка просмоленной прядью; 4 - заливка сернистым сплавом;
5 - основной клин; 6 - вспомогательный клин; 7 - концы
клиньев (обрезать)

Рис. 11. Схема забора воды
мотопомпами из резервуаров, оборудованных
фильтрами-поглотителями
1 - камеры фильтров-поглотителей; 2 -
камера с пожарным гидрантом и задвижкой на
отводящей трубе; 3 - место для мотопомпы; 4 - переливной
трубопровод;
5 - подводящий трубопровод

Рис. 12. Схема установки заглушки
на вентиляционной асбестоцементной
трубе на существующих (старой серии) резервуарах
1 - трубы; 2 - кольцо; 3 -
фланец; 4 - крышка; 5 - ушко; 6 - накладка;
7 - болт; 8 - рейка; 9 - шайба пружинная; 10 -
проволока

Рис. 13. Схема замены поврежденных труб новыми на
канализационных
сетях для устройства перепуска сточной жидкости
1 - канализационная сеть; 2 - козлы
(засыпаются); 3 - воронка; 4 - граница раскопки;
5 - подсыпка песком; 6 - засыпка местным грунтом

Рис. 14. Временная
схема перепуска стоков из одной сети в другую
1 - фекально-хозяйственная сеть; 2 -
промышленная сеть; 3 - колодцы на сети;
4 - пробка; 5 - перепуск; 6 - разрушения

Рис. 15. Схема откачки сточных вод
в обводной желоб
1 - насос; 2 - желоб; 3 -
колодцы на сети; 4 - разрушенная часть коллектора;
5 - отвал; 6 - труба

Рис. 16. Схема простейшего
водозабора
1 - плот; 2 - насос; 3 -
шланг или труба; 4 - временная хлораторная; 5 - стальная труба;
6 - место врезки в существующий трубопровод; 7 - существующий
трубопровод;
8 - передвижная электростанция

Рис. 17. Водоочистная установка,
развернутая на рабочей площадке
1 - фильтр; 2 - поглощающий колодец;
3 - сливная коммуникация;
4 - резервуары-отстойники; 5 - реагенты; 6 - рабочие коммуникации;
7 - насос 1 подъема; 8 - водозабор; 9 - обводная линия;
10 - насос 2 подъема; 11 - резервуар чистой воды

|

|
Рис. 18. Фильтр
|
Рис. 19. Схема устройства
простейшего фильтра
|
1 - верхний кран; 2 - манометр; 3 - кран для спуска
воздуха;
4 - съемная крышка; 5 - корпус фильтра; 6 - отмытый
песок;
7 - отмытый гравий; 8 - верхняя дренажная плита; 9 -
активированный уголь;
10 - нижняя дренажная плита; 11 - нижний кран; 12 -
днище фильтра
|
1 - бочка; 2 - вода; 3 - речной или карьерный
песок;
4 - ткань; 5 - гравий; 6 - кран
|
ПРИЛОЖЕНИЯ
ПРИЛОЖЕНИЕ
1
ПРИМЕРНЫЙ ТИПОВОЙ ШТАТ
ВОДОПРОВОДНО-КАНАЛИЗАЦИОННОЙ
АВАРИЙНО-ТЕХНИЧЕСКОЙ КОМАНДЫ, ЧЕЛ.
Управление
Командир команды - инженер (начальник
района, участка, бригады)
|
|
1
|
Зам. начальника команды по
политчасти
|
|
1
|
Санинструктор-дозиметрист
|
|
1
|
Мотоциклист-связной
|
|
1
|
Связной
|
|
1
|
Шофер
|
|
1
|
|
Итого
|
6
|
Звено аварийно-технической разведки
Командир звена - техник
|
|
1
|
Дозиметрист
|
|
1
|
Рабочий - слесарь-сантехник
|
|
4
|
Подсобный рабочий
|
|
2
|
Газосварщик
|
|
1
|
Шофер
|
|
1
|
|
Итого
|
10
|
Аварийно-техническая группа
Командир группы - техник
|
|
1
|
Дозиметрист
|
|
1
|
Газосварщик
|
|
1
|
Связной
|
|
1
|
Шофер
|
|
3
|
|
Итого
|
7
|
Аварийно-техническое звено (в группе 3)
Командир звена - старший мастер
|
|
1
|
Рабочий - слесарь-сантехник
|
|
5
|
Подсобный рабочий
|
|
3
|
|
Итого
|
9
|
|
Итого в трех звеньях
|
27
|
Звено механизации
Командир звена - техник
|
|
1
|
Тракторист
|
|
1
|
Экскаваторщик
|
|
1
|
Бульдозерист
|
|
1
|
Компрессорщик
|
|
1
|
Шофер автокрана
|
|
1
|
Подсобный рабочий
|
|
3
|
|
Итого
|
9
|
Звено материально-технического снабжения
Командир звена
|
|
1
|
Заведующий техническим складом и
ГСМ
|
|
1
|
Заведующий продовольственным
складом
|
|
1
|
Повар
|
|
1
|
Подсобный рабочий
|
|
1
|
Шофер
|
|
1
|
|
Итого
|
6
|
|
Всего в команде
|
65
|
Примечания: 1. Водопроводно-канализационная аварийно-техническая
команда ГО создается на базе одного ремонтно-эксплуатационного подразделения
(участка, района, бригады) производственного управления водопроводно-канализационного
хозяйства города.
2. Команда предназначается
для проведения инженерно-технической разведки состояния сетей и сооружений
водоснабжения, предотвращения угрозы затопления убежищ и укрытий водой из
разрушенных сетей водопровода, канализации и теплофикации, локализации и
ликвидации аварий на сетях и сооружениях водоснабжения города.
3. Численность команды в
зависимости от количества работающих в ремонтно-эксплуатационном подразделении,
на базе которого она создана, может быть увеличена или уменьшена.
4. Состав звена механизации
определяется количеством автотракторной техники, имеющейся в управлении.
5. Оснащение команды
имуществом определяется примерным табелем оснащения.
ПРИЛОЖЕНИЕ
2
ПРИМЕРНЫЙ ТИПОВОЙ ШТАТ ОТДЕЛЬНОЙ
ВОДОПРОВОДНО-КАНАЛИЗАЦИОННОЙ
АВАРИЙНО-ТЕХНИЧЕСКОЙ ГРУППЫ, ЧЕЛ.
Управление
Командир группы - инженер
(начальник района, участка, бригады)
|
|
1
|
Зам. начальника группы по
политчасти
|
|
1
|
Санинструктор-дозиметрист
|
|
1
|
Мотоциклист-связной
|
|
1
|
Шофер
|
|
1
|
|
Итого
|
5
|
Звено аварийно-технической разведки
Командир звена - техник
|
|
1
|
Дозиметрист
|
|
1
|
Рабочий - слесарь-сантехник
|
|
3
|
Подсобный рабочий
|
|
3
|
Газосварщик
|
|
1
|
Шофер
|
|
1
|
|
Итого
|
10
|
Аварийно-техническое звено
Командир звена - старший мастер
|
|
1
|
Рабочий - слесарь-сантехник
|
|
8
|
Подсобный рабочий
|
|
4
|
Газосварщик
|
|
1
|
Шофер
|
|
1
|
|
Итого
|
15
|
Звено механизации
Командир звена - техник
|
|
1
|
Тракторист
|
|
1
|
Экскаваторщик
|
|
1
|
Бульдозерист
|
|
1
|
Компрессорщик
|
|
1
|
Шофер автокрана
|
|
1
|
Подсобный рабочий
|
|
3
|
|
Итого
|
9
|
Звено материально-технического снабжения
Командир звена
|
|
1
|
Заведующий техническим складом и
ГСМ
|
|
1
|
Заведующий продовольственным
складом
|
|
1
|
Повар
|
|
1
|
Подсобный рабочий
|
|
1
|
Шофер
|
|
1
|
|
Итого
|
6
|
|
Всего в группе
|
45
|
Примечания:
1. Отдельная
водопроводно-канализационная аварийно-техническая группа ГО создается на базе
одного ремонтно-эксплуатационного подразделения (участка, бригады)
водопроводно-канализационного хозяйства города, численность работающих которого
не позволяет создать команду.
2. Группа предназначена для
тех же целей, что и команда.
ПРИЛОЖЕНИЕ
3
ПРИМЕРНЫЙ ТИПОВОЙ ШТАБ ОТДЕЛЬНОГО
ВОДОПРОВОДНО-КАНАЛИЗАЦИОННОГО
АВАРИЙНО-ТЕХНИЧЕСКОГО ЗВЕНА, ЧЕЛ.
Командир звена - техник
(начальник участка, бригады)
|
|
1
|
Разведчик, зам. командира звена -
старший мастер
|
|
1
|
Разведчик - мастер
|
|
1
|
Газосварщик
|
|
1
|
Рабочий - слесарь-сантехник
|
|
8
|
Санинструктор - дозиметрист
|
|
1
|
Подсобный рабочий
|
|
4
|
Заведующий имуществом
|
|
1
|
Шофер
|
|
2
|
|
Всего в звене
|
20
|
Примечания: 1. Отдельное водопроводно-канализационное
аварийно-техническое звено ГО создается на базе одного
ремонтно-эксплуатационного подразделения (участка, бригады)
водопроводно-канализационного хозяйства города, численность работающих которого
не позволяет создать команду или группу.
2. Звено предназначается для
тех же целей, что и команда.
ПРИЛОЖЕНИЕ
4
ПРИМЕРНЫЙ ТАБЕЛЬ ОСНАЩЕНИЯ ВОДОПРОВОДНО-
КАНАЛИЗАЦИОННОЙ АВАРИЙНО-ТЕХНИЧЕСКОЙ КОМАНДЫ
И ОТДЕЛЬНЫХ ВОДОПРОВОДНО-КАНАЛИЗАЦИОННЫХ
АВАРИЙНО-ТЕХНИЧЕСКИХ ГРУПП И ЗВЕНЬЕВ
Таблица
Наименование
|
Количество
|
на команду
|
на отдельную группу
|
на отдельное звено
|
Инженерно-техническое имущество
|
Инструменты, комплект:
|
|
|
|
для работ
на сетях водоснабжения
|
6
|
4
|
2
|
для работ
на сетях канализации
|
6
|
4
|
2
|
Предохранительный пояс,
комплект
|
8
|
6
|
2
|
Труборез, комплект
|
2
|
1
|
1
|
Лопата железная, шт.
|
10
|
6
|
3
|
Лом обыкновенный, шт.
|
10
|
6
|
3
|
Кирка-мотыга, шт.
|
4
|
2
|
1
|
Топор плотничный, шт.
|
5
|
3
|
2
|
Пила поперечная, шт.
|
4
|
2
|
1
|
Пила-ножовка по металлу, шт.
|
6
|
4
|
2
|
Дрель ручная, шт.
|
6
|
4
|
2
|
Дрель электрическая, шт.
|
4
|
2
|
1
|
Бурав, шт.
|
4
|
2
|
1
|
Зубило кузнечное, шт.
|
8
|
4
|
2
|
Кувалда, шт.
|
4
|
2
|
1
|
Шлямбур, шт.
|
4
|
3
|
2
|
Скарпель, шт.
|
4
|
3
|
2
|
Клин стальной,
шт.
|
4
|
3
|
2
|
Крюк для
открывания колодцев, шт.
|
8
|
6
|
3
|
Ключ газовый,
шт.
|
8
|
4
|
2
|
Ключ шведский,
шт.
|
8
|
4
|
2
|
Ключ
французский, шт.
|
8
|
4
|
2
|
Молоток
слесарный, шт.
|
8
|
4
|
2
|
Ключ цепной для
газовых труб, шт.
|
8
|
3
|
2
|
Компрессор
передвижной, шт.
|
1
|
1
|
-
|
Электростанция
передвижная, шт.
|
1
|
1
|
-
|
Паровой котел АДУ
передвижной, шт.
|
1
|
1
|
-
|
Электро- или
дизельный сварочный аппарат, шт.
|
1
|
1
|
-
|
Бензо-,
керосиновоз в комплекте со шлангами и резаками, шт.
|
1
|
1
|
-
|
Отбойный пневмо-
или электромолоток, шт.
|
3
|
2
|
-
|
Лампа паяльная,
шт.
|
5
|
3
|
2
|
Аварийная
водопроводная машина, шт.
|
2-3
|
1-2
|
1
|
Насос ручной в
комплекте с рукавами, комплект
|
1
|
1
|
1
|
Вентилятор, шт.
|
2
|
1
|
1
|
Ведро железное,
шт.
|
8
|
6
|
3
|
Блоки (разные),
комплект
|
4
|
2
|
1
|
Газосварочный аппарат
(переносной), шт.
|
2
|
1
|
1
|
Лебедка ручная с
тросом, шт.
|
1
|
1
|
1
|
Домкрат, шт.
|
1
|
1
|
1
|
Фонарь
аккумуляторный взрывобезопасный, шт.
|
8
|
6
|
4
|
Фонарь «Летучая
мышь», шт.
|
20
|
10
|
5
|
Комплект
светильников на треногах, комплект
|
4
|
2
|
1
|
Канат пеньковый,
м
|
60
|
40
|
20
|
Сурик, кг
|
16
|
10
|
6
|
Пакля-лен, кг
|
16
|
10
|
6
|
Цемент, кг
|
80
|
60
|
30
|
Водоотливной
передвижной насос с электро- или дизелеприводом, шт.
|
2
|
2
|
1
|
Имущество связи
|
Электромегафон,
шт.
|
4
|
2
|
1
|
Химическое имущество
|
Противогаз
гражданский, шт.
|
65
|
45
|
20
|
Гопкалитовый
патрон к гражданским противогазам, шт.
|
7
|
5
|
2
|
Изолирующий
противогаз (ИП) в комплекте с регенеративным патроном, шт.
|
6
|
4
|
1
|
Противогаз
шланговый, шт.
|
5
|
3
|
2
|
Защитный плащ ОП
или защитная фильтрующая одежда ЭФО, комплект
|
50
|
30
|
20
|
Чулки защитные,
пар
|
50
|
30
|
20
|
Перчатки
защитные, пар
|
50
|
30
|
20
|
Прибор
химической разведки ПХР-54, комплект
|
2
|
1
|
-
|
Ранцевый
дегазационный прибор РДП-4в, шт.
|
2
|
1
|
-
|
ПРИЛОЖЕНИЕ
5
ТЕХНИЧЕСКАЯ ХАРАКТЕРИСТИКА
ПЕРЕДВИЖНЫХ ЭЛЕКТРОСТАНЦИЙ
Таблица
Показатель
|
Марка
|
ПЭС-15
|
ЖЭС-30Д
|
ЖЭС-60
|
ПЭС-60
|
ПЭС-100
|
Мощность, кВт
|
15
|
30
|
60
|
60
|
103
|
Напряжение, В
|
230/400
|
230/400
|
230/400
|
230/400
|
220
|
Марка двигателя
|
ГАЗ-МК
|
Д-40Р
|
КДМ-46
|
КДМ-46
|
1Д6-150
|
Масса, т
|
0,985
|
3
|
3,9
|
5,5
|
7
|
ПРИЛОЖЕНИЕ
6
СОСТАВ БЫСТРОСХВАТЫВАЮЩИХСЯ
СЕРОПЕСЧАНЫХ СПЛАВОВ
Таблица
Составные части
|
Весовые проценты составов
|
|
№ 1
|
№ 2
|
№ 3
|
|
Сера чистая
|
64
|
62,5
|
55
|
|
Инертный заполнитель (песок)
|
32
|
33
|
41
|
|
Уголь древесный (порошок с
размером частиц менее 0,1 мм)
|
3
|
4,5
|
-
|
|
Сажа
|
-
|
-
|
2
|
|
Нафталин
|
1
|
-
|
-
|
|
Тионол (резинит)
|
-
|
-
|
2
|
|
Примечание.
Инертным заполнителем служит смесь кварцевого песка крупностью 0,4 - 0,01 мм
(20 % по массе) с песком крупностью 0,01 - 0,005 мм (75 % по массе) или с
сухим кислотоупорным цементом.
|
|
|
|
СОДЕРЖАНИЕ