Информационная система
«Ёшкин Кот»

XXXecatmenu

МЕЖГОСУДАРСТВЕННЫЙ СОВЕТ ПО СТАНДАРТИЗАЦИИ, МЕТРОЛОГИИ И СЕРТИФИКАЦИИ
(МГС)

INTERSTATE COUNCIL FOR STANDARDIZATION, METROLOGY AND CERTIFICATION
(ISC)

 

Сжатый воздух

Часть 5

МЕТОДЫ КОНТРОЛЯ СОДЕРЖАНИЯ
ПАРОВ МАСЛА И ОРГАНИЧЕСКИХ
РАСТВОРИТЕЛЕЙ

ISO 8573-5:2001
Compressed air - Part 5:
Test methods for oil vapour and organic solvent content

(IDT)

 

 

Москва

Стандартинформ

2007

 

Предисловие

Цели, основные принципы и основной порядок проведения работ по межгосударственной стандартизации установлены ГОСТ 1.0-1992 «Межгосударственная система стандартизации. Основные положения», ГОСТ 1.2-1997 «Межгосударственная система стандартизации. Стандарты межгосударственные, правила, рекомендации по международной стандартизации. Порядок разработки, принятия, применения, обновления и отмены»

Сведения о стандарте

1 ПОДГОТОВЛЕН Общероссийской общественной организацией «Ассоциация инженеров по контролю микрозагрязнений» (АСИНКОМ), ООО «ЭНСИ», ОАО «НИЦ КД», ОАО «Мосэлектронпроект», Межгосударственным техническим комитетом по стандартизации МТК 184 «Обеспечение промышленной чистоты» и техническим комитетом по стандартизации Российской Федерации ТК 184 «Обеспечение промышленной чистоты»

2 ВНЕСЕН Федеральным агентством по техническому регулированию и метрологии

3 ПРИНЯТ Межгосударственным советом по стандартизации, метрологии и сертификации (протокол № 29 от 24 июня 2006 г.)

За принятие проголосовали:

Краткое наименование страны по МК (ИСО 3166) 004-97

Код страны по МК (ИСО 3166) 004-97

Сокращенное наименование национального органа по стандартизации

Азербайджан

AZ

Азстандарт

Армения

AM

Минторгэкономразвития

Беларусь

BY

Госстандарт Республики Беларусь

Казахстан

KZ

Госстандарт Республики Казахстан

Кыргызстан

KG

Кыргызстандарт

Молдова

MD

Молдова-Стандарт

Российская Федерация

RU

Федеральное агентство по техническому регулированию и метрологии

Таджикистан

TJ

Таджикстандарт

Узбекистан

UZ

Узстандарт

Украина

UA

Госпотребстандарт Украины

4 Настоящий стандарт идентичен международному стандарту ИСО 8573-5:2001 «Сжатый воздух. Часть 5. Методы контроля содержания паров масла и органических растворителей» (ISO 8573-5:2001 «Compressed air - Part 5: Test methods for oil vapour and organic solvent content»).

При применении настоящего стандарта рекомендуется использовать вместо ссылочных международных стандартов соответствующие им национальные стандарты, сведения о которых приведены в дополнительном приложении С.

5 Приказом Федерального агентства по техническому регулированию и метрологии от 9 февраля 2007 г. № 7-ст межгосударственный стандарт ГОСТ ИСО 8573-5-2006 введен в действие с 1 июля 2007 г.

6 ВВЕДЕН ВПЕРВЫЕ

 

Информация о введении в действие (прекращении действия) настоящего стандарта публикуется в указателе «Национальные стандарты».

Информация об изменениях к настоящему стандарту публикуется в указателе «Национальные стандарты», а текст этих изменений - е информационных указателях «Национальные стандарты». В случае пересмотра или отмены настоящего стандарта соответствующая информация будет опубликована в информационном указателе «Национальные стандарты».

 

СОДЕРЖАНИЕ

1 Область применения. 3

2 Нормативные ссылки. 3

3 Термины и определения. 4

4 Классы паров масла. 4

5 Методы испытаний. 4

6 Отбор проб. 4

6.1 Общие положения. 4

6.2 Отбор проб воздуха. 5

6.3 Условия отбора проб и измерений. 5

7 Измерение. 5

8 Оценка результатов испытаний. 6

8.1 Стандартные условия. 6

8.2 Влияние влажности. 6

8.3 Влияние давления и температуры.. 6

9 Неопределенность (погрешность) измерений. 6

10 Протокол контроля. 7

10.1 Заключение. 7

10.2 Требования к протоколу. 7

Приложение А (справочное) Методики испытаний. 7

Приложение В (справочное) Закон парциальных давлений Дальтона. 9

Приложение С (справочное) Сведения о соответствии национальных стандартов Российской Федерации ссылочным международным стандартам.. 10

Введение

Серия международных стандартов по чистоте сжатого воздуха ИСО 8573 разработана Техническим комитетом ИСО/ТК 118 Compressors, pneumatic tools and pneumatic machines, Subcommittee SC 4, Quality of compressed air - Компрессоры, пневматические инструменты и пневматическое оборудование, подкомитет ПК 4 «Качество сжатого воздуха».

В указанную серию входят следующие стандарты:

- ИСО 8573-1:2001 Сжатый воздух. Часть 1. Загрязнения и классы чистоты;

- ИСО 8573-2:1996 Сжатый воздух. Часть 2. Методы контроля содержания масел в виде аэрозолей;

- ИСО 8573-3:1999 Сжатый воздух. Часть 3. Методы контроля влажности;

- ИСО 8573-4:2001 Сжатый воздух. Часть 4. Методы контроля содержания твердых частиц;

- ИСО 8573-5:2001 Сжатый воздух. Часть 5. Методы контроля содержания паров масла и органических растворителей;

- ИСО 8573-6:2003 Сжатый воздух. Часть 6. Методы контроля загрязнения газами;

- ИСО 8573-7:2003 Сжатый воздух. Часть 7. Метод контроля загрязнения жизнеспособными микроорганизмами;

- ИСО 8573-8:2004 Сжатый воздух. Часть 8. Методы контроля загрязнения твердыми частицами по массовой концентрации;

- ИСО 8573-9:2004 Сжатый воздух. Часть 9. Методы контроля содержания воды в жидкой фазе.

 

МЕЖГОСУДАРСТВЕННЫЙ СТАНДАРТ

Сжатый воздух

Часть 5

МЕТОДЫ КОНТРОЛЯ СОДЕРЖАНИЯ ПАРОВ МАСЛА И ОРГАНИЧЕСКИХ РАСТВОРИТЕЛЕЙ

Compressed air. Part 5. Test methods for oil vapour and organic solvent content

Дата введения - 2007-07-01

1 Область применения

Настоящий стандарт устанавливает метод газовой хроматографии для определения содержания паров масел (углеводородов с шестью или более атомами углерода) в сжатом воздухе независимо от источника, а также содержания паров любых органических растворителей, трудноотличимых от других углеводородов.

Стандарт является руководством по применению химических индикаторных трубок для первичного определения присутствия паров масла и рассмотрены вопросы отбора проб, измерений, оценки результата, неопределенности (погрешности) измерений и составления отчета о содержании паров масла применительно к определению класса чистоты сжатого воздуха в соответствии с ИСО 8573-1.

Примечание - Легкие углеводороды, состоящие из пяти или менее атомов углерода, относятся к газовым загрязнениям, рассматриваемым в ИСО 8573-6.

2 Нормативные ссылки

В настоящем стандарте использованы нормативные ссылки на следующие стандарты:

ИСО 2591:1988 Контрольное просеивание. Часть 1. Методы, использующие контрольные проволочные сита и перфорированные металлические пластины

ИСО 2602:1980 Статистическая интерпретация результатов контроля. Оценка среднего. Доверительный интервал

ИСО 2854:1976 Статистическая интерпретация данных. Методы оценки и контроля, относящиеся к средним значениям и разбросу значений

ИСО 3857-1:1977 Компрессоры, пневматические инструменты и оборудование. Словарь. Часть 1. Общие положения

ИСО 5598:1985 Гидравлические системы и компоненты. Словарь

ИСО 8573-1:2001 Сжатый воздух. Часть 1. Загрязнения и классы чистоты

ИСО 8573-2:1996 Сжатый воздух. Часть 2. Методы контроля содержания масел в виде аэрозолей

ИСО 8573-3:1999 Сжатый воздух. Часть 3. Методы контроля влажности

ИСО 9486:1991 Воздух промышленный. Определение паров хлорированных углеводородов. Метод с применением угольных трубок, десорбции растворителями и газовой хроматографии

ИСО 9487:1991 Воздух промышленный. Определение паров ароматических углеводородов. Метод с применением угольных трубок, десорбции растворителями и газовой хроматографии.

3 Термины и определения

В настоящем стандарте применены термины и определения по ИСО 3857-1, ИСО 5598, ИСО 8573-1, а также следующие термины и определения:

3.1 зернистость (mesh): Мера размера частиц, применяемая при сортировке твердых тел с использованием сит с отверстиями определенных размеров.

3.2 масло (oil): Смесь углеводородов, состоящих из шести или более атомов углерода.

3.3 органический растворитель (organic solvent): Смесь соединений одной или нескольких из групп: спирты, галоидзамещенные углеводороды, сложные и спиртовые эфиры, кетоны, ароматические/алифатические углеводороды.

4 Классы паров масла

Пары масла учитываются при определении общего значения концентрации масла согласно таблице 4 ИСО 8573-1.

5 Методы испытаний

Выбор метода испытаний зависит от величины содержания паров масла в сжатом воздухе.

Газовая хроматография (пункт А.1 приложения А) применяется для контроля содержания масла в диапазоне ((0,001 - 10) мг/м3).

Индикаторная трубка (пункт А.2 приложения А) применяется в качестве предварительного метода для исследования и контроля, после которого следует применить метод газовой хроматографии.

6 Отбор проб

6.1 Общие положения

Количественное определение содержания масла в системе сжатого воздуха проводится при следующих ограничениях.

В воздухе должны отсутствовать посторонние загрязнения, например, пары воды или масла в виде аэрозоли, влияющие на измерение.

Отбор проб и анализ паров масла проводится при постоянном значении расхода воздуха.

Отвод воздушного потока для проведения анализа с помощью испытательного оборудования осуществляется обычно через встроенные клапаны. Следует убедиться, что они не вносят дополнительных загрязнений сверх существующего уровня. Особое внимание уделяется чистоте оборудования, а также таким действиям, как, например, продувка клапанов и поддержание стабильных условий испытаний.

Для определения объема воздуха, используемого при испытании, независимо от метода следует измерять расход воздуха.

Значения температуры и скорости потока воздуха должны находиться в пределах, установленных производителем испытательного оборудования.

В пункте А.1 приложения А приведена методика отбора проб.

6.2 Отбор проб воздуха

Пробоотборник устанавливается в небольшую трубку, отбирающую пробу воздуха из основной трубы в измерительную камеру и при стандартном давлении проводятся измерения.

6.3 Условия отбора проб и измерений

6.3.1 Повторяемость (сходимость)

В зависимости от повторяемости (сходимости) метода и опыта персонала, проводящего измерения, может потребоваться выполнение нескольких последовательных измерений.

6.3.2 Система отбора проб

Материалы, используемые в системах подачи воздуха и отбора проб, не должны влиять на содержание паров масла в отбираемой пробе.

Во время контроля следует регистрировать давление и температуру в системе отбора проб, которая должна быть выше температуры точки росы.

6.3.3 Измерительная система

До начала измерений система сжатого воздуха и измерительная система должны достичь стабильного состояния, поддерживаемого и при измерениях. Два последовательных измерения, проведенные с интервалом до 20 мин, не должны отличаться более чем на величину неопределенности (погрешности) измерений.

6.3.4 Испытательное оборудование

Схема размещения оборудования для отбора проб приведена на рисунке А.1. Оборудование не должно оказывать влияния на отбираемую пробу.

Необходимо исключить разницу температур между системой сжатого воздуха и точкой отбора проб. Следует соблюдать методические рекомендации, приведенные в ИСО 8573-2.

7 Измерение

Следует учитывать требования к калибровке используемого оборудования в соответствии с инструкциями и уровнем концентрации паров масла.

Требования, предъявляемые к оборудованию, проведению измерений и оценке результатов, должны соответствовать требованиям В.2 приложения В ИСО 8573-2.

Методика испытаний с применением газовой хроматографии приведена в пункте А.1 приложения А.

Очистка и обезжиривание измерительного оборудования и трубок из нержавеющей стали растворителями не должны приводить к увеличению общего содержания углеводородов в пробе. Перед измерением следует продуть место отбора проб и трубки (до мембранного фильтра) сжатым воздухом из системы в течение не менее 5 мин.

Методические вопросы приведены в ИСО 9486 и ИСО 9487.

Следует проверить соблюдение стандартных условий для работы расходомера.

8 Оценка результатов испытаний

8.1 Стандартные условия

Стандартные условия для проведения контроля параметров сжатого воздуха приведены в таблице 1.

Таблица 1 - Стандартные условия

Параметр

Значение

Температура сжатого воздуха, °С

20

Давление сжатого воздуха, бар

1а) (абсолютное)

Относительное давление водяного пара (относительная влажность)

0

а) 1 бар = 0,1 МПа.

8.2 Влияние влажности

Влажность должна быть менее 75 % и находиться в диапазоне, указанном производителем измерительного оборудования. Следует провести калибровку оборудования в соответствии с документацией производителя.

8.3 Влияние давления и температуры

Концентрация паров масла к стандартным условиям (Сстанд) приводится по формуле

где Сстанд - концентрация при стандартных условиях;

Сизм - концентрация при условиях измерения;

Рстанд - стандартное давление (абсолютное);

Ризм - давление во время измерений (абсолютное);

tстанд - стандартная температура (абсолютная);

tизм - температура во время измерений (абсолютная).

Объемный расход воздуха зависит от температуры (приложение В).

9 Неопределенность (погрешность) измерений

Исходя из природы физических измерений, невозможно оценить физическую величину или определить истинное значение неопределенности (погрешности) каждого отдельного измерения. Однако, если условия измерений известны, возможно оценить или вычислить характеристическое отклонение измеряемой величины от истинного значения таким образом, что можно с определенной степенью достоверности утверждать, что истинная погрешность не превышает указанного отклонения. Значение этого отклонения (обычно это 95 %-ный доверительный предел) представляет собой критерий точности для отдельного измерения.

Предполагается, что все систематические погрешности, которые могут иметь место при измерении отдельных величин и характеристик газа, могут быть компенсированы специальными действиями. Дополнительное предположение состоит в том, что доверительные пределы, обусловленные погрешностью при снятии или интеграции показаний, можно не определять, если число измерений достаточно большое.

Незначительные, систематически возникающие ошибки, можно отнести к неопределенности (погрешности) измерений.

Классификация качества и доверительные интервалы часто используются для характеристики неопределенности (погрешности) отдельных измерений. За некоторыми исключениями (например, для электрических преобразователей) они могут использоваться только для классификации качества или оценки погрешности.

Данные о неопределенности (погрешности) измерений отдельных величин и доверительных пределов, характеризующих свойства газа, являются приблизительными и могут быть минимизированы за счет использования более совершенных приборов (ИСО 2602 [1] и ИСО 2854 [2]).

Примечание - Вычисление вероятной неопределенности (погрешности) измерений в соответствии с настоящим разделом факультативно (не всегда обязательно).

10 Протокол контроля

10.1 Заключение

Заключение о содержании в сжатом воздухе паров масла и органических растворителей (или их смеси), если он используется для целей классификации согласно ИСО 8573-1, должно включать в себя данные о содержании масла в виде аэрозолей, подтвержденные методиками измерения, приведенными в настоящем стандарте.

В заключении следует отметить, что вопрос о содержании в воздухе общего количества масла не рассматривается.

10.2 Требования к протоколу

В протокол контроля содержания паров масла и органических растворителей, определенных по настоящему стандарту, следует внести:

a) данные о системе сжатого воздуха и условиях эксплуатации с указанием:

- давления,

- температуры,

- других загрязнителей;

b) схемы размещения точек отбора проб;

c) сведения о системе отбора проб и проведении измерений с указанием используемых материалов и данных по калибровке приборов;

d) фразу «Заявленное содержание паров масла (мг/м3) по ИСО 8573-5-2006» с указанием:

- действительных и средних значений измеряемых величин, оцененных в соответствии с разделом 8 и приведенных к стандартным условиям,

- действительных и средних значений измеряемых величин, оцененных в соответствии с разделом 8 для реальных условий,

- давления и температуры во время измерений,

- данных о неопределенности (погрешности) измерений,

- даты калибровки измерительных приборов (при необходимости),

e) дату отбора проб и контроля.

Приложение А
(справочное)

Методики испытаний

А.1 Газовая хроматография

А.1.1 Методика пробоотбора

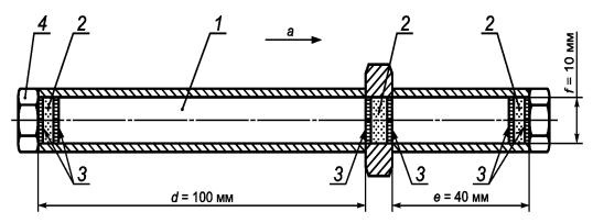
Методика включает в себя следующие этапы (рисунок А.1):

a) в точке измерения к основной трубе 12 через запорный клапан 6 следует присоединить трубку из нержавеющей стали 2;

b) запорные клапаны 7, 8 соединяются с глушителем 3;

c) все клапаны закрываются;

d) медленно открываются клапаны 6 - 8;

e) система продувается в течение 5 мин (процесс очистки);

f) все клапаны закрываются;

g) оставшаяся часть измерительной системы соединяется согласно рисунку;

h) все клапаны закрываются;

1 - патрон мембраныa); 2 - трубка из нержавеющей стали (см. рисунок А.2) для сбора паров масла и органических растворителей; 3 - глушитель; 4 - манометр; 5 - термометр; 6 - 8 - запорные клапаны; 9 - вентиль регулирования потока; 10 - вентиль регулирования потокаb); 11 - расходомер; 12 - основная труба

Рисунок А.1 - Схема испытательного оборудования для отбора проб методом газовой хроматографии

а) Мембрана служит для защиты накопительной трубки из нержавеющей стали от аэрозольных загрязнений.

b) Вентиль следует использовать при работе расходомера под давлением.

i) для испытания измерительного оборудования давлением запорные клапаны 6 - 8 полностью открываются;

j) отрегулировать поток при помощи вентилей 9, 10 и расходомера 11;

k) после отбора проб в течение определенного времени на входе трубки 2 клапан 6 закрывается. Время должно быть достаточным для отбора от 1 мкг до 1 мг массы в основной зоне накопительной трубки. Минимальное время контакта равно 0,1 с. Время контакта определяется как частное отделения объема кокосового угля в основной зоне на действительный расход сжатого газа;

l) патрон мембраны 1 и трубка 2 отсоединяются, и открытые концы закрывают пробками. Трубка 2 должна соответствовать схеме, приведенной на рисунке А.2.

1 - накопительная трубка из нержавеющей стали; 2 - сепаратор с кварцевой ватой; 3 - перфорированный диск из нержавеющей стали; 4 - резьбовое соединение 1/4"; d - длина основной зоны; е - длина дублирующей зоны; f - внутренний диаметр стальной трубы; а - направление потока

Рисунок А.2 - Схема трубки из нержавеющей стали

А.1.2 Подготовка пробоотборника

Накопительная трубка из нержавеющей стали 3 содержит 3 г кокосового угля (с относительной влажностью не более 75 %) в основной зоне и 1 г кокосового угля в дублирующей зоне (рисунок А.2). Максимальное содержание адсорбированных паров масла в дублирующей зоне должно быть от 10 % до 25 % массы. Сорбент представляет собой кокосовый уголь с зернистостью 20/40 в соответствии с ИСО 2591-1.

Вместо кокосового угля, являющегося наиболее широко распространенным сорбентом, можно использовать другой сорбент с аналогичными характеристиками.

А.1.3 Проведение испытаний

Основная и дублирующая зоны анализируются одновременно с контрольным тестом согласно следующей процедуре:

a) с использованием дисульфида углерода экстрагируются основная и дублирующая зоны. В качестве эталона используется бензин - (d6), толуол - (d8), этилбензин - (d10) и октан - (d18);

b) в течение 30 мин накопительная трубка с сорбентом экстрагируется с помощью встряхивателя;

c) с помощью газового хроматографа с масс-спектроскопическим анализатором в режиме полного сканирования экстракт анализируется с одновременным исследованием аналогично подготовленных контрольных тестов;

d) основные одиночные компоненты по возможности идентифицируются. Другие одиночные компоненты (например, алифатические и ароматические вещества) регистрируются, суммируются и подсчитываются.

Предельные значения для определения содержания составляют от 0,1 до 0,5 мкг на трубку.

А.1.4 Вычисление

Следует использовать принципы, приведенные в ИСО 8573-2, относительно аналитических методов и связанных с ними расчетов.

А.2 Индикаторная трубка

Для первичного определения наличия паров масла по настоящему стандарту применяются химические индикаторные трубки. Для количественного определения паров масла в сжатом воздухе следует использовать метод газовой хроматографии согласно пункту А.1 приложения А.

Подробная информация о применении индикаторных трубок приведена в инструкции производителя.

Приложение В
(справочное)

Закон парциальных давлений Дальтона

На основании закона Дальтона относительное содержание масла См вычисляется по формуле

                                                                  (В.1)

где См - относительное содержание масла;

Мr - молекулярная масса масла;

Мr - молекулярная масса воздуха;

ρм - давление паров масла, бар;

ρабс - абсолютное давление, бар.

Приложение С
(справочное)

Сведения о соответствии национальных стандартов Российской Федерации ссылочным международным стандартам

Таблица С.1

Обозначение ссылочного международного стандарта

Обозначение и наименование соответствующего национального стандарта

ИСО 8573-1:2001

ГОСТ Р ИСО 8573-1-2005 Сжатый воздух. Часть 1. Загрязнения и классы чистоты

ИСО 8573-2:1996

ГОСТ Р ИСО 8573-2-2005 Сжатый воздух. Часть 2. Методы контроля содержания масел в виде аэрозолей

ИСО 8573-3:1999

ГОСТ Р ИСО 8573-3-2006 Сжатый воздух. Часть 3. Методы контроля влажности

ИСО 8573-6:2001

ГОСТ Р ИСО 8573-6-2005 Сжатый воздух. Часть 6. Методы контроля загрязнения газами

ИСО 2854:1976

ГОСТ Р 50779.21-2004 Статистические методы. Правила определения и методы расчета статистических характеристик по выборочным данным. Часть 1. Нормальное распределение (NEQ)

ИСО 2591-1:1988

*

ИСО 2602:1980

ГОСТ Р 50779.22-2005 Статистические методы. Статистическое представление данных. Точечная оценка и доверительный интервал среднего (MOD)

ИСО 3857-1:1977

*

ИСО 5598:1985

*

ИСО 9486:1991

*

ИСО 9487:1991

*

* Соответствующий национальный стандарт отсутствует. До его утверждения рекомендуется использовать перевод на русский язык данного международного стандарта. Перевод данного международного стандарта находится в Федеральном информационном фонде технических регламентов и стандартов.

 

 

Ключевые слова: сжатый воздух, пары масла, газовый органический растворитель, отбор проб, газовая хроматография, индикаторная трубка, давление, температура

 

 



© 2013 Ёшкин Кот :-)