Информационная система
«Ёшкин Кот»

XXXecatmenu

цнииомтп
ГОССТРОЯ СССР

НАРОДНОЕ ПРЕДПРИЯТИЕ
СТРОИТЕЛЬНО-МОНТАЖНЫЙ КОМБИНАТ «ОСТ»
МИНСТРОЯ ГДР

РУКОВОДСТВО
ПО УКЛАДКЕ
БЕТОННЫХ СМЕСЕЙ
БЕТОНОНАСОСНЫМИ
УСТАНОВКАМИ

 МОСКВА 1978

Руководство по укладке бетонных смесей бетононасосными установками М., Стройиздат, 1978, 144 с (Центр науч-исслед. и проектно-эксперим. ин-т организации, механизации и техн. помощи стр-ву. Народное предприятие строит-монтажный комбинат «ОСТ» ГДР).

Руководство по укладке бетонных смесей бетононасосными установками разработано ЦНИИОМТП Госстроя СССР и НП СМК «Ост» Минстроя ГДР при участии ЦНИИЭПсельстроя, Днепропетровского филиала НИИСП, Белорусского политехнического института и НИИСМ Минпромстройматериалов БССР.

В Руководстве содержатся рекомендации по технологии и организации укладки бетонных смесей с применением бетононасосных установок и их эксплуатации Приведены основные требования к бетонным смесям и их составляющим, особенности транспортирования по трубам смесей в зимних условиях и на пористых заполнителях, методика определения гидравлических сопротивлений в трубопроводах, рекомендации по выбору оптимальных комплектов оборудования и специальным методам производства бетонных работ с применением бетононасосов.

Руководство предназначено для строительно-монтажных и проектных организаций, производящих бетонные работы.

ПРЕДИСЛОВИЕ

Непрерывное увеличение объемов монолитного строительства при ограниченном росте числа рабочих вызывает необходимость дальнейшего снижения трудоемкости бетонных работ и повышения производительности труда при их выполнении на основе широкого внедрения индустриальных методов строительного производства и средств комплексной механизации.

Одним из путей решения этих задач является широкое применение в строительстве средств трубопроводного транспорта, и в первую очередь бетононасосных установок, позволяющих комплексно механизировать наиболее трудоемкие процессы подачи, распределения и укладки бетонной смеси

Современные бетононасосные установки обладают высокой производительностью, надежностью в эксплуатации и относительной простотой обслуживания. Использование в современных установках гидравлического привода с регулируемой производительностью, самоходных шасси, распределительных стрел, бетоноводов уменьшенного диаметра и легких теплоизоляционных материалов позволяет значительно расширить диапазон их применения, в том числе и в районах Крайнего Севера.

Последние достижения в области технологии перекачивания бетонных смесей по трубам позволяют транспортировать смеси не только на тяжелых, но и на пористых заполнителях, осуществлять их подачу практически при любых отрицательных температурах окружающей среды.

Со времени издания «Указаний по технологии транспортирования и распределения бетонной смеси бетононасосами и пневмонагнетателями» прошло более 15 лет. За это время резко повысился уровень технологии и средств механизации бетонных работ на основе применения различных типов бетононасосных установок и вспомогательного оборудования к ним, накоплен и обобщен опыт их внедрения.

Настоящее Руководство содержит технологические, организационные и эксплуатационные рекомендации по транспортированию бетонных смесей при помощи бетононасосов. В нем рассмотрены основные требования к бетонным смесям и их составляющим, особенности транспортирования по трубам смесей в зимних условиях и на пористых заполнителях, представлена методика определения гидравлических сопротивлений в трубопроводах, даны рекомендации по выбору оптимальных комплектов оборудования и специальным методам производства работ с применением бетононасосов.

Руководство составлено в развитие главы СНиП III-15-76 «Бетонные и железобетонные конструкции монолитные. Правила производства и приемки работ» с учетом современного уровня строительного производства и результатов научно-исследовательских работ ЦНИИОМТП, Исследовательского центра НП СМК «Ост» (ГДР), ЦНИИЭПсельстроя, Днепропетровского филиала НИИСП, Белорусского политехнического института и Института строительства и архитектуры Госстроя БССР и НИИСМ Минпромстройматериалов БССР.

Руководство разработано ЦНИИОМТП (кандидаты технических наук Г.А. Захарченко, Б.И. Березовский, В.Я. Гендин, Л.А. Широкова, инженеры Е.П. Мазов, Ю.Б. Чирков, С.В. Казаков, В.И. Нарских, В.В. Кулиш, Т.А. Новикова, Н.А. Матвеева), НП СМК «Ост» Минстроя ГДР (дипл. инженеры Г. Дойбнер, Г. Бойзен, Р. Шеель), ЦНИИЭПсельстрой (канд. техн. наук В.Н. Евстифеев), ДФ НИИСП (инж. Ф.Е. Ольховой), Белорусский политехнический институт (доктор техн. наук, проф. С.С. Атаев, доктор техн. наук, проф. И.Н. Ахвердов, инженеры А.С. Стаценко, Г.А. Сиротин), Институт строительства и архитектуры Госстроя БССР (кандидаты технических наук Н.П. Блещик, А.Я. Барташевич, К.Ф. Паныш, Т.Е. Шалимо, инженеры Б.С. Атаев, Г.А. Оленин, И.И. Тулупов).

Общее руководство по составлению и редактирование рукописи осуществлено канд. техн. наук Г.А. Захарченко (ЦНИИОМТП).

Все замечания и предложения по содержанию настоящего Руководства просим направлять в ЦНИИОМТП Госстроя СССР по адресу: 127434, Дмитровское шоссе, 9.

1. Общие положения

1.1. Руководство составлено в развитие главы СНиП III-15-76 «Бетонные и железобетонные конструкции монолитные. Правила производства и приемки работ» и рассматривает комплекс специфических вопросов по применению бетононасосов, не вошедших в «Руководство по производству бетонных работ» (М., Стройиздат, 1975)

1.2. Рекомендации Руководства распространяются на производство бетонных работ с применением бетононасосов поршневых типов. Раздел «Эксплуатация и ремонт бетононасосных установок» относится к бетононасосам с гидравлическим приводом. Для обслуживания бетононасосов с механическим приводом, которые снимаются с серийного производства, остаются в силе рекомендации «Указаний по технологии транспортирования и распределения бетонной смеси бетононасосами и пневмонагнетателями» (М., Стройиздат, 1961).

1.3. В Руководстве приведены рекомендации по технологии и организации транспортирования по трубам бетонных смесей на плотных и пористых заполнителях, в том числе в зимнее время, специальные методы укладки бетонных смесей с применением бетононасосов, технические характеристики последних, особенности их эксплуатации и ремонта.

1.4. Применение бетононасосов является одним из прогрессивных методов механизации процессов подачи и распределения бетонных смесей, повышающих качество и эффективность бетонных работ при возведении самых разнообразных монолитных и сборно-монолитных конструкций в промышленном, гражданском, гидротехническом, сельском и других видах строительства. Однако в ряде случаев окончательное решение относительно применения бетононасосов принимается на основании технико-экономического обоснования с учетом особенностей их эксплуатации и подачи бетонной смеси по трубам.

Бетононасосы с гидроприводом обеспечивают возможность непрерывной подачи бетонной смеси на большие расстояния по горизонтали (200 - 250 м) или по вертикали (50 - 80 м). При этом можно обеспечить плавную регулировку их производительности - от минимальной до максимальной (40 - 60 м3/ч)

Применение в необходимых случаях бетоноводов малого диаметра (100 - 125 мм) и складывающихся распределительных стрел позволяет полностью механизировать наиболее трудоемкие процессы по подаче и распределению бетонной смеси и снизить трудозатраты до минимума (в 3 - 4 раза по сравнению с крановой укладкой).

Применение бетононасосов вводит жесткий ритм во все процессы, связанные с бетонированием конструкций, что в свою очередь повышает общий темп строительных работ. При этом требуется более четкая организация бетонных работ: в приготовлении и своевременной доставке на объект бетонной смеси, в соблюдении тщательного подбора и контроля ее состава и качества, в обеспечении необходимого ухода за бетонотранспортным оборудованием и увязке темпов арматурно-опалубочных работ с бетонными.

Подача бетонной смеси по трубам под давлением улучшает ее однородность и удобоукладываемость. При этом частично уменьшается объем пустот и улучшается обволакивание частиц заполнителя цементной пленкой, что приводит к некоторому повышению прочности бетона (на 10 - 20 %).

Расход цемента на 1 м3 бетонной смеси при ее транспортировании бетононасосами может быть в основном в пределах норм, установленных для обычных бетонов.

Вследствие малой потери тепла при движении бетонной смеси по закрытому трубопроводу бетононасосы могут с успехом применяться в зимних условиях.

1.5. Укладку бетонной смеси с помощью бетононасосов целесообразно производить при интенсивности бетонирования конструкций не менее 6 м3/ч, а также в стесненных условиях и в местах, недоступных другим средствам механизации.

1.6. Для бетонирования массивных малоармированных фундаментов (плотины ГЭС, шлюзы, опоры мостов, фундаменты под доменные печи, прокатные станы и др.) с объемом бетона в сооружении до 10000 м3 более целесообразно применять стационарные бетононасосы производительностью 40 м3/ч и более с диаметром бетоновода 203 мм.

При возведении железобетонных густоармированных и тонкостенных конструкций (силосы, элеваторы, каркасы зданий, резервуары и т.п.) при объеме бетона 1000 - 2000 м3 следует применять стационарные бетононасосы производительностью 20 м3/ч, при объеме бетона 500 - 1000 м3 - стационарные и прицепные бетононасосы производительностью 10 м3/ч, при объемах бетона до 500 м3 - передвижные бетононасосные установки производительностью 20 - 40 м3/ч. В этих случаях наиболее эффективно применять бетоноводы диаметром 125 и 100 мм.

При бетонировании рассредоточенных сооружений объемом бетона не менее 50 м3 (отдельно стоящие фундаменты, колонны, плиты покрытий и перекрытий, буронабивные сваи, ростверки и др.), а также при необходимости подачи бетонной смеси в оконные проемы, технологические отверстия и другие труднодоступные места могут с успехом применяться прицепные и самоходные установки, оснащенные складывающимися распределительными стрелами с бетоноводом диаметром 100 - 125 мм.

1.7. Укладка бетонной смеси бетононасосами является комплексным технологическим процессом, включающим се приемку в загрузочный бункер бетонотранспортной установки из бетоно- или автобетоносмесительного оборудования, перекачку смеси по бетоноводу к месту укладки, ее распределение в зоне бетонирования (с применением гибких рукавов или распределительных стрел), а также все сопутствующие работы по обслуживанию этого процесса (монтаж и демонтаж трубопроводов, их очистку, обслуживание бетононасосов и т.д.).

1.8. Все технологические процессы по бетонированию конструкций должны осуществляться с соблюдением требований соответствующих пунктов Строительных норм и правил, а также в соответствии с проектно-технической документацией на здания и сооружения, проектами производства работ и типовыми картами трудовых процессов. Организация труда при производстве бетонных работ должна осуществляться согласно «Руководству по организации труда при производстве строительно-монтажных работ» (М., Стройиздат, 1972) и требованиям СНиП III-А.10-70 «Техника безопасности в строительстве».

2. Оборудование для транспортирования бетонных смесей по трубам

2.1. Бетононасосная установка для подачи бетонной смеси по трубам должна состоять из бетононасоса, бетоновода с устройством для его очистки и оборудования для распределения смеси.

Бетононасосы

2.2. При выборе бетононасоса, с точки зрения технологических требований и требований его эксплуатации, предпочтение следует отдавать установкам, имеющим наименьшее число ходов поршня в единицу времени, регулируемую производительность и дистанционное управление, возможность реверсирования, длительный срок эксплуатации без капитального ремонта, возможность переключения с автоматического на ручное управление, свободный доступ к узлам и деталям для их промывки, замены и ремонта, а также позволяющим в необходимых случаях создать высокое давление поршня на бетонную смесь (не менее 5 МПа).

Основными типами бетононасосов, используемых в строительстве, являются поршневые - с масло- и водогидравлическим приводом, реже - с механическим.

2.3. Поршневые бетононасосы с маслогидравлическим приводом в наибольшей степени отвечают требованиям п. 2.2. Принцип их работы заключается в следующем (рис. 1). Из приемного бункера бетонная смесь поочередно засасывается в один из транспортных цилиндров бетононасоса. Рабочим ходом поршня другого цилиндра смесь подается в бетоновод.

Привод поршней транспортных цилиндров осуществляется от приводных гидроцилиндров, поршни которых получают возвратно-поступательное движение за счет подачи масла и имеют жесткую связь через штоки с поршнями транспортных цилиндров.

Изменение потока бетонной смеси при тактах всасывания и нагнетания осуществляется с помощью двух шиберных пластин горизонтальной и вертикальной. Горизонтальная пластина поочередно перекрывает отверстия бункера, вертикальная - выходные отверстия транспортных цилиндров.

За счет плавной регулировки количества масла, поступающего в приводные гидроцилиндры, изменяется производительность бетононасоса от минимальной до максимальной.

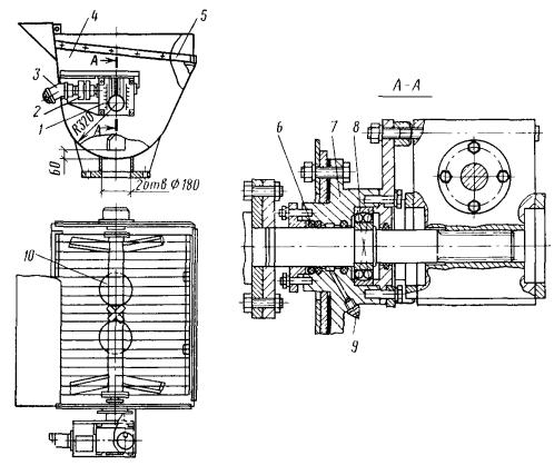
На этом принципе основана работа отечественного бетононасоса СБ-95. Более подробное описание его устройства приведено в прил. 1.

В качестве распределительных устройств бетононасосов, изменяющих направление потока бетонной смеси, могут применяться также поворотные трубы, патрубки, элементы (рис. 2, 3) или пластины (рис. 4).

2.4. Бетононасосы с водогидравлическим приводом, создающие невысокие давления на бетонную смесь (не выше 2,5 МПа), можно применять для подачи смеси по трубам большого диаметра (203 мм). При использовании трубопроводов малого диаметра (100 или 125 мм) дальность подачи бетонной смеси резко сокращается, а ее подвижность необходимо увеличивать. В первом случае бетононасосные установки должны быть в стационарном исполнении, во втором - могут быть и передвижными.

Рис 1. Принципиальная схема работы бетононасоса с маслогидравлическим приводом

а - такт всасывания бетонной смеси в правый цилиндр и нагнетания из левого; б - такт всасывания бетонной смеси в левый цилиндр и нагнетания из правого; 1 - приемный бункер; 2 - приводные гидроцилиндры; 3 - камера с промывочной водой; 4 - транспортный цилиндр, 5 - шиберная пластина; 6 - гидроцилиндр шиберной пластины

Рис. 2 Принципиальные схемы распределительных устройств бетононасосов с поворотной трубой (а) и поворотным патрубком (б)

2.5. Отличие водогидравлического привода бетононасоса от маслогидравлического заключается в том, что поршни транспортных цилиндров перемещаются в направлении к бетоноводу за счет нагнетания воды многоступенчатым центробежным насосом. Обратное их движение осуществляется с помощью тросово-блочной системы, связывающей оба поршня (рис. 4).

Рис. 3 Схема распределительного устройства бетононасоса с поворотным элементом в виде двух взаимно перпендикулярных пластин

Рис. 4. Бетононасос с водяным гидравлическим приводом и гибкой связью между поршнями

1 - механизм связи; 2 - трос; 3 - рабочий цилиндр; 4 - поршень; 5 - смеситель; 6 - приемный бункер; 7 - распределительная коробка; 8 - поворотная заслонка

Распределительное устройство бетононасосов с водогидравлическим приводом может быть выполнено с шиберной пластиной, поворотной трубой, патрубком или пластиной.

Кроме ограниченного давления на бетонную смесь, к недостаткам бетононасосов с водогидравлическим приводом относятся небольшая надежность гибкой механической связи между поршнями и более низкий к.п.д. центробежных насосов (до 0,7) по сравнению с масляными, что приводит к некоторому увеличению расхода электроэнергии.

2.6. Бетононасосы с механическим приводом в наименьшей степени отвечают требованиям п. 2.2. Их допускается применять в случаях, когда отсутствуют более совершенные бетононасосные установки с гидравлическим приводом или их не хватает для производства бетонных работ в требуемом объеме. При этом следует учитывать ряд существенных недостатков, которыми обладают бетононасосы с механическим приводом. Основными из этих недостатков являются следующие.

Большое число ходов поршня в единицу времени (до 50 в минуту) и неравномерное (синусоидальное) его движение, сообщаемое кривошипно-шатунным механизмом (рис 5), приводят, с одной стороны, к усиленному износу всех трущихся деталей бетононасоса, а с другой - к пульсационному движению бетонной смеси. При износе клапанов коэффициент наполнения транспортных цилиндров, а соответственно и производительность бетононасоса, могут уменьшиться в 2 - 3 раза. При неравномерном движении бетонной смеси сопротивления в трубопроводе резко возрастают (в 1,5 - 2 раза), происходит частичное расслоение смеси, и вследствие этого увеличивается тенденция к закупорке бетоновода.

Рис. 5. Поршневой бетононасос с механическим приводом

а - всасывание; б - нагнетание; 1 - поршень; 2 - цилиндр; 3 - рабочая камера; 4 - приемный бункер; 5 - всасывающий клапан; 6 - нагнетательный клапан

Бетононасосы с механическим приводом типа С-296 и С-284А выполнены в стационарном варианте и имеют большую высоту загрузки бетонной смеси в приемный бункер насоса, соответственно 1,95 и 3,5 м. Это вызывает необходимость применения для перегрузки бетонной смеси специальных скиповых подъемников или подъездных эстакад. Кроме того, бетононасосы оснащены тяжелыми и трудоемкими в эксплуатации бетоноводами диаметром 150 мм (С-296) и 283 мм (С-284А). Наша промышленность постепенно сокращает их производство за счет увеличения выпуска бетононасосов с маслогидравлическим приводом.

Бетоноводы

2.7. Бетоновод является одним из важнейших элементов бетононасосной установки для подачи бетонной смеси по трубам. При выборе бетоновода необходимо правильно определить его диаметр, учесть особенности конструктивного исполнения и эксплуатационного состояния.

При определении оптимального диаметра бетоновода следует учитывать, что с его уменьшением одновременно уменьшаются допустимый размер зерен крупного заполнителя, трудоемкость и стоимость монтажа и демонтажа звеньев. Вместе с тем повышается износ бетоновода и сопротивление перекачиванию бетонной смеси. Последнее приводит к падению производительности бетононасоса.

2.8. Диаметр бетоновода должен не менее чем в 3 раза превышать наибольший размер зерен крупного заполнителя в бетонной смеси. Учитывая, что в соответствии с действующими ГОСТами, отечественной промышленностью выпускаются три фракции крупного заполнителя размером 5 - 20, 20 - 40 и 40 - 70 мм, предпочтительными диаметрами бетоноводов следует считать 80, 100, 125 и 203 мм.

2.9. Бетоноводы из стальных труб диаметром 80 мм следует применять с бетононасосами производительностью не выше 40 м3/ч и развивающими давление на бетонную смесь не ниже 5 МПа. Применение в этом случае бетононасосов большей производительности значительно увеличивает износ труб, особенно колен, за счет резкого увеличения скорости перекачивания и соответственно абразивного воздействия бетонной смеси.

По бетоноводам диаметром 100 и 125 мм по тем же соображениям не следует подавать соответственно более 80 и 100 м3/ч бетонной смеси. Бетоновод диаметром 203 мм, с точки зрения его пропускной способности, может применяться с любым из существующих бетононасосов.

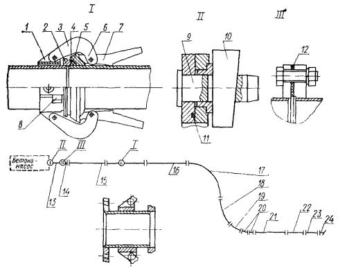
Рис. 6. Комплект звеньев и оборудования бетоновода

1 - конусный переход; 2 - прямое звено длиной 3 м; 3 - прямое звено длиной 1,5 м; 4 - прямое звено длиной 1 м; 5 - вставка длиной 0,5 - 0,6 м; 6 - задвижка плоская; 7 - задвижка с ручным гидроприводом; 8 - игольчатый клапан; 9 - промывочное звено со сливным краном; 10 - круговой распределитель; 11 - гибкий распределительный рукав; 12 - двухколенное звено; 13 - колено под углом 90°; 14 - колено под углом 90°; 15 - колено под углом 15°; 16 - колено под углом 22°30’; 17 - колено-вставка под углом 11°15’; 18 - вставка с задвижкой и вентилем для промывки бетоновода водой или продувки сжатым воздухом; 19 - замок; 20 - звено для улавливания пыжей; 21 - приспособление для перемещения гибкого рукава, 22 и 23 - шаровой и цилиндрический пыжи

2.10. Бетоноводы диаметром 80, 100 и 125 мм можно применять при диаметре транспортного цилиндра бетононасоса соответственно не более 150, 180 и 220 мм. Наиболее благоприятные условия для транспортирования бетонных смесей по трубам создаются в случае, когда диаметры бетоновода и транспортного цилиндра совпадают.

2.11. Внутренняя поверхность бетоновода должна быть калибрована, вмятины и другие повреждения его внутренней поверхности недопустимы. Их наличие приводит к возможности образования пробок при транспортировании бетонной смеси.

2.12. Бетоновод должен состоять из отдельных звеньев и комплекта устройств для его монтажа и демонтажа, нормальной эксплуатации в процессе пуска, подачи бетонной смеси, очистки и промывки (рис. 6).

Звенья бетоновода, как правило, изготовляются из стальных труб. Для уменьшения коэффициента трения стальные трубы иногда футеруются внутри полиэтиленом. На прямолинейных участках бетоновода с давлением не выше 1,5 МПа могут применяться полиэтиленовые трубы, которые значительно легче стальных. Их применение особенно эффективно в комбинации со стальными звеньями для концевого участка бетоновода, который часто перекладывается в зоне бетонирования.

Таблица 1

Внутренний диаметр, мм

Площадь поперечного сечения, см2

Объем бетонной смеси в отрезке бетоновода длиной 1 м

Масса бетонной смеси в звене длиной 3 м, кг

Масса звена длиной 3 м, кг

Масса звена длиной 3 м с бетонной смесью, кг

80

50,25

5

36

24

60

100

78,5

7,8

56

34

90

125

122,5

12,2

88

40

128

150

177

17,7

125

65

190

180

254,5

25,4

183

135

318

203

324

32,4

283

150

383

283

630

63

454

250

704

Примечание. Объемная масса бетонной смеси принята равной 2400 кг/м3.

В табл. 1 приведены весовые характеристики стальных бетоноводов, необходимые для определения трудоемкости монтажных и демонтажных работ, нагрузок на поддерживающие конструкции и выбора способа закрепления звеньев

2.13. В состав бетоновода входят прямые и изогнутые под углами 11°15’ - 90° звенья, переходные конусные звенья, игольчатый клапан или задвижка, промывочное звено, гибкий рукав для распределения бетонной смеси, ловители пыжей и комплект пыжей. В прил. 2 представлено устройство бетоновода диаметром 150 мм к бетононасосу СБ-95.

Звенья бетоновода соединяются между собой с помощью быстроразъемных соединений, конструкция которых должна обладать необходимой прочностью, достаточной для восприятия монтажных и эксплуатационных нагрузок, а также быстроразъемностью. Их герметичность обеспечивается посредством установки резиновых прокладок.

Из существующих конструкций замков, удовлетворяющих перечисленным требованиям, соединение труб, представленное на рис. 6, является наиболее удачным, так как с его помощью можно производить шарнирное сочленение звеньев между собой.

Переходный конус предназначен для присоединения начального звена бетоновода к бетононасосу в случае несоответствия диаметров труб бетоновода и транспортного цилиндра насоса. Потери напора в переходных конусах в зависимости от их диаметра и длины могут составлять 0,2 - 0,6 МПа, поэтому их установка в бетоноводе нежелательна.

Максимальный угол перехода от большего диаметра конуса к меньшему не должен превышать 1° или уменьшение диаметра не должно быть более 35 мм на 1 м его длины.

Прямые звенья длиной 3 м являются основными в комплекте бетоновода. Звенья длиной 1,5; 1 м и вставки служат в качестве доборных элементов. Колена и двухколенное звено предназначены для изменения направления прокладки бетоновода.

Игольчатый клапан или задвижки используются в случае разборки звеньев горизонтального участка при установке пыжей, для предупреждения вытекания бетонной смеси из вертикального участка бетоновода. Для этого перед разборкой бетоновода в гнездо клапана вставляются иглы, образующие в сечении трубопровода решетку, препятствующую опусканию бетона из стояка.

Промывочное звено, выполненное из резинотканевого рукава, применяется при промывке бетоновода водой. Это звено входит в комплект бетоновода в случаях, когда нагнетание воды производится бетононасосом. При наличии отдельного водяного насоса или компрессора с этой целью используется специальная вставка с задвижкой и вентилем (см. рис. 6).

Круговой распределитель, состоящий из двух шарнирно-сочлененных колен и подставки, используется при бетонировании цилиндрических конструкций или в других случаях для распределения бетонной смеси.

Гибкий распределительный рукав целесообразно применять для распределения бетонной смеси при бетоноводе диаметром 80 и 100 мм. При использовании рукава диаметром 125 мм при подаче бетонной смеси необходимо применять специальное приспособление для его перемещения (см. рис. 6).

Шаровые и цилиндрические пыжи предназначены для очистки внутренней поверхности бетоновода от бетонной смеси. Они должны изготовляться из пористой резины сечением на 20 - 30 мм, превышающим диаметр бетоновода.

Звено для улавливания пыжей присоединяется к конечному звену бетоновода и служит устройством, препятствующим полному выходу пыжей из трубопровода в момент окончания его очистки от бетонной смеси.

Оборудование для распределения бетонной смеси

2.14. Для распределения бетонной смеси, подаваемой по бетоноводу, в соответствующих случаях могут применяться гибкие рукава, круговой распределитель (рис. 6), поворотные звенья, желоба, хоботы и распределительные стрелы.

2.15. Гибкие распределительные рукава диаметром 80 - 100 мм и иногда 125 мм применяются для распределения бетонной смеси в радиусе до 8 м. В ряде случаев их длина может быть доведена до 15 м. Дальнейшее увеличение длины рукавов нецелесообразно ввиду повышенных сопротивлений движению бетонной смеси в них по сравнению со стальными бетоноводами.

Рис. 7. Способы соединения поворотных звеньев с бетоноводом

а - соединение с вертикальным участком бетоновода, б - соединение с горизонтальным участком бетоновода; 1 - поворотное колено; 2 - шарнирное замковое соединение; 3 - передвижная опора

2.16. Круговой распределитель может применяться при использовании бетоноводов диаметром 125 мм и более. Для распределения бетонной смеси на больших площадях свободный конец бетоновода наращивается и передвигается на соответствующих опорах по окружности. Местное распределение бетонной смеси целесообразно осуществлять с помощью гибкого рукава или поворотного желоба.

2.17. Поворотные звенья применяются при небольшой площади бетонирования для обеспечения возможности перемещения свободного конца бетоновода по окружности (рис. 7). Соединение поворотных звеньев с вертикальным участком бетоновода осуществляется с помощью одного колена, а с горизонтальным - с помощью двух колен. В качестве шарнирного соединения колен между собой или с бетоноводом применяется обычное замковое соединение (рис. 6).

2.18. Поворотные желоба применяются для распределения бетонной смеси, подаваемой по бетоноводу диаметром 150 мм и более. Желоба, как правило, выполняются полноповоротными шириной в верхней части 400 - 500 мм из стали толщиной 0,5 мм. Угол наклона желоба к горизонтальной плоскости должен быть не менее 45°.

При высоте установки бетоновода 1,5 м длину желоба можно применять 2 м.

2.19. Хоботы применяются с бетоноводами диаметром не менее 180 мм при большой интенсивности бетонирования массивных конструкций.

Рис. 8. Распределительная трехсекционная стрела, складывающаяся в вертикальной плоскости

При этом они заранее устанавливаются в местах спуска бетонной смеси под бетоноводом. Вначале бетонирования смесь подается в наиболее удаленный от бетононасоса хобот.

2.20. Распределительные стрелы относятся к специализированному оборудованию, предназначенному для перемещения концевого участка бетоновода в зоне распределения бетонной смеси.

2.21. Распределительная стрела состоит из несущих элементов-секций, бетоновода с концевым резинотканевым рукавом, опорно-поворотного устройства и привода.

Несущие элементы выполняются, как правило, коробчатого сечения из высокопрочных сталей. Они шарнирно соединяются между собой и приводятся в движение с помощью гидроцилиндров.

Рис. 9. Распределительная двухсекционная стрела, складывающаяся в горизонтальной плоскости

2.22. Стрелы выполняются полноповоротными и в зависимости от их длины бывают двух, трех- и четырехсекционными.

Складывание секций стрелы может производиться в вертикальной (рис. 8) или горизонтальной (рис. 9) плоскости.

2.23. Вертикально складывающиеся стрелы применяются для установки на одной базе с бетононасосом или в виде автономных установок (см. пп. 2.33 - 2.37). В первом случае в качестве привода стрелы используется силовая установка бетононасоса, во втором - самостоятельный гидропривод.

2.24. Горизонтально складывающиеся стрелы целесообразно применять в виде автономных установок для распределения бетонной смеси только в горизонтальной плоскости, а также в стесненных условиях (например, при установке их внутри помещений, на заводах железобетонных изделий и пр.).

2.25. Бетононасосные установки в зависимости от назначения могут применяться в виде стационарного, прицепного или самоходного оборудования, оснащенного бетоноводом, собственной или автономной распределительной стрелой (рис. 10). В случаях применения автономной распределительной стрелы в комплект бетононасосной установки должен входить дополнительный бетоновод.

В качестве силовых агрегатов в бетононасосных установках используются электродвигатели, двигатели внутреннего сгорания или двигатели базовой машины.

2.26. Стационарные бетононасосные установки в зависимости oт их производительности могут применяться при бетонировании массивных конструкций с большим объемом бетона или при длительных сроках строительства сооружения и небольшой интенсивности бетонирования. При большой интенсивности бетонирования можно применять бетоноводы диаметром до 203 мм, при малой интенсивности - не более 125 мм. При частых перестановках бетоновода и небольших объемах бетонных работ следует использовать бетоноводы диаметром 80 и 100 мм.

Рис. 10. Основные типы исполнения бетонотранспортных установок

а - стационарные, б - прицепные, в - самоходные; 1 - с бетоноводом; 2 - с распределительной стрелой; 3 - с бетоноводом и распределительной стрелой

Рис. 11. Схема возможных положений секций распределительной стрелы автобетононасоса

2.27. Стационарные бетононасосные установки с распределительными стрелами, смонтированными на одной раме с бетононасосом (с собственными распределительными стрелами), применяются в исключительных случаях, в основном при возведении конструкций нулевого цикла. При этом на строительной площадке должны применяться краны большой грузоподъемности, необходимые для перестановки бетононасоса со стрелой вдоль фронта бетонирования. Использование таких установок наиболее эффективно для бетонирования сборных железобетонных конструкций заводского изготовления. В этом случае целесообразно применять горизонтально складывающуюся стрелу.

2.28. Стационарные бетононасосные установки с автономными распределительными стрелами рекомендуется применять при возведении высотных зданий и массивных сооружений с развитыми размерами в плане. В этом случае стрела устанавливается в непосредственной близости от бетонируемой конструкции или на рабочем месте и с бетононасосом соединяется магистральным бетоноводом (диаметром не более 125 мм).

2.29. Прицепные бетононасосные установки, оснащенные бетоноводом, собственной или автономной распределительной стрелой, целесообразно применять при частых перебазировках оборудования для бетонирования самых разнообразных монолитных конструкций и сооружений. При этом целесообразно применять бетоновод диаметром не более 125 мм.

2.30. Самоходные бетононасосные установки (автобетононасосы) применяются с бетоноводами диаметром не более 125 мм при бетонировании рассредоточенных конструкций с небольшим объемом бетонных работ и необходимости частой перебазировки оборудования.

Таблица 2

Тип установок

Назначение

Стационарная бетононасосная установка производительностью соответственно до 10, 20 и 40 м3

Бетонирование конструкций нулевого цикла и надземных сооружений при длительных сроках строительства и интенсивности потока бетонной смеси соответственно до 5, 10 и 20 м3

То же, производительностью свыше 60 м3

Бетонирование массивных конструкций при интенсивности потока бетонной смеси свыше 30 м3

Стационарная бетононасосная установка производительностью до 20 м3/ч с собственной распределительной стрелой

Бетонирование массивных конструкций нулевого цикла при интенсивности потока бетонной смеси до 10 м3/ч и наличии на объекте кранов соответствующей грузоподъемности

Стационарная бетононасосная установка производительностью до 40 м3/ч с автономной распределительной стрелой

Бетонирование конструкций нулевого цикла и надземных сооружений при интенсивности потока бетонной смеси до 20 м3

То же, производительностью свыше 60 м3

То же, при интенсивности бетонирования свыше 30 м3

Прицепная бетононасосная установка производительностью до 40 м3

Бетонирование конструкций нулевого цикла и надземных сооружений при частых перебазировках установки с объекта на объект и сравнительно небольшой длине бетоновода

То же, с собственной распределительной стрелой

Бетонирование конструкций нулевого цикла и невысоких надземных сооружений при частых перебазировках установки с объекта на объект

То же, с автономной распределительной стрелой

Бетонирование конструкций нулевого цикла и надземных сооружений при частых перебазировках установки с объекта на объект

Самоходная бетононасосная установка (автобетононасос) производительностью до 40 м3

Бетонирование конструкций нулевого цикла и надземных сооружений при частых перебазировках установки как внутри объекта, так и с объекта на объект и сравнительно небольшой длине бетоновода

Самоходная бетононасосная установка с собственной распределительной стрелой (автобетононасос с распределительной стрелой) производительностью соответственно до 40 и 60 м3

Бетонирование конструкций нулевого цикла и невысоких надземных сооружений при частых перебазировках с объекта на объект, необходимости использования высокой мобильности установки внутри объекта и интенсивности потока бетонной смеси соответственно до 20 и 30 м3

Самоходная бетононасосная установка (автобетононасос) с автономной распределительной стрелой производительностью до 40 м3

Комплексное бетонирование конструкций нулевого цикла и надземных сооружений на двух-трех объектах, расположенных недалеко один от другого, с установкой распределительных стрел на каждом объекте и использованием одного автобетононасоса

2.31. Самоходные бетононасосные установки с собственной распределительной стрелой - автобетононасосы со стрелой (рис. 11) - наиболее эффективно применять при интенсивном ведении бетонных работ и частых перебазировках оборудования, вдоль фронта бетонирования, необходимости подачи бетонных смесей в опалубку тонкостенных конструкций, отдельно стоящих фундаментов в оконные проемы, технологические отверстия и другие труднодоступные места. Эти установки обычно укомплектовываются дополнительным бетоноводом длиной 50 - 60 м такого же диаметра, как и на стреле (100 - 125 мм). Распределительная стрела может быть длиной от 18 до 35 м, в редких случаях - до 45 м.

Иногда автобетононасосы со стрелами, применяемые для туннельных работ, имеют бетоновод диаметром 150 мм. В этом случае стрела, как правило, выполнена двухсекционной, складывающейся в вертикальной плоскости.

2.32. Самоходные бетононасосные установки (автобетононасосы) с автономными распределительными стрелами и бетоноводами диаметром 100 и 125 мм можно применять при необходимости интенсивного бетонирования зданий повышенной этажности и массивных сооружений с развитыми размерами в плане. В этом случае установку целесообразно укомплектовать двумя-тремя автономными стрелами, которые устанавливаются на различных объектах строительства, расположенных недалеко один от другого. При этом наиболее эффективно используется мобильность бетононасоса и до минимума сокращаются его технологические простои.

В табл. 2 приведено назначение основных типов бетононасосных установок, а в прил. 3 дана техническая характеристика отечественных и зарубежных бетононасосов, применяемых у нас в стране.

Автономные распределительные стрелы

2.33. Автономные распределительные стрелы, применяемые в бетононасосных установках, по технологическому принципу действия подразделяются на стационарные, переставные, самоподъемные и передвижные. В конструктивном отношении они могут быть выполнены на рамной или башенной опоре, трубчатых колоннах и на базе одно- или двухконсольных башенно-стреловых установок (рис. 12).

Рис. 12. Основные типы исполнения автономных распределительных стрел

а - на рамной опоре, б - на трубчатой колонне, в - на башенной опоре; г - на башенно-стреловой установке одно- или двухконсольной

Распределительные стрелы должны устанавливаться на объекте в зоне бетонируемой захватки и с бетононасосом соединяться магистральным бетоноводом. Бетононасос при этом может располагаться в месте, удобном для подъезда автотранспортных средств для перевозок бетонной смеси или под бетоносмесительной установкой.

В табл. 3 представлены рекомендуемая область применения основных типов автономных распределительных стрел, а в прил. 4 - техническая характеристика и общие виды некоторых опытно-производственных образцов этого оборудования.

2.34. Стационарные распределительные стрелы должны удерживаться против опрокидывания, прикреплением их с помощью анкеров к массивным частям сооружения, несущим элементам конструкции или специальным фундаментам. Последние должны в случаях, когда опирание стрелы на несущие элементы конструкции недопустимо из-за динамических нагрузок, возникающих при ее paботе. При этом наиболее целесообразно применять установки, смонтированные на трубчатых колоннах или башенных опорах. При необходимости распределения бетонной смеси на больших площадях (диаметром до 100 м) следует применять стрелы, смонтированные на одноконсольной башенно-стреловой установке, при большой интенсивности бетонных работ - на двухконсольной установке

Таблица 3

Тип стреловой установки

Максимальный вылет стрелы, м

Максимальная высота опорного шарнира стрелы от основания установки, м

Возможные способы установки стрелы

Вид конструкций и сооружений

на основании сооружения или специальном фундаменте

на естественном грунтовом основании

на несущих элементах конструкции

массивные фундаменты и фундаментные плиты

конструкции протяженные в плане, в том числе рассредоточенные

цилиндрические сооружения

высотные здания и сооружения, в том числе возводимые в скользящей опалубке

Стационарная распределительная стрела на рамной опоре

25

 

+

-

+

+

-

-

+

То же, на трубчатой колонне

30

 

+

-

-

+

-

+

-

То же, на башенной опоре

35

 

+

-

-

+

-

+

+

То же, на башенно-стреловой установке вылетом до 20 м:

 

 

 

 

 

 

 

 

 

одноконсольной

40

 

+

-

-

+

-

+

-

двухконсольной

50

 

+

-

-

+

-

+

-

Переставная распределительная стрела на рамной опоре

20

 

+

+

+

+

+

-

+

To же, на трубчатой колонне

25

 

+

+

-

+

-

+

-

То же, на башенной опоре

25

 

+

+

-

+

-

+

-

Самоподъемная распределительная стрела на рамной опоре

25

 

+

+

+

+

-

+

-

Самоподъемная распределительная стрела на трубчатой колонне

30

 

-

-

+

-

-

-

+

То же, на башенной опоре

35

 

+

+

-

+

-

+

+

Передвижная распределительная стрела

20

 

-

+

-

-

+

-

-

То же, на одноконсольной башенно-стреловой установке вылетом до 20 м1

40

 

-

+

-

+

+

+

-

1 При использовании стрелы для возведения зданий высотой более 20 м башенная опора может наращиваться с соответствующим ее прикреплением к несущим конструктивным элементам.

Примечание Знак + означает возможность применения соответствующего типа стрелы, знак - означает, что применение ее нецелесообразно.

2.35. Устойчивость переставных распределительных стрел должна обеспечиваться с помощью контргруза или балласта. Балласт, как правило, выполняется съемным из железобетонных элементов небольшой массы. Последнее позволяет применять для перестановки стрел этого типа краны малой грузоподъемности.

2.36. Вертикальное передвижение самоподъемных стрел наиболее целесообразно осуществлять с помощью гидроцилиндров, так как маслогидравлический привод позволяет обеспечить необходимые усилия и плавность подъема установки.

Гидроцилиндры стрел на рамной и башенной опорах должны монтироваться в соответствующих местах непосредственно на установке, а для стрел с трубчатой колонной - на отдельных опорных рамах. Последние должны быть оснащены роликами, которые служат в качестве направляющих элементов при вертикальном перемещении стрелы.

Фиксирование ее в горизонтальной плоскости производится теми же направляющими роликами, а в вертикальной - втычными болтами на опорных рамах.

Опорные рамы перед монтажом стрелы на трубчатой колонне устанавливаются над технологическими отверстиями в перекрытиях или других конструктивных элементах сооружения. Через эти рамы на сооружение передаются как горизонтальные, так и вертикальные силы, возникающие при работе стрелы. При подъеме стрелы рамы по мере их освобождения переставляются выше.

Распределительные стрелы на башенных опорах при соответствующем увеличении высоты возводимой конструкции подращиваются снизу путем установки дополнительных секций.

Высота перемещения самоподъемной стрелы на рамной опоре зависит от конструктивного решения устройства для ее подъема и, как правило, не превышает 10 м.

2.37. Передвижные распределительные стрелы могут выполняться на пневматическом или рельсовом ходу. В первом случае рамная опора стрелы устанавливается на двухосном прицепе. Передвижение стрелы вдоль фронта бетонирования осуществляется с помощью автомобилей или средств на гусеничном ходу. Во втором случае в качестве базового оборудования используются одноконсольные башенно-стреловые установки. Для их передвижения используются стандартные электросиловые устройства башенных кранов.

Бетоновод, соединяющий стрелу с бетононасосом, должен иметь компенсационное устройство из двух звеньев, соединенных шарнирно между собой и с трубопроводом.

3. Требования к бетонным смесям и их составляющим

3.1. Бетонные смеси, предназначенные для транспортирования по трубопроводам, должны обладать повышенной связностью, однородной структурой, удобоперекачиваемостью и обеспечивать получение требуемых физико-механических характеристик бетона (прочности при сжатии, водонепроницаемости, морозостойкости и т.д.).

Бетонные смеси и материалы, применяемые для их приготовления, должны удовлетворять требованиям действующих ГОСТ, соответствующих разделов СНиП и специальным требованиям настоящего раздела «Руководства».

3.2. Состав бетонной смеси должен быть подобран таким образом, чтобы при ее движении в бетоноводе постоянно сохранялся пристенный смазочный слой, зерна заполнителей не соприкасались между собой, а давление передавалось по жидкой фазе. Для выполнения этих требований необходимо, чтобы объем цементного теста превышал объем пустот смеси крупных и мелких заполнителей не менее чем на 40 л/м3. Такая смесь, как правило, имеет одновременно и высокую удобоукладываемость.

Бетонная смесь, имеющая межзерновую пустотность заполнителя (крупного или мелкого) большую, чем объем цементного теста, перекачиванию не поддается.

3.3. Консистенция бетонной смеси на плотных заполнителях должна быть такой, чтобы под давлением, возникающим в трубопроводе при перекачивании бетонной смеси, растворная часть не выдавливалась из скелета заполнителя. Рекомендуемая подвижность бетонной смеси (по величине осадки стандартного конуса) находится в пределах от 4 до 14 см и водоцементное отношение не выше 0,75. Оптимальная подвижность бетонной смеси, с точки зрения ее удобоперекачиваемости*, находится в пределах 6 - 8 см, а водоцементное отношение - 0,4 - 0,6.

* Под удобоперекачиваемостью бетонной смеси подразумевается способность транспортирования по трубопроводу на предельные расстояния без расслоения и образования пробок под воздействием внешних сил (давления, создаваемого при поступательном движении поршня бетононасоса).

При определении расхода воды в бетонной смеси необходимо учитывать водоудерживающую способность цемента и величину водопоглощения заполнителей (мелкого и крупного). Последняя для ориентировочных подсчетов может быть принята равной 1 - 1,5 % от веса заполнителей.

3.4. Жесткие, малоподвижные и литые несвязные бетонные смеси непригодны для перекачивания по трубопроводам. При применении малоподвижных смесей сопротивление движению может оказаться больше давления, развиваемого бетононасосом, что приводит к остановке процесса транспортирования и закупорке бетоноводов. При перекачивании литых бетонных смесей в результате их расслаивания из-за избытка свободной воды в трубопроводе также образуются пробки.

Необходимая консистенция бетонной смеси обеспечивается правильным соотношением между ее растворной частью и расходом крупного заполнителя. При использовании крупных заполнителей фракции 5 - 20 мм объем растворной части на 1 м3 бетонной смеси должен быть не менее 550 - 650 л, при заполнителях 5 - 40 мм - соответственно не менее 500 - 600 л. При этом следует учитывать, что большие значения расхода растворной части соответствуют случаю применения бетоноводов малого диаметра (80 - 100 мм).

3.5. При определении расхода цемента следует исходить из условия необходимости обеспечения требуемой марки бетона и вязко-пластичных свойств бетонной смеси. Последнее достигается оптимальным содержанием в бетонной смеси цемента и пылевидных частиц песка размером до 0,14 мм. Их общая масса должна быть 330 - 380 кг в 1 м3 смеси при использовании в качестве крупного заполнителя гравия и 380 - 430 кг - при использовании щебня. Расход цемента должен быть не менее 250 кг/м3 бетонной смеси.

Увеличение содержания цемента и пылевидных частиц более 500 кг/м3 резко повышает вязкость смеси и соответственно сопротивления ее движению в бетоноводе.

3.6. Для приготовления бетонных смесей рекомендуется применять портланд-, шлакопортланд- и пуццолановые цементы с нормальным или замедленным сроком схватывания. Наиболее благоприятным является применение пластифицированных цементов и цементов высоких марок с более тонким помолом. В последнем случае следует учитывать возможное сокращение сроков схватывания цементного теста, влияющее в сторону увеличения на сопротивление движению бетонной смеси и уменьшения продолжительности ее нахождения в трубопроводе.

3.7. Песок для бетонных смесей, подаваемых с помощью бетононасосов, должен содержать до 3 - 7 % пылевидных частиц крупностью менее 0,14 мм и 15 - 20 % мелких частиц крупностью менее 0,31 мм. При отсутствии или недостатке в природном или дробленом песке его наиболее мелкой фракции последняя заменяется каменной или кварцевой мукой, золой-уносом, трассом и т.д. Однако повышение содержания тонкомолотых добавок более 20 % от массы цемента не рекомендуется, так как в этом случае бетонная смесь за счет ее отощания плохо удерживает воду и может легко расслаиваться.

3.8. Содержание мелких, менее 0,06 мм, пылевидных, илистых и глинистых частиц не должно превышать 3 % в природном песке и 5 % в дробленом. При избыточном количестве этих частиц возрастает потребность в воде затворения, увеличиваются усадочные деформации и снижается прочность бетона.

3.9. Доля песка в общей массе заполнителей должна определяться известными экспериментально-расчетными методами исходя из условия необходимости получения смеси сухих заполнителей с минимальной пустотностью. Для ориентировочных подсчетов долю песка можно принимать равной 32 - 50 % при использовании гравия и 40 - 60 % - при использовании щебня. Для второго случая на рис. 13 представлен рекомендуемый гранулометрический состав заполнителей.

3.10. В качестве крупного заполнителя для бетонной смеси рекомендуется применять гравий или щебень неостроконечной формы.

Максимальный размер зерен крупного заполнителя должен быть не более одной трети внутреннего диаметра бетоновода при использовании щебня и 0,4 - при использовании гравия.

Наличие зерен плоской или игловатой формы более 5 % по массе влечет за собой ухудшение удобоперекачиваемости бетонной смеси и ускоренный износ деталей бетононасоса.

3.11. Подбор состава бетонной смеси, подаваемой по трубам должен осуществляться лабораторией строительства. Для определения оптимального состава задаются несколькими соотношениям между мелким и крупным заполнителями, при которых изготовляется бетонная смесь с минимальным расходом цемента и осадкой конуса.

Рис. 13. График рекомендуемого гранулометрического состава заполнителей бетонных смесей, перекачиваемых по трубопроводу

Затем путем постепенного добавления цементного теста и пробных перекачек бетононасосом проверяется удобоперекачиваемость смеси. Добавление отдельно цемента и воды также допускается при условии сохранения постоянства водоцементного отношения. За оптимальный состав принимается тот, который позволяет получить удобоперекачиваемую бетонную смесь и требуемую марку бетона при минимальном расходе цемента.

В прил. 5 представлен расчетный метод ориентировочной оценки удобоперекачиваемости бетонной смеси. Предварительная оценка удобоперекачиваемости может производиться в соответствии с требованиями п. 3.5 по величине расхода в смеси цемента и пылеватых частиц.

В построечных условиях оценкой удобоперекачиваемости бетонных смесей в процессе проведения работ может служить их способность всасываться без расслоения под воздействием атмосферного давления из приемного бункера в транспортные цилиндры бетононасоса, в которых образуется вакуум при ходе поршня, соответствующего такту всасывания смеси.

3.12. Увеличение расхода цемента сверх нормативного при приготовлении бетонной смеси с целью улучшения ее удобоперекачиваемости недопустимо. При тщательно подобранном зерновом составе крупного и мелкого заполнителей количество цемента в бетонной смеси, подаваемой бетононасосами, не отличается от расхода цемента. Для приготовления смеси такой же подвижности, укладываемой другими механизмами.

3.13. Обеспечение удобоперекачиваемости бетонной смеси в случаях, когда возможная комбинация подбора ее составляющих не приводит к необходимым результатам, может быть достигнуто за счет применения пластифицирующих добавок. В качестве последних допускается использовать любые поверхностно-активные вещества (ПАВ), предназначенные для улучшения удобоукладываемости бетонных смесей. Такие вещества, как правило, улучшают и ее удобоперекачиваемость.

Для тощих составов эффективнее применять гидрофобно-пластифицирующие добавки (мылонафт, асидолмылонафт, кремнийорганические жидкости ГКЖ-10, ГКЖ-11, ГКЖ-94 и др.) и воздухововлекающие или микрогазовыделяющие (СНВ-смола, нейтрализованная щелочью, воздухововлекающая, ГКЖ-94 кремнийорганическая жидкость и др.), так как вовлекаемый или выделяемый ими воздух или газ позволяет достичь повышения подвижности и удобоукладываемости бетонной смеси без добавления вяжущих; для жирных - эффективнее гидрофильно-пластифицирующие добавки (СДБ - сульфитно-дрожжевая бражка, кальциевая соль лигносульфоновой кислоты с примесью редицирующих и минеральных веществ и др.), пластифицирующие смесь.

Введение ПАВ в бетонные смеси в количестве 0,01 - 0,5 % от массы цемента позволяет повысить их подвижность при сохранении марки бетона или снизить расход воды и повысить прочность бетона или снизить расход цемента до 8 - 10 %. Дозировка ПАВ назначается в соответствии с данными табл. 19 СНиП I-B.2-69 «Вяжущие материалы неорганические и добавки для бетонов и растворов» с обязательной проверкой в строительной лаборатории.

3.14. При дозировке воздухововлекающих и микрогазовыделяющих веществ следует учитывать, что большое количество воздушных пузырьков в бетонной смеси может привести к отрицательным последствиям при ее перекачивании. Причина заключается в том, что общее количество воздушных пор в бетонной смеси действует как амортизирующая воздушная подушка, которая сжимается под воздействием давления, возникающего в трубопроводе.

При большой длине трубопровода, особенно его вертикального участка, величина сжатия «воздушной подушки» может превысить длину хода поршней в транспортных цилиндрах бетононасоса, в результате чего давление от поршня не передается по всей длине бетоновода и процесс перекачивания бетонной смеси прекращается. Это становится заметным по частичному возвращению бетонной смеси в приемный бункер бетононасоса из трубопровода, который, как известно, в момент переключения клапанов в распределительном устройстве насоса на короткий промежуток времени сообщается с атмосферой.

В трубопроводе, при наличии воздушной подушки предельного объема, за счет возвратно-поступательного движения бетонной смеси происходит ее расслоение и закупорка бетоновода.

3.15. При перекачивании бетонной смеси в жаркую погоду рекомендуется применять добавки - замедлители схватывания (гипс, слабый раствор серной кислоты, СДБ, ГКЖ и др.).

3.16. При выборе добавок - замедлителей схватывания предпочтение следует отдавать добавкам, уменьшающим водопотребность и расход вяжущих при одновременном повышении их пластичности.

3.17. При приготовлении бетонной смеси необходимо обеспечить точность дозировки материалов в соответствии с заданным составом бетона, постоянство ее подвижности и гранулометрического состава заполнителей. Продолжительность перемешивания должна быть достаточной для получения однородной структуры бетонной смеси.

4. Гидравлические сопротивления в трубопроводе и их влияние на производительность бетононасосов

4.1. Выбор типа бетононасоса по его основной характеристике - величине давления поршня на бетонную смесь - должен производиться с учетом потерь напора в трубопроводе при транспортировании смеси и изменения рабочих характеристик бетононасоса под нагрузкой.

4.2. Потери в трубопроводе Р зависят от величины удельных сопротивлений движению бетонной смеси DР, общей длины бетоновода l и величины его вертикального участка (h), а также от местных потерь напора в переходном конусе и коленах (Рк):

Р = DР ´ l + Рк + gh · 10-5,                                                        (1)

где DР - удельное сопротивление движению бетонной смеси на 1 м горизонтального участка бетоновода, МПа/м;

l - общая длина бетоновода, м;

Рк - местные потери напора в переходном конусе и коленах бетоновода, МПа (п. 4.5);

gh · 10-5 - потери напора, равные величине гидростатического давления бетонной смеси объемной массой g (кг/м3) на вертикальном участке бетоновода высотой h (м), МПа.

При величине объемной массы бетонной смеси, равной 2400 кг/м3, выражение (1) приобретает следующий вид

Р = DРl + Рк + 0,024h.                                                           (2)

4.3. Величина удельного сопротивления движению бетонных смесей в трубопроводе зависит от характера и скорости их движения, состава и подвижности смеси, крупности и вида заполнителя, доли песка в заполнителях, материала бетоновода и его внутреннего диаметра.

Движение бетонной смеси в трубопроводе может быть равномерным и неравномерным (импульсным). С достаточной степенью приближения равномерным можно считать смеси, транспортируемой бетононасосами с гидравлическим приводом. Импульсное движение создают насосы с механическим приводом.

Рис. 14. Характер движения бетонной смеси в трубопроводе при структурном режиме

1 - стенка трубопровода; 2 - цементно-песчаный раствор; 3 - основной поток смеси; 4 - пристенный смазывающий слой

Движение смеси в бетоноводе может происходить только при наличии пристенного смазывающего слоя (рис 14), состоящего из цементного теста и мельчайших частиц песка. Создание пристенного слоя обеспечивается правильным подбором состава бетонной смеси.

Таблица 4

№ составов бетонной смеси

Расход цемента в бетонной смеси, кг/м3

Значение коэффициента а, МПа (с/м)1/2

Значение величины DР0, МПа

Подвижность смеси, см

8

10

8

10

1

300

0,0113

0,0088

0,006

0,0032

2

400

0,014

0,012

0,0111

0,0074

Примечание. Расход песка в смеси 1 и 2 принят соответственно 800 и 700 кг/м3кр = 2,1, объемная масса 1560 кг/м3), а щебня 8 - 1100 кг/м3 (фракция 5 - 20 мм, объемная масса 1330 кг/м3).

Рис. 15. Зависимость скорости движения бетонной смеси в трубопроводах от производительности бетононасоса

1, 2, 3 и 4 - трубопроводы диаметром соответственно 100, 125, 150 и 200 мм

4.4. Величину удельного сопротивления движению бетонных смесей DР, МПа подвижностью до 10 см рекомендуется определять по формуле

                                                      (3)

где DР0 - сопротивление на одном горизонтальном участке трубопровода при сдвиге, т.е. при V = 0 м/с, МПа (табл. 4);

V - скорость транспортирования смеси, м/с (рис. 15);

a - коэффициент, зависящий от подвижности и состава смеси, МПа  (табл. 4);

 - коэффициент изменения сопротивления движению смеси в зависимости от величины внутреннего диаметра трубопровода;

Д100, Дх - внутренний диаметр трубопровода, равный соответственно 100 мм и применяемый на практике, мм;

Км - коэффициент изменения сопротивления движению смеси в зависимости от материала трубопровода. Для стальных трубопроводов Км = 1, для резиновых шлангов Км = 1,5;

Кн - коэффициент перехода от равномерного к неравномерному движению смеси; для равномерного движения смеси Кн = 1, а для неравномерного - пульсационного Кн = 1,5;

Кз - коэффициент, учитывающий влияние вида крупного заполнителя на величину сопротивлений. Для щебня Кз = 1, для гравия Кз = 0,8.

Потери давления Р, МПа, на заданной длине бетоновода l при транспортировании высокоподвижных бетонных смесей (ОК = 10 см и выше) с помощью поршневых бетононасосов могут быть определены с достаточной для практики точностью по следующей формуле:

                                                        (4)

где Q - расход бетонной смеси, м3/ч;

l - длина бетоновода, м;

D - внутренний диаметр бетоновода, мм.

Пример. Определить величину потерь давления в бетоноводе диаметром 100 мм, длиной 100 м при производительности бетононасоса 10 м3/ч.

4.5. Местные потери напора в переходном конусе Рк, соединяющем транспортные цилиндры бетононасоса с бетоноводом, зависят от тех же факторов, что и величина сопротивления в прямых звеньях, но значительно превышает их. Величину потерь напора в переходном конусе с оптимальным углом перехода 0,5 - 1° на 1 м его длины можно принимать в 3 - 4 раза больше, чем сопротивление на горизонтальном участке бетоновода.

Сопротивление в коленах можно принимать в соответствии с данными табл. 5. Для определения сопротивлений в коленах диаметром, отличным от 100 мм, данные таблицы необходимо умножить на коэффициент Ка.

Таблица 5

Радиус закругления колена, м

Скорость движения бетонной смеси, м/с

0,5

1

2

0,5

4,37

5,55

7,05

1

4,77

5,72

6,72

1,5

5,25

6,23

7,33

2

5,83

7

7,9

Пример. Определить требуемую величину давления поршня в транспортном цилиндре бетононасоса для преодоления сопротивлений движению бетонной смеси в магистральном бетоноводе автономной распределительной стрелы при следующих условиях:

Общая длина стального бетоновода с участком

на распределительной стреле вылетом 25 м............................................................ 105 м

Длина вертикального участка бетоновода................................................................. 60 м

Число колен 90° с радиусом закругления 1 м в магистральном бетоноводе........ 2 шт.

Количество колен 90° с радиусом закругления 0,5 м

в бетоноводе распределительной стрелы................................................................. 8 шт.

Диаметр бетоновода внутренний........................................................................... 100 мм

Длина переходного конуса (при диаметре транспортного цилиндра 200 мм)........ 3 м

Требуемая интенсивность потока бетонной смеси............................................ 15 м3

Характеристика бетонной смеси

Расход цемента.................................................................................................... 300 кг/м3

Расход песка................................................................................................................ 800 »

Крупный заполнитель............................................................................. щебень 5 - 20 мм

Расход щебня..................................................................................................... 1100 кг/м3

Осадка конуса............................................................................................................... 6 см

Объемная масса................................................................................................ 2400 кг/м3

Решение. Определяем исходные данные для нахождения величины удельного сопротивления движению бетонной смеси по формуле (3); из табл. 4 находим значение а и DP0:

в соответствии с графиком на рис. 15 по известному расходу бетонной смеси определяем скорость ее движения в трубопроводе: V = 0,5 м/с.

Далее определяем коэффициенты в формуле (3):

 Км = 1; Кн = 1,5 и Кз = 1.

Решаем уравнение (3):

Затем находим величину местных сопротивлений в бетоноводе.

Потери напора в переходном конусе составят:

Рк1 = 4DРlк = 40,0249 ´ 3 = 0,299 МПа.

Сопротивление колен магистрального бетоновода будет равно:

Рк2 = 4,77 · 10-3 · 9 · 2 = 0,0859 МПа,

а колен распределительной стрелы -

Рк3 = 4,37 · 10-3 · 9 · 8 = 0,315 МПа.

Величина потерь напора на преодоление гидростатического давления столба бетонной смеси высотой 60 м составит:

0,024h = 0,024 · 60 = 1,44 МПа.

Суммарное сопротивление движению бетонной смеси в трубопроводе для рассмотренного случая будет равно:

Р = 0,0249 · 105 + 0,299 + 0,859 + 0,315 + 1,44 = 4,75 МПа.

4.6. Величину сопротивлений движению бетонной смеси в трубопроводе Р, кгс/см2, можно также определять с помощью следующей эмпирической зависимости, используемой инженерами ГДР:

                                                   (5)

* 1 кгс / см2 @ 105 Па @ 0,1 МПа.

где l - расчетная длина подачи бетонной смеси по трубопроводу (м). Для определения l к фактической длине трубопровода прибавляется по 1 м горизонтальной подачи смеси на каждые 10° поворота бетоновода;

d - внутренний диаметр бетоновода, мм;

t0 - предельное напряжение сдвига, 10-3 кгс/см2;

b - коэффициент скорости, ;

V - скорость движения бетонной смеси в трубопроводе, см/с:

Q - расход бетонной смеси, м3/ч;

g - объемная масса бетонной смеси, т/м3;

h - высота подачи бетонной смеси.

Внутри границ удобоперекачиваемости бетонной смеси предельное напряжение сдвига и коэффициент скорости зависят от следующих факторов: водоцементного отношения, расхода цемента, тонкости помола цемента, формы зерен заполнителей, доли мелких частиц в смеси заполнителей. Значения t0 и b уменьшаются с повышением водоцементного отношения, размера зерен цемента, доли мелких частиц в смеси заполнителей и при круглой форме зерен последних.

Рис. 16. Зависимость напряжения сдвига t и коэффициента скорости b от консистенции бетонной смеси (для смесей А, В и F)

Рис. 17. Зависимость предельного напряжения сдвига t и коэффициента скорости b от консистенции бетонной смеси (для смесей С, G и Н)

Рис. 18. Зависимость предельного напряжения сдвига t и коэффициента скорости b от консистенции бетонной смеси (для смесей Д, Е, J и К)

При увеличении расхода цемента величина t0 уменьшается, а b - возрастает.

На рис. 16 - 18 приведены значения t0 и b для 10 наиболее употребимых составов бетонных смесей, а в табл. 6 даны характеристика последних и гранулометрия использованных заполнителей.

Пример. Определить величину сопротивлений движению бетонной смеси в трубопроводе для условий, рассмотренных в примере п. 4.5.

Решение. Определяем процентное содержание песка в смеси заполнителей

По табл. 6 подбираем смесь, соответствующую заданному составу - смесь «С».

Определяем расчетную длину подачи бетонной смеси

Скорость движения смеси в бетоноводе равна:

По рис. 16 находим значение t0 и b

t0 = 0,65, b = 0,054.

Затем определяем необходимое давление на бетонную смесь:

При сравнении полученных данных с величиной расчетного давления в примере, рассмотренном в п. 4.5, видно, что расхождение результатов составляет 12 %. Это свидетельствует о том, что для ориентировочной оценки сопротивлений в бетоноводе и требуемых давлений при перекачке бетонных смесей можно использовать формулы (2 - 5). Для дальнейших расчетов, связанных с выбором бетононасосов и специализированного оборудования к ним, за основу должно приниматься большее значение расчетного давления, полученного по этим формулам.

4.7. Для случая, когда отсутствует бетононасос, развивающий необходимое давление при заданных параметрах технологического процесса, сопротивления движению бетонной смеси могут быть снижены путем повышения в ней доли мелких частиц заполнителя, водоцементного отношения, увеличения диаметра бетоновода и пр. При этом необходимо учитывать, что качество бетонной смеси всегда должно удовлетворять требованиям получения бетона с заданными физико-механическими свойствами.

4.8. При определении таких расчетных параметров технологического процесса, как расход и скорость движения в трубах бетонной смеси, необходимо учитывать величину снижения производительности имеющейся установки при возрастании нагрузки на поршень транспортного цилиндра. Величина этого снижения зависит от конструктивного исполнения распределительного устройства бетононасоса, типа его привода и мощности силового агрегата.

Для бетононасосов с маслогидравлическим приводом характер зависимости между величинами давления поршня на бетонную смесь, диаметром транспортного цилиндра, мощностью главного привода бетононасоса и производительностью установки можно определять по графику, представленному на рис. 19.

При определении технических возможностей бетононасосов для ориентировочных расчетов можно использовать номограмму, показывающую зависимость между давлением в бетоноводе, его диаметром, дальностью подачи, производительностью насоса и подвижностью бетонной смеси (рис. 20). Номограмма составлена для бетонных смесей с содержанием 55 % крупного заполнителя - природного гравия, имеющего размер зерен не более 25,4 мм. При использовании в качестве крупного заполнителя щебня рабочее давление в трубопроводах увеличивается на 12 %.

Принцип определения производительности бетононасоса по известному давлению в бетоноводе показан на номограмме пунктирной линией. Для определения расчетной дальности подачи бетонной смеси давление на вертикальном участке бетоновода и шлангах принимается вдвое большим, чем на горизонтальном. Исходя из этого к длине горизонтального участка необходимо прибавить удвоенную длину вертикального бетоновода и шланга.

С помощью номограммы можно решить и обратную задачу - по требуемой производительности установить возникающее давление в бетоноводе при определенной подвижности бетонной смеси, дальности ее подачи и диаметре трубопровода.


Таблица 6

Индекс смеси

Расход цемента на 1 м2 бетонной смеси, кг

в/ц

Бетонная масса бетонной смеси, кг/дм3

Прошло через сито, %

Размер отверстий сит (по стандарту ГДР/СССР), мм

0,2

 

1

 

 

3

 

7

 

15

 

30

 

 

0,31

 

1,25

2,5

 

5

 

10

 

20

 

40

А

300

0,54

2,4

1,8

-

25,3

 

-

29,3

-

37,6

-

66,5

-

94,8

-

-

3,23

-

25,8

28,3

-

33,4

-

48,4

-

75,9

-

100

В

300

0,56

2,39

1,3

-

29,3

 

-

33,1

-

44,2

-

70,2

-

95,4

-

-

5,15

-

29,8

32,1

-

38,6

-

53,9

-

78,6

-

100

С

300

0,54

2,4

2,4

-

33,6

-

-

39,2

-

50,9

-

75,1

-

96,2

-

-

6,7

-

34,3

37,8

-

45

-

60

-

82,1

-

100

D

300

0,63

2,36

1,2

-

36,5

-

-

42

-

54,2

-

77,2

-

96,5

-

-

6

-

37,2

4,06

-

48,1

-

62,8

-

83,6

-

100

Е

300

0,63

2,36

1,6

-

39,3

-

-

46,2

-

59,2

-

80,2

-

96,9

-

-

6,8

-

40,2

44,5

-

53,7

-

67,1

-

85,8

-

100

F

220

0,87

2,36

1,4

-

30,9

-

-

36,6

-

49,2

-

75,1

-

96,2

-

-

5,5

-

31,6

35,2

-

42,9

-

58,9

-

82,1

-

100

G

270

0,65

2,37

0,9

-

31,9

-

-

36,7

-

49,2

-

75,1

-

96,2

-

-

5,2

-

32,5

35,6

-

42,9

-

58,9

-

82,1

-

100

H

350

0,51

2,37

1

-

31,4

-

-

36,5

-

49,2

-

75,1

-

96,2

-

-

5,1

-

32

35,2

-

42,8

-

58,9

-

82,1

-

100

J

300

0,62

2,36

1

-

31,4

-

-

36,5

-

49,2

-

75,1

-

96,2

-

-

5,1

-

32

35,2

-

42,8

-

58,9

-

82,1

-

100

К

300

0,55

2,46

2,4

-

33,8

-

-

39,1

-

49,3

-

75,1

-

99,1

-

-

6,7

-

34,5

37,8

-

44,2

-

58,9

-

82,1

-

100

Примечания: 1. В качестве заполнителей применены речной песок и базальтовый щебень.

2. Для бетонных смесей использован цемент PZ275 и HOZ275 (в смеси J), который примерно соответствует советскому портландцементу М300 и шлакопортландцементу М300 (в смеси J).


Рис. 19. Зависимость между производительностью бетононасоса с маслогидравлическим приводом и давлением поршня на бетонную смесь

1 - мощность привода 150 кВт, диаметр внутреннего транспортного цилиндра 180 мм; 2 - мощность привода 150 кВт, диаметр транспортного цилиндра 230 мм; 3 - мощность привода 92 кВт, диаметр транспортного цилиндра 150 мм; 4 - мощность привода 92 кВт, диаметр транспортного цилиндра 180 мм

Рис 20. Номограмма для выбора бетононасосов при равномерном движении бетонной смеси и оптимальном рабочем давлении в бетоноводе (0,28 - 1,41 МПа), максимальном постоянном (1,41 - 1,76 МПа) и максимальном кратковременном давлении (1,76 - 2,11 МПа)

Для определения технических возможностей бетононасосов с водогидравлическим приводом можно использовать рабочие характеристики центробежных насосов, применяемых для подачи воды под давлением в транспортные цилиндры установки. На рис. 21 представлены характеристики таких насосов, которые наглядно показывают, как резко падает производительность бетононасосов при увеличении давления в транспортной системе.

Рис. 21. Зависимость рабочего давления в гидросистеме от частоты вращения вала центробежного водяного насоса

1 - насос типа КШ-65 при частоте вращения вала 4000 об/мин и мощности привода 63 кВт (85 л.с.); 2 - насос типа КШ-35 соответственно при 4000 об/мин и 40 кВт (55 л.с.); 3 - насос типа КШ-35 соответственно при 2800 об/мин и 30 кВт (40 л.с.)

Кроме того, следует учитывать, что в центробежных насосах создаваемое давление зависит от величины зазора между ротором и корпусом. При загрязненной воде и при окружной скорости свыше 30 м/с возникает значительный износ сопряженных деталей, сопровождающийся постепенным увеличением зазора, а следовательно, и снижением производительности насоса. Установка фильтров для очистки рабочей жидкости гидропривода частично уменьшает износ ротора, но вместе с тем, снижает коэффициент полезного действия установки.

5. Особенности транспортирования по трубам бетонных смесей на пористых заполнителях

Общие положения

5.1. Настоящая глава Руководства содержит сведения по материалам, особенностям проектирования составов и режимам транспортирования по трубам бетонных смесей на пористых заполнителях.

5.2. Рекомендации главы распространяются на производство работ с применением конструкционно-теплоизоляционных и конструкционных бетонов, приготовленных на сухих и предварительно водонасыщенных заполнителях.

5.3. Конструкционно-теплоизоляционные бетоны на водонасыщенных заполнителях допускается применять при возведении зданий и сооружений в 1-й климатической зоне. Устройство сплошных облицовочных слоев наружных стен из керамической, стеклянной плитки и плитки из природного камня плотных пород допускается не раньше чем через 60 дней после бетонирования.

5.4. Не рекомендуется применять конструкционные бетоны на водонасыщенных заполнителях в конструкциях, работающих под водой и в зоне перепада уровня грунтовой воды.

5.10. Для перевозок приготовленных бетонных смесей от бетоносмесительной установки к месту их потребления наиболее целесообразно применение автобетоносмесителей, позволяющих осуществить дополнительное перемешивание смеси перед ее загрузкой в бетононасос

5.11. При использовании для перевозок бетонных смесей автобетоновозов и автосамосвалов смесь должна выгружаться в перегрузочный бункер, имеющий смесительный вал, в котором ее необходимо дополнительно перемешивать перед подачей в приемный бункер бетононасоса. Снижение подвижности смеси в период ее перевозок не должно превышать 15 %.

Требования к бетонным смесям и их составляющим

5.12. При определении состава бетонных смесей, их удобоперекачиваемости, выборе материалов и пластифицирующих добавок необходимо выполнять указания главы 3 и специальные рекомендации настоящего раздела Руководства.

5.13. Удобоперекачиваемость бетонной смеси на пористых заполнителях в основном зависит от водопоглощающих способностей последних, степени их предварительного насыщения водой и расхода на 1 м3 смеси, а также от величины давления и трубопроводе.

Примечание. Предварительное водонасыщение пористых заполнителей не изменяет основных физико-механических характеристик легкого бетона, таких как прочность при сжатии, остаточная влажность, морозостойкость, усадка и др. при соответствующих условиях его выдерживания в период твердения.

5.14. Подвижность бетонных смесей перед их транспортировкой по трубам должна быть не менее 7 см. Водоцементное отношение должно находиться в пределах 0,45 - 0,75.

5.15. Транспортирование по трубам бетонных смесей допускается при давлениях, приводящих к снижению их подвижности до 6 см. Это требование необходимо особенно строго выполнять при использовании в бетонных смесях сухих пористых заполнителей.

Пример. Требуется ориентировочно определить максимально допустимое давление в трубопроводе при перекачивании бетонных смесей подвижностью 8 и 18 см с расходом сухих пористых заполнителей соответственно 0,6 и 0,4 м3 на 1 м3 смеси.

Решение. По рис. 22 определяем, что снижение подвижности бетонной смеси до допустимой в трубопроводе (6 см) при исходной подвижности смеси 8 см (кривая 2, б) произойдет при максимальном давлении, примерно равном 0,1 МПа, а при подвижности 18 см - при давлении 0,8 МПа.

Более точную оценку допустимого давления в трубопроводе можно сделать по результатам расчета остаточного водоцементного отношения бетонной смеси или лабораторного определения водопоглощающей способности примененных пористых заполнителей и опытной прокачки бетонных смесей.

5.16. Минимальный расход цемента для бетонных смесей на пористых заполнителях, перекачиваемых бетононасосами по трубам, рекомендуется принимать не менее 320 кг на 1 м3 смеси при использовании в качестве крупного заполнителя гравия и 350 кг при использовании щебня.

Суммарная масса цемента и пылевидных частиц размером менее 0,14 мм в 1 м3 бетонной смеси должна быть в пределах 400 - 480 кг.

5.17. Содержание растворной части в бетонной смеси на пористых заполнителях должно составлять от 550 до 700 л/м3.

5.18. В качестве мелкого заполнителя для легких бетонных смесей, транспортируемых бетононасосами по трубам, могут использоваться:

искусственные и природные пористые пески;

смеси пористых и плотных песков;

природные плотные пески.

Плотный песок должен удовлетворять требованиям ГОСТ 8736-67* и ГОСТ 10268-70*.

Пористые пески должны удовлетворять требованиям ГОСТ 9757-73.

Модуль крупности применяемых песков должен быть в пределах 1,8 - 2,8.

В необходимых случаях мелкие заполнители должны быть предварительно насыщены водой до необходимой степени.

Содержание мелких заполнителей в бетонной смеси должно находиться в пределах 45 - 55 % от общего объема заполнителей, в зависимости от величины водоцементного отношения.

5.19. В качестве крупного заполнителя для легких бетонных смесей, транспортируемых бетононасосами по трубам, могут применяться искусственные и природные пористые заполнители с размером зерен до 40 мм.

Заполнители должны удовлетворять требованиям ГОСТ 9757-73, а также следующим специальным требованиям:

предельно допустимый размер зерен не должен превышать 1/4 внутреннего диаметра бетоновода;

применение зерен удлиненной формы в бетонной смеси в количестве, большем чем 5 % по массе, не допускается, так как это влечет за собой ухудшение ее перекачиваемости;

Примечание. Для керамзитового гравия среднее значение коэффициента формы зерен должно быть не более 1,5, при этом - число зерен с коэффициентом формы более 2,5 не более 10 %.

число поврежденных или расколотых зерен не должно превышать 10 % по массе;

число зерен больших размеров не должно превышать 5 % по объему, а мелких (менее 5 мм) - не должно быть более 10 %.

Гранулометрический состав заполнителя в зависимости от максимального размера зерен должен находиться в пределах, приведенных в табл. 7.

5.20. Пористые заполнители с предельной крупностью 40 мм в сухом состоянии могут применяться для приготовления бетонных смесей, предназначенных для перекачивания по трубам при давлении не выше 0,5 МПа. При этом расход заполнителей на 1 м3 бетонной смеси должен определяться расчетным путем с учетом величины их водопоглощения под давлением также при опытных прокачках путем постепенного увеличения их концентрации в растворной части смеси. При определении влияния пористого заполнителя на потерю подвижности бетонной смеси в трубопроводах необходимо учитывать требования пп. 5.6 и 5.10.

Таблица 7

Максимальный размер зерен заполнителя, мм

Полные остатки на контрольных ситах, %

Размеры отверстий контрольных сит, мм

менее 2,5

2,5

5

10

20

40

10

5 - 10

90 - 95

35 - 50

0

-

-

20

0 - 5

95 - 100

85 - 90

35 - 45

0

-

40

0 - 5

95 - 100

90 - 95

75 - 90

30 - 40

0

При проектировании состава бетонных смесей на сухих пористых заполнителях можно использовать ориентировочные данные, представленные в табл. 8.

5.21. Водонасыщенные крупные пористые заполнители могут применяться в бетонных смесях, предназначенных для перекачивания по трубам при давлении выше 0,5 МПа.

Таблица 8

№ п.п.

Максимальное давление рабочего поршня бетононасоса на бетонную смесь, МПа

Минимальная степень водонасыщения пористого заполнителя

1

2

22 - 27 %

2

2,5

25 - 30 %

3

3 - 3,5

40 - 50 %

4

до 4

50 - 60 %

5

4,5 - 5

70 - 80 %

6

Более 5

Более 80 %

Таблица 9

Вид бетона

Расход заполнителей и воды, л/м3, цемента, кг/м3

аглопоритовый щебень фракции 5 - 20, мм

керамзитовый гравий фракции 5 - 10, мм

Песок

Цемент

Вода

кварцевый

керамзитовый

аглопоритовый

Керамзитобетон М200

-

700

500

130

-

410

260

Аглопоритобетон М150

800

-

150

500

-

320

230

Аглопоритобетон М200

750

-

100

650

-

400

270

То же

750

-

-

-

700

380

250

Степень предварительного водонасыщения заполнителей должна соответствовать величине их водопоглощения при максимальном давлении, возникающем в трубопроводе при перекачивании бетонной смеси (см. п. 5.8). Для ориентировочного назначения степени предварительного водонасыщения заполнителей можно использовать данные, представленные в табл. 9.

5.22. Предельный расход крупного пористого заполнителя с оптимальной степенью водонасыщения на 1 м3 бетонной смеси рекомендуется принимать в соответствии с данными табл. 10 в зависимости от модуля крупности мелкого заполнителя и максимального размера зерен крупного заполнителя.

Таблица 10

Максимальный размер зерен крупного заполнителя, мм

Модуль крупности мелкого заполнителя

2

2,2

2,4

2,6

2,8

Объем крупного заполнителя, м3

10

0,4

0,38

0,37

0,36

0,35

20

0,55

0,53

0,52

0,51

0,5

40

0,7

0,68

0,67

0,66

0,65

5.23. Подбор оптимального состава бетонной смеси на пористых заполнителях, предназначенной для перекачивания по трубам, должен осуществляться лабораторией строительства в следующей последовательности:

задаются несколькими составами бетонных смесей с добавками ПАВ или без них, обеспечивающих требуемую прочность бетона;

проводится опытное перекачивание бетонных смесей заданных составов при максимальных рабочих режимах бетононасоса (при наибольших давлениях в трубопроводе).

Примечание. Если в условиях проведения опытного перекачивания невозможно проложить бетоновод на максимально требуемую длину или высоту, то необходимо собрать участок трубопровода возможной длины с рециркуляцией бетонной смеси по системе «бетононасос - трубопровод - приемный бункер насоса». Затем по манометру бетононасоса и определить суммарное давление, а также сопротивления на прямых и поворотных участках бетоновода. По найденным сопротивлениям, используя рекомендации разд. 4, определить величину ожидаемых максимальных значений давления в бетоноводе требуемой длины. После этого, используя рекомендации настоящей главы Руководства, можно определить удобоперекачиваемость выбранных составов бетонной смеси. В случае неудовлетворительного перекачивания бетонной смеси из-за потери ее подвижности в трубопроводе необходимо увеличить степень водонасыщения пористых заполнителей, уменьшить их расход или увеличить диаметр применяемых труб.

За оптимальный состав должен приниматься тот, который позволяет получить удобоперекачиваемую бетонную смесь и требуемую марку бетона при минимальном расходе цемента и максимальной концентрации пористых заполнителей.

Способы насыщения пористых заполнителей водой

5.24. Насыщение водой пористых заполнителей может осуществляться:

при атмосферном давлении;

с предварительным вакуумированием заполнителей;

гидротермальным способом;

под избыточным давлением.

5.25. Насыщение заполнителей водой при атмосферном давлении рекомендуется осуществлять в открытых емкостях (бункерах, баках, резервуарах и т.п.). Продолжительность выдерживания заполнителя в воде зависит от его поглощающей способности, но, как правило, не должна превышать 48 ч. При этом степень водонасыщения материала достигает значения 25 - 30 %, а при 24-часовом выдерживании - 22 - 27 %.

5.26. Насыщение заполнителей водой с предварительным их вакуумированием должно осуществляться в специальных вакуум-установках (рис. 23). В зависимости от принятой технологии, организации бетонных работ и их интенсивности вакуум-установки могут выполняться в стационарном, прицепном или самоходном исполнении.

Принцип этого способа заключается в том, что при помещении пористого заполнителя в герметичную камеру, в которой создается разрежение (с помощью вакуум-насоса), из его пор удаляется воздух. При последующем заполнении камеры водой и сообщении ее с окружающим воздухом, под воздействием атмосферного давления вода проникает в поры зерен заполнителя. Степень водонасыщения пористых заполнителей зависит от их структуры, влияющей на водопоглощающую способность материала, величины разрежения воздуха в камере и продолжительности выдерживания заполнителей под вакуумом и в воде. Эти характеристики устанавливаются опытным путем.

При проектировании вакуум-установок для водонасыщения пористых заполнителей, для определения их производительности продолжительность выдерживания материала под вакуумом и в воде можно принимать соответственно 60 и 90 с.

Степень водонасыщения пористого заполнителя в зависимости от величины разрежения приводится в табл. 11.

Рис. 23. Принципиальная схема вакуум-установки для водонасыщения пористых заполнителей

1 - бункер приемный; 2 - вакуум-камера; 3 - бункер разгрузочный; 4 - вибросито-лоток; 5 - бак для отработанной воды; 6 - центробежный насос; 7 - бак водяной приемный; 8 - фильтр; 9 - ресивер, 10 - вакуум-насос

Таблица 11

№ пп

Разрежение, МПа

Степень водонасыщения пористого заполнителя, %

1

-0,03

40 - 60

2

-0,05

50 - 60

3

-0,07

70 - 80

4

-0,09

80 - 90

5.27. Для водонасыщения под вакуумом рекомендуется применять сухие пористые заполнители. Их предварительная влажность не должна превышать 2 % (по массе).

5.28. Гидротермальное насыщение водой пористого заполнителя производится непосредственно после обжига исходного сырья во вращающейся печи. Заполнитель, выгруженный из печи, охлаждается воздухом до определенной температуры и затем погружается в воду. Последняя проникает в поры заполнителя за счет охлаждения и сжатия находящихся в них горячих газов

Максимальное водонасыщение достигается при температуре заполнителя 600 - 700 °С и температуре воды 20 - 25 °С.

Степень водонасыщения по этому методу может достигать тех же значений, что и при насыщении заполнителей с предварительным их вакуумированием. Однако при этом способе большие затруднения возникают из-за необходимости соблюдения режима постепенного снижения температуры заполнителя в процессе его водного охлаждения, так как при резком охлаждении (термальный удар) происходит растрескивание пористой структуры зерен, что ведет к значительному снижению их прочности.

5.29. Насыщение пористых заполнителей водой под избыточным давлением производится в специальных герметических сосудах.

Принцип этого метода заключается в том, что пористые заполнители, погруженные в воду, подвергаются неоднократному приложению и снятию давления. После того как повышенное давление снимается, воздух из пор удаляется, тогда как вода остается в порах. После десятикратного приложения и снятия давления величиной 0,6 МПа степень водонасыщения заполнителя может составлять 70 - 80 %.

5.30. Из вышеизложенных способов предварительного насыщения пористых заполнителей водой рекомендуется применять насыщение при атмосферном давлении в открытых емкостях и с предварительным вакуумированием заполнителя. Эти способы являются наиболее экономичными и легко осуществимыми на практике.

5.31. При проектировании технологического процесса по перекачиванию бетонных смесей по трубам следует учитывать, что пористые заполнители, насыщенные водой до степени водонасыщения более 80 %, практически теряют способность поглощать воду из смеси при перекачивании.

Бетонные смеси на таких пористых заполнителях могут перекачиваться бетононасосами так же, как и бетонные смеси на плотных заполнителях почти без потери подвижности.

5.32. Пористые заполнители, насыщенные водой, рекомендуется хранить в емкостях, заполненных водой. При открытом хранении в штабелях снижение степени водонасыщения заполнителей происходит со скоростью примерно 2 - 4 % в сутки.

5.33. Перед использованием водонасыщенных пористых заполнителей, хранившихся в емкостях с водой, необходимо обеспечить возможность стекания в течение 30 - 60 мин излишней воды с поверхности зерен.

6. Организация и производство работ при укладке бетонных смесей

Общие положения

6.1. Производству бетонных работ с применением бетононасосных установок должны предшествовать следующие подготовительные работы, от тщательности и полноты выполнения которых в значительной мере зависит успешная их эксплуатация:

1) выбор места для размещения и монтажа бетононасосных установок;

2) разработка схемы организации производства бетонных работ и проекта временных помещений для стационарных бетононасосных установок, а также вспомогательных устройств;

3) осуществление необходимых строительных работ по возведению временных помещений для установок, комплектование и монтаж последних, выполнение специальных работ по обеспечению электроэнергией и водой, разработка системы сигнализации, радио- и телефонной связи и пр.;

4) выполнение лабораторией бетонного завода работ по подбору оптимального состава бетонной смеси, пригодной для транспортировки по трубам;

5) комплектование и обучение бригад по обслуживанию бетононасосов;

6) обеспечение слаженности работы обслуживающего персонала стройки, бетонного завода, транспортных служб и лабораторий контроля качества бетонной смеси.

6.2. Обязательным условием эффективной работы бетононасосных установок является:

1) наличие необходимого фронта бетонных работ, позволяющего максимально использовать производительность бетононасосов;

2) непрерывная, желательно круглосуточная работа, оборудования на объекте, которая исключает потери времени на выполнение дополнительных операций, связанных с очисткой бетоноводов и подготовкой насосов к работе;

3) тщательное приготовление и обеспечение требуемого состава бетонной смеси.

6.3. Работа бетононасосных установок допускается при наличии специального проекта производства бетонных работ, в котором учитываются:

1) тип конструкции или сооружения, интенсивность бетонных работ и их продолжительность;

2) марка бетона, состав бетонной смеси и максимальная крупность заполнителя;

3) последовательность и порядок производства опалубочных, арматурных и бетонных работ, наличие рабочих и деформационных швов в сооружении;

4) необходимое количество и тип бетононасосов, рациональные схемы их расположения (для стационарных установок) или стоянок (для передвижных установок), а также перемещений на объекте;

5) расположение магистральных бетоноводов, средств распределения бетонной смеси и порядок их перестановки;

6) тип и количество автобетоносмесителей или других средств транспорта бетонных смесей, необходимых для обеспечения непрерывной работы бетононасосов; маршруты их движения от бетонного завода к объекту;

7) наличие подъездных путей и площадок для движения и маневрирования автотранспортных средств, передвижных и самоходных бетононасосов;

8) требования техники безопасности.

6.4. Для обеспечения необходимых коррекций состава бетонной смеси и непрерывной работы бетононасосов оператор установки должен иметь надежную радиосвязь с бетонным заводом и местом укладки бетонной смеси.

6.5. С целью более рациональной эксплуатации бетононасосных установок последние, с приданными им необходимым оборудованием и средствами автотранспорта, целесообразно сосредоточивать в специализированных управлениях, обслуживающих заинтересованные строительные организации.

Приготовление, перевозка бетонной смеси и загрузка бетононасоса

6.6. Приготовление бетонной смеси, предназначенной для перекачки бетононасосами, наиболее целесообразно осуществлять в автобетоносмесителях, загружаемых на центральных установках сухой бетонной смесью. При этом обеспечивается необходимая однородность бетонной смеси, в том числе повышенной подвижности, и ликвидируются дополнительные перегрузочные операции, так как высота выгрузки смеси из автобетоносмесителей, как правило, соответствует загрузочной высоте приемного бункера насоса.

Автобетоносмесители можно также применять для перевозки готовых бетонных смесей, приготовленных на центральных районных заводах. При этом смесь дополнительно перемешивается в пути и при ее загрузке в приемный бункер бетононасоса.

6.7. При большом удалении от центральных районных заводов или отсутствии хорошо развитой сети дорог приготовление бетонной смеси можно организовать на приобъектном бетонном заводе. В этом случае загрузка бетононасосов может осуществляться из раздаточного устройства бетоносмесителей установки.

6.8. При отсутствии автобетоносмесителей для перевозки бетонных смесей от центрального районного завода к объекту можно использовать автобетоновозы с ковшеобразным кузовом или для коротких расстояний (не более 7 - 10 км) автосамосвалы. В этом случае бетонную смесь перед загрузкой в бетононасос необходимо дополнительно перемешать для обеспечения ее однородного состава.

6.9. Для дополнительного перемешивания бетонной смеси, доставляемой в автобетоновозах и автосамосвалах, и ее загрузки в бетононасос можно использовать специальные перегрузочные бункера, оборудованные побудительным валом с лопатками (рис. 24, 25). Более подробное описание устройства и принципа работы перегрузочного бункера приведено в прил. 6

Рис. 24. Принцип перевода бетонопогрузочной станции из транспортного положения в рабочее

1 - опорная стойка (инвентарная); 2 - опорная рама; 3 - гидроцилиндр

Рис. 25. Схема загрузки бетононасосов с использованием перегрузочных бункеров

6.10. Спецавтотранспорт для перевозок бетонной смеси рекомендуется оборудовать средствами для радиосвязи с центральным диспетчерским пунктом и со строительными объектами.

6.11. Емкости, в которых перевозится бетонная смесь, должны систематически очищаться и промываться. В процессе чистки смесительных барабанов запрещается подвергать их механическим ударам ручным инструментом (кувалдами, ломами и т.п.).

6.12. Необходимое количество автобетоносмесителей или других средств транспортирования бетонных смесей может быть определено из условия

                                                             (7)

где Т1 - продолжительность загрузки автотранспортного средства, мин;

Т2 - время прохождения автотранспортного средства в пути от завода товарного бетона к бетононасосу и обратно, мин;

 - интервал доставки бетонной смеси к бетононасосу, мин;

V - полезная емкость смесительного барабана, ковша или кузова, установленного на автомобиле, м3;

J - интенсивность бетонных работ, м3/ч.

Выбор типа бетононасосной установки

6.13. При выборе типа бетононасосной установки необходимо учитывать ее технологическое назначение (см. гл. 2) и эксплуатационную производительность, которые должны соответствовать виду возводимого сооружения, интенсивности бетонных работ и принятой организации их выполнения (п. 6.3), а также оснащенность объекта строительства крановым оборудованием и его грузоподъемность. Кроме того, технико-экономические показатели работы бетононасосной установки должны удовлетворять требованию максимального снижения трудозатрат, стоимости укладки бетонной смеси и эффективности ее эксплуатации по сравнению с другими средствами механизации бетонных работ.

6.14. Наиболее эффективным, с точки зрения снижения трудозатрат, является применение мобильных самоходных установок с распределительными стрелами, бетононасосов с автономными стрелами и бетоноводов малого диаметра.

6.15. Эксплуатационная или среднесменная производительность бетононасосных установок зависит от принятой схемы загрузки бетонной смеси в приемный бункер, величины давления в трубопроводе, вида конструкции и ряда других факторов, влияние которых может быть выражено следующей формулой:

Пэ = ПтК1К2, ..., К6,                                                             (8)

где Пт - техническая или паспортная производительность бетононасоса (п. 6.16), м3/ч;

К1 - коэффициент снижения производительности бетононасосов при использовании перегрузочных бункеров (рис. 26);

К2 - коэффициент использования мощности бетононасосов в зависимости от вида бетонируемой конструкции при использовании перегрузочных бункеров. Значение коэффициентов при бетонировании отдельно стоящих конструкций (К21), стен (К22) и плит (К23) приведены в прил. 7 на рис. 27, в качестве примера приведены графики для определения значений этих коэффициентов при эксплуатации стационарного бетононасоса;

К3 - коэффициент снижения производительности установки, зависящий от величины давления в трубопроводе (п. 6.17);

Рис. 26. Снижение интенсивности подачи бетонной смеси бетононасосами при использовании одного (а) и двух (б) перегрузочных бункеров

Рис. 27. Снижение интенсивности подачи бетонной смеси стационарными бетононасосами производительностью до 10 м3/ч при использовании перегрузочных бункеров

а - отдельно стоящие конструкции; б - стены; в - горизонтально-плоскостные элементы сооружений

K4 @ 0,93 - коэффициент, учитывающий потери времени на ежесменный уход за бетононасосной установкой и ее техническое обслуживание;

К5 - коэффициент, учитывающий квалификацию машиниста;

К5 = 0,95 - при эксплуатации стационарных бетононасосов и К5 = 0,9 - самоходных стреловых установок;

К6 - коэффициент снижения производительности бетононасосов из-за различных технологических причин;

                                                              (9)

где t - продолжительность бетонирования конструкции или элемента возводимого сооружения при технической производительности бетононасоса, м3/ч;

åti - суммарная продолжительность перерывов в работе бетононасоса, связанных с: перебазировкой установки с объекта на объект или внутри объекта, при изменении места ее стоянки; монтажом трубопровода, опалубки и арматуры; обеденными и пр. перерывами в работе персонала, обслуживающего бетононасос.

Рис. 28. Стоимость перебазировки комплекта оборудования (а), монтажа трубопровода (б) и укладки 1 м3 бетонной смеси (в) при использовании стационарного бетононасоса 10 м3/ч и перегрузочного бункера

1 - общая стоимость; 2 - зарплата; 3 - амортизационные отчисления; 4 - горючее

6.16. Техническая производительность поршневого бетононасоса может быть определена из выражения:

                                                              (10)

где dц - диаметр транспортного цилиндра бетононасоса, м;

l - ход поршня, м;

n - число ходов поршня, м-1;

K - коэффициент заполнения транспортного цилиндра бетонной смесью, равный 0,9 для смеси подвижностью 5 - 10 см и 0,95 - подвижностью более 10 см.

6.17. Коэффициент, учитывающий снижение производительности бетононасосной установки от величины давления в трубопроводе К3, определяется как отношение фактической производительности насоса, работающего под нагрузкой, к технической. Производительность под нагрузкой можно установить путем натурных наблюдений за работой бетононасоса или по косвенному показателю - характеристике производительности масляного насоса главного привода бетононасоса при изменении нагрузки. Кроме того, характер изменения этого коэффициента можно определить на основании рекомендаций п. 4.8.

6.18. От оснащенности объекта строительства крановым оборудованием и его грузоподъемности зависит возможность применения бетоноводов увеличенных диаметров (150, 203 мм), например, для случая подачи бетонных смесей на пористых заполнителях или при большой интенсивности работ, автономных стрел большого вылета в стационарном, переставном или самоподъемном исполнении и пр.

Рис. 29. Зависимость трудоемкости монтажа трубопровода от объема бетонной смеси на объекте

6.19. При выборе типа бетононасосной установки по показателям технико-экономической оценки в качестве сравниваемых критериев можно принимать стоимость перебазировки оборудования, монтажа трубопроводов, трудозатрат и общую стоимость по укладке 1 м3 бетонной смеси. Для стационарных бетононасосов, применяемых в комплекте с перегрузочными бункерами, эти показатели можно ориентировочно оценить по рис. 28 (для этого случая состав звена принят из четырех человек: одного слесаря и трех бетонщиков; стоимость машино-смены бетононасоса - 14 руб., перегрузочного бункера - 2,15 руб. и одного глубинного вибратора - 0,32 руб.). Для других типов установок аналогичную оценку можно сделать по данным, приведенным в прил. 7.

В качестве дополнительного показателя при выборе диаметра бетоновода можно использовать относительную трудоемкость его монтажа в зависимости от объема бетона в конструкции (рис. 29).

Решающим показателем при технико-экономической оценке работы оборудования является экономическая эффективность применения бетононасосных установок в сравнении с другими средствами механизации бетонных работ (пп. 6.71 - 6.75).

Технологические схемы применения бетононасосов

6.20. Технологические схемы применения бетононасосов при бетонировании конструкций должны составляться на основании разработанного проекта производства бетонных работ (п. 6.3) для выбранного типа бетононасосной установки (пп. 6.13 - 6.19). При разработке схем должен учитываться комплекс всех процессов, сопровождающих выполнение бетонных работ: подвозка бетонной смеси, монтаж арматуры, установка опалубки, укладка смеси, уход за твердеющим бетоном, контроль за состоянием опалубки и пр.

6.21. Места стоянок стационарных бетононасосов и маршрут передвижения прицепных и самоходных установок должны выбираться таким образом, чтобы выбранная позиция позволяла обеспечивать наибольшую зону обслуживания и беспрепятственный подъезд средств автотранспорта для загрузки бетононасосов бетонной смесью. Как правило, наиболее целесообразным является размещение установки возможно ближе к бетонируемому сооружению.

6.22. При разработке схемы расположения бетоноводов должны быть указаны порядок и последовательность их сборки, способы распределения бетонной смеси, последовательность перестановки отдельных участков трубопровода в процессе бетонирования и его демонтаж. Должны быть указаны место для окончательной промывки звеньев бетоновода после их предварительной очистки и система подвода и удаления промывочной воды

6.23. При проектировании основной (магистральной) линии бетоновода необходимо предусматривать трассу, допускающую наиболее длительное использование бетоновода и средств распределения бетонной смеси в данном направлении и месте. При этом следует учитывать, что бетонирование целесообразно начинать с наиболее отдаленного от бетононасоса участка сооружения (секции, захватки, блока). Такая организация бетонирования позволяет по мере освобождения каждого крайнего звена от бетонной смеси постепенно демонтажировать одну линию бетоновода с дальнейшим наращиванием ее для бетонирования последующего слоя. Эта схема обеспечивает непрерывность бетонирования, не требует длительных остановок бетононасоса на время наращивания труб бетоновода.

При необходимости бетонирования сооружений, имеющих размеры, превышающие радиус действия бетононасосных установок, применяется ступенчатый способ, т.е. последовательная подача бетонной смеси двумя установками.

6.24. В схемах бетонирования, предусматривающих применение автономных распределительных стрел, должны быть отражены последовательность их монтажа и демонтажа, зоны обслуживания и порядок перестановки с одной захватки на другую с помощью грузоподъемных механизмов, находящихся на объекте. Кроме того, в этих схемах необходимо отразить обеспечение распределительных стрел электроэнергией и водой от постоянных или временных источников питания, удаление промывочной воды после очистки бетоновода стрел, показать способ их транспортирования с объекта на объект. В случае использования для сбора промывочной воды специальных баков (емкостью 0,2 - 0,3 м3) на схеме необходимо указать места их расположения.

6.25. При составлении схем производства бетонных работ с применением бетононасосов необходимо учитывать сопротивления, возникающие в трубопроводах при перекачивании бетонных смесей, которые не должны превышать давления, развиваемые бетононасосом (см. разд. 4 настоящего Руководства).

6.26. На основании опытно-производственной проверки допускается предусматривать в схемах применения гибких рукавов, установленных в местах изменения направления бетоновода, или уменьшение диаметра магистрального трубопровода при его ответвлении. В последнем случае длина переходного конуса должна приниматься в соответствии с требованиями п. 4.5.

Примечание. В прил. 8 приведены принципиальные схемы и общие виды по применению бетононасосов.

Подача бетонной смеси по трубам

6.27. Подачу бетонной смеси по трубам следует рассматривать как комплексный процесс, при котором должны быть выполнены следующие операции: монтаж и демонтаж бетоновода; установка средств для распределения бетонной смеси; подготовка к эксплуатации бетононасоса; транспортировка бетонной смеси по бетоноводу; ликвидация пробок в случае их образования в процессе перекачки смеси; очистка оборудования в конце работы.

6.28. Прокладка бетоновода и установка средств распределения бетонной смеси должны осуществляться в соответствии с направлением и местами, предусмотренными в проекте и схемах производства бетонных работ.

6.29. Бетоновод должен быть смонтирован таким образом, чтобы он не мешал установке опалубки, арматуры, закладных частей, а также не препятствовал выполнению других смежных работ.

6.30. При подаче бетонной смеси в температурных условиях выше +25 °С бетоновод следует окрасить белой краской во избежание ускорения гидратации цемента или принять меры по его теплоизоляции.

6.31. Монтаж звеньев бетоновода должен осуществляться в соответствии с требованиями инструкции применяемого бетононасоса и нижеприведенными требованиями.

6.32. Бетоновод необходимо устанавливать на прочных опорах: деревянных или металлических прокладках, козлах, выдвижных трубчатых стойках, подмостях, лесах и т.д. таким образом, чтобы под каждым звеном находилось не менее одной опоры и обеспечивался свободный доступ к соединениям звеньев. Сборка замков должна обеспечивать надежное, прочное соединение звеньев и требуемую герметичность стыков.

Провисание бетоновода между опорами не допускается, так как это может привести к разрывам в местах соединений звеньев из-за динамических перегрузок во время перекачивания бетонной смеси.

При опирании бетоновода на элементы опалубки или арматуру необходимо учитывать его массу с бетонной смесью (табл. 1) и динамические усилия при перекачивании, которые не должны превышать допустимых нагрузок на поддерживающие конструкции.

6.33. Бетоновод должен собираться из звеньев, не имеющих вмятин и наростов бетона на их внутренней поверхности и присоединительных фланцах. Перед сборкой звеньев необходимо проверить наличие уплотнений, их чистоту и надежность замковых соединений.

6.34. В местах изменения направления бетоновод должен надежно закрепляться от возможного смещения в процессе работы бетононасоса с помощью распорок и растяжек.

Каждое звено вертикального участка бетоновода следует надежно закрепить к неподвижным частям сооружения. Верхнее и нижнее колена этого участка не должны опираться на какие-либо опоры (грунт, подкладки и т.п.), во избежание разрыва соединений при работе бетононасоса.

Вертикальный участок бетоновода следует располагать не ближе 7 - 8 м от бетононасоса.

6.35. При монтаже бетоновода, используемого в комплекте с бетононасосом с механическим приводом, перед переходом с горизонтального участка на вертикальный необходимо установить игольчатый клапан или шиберную задвижку для предотвращения обратного потока бетонной смеси при остановке насоса, ремонте или чистке бетоновода.

6.36. Бетоновод на горизонтальных участках должен монтироваться с небольшим уклоном в сторону участка, предназначенного для спуска воды после промывки.

6.37. При производстве бетонных работ в скользящей опалубке вертикальный участок бетоновода должен выполняться с компенсационным устройством, позволяющим плавно изменять длину трубопровода в процессе подъема опалубки. Компенсационное устройство может быть выполнено из системы колен под углом 90° (6 шт.) и прямых звеньев, входящих в комплект применяемого бетоновода, соединенных с помощью трех шарнирных замковых соединений (рис. 30) или из резинотканевого рукава. Последний вариант следует применять при давлениях в рукаве не выше 1 МПа, так как при большом напоре при перекачивании бетонных смесей в гибких бетоноводах часто образуются пробки.

6.38. При использовании передвижных автономных стрел на горизонтальном участке бетоновода целесообразно иметь компенсационное устройство, которое позволит осуществлять горизонтальное перемещение стрелы в пределах длины этого устройства. Изготовить это устройство можно в соответствии с рекомендациями п. 6.37.

6.39. Перед запуском бетононасоса должны быть тщательно проверены состояние креплений в соединениях основных узлов оборудования, стыков бетоновода, заправка соответствующих баков водой и маслом, наличие смазки и исправность контрольно-измерительных приборов, сетей электроснабжения, водопровода, радио- и телефонной связи, сигнализации, наличие заземления и комплектность приспособлений для очистки и промывки бетоновода.

Перед началом работ необходимо также проверить степень слаженности работы всех звеньев обслуживающего персонала, от которых зависит нормальная эксплуатация бетононасоса.

Рис. 30. Устройство компенсатора на вертикальном участке бетононасоса при использовании скользящей опалубки

1 - рабочий пол скользящей опалубки; 2 - шарнирное замковое соединение; 3 - бетоновод

6.40. Перед началом бетонирования необходимо опробовать работу бетононасоса на минимальном режиме холостого хода, в процессе которого проверяются правильность направления вращения роторов электродвигателей приводов насосов, работа системы промывки, транспортных цилиндров, надежность подтяжки разъемных соединений и герметичность трубопроводов системы гидропровода. Затем в соответствии с инструкцией по эксплуатации бетононасоса система гидропривода бетононасоса должна быть отрегулирована на оптимальный режим, зависящий от характеристики подаваемой бетонной смеси и величины максимальных давлений в бетоноводе, ожидаемых при перекачивании смеси. После этого пробной прогонкой пыжа по трубопроводам можно окончательно проверить на герметичность соединения бетоновода и, в случае необходимости, обеспечить ее дополнительной подтяжкой соответствующих замков. Промывочную воду из бетоновода удалить.

6.41. Перед включением бетононасоса в его приемный бункер необходимо подать «пусковую смесь», которая необходима для образования смазки на внутренней поверхности «сухого» бетоновода и предотвращения процессов пробкообразования при перекачке первых порций бетонной смеси.

«Пусковая смесь» может быть приготовлена из цемента и воды (тестообразной консистенции) или цементно-песчаного раствора (состава Ц : П = 1 : 1, подвижностью 6 - 8 см) в объеме 20 - 40 л на каждые 10 м трубопровода диаметром соответственно 100 - 150 мм. Не следует применять «пусковую смесь» большой подвижности. Жидкообразная консистенция смеси, как правило, приводит к резкому увеличению подвижности первых порций бетонной смеси, подаваемых в приемный бункер, ее расслоению и закупорке бетоновода.

Допускается в качестве «пусковой смеси» использовать жирную бетонную смесь в объеме, достаточном для заполнения бетоновода, с превышением в ней расхода цементного теста в количестве, необходимом для приготовления пускового раствора.

Работа бетононасоса без предварительной подачи в приемный бункер «пусковой смеси» не допускается.

6.42. При подготовке к транспортированию бетонной смеси по бетоноводу, имеющему уклон в направлении от бетононасоса, в его первое звено должен быть вставлен пыж из губчатой резины для предупреждения расслаивания смеси в начальный момент ее перекачивания.

6.43. Включение бетононасоса и подача бетонной смеси должны производиться на медленном ходу по получении подтверждающего сигнала от звена бетонщиков о готовности приемки смеси в опалубку. После этого в приемный бункер насоса необходимо постоянно подавать бетонную смесь с интенсивностью, соответствующей темпу бетонирования конструкции.

6.44. В процессе работы бетононасоса бункер должен быть постоянно заполнен бетонной смесью на 5 - 10 см выше лопастей смесителя. При большем заполнении будут происходить разбрызгивание и дополнительные потери бетонной смеси, при меньшем - появляется опасность попадания воздуха в транспортные цилиндры при всасывающем ходе поршня. Последнее приводит вначале к резкому падению производительности насоса, а затем - к закупорке бетоновода.

Решетка приемного бункера должна систематически очищаться от сверхразмерных частиц крупного заполнителя.

6.45. В случае вынужденных перерывов в подаче по трубам бетонной смеси, например из-за задержки в пути автотранспортных средств, в приемном бункере бетононасоса всегда должно оставаться 100 - 200 л смеси для ее периодического подкачивания в бетоновод малыми порциями. Максимальная продолжительность перерывов не должна превышать 20 - 30 мин.

Эти перерывы должны быть сведены до минимума в жаркую погоду, при нагреве бетоновода солнечными лучами или в случае применения высокомарочных цементов с ускоренными сроками схватывания

При использовании бетононасосных установок с собственными распределительными стрелами рекомендуется периодически включать насос для работы «на себя» при соответствующем положении стрелы, что позволяет значительно уменьшить опасность закупорки бетоновода.

6.46. Основной причиной, нарушающей процесс перекачивания бетонной смеси, является закупорка бетоновода. Типичным признаком начала образования пробки в трубопроводе является повышение давления в системе, которое фиксируется по показаниям манометра на бетононасосе. Затем происходит внезапная остановка бетононасоса.

При обнаружении закупорки бетоновода необходимо прекратить приемку бетонной смеси и путем реверсирования двигателя бетононасоса попытаться откачать бетонную смесь из трубопровода в приемный бункер. После ее дополнительного перемешивания можно продолжать перекачивание смеси. Если эта операция не приведет к положительному результату, то необходимо принять немедленные меры по обнаружению и удалению пробки.

Не следует проталкивать пробку увеличением давления в системе гидропривода бетононасоса. Это приводит к дальнейшему уплотнению бетонной смеси, увеличению размеров пробки, а иногда и к аварии установки.

6.47. Причинами образования пробок при эксплуатации бетононасосов являются:

неправильный подбор состава бетонной смеси, при котором не обеспечивается ее удобоперекачиваемость; несоответствие гранулометрического состава заполнителя требуемому; применение крупного заполнителя, имеющего максимальный размер зерен больше допустимого; избыточное содержание химических добавок в бетонной смеси; применение быстросхватывающегося цемента;

использование частично расслоившейся, плохо перемешанной либо начавшей схватываться бетонной смеси;

недостаточное количество пусковой смеси, приводящее к отсутствию смазывающей пленки на стенках бетоновода;

давление, развиваемое бетононасосом, недостаточное для преодоления величины сопротивления движению бетонной смеси в трубопроводе, например, из-за снижения подвижности смеси или превышения допустимой длины бетоновода;

утечка цементного молока в местах соединения звеньев бетоновода из-за ослабления замковых соединений или повреждения уплотнений; неудовлетворительная очистка и промывка бетоновода; неправильная или тугая забивка пыжей;

образование вмятин или наплывов схватывающегося бетона на стенках бетоновода;

неправильное использование выпускных секций бетоновода, при котором бетонная смесь на участках за этими секциями, в направлении ее движения, оставалась продолжительное время в неподвижном состоянии;

сильный нагрев бетоновода в жаркую погоду (при неокрашенной в белый цвет или неизолированной наружной поверхности бетоновода) и значительные перерывы в работе, при которых смесь в трубах находилась длительное время в неподвижном состоянии;

изношенность резиновой манжеты наконечника поршня, приводящая к попаданию воды в бетонную смесь из полости транспортного цилиндра при такте всасывания и к отжатию цементного теста из смеси в цилиндр при такте нагнетания;

наличие остатков воды в изгибах или низких участках бетоновода после его промывки.

6.48. Обнаружить места образования пробок и устранить их можно следующим образом:

заклинивание распределительной системы бетононасоса свидетельствует об образовании пробки в клапанной коробке. В этом случае насос немедленно останавливают, снимают первое звено бетоновода, удаляют уплотнившуюся бетонную смесь, с запуском бетононасоса на 2 - 3 хода поршня окончательно очищают клапанную коробку;

внезапная остановка бетононасоса указывает на образование пробки в переходном конусе. Для очистки конуса его следует снять и промыть;

постепенное снижение производительности бетононасоса с одновременным повышением давления в системе происходит при закупорке бетоновода в наиболее удаленном его участке от бетононасоса. Пробка удаляется путем отсоединения и очистки концевых звеньев бетоновода;

при просачивании цементного молока через стыки бетоновода пробка образуется в следующем по направлению движения смеси звене;

пробку можно обнаружить при наблюдении за бетоноводом при кратковременном пуске бетоновода на медленном ходу. Бетоновод при этом слегка вздрагивает до места нахождения затора. При достаточном навыке обслуживающего персонала место образования пробки может быть установлено по звуку при простукивании бетоновоза деревянным молотком.

Если указанными способами не удается определить место пробки, бетоновод разбирают непосредственно за первым от бетононасоса изгибом, и, включив бетононасос на несколько ходов поршня, проверяют, проходит ли бетонная смесь. Если смесь прошла, то пробка ликвидирована или, в противном случае, находится в другом месте. При оставшемся заторе продолжают поиски таким же образом за последующими изгибами.

6.49. При удалении пробки от бетонной смеси очищают не только звенья, в которых находилась пробка, но и одно - два звена, следующих за пробкой по направлению движения смеси. Отсоединенные звенья следует тщательно промыть, после чего их можно присоединить к бетоноводу.

6.50. Очистка бетоновода и бетононасоса является одной из ответственных операций в процессе эксплуатации этого оборудования, которая производится по окончании бетонирования сооружения, рабочей смены, при каждом длительном перерыве в работе из-за неисправности оборудования, прекращения доставки бетонной смеси, подачи электроэнергии или в других необходимых случаях.

Очистку бетоновода от бетонной смеси можно производить водой или сжатым воздухом.

Воду в бетоновод нагнетают бетононасосом или индивидуальным центробежным насосом, развивающим давление, достаточное для продвижения бетонной смеси по трубопроводу. В первом случае вода подается в бункер бетононасоса, который предварительно должен быть очищен. В бетононасосах с механическим приводом над всасывающим отверстием после промывки бункера должен быть установлен водяной клапан.

При промывке трубопровода индивидуальным насосом после его отсоединения от переходного конуса или тройника в бетоновод должны быть установлены два пыжа из губчатой резины или пыж из влажной мешковины, плотной бумаги и т.п. Затем с помощью быстроразъемного замкового соединения к бетоноводу подсоединяется патрубок с заваренным торцом или круглая пластина, имеющая штуцер, через который подается вода от насоса.

Подачу воды следует прекращать при приближении пыжей к выходному концу бетоновода, что определяется по величине падения давления в промывочной системе

Для удаления воды из бетоновода следует произвести реверсирование бетононасоса или открыть краны для ее слива в заранее установленные места или емкости. После выполнения этой операции необходимо снять промывочные приспособления, опустить воду из пониженных участков бетоновода, промыть бункер, очистить бетононасос, убрать рабочее место и выполнить работы по ежедневному техническому обслуживанию оборудования.

При очистке бетоновода сжатым воздухом принцип удаления бетонной смеси и приспособления остаются теми же, что и при промывке водой. Особенностью является то, что при использовании сжатого воздуха необходимо строго соблюдать соответствующие правила техники безопасности.

В случаях, когда давления, развиваемого водяным насосом или компрессором, недостаточно для очистки бетоновода, бетонную смесь из трубопровода необходимо откачать в приемный бункер путем реверсирования бетононасоса.

6.51. При промывке бетоновода водой или его очистке сжатым воздухом необходимо обеспечить плотное прилегание пыжей к внутренней поверхности трубопровода. При неплотном прилегании пыжей вода или сжатый воздух, попадая в бетонную смесь, выжимает из нее цементное тесто, что приводит к потере удобоперекачиваемости смеси и закупорке бетоновода.

На концевом звене бетоновода необходимо установить ловитель, предназначенный для его запирания пыжами по окончании промывки водой или очистки сжатым воздухом. В первом случае предупреждается попадание промывочной воды в свежеуложенную бетонную смесь, во втором - возможные травмы обслуживающего персонала.

Укладка бетонной смеси методом напорного бетонирования

6.52. Метод напорного бетонирования является способом ведения бетонных работ с применением бетононасосов при устройстве буронабивных свай, сооружений, возводимых методом «стена в грунте», а также для укладки бетонной смеси под водой в заопалубочное пространство при устройстве горных выработок и тоннелей и в прочие труднодоступные места

Метод напорного бетонирования заключается в подаче пластичных бетонных смесей в опалубку конструкции или в другой бетонируемый объем восходящим потоком снизу вверх под давлением, создаваемым бетононасосом. При этом отпадает необходимость в вибрационном уплотнении бетонной смеси.

Преимущество этого метода в сравнении с послойной технологией укладки бетонной смеси заключается в том, что при непрерывном нагнетании смеси снизу вверх можно избежать образования рабочих швов при бетонировании и исключить вредное влияние вибрации на обслуживающий персонал.

Преимущество метода в сравнении с методом ВПТ, применяемым в технологии подводного бетонирования, состоит в использовании бетонных смесей подвижной консистенции вместо литой (с осадкой конуса 18 - 20 см при методе ВПТ) и экономии, вследствие этого, цемента, а также в снижении трудозатрат и стоимости бетонирования за счет применения труб меньшего диаметра (100 - 125 мм вместо труб диаметром 200 мм) и более легкого и мобильного грузоподъемного оборудования.

6.53. При бетонировании конструкций и сооружений, в том числе под водой, напорным методом должны соблюдаться требования соответствующих ведомственных инструкций и нормативных документов общесоюзного действия, а также рекомендации настоящего Руководства по применению бетононасосов.

Там, где это целесообразно, следует применять передвижные бетононасосные установки (рис. 31).

Рис. 31. Схема бетонирования буронабивных свай напорным методом с применением автобетононасоса

6.54. Бетонные смеси и составляющие их материалы, предназначенные для применения при бетонировании запорным методом, должны отвечать требованиям главы 3 настоящего Руководства. Подвижность смеси должна быть не менее 8 см. Использование смесей подвижностью от 5 до 8 см допускается на основании результатов опытно-производственной проверки при бетонировании фрагментов конструкции. Предварительную оценку удобоперекачиваемости смесей можно выполнить на основании рекомендаций прил. 5.

Рис. 32. Принципиальная схема бетонирования буронабивных свай (а), стен в грунте (б) и тонкостенных конструкций (в) напорным методом (стрелками показано направление движения бетонной смеси)

1 - трубы из звеньев бетоновода; 2 - патрубки

6.55. Подача бетонной смеси в бетонируемый объем конструкции может производиться через трубы или отверстия в опалубке. В качестве труб используются звенья и замковые соединения, применяемые для сборки бетоновода, входящего в комплект бетононасосной установки. Подача бетонной смеси через отверстия в опалубке осуществляется через патрубки, плотно прикрепленные к последней, к которым присоединяется гибкий распределительный рукав от бетоновода.

6.56. Трубы в бетонируемом объеме и отверстия в опалубке должны быть расположены таким образом, чтобы не оставалось зон, не охваченных радиусом действия этих труб и отверстий (рис. 32). Расстояние между ними lтр не должно превышать величины

lтр = 1,5R,                                                               (11)

где R - радиус распространения бетонной смеси при ее нагнетании через трубы или отверстия в опалубке, м.

Радиус распространения бетонной смеси можно определить из следующих выражений, с соблюдением рекомендаций по подводному бетонированию, приведенных в СНиП III-15-76:

1) при бетонировании тонкостенных конструкций в опалубке:

                                          (12)

2) при бетонировании тонкостенных конструкций под слоем глинистой суспензии или воды

                                           (13)

где h - высота подъема уровня бетонной смеси при ее нагнетании через трубы или отверстия в опалубке, м, (п. 6.57)

h £ hмакс.

α - угол между радиусом распространения бетонной смеси и горизонтальной плоскостью, рад

τ - предельное напряжение сдвига бетонной смеси, зависящее от расхода цемента и величины осадки конуса, МПа · 10-4;

g, g’ - соответственно объемная масса бетонной смеси и плотность воды или глинистой суспензии,

а - коэффициент, определяемый по формуле

                                               (14)

где d - толщина конструкции, м

Осадка конуса, см

Расход цемента, кг/м3

300

400

500

5

12

15

20

8

6

9,5

13

11

4

6

8

14

3

4

6

Пример. Найти радиусы распространения бетонной смеси, нагнетаемой в опалубку тонкостенной конструкции, при следующих условиях:

высота опалубки h = 5 м; толщина опалубки d = 0,5 м; подвижность бетонной смеси ОК = 8 см; расход цемента 400 кг/м3, объемная масса бетонной смеси g = 2400 кг/м3.

Определим радиусы распространения R при значениях α = 0; 30°; 60°; 90°.

1. По таблице к формуле 13 находим предельное напряжение сдвига бетонной смеси в МПа

2. По известным значениям t, g и d (по формуле 14) находим величину параметра а = 2,82.

3. По формуле 13 определяем радиусы распространения бетонной смеси:

при α = 0                                                                      R = 6,82 м,

α = 30°                                                                          R = 5,77 м,

α = 60°                                                                          R = 5,19 м,

α = 90°                                                                          R = 5,00 м.

6.57. Высоту подъема уровня бетонной смеси h, м, при ее нагнетании через трубы или отверстия в опалубке можно определить из выражений:

1) при бетонировании тонкостенных конструкций в опалубке

                                                        (15)

2) при бетонировании тонкостенных конструкций под слоем глинистой суспензии или воды

                                              (16)

3) при бетонировании буронабивных свай

                                               (17)

где Pв = Рб - Р - давление на выходе из трубы (патрубка), равное величине давления, развиваемого бетононасосом Рб за вычетом сопротивлений движению бетонной смеси в трубопроводе Р, определяемых в соответствии с рекомендациями п. 4.2, МПа,

Н - расстояние от уровня поверхности воды или глинистого раствора до низа трубы.

Dсв - диаметр сваи, м.

При определении высоты подъема уровня бетонной смеси задаются значением величины давления Рб или определяют это давление по показаниям манометра бетононасоса.

6.58. Принятые режимы бетонирования и пластично-вязкие свойства бетонной смеси должны проверяться путем пробных прокачек при бетонировании фрагментов наиболее характерных частей возводимой конструкции.

6.59. При подаче бетонной смеси в опалубку следует учитывать, что величина бокового давления смеси при напорном методе может быть в 5 - 8 раз выше, чем при послойной ее укладке, за счет увеличения интенсивности бетонирования и гидродинамического напора движущегося потока смеси. При известной или заданной высоте подъема уровня бетонной смеси максимальное значение величины бокового давления, равное давлению на выходе из трубы (патрубка), может быть определено по формулам (15 - 17) путем их решения относительно Рв.

6.60. При подаче бетонной смеси через вертикально установленные трубы для предупреждения ее расслаивания в начальный момент бетонирования в бетоновод необходимо установить два пыжа из губчатой резины, которые при наличии в бетонируемом объеме воды, например грунтовой, одновременно изолируют от нее смесь.

6.61. Контроль уровня бетонной смеси в бетонируемом объеме конструкции может производиться расчетным методом по расходу и величине давления при нагнетании смеси, которое определяется по показаниям манометра бетононасоса или с помощью различных приспособлений типа лота.

Контроль качества работ

6.62. При производстве бетонных работ с применением бетононасосов контролю подлежат точность дозировки материалов при приготовлении бетонной смеси, ее свойства по удобоперекачиваемости и удобоукладываемости, а также физико-механические характеристики бетона.

6.63. Контроль точности дозировки составляющих бетонной смеси должен производиться с целью корректировки ее состава в зависимости от изменения свойств материалов и условий производства работ по перекачиванию.

6.64. При приготовлении бетонных смесей на пористых заполнителях должна систематически контролироваться степень предварительного водонасыщения последних.

6.65. При перекачивании бетонной смеси в жаркую погоду необходимо осуществлять контроль за температурой смеси, поступающей в бункер насоса и выходящей из конечного участка бетоновода не менее трех раз в смену.

6.66. Все данные по контролю качества бетонной смеси заносятся в журнал производства бетонных работ.

6.67. Отбор проб для определения удобоперекачиваемости и удобоукладываемости бетонной смеси должен производиться при загрузке ее в приемный бункер бетононасоса и этой же смеси при выходе ее из бетоновода.

6.68. Пробы бетонной смеси для определения физико-механических характеристик бетона должны отбираться на выходе из бетоновода.

Каждый образец должен иметь свой шифр. Первая цифра должна указывать число и месяц (в знаменателе) взятия пробы, вторая цифра - номер состава бетонной смеси. Так как в каждом случае изготовляется несколько образцов одной пробы, в конце шифра ставится их номер.

Например, шифр 12/III-4-1 означает, что проба взята 12 марта, состав бетонной смеси № 4, номер образца данной пробы 1.

6.69. Время, через которое берется проба бетонной смеси после перекачивания по бетоноводам, отсчитываемое с момента загрузки ее в приемный бункер бетононасоса, определяется по следующей формуле:

                                                       (18)

где V1 - объем бетонной смеси в приемном бункере бетононасоса, м3;

V2 - объем бетонной смеси, заполняющей цилиндр бетононасоса, м3,

V3 - внутренний объем бетоновода, м3;

Тп - продолжительность хода поршня, определяемая по периодичности толчков бетононасоса при переключении затвора, с.

Пример расчета времени взятия проб в зависимости от продолжительности хода поршня представлен в прил. 9.

6.70. Продолжительность взятия пробы не должна превышать 10 с. Бетонная смесь подвергается испытаниям не позднее чем через 5 мин после взятия пробы.

Технико-экономическая оценка работы бетононасосных установок

6.71. Оценка экономической эффективности применения бетононасосных установок должна производиться согласно «Инструкции по определению экономической эффективности капитальных вложений в строительстве» (Стройиздат, М., 1969).

6.72. Годовой экономический эффект от применения бетононасосной установки определяется по разности приведенных затрат по формуле

Эгод = Пгод.нед.э - Сед.н) + Енуд.э - Куд.н),                                        (19)

где Пгод.н - годовая выработка бетононасосной установки, м3;

Сед.э и Сед.н - себестоимость единицы работы по эталонному варианту и при применении бетононасосной установки, руб./м3;

Ен - нормативный коэффициент эффективности;

Куд.э и Куд.н - удельные капитальные вложения по эталонному варианту и при применении бетононасосной установки, руб.

6.73. Экономическая эффективность от сокращения продолжительности бетонирования объекта определяется по формуле

Таблица 12

№ п.п.

Показатели

Объем бетона в конструкции, м3

10000

5000

1000

башенный кран

бетононасос

башенный кран

бетононасос

башенный кран

бетононасос

1

Продолжительность бетонирования, ч.

4660

2030

2330

1015

466

203

2

Трудозатраты, чел/дн.

1070

647

535

323,5

107

64,7

3

Основная зарплата бетонщиков, руб.

4920

3220

2460

1610

492

322

4

Затраты на механизацию, руб.

17400

6080

8700

3040

1740

608

5

Удельные капитальные вложения, руб.

66100

47800

32550

23900

6510

4780

6

Экономическая эффективность внедрения, руб.

-

16055

 

10872

 

2069,4

Примечание. В качестве сравниваемых комплектов механизмов приняты башенный кран КБ-160.2 с бадьей емкостью 1,6 м3 и бетононасос СБ-95 с автономной стрелой вылетом 20 м

Эобщ = Эгод + Эн + Эз + Этр,                                                  (20)

где Эн - экономия в величине условно-постоянной части накладных расходов;

Эз - снижение накладных расходов от уровня затрат на основную зарплату рабочих;

Этр - снижение накладных расходов от уменьшения трудоемкости работ

6.74. Сокращение трудозатрат при применении бетононасосов определяется по формуле

Ст = (То.э + Тв.э) - (То.н - Тв.н),                                                (21)

где То.э и То.н - трудозатраты по эталонному варианту и при применении бетононасосов на основные операции по транспортированию и распределению бетонной смеси, чел/ч;

Тв.э и Тв.н - трудозатраты на выполнение вспомогательных работ по эталонному варианту и при применении бетононасосных установок, чел/ч.

6.75. Оценка экономической эффективности применения бетононасосов должна определяться в сравнении с наиболее совершенным оборудованием, предназначенным для подачи и распределения бетонной смеси и принимаемым за эталонный вариант.

В табл. 12 приведены основные показатели эффективности применения стационарных бетононасосов с автономными стрелами в сравнении с крановой укладкой бетонной смеси, а в прил. 10 представлен расчет по определению эффективности от использования автобетононасоса.

7 Эксплуатация бетононасосных установок

Общие положения по эксплуатации бетононасосных установок

7.1. Эксплуатация бетононасосных установок должна производиться с соблюдением требований специальных инструкций по их применению и ремонту и в соответствии с нижеследующими указаниями.

7.2. Перед началом работы бетононасоса необходимо проверить надежность его установки, удостовериться, что количество масла и воды в резервуарах соответствует норме. При эксплуатации автобетононасоса следует проверить наличие горючего в баке и уровень масла в двигателе.

7.3. Установка автономных стрел производится в зависимости от их типа и конструктивного решения путем свободного опирания на несущие элементы конструкций (специальные фундаменты) или прикрепления к массивным частям сооружения с помощью анкеров. При любом способе закрепления этого оборудования должна быть обеспечена его устойчивость от опрокидывания в процессе работы на максимальном вылете стрелы.

Устойчивость автобетононасосов с распределительными стрелами обеспечивается опорными стойками (аутригерами), которые при их установке в рабочее положение выдвигаются попарно с каждой стороны машины и закрепляются. Обязательным условием является выдвижение опорных стоек до отказа (рис. 33).

Таблица 13

Характер неисправности

Возможная причина неисправности

Способ устранения

Бетононасос не включается

Неисправность схемы электропривода

Проверить схему электропривода

При работающих насосах системы гидропривода гидроцилиндры неподвижны

Закрыта задвижка всасывающей линии насоса. Неисправность электромагнитов предохранительных клапанов, золотников, низкое давление в гидросистеме

Проверить состояние катушек и наличие напряжения. Отрегулировать требуемое давление в системе гидропривода

При работающих насосах гидроцилиндры медленно движутся

Недостаточный уровень рабочей жидкости в баке; в гидросистему попал воздух, утечка рабочей жидкости из трубопроводов, засорены фильтры

Проверить уровень и долить рабочую жидкость, удалить воздух из гидросистемы, проверить трубопроводы, очистить фильтры

Гидроцилиндры движутся рывками

Недостаточный уровень рабочей жидкости, обрыв и задир внутреннего слоя гибкого рукава, внутренние утечки масла в насосе

Проверить и долить до требуемого уровня рабочую жидкость, на неисправном гидроцилиндре поочередно заменить рукава, проверить давление масла, развиваемого насосом по манометру, выключив систему согласования

Вспенивание масла

При недостаточном уровне масла в баке из сливной трубы в бак поступает воздух

Проверить уровень и долить масло

Гидроцилиндры транспортных цилиндров работают, гидроцилиндры привода заслонок неподвижны (или наоборот)

Неисправна система синхронизации

Произвести регулировку в соответствии с требованиями инструкции

Нагрев рабочей жидкости

Недостаточный уровень, загрязнился фильтр сливной трубы

Проверить уровень и при необходимости долить масло, проверить фильтр и прочистить

Повышенный расход рабочей жидкости

Наличие утечки в системе гидропривода

Проверить состояние стыков трубопроводов, уплотнительных элементов гидроцилиндров, золотников и др. аппаратуры и устранить утечку

Система гидропривода работает, гидроцилиндры транспортных цилиндров внезапно остановились. Звук изменился. При переводе на ручное управление гидроцилиндры вздрагивают или выключается система гидропривода

Образовалась пробка в рабочей камере бетононасоса или бетоновода. Некачественная смесь, смесь расслаивается пропускаемой через неплотности манжет промывочной водой

Прекратить прием смеси. Реверсированием работы бетононасоса попытаться откачать бетонную смесь в бункер, перемешать, перевести бетононасос на прямой ход и сделать 4 - 5 ходов для ликвидации пробки. При неудаче - найти место образования пробки и удалить, проверить качество смеси. Проверить состояние манжет поршня транспортного цилиндра и заменить

Бетонная смесь вываливается из бункера

Забита сверхмерным заполнителем виброрешетка

Остановить бетононасос, очистить решетку от сверхмерных кусков

При работе бетононасоса на режиме промывки привод цилиндров работает, бетонная смесь из бетоновода не удаляется

Неисправность всасывающего клапана (обрыв клапана, клапан застопорен заполнителем или песком)

Прекратить подачу воды, слить остаток воды из промывочной емкости, очистить, проверить или заменить клапан. Установить и продолжать работу

7.4. Для обеспечения нормальной работы бетононасосной установки необходимо постоянно контролировать режим работы бетононасоса; состояние бетоновода и устройств, входящих в состав установки, показания приборов, нагрев двигателей, подшипниковых узлов, работу смесителя, уровень бетонной смеси в приемном бункере бетононасоса; уровень рабочей жидкости в баке и ее температуру и состояние соединений трубопроводов системы гидропривода.

При изменении показаний контрольно-измерительных приборов, обнаружении утечки жидкости из гидросистемы или недопустимого ее нагрева, появлении нехарактерного шума, стуков, перегрева двигателей, подшипников или нарушений герметичности бетоновода бетононасос необходимо остановить, выявить причину неисправности работы и устранить неполадки.

Рис. 33. Установка автобетононасоса в рабочее положение

1 и 2 - передняя и задняя опорные стойки (аутригеры); 3 - зажимное устройство для задних колес

Большое значение для нормальной работы бетононасоса имеет заправка гидросистемы чистым маслом и своевременная проверка работы фильтров. Работа на загрязненном масле может привести к заклиниванию золотников, клапанов и др. элементов системы гидропривода, что влечет за собой длительную остановку машины и очистку бетоновода вручную.

Основные неисправности, возникающие в процессе эксплуатации бетононасосов, и способы их устранения приведены в табл. 13

7.5. Кроме общего наблюдения за работой всех узлов бетононасоса, дежурному оператору необходимо: следить за поступлением бетонной смеси в приемный бункер, не допуская попадания в бетононасос посторонних предметов и заполнителя, размер которого превышает 1/3 диаметра бетоновода; регулярно производить смазку движущихся частей в соответствии с требованием инструкции по эксплуатации бетононасоса; постоянно наблюдать за степенью загрязнения промывочной воды, циркулирующей в полости транспортных цилиндров. Появление цементного молока в промывочной воде свидетельствует об износе манжет поршней транспортных цилиндров. При этом вода из промывочной полости попадает в рабочую камеру, расслаивая бетонную смесь, что способствует образованию пробок в рабочей камере или в первых звеньях бетоновода.

7.6. При большой интенсивности подачи по трубам бетонной смеси (при максимальных режимах работы бетононасоса) на решетку приемного бункера целесообразно установить вибратор, который при его периодическом включении за счет побуждения бетонной смеси исключает ее «зависание» и увеличивает пропускную способность решетки.

7.7. Для предотвращения потерь бетонной смеси стенки приемного бункера бетононасоса рекомендуется наращивать резиновыми полосами.

7.8. Рабочее давление в трубопроводе при перекачивании бетонной смеси не должно превышать 80 % максимального давления, развиваемого бетононасосом.

7.9. При кратковременных остановках бетононасоса целесообразно отключать его двигатель, во избежание расслоения бетонной смеси и образования пробок в трубопроводе вследствие вибрации установки.

7.10. При эксплуатации автобетононасосов их перебазировка на другую стоянку разрешается только при полностью сложенной распределительной стреле. Нарушение этого правила может повлечь за собой опрокидывание машины. Перебазировка продолжительностью не более 30 мин допускается без промывки оборудования.

7.11. При работе бетононасосных установок, оснащенных стрелами, необходимо пользоваться пультом дистанционного управления. Это позволяет оператору находиться непосредственно у места укладки бетонной смеси и точно регулировать положение стрелы и работу бетононасоса.

7.12. В случае закупорки бетоновода в процессе эксплуатации, пробки должны удаляться в соответствии с рекомендациями разд. 6.

При окончании бетонирования необходимо тщательно очистить и промыть бетоноводы и оборудование. В конце промывки бетононасоса целесообразно проконтролировать качество работ по очистке транспортных цилиндров путем дополнительного включения установки на два-три хода поршня. После этого внутреннюю поверхность бетоновода, транспортных цилиндров, приемный бункер и ряд других узлов необходимо протереть отработанным маслом.

Опорные стойки (аутригеры) автобетононасосов, зажимные и анкерные устройства убираются только при полностью сложенной стреле.

Особенности эксплуатации автономных распределительных стрел

7.13. Подготовку автономных распределительных стрел к работе необходимо производить следующим образом:

установить стрелу в рабочее положение;

зафиксировать ее положение с помощью выносных опор, анкеров или других приспособлений;

тщательно заземлить установку;

вокруг установки оставить удобные проходы;

присоединить к стреле магистральный бетоновод, а к электрошкафу управления - кабель энергосети. В случае, если диаметр магистрального бетоновода больше проложенного по стреле, то их необходимо соединить переходным конусом

7.14. Перед пуском распределительной стрелы в эксплуатацию необходимо проверить:

исправность трубопроводов, шлангов и основных узлов; прочность и герметичность смонтированного бетоновода;

работу механизмов и узлов на холостом ходу;

наличие источника водоснабжения и исправность индивидуального центробежного насоса или компрессора для очистки бетоновода стрелы.

7.15. Перед подачей бетонной смеси включается система управления стрелой; гибкий шланг стрелы подводится к месту бетонирования (путем управления работой масляного насоса и гидравлических цилиндров с выносного пульта управления), после чего по переговорному устройству оператору бетононасоса сообщается о готовности к приему бетонной смеси.

7.16. Бетонная смесь распределяется перемещением концевого шланга стрелы к соответствующему месту бетонируемой конструкции.

Очистку бетоновода стрелы целесообразно осуществлять отдельно от магистрального трубопровода. Одновременная очистка магистрального трубопровода и бетоновода стрелы допускается в случае их одинакового диаметра и при наличии центробежного насоса или компрессора достаточной мощности (п. 6.50).

7.17. Для обеспечения безотказной работы распределительной стрелы требуется тщательный уход и обслуживание, при этом необходимо:

один раз в месяц производить смазку всех шарнирных соединений;

каждые 10 дней производить осмотр стыковых соединений с проверкой надежности затяжки болтов и гаек;

вести наблюдение за правильностью функционирования всех механизмов, гидромотора, насосной станции, цилиндров и др. При обнаружении мелких неисправностей, как, например, ослабление крепежа, течь в гидросистеме, необходимо немедленно их устранить. При неисправностях, которые нельзя устранить на месте, эксплуатацию установки необходимо прекратить;

ежедневно перед началом работы производить осмотр гидросистемы и при обнаружении течи в стыках немедленно их устранить;

вести наблюдение за исправностью электроаппаратуры и за состоянием токоведущих проводов.

7.18. При завершении работ на данном объекте распределительную стрелу необходимо сложить в транспортное положение и установить ее в месте хранения на деревянных подкладках. Все шарнирные и резьбовые соединения очистить от бетона и грязи и смазать антикоррозионной смазкой.

7.19. Замену масла в гидросистеме стрелы необходимо производить в соответствии с требованиями паспорта-инструкции по эксплуатации стрелы.

7.20. Транспортировать автономную распределительную стрелу следует в собранном виде (в транспортном положении), при этом секции стрелы должны быть надежно зафиксированы против смещения.

Для транспортирования стрелы применяются серийные прицепы соответствующей грузоподъемности.

Обслуживание и ремонт бетононасосных установок

7.21. Техническое обслуживание и ремонт бетононасосных установок являются взаимосвязанными операциями, направленными на поддержание работоспособности оборудования, и должны выполняться в соответствии с требованиями специальной инструкции по эксплуатации.

Износ деталей бетононасосов влечет за собой потерю первоначальных качеств машины, снижение производительности, вызывает повышенный расход электроэнергии, рабочей жидкости и т.п. Несвоевременная замена изношенных деталей может явиться причиной аварий и привести к длительным простоям при внеплановых ремонтах. Поэтому работа бетононасосов будет наиболее эффективной при строгом соблюдении правил технической эксплуатации и ремонтов.

7.22. Для поддержания бетононасосных установок в рабочем состоянии необходимо систематически выполнять ежесменное техническое обслуживание ЕО и техническое обслуживание ТО, а также производить планово-предупредительные ремонты ППР в соответствии с требованиями инструкции СН 207-68.

В состав ЕО входят работы по наружной очистке и промывке бетононасоса, очистке рабочей камеры, приспособлений и устройств бетоновода от бетонной смеси, смазке основных узлов, устранению утечек, доливке и смене рабочей жидкости, проверке технического состояния фильтров, подтяжке креплений, проверке регулируемых узлов, состояния гидро- и электроаппаратуры, проверке состояния бетоновода, работы по контрольному осмотру перед передачей машины при смене бригад. Замеченные неисправности записываются в журнал передачи смен.

7.23. При ежедневном техническом обслуживании обслуживающий персонал после очистки и промывки бетононасоса должен выполнить следующие операции:

1) проверить и устранить места утечки рабочей жидкости. Для этого до остановки бетононасоса осматриваются места подсоединения маслопроводов к гидроцилиндрам, соединения трубопроводов, линии разъема крышек и корпуса распределителей, насосов, гидроцилиндров и других элементов гидроаппаратуры. Подтяжка соединений производится только при выключенном бетононасосе. Для выявления мест утечек при работе на холостом ходу давление рабочей жидкости в системе гидропривода необходимо понизить до минимально возможного (3,0 - 4,0 МПа);

2) проверить положение гибких маслопроводов. Они не должны касаться друг друга и деталей бетононасоса;

3) проверить уровень рабочей жидкости в баке и при необходимости долить;

4) проверить состояние уплотнений транспортных цилиндров и деталей распределительного устройства, заменить воду в системе промывки транспортных цилиндров;

5) устранить неплотность в местах соединений стыков звеньев бетоновода, замеченную в процессе промывки, очистить и промыть всасывающий клапан;

6) произвести смазку бетононасоса согласно карте смазки,

7) проверить состояние регулируемых узлов, подтянуть крепления разъемных соединений, подготовить машину для передачи следующей смене с записью замеченных недостатков в журнале передачи смен.

7.24. ТО представляет собой комплекс мероприятий, направленных на борьбу с износом деталей, увеличения срока службы и надежности работы, а ремонт ликвидирует последствия износа заменой или восстановлением тех деталей, которые уже не могут обеспечить нормальную работу бетононасосной установки. Для самоходных бетононасосов дополнительно выполняется объем по техническому обслуживанию автомобилей.

Техническое обслуживание, кроме операций ЕО, включает номенклатуру работ, выполнение которых является обязательным: ревизия транспортных цилиндров, распределительной части и приемного бункера с целью установления степени износа уплотнительных элементов, подшипников, и других деталей с составлением перечня замены и уточнения объема работ последующего ремонта: ежедневный осмотр бетоновода, быстроразъемных соединений стыков с целью замены неисправных; замена рабочей жидкости и промывка, бака, фильтров. При необходимости выполняются работы по замене изношенных деталей.

7.25. При текущем ремонте Т выполняют все работы, предусмотренные ТО, и производится разборка транспортных цилиндров, распределительного устройства, приемного бункера для замены уплотнительных элементов, заслонок, лопастей. При необходимости производят замену манжет поршней и штоков. Производится испытание насоса главного гидропривода на расход и давление рабочей жидкости.

В процессе текущего ремонта устраняются неисправности основных узлов бетононасоса, препятствующие дальнейшей нормальной его эксплуатации. Кроме этого, уточняется объем работ последующего ремонта.

Текущий ремонт гидропривода производится по мере выявления неисправностей в работе отдельных узлов в процессе ЕО и ТО. Текущий ремонт системы гидропривода включает в основном следующие виды работ: замена уплотнительных колец в соединенных трубопроводах, в стыковых соединениях насосов, распределителей, клапанов, гидроцилиндров. В гидроцилиндрах производится также замена грязесъемника, манжет и упорных шайб. Производится заварка трещин трубопроводов, маслобака, замена фильтров и др.

7.26. Для текущего ремонта бетононасосов на местах работы рекомендуется использовать передвижные ремонтно-механические мастерские, оснащенные необходимым оборудованием и приспособлениями. С их помощью могут выполняться ТО, аварийные и заявочные ремонты.

7.27. При капитальном ремонте бетононасос в заводских условиях полностью разбирается, производится ремонт базовых деталей, восстанавливаются начальные допуски и посадки сопрягаемых поверхностей в соответствии с требованиями технической документации и указаний на производство капитального ремонта, восстанавливается чистота обработки поверхностей, заменяются изношенные агрегаты насосной части, бетоновода, электро- и гидропривода новыми или заранее отремонтированными, а также производится модернизация отдельных узлов бетононасоса.

Техника безопасности при применении бетононасосных установок

7.28. При применении бетононасосов необходимо строгое соблюдение общих правил по технике безопасности для строительных работ согласно СНиП III-А.11-70.

7.29. К управлению бетононасосами допускаются только машинисты-операторы, имеющие удостоверение на право работы на данном типе машины.

7.30. Инструктаж по технике безопасности машинистов-операторов бетононасосов проводится администрацией управления механизации совместно с администрацией строительства

7.31. При работе бетононасосов на стройплощадке нельзя допускать:

передвижения бетононасосов со стрелой, не установленной в транспортном положении;

установку бетононасосов на опорные стойки без наличия прочных прокладок, уложенных на твердое основание;

установку бетононасосов на свеженасыпанном, неутрамбованном грунте.

Таблица 14

Глубина выемки, м

Грунт ненасыпной

песчаный и гравийный

супесчаный

суглинистый

глинистый

лессовый сухой

Наименьшее допустимое расстояние по горизонтали от подошвы откоса выемки до ближайших опор машины, м

1

1,6

1,25

1

1

1

2

3

2,4

2

1,5

2

3

4

3,6

3,25

1,75

2,5

4

5

4,4

4

3

3

5

6

5,3

4,75

3,5

3,5

7.32. Установка и перемещение бетононасосов на краю откосов котлованов, траншей, канав и других выемок допускается лишь при условии соблюдения расстояний, указанных в табл. 14.

7.33. При монтаже бетононасосной установки необходимо тщательно заземлить электрическую систему бетононасоса, испытать бетоновод при гидравлическом давлении, в 1,5 раза превышающем рабочее. Замковые соединения бетоновода перед подачей бетонной смеси очистить и плотно закрыть.

7.34. Открытые передачи и движущиеся части машины и механизмов, входящих в бетононасосную установку (приемный бункер, электродвигатели, механическое оборудование, электрокабели), должны быть защищены специальными щитками. Работа бетононасоса со снятыми ограждениями запрещается.

7.35. Смазка механизмов и прочие операции по обслуживанию бетононасосной установки должны производиться только сменным мастером или в присутствии помощника.

7.36. Рубильники включения электродвигателей должны быть закрытого типа. По окончании работы их необходимо выключить и запереть на замок. Они включаются и выключаются сменным оператором или его помощником.

7.37. Включение и выключение рубильников для приведения в действие вибратора на виброрешетке производятся специально инструктированным рабочим бетонщиком, обслуживающим приемку бетонной смеси.

Посторонние лица к этим операциям не должны допускаться.

До пуска бетононасосной установки в работу необходимо проверить исправность заземления всей электрической части и всех основных узлов бетононасоса и вспомогательного оборудования на холостом ходу.

7.38. Электромонтажные и ремонтные работы по электрооборудованию, а также электросиловой и осветительной сети должны выполняться только электромонтерами, снабженными необходимыми инструментами, резиновыми перчатками и резиновой обувью и соответственно проинструктированными.

7.39. Работу бетононасоса без исправно действующей звонковой или световой сигнализации, либо телефонной связи между оператором бетононасосной установки и мастером бетонируемого объекта не следует допускать.

7.40. Ежедневно перед началом смены необходимо проверять исправность всех манометров бетононасосной установки, предохранительных клапанов, предупреждающих появление в ней давления выше допускаемого. В гидросистеме распределительной стрелы должны быть проверены предохранительные устройства (например гидрозамки) для предотвращения ее падения.

7.41. Перегибание шлангов, по которым транспортируется бетонная смесь, запрещается. Закрепление гибких шлангов на штуцерах бетоноводов должно осуществляться хомутами на болтах. Применение проволоки для этой цели запрещается.

7.42. Над трубопроводами, уложенными в местах постоянного движения людей или транспортных средств, следует устраивать мостики.

7.43. При монтаже бетоноводов на высоких отметках или над котлованами должны быть установлены ограждения всех мест работы монтажников или обслуживающего персонала

7.44. Для использования виброхоботов, вибролотков и вибропитателей для распределения бетонной смеси, подаваемой бетононасосами, должна быть обеспечена безопасность работающих от поражения электротоком. Электропровода от электродвигателей и вибраторов до рубильника заключаются в резиновые шланги.

7.45. Лотки, хоботы и виброхоботы для спуска бетонной смеси в конструкцию, а также загрузочные воронки должны быть прочно прикреплены к надежным опорам.

Для предупреждения падения бетонной смеси из загрузочной воронки бетононасоса на уровне верха воронки следует предусматривать настил или козырьки из полос резины.

7.46. Очистку бетоноводов сжатым воздухом не следует допускать, если их очистка и промывка могут быть выполнены водой.

При очистке бетоноводов сжатым воздухом должны соблюдаться следующие мероприятия:

1) у выходного отверстия бетоновода необходимо установить, кроме козырька отражателя, деревянный щит, слегка наклоненный в сторону бетоновода, при этом все рабочие должны быть удалены от выходного отверстия бетоновода на безопасное расстояние (но не менее 10 м);

2) очистку бетоноводов нужно производить при помощи 2 - 3 пыжей из пористой резины или мешковины, тщательно смоченных водой;

3) краны воздуховодов и манометр должны находиться под непрерывным наблюдением оператора, который обязан следить за равномерностью подъема давления в бетоноводе;

4) перед пуском сжатого воздуха бетоновод нужно тщательно проверить и стянуть клиньями все замковые соединения;

5) отдельные звенья бетоновода, особенно колена, должны быть испытаны на прочность соединений в стыках посредством сильного обстукивания. Появившиеся вмятины свидетельствуют об износе стенок. Такие звенья необходимо заменить;

6) воздух должен подаваться в бетоновод медленно и равномерно, чтобы пыжи выходили из конечного выходного отверстия бетоновода плавно;

7.47. При работе бетононасосных установок с распределительными стрелами необходимо учитывать следующее:

1) эксплуатация стрелы не допускается до тех пор, пока бетононасос не установлен на опоры;

2) стрела должна эксплуатироваться при силе и скорости ветра, не превышающих пределов, указанных в паспорте-инструкции по применению установки;

3) радиус вращения стрелы - опасная зона;

4) скорость поворота стрелы не должна превышать 0,5 об./мин;

5) запрещается использование концевого шланга на стреле бетононасоса большей длины, чем обозначена в паспорте-инструкции к нему.

7.48. При применении автобетононасосов необходимо обеспечить требуемое техническое состояние узлов, механизмов и приборов машин, влияющих на безопасность движения.

7.49. Для обеспечения безопасных проходов расстояние между выступающими частями бетононасоса и другими предметами должно быть не менее 1 м.

7.50. Запрещается производство бетонных работ с помощью бетононасосов без присутствия технического руководства на строительной площадке, а также применение методов и приемов работ, не соответствующих назначению и технической характеристике машины.

7.51. Возобновление работы бетононасоса после его даже незначительной остановки должно сопровождаться предупредительным сигналом мастеру бетонных работ и обратным сигналом, подтверждающим готовность принять бетонную смесь.

7.52. При работе в темное время суток дороги, проходы, а также все рабочие места должны быть освещены в соответствии с требованиями норм электрического освещения строительных и монтажных работ (СН 81-60).

7.53. Производство работ вблизи линий электропередач допускается с соблюдением правил технической эксплуатации электроустановок потребителей вдоль воздушных линий электропередач (ЛЭП), устанавливающих величину охранной зоны.

7.54. Осмотр и ремонт бетононасоса или стрелы, разъединение нагнетательного трубопровода допускается производить только после остановки бетононасоса, снятия давления в бетоноводе и отключения установки от электросети

7.55. Запрещается ликвидировать пробки, увеличивая давление в системе выше допустимого.

7.56. Операторы бетононасоса и бетонщики должны обязательно носить защитные шлемы Разъединение бетоноводов производить в защитных очках.

8. Особенности применения бетононасосов в зимних условиях

8.1. Укладка бетонной смеси в зимних условиях бетононасосными установками осуществляется так же, как и в летних. Особенностью производства бетонных работ при отрицательных температурах воздуха является необходимость выполнения мероприятий, обеспечивающих минимальные потери тепла бетонной смеси от момента ее приготовления до укладки в опалубку конструкции, а также по подготовке бетонной установки к работе в зимних условиях.

8.2. Технология приготовления бетонной смеси, ее транспортирования и укладки, контроль качества твердеющего бетона и мероприятия по технике безопасности должны отвечать требованиям СНиП III-15-76, Руководства по производству бетонных работ (М., Стройиздат, 1975) и других инструктивных документов по зимнему бетонированию.

Выдерживание бетона можно производить с применением одного из известных способов - термоса, электротермообработки, в тепляках, с паропрогревом.

Рис. 34. Общий вид автобетононасоса производительностью 80 м3/ч в зимнем исполнении.

8.3. Правильно организованный процесс бетонирования конструкций в зимнее время с применением бетононасосных установок должен предусматривать мероприятия по уменьшению теплопотерь бетонных смесей:

1) при транспортировании от бетоносмесительной установки к бетононасосу;

2) при перегрузке в приемный бункер бетононасоса;

3) при перекачивании по трубам.

Рис. 35. Скорость остывания бетонной смеси в утепленном барабане автобетоносмесителя при отрицательной температуре воздуха -40 °С

8.4. В случае транспортирования бетонной смеси от смесительных узлов при температуре ниже минус 15 °С барабаны автобетоносмесителей, кузовы автобетоновозов и автосамосвалов должны быть утеплены или оборудованы устройствами для обогрева.

Утепление может выполняться с помощью эффективных теплоизоляционных материалов - минераловатных матов, пенопласта, поропласта, пенополиуретана и т.п., проложенных между барабаном или кузовом и легким металлическим кожухом.

В качестве теплоносителя при обогреве могут использоваться отработанные газы от двигателя автомобиля в смеси с наружным воздухом, подаваемые в полость между кузовом или барабаном и металлическим кожухом. Сверху кузова закрывают брезентовыми полотнищами с закрепленными на них поперек кузова деревянными планками. Загрузочное отверстие барабана автобетоносмесителя также должно быть закрыто, а бак для воды и система водонапорных труб соответственно утеплены.

Общий вид автобетононасоса в зимнем исполнении с утепленными защитным кожухом и бетоноводом показан на рис. 34, а графическая зависимость остывания бетонной смеси в барабане автобетоносмесителя с утеплителем из пенополиуретана, заключенного между барабаном и легким металлическим кожухом, при отрицательной температуре воздуха минус 40 °С приведена на рис. 35.

8.5. Транспортирование бетонной смеси от смесительных узлов при температуре до минус 15 °С можно осуществлять в автотранспортных средствах обычного (летнего) исполнения с обязательной очисткой барабанов и кузовов от наледи и снега.

Снижение температуры бетонной смеси в процессе ее транспортирования в неутепленных средствах перевозки рекомендуется определять по формуле

Dtтр = Dtтр(tв - tсм)t,                                                           (22)

где Dtтр - изменение температуры смеси (средней по перевозимому объему), °С;

Dtтр - изменение температуры смеси при транспортировании в течение одной минуты при разнице температур смеси и воздуха 1 °С, °С/°Смин (табл. 15);

tв - температура воздуха, °С;

tсм - температура смеси в начале транспортирования, °С;

t - продолжительность транспортирования смеси, мин.

8.6. При транспортировании смеси допускается не более одной перегрузки - из транспортного средства в бетононасос

Таблица 15

Тип автосамосвала

Объем перевозимой смеси, м3

Dtтр, °С/°Смин

ГАЗ-93

1,4

0,0037

ЗИЛ-ММЗ-555

2

0,003

МАЗ-503

3,2

0,0025

Место перегрузки смеси должно быть защищено от ветра. Участок над приемным бункером бетононасоса следует защищать от атмосферных осадков.

8.7. При подготовке бетононасосов к эксплуатации в зимнее время должны быть выполнены мероприятия по обеспечению работы их основных узлов, водяной и масляной систем в условиях положительной температуры. Для этого стандартные бетононасосы целесообразно устанавливать в отапливаемых помещениях, а передвижные - оборудовать утепленными кожухами с местным обогревом

Утепление кожуха передвижных бетононасосов и приемного бункера можно выполнить в соответствии с рекомендациями п. 8.4. Приемный бункер должен быть оснащен откидной утепленной крышкой.

Местный обогрев передвижных бетононасосов может быть выполнен с помощью отработанных газов от двигателя базового автомобиля, передаваемых под утепленный кожух насоса, с использованием электрокалориферов небольшой теплопроизводительности с вентиляторами, гибких электронагревательных элементов, греющих одеял и т.п.

При любом решении вопроса утепления бетононасоса должен быть исключен контакт наиболее уязвимых узлов и деталей бетононасосов (транспортных и масляных цилиндров, баков для воды и масла, трубопроводов маслогидравлической системы и пр.) с холодным воздухом, так как при перерывах в работе бетононасосов это может привести к их поломке.

8.8. В зависимости от температуры воздуха, длины и диаметра трубопровода, температуры смеси, производительности бетононасоса транспортирование смеси в зимних условиях следует осуществлять по неутепленным, утепленным или обогреваемым трубопроводам, области применения которых приведены на рис. 36.

При выборе типа трубопровода из числа перечисленных необходимо руководствоваться следующими положениями:

1) транспортирование бетонных смесей по неутепленным трубопроводам не требует дополнительных затрат на устройство и эксплуатацию трубопровода по сравнению с летними условиями, однако имеет ограниченную область применения по температуре воздуха и длине трубопровода. Не допускается остановка насоса продолжительностью свыше 15 мин.

Рис. 36. Примерные области применения неутепленных, утепленных и обогреваемых трубопроводов

При более длительной остановке необходимо принимать меры для удаления бетонной смеси из трубопровода;

2) транспортирование бетонных смесей по утепленным трубопроводам требует небольших дополнительных затрат на теплоизоляцию. По сравнению с транспортированием по неутепленным трубопроводам имеет более широкую область применения по температуре воздуха и длине трубопровода. Допускает остановку бетононасоса продолжительностью 20 - 30 мин;

3) транспортирование бетонных смесей по обогреваемым утепленным трубопроводам требует специальных электронагревательных элементов, значительных первоначальных затрат на устройство утепления и эксплуатационных затрат на электроэнергию. Однако эти мероприятия обеспечивают условия транспортирования бетонной смеси, не отличающиеся от летних.

8.9. Транспортирование по трубопроводам бетонных смесей с противоморозными добавками хлористых солей (без добавки пассиваторов) не допускается во избежание интенсивной коррозии деталей бетононасоса и трубопроводов. Возможно транспортирование по трубопроводам смесей с добавками нитрита натрия NaNO2, НКМ - Са(NO3)2 + СОО(NH2)3, ННХК - CaNO2 · Са(NO3)2 · СаСl2, хлористого кальция с нитритом натрия - CaCl2 + NaNO2.

Транспортировать по трубопроводам смеси с добавкой поташа не допускается в связи с их быстрым загустеванием.

8.10. Средняя температура бетонной смеси в процессе транспортирования по трубопроводу, включая периоды остановки бетононасоса, не должна опускаться ниже величин, обеспечивающих температуру уложенного в конструкцию бетона перед началом выдерживания или прогрева:

1) при выдерживании бетона по способу термоса - по расчету;

2) перед началом предварительного электроразогрева бетонной смеси в бадье или кузове автобетоновоза - не ниже 0 °С в наиболее охлажденных зонах;

3) при применении других способов электротермообработки - не ниже плюс 2 °С;

4) при использовании бетона с противоморозными добавками - не менее чем на 5 °С выше температуры замерзания раствора затворения.

8.11. При транспортировании бетонных смесей по бетоноводам (неизолированным, теплоизолированным и обогреваемым) температура смеси на контакте с внутренней поверхностью труб должна быть не менее 5 °С. Методика и примеры расчета по определению температуры бетонной смеси в трубопроводе приведены в прил. 11, а на рис. 37 представлена величина теплопотерь смеси в процессе ее транспортировки и укладки в опалубку конструкции.

8.12. В качестве теплоизоляционных материалов для утепления бетоноводов, бетононасосов и их приемных бункеров, а также средств автотранспорта бетонных смесей можно использовать материалы, представленные в табл. 16. При этом для предварительных расчетов толщину теплоизоляции следует принимать не менее 60 мм для материалов с объемной массой до 200 кг/м3 и 120 мм - объемной массой 400 - 600 кг/м3.

8.13. Для утепления бетоноводов целесообразно использовать полносборные теплоизоляционные конструкции типа ТК (рис. 38), включающие теплоизоляционный слой, защитное покрытие и детали крепежа или инвентарные полуцилиндры из теплоизоляционных материалов на синтетическом связующем типа СТК (рис. 39). При отсутствии полносборных конструкций необходимо применять теплоизоляционные маты, мягкие плиты, сегменты из полужестких плит, отеплительный войлок, теплоизоляционные жгуты и шнуры. Величина коэффициента теплопроводности теплоизоляционных материалов приведена в табл. 16.

Утепление, выполненное из материалов, приведенных в табл. 16, должно быть снаружи защищено от увлажнения и механических воздействий кожухами из оцинкованной стали, листового дюралюминия, алюминиевой гофрированной ленты.

8.14. Замковые соединения бетоновода рекомендуется утеплять быстроразъемными муфтами из податливых (гибких) теплоизоляционных материалов (поролона, минераловатных или стекловатных матов и т.п.), прикрепляемых к плотной основе типа брезента. Для плотного стягивания муфты вокруг замкового соединения можно использовать ленты из кожи или других материалов, снабженные пряжками (рис. 40).

8.15. При монтаже, эксплуатации и демонтаже утепленного бетоновода необходимо проявлять осторожность, чтобы избежать смятия и повреждения теплоизоляционного покрытия, которые приводят к ухудшению его теплоизоляционных свойств.

Рис. 37. Теплопотери бетонной смеси в процессе ее транспортировки и укладки в опалубку конструкции (по данным фирмы «Штеттер», ФРГ).

1 - максимально допустимая температура бетона; 2 - номинальная загрузка бетономешалки; 3 - загрузка бетономешалки 1/3 - 1/2 от номинальной загрузки; 4 - смесительный барабан не изолирован; 5 - нижний предел температуры бетона при загрузке в опалубку; 6 - теплота гидратации при теплоизоляции опалубки или обогреве; 7 - теплота гидратации при опалубке без теплоизоляции

Рис. 38. Полносборная теплоизоляционная конструкция

1 - теплоизоляционное изделие; 2 - шплинт; 3 - бандаж; 4 - покровный слой

Рис. 39. Теплоизоляционная конструкция из полуцилиндров минераловатных на синтетическом связующем

а - установка утеплителя и покрытия; б - затяжка и сверловка; в - завертка самонарезающих шурупов

Рис. 40. Утепление замкового соединения бетоновода

1 - замковое соединение; 2 - утепление замкового соединения; 3 - секция трубопровода; 4 - утепление секций трубопровода

При закреплении утепленных бетоноводов необходимо следить за тем, чтобы между опорой и трубопроводом всегда имелся слой теплоизоляции, который исключает возможность местных теплопотерь при перекачивании бетонных смесей за счет образования «мостиков холода».

8.16. Обогреваемые бетоноводы должны выполняться теплоизолированными, с установкой между наружной поверхностью трубы и слоем утеплителя различных поверхностных электронагревательных устройств.

В качестве нагревательных устройств можно использовать ленточные электронагревательные элементы марки ЭНГЛ-180, характеристика которых приведена в табл. 17.

Таблица 16

Материалы

Объемная масса, кг/м3

Коэффициент теплопроводности, Вт/м · °С

Примечание

Войлок отеплительный

100

0,052 + 0,00020tср

 

Жгут стеклянный ЖСТ-30

130

0,037 + 0,00026tср

 

Маты минераловатные прошивные марки 100

130

0,045 + 0,00020tср

Для утепления бетоноводов

То же, марки 150

200

0,0535 + 0,000185tср

 

Маты минераловатные на синтетическом связующем марки 75

115

0,043 + 0,00022tср

 

Маты и полосы из непрерывного стекловолокна прошивные

200

0,04 + 0,00026tср

 

Маты стекловатные на синтетическом связующем марки 50

80

0,042 + 0,00035tср

 

Плиты минераловатные на синтетическом связующем мягкие марки 75

115

0,043 + 0,00022tср

 

То же, полужесткие марки 100

120

0,041 + 0,00021tср

 

То же, марки 125

150

0,047 + 0,000185tср

 

Плиты минераловатные на крахмальном связующем

230

0,056 + 0,000185tср

 

Плиты стекловатные полужесткие на синтетическом связующем марки 50

60

0,042 + 0,00035tср

 

То же, марки 75

90

0,044 + 0,00023tср

 

Полуцилиндры теплоизоляционные из минеральной ваты на синтетическом связующем марки 150

150

0,049 + 0,0002tср

 

То же, марки 200

200

0,052 + 0,000185tср

 

Пористая (губчатая) резина

300 - 400

0,14

 

Цилиндры теплоизоляционные из минеральной ваты на синтетическом связующем марки 150

150

0,049 + 0,0002tср

 

То же, марки 200

200

0,052 + 0,000185tср

 

То же, марки 250

250

0,056 + 0,000185tср

 

Шнур теплоизоляционный из минеральной ваты марки 200

200

0,056 + 0,000185tср

 

То же, марки 250

250

0,058 + 0,000185tср

 

То же, марки 300

300

0,061 + 0,000185tср

 

Древесноволокнистые и древесностружечные плиты с влажностью 12 %

200

0,08

Только для утепления приемного бункера

То же

400

0,14

 

Древесноволокнистые и древесностружечные плиты с влажностью 12 %

600

0,16

 

Нагреватели марки ЭНГЛ-180 представляют собой тканую ленту из стеклонити, в основе которой находятся нагревательные жилы из сплава с высоким удельным сопротивлением. Лента имеет влагонепроницаемую оболочку из кремнийорганической резины с проложенными внутри токоведущими проводами. Их эксплуатация должна производиться в соответствии с требованиями «Инструкции по монтажу и эксплуатации элементов нагревательных гибких ленточных марки ЭНГЛ-180».

Принцип действия нагревателей основан на выделении тепла активным сопротивлением нагревательных жил при прохождении по ним электрического тока и передаче этого тепла нагреваемому трубопроводу.

Таблица 17

Условное обозначение нагревателей

Тип

Мощность на 1 м активной части, Вт

Номинальная мощность, кВт

Сопротивление, Ом

Масса, кг

Габаритные размеры, мм

длина активной части

ширина

толщина

ЭНГЛ 180-0,166/220/4.07/1

ТА2.983

40

0,166

297

0,9

4070

30

5

983

ЭНГЛ 180-0,204/220/3.32/1

ТА2.983

60

0,204

237

0,68

3320

30

5

983.01

ЭНГЛ 180-0,234/220/2.86/1

ТА2.983

80

0,234

206

0,64

2860

30

5

983.02

ЭНГЛ 180-0,263/220/2.55/1

ТА2.983

100

0,263

183

0,6

2550

30

5

983-03

8.17. Определение мощности электронагревательных элементов Р, Вт, необходимой для компенсации теплопотерь бетонной смеси при ее перекачивании по утепленному трубопроводу, можно производить по формуле

                                                          (23)

где dcp - средний диаметр трубопровода, м;

α - коэффициент теплоотдачи в воздух, Вт/(м2 · °С);

dиз - толщина теплоизоляционного слоя бетоновода, м,

lиз - коэффициент теплопроводности материала теплоизоляционного слоя, Вт/(м · °С);

Dt - разность между температурой бетонной смеси и окружающей среды, °С.

Для ориентировочных расчетов мощность нагревателей на 1 м длины бетоновода диаметром 100, 125 и 150 мм при Dt = 50 °С можно принимать равной соответственно 35, 45 и 55 Вт. При других значениях разности между температурой бетонной смеси и окружающей среды можно использовать графическую зависимость, представленную на рис. 41.

(при dиз = 0,025 м, lиз = 0,06 Вт/(м · °С) и α = 29 Вт/(м2 · °С).

8.18. Обогреваемые бетоноводы с гибкими нагревательными элементами целесообразно оборудовать терморегулировочными устройствами. При отсутствии последних удельная мощность на 1 м длины активной части нагревателя не должна превышать 60 Вт, а суммарная мощность нагревателей, устанавливаемых на 1 м длины трубопровода при его диаметре 75, 100 и 150 мм, не должна превышать соответственно 80, 130 и 180 Вт.

8.19. В обогреваемых бетоноводах целесообразно каждое звено отдельно оборудовать гибкими нагревательными элементами. Последние могут укладываться параллельно трубопроводу или навиваться спирально (рис. 42). При установке следует избегать перегибов и касания нагревателей друг друга, что может вызвать перегрев и выход их из строя.

При намотке или укладке гибких нагревательных элементов необходимо обеспечить их плотный контакт с трубопроводом и надежное закрепление к последнему. Звенья бетоновода должны быть предварительно очищены от грязи и ржавчины.

8.20. Соединение гибких нагревательных элементов обогреваемого трубопровода в электрическую цепь необходимо выполнять с помощью соответствующих штепсельных разъемов в процессе монтажа звеньев бетоновода. Одновременно должно быть выполнено надежное заземление трубопровода и металлического кожуха теплоизоляции.

8.21. В опытно-производственном порядке допускается транспортирование в зимних условиях бетонных смесей по трубопроводам с их электроразогревом в процессе движения. При этом способе бетоновод должен быть оборудован греющими участками из неметаллических звеньев, внутри которых к их стенкам укреплены два пластинчатых электрода один против другого (каждый шириной 0,7 диаметра трубопровода).

Рис. 41. График определения мощности, необходимой для компенсации тепловых потерь 1 м теплоизолированного трубопровода в зависимости от разности температур (бетоноокружающая среда)

Электроразогрев в трубопроводе осуществляется путем пропускания электрического тока через движущуюся бетонную смесь. За счет омического сопротивления последней в ней выделяется тепло. Регулирование температуры разогрева смеси можно производить путем изменения напряжения на электродах с помощью трансформатора.

Эта технология является весьма перспективной, так как позволяет совместить в одном устройстве (бетононасосной установке) функции транспортирования, разогрева и укладки бетонной смеси. При этом, по сравнению с технологией предварительного электроразогрева смеси в бадьях и кузовах автомашин в трубопроводе за счет его герметичности и утепления можно до минимума снизить тепло- и влагопотери бетонной смеси.

Рис. 42. Различные способы укладки гибких нагревателей

а - линейная прокладка вдоль трубопровода; б - спиральная намотка на трубопровод; 1 - гибкий нагреватель; 2 - тепловая изоляция; 3 - наружный защитный кожух

8.22. Непосредственно перед началом транспортирования бетонной смеси трубопровод должен быть прогрет пропуском через него горячей воды, пара, воздуха или выхлопных газов от двигателя внутреннего сгорания. Обогреваемый трубопровод должен быть подогрет до расчетной температуры предварительным включением электронагревателей.

8.23. В начальный момент работы бетононасоса температура «пускового раствора» и первых порций бетонной смеси в объеме, достаточном для заполнения бетоновода по всей его длине, должна быть в зависимости от температуры наружного воздуха не ниже 30 - 50 °С.

8.24. Очистку бетононасоса и его приемного бункера следует производить подогретой водой. Очистку бетоновода в зимних условиях наиболее целесообразно осуществлять с помощью сжатого воздуха. При отсутствии последнего с этой целью можно применять подогретую воду. После очистки бетононасоса и бетоновода оставшуюся воду необходимо полностью удалить, во избежание ее замерзания.

8.25. В случае перебоев в перекачивании смеси по необогреваемому трубопроводу, из-за неисправности бетононасоса или задержки в подаче смеси с бетоносмесительного узла, допустимая продолжительность остановки определяется интенсивностью остывания смеси и должна устанавливаться расчетом (см п. 8.11).

По истечении допустимой продолжительности остановки бетононасоса смесь должна быть удалена из трубопровода.

ПРИЛОЖЕНИЕ 1

УСТРОЙСТВО И ПРИНЦИП РАБОТЫ БЕТОНОНАСОСА СБ-95А

Бетононасос СБ-95А, серийно выпускаемый Нязепетровским заводом строительных машин, предназначен для транспортирования по трубам свежеприготовленных бетонных смесей и строительных растворов. Бетононасос может быть применен для работы в районах с умеренным климатом на открытом воздухе при температуре от 0 до 40 °С, а при выполнении специальных мероприятий (разд. 8) и при отрицательных температурах. Техническая характеристика бетононасоса приведена в прил. 3.

Бетононасос (рис. 43) состоит из рамы, приемного бункера, распределительного устройства, цилиндропоршневой группы, баков для масла и воды, промывочного устройства, электрошкафа с пультом управления и кожуха. Кроме того, в комплекте с бетононасосом завод-изготовитель поставляет бетоновод (см. прил. 2).

Рис. 43. Общий вид бетононасоса СБ-95А

1 - рама; 2 - кожух; 3 - бак для масла; 4 - электрошкаф с пультом управления; 5 - загрузочный бункер; 6 - бетоновод; 7 - распределительное устройство; 8 - цилиндропоршневая группа; 9 - промывочное устройство; 10 - бак для воды

В процессе работы бетононасоса бетонная смесь, загружаемая в приемный бункер, всасывается поршнями в транспортные цилиндры и нагнетается в бетоновод. В тот момент, когда один поршень засасывает бетонную смесь, другой - нагнетает ее в бетоновод. При достижении поршнями крайних положений происходит переключение шиберных пластин. При этом открывается всасывающее отверстие для поршня, находящегося в переднем положении, и закрывается отверстие для нагнетания.

Устройство, назначение и работа основных узлов бетононасоса

Рама бетононасоса выполнена сварной и предназначена для установки на ней всех узлов и деталей оборудования. Нижняя часть рамы коробчатого сечения из швеллеров выполняет роль салазок.

В раме предусмотрены проушины для строповки и перемещения бетононасоса.

Приемный бункер (рис. 44) предназначен для загрузки в него бетонной смеси и ее дополнительного перемешивания. Бункер выполнен корытообразной формы и сверху прикрыт решеткой, предохраняющей от попадания в бетонотранспортную систему крупных включений бетонной смеси.

Вал побудителя, установленный на подшипниках, приводится во вращение гидромотором через втулочно-пальцевую муфту и червячный редуктор. Уплотнение опор вала осуществляется резиновыми кольцами. Смазка опор вала производится через масленки.

Рис. 44. Приемный бункер

1 - червячный редуктор; 2 - втулочно-пальцевая муфта; 3 - гидромотор; 4 - корпус бункера; 5 - решетка; 6 - уплотнительное кольцо; 7 - корпус подшипника; 8 - подшипник; 9 - масленка; 10 - вал побудителя

Лопасти вала побудителя при вращении способствуют продвижению бетонной смеси в камеру распределительного устройства через отверстия в приемном бункере.

Распределительное устройство (рис. 45) предназначено для попеременного сообщения приемного бункера и бетоновода с транспортными цилиндрами бетононасоса при тактах всасывания и нагнетания бетонной смеси.

Устройство состоит из распределительной камеры, пакетов шиберных пластин и соединительной коробки. Распределительная камера и соединительная коробка разделены между собой вертикальной шиберной пластиной. В распределительной камере имеется по два отверстия для всасывания из бункера и нагнетания бетонной смеси через соединительную коробку в бетоновод. Внутри распределительной камеры вставлены футеровочные гильзы.

Пакеты шиберных пластин предназначены для перекрытия отверстий всасывания или нагнетания во время работы бетононасоса. В пакет шиберной пластины входят тяги, колодки, вкладыши, шиберная пластина и заслонка Уплотнение тяг производится путем поджатия резиновых колец грундбуксой, а их смазка - от шестнадцати масленок через отверстия в колодках и вкладышах.

Возвратно-поступательное движение каждой шиберной пластины осуществляется с помощью гидроцилиндра (рис. 46), который состоит из плунжера, собственно гидроцилиндра и траверсы. В проушины последней закреплены тяги шиберной пластины. При работе бетононасоса масло через полости в подошве и плунжере поступает в гидроцилиндр и приводит его в движение. Гидроцилиндр в свою очередь перемещает траверсу с тягами и шиберной пластиной. Заслонки шиберных пластин попеременно открывают всасывающие или нагнетательные отверстия. Для спуска воздуха из цилиндра имеется пробка, которую можно отвернуть через отверстие в траверсе.

Рис. 45. Распределительное устройство

1 - футеровочная гильза; 2 - распределительная камера; 3 - пакет шиберной пластины; 4 - соединительная коробка; 5 - тяги, 6 - пресс-масленка; 7 - колодка; 8 - вкладыш; 9 - шиберная пластина; 10 - заслонка; 11 - грундбукса

Цилиндропоршневая группа (рис. 47) предназначена для всасывания из приемного бункера бетонной смеси и ее нагнетания в бетоновод.

Рис. 46. Гидроцилиндр шиберной пластины

1 - пробка; 2 - траверса; 3 - гидроцилиндр; 4 - плунжер; 5 - тяга; 6 - уплотнительные кольца; 7 - грязесъемник; 8 - полости подошвы; 9 - подошва; 10 - полость плунжера

Этот узел бетононасоса состоит из двух транспортных цилиндров, корпуса, соединенных между собой с помощью фланцев и полуколец, крышек (на рис. 47 не показаны) и двух приводных гидроцилиндров.

Транспортные цилиндры, с одной стороны, входят в отверстия коробки распределительного устройства, а с другой - в корпус цилиндропоршневой группы. К другому торцу корпуса крепятся приводные гидроцилиндры. В крышку гидроцилиндра встроено устройство для срабатывания датчиков управления работой шиберных пластин. Крышки гидроцилиндров соединяются между собой трубопроводом, на котором имеются пробка для выпуска воздуха и тройник для подвода и слива масла. Уплотнение приводных гидроцилиндров и транспортных цилиндров осуществляется резиновыми кольцами.

Поршни приводного гидроцилиндра и транспортного цилиндра закреплены на одном штоке. Соответственно первый поршень закреплен жестко, а второй - установлен на пальце, который соединен со штоком при помощи вставки, фланцев и полуколец. Уплотнительные манжеты поршня транспортного цилиндра распираются дисками, при помощи ограничения затяжки манжет предусмотрены специальные кольца.

Корпус перегородкой разделен на две камеры, каждая из которых имеет верхнее и боковое отверстия. Через верхнее отверстие поступает вода для промывки транспортных цилиндров во время работы бетононасоса, а через боковое - производится замена манжет поршня. Боковые отверстия закрываются крышками, на которых имеются устройства для спуска воды и воздуха из системы.

Бак для масла (рис 48) состоит из сварного корпуса, внутри которого на фланцах установлены насосы для главного и вспомогательного приводов. На стенке бака установлен маслоуказатель. На дне бака имеется люк для очистки, а на крышке люка спускная пробка.

Рис. 47. Цилиндропоршневая группа

1 - поршень приводного гидроцилиндра; 2 - приводной гидроцилиндр; 3 - крышка гидроцилиндра; 4 - устройство для срабатывания датчиков управления работой шиберных пластин; 5 - фланец вставки; 6 - вставка; 7 - полукольца пальца; 8 - верхнее отверстие корпуса; 9 - фланец пальца; 10 - корпус; 11 - поршень транспортного цилиндра; 12 - фланец транспортного цилиндра; 13 - транспортный цилиндр; 14 - фланец транспортного цилиндра; 15 - полукольца транспортного цилиндра; 16 - коробка распределительного устройства; 17 - ограничительное кольцо; 18 - диск; 19 - уплотнительная манжета; 20 - диск; 21 - гайка; 22 - полукольца транспортного цилиндра; 23 - палец; 24 - боковое отверстие корпуса; 25 - пробка; 26 - трубопровод; 27 - тройник; 28 - уплотнительное кольцо; 29 - шток.

Насос главного привода имеет переменную производительность. Изменение его производительности, и соответственно производительности бетононасоса в целом, производится поворотом штурвала. Привод насоса осуществляется от электродвигателя через втулочно-пальцевую муфту, полумуфта которой является одновременно шкивом привода вспомогательного насоса. Шкив вспомогательного насоса установлен на шариковых подшипниках. Натяжение ремней производится перемещением ролика натяжного устройства.

Рис. 48. Бак для масла

1 - полумуфта; 2 - фланец; 3 - насос главного привода; 4 - сварной корпус; 5 - маслоуказатель; 6 - штурвал; 7 - ролик натяжного устройства; 8 - шкив; 9 - спускная пробка; 10 - крышка люка; 11 - насос вспомогательного привода; 12 - фланец

Все отверстия в баке уплотняются резиновыми кольцами и прокладками.

Бак для воды (рис. 49) предназначен для охлаждения масла гидросистемы и хранения запаса воды для промывки бетоновода, транспортных цилиндров при работе бетононасоса и приемного бункера.

Бак состоит из сварного корпуса, внутри которого установлены теплообменник и клапанная коробка. Клапанная коробка работает при промывке бетоновода. Для этого необходимо отвернуть шток, и вода при движении поршня левого транспортного цилиндра назад, закрыв один клапан и открыв другой, нагнетается в промывочное звено и далее в бетоновод. При движении этого поршня вперед вода из бака будет всасываться через клапанную коробку в штоковую полость транспортного цилиндра.

При работе бетононасоса по перекачиванию бетонной смеси шток должен быть завернут, и вода будет свободно перетекать через клапанную коробку из бака по другой трубе в левый транспортный цилиндр и обратно. Питание водой правого цилиндра производится по отдельной трубе.

Для определения уровня воды на стенке бака имеются водомерные устройства. Подвод и отвод масла в теплообменник производится через патрубки. Заправка бака водой осуществляется через штуцер.

Промывочное устройство (рис. 50) предназначено для заполнения бака водой, а также очистки напорной струей приемного бункера, транспортных цилиндров, распределительной камеры и раструба от загрязнения и остатков бетонной смеси.

Рис. 49. Бак для воды

1 - теплообменник; 2 и 3 - патрубки; 4 - сварной корпус; 5 и 6 - водомерные устройства; 7 - клапанная коробка; 8 и 9 - трубопроводы; 10 - штуцер; 11 - шток; 12 и 13 - клапаны

Рис. 50. Промывочное устройство

1 - подающий рукав; 2 и 3 - краны; 4 - напорный рукав; 5 - всасывающий рукав; 6 - центробежный насос

Промывочное устройство состоит из центробежного насоса, кранов и рукавов: всасывающего, подающего и напорного. Заполнение бака водой производится через всасывающий и подающий рукава. При этом один из кранов перекрывается. Промывка бетононасоса производится путем подачи воды по напорному рукаву с насадкой, при этом другой кран должен быть закрыт.

Рис. 51. Пульт управления

1 - кнопка «Стоп» главного привода; 2 - кнопка «Стоп» водяного насоса; 3 - кнопка «Пуск» главного привода; 4 - кнопка «Пуск» водяного насоса; 5 - сигнальная лампа включения главного привода; 6 - сигнальная лампа включения водяного насоса; 7 - переключатель рода работы (работа, промывка); 8 - переключатель режима работы (ручной, автоматический); 9 - кнопка сигнала; 10 - тумблер работы (нагнетание, отсос); 11 - тумблер управления заслонками; 12 - сигнальная лампа положения заслонки на правом цилиндре; 13 - сигнальная лампа положения заслонки на левом цилиндре; 14 - сигнальная лампа включения правого поршня; 15 - тумблер управления поршнями; 16 - сигнальная лампа включения левого поршня производится путем подачи воды по напорному рукаву с насадкой, при этом другой кран должен быть закрыт.

Электрошкаф с пультом управления, расположенный в задней части бетононасоса, предназначен для размещения в нем аппаратов управления бетонотранспортной установкой (электромагнитных пускателей, реле, автоматических выключателей и др.), а также автоматов для защиты при перегрузках и коротких замыканиях в электрических цепях.

На пульт управления (рис. 51) вынесены кнопки, тумблеры и сигнальные лампы, с помощью которых приводятся в работу соответствующие узлы и агрегаты бетононасоса, а также контролируется их состояние.

ПРИЛОЖЕНИЕ 2

УСТРОЙСТВО БЕТОНОВОДА К БЕТОНОНАСОСУ СБ-95А

Бетоновод (рис. 52), поставляемый в комплекте с бетононасосом СБ-95А, состоит из раструба, основных звеньев длиной 3 м, а также коротких звеньев и гнутых колен. Внутренний диаметр бетоновода 150 мм, общая масса 6700 кг.

Раструб предназначен для объединения потоков бетонной смеси, нагнетаемых поршнями транспортных цилиндров в бетоновод. Раструб прикрепляется к соединительной коробке распределительного устройства бетононасоса при помощи четырех пальцев и клиньев. Уплотнение между ними осуществляется резиновыми кольцами (узел I), а между раструбом и соединительным звеном резиновой прокладкой (узел II).

Каждое звено представляет собой трубу с приваренными по концам фланцами (прямоугольными и фасонными). Соединение двух звеньев осуществляется при помощи замка, который состоит из хомута, серег, рычагов и пальцев. Уплотнение в соединении достигается за счет резинового кольца и клина.

Рис. 52. Бетоновод

1 - хомут; 2 - прямоугольный фланец; 3 - серьга; 4 - уплотнительное кольцо; 5 - фасонный фланец; 6 - палец шарнира; 7 - рычаг; 8 - клин замка; 9 - соединительный палец; 10 - клин соединительного звена; 11 - резиновое кольцо; 12 - резиновая прокладка; 13 - раструб; 14 - соединительное звено; 15 - быстроразъемная секция; 16 - основное звено длиной 3 м; 17, 18, 19 и 20 - колена с углом поворота соответственно 90°, 45°, 22°30’ и 11°15’; 21, 22 и 23 - звенья длиной соответственно 1,5, 1,0 и 0,5 м; 24 - концевое звено

Кроме основных звеньев, в комплект бетоновода входят, соединительное звено, быстроразъемная секция, игольчатый клапан, концевое и промывочное звенья, укороченные звенья длиной 1,5; 1 и 0,5 м, а также колена с углом поворота 90°, 45°, 22°30’ и 11°15’.

Быстроразъемная секция, прикрепляемая к соединительному звену, позволяет обеспечить в начале бетоновода разрыв, который используется для установки промывочного звена с заведенным в него пыжом. Эта операция производится при необходимости освободить бетоновод от бетонной смеси, например, по окончании работ. При этом бетонная смесь выдавливается давлением воды, нагнетаемой из левого транспортного цилиндра бетононасоса при его работе в режиме промывки.

Игольчатый клапан предназначен для установки перед вертикальным участком бетоновода, который может начинаться не ближе 8 - 10 м от бетононасоса.

Рис. 53. Стационарный бетононасос С-296

1 - нижняя мешалка (побудитель); 2 - приемный бункер; 3 - верхняя мешалка (смеситель); 4 - ограждающие кожухи из сетки над цепями, передающими движение валам побудителя и смесителя; 5 - редуктор малого электродвигателя; 6 - малый электродвигатель смесителя и побудителя; 7 - салазки электродвигателя; 8 - площадка; 9 - металлическая стремянка; 10 - электрощит; 11 и 12 - кулисы всасывающего и нагнетательного клапанов; 13 - тяга нагнетательного клапана; 14 - электродвигатель главного привода; 15 - тяга всасывающего клапана; 16 - клапан всасывающий; 17 - крепление бетоновода к фланцу клапанной коробки при помощи двух упоров и клиньев; 18 - бетоновод с бетонной смесью; 19 - клапан нагнетательный; 20 - цилиндр с поршнем; 21 - лыжи деревянные; 22 - рама

ПРИЛОЖЕНИЕ 3

ТЕХНИЧЕСКАЯ ХАРАКТЕРИСТИКА БЕТОНОНАСОСОВ СОВЕТСКОГО И ЗАРУБЕЖНОГО ПРОИЗВОДСТВА, ПРИМЕНЯЕМЫХ В ОТЕЧЕСТВЕННОМ СТРОИТЕЛЬСТВЕ

Таблица 18

Техническая характеристика бетононасосов отечественного производства

Характеристика

Марка бетононасоса

един. измер.

СБ-95

СБ-123

СМ-073

АБН-60

БНГ-25

С-296

С-284А

Тип бетононасоса

-

Стационарный

Стационарный

Стационарный (рис. 57)

Автобетононасос с распределительной стрелой вылетом 17 м

Прицепной (на двухосном прицепе)

Стационарный (рис. 53)

Стационарный

Производительность

м3

25

40

10

60

25

10

40

Диапазон регулирования производительности

м3

2 - 25

2 - 40

2 - 10

2 - 60

2 - 25

-

-

Дальность подачи бетонной смеси:

 

 

 

 

 

 

 

 

по горизонтали

м

250

250

250

180

180

250

250

по вертикали

»

50

50

45

35

35

40

30

Наибольшая крупность заполнителя

мм

40

40

40

20

40

40

70

Подвижность бетонной смеси, перекачиваемой насосом (осадка конуса)

см

4 - 12

4 - 12

4 - 12

4 - 12

4 - 12

4 - 12

4 - 12

Диаметр бетоновода (внутренний)

мм

150

125

150

100

150

150

283

Емкость приемного бункера

м3

0,4

0,7

0,7

0,4

2,4

0,45

2,8

Высота загрузки бетонной смеси

мм

1250

1000

1500

1400

 

1714

3175

Диаметр транспортного цилиндра

»

220

-

200

230

200

150

280

Количество транспортных цилиндров

шт.

2

2

1

2

2

1

1

Ход поршня

мм

1000

1000

600

2000

2000

250

400

Наибольшее давление в транспортном цилиндре

МПа

4,5

6

4

2,5

2,5

3

3

Наибольшее давление в приводном гидроцилиндре

»

14

16

-

-

-

-

-

Тип привода

-

Маслогидравлический

Маслогидравлический

Маслогидравлический со встроенным гидроцилиндром

Водогидравлический

Водогидравлический

Механический

Механический

Мощность привода общая

кВт

56,7

76,7

34,5

132

49,7

16,2

60

Мощность главного привода

»

-

-

30

-

40

14

55

Мощность привода смесителя

»

-

-

-

-

2,3

2,2

4,5

Габаритные размеры:

 

 

 

 

 

 

 

 

длина

мм

3880

4000

2720

-

6920

2460

5940

ширина

»

1900

1700

1540

-

2620

1350

-

высота

»

1435

1400

1550

-

2400

1714

3175

Масса бетононасоса

кг

4500

-

2600

-

5000

2650

12000

Масса бетоновода

»

6700

-

-

-

4030

6700

30000

Изготовитель

 

Нязепетровский з-д строительных машин им. Калинина

Нязепетровский з-д строительных машин им. Калинина

 

Опытно-механический з-д Минпромстроя БССР

Опытно-механический з-д Минпромстроя БССР

Нязепетровский з-д строительных машин им. Калинина

Нязепетровский з-д строительных машин им. Калинина

Данные о производстве в 1977 г.

 

Изготовляется серийно

Опытный образец проходит производственные испытания

Опытный образец проходит производственные испытания

Опытный образец проходит производственные испытания

Опытный образец проходит производственные испытания

Изготовляется серийно

Изготовляется серийно по заказам строительной организации

Таблица 19

Техническая характеристика бетононасосов зарубежного производства

Характеристика

Единица измерения

Завод Галле-Ост (ГДР)

Фирма «Штеттер» (ФРГ)

Фирма «Вортингтон» (Италия)

Фирма «Швинг» (ФРГ)

Фирма «Шееле» (ФРГ)

Фирма «Путцмайстер»

Фирма «Вибау» (ФРГ)

Тип бетононасоса

-

НВР 7,5/1 стационарный на одноосном прицепе

НВР 10 стационарный на одноосном прицепе (рис. 54)

BP-60SV автобетононасос с распределительной стрелой (рис. 56)

WP-74 автобетононасос с распределительной стрелой

BP550HD передвижной на одноосном прицепе (рис. 55)

БРА 24/30 передвижной на двухосном прицепе

К 60 автобетононасос с распределительной стрелой

В232К автобетононасос с распределительной стрелой

BPF50

BPF80

Производительность

м3

0 - 7,5

0 - 10 (14)

5 - 60

 

 

 

 

 

автобетононасос с распределительной стрелой

Дальность подачи смеси:

 

 

 

 

5 - 46

10 - 50

10 - 30

5 - 55

0 - 52

6 - 50

6 - 72

по горизонтали

м

200

200

200/400

300

400

300

350

200

150

240

по вертикали

»

40

40

80

80

100

80

so

40

30

50

Наибольшая крупность заполнителя

мм

40

40

40/20

40

20

20

40

20

20

40

Подвижность бетонной смеси перекачиваемой насосом (осадка конуса)

см

4 - 12

4 - 12

2 - 12

2 - 12

4 - 12

4 - 12

4 - 12

4 - 12

6 - 14

6 - 14

Диаметр бетоновода (внутренний)

мм

150

150

125/100

125

100

100

125

100

100

125

Емкость приемного бункера

м3

0,6

0,6

0,4

0,7

0,6

0,5

0,35

0,4

0,35

0,35

Высота загрузки

мм

1850

1850

1400

1550

1400

1380

1400

1400

1400

1400

Диаметр транспортного цилиндра

»

200

200

180/150

178

180

150

180

230

100

125

Количество транспортных цилиндров

шт.

1

1

2

2

2

2

2

2

(роторный шланг)

(роторный шланг)

Ход поршня

мм

920

980

1500

785

400

800

1580

2000

-

-

Число ходов поршня одного цилиндра

мин- 1

5,30

6,80

16

24

12,5

22

12

13

44 (обороты ротора)

32 (обороты ротора)

Наибольшее давление на бетонную смесь в транспортном цилиндре

МПа

3,12

3,12

5/7

4*

7

4,2

6,2

3,5

2,2

3,5

Наибольшее давление в гидравлической системе

»

16

16

28

32

-

-

-

3,5

2,2

3,5

Тип привода (М - маслогидравлический, В - водогидравлический)

-

М

М

М

М

М

М

М

В

М

М

Мощность приводного двигателя:

 

 

 

 

 

 

 

 

 

 

 

электромоторов

кВт

13

30

-

-

-

-

-

-

-

-

дизельного двигателя

кВт/л.с.

-

-

95,6 (130)

78,7**

70/92/110

44

95,6

88

44

62

Габаритные размеры

 

 

 

 

(107)

(96/125/150)

(60)

(130)

(120)

(60)

(85)

длина

мм

3780 (кроме того, длина привода 1530)

3950 (кроме того, длина привода 1930)

10500

10450

6300

9000

-

8900

9050

10250

ширина

»

1300

1315

2500

2500

1960

3350

-

2400

2450

2490

высота

»

1950

1950

3450

4025

2000

2200

-

3200

3800

3950

Масса бетононасоса (без бетоновода, шасси и стрелы)

кг

980 (кроме того, привод 920)

1120 (кроме того, привод 1230)

6300

6700

4200

4100

4520

4100

4600

-

Тип распределительной стрелы

-

-

-

V22

В522 (В526)

-

-

M29/125

-

M20/17

M29/26

Вылет распределительной стрелы

м

-

-

19

19 (22)

-

19

26

17

17

26

Количество звеньев стрелы

шт.

-

-

3

3

-

2

3

3

3

3

Скорость транспортирования

км/ч

20

20

80

80

25

80

80

80

80

80

* Давление может быть увеличено до 5 МПа за счет установки приводных гидроцилиндров большего диаметра (75 мм вместо 62,5 мм). При этом производительность бетононасоса уменьшается до 32 м3/ч.

** Использован автономный дизельный двигатель с шестью цилиндрами и воздушным охлаждением (западногерманская фирма «Дойц»)

Рис. 54. Общий вид бетононасоса НВР-10

Рис. 55. Общий вид передвижного бетононасоса ВР-550НД на одноосном прицепе

ПРИЛОЖЕНИЕ 4

ТЕХНИЧЕСКАЯ ХАРАКТЕРИСТИКА И ОБЩИЕ ВИДЫ ОПЫТНЫХ ОБРАЗЦОВ РАСПРЕДЕЛИТЕЛЬНЫХ СТРЕЛ

Таблица 20

Техническая характеристика распределительных стрел

Организация-разработчик

ЦНИИОМТП

ВНИИстройдормаш ЦНИИОМТП

Трест Оргтехстрой Минпромстроя

СКБ Главмосстроя (тип стрелы УБВ-30)

ЦКБ Строймаш

Фирма «Вортингтон» (Италия), марка стрелы В-522

ЦНИИОМТП, Киевское КБ Минтяжстроя

ЦНИИОМТП, ЭКБ ЦНИИСКа

Максимальный вылет стрелы, м

12

14

17

18

19

19

20

25

Количество звеньев стрелы, шт

2

2

3

3

2

3

1

3

Максимальная высота подъема стрелы от уровня стоянки, м

15,7

15,5

20

30

21

21

10

27

Угол поворота стрелы в плане, град.

350

360

360

-

-

360

360

345

Внутренний диаметр бетоновода, мм

102

125

100

119

125

125

125

105

Тип привода

Гидравлический независимый

Гидравлический независимый

Гидравлический независимый

Гидравлический независимый

Гидравлический

Гидравлический независимый

Электромеханический

Гидравлический независимый

Давление в гидросистеме, МПа

12,5

16

25

10

10

25

 

25

Масса, кг

4000

3000

4000

6100

5000

3650

-

6000

Тип стрелы

Стационарная на рамной опоре (рис. 58)

Передвижная на двухосном прицепе

Стационарная на рамной опоре

Передвижная на двухосном прицепе (рис. 61)

Стационарная на рамной опоре

Стационарная на рамной опоре

Передвижная на базе крана КБ-100 (рис. 60)

Стационарная на рамной опоре (рис. 59)

Данные о производстве и применении в 1978 г. опытных образцов

Изготовляется в Шатуре опытно-механическим заводом Главмоспромстроя

Изготовляется в Нязепетровске заводом строительных машин

Изготовляется в Минске опытно-механическим заводом

Опытный образец не изготовлялся

Проходит заводские испытания

Применяется в Кишиневе трестом Кишиневстрой при возведении высотных монолитных домов

Предполагается изготовление в Горловке ремонтно-механическим заводом

Изготовляется в Москве механическим заводом

Рис. 56. Общий вид автобетононасоса BP-60SV

Рис. 57. Общий вид стационарного бетононасоса СМ-073

Рис. 58. Общий вид и кинематическая схема работы двухзвенной стационарной распределительной стрелы вылетом 12 м

Рис. 59. Общий вид и кинематическая схема работы трехзвенной стационарной стрелы вылетом 25 м

Рис. 60. Распределительная стрела на базе крана КБ-100

1 - крановая установка; 2 - компенсационное устройство; 3 - магистральный бетоновод; 4 - регулируемая опора

Рис. 61. Прицепная распределительная стрела

1 - бетононасос; 2 - корневая секция стрелы; 3 - бетоновод; 4 - колесный ход

ПРИЛОЖЕНИЕ 5

ОПРЕДЕЛЕНИЕ УДОБОПЕРЕКАЧИВАЕМОСТИ БЕТОННОЙ СМЕСИ

Удобоперекачиваемость бетонной смеси можно характеризовать следующими показателями концентрации составляющих материалов:

относительным водосодержанием цементного теста в сравнении с расходом воды при его нормальной густоте Хц

                                                             (24)

степенью заполнения межзернового пространства песка цементным тестом (Хп)

                                                         (25)

и степенью заполнения пустот щебня растворной частью (Хщ(г))

                                                     (26)

где В/Ц - фактическое водоцементное отношение цементного теста в бетонной смеси;

Кнг - водоцементное отношение цементного теста при его нормальной густоте (коэффициент нормальной густоты);

Vт - абсолютный объем цементного теста в бетонной смеси;

Vр - объем растворной части в бетонной смеси;

Vб - объем бетонной смеси;

Пп и Пщ(г) - межзерновая пустотность песка и щебня (гравия).

Определение удобоперекачиваемости бетонных смесей заключается в следующем: сначала определяются величины показателей Хц, Хп, Хщ(г), которые сравниваются с данными табл. 21. Если полученные величины показателей удовлетворяют данным этой таблицы, то такие смеси обладают свойствами удобоперекачиваемости.

Пример. Определить удобоперекачиваемость бетонной смеси, если известно, что в 1 м3 бетона должно содержаться: цемента - 400 кг, песка - 574 кг, щебня 1168 кг и воды 210 л.

Песок применен с модулем крупности Мкр = 2,163, объемной массой 1,563 и удельной плотностью 2,7; щебень - объемной массой 1,4 и удельной плотностью 2,5, крупностью 20 - 25 мм, портландцемент марки 500 - удельной плотностью 3,1 и Кнг = 0,24.

Решение. Определяем абсолютные объемы составляющих бетонной смеси

цемента -

песка -

Таблица 21

Характеристика бетонных смесей для транспортирования по трубопроводам различных диаметров

Показатели

Диаметры трубопроводов, мм

69

80

100

125

150

200

Водосодержание цемента Хц

1,2 - 2,4

1,2 - 2,4

1,2 - 2,4

1,2 - 2,4

1,2 - 2,4

1,2 - 2,4

Степень заполнения цементным тестом пустот в песке Хп

1,1 - 1,9

1,1 - 1,9

1,1 - 1,9

1,1 - 1,0

1,1 - 1,9

1,1 - 1,9

Степень заполнения раствором пустот в крупном заполнителе Хщ(г)

1,7 - 1,9

1,3 - 1,9

1,2 - 1,9

1,2 - 1,9

1,1 - 1,9

1,1 - 1,9

Количество фракции крупного заполнителя, %

 

 

 

 

 

 

5 - 10 мм

80

40 - 60

40 - 60

30 - 40

30 - 40

30 - 40

10 - 20 »

20

40 - 60

40 - 60

50 - 60

50 - 60

40 - 50

20 - 40 »

-

-

-

до 10

10 - 20

до 20

40 - 70 »

-

-

-

-

-

до 10

Минимальный расход цемента, кг/м3

300

300

300

300

250

250

Расход песка, кг/м3

930 - 1000

730 - 1000

730 - 1000

700 - 900

600 - 800

600 - 800

Расход щебня (гравия), кг/м3

500 - 800

850 - 1050

850 - 1050

900 - 1000

1000 - 1200

1050 - 1350

Отношение

0,65 - 0,7

0,4 - 0,7

0,4 - 0,7

0,4 - 0,6

0,32 - 0,45

0,32 - 0,45

Осадка стандартного конуса, см

8 - 15

8 - 15

4 - 15

2 - 15

2 - 15

2 - 15

щебня -

воды -

Vв = 210 л.

Рассчитываем абсолютный объем цементного теста

Vт = Vц + Vв - Vвп = 129 + 210 - 0,01(574 + 1168) = 322 л,

где Vвп - объем воды, необходимый для заполнения пор заполнителя, который определяется лабораторным путем. Для приближенной оценки Vвп можно принять в пределах 1 - 1,5 % от общей массы заполнителей.

Находим объем растворной части бетонной смеси

Vp = Vт + Vп = 322 + 212 = 534 л.

Определяем пустотность песка и щебня:

 

Проверяем объем бетонной смеси:

Vб = Vр + Vщ = 534 + 465 = 999 л.

Затем определяем показатели удобоперекачиваемости

  и

Сравнив полученные значения Хц, Хп, Хщ смеси с данными табл. 21, можно сделать вывод, что указанную бетонную смесь можно транспортировать бетононасосом по трубопроводу внутренним диаметром 100 мм и более.

Дополнительно удобоперекачиваемость бетонной смеси можно определить на основании проверки выполнения следующих условий:

1) при перекачивании по трубопроводам

                                                          (27)

2) при бетонировании конструкций напорным методом

                                                      (28)

где d - толщина конструкции, м;

f - число стержней арматуры;

dарм - диаметр стержней арматуры, см;

DV - относительный объем цементного теста и воды, отжимаемых из ядра в пристенные слои:

                                                          (29)

где Vцв - объемная концентрация цементного теста и капиллярной воды, идущих на раздвижку зерен заполнителя;

Vця - объемная концентрация цементного теста, идущего на раздвижку зерен заполнителя в ядре потока;

Vцэ - объемная концентрация цементного теста, находящаяся в межзерновом пространстве.

Показатели объемной концентрации можно определить из следующих выражений:

                                                       (30)

                                                  (31)

Vцз = Пз - 0,02,                                                           (32)

где Пз - пустотность смеси сухих заполнителей в уплотненном состоянии;

Gз - объемная масса смеси заполнителей;

ρз - средняя плотность смеси заполнителей;

Sз - удельная поверхность смеси заполнителей (в единице массы).

Показатели в выражениях (30 - 32) определяются следующими уравнениями:

                                                             (33)

                                                            (34)

                                                          (35)

где  - отношение массы мелкого заполнителя (Gм) к массе крупного заполнителя в единице объема бетонной смеси;

ρм и ρкр - плотность (объемная масса) соответственно зерен мелкого и крупного заполнителя;

ρо.з - плотность (объемная масса) смеси сухих заполнителей в уплотненном состоянии:

                                                      (36)

К - коэффициент, учитывающий изменение пустотности песка в смеси заполнителей:

для щебня

для гравия

К = 0,4 + 0,163n(5,2 - Мкр),

Мкр - модуль крупности мелкого заполнителя;

ρо.м и ρо.кр - плотность (объемная масса) соответственно мелкого и крупного заполнителей в виброуплотненном состоянии (значение показателей ρо.м и ρо.кр определяется путем взвешивания заполнителя, высушенного до постоянной массы и уплотненного на стандартном вибраторе в течение 5 мин в мерных цилиндрах, принимаемых по ГОСТ 8269-64 и ГОСТ 8735-65).

Sм - удельная поверхность мелкого заполнителя, см2/ч, определяемая по формуле

Sм = ((6,35К1)/(100))(0,5а + б + 2в + 4г + 8д + 16е + 36ж);

где K1 - поправочный коэффициент, зависящий от вида песка: для горного песка K1 = 2, для речных и морских песков средней крупности К1 = 1,65 и для мелких морских и речных песков К1 = 1,3;

а, б, ..., е - остатки в процентах на стандартных ситах с размером отверстий от 5 до 0,15 мм;

ж - проход в процентах через сито с отверстием 0,15 мм;

Sкр - удельная поверхность крупного заполнителя, принимаемая равной для фракций 5 - 10 мм = 5,5 см2/г; 5 - 20 мм = 4,0 см2/г, 5 - 40 мм = 3,0 см2/г.

Пример. Определить удобоперекачиваемость бетонной смеси следующего состава при ее транспортировании по трубопроводам и бетонировании конструкций напорным методом:

Ц = 390 кг, Gм = 780 кг,Gкр = 910 кг, В = 230 кг.

Толщина бетонируемой конструкции 13 см, в сечении конструкции перпендикулярно потоку бетонной смеси расположен один арматурный стержень диаметром 10 мм.

Характеристики используемого материала мелкий заполнитель - кварцевый песок

ρм = 2,6 г/см3, ρо.кр = 1,88 г/см3, Мкр = 2,5, Sм = 70 см2/г.

Крупный заполнитель - щебень фракции 5 - 20 мм

ρкр = 2,6 г/см3, ρо.кр = 1,69 г/см3, Sкр = 4 см2/г.

1. Рассчитываются характеристики смеси заполнителей:

2. Определяются объемные концентрации цементного теста по формулам (30 - 32):

Vцз = 0,215 - 0,02 = 0,195;

Vця = 1690 · 10-3 · 34,3 · 4 · 10-4 = 0,023.

3. Определяются условия перекачиваемости:

Таким образом, выбранный состав бетонной смеси удовлетворяет требованиям перекачиваемости по трубопроводам и при бетонировании конструкций напорным методом.

ПРИЛОЖЕНИЕ 6

УСТРОЙСТВО И ПРИНЦИП РАБОТЫ ПЕРЕГРУЗОЧНОГО БУНКЕРА*

* Материал приложения 6 подготовлен канд. техн. наук Б.В. Жадановским.

Перегрузочный бункер предназначен для приема бетонной смеси из автомобилей-самосвалов и автобетоновозов и регулируемой выгрузки ее в приемные бункера бетононасосов, мототележки, переносные бункера, приемные устройства ленточных конвейеров-бетоноукладчиков. Для устранения расслаивания бетонной смеси во время ее транспортировки некоторые типы самоподъемных перегрузочных бункеров оснащены специальными перемешивающими устройствами.

Бункер (рис. 62) представляет собой сварную емкость, которая может переводиться из горизонтального положения (после приема смеси) в вертикальное с помощью гидроцилиндров. Он состоит из сварной емкости, смесителя, механизма подъема бункера, вибратора, транспортной тележки.

Конструктивно бункер выполнен в виде сварной жесткой металлоконструкции, состоящей из нижней рамы и верхнего поворотного бункера. Подъем бункера в положение разгрузки выполняется двумя телескопическими гидроцилиндрами от самосвала МАЗ-500. Внутри бункера имеются два перемешивающих лопастных вала, приводимых во вращение гидродвигателем. Число оборотов валов регулируемое от 20 до 100. Время перемешивания смеси для устранения расслаивания 1 - 1,5 мин. При заклинивании лопастей случайно попавшим предметом гидродвигатель останавливается, так как срабатывает предохранительный клапан.

Для привода гидросистемы на бункере установлен электродвигатель мощностью 11 кВт.

Для транспортировки бункера с объекта на объект и внутри строительной площадки на нем установлены два автоколеса. Колеса расположены на поворотных осях. В рабочем положении они убраны под бункер, полностью разгружены и защищены от попадания перегружаемой бетонной смеси. В транспортное положение перевод колес выполняется с помощью гидроцилиндров подъема.

Рис. 62. Общий вид перегрузочного бункера ПСПО-2,5

1 - сварная емкость; 2 - смеситель; 3 - механизм подъема бункера; 4 - вибратор; 5 - транспортная тележка

Техническая характеристика бункера приводится ниже

Техническая характеристика

1 Рабочий объем бункера, м3......................................................................................... 2,5

2. Ширина приемного проема бункера, мм............................................................................................................................................. 2460

3. Высота разгрузки бункера, мм....................................................................... 600 - 1850

4. Высота задней стенки бункера, мм......................................................................... 830

5 Максимальный угол наклона бункера при разгрузке, град...................................... 40

6. Смеситель............................................................................ лопастной, механический:

Число перемешивающих валов, шт................................................. 2

Тип двигателя.............................................. гидромотор 210.161100

Мощность двигателя, кВт.............................................................. 11

Угловая скорость валов, об/мин:

для приготовления пускового раствора........................................ 19

для перемешивания и побуждения бетонной смеси........ 19 или 38

направление вращения.......................................................................................... реверсивное

7 Механизм подъема бункера................... гидравлический, с двумя гидроцилиндрами

Тип цилиндров.................................................................................. телескопический

Время подъема в верхнее положение, с................................ 35 - 40

Тип насоса................................ аксиально-поршневой 210.16.12.00

Давление в гидросистеме, МПа

номинальное..................................................................................... 10,0

максимальное..................................................................................... 13,5

Тип электродвигателя..................................................... 4А-132М-4

Мощность, кВт................................................................................. 11

Угловая скорость, об/мин....................................................................................................... 1450

8 Вибратор....................................................................................... электромеханический

Тип............................................................................................................................... ИВ-21

Мощность, кВт................................................................................................................ 0,6

Частота колебаний, мин............................................................................................................................................. 2800

Вынуждающая сила, кгс........................................................................ 400, 500, 630, 800

9 Скорость транспортирования объекта на объект, км/ч, не более............................ 20

10 Габаритные размеры, мм

длина....................................................................................................... 5580

ширина....................................................................................................... 3460

высота....................................................................................................... 2100

11 Масса, кг............................................................................................................................................. 3860

ПРИЛОЖЕНИЕ 7

ГРАФИКИ ДЛЯ ОПРЕДЕЛЕНИЯ ПОКАЗАТЕЛЕЙ, ВЛИЯЮЩИХ НА ПРОИЗВОДИТЕЛЬНОСТЬ БЕТОНОНАСОСОВ И СТОИМОСТЬ ИХ ЭКСПЛУАТАЦИИ

В нижеприведенных графиках (рис. 63 - 74) показано значение коэффициентов, учитывающих снижение производительности бетононасосов при использовании перегрузочных бункеров, а также дана ориентировочная стоимость эксплуатации бетононасосов и укладки смеси.

Для сравнения приняты наиболее распространенные типы бетононасосов - на одноосном прицепе и на автоходу с распределительной стрелой. Для стационарных бетононасосов значение этих коэффициентов представлено на рис. 27 и 28. В табл. 22 приведены состав звена и стоимость машино-смены эксплуатации оборудования, рассмотренного в настоящем приложении.

Таблица 22

Состав звена рабочих и стоимость машино-смены эксплуатации бетононасосов различных типов

Показатели

Бетононасос прицепной одноосный

Автобетононасос с распределительной стрелой

20 м3

40 м3

40 м3

60 м3

-

с перегрузочным бункером

-

с перегрузочным бункером

-

с перегрузочным бункером

-

с перегрузочным бункером

Состав звена рабочих, мин. - макс

 

 

 

 

 

 

 

 

бетонщики 4-го разр.

1 - 3

1 - 2

1 - 5

1 - 3

1 - 4

1 - 3

1 - 5

1 - 3

бетонщики 3-го разр.

1 - 7

2 - 5

2 - 12

3 - 6

2 - 8

3 - 5

2 - 11

3 - 5

бетонщики 2-го разр.

1 - 5

1 - 4

2 - 8

2 - 4

1 - 8

1 - 3

1 - 8

1 - 4

слесари 4-го разр.

1 - 1

1 - 1

1 - 1

1 - 1

1 - 1

1 - 1

1 - 1

1 - 1

Итого

4 - 16

5 - 12

6 - 26

7 - 14

5 - 21

6 - 12

5 - 25

5 - 13

Стоимость машино-смены эксплуатации оборудования, руб.:

 

 

 

 

 

 

 

 

бетононасос

-

-

-

-

-

-

-

-

комплект трубопроводов

18

18

23

23

45

45

55

55

перегрузочный бункер

-

2,15

-

2,15

-

2,15

-

2,15

глубинный вибратор

1,95 (6 шт.)

1,3 (4 шт.)

3,25 (10 шт.)

1,63 (5 шт.)

2,92 (9 шт.)

1,63 (5 шт.)

3,57 (11 шт.)

1,95 (6 шт.)

Итого

19,95

21,45

26,25

26,78

47,92

48,78

58,57

59,1

Рис. 63. Снижение интенсивности подачи бетонной смеси прицепными бетононасосами производительностью до 20 м3/ч с применением перегрузочных бункеров

а - отдельно стоящие конструкции; б - стены; в - горизонтально-плоскостные элементы сооружений

Рис. 64. Снижение интенсивности подачи бетонной смеси прицепными бетононасосами производительностью до 40 м3/ч при использовании перегрузочных бункеров

а - отдельно стоящие конструкции; б - стены; в - горизонтально-плоскостные элементы сооружений

Рис. 65. Снижение интенсивности подачи бетонной смеси автобетононасосами с распределительной стрелой производительностью до 40 м3/ч с применением перегрузочных бункеров

а - отдельно стоящие конструкции; б - стены; в - горизонтально-плоскостные элементы сооружений

Рис. 66. Снижение интенсивности подачи бетонной смеси автобетононасосами с распределительными стрелами производительностью до 60 м3/ч с применением перегрузочных бункеров

а - отдельно стоящие конструкции; б - стены; в - горизонтально-плоскостные элементы сооружений

Рис. 67. Стоимость перебазировки комплекта оборудования (а) и укладки 1 м3 бетонной смеси (б) при использовании прицепных бетононасосов производительностью до 20 м3

1 - общая стоимость; 2 - зарплата; 3 - амортизационные отчисления; 4 - горючее

Рис. 68. Стоимость перебазировки комплекта оборудования (а), монтажа трубопровода (б) и укладки 1 м3 бетонной смеси (в) при использовании прицепных бетононасосов производительностью до 20 м3/ч и перегрузочных бункеров

1 - общая стоимость; 2 - зарплата; 3 - амортизационные отчисления; 4 - горючее

Рис. 69. Стоимость перебазировки комплекта оборудования (а) и укладки 1 м3 бетонной смеси (б) при использовании прицепных бетононасосов производительностью до 40 м3

1 - общая стоимость; 2 - зарплата; 3 - амортизационные отчисления; 4 - горючее

Рис. 70. Стоимость перебазировки комплекта оборудования (а), монтажа трубопровода (б) и укладки 1 м3 бетонной смеси (в) при использовании прицепных бетононасосов производительностью до 40 м3/ч и перегрузочных бункеров

1 - общая стоимость; 2 - зарплата; 3 - амортизационные отчисления; 4 - горючее

Рис. 71. Стоимость перебазировки комплекта оборудования (а) и укладки 1 м3 бетонной смеси (б) при использовании автобетононасосов производительностью до 40 м3

1 - общая стоимость; 2 - зарплата; 3 - амортизационные отчисления; 4 - горючее

Рис. 72. Стоимость перебазировки комплекта оборудования (а) и укладки 1 м3 бетонной смеси (б) при использовании автобетононасосов с распределительными стрелами производительностью до 40 м3/ч и перегрузочных бункеров

Рис. 73. Стоимость перебазировки комплекта оборудования (а) и укладки 1 м3 бетонной смеси (б) при использовании автобетононасосов производительностью до 60 м3

1 - общая стоимость; 2 - зарплата; 3 - амортизационные отчисления; 4 - горючее

Рис 74. Стоимость перебазировки комплекта оборудования (а), укладки 1 м3 бетонной смеси (б) при использовании автобетононасосов с распределительными стрелами производительностью до 60 м3/ч и перегрузочных бункеров

1 - общая стоимость; 2 - зарплата; 3 - амортизационные отчисления; 4 - горючее

ПРИЛОЖЕНИЕ 8

ПРИНЦИПИАЛЬНЫЕ СХЕМЫ И ОБЩИЕ ВИДЫ ПО ПРИМЕНЕНИЮ БЕТОНОНАСОСОВ

Рис. 75. Схема бетонирования отдельно стоящих фундаментов автобетононасосом с распределительной стрелой

Рис. 76. Применение автобетононасосов при бетонировании междуэтажных перекрытий

Рис. 77. Применение стационарного бетононасоса в комплексе с распределительной стрелой при возведении монолитных домов в скользящей опалубке

1 - бетоносмесительная установка; 2 - бетононасос; 3 - бетоновод; 4 - возводимое сооружение; 5 - скользящая опалубка; 6 - распределительная стрела; 7 - компенсатор бетоновода

Рис. 78. Устройство монолитных конструкций нулевого цикла при помощи бетононасоса и распределительной стрелы вылетом 25 м

1 - массивный железобетонный фундамент; 2 - опорное устройство; 3 - опорные стойки для бетоновода; 4 - стрела; 5 - бетоновод; 6 - бетононасос; 7 - автобетоносмеситель

Рис. 79. Применение автобетононасосов при устройстве буро-набивных опор глубокого заложения методом напорного бетонирования

а - общий вид; б - нагнетание бетонной смеси в скважину опоры

Рис. 80. Общий вид автономной распределительной стрелы

ПРИЛОЖЕНИЕ 9

ОПРЕДЕЛЕНИЕ ПРОДОЛЖИТЕЛЬНОСТИ ПРОМЕЖУТКА ВРЕМЕНИ ДЛЯ ОТБОРА ПРОБ БЕТОННОЙ СМЕСИ НА ВЫХОДЕ ИЗ БЕТОНОВОДА

Требуется определить продолжительность промежутка времени, через который должна отбираться проба бетонной смеси на выходе из бетоновода в зависимости от продолжительности хода поршня при работе автобетононасоса В-232А.

Исходные данные

Диаметр цилиндра бетононасоса, мм......................................................................... 230

Ход поршня, мм............................................................................................................................................. 2000

Внутренний диаметр бетоновода, мм......................................................................... 100

Емкость приемного бункера, м3.................................................................................... 0,4

Подвижность бетонной смеси, см.................................................................................. 12

Решение. Определяем производительность бетононасоса, м3/ч, по преобразованной формуле (10):

По полученным значениям строим графическую зависимость производительности бетононасоса от продолжительности хода поршня (рис. 81).

Рис. 81. Зависимость производительности автобетононасоса В-232А от продолжительности хода поршня

Рис. 82. Зависимость времени отбора пробы бетонной смеси на выходе из бетоновода от продолжительности хода поршня

Продолжительность промежутка времени, через который берется проба бетонной смеси на выходе из бетоновода, отсчитываемого с момента ее загрузки в бункер бетононасоса, определяется по формуле

По полученным значениям строим графическую зависимость продолжительности промежутка времени взятия проб от продолжительности хода поршня для различной длины бетоновода (рис. 82).

ПРИЛОЖЕНИЕ 10

ОПРЕДЕЛЕНИЕ ЭКОНОМИЧЕСКОЙ ЭФФЕКТИВНОСТИ ПРИМЕНЕНИЯ АВТОБЕТОНОНАСОСОВ

Требуется определить экономический эффект от применения автобетононасоса по сравнению с бетоноукладчиком ЛБУ-20.

Исходные данные

 

Автобетононасос АБН-60 треста Оргтехстрой Минпромстроя БССР (данные ориентировочные)

Бетоноукладчик ЛБУ-20 ЦНИИОМТП

Инвентарно-расчетная стоимость, руб.

16000

8030

Конструктивно-расчетная производительность, м3

60

20

Усредненное число машино-часов/машино-смен работы

 

 

в году

на объекте

Норма амортизационных отчислении, %

20

22

Решение

1. Определение годовой производительности машин:

АБН-60

60 · 420 · 8,2 · 0,6 · 0,75 = 93000 м3/год,

ЛБУ-20

16 · 8,2 · 30 = 39400 м3/год.

2. Определение себестоимости укладки 1 м3 бетонной смеси: стоимость машино-смены АБН-60

стоимость машино-смены ЛБУ-20

Расчет по определению стоимости машино-смен приведен в табл. 23.

Расчет определения удельной трудоемкости и средней тарифной ставки звена рабочих также сводим в табл. 24.

Используя найденные значения, получим себестоимость укладки 1 м3 бетонной смеси при помощи различного бетоноукладочного оборудования:

при применении АБН-60

при применении ЛБУ-2

Таблица 23

Определение стоимости машино-смен оборудования

Показатели

АБН-60

ЛБУ-20

всего

в том числе зарплата

всего

в том числе зарплата

Единовременные затраты

 

 

 

 

Погрузка и разгрузка, руб.

4

 

4,6

2,1

Затраты на 10 км дальности перевозки, руб.

4,1

1,1

8,5

2,5

Всего

8,1

1,1

13,1

4,6

С учетом косвенных расходов, руб.

4,68

1,38

13,1

4,6

Годовые затраты, руб.

3200

-

1768

-

С учетом косвенных расходов, руб.

3520

-

1942

-

Текущие эксплуатационные затраты

 

 

 

 

Содержание обслуживающего персонала, руб.

5,76

5,76

7,22

5,74

Техническое обслуживание и ремонт, руб.

7,87

1,21

9,43

3,44

Энерго- и смазочные материалы, руб.

4,35

-

4,1

-

Всего

17,98

6,97

20,75

9,18

С учетом косвенных расходов, руб.

20,85

8,85

20,75

9,18

Таблица 24

Показатели

АБН-60

ЛБУ-20

Состав звена рабочих:

 

 

слесари        4 разр.

1

1

бетонщики 4-го »

2

2

»              3-го »

-

1

»              2-го »

2

2

Средняя тарифная ставка звена рабочих, руб.

2,751

3,306

Затраты времени в часах на укладку 1 м3 бетонной смеси

3. Определение капитальных вложений.

Удельные капитальные вложения получаем делением величины инвентарно-расчетной стоимости оборудования на его годовую производительность:

для АБН-60

для ЛБУ-20

4. Определение экономического эффекта без учета снижения накладных расходов.

Экономическую эффективность вычисляем по формуле

Эгод = 93000(0,474 - 0,279) + 0,12(0,204 - 0,172) = 18500 руб.

5. Определение экономического эффекта от сокращения времени бетонирования:

Эн = 93000 · 0,474 · 0,5 - 0,163 = 1162 руб.

6. Определение снижения накладных расходов от уровня затрат на основную заработную плату рабочих:

Эз = 93000(3,306 · 0,06 - 2,751 · 0,04)0,15 = 1228 руб.

7. Определение экономического эффекта от снижения накладных расходов за счет уменьшения трудоемкости:

8. Общая экономическая эффективность применения автобетононасоса АБН-60 по сравнению с бетоноукладчиком ЛБУ-20 равна:

Эобщ = 18500 + 1162 + 1228 + 1023 = 21913 руб.

ПРИЛОЖЕНИЕ 11

ОПРЕДЕЛЕНИЕ ТЕМПЕРАТУРЫ БЕТОННОЙ СМЕСИ В ТРУБОПРОВОДАХ

Данный метод расчета температур бетонной смеси в бетоноводе основан на аналитическом решении задачи о тепловом режиме бетонной смеси при ее установившемся равномерном движении и перерывах в перекачивании и отличается от общепринятой методики учетом величины разогрева пристенного слоя смеси при перекачивании и тем, что температуры на поверхности и в ядре потока не предполагаются одинаковыми. Расчет позволяет определять температуру бетонной смеси как на поверхности ядра потока tпов, так и среднюю температуру по поперечному сечению бетоновода tср.

Исходными данными для расчета являются:

l - длина бетоновода от бункера бетононасоса до поперечного сечения, для которого производится расчет, м;

dвн - внутренний диаметр бетоновода, м;

dн - наружный диаметр бетоновода, м;

dиз - толщина теплоизоляционного слоя бетоновода, м;

tо - температура бетонной смеси в бункере насоса, °С;

tв - температура окружающего воздуха, °С;

а - коэффициент теплоотдачи в воздух, Вт/(м2 · °С);

ω - скорость ветра, м/с;

lиз - коэффициент теплопроводности материала теплоизоляционного слоя, Вт/м · °С;

Q - расход бетонной смеси, м3/ч;

t - время остановки бетононасоса, ч;

DР - перепад давления на погонный метр бетоновода (для горизонтального участка), МПа/м;

lс - коэффициент теплопроводности бетонной смеси, Вт/м · °С;

ас - коэффициент температурнопроводности бетонной смеси, м2/ч.

Значения коэффициентов lс и ас изменяются в широком диапазоне, так как на их величину влияет множество факторов, таких, как состав бетонной смеси, характеристика материалов, водоцементное отношение, продолжительность периода от начала затворения смеси и др.

Для данного расчета их значения приняты с запасом: lс =3,13 Вт/(м · °С) и ас = 0,0066 м2/ч, что приводит к получению расчетных температур tпов и tcp несколько ниже реальных.

Интенсивность охлаждения бетонной смеси характеризуется следующим безразмерным коэффициентом:

                                               (37)

Значения коэффициента К для неизолированного и теплоизолированного бетоноводов приведены соответственно в таблицах 25 и 26.

Таблица 25

Скорость ветра ω, м/с

Наружный диаметр бетоновода dн, м

0,089

0,108

0,133

0,159

0,194

0,219

5

0,38

0,42

0,49

0,55

0,64

0,68

10

0,55

0,63

0,72

0,83

0,97

1.1

15

0,71

0,79

0,93

1,1

1,3

1,4

20

0,84

0,94

1,1

1,3

1,5

1,6

Рис. 83. Номограмма для определения значений функции y = fпов (Z, К)

Таблица 26

Коэффициент теплопроводности материала теплоизоляционного слоя lиз, Вт/(м · °С)

Отношение толщины теплоизоляционного слоя бетоновода dиз к его наружному диаметру dн

0,2

0,3

0,4

0,5

0,6

0,035

0,033

0,024

0,019

0,016

0,014

0,040

0,038

0,027

0,022

0,018

0,016

0,045

0,043

0,031

0,024

0,021

0,018

0,050

0,047

0,034

0,027

0,023

0,020

0,055

0,052

0,037

0,03

0,025

0,022

0,060

0,057

0,041

0,033

0,028

0,024

0,065

0,062

0,044

0,035

0,03

0,026

Температура поверхности движущейся смеси определяется формулой

                                                      (38)

где  , а значения функции  определяются по номограмме на рис. 83. Величина DPQ характеризует интенсивность разогрева поверхностного слоя бетонной смеси при ее движении за счет работы сил сопротивления. При эффективной теплоизоляции бетоновода может оказаться, что t1 ³ t0. Это означает, что при движении смеси ее температура не понижается, а повышается. Средняя по сечению температура смеси tср определяется формулой:

                                                         (39)

где значения функции  определяются по номограмме на рис. 84.

Рис 84. Номограмма для определения значений функции y =

Рис. 85. Номограмма для определения температуры в поверхностном слое потока (tпов) и средней по поперечному сечению бетоновода (tcp)

Рис 86. Номограмма для определения значений параметра Zl

Рис. 87. Номограмма для определения значений параметра Zx

Температура поверхности смеси при остановке продолжительностью t определяется формулой:

                   (40)

где

Средняя по сечению температура смеси при остановке определяется формулой

                     (41)

С помощью формул (38 - 41) можно не только находить температуры tпов и tср, но и решать обратные задачи. Например, можно определять максимально возможную продолжительность остановки при ограничении на минимальную допустимую температуру или находить необходимую толщину теплоизоляции при заданной продолжительности перерыва в нагнетании.

Для облегчения расчетов по этим формулам на рис. 85 - 88 приведены номограммы для определения значений температуры, Zl и Zt и разности температур , а ниже даны примеры расчета с помощью этих номограмм.

Рис. 88. Номограмма для определения величины температурной разности (t1 - tв) °С

Пример 1. Требуется определить температуру бетонной смеси в зоне пристенного слоя на выходе из теплоизолированного бетоновода при продолжительности перерыва в работе бетононасоса 40 мин (t = 0,66 ч).

Исходные данные для расчета:

Бетоновод dвн = 0,125 м, dн = 0,133 м, l = 100 м, Q = 15 м3/ч, DР = 0,01 МПа/м.

Теплоизоляция dиз = 0,04 м, lиз = 0,065 Вт/м · °С.

Температура воздуха tв = -30 °С, температура в бункере бетононасоса tо = 20 °С.

1. Определяем отношение

2. По табл. 26 находим K = 0,044.

3. По номограмме на рис. 88 находим t1 - tв = 48 °С.

4. По номограмме на рис. 86 находим Zl = 0,14 и на рис. 87 Zt = 1,14; определяем их сумму Zt + Zl = 1,28.

5. По номограмме на рис. 83 находим у = fпов(Zt, К) = fпов(1,24; 0,044) = 0,89 и fпов(Zl + Zt, К) = fпов(1,28; 0,044) = 0,88.

6. Вычисляем правую часть в формуле (39)

7. По номограмме на рис. 85 находим искомую температуру:

tпов(100, 0,66) = 14 °С.

Пример 2. Требуется определить максимально допустимую продолжительность перерыва в работе бетононасоса, в течение которого температура tcp бетонной смеси, перекачиваемой по неутепленному бетоноводу, снизится до 5 °С.

Исходные данные для расчета:

Бетоновод dвн = 0,125 м, dн = 0,133 м, без теплоизоляции

(dиз = 0), l = 100 м, Q = 15 м3/ч, DР = 0,01 МПа/м.

Температура воздуха tв = -10 °С, температура смеси в бункере насоса to = 20 °С, скорость ветра ω = 10 м/с.

1. Исходя из условия t ³ 5 °С по номограмме на рис. 85 находим значение y ³ 0,5.

2. По табл. 25 находим К = 0,72.

3. По номограмме на рис. 88 находим t1 - tв = 3 °С.

4. По номограмме на рис. 86 находим Zl = 0,14.

5. По номограмме на рис. 84 при K = 0,72 находим, что y = 0,5 соответствует Z = 0,57. Полагаем Zt = Z - Zl = 0,43.

6. Проверяем полученное: Zt = Z - Zl = 0,43 и, если нужно, вносим поправку: y = fср(0,57; 0,72) + 3 °C/(30 °C)[fcp(0,43; 0,72) - fср(0,57; 0,72)] = 0,5 + 0,1(0,58 - 0,5) = 0,508.

Так как найденное значение получилось близким к величине 0,5, определенное расчетом Zt = 0,43 не нуждается в поправке.

7. По номограмме на рис. 87, зная Zt, находим t = 15 мин. Следует учитывать, что расчетная температура бетонной смеси на поверхности ядра потока при этих условиях равна tпов = 2,5 °С.

СОДЕРЖАНИЕ

Предисловие. 1

1. Общие положения. 2

2. Оборудование для транспортирования бетонных смесей по трубам.. 4

3. Требования к бетонным смесям и их составляющим.. 20

4. Гидравлические сопротивления в трубопроводе и их влияние на производительность бетононасосов. 23

5. Особенности транспортирования по трубам бетонных смесей на пористых заполнителях. 34

6. Организация и производство работ при укладке бетонных смесей. 39

7. эксплуатация бетононасосных установок. 59

8. Особенности применения бетононасосов в зимних условиях. 67

Приложение 1. Устройство и принцип работы бетононасоса сб-95а.. 77

Приложение 2. Устройство бетоновода к бетононасосу сб-95а.. 84

Приложение 3. Техническая характеристика бетононасосов советского и зарубежного производства, применяемых в отечественном строительстве. 85

Приложение 4. Техническая характеристика и общие виды опытных образцов распределительных стрел. 90

Приложение 5. Определение удобоперекачиваемости бетонной смеси. 93

Приложение 6. Устройство и принцип работы перегрузочного бункера. 98

Приложение 7. Графики для определения показателей, влияющих на производительность бетононасосов и стоимость их эксплуатации. 100

Приложение 8. Принципиальные схемы и общие виды по применению бетононасосов. 106

Приложение 9. Определение продолжительности промежутка времени для отбора проб бетонной смеси на выходе из бетоновода. 109

Приложение 10. Определение экономической эффективности применения автобетононасосов. 110

Приложение 11. Определение температуры бетонной смеси в трубопроводах. 113

 



© 2013 Ёшкин Кот :-)