Информационная система
«Ёшкин Кот»

XXXecatmenu

ОТРАСЛЕВОЙ СТАНДАРТ

Блок подвески с траверсой

Конструкция и размеры

ОСТ
34-10-732-93

Дата введения

1994.01.01.

1. Настоящий стандарт распространяется на блоки с траверсой для подвесок горизонтальных трубопроводов ТЭС, АЭС и коробов пылегазовоздухопроводов ТЭС.

2. Выполнение монтажных приварок тяг подвесок приведены в приложении 2.

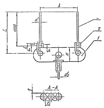
3. Конструкция, основные размеры, допускаемые нагрузки и материал деталей должны соответствовать указанным на черт. 1 и в табл. 1 и 2.

Черт. 1

Таблица 1

Размеры в мм

Обозначение блока

Допускаемая нагрузка, кН (кгс)

Для тяг

А

Н

L

i

l

g

Масса кг

d

d1

01

4,4 (450)

12

12

160

40

1025

35

10

1

2,6

02

14,7 (1500)

16

50

2,9

03

23,5 (2400)

16

20

200

60

1030

45

12

5,4

04

33,3 (3400)

20

24

250

80

1040

50

14

8,8

05

53,9 (5500)

24

30

280

90

1045

60

16

12,8

06

78,4 (8000)

30

36

300

100

1055

80

20

2

20,0

Пример условного обозначения блока подвески с траверсой для подвески с нагрузкой 14,7 кН (1500 кгс/см2):

Блок подвески с траверсой 02 ОСТ 34-10-732.

3.1. Предельные отклонения размеров .

3.2. Остальные технические требования по ТУ 34-10-10380 и по ОСТ 34-10-723.

Таблица 2

Обозначение блока с траверсой

Поз. 1

Траверса

1 шт.

Поз. 2

Ушко

1 шт.

Поз. 3

Тяга гладкая

1 шт.

 

Обозначение по

1-ОСТ 34-10-732

1-ОСТ 34-10-729

2-ОСТ 34-10-729

01

1-01

1-01

2-05

02

1-02

03

1-03

1-02

2-35

04

1-04

1-03

2-65

05

1-05

1-04

2-95

06

1-06

1-05

2-125

4. Конструкция и размеры траверсы должны соответствовать указанным на черт. 2 и в табл. 3.

Черт. 2

Таблица 3

Размеры в мм

Обозначение

Для тяг диаметром

L

А

Н

S

h

h1

d

b

c

Масса, кг

Средних

Крайних

1-01

12

12

200

160

40

8

17

17

14

25

2

0,56

1-02

16

210

160

50

12

25

22

18

35

3

0,84

1-03

20

16

260

200

60

16

30

28

23

42

4

1,68

1-04

24

20

330

250

80

35

32

27

50

2,92

1-05

30

24

340

280

90

20

45

40

33

60

5

3,94

1-06

36

30

380

300

100

25

50

45

39

70

6

5,40

4.1. Материал: Лист

4.2.* Размер для справки.

4.3. Неуказанные предельные отклонения отверстий Н 14; валов h 14; остальных .

 

ИНФОРМАЦИОННЫЕ ДАННЫЕ

УТВЕРЖДЕН ПРИКАЗОМ Министерства топлива и энергетики Российской Федерации № 158 от 12 июля 1993 г.

ИСПОЛНИТЕЛИ

В.И. Есарев, В.В. Горбачев, О.В. Стрельников (руководитель темы), Н.В. Паутов, И.П. Горяинова

ВЗАМЕН ОСТ 34-42-732-85

 

ССЫЛОЧНЫЕ НОРМАТИВНО-ТЕХНИЧЕСКИЕ ДОКУМЕНТЫ

Обозначение НТД, на которые дана ссылка

Номер пункта, подпункта, перечисления, приложения

ГОСТ 14637-89

п. 4.1.

ГОСТ 19903-74

п. 4.1.

ТУ 34-42-10380-83

п. 3.2.

ОСТ 34-10-723-93

п. 3.2.

ОСТ 34-10-729-93

Таблица 2

 

 



© 2013 Ёшкин Кот :-)