УТВЕРЖДАЮ
Указанием
Министерства тяжелого
машиностроения
СССР
№
ВА-002-1-6288 от 19.06.90 г.
ЛИСТ
УТВЕРЖДЕНИЯ
АЛЬБОМ
ТИПОВЫХ КОНСТРУКЦИЙ
«Аппараты
вспомогательные неагрегатированных
холодильных машин»
АТК
24.203.02-90
Первый заместитель начальника
научно-технического отдела
Минтяжмаша СССР В.А.
Мажукин
Начальник сектора А.Н.
Полтарецкий
Директор
ВНИИхолодмаша,
д.т.н., профессор А.В.
Быков
Заместитель
директора
ВНИИхолодмаша, д.т.н. И.М.
Калнинь
Начальник отдела 44 В.Б.
Шпенцер
Исполнитель А.Д.
Миломедова
Начальник отд. 26 Ю.А.
Вольных
АЛЬБОМ ТИПОВЫХ КОНСТРУКЦИЙ
Дата
введения 01.01.1991 г.
Настоящий
альбом типовых конструкций устанавливает типовые конструкции, размеры,
комплектность поставки и технические требования, рабочие условия эксплуатации
коды ОКП стальных вспомогательных и емкостных аппаратов, входящих в состав
холодильных установок общепромышленного применения для работы на аммиаке (R 717) и хладонах.
Приведенные
в альбоме типы емкостных и вспомогательных аппаратов являются простейшей
продукцией и не подлежат государственной аттестации.
Технические
требования, приведенные в стандарте, соответствуют проекту международного
стандарта ИСО 5149 «Холодильные установки применяемые для охлаждения и нагрева.
Требования безопасности»
Примеры
условных обозначений:
Ресивер
дренажный вертикальный типа РДВ вместимостью 1,68 м3 1,5 РДВ АТК
24.203.02-90
1. Технические
требования
1.1.
Аппараты изготавливаются по рабочим чертежам заводов-изготовителей в
соответствии с требованиями ОСТ 26.291, ОСТ 24.203.03, ОСТ 26-03-1501, ОСТ
26-11-03 действующими правилами Госгортехнадзора.
Рабочие
чертежи должны быть согласованы с ВНИИхолодмашем и утверждены в установленном
порядке. На базе аппаратов, приведенных в настоящем альбоме, допускается
разработка модификации по согласовании с ВНИИхолодмашем.
В
буквенную часть обозначений модификации должна быть включена буква «м».
1.2.
Аппараты должны изготавливаться для эксплуатации в макроклиматических районах
исполнения «У» категории 3 для R 717
или 4 для хладонов по ГОСТ
15150.
Для
поставки на экспорт в страны с тропическим климатом аппараты изготавливаются
исполнения «Т» категории 3 для R
717 и категории 4 для хладонов.
Условия
эксплуатации должны соответствовать указанным в таблицах 1 - 70.
1.3.
Применяемые материалы по ОСТ 24.203.03 должны быть приведены в рабочих
чертежах.
1.4.
Конструкция аппаратов должна обеспечивать возможность очистки в условиях
эксплуатации.
1.5.
Предельные отклонения габаритных размеров ± . Допуск на массу ±5 %.
При
изготовлении аппаратов из более толстостенных труб листа допускается увеличение
массы по согласовании с ВНИИхолодмашем.
Применение
толстостенных труб и листа допускается, как правило, для повышения срока службы
аппаратов.
1.6.
Требования безопасности аппараты должны соответствовать ОСТ 24.203.03 и должны
быть приведены в ЭТД на установки, машины, агрегаты, куда аппараты входят.
1.7.
Маркировка.
Для
сосудов, изготовленных в соответствии с правилами Госгортехнадзора СССР, фирменная
табличка должна предусматривать следующую информацию:
- наименование (условное обозначение) или
товарный знак предприятия-изготовителя,
- условное обозначение,
- дату выпуска,
- максимальное рабочее давление,
- максимальная рабочая температура, и для
низкотемпературных сосудов,
- допустимая температура, выходящая из
диапазона минус между 10 °С и 50 °С.
Для
сосудов с внутренним объёмом более 0,1 л или с произведением расчетного
давления на объём превышающий 1200 кПа допускается иметь фирменную табличку:
-
наименование (условное обозначение) или товарный знак предпрития-изготовителя,
- условное обозначение,
- максимальное рабочее давление,
- допустимая температура, выходящая из
диапазона между минус 10 °С и 50 °С.
Маркировка
каждого сосуда высокого давления не обязательна, если система частью которой он
является, маркирована.
1.8.
Гарантии завода-изготовителя по ОСТ 24.203.03.
в
условном обозначении ресиверов - вместимость в м3
Таблица 1
Тип
аппарата
|
Наименование
|
Типоразмер
|
Код по ОКП
|
Хладагент
|
Рабочее давление не более МПа (кгс/см3)
для исполнения
|
Диапазон
температур холодильного агента, °С
|
Стр.
|
общепромышленного
|
для
тропиков
|
РД
|
Ресивер
дренажный горизонтальный
|
0,75 РД
|
3644621401 02
|
R717
|
1,8
(18)
|
2,0
(20)
|
от минус 50 до +55
|
с. 7
|
1,5 РД
|
3644621501 10
|
2,5 РД
|
3644621604 04
|
3,5 РД
|
3644621703 02
|
5 РД
|
3644621704 01
|
РДГ
|
-"-
|
РДГ-0,75
|
3644621407 07
|
R717
|
|
1,8
(18)
|
от минус 50 до +55
|
с. 11
|
РДГ-1,5
|
3644621511 08
|
РДГ-2,5
|
3644621617 10
|
РДВ
|
Ресивер дренажный вертикальный
|
1,5 РДВ
|
3644621502 08
|
R717
|
|
1,6
(16)
|
от минус 50 до +55
|
с. 13
|
2,5 РДВ
|
3644621605 02
|
3,5 РДВ
|
3644621705 00
|
5 РДВ
|
3644621706 10
|
РУФ
|
Ресивер
универсальный
|
РУФ 1
|
3644621505 06
|
R12
R22
|
2,0
(20)
|
2,1
(20)
|
от минус 20 до +50
|
с. 16
|
РЦЗ
|
Ресивер
циркуляционно-защитный
|
РЦЗ-2Р
|
3644621620 03
|
R717
|
1,6
(16)
|
от минус 50 до +40
|
|
РЦЗ-4Р
|
3644621714 10
|
РЦЗ-8
|
3644621805 10
|
РЦЗ-12,5
|
3644621806 09
|
РЦЗ-20
|
3644621912 05
|
РЛД
|
Ресивер
линейно-дренажный
|
РЛД2
|
3644621621 02
|
R717
|
2,3
(23)
|
от минус 50
до +55
|
с. 22
|
РЛД4
|
3644621703 00
|
РЛД8
|
3644621807 08
|
РЛД12,5
|
3644621804 00
|
РКЦ
|
Ресивер компаундно-циркуляционный
|
РКЦ-2
|
3644621622 01
|
R717
|
1,6
|
от минус 50
до +40
|
с. 26
|
РКЦ-4
|
3644621724 08
|
РКЦ-8
|
3644621808 04
|
РКЦ-12,5
|
3644621810 10
|
РКЦ-20
|
3644621914 03
|
Ресивер дренажный
горизонтальный типа РД

Черт. 1
Основное параметры и размеры
размеры в мм
Таблица 2
Обозначение
аппарата
|
Вместимость м3
|
D
|
S
|
D1
|
l
|
l1
|
l2
|
l3
|
l4
|
l5
|
C
|
C1
|
H
|
h1
|
Масса, кг
|
0,75 РД
|
0,77
|
600
|
6
|
245
|
3020
|
2480
|
1150
|
180
|
900
|
600
|
750
|
690
|
1410
|
510
|
345
|
1,5 РД
|
1,65
|
800
|
8
|
325
|
3610
|
2970
|
1650
|
250
|
1050
|
950
|
950
|
890
|
1630
|
835
|
670
|
2,5 РД
|
2,50
|
5610
|
4970
|
2900
|
2070
|
1900
|
990
|
3,5 РД
|
3,41
|
1000
|
10
|
4685
|
3960
|
2600
|
281
|
1500
|
1480
|
1150
|
1090
|
1840
|
940
|
1281
|
5 РД
|
5,58
|
1200
|
12
|
5370
|
4455
|
2980
|
358
|
1900
|
1580
|
1355
|
1295
|
2050
|
2010
|
Условный
проход штуцеров и люков, Ду
Таблица
3
мм
Обозначение
штуцеров и люков на черт. 1
|
Ду для
исполнения
|
|
0,75 РД
|
1,5 РД
|
2,5 РД
|
3,5 РД
|
5 РД
|
|
Б
Г
|
32
|
50
|
50
|
65
|
65
|
|
У*
|
ТР 1/2²
|
ТР 1/2²
|
ТР 1/2²
|
ТР 1/2²
|
ТР 1/2²
|
|
Х
|
80
|
80
|
80
|
80
|
80
|
|
К1
|
25
|
25
|
25
|
32
|
32
|
|
М
|
10
|
10
|
10
|
10
|
10
|
|
Ф
|
6
|
6
|
6
|
6
|
6
|
|
Я1
|
80
|
80
|
80
|
-
|
-
|
|
Я
|
-
|
-
|
-
|
400
|
400
|
|
* Размеры даны в
ТР².
Арматура
и приборы, составляемые с аппаратом
Таблица 4
Позиция на
черт. 2
|
Наименование
|
Количество
для исполнения, шт.
|
0,75 РД
|
1,5 РД
|
2,5 РД
|
3,5 РД
|
5 РД
|
1
|
Мановакууметр аммиачный АМВУ-1 160´24 кл. 1,5
с дополн. температ. шкалой или МВТП-160 А´1,5 на Ру 1,5 (15)
|
1
|
1
|
1
|
1
|
1
|
2
|
Клапаны
предохранительные Т/Ф 17с11нж (АПК) Ду 6
|
1
|
1
|
1
|
1
|
1
|
|
Ру 2,5 (25)
Ду 10
|
-
|
-
|
-
|
1
|
1
|
3
|
Вентили
запорные угловые цапковые Т/Ф Ду 6
|
1
|
1
|
1
|
1
|
1
|
4
|
Ду 10 на Ру 2,5 (25)
|
1
|
1
|
1
|
1
|
1
|
5
|
Запорное
устройство указателя уровня вентильного типа цапковое Т/Ф 12с13бк, Ду 20 на
Ру 4 (40)
|
1
|
1
|
1
|
1
|
1
|
6
|
Рамки
указателей уровня Т/Ф 12кч11бк: на Ру 2,5 (25)
|
|
|
|
|
|
№ 6
|
1
|
2
|
2
|
-
|
-
|
№ 8
|
-
|
-
|
-
|
2
|
2
|
7
|
Вентиль
запорный проходной цапковый Т/Ф 15с11бк, Ду 10
|
1
|
1
|
1
|
1
|
1
|
Ру,
МПа (кгс/см2)
Ду,
мм
Таблица 5
Условный проход штуцеров и люков, Ду
Обозначение
|
Наименование
|
Кол.
|
Ду, мм
|
А
|
Вход аммиака
|
1
|
см. табл.
|
Б
|
Выход аммиака
|
1
|
В1; В2
|
К уравнительной линии
|
2
|
25
|
Г
|
К циркуляционному насосу
|
1
|
80
|
Д
|
К клапану предохранительному
|
1
|
15
|
Е
|
Спуск воздуха
|
1
|
6
|
Ж
|
Спуск масла
|
1
|
10
|
И1; И2
|
К указателю уровня
|
2
|
|
К
|
Люк смотровой
|
1
|
|
Таблица 6
Таблица арматуры, Ду, мм
Поз.
|
Обозначение
|
Наименование
|
Кол.
|
1
|
15с13бк1
|
Вентиль
углов. Ду 6
|
1
|
2
|
15с13бк1
|
Вентиль
углов. Ду 10
|
1
|
3
|
15с11бк
|
Вентиль
проход. Ду 10
|
1
|
4
|
12с17бк
|
Устройство
запорн.
|
1
|
5
|
12кч11бк
|
Указатель
уров. № 6
|
2
|
6
|
АМБ1-1-24
|
Мановакууметр
|
1
|
7
|
|
Клапан
предохр. Ду 15
|
1
|
Таблица 7
Основные
параметры и размеры
Размеры
в мм
Шифр
|
D
|
S
|
L
|
L1
|
H
|
H1
|
l
|
l1
|
l2
|
d
|
h
|
Штуцера
|
Емкость, л
|
Масса, кг
|
А
|
Б
|
РДГ-0,75
|
600
|
6
|
3020
|
2910
|
1140
|
1060
|
900
|
600
|
195
|
39
|
510
|
32
|
770
|
367
|
РДГ-1,5
|
800
|
8
|
3510
|
3505
|
1630
|
1280
|
1050
|
950
|
245
|
59
|
835
|
50
|
1650
|
680
|
РДГ-2,5
|
5610
|
5505
|
2070
|
1900
|
2500
|
1000
|
|
|
|
|
|
|
|
|
|
|
|
|
|
|
|
|
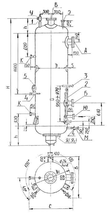
Ресивер дренажный
вертикальный типа РДВ

Черт. 3
Основные
параметры и размеры
Таблица
8
мм
Обозначение
аппарата
|
Вместимость,
м3
|
D
|
S
|
H
|
h
|
C
|
D1
|
B
|
Масса, кг
|
1,5 РДВ
|
1,40
|
800
|
8
|
3360
|
410
|
1200
|
1032
|
1110
|
685
|
2,5 РДВМ
|
2,65
|
1000
|
10
|
3720
|
275
|
1340
|
1240
|
1350
|
1061
|
3,5 РДВМ
|
3,35
|
1200
|
12
|
3379
|
350
|
1540
|
1440
|
1550
|
1377
|
5 РДВМ
|
4,48
|
4370
|
1738
|
Условный
проход штуцеров и люков, Ду
Таблица
9
мм
Обозначение
штуцеров и люков на черт. 3
|
Ду для
исполнения
|
1,5 РДВ
|
2,5 РДВМ
|
3,5 РДВМ
|
5 РДВМ
|
А
|
150
|
150
|
200
|
200
|
В
|
Б
|
80
|
80
|
80
|
80
|
Э
|
20
|
20
|
20
|
20
|
Ю
|
40
|
40
|
40
|
40
|
М
|
10
|
10
|
10
|
10
|
К
|
20
|
20
|
20
|
20
|
У
|
15
|
25
|
25
|
25
|
Я
|
-
|
400
|
400
|
400
|
Я1
|
250
|
-
|
-
|
-
|
Арматура
и приборы, поставляемые с аппаратом
Таблица 10
Позиция на
черт. 3
|
Наименование
|
Количество для исполнения, шт.
|
1,5 РДВ
|
2,5 РДВ
|
3,5 РДВ
|
5 РДВ
|
1
|
Клапан
предохранительный Т/Ф 17с11нж (АПК) Ду 15
|
1
|
-
|
-
|
-
|
|
на Ру 1,6
(16) Ду 25
|
-
|
1
|
1
|
1
|
2
|
Рамка
указателя уровня 12кч11бк, № 8 - 25 на Ру 2,5 (25)
|
2
|
2
|
2
|
2
|
3
|
Запорное
устройство указателя уровня вентильного типа цапковое Т/Ф 12с13бк на Ру 4
(40) Ду 20
|
1
|
1
|
1
|
1
|
4
|
Вентиль запорный
угловой цапковый Т/Ф 15с13бк Ду 10 на Ру 2,5 (25)
|
3
|
3
|
3
|
3
|
5
|
Мановакуумметр
МВПЗА-У-24 кгс/см2 1,5 с дополнительной температурной шкалой МВТП-160А´1,5 на Ру 1,5
(15)
|
1
|
1
|
1
|
1
|
Ру, МПа (кгс/см2)
Ду, мм
Ресивер
универсальный типа РУФ1

Черт.
4
Основные
параметры
Таблица 11
Наименование
параметра
|
Размерность
|
Вместимость, м3
|
1
|
Масса, кг
|
500
|
Условный проход штуцеров и люков, Ду
Таблица 12
Обозначение штуцеров и люков на черт. 4
|
Ду, мм
|
Б
|
65
|
Г
|
65
|
К
|
20
|
У
|
25
|
Я1
|
90
|
Арматура и приборы, поставляемые с
аппаратом
Таблица 13
Поз. на черт. 4
|
Наименование
|
Кол.
|
1
|
Вентиль
угловой Ду 10 14с27п1 на Ру 2,5 (25)
|
2
|
2
|
Вентиль
угловой Ду 20 14с27п1 на Ру 2,5 (25)
|
1
|
3
|
Вентиль
проходной Ду 6 14с27п1 на Ру 2,5 (25)
|
1
|
4
|
Мановакуумметр
ОБНВ1´1005ф´24 на Ру
2,5 (25)
|
1
|
5
|
Клапан предохранительный Ду 25, 25АПК на Ру 2,5 (25)
|
1
|
Ру,
МПа (кгс/см2)
Ду, мм
Ресивер циркуляционно-защитный РЦЗ

Черт. 5
Таблица
14
Основные размеры
мм
Обозначение
|
D
|
S
|
L
|
H
|
l1
|
l2
|
l3
|
l4
|
l5
|
l6
|
l7
|
l8
|
l9
|
l10
|
l11
|
l12
|
l13
|
h1
|
h2
|
h3
|
h4
|
Масса, кг
|
РЦЗ-2Р
|
1020
|
10
|
3320
|
2350
|
300
|
900
|
370
|
800
|
1050
|
200
|
700
|
550
|
1100
|
2200
|
200
|
600
|
1530
|
370
|
100
|
370
|
1000
|
1400
|
РЦЗ-4Р
|
1220
|
12
|
4250
|
2600
|
320
|
1100
|
540
|
1000
|
1250
|
270
|
860
|
700
|
1600
|
3000
|
200
|
670
|
1730
|
420
|
150
|
420
|
1150
|
2230
|
РЦЗ-8
|
1600
|
12
|
4800
|
5000
|
320
|
1200
|
450
|
900
|
1300
|
260
|
980
|
750
|
1800
|
3300
|
200
|
720
|
2360
|
620
|
200
|
620
|
1350
|
3932
|
РЦЗ-12
|
1600
|
12
|
6800
|
5000
|
350
|
1300
|
550
|
1150
|
1650
|
400
|
1600
|
1200
|
3000
|
5300
|
200
|
850
|
2360
|
620
|
200
|
620
|
1350
|
4927
|
РПЗ-20
|
2000
|
14
|
6000
|
6700
|
450
|
2000
|
650
|
1350
|
1350
|
400
|
1600
|
850
|
2560
|
5400
|
200
|
1050
|
2760
|
700
|
300
|
700
|
1500
|
6444
|
УСЛОВНЫЙ
ПРОХОД ШТУЦЕРОВ И ЛЮКОВ, Ду
Таблица 15
Обозначение
штуцеров и люков на черт. 5
|
Ду для исполнения, мм
|
РЦЗ-2,0Р
|
РЦЗ-4,0Р
|
РЦЗ-8,0
|
РЦЗ-12,5
|
РЦЗ-20,0
|
А
|
32
|
32
|
50
|
50
|
80
|
Б
|
150
|
200
|
250
|
300
|
350
|
Б1
|
32
|
50
|
50
|
80
|
80
|
Г
|
150
|
200
|
250
|
300
|
300
|
Г1
|
50
|
65
|
80
|
80
|
80
|
Г2
|
32
|
50
|
50
|
80
|
80
|
М
|
20
|
20
|
20
|
20
|
20
|
М3
|
80
|
80
|
80
|
80
|
80
|
С1
|
32
|
50
|
50
|
80
|
80
|
Т1
|
150
|
200
|
250
|
300
|
350
|
У
|
25
|
25
|
25
|
32
|
32
|
Э
|
80
|
80
|
125
|
150
|
150
|
Я
|
80
|
80
|
80
|
450
|
450
|
Арматура и приборы,
поставляемые с аппаратом
Таблица 16
Поз. на черт. 5
|
Наименование
|
Кол-во на
исполнение
|
РЦЗ-2,0Р
|
РЦЗ-4,0Р
|
РЦЗ-8,0
|
РЦЗ-12,5
|
РЦЗ-20,0
|
1
|
Вентиль трехходовой сильфонный Е29 139
|
|
|
|
|
|
Ду 25 Ру 2,5 (25)
|
1
|
1
|
|
|
|
Ду 32 Ру 2,5 (25)
|
|
|
1
|
1
|
1
|
2
|
Вентиль запорный угловой цапковый 15с12бк1 Ду 10 Ру 2,5 (25)
|
1
|
1
|
1
|
1
|
1
|
3
|
Вентиль запорный проходной цапковый 15с11бк1 Ду 10 Ру 2,5 (25)
|
1
|
1
|
1
|
1
|
1
|
4
|
Вентиль запорный проходной 15с12п2 Ду 32 Ру 2,5 (25)
|
2
|
2
|
2
|
2
|
2
|
5
|
Клапан предохранительный 17с11нж Ду 25 Ру 1,6 (16)
|
2
|
2
|
|
|
|
6
|
Клапан предохранительный 17с11нж Ду 32 Ру 1,6 (16)
|
|
|
2
|
2
|
2
|
7
|
Мановакууметр МВПЗА-У-24
|
1
|
1
|
1
|
1
|
1
|
8
|
Реле уровня полупроводниковое ПРУ-5М
|
4
|
4
|
4
|
4
|
4
|
9
|
Запорное устройство указателя уровня вентильного типа 12с17бк Ду
20 Ру 4,0 (40)
|
1
|
1
|
1
|
1
|
1
|
10
|
Стекло рифленное ТЗ-340 35 кгс/см2
|
2
|
3
|
3
|
3
|
3
|
Ру, МПа
(кгс/см2)
Ду, мм
Ресивер линейно-дренажный типа РЛД

Черт.
6
Таблица 17
Основные
размеры
мм
Обозначение
|
l1
|
l2
|
l3
|
l4
|
l5
|
l6
|
l7
|
l8
|
l9
|
l10
|
l11
|
l12
|
l13
|
h1
|
h2
|
L
|
H1
|
H
|
D
|
S
|
Масса, кг
|
РЛД-2Р
|
200
|
350
|
270
|
330
|
350
|
250
|
100
|
150
|
620
|
500
|
1200
|
2200
|
150
|
950
|
1050
|
2900
|
1810
|
2010
|
1020
|
10
|
1130
|
РЛД-4Р
|
250
|
350
|
300
|
400
|
300
|
250
|
100
|
160
|
1000
|
600
|
1800
|
3000
|
150
|
1150
|
1100
|
3840
|
1900
|
2340
|
1220
|
12
|
1870
|
РЛД-8
|
300
|
350
|
350
|
300
|
350
|
300
|
100
|
200
|
1200
|
750
|
1800
|
3300
|
250
|
1350
|
1300
|
4550
|
2360
|
3100
|
1600
|
12
|
3353
|
РЛД-12,5
|
300
|
500
|
400
|
400
|
500
|
300
|
100
|
200
|
2000
|
1400
|
2600
|
5300
|
250
|
1350
|
1300
|
6550
|
2360
|
3100
|
1600
|
12
|
4311
|
УСЛОВНЫЙ
ПРОХОД ШТУЦЕРОВ И ЛЮКОВ, Ду
Таблица 18
Обозначение штуцеров и люков на черт. 6
|
Ду для исполнения, мм
|
РЛД-2,0Р
|
РЛД-4,0Р
|
РЛД-8,0Р
|
РЛД-12,5Р
|
Б
|
80
|
125
|
125
|
125
|
Г
|
80
|
125
|
125
|
125
|
К
|
50
|
80
|
80
|
80
|
М
|
20
|
20
|
20
|
20
|
У
|
25
|
25
|
80
|
80
|
Х
|
32
|
50
|
80
|
80
|
Э
|
80
|
80
|
80
|
80
|
Я
|
80
|
80
|
450
|
450
|
Арматура и приборы,
поставляемые с аппаратом
Таблица 19
Поз. на черт. 6
|
Наименование
|
Кол-во на
исполнение
|
РЛД-2,0Р
|
РЛД-4,0Р
|
РЛД-8,0
|
РЛД-12,5
|
1
|
Вентиль трехходовой сильфонный Е29 139
|
|
|
|
|
Ду 25 Ру 2,5 (25)
|
1
|
1
|
|
|
Ду 32 Ру 2,5 (25)
|
|
|
1
|
1
|
2
|
Вентиль запорный угловой цапковый 15с13бк1 Ду 6 Ру 2,5 (25)
|
2
|
2
|
1
|
1
|
3
|
Вентиль запорный проходной цапковый 15с11бк1 Ду 10 Ру 2,5 (25)
|
1
|
1
|
1
|
1
|
4
|
Вентиль запорный проходной 15с12п2 Ду 32 Ру 2,5 (25)
|
2
|
2
|
2
|
2
|
5
|
Клапан предохранительный 17с11нж Ду 25 Ру 1,6 (16)
|
2
|
2
|
|
|
6
|
Клапан предохранительный 17нж14ст Ду 50 Ру 40
|
|
|
2
|
2
|
7
|
Мановакууметр МВПЗА-У-24
|
1
|
1
|
1
|
1
|
8
|
Реле уровня полупроводниковое ПРУ-5М
|
2
|
2
|
2
|
2
|
9
|
Запорное устройство указателя уровня вентильного типа 12с17бк
Ду 20 Ру 4,0 (40)
|
1
|
1
|
1
|
1
|
10
|
Стекло рифленное ТЗ-340 35 кгс/см2
|
1
|
3
|
3
|
3
|
Ру, МПа
(кгс/см2)
Ду, мм
Ресивер
компаундно-циркуляционный типа РКЦ

Черт. 7
Таблица 20
Основные размеры
мм
Обозначение
|
D
|
S
|
L
|
H
|
l1
|
l2
|
l3
|
l4
|
l5
|
l6
|
l7
|
l8
|
l9
|
l10
|
l11
|
l12
|
l13
|
h1
|
h2
|
h3
|
h4
|
h5
|
h6
|
h7
|
Масса, кг
|
РКЦ-2Р
|
1020
|
10
|
3200
|
4150
|
2200
|
300
|
300
|
300
|
200
|
350
|
230
|
200
|
700
|
1100
|
550
|
150
|
1830
|
370
|
200
|
1900
|
370
|
100
|
1000
|
2350
|
1400
|
РКЦ-4Р
|
3000
|
12
|
4150
|
4400
|
3000
|
300
|
350
|
750
|
400
|
400
|
230
|
270
|
860
|
1600
|
700
|
150
|
1980
|
420
|
300
|
1900
|
420
|
150
|
1150
|
2600
|
2160
|
РКЦ-8
|
1600
|
12
|
4700
|
5000
|
3300
|
260
|
590
|
300
|
400
|
800
|
180
|
260
|
980
|
1800
|
750
|
200
|
2360
|
620
|
400
|
2000
|
620
|
200
|
1350
|
3100
|
3930
|
РКЦ-12,5
|
1600
|
12
|
6700
|
5000
|
5300
|
400
|
450
|
680
|
1000
|
1000
|
380
|
400
|
1600
|
3000
|
1200
|
200
|
2360
|
620
|
400
|
2000
|
620
|
200
|
1350
|
3100
|
4930
|
РКЦ-20
|
2000
|
14
|
7100
|
6700
|
5400
|
400
|
650
|
500
|
1000
|
1000
|
380
|
400
|
1600
|
3000
|
1200
|
200
|
2760
|
700
|
800
|
3000
|
700
|
300
|
1500
|
3700
|
7590
|
УСЛОВНЫЙ
ПРОХОД ШТУЦЕРОВ И ЛЮКОВ, Ду
Таблица 21
Обозначение штуцеров и люков на черт. 7
|
Ду для
исполнения, мм
|
РКЦ-2,0Р
|
РКЦ-4,0Р
|
РКЦ-8,0
|
РКЦ-12,5
|
РКЦ-20,0
|
А
|
125
|
150
|
250
|
250
|
300
|
А1
|
32
|
32
|
50
|
50
|
80
|
Б
|
32
|
50
|
50
|
50
|
80
|
В
|
125
|
150
|
250
|
250
|
300
|
Г
|
125
|
150
|
250
|
250
|
300
|
Г1
|
32
|
50
|
50
|
50
|
80
|
Г2
|
32
|
32
|
32
|
32
|
32
|
Г3
|
32
|
32
|
80
|
80
|
80
|
М
|
20
|
20
|
20
|
20
|
20
|
М3
|
80
|
80
|
80
|
80
|
80
|
С1
|
32
|
50
|
50
|
50
|
80
|
Т1
|
100
|
125
|
200
|
200
|
250
|
У
|
25
|
25
|
80
|
32
|
32
|
X
|
50
|
65
|
80
|
80
|
80
|
Э
|
80
|
80
|
450
|
450
|
450
|
Я
|
32
|
80
|
125
|
125
|
150
|
Арматура и приборы,
поставляемые с аппаратом
Таблица 22
Поз. на черт. 7
|
Наименование
|
Кол-во на
исполнение
|
РКЦ-2,0Р
|
РКЦ-4,0Р
|
РКЦ-8,0
|
РКЦ-12,5
|
РКЦ-20,0
|
1
|
Вентиль трехходовой сильфонный Е29 139
|
|
|
|
|
|
Ду 25 Ру 2,5 (25)
|
1
|
1
|
|
|
|
Ду 32 Ру 2,5 (25)
|
|
|
1
|
1
|
1
|
2
|
Вентиль запорный угловой цапковый 15с13бк1 Ду 6 Ру 2,5 (25)
|
1
|
1
|
1
|
1
|
1
|
3
|
Вентиль запорный проходной цапковый 15с11бк1 Ду 10 Ру 2,5 (25)
|
1
|
1
|
1
|
1
|
1
|
4
|
Вентиль запорный проходной 15с12п2 Ду 20 Ру 2,5 (25)
|
2
|
2
|
2
|
2
|
2
|
5
|
Клапан предохранительный 17с11нж Ду 25 Ру 1,6 (16)
|
2
|
2
|
|
|
|
6
|
Клапан предохранительный 17нж14ст Ду 50 Ру 4,0 (40)
|
|
|
2
|
2
|
2
|
7
|
Мановакууметр МВПЗА-У-24
|
1
|
1
|
1
|
1
|
1
|
8
|
Реле уровня полупроводниковое ПРУ-5М
|
4
|
4
|
4
|
4
|
4
|
9
|
Запорное устройство указателя уровня вентильного типа 12с17бк
Ду 20 Ру 4,0 (40)
|
1
|
1
|
1
|
1
|
1
|
10
|
Стекло рифленное ТЗ-340 35 кгс/см2 ГОСТ 1663-81
|
2
|
3
|
3
|
3
|
3
|
В
условном обозначении аппаратов - внутренний диаметр обечайки, мм
Таблица
23
Тип аппарата
|
Наименование
|
Типоразмер
|
Код по ОКП
|
Хладагент
|
Рабочее
давление не более, МПа (кгс/см3) для исполнения
|
Диапазон
температур холодильного агента, °С
|
Стр.
|
общепромышленного
|
для тропиков
|
ПС
|
Сосуд
промежуточный
|
40 ПС3
|
3644623301 08
|
R 717
|
1,6 (16)
|
|
от минус 20
до +55
|
с. 31
|
80 ПС3
|
3644623604 07
|
100 ПС3
|
3644623603 08
|
120 ПС3
|
3644623703 05
|
СП
|
Сосуд
промежуточный
|
СП 600
|
3644623404 02
|
R 717
|
1,6 (16)
|
|
от минус 20
до +150
|
с. 34
|
СПА
|
Сосуд промежуточный (автоматизированный)
|
СПА 600
|
3644623405 01
|
R 717
|
1,6 (16)
|
|
от минус 20
до +150
|
с. 35
|
СПА 800
|
3644623506 08
|
с. 36
|
Промежуточный сосуд типа ПС3

Черт.
8
Основные
параметры и размеры
Размеры
в мм
Таблица 24
Обозначение аппарата
|
Наружная поверхность змеевика, м2
|
Вместимость
|
D
|
S
|
D1
|
C
|
C1
|
C2
|
C3
|
H
|
h
|
h1
|
h2
|
h3
|
h4
|
h5
|
h6
|
h7
|
h8
|
h9
|
h10
|
b
|
b1
|
Масса, кг
|
40ПС3
|
1,75
|
0,22
|
426
|
10
|
450
|
1010
|
290
|
170
|
140
|
2390
|
990
|
640
|
140
|
1400
|
200
|
230
|
280
|
1760
|
70
|
120
|
355
|
100
|
120
|
330
|
80ПС3*
|
6,3
|
1,15
|
800
|
8
|
890
|
1400
|
560
|
240
|
2820
|
1565
|
1160
|
140
|
1600
|
150
|
394
|
444
|
1980
|
85
|
200
|
330
|
160
|
190
|
800
|
100ПС3
|
8,6
|
1,85
|
1020
|
10
|
1100
|
1600
|
680
|
180
|
310
|
2940
|
1440
|
940
|
150
|
195
|
440
|
500
|
1936
|
110
|
230
|
455
|
1230
|
120ПС3
|
10,0
|
3,30
|
1224
|
12
|
1300
|
1800
|
780
|
360
|
3640
|
1660
|
1160
|
320
|
336
|
460
|
520
|
2436
|
70
|
330
|
505
|
1973
|
* Сп 800.
Условный
проход штуцеров и люков, Ду
Таблица
25
Размеры
в мм
Обозначение штуцеров
на черт. 8
|
Ду для
исполнения
|
40 ПС3
|
80 ПС3
|
100 ПС3
|
120 ПС3
|
А
В
|
65
|
150
|
200
|
300
|
Б
|
20
|
32
|
40
|
40
|
К
|
32
|
50
|
65
|
65
|
К1
|
П
|
20
|
32
|
50
|
50
|
П1
|
Л
|
10
|
20
|
32
|
32
|
М
|
10
|
10
|
10
|
10
|
Ч1
|
6
|
6
|
6
|
6
|
У
|
25
|
25
|
25
|
25
|
Я1
|
65
|
150
|
150
|
150
|
Арматура,
поставляемая с аппаратом
Таблица 26
Позиция на
черт. 8
|
Наименования
|
Кол-во для
исполнения, шт.
|
40 ПС3
|
80 ПС3
|
100 ПС3
|
120 ПС3
|
1
|
Клапан
предохранительный Т/Ф 17с11нж Ру 1,6 (16) Ду 25
|
1
|
1
|
1
|
1
|
2
|
Вентиль
запорный угловой цапковый Т/Ф 15с13бк-1 Ду 10 Ру 2,5 (25)
|
2
|
2
|
2
|
2
|
3
|
Вентиль
маслоспускной 10МСВ Ду 10 Ру 2,5 (25)
|
1
|
1
|
1
|
1
|
Ру, МПа (кгс/см2)
Ду,
мм
Сосуд промежуточный СП 600

Черт. 9
Условный
проход штуцеров и люка, Ду (мм)
Таблица 27
С аппаратом СП 600 поставляется клапан
предохранительный 17с11нж
Ду
25, мм
Ру
1,6 (16), МПа (кгс/см2)
Сосуд промежуточный СПА 600

Емкость
аппарата 0,49 м3
Масса 515 кг
Черт. 10
Сосуд
промежуточный СПА 800

Схема разметки фундамента

Емкость
аппарата 1,14 м3
Масса 900 кг
Черт.
11
Условный
проход штуцеров, Ду (мм)
Таблица 28
Арматура
и приборы, поставляемые с аппаратом
Таблица 29
Позиция на черт. 10 и черт. 11
|
Наименование
|
Количество
для исполнения
|
СПА 600
|
СПА 800
|
1
|
Вентиль проходной Ду 20, на Ру 2,5 (25)
|
4
|
2
|
2
|
Вентиль угловой 15с13бк-1 Ду 10, на Ру 2,5 (25)
|
1
|
2
|
3
|
Вентиль проходной Ду 15, на РУ 2,5 (25)
|
1
|
1
|
4
|
Вентиль регулирующий цапковый, Ду15
|
1
|
1
|
5
|
Фильтр 15Ф
|
1
|
1
|
6
|
Вентиль
запорный мембранный СВМ-15 13с810р2 Ду 15
|
1
|
1
|
7
|
Мановакуумметр
МВПЗА-У-2,4 МПа´1,5
|
1
|
1
|
8
|
Клапан
предохранительный 17с11нж Ду 25 на Ру 1,6 (16)
|
1
|
1
|
9
|
Полупроводниковое
реле уровня ПРУ-5М
|
3
|
3
|
10
|
Рамка указателя
уровня жидкости № 4-25 12кч11бк
|
1
|
1
|
11
|
Вентиль
угловой 15с13бк-1 Ду 6, на Ру
2,5 (25)
|
1
|
1
|
12
|
Вентиль
маслоспускной 10 МСВ на Ру 2,5 (25)
|
-
|
1
|
Ру, МПа (кгс/см2)
Ду,
мм
В условном обозначении аппаратов условный
проход патрубков, мм
Таблица 30
Тип аппарата
|
Наименование
|
Типоразмер
|
Код по ОКП
|
Хладагент
|
Рабочее давление не более МПа (кгс/см3)
для исполнения
|
Диапазон температур холодильного агента, °С
|
Стр.
|
общепромышленного
|
для тропиков
|
МА
|
Маслоотделитель вертикальный
|
50 МА
|
3644625107 00
|
R 717
|
1,8 (18)
|
2,0 (20)
|
от минус 20
до +150
|
с. 40
|
80 МА
|
3644625108 10
|
100 МА
|
3644625204 08
|
М
|
Маслоотделитель вертикальный
|
125 М
|
3644625304 08
|
R 717
|
1,8 (18)
|
2,0 (20)
|
от минус 20
до +150
|
|
150 М
|
3644625404 05
|
200 М
|
3644625504 02
|
МО
|
|
МО 100
|
3644625206 06
|
R 717
|
|
2,5 (25)
|
от минус 20
до +150
|
с. 42
|
МО 125
|
3644625308 04
|
МО 150
|
3644625408 01
|
МО 200
|
3644625515 09
|
МОВ
|
Маслоотделитель
вертикальный
|
МОВ 125
|
3644625306 06
|
R 717
|
1,8 (18)
|
-
|
от минус 20
до +150
|
с. 45
|
МОВ 150
|
3644625406 03
|
МОВ 200
|
3644625507 10
|
Маслоотделитель вертикальный типа МА (М)

Черт. 12
Основные
параметры и размеры
Таблица
31
Размеры
в мм
Обозначение
аппарата
|
Вместимость, м3
|
Dн
|
D
|
S
|
D1
|
H
|
h
|
d1
|
K
|
M
|
M1
|
С
|
Масса, кг
|
50 МА
|
0,05
|
273
|
-
|
8
|
375
|
1310
|
965
|
50
|
160
|
100
|
120
|
40
|
98
|
80 МА
|
0,078
|
325
|
-
|
9
|
425
|
1378
|
980
|
80
|
145
|
139
|
100 МА
|
0,174
|
426
|
-
|
9
|
450
|
1741
|
1285
|
100
|
40
|
220
|
125 М
|
0,32
|
-
|
500
|
6
|
580
|
1945
|
1435
|
125
|
85
|
160
|
190
|
50
|
256
|
150 М
|
0,78
|
-
|
600
|
8
|
700
|
2305
|
1745
|
150
|
100
|
403
|
200 М
|
0,83
|
-
|
700
|
8
|
750
|
2410
|
1745
|
200
|
80
|
535
|
300 М
|
3,67
|
-
|
1200
|
12
|
1300
|
3355
|
2638
|
300
|
50
|
1780
|
Условный
проход штуцеров и люков, Ду
Таблица
32
Размеры в мм
Арматура
поставляемая с аппаратом
Таблица 33
Позиция на
черт. 12
|
Наименование
|
Количество для исполнения, мм
|
50 МА
|
80 МА
|
100 МА
|
125 М
|
150 М
|
200 М
|
300 М
|
1
|
Вентиль
запорный угловой цапковый Т/Ф 15с13бк, Ду 10 Ру 2,5 МПа
|
1
|
1
|
1
|
1
|
1
|
1
|
1
|
Маслоотделитель типа МО

Черт. 13
Таблица
34
Размеры (мм)
|
Марка
маслоотделителей
|
МО-100
|
125
|
150
|
МО-200
|
D
|
500
|
600
|
800
|
1000
|
D1
|
200
|
250
|
250
|
300
|
D2
|
150
|
200
|
200
|
250
|
l
|
1850
|
1950
|
2150
|
2350
|
l1
|
1000
|
1050
|
1150
|
1250
|
l2
|
850
|
900
|
1000
|
1100
|
h
|
1300
|
1700
|
1700
|
2200
|
h1
|
1150
|
1500
|
1500
|
2000
|
h2
|
600
|
900
|
1000
|
1100
|
h3
|
650
|
950
|
1050
|
1150
|
h4
|
1000
|
1350
|
1350
|
1850
|
h5
|
875
|
875
|
925
|
975
|
h6
|
700
|
1000
|
1000
|
1500
|
h7
|
150
|
150
|
200
|
250
|
S
|
6
|
6
|
8
|
8
|
S1
|
6
|
6
|
6
|
8
|
Масса, кг
|
750
|
800
|
1000
|
1500
|
Таблица штуцеров
Таблица 35
мм
Обозначение
|
Кол. шт.
|
Марка
маслоотделителей
|
МО-100
|
МО-125
|
150
|
200
|
А
|
1
|
100
|
125
|
150
|
200
|
В
|
1
|
100
|
125
|
150
|
200
|
Б
|
1
|
40
|
40
|
50
|
50
|
Г
|
1
|
40
|
40
|
50
|
50
|
М
|
1
|
25
|
25
|
25
|
25
|
У
|
2
|
25
|
25
|
25
|
25
|
Э
|
1
|
10
|
10
|
10
|
10
|
Арматура
и приборы, поставляемые с аппаратом
Таблица 36
№№
|
Наименование
|
МО-100
|
МО-125
|
МО-150
|
МО-200
|
1
|
Мановакуумметр
аммиачный МВП-160А-2,4 (24) МПа
|
1
|
1
|
1
|
1
|
2
|
Вентиль
трехходовой сильфонный Е29139-025 (Т/Ф 15с23п)
|
2
|
2
|
2
|
2
|
3
|
Вентиль запорный
фланцевый Ду 200; Ру 2,5 (25) МПа Т/Ф 15с18п
|
-
|
-
|
-
|
2
|
4
|
Вентиль
запорный мембранный с электромагнитным приводом фланцевый Ду 25, Ру 2,5 (25)
МПа Т/Ф 15к4 888р СВМ
|
1
|
1
|
1
|
1
|
Ду, мм
Ру,
МПа (кгс/см2)
Маслоотделитель типа МОВ

С маслоотделителем поставляется вентиль 15с13бк, Ду 10, мм; Ру
2,5 (25), МПа (кгс/см2)
Черт. 14
Таблица
штуцеров
Таблица 37
Обозначение
|
Наименование
|
Кол.
|
Проход условн. Ду, мм
|
А
|
Вход аммиака
|
1
|
см. ниже
|
В
|
Выход аммиака
|
1
|
М
|
Слив масла
|
1
|
10
|
Г
|
Для технологических целей
|
1
|
25
|
Таблица 38
Размеры в мм
Шифр
|
D
|
S
|
H
|
h
|
D1
|
Штуцер
|
Емкость, л
|
Масса, кг
|
А
|
Б
|
МОВ-125
|
500
|
6
|
1900
|
30
|
580
|
125
|
320
|
226
|
МОВ-150
|
600
|
7
|
2263
|
50
|
700
|
150
|
550
|
365
|
МОВ-200
|
700
|
8
|
2363
|
30
|
750
|
200
|
830
|
475
|
|
|
|
|
|
|
|
|
|
|
В условном обозначении аппаратов типа МВС -
диаметр аппарата, мм; аппаратов типа МСВ и МСО - вместимость, м3
Таблица 39
Тип аппарата
|
Наименование
|
Типоразмер
|
Код по ОКП
|
Хладагент
|
Рабочее давление не более МПа (кгс/см3)
для исполнения
|
Диапазон температур холодильного агента, °С
|
Стр.
|
общепромышленного
|
для тропиков
|
МЗС
|
Маслозаправочный
сосуд
|
10 МЗС
|
3644624107 04
|
R 717
|
1,8 (18)
|
-
|
от минус 20 до +150
|
с. 48
|
60 МЗС
|
3644624108 03
|
МСВ
|
Маслосборник вертикальный
|
МСВ-0,1
|
3644624106 05
|
R 717
|
2,3 (23)
|
-
|
от минус 50 до +55
|
с. 50
|
МСВ-0,25
|
3644624303 02
|
МСО
|
Маслосборник обогреваемый
|
МСО-1,0Г
|
3644624110 09
|
R 717
|
2,3 (23)
|
-
|
от минус 50 до +55
|
с. 52
с. 53
|
МСО-1,0В
|
3644624111 08
|
Маслозаправочный сосуд типа МЗС

Черт. 15
Основные
параметры и размеры
Таблица 40
Размеры в мм
Обозначение
|
Вместимость,
м3
|
D
|
S
|
B
|
H
|
h
|
h1
|
h2
|
d
|
d1
|
d2
|
Масса, кг
|
10 МЗС
|
0,008
|
159
|
5
|
480
|
720
|
440
|
190
|
475
|
145
|
150
|
14
|
18
|
60 МЗС
|
0,006
|
325
|
9
|
645
|
1215
|
890
|
205
|
925
|
240
|
310
|
18
|
85
|
Условный
проход штуцеров и люка, Ду
Таблица 41
Арматура и приборы, поставляемые с
аппаратом
Таблица 42
Ру, МПа (кгс/см2)
Ду,
мм
Маслосборник вертикальный типа МСВ


Черт. 16
Основные
параметры и размеры
Таблица
43
Размеры
в мм
Обозначение
аппарата
|
D
|
S
|
L
|
L1
|
L2
|
L3
|
L4
|
L5
|
H
|
H1
|
H2
|
H3
|
Масса, кг
|
МСВ-0,1
|
400
|
5
|
1300
|
1160
|
810
|
600
|
60
|
80
|
620
|
800
|
120
|
120
|
140
|
МСВ-0,25
|
600
|
8
|
1600
|
1460
|
850
|
650
|
80
|
80
|
830
|
1000
|
180
|
180
|
180
|
Условный
проход штуцеров, Ду
Таблица
44
мм
Арматура,
поставляемая с аппаратом
Таблица 45
Поз. на
черт. 16
|
Наименование
|
Кол-во на исполнение
|
МСВ-0,1
|
МСВ-0,25
|
1
|
Вентиль запорный угловой цапковый 15с13бк1 Ду 10 Ру 2,5 (25)
|
1
|
1
|
2
|
Клапан предохранительный Ду 25 d = 16 мм Р55180-025
|
1
|
1
|
3
|
Мановакуумметр МВПЗА-У-24
|
1
|
1
|
4
|
Запорное устройство указателя уровня вентильного типа 12с17бк
Ду 20 Ру 4,0 (40)
|
1
|
1
|
5
|
Стекло рифленное ТЗ-340-35 (кгс/см2)
|
1
|
1
|
Ру,
МПа (кгс/см2)
Ду, мм
Маслосборник обогреваемый МСО-1,0 Г

Черт.
17

Черт. 18
Таблица 46
Обозначение штуцеров на
черт. 17 и черт. 18
|
Условный
проход Ду, мм
|
МСО-1Г,
МСО-1В
|
А
|
40
|
В
|
40
|
М
|
25
|
М1
|
25
|
У
|
32
|
Арматура
и приборы, поставляемые с маслосборником
Таблица 47
Позиция на
черт. 17 и черт. 18
|
Наименование
|
Типоразмер
|
МСО-1Г
|
МСО-1В
|
1
|
Мановакууметр
МВПЗА-У-24
|
1
|
1
|
2
|
Клапан
предохранительный 17с11нж (АПК) Ду 25 на Ру 1,6 (16)
|
2
|
2
|
3
|
Вентиль
трехходовой сильфоновый Т/Ф 15с18п Е29139-025 Ду 25
|
4
|
4
|
4
|
Вентиль
запорный фланцевый Т/Ф 15с18п Ду 40
|
2
|
2
|
Ру, МПа (кгс/см2)
Ду,
мм
В
условном обозначении аппаратов - условный проход входного и выходного газовых
патрубков, мм
Таблица
48
Тип аппарата
|
Наименование
|
Типоразмер
|
Код по ОКП
|
Хладагент
|
Рабочее давление не более МПа (кгс/см3)
для исполнения
|
Диапазон температур холодильного агента, °С
|
Стр.
|
общепромышленного
|
для тропиков
|
ОЖ
|
Отделитель
жидкости
|
70 ОЖВ
|
3644622201
04
|
R 717
|
1,6 (16)
|
1,6 (16)
|
от минус 50
до +55
|
с. 56
|
100 ОЖГ
|
3644622303
10
|
125 ОЖГ
|
3644622401
09
|
150 ОЖГ
|
3644622501
06
|
200 ОЖГ
|
3644622601
03
|
|
Отделитель
жидкости вертикальный (отделитель жидкости)
|
ОЖ-350
|
3644632801 08
|
R 717
R 290
|
2,0 (20)
|
-
|
от минус 50
до +55
|
с. 59
|
ОЖ-400
|
3644622901 08
|
R 717
R 290
|
2,0 (20)
|
-
|
|
с. 60
|
Отделитель жидкости типа ОЖВ
(ОЖГ)

Черт.
19
Основные
параметры и размеры
Таблица 49
Размеры
в мм
Обозначение
аппарата
|
Вместимость
|
D
|
S
|
L
|
B
|
D1
|
l
|
H
|
h
|
h1
|
h2
|
h3
|
h4
|
h5
|
h6
|
Масса, кг
|
70 ОЖВ
|
0,18
|
408
|
9
|
875
|
715
|
635
|
160
|
1725
|
1065
|
380
|
365
|
35
|
265
|
1065
|
27
|
185
|
100 ОЖГ
|
0,33
|
500
|
6
|
965
|
805
|
725
|
2080
|
1365
|
428
|
465
|
465
|
1315
|
59
|
215
|
125 ОЖГ
|
0,49
|
600
|
1075
|
910
|
827
|
180
|
2120
|
445
|
5
|
270
|
150 ОЖГ
|
1,14
|
800
|
8
|
1275
|
1115
|
1032
|
270
|
2700
|
1615
|
500
|
665
|
1565
|
61
|
520
|
200 ОЖГМ
|
1,82
|
1000
|
10
|
1455
|
1320
|
1240
|
360
|
2750
|
1550
|
595
|
575
|
100
|
400
|
1500
|
41
|
815
|
Условный
проход штуцеров и люков, Ду
Таблица 50
Обозначение
штуцеров и люков на черт. 19
|
Ду для
исполнения
|
70 ОЖВ
|
100 ОЖГ
|
125 ОЖГ
|
150 ОЖГ
|
200 ОЖГМ
|
А
|
70
|
100
|
125
|
150
|
200
|
В
|
Б
|
20
|
32
|
32
|
50
|
50
|
Г
|
40
|
40
|
80
|
80
|
125
|
К
|
50
|
50
|
50
|
50
|
50
|
Ч
|
20
|
20
|
20
|
20
|
20
|
Ч1
|
6
|
6
|
6
|
6
|
6
|
М
|
10
|
10
|
10
|
10
|
27
|
С1
|
20
|
20
|
20
|
20
|
20
|
Арматура,
поставляемая с аппаратом
Таблица 51
Позиция на черт. 19
|
Наименование
|
Количество
на исполнение, шт.
|
1
|
Вентиль
запорный угловой цапковый 15с13бк-1; Ду 10 Ру 2,5 (25)
|
1
|
Ру,
МПа (кгс/см2)
Ду, мм
Отделитель жидкости ОЖ-350

Масса 3565 кг
Черт. 20
Таблица 52
Обозначение
|
Условный проход Ду, мм
|
А, В
|
350
|
У
|
50
|
И
|
10
|
Л
|
100
|
М
|
25
|
Ч1
|
6
|
Я1
|
400
|
Отделитель жидкости ОЖ-400


Масса 12200 кг
Черт. 21
Таблица
53
Условный
проход штуцеров Ду, мм
Обозначение
|
Размер Ду, мм
|
А; В
|
400
|
И
|
32
|
У
|
50
|
Л
|
100
|
Ч1
|
10
|
Я1
|
400
|
АРМАТУРА И ПРИБОРЫ
(КОЛИЧЕСТВО) ДЛЯ ОТДЕЛИТЕЛЕЙ ЖИДКОСТИ ТИПА ОЖ
Таблица 54
Позиция на черт. 20 и 21
|
Наименование изделия
|
Главный
проход Ду, мм
|
Типоразмер
|
ОЖ-350
|
ОЖ-400
|
1
|
Вентиль запорный цапковый 15с11бк1, на Ру 2,5 (25)
|
10
|
1
|
1
|
2
|
Клапан
пружинный предохранительный СППК4-40, на Ру 4,0 (40)
|
50
|
2
|
2
|
3
|
Вентиль
запорный угловой цапковый 15с13бк1, на Ру 2,5 (25)
|
10
|
3
|
3
|
4
|
Запорное
устройство указателя уровня (вентильного типа) 12с13бк, на Ру 4,0 (40)
|
20
|
1
|
-
|
5
|
Реле уровня
полупроводниковое ПРУ-5 МИ/220
|
-
|
1
|
1
|
6
|
Вентиль запорный фланцевый
15с12п2, на Ру 2,5 (25)
|
32
|
2
|
4
|
7
|
Задвижка
клиновая двухдисковая с выдвижным шпинделем с ручной конической передачей фланцевая
31с512нж (МА 11022.10) Ру 2,5 (25)
|
400
|
-
|
2
|
8
|
Вентиль запорный фланцевый
15с18п, на Ру 2,5 (25)
|
100
|
-
|
2
|
Ру, МПа (кгс/см2)
Ду,
мм
в
условном обозначении фильтров типа Ф, ФОФ, ФН, ОФ - условный проход входного и
выходного патрубков, мм; масляных фильтров типа МТО, МГО - фильтрующая
поверхность аппарата, м2
Таблица 55
Тип аппарата
|
Наименование
|
Типоразмер
|
Код по ОКП
|
Хладагент
|
Рабочее давление не более МПа (кгс/см3)
для исполнения
|
Диапазон температур холодильного агента, °С
|
Стр.
|
общепромышленного
|
для тропиков
|
Ф
|
Фильтр
жидкостной
|
15Ф
|
3644631205 10
|
R717
|
2,3 (23)
|
от минус 40
до 150
|
с. 63
|
20Ф
|
3644631206 09
|
25Ф
|
3644631307 05
|
30Ф
|
2644631305 07
|
40Ф
|
3644631306 06
|
50Ф
|
3644631908 10
|
40Ф*
|
3644631303 09
|
50Ф*
|
3633631401 08
|
ФОФ
|
Фильтр осушитель фреоновый
|
ФОФ50
|
3644632405 00
|
R22
|
2,3 (23)
|
-
|
с. 65
|
ФОФ65
|
3644632406 10
|
R12
|
|
|
|
|
|
|
|
|
|
Фильтр
жидкостной типа Ф

Вид
А

Для 15Ф
Вид А

Для 20Ф - 50Ф
Черт. 22
Основные параметры и размеры
Таблица 56
Размеры
в мм
Марка
изделия
|
Условный проход Ду
|
D
|
L
|
B
|
L1
|
Масса, кг
|
15Ф
|
15
|
45
|
170
|
97
|
141
|
2,0
|
20Ф
|
20
|
57
|
220
|
90
|
188
|
3,5
|
25Ф
|
25
|
191
|
3,4
|
30Ф
|
30
|
3,3
|
40Ф
|
40
|
89
|
280
|
125
|
248
|
7,5
|
50Ф
|
50
|
7,2
|
Схема
установки фильтра

Фильтр
осушитель фреоновый

Черт. 23
Таблица
57
Марка
|
Условный проход, мм
|
Масса, кг
|
ФОФ-50
|
Ду 50
|
21
|
ФОФ-65
|
Ду 65
|
24,5
|
Таблица 58
Тип аппарата
|
Наименование
|
Типоразмер
|
Код по ОКП
|
Хладагент
|
Рабочее давление не более МПа (кгс/см3)
для исполнения
|
Диапазон температур холодильного агента, °С
|
Стр.
|
общепромышленного
|
для тропиков
|
ФН
|
Фильтр
насосный
|
ФН-65
|
3644631410 06
|
R717
|
1,6 (16)
|
от минус 40
до +55
|
с. 67
|
ФН-80
|
3644631511 07
|
ФН-100
|
3644631506 00
|
ФН-150
|
3644631507 10
|
ФМТ
|
Фильтр масляный
|
ФМТ
|
3644632111 00
|
-
|
2,0 (20)
|
-
|
с. 69
|
МТО
|
Фильтр масляный
|
1,0 МТО
1,5 МТО
|
3644632110 01
3644632108 06
|
R717
|
2,5 (25)
|
2,8 (28)
|
от 50 до 100
|
с. 70
|
МГО
|
Фильтр масляный
|
1,0 МГО
1,5 МГО
|
3644632107 07
3644632106 08
|
R717
|
2,5 (25)
|
2,8 (28)
|
от 50 до 100
|
с. 71
|
ОФ
|
Осушитель* фреоновый
|
ОФ70А
|
3644632401 04
|
R12
R22
|
1,8 (18)
|
2,0 (20)
|
от минус 40
до +50
|
с. 72
|
* модификация
Фильтр насосный типа ФН

Черт. 24
Основные
параметры и размеры
Таблица
59
Размеры
в мм
Обозначение
аппарата
|
D
|
S
|
D1
|
L
|
L1
|
L2
|
L3
|
h
|
Масса, кг
|
ФН-65
|
100
|
4
|
215
|
460
|
190
|
170
|
325
|
250
|
25
|
ФН-80
|
125
|
4
|
245
|
460
|
190
|
170
|
325
|
286
|
30
|
ФН-100
|
150
|
4,5
|
280
|
300
|
32
|
ФН-150
|
207
|
6
|
390
|
350
|
47
|
Условный
проход штуцеров, Ду
Таблица
60
мм
Фильтр масляный ФМТ

Масса 51 кг
Черт. 25
Фильтр
МТО

Черт.
26
Таблица 61
Типоразмер
|
L1,
мм
|
l*
|
Масса, кг
|
Поверхность фильтрации, м2
|
1,6 МТО
|
463
|
148
|
15,8
|
1,62
|
1,0 МТО
|
363
|
98
|
13,7
|
1,08
|
Фильтр
масляный МГО
А-А

Черт. 27
Таблица
62
Типоразмер
|
L, мм
|
l, мм
|
Масса, кг
|
Поверхность фильтрации, м2
|
1,5 МГО
|
490
|
149
|
22,8
|
1,49
|
1,0 МГО
|
390
|
99
|
20,2
|
0,96
|
Осушитель фреоновый типа ОФ70А

Черт.
28
Условный
проход штуцеров, Ду
Таблица 63
Таблица 64
Тип аппарата
|
Наименование
|
Типоразмер
|
Код по ОКП
|
Хладагент
|
Рабочее давление не более МПа (кгс/см3)
для исполнения
|
Диапазон температур холодильного агента, °С
|
Стр.
|
общепромышленного
|
для тропиков
|
ВТ
|
Отделитель
воздуха
|
ВТ-1
|
3644627101 07
|
R717
|
2,0 (20)
|
|
|
|
|
|
|
|
|
|
|
|
Отделитель воздуха ВТ-1

Черт. 29
Основные параметры и
размеры
Таблица 65
Арматура,
поставляемая с аппаратом
Таблица 66
Позиция на
рис. 28
|
Наименование
|
Количество
|
1
|
Вентиль
угловой 1-6-25 ГОСТ 10094-75 15с13бк-1 Ду 6, мм
|
2
|
вместимость в м3
Таблица 67
Тип аппарата
|
Наименование
|
Типоразмер
|
Код по ОКП
|
Хладагент
|
Рабочее давление не более МПа (кгс/см3)
для исполнения
|
Диапазон температур холодильного агента, °С
|
Стр.
|
общепромышленного
|
для тропиков
|
РЕ
|
Емкость расширительная
|
3,5 РЕ
|
3644621709 07
|
R 12
R 22
R 13
|
1,5 (15)
|
от минус 15 до +50
|
с. 77
|
|
|
|
|
|
|
|
|
|
Емкость
расширительная типа 3,5 РЕ

Черт. 30
Основные
параметры и размеры
Таблица 68
Условный
проход штуцеров, Ду
Таблица 69
Арматура,
поставляемая с аппаратом
Таблица 70
Позиция на
черт. 30
|
Наименование
|
Кол. шт.
|
1
|
Клапан предохранительный Т/Ф 17с11нж, Ду 25, мм
|
1
|
2
|
Вентиль
запорный угловой мембранный цапковый Ду 6, мм, 15Б35бк-1
|
1
|
Обязательное
Таблица
Обозначение
штуцера и люка
|
Назначение
|
А
|
Вход
парообразного хладагента
|
Б
|
Вход жидкого
хладагента
|
В
|
Выход
парообразного хладагента
|
Г
|
Выход жидкого
хладагента
|
И
|
Спуск воздуха
|
К
|
К
уравнительной паровой линии
|
К1
|
К
уравнительной жидкостной линии
|
Л
|
Слив жидкого
хладагента
|
М
|
Слив масла
|
П
|
Вход
хладагента в змеевик
|
П1
|
Выход
хладагента из змеевика
|
С1
|
Для
технологических целей
|
Т1
|
Вход
парожидкостной смеси (от испарительных аппаратов)
|
У
|
Спуск
парообразного хладагента
|
Ф
|
Соединение с
атмосферой
|
X
|
Присоединение
к всасывающей линии компрессора, вспомогательному агрегату и циркуляционному
насосу
|
Ч
|
Присоединение
к регулятору уровня
|
Ч1
|
Присоединение
к манометру
|
Э
|
К дренажной
линии (оттайки)
|
Ю
|
Подвод
жидкого хладагента от регулирующей станции
|
Я
|
Люк
|
Я1
|
Люк для
очистки, смотровой
|
М1
|
Вход масла
|
М2
|
Залив масла
|
М3
|
Ревизия маслоспускного
штуцера
|
ИНФОРМАЦИОННЫЕ
ДАННЫЕ
1. Разработан и внесен ВНИИхолодмашем
Разработчики А.В. Быков, И.М. Калнинь, В.Б.
Шпенцер, А.Д. Миломедова
2. Утвержден
и введен в действие указанием Министерства тяжелого машиностроения СССР от
19.06.90 № ВА-002-I-6288
3.
Зарегистрирован НИИхиммашем за
4.
Сведения о сроках и периодичности проверки документа:
срок первой проверки - 1995 г.
периодичность
проверки - 5 лет
5.
Взамен ОСТ 26.03-1453-76
6. Ссылочные НТД
СОДЕРЖАНИЕ
|