Информационная система
«Ёшкин Кот»

XXXecatmenu

ЦЕНТРАЛЬНОЕ БЮРО НОРМАТИВОВ ПО ТРУДУ

МИНИСТЕРСТВА ТРУДА И СОЦИАЛЬНЫХ ВОПРОСОВ СССР

 

МЕЖОТРАСЛЕВЫЕ УКРУПНЕННЫЕ НОРМАТИВЫ ВРЕМЕНИ
НА РАЗРАБОТКУ КОНСТРУКТОРСКОЙ ДОКУМЕНТАЦИИ

 

 

Москва 1991

 

Сборник содержит нормативы времени на разработку конструкторской документации по водам работ: разработку карты технического уровня и качества продукции: конструкторской документации по стадиям: техническое предложение, эскизный проект, техническое предложение, эскизный проект, технический проект, рабочая конструкторская документация, а также на разработку конструкторской документации, рекомендуемой для выполнения на стадиях проектирования. Документация разрабатывается в соответствии с Единой системой конструкторской документации (ЕСКД).

Нормативы времени рекомендованы для применения в конструкторских, технологических и других организациях науки и научного обслуживания, в научно-производственных, производственных объединениях (на комбинатах), на предприятиях (в организациях).

Межотраслевые нормативы времени утверждены постановлением Минтруда СССР 14 ноября 1991 г. № 69.

1. ОБЩАЯ ЧАСТЬ

1.1. Межотраслевые укрупненные нормативы времени на разработку конструкторской документации предназначены для нормирования труда конструкторов, определения их численности, выдачи нормированных заданий и рекомендуются для применения в конструкторских, технологических и других организациях науки и научного обслуживания, научно-производственных объединениях, предприятиях, НИИ и КБ отраслей народного хозяйства.

1.2. В основу разработки межотраслевых укрупненных нормативов времени положены: фотохронометражные наблюдения; данные оперативного учета и отчетности; результаты анализа организации труда и мероприятия по ее совершенствованию.

1.3. Предусмотренные сборником стадии разработки, этапы выполнения работ, комплектность и виды конструкторской документации установлены в соответствии с требованиями Единой системы конструкторской документации (ЕСКД).

1.4. При разработке межотраслевых укрупненных нормативов времени использованы следующие нормативно-методические материалы:

Нормативные материалы по нормированию труда, М., «Экономика», 1986 г.,

Нормирование труда служащих, М., НИИ труда, 1979 г.,

Квалификационный справочник должностей руководителей, специалистов и служащих, М., «Экономика», 1989 г.,

Отраслевые нормативные материалы,

Организация труда ИТР промышленных предприятий, М., НИИ труда, 1984 г.

1.5. В настоящем сборнике приведены нормативы времени на разработку конструкторской документации в соответствии с требованиями ГОСТ 2.102-68 и ГОСТ 15.001-88.

1.6. Укрупненные нормативы времени включают в себя выполнение следующих видов работ: получение задания от руководителя и ознакомление с ним; подготовка рабочего места и чертежных принадлежностей к работе; подбор необходимых материалов (ГОСТов, стандартов, нормалей, чертежей, технической и справочной литературы, руководящих, документов и т.п.); предварительное выполнение оригинала конструкторского документа; консультации и согласование выполненной работы с руководителем, со смежными подразделениями; оформление оригинала конструкторской документации; сдача выполненной работы руководителю.

1.7. Одним из основных требований, на котором основывается норматив времени, является качество разработки оригинала конструкторского документа (КД). Исправление в КД ошибок, допущенных разработчиком, производится за счет основной нормы времени.

1.8. Сборник содержит нормативы оперативного времени в часах Н8 принятую единицу измерения объема работы.

Единицами объема работы приняты: формат чертежа, позиция (текстового документа) и другие измерители, указанные в соответствующих таблицах сборника.

1.9. В качестве нормообразующих факторов в таблицах сборника приняты: количество размеров чертежа, количество деталей, входящих в сборочный чертеж, количество показателей технического уровня изделия, количество элементов схемы и т.д.

1.10. На основе укрупненных нормативов времени производится расчет явочной численности конструкторов, занятых конструированием.

1.10.1. С этой целью определяется годовая трудоемкость нормируемых работ (Тн) в часах с учетом объема каждого вида выполняемых работ по формуле:

Тн = Нвр × Vi,

где Нвр - затраты времени на выполнение конкретного нормируемого вида работы, ч.;

Vi - объем конкретного вида работы, выполняемый за год.

1.10.2. Норма времени на выполнение единицы нормируемой работы рассчитывается по нормативу оперативного времени и определяется по формуле:

Нвр = Н × К,

где Нвр - затраты времени на выполнение конкретного нормируемого вида работы, ч.;

Н - норматив оперативного времени на выполнение данной работы, установленной по сборнику, ч.;

К - коэффициент, учитывающий затраты времени на организационно-техническое обслуживание рабочего места, отдых (включая физкультурные паузы) и личные потребности, % оперативного времени. По результатам анализа карт фотографий и самофотографий рабочего времени конструкторов К принимается равным 1,1.

1.10.3. Годовая трудоемкость ненормируемых работ Тн.н. в часах определяется методом экспертных оценок с учетом объема выполненных работ по формуле:

Тн.н. = Тjн.н. × Vj,

где Тjн.н. - годовая трудоемкость ненормируемой работы конкретного вида;

Vj - годовой объем ненормируемых видов работ.

1.10.4. Общая годовая трудоемкость То работ рассчитывается по формуле:

То = Тн + Тн.н.

1.10.5. Явочная численность работников Чяв определяется по формуле:

где Фп - полезный фонд рабочего времени одного конструктора за год, ч. (принимается в среднем равным 1910 ч.).

1.11. Рекомендуемое распределение конструкторских работ между исполнителями дано в приложении 2.

Руководитель разработки при необходимости может распределять работу между исполнителями по своему усмотрению.

1.12. Нормативы времени установлены на разработку оригинала чертежа нормальной плотности (рекомендуется 80 %) заполнения поля листа, выполняемого одним исполнителем на типографском бланке при машинокопировальном методе изготовления подлинников КД.

При необходимости оформления рамки чертежа и надписей рекомендуем затраты времени устанавливать по «Единым нормам времени на чертежные и копировальные работы», М., «Экономика», 1988 г.

1.13. До введения межотраслевых укрупненных нормативов времени необходимо привести организационно-технические условия выполнения работ в соответствие с запроектированными в сборнике и осуществить производственный инструктаж исполнителей.

1.14. На предприятии, где будут применяться укрупненные нормативы времени, при определении ориентировочной трудоемкости разработки проектируемых изделий, рекомендуем составить классификаторы конкретных объектов конструирования.

Классификаторы оформляются в виде альбомов, справочников, перечней и т.п.

Пример классификатора приведен в приложении 3.

1.15. Если на предприятии (в организации) действуют более прогрессивные нормы времени, то настоящий сборник не является основанием для их изменения.

1.16. На конструкторские работы или документы, не предусмотренные настоящим сборником, рекомендуем устанавливать местные нормы времени общепринятыми методами технического нормирования и утверждать их в установленном порядке.

1.17. Расчет общей трудоемкости по стадиям проектирования конструкторской работы приведен в приложении 4.

Определение общей трудоемкости конструкторских работ при планировании по стадиям проектирования: Техническое предложение (ПТ), Эскизный проект (ЭП), Технический проект (ТП) и Рабочая конструкторская документация (РД) - приводится по таблицам приложения 5. Указанные нормативы времени могут быть скорректированы в зависимости от конкретных условий проектирования.

1.18. Работы по патентным исследованиям необходимо нормировать по сборнику «Нормативы времени на патентные исследования», М., «Экономика», 1987 г.

1.19. Для учета различных факторов, связанных с реальным КД, к нормативам времени применяются поправочные коэффициенты. В случае применения к конкретному нормативу одновременно нескольких поправочных коэффициентов, норматив рассчитывается по формуле:

Нв = Нвт × К1 × К2 × , ..., × Кп,

где Нвт - норматив времени по соответствующей нормативной таблице;

К1, К2, ..., Кп - поправочные коэффициенты.

1.19.1. Если чертеж или другая конструкторская документация выполняется на формате, отличающемся от принятого в данном сборнике, к нормативу времени применяется поправочный коэффициент (К1) в зависимости от фактического формата в соответствии с таблицей 1.

Таблица 1

Формат, указанный в таблицах сборника

Фактический формат КД

А4

А3

А2

А1

А0

Коэффициент к нормативу времени (К1)

А4

1,0

1,6

3,2

6,4

12,8

А3

0,4

1,0

1,6

3,2

6,4

А2

0,2

0,4

1,0

1,6

3,2

А1

0,1

0,2

0,4

1,0

1,6

А0

-

0,1

0,2

0,4

1,0

1.19.2. Укрупненные нормативы времени разработаны на выполнение КД в условиях единичного производства.

Поправочный коэффициент (К2) к нормативам времени в зависимости от типа производства проектируемых изделий для чертежей и текстовых документов приведен в таблице 2.

Таблица 2

Тип производства

Коэффициент К2

Единичное

1,0

Мелкосерийное

1,1

Серийное

1,2

Крупносерийное

1,25

Массовое

1,3

1.19.3. Укрупненные нормативы времени разработаны на исполнение чертежей в масштабе 1:1.

Поправочный коэффициент (К3) к нормативам времени в зависимости от масштаба исполнения чертежа приведен в таблице 3.

Таблица 3

Масштаб чертежа

Коэффициент К2

1:1

1,0

1:2, 1:10, 1:20, 1:100, 1:1000

1,05

1:2,5, 1:4, 1:5, 1:40, 1:50

1,1

1:200, 1:400, 1:500, 1:800

1,1

2:1, 4:1, 5:1

1,1

1:15, 1:25, 1:75

1,15

1.19.4. Укрупненные нормативы времени установлены на разработку КД без использования аппликаций или оригиналов.

Поправочный коэффициент (К4) к нормативам времени в зависимости от использования аппликаций или оригиналов для графических и текстовых документов приведен в таблице 4.

Таблица 4

Отношение площади, занятой аппликацией, ко всей площади чертежа, %

Коэффициент К4

до 20

0,9

21 - 40

0,8

41 - 60

0,6

61 - 80

0,4

Свыше 80

0,3

Примененные (заимствованные)

0,2

1.20. При выполнении документации на экспорт (чертежи и текстовая документация с надписями на русском и иностранном языках) к нормативам времени применяется поправочный коэффициент К5 = 1,25.

1.21. При проектировании изделия, не имеющего аналога, к нормативам времени применяется коэффициент 1,5.

К аналогам относятся изделия отечественного и зарубежного производства того же вида, что и сравниваемое изделие, обладающее общностью функционального назначения, масштабов производства и условий применения.

2. ОРГАНИЗАЦИЯ ТРУДА

2.1. Деятельность специалистов, занятых разработкой конструкторской документации, регламентируется должностными инструкциями, составленными в соответствии с квалификационными характеристиками справочника должностей служащих и спецификой производства.

2.2. Рабочее место конструктора должно быть оснащено современными техническими средствами, набором различных приборов и оборудования, облегчающих работу конструктора и способствующих повышению производительности труда.

Для ускорения процесса черчения целесообразно применение шаблонов, трафаретов, аппликатирования. Это значительно уменьшает утомляемость конструкторов и повышает качество графических работ. Для проведения расчетов рекомендуется использовать микрокалькуляторы, для наиболее сложных - ЭВМ.

2.3. Необходимое условие качественного выполнения конструкторских работ - своевременное обеспечение исполнителей полной информацией. Ее источниками являются монографии, сборники, учебники и руководства, материалы научных конференций, официальные и ведомственные издания, стандарты, межотраслевые и отраслевые технические документы, описания изобретений, технические каталоги и прейскуранты на материалы и оборудование, научно-технические отчеты, диссертации, переводы, справочная литература и т.д.

2.4. Рабочее место исполнителя должно своевременно обеспечиваться чертежными инструментами, бланками, канцелярскими принадлежностями и т.д. Рекомендуется также своевременно проводить профилактический осмотр и ремонт конструкторского оборудования соответствующими службами.

2.5. Рекомендации по организации рабочих мест и условий труда руководителей и специалистов службы «конструкторская подготовка производства» (КПП) приведена в приложении 1.

3. ПРИМЕРЫ НОРМИРОВАНИЯ РАЗРАБОТКИ КОНСТРУКТОРСКОЙ ДОКУМЕНТАЦИИ

Пример 1.

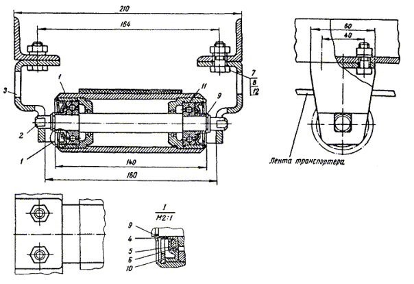
Определить норматив времени на разработку сборочного чертежа роликовой опоры (смотри рис. 1). Сборочный чертеж конструируется на стадии РД для небольшой серии изделий. Назначение опоры - ролик служит опорой ленты транспортёра.

Спецификацией сборочного чертежа предусматривается, что в состав роликовой опоры входят: ролик - позиция 1, количество - 1; оригинальные детали: ось - позиция 2, количество - 1; кронштейн - позиция 3, количество - 2; втулка - позиция 4, количество - 2; обойма - позиция 5, количество - 2; кольцо уплотнительное - позиция 6, количество - 2; стандартные изделия: болт М 8´5 ГОСТ 7798-70, позиция 7, количество - 1*); гайка М 8 ГОСТ 5915-70 - позиция 8, количество - 1; кольцо Б 17 ГОСТ 13942-68 - позиция 9, количество - 1; кольцо Б 40 ГОСТ 1343-68 - позиция 10, количество - 1; подшипник 203 ГОСТ 8338-57 - позиция 11, количество - 1; шайба 865Г ГОСТ 6402-70 - позиция 12, количество - 1, - всего 16 деталей.

*) При подсчете количества стандартных изделий каждое наименование изделия считается за одну деталь, независимо от их количества (фактическое количество болтов М 8´25 ГОСТ 7798-70 - 4 штуки).

По таблице 11 определяем норматив времени на разработку сборочного чертежа, равный 20,8 часа (номер нормы 7).

Поправочный коэффициент на формат А3 К1 = 0,4 (смотри таблицу 1 общей части сборника). Поправочный коэффициент для мелкосерийного типа производства К2 = 1,1 (смотри таблицу 2 общей части сборника).

Следовательно, норматив времени на разработку сборочного чертежа роликовой опоры будет равен:

Нв = 20,8 час. ´ 0,4 ´ 1,1 = 9,15 час.

Рис. 1. Опора роликовая (в скобках указано количество):

1 - ролик (1); оригинальные детали: 2 - ось (1); 3 - кронштейн (2); 4 - втулка (2); 5 - обойма (2); стандартные изделия: 7 - болт М8´25 ГОСТ 7798-70 (1); 8 - гайка М8, ГОСТ 13942-68 (1); 10 - кольцо Б40, ГОСТ 1343-68 (1); 11 - подшипник 203, ГОСТ 8338-57 (1); 12 - шайба 865, ГОСТ 6402-70 (1)

Пример 2.

Определить норматив времени на конструирование чертежа детали «Ось» (смотри рис. 2).

Деталь входит в состав сборочного чертежа опоры роликовой. Деталь представляет собой многоступенчатый вал, изготавливаемый из материала СТ 3 ГОСТ 380-71. Деталь конструируется с учетом изготовления ее небольшой серией на стадии РД, имеет аналог, формат чертежа А4.

После выполнения чертежа с учетом фактического количества размеров 29 по таблице 12 нормативной части сборника определяем норматив времени, который равен 1,4 часа.

Поправочный коэффициент на формат А4 К1 = 1,0 (смотри таблицу 1 в общей части сборника). Поправочный коэффициент на тип производства К2 = 1,1 (смотри таблицу 2 общей части сборника).

Следовательно, норматив времени на конструирование детали «Ось» с учетом поправочных коэффициентов будет равен:

Нв = 1,4 час. ´ 1,0 ´ 1,1 = 1,54 час.

Рис. 2. Ось

4. НОРМАТИВНАЯ ЧАСТЬ

4.1. Нормативы времени на разработку карты технического уровня и качества продукции

Содержание работы. Выбор и обоснование аналога; подбор и обработка исходных данных, согласование с руководителем; заполнение карты технического уровня и качества продукции и проведение необходимых расчетов показателей; оформление и согласование протоколов по экспертной оценке показателей эргономики и эстетики; проведение расчета показателей технического уровня; согласование карты технического уровня и качества продукции с ведущим конструктором.

Таблица 6

Объем карты (форматов А4)

Количество показателей технического уровня изделия

Номер норматива

до 10

11 - 13

14 - 18

19 - 25

26 - 34

35 - 45

46 и более

Норматив времени, ч.

1

2

3

4

5

6

7

8

9

до 6

15,9

18,3

21,1

24,2

27,9

32,0

36,8

1

7

18,3

21,1

24,2

27,9

32,0

36,8

42,4

2

8

21,1

24,2

27,9

32,0

36,8

42,4

48,7

3

9

24,2

27,9

32,0

36,8

42,4

48,7

56,0

4

10 - 11

27,9

32,0

36,8

42,4

48,7

56,0

64,4

5

12 - 13

32,0

36,8

42,4

48,7

56,0

64,4

74,1

6

14 - 15

36,8

42,4

48,7

56,0

64,4

74,1

85,2

7

16 - 17

42,4

48,7

56,0

64,4

74,1

85,2

98,0

8

18 - 20

48,7

56,0

64,4

74,1

85,2

98,0

113

9

21 - 23

56,0

64,4

74,1

85,2

98,0

113

130

10

24 - 27

64,4

74,1

85,2

98,0

113

130

149

11

28 и более

74,1

85,2

98,0

113

130

149

171

12

 

а

б

в

г

д

е

ж

 

4.2. Нормативы времени на разработку конструкторской документации на стадии «Техническое предложение»

Содержание работы. Составление технического предложения на основании анализа технического задания, которое содержит изучение и краткий обзор существующих аналогов как отечественного, так и зарубежного производства; изучение существующих технологических процессов, возможности использования оборудования и увязка с общим технологическим процессом изготовления проектируемых деталей; составление ориентировочного перечня принадлежностей и приспособлений, составление технико-экономического обоснования целесообразности разработки конструкторской документации, разработка конструкторской документации в соответствии с ЕСКД, согласование и утверждение технического предложения.

Таблица 7

Нормативы времени на составление пояснительной записки и ведомости технического предложения на стадии ПТ

Наименование документа

Единица объема работы

Норматив времени, ч.

Номер норматива

Пояснительная записка

Лист формата А4

4,3

1

Ведомость технического предложения

То же

0,27

2

4.3. Нормативы времени на разработку конструкторской документации на стадии «Эскизный проект»

Содержание работы. Получение задания от руководителя и ознакомление с ним; подготовка рабочего места и чертежных принадлежностей к работе; подбор необходимых материалов (ГОСТов, стандартов, нормалей, чертежей, технической и справочной литературы, руководящих документов и т.п.); предварительное выполнение оригинала конструкторского документа; консультации и согласования выполненной работы с руководителем, со смежными подразделениями; оформление оригинала конструкторской документации; сдача выполненной работы руководителю.

Таблица 8

Нормативы времени на составление пояснительной записки и ведомости эскизного проекта на стадии ЭП

Наименование документа

Единица объема работы

Норматив времени, ч.

Номер норматива

Пояснительная записка

Лист формата А4

3,7

1

Ведомость эскизного проекта

То же

0,45

2

4.4. Нормативы времени на разработку конструкторской документации на стадии «Технический проект»

Содержание работы. Получение задания от руководителя и ознакомление с ним; подготовка рабочего места и чертежных принадлежностей к работе; подбор необходимых материалов (ГОСТов, стандартов, нормалей, чертежей, технической и справочной литературы,, руководящих документов и т.п.); предварительное выполнение оригинала конструкторского документа; консультации и согласования выполненной работы с руководителем, со смежными подразделениями; оформление оригинала конструкторской документации; сдача выполненной работы руководителю.

Таблица 9

Нормативы времени на составление пояснительной записки и ведомости технического проекта на стадии ТП

Наименование документа

Единица объема работы

Норматив времени, ч.

Номер норматива

Пояснительная записка

Лист формата А4

3,9

1

Ведомость технического проекта

То же

0,45

2

Таблица 10

Нормативы времени на разработку чертежа общего вида

Единица объема работы

Количество размеров чертежа

Количество показателей технического уровня изделия

Номер норматива

до 5

6 - 15

16 - 25

26 - 35

36 - 45

46 и более

Норматив времени, ч.

Лист формата А1

до 7

20,0

23,0

27,0

30,0

35,0

40,0

1

8 - 12

23,0

27,0

30,0

35,0

40,0

46,0

2

13 - 21

27,0

30,0

35,0

40,0

46,0

53,0

3

22 - 35

30,0

35,0

40,0

46,0

53,0

61,0

4

36 - 60

35,0

40,0

46,0

53,0

61,0

70,0

5

61 - 103

40,0

46,0

53,0

61,0

70,0

81,0

6

104 и более

46,0

53,0

61,0

70,0

81,0

93,0

7

Примечания:

1. При разработке чертежа общего вида на стадии проектирования ЭП к нормативам времени применяется коэффициент 1,5.

2. При разработке чертежа общего вида на стадии проектирования РД к нормативам применяется коэффициент 0,44.

4.5. Нормативы времени на разработку конструкторской документации на стадии «Рабочая конструкторская документация»

Содержание работы. Получение задания от руководителя и ознакомление с ним; подготовка рабочего места и чертежных принадлежностей к работе; подбор необходимых материалов (ГОСТов, стандартов, нормалей, чертежей, технической и справочной литературы, руководящих документов и т.п.); предварительное выполнение оригинала конструкторского документа; консультации и согласования выполненной работы с руководителем, со смежными подразделениями; оформление оригинала конструкторской документации; сдача выполненной работы руководителю.

Таблица 11

Нормативы времени на разработку сборочного чертежа

Единица объема работы

Количество деталей, входящих в сборочный чертеж

Норматив времени, ч.

Номер норматива

Лист формата А1

до 4

9,0

1

5

10,0

2

6 - 7

12,0

3

8 - 9

13,7

4

10 - 12

15,7

5

13 - 15

18,0

6

16 - 20

20,8

7

21 - 26

23,9

8

27 - 34

28,0

9

35 - 45

31,7

10

46 - 59

36,4

11

60 - 77

42,0

12

78 - 100

48,0

13

101 - 131

55,0

14

132 - 172

64,0

15

173 - 224

73,0

16

225 - 295

84,0

17

296 и более

97,0

18

Примечания:

1. Сборочная единица, входящая в сборочный чертеж в собранном виде, учитывается как один элемент.

2. Оригинальные детали подсчитываются по фактическому количеству, входящему в данную сборочную единицу.

3. При подсчете количества стандартных, покупных и прочих изделий каждое наименование изделия считается на одну деталь независимо от их фактического количества в сборочной единице.

4. При наличии в сборочной единице деталей, изготавливаемых без чертежа, последние подсчитываются по фактическому количеству, входящему в данную сборочную единицу.

5. При применении в сборочной единице составных частей в виде материалов, последние подсчитываются аналогично стандартным и прочим изделиям.

Таблица 12

Нормативы времени на разработку чертежа детали

Количество размеров чертежа

Единица объема работы

Номер норматива

А4

А3

А2

А1

А0

Норматив времени, ч.

1

2

3

4

5

6

7

до 5

0,44

-

-

-

-

1

6

0,51

-

-

-

-

2

7 - 8

0,59

0,72

-

-

-

3

9 - 10

0,68

0,83

-

-

-

4

11 - 13

0,78

0,95

1,40

-

-

5

14 - 17

0,90

1,00

1,70

-

-

6

18 - 21

1,00

1,30

1,90

2,90

-

7

22 - 27

1,20

1,40

2,20

3,30

-

8

28 - 34

1,40

1,70

2,50

3,80

5,20

9

35 - 44

1,60

1,90

2,90

4,40

6,00

10

45 - 56

1,80

2,20

3,40

5,00

6,90

11

57 - 71

-

2,50

3,90

5,80

7,90

12

72 - 91

-

2,90

4,40

6,70

9,10

13

92 - 115

-

-

5,10

7,70

10,5

14

116 - 147

-

-

5,9

8,8

12,1

15

148 - 187

-

-

-

10,1

13,9

16

188 - 238

-

-

-

11,7

15,9

17

239 - 300

-

-

-

-

18,4

18

301 и более

-

-

-

-

21,1

19

 

а

б

в

г

д

 

Примечание. При подсчете количества размеров чертежа детали учитываются и приравниваются к одному размеру:

- знак шероховатости поверхности;

- знак допуска формы и расположения поверхности;

- знак маркировки или клеймения;

- обозначение рифления, покрытия, термической и других видов обработки;

- обозначение шва неразъемного соединения;

- пункт технических требований.

4.6. Нормативы времени на разработку конструкторской документации, рекомендуемой для выполнения на стадиях проектирования

Таблица 13

Нормативы времени на разработку теоретического чертежа

Единица объема работы

Количество размеров чертежа

Количество показателей технического уровня изделия

Номер норматива

до 10

11 - 14

15 - 20

21 - 30

31 - 44

45 и более

Норматив времени, ч.

Лист формата А1

до 5

5,2

5,9

6,8

7,8

9,0

10,4

1

6

5,9

6,8

7,8

9,0

10,4

12,0

2

7 - 8

6,8

7,8

9,0

10,4

12,0

13,7

3

9 - 10

7,8

9,0

10,4

12,0

13,7

15,7

4

11 - 13

9,0

10,4

12,0

13,7

15,7

18,0

5

14 - 17

10,4

12,0

13,7

15,7

18,0

20,8

6

18 - 21

12,0

13,7

15,7

18,0

20,8

23,9

7

22 - 27

13,7

15,7

18,0

20,8

23,9

27,5

8

28 - 34

15,7

18,0

20,8

23,9

27,5

31,6

9

35 - 44

18,0

20,8

23,9

27,5

31,6

36,4

10

45 - 56

20,8

23,9

27,5

31,6

36,4

42,0

11

57 - 71

23,9

27,5

31,6

36,4

42,0

48,2

12

72 - 91

27,5

31,6

36,4

42,0

48,2

55,4

13

92 и более

31,6

36,4

42,0

48,2

55,4

63,7

14

 

 

а

б

в

г

д

е

 

Примечания:

1. В табл. 13 приведены нормативы времени на разработку теоретического чертежа на стадии ТП.

2. При разработке теоретического чертежа на стадии ЭП к нормативам времени применять коэффициент 1,5.

Таблица 14

Нормативы времени на разработку габаритного чертежа

Единица объема работы

Количество размеров чертежа

Количество показателей технического уровня изделия

Номер норматива

до 10

11 - 14

15 - 20

21 - 30

31 - 44

45 и более

Норматив времени, ч.

Лист формата А1

до 5

6,7

7,7

8,9

10,2

11,7

13,5

1

6

7,7

8,9

10,2

11,7

13,5

15,5

2

7 - 8

8,9

10,2

11,7

13,5

15,5

17,8

3

9 - 10

10,2

11,7

13,5

15,5

17,8

20,5

4

11 - 13

11,7

13,5

15,5

17,8

20,5

23,6

5

14 - 17

13,5

15,5

17,8

20,5

23,6

27,0

6

18 - 21

15,5

17,8

20,5

23,6

27,0

31,2

7

22 - 27

17,8

20,5

23,6

27,0

31,2

36,0

8

28 - 34

20,5

23,6

27,0

31,2

36,0

41,3

9

35 - 44

23,6

27,0

31,2

36,0

41,3

47,5

10

45 - 56

27,0

31,2

36,0

41,3

47,5

54,6

11

57 - 71

31,2

36,0

41,3

47,5

54,6

62,8

12

72 - 91

36,0

41,3

47,5

54,6

62,8

72,0

13

92 и более

41,3

47,5

54,6

62,8

72,0

83,0

14

 

а

б

в

г

д

е

 

Примечания:

1. В таблице 14 приведены нормативы времени на разработку габаритного чертежа на стадии ТП.

2. При разработке габаритного чертежа на стадии ЭП к нормативам времени применять коэффициент 1,2.

3. При разработке габаритного чертежа на стадии РД к нормативам времени применять коэффициент 1,3.

Таблица 15

Нормативы времени на разработку монтажного чертежа

Единица объема работы

Количество размеров чертежа

Количество показателей технического уровня изделия

Номер норматива

до 10

11 - 14

15 - 20

21 - 30

31 - 44

45 и более

Норматив времени, ч.

Лист формата А1

до 5

-

-

-

4,5

5,2

6,0

1

6

-

-

4,5

5,2

6,0

6,8

2

7 - 8

-

4,5

5,2

6,0

6,8

7,9

3

9 - 10

4,5

5,2

6,0

6,8

7,9

9,0

4

11 - 13

5,2

6,0

6,8

7,9

9,0

10,4

5

14 - 17

6,0

6,8

7,9

9,0

10,4

12,0

6

18 - 21

6,8

7,9

9,0

10,4

12,0

13,9

7

22 - 27

7,9

9,0

10,4

12,0

13,9

15,9

8

28 - 34

9,0

10,4

12,0

13,9

15,9

18,4

9

35 - 44

10,4

12,0

13,9

15,9

18,4

21,0

10

45 - 56

12,0

13,9

15,9

18,4

21,0

24,3

11

57 - 71

13,9

15,9

18,4

21,0

24,3

28,0

12

72 - 91

15,9

18,4

21,0

24,3

28,0

32,0

13

92 и более

18,4

21,0

24,3

28,0

32,0

37,0

14

 

 

а

б

в

г

д

е

 

Примечание. В таблице 15 приведены нормативы времени на разработку монтажного чертежа на стадии РД.

Таблица 16

Нормативы времени на разработку электромонтажного чертежа

Единица объема работы

Количество деталей, входящих в чертеж

Количество показателей технического уровня изделия

Номер норматива

до 10

11 - 14

15 - 20

21 - 30

31 - 44

45 и более

Норматив времени, ч.

Лист формата А1

до 3

3,5

4,0

4,6

5,3

6,1

7,0

1

4

4,0

4,6

5,3

6,1

7,0

8,0

2

5

4,6

5,3

6,1

7,0

8,0

9,3

3

6 - 7

5,3

6,1

7,0

8,0

9,3

10,7

4

8 - 9

6,1

7,0

8,0

9,3

10,7

12,3

5

10 - 11

7,0

8,0

9,3

10,7

12,3

14,2

6

12 - 15

8,0

9,3

10,7

12,3

14,2

16,3

7

16 - 19

9,3

10,7

12,3

14,2

16,5

18,7

8

20 - 25

10,7

12,3

14,2

16,3

18,7

21,5

9

26 - 32

12,3

14,2

16,3

18,7

21,5

24,8

10

33 - 41

14,2

16,3

18,7

21,5

24,8

28,5

11

42 - 54

16,3

18,7

21,5

24,8

28,5

32,8

12

55 - 70

18,7

21,5

24,8

28,5

32,8

37,7

13

71 и более

21,5

24,8

28,5

32,8

37,7

43,3

14

 

а

б

в

г

д

е

 

Таблица 17

Нормативы времени на разработку погрузочного чертежа

Единица объема работы

Вес изделий, кг

Количество изделий, для которых разрабатывается чертеж, шт.

Номер норматива

до 10

11 - 17

18 - 33

34 - 50

51 - 67

83 и более

Норматив времени, ч.

Лист формата А1

до 10

9,0

10,4

11,9

13,7

15,7

18,1

1

11 - 125

10,4

11,9

13,7

15,7

18,1

20,8

2

126 - 250

11,9

13,7

15,7

18,1

20,8

23,9

3

251 - 375

13,7

15,7

18,1

20,8

23,9

27,5

4

376 - 500

15,7

18,1

20,8

23,9

27,5

31,7

5

751 - 625

18,1

20,8

23,9

27,5

31,7

36,4

6

626 - 750

20,8

23,9

27,5

31,7

-

-

7

751 и более

23,9

27,5

-

-

-

-

8

 

а

б

в

г

д

е

 

Таблица 18

Нормативы времени на разработку текстовых документов по погрузке и упаковке изделия

Наименование документа

Единица объема

Норматив времени, ч.

Текстовые документы на упаковочную или погрузочную документацию

Лист формата А4

2,0

Таблица 19

Нормативы времени на разработку упаковочного чертежа

Единица объема работы

Вес изделий, кг

Количество изделий, для которых разрабатывается чертеж, шт.

Номер норматива

до 10

11 - 17

18 - 33

34 - 50

51 - 67

83 и более

Норматив времени, ч.

Лист формата А1

до 10

3,7

4,3

5,7

6,5

7,5

8,6

1

11 - 125

4,3

5,7

6,5

7,5

8,6

10,0

2

126 - 250

5,7

6,5

7,5

8,6

10,0

11,4

3

251 - 375

6,5

7,5

8,6

10,0

11,4

13,0

4

376 - 500

7,5

8,6

10,0

11,4

13,0

15,0

5

501 - 625

8,6

10,0

11,4

13,0

15,0

17,4

6

626 - 750

10,0

11,4

13,0

15,0

-

-

7

751 и более

11,4

13,0

-

-

-

-

8

 

а

б

в

г

д

е

 

Таблица 20

Нормативы времени на разработку электрической схемы

Тип схемы

Единица объема работы

Количество элементов схемы

Норматив времени, ч.

Номер норматива

1

2

3

4

5

Принципиальная

Лист формата А1

до 8

13,5

1

9

15,5

2

10 - 11

17,8

3

12 - 13

20,5

4

14 - 16

23,6

5

17 - 19

27,1

6

20 - 23

31,2

7

24 - 27

35,9

8

28 - 32

41,3

9

33 - 37

47,5

10

38 - 44

54,6

11

45 - 50

62,8

12

51 - 59

72,2

13

60 - 68

83,0

14

69 - 79

96,0

15

80 - 93

110

16

94 и более

126

17

Примечания:

1. За количество элементов схемы принимается количество изображенных на данной схеме элементов. Элемент схемы - составная часть схемы, которая выполняет определенную функцию в изделии и не может быть разделена на части, имеющие самостоятельное функциональное назначение (резистор, транзистор, насос, распределитель, муфта и т.п.).

2. Если схема включает несколько идентичных функциональных групп, то подсчет количества элементов производится в одной функциональной группе, внутренняя схема которой изображается полностью, а каждая последующая функциональная группа изображается условно в соответствии с ГОСТ 2.701-84 и считается как один элемент схемы.

3. При разработке структурных и функциональных схем к нормативу времени применяется коэффициент 0,8; схем соединений и подключений - коэффициент 0,5.

Таблица 21

Нормативы времени на разработку гидравлической и пневматической схем

Тип схемы

Единица объема работы

Количество элементов схемы

Норматив времени, ч.

Номер норматива

Принципиальная

Лист формата А1

до 8

12,3

1

9

14,2

2

10 - 11

16,3

3

12 - 13

18,8

4

14 - 16

21,6

5

17 - 19

24,8

6

20 - 23

28,5

7

24 - 27

32,8

8

28 - 32

37,7

9

33 - 37

43,4

10

38 - 44

49,9

11

45 - 50

57,4

12

51 - 59

66,0

13

60 - 68

75,9

14

69 - 79

87,3

15

80 - 93

100

16

94 и более

115

17

Таблица 22

Нормативы времени на разработку кинематической схемы

Тип схемы

Единица объема работы

Количество элементов схемы

Норматив времени, ч.

Номер норматива

Принципиальная

Лист формата А1

до 8

10,9

1

9

12,6

2

10 - 11

14,5

3

12 - 13

16,7

4

14 - 16

19,2

5

17 - 19

22,1

6

20 - 23

25,4

7

24 - 27

29,2

8

28 - 32

33,6

9

33 - 37

38,6

10

38 - 44

44,4

11

45 - 50

51,1

12

51 - 59

58,7

13

60 - 68

67,6

14

69 - 79

77,7

15

80 - 93

89,3

16

94 и более

103

17

Таблица 23

Нормативы времени на составление текстовых конструкторских документов

Наименование документа

Единица объема работы

Норматив времени, ч.

Номер норматива

Спецификация

Позиция

0,14

1

Ведомость спецификаций

То же

0,11

2

Ведомость ссылочных документов

То же

0,09

3

Ведомость покупных изделий

То же

0,27

4

Ведомость разрешения применения изделий

То же

0,18

5

Ведомость держателей подлинников

То же

0,18

6

Технические условия

Лист формата А4

2,79

7

Программа и методика испытаний

То же

3,24

8

Таблица

То же

0,9

9

Документы эксплуатационные

То же

3,15

10

Документы ремонтные

То же

3,6

11

Таблица 24

Нормативы времени на работы, сопутствующие разработке конструкторской документации

Наименование работы

Единица объема работы

Норматив времени, ч.

Номер норматива

Нормоконтроль чертежа

Лист формата А4

0,45

1

Нормоконтроль текстового документа

То же

0,20

2

Нормоконтроль спецификации или ведомости спецификации

То же

0,14

3

Технологический контроль

То же

0,18

4

Конструкторский контроль

То же

0,45

5

Кодирование и перекодирование чертежей и текстовых документов

Позиция

0,14

6

Петрологический контроль чертежа

Лист формата А4

0,4

7

Метрологический контроль текстового документа

То же

0,2

8

Таблица 25

Нормативы времени на подготовку, проведение и оформление расчетов

Содержание работы. Проведение ориентировочного расчета на основании технического задания; согласование результатов ориентировочного расчета с первоначальным решением конструкции; проведение окончательного расчета.

Единица объема работы

Количество показателей технического уровня изделия

Норматив времени, ч.

Номер норматива

на подготовку и оформление расчетов

на проведение расчетов

Лист формата А4

до 10

0,85

0,95

1

11

0,98

1,1

2

12

1,13

1,3

3

13

1,3

1,4

4

14

1,5

1,7

5

15

1,7

1,9

6

16

2,0

2,2

7

17

2,3

2,5

8

18 - 19

2,6

2,9

9

20 - 21

3,0

3,4

10

22 - 23

3,5

3,9

11

24 - 25

4,0

4,4

12

26 - 28

4,6

5,1

13

29 - 30

5,3

5,9

14

31 - 33

6,1

6,7

15

34 - 36

6,9

7,7

16

37 - 39

8,0

8,9

17

40 и более

9,2

10,2

18

Таблица 26

Нормативы времени на составление служебных документов

Наименование документа

Единица объема работы

Норматив времени, ч.

Номер норматива

Сопроводительное письмо (технического характера)

Лист формата А4

1,8

1

Письмо, требующее технического обоснования

То же

3,6

2

Служебная записка технического характера без иллюстраций

То же

2,25

3

Служебная записка технического характера с иллюстрациями

То же

3,6

4

Протокол по результатам технического совещания

То же

2,7

5

Справка производственного характера

То же

1,8

6

Телеграмма, не требующая поиска технической информации

Один документ

0,9

7

Телеграмма с предварительным поиском технической информации

То же

2,7

8

Таблица 27

Нормативы времени на сверку и исправление текстовых конструкторских документов

Наименование работы

Единица объема работы

Норматив времени, ч.

Номер норматива

Сверка машинописного текста

Лист формата А4

0,14

1

Сверка машинописного текста на иностранном языке

То же

0,45

2

Сверка иллюстраций для каталога запасных частей с контрольными чертежами

То же

0,12

3

Сверка чертежей для цехов с контрольными чертежами (проверка правильности внесения изменений)

То же

0,06

4

Сверка внесенных изменений в контрольные копии и кальки чертежей по извещениям об изменении

Одно изменение

0,03

5

Таблица 28

Нормативы времени на отработку промышленно-художественной эстетики изделия

Содержание работы. Изучение опыта промышленной эстетики в СССР и за рубежом (просмотр каталогов, проспектов, посещение выставок и т.п.), отработка промышленно-художественной эстетики изделия (эскиз), выбор формата, определение масштаба изображения конструкции, изготовление чертежа, согласование формы изделия с руководителем и другими подразделениями, внесение исправлений в документацию.

Единица объема работы

Лимитная цена единицы продукции, руб.

Норматив времени, ч.

Номер норматива

Сборочная единица

до 100

126

1

101 - 10000

171

2

10001 и более

216

3

Таблица 29

Нормативы времени на разработку технического задания

Содержание работы. Анализ заявки на разработку и освоение изделия. Анализ передовых достижений и технического уровня отечественной и зарубежной техники, перспективных типажей и систем машин, оборудования и другой техники, изучение патентной документации, а на продукцию, предназначенную для экспорта, - с учетом требований внешнего рынка.

Определение технических характеристик и основных требований. Подбор и изучение исходных материалов. Определение уровня лимитной цены и согласование ее с предполагаемым изготовителем, расчет годового экономического эффекта по новой продукции и согласование с заказчиком (основным потребителем продукции). Проверка обоснованности расчетов лимитной цены и экономического эффекта.

Определение стадий разработки, этапов работы, комплектности технической документации, порядка сдачи и приемки работ.

Согласование технического задания с заказчиком (основным потребителем продукции), а также, в случае необходимости, с органами госнадзора, внешнеторговыми организациями и другими заинтересованными организациями.

Объем карты (форматов А4)

Количество показателей технического уровня изделия

Номер норматива

до 10

11 - 13

14 - 18

19 - 25

26 - 34

35 - 45

46 и более

Норматив времени, ч.

до 5

20,0

23,0

26,0

30,0

35,0

40,0

46,0

1

7

23,0

26,0

30,0

35,0

40,0

46,0

53,0

2

8

26,0

30,0

35,0

40,0

46,0

53,0

61,0

3

9

30,0

35,0

40,0

46,0

53,0

61,0

70,0

4

10 - 11

35,0

40,0

46,0

53,0

61,0

70,0

81,0

5

12 - 13

40,0

46,0

53,0

61,0

70,0

81,0

93,0

6

14 - 15

46,0

53,0

61,0

70,0

81,0

93,0

107

7

16 - 17

53,0

61,0

70,0

81,0

93,0

107

123

8

18 - 20

61,0

70,0

81,0

93,0

107

123

142

9

21 - 23

70,0

81,0

93,0

107

123

142

163

10

24 - 27

81,0

93,0

107

123

142

163

187

11

28 и более

93,0

107

123

142

163

187

215

12

 

а

б

в

г

д

е

ж

 

Таблица 30

Нормативы времени на рассмотрение технической документации и выдачу заключения

Наименование работы

Единица объема работы

Норматив времени, ч.

Номер норматива

Рассмотрение проектов стандартов, технических заданий, технических условий, инструкций, методик испытаний и т.п.:

Лист формата А4

 

 

- с выдачей заключения,

 

0,9

1

- без выдачи заключения

 

0,45

2

Рассмотрение предложений технического характера с выдачей заключения

То же

0,9

3

Рассмотрение заявок и служебных записок от служб предприятия, без выдачи заключения

То же

0,27

4

Таблица 31

Нормативы времени на выполнение работ по унификации

Наименование работы

Единица объема работы

Норматив времени, ч.

Выполнение чертежа детали:

 

 

- с изменением стандартов на материалы, обозначений по ЕСКД, расположения размеров, изображения детали;

Одна деталь

100 % нормы по таблице 12

- с изменением стандартов на материалы, расположения размеров, изображения детали;

То же

90 % нормы по табл. 12

- с изменением расположения размеров, изображения детали;

То же

80 % нормы по табл. 12

- с изменением расположения размеров;

То же

70 % нормы по табл. 12

- без изменения расположения размеров

То же

60 % нормы по табл. 12

Разработка упрощенного чертежа для группы оригинальных деталей

То же

50 % нормы по табл. 12

Группировка деталей по конструктивным и технологическим признакам:

 

 

- при количестве до 50 деталей

То же

0,09

- при количестве от 51 до 100

То же

0,10

- при количестве от 101 до 150 и т.д.

То же

0,11

Унификация деталей:

 

 

- рассмотрение элементов оригинальной детали и сравнение ее с деталью по ГОСТу или стандарту предприятия

Одна деталь

0,09

- рассмотрение сборочной единицы, содержащей оригинальную деталь, с целью выяснения возможности применения детали по ГОСТу или стандарту предприятия

Сборочная единица

0,27

- рассмотрение сборочной единицы, содержащей оригинальную деталь, с целью выяснения возможности применения детали из другой сборочной единицы

То же

0,36

- рассмотрение сборочной единицы, содержащей оригинальную деталь, с целью унификации ее по технологическим признакам

То же

0,27

- разработка и оформление технического предложения по унификации деталей (без эскиза, с проверкой трудоемкости)

Предложение

3,6

- согласование в других подразделениях предложений по унификации:

 

1

без чертежных проработок

То же

0,54

с чертежными проработками

То же

0,72

Разработка стандарта предприятия:

 

 

текстовая часть

Лист формата А4

3,15

таблицы

То же

6,3

Приложение 1

Организация рабочих мест и условия труда руководителей и специалистов службы КПП

В комплексе мероприятий по организации труда служащих по функции «Конструкторская подготовка производства» (КПП) одним из важнейших является рациональная планировка служебных помещений, предусматривающая:

1. Минимум потерь времени при обмене между сотрудниками подразделения необходимой информацией.

2. Свободный подход к средствам технического оснащения.

3. Возможность установления дополнительного оборудования.

4. Соблюдение требований санитарных норм.

Наиболее удобным для планировки рабочих мест являются служебные помещения с соотношением сторон 1:1,5 и более, но не выше 1:2.

Ширина помещения должна быть не менее 2,5 м, а высота - 3,25 м.

Минимальная площадь рабочей зоны должна быть не менее 4 м2 на одного служащего (для конструктора 6 м2).

Наиболее рационально размещать в помещении 10 - 15 конструкторов.

При планировке служебного помещения рабочие места следует располагать так, чтобы источник освещения рабочей зоны находился слева. При одностороннем освещении рекомендуемая ширина помещения не должна превышать 7 м, при двустороннем - 15 м. Рабочее место руководителя подразделения рекомендуется изолировать легкой стеклянной перегородкой, так как отсутствие перегородки создает излишнее неудобство остальным работникам подразделения (прием руководителем посетителей, телефонные разговоры, консультации подчиненных, выдача заданий исполнителям и прием выполненных работ), что в конечном счете, приводит к снижению эффективности труда исполнителем.

При расположении мебели и средств технического оснащения рекомендуется оставлять проходы следующих размеров (минимальные) из расчета на 1 человека:

между перегородками - 65 см;

между столами - 55 см.

Пример планировки служебных помещений конструкторского бюро приводится на рис. 1.

Условные обозначения к рисунку 1:

1 - стол письменный двухтумбовый,

2 - комбайн чертежный,

3 - стул подъемно-поворотный,

4 - стул конторский,

5 - комбинированный шкаф,

6 - стеллаж для регистрового хранения документации,

7 - шкаф комбинированный для регистрового хранения документации и канцелярских товаров,

8 - шкаф для одежды,

9 - секция с выдвижными ящиками,

10 - стенд для чертежей.

Рис. 1. Планировка служебного помещения конструкторского бюро

Планировка рабочих мест

Главный конструктор (начальник отдела) располагается в отдельном помещении (кабинете), площадь которого не должна быть менее 10 м2. Планировка рабочего места должна обеспечить возможность эффективной работы с документами, проведения совещаний и приема посетителей, получения необходимой оперативной информации.

Рабочие места руководителей структурных подразделений отдела главного конструктора рекомендуется размещать как в отдельных кабинетах, так и в служебном помещении структурного подразделения.

При размещении рабочего места руководителя подразделения необходимо предусмотреть стеклянную перегородку и располагать рабочее место невдалеке от входной двери.

Рабочие места рекомендуется располагать вдоль окон помещения, в зависимости от ширины комнаты в два и более рядов. При многорядной планировке рабочих мест необходимо устанавливать дополнительное освещение.

Стеллажи, шкафы для хранения документации и канцелярских принадлежностей и шкафы для одежды устанавливают в таких местах помещения, чтобы они не мешали свободному подходу к рабочим местам, средствам оргтехники и не закрывали источники освещения.

По специфике выполняемых в структурных подразделениях отдела главного конструктора задач по комплектности оснащения рабочих мест мебелью и оргтехникой рабочие места приведены на рис. 2, 3, 4, 5, 6.

Рис. 2. Рабочее место главного конструктора, заместителя главного конструктора:

1 - стол письменный с приставкой; 2 - кресло рабочее; 3 - стол для совещаний; 4 - стул конторский; 5 - шкаф книжный; 6 - шкаф для одежды; 7 - автоматический телефонный справочник; 8 - канцприбор комбинированный; 9 - настольная лампа; 10 - пульт установки телефонной связи.

Рис. 3. Рабочее место начальника бюро, главного инженера проекта, ведущего конструктора:

1 - стол письменный двухтумбовый; 2 - стул конторский; 3 - комбайн чертежный; 4 - лоток для бумаги; 5 - канцприбор комбинированный; 6 - аппарат телефонный; 7 - справочник телефонный автоматический; 8 - корзина для бумаг.

Рис. 4. Рабочее место инженера конструктора I, II, III категории, инженера-конструктора, техника конструктора I, II категории, техника-конструктора, чертежника.

1 - стол письменный двухтумбовый; 2 - стул подъемно-поворотный; 3 - комбайн чертежный; 4 - корзина для бумаг; 5 - лоток для бумаг; 6 - канцприбор комбинированный; 7 - аппарат телефонный; 8 - стенд для чертежей.

Рис. 5. Рабочее место художника-конструктора:

1 - шкаф книжный; 2 - комбайн чертежный; 3 - стол письменный с приставкой; 4 - стул подъемно-поворотный; 5 - аппарат телефонный; 6 - канцприбор комбинированный; 7 - справочник телефонный автоматический; 8 - стойка для вывешивания чертежей

Рис. 6. Рабочее место копировщика:

1 - стол для копировальных работ; 2 - стул подъемно-поворотный; 3 - корзина для бумаг; 4, 5, 6 - набор лекал общего назначения, трафареты и угольники; 7 - ложемент для крупных канцелярских принадлежностей

Оснащение рабочих мест средствами оргтехники

При выборе оргтехники и технических средств рекомендуется исходить из специфики содержания труда работника, трудоемкости и периодичности выполнения отдельных работ, характера взаимосвязей с другими исполнителями функции КПП. Примерный перечень оснащения рабочих мает средствами оргтехники и техническими средствами приведен ниже.

Примерный перечень оснащения рабочих мест конструкторов средствами оргтехники и техническими средствами.

№№ п.п.

Средства оснащения

Количество, шт.

1

2

3

 

Мебель

 

1.

Стол письменный с приставкой

1

2.

Стол письменный двухтумбовый

1

3.

Шкаф для сейфа и одежды

1

4.

Стол для совещаний

1

5.

Стол конструкторский с чертежной доской

1

6.

Шкаф книжный

1

7.

Шкаф для сейфа и одежды

1

8.

Кресло рабочее

1

9.

Стул подъемно-поворотный

1

10.

Стул конторский

1

 

Оборудование и инвентарь

1

11.

Комбайн чертежный

1

12.

Стойка для вывешивания чертежей

1

13.

Корзина для бумаг

1

14.

Лоток для бумаг

1

15.

Щетка-сметка

1

16.

Ножницы

1

 

Оргтехника

 

17.

Диктофон «Дон»

1

18.

Электронно-клавишная вычислительная машина

1

19.

Телефонный аппарат

1

20.

Готовальня универсальная

1

 

Канцелярские принадлежности

 

21.

Канцелярский прибор комбинированный

1

22.

Оргблокнот

1

23.

Механический алфавитный справочник

1

24.

Карандаш «Конструктор» (комплект)

1

25.

Ручка для туши и перья к ней

10

26.

Скрепки канцелярские (комплект)

1

27.

Клей

1

28.

Тушь черная

1

29.

Лента склеивающая

1

30.

Угольники (45° и 30°)

2

31.

Цанговый карандаш

5

32.

Набор пластин для стирания

1

33.

Резинка

5

34.

Рапидограф

1

35.

Краски темперные, гуашь, акварель (набор)

1

36.

Перья плакатные (комплект)

1

37.

Фломастеры (комплект)

1

38.

Кисти (набор)

1

39.

Трафареты шрифтов

5

40.

Цветные карандаши (комплект)

1

41.

Цветная бумага (набор)

1

Условия труда

Эффективность труда работников, занятых конструкторской подготовкой производства, во многом зависит от условий труда.

Для достижения наилучших результатов труда необходимы разработка и внедрение организационно-технических мероприятий, направленных на улучшение условий труда.

Санитарно-гигиенические условия труда предусматривают:

чистоту воздуха;

влажность и температуру воздуха;

допустимые нормы производственного шума и вибрации;

рациональные планировки, обеспечивающие свободный воздухообмен и вентиляцию служебных помещений, необходимую освещенность рабочих мест.

Организационные условия труда предусматривают:

рациональные планировки, обеспечивающие свободный доступ к рабочим местам, средствам оргтехники;

оснащенность рабочих мест необходимой мебелью и средствами оргтехники;

обслуживание рабочих мест;

регламентированный распорядок рабочего дня и т.д.

Для повышения производительности труда необходимо создание на рабочих местах рациональной освещенности. Недостаточное освещение вызывает быструю утомляемость работников. Наиболее эффективным является комбинированное освещение (общее или местное). Общее освещение обеспечивает равномерную освещенность служебного помещения, местное освещение позволяет получить необходимый уровень освещенности на рабочем месте. Применение одного местного освещения недопустимо, так как оно может привести к адаптации зрения. Желательно получить освещенность помещения, по спектральному составу близкую к дневному свету.

Одним из факторов, обеспечивающих эффективность умственного труда, является тишина.

Немаловажную роль играет и озеленение служебных помещений. Цветы улучшают состав воздуха, снижают его температуру, повышают влажность.

Большое значение имеет эстетическое оформление рабочих мест, цвет окружающих объектов. В зоне зрения работающего должны быть цвета средневолновой части спектра. Они более благоприятно действуют на нервную систему человека, улучшают освещенность рабочих мест.

Рекомендации по санитарно-гигиеническим условиям труда и эстетическому оформлению рабочих мест приведены ниже.

Рекомендации по условиям труда

№№ п.п.

Факторы, характеризующие условия труда

Рекомендации

1

2

3

 

Санитарно-гигиенические

 

1.

Кратность обмена воздуха

Двухкратный обмен воздуха в час.

2.

Скорость движения воздуха:

 

 

холодный период года

0,2 м/сек

 

теплый период года

0,35 м/сек

3.

Температура воздуха:

 

 

зимний период года

20 - 22 °С

 

летний период года

22 - 25 °С

4.

Относительная влажность воздуха

50 - 80 %

5.

Вентиляция*)

Приточно-вытяжная

6.

Отопление

Центральное

7.

Освещение:

 

 

общее

500 лк (светильники потолочные, люминесцентные)

 

рабочей зоны (местное)

300 лк (светильники настенные)

8.

Уровень шума

Не более 55 дб

9.

Вибрация

0,5 мм

 

Эстетические

 

10.

Цвет стен

Светло-салатный или светло-голубой (масляно-парафиновые краски)

11.

Цвет потолка

Белый

12.

Цвет пола

Светло-коричневый, зеленый (для покрытия пола рекомендуется паркет или линолеум)

13.

Цвет дверей, окон

Белый

14.

Комнатные растения

Обязательны

*) В районах со средней температурой воздуха в июле 27 °С и выше рекомендуется осуществлять вентиляцию воздуха с помощью установки кондиционирования воздуха.

Приложение 2

Примерное распределение конструкторских работ между исполнителями

№№ п.п.

Вид конструкторской работы

Факторы, влияющие на продолжительность разработки конструкторских документов или номер норматива

Квалификация исполнителя

1

2

3

4

1.

Разработка карты технического уровня и качества продукции

Количество показателей технического уровня изделия:

 

 

 

от 1 до 25

Инженер-конструктор I категории

 

 

от 25 и более

Ведущий конструктор

2.

Составление пояснительной записки к ПТ, ЭП, ТП

№ норматива - 1 табл. 7

Ведущий конструктор

 

 

№ норматива - 1 табл. 8

Инженер-конструктор I категории

 

 

№ норматива - 1 табл. 9

 

3.

Составление ведомости ПТ, ЭП, ТП

№ норматива - 2 табл. 7

№ норматива - 2 табл. 8

№ норматива - 2 табл. 9

Техник-конструктор I категории

4.

Разработка чертежа общего вида

Количество показателей технического уровня изделия:

 

 

 

от 1 до 15

Инженер-конструктор II категории

 

 

от 16 до 35

Инженер-конструктор I категории

 

 

от 36 и более

Ведущий конструктор

5.

Разработка сборочного чертежа

Количество деталей, входящих в сборочный чертеж:

 

 

 

от 1 до 10

Инженер-конструктор,

 

 

от 11 до 20

Инженер-конструктор III категории

 

 

от 21 до 45

Инженер-конструктор II категории

 

 

от 46 и более

Инженер-конструктор I категории

6.

Разработка чертежа детали

Количество размеров чертежа:

 

 

 

от 1 до 10

Техник-конструктор

 

 

от 11 до 21

Техник-конструктор II категории

 

 

от 22 до 44

Техник-конструктор I категории

 

 

от 45 до 91

Инженер-конструктор

 

 

от 92 и более

Инженер-конструктор III и II категории

7.

Разработка теоретического чертежа

Количество показателей технического уровня изделия:

 

 

 

от 1 до 10

Инженер-конструктор III категории

 

 

от 11 до 20

Инженер-конструктор II категории

 

 

от 21 до 44

Инженер-конструктор I категории

 

 

от 45 и более

Ведущий конструктор

8.

Разработка габаритного чертежа

Количество показателей технического уровня изделия:

 

 

 

от 1 до 10

Инженер-конструктор

 

 

от 11 до 20

Инженер-конструктор III категории

 

 

от 21 и боже

Инженер-конструктор II категории

9.

Разработка монтажного чертежа

Количество показателей технического уровня изделия:

 

 

 

от 1 до 20

Инженер-конструктор

 

 

от 21 и более

Инженер-конструктор III категории

10.

Разработка электромонтажного чертежа

Количество показателей технического уровня изделия:

 

 

 

от 1 до 10

Инженер-конструктор

 

 

от 11 до 20

Инженер-конструктор III категории

 

 

от 21 и более

Инженер-конструктор II категории

11.

Разработка погрузочного чертежа

Количество изделий:

 

 

 

от 1 до 10

Инженер-конструктор

 

 

от 11 до 50

Инженер-конструктор III категории

 

 

от 51 и более

Инженер-конструктор II категории

12.

Разработка упаковочного чертежа

Количество изделий:

 

 

 

от 1 до 10

Техник-конструктор I категории

 

 

от 11 до 33

Инженер-конструктор

 

 

от 34 и более

Инженер-конструктор III категории

13.

Разработка электрической схемы

Количество элементов схемы:

 

 

 

от 1 до 50

Инженер-конструктор I категории

 

 

от 51 и более

Ведущий конструктор

14.

Разработка схемы гидравлической и пневматической

Количество элементов схемы:

 

 

 

от 1 до 8

Инженер-конструктор

 

 

от 9 до 19

Инженер-конструктор III категории

 

 

от 20 до 50

Инженер-конструктор II категории

 

 

от 51 до 79

Инженер-конструктор I категории

 

 

от 80 и более

Ведущий конструктор

15.

Разработка схемы кинематической

Количество элементов схемы:

 

 

 

от 1 до 19

Инженер-конструктор III категории

 

 

от 20 до 50

Инженер-конструктор II категории

 

 

от 51 и более

Инженер-конструктор I категории

16.

Составление спецификации и ведомости спецификации

 

Разработчик сборочного чертежа (сборочной единицы)

17.

Составление ведомости ссылочных документов

 

Техник-конструктор

18.

Составление ведомости покупных изделий

 

Техник-конструктор I категории,

Инженер-конструктор

19.

Составление ведомости разрешения применения изделий

 

Техник-конструктор,

Техник-конструктор I и II категории,

Инженер-конструктор

20.

Составление ведомости держателей подлинников

 

Техник-конструктор,

Техник-конструктор I и II категории,

Инженер-конструктор

21.

Составление технических условий

 

Инженер-конструктор I и II категории,

Ведущий конструктор

22.

Составление программы и методики испытаний

 

Инженер-конструктор III, II, I категории

23.

Составление документов эксплуатационных

 

Техник-конструктор,

Инженер-конструктор,

Инженер-конструктор III категории

24.

Составление документов ремонтных

 

Техник-конструктор I категории,

Инженер-конструктор, Инженер-конструктор III категории

25.

Нормализованный контроль

 

Инженер по стандартизации I и II категории

26.

Технологический контроль

 

Инженер-технолог I и II категории

27.

Конструкторский контроль

 

Ведущий конструктор,

Инженер-конструктор I категории

28.

Разработка технического задания

Количество показателей технического уровня изделия:

 

 

 

от 1 до 25

Инженер-конструктор I категории

 

 

от 26 и более

Ведущий конструктор

29.

Отработка промышленно-художественной эстетики изделия

 

Художник-конструктор (дизайнер) I, II, III категории

Примечание: Руководитель проекта по своему усмотрению может осуществлять распределение работ между исполнителями в зависимости от сложности конструируемых изделий.

Приложение 3

Пример классификатора объектов конструирования

Наименование изделия (конструкторская документация)

Тип, вид, назначение изделия

Количество показателей технич. уровня изделия

Количество деталей, входящих в сборочный чертеж

Количество размеров чертежа

Количество элементов схемы

Норматив времени, ч.

Опора роликовая

Служит опорой ленты транспортера

5

16 - 20

-

-

20,8

Ось

Входит в состав опоры роликовой

-

-

28 - 34

-

1,4

Схема электрическая и т.д.

 

-

-

-

45 - 50

62,8

Приложение 4

Определение общей трудоемкости проектирования изделия

Расчет общей трудоемкости проектирования изделия производится по формуле:

где: Ттз - трудоемкость разработки технического задания;

 - трудоемкость разработки изделия на соответствующую стадию проектирования, рассчитанная по формуле:

где: , , ,  - затраты времени на разработку соответствующей стадии: «Технического предложения», «Эскизного проекта», «Технического проекта», «Рабочей конструкторской документации» определяются по таблицам 33, 34, 35, 36 Приложения 5.

Лимитная цена на единицу продукции установлена в ценах 1990 г. При изменении лимитной цены на изделие из-за увеличения (уменьшения) ценообразующих составляющих, лимитная цена изделия приводится к базовой.

Приложение 5

Примерное распределение затрат времени по стадиям проектирования

1. Разработка технического предложения

Содержание работы. Выявление вариантов возможных решений, установление особенностей вариантов (принципов действия, размещения функциональных составных частей и т.п.), их конструктивная проработка; проверка вариантов на патентную чистоту и конкурентоспособность, оформление заявок на изобретения; проверка соответствия вариантов требованиям техники безопасности и производственной санитарии; сравнительная оценка рассматриваемых вариантов по показателям качества изделия; выбор оптимального варианта изделия, обоснование выбора; установление требований к изданию (технических характеристик, показателей качества и др.) и к последующей стадии разработки изделия.

Таблица 33

Нормативы времени на разработку технического предложения

Лимитная цена единицы продукции, руб.

Количество показателей технического уровня изделия

Номер норматива

до 6

7 - 12

13 - 18

19 - 23

24 - 29

30 - 35

36 - 42

43 - 48

49 и более

Норматив времени, ч.

1

2

3

4

5

6

7

8

9

10

11

До 100

11,4

13,0

15,0

17,0

20,0

23,0

26,0

30,0

35,0

1

101 - 135

13,0

15,0

17,0

20,0

23,0

26,0

30,0

35,0

40,0

2

136 - 185

15,0

17,0

20,0

23,0

26,0

30,0

35,0

40,0

46,0

3

186 - 260

17,0

20,0

23,0

26,0

30,0

35,0

40,0

46,0

53,0

4

261 - 360

20,0

23,0

26,0

30,0

35,0

40,0

46,0

53,0

61,0

5

361 - 490

23,0

26,0

30,0

35,0

40,0

46,0

53,0

61,0

70,0

6

491 - 680

26,0

30,0

35,0

40,0

46,0

53,0

61,0

70,0

81,0

7

681 - 950

30,0

35,0

40,0

46,0

53,0

61,0

70,0

81,0

93,0

8

951 - 1300

35,0

40,0

46,0

53,0

61,0

70,0

81,0

93,0

107

9

1301 - 1800

40,0

46,0

53,0

61,0

70,0

81,0

93,0

107

123

10

1801 - 2500

46,0

53,0

61,0

70,0

81,0

93,0

107

123

141

11

2501 - 3500

53,0

61,0

70,0

81,0

93,0

107

123

141

162

12

3501 - 4800

61,0

70,0

81,0

93,0

107

123

141

162

187

13

4801 - 6600

70,0

81,0

93,0

107

123

141

162

187

215

14

6601 - 9200

81,0

93,0

107

123

141

162

187

215

247

15

9201 - 12700

93,0

107

123

141

162

187

215

247

284

16

12701 - 17600

107

123

141

162

187

215

247

284

326

17

17601 - 25000

123

141

162

187

215

247

284

326

375

18

25001 и более

141

162

187

215

247

284

326

375

432

19

 

а

б

в

г

д

е

ж

з

и

 

2. Разработка эскизного проекта

Содержание работы. Выбор вариантов возможных решений, установление особенностей вариантов (характеристики вариантов составных частей и т.п.), их конструктивная проработка; предварительное решение вопросов упаковки и транспортировки изделия; разработка и обоснование технических решений, направленных на обеспечение показателей надежности, установленных техническим заданием (ТЗ) и техническим предложением (ТП); оценка изделия на технологичность; оценка изделия по показателям стандартизации и унификации; оценка изделия в отношении его соответствия эргономики, технической эстетики; проверка вариантов на патентную чистоту и конкурентоспособность, оформление заявок на изобретения; проверка соответствия вариантов требованиям техники безопасности и производственной санитарии; сравнительная оценка рассматриваемых вариантов; вопросы метрологического обеспечения разрабатываемого изделия; выбор оптимального варианта изделия, обоснование выбора; принятие принципиальных решений; подтверждение предъявляемых к издателю требований (технических характеристик, показателей качества и др.); установленных ТЗ и ТП и определение технико-экономических характеристик и показателей, не установленных ТЗ и ТП; выявление на основе принятых принципиальных решений новых изделий и материалов, которые должны быть разработаны другими предприятиями, составление технических требований к этим изделиям и материалам; составление перечня работ, которые следует провести на следующей стадии разработки в дополнение или уточнение работ, предусмотренных ТЗ и ТП.

Таблица 34

Нормативы времени на разработку эскизного проекта

Лимитная цена единицы продукции, руб.

Количество показателей технического уровня изделия

Номер норматива

до 7

8 - 15

16 - 22

23 - 30

31 - 37

38 - 45

46 и более

Норматив времени, ч.

1

2

3

4

5

7

7

8

9

До 100

17,0

20,0

23,0

26,0

30,0

35,0

40,0

1

101 - 120

20,0

23,0

26,0

30,0

35,0

40,0

46,0

2

121 - 150

23,0

26,0

30,0

35,0

40,0

46,0

52,0

3

151 - 185

26,0

30,0

35,0

40,0

46,0

52,0

60,0

4

186 - 230

30,0

35,0

40,0

46,0

52,0

60,0

69,0

5

231 - 280

35,0

40,0

46,0

52,0

60,0

69,0

80,0

6

281 - 350

40,0

46,0

52,0

60,0

69,0

80,0

92,0

7

351 - 430

46,0

52,0

60,0

69,0

80,0

92,0

105

8

431 - 530

52,0

60,0

69,0

80,0

92,0

105

121

9

531 - 650

60,0

69,0

80,0

92,0

105

121

139

10

651 - 800

69,0

80,0

92,0

105

121

139

160

11

801 - 980

80,0

92,0

105

121

139

160

184

12

981 - 1210

92,0

105

121

139

160

184

212

13

1211 - 1500

105

121

139

160

184

212

243

14

1501 - 1800

121

139

160

184

212

243

270

15

1801 - 2300

139

160

184

212

243

270

322

16

2301 - 2800

160

184

212

243

270

322

370

17

2801 - 3400

184

212

243

270

322

370

426

18

3401 - 4200

212

243

270

322

370

426

490

19

4201 - 5200

243

270

322

370

426

490

563

20

5201 - 6400

270

322

370

426

490

563

647

21

6401 - 8000

322

370

426

490

563

647

744

22

8001 - 9800

370

426

490

563

647

744

856

23

9801 - 12000

426

490

563

647

744

856

985

24

12001 - 15000

490

563

647

744

856

985

1132

25

15001 - 18000

563

647

744

856

985

1132

1302

26

18001 - 25000

647

744

856

985

1132

1302

1497

27

25001 и более

744

856

985

1132

1302

1497

1722

28

 

а

б

в

г

д

е

ж

 

3. Разработка технического проекта

Разработка конструкторских решений изделия и его основных составных частей; выполнение необходимых расчетов, в том числе, подтверждающих технико-экономические показатели, установление ТЗ; выполнение необходимых принципиальных схем, схем соединений и др.; разработка и обоснование технических решений, обеспечивающих показатели надежности, установленные ТЗ и предшествующими стадиями разработки; анализ конструкции на технологичность; оценка изделия на соответствие требованиям эргономики, технической эстетики; оценка возможности транспортирования, хранения, а также монтажа изделия на месте его применения; оценка эксплуатационных данных изделия; окончательное оформление заявок на разработку и изготовление новых изделий и материалов, применяемых в разрабатываемом изделии;

проверка изделия на патентную чистоту и конкурентоспособность, оформление заявок на изобретения; выявление номенклатуры покупных изделий, согласование применения покупных изделий; согласование габаритных, установочных и присоединительных размеров с заказчиком или основным потребителем; оценка технического уровня и качества изделия; разработка чертежей сборочных единиц и деталей, проверка соответствия принимаемых решений требованиям техники безопасности и производственной санитарии; составление перечня работ, которые следует провести на стадии разработки рабочей документации в дополнение и уточнение работ, предусмотренных техническим предложением и эскизным проектом.

Таблица 35

Нормативы времени на разработку технического проекта

Лимитная цена единицы продукции, руб.

Количество показателей технического уровня изделия

Номер норматива

до 7

8 - 15

16 - 22

23 - 30

31 - 37

38 - 45

46 и более

Норматив времени, ч.

1

2

3

4

5

6

7

8

9

До 100

29,0

33,0

38,0

44,0

51,0

58,0

67,0

1

101 - 145

33,0

38,0

44,0

51,0

58,0

67,0

77,0

2

146 - 180

38,0

44,0

51,0

58,0

67,0

77,0

89,0

3

181 - 220

44,0

51,0

58,0

67,0

77,0

89,0

102

4

221 - 270

51,0

58,0

67,0

77,0

89,0

102

117

5

271 - 330

58,0

67,0

77,0

89,0

102

117

135

6

331 - 400

67,0

77,0

89,0

102

117

135

155

7

401 - 500

77,0

89,0

102

117

135

155

178

8

501 - 610

89,0

102

117

135

155

178

205

9

611 - 750

102

117

135

155

178

205

236

10

751 - 920

117

135

155

178

205

236

271

11

921 - 1130

135

155

178

205

236

271

312

12

1131 - 1400

155

178

205

236

271

312

350

13

1401 - 1700

178

205

236

271

312

350

402

14

1701 - 2100

205

236

271

312

350

402

462

15

2101 - 2600

236

271

312

350

402

462

532

16

2601 - 3100

271

312

350

402

462

532

611

17

3101 - 3900

312

350

402

462

532

611

703

18

3901 - 4700

350

402

462

532

611

703

809

19

4701 - 5800

402

462

532

611

703

809

930

20

5801 - 7200

462

532

611

703

809

930

1069

21

7201 - 8800

532

611

703

809

930

1069

1230

22

8801 - 11000

611

703

809

930

1069

1230

1414

23

11001 - 13000

703

809

930

1069

1230

1414

1626

24

13001 - 16000

809

930

1069

1230

1414

1626

1870

25

16001 - 20000

930

1069

1230

1414

1626

1870

2151

26

20001 - 25000

1069

1230

1414

1626

1870

2151

2473

27

25000 и более

1230

1414

1626

1870

2151

2473

2844

28

 

а

б

в

г

д

е

ж

 

4. Разработка рабочей конструкторской документации

Содержание работы. Получение работы и ознакомление с ней; подготовка рабочего места и чертежных принадлежностей; проработка документов технического проекта; подбор необходимых чертежей, стандартов, справочной и технической литературы; выбор масштаба и формата конструкторских документов; вычерчивание чертежей и проведение необходимых расчетов; получение консультаций у руководителя работ; проверка, внесение изменений в документацию после проверки; нормоконтроль; сдача работы.

Таблица 36

Нормативы времени на разработку рабочей конструкторской документации

Лимитная цена единицы продукции, руб.

Количество показателей технического уровня изделия

Номер норматива

до 7

8 - 15

16 - 21

22 - 30

31 - 37

38 - 45

46 и более

Норматив времени, ч.

1

2

3

4

5

6

7

8

9

До 100

57,0

66,0

75,0

87,0

100

115

132

1

101 - 120

66,0

75,0

87,0

100

115

132

152

2

121 - 150

75,0

87,0

100

115

132

152

174

3

151 - 185

87,0

100

115

132

152

174

201

4

186 - 230

100

115

132

152

174

201

231

5

231 - 280

115

132

152

174

201

231

265

6

281 - 350

132

152

174

200

231

265

305

7

351 - 430

152

174

201

231

265

305

351

8

431 - 530

174

201

231

265

305

351

403

9

531 - 650

201

231

265

305

351

403

463

10

651 - 800

231

265

305

351

403

463

533

11

801 - 980

265

305

351

403

463

533

613

12

981 - 1210

305

351

403

463

533

613

705

13

1211 - 1500

351

403

463

533

613

705

811

14

1501 - 1800

403

463

533

613

705

811

933

15

1801 - 2300

463

533

613

705

811

933

1073

16

2301 - 2800

533

613

705

811

933

1073

1234

17

2801 - 3400

613

705

811

933

1073

1234

1419

18

3401 - 4200

705

811

933

1073

1234

1419

1632

19

4201 - 5200

811

933

1073

1234

1419

1632

1876

20

5201 - 6400

933

1073

1234

1419

1632

1876

2158

21

6401 - 8000

1073

1234

1419

1632

1876

2158

2482

22

8001 - 9800

1234

1419

1632

1876

2158

2482

2854

23

9801 - 12000

1419

1632

1876

2158

2482

2854

3282

24

12001 - 15000

1632

1876

2158

2482

2854

3282

3774

25

15001 - 18000

1876

2158

2482

2854

3282

3774

4341

26

18001 - 25000

2158

2482

2854

3282

3774

4341

4992

27

25001 и более

2482

2854

3282

3774

4341

4992

5740

28

 

а

б

в

г

д

е

ж

 

СОДЕРЖАНИЕ

1. Общая часть. 1

2. Организация труда. 4

3. Примеры нормирования разработки конструкторской документации. 5

4. Нормативная часть. 7

4.1. Нормативы времени на разработку карты технического уровня и качества продукции. 7

4.2. Нормативы времени на разработку конструкторской документации на стадии «Техническое предложение». 7

4.3. Нормативы времени на разработку конструкторской документации на стадии «Эскизный проект». 8

4.4. Нормативы времени на разработку конструкторской документации на стадии «Технический проект». 8

4.5. Нормативы времени на разработку конструкторской документации на стадии «Рабочая конструкторская документация». 9

4.6. Нормативы времени на разработку конструкторской документации, рекомендуемой для выполнения на стадиях проектирования. 10

Приложение 1 Организация рабочих мест и условия труда руководителей и специалистов службы КПП.. 18

Приложение 2 Примерное распределение конструкторских работ между исполнителями. 24

Приложение 3 Пример классификатора объектов конструирования. 27

Приложение 4 Определение общей трудоемкости проектирования изделия. 28

Приложение 5 Примерное распределение затрат времени по стадиям проектирования. 28

 



© 2013 Ёшкин Кот :-)