ОТРАСЛЕВОЙ
стандарт
КОМПЕНСАТОР УГЛОВОЙ ОДНОЛИНЗОВЫЙ
НА Ру
≤ 1,6 МПа (16 кгс/см2)
|
ОСТ
34-10-573-93
|
Конструкция и размеры
|
Дата введения 01.01.94
Настоящий стандарт распространяется на однолинзовые
угловые компенсаторы Dу от 100 до 2200 мм,
предназначенные для компенсации температурных изменений длины трубопроводов в
П-образной, Г-образной, Z-образной и
других шарнирных схемах компенсации, работающих в условиях неагрессивных и
малоагрессивных сред, с условным давлением Ру до 1,6 МПа (16 кгс/см2)
и температурой до 300 °С и для Dу ≤ 400 мм температурой до 425 °С.
1 КОНСТРУКЦИЯ И РАЗМЕРЫ УГЛОВЫХ ОДНОЛИНЗОВЫХ
КОМПЕНСаторов
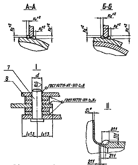
1.1. Конструкция и размеры угловых однолинзовых
компенсаторов должны соответствовать указанным на черт. 1 и в табл. 1 и 2.
1.2. Сборка автоматическая или полуавтоматическая в
углекислом газе.
Проволока СВ-08ГС или СВ-08Г2С по ГОСТ 2246.
1.3. Неуказанные предельные отклонения размеров 
1.4. Остальные технические требования по ОСТ
34-10-581.

____________
* Размеры для справок
Черт.
1

____________
* Размеры для справок
Черт.
1

____________
* Размеры для справок
** Кз - по наименьшей
толщине свариваемых деталей.
Черт.
1

____________
* Размеры для справок
Черт.
1
Таблица 1
Размеры
в мм
Обозначение компенсатора
|
Давление
условное Ру МПа (кгс/см2)
|
Проход условный Dy
|
Dн
|
L
|
H
|
В
|
d (пред. откл. Н12)
|
l
|
l1
|
l2
|
l3
|
l4
|
S
|
S1
|
к
|
к1
|
к2
|
Техническая характеристика
|
Масса, кг
|
Угол изгиба компенсатора γ, град
|
Жесткость
линзы на изгиб (н·м)/град
|
01
ОСТ 34-10-573
|
0,6 (6)
|
100
|
108
|
404
|
360
|
40
|
8
|
45
|
100
|
20
|
-
|
-
|
4
|
2,5
|
4
|
4
|
4
|
2°42'
|
79
|
9
|
02
|
125
|
133
|
385
|
2°27'
|
121
|
10
|
03
|
150
|
159
|
415
|
12
|
5
|
5
|
2°15'
|
178
|
11
|
04
|
200
|
219
|
464
|
515
|
150
|
7
|
7
|
1°52'
|
367
|
23
|
05
|
250
|
273
|
565
|
60
|
16
|
30
|
8
|
9
|
1°37'
|
621
|
31
|
06
|
300
|
325
|
620
|
1°27'
|
955
|
39
|
07
|
350
|
377
|
564
|
670
|
20
|
200
|
9
|
6
|
1°18'
|
1390
|
61
|
08
|
400
|
426
|
720
|
80
|
25
|
40
|
6
|
1°11'
|
1910
|
70
|
09
|
450
|
478
|
664
|
810
|
250
|
7
|
8
|
1°5'
|
2550
|
81
|
10
|
500
|
530
|
865
|
32
|
8
|
8
|
0°59'
|
3390
|
97
|
11
|
600
|
630
|
784
|
1020
|
100
|
40
|
50
|
300
|
50
|
0°52'
|
5390
|
145
|
12
|
700
|
720
|
1110
|
120
|
60
|
10
|
10
|
8
|
0°46'
|
7770
|
193
|
13
|
800
|
820
|
1205
|
150
|
11
|
10
|
0°40'
|
11000
|
232
|
14
|
900
|
920
|
944
|
1310
|
50
|
65
|
360
|
75
|
12
|
0°38'
|
15300
|
324
|
15
ОСТ 34-10-573
|
1000
|
1020
|
1410
|
14
|
12
|
12
|
0°32'
|
20500
|
395
|
16
|
1200
|
1220
|
1064
|
1665
|
200
|
60
|
85
|
400
|
95
|
3
|
10
|
0°27'
|
59800
|
586
|
17
|
1400
|
1420
|
1304
|
1900
|
250
|
70
|
100
|
500
|
115
|
14
|
0°24'
|
92200
|
815
|
18
|
1600
|
1620
|
2090
|
300
|
80
|
20
|
16
|
14
|
0°21'
|
134523
|
1239
|
19
|
1800
|
1820
|
2295
|
25
|
18
|
0°19'
|
188451
|
1669
|
20
|
2000
|
2040
|
1514
|
2520
|
90
|
110
|
900
|
120
|
20
|
12
|
0°17'
|
262236
|
2163
|
21
|
2200
|
2240
|
2710
|
350
|
0°15'
|
344017
|
2371
|
22
|
1,0 (10)
|
100
|
108
|
404
|
360
|
40
|
12
|
45
|
100
|
20
|
4
|
4
|
4
|
5
|
2°04'
|
139
|
9
|
23
|
125
|
133
|
385
|
6
|
1°53'
|
213
|
10
|
24
|
150
|
159
|
415
|
5
|
7
|
1°43'
|
313
|
12
|
25
|
200
|
219
|
464
|
510
|
60
|
16
|
150
|
30
|
7
|
9
|
1°26'
|
645
|
26
|
26
|
250
|
273
|
565
|
20
|
8
|
6
|
10
|
1°15'
|
1092
|
33
|
27
|
300
|
325
|
564
|
620
|
200
|
1°7'
|
1679
|
50
|
28
|
350
|
377
|
670
|
80
|
25
|
40
|
9
|
1°0'
|
2445
|
64
|
29
|
400
|
426
|
664
|
760
|
32
|
250
|
8
|
6
|
8
|
0°55'
|
3350
|
89
|
30
ОСТ 34-10-573
|
450
|
478
|
810
|
10
|
0°50'
|
4530
|
105
|
31
|
500
|
530
|
860
|
100
|
40
|
250
|
50
|
11
|
10
|
0°46'
|
5960
|
126
|
32
|
600
|
630
|
784
|
1020
|
120
|
50
|
300
|
60
|
12
|
10
|
10
|
0°40'
|
9490
|
209
|
33
|
700
|
720
|
1110
|
50
|
14
|
4
|
12
|
12
|
0°32'
|
33500
|
265
|
34
|
800
|
820
|
964
|
1195
|
200
|
80
|
360
|
95
|
16
|
0°29'
|
48000
|
428
|
35
|
900
|
920
|
1300
|
60
|
18
|
14
|
14
|
0°26'
|
66200
|
511
|
36
|
1000
|
1020
|
1460
|
70
|
20
|
16
|
0°24'
|
88400
|
624
|
37
|
1200
|
1220
|
1164
|
1665
|
80
|
450
|
16
|
12
|
18
|
0°20'
|
147000
|
873
|
38
|
1400
|
1420
|
1344
|
1900
|
250
|
90
|
115
|
500
|
125
|
25
|
18
|
14
|
20
|
0°17'
|
226000
|
1411
|
39
|
1,6 (16)
|
100
|
108
|
404
|
360
|
40
|
12
|
45
|
100
|
20
|
4
|
4
|
4
|
6
|
1°36'
|
344
|
10
|
40
|
125
|
133
|
385
|
16
|
1°28'
|
526
|
11
|
41
|
150
|
159
|
464
|
445
|
60
|
150
|
30
|
5
|
6
|
7
|
1°20'
|
771
|
21
|
42
|
200
|
219
|
510
|
20
|
7
|
8
|
1°07'
|
1588
|
28
|
43
|
250
|
273
|
564
|
560
|
80
|
200
|
40
|
8
|
6
|
10
|
0°58'
|
2685
|
47
|
44
|
300
|
325
|
615
|
25
|
0°51'
|
4127
|
57
|
45
ОСТ 34-10-573
|
350
|
377
|
665
|
100
|
32
|
50
|
9
|
8
|
0°46'
|
6007
|
71
|
46
|
400
|
426
|
784
|
815
|
40
|
300
|
8
|
0°42'
|
8230
|
119
|
47
|
450
|
478
|
865
|
10
|
10
|
8
|
0°39'
|
11100
|
140
|
48
|
500
|
530
|
904
|
915
|
120
|
50
|
50
|
360
|
60
|
11
|
10
|
10
|
0°35'
|
14630
|
198
|
49
|
600
|
630
|
1020
|
14
|
12
|
0°31'
|
23300
|
252
|
50
|
700
|
720
|
964
|
1090
|
200
|
60
|
80
|
95
|
16
|
12
|
0°28'
|
33500
|
397
|
51
|
800
|
820
|
1255
|
18
|
16
|
12
|
16
|
0°25'
|
48000
|
501
|
52
|
900
|
920
|
1064
|
1360
|
70
|
400
|
20
|
0°22'
|
66200
|
546
|
53
|
1000
|
1020
|
1264
|
1500
|
80
|
500
|
0°20'
|
88400
|
832
|
54
|
1200
|
1220
|
1544
|
1700
|
220
|
90
|
115
|
600
|
110
|
25
|
20
|
14
|
20
|
0°17'
|
147000
|
1458
|
55
|
1400
|
1420
|
1744
|
1940
|
250
|
100
|
700
|
125
|
0°14'
|
226000
|
1898
|
С усиливающей подушкой
|
56
ОСТ 34-10-573
|
1,0 (10)
|
700
|
720
|
1064
|
1125
|
120
|
50
|
80
|
360
|
60
|
450
|
25
|
10
|
4
|
12
|
10
|
10
|
0°32'
|
33500
|
321
|
57
|
800
|
820
|
1215
|
200
|
100
|
11
|
0°29'
|
48000
|
430
|
58
|
900
|
920
|
1124
|
1320
|
60
|
100
|
40
|
12
|
12
|
0°26'
|
66200
|
501
|
59
|
1000
|
1020
|
1480
|
70
|
14
|
0°24'
|
88400
|
639
|
60
ОСТ 34-10-573
|
1200
|
1220
|
1624
|
1730
|
80
|
120
|
500
|
700
|
16
|
12
|
0°20'
|
147000
|
1098
|
61
|
1400
|
1420
|
1964
|
1955
|
250
|
90
|
160
|
600
|
125
|
85
|
50
|
20
|
14
|
0°17'
|
226000
|
1566
|
62
|
1,6 (16)
|
600
|
630
|
1064
|
1040
|
120
|
50
|
80
|
360
|
50
|
450
|
25
|
8
|
12
|
10
|
10
|
0°31'
|
23300
|
304
|
63
|
700
|
720
|
1264
|
1110
|
200
|
60
|
120
|
100
|
550
|
10
|
12
|
0°28'
|
33500
|
454
|
64
|
800
|
820
|
1364
|
1280
|
400
|
600
|
11
|
16
|
12
|
14
|
0°25'
|
48000
|
624
|
65
|
900
|
920
|
1624
|
1420
|
70
|
500
|
700
|
40
|
12
|
0°22'
|
66200
|
855
|
66
|
1000
|
1020
|
1530
|
80
|
14
|
0°20'
|
88400
|
1018
|
67
|
1200
|
1220
|
2024
|
1730
|
220
|
90
|
700
|
110
|
900
|
20
|
14
|
0°17'
|
147000
|
1603
|
68
ОСТ 34-10-573
|
1400
|
1420
|
2464
|
1965
|
250
|
100
|
150
|
850
|
125
|
1100
|
50
|
25
|
0°14'
|
226000
|
2225
|
Пример условного обозначения компенсатора углового
однолинзового Ру ≤ 0,6 (6 кгс/см2) и Dy 200мм:
Компенсатор
0,6 (6)-200 04 ОСТ 34-10-573
Таблица 2
Обозначение компенсатора
|
Поз. 1
Полулинза
Кол. 2
|
Поз. 2
Патрубок
Кол. 2
|
Поз. 3
Тяга
Кол. 4
|
Поз. 4
Тяга
Кол. 2
|
Обозначение
|
01
ОСТ 34-10-573
|
1-01
ОСТ
34-10-569
|
1-01
ОСТ 34-10-573
|
2-01 ОСТ 34-10-573
|
2-01
ОСТ 34-10-573
|
02
|
1-02
|
1-02
|
03
|
1-03
|
1-03
|
04
|
1-04
|
1-05
|
05
|
1-05
|
1-06
|
2-05
|
2-05
|
06
|
1-06
|
1-08
|
07
|
1-07
|
1-10
|
2-09
|
08
|
1-08
|
1-11
|
2-13
|
2-13
|
09
|
1-09
|
1-14
|
10
|
1-10
|
1-17
|
2-17
|
11
|
1-11
|
1-20
|
2-21
|
2-25
|
12
|
1-12
|
1-23
|
2-29
|
2-29
|
13
|
1-13
|
1-28
|
2-37
|
14
|
1-14
|
1-29
|
2-41
|
15
|
1-15
|
1-32
|
16
ОСТ 34-10-573
|
1-16
ОСТ
34-10-569
|
1-35 ОСТ 34-10-573
|
2-45
ОСТ 34-10-573
|
2-49
ОСТ 34-10-573
|
17
|
1-17
|
1-38
|
2-69
|
2-73
|
18
|
1-18
|
1-41
|
2-110
|
2-121
|
19
|
1-19
|
1-42
|
2-122
|
20
|
1-20
|
1-43
|
2-89
|
2-101
|
21
|
1-21
|
1-44
|
2-105
|
2-109
|
22
|
1-22
|
1-01
|
2-01
|
2-01
|
23
|
1-23
|
1-02
|
24
|
1-24
|
1-03
|
25
|
1-25
|
1-05
|
2-05
|
2-05
|
26
|
1-26
|
1-06
|
2-09
|
27
|
1-27
|
1-09
|
28
|
1-28
|
1-10
|
2-13
|
2-13
|
29
|
1-29
|
1-12
|
2-17
|
30
|
1-30
|
1-15
|
31
ОСТ 34-10-573
|
1-31
ОСТ
34-10-569
|
1-18 ОСТ 34-10-573
|
2-21
ОСТ 34-10-573
|
2-25
ОСТ 34-10-573
|
32
|
1-32
|
1-21
|
2-29
|
2-29
|
33
|
1-33
|
1-24
|
2-33
|
34
|
1-34
|
1-27
|
2-115
|
2-115
|
35
|
1-35
|
1-30
|
2-116
|
36
|
1-36
|
1-33
|
2-45
|
2-49
|
37
|
1-37
|
1-36
|
2-53
|
38
|
1-38
|
1-39
|
2-73
|
2-79
|
39
|
1-39
|
1-01
|
2-01
|
2-01
|
40
|
1-40
|
1-02
|
41
|
1-41
|
1-04
|
2-05
|
2-09
|
42
|
1-42
|
1-05
|
43
|
1-43
|
1-07
|
2-13
|
2-13
|
44
|
1-44
|
1-09
|
45
|
1-45
|
1-10
|
2-113
|
2-114
|
46
ОСТ 34-10-573
|
1-46
ОСТ
34-10-569
|
1-13
ОСТ 34-10-573
|
2-21
ОСТ 34-10-573
|
2-25
ОСТ 34-10-573
|
47
|
1-47
|
1-16
|
2-25
|
48
|
1-48
|
1-19
|
2-29
|
2-29
|
49
|
1-49
|
1-22
|
2-33
|
50
|
1-33
|
1-25
|
2-115
|
2-116
|
51
|
1-34
|
1-28
|
2-45
|
2-53
|
52
|
1-35
|
1-31
|
53
|
1-36
|
1-34
|
2-57
|
54
|
1-37
|
1-37
|
2-61
|
2-65
|
55
|
1-38
|
1-40
|
2-75
|
2-85
|
56
|
1-33
|
1-46
|
2-29
|
2-33
|
57
|
1-34
|
1-48
|
2-115
|
2-115
|
58
|
1-35
|
1-50
|
2-116
|
59
|
1-36
|
1-52
|
2-45
|
2-49
|
60
|
1-37
|
1-54
|
2-53
|
61
ОСТ 34-10-573
|
1-38
ОСТ
34-10-569
|
1-56ОСТ
34-10-573
|
2-73ОСТ
34-10-573
|
2-79ОСТ
34-10-573
|
62
|
1-49
|
1-45
|
2-29
|
2-33
|
63
|
1-33
|
1-47
|
2-115
|
2-116
|
64
|
1-34
|
1-49
|
2-45
|
2-53
|
65
|
1-35
|
1-51
|
66
|
1-36
|
1-53
|
2-57
|
67
|
1-37
|
1-55
|
2-61
|
2-65
|
68
|
1-38
|
1-57
|
2-75
|
2-85
|
Продолжение таблицы 2
Обозначение компенсатора
|
Поз. 5
Ребро
Кол. 8
|
Поз. 8
Подушка
Кол. 4
|
Поз. 7
Ось
Кол. 2
|
Поз. 8
Диск
Кол. 8
|
Обозначение
|
01
ОСТ 34-10-573
|
3-01 ОСТ 34-10-573
|
-
|
5-01 ОСТ 34-10-573
|
6-01 ОСТ 34-10-573
|
02
|
03
|
5-02
|
04
|
3-02
|
05
|
6-02
|
06
|
5-03
|
07
|
3-04
|
08
|
5-05
|
6-03
|
09
|
3-05
|
10
|
5-06
|
11
|
3-07
|
5-07
|
6-04
|
12
|
6-05
|
13
|
14
|
3-09
|
5-08
|
6-06
|
15
|
16
ОСТ 34-10-573
|
3-12
ОСТ 34-10-573
|
-
|
5-09
ОСТ 34-10-573
|
6-07
ОСТ 34-10-573
|
17
|
3-15
|
18
|
5-10
|
6-09
|
19
|
3-16
|
20
|
3-17
|
5-12
|
6-10
|
21
|
22
|
3-01
|
5-02
|
6-01
|
23
|
3-21
|
24
|
25
|
3-02
|
5-03
|
6-02
|
26
|
3-22
|
27
|
3-03
|
5-04
|
28
|
3-04
|
5-05
|
6-03
|
29
|
3-05
|
5-06
|
30
|
31
ОСТ 34-10-573
|
3-05
ОСТ 34-10-573
|
-
|
5-07
ОСТ 34-10-573
|
6-04ОСТ
34-10-573
|
32
|
3-07
|
6-05
|
33
|
3-08
|
5-08
|
34
|
3-10
|
6-07
|
35
|
5-09
|
36
|
3-11
|
5-10
|
37
|
3-14
|
5-11
|
6-08
|
38
|
3-16
|
5-12
|
6-09
|
39
|
3-21
|
5-02
|
6-01
|
40
|
41
|
3-02
|
5-03
|
6-02
|
42
|
5-04
|
43
|
3-04
|
6-03
|
44
|
5-05
|
45
|
5-06
|
46
ОСТ 34-10-573
|
3-06
ОСТ 34-10-573
|
-
|
5-07
ОСТ 34-10-573
|
6-04
ОСТ 34-10-573
|
47
|
48
|
3-09
|
5-08
|
6-05
|
49
|
50
|
3-10
|
5-09
|
6-07
|
51
|
3-11
|
52
|
3-13
|
5-10
|
6-08
|
53
|
3-16
|
5-11
|
54
|
3-18
|
5-12
|
6-09
|
55
|
3-19
|
5-13
|
6-10
|
56
|
3-10
|
4-02
ОСТ 34-10-573
|
5-08
|
6-05
|
57
|
4-04
|
6-07
|
58
|
4-06
|
5-09
|
59
|
3-11
|
4-08
|
5-10
|
60
ОСТ 34-10-573
|
3-16
ОСТ 34-10-573
|
4-10
ОСТ 34-10-573
|
5-11
ОСТ 34-10-573
|
6-08
ОСТ 34-10-573
|
61
|
3-17
|
4-12
|
5-12
|
6-09
|
62
|
3-09
|
4-01
|
5-08
|
6-05
|
63
|
3-10
|
4-03
|
5-09
|
6-07
|
64
|
3-13
|
4-05
|
65
|
3-16
|
4-07
|
5-10
|
6-08
|
66
|
4-09
|
5-11
|
67
|
3-19
|
4-11
|
5-12
|
6-09
|
68
|
3-20
|
4-13
|
5-13
|
6-10
|
2.
КОНСТРУКЦИЯ И РАЗМЕРЫ ПАТРУБКОВ
2.1 Конструкция и размеры патрубков должны
соответствовать указанным на черт. 2 и в
табл. 3.

_____________
* Размеры для справок
Черт.
2
Таблица 3
Размеры в мм
Обозначение патрубка
|
Dн
|
S
|
Dв
|
D1
|
L
|
b
|
e
|
q
|
Масса, кг
|
Материал
|
Номин.
|
Пред. откл.
|
Номин.
|
Пред. откл.
|
Номин.
|
Пред. откл.
|
Номин.
|
Пред. откл.
|
Номин.
|
Пред. откл.
|
Марка стали
|
технические требования
|
1-01
ОСТ 34-10-573
|
108
|
4
|
104
|
-0,35
|
-
|
-
|
170
|
-
|
-
|
-
|
-
|
-
|
-
|
1,7
|
Сталь 20 ГОСТ
1050
|
ТУ
14-3-190
|
1-02
|
133
|
129
|
-0,40
|
2,1
|
1-03
|
159
|
5
|
154
|
3,2
|
1-04
|
200
|
3,7
|
1-05
|
219
|
7
|
214
|
-0,46
|
7,2
|
1-06
|
273
|
8
|
267
|
-0,52
|
10,4
|
1-07
|
250
|
13,0
|
1-08
|
325
|
318
|
-0,57
|
200
|
12,4
|
1-09
|
250
|
16,0
|
1-10
|
377
|
9
|
370
|
20,2
|
1-11
|
426
|
420
|
-0,63
|
23,1
|
1-12 ОСТ 34-10-573
|
412
|
+1,55
|
300
|
-
|
-
|
-
|
-
|
-
|
-
|
27,0
|
1-13
|
360
|
33,2
|
1-14
|
478
|
7
|
472
|
-
|
300
|
24,0
|
ГОСТ 10705 гр.
В
|
1-15
|
10
|
464
|
34,7
|
1-16
|
360
|
41,6
|
1-17
|
530
|
8
|
524
|
-0,70
|
-
|
+1,75
|
300
|
31,0
|
17ГС, 17Г1С, 17Г1С-У
|
ТУ 14-3-620
|
1-18
|
11
|
514
|
42,0
|
17ГС, 17Г1С ГОСТ
19281
|
ГОСТ
20295
|
1-19
|
420
|
59,0
|
1-20
|
630
|
8
|
624
|
-
|
360
|
44,0
|
Сталь 20 ГОСТ
1050
|
ТУ
14-3-808
|
1-21
|
12
|
614
|
66,0
|
1-22
|
14
|
420
|
2,0
|
+1,0
-2,0
|
13
|
±3
|
1,0
|
±1,0
|
89,0
|
ГОСТ
1577
|
1-23 ОСТ 34-10-573
|
720
|
10
|
714
|
-0,8
|
702
|
+2
|
360
|
-
|
-
|
-
|
-
|
-
|
-
|
62,0
|
17ГС, 17Г1С ГОСТ
19281
|
ТУ 14-3-620
|
1-24
|
14
|
2,0
|
+1,0
-2,0
|
13
|
±3
|
1,0
|
±1,0
|
87,0
|
Сталь 20 ГОСТ
1050
|
ГОСТ
1577
|
1-25
|
16
|
450
|
16
|
124,0
|
1-26
|
820
|
11
|
812
|
-0,9
|
802
|
+2,3
|
360
|
-
|
-
|
-
|
-
|
-
|
-
|
79,0
|
17ГС, 17Г1С, 17Г1С-У
|
ТУ 14-3-620
|
1-27
|
16
|
450
|
2,0
|
+1,0
-2,0
|
16
|
±3
|
1,0
|
±1,0
|
142,0
|
Сталь 20 ГОСТ
1050
|
ГОСТ
1577
|
1-28
|
18
|
160,0
|
1-29
|
920
|
12
|
912
|
900
|
440
|
13
|
118,0
|
1-30
|
18
|
450
|
16
|
179,0
|
1-31
|
20
|
500
|
20
|
±4
|
2,0
|
+1,0
-2,0
|
221,0
|
1-32
|
1020
|
14
|
1012
|
-1,05
|
1000
|
+2,6
|
440
|
-
|
-
|
-
|
-
|
-
|
-
|
153,0
|
17Г1С-У
|
ТУ 14-3-620
|
1-33
|
20
|
450
|
2,0
|
+1,0
-2,0
|
20
|
±4
|
2,0
|
+1,0
-2,0
|
221,0
|
Сталь 20 ГОСТ
1050
|
ГОСТ
1577
|
1-34 ОСТ 34-10-573
|
600
|
294
|
1-35
|
1220
|
14
|
1212
|
1198
|
500
|
-
|
-
|
-
|
-
|
-
|
-
|
208
|
17Г1С-У
|
ТУ 14-3-620
|
1-36
|
20
|
550
|
2,0
|
+1,0
-2,0
|
20
|
±4
|
2,0
|
+1,0
-2,0
|
325
|
Сталь 20 ГОСТ
1050
|
ГОСТ
1577
|
1-37
|
25
|
470
|
24
|
544
|
1-38
|
1420
|
14
|
1412
|
-1,25
|
-
|
+3,1
|
620
|
-
|
-
|
-
|
-
|
-
|
-
|
299
|
ТУ
14-3-808
|
1-39
|
25
|
1392
|
640
|
2,0
|
+1,0
-2,0
|
24
|
±4
|
2,0
|
+1,0
-2,0
|
550
|
ГОСТ
1577
|
1-40
|
-
|
840
|
722
|
1-41
|
1620
|
20
|
1612
|
-1,5
|
1592
|
+3,7
|
620
|
20
|
489
|
1-42
|
1820
|
25
|
1812
|
1800
|
24
|
685
|
1-43
|
2040
|
2032
|
-1,75
|
2020
|
+4,4
|
725
|
900
|
1-44
|
2240
|
2232
|
2216
|
990
|
1-45 ОСТ 34-10-573
|
630
|
8
|
624
|
-0,7
|
614
|
+1,75
|
500
|
-
|
-
|
-
|
-
|
-
|
-
|
61,1
|
Сталь 20 ГОСТ
1050
|
ТУ
14-3-808
|
1-46
|
720
|
10
|
714
|
-0,8
|
704
|
+2,0
|
82,5
|
17ГС, 17Г1С, 17Г1С-У
|
ТУ 14-3-620
|
1-47
|
600
|
99,0
|
1-48
|
820
|
11
|
812
|
-0,9
|
802
|
+2,3
|
500
|
109,3
|
1-49
|
|
650
|
141,2
|
1-50
|
920
|
12
|
912
|
900
|
530
|
2,0
|
+1,0
-2,0
|
13
|
±3
|
1,0
|
±1,0
|
141,5
|
Сталь 20 ГОСТ
1050
|
ГОСТ
1577
|
1-51
|
|
780
|
209,0
|
1-52
|
1020
|
14
|
1012
|
-1,05
|
1000
|
+2,6
|
530
|
-
|
-
|
-
|
-
|
-
|
-
|
183,2
|
17Г1С-У
|
ТУ 14-3-620
|
1-53
|
|
780
|
270,0
|
1-54
|
1220
|
1212
|
1198
|
324,0
|
1-55
|
|
980
|
408,0
|
1-56
|
1420
|
1412
|
-1,25
|
1392
|
+3,1
|
950
|
461,0
|
Сталь 20 ГОСТ
1050
|
ТУ
14-3-808
|
1-57
|
|
1200
|
578,0
|
Пример условного обозначения патрубка диаметром Dн = 219 мм с
толщиной стенки S = 6 мм и
длиной L = 200 мм:
Патрубок
1-05 ОСТ 34-10-573
2.2. Сварка автоматическая или полуавтоматическая в
углекислом газе. Проволока СВ-08ГС или СВ-08Г2С по ГОСТ 2246.
2.3. При изготовлении из листа предельные
отклонения Dн по h14.
3. КОНСТРУКЦИЯ И РАЗМЕРЫ ТЯГ
3.1. Конструкция и размеры тяг должны
соответствовать указанным на черт. 3 и в
табл. 4.

____________
* Размеры для справок
Черт.
3
Таблица 4
Размеры в мм
Обозначение
|
В
|
С
|
S
|
L
|
Масса, кг
|
2-01
ОСТ 34-10-573
|
40
|
10
|
4
|
120
|
0,15
|
2-02
|
155
|
0,19
|
2-03
|
190
|
0,23
|
2-04
|
225
|
0,28
|
2-05
|
60
|
15
|
155
|
0,29
|
2-06
|
190
|
0,35
|
2-07
|
225
|
0,43
|
2-08
|
260
|
0,48
|
2-09
|
8
|
155
|
0,58
|
2-10
|
190
|
0,72
|
2-11
|
225
|
0,84
|
2-12
|
260
|
0,97
|
2-13
|
80
|
20
|
6
|
180
|
0,67
|
2-14
|
215
|
0,81
|
2-15 ОСТ
34-10-573
|
250
|
0,94
|
2-16
|
285
|
1,0
|
2-17
|
10
|
180
|
1,1
|
2-18
|
215
|
1,3
|
2-19
|
250
|
1,5
|
2-20
|
285
|
1,8
|
2-21
|
100
|
30
|
6
|
230
|
1,1
|
2-22
|
260
|
1,2
|
2-23
|
290
|
1,4
|
2-24
|
320
|
1,5
|
2-25
|
10
|
230
|
1,8
|
2-26
|
260
|
2,0
|
2-27
|
290
|
2,3
|
2-28
|
320
|
2,5
|
2-29
|
120
|
50
|
12
|
250
|
2,8
|
2-30
|
280
|
3,2
|
2-31
|
310
|
3,3
|
2-32
|
340
|
3,8
|
2-33
|
16
|
250
|
3,7
|
2-34
|
280
|
4,2
|
2-35
|
310
|
4,6
|
2-36
|
340
|
5,1
|
2-37
|
150
|
10
|
280
|
3,2
|
2-38
|
310
|
3,6
|
2-39
|
340
|
4,0
|
2-40
|
370
|
4,3
|
2-41 ОСТ
34-10-573
|
60
|
12
|
280
|
3,9
|
2-42
|
310
|
4,4
|
2-43
|
340
|
4,8
|
2-44
|
370
|
5,2
|
2-45
|
200
|
420
|
7,9
|
2-46
|
450
|
8,5
|
2-47
|
480
|
9,0
|
2-48
|
510
|
9,6
|
2-49
|
16
|
420
|
10,5
|
2-50
|
450
|
11,3
|
2-51
|
480
|
12,0
|
2-52
|
510
|
12,8
|
2-53
|
20
|
420
|
13,2
|
2-54
|
450
|
14,1
|
2-55
|
480
|
15,0
|
2-56
|
510
|
16,0
|
2-57
|
25
|
420
|
16,5
|
2-58
|
450
|
17,7
|
2-59
|
480
|
18,8
|
2-60
|
510
|
19,9
|
2-61
|
220
|
16
|
460
|
12,7
|
2-62
|
490
|
13,5
|
2-63
|
520
|
14,4
|
2-64
|
550
|
15,2
|
2-65
|
32
|
460
|
25,4
|
2-66
|
490
|
27,0
|
2-67 ОСТ
34-10-573
|
520
|
28,7
|
2-68
|
550
|
30,4
|
2-69
|
250
|
80
|
12
|
470
|
11,1
|
2-70
|
500
|
11,8
|
2-71
|
530
|
12,5
|
2-72
|
560
|
13,2
|
2-73
|
16
|
470
|
14,8
|
2-74
|
500
|
15,7
|
2-75
|
530
|
16,6
|
2-76
|
560
|
17,5
|
2-77
|
590
|
18,5
|
2-78
|
620
|
19,5
|
2-79
|
25
|
470
|
23,1
|
2-80
|
500
|
24,5
|
2-81
|
530
|
25,9
|
2-82
|
560
|
27,4
|
2-83
|
32
|
470
|
29,5
|
2-84
|
500
|
31,4
|
2-85
|
530
|
33,3
|
2-86
|
560
|
35,2
|
2-87
|
590
|
37,0
|
2-88
|
620
|
38,9
|
2-89
|
300
|
100
|
12
|
500
|
14,1
|
2-90
|
530
|
14,9
|
2-91
|
560
|
15,8
|
2-92
|
590
|
16,6
|
2-93 ОСТ
34-10-573
|
16
|
500
|
18,8
|
2-94
|
530
|
19,9
|
2-95
|
560
|
21,0
|
2-96
|
590
|
22,2
|
2-97
|
20
|
500
|
23,6
|
2-98
|
530
|
24,9
|
2-99
|
560
|
26,4
|
2-100
|
590
|
27,8
|
2-101
|
25
|
500
|
29,4
|
2-102
|
530
|
31,2
|
2-103
|
560
|
32,9
|
2-104
|
590
|
34,7
|
2-105
|
350
|
12
|
520
|
17,1
|
2-106
|
550
|
18,0
|
2-107
|
580
|
19,0
|
2-108
|
610
|
20,0
|
2-109
|
25
|
520
|
35,7
|
2-110
|
550
|
37,7
|
2-111
|
580
|
39,8
|
2-112
|
610
|
41,2
|
2-113
|
100
|
30
|
6
|
200
|
0,9
|
2-114
|
10
|
1,5
|
2-115
|
200
|
60
|
12
|
360
|
6,4
|
2-116
|
16
|
8,6
|
2-117
|
12
|
390
|
7,0
|
2-118
|
16
|
9,3
|
2-119
|
20
|
11,7
|
2-120
|
300
|
100
|
12
|
470
|
12,3
|
2-121
|
16
|
16,5
|
2-122
|
20
|
20,6
|
Пример условного
обозначения тяги В = 40 мм; S
= 4 мм; L = 120 мм:
Тяга 2-01 ОСТ 34-10-573
3.2. Материал: Лист 
3.3. Неуказанные
предельные отклонения размеров: валов h14, остальных 
4. КОНСТРУКЦИЯ И РАЗМЕРЫ РЕБЕР
4.1.
Конструкция и размеры ребер должны соответствовать указанным на черт. 4 и в табл. 5.

____________
* Размеры для справок
Черт.
4
Таблица 5
Размеры в мм
Обозначение
|
S
|
L
|
l
|
h
|
h1
|
Масса, кг
|
3-01 ОСТ 34-10-573
|
4
|
100
|
40
|
130
|
40
|
0,32
|
3-02
|
6
|
150
|
60
|
150
|
0,83
|
3-03
|
200
|
80
|
1,1
|
3-04
|
8
|
1,5
|
3-05
|
10
|
250
|
100
|
170
|
2,6
|
3-06
|
300
|
120
|
200
|
60
|
3,7
|
3-07
|
12
|
4,5
|
3-08
|
16
|
150
|
6,2
|
3-09
|
12
|
360
|
5,4
|
3-10
|
16
|
7,2
|
3-11
|
20
|
200
|
230
|
10,2
|
3-12
|
16
|
400
|
9,4
|
3-13
|
20
|
11,8
|
3-14
|
450
|
12,9
|
3-15
|
16
|
500
|
250
|
12,1
|
3-16
|
20
|
15,2
|
3-17
|
600
|
250
|
80
|
18,8
|
3-18
|
25
|
23,6
|
3-19
|
700
|
270
|
28,7
|
3-20
|
850
|
33,8
|
3-21
|
4
|
120
|
40
|
130
|
40
|
00,4
|
3-22
|
8
|
150
|
60
|
150
|
1,1
|
Пример условного обозначения ребра L = 300
мм a S = 10 мм:
Ребро 3-06 ОСТ 34-10-573
4.2. Материал: Лист 
4.3. Неуказанные предельные отклонения размеров:
валов по h16, остальных 
5. КОНСТРУКЦИЯ И РАЗМЕРЫ ПОДУШЕК
5.1. Конструкция
и размеры подушек должны соответствовать указанным на черт. 5 и в табл. 6.

____________
* Размеры для справок
Черт.
5
Таблица 6
Размеры в мм
Обозначение подушки
|
Для трубопровода Dн
|
R
|
S
|
В
|
L
|
Длина развертки
|
Масса, кг
|
4-01 ОСТ
34-10-573
|
630
|
316
|
10
|
450
|
450
|
500
|
17,6
|
4-02
|
720
|
362
|
479
|
16,5
|
4-03
|
550
|
550
|
620
|
26,7
|
4-04
|
820
|
412
|
450
|
450
|
472
|
16,7
|
4-05
|
12
|
600
|
600
|
660
|
37,0
|
4-06
|
920
|
462
|
450
|
450
|
470
|
19,9
|
4-07
|
700
|
700
|
780
|
51,5
|
4-08
|
1020
|
514
|
450
|
450
|
470
|
20,0
|
4-09
|
14
|
700
|
700
|
760
|
58,5
|
4-10
|
1220
|
614
|
12
|
735
|
48,5
|
4-11
|
14
|
900
|
900
|
1000
|
99,0
|
4-12
|
1420
|
714
|
12
|
850
|
850
|
900
|
72,0
|
4-13
|
14
|
1100
|
1100
|
1230
|
149,0
|
Пример условного
обозначения подушки R = 316 мм и S = 10 мм:
Подушка 4-01 ОСТ 34-10-573
5.2. Материал: Лист 
5.3. Неуказанные
предельные отклонения размеров: валов h14, остальных 
6. КОНСТРУКЦИЯ И РАЗМЕРЫ ОСЕЙ
6.1.
Конструкция и размеры осей должны соответствовать указанным на черт. 6 и в табл. 7.

____________
* Размеры для справок
Черт.
6
Таблица 7
Размеры в мм
Обозначение
|
D
|
d
|
L
|
R
|
с
|
Масса, кг
|
Номин.
|
Пред. откл.
|
5-01 ОСТ
34-10-573
|
12
|
8
|
-0,040
-0,130
|
45
|
1,5
|
2
|
0,02
|
5-02
|
16
|
12
|
-0,050
-0,160
|
50
|
0,04
|
5-03
|
20
|
16
|
3
|
0,08
|
5-04
|
25
|
20
|
-0,065
-0,195
|
60
|
2,0
|
0,14
|
5-05
|
30
|
25
|
65
|
0,24
|
5-06
|
40
|
32
|
-0,080
-0,240
|
4
|
0,40
|
5-07
|
50
|
40
|
95
|
0,90
|
5-08
|
60
|
50
|
105
|
1,58
|
5-09
|
70
|
60
|
-0,100
-0,290
|
115
|
2,48
|
5-10
|
80
|
70
|
130
|
3,80
|
5-11
|
90
|
80
|
145
|
5,60
|
5-12
|
100
|
90
|
-0,120
-0,340
|
165
|
8,00
|
5-13
|
110
|
100
|
10,00
|
Пример условного обозначения оси d = 8 мм и L = 40 мм:
Ось 5-01 ОСТ 34-10-573
6.2. Материал: Круг 
6.3. Неуказанные предельные отклонения размеров по h14.
7 КОНСТРУКЦИЯ И РАЗМЕРЫ ДИСКОВ
7.1. Конструкция и размеры дисков должны
соответствовать указанным на черт. 7 и в табл. 8.

____________
* Размеры для справок
Черт.
7
Таблица 8
Обозначение
|
Dн, мм
|
S, мм
|
Масса, кг
|
6-01 ОСТ 34-10-573
|
30-1,3
|
4
|
0,02
|
6-02
|
50-1,6
|
0,06
|
6-03
|
60-1,9
|
6
|
0,13
|
6-04
|
80-1,9
|
10
|
0,39
|
6-05
|
100-2,2
|
0,61
|
6-06
|
120-2,2
|
12
|
1,06
|
6-07
|
180-2,5
|
2,40
|
6-08
|
180-2,5
|
16
|
3,19
|
6-09
|
200-2,9
|
20
|
4,90
|
6-10
|
230-2,9
|
6,52
|
Пример условного обозначения диска Dн = 50 мм,S = 4 мм:
Диск 6-02 ОСТ 34-10-573
7.2. Материал: Лист 
ИНФОРМАЦИОННЫЕ ДАННЫЕ
УТВЕРЖДЕН ПРИКАЗОМ Министерства
топлива и энергетики Российской федерации от 12 июля 1993 г. №
158
ИСПОЛНИТЕЛИ
В.И. Есарев, В.В.
Горбачев, О.В. Стрельников (руководитель темы), Н.В. Паутов, И.П. Горяинова
ВЗАМЕН ОСТ 34-42-573-82
ССЫЛОЧНЫЕ НОРМАТИВНО "ТЕХНИЧЕСКИЕ
ДОКУМЕНТЫ
Обозначение НТД, на которые дана ссылка
|
Номер пункта, подпункта, перечисления, приложения
|
ГОСТ
535-88
|
6.2
|
ГОСТ
1050-88
|
2, табл. 3
|
ГОСТ
1577-81
|
2, табл. 3; 3.2; 4.1; 5.2;
7.2
|
ГОСТ
2246-70
|
1.2;
2.2
|
ГОСТ
2590-88
|
6.2
|
ГОСТ
10705-80
|
2, табл. 3
|
ГОСТ
14771-76
|
1, Черт. 1
|
ГОСТ 19281-89
|
2, табл. 3
|
ГОСТ 19903-74
|
3.2; 4.1;
5.2; 7.2
|
ГОСТ
20295-85
|
2, табл. 3
|
ТУ 14-3-190-82
|
2, табл. 3
|
ТУ 14-3-620-77
|
2, табл. 3
|
ТУ
14-3-808-78
|
2, таблица 3
|
ОСТ
34-10-569-93
|
Таблица 2
|
ОСТ
34-10-581-93
|
1.4
|
СОДЕРЖАНИЕ
|